CPC Definition - Subclass B29C
This place covers:
Processes and apparatus for:
- shaping or joining of plastics;
- shaping of material in a plastic state when a specific material is not identified;
- shaping of material in a plastic state, not otherwise provided for.
Products obtained by processes provided for in this subclass, as long as the products are characterised by said processes.
Subclass B29C is often connected with the following areas:
- B29B, related to preparation or pre-treatment of the material to be shaped, making granules or preforms, beyond recovery of plastics or other constituents of waste material containing plastics;
- B29D, related to processes and apparatus for the production of particular articles characterised by their global structure, e.g. flat, hollow, or tubular articles, by their structural features, e.g. provided with screw threads, corrugations, grooves or projections, or by their purpose, e.g. buttons, optical elements, tyres or footwear. Attention should be paid to B29 note (3), i.e. classification according to production of particular articles in subclass B29D is restricted to:
- B32B, related to layered products (products built-up of strata of flat or non-flat, e.g. cellular or honeycomb form) as well as methods or apparatus for making layered products;
- C08K, related to the use of inorganic or non-macromolecular organic substances, or mixture thereof, as additives in composition of macromolecular compounds;
- C08L, related to composition of organic macromolecular compounds, such as polysaccharides and derivate, rubbers and derivate, macromolecular compounds obtained by reactions involving or not carbon-to-carbon unsaturated bonds, natural macromolecular compounds and derivatives.
This place does not cover:
Making preforms | |
Methods or apparatus for laminating | |
Ancillary operations in connection with laminating processes | |
Layout of apparatus or plants for lamination processes | |
Arrangements for controlling or monitoring lamination processes |
Examples of places where the subject matter of this place is covered when specially adapted, used for a particular purpose, or incorporated in a larger system:
Moulding devices for producing toilet or cosmetic sticks |
Attention is drawn to the following places, which may be of interest for search:
Processing doughs | |
Processing meat | |
Working chocolate | |
Foundry moulding | |
Casting of Metals | |
Working metallic powder | |
Machine tools | |
Grinding or polishing | |
Machines, devices or processes for grinding or polishing of optical elements | |
Cutting work and details of apparatus related with | |
Means of perforating, punching, cutting-out, stamping-out and severing | |
Shaping clay or other ceramic compositions | |
Preparing clay and mixtures containing thereof | |
Presses in general | |
Extrusion presses | |
Making wound articles of paper, cardboard or material worded in a manner analogous to paper | |
Working glass | |
Preparation, chemical working-up and compositions of organic macromolecular compounds | |
Candle making | |
Making soap | |
Manufacture of artificial filaments, threads, fibres, bristles or ribbons | |
Manufacture of articles from cellulosic fibrous suspensions or from papier-mâchè |
In this subclass, the following rules must be applied:
- The working of plastics is, as far as possible, classified primarily according to the particular shaping technique used in this subclass;
- Combined operations for making a particular article which are not fully classifiable in this subclass must be classified in subclass B29D.
Products per se are not classified in this subclass. However, if a product is characterised by the way it is produced and not by its structure or composition, the production method should be classified in this subclass.In this subclass:
- repairing of articles shaped or produced by using techniques covered by this subclass or subclass B29D is classified in group B29C 73/00;
- component parts, details, accessories or auxiliary operations which are applicable to more than one moulding technique are classified in groups B29C 31/00 - B29C 37/00;
- component parts, details, accessories or auxiliary operations which are only applicable or only of use for one specific shaping technique are classified only in the relevant subgroups of groups B29C 39/00 - B29C 71/00.
In this place, the following terms or expressions are used with the meaning indicated:
A plastic | is a macromolecular compound or composition based on such a compound |
In a plastic state | refers to a state in which the material is more or less easily deformable, locally or as a whole, by force in any direction, to assume and retain any desired shape. |
In patent documents, the following abbreviations are often used:
Resins | Japanese patent applications usually refer to resins instead of plastics |
This place does not cover:
Discharging moulded articles from the mould, using means operable from outside the mould between mould parts, e.g. robots | |
Handling tyres or parts thereof, e.g. supplying, storing, conveying | |
Building tyres; devices for transferring annular tyre components during the building-up stage, e.g. from the first stage to the second stage building drum |
Attention is drawn to the following places, which may be of interest for search:
Feeding material to presses | |
Transport or storage devices | |
Measuring volume, volume flow, mass flow, or liquid level |
This place covers:


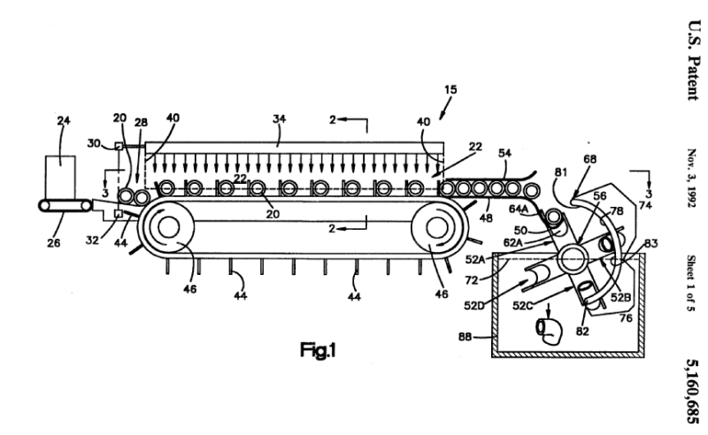
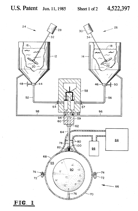
US-A-3,849,052

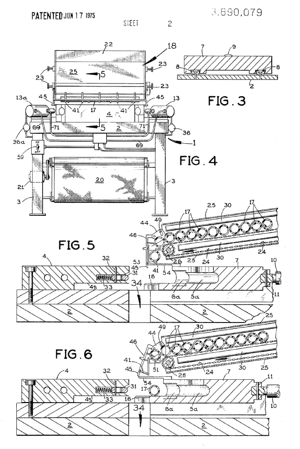
US-A-3,890,079

This place does not cover:
Conditioning or physical treatment of the material to be shaped, by heating hollow bodies, e.g. tubes or profiles | |
Conditioning or physical treatment of the material to be shaped, by heating tube ends |
Attention is drawn to the following places, which may be of interest for search:
Blow-moulding; handling means, e.g. transfer, loading or discharging | |
Shaping by bending of tubes | |
Shaping of tube ends; e.g. flanging, belling, closing. Apparatus therefor | |
Shaping tubes or blown tubular films; turning tubes inside out | |
Producing tubular articles |
This place covers:



Attention is drawn to the following places, which may be of interest for search:
Shaping by thermoforming, handling means, e.g. transfer means, feeding means | |
Advancing webs in general | |
Advancing webs; by looping or like devices |
This place covers:
e.g. storing moulds;
e.g. clamping mould halves outside the machine,
e.g. using a clamp for transporting.



Attention is drawn to the following places, which may be of interest for search:
- Moulds; mounting of moulds or moulds support plates | |
Movable moulds or cores, e.g. to or from the moulding station | |
Continuously movable moulds, in one direction, e.g. in a closed circuit | |
Injection moulding; handling of moulds or mould parts, e.g. mould changing means | |
Devices holding, supporting, or positioning work or tools, of a kind normally removable from the machine | |
Arrangements for handling work specially combined with or arranged in, or specially adapted for use in connection with, machine tools, e.g. for conveying, loading, positioning, discharging, sorting | |
-Producing contact lenses; auxiliary operations, e.g. conveying moulds from a storage to the production line in an inert atmosphere | |
Presses, loading or unloading of dies, platens or press rams |
This place covers:





Attention is drawn to the following places, which may be of interest for search:
Shaping by casting; incorporating preformed parts or layers, e.g. casting around inserts or for coating articles | |
Compression moulding; incorporating preformed parts or layers, e.g. compression moulding around inserts or for coating articles | |
Foaming; incorporating or moulding on preformed parts, e.g. inserts, reinforcements | |
Injection moulding; incorporating preformed parts or layers; inserting articles into the mould | |
Extrusion moulding; incorporating preformed parts or layers, e.g. extrusion moulding around inserts or for coating articles | |
Blow moulding; inserting labels or films into blow moulds, e.g. in-mould-labellers | |
Thermoforming; lining or labelling |
This place covers:




Attention is drawn to the following places, which may be of interest for search:
Injection moulding; feeding the material into the injection moulding apparatus, i.e. feeding the non-plastified material into the injection unit | |
Extrusion moulding, feeding the material to the extruder | |
Methods or devices for filling or emptying bunkers, hoppers, tanks or like containers | B60G65/30 |
This place covers:



Attention is drawn to the following places, which may be of interest for search:
Shaping by casting; feeding the material into the mould | |
Shaping by coating; feeding the material on to the mould, core or other substrate | |
Shaping by casting; feeding the material into the mould | |
Compression moulding; feeding the material to the mould or the compression means | |
Foaming; feeding the material to be shaped | |
Injection moulding; feeding the material into the injection moulding apparatus, i.e. feeding the non-plastified material into the injection unit | |
Extrusion moulding; feeding the material to the extruder | |
Accessories for mixers, feed mechanisms | |
Producing lenses, machine for filling the moulds | |
Feeding material in particulate or plastic state to moulding presses |
This place covers:



This place covers:


This place covers:




This place covers:




Attention is drawn to the following places, which may be of interest for search:
Apparatus in which liquid or other fluent material is projected, poured or allowed to flow on to the surface of the work; by relative movement according to a predetermined path |
This place covers:



This place covers:



Attention is drawn to the following places, which may be of interest for search:
Compression moulding; for articles of definite length; using movable moulds with circular movement; the material being fed in a continuous form | |
Compression moulding; feeding the material to the mould or the compression means |
This place covers:

This place does not cover:
Mixing, kneading; continuous, with mechanical mixing or kneading devices; feeding in measured doses, e.g. proportioning of several materials: B29B 7/603.
Attention is drawn to the following places, which may be of interest for search:
Injection moulding; feeding the material into the injection moulding apparatus, i.e. feeding the non-plastified material into the injection unit; feeding measured doses |
This place covers:

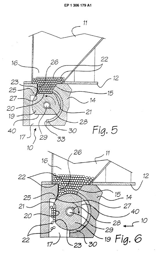
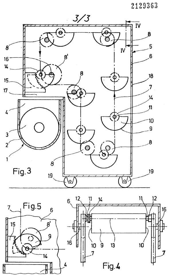
GB-2129363


Attention is drawn to the following places, which may be of interest for search:
Apparatus requiring external operation and adapted at each repeated and indentical operation to measure and separate a predetermined volume of fluid or fluent solid material from a supply or container without regard to weight and to deliver it, with measuring chambers moved during operation |
This place covers:


Attention is drawn to the following places, which may be of interest for search:
Feeding material in particulate or plastic state to moulding presses; by using feed frames or shoes with relative movements | |
For multi-layer articles |
This place covers:



This place covers:


FR-A-982.282

Attention is drawn to the following places, which may be of interest for search:
Shaping composites; positioning reinforcements in a mould |
This place covers:
Moulds or dies being the tool used to shape the plastic parts in moulding processes in its desired form. A mould typically comprises a cavity to shape a plastic part.
Rolls used in continuous moulding processes
Making of moulds
Designing moulds.
The scope of B29C 33/00 is limited to moulds for shaping substances being in a plastic state
Moulds for shaping other substances are not covered by this class, but by the class in their field of application
This place does not cover:
Moulds for making tyres |
Attention is drawn to the following places, which may be of interest for search:
Moulds for pressure die casting | |
Moulds for shaping clay or other ceramic products |
Moulds specific for a single moulding technology are classified in that technology: e.g. moulds for injection moulding B29C 45/26, moulds for blow moulding B29C 49/48.
Since the classification scheme present in B29C 45/00 is much more detailed, for reasons of search efficiency, classification in B29C 45/00 is preferred above a classification in B29C 33/00 in the case that both classifications would be applicable.
In patent documents, the following words/expressions are often used as synonyms:
- "Mould"," mold" and "die"
Attention is drawn to the following places, which may be of interest for search:
heating using liquids, gas or steam in presses |
This place covers:
Making of moulds made out of a plastic substance. The application of the created mould, does not necessarily need to be in the field of B29C
This place does not cover:
Making of moulds by metal processing | B22, B23, in particular B23P 15/24 |
Attention is drawn to the following places, which may be of interest for search:
Mould materials, implicitly disclosed by the process of making them |
Attention is drawn to the following places, which may be of interest for search:
Modular mould systems [MMS], e.g. plates, blocks, rods in general | |
Constructional features of the moulds for pneumatic tyres, the moulds being made of a plurality of laminations |
This place does not cover:
Mechanical ejectors for injection moulding |
Attention is drawn to the following places, which may be of interest for search:
Discharging by stripping articles from cores |
This place does not cover:
Moulds with incorporated heating or cooling means | |
Thermal after-treatment of shaped articles | |
Curing devices for plastic dental prostheses | |
Thermal treatment of the material to be shaped before moulding | |
Conditioning or physical treatment of the material to be shaped |
Attention is drawn to the following places, which may be of interest for search:
Crosslinking of macromolecular substances |
This place covers:




Attention is drawn to the following places, which may be of interest for search:
Moulds or cores with incorporated heating or cooling mean, using liquids, gas or steam | |
Injection moulding, heating or cooling of the mould, control circuit therefor |
Attention is drawn to the following places, which may be of interest for search:
Moulds or cores with incorporated heating or cooling means | |
Shaping by casting, heating or cooling | |
Shaping by coating, heating or cooling | |
Compression moulding, heating or cooling | |
Shaping by swelling, foaming, heating or cooling | |
Injection moulding, heating or cooling | |
Extrusion moulding, heating | |
Blow-moulding, heating or cooling | |
Shaping by thermoforming, heating or cooling | |
Shaping by bending, folding, heating or cooling | |
Lining or sheathing, heat treatment | |
Producing pneumatic tyres, vulcanising tyres, vulcanising presses for tyres | |
Heating or cooling presses or parts therefor |
This place covers:




Attention is drawn to the following places, which may be of interest for search:
Shaping composites, using isostatic pressure, e.g. autoclave | |
Processes of utilising sub-atmospheric or super-atmospheric pressure to effect chemical or physical change of matter, pressure vessels, autoclaves |
This place covers:

This place covers:



Attention is drawn to the following places, which may be of interest for search:
Chemical or physical process in general, conducted in the presence of fluids and solid particles, with fluidised particles, according to "fluidised bed" technique |
This place covers:



Attention is drawn to the following places, which may be of interest for search:
Chemical or physical process in general, conducted in the presence of fluids and solid particles, with fluidised particles, according to "fluidised bed" technique, for treatment of endless filamentary, band or sheet material |
Attention is drawn to the following places, which may be of interest for search:
Joining of preformed parts, by heating, using friction |
This place covers:



Attention is drawn to the following places, which may be of interest for search:
Joining of preformed parts, by heating, using ultrasonic vibrations | |
Chemical, physical or physico-chemical processes in general, employing sonic or ultrasonic vibrations |
Attention is drawn to the following places, which may be of interest for search:
Shaping by liberation of internal stresses, making preforms comprising incorporated or associated heating means | |
Joining of preformed parts, by heating, using heated elements which remain in the joint |
This place covers:






Attention is drawn to the following places, which may be of interest for search:
Movable moulds or cores | |
Continuously movable moulds or cores |
Attention is drawn to the following places, which may be of interest for search:
Thermal after-treatment of articles without altering their shape |
This place covers:






Attention is drawn to the following places, which may be of interest for search:
Shaping by casting, measuring, controlling or regulating | |
Shaping by coating, measuring, controlling or regulating | |
Compression moulding, measuring, controlling or regulating Shaping by swelling, foaming, measuring, controlling or regulating | |
Injection moulding, measuring, controlling or regulating of temperature | |
Extrusion moulding, measuring, controlling or regulating | |
Blow-moulding, measuring, controlling or regulating | |
Shaping by thermoforming, measuring, controlling or regulating |
This place covers:

Attention is drawn to the following places, which may be of interest for search:
Joining of preformed parts; e.g. welding of plastics materials; making use of hot liquids, i.e. the liquid is in contact with the material to be joined | |
Joining of preformed parts; e.g. welding of plastics materials; using hot gases | |
Joining of preformed parts; e.g. welding of plastics materials; using flames |
This place covers:




Attention is drawn to the following places, which may be of interest for search:
Extrusion moulding; heating the stream of extruded material |
Attention is drawn to the following places, which may be of interest for search:
Using wave energy for welding | |
Using laser for welding | |
Using induction heating for welding | |
Dental auxiliary appliances, apparatus for curing resin by radiation | |
Chemical, physical or physico-chemical processes in general, employing particle radiation or gamma-radiation | |
Chemical, physical or physico-chemical processes in general, employing electromagnetic waves | |
Producing optical elements, curing the lens material | |
Processes of treating or compounding macromolecular substances, treament by wave energy or particle radiation | |
Irradiation devices | |
Induction heating |
This place covers:


Attention is drawn to the following places, which may be of interest for search:
Producing optical elements, curing the lens material | |
Photomecanical, e.g. photolithographic, production of textured or patterned surfaces, lithigraphic processes using patterning methods other than those involving the exposure to radiation, e.g. by stamping |
This place covers:


Attention is drawn to the following places, which may be of interest for search:
Extrusion moulding; heating the stream of extruded material |
This place covers:

.




Attention is drawn to the following places, which may be of interest for search:
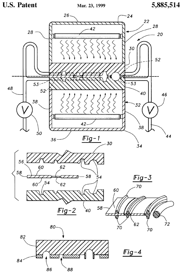
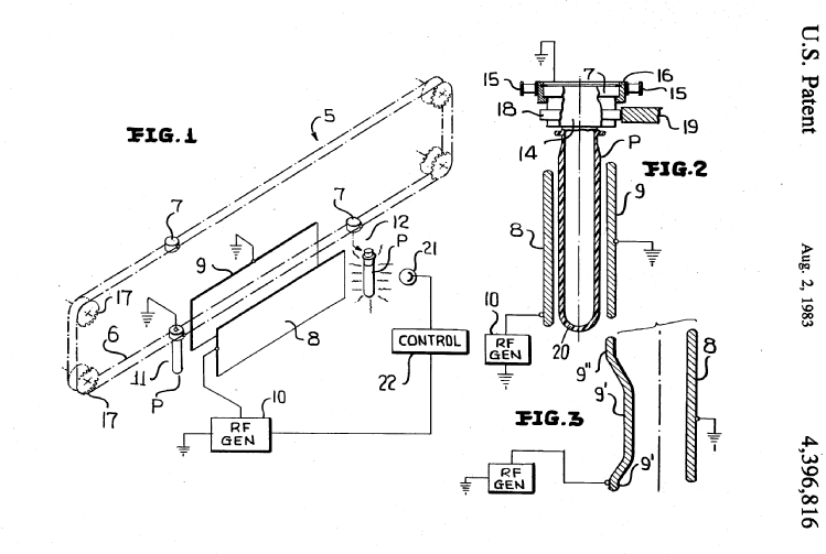
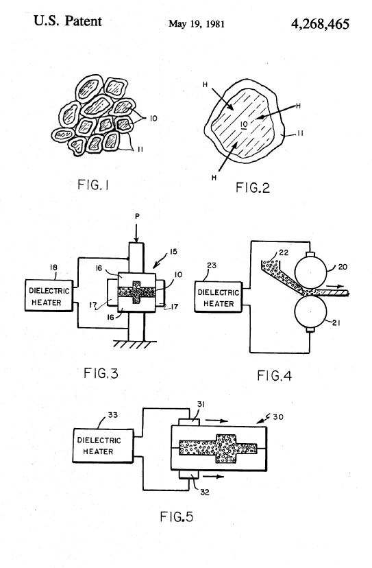
Moulds or cores with incorporated heating means for dielectric heating | |
Dielectric heating for welding |
This place covers:


Attention is drawn to the following places, which may be of interest for search:
Extrusion moulding; heating the stream of extruded material |
This place covers:


Attention is drawn to the following places, which may be of interest for search:
Moulds or cores with incorporated heating or cooling means | |
Extrusion moulding, cooling the stream of extruded material | |
Blow-moulding, thermal conditioning of preforms by cooling hot or molten preforms | |
Blow-moulding; cooling by refrigerant introduced into the blown article |
This place covers:
Methods and processes for removing articles from the mould,
Applying surface layers to moulded articles during moulding, e.g. in mould coating,
Methods for compensating volume or shape change during moulding,
Method for degassing moulded articles during moulding (e.g. draining off gas during moulding),
Methods wherein separating agents are used during or after moulding,
Methods for obtaining anchoring effects between layers during moulding,
Method for trouble-shooting during starting or stopping moulding apparatus,
Methods for deburring or deflashing moulded articles.
Attention is drawn to the following places, which may be of interest for search:
measuring or controlling heating, curing | |
measuring, controlling or regulating casting | |
measuring, controlling or regulating moulding by coating | |
measuring, controlling or regulating compression moulding | |
measuring, controlling or regulating foaming | |
dehumidifying moulds during injection moulding | |
measuring, controlling or regulating injection moulding | |
detecting absence or presence of articles during injection moulding after ejection | |
measuring, controlling or regulating extrusion | |
measuring, controlling or regulating blow moulding | |
measuring, controlling or regulating thermoforming | |
detecting absence or presence of articles during welding |
This place covers:





Attention is drawn to the following places, which may be of interest for search:
Discharging casting moulds | |
Discharging coated moulds | |
Discharging compression moulds | |
Discharging injection moulds | |
Discharging blow moulds | |
Discharging thermoforming moulds | |
Demoulding optical elements, e.g. lenses | |
Producing tyres, loading or unloading tyres presses |
This place covers:




Attention is drawn to the following places, which may be of interest for search:
Discharging injection moulds, using means movable from outside the mould |
This place covers:

This place covers:






Attention is drawn to the following places, which may be of interest for search:
Discharging injection moulds, by flexible movement of undercut article |
This place covers:




Attention is drawn to the following places, which may be of interest for search:
Moulds or cores with means for the removal of articles; with mechanical ejector or drive means for stripping articles from a mould core, e.g. using striper plates |
This place covers:

This place covers:



Attention is drawn to the following places, which may be of interest for search:
Compression moulding of definite length, incorporating preformed linings | |
Injection moulding, incorporating preformed parts or layers, multilayered articles |
This place covers:



Attention is drawn to the following places, which may be of interest for search:
Injection moulding, making multilayered or multicoloured articles |
This place covers:




Attention is drawn to the following places, which may be of interest for search:
Shaping by coating a mould, making multilayered or multicoloured articles of definite length | |
Injection moulding, making multilayered articles, applying surface layers inside the mould cavity, e.g. in mould coating (IMC) |
This place covers:


Attention is drawn to the following places, which may be of interest for search:
Shaping by casting; compensating volume change, e.g. retraction | |
Shaping by coating a mould or a core; compensating volume change, e.g. retraction | |
Compression moulding, compensating volume change, e.g. retraction |
This place covers:






Attention is drawn to the following places, which may be of interest for search:
Moulds or cores characterized by the shape of the moulding surface, e.g. ribs, grooves | |
Shaping by casting, making articles of definite length characterised by the shape of the surface | |
Compression moulding of article of definite length chatracterised by the shape of the surface | |
Injection moulding, mould cavity walls provided with means for marking or patterning | |
Blow moulding moulds having decorating or printing means | |
Photomechanical, e.g. photolithographic, production of textured or patterned surfaces, e.g. printing surfaces, lithographic processes using patterning methods other than those involing the exposure to radiation, e.g. by stamping |
This place covers:


This place covers:




Attention is drawn to the following places, which may be of interest for search:
Shaping by casting; casting under special conditions, e.g. vacuum: | |
Degassing, draining off gases, as after treatment | |
Producing lenses, removing oxygen from the mould |
Attention is drawn to the following places, which may be of interest for search:
Moulds or cores, coatings, applying the releasing agent | |
Moulds or cores, coatings, releasing, lubricating or separating agent |
This place covers:





Attention is drawn to the following places, which may be of interest for search:
Release sheets for moulds or cores |
This place covers:



Attention is drawn to the following places, which may be of interest for search:
Shaping composites, comprising fillers only, the filler influencing the surface characteristics of the material, e.g. by concentrating near the surface or by incorporating in the surface by force |
This place covers:



Attention is drawn to the following places, which may be of interest for search:
Injection moulding in or through a hole in the article | |
Joining by riveting |
This place covers:






Attention is drawn to the following places, which may be of interest for search:
Sealings between relatively moving surfaces which permits material to be continuously conveyed |
This place covers:




Attention is drawn to the following places, which may be of interest for search:
Drying in general |
This place covers:








Attention is drawn to the following places, which may be of interest for search:
Blow-moulding; deflashing outside the mould; deflashing the neck portion | |
Cutting work characterised by the nature of the cutting made | |
Method, machines, or devices for working metals by removal of material for thermal deburring | |
Machines or devices designed for grinding edges or bevels on works or for removing burrs characterised by a special design for grinding plastic materials | |
Methods for use of abrasive blasting for polishing surfaces for deburring | B24C/08B |
Abrasive blasting machines or devices | |
Machines or devices designed for polishing or abrading surfaces on work by means of tumbling appartus | B24D31/00 |
This place covers:
Low or zero pressure casting methods of polymers or their pre-cursors into a mould or between confining surfaces, apparatus and articles obtained by casting, when these articles are characterised by the casting method.
This place does not cover:
Spin casting | |
Casting of dental prostheses | |
Casting of membranes, | |
Centrifugal casting specially adapted for tyres or parts thereof | |
Casting of microstructured devices |
Attention is drawn to the following places, which may be of interest for search:
Shaping by internal pressure generated in the material, e.g. swelling, foaming | |
Joining by applying molten plastics or by moulding | |
Screen moulding | |
Molding wax | |
Liquid injection molding of liquid silicone rubbers, polyurethanes and other highly reactive materials under high pressure | |
Spinning of moulds for a specific filler concentration or distribution of the filler | |
Encapsulating inserts having non-encapsulated projections, e.g. terminal portions of electrical components | |
Moulding sealings into closures | |
Casting of foodstuff or confectionary | e.g. A23G 3/2023, A23G 1/205 |
Casting cosmetic material, such as lipsticks | |
Making brushes by casting a body around bristles | |
Methods for making crowns for teeth | |
Encapsulating hollow fibres, e.g. for filters, | |
Metal casting | |
Casting of ceramics or other cementitious material | |
Moulding, e.g. casting of optical elements, e.g. lenses, prisms | |
Designs imitating natural patterns | |
Manufacture of films or sheets | |
Encapsulation, potting and similar processes used in electronics | H10W 74/01, H01F 41/005, H01F 41/127, H10W 74/00, H05K 3/284, H05K 3/101 |
In patent documents, the following words/expressions are often used as synonyms:
- "casting", "moulding", "pouring", "potting" and "encapsulating"
This place covers:
depositing material and stripping-off the shaped article
Processes for applying liquids or other fluent materials are provided in B05D 1/00 e.g. coating by rotation: B05D 1/002; coating by spin coating B05D 1/005; coating by dipping B05D 1/18; coating performed by gravity only B05D 1/30.
The difference with the processes provided in the group B29C 41/00, is that in addition to coating step, a step of stripping of the article is provided (cf. the title of B29C 41/00 "...i.e. by depositing material and stripping-off the shaped article...")
This place does not cover:
Shaping by spraying of fibres on a mould, former or core: |
Attention is drawn to the following places, which may be of interest for search:
Spinning the mould for a specific filler concentration or distribution | |
Gloves | |
Automotive skins |
In patent documents, the following words/expressions are often used as synonyms:
- spraying, slush moulding or casting, rotational moulding, rotomoulding, moulding by spinning, spin casting, centrifugal casting.
This place covers:
Compression moulding refers to shaping polymeric materials by using moulding devices movable against the material to apply pressure for shaping and achieving a residual filling of a cavity;
Continuous compression moulding refers to making indefinite articles by using rotatable devices, e.g. wheels or rollers or calenders;
Devices to supply the material to the compression moulding device.
Related moulding processes are:
- Transfer moulding, i.e. transferring the required volume of moulding material by a plunger from a "shot" cavity into a mould cavity. Transfer moulding is classified in B29C 45/02.
- Injection compression moulding, i.e. injecting the polymeric material under pressure into a mould followed by moving the mould or mould parts to compress the material to achieve filling of the cavity and the final shape of the article, wherein initially the mould can be open or closed and/or the cavity can be in a state with enlarged or reduced size. Injection compression moulding is classified in B29C 45/561.
- Shaping by thermoforming (i.e. shaping sheets or sheet-like preforms after heating), e.g. shaping sheets by matched moulds or by deep-drawing and apparatus therefor. Thermoforming is classified in B29C 51/00.
- Surface shaping of already moulded polymeric articles, e.g. by embossing and apparatus therefor. In the case of mechanical embossing, the surface shaping requires a reheating step for the surface to be embossed. Surface shaping of already moulded polymeric articles is classified in B29C 59/00.
- Shaping composites, i.e. plastics material comprising reinforcements, fillers or preformed parts, e.g. inserts, are classified in B29C 70/00. The use of moulding compounds comprising chopped or short fibres are classified in the moulding technique used, e.g. for compression moulding are classified in B29C 43/003 or B29C 43/006, for injection moulding using fibre reinforcements are classified in B29C 45/0005 or for extrusion moulding using fibre reinforcements are classified in B29C 48/2886.
This place does not cover:
Shaping by liberation of internal stresses, the force created by the liberation of the internal stresses being used for compression moulding |
Attention is drawn to the following places, which may be of interest for search:
Manufacturing of articles by compacting or sintering metallic powders | |
Shaping clay or other ceramic compositions using presses | |
Presses in general | |
Photomechanical production of textured or patterned surfaces by imprinting or stamping whereby the pattern is fixed via light or thermal curing. |
In this place, the following terms or expressions are used with the meaning indicated:
Compression moulding | shaping of polymeric materials by using moulding devices movable against the material to apply pressure for shaping and achieving residual filling of a cavity |
Continuous compression moulding | making of indefinite articles by shaping polymeric materials using rotatable devices, e.g. calenders or rollers or wheels |
In patent documents, the following words/expressions are often used with the meaning indicated:
"compacting" | "compression moulding". |
This place covers:
compression moulding processes characterised by the choice of material, e.g. using organic, inorganic or mineral fillers or fibres, using plasticised particulate materials bonded by resin, recycled materials
Attention is drawn to the following places, which may be of interest for search:
Moulding processes characterised by the choice of the material, e.g. wax, aggregates: | |
Pressing of glass: | |
Making brake linings: |
This place covers:
e.g. pressing fleeces made of thermoplastic fibres;
hot-fusion under pressure particles, granules or fibres etc, particles are heated and compressed to partial melt and bond together; thermal bonding under pressure; shaping monoliths
Attention is drawn to the following places, which may be of interest for search:
Sintering (without pressure) | |
Surface fusion and bonding of particles to form voids | |
Moulding processes characterised by the choice of mineral aggregates bonded with resin as the moulding material | |
Prostheses | |
Sintering metallic powders | |
Preheating powders | |
Partial melting of one or more layers to form the bond | |
Sintering fibres | |
Making brake linings |
This place covers:
making articles characterised by the shape of the surface
Attention is drawn to the following places, which may be of interest for search:
Grooves | |
Folding lines | |
Surface shaping | |
Moulding of lenses | |
Moulding of Fresnel lenses | |
Imprinting | |
Embossing machines | |
Decorative arts | |
Packages or encapsulation of microstructural systems | |
Processes for packaging: MEMS | |
Fresnel lenses | |
Apparatus for making LCD's | |
Lithographic processes using stamping | |
Fine patterning magnetic record carriers | |
Optical record carriers | |
Masters, stampers: | |
Manufacturing printed circuits | |
Laminating circuit boards | |
Apparatus for mechanical treatment of semiconductors | |
Making masks on semiconductor bodies |
Attention is drawn to the following places, which may be of interest for search:
Moulds or cores characterised by the location of the parting line of the mould parts | |
Moulding single grooves or ribs, e.g. tear lines | |
Forming folding lines by pressing or scoring |
This place covers:
Compression moulding of symmetrical articles, e.g. balls or ring-like shaped articles or tubular articles.
This place does not cover:
Isostatic pressing using rigid mould parts specially adapted for moulding articles having an axis of symmetry |
Attention is drawn to the following places, which may be of interest for search:
Apparatus or methods for manufacturing balls | |
Making spherical articles, e.g. balls | |
Moulded articles with a profiled transverse cross-section | |
Ring or ring-like shaped moulded articles |
This place covers:
movable moulds with the movement being other than open, closing, clamping, or pressurising, e.g. for curing in a closed mould outside the pressure exerting means, transferring moulds or mould parts between a feeding and a compressing station
Attention is drawn to the following places, which may be of interest for search:
Handling of moulds in general | |
Movable moulds in general | |
Movable moulds for injection moulding | |
Movable moulds for blow moulding |
This place covers:
e.g. moulds or mould parts travelling continuously along a path
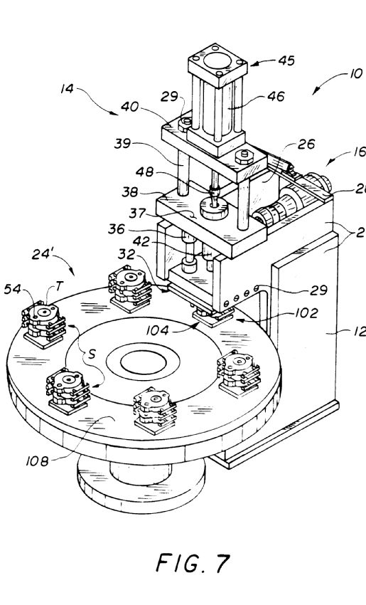
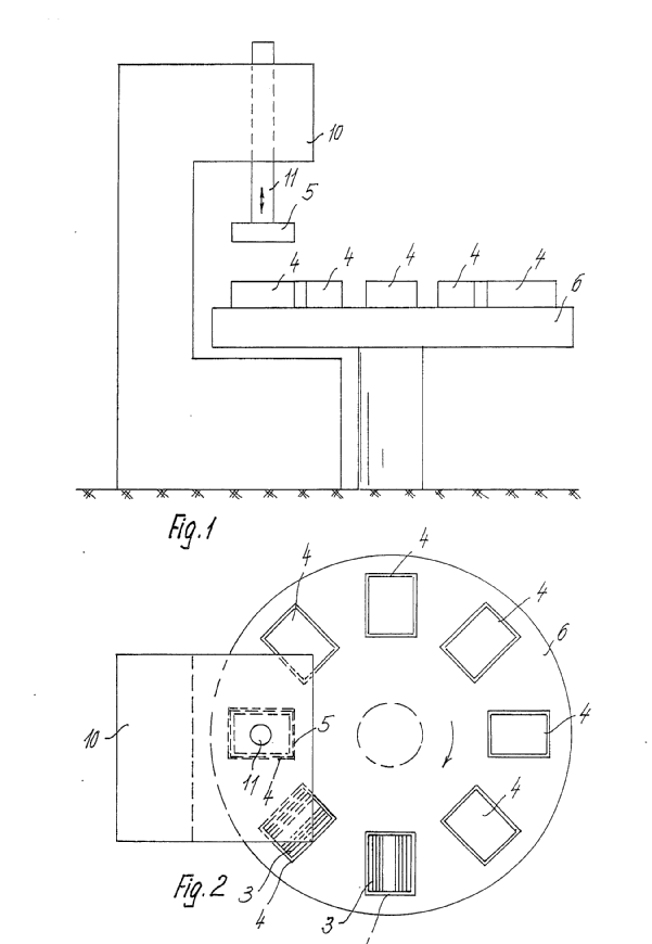
This place covers:
moulds or mould parts mounted on rotating supporting constuction, rotary machines, e.g. turntables, drums, carousels, star wheels
Attention is drawn to the following places, which may be of interest for search:
For injection moulding | |
For blow moulding | |
For presses |
This place covers:
Flexible pressure exerting means, e.g. material characteristics of the pressure exerting member (e.g. special density, composition or syntactic foam).
Attention is drawn to the following places, which may be of interest for search:
Flexible collapsible moulds for facilitating demoulding | |
Applying pressure through membranes | |
Vacuum bagging | |
Hydroforming | |
Bladders for making tyres | |
Flexible pressing means | |
Membrane presses | |
Isostatic pressing in general | |
Laminating glass sheets | |
Vacuum laminating |
This place covers:
Compression moulding processes by using vacuum or inflatable bags.
Examples of places where the subject matter of this place is covered when specially adapted, used for a particular purpose, or incorporated in a larger system:
Shaping or impregnating composites of definitive length by compression using isostatic pressure | |
Flexible cores for vulcanising tyres |
Attention is drawn to the following places, which may be of interest for search:
For indefinite articles |
Attention is drawn to the following places, which may be of interest for search:
Outsert moulding |
Attention is drawn to the following places, which may be of interest for search:
Completely encapsulating inserts |
Attention is drawn to the following places, which may be of interest for search:
Joining of preformed parts using adhesives |
Attention is drawn to the following places, which may be of interest for search:
Joining of preformed parts by heating, with or without pressure, and applying molten plastics | |
Joining of preformed parts using adhesives |
Attention is drawn to the following places, which may be of interest for search:
Joining of preformed parts by heating |
Examples of places where the subject matter of this place is covered when specially adapted, used for a particular purpose, or incorporated in a larger system:
Shaping or impregnating composites by compression for producing articles of indefinite length |
Attention is drawn to the following places, which may be of interest for search:
Floor coverings obtained by sintering or gluing the granules together |
This place covers:
e.g. measuring and regulating calender banks
This place covers:
Pressure exerting means or methods (mechanical, e.g. deformable nets or springs or non-mechanical, e.g. thermal expansion), e.g. pressure equalising means or methods.
Attention is drawn to the following places, which may be of interest for search:
Material characteristics of the isostatic pressure exerting member |
This place covers:
Single pressing elements, e.g. magnets or vibrating elements.
Attention is drawn to the following places, which may be of interest for search:
Compression moulds as such |
This place does not cover:
Feeding material in a continuous form to continuous movable compression moulds |
Attention is drawn to the following places, which may be of interest for search:
Feeding of the material to be moulded in general |
Attention is drawn to the following places, which may be of interest for search:
Dispensing from vessels |
Attention is drawn to the following places, which may be of interest for search:
Feeding using dispensing heads | |
Applying fluent material for coatings | |
Extrusion coating |
Attention is drawn to the following places, which may be of interest for search:
Feeding using moving dispensing heads | |
Applying fluent material for coatings | |
Extrusion coating |
Attention is drawn to the following places, which may be of interest for search:
Injection-compression moulding |
Attention is drawn to the following places, which may be of interest for search:
Feeding in general by using volumetric measuring chambers moving between a charging station and a discharge station | |
Turntables as movable moulds | |
Feeding materials to moulding presses | |
Transfer turntables |
Attention is drawn to the following places, which may be of interest for search:
Transfer stars |
Attention is drawn to the following places, which may be of interest for search:
Turntables as movable moulds |
Attention is drawn to the following places, which may be of interest for search:
Moulds with incorporated means for positioning inserts | |
Positioning articles in the mould for injection moulding |
Attention is drawn to the following places, which may be of interest for search:
Moulding lenses | |
Ram pressing | |
Ram press cooperating with fixed mould | |
Forming pockets in sheets |
Attention is drawn to the following places, which may be of interest for search:
Flexible cores for vulcanising tyres |
Attention is drawn to the following places, which may be of interest for search:
Applying pressure through membranes | |
Vacuum bag-moulding | |
Bladders for making tyres | |
Flexible pressing means | |
Membrane press | |
Vacuum laminating |
Attention is drawn to the following places, which may be of interest for search:
Applying pressure through membranes | |
Vacuum bagging | |
Bladders for making tyres | |
Flexible pressing means | |
Membrane press | |
Vacuum laminating |
Attention is drawn to the following places, which may be of interest for search:
Flexible moulds | |
Deep drawing membranes | |
Vacuum bagging | |
Bladders for making tyres | |
Flexible pressing means | |
Membrane press | |
Vacuum laminating |
Attention is drawn to the following places, which may be of interest for search:
Elastomeric moulds | |
Plastic moulds or cores | |
Isostatic pressing |
Attention is drawn to the following places, which may be of interest for search:
Details of caul plates for shaping composites comprising reinforcements only |
Attention is drawn to the following places, which may be of interest for search:
Lost moulds | |
Moulds for making articles with holes | |
Fusible cores | |
Making porous articles |
Attention is drawn to the following places, which may be of interest for search:
Rollers for making indefinite articles | |
Roller presses | |
Turntable presses |
Attention is drawn to the following places, which may be of interest for search:
Press rams on turntables | |
Presses adapted for forming shaped articles using a press ram cooperating with moulds on turntables |
Attention is drawn to the following places, which may be of interest for search:
Moulds for moulding articles provided with holes in general | |
Moulds for undercut articles in general | |
Manufacture of work pieces or articles provided with cavities or holes from metallic powder |
Attention is drawn to the following places, which may be of interest for search:
Collapsible cores or mandrels |
This place covers:
e.g. exchanging rollers or belts;
e.g. exchanging the coating of rollers;
e.g. adjusting rollers;
Attention is drawn to the following places, which may be of interest for search:
driving arrangements for rollers |
Attention is drawn to the following places, which may be of interest for search:
rollers for mixing plastic material to be shaped | |
rollers with deflection compensating systems, e.g. hydraulic systems |
Attention is drawn to the following places, which may be of interest for search:
Calendering |
Attention is drawn to the following places, which may be of interest for search:
Calendering |
Attention is drawn to the following places, which may be of interest for search:
Using a rotating movement to unscrew articles |
Attention is drawn to the following places, which may be of interest for search:
Collapsible cores or mandrels |
Attention is drawn to the following places, which may be of interest for search:
Blow moulding machines rotatable about one axis | |
Handling means for blow moulding machines |
Attention is drawn to the following places, which may be of interest for search:
Press plates with heating or cooling means |
This place covers:
e.g. compression moulding using vibrations;
e.g. compression moulding while steaming
Attention is drawn to the following places, which may be of interest for search:
Moulds or cores with incorporated venting means | |
Vacuum bag-moulding | |
Vacuum laminating |
This place covers:
- enabling a value, or its relation to a datum, to be determined in the sense of measuring as defined in Note 2 of class G01;
- affecting a variable of the compression moulding process in any way, e.g. changing its direction or its value, maintaining its constant or limiting its range of variation;
- maintaining a variable at a desired value or within a desired range of values;
- selecting a specific value for a parameter, e.g. temperature or pressure, that has a substantial influence on the compression moulding process.
The mere selection of optimum or workable values or ranges of values, without accompanying disclosure of the influence on the compression moulding process or its objective does not qualify for classification in this group.
This place does not cover:
Measuring and regulating calender parameters, e.g. bank quantity |
Attention is drawn to the following places, which may be of interest for search:
Compensating shrinkage |
This place does not cover:
Chemical aspects of foaming |
Attention is drawn to the following places, which may be of interest for search:
Metal foams | |
Ceramic foams |
In this place, the following terms or expressions are used with the meaning indicated:
reticulated | cell wall membranes are removed, leaving a framework only. |
In patent documents, the following words/expressions are often used with the meaning indicated:
"foaming" | "expanding" and "swelling". |
This place covers:
e.g. a soft, porous core covered by a skin or lining when they are made in the same procedure
This place does not cover:
incorporating preformed parts |
Attention is drawn to the following places, which may be of interest for search:
Filling cushion pads |
Attention is drawn to the following places, which may be of interest for search:
Insulating elements for vehicles | |
Foam in superstructures for vehicles |
This place covers:
continuous processes, even if it is followed by a subdivision into separate articles
This place covers:
particular characteristics of the heating or cooling method
Attention is drawn to the following places, which may be of interest for search:
Feeding moulds with granules | |
Making granules | |
under-water, e.g. underwater pelletizers |
Attention is drawn to the following places, which may be of interest for search:
Making or treating expandable particles |
This place covers:
Characteristics of methods for working on an already foamed object
This place covers:
e.g. putting a foam layer and a lining in a mould, followed by compression moulding and joining
Attention is drawn to the following places, which may be of interest for search:
Venting of moulds in general | |
Injection moulds with venting means |
This place covers:
Injection moulding methods
Injection moulding apparatuses
Articles obtained by injection moulding, as far as these articles are characterised by the injection moulding method
This place does not cover:
Reaction injection moulding, liquid injection moulding |
This place covers:
Injection moulding processes characterised by the plastic material. The group contains documents concerning injection moulding with a special material or a process adapted for a certain material.
This place does not cover:
Injection moulding characterised by the use of fibres. | |
Injection moulding characterised by the use of fillers |
This place covers:
Injection moulding processes of continuous or endless articles.
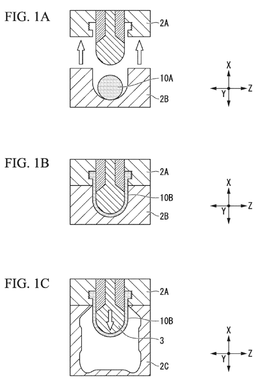
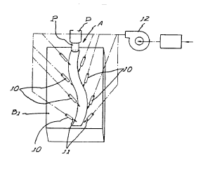
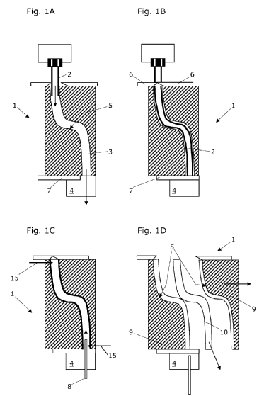
EP847112, fig 7,

EP826475 fig 1c.

Although this group covers a combination of several injection steps, the documents are not classified in B29C 45/16
This place covers:
Injection moulding processes, whereby the fibres are dispersed in the plastic material. The dispersion is usually randomly.
Example EP893228

Attention is drawn to the following places, which may be of interest for search:
Coating reinforcement | |
Coating fibrous material or fibre containing material | |
Resin transfer moulding | |
Injection moulding with short fibres | (Japanese F-term) 4F206/AB25 |
Injection moulding with long fibres | (Japanese F-term) 4F206/AD16 |
Attention is drawn to the following places, which may be of interest for search:
Shaping composites comprising fillers only |
In this place, the following terms or expressions are used with the meaning indicated:
Fillers | relatively inert substances in the form of particles, powder, beads, flakes or spheres, which improve the physical properties or increases the bulk or weight of an article and are randomly dispersed in the material, e.g. additives, dyestuff, colouring material, recycled material |
This place covers:
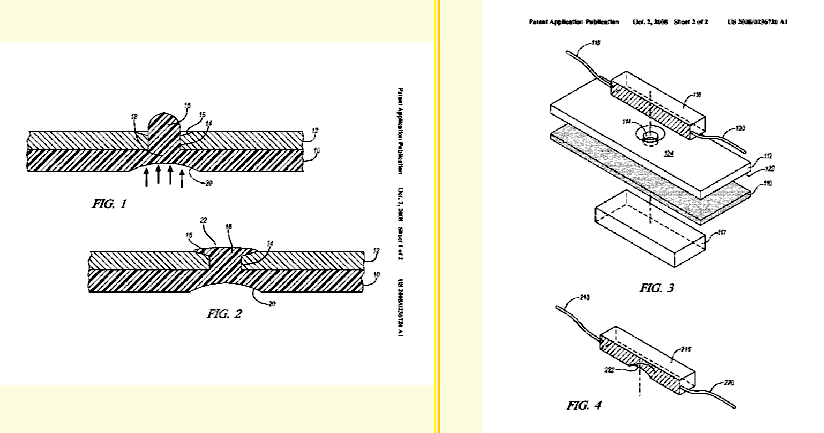
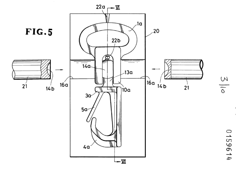
Moulding of movable interconnected elements in a two step moulding process, without applying inserts.
EP159614, fig 5

WO0189795, fig 7,8,10


Attention is drawn to the following places, which may be of interest for search:
Metal casting of rotational elements: | |
Manufacturing of ventilating devices: |
Documents contained in this group are NOT additionally classified in B29C 45/16 and/or B29C 45/26
This place covers:
Moulding processes to avoid the occurrence of burrs, sink marks, warping, location of gate marks or the like on the moulded article
EP508732, fig 8

This place does not cover:
Applying external gas moulding technology for avoiding shrinkage marks |
Attention is drawn to the following places, which may be of interest for search:
Compensation volume change during moulding | |
Details relating to the flow path during moulding |
Attention is drawn to the following places, which may be of interest for search:
Moulds with means for removing excess material, e.g. with overflow cavities |
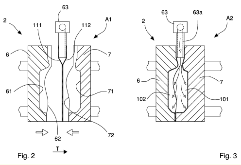
This place covers:
Moulding processes concerning the filling pattern of flow characteristics. Typically this is related to the moulding of parts having thin and thick sections, e.g. for avoiding weld lines.
EP749821 fig 4

EP666159 fig 1, relates to filling, flow patterns.

EP362648, fig 6

Attention is drawn to the following places, which may be of interest for search:
Preventing defects on the moulded articles |
Documents are classified in B29C 45/0046 only, if the inventions concerns only the filling pattern.
Documents are classified in B29C 45/0025 and B29C 45/0046, if the inventions concerns the relation between the filling pattern and the weld line.
This place covers:
e.g. irradiation
US20100156007 figure 1,

addition of an insert
EP495219, fig 2

This place does not cover:
Post thermal treatment of articles |
Attention is drawn to the following places, which may be of interest for search:
In-mould coating |
This place covers:
Moulding processes comprising a shaping step after moulding.
Shaping refers to after treatment by mechanical means, e.g. bending, cutting, drilling, punching.
EP546950 shows in fig 1 & fig 2 a bending step.

EP381023

Documents classified in this group are not additionally classified in B29C 45/16
Attention is drawn to the following places, which may be of interest for search:
Moulds having several axially spaced mould cavities |
Attention is drawn to the following places, which may be of interest for search:
Deburring or deflashing in general |
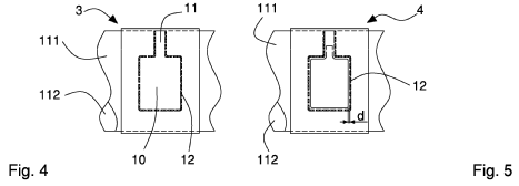
This place covers:
Moulding processes, whereby the thin section is part of the moulded material
EP775639, figures 3, 4.

This place does not cover:
Using movable wall parts for making orifices in or through the moulded article |
Attention is drawn to the following places, which may be of interest for search:
Moulding single grooves, ribs, e.g. tear lines in general |
This place covers:
Moulding processes whereby the material is 'swung' between several positions in/around the cavity. The material flow is not limited to one direction.
EP188120 figures 2 & 3

EP442255 fig 3,4.

This place does not cover:
Applying vibration to mould parts |
This place covers:
Plants showing several working positions or operations, e.g. EP576196

Lay out of plants, e.g.
EP765726

DE19634843, fig 4.

This place does not cover:
Plants for encapsulating articles mounted on a carrier, e.g. lead frame |
This place covers:
Transfer moulding, whereby a shot cavity is provided within the mould. The material is transferred from the shot cavity into the mould cavity/cavities. The plunger is also part of the mould, the transfer takes place within a closed mould.
EP646948, fig 3.

The difference between transfer moulding and compression moulding, is that in case of the latter, the material is compressed while closing the mould and not by separate mould parts after closing.
A typical example of compression moulding
EP510414, fig 3 & 4

This place does not cover:
Resin transfer moulding |
Attention is drawn to the following places, which may be of interest for search:
Compression moulding with pressing members independently movable of the parts for opening and closing the mould |
This place covers:
Drives or pressure equalizing means.
JP5329870, hydraulic chamber 9.

EP0778116

This place covers:
The configuration of the injection moulding apparatus
EP34203, fig 3.

This place does not cover:
Injection apparatuses combining the feeding means with opening, closing or clamping means |
This place covers:
Mainly hand-held injection moulding machines
US2995159

Attention is drawn to the following places, which may be of interest for search:
Spray-up equipment for coating a mould, a core or other equipment: | |
Hand tools for applying fluid in general |
This place covers:
EP0268174

This place does not cover:
Movable moulds for making multilayered or multicoloured articles |
This place covers:
US20060172039


This place covers:
DE10120267

EP351895, fig 9/10.

This place does not cover:
Rotatable moulds or mould halves mounted on a turntable |
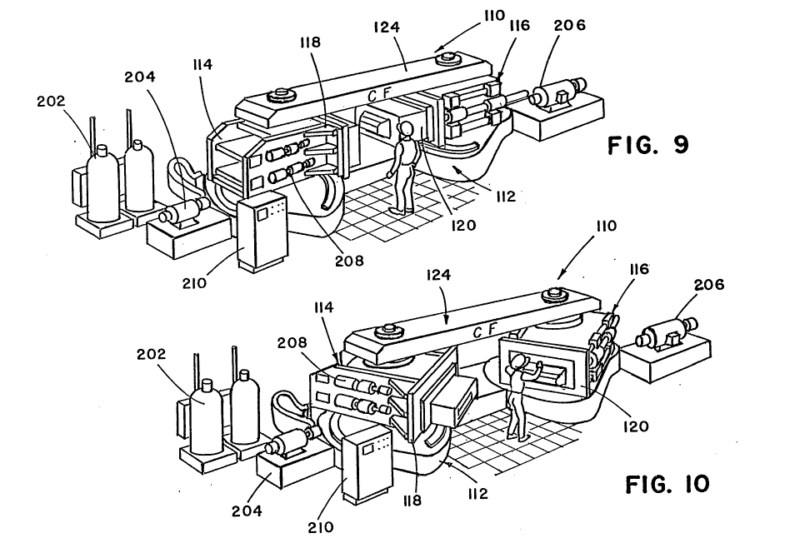
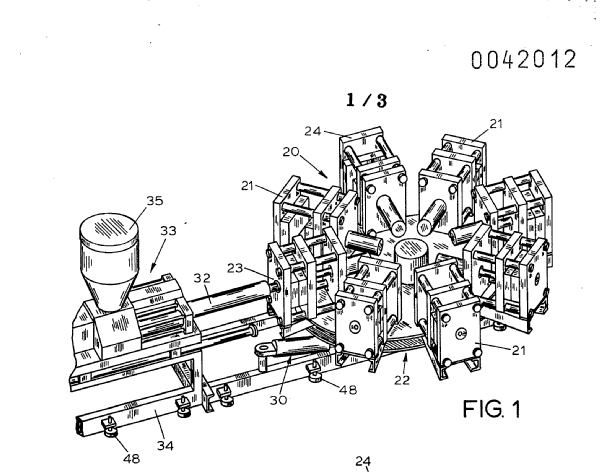
This place covers:
EP42012

In patent documents, the following words/expressions are often used with the meaning indicated:
"circumference" | "surface " |
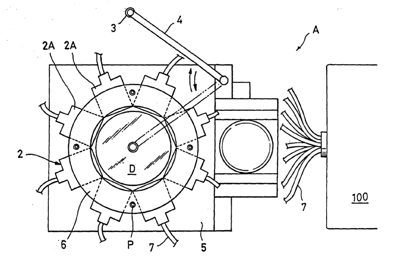
This place covers:
Injection moulding machines comprising a turntable, being a horizontal moving table with complete moulds or mould halves (the mould halves are covered by B29C 45/062). The rotation axis is normally parallel to the open/closing axis of the moulds.
WO9739870
,
EP0529940

Attention is drawn to the following places, which may be of interest for search:
Turntables for presses |
This place covers:
EP300068 fig 1

US20060177539

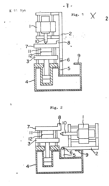
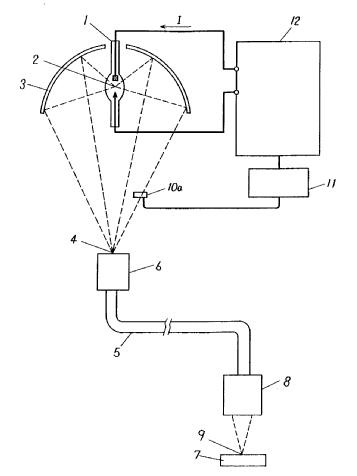
This place covers:
Injection moulding processes, whereby EACH moulding cycle, the injection unit is MOVED and removed.
US3924994, fig 1& 2.

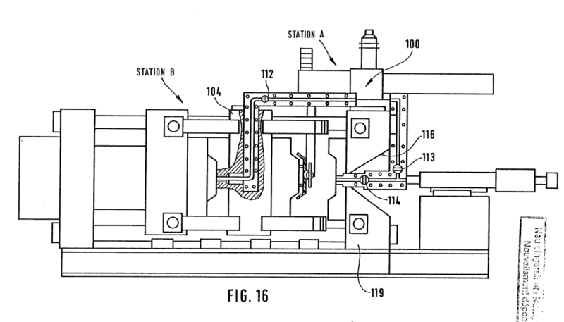
This place covers:
EP438721 fig 1,2 position A & B

This place covers:
Injection moulding processes, whereby the injection unit and the mould move at the same time. FR2155808 dashed line 5

This place covers:
Different arrangements or combinations concerning the mould AND the injection unit.
Different arrangement of the mould and injection unit DE2543448, fig 1 & 2

Different combination of the mould and injection unit EP138169, fig 1 & 2

Note that the different arrangement or combination are not related to one moulding cycle but to a long period of use.
This place does not cover:
Moulds in different combinations |
This place covers:
The INJECTION UNIT cooperates with BOTH MOULDS through a runner channel.
EP326175, figure 16

Attention is drawn to the following places, which may be of interest for search:
Stack moulds |
This place covers:
EP265603 fig 1

EP13118 fig 2,

WO9702126 fig 2.

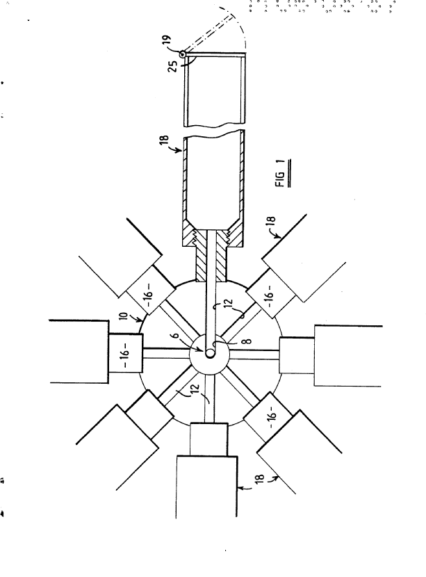
This place covers:
Several injection units, typically for quickly filling one mould.
FR2381616, figure 1

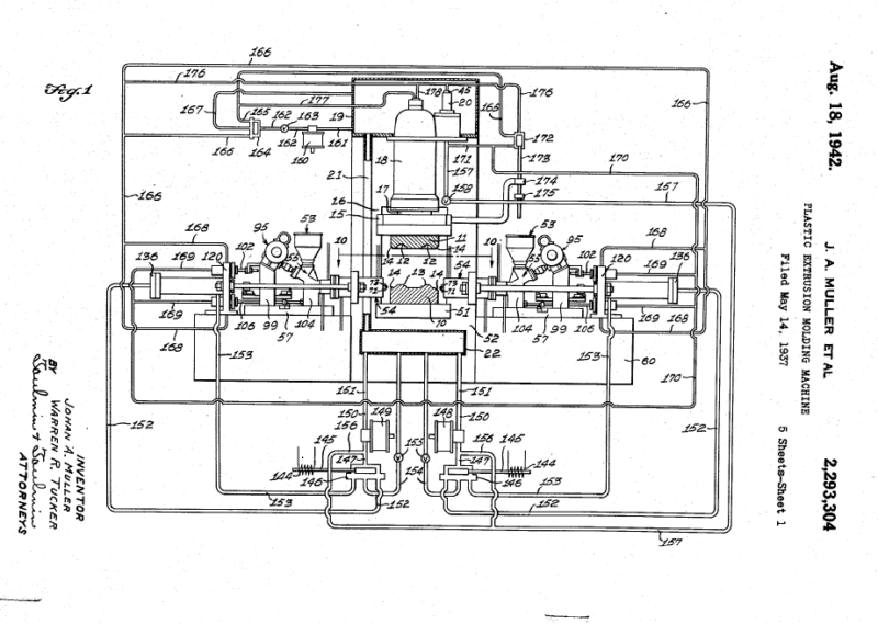
US2293304, figure 1

Attention is drawn to the following places, which may be of interest for search:
Multi-component injection moulding |
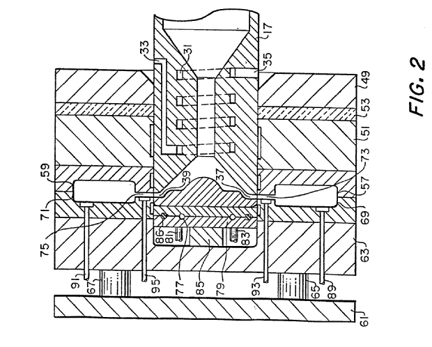
This place covers:
EP492052 fig 1 & 2, label A.

In patent documents, the following words/expressions are often used as synonyms:
- "inserts","preformed parts", "articles", "films" and "preformed layers"
This place covers:
Usually robots for inserting the to be overmoulded articles into the mould cavity
EP373023, figure 1

Attention is being paid to the difference between B29C 45/14008 and B29C 45/14065, B29C 45/14008 concerns the inserting of the articles INTO the mould. B29C 45/14065 concerns the positioning of the already inserted article WITHIN the mould (cavity).
Attention is drawn to the following places, which may be of interest for search:
Handling of preformed parts in general | |
Inserting labels or films into blow moulds | |
Feeding of linings or labels for thermoforming | |
Locating or holding inserts in metal casting | |
Orienting articles in an article feeder for assembling machines |
This place covers:
Non-continuous feeding of a film
EP101095, fig 2

This place covers:
EP231670, punch mechanism 3

This place covers:
EP37032 fig 3 & 4.


Inserts are introduced in storage space 10 inside the mould and when the mould is closed, one insert is transferred each moulding cycle by transfer means 27.
This place covers:
EP257681 pin 110 in fig 11(means are here part of the insert)

Where B29C 45/14008 concerns the inserting of the insert INTO the mould, B29C 45/14065 concerns the positioning or centering in the cavity of the already inserted insert.
Attention is drawn to the following places, which may be of interest for search:
Moulds with incorporated means for centering inserts in general | |
Moulds using magnetic means for positioning inserts in general | |
Moulds using vacuum to position inserts in general |
This place covers:
EP257681, retracting pins

This place covers:
EP782908 insert S

Attention is drawn to the following places, which may be of interest for search:
Shaping linings by compression of the moulding material |
This place covers:
Moulding of edge wrapped articles
Attention is drawn to the following places, which may be of interest for search:
Lining or sheeting by folding, winding, bending or the like |
This place covers:
Deformation by mechanical means
EP721831, fig 1-3,


EP592768, fig 1,

P517614, parts 11a, fig 1

This place does not cover:
Deformation by injection pressure |
This place covers:
Bonding means, e.g. adhesives, chemical means, locking configurations
EP976519, perforation in fig 2.

Attention is drawn to the following places, which may be of interest for search:
Measures or configurations for obtaining an anchoring effect in contacting areas general |
This place covers:
Moulding processes, whereby a part of the insert is outside the cavity during the moulding process. EP1013392 fig 7, insert 4, coating 6 & 8

EP727289, only handle of the insert

This place does not cover:
Coating the edge of articles at spaced locations | |
Coating a portion of tubular articles |
This place covers:
outsert moulding: EP65220, insert 8 is, at least partially OUTSIDE the moulding material 14

Attention is drawn to the following places, which may be of interest for search:
Permeable inserts | |
Moulding in general on a relative small portion of the preformed part e.g. outsert moulding |
This place covers:
The use of an additional fastening element in combination with partial coating of an insert only (note: B29C 45/14467 takes precedence)
EP468713, fig 2 insert 2 and additional fastening means 12

EP436438 with additional fastening means 22 & 27 (fig 2 & 3).

Attention is drawn to the following places, which may be of interest for search:
Moulding in general on a relative small portion of preformed parts to be joined |
This place covers:
EP676268

Attention is drawn to the following places, which may be of interest for search:
Brushes characterised by mouldable materials for fixing the bristles | |
Moulding or casting a brush body around bristles or tufts |
This place covers:
GB1431460, fig 2 corner 5;

US4778550 end part 22

This place covers:
The application of separate sealing means, as well as sealing by mould parts, e.g. core mould and cavity walls
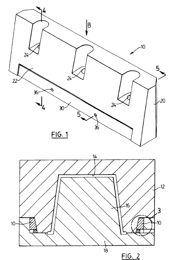
EP0845340-fig 4, seals 140 & 142,

JP63-67127, sealing members 3 & 4

JP63-89313, seals 6a & 6b,

Attention is drawn to the following places, which may be of interest for search:
Sealing means for sealing off parts of the insert during moulding in general |
This place covers:
Moulding on glass inserts
Moulding on windscreens, whereby the windscreen is not made out of the brittle material glass, but out of a transparent plastic.
This place covers:
EP792960, fig 2 parts 1 & 7, connected by material 10

This place does not cover:
Joining articles moulded in separate cavities as final operation | |
Joining tubular articles |
Attention is drawn to the following places, which may be of interest for search:
Joining preformed parts by the expansion of the moulding material | |
Joining of preformed parts by moulding | |
Moulding in general on preformed parts to be joined | |
Casting around parts for joining | |
Key-type connections formed by solidification of injected material |
This place covers:
FR2272816 fig 1 & 2

GB1360801 fig 1 part 5

Attention is drawn to the following places, which may be of interest for search:
Machines for making boxes by folding sheets combined with injection moulding for joining opposed edges |
In this place, the following terms or expressions are used with the meaning indicated:
Juxtaposed | is being defined as lying next to each other within the same plane, while the juxtaposed parts touch each other along one edge |
This place covers:
WO0024561, fig 2, parts 31 and 33 connected by plastic 29

This place covers:
EP953423 fig 1-3, articles 11-13

EP376263, fig 4, sheets 1a, 1b.

EP829337 fig 6 & fig 10.

This place covers:
EP719628, figure 1, rod like insert 21

EP33848, figure 5 insulator insert 11

WO9107934, figure 3.

Attention is drawn to the following places, which may be of interest for search:
Assembly methods and manufacture of light guides |
This place covers:
EP225846, fig 4 wire 3, several plastic locations 21
.
EP221851, fig 6. Insert 1, plastics 22,23

This place covers:
EP641637 Insert 1, 24 at THE EDGE, at SPACED LOCATIONS.

Attention is drawn to the following places, which may be of interest for search:
Pressure die casting of slide fasteners | |
Producing fasteners with separate interlocking members |
This place covers:
GB1128619 Inserts 20 & 20, plastic 18,

FR1435472, figure 2, wire 11 & 21, plastic 20

This place covers:
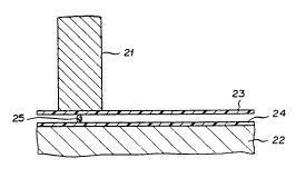
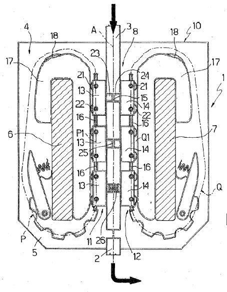
Insert moulding processes for making rollers, wheels, bearings, tyres
EP712708 fig 1. Insert 21 & 22 - annular cavity C.

EP287495, fig 1. Retreading of a tyre.

Attention is drawn to the following places, which may be of interest for search:
Producing roller bodies | |
Assembling wheels on an axle for making a castor | |
Guiding rollers, wheels or the like formed by or on the outer element of a single bearing |
This place covers:
US6210621, fig 4- 6 Part 61 is moulded onto part 8d.

EP810073, fig 12

Attention is drawn to the following places, which may be of interest for search:
Moulding on the end part of tubular articles in general | |
Producing rollers of cylinders |
Note that although the article is often coated only partly, the classification is only done in B29C 45/14598, since it takes precedence over B29C 45/14336
This place covers:
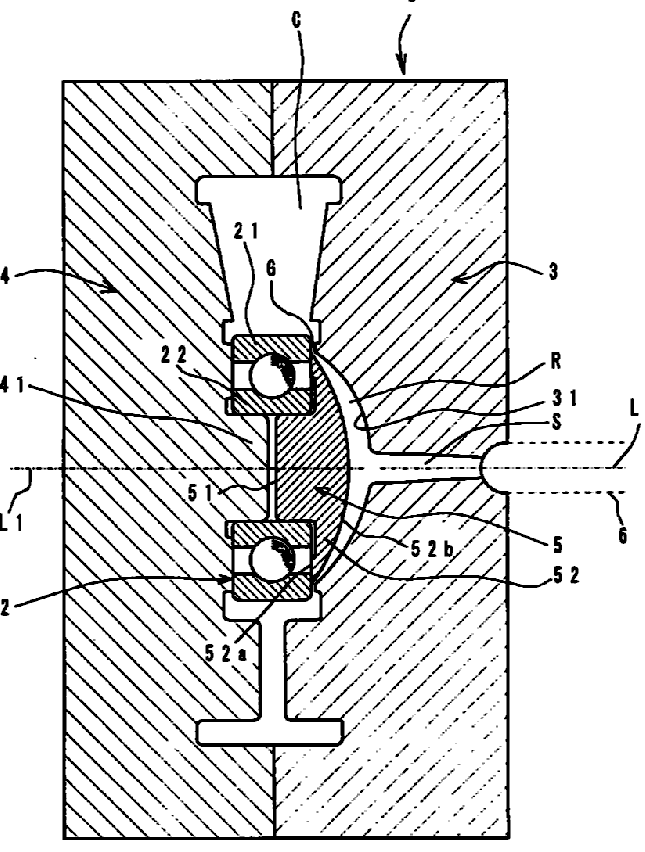
EP79575, fig 1 & 2. Plastic 12 and 14 connect the tubes 1, 2 and 3.

This place covers:
WO9317847, fig 1-6, tubular article 12, core inside for pressure compensation, lining 30



This place covers:
Overmoulding of reinforcements, being an insert not forming a part of the moulding material before the moulding process:
e.g. overmoulding single wires or fibres, overmoulding metal parts used as reinforcement.
EP487476

EP439033

Attention is drawn to the following places, which may be of interest for search:
Injection moulding using fibre reinforced plastics | |
Incorporating articles with special properties | |
Resin transfer moulding |
This place covers:
Overmoulding only when the disclosed moulding process is of importance due to the potentially very wide scope of possible applications (see also the informative references).
EP446489, fig 11

Attention is drawn to the following places, which may be of interest for search:
IC or chip cards | |
Cables, conductors | |
Resistors | |
Transformer, windings | |
Capacitors | |
Plugs, electric contacts | |
Repairing electric cables, joints, connectors | |
Machine engines, motors | |
Sealed casings | |
Apparatus or processes specially adapted for manufacturing or adjusting assemblages of electric components | |
LEDs |
This place covers:
Moulding processes, whereby the chip is embedded during the moulding process.
EP481557

Attention is drawn to the following places, which may be of interest for search:
Identity cards and the like | |
Mounting details of chip cards in general |
This place covers:
EP489349, fig 4, chip 22, lead frame 18. Runner 412 & Gate 416, 418. The moulding step in this group usually concerns transfer moulding.

The scope of this group is small in comparison to a typical related product group like H10W 74/016, since B29C 45/14655 is limited to disclosures related to the moulding process as such.
Attention is drawn to the following places, which may be of interest for search:
Apparatus for sealing, encapsulating for manufacturing or treating semiconductor or solid state devices | |
Moulds for encapsulating semi-conductors |
This place covers:
EP825006, fig 1. Loading, unloading, etc.

Attention is drawn to the following places, which may be of interest for search:
Plants in general |
In B29C 45/14688, the insert is the decoration itself or the insert comprises a decoration and nothing more.
In the case with a plurality of layers where the decoration layer is one of them, the classification is B29C 45/14811
Furthermore, typical for B29C 45/14688 is that the moulding process is adapted or optimised for coating articles with a decoration.
Standard film overmoulding is classified B29C 45/14778, even if the film is provided with a decoration.
WO98/09790, fig 2 & 5, insert 18 and plastic 28.


This place does not cover:
Incorporating decorated single layer or multi layered films by standard moulding processes | |
Applying transfer foils |
In this place, the following terms or expressions are used with the meaning indicated:
Decoration | A film provided with ink, paint or like means to create a decorative effect or information. |
This place covers:
Overmoulding inserts that can move relatively to the plastic after finishing the moulding process. Typically applied for making bearings and to preventing adhesion.
EP27770, insert 37 and plastic 16.

This place covers:
E.g. moulding on films
In this group, it is of upmost importance that the material, condition or the property of the insert is identified by allocating the appropriate Indexing Code as provided in the subclass B29K
This place covers:
Moulding processes whereby inserts are coated, but not impregnated
EP547625, insert 13 is not completely impregnated but coated at only one side

JP5269785

The difference between B29C 45/14786 and resin transfer moulding (B29C 70/48) is the way of coating.
In the group B29C 45/14786, the fibrous insert is not completely impregnated but coated at only one side.
A process, whereby an insert of fibrous material is complete impregnated refers to resin transfer moulding, even if the process is done by injection moulding.
Coating of single fibres/wires is classified B29C 45/14631
Attention is drawn to the following places, which may be of interest for search:
Coating reinforcement | |
Resin transfer moulding |
This place covers:
EP743155 fig 8a-8d, directly injection on two layers of foam.


Note the difference between B29C 45/14795 and B29C 45/14811.
Moulding processes, whereby material is injected directly on foam, is covered by B29C 45/14795.
In the case of a multilayer insert where one of the layers consist of foam, the classification is B29C 45/14811
Attention is drawn to the following places, which may be of interest for search:
Coating multilayered articles |
This place covers:
EP1025973, fig 1, release layer, protecting layer, etc.

Injection fig 7 & 8.

Concerning the preference of B29C 45/14827, it should be taken into account that this preference concerns either a double layered product where one layer is the transfer foil or a multilayered product, but were the invention concerns the use transfer foil as such (the identity of the other layers are not important for the invention).
Moulding processes, where the invention concerns the making of the multilayered inserts and where the fact that one of the layers can be removed is only disclosed on the level of additional information, is covered by the group B29C 45/14811.
This place does not cover:
Insert and adhesive layer only | |
Insert with only decoration, paint, ink | |
Coating a porous layer |
Attention is drawn to the following places, which may be of interest for search:
laminated inserts overmoulded by injection moulding (Japanese F-term) | 4F206/AD20, 4F206/AG03 |
In this group, it is highly desirable to identify every layer of the insert by allocating the appropriate Indexing Code as provided in the subclass B29K, or even the ones provided in B29L
Typical examples:
Fabric layers: B29K 2713/00
Scratch resistant layers, Abrasion resistant layers, protection layers: B29K 2995/0089
Barrier layers for gases: B29K 2995/0067
Decorative layers: B29K 2995/002
Porous layers, foam layers: B29K 2715/003
Adhesive layers: B29K 2715/006
Paint layers: B29L 2009/006
Metal layers: B29K 2705/00, B29L 2009/003
Layers with a metalized surface: B29L 2009/008
Hydrophobic layers: B29K 2995/0093
Hologram layers: B29L 2031/7224
This place covers:
Making of golf balls by insert moulding
EP425933

This place does not cover:
Completely encapsulating reinforcement |
Attention is drawn to the following places, which may be of interest for search:
Positioning articles in the mould by means being retractable during the injection |
This place covers:
E.g. applying transfer foils to obtain decorative moulded articles.
Multilayered inserts whereby one layer is transfer foil to be removed from the remaining insert during the moulding process.
WO9516555, the dye material is transferred from the support layer to the plastic, the support layer is afterwards removed.

Attention is drawn to the following places, which may be of interest for search:
Memory cards or chip cards |
Attention is drawn to the following places, which may be of interest for search:
Sealing means between mould and article |
This place does not cover:
Injection moulding of successively moulded portions rigidly joined to each other | |
Injection moulding of interconnected elements which are movable with respect to each other | |
Joining articles injection moulded in separate cavities by injection moulding as final operation |
If of general interest, classification as provided in the B29C 45/04 and it subgroups can be allocated to documents classified in this group, typically at additional information level to identify the type of mould movement. Exceptionally the classification in B29C 45/04 or its subgroup can be added at inventive level, if the alleged invention relates to the movement of the mould, whereby said movement is of general interest and use.
Attention is drawn to the following places, which may be of interest for search:
Co-extruding a multicoloured striated pattern |
This place covers:
Multi-component injection moulding processes whereby the second cavity is present before movement of the displaceable mould part.
This place does not cover:
Multiway nozzles |
Attention is drawn to the following places, which may be of interest for search:
Blow moulding of parisons with at least one injected layer |
In this class it is highly desirable to identify all aspects related to insert moulding by allocating the appropriate classification as provided for in B29C 45/14 and subgroups at additional information level.
This place does not cover:
Multi-component injection moulding using different moulding stations |
Attention is drawn to the following places, which may be of interest for search:
Blow moulding of parisons with at least one injected layer |
Attention is drawn to the following places, which may be of interest for search:
Making multi-layered or multicoloured articles with a non-uniform dispersion of the moulding material in the article, e.g. resulting in a marble effect |
This place covers:
filters not in the nozzle located
exchanging runner channels
locking of mold halves during transport
This place covers:
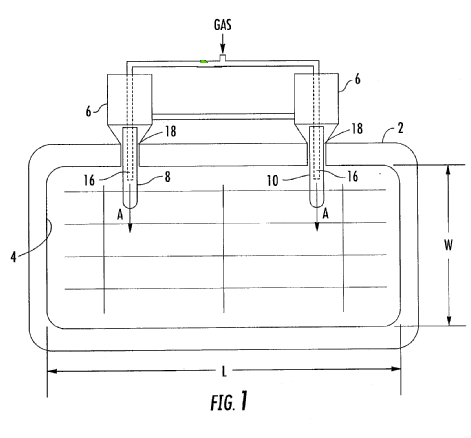
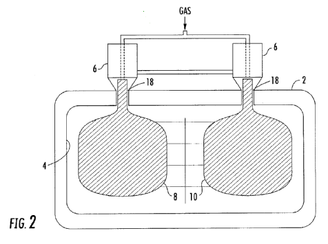
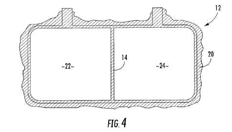
Moulding in an environment of inert gasses, reactive gasses, e.g. for preventing mould sweating or plastic oxidation
This place does not cover:
Injection moulding in vacuum environment |
Attention is drawn to the following places, which may be of interest for search:
Casting under special conditions | |
Compression moulding under special conditions | |
Blow moulding in a particular environment | |
Moulding in general using a particular environment | |
Clean rooms for manipulators |
This place covers:
the application of cooling or heating fluids as auxiliary fluid, counterpressure methods
This place covers:
IGM (internal gas moulding)
Attention is drawn to the following places, which may be of interest for search:
EGM (external gas moulding) |
This place covers:
E.g. the use of a plurality of gasses, refrigerating gasses, and other substances in combination with standard fluid
Attention is drawn to the following places, which may be of interest for search:
Blow needles for blow moulding |
This place covers:
EGM (External Gas Moulding)
Attention is drawn to the following places, which may be of interest for search:
IGM |
This technology is mainly applied for avoiding shrinkage marks, however these documents are not additionally being classified in B29C 45/0025
Attention is drawn to the following places, which may be of interest for search:
Mould seals for injection moulding |
Attention is drawn to the following places, which may be of interest for search:
Mounting of moulds in general | |
Mould plates mounted on frames | |
Mounting of stampers |
Attention is drawn to the following places, which may be of interest for search:
Means for maintaining press tables or press platens against deflection |
Attention is drawn to the following places, which may be of interest for search:
Mounting of press columns in presses |
Attention is drawn to the following places, which may be of interest for search:
Mounting of press columns in presses |
This place covers:
the control and regulation of mould thickness adjustment
This place covers:
cleaning the injection unit
cleaning the mould
Attention is drawn to the following places, which may be of interest for search:
Cleaning of moulds and cores in general | |
Cleaning extruder parts |
Attention is drawn to the following places, which may be of interest for search:
Handling of moulds in general | |
Mounting of moulds |
Attention is drawn to the following places, which may be of interest for search:
Exchanging extruder parts |
Attention is drawn to the following places, which may be of interest for search:
Mould plates mounted on frames: |
This place covers:
Sorting, guiding, stacking, grinding
This place does not cover:
shaping of moulded articles | |
heating and/or cooling moulded parts |
This place covers:
(mechanical) features of the display unit itself.
Attention is drawn to the following places, which may be of interest for search:
using visualisation means in moulding processes general |
Attention is drawn to the following places, which may be of interest for search:
Drive connections for presses |
This place covers:
Adjusting the nozzle in respect to the mould
Attention is drawn to the following places, which may be of interest for search:
Linear motors; Sectional motors |
Attention is drawn to the following places, which may be of interest for search:
Axially movable screws rotated by the coaxial rotor of an electric motor |
Attention is drawn to the following places, which may be of interest for search:
Auxiliary operation using a particular environment during moulding, e.g. moisture-free or dust-free | |
Means for guiding or orienting articles while dropped from the mould | |
Moulds having venting means | |
Used as safety device |
Attention is drawn to the following places, which may be of interest for search:
Dispensing moulding material from hoppers in general | |
Feeding of the material to be moulded | |
Feeding the material to be extruded |
This place covers:
feeding of tablets, preforms
Attention is drawn to the following places, which may be of interest for search:
Injection of preformed charges of material |
This place covers:
E.g. feeding auxiliary material into the runner channel, the auxiliary material can for example be recycled material or fibre reinforcements
Attention is drawn to the following places, which may be of interest for search:
Feeding additives to the extruder |
This place covers:
Changing the feed from hoppers containing the same material or different materials, using one hopper to which different materials are supplied
Material switches
This place covers:
The machine nozzle, injecting the moulding material into the mould
This place does not cover:
Machine nozzles specially adapted for multi-component injection moulding |
Attention is drawn to the following places, which may be of interest for search:
Runner nozzles, i.e. the nozzles located within the mould |
Attention is drawn to the following places, which may be of interest for search:
Using a material distribution system for two or more fixed moulds |
This place covers:
needles valves that are pushed against a seat inside of a nozzle.
This place covers:
all filters, when they are located upstream of the nozzle within the injection unit.
Attention is drawn to the following places, which may be of interest for search:
Filters in the mould | |
Filters in extrusion nozzles or dies | |
Filtering material to be shaped |
This place covers:
Moulds for particular articles
EP263575
Attention for the assignment of the Indexing Codes as provided in the subclass B29L!
This place covers:
DE4337942, fig 1 Klinkenzug (=constructional element) to allow the several mould elements to move in a certain order.

DE4124590, fig 4, interconnecting elements

This place covers:
Guiding and centering of the moulds relatively to each
Guiding and centering a mould half on the mould carrier plate
DE1951908, fig 2,

US5776517, cf. centering means 10

Attention is drawn to the following places, which may be of interest for search:
Centering mould halves or parts in general |
This place covers:
EP958908, Element 106 is a sealing element.

This place does not cover:
Applying a sealing means as an insert |
Attention is drawn to the following places, which may be of interest for search:
Moulds in general provided with sealing means | |
Compression moulds provided with means to avoid flashes | |
Die seals for pressure casting |
This place covers:
EP852339 optical connectors, fig 7b, 51,52 = tubular

EP501091, fittings, element G in figure 7

Attention is drawn to the following places, which may be of interest for search:
Producing pipe or pipe joints | |
Ferrules for optical fibres |
In this place, the following terms or expressions are used with the meaning indicated:
Tubular | refers to being open at both ends and hollow |
This place covers:
DE2633050 see element 13, fig 2.

GB2145364

DE2757756

Attention is drawn to the following places, which may be of interest for search:
Producing tyres or parts thereof by injection moulding |
Attention is drawn to the following places, which may be of interest for search:
Moulds in general for stripping articles from a mould core using a rotating movement: to unscrew articles | |
Discharging articles by stripping from a mould core using a rotating movement: to unscrew articles |
Attention is drawn to the following places, which may be of interest for search:
Producing casings, e.g. accumulator cases |
Attention is drawn to the following places, which may be of interest for search:
Moulds with deep narrow cavities in general | |
Making of toothbrushes |
Attention is drawn to the following places, which may be of interest for search:
Moulds for making articles with holes in general |
Attention is drawn to the following places, which may be of interest for search:
Producing phonographic records | |
Preparing and using a stamper for the manufacture of records or carriers | |
Record carriers characterised by their resin composition |
This place covers:
the mounting of stamper layers
Attention is drawn to the following places, which may be of interest for search:
Heating or cooling the injection mould in general |
Attention is drawn to the following places, which may be of interest for search:
Moulds with exchangeable mould parts in general: | |
Adjustable moulds in general: | |
Adjustable moulds for injection moulding: |
This place covers:
Sprue bushings, runner nozzles, runner channels
This place does not cover:
Runner nozzles for multi-component injection moulding |
Attention is drawn to the following places, which may be of interest for search:
Machine nozzles (i.e. the nozzles injecting the material into the mould) |
Attention is drawn to the following places, which may be of interest for search:
Material feeding channels in general |
This place covers:
e.g. rotatable sprue bushings
Attention is drawn to the following places, which may be of interest for search:
Mould filling gates in general |
In this place, the following terms or expressions are used with the meaning indicated:
gate | the mould part that connects the runner with the cavity or cavity entrance. |
This place covers:
Side gates
Attention is drawn to the following places, which may be of interest for search:
Needle valves in spray nozzles in general |
This place covers:
Stack moulds
Attention is drawn to the following places, which may be of interest for search:
Stack moulds in general | |
Presses having several platens arranged one above the other |
This place covers:
E.g. moulding in a vacuum environment
Attention is drawn to the following places, which may be of interest for search:
Moulds with incorporated venting means in general | |
Moulding using vacuum in general | |
Venting means for metal casting moulds |
This place covers:
Mould cavity wall materials
Attention is drawn to the following places, which may be of interest for search:
Mould coatings in general |
This place covers:
Moulds walls provided with a surface roughness
Attention is drawn to the following places, which may be of interest for search:
Moulds provided with means for marking or patterning in general |
This place covers:
Mould cavity wall indicator means which are able to be adjusted in the mould.
This place does not cover:
Indicators by exchanging parts of the cavity wall |
This place covers:
Changing of the cavity configuration, e.g. by mould parts that are movable
Attention is drawn to the following places, which may be of interest for search:
Cutting-off sprues in pressure die casting | |
Cutting-off surplus material in metal casting |
This place covers:
The process of the ejection
EP92916

Mechanical details of the ejector (covered by B29C 45/4005 and B29C 45/401)
Attention is drawn to the following places, which may be of interest for search:
Moulds with means for removing or ejecting articles in general | |
Discharging articles from the mould in general | |
Ejecting castings in pressure die casting |
This place covers:
EP503068 fig 1, construction of the drive of the ejection unit.

Attention is drawn to the following places, which may be of interest for search:
Mechanical ejectors of moulds in general |
This place covers:
WO9819845, fig 3 and 4, sealing means 13 and construction 15 are special features of the pin.


This place covers:
Robots for removing moulded articles
EP218101

Attention is drawn to the following places, which may be of interest for search:
Discharging moulded articles by robots in general | |
Manipulators for evacuating cast pieces in pressure die casting | |
Robots in general |
This place covers:
EP837666, the moving mould causes the rack to rotate the pignon to move the robot

This place covers:
The part of the robot that picks up the moulded article
EP919352

Attention is drawn to the following places, which may be of interest for search:
Gripping heads of manipulators in general | |
Gripping devices for feeding or discharging articles from a conveyor |
This place covers:
US4438065, fig 5 & 6, air through channel 70 & 75

US3892512, fig 4 & 5

Attention is drawn to the following places, which may be of interest for search:
Using fluid pressure to remove articles from the mould in general |
This place covers:
EP818297, fig 5

EP100422 fig 1 & 2

Attention is drawn to the following places, which may be of interest for search:
Bellows obtained by moulding |
This place covers:
EP595491

In this place, the following terms or expressions are used with the meaning indicated:
undercut | an opening in a moulded article made by a supplementary mould part which can not move in an axial direction upon mould opening. |
This place covers:
the flexible movement is the UNDERCUT PORTION of the ARTICLE
EP635351, fig 8,9,10 part 24 can move flexible

EP510650, fig 1, undercut 44,/64. fig 2b & 4b core moves and undercut can flex away

Attention is drawn to the following places, which may be of interest for search:
Discharging moulded articles from the mould by deforming undercut portions of the article in general |
This place covers:
moulds comprise usually two types of cores.
US5403179, items 108 and 138 are collapsible, because of the insertable and removable pin.
The movement of the cores is linked to each other.

US4286766

Attention is drawn to the following places, which may be of interest for search:
Collapsible cores or mandrels for removing or ejecting moulded articles in general | |
Collapsible cores for winding and joining |
This place covers:
Only undercut forming element being driven by the ejector means.
Three types of undercut forming elements are present:
Flexible:
EP1201396, fig 4, undercut forming element 3, flexing at 2, driven by 9/10

Inclined:
US5551864, inclined element 26 driven by 24

Tiltable (or pivotable),
US5773048, Undercut forming element 94, driven by ejector 46. See hinge 90-92 (fig 1 & 2)


DE19507009, figure 1

Attention is drawn to the following places, which may be of interest for search:
Inclined, tiltable or flexible undercut forming elements driven by other means than the ejector |
This place covers:
Soluble cores, e.g. salt, ice, wax, plastic, metal
EP173447, claim 1, core 17 (fig 1-5)

Attention is drawn to the following places, which may be of interest for search:
Destructible cores to facilitate the removal or ejection of moulded articles in general | |
Soluble cores to facilitate the removal or ejection of moulded articles in general |
This place covers:
EP1223021, fig 2 & 3. The pincers of the head open automatically.

EP421136, pivotable/tiltable. Plastic = 5, part 14/14a pivotable. The outside pivoting movement of 14 is actioned by 16.

EP738578, fig 5-7, pivotable part 9


US5630977 fig 1 & 2 (flexible)

This place does not cover:
Pivotable undercut forming elements driven by the ejector |
Attention is drawn to the following places, which may be of interest for search:
Elastic or flexible cores or mandrels to facilitate the removal of the moulded article |
This place covers:
DE2609198, fig 4-6, non-rigid element 24,

DE2239508, element 20 can act in a flexible way after rod 24 is removed

GB2323321, inflatable means 28,

FR1559371, element 9

US5080576, element 16

This place covers:
Injection of lumps, billets, tablets, preforms
Attention is drawn to the following places, which may be of interest for search:
Feeding of measured doses | |
Blocks, tablets as preform for moulding |
This place covers:
Grooved conical discs for plasticising or injection
Attention is drawn to the following places, which may be of interest for search:
Using rollers or discs in extrusion moulding |
This place covers:
Drives for axially movable screws by rotation and translation or translation only
This place does not cover:
Drives for axially movable screws by rotation only |
Attention is drawn to the following places, which may be of interest for search:
Hydraulic circuits in injection moulding machines as such |
Attention is drawn to the following places, which may be of interest for search:
Moulding articles between moving mould surfaces |
Attention is drawn to the following places, which may be of interest for search:
Moulds having transversely, e.g. radially, movable mould parts |
This place covers:
applying vibrations to runners, gates, etc. during moulding.
Attention is drawn to the following places, which may be of interest for search:
Using vibrations during moulding in general |
This place covers:
the application of dwell pressure
Attention is drawn to the following places, which may be of interest for search:
Compensating volume or shape change during moulding in general | |
Applying pressure to compensate volume change during casting |
This place covers:
the application of dwell pressure by means incorporated in the mould, e.g. locally pressurizing pins
EP662383 (mould wall part)

EP1052078 (runner part)

The difference between injection compression moulding (B29C 45/561) and B29C 45/572 is typically that in injection compression moulding a movable mould half is used for shaping the material in the cavity, while in B29C 45/572 the already shaped material is pressed for compensating the volume change caused by the shrinkage. Pressurizing is typically done locally e.g. by pressurizing pins
It is further noted, that B29C 45/56 comprises a reference out, that B29C 45/572 takes precedence.
This place does not cover:
Details of the screw | |
Heating or cooling of the injection unit |
Attention is drawn to the following places, which may be of interest for search:
Mixing devices in extrusion moulding | |
Extruder like static flow mixers in general |
This place covers:
Vibrating screws or plungers
Attention is drawn to the following places, which may be of interest for search:
Applying vibration to mould parts | |
Applying vibrations during extrusion moulding | |
Applying vibrations during moulding in general | |
Applying vibrations during extrusion moulding of ceramics |
Attention is drawn to the following places, which may be of interest for search:
Injection pistons for pressure die casting |
This place covers:
mixing parts connected to the screw
Attention is drawn to the following places, which may be of interest for search:
Screws in extrusion moulding: |
This place covers:
Also transfer pots
Attention is drawn to the following places, which may be of interest for search:
Details of extruder barrels or cylinders | |
Construction of extruder barrels |
Attention is drawn to the following places, which may be of interest for search:
Venting or degassing means in extrusion moulding |
This place covers:
Mechanical, hydraulic and hydro-mechanical opening, closing & clamping means. For these aspects subgroups are present.
The remaining scope of B29C 45/64 is small, e.g. magnetic, piezoelectric, magnetostrictive means, using shape memory alloy.
DE10053424: linear motors L1 & L2

DE4336572, magnetostrictive elements (13)

DE3715161, electromagnet 12

EP272138, claim 1, elongation of the tie-bar by energy storage.

EP807508

This place covers:
Clamping devices applicable to moulds which are ALREADY CLOSED.
EP1214999, fig 1, stradling means 9

EP420098, stradling means 7b

EP0209413, locking means 11 after closing

WO0121378, stradling means 13

WO9942275, mould halves 26/62 clamped by 10 (fig 2)

Attention is drawn to the following places, which may be of interest for search:
Clamping means operating on closed or nearly closed mould parts, the clamping means being independently movable of the opening or closing means in general |
This place covers:
Mechanical means for opening closing and clamping. A motor for driving the mechanical means can only be electric or servo but not hydraulic.
EP645228 fig 1 (note: this is not a toggle, then it should have been driven at point 18, it is driven at 16)

EP627577 lever

EP427438 fig 2, pignon/rack 11/12

EP386233 crank mechanism fig 1a,b,c

EP381770 40,50 ball nut & screw mechanism.

Examples for cranks and excentrics as mechanical opening, closing and clamping means are taken from the field of presses (B30B) for reference purpose.
Cranks:
US5544577, driven crank axis is 14, 6 is like the mould

DE403768 Driven axis is a which drives b

Eccentrics:
DE19810425 continuous axis 4 is driven, around the excenter or cam is the bush which is rotated in an excentric way to drive part 12 for 'opening closing clamping mould 3'

This place covers:
EP775567 screw nut drives the toggle, the toggle drives the moving mould, therefore toggle

EP546187 fig 5 toggle

EP427438 fig 5 rack & pignon drives the toggle

EP164419 fig 1, servomotor 1 driving nut 4 & screw drives the toggle

Reference is further made to several types of toggle mechanisms for mould clamping:
DE9403353U figures 1,2 and 3,

EP573917 fig 1,

EP383935 fig 1

Attention is drawn to the following places, which may be of interest for search:
Presses driven by a toggle mechanism |
This place covers:
EP665093, clamping cylinder 32, opening &closing cylinder 22
hydraulic includes also other fluids & gas (e.g. pneumatic)

Attention is drawn to the following places, which may be of interest for search:
Hydraulic circuits in general |
This place covers:
JP10296809, during opening and closing operation by cylinder 20, the clamping force cylinder 22 is inactive and moves together with the movable platen 18. Only after closing the mould and clamping on the tie rods (locking nut & cylinder 26,28), there is a relative movement between the piston 24 and the cylinder 22 of the clamping device

EP689924, opening & closing by cylinder 8, locking means 9 after locking clamping by cylinder 6.

EP319487 10 = closing means, clamping on tie rod by 12, pulling & clamping by 36

WO99/00239, closing by cylinder 5, blocking on tie rod by 19, tie rod clamped by cylinder 13

US3862596, exceptional no clamping on the tie rods, similar no movement for the clamping cylinder

US3833333 movable cylinder, clamping cylinder 45/47/48, opening & closing 20/21

Attention is drawn to the following places, which may be of interest for search:
Presses using low fluid pressure long stroke plunger for opening and closing and high pressure short stroke cylinder means |
This place covers:
Separate element is MCFTM (mould clamping force transmitting means)
EP551099 fig 1, element 28 = MCFTM & moves with the movable mould.

Once the mould is closed (fig 2), block plate 66, required for being able to transmit the clamping force. Note that the clamping cylinder is not operative during opening & closing

EP513572: MCFTM 30/31.
Fig 1 mould closed, blocked position

fig 3 & clamping force can be transmitted

EP480351 MCFTM = element 18

Attention is drawn to the following places, which may be of interest for search:
Presses using low fluid pressure long stroke plunger for opening and closing and high pressure short stroke cylinder means |
This place covers:
MCFTM (mould clamping force transmission means, cf. B29C 45/6714) is 'removable'.
GB1220970 MCFTM 15 is put in between only when the mould is closed, see fig 1, otherwise opening & closing cylinder 6,7 would not be able to open the mould.

GB1032477 element 8 = removable MCFTM (fig 1 & 2)

FR2084078 removable MCFTM = element 44

This place covers:
tie rods mounted on and movable with the movable mould plate and coupled to the fixed mould plate during mould clamping. Bayonet couplings are typically applied.
The separate mould clamping force transmission means, (SMCFTM) is the coupling rod 164 in EP296410, coupling means 180.

WO8902357, SMCFTM = coupling members 12,13. clamping by 16.

GB2064415 clamping bush 31, piston 18.

This place covers:
JP7186220, hydraulic chambers A1 & A2 are able to communicate through passage 19 and valve 21 during the opening and closing movement of the clamping die. Note the difference in active piston surface area on the left side and right side of 11
Clamping pressure is typically applied to only one of the chambers (A1), note the possibility of fluid leakage through 23 & 25.

EP281330, fig 1, cylinder 27 during closing volume hydraulic chamber decreases so hydraulic oil moves through 33 into W. Fig 2, valve 34 is closed and high pressure oil is fed from pump 14 to W.

This place covers:
EP342235, see fig 1,2 the different diameter clamping piston & cylinder. After closing, no connection between chamber 1a & 1b. In fig 1, the oil still flows between the chambers.

In fig 2, clamping is possible (chamber 1b).

EP281329, opening 47 can be closed by valve 52.
Fig 4, open.

Figure 6, closed valve, now high pressure in room B, possible to clamp. The connection is done through the plunger.

This place covers:
DE2203020 cf. element 3

This place covers:
WO9211993, closing by screw/nut (fig 1), hydraulic chamber 19 for clamping.

DE10103983

This place covers:
EP192484, piston 4 drives the toggle 5 for opening, closing and clamping.

WO8900914, cf. fig 1

This place covers:
FR2317982, closing by toggle. The toggle is only used for closing, not for clamping. A separate cylinder (6,7,8) is provided for clamping.

FR2302187, Closing of toggle 5,6 by cylinder 1.Separate means (14) for clamping

This place covers:
Heating or cooling of the mould (covered by B29C 45/73), the moulded articles (covered by B29C 45/7207), the injection unit (covered by B29C 45/74) as well as the mould and the injection unit (covered by B29C 45/72).
This place does not cover:
Heating or cooling means for moulds provided with fine grooves or impressions | |
Heating or cooling means for runner channels | |
Heating of tablets |
Attention is drawn to the following places, which may be of interest for search:
Cooling preforms during blow moulding: | |
Cooling in general: |
Attention is drawn to the following places, which may be of interest for search:
Moulds with incorporated heating or cooling means in general | |
Cooling or heating equipment for pressure casting dies | |
Press plates with heating or cooling means |
Attention is drawn to the following places, which may be of interest for search:
Tempering units for temperature control of moulds or cores in general |
This place covers:
heating of the injection unit, including everything which belongs to it, e.g. hopper, cylinder.
This place does not cover:
Heating and cooling of the injection unit AND the mould |
Attention is drawn to the following places, which may be of interest for search:
Heating or cooling of the extrusion cylinder |
This place does not cover:
Control and regulation of mould thickness adjustments |
Document classified in B29C 45/76 and subgroups are indexed by allocating B29C 2945/00 Indexing Codes to identify all aspect related to what, how, when, where the measurement is done and what, how, where and when the regulation is done. .
This place covers:
e.g. using a camera or laser to inspect if an article has been correctly ejected, the process of ejection.
Since B29C 45/7626 takes precedence over B29C 45/84, inspection systems for controlling the ejection, including an alarm system as a safety device, are only classified in B29C 45/7626.
Attention is drawn to the following places, which may be of interest for search:
Force sensors associated with industrial machines or actuators with specific indicating arrangements, e.g. of overload |
Measuring and controlling of the articles once they are ejected.
Attention is drawn to the following places, which may be of interest for search:
Control of the ejection process of moulded articles |
This place does not cover:
Hydraulic or pneumatic circuits for mould clamping |
This place does not cover:
Release agents, lubricating means for mould cavity walls |
Attention is drawn to the following places, which may be of interest for search:
Cleaning or lubricating moulds in pressure die casting | |
Lubricating means for presses |
This place does not cover:
Safety devices for the ejection process |
Attention is drawn to the following places, which may be of interest for search:
Safety devices for pressure die casting |
This place covers:
e.g. detection of broken glass to be overmoulded, misfeeding the inserts
Attention is drawn to the following places, which may be of interest for search:
Force sensors associated with industrial machines or actuators with specific indicating arrangements, e.g. of overload |
This place covers:
Processes whereby material of substances in a plastic state (e.g. polymers) are being pressed through a nozzle, thereby obtaining a cross sectional shape. This shape could be any hollow or solid shape.
Combinations of extrusion and other shaping techniques.
This place does not cover:
Extrusion blow-moulding |
Attention is drawn to the following places, which may be of interest for search:
Apparatus for additive manufacturing | |
Combined blow-moulding and manufacture of the preform or the parison, whereby the parison is being partly injected and partly extruded | |
Mixing dough | |
Mixing chocolate | |
Mixing in general, phases | |
Mixing in general, mixer types | |
Mixing in general, mixers with rotary stirring devices | |
Hand held extruders | |
Extruding metal | |
Presses for clay or mixtures containing cement wherein material is extruded | |
Extruding clay | |
Mixing, kneading of the material to be shaped | |
Mixing or kneading with more than one shaft | |
Making preforms by extrusion moulding | |
Presses using a press ram | |
Extrusion presses | |
Machinery for making envelopes or bags etc | |
Folding and filling bags | |
Extruding microstructures | |
Reaction extrusion | |
Formation of filaments, threads, or the like, e.g. by melt spinning |
All material aspects, not only the moulding material as such, but also fillers, preformed parts of mould (die) composition has to be identified by allocating the appropriate Indexing Code of B29K. This also applies to moulding material properties, e.g. tear strength for identifying that extruded layers are easily torn apart is classified in B29K 2995/0081.
Extrusion techniques characterised by the material must be allocated a classification in B29C 48/0022.
All SHAPING CONDITIONS influencing the extrusion technique, e.g. extrusion in sterile or vacuum environments, the application of vibrations, must be identified by allocating the appropriate Indexing Code as provided in B29C 2791/004 and subgroups, as well the classification in B29C 48/14 or subgroups.
Cutting operations and printing operations must be identified by allocating the appropriate Indexing Code as provided in B29C 2793/00 and B29C 2795/00.
All ARTICLES must be identified by allocating the appropriate Indexing Codes as provided for by the subclass B29L, e.g. anchoring between layers in general, e.g. due to chemical treatment B29C 2045/1664, mechanical anchoring in general, e.g. layers gripping into each other B29C 37/0082.
COMBINATIONS of extrusion and other techniques corresponding to the subgroups of B29C 48/001 are classified in B29C 48/001 or one of its subgroups.
Orienting or stretching of extruded materials should be identified by allocation the Indexing Code B29K 2995/005 and B29K 2995/0046 or one of its subgroups.
The Indexing Codes B29C 2791/00 - B29C 2791/003 are generally not used in this group B29C 48/00.
All MEASURING and CONTROL aspects must receive the relevant code(s) in the B29C 2948/92 indexing scheme.
Attention is drawn to the following places, which may be of interest for search:
Compression moulding, i.e. applying external pressure to flow the moulding material, e.g. foaming | |
Coagulating materials by using a bath | |
Polymer / Wood fiber composites | |
Moulding materials | |
Condition form or state of the material to be shaped or moulded material | |
Use of materials as reinforcements | |
Use of materials as preformed parts, e.g. inserts | |
Use of materials as mould material | |
Properties of the moulding materials | |
Compositions of Macromolecular compounds in general |
This place covers:

This place covers:

Attention is drawn to the following places, which may be of interest for search:
Blow moulding combined with the manufacture of the preform | |
Thermoforming combined with the manufacture of the preform |
This place does not cover:
Extrusion moulding combined with blow-moulding or thermoforming |
Attention is drawn to the following places, which may be of interest for search:
Oriented material |
The Indexing Codes as provided in B29K 2995/005 and B29K 2995/0046 and subgroups should preferably be allocated to identify aspects relating to orienting or stretching.
Attention is drawn to the following places, which may be of interest for search:
Shaping by bending, folding, twisting, straightening or flattening of blown tubular films | |
Folding sheets for making bags | |
Folding and filling bags |
Attention is drawn to the following places, which may be of interest for search:
Surface shaping of articles, e.g. embossing; Apparatus therefor |
Attention is drawn to the following places, which may be of interest for search:
Lining or sheathing, i.e. applying preformed layers or sheathings of plastics; Apparatus therefor | |
Joining or sealing of preformed parts, e.g. welding of plastics materials; Apparatus therefor | |
Methods or apparatus for laminating, e.g. by curing or by ultrasonic bonding |
Attention is drawn to the following places, which may be of interest for search:
Cutting | |
Cutting off | |
Cutting longitudinally |
The Indexing Codes as provided in B29C 2793/00 and subgroups should preferably be allocated to identify aspects relating to the process of cutting
Attention is drawn to the following places, which may be of interest for search:
Printing |
The Indexing Codes as provided in B29C 2795/00 and subgroups should preferably be allocated to identify aspects relating to the process of printing.
This place covers:
- Handheld extruders;
- Toy extruders;
- Laboratory extruders, e.g. extruders used for material testing or for making test specimens for testing material properties.
Illustrative examples of subject matter classified in this place:
1.

Figure 1 illustrates a handheld extruder.
2.

Figure 2 illustrates a toy extruder.
3.

Figure 3 illustrates a laboratory extruder.
Attention is drawn to the following places, which may be of interest for search:
Design of extruder parts, e.g. by modelling based on mathematical theories or experiments |
Attention is drawn to the following places, which may be of interest for search:
Coagulating materials by using a bath | |
Polymer / Wood fiber composites | |
Moulding materials | |
Condition form or state of the material to be shaped or moulded material | |
Use of materials as reinforcements | |
Use of materials as preformed parts, e.g. inserts | |
Use of materials as mould material | |
Properties of the moulding materials | |
Compostions of Macromolecular compounds in general |
Attention is drawn to the following places, which may be of interest for search:
Feeding at several locations | |
Degradable materials |
Attention is drawn to the following places, which may be of interest for search:
Using more than one extruder to feed one die, e.g. adapter blocks |
This place does not cover:
Extrusion moulding in several steps | |
Extrusion nozzles comprising two or more adjacently arranged ports |
Attention is drawn to the following places, which may be of interest for search:
Using more than one extruder to feed one die, e.g. adapter blocks |
Attention is drawn to the following places, which may be of interest for search:
Extrusion dies or nozzles | |
Manufactured articles |
This place covers:
The extrusion moulding articles characterised by their shape, the shape being particle, powder, or granule.

This place does not cover:
Making granules |
Attention is drawn to the following places, which may be of interest for search:
Particles, powder, granules |
This place covers:
The extrusion moulding articles characterised by their shape, the shape being filamentary (e.g. threads, fibres).
Attention is drawn to the following places, which may be of interest for search:
Multiple annular extrusion nozzles in coaxial arrangement, e.g. for making multi-layered tubular articles | |
Producing filamentary materials | |
Filamentary material |
This place covers:
The extrusion moulding articles characterised by their shape, the shape being non-tubular rigid (e.g. rod).

Attention is drawn to the following places, which may be of interest for search:
Producing rods | |
Rods |
This place covers:
The extrusion moulding articles characterised by their shape, the shape being flat rigid (e.g. panel or plate).
![]()
Attention is drawn to the following places, which may be of interest for search:
Flat articles | |
Belts or bands |
This place covers:
The extrusion moulding articles characterised by their shape, the shape being flat flexible (e.g. sheet, foil, or film).

Attention is drawn to the following places, which may be of interest for search:
Flat articles | |
Films webs | |
Belts or bands |
This place covers:
The extrusion moulding articles characterised by their shape, the shape being tubular rigid (e.g. one hole).

Attention is drawn to the following places, which may be of interest for search:
Hollow articles | |
Tubular articles | |
Tubes or pipes, i.e. rigid | |
Articles with hollow walls |
This place covers:
The extrusion moulding articles characterised by their shape, the shape being tubular flexible (e.g. foil or film).

Attention is drawn to the following places, which may be of interest for search:
Tubular articles | |
Tubular films, sleeves |
This place covers:
The extrusion moulding articles characterised by their shape, the shape being multi hole (e.g. honeycomb).

Attention is drawn to the following places, which may be of interest for search:
Extruding ceramic honeycomb structures | |
Producing honeycomb structures | |
Multi-tubular articles | |
Honeycomb |
This place covers:
The extrusion moulding articles characterised by their shape, the shape being irregular (e.g. non-flat or non-cylindrical).
![]()
Attention is drawn to the following places, which may be of interest for search:
Articles having a profiled cross section |
This place covers:
The extrusion moulding articles characterised by their shape, the shape being longitudinally irregular.
![]()
This place covers:
The extrusion moulding articles characterised by their shape, the shape being curved.

Attention is drawn to the following places, which may be of interest for search:
Shaping conditions, e.g. vacuum |
This place covers:
Vertical extrusion
This place does not cover:
Electrostatic pinning |
Attention is drawn to the following places, which may be of interest for search:
Relative movement between apparatus parts, e.g. moving die along preformed part to be coated | |
Thermal treatment of preformed parts | |
Applying material to surfaces | |
Applying material to a part of an article |
Attention is drawn to the following places, which may be of interest for search:
Feedblocks or adapter blocks |
Attention is drawn to the following places, which may be of interest for search:
Applying surface layers, e.g. coatings, decorative layers | |
Applying coating, colouring | |
Pigments, colouring agents | |
Materials having optical properties | |
Coloured articles | |
Multi-coloured articles |
This place covers:

This place covers:
Co-extrusion of several components, e.g. layers
Attention is drawn to the following places, which may be of interest for search:
Incorporating preformed components | |
Dies for co-extrusion of multi-component articles | |
Flow dividers for layer multiplication | |
Plastic layered products | |
Layered products | |
Methods or apparatus for laminating |
Attention is drawn to the following places, which may be of interest for search:
Layer multiplication |
This place covers:

Attention is drawn to the following places, which may be of interest for search:
Mechanical anchoring in general, e.g. layers gripping to each other | |
Anchoring between layers in general, e.g. due to chemical treatment | |
Tear strength in general, e.g. layers easily torn apart |
Attention is drawn to the following places, which may be of interest for search:
Decreased tear strength |
This place covers:
Extruder calculations, e.g. analytical or numerical, theory or experiments.
This place covers:
For example, analytical or numerical
Attention is drawn to the following places, which may be of interest for search:
Drive means for presses | |
Gearings |
This place covers:
For example, drives for conveyor unit or cutting unit
This place covers:
Valves or adjustable parts, e.g. for changing flow direction, to change or modify the flow pattern or to throttle the flow.
This place does not cover:
Flow dividers |
Attention is drawn to the following places, which may be of interest for search:
Explicit throttling in general |
This place does not cover:
Arrangements for replacing filters |
Attention is drawn to the following places, which may be of interest for search:
Injection moulding exchanging the injection unit or parts thereof |
This place covers:
For example, modular hopper of feeder parts
This place covers:
Small parts, e.g. for changed flow pattern, changed extrudate shape, to throttle flow or replaceable parts due to wear
This place covers:
Illustrative examples of subject matter classified in this place:
1.

Figure 1 illustrates relative movement between die (120) and nozzle (110) for twisting the extruded article.
2.

Figure 2 illustrates manipulation head (6) of robot (4), which moves extrusion nozzle (8) along edge of glass pane (1).
Attention is drawn to the following places, which may be of interest for search:
Extruding onto a preformed part or component |
This place covers:
Explicit throttling
This place does not cover:
Flow control means |
Attention is drawn to the following places, which may be of interest for search:
Throttling in mixers |
Attention is drawn to the following places, which may be of interest for search:
Articles of definite length |
Attention is drawn to the following places, which may be of interest for search:
Handling material to be moulded | |
Injection moulding, feeding | |
Conveying of bulk material |
This place covers:
Raw material dosing in proximity to or during the feeding, e.g.
- handling and feeding pre-formed parts in the correct velocity
- handling and/or mixing materials in foreseen quantities and feeding these.
Attention is drawn to the following places, which may be of interest for search:
Feeding in measured doses | |
Control aspects of volume | |
Control aspects of weight | |
Control aspects of dosing | |
Mixing, kneading | |
Making preforms | |
Weighing |
This place covers:
Pre-treatment in proximity to or during feeding, e.g. drying or cleaning
This place does not cover:
Thermal treatment of the extrusion moulding material or of preformed parts or layers |
Attention is drawn to the following places, which may be of interest for search:
Conditioning of physical pre-treatment of a material to be shaped | |
Drying of half products, e.g. preforms | |
Control aspects of pre-treatment | |
Conditioning or physical pre-treatment of a material to be shaped | |
Pre-treatment of a material to be shaped in general |
This place covers:
For example, feeding the main material in solid form
Attention is drawn to the following places, which may be of interest for search:
Solid material | |
Particle, powder, granule |
This place covers:
- Inserts fed and transported generally uninfluenced through the extruder, e.g. due to the high melting point of the insert material.
- Inserts fed directly to the die, e.g. for cable coating.
Attention is drawn to the following places, which may be of interest for search:
Containing inserts | |
Use of materials as reinforcements | |
Use of materials as preformed parts, e.g. inserts |
In this place, the following terms or expressions are used with the meaning indicated:
preformed part | a part made of any material, being completely shaped to have a determined form and which is not used as a reinforcement, e.g. wires or nets forced only into the surface of an article |
insert | a preformed part incorporated in an article during moulding |
Attention is drawn to the following places, which may be of interest for search:
Moulding materials containing continuous reinforcements | |
Moulding materials containing short length reinforcements | |
Moulding materials containing fillers | |
Use of materials as reinforcements | |
Use of materials as fillers |
In this place, the following terms or expressions are used with the meaning indicated:
filler | a relatively inert substance in the form of particles, powder, beads, flakes or spheres, which improves the physical properties or increases the bulk or weight of an article |
fibrous reinforcement | a reinforcement in the form of fibres |
This place covers:
- Feeding the extrusion material to the extruder in strip form, e.g. feeding rubber strips to extruders for producing multicomponent tyre treads or sidewalls.
- Feeding the extrusion material to the extruder in thread form, e.g. feeding welding wires or rods to welding extruders.
Illustrative examples of subject matter classified in this place:
1.

Strips (4, 5) are fed to extruders (10, 20) for producing a coextruded profiled element.
2.

Plastic wire (12) is fed to extruder (1).
This place covers:
For example, feeding additives
Attention is drawn to the following places, which may be of interest for search:
Plasticisers | |
Liquid or viscous moulding materials |
This place covers:
For example, feeding of blowing agents
Attention is drawn to the following places, which may be of interest for search:
Moulding material in a gaseous state | |
Moulding material in plasma state |
This place covers:
For example, using separate reinforcement feeding
Materials and coatings for calibrators are classified in the same groups as for dies, B29C 48/3001, B29C 48/3003
Attention is drawn to the following places, which may be of interest for search:
Flow control means before the exit section |
In this place, the following terms or expressions are used with the meaning indicated:
Exit section | last part of die shaping the material |
This place covers:

This place does not cover:
Extrusion nozzles or dies with rollers |
Attention is drawn to the following places, which may be of interest for search:
Continuously moving moulds in general | |
Casting between endless belts | |
Compression moulding between endless belts | |
Foaming between endless belts | |
Blow moulding of articles of indefinite length using moulds movable in closed circuit | |
Blow moulding using moulds mounted on movable endless supports |
Attention is drawn to the following places, which may be of interest for search:
Co-extrusion of multi-component articles |
This place covers:
For example, extrusion dies for panels or plates
Attention is drawn to the following places, which may be of interest for search:
Co-extrusion of multi-component articles |
Attention is drawn to the following places, which may be of interest for search:
Flow control means before the exit section |
In this place, the following terms or expressions are used with the meaning indicated:
Exit section | last part of die shaping the material |
Attention is drawn to the following places, which may be of interest for search:
Flow control means before the exit section |
In this place, the following terms or expressions are used with the meaning indicated:
Exit section | last part of die shaping the material |
Attention is drawn to the following places, which may be of interest for search:
Co-extrusion of multi-component articles |
This place covers:
Side feeding the nozzle, i.e. nozzle axis not on the extruder axis, but normally perpendicular to it or at an angle
This place covers:
Multiple separate nozzle outlets next to each other.
Attention is drawn to the following places, which may be of interest for search:
Extrusion of particle, powder, granular shapes | |
Extrusion of filamentary shapes | |
Extrusion followed by under-water pelletizing | |
Producing filamentary material | |
Electro spinning | |
Melt blowing |
Pure melt-extrusion where the filaments are not shaped/formed by extrusion through the die but with other extrusion aspects should be allocated the Indexing Code B29C 48/00, but not an inventive or additional classification in B29C 48/345 for this aspect.
This place covers:
Rollers shape the material exiting the extruder nozzle - normally nozzle exit at a roller or between rollers

Attention is drawn to the following places, which may be of interest for search:
Calendering |
Attention is drawn to the following places, which may be of interest for search:
Means for plasticising or homogenising in injection moulding |
Attention is drawn to the following places, which may be of interest for search:
Gear pumps |
This place covers:
For example, one plasticiser after the other
Attention is drawn to the following places, which may be of interest for search:
Multi stage plasticising using separate plasticisers, e.g. screw extruder followed by a gear pump | |
Mixers with consecutive casings or screws |
Attention is drawn to the following places, which may be of interest for search:
Injection moulding using screws and injection ram or piston |
This place covers:
Feeding a plasticised melt into another plasticised melt, e.g. feeding one plasticised melt into the middle of an extruder plasticising another melt.
Attention is drawn to the following places, which may be of interest for search:
Feeding of the raw material to be extruded |
This place covers:
Screws or worms that transport, melt, mix and pump the material out through the nozzle and where the interaction between barrel to screw or screw to screw is important.
Attention is drawn to the following places, which may be of interest for search:
Means for plasticising or homogenising using screws in injection moulding | |
Design, e.g. calculations, experiments or theory, e.g. for intermeshing screws, mechanical strength or flow | |
Flow control by valves | |
Explicit throttling | |
Cleaning or purging | |
Screws | |
Screw elements, i.e. element shapes affecting flow | |
Barrels | |
Venting | |
Heating or cooling at plasticising zone | |
Handheld extruders | |
Mixers with screw or helix | |
Presses using screws or worms |
Attention is drawn to the following places, which may be of interest for search:
Mixers with two or more intermeshing devices |
This place covers:
For example, the screws having differing lengths or different screw element types
This place covers:
For example, screws arranged next to each other in a circular configuration
This place does not cover:
Plasticizers, homogenisers or feeders using two or more serially arranged screws |
Attention is drawn to the following places, which may be of interest for search:
Mixers with three or more screws |
Attention is drawn to the following places, which may be of interest for search:
Mixers with three or more screws |
Attention is drawn to the following places, which may be of interest for search:
Axially movable screws in injection moulding |
Attention is drawn to the following places, which may be of interest for search:
Roller extrusion nozzles |
Attention is drawn to the following places, which may be of interest for search:
Injection moulding using screws and injection ram or piston |
This place covers:
For example, means to combine melt flows, e.g. using adapter blocks.
Attention is drawn to the following places, which may be of interest for search:
General arrangement or layout of extrusion plants |
This place covers:
Constructional details of the section of the extruder that is located around the inlet of material, details of cylinder or screw in that particular location.
This place covers:
For example, first time assembly
For example, cooling a barrel lining and inserting it into the barrel
This place does not cover:
Exchangeable extruder parts |
Attention is drawn to the following places, which may be of interest for search:
Moulds characterised by the manufacturing process | |
Manufacturing dies | |
Use of materials as mould material |
This place covers:
Details of the construction and layout of the screw.
Attention is drawn to the following places, which may be of interest for search:
Means for plasticising or homogenising using screws in injection moulding | |
Injection moulding, details, screws | |
Design, e.g. calculations, experiments or theory, e.g. for intermeshing screws, mechanical strength or flow | |
Drives, screw supports, bearings | |
Flow control by valves | |
Mounting or handling of screws | |
Exchangeable screw parts or segments, e.g. modular screws | |
Inserts, i.e. small exchangeable parts, e.g. for replacement due to wear | |
Explicit throttling | |
Cleaning or purging of screws | |
Feeding, e.g. blowing agents, through a screw | |
Screw elements, i.e. element shapes affecting flow | |
Venting through the screw | |
Heating or cooling screws | |
Screws for mixers | |
Presses using screws or worms | |
Details of the screws of screw conveyors |
Attention is drawn to the following places, which may be of interest for search:
Thermal treatment of the extrusion moulding material or of preformed parts or layers, e.g. by heating or cooling | |
Thermal treatment of the stream of extruded material, e.g. cooling |
This place covers:
For example, openings, interruptions or changing thread thickness
This place covers:
For example, section length L/D
Attention is drawn to the following places, which may be of interest for search:
With discontinuous threads |
Attention is drawn to the following places, which may be of interest for search:
Injection moulding, details, barrels or cylinders |
This place covers:
Irregular inner surfaces being not simple cylindrical or conical surfaces
This place covers:
Filters to prevent contaminants in the melt from reaching the nozzle and ending up in the finished product
Attention is drawn to the following places, which may be of interest for search:
Injection moulding cleaning equipment | |
Sealings for filters | |
Flow control, e.g. valves in proximity to filters | |
Cleaning or purging | |
Filters in general | |
Changing filters | |
Filtering liquids in general | |
Condition, form or state of moulded materials, containing impurities |
This place covers:
Divided melts merging before the die zone
Attention is drawn to the following places, which may be of interest for search:
Static mixers, e.g. breaker plates in the end of the plastizising unit | |
Non-actuated dynamic mixing devices, e.g. free rotating mixing elements | |
Flow division and recombination for layer multiplication |
This place covers:
Divided melts merging in the die zone
Attention is drawn to the following places, which may be of interest for search:
Flow division and recombination for layer multiplication |
This place covers:
Melt flow feed-back means, i.e. a part of the melt is fed back into the extruder line when still molten
Attention is drawn to the following places, which may be of interest for search:
Feed-back in the sense of measuring/controlling/regulating |
This place covers:
Part of the melt by-passes a part of the extruder to re-enter at a later stage
This place covers:
Steam, gas or vapour arising during heating and melting of the material is let out of the extruder in a controlled manner
Attention is drawn to the following places, which may be of interest for search:
Venting or degassing means during injection moulding | |
Flow control by valves | |
Explicit throttling | |
Venting or degassing during mixing or kneading |
This place covers:
Removing a component, e.g. by adding a second component binding to the first component
This place covers:
For example, means for improving venting
This place covers:
For example, venting of the melt in a gear pump or in a separate venting chamber
This place covers:
For example, venting through a screw, a screw bearing or a feed inlet
Attention is drawn to the following places, which may be of interest for search:
Raw material pretreatment | |
Conditioning or physical pre-treatment of a material to be shaped | |
Pre-treatment of a material to be shaped in general |
This place covers:
Thermal treatment of the extrusion moulding material or of preformed parts or layers to obtain a non-uniform temperature distribution.
This place covers:
Heating or cooling of the material having left the extruder nozzle
External cooling of hollow articles is classified by allocating the CPC symbols B29C 48/885 and B29C 48/9115.
External cooling of tubular films is classified by allocating the CPC symbols B29C 48/885 and B29C 48/912.
Internal cooling of hollow articles is classified by allocating the CPC symbols B29C 48/89 and B29C 48/9115.
Internal cooling of tubular films is classified by allocating the CPC symbols B29C 48/89 and B29C 48/912.
This place covers:
Finalising shaping of the article while cooling takes place to correct for warp and shrinking
Attention is drawn to the following places, which may be of interest for search:
Shaping by stretching of blown tubular films using internal mechanical means, e.g. mandrel |
Attention is drawn to the following places, which may be of interest for search:
Moulds and cores with heating or cooling means in rolls, calenders or drums |
This place covers:
For example, using a bath for coagulatable material
Attention is drawn to the following places, which may be of interest for search:
Design of extruder parts, e.g. by modelling based on mathematical theories or experiments | |
Measuring, controlling or regulating in general | |
Taking samples | |
Adaptive control, learning, e.g. fuzzy logic |
For all documents to be classified in B29C 48/92 for inventive or additional information, all measuring and controlling aspects therein must be identified by adding the relevant codes in the B29C 2948/92 indexing scheme.
In case of classification in the B29C 2948/92 indexing scheme, the allocation of B29C 48/92 as additional information is optional.
This place covers:
Using internal lubrication, e.g. adding a plasticiser, or using external lubrication, e.g. adding a film of lubricating material in the interface between the melt and the extruder, die, calibrator or conveyor.
Attention is drawn to the following places, which may be of interest for search:
Lubricating for moulds or cores in general | |
Lubricating means for injection moulding | |
Moulding materials containing plasticisers | |
Liquid or viscous moulding materials | |
Moulding materials having a particular viscosity |
Materials and coatings for calibrators are classified in the same groups as for dies, B29C 48/3001, B29C 48/3003
Attention is drawn to the following places, which may be of interest for search:
Lubricating compositions |
This place covers:
Blow-moulding methods, blow-moulding apparatus and articles obtained by blow-moulding, when these articles are characterised by the blow-moulding method.
Simulation of blow-moulding or any other simulated aspect related to blow-moulding, e.g. simulating heating a preform before blow-moulding. This aspect is covered in the group B29C 49/42398.
Attention is drawn to the following places, which may be of interest for search:
Injection a fluid, e.g. air, in molten plastic in injection moulding | |
Extrusion moulding of tubular films | |
Vacuum or pressure forming of sheet like materials | |
Enlarging tube ends using pressure difference | |
Making of balloon catheters | |
Metal blow-moulding | |
Making preforms per se | |
Packaging individual articles in containers or receptacles whereby the machines incorporate means for making the containers | |
Labelling of blow-moulded articles outside the mould | |
Glass blow-moulding |
For articles and materials, as much as possible additional classification by adding the Indexing Codes of B29K and B29L is recommended.
If more than 4 different thermoplastic materials are described in the disclosure, then the Indexing Code B29K 2101/12 should be allocated. In addition, only up to 4 of the disclosed uncommon thermoplastic materials are classified (common thermoplastics for blow-moulding are PET, PE, PP) by allocating the appropriate Indexing Code as provided in B29K 2001/00 - B29K 2101/00.
Inventive and additional information disclosed in documents to be classified should be identified by allocation the appropriate classification codes of B29C 49/00 - B29C 49/78. In particular attention should be paid to the so called break down Indexing Codes, which are only present at additional information level, but should be allocated if applicable.
If during blow-moulding also vacuum is used, or only vacuum is used for deformation of the tubular parison then one or both of the following classification codes are additionally allocated: B29C 2791/006 and/or B29C 2791/007.
The indexing of preforms for blow-moulding bottles using the coding scheme under B29C 2949/07 is obligatory when the structure of the preform differs from the conventional shape (one layer, open neck, flange, cylindrical body, closed semi-spherical end).
In this place, the following terms or expressions are used with the meaning indicated:
Preform or parison | A tubular object obtained by moulding substantially consisting of plastic material, which has to undergo an additional processing step, e.g. blow-moulding, to obtain its final shape, examples are: tubes, extruded parisons, two parallel sheets which behave like tubular preforms, injection moulded tubular preforms normally with one end closed. |
Blowing | using a pressurized blowing gas to deform the tubular preform or parison; but also applying a vacuum on one side of the tubular article, since the ambient pressure is deforming the tubular preform or parison. |
This place covers:
- Blow moulding processes, whereby their disclosure focuses on the materials or material parameters
Attention is drawn to the following places, which may be of interest for search:
Compostions of macromolecular compounds in general |
If reinforcing material is comprised in the material to be thermoformed, then the following Indexing Codes should additionally be allocated: the appropriate subgroups of B29K 2105/06 and B29K 2201/00 - B29K 2313/00.
This place covers:
Modification or selection of the moulding material to facilitate heating or cooling.
This place covers:
- WO02/36333

This place covers:
- Blow moulding processes whereby either only pressure, pressure and vacuum or only vacuum is used during the forming process of indefinite length articles, as long as the preform is three dimensionally deformed.
- WO2004110734

It is highly desirable that all documents classified in B29C 49/0021 the appropriate Indexing Code in B29L 2023/00 is added to identify the type of tubular product
This place covers:
Details of the device to return the moulding section to a receiving portion of the parison.
This place covers:
Relative movement of the mould table or support of the extrusion nozzle for alignment of the apparatus.
This place covers:
Modification of the mould speed to account for changes in mould geometry or extrudate thickness. Usually to form a product having uniform thickness.
This place covers:
Indefinite length moulding apparatus which has cavities of different configurations along the mould path.
Illustrative example of subject matter classified in this group:


This place covers:
Using an auxiliary device, e.g. conveyor, to change the moulds without pausing the moulding apparatus.
This place covers:
Indefinite length moulding apparatus whose length can be varied according to desired process conditions or outcomes (e.g. cooling).
Illustrative example of subject matter classified in this group:

This place covers:
Indefinite length moulding apparatus which uses varying/controlled pressure in the moulding process.
This place covers:
Indefinite length moulding apparatus which involves various temperature conditioning techniques (e.g. interior cooling air). Examples include cooling of fused layers and details of the internal cooling plug.
This place covers:
- JP60149432

Attention is drawn to the following places, which may be of interest for search:
Hollow walled articles |
This place covers:
Illustrative example of subject matter classified in this group:

This place does not cover:
Pre-blowing without using a mould |
This place covers:
A combination of different apparatus to form a single blow-moulding plant. More than just extrusion or injection moulding combined with blow-moulding, could also be more than one blow-mould or other moulding apparatus.
This place covers:
A plant wherein the plurality of stations are parallel to one another.
This place covers:
Blow-moulding plants that have preform manufacturing segments and blow-moulding segments which are not equal in number.
In the example below the injection mould has 32 cavities and the blow-mould has 4 cavities.

This place covers:
Manufacturing process which includes both preform manufacture and blow-moulding of the preform, especially including manufacturing more than one distinct preforms and joining them together during blow-moulding.
Illustrative example of subject matter classified in this group:









Attention is drawn to the following places, which may be of interest for search:
Making preforms by extrusion moulding |
- If the parison shape, e.g. the cross section or thickness distribution, is different from the standard cylindrical shape, then the to be classified document should receive a class in B29C 49/071 as inventive information and only B29C 49/04 as additional information.
- If the parison is multilayered, then the to be classified document should receive a class in B29C 49/22 as inventive information and only B29C 49/04 as additional information.
This place covers:
Manufacturing preforms via continuous extrusion prior to blow-moulding the preforms.
Illustrative example of subject matter classified in this group:



This place covers:
Manufacturing preforms via extrusion which is not continuous, prior to blow-moulding the preforms.
Illustrative example of subject matter classified in this group:







This place covers:
Manufacturing method which includes preform manufacture followed by blow-moulding and also including a vertically movable extruder. This allows the extruder to be repositioned during the process to accommodate subsequent moulding operations concurrently with extrusion.
Illustrative example of subject matter classified in this group:


This place covers:
Preform extrusion including several preforms (i.e. parisons) being extruded simultaneously and parallel to each other.
Illustrative example of subject matter classified in this group:

This place covers:
Preform extrusion in which the wall/layer thickness is particularly controlled by an apparatus feature.
Illustrative example of subject matter classified in this group:


This place covers:
Preform extrusion wherein it is ensured that the preform wall/layer thickness is constant.
Illustrative example of subject matter classified in this group:

This place covers:
Preform extrusion wherein the die configuration is of particular importance and effect.
Illustrative example of subject matter classified in this group:


This place covers:
Preform extrusion method including elements which support or guide the preform after it is extruded.
Illustrative example of subject matter classified in this group:


This place covers:
Cutting to length of the parison or cutting the tubular parison to form sheets.
Illustrative example of subject matter classified in this group:



This place covers:
The injection moulding apparatus, with which the preform is produced.
The blow-moulding apparatus, with which the preform is blow-moulded.
Attention is drawn to the following places, which may be of interest for search:
Injection moulding | |
Making preforms by injection moulding |
The additional information classification B29C 49/06 is allocated to a document to be classified, when the preform is produced by injection moulding but when the injection moulding apparatus is not disclosed in greater detail.
B29C 49/42 has to be allocated as additional information where appropriate.
For the heating or cooling of preforms, as much as possible additional classification by adding appropriate classification in B29C 49/64 or its subgroups, e.g. B29C 49/6409 is recommended.
This place covers:
- EP0228106

This place covers:
- DE10061744

- JP6238742

This place covers:
- US2008118686

This place covers:
- US4540543

This place covers:
An injection moulding apparatus of creating a preform and a blow-moulding apparatus for blowing of the preform, which includes a stationary core that is common between the injection mould and the blow-mould.
Illustrative example of subject matter classified in this group:










This place covers:
Blow-moulding where the preform is made by compression moulding and then blow-moulded into a final article.
Illustrative example of subject matter classified in this group:


This place covers:
Preform manufacturing which includes a variety of moulding processes, e.g. compression, injection, extrusion, or casting.
Illustrative example of subject matter classified in this group:
The figure shows a combination of injection moulding followed by extrusion as the die moves away from the neck mould.


This place covers:
Preform manufacturing which includes making sheets followed by a folding process to create the preform.
This place covers:
Manufacturing process which identifies the preform as two parallel sheets.
Illustrative example of subject matter classified in this group:






This place covers:
A process which uses two preformed sheets which are prevented from contacting each other in certain areas.
Illustrative example of subject matter classified in this group:
A hollow container producing device comprising a jetting unit that discharges a jet of gas toward each of the pair of parison sheets from an intermediate frame side of the parison sheet.

This place covers:
Illustrative example of subject matter classified in this group:



In this place, the following terms or expressions are used with the meaning indicated:
Biaxial stretching | stretching in two directions whereby one stretching component must be in longitudinal direction of the preform or in extrusion direction of an extruded parison |
This place covers:
Blow moulding processes, whereby the preform length before blow moulding is shorter then the mould cavity. The preform has therefore also a stretching component in the longitudinal direction during the blowing operation.
This place covers:
Blow-moulding process where a preform of a particular configuration is stretched only one direction.
Illustrative example of subject matter classified in this group:




This place covers:
- FR2516855

- JP58045030

- JP58016826

- GB1501775

This place covers:
Illustrative example of subject matter classified in this group: 

This place covers:
Stretching rods which are attached to their driving means by mechanical features.
Illustrative example of subject matter classified in this group:





This place covers:
Stretch rod configuration which allows rotation between the stretch rod and the preform.
This place covers:
Several biaxial stretching rods which are each positioned to act upon different areas of the preform.
Illustrative example of subject matter classified in this group:


This place covers:
Stretching rods which include the ability to hold/clamp the preform bottom while stretching occurs.
Illustrative example of subject matter classified in this group:


This place covers:
Stretching rod which includes openings on its surface which facilitate compressed air to be blown through the openings into the preform.
Illustrative example of subject matter classified in this group:


This place covers:
Stretching rods which are particularly configured to have a specific geometry or shape.
Illustrative example of subject matter classified in this group:




This place covers:
Stretching rods which are characterised by specific material, usually for a specific purpose.
This place covers:
Stretching rods which are particularly suited to act upon heated preforms, e.g. tubes.
This place covers:
Pneumatic drive apparatus for a stretching element that provides a controlled stretch ratio.
Illustrative example of subject matter classified in this group:






This place covers:
Hydraulic drive apparatus for a stretching element that provides a controlled stretch ratio.
Illustrative example of subject matter classified in this group:
A stretch cylinder, wherein the barrel and the stretch rod are hydraulic.

This place covers:
Mechanical drive apparatus for a stretching element that provides a controlled stretch ratio.
Illustrative example of subject matter classified in this group:

This place covers:
Stretching rod having a cam mechanism drive means, which stretching rod provides a controlled stretch ratio.
Illustrative example of subject matter classified in this group:








This place covers:
Blow-moulding which includes a stretch rod which is driven by electric motors.
Illustrative example of subject matter classified in this group:

This place covers:
Magnetic drive apparatus for a stretching element that provides a controlled stretch ratio.
Illustrative example of subject matter classified in this group:
The activating means 6 comprise a first magnet arrangement 9 which is magnetically coupled with a second magnet arrangement 10 located within said chamber 8 and integral to the stretching rod 2.

This place covers:
Blow-moulding processes, whereby the pressure difference is used to stretch the preform in its longitudinal direction.
Illustrative example of subject matter classified in this group:



This place covers:
Blow-moulding method in which a pre-blowing step does not take place in a mould.
Illustrative example of subject matter classified in this group:



This place covers:
Blow-moulding using several blowing steps, whereby between each blowing step for a period of time, depressurisation is being applied, thereby causing a period with atmospheric pressure inside the preform/container.
Illustrative example of subject matter classified in this group:

This place does not cover:
Multiple blow moulding steps, whereby one step is used to expand the preform in longitudinal direction |
Attention is drawn to the following places, which may be of interest for search:
Multiple blow-moulding steps followed by additional heat shrinking |
Multiple blow-moulding steps, with longitudinal stretching during each blowing step are additionally classified in B29C 49/08 or one of its subgroups.
As example the following disclosure should be classified B29C 49/12 and B29C 49/18.

This place covers:
A blow-moulding method which is characterised by at least two mould cavities: the first cavity is larger than the second, often times to allow for a shrinkage/temperature conditioning step between the two cavities.
Illustrative example of subject matter classified in this group:


This place covers:
- Auxiliary operations or auxiliary means relating to inserts or reinforcements, e.g. handling or transferring of inserts
Details of the location of the insert (on the inside or outside of the final article), handling of the inserts (e.g. feeding into the mould) or treatment of the inserts (e.g. preheating) are identified by the allocation of break down Indexing Codes, which are only present at additional information level.
When details of inserts or reinforcements are indicated, then it is highly desirable to allocate additionally the following classification codes for additional information:
This place covers:
Blow-moulding articles comprising inserts of an electronic nature.
Illustrative example of subject matter classified in this group:


This place covers:
Multilayered parisons produced by extrusion moulding.
Parisons having loose layers before blow-moulding.
Illustrative example of subject matter classified in this group:


Attention is drawn to the following places, which may be of interest for search:
Tubular layered products per se | |
Multilayered plastic containers, e.g. bottles |
If applicable, it is highly desirable to allocate classification in B29C 2949/07 and subgroups, in particular B29C 2949/30, for information related to the geometrical distribution or dimensions of the layers.
This place covers:
Lining
Illustrative example of subject matter classified in this group:

Labelling

Attention is drawn to the following places, which may be of interest for search:
Lining or sheeting in general | |
Producing labels | |
Labelling other than flat surfaces in general | |
In mould labelled containers | |
Labels in general e.g. for thermo adhesion |
If the label itself is specific then the Indexing Code B29L 2031/744 should be allocated
In this place, the following terms or expressions are used with the meaning indicated:
Lining | Covering the whole outer and/or inner surface of articles with a heated preform or parison. The heated preform or parison is stretched and three dimensionally deformed. |
Labelling | Connecting a label which is inside of a mould to a heated preform or parison while the preform or parison is blow moulded. Often also called "in mould labelling" |
This place covers:
- US5256365

- US6264876

This place covers:
Blow-moulding process/apparatus which uses multi-layered preforms or parisons as the elements to which air is applied to cause shaping.
This place covers:
Labelling process which includes a method for moulding a plastic container within a mould including an RFID tag to generate a container which leaves a mould having an RFID tag bonded between the container and a label. This method provides for an integrally, extrusion blow-moulded container, label and RFID tag combination.



This place covers:
Illustrative example of subject matter classified in this group:



This place does not cover:
Inner lining of tubes |
This place covers:
Illustrative example of subject matter classified in this group:

Attention is drawn to the following places, which may be of interest for search:
Coating the interior of hollow articles by extrusion moulding | |
Lining of internal surfaces by applying preformed layers or sheets of plastic |
- If the alleged inventive information of the document to be classified is already classified somewhere else then the classification as provided for in B29C 49/28 - B29C 49/40 should be allocated as additional information only.
This place covers:
Blow-moulding machines which are smaller in scale than other machines to accommodate experimental environments or situations where transportability is ideal.
Illustrative example of subject matter classified in this group:


This place covers:
A blow-moulding machine which is designed to be easily accessed/operated by an operator.
This place covers:
A blow-moulding machine which is characterised by a particular frame configuration.
Illustrative example of subject matter classified in this group:




This place covers:
A blow-moulding machine which includes interchangeable/modular parts, allowing for ease of mounting, exchanging or repositioning.
Illustrative example of subject matter classified in this group:
FIG. 17 shows a presentation as an illustration of the process of changing a handling part. Here, the change arm 54 is essentially moved upwards vertically (cf. double arrow Y) by the respective joints, in order to exchange the handling parts, here heating mandrels 96 and shielding plates 98. It is possible to, at first, remove the existing handling parts 96 and 98, then turn the changing element 53 by 180° in order to arrange immediately the new handling parts on the heating device 50.

This place covers:
A blow-moulding machine which includes several moulds having different features than each other, e.g. size, shape.
This place does not cover:
Making articles of indefinite length by subsequent mould cavities being different |
This place covers:
- articles of definitive length, bottles
- US3597516

- JP3197117

- DE102008006073

This place does not cover:
Using moulds movable in a closed path for blow moulding of articles of indefinite length |
This place covers:
Details of extrusion dies used during blow-moulding.
Closing parison ends before blow-moulding e.g. with a fluid stream or by grippers.
Antistatic treatment of preforms.
Cleaning of preforms.
Sterilisation of preforms.
Mould change.
Cutting and recycling material.
Avoiding malfunctioning.
Attention is drawn to the following places, which may be of interest for search:
Handling of moulds between a mould store and a moulding machine in general | |
Maintenance of moulds namely cleaning of moulds in general | |
Extrusion nozzles or dies in general | |
Disinfection or sterilisation of materials or objects, in general; Accessories therefor |
This place covers:
Gripping and holding means for preforms, parisons or blown articles.
Adjustable transporting means depending on the size of the preforms, parisons or blown articles.
Air conveyors for preforms or blown articles.
Orientating unorientated preforms.
Feeding of preforms or parisons.
Illustrative example of subject matter classified in this group:




This place does not cover:
Handling of inserts or reinforcements | |
Handling of linings or labels |
Attention is drawn to the following places, which may be of interest for search:
Handling materials in general |
This place covers:
Auxiliary blow-mould element which facilitates removal of a preform from mould elements.
Illustrative example of subject matter classified in this group:



This place covers:
Auxiliary blow-mould element which unstacks preforms which are originally arranged in a stacked configuration.
Illustrative example of subject matter classified in this group:



This place covers:
Auxiliary blow-mould element which facilitates organization of preforms which are originally not arranged in any sort of order.
Illustrative example of subject matter classified in this group:


This place covers:
Preform handling process or method which would correct any preforms which are not oriented in the proper way, e.g. tilted, misaligned.
Illustrative example of subject matter classified in this group:


This place covers:
Structures associated with the handling means that correct or ensure the proper orientation of the preforms.
Illustrative example of subject matter classified in this group:



This place covers:
Structures associated with the handling means that correct or ensure the proper orientation of the preforms with respect to the mould.
Illustrative example of subject matter classified in this group:

This place covers:
Handling means structures which move, transfer, grip, carry, or otherwise relocate preforms from one location to another location.
Illustrative example of subject matter classified in this group:






This place covers:
Handling means structures which are only for transporting the blown article.
Illustrative example of subject matter classified in this group:


This place covers:
Structures which stack, in any orientation, the blown articles for transporting purposes.
Illustrative example of subject matter classified in this group:
Air nozzle 101 lifts containers 1 into a cylindrical stacker.

This place covers:
Illustrative example of subject matter classified in this group:


This place covers:
Illustrative example of subject matter classified in this group:

This place covers:
Illustrative example of subject matter classified in this group:


This place covers:
Illustrative example of subject matter classified in this group:

This place covers:
Illustrative example of subject matter classified in this group:



This place covers:
Illustrative example of subject matter classified in this group:





This place covers:
Illustrative example of subject matter classified in this group:




This place covers:
Illustrative example of subject matter classified in this group:






This place covers:
Illustrative example of subject matter classified in this group:






This place covers:
Illustrative example of subject matter classified in this group:



This place covers:
Illustrative example of subject matter classified in this group:






This place covers:
Where the movement along the sliding rail is caused by or aided by air or gas flow.
Illustrative example of subject matter classified in this group:

This place covers:
Illustrative example of subject matter classified in this group:


This place covers:
Transportation means that uses vacuum or suction along a tube/pipe/conduit (e.g. a pneumatic tube).
Illustrative example of subject matter classified in this group:


This place covers:
Handling means for movement of a discrete number of preforms or blown articles.
Illustrative example of subject matter classified in this group:



This place covers:
Illustrative example of subject matter classified in this group:

This place covers:
Illustrative example of subject matter classified in this group:



This place covers:
Handling means which invert the preform or article so that the top faces down or the bottom faces up.
Illustrative example of subject matter classified in this group:





This place covers:
Handling means which include a structure which moves, translates, or telescopes in order to reach a preform or blown article.
Illustrative example of subject matter classified in this group:




This place covers:
Handling means that alters the spacing between preforms or blown articles during transportation.
Illustrative example of subject matter classified in this group:


This place covers:
Where mould cavity spacing is different than the spacing of the preforms during transportation to the mould.
Illustrative example of subject matter classified in this group:


This place covers:
Handling means which maintains a constant spacing between preforms or blown articles during transportation.
Illustrative example of subject matter classified in this group:


This place covers:
Illustrative example of subject matter classified in this group:
Where the drive mechanism relies on electrical signals in order to provide movement (i.e. servomotor, linear actuator, etc.).

This place covers:
Apparatuses that alter the position of an extruder.
Illustrative example of subject matter classified in this group:


This place covers:
Apparatuses that alter the position and/or location of a mould; not including opening, closing, or clamping the mould.
Illustrative example of subject matter classified in this group:


This place covers:
Safety devices preventing injuries while operating a blow-moulding apparatus.
This place covers:
Illustrative example of subject matter classified in this group:

This place covers:
Methods and apparatuses that prevent or lessen the occurrence of condensation during blow-moulding.
Illustrative example of subject matter classified in this group:

This place covers:
Illustrative example of subject matter classified in this group:

This place covers:
Illustrative example of subject matter classified in this group:



This place covers:
Methods or apparatuses for applying an indicia (e.g. pattern, marking, design, identifying feature, etc.).
Illustrative example of subject matter classified in this group:
A marking step can also be used to mark usual information on the filler product that is contained in the container, such as, for example, an expiration date or the like. Thus, a single marking step makes it possible to print information relative to the traceability of the container and relative to the product that is contained in the container.



This place covers:
Where the applied indicia can be used to measure or indicate the deformation that a preform undergoes during processing.
Illustrative example of subject matter classified in this group:


This place covers:
Illustrative example of subject matter classified in this group:

This place covers:
Pulling the extruded parison through the mould.
Moving the mould or the extruder head while extruding the parison.
A floating for helping feeding of the parison through the mould.
Using grippers which deform the parison during extrusion or during transportation.
Illustrative example of subject matter classified in this group:






This place does not cover:
Biaxial stretching during blow-moulding |
Attention is drawn to the following places, which may be of interest for search:
Bending of tubes |
This place covers:
Illustrative example of subject matter classified in this group:




This place covers:
Illustrative example of subject matter classified in this group:





This place covers:
Illustrative example of subject matter classified in this group:








This place covers:
Devices where the pressure differential is pneumatic (e.g. vacuum, pressurized gas, ducted air, etc,) in nature.
Illustrative example of subject matter classified in this group:


This place covers:
Illustrative example of subject matter classified in this group:


This place covers:
Devices where the deformation is caused by the extruder head movement.
Illustrative example of subject matter classified in this group:



This place covers:
Devices where the deformation is caused by the transport means.
Illustrative example of subject matter classified in this group:



This place covers:
Illustrative example of subject matter classified in this group:





This place covers:
Illustrative example of subject matter classified in this group:


This place covers:
Devices that use air to float/lift the parison while in the mould prior to the blow-moulding step.
Illustrative example of subject matter classified in this group:


This place covers:
Illustrative example of subject matter classified in this group:



This place covers:
Illustrative example of subject matter classified in this group:


This place covers:
Spreading the open end or other parts of the preform or parison by mechanical means or vacuum grippers before blow-moulding.
Illustrative example of subject matter classified in this group:

Attention is drawn to the following places, which may be of interest for search:
Shaping of tube ends |
This place covers:
llustrative example of subject matter classified in this group:


This place covers:
Deformation caused by activation of blowing/foaming agents (which can include the depressurization of pressurized gases when the preform/parison leaves the extruder) in the preform/parison prior to the blow-moulding step.
Illustrative example of subject matter classified in this group:

This place covers:
Deformation that occurs during the blow-moulding process caused by mould elements that activate after the mould closes and prior to the end of the blowing process.
Illustrative example of subject matter classified in this group:



This place covers:
Where the closure or sealing foil is added after the blow-moulding process.
Illustrative example of subject matter classified in this group:












This place covers:
Illustrative example of subject matter classified in this group:

This place covers:
Illustrative example of subject matter classified in this group:





This place covers:
Illustrative example of subject matter classified in this group:

This place covers:
Illustrative example of subject matter classified in this group:

This place covers:
Illustrative example of subject matter classified in this group:

This place covers:
Removal of burrs, flash, or other unwanted moulding effects caused by the interaction of the blown article and the mould during the blowing process.
Illustrative example of subject matter classified in this group:




This place covers:
Illustrative example of subject matter classified in this group:


This place covers:
Illustrative example of subject matter classified in this group:



This place covers:
Deformation that occurs after the blow-moulding process that moves a blown article surface to a new final location.
Illustrative example of subject matter classified in this group:







This place covers:
Illustrative example of subject matter classified in this group:

This place covers:
Illustrative example of subject matter classified in this group:

This place covers:
Structures and operations associated with the sealing means that prevent blowing fluid from leaking.
Illustrative example of subject matter classified in this group:

The applied pressure force of the blow nozzle 13 is selected such that the outside edge 15 of the blow nozzle 13 sinks somewhat into the conical surface 9. This improves sealing.
This place covers:
Structures associated with sealing spaces to avoid contamination.
This place covers:
Structures associated with the sealing means that reduce or prevent air from entering the mould.
This place covers:
Illustrative example of subject matter classified in this group:

This place covers:
- Inert gas as blowing fluid
- Reactive gas as a blowing fluid
- Sterile gas as a blowing fluid
- Hot gas as a blowing fluid
- Filtered air as a blowing fluid
- Explosive gas mixture as a blowing fluid
- Incompressible blowing fluids, e.g. filling liquid is used as blowing fluid
- Clean rooms
Attention is drawn to the following places, which may be of interest for search:
Incompressible blowing fluids which stay in the formed container after blow-moulding have to be also classified in B65B 3/022.
This place covers:
Methods and apparatus that create a pressure difference.
Attention is drawn to the following places, which may be of interest for search:
Moulds characterised by the material or the manufacturing process in general |
This place covers:
Illustrative example of subject matter classified in this group:

This place covers:
Where opposing wall parts of the parisons or preforms are joined to each other.
This place covers:
Illustrative example of subject matter classified in this group:


This place covers:
Illustrative example of subject matter classified in this group:


This place covers:
With a plurality of mould cavities.
This place covers:
Having a plurality of mould cavities with different shapes or sizes.
This place covers:
- WO2007063155

- EP1693240

This place covers:
- WO2005025835

- WO03033242
-
JP2289328

Attention is drawn to the following places, which may be of interest for search:
Heating or cooling of moulds in general |
When details of the heating or cooling means are indicated, then it is highly desirable to allocate additionally the following corresponding Indexing Codes for additional information:
This place covers:
Having means for heating or cooling from inside the mould cavity.
This place covers:
With means or methods for aligning neck portions of bottle producing moulds.
This place covers:
Means or methods for aligning mould part positions.
This place covers:
With mould identification means.
This place covers:
Where the mould is characterised by the manufacturing process of the mould.
This place covers:
Moulds having a mandrel or core between the mould halves.
This place covers:
Moulds that are asymmetric allowing the parison to be off center.
This place covers:
Moulds having cavity portions which do not contact the preform.
This place covers:
-EP1645397

-US2005199577

US2006175737

This place covers:
- EP1005975

US2004026355

Attention is drawn to the following places, which may be of interest for search:
Moulds characterised by the shape of the moulding surface in general |
This place covers:
-US2008283533

- DE1479563

Attention is drawn to the following places, which may be of interest for search:
Moulds with means for, or specially constructed to facilitate, the removal of articles, e.g. of undercut articles |
This place covers:
Illustrative example of subject matter classified in this group:
Cam driven opening and closing means

Mechanical opening closing mechanism

Spindle driven (screw driven) opening closing mechanism

Fluid driven clamping means via channel 25

Closing and clamping toggle mechanism

Locking mechanism

Attention is drawn to the following places, which may be of interest for search:
Opening, closing or clamping of moulds in general |
This place covers:
Opening or closing the mould with the use of cams.
This place covers:
Opening or closing the mould with the use of a toggle mechanism.
This place covers:
Opening or closing the mould with the use of a spindle nut mechanism.
This place covers:
Opening or closing the mould hydraulically.
This place covers:
Opening or closing the mould pneumatically.
This place covers:
Opening or closing the mould electrically.
This place covers:
Opening or closing the mould by asymmetric movement of the mould parts.
Illustrative example of subject matter classified in this group:

This place covers:
Opening or closing of the mould is characterised by the opening or closing speed.
This place covers:
Opening or closing the mould by tilting movement of a mould part.
This place covers:
Opening or closing the mould by movement of a bottom portion of the mould.
This place covers:
Opening or closing the mould by movement of a connected mould part.
Illustrative example of subject matter classified in this group:

This place covers:
Safety devices for use during opening or closing of the mould.
This place covers:
Hydraulically operated clamping means.
This place covers:
Pneumatically operated clamping means.
This place covers:
Electrically operated clamping means.
Illustrative example of subject matter classified in this group:

The machine wherein the coupling means (36) is constructed as a rack, threaded rod (40), link chain, toothed belt, V-belt or corresponding means, and the rotating engagement member is constructed as a toothed wheel, threaded wheel (42) or corresponding turning means, and the motor (38) is constructed as an electrically driven motor (44).
This place covers:
Mould apparatus clamping elements which function in a manner that avoids or prevents deforming the mould.
Illustrative example of subject matter classified in this group:

As seen in Figure 1, Element 30 is a cushion which can be inflated such that it projects slightly past the rear face of the mould-half, at least on three sides. Thus, by inflating the cushion 30 with a fluid at a pressure substantially equal to or greater than that of the blow-moulding fluid, the resulting action of these two fluids on the mould-half is an action that pushes toward the other mould-half 14.
In the extrusion-blow-moulding process, pressures on the order of 10 bars are generally used. Also, when the mould has a large cavity or several cavities, the forces exerted by the fluid pressures can be quite large. However, the use of a flexible cushion makes it possible to ensure that the compensating pressure is distributed uniformly over the entire rear face of the mould-half. In this way, the force of the first mould-half 12 applied against the second 14 is uniformly distributed over the entire joint plane of the mould, without the need to use particularly rigid mould-halves or mould clamping units, which allows costs to be decreased.
This place covers:
A mould closing feature which also functions as the mould clamping feature.
Illustrative example of subject matter classified in this group:
To close the blow-mould and to hold it closed with a high force for a blow-moulding process, the electric motor is activated to drive the push mechanism. The push mechanism, preferably designed as a spindle drive, moves the push rod out of the push mechanism and the electric motor reaches the required torque. Directly after the blow-mould has been closed with high force by an elastic deformation, the braking device is activated to hold the push rod in a state of constantly maintained tension in its instantaneous position and to hold the blowing mould closed with a required closing force.

This place covers:
A mould locking element which is operated mechanically.
Illustrative example of subject matter classified in this group:

The cross-section of the coupling member 80b which is to be introduced into and co-operate with the receiving coupling member 80a is so adapted to the cross-sectional shape of the opening in the receiving coupling member 80a so that, when the receiving coupling member 80a is in the appropriate angular position, the coupling member 80b can be introduced into the coupling member 80a through the opening therein, in the course of the mould-closing movement. Thereafter, the receiving coupling member 80a is rotated about its longitudinal axis or about the longitudinal axis of the locking portion, thus providing a positively locking connection between the two coupling members. That position is shown in FIG. 5.
This place covers:
A mould locking element which includes a mechanically-operated latch feature.
Illustrative example of subject matter classified in this group:


This place covers:
A mould locking element which is a mechanically-operated rotating pin.
Illustrative example of subject matter classified in this group:

Locking mechanism 25 is actuated by piston and cylinder unit as soon as mould platens 10, 11 are butted to each other and hollow mould 14 is closed. Since locking bush 27 is firmly screwed to mould platen 10 and locking rod 28 is rotatable in mould platen 11 but axially fixed relative thereto, with platens 10, 11 abutting, lock head 29 penetrates into opening 31 of locking bush 27, the mechanism being adjusted so as to always insure an alignment of lock head 29 with opening 31.
This place covers:
A mould locking element which is a mechanically-operated translating pin.
Illustrative example of subject matter classified in this group:

See reference sign 8

See reference sign 21
This place covers:
A mould locking element which is magnetically operated.
Illustrative example of subject matter classified in this group:

This figure shows a corresponding closed state of the blow-moulding station, i.e. a state in which the first locking element 82 engages in the second locking element 84. The reference number 95 designates a holding magnet which cooperates with a magnetizable element 91, which is likewise arranged in a fixed manner on the locking element 82, and in this way holds the first locking element in the locking position with a pre-set magnetic force. This holding magnet 95 thus constitutes the second magnetic element.
This place covers:
A mould locking element which is pneumatically operated.
Illustrative example of subject matter classified in this group:

The locking and unlocking of the mould halves when the mould is in its closed state is effected utilising a locking arrangement which will be described. The locking arrangement comprises a pneumatic piston and cylinder arrangement 40. The piston rod 41 of the arrangement 40, when moved upwardly, engages with the underside of the lowermost locking section 42a of a series of end-abutting locking members 42 which are in the form of locking bars. The mould halves 1 and 2 are provided with clamps 3.
This place covers:
Illustrative example of subject matter classified in this group:



In patent documents, the following words/expressions are often used as synonyms:
- "blowing means", "blow pin", "blowing nozzle" and "blowing mandrel"
This place covers:
Control of the force of the attachment, or clamp applied, between the blowing element and the preform/parison.
Illustrative example of subject matter classified in this group:

After the seal 30 has contacted the upper lip of the parison 24 and the piston 38 moved upward against the biasing force of spring 80, a gaseous blowing medium, typically air, is quickly injected through outlet 14 and into axial passageway 46. The downwardly angled ports 51 extending from the axial passageway 46 through the inner wall 53 of chamber 34 causes a quick increase in pressure within the chamber 34. This increase in pressure within chamber 34 exerts a force on the annular pressure surface 72 of piston 38 causing it to press downwardly to ensure a complete and full seal by the sealing means 30 on the upper lip of opening 22.
This place covers:
Illustrative example of subject matter classified in this group:

Support 30 facilitates the piercing of the parison
Retractable blow needle, the blow needle has special blow openings

Blow needle has special means to facilitate the piercing

This place covers:
Blow needle placement such that any needle marks are avoided. This could include needle insertion in a sprue or other area apart from the article.
Illustrative example of subject matter classified in this group:


This place covers:
Processes or apparatus which include sterilizing the blowing needle.
Illustrative example of subject matter classified in this group:

An apparatus including an element for passing steam through said needle in the sterilization position before the sterile gas is passed through the needle. In operation, the needle 1 is retracted into chamber 2 and is initially connected to the steam system 8 in the position shown in FIG. 1 so as to sterilize the entire blowing circuit.
This place covers:
Illustrative example of subject matter classified in this group:



Attention is drawn to the following places, which may be of interest for search:
Venting means for moulds in general: |
This place covers:
Mould venting element which vents the blowing means, possibly including use of a damper or silencer.
Illustrative example of subject matter classified in this group:

As illustrated in FIG. 3f, during and after the step for cooling the mould 18, the cooling fluid—when it is formed by the compressed air escapes through said opening 46 to be evacuated through an exhaust device (not shown) that the blow-moulding means 20 comprise and that commonly comprises a sound suppressor. Noise linked to the expansion of compressed air and then to its evacuation is thus limited.
Advantageously, the evacuation of the cooling air from the mould 18 through such a sound suppressor makes it possible to control the pressure inside the moulding cavity 16, which makes it possible to raise the blow-moulding means 20 to the upper position and then to open again the moulding unit 12.
This place covers:
Mould venting element which vents the blowing means using vacuum pressure.
Illustrative example of subject matter classified in this group:

After blowing the receptacle, the supply of high pressure sterile air is interrupted by switching distributor 30. The pressurized sterile blowing air in the receptacle is then evacuated through distributor 24 and valve 31. After evacuation distributor 24 is closed, the needle is withdrawn from the mould cavity by jack 16, distributor 30 is reversed and distributor 36 is opened. The coupling of the vacuum source 35 ensures complete evacuation.
Attention is drawn to the following places, which may be of interest for search:
Heating, cooling or curing in general | |
Cooling of preforms after an injection moulding process, said cooled preforms being used in a following blow-moulding process | |
Heating of preforms in general |
In patent documents, the following words/expressions are often used as synonyms:
- "glass transition temperature", "Tg" and "vitreous transition temperature"
This place covers:
Heating and cooling preforms before the blow-moulding operation.
This place does not cover:
Ovens specially adapted for heating preforms or parisons |
This place covers:
Heating cold preforms in one continuous uninterrupted heating phase.
Illustrative example of subject matter classified in this group:

Row of preforms are transported through a heating oven

This place covers:
Heating the preforms from the inside using media such as hot air or interior heating element.
Illustrative example of subject matter classified in this group:

This place covers:
Heating the preforms via a heated mould.
This place covers:
Heating preforms to shrink them into an intermediate product.

This place covers:
Cooling hot or molten preforms in one continuous uninterrupted cooling phase (mainly for injection moulded preforms who do not have the correct blow-moulding temperature yet).
Illustrative example of subject matter classified in this group:

This place covers:
Cooling preforms from the inside using media such as cool air or fluid.
Illustrative example of subject matter classified in this group:

This place covers:
Cooling preforms from the outside using media cool air or fluid in mould channels.
Illustrative example of subject matter classified in this group:

This place covers:
Illustrative example of subject matter classified in this group:

This place covers:
Illustrative example of subject matter classified in this group:

This place covers:
Cooling preform neck region.
Illustrative example of subject matter classified in this group:

This place covers:
Heating preform neck region.
Illustrative example of subject matter classified in this group:

This place covers:
Illustrative example of subject matter classified in this group:
Heating apparatus or method that creates a desired temperature profile through a preform.


This place covers:
Heating system/process for preforms such that there is a difference in temperature through the circumference of the preform, e.g. one radial location of the preform would be heated to a temperature that would differ from a temperature of second radial location.
Illustrative example of subject matter classified in this group:

This place covers:
Heating including providing a heat shield of some sort which protects desired sections of the preform during heating, e.g. a handle or neck.
Illustrative example of subject matter classified in this group:

This place covers:
Illustrative example of subject matter classified in this group:

This place covers:
Heating a preform including using an element which is adapted to engage in contact with a surface of the preform to transfer heat thereto.
This place covers:
Cooling preforms including maintaining contact of a surface of the preform with interior corresponding surface of a cooling sleeve.
Illustrative example of subject matter classified in this group:

This place covers:
Temperature conditioning of preforms via contact on the preform interior with a heating or cooling mandrel.
Illustrative example of subject matter classified in this group:
This place covers:
Temperature conditioning of preforms via contact on the preform exterior with a corresponding heating or cooling element.
This place covers:
- Discontinuous heating having at least one additional phase where the preform is not heated, or even shortly cooled before the next heating phases starts
- DE3908219

This place covers:
Temperature control/adjustment of preforms in parisons which occurs throughout more than one stage or process.
Illustrative example of subject matter classified in this group:

This place covers:
- JP56013141

- EP1314535

This place covers:
Heating the article after a moulding step, e.g. in preparation for hot fill or post-processing steps.
This place covers:
Heating a blow-moulded article including controlling the pressure during heating, which could function to avoid shrinkage or to induce particular article features.
This place covers:
Cooling a blow-moulded article, e.g. using a water bath or spray, cooled air, refrigerated cabinet.
This place covers:
Thermally conditioning a blow-moulded article including affecting its temperature outside of the mould during transport or further processing.
This place covers:
the heating device (oven) functioning as a whole
Details of ovens specially adapted for heating preforms or parisons are classified in B29C 49/64
This place covers:
An oven which includes a cavity designed to receive and heat a preform/parison. Such a cavity could also have locations which are designed to cool or not heat specific locations of the preform/parison.
Illustrative example of subject matter classified in this group:

This place covers:
An oven designed to thermally condition preforms/parisons which includes a distinctive conveyance path for such thermal conditioning, e.g. sinusoidal.
Illustrative example of subject matter classified in this group:

This place covers:
An oven designed to thermally condition preforms/parisons which includes elements which are exchangeable, and the process of mounting, exchanging, or centering the oven parts.
Illustrative example of subject matter classified in this group:
Heating modules which are exchangeable or interchangeable (elements 11-16 in Figure).
This place covers:
An oven designed to thermally condition preforms/parisons which includes elements which are adjustable in quantity, position, or other ways.
This place covers:
An oven designed to thermally condition preforms/parisons which includes elements which are reflective.
Illustrative example of subject matter classified in this group:

A device that comprises reflectors (60) arranged in an external position relative to the heating tubes (40) and to the preforms (14) and so shaped as to reflect the heating radiation emitted by the heating tubes (40) disposed nearest the reflectors (60) in the direction of the preforms (14) of the farthest row of preforms through the free space between two successive preforms of the nearest row.
This place covers:
Heating in an oven which includes masking elements that shield desired parts of a preform therein.
Illustrative example of subject matter classified in this group:

This place covers:
Heating in an oven which includes ventilation elements.
Illustrative example of subject matter classified in this group:

Oven (10) for the heat treatment of thermoplastic preforms (12) each respectively comprising a first part (14, 16) in its definitive shape and a second part (18, 20) intended to be heated by heating means (30) arranged along at least part of a determined heating path followed by the preforms (12) travelling through the oven, the said oven (10) comprising a cooling system (36) capable respectively of cooling the first parts (14, 16) and the second parts (18, 20) of the preforms. The cooling system (36) comprises at least one cooling device (42) capable of air-cooling at least the second part (18, 20) of the preforms (12), the said cooling device (42) comprising at least ventilation means (52) capable of delivering a given flow rate of cooling air and means (58, 64) for selectively varying, along the heating path of the preforms (12), at least the cooling airflow rate delivered by the said ventilation means (52) for cooling the said second parts (18,20) of the preforms (12).

A bottle blank heating air channel for a bottle blowing machine, wherein a heating box is provided, wherein the heating box is set on the opposite side of the bottle body air channel air outlet, wherein a space for the bottle plank is formed between the heating box and opposite side of the bottle body air channel air outlet, wherein a ventilating channel is provided on the heating box, and wherein the air outlet of the ventilating channel is connected to the air inlet of the bottle body air outlet channel.
This place covers:
Heating in an oven which includes preform rotation relative to the heating elements.
Illustrative example of subject matter classified in this group:

Furnace for conditioning preforms, in particular for stretch blow-moulding plastic containers, comprising a plurality of heating chambers rotating in a circle for heating one preform each with infrared radiation, holding devices for holding the preforms during heating such that a section of the preform to be conditioned is arranged in a heating chamber, and a section of the preform not to be conditioned is arranged outside the heating chamber.

An oven for blowing or stretch-blowing preforms to provide containers with oval section, comprising a path for the preforms, a transfer system of the preforms from an upstream transport system upstream of the oven and a transfer system of the heated preforms from the oven to a downstream transport system, wherein a plurality of mandrels are slidingly carried along the path, the mandrels configured to temporarily engage with the preforms to conduct the preforms along the path, the oven comprising at least one first heating module and at least one second heating module, wherein the oven comprises a rotator for rotating said preforms by 180°, said rotator being in median position of said at least one second heating module.
This place covers:
Heating in an oven which includes the features of cooling the heating elements so as to prevent overheating of the apparatus or element to be heated.
Illustrative example of subject matter classified in this group:


The unit 1 includes a plurality of heaters 13, and a cooling circuit 18 inside a frame 7. The cooling circuit 18 limits the amount of heat produced by the heaters 13.
This place covers:
Means to facilitate the removing or ejecting of blown articles from the mould. These ejecting means are typically located in the mould.
Illustrative example of subject matter classified in this group:



Attention is drawn to the following places, which may be of interest for search:
Moulds in general with means for to facilitate the removal of articles | |
Means explicitly adapted for transporting blown articles |
In this place, the following terms or expressions are used with the meaning indicated:
ejecting | separating moulded products from the mould cavity |
This place covers:

- EP1050394

Attention is drawn to the following places, which may be of interest for search:
Deflashing in general |
This place covers:
- US2005284275

- GB1483712

This place covers:
Illustrative example of subject matter classified in this group:

Illustrative example of subject matter classified in this group:


Attention is drawn to the following places, which may be of interest for search:
Control of fluid pressure in general |
This place covers:
Control of a material-shaping process including controlling blowing pressure values/ranges.
Illustrative example of subject matter classified in this group:

A process wherein the pressure during the preliminary blowing phase has a value in the interval of 10 bar to 25 bar and wherein the pressure during the primary blowing phase has a value in the interval of 25 bar to 40 bar.
This place covers:
Control of a material-shaping process including controlling blowing pressure of two or more levels.
Illustrative example of subject matter classified in this group:


This place covers:
Control of a material-shaping process including controlling blowing pressure of three or more levels.
Illustrative example of subject matter classified in this group:

This place covers:
Control of a material-shaping process including controlling blowing pressure in terms of how fast/slow the pressure increases. This may depend on preform stretch or position.
Illustrative example of subject matter classified in this group:

FIG. 6 illustrates in a diagram the relation of a chronological blow pressure pattern 42, a stretching force development 43 as well as a stretching rod positioning 44. The scale of the time axis takes place in this case in milliseconds and the amplitude values are scaled in bar, Newton or millimeter. FIG. 6 illustrates that with respect to the positioning of the stretching rod 11, this stretching rod is initially moved essentially without development of a stretching force into the preform 1. After a contact of the stretching rod 11 at the bottom of the preform 1, the latter is stretched and a relatively great development of the stretching force takes place. After the longitudinal stretching is concluded, the remaining stretching force results from the stabilization of the preform in the stretched position while taking into consideration elastic restoring forces within the material of the preform. The blowing pressure sequence 42 shows the division into a pre-blowing phase during the carrying out of the stretching process and a principal blowing phase after a significant conclusion of the stretching procedure.
This place covers:
Control of a material-shaping process including controlling blowing pressure in terms of how fast/slow the pressure decreases. This may depend on preform stretch or position.
Illustrative example of subject matter classified in this group:

While blowing, the compressed air itself is preferably cooled to an adjustable temperature as well, which may be either higher or lower than zero degrees Celsius. Thus, the decrease of pressure can be faster, since the blown object has to cool less long, and the de-aeration time D thus decreases, and the production speed and the output of the blowing process increase. The decrease of pressure in area C can be obtained by successively going through more than one adjustable discrete pressure value or, when using an unlimited number of such adjustable pressure values, by running through a continuously adjustable curve, whereby the last set pressure value can amount to zero bar relative pressure in relation to the atmospheric pressure.
This place covers:
Control of a material-shaping process including controlling temperature of a preform.
Illustrative example of subject matter classified in this group:

Figure 1 depicts the outlet of the heating station 8, the heated preforms 22 are at a temperature comprised between the glass transition temperature of the material of the preform and its crystallization temperature, in order to obtain, at the outlet of the heating station 8, soft heated preforms 22 able to be deformed under the influence of a pressure injected inside the heated preforms 22, i.e. malleable preforms. The temperature is such that the preforms however still maintain their shape at the atmospheric pressure, meaning that they do not tend to be deformed without any pressure applied on them. As an example, for a preform made of PET in the dimensions range mentioned previously, the preform is heated at a temperature comprised between 100° C. and 140° C. It should however be noted that the more the preform has to be subjected to a greater expansion along an axial direction and/or along radial directions, the more the preform is heated at a temperature over the glass transition temperature, but without reaching the crystallization temperature, for example around 135° C. for a preform made of PET in the dimensions range mentioned previously. Consequently, for preforms having a high bi-orientation rate, defining the cumulated axial elongation and radial expansion to which the preform has to be subjected, one wants to work at the highest possible temperatures, but without crystalizing the material of the preform, in order to allow the preform to be deformed easily enough to reach the wanted shape of the container without the appearance of an overstretching of the material, possible with a temperature not high enough and/or of an high stretching rate.
The acquired images or film are then transferred to the control unit 50 and compared to the reference gauge. Furthermore, a sensor for sensing the temperature of the heated preform 22 could be provided and a formula for correcting the acceptable retraction depending on the temperature of the heated preform 22 could be applied. If one of the acquired images or one of the images of the film shows a profile of the preform radially diverging more than the reference gauge, then it is determined that the analyzed preform is unsatisfactory.
This place covers:
Control of a material-shaping process including controlling temperature of a preform in terms of temperature values or ranges.
This place covers:
Control of a material-shaping process including controlling temperature of a preform which includes cold blow-moulding processes, e.g. below the glass transition temperature of the preform material.
This place covers:
Control of a material-shaping process including controlling temperature of a mould.
Illustrative example of subject matter classified in this group:

A moulding machine, wherein a sensor comprises a temperature sensor for sensing the temperature of the mould.
This place covers:
Control of a material-shaping process including controlling temperature of a mould in terms of temperature values or ranges.
Illustrative example of subject matter classified in this group:

This place covers:
Control of a material-shaping process including controlling temperature of stretching elements, e.g. stretch rod.
Illustrative example of subject matter classified in this group:

The drawing rod 15, which is made of metal, is brought into contact sequentially with the bottoms of successive hot preforms and its temperature undoubtedly rises because of these repetitive contacts; however, these contacts being only intermittent, the rod remains at all times at an average temperature substantially lower than that of the hot preforms. To give a concrete idea of this, the preforms are typically heated to a temperature of the order of 100° C. whereas the average temperature of the drawing rod remains of the order of 85° C.
This place covers:
Control of a material-shaping process including controlling temperature of the elements which provide heating or cooling.
This place covers:
Control of a material-shaping process including controlling temperature of elements which provide heating.
Illustrative example of subject matter classified in this group:

FIG. 9 shows a heating chamber 4 in which temperature probes 41 are additionally provided. These can, for example, be provided in the vicinity of the recesses 4d of the feed line 14b or on the discharge line 14c of the cooling air 14. With the temperature probes 41 it is possible to monitor the temperature within the heating chambers 4. Similarly, it is conceivable that with the aid of the temperature probes 41 and a suitable control device the amount of cooling air introduced into the heating chamber 4 can be controlled, in particular with convection driven by a blower. However, this would also be possible with free convection. A temperature control can also be used to stabilise the heat distribution in the preform and/or to compensate differences between individual heating chambers 4 or preforms 5. It is also conceivable to regulate the amount of air to be introduced in dependence of a measured final temperature after heating the preform and/or to mix discharged cooling air 14 for temperature control at least partly with the cooling air 14 to be fed in and/or to pass the discharged cooling air 14 to a heat exchanger for heat extraction in another process.
With the aid of temperature probes 41 the temperature in the heating chambers 4, in particular after closing the lid 21 with the heating chamber 4 uncharged, can be set to a constant value or to a uniform output temperature for heating the preforms 5.
This place covers:
Control of a material-shaping process including controlling temperature of the formed article.
This place covers:
Control of a material-shaping process including controlling thickness of a preform in terms of the particular thickness of a layer within the preform.
Illustrative example of subject matter classified in this group:







As seen in Figures 2-7, a laminated and moulded body obtained by coextruding and moulding at least two kinds of resin materials. At least one layer of said laminated and moulded body comprises a coloured layer having a thickness continuously or intermittently varied in a predetermined direction with respect to the extruding direction of the resin material of said coloured layer, wherein the predetermined direction preferably is a direction parallel to the extruding direction of said at least one layer of said laminated and moulded body or preferably the predetermined direction is a direction intersecting the extruding direction of said at least one layer of said laminated and moulded body or preferably the predetermined direction comprises a direction parallel to the extruding direction of said at least one layer of said laminated and moulded body and another direction intersecting the extruding direction, wherein preferably the full thickness of said laminated and moulded body is substantially constant along said predetermined direction, wherein preferably said coloured layer has a thickness varied within a range of 50% of the full thickness of said laminated and moulded body.
This place covers:
Control of a material-shaping process including controlling thickness of a preform in terms of the thickness of the preform as-extruded.
This place covers:
Control of a material-shaping process including controlling thickness of a preform in terms of the thickness of the blown article.
Illustrative example of subject matter classified in this group:

Figure 1 shows machine control features connected to moulding devices for a thickness monitor that generates a thickness signal representing an average wall thickness of the container; and a system control connected to said thickness monitor and being responsive to said thickness signal for generating a control signal, a control signal for adjusting operation of the moulding devices based upon average wall thickness, such that the system control responds to feedback signals generated by the moulding devices by adjusting operation of the moulding devices.
This place covers:
Control of a material-shaping process including controlling extrusion speed, such as extrudate position, length, or fall speed.
This place covers:
Control of a material-shaping process including controlling preform attributes of shape, weight, or presence of defect.
Illustrative example of subject matter classified in this group:

This figure depicts detecting, from at least some of the blow-moulded containers in the production process, the axial location of the indicator relative to a control location; determining for the at least some blow-moulded containers a material distribution outcome based on the detected axial locations of each indicator accumulating data representative of the material distribution outcome for a group of containers; computing an average material distribution characteristic for the group of containers; classifying the average material distribution characteristic for the group of containers in one of a pre-defined set of classes; and providing a signal based on the classification.
This place covers:
Control of a material-shaping process including controlling preform attributes of weight or density.
This place covers:
Control of a material-shaping process including controlling preform attributes of size or shape.
This place covers:
Illustrative example of subject matter classified in this group:

This place covers:
Control of a material-shaping process including controlling preform attributes of a presence of a defect in the preform.
This place covers:
Measuring, controlling, or regulating the movement and/or handling or preforms, parisons, or articles from one location to another location along a process flow direction.
Illustrative example of subject matter classified in this group:

This place covers:
Illustrative example of subject matter classified in this group:

This place covers:
Illustrative example of subject matter classified in this group:


This place covers:
Where the controller type or interface uses wireless transmission.
Illustrative example of subject matter classified in this group:

Figure 1 illustrates the air recirculation 9 equipped with a pressure sensor 11 which monitors the pressure conditions of the blow-moulding air to be recirculated out of the container 5. This data is sent from the pressure sensor 11 to the transmitting and receiving unit 12 of the control unit 3 via a transmitting/receiving unit 12' by wireless transmission. With the help of these results as well as other results, the control unit 3 is able to optimally regulate the compressor 2 in order to optimise and/or reduce the power consumption by the entire hollow body manufacturing unit 1.
This place covers:
Illustrative example of subject matter classified in this group:





This place covers:
Illustrative example of subject matter classified in this group:

Attention is drawn to the following places, which may be of interest for search:
Investigating fluid-tightness of structures |
This place covers:
Testing by taking preform or article samples.
Illustrative example of subject matter classified in this group:

This place covers:
- shaping of materials in a plastic state by thermoforming
- simulation of thermoforming
- honeycomb structures sheets which are thermoformed with thermoplastic sheets surrounding it as long as the thermoplastic sheets are plastically deformed,
- plates or sheets which are clamped in such a way that they can at least partially slide into the mould when thermoformed
Attention is drawn to the following places, which may be of interest for search:
Surface shaping | |
Cold deforming of thermoplastics material | |
Self-reinforcing plastics | |
Metal deep-drawing | |
Packaging individual articles in containers or receptacles whereby the machines incorporate means for making the containers | |
Blister packaging | |
Blister packages |
- For articles and materials, as much as possible additional classification by adding the Indexing Codes of B29K and B29L is recommended.
- If more then 4 different thermoplastic materials are described in the disclosure then the Indexing Code B29K 2101/12 should be allocated. In addition only up to 4 of the disclosed uncommon thermoplastic materials are classified (common thermoplastics for thermoforming are PET, PE, PP) by allocating the appropriate Indexing Code as provided in B29K 2001/00 - B29K 2101/00.
- Inventive and additional information disclosed in documents to be classified should be identified by allocation the appropriate classification codes of B29C 51/00 - B29C 51/46. In particular attention should be paid to the so called break down Indexing Codes, which are only present at additional information level, but should be allocated if disclosed in the document to be classified.
- If during thermoforming a vacuum, a vacuum and pressure or a pressure is used then one or both of the following classification codes should additionally be allocated: B29C 2791/006 and/or B29C 2791/007.
This place covers:
- Thermoforming processes, whereby their disclosure focuses on the materials or material parameters
Attention is drawn to the following places, which may be of interest for search:
Compositions of macromolecular compounds in general |
If reinforcing material is comprised in the material to be thermoformed, then the following Indexing Codes should additionally be allocated: B29K 2201/00 - B29K 2313/02
This place covers:
- Thermoforming of fabrics or textiles made of thermoplastic material. Fabrics or textiles can be woven or non woven.
Attention is drawn to the following places, which may be of interest for search:
Shaping composites | |
Self-reinforcing plastics | |
Helmets | |
Brassieres | |
Non-woven fabrics formed wholly or mainly of staple fibres or like relatively short fibres; Making three- dimensional articles by consolidation | |
Processes for the fixation or treatment of textile materials in three-dimensional forms |
This place covers:
-US2003026929

Attention is drawn to the following places, which may be of interest for search:
Hollow walled articles |
This place covers:

This place covers:
- EP2226181

This place covers:

This place covers:
- moulds without counter mould
Top of Form
DE102008025084


This place does not cover:
Mechanical deformation of paper or cardboard, e.g. deep drawing techniques |
This place covers:
- WO9728942

This place covers:
- FR2640545

This place covers:

This place covers:
-thermoforming processes, whereby two sheets are deformed at the same time by pressure or vacuum in one combined mould cavity, but they are not welded together either before or during the thermoforming operation
This place covers:
JP61193830

When details of inserts are indicated, then it is highly desirable to allocate additionally the following Indexing Codes for additional information:
Attention is drawn to the following places, which may be of interest for search:
Layered products comprising thermoplastic sheets per se |
- Thermoformed articles which are decorated with paint or sheets with a paint layer are additionally classified by adding the Indexing Code: B29L 2031/722
This place covers:
Thermoforming process whereby the lining must be heated and deformed during the lining operation.

Attention is drawn to the following places, which may be of interest for search:
Lining or sheathing in general | |
Producing of labels | |
Labelling in general, other then flat surfaces | |
In mould labelled containers | |
Labels in general e.g. for thermo adhesion |
In this place, the following terms or expressions are used with the meaning indicated:
Lining | Covering the whole outer and/or inner surface of articles with a heated thermoplastic sheet. The heated sheet is stretched and three dimensionally deformed. |
Labelling | Connecting a label, which is for example on the inside of a mould cavity, to a heated preform or sheet while the preform or sheet is thermoformed. Often also called "in mould labelling |
This place covers:
- FR2613982

Attention is drawn to the following places, which may be of interest for search:
Label feeding in general |
This place covers:
- Vacuum, pressure or match mould deforming as long as it is mounted on a drum
-WO2004113073


Attention is drawn to the following places, which may be of interest for search:
Handling of moulds between a mould store and a moulding machine in general | |
Mounting, exchanging or centering of moulds | |
Maintenance of moulds namely cleaning | |
Disinfection or sterilisation of materials or objects, in general; Accessories therefor |
This place covers:



- JP10305480

Attention is drawn to the following places, which may be of interest for search:
Handling sheet like materials in general |
This place covers:
- GB2324268

This place covers:
e.g.:
- thermoforming in clean rooms
- using an incompressible fluid for thermoforming
Attention is drawn to the following places, which may be of interest for search:
Cleaning in general |
This place covers:
- GB2049535
- 
Attention is drawn to the following places, which may be of interest for search:
Isostatic pressing in compression moulding |
Attention is drawn to the following places, which may be of interest for search:
Moulds in general characterised by the material or the manufacturing process |
This place covers:
Top of Form
- GB2187129

US5641379

This place covers:

This place covers:

This place covers:

Attention is drawn to the following places, which may be of interest for search:
Opening, closing or clamping of moulds in general |
This place covers:
- DE29908024U

Attention is drawn to the following places, which may be of interest for search:
Venting means for moulds in general |
Attention is drawn to the following places, which may be of interest for search:
Heating, cooling or curing in general | |
Heating of preforms in general |
When details of the heating or cooling means are indicated, then it is highly desirable to allocate additionally the following corresponding Indexing Codes for additional information:
In patent documents, the following words/expressions are often used as synonyms:
- "glass transition temperature", "Tg" and "vitreous transition temperature"
This place covers:

This place covers:

This place covers:

Attention is drawn to the following places, which may be of interest for search:
Heating or cooling of moulds in general |
- If the heating or cooling system applied in the thermoforming mould is of general interest, then additional classification in the general groups B29C 33/02 - B29C 33/08 is recommended.
This place covers:
Contains also stacking of articles


Attention is drawn to the following places, which may be of interest for search:
Moulds with means for to facilitate the removal of articles | |
Stacking of nested articles |
Attention is drawn to the following places, which may be of interest for search:
Lining or sheathing by winding sheet or web-like material helically | |
Lining or sheathing by winding sheet or web-like material spirally | |
Covering or wrapping cores by winding webs, tapes or filamentary material |
Attention is drawn to the following places, which may be of interest for search:
Apparatus for taking-out curl from webs |
In this place, the following terms or expressions are used with the meaning indicated:
Spirally | the successive turns are completely overlapping each other |
Helically | the successive turns are partially overlapping each other |
This place covers:
Documents describing shaping by stretching, drawing, orienting polymeric articles like films, sheets, webs, tapes, ribbons, bands, strips, slabs, plates, plaques, boards, tubes, hoses etc.
The subgroups define the mechanical and geometrical ways in which stretching is performed.
This place does not cover:
Attention is drawn to the following places, which may be of interest for search:
Membranes produced by stretching | |
Producing films characterised by special physical or application properties (e.g. translucent films for light diffusion) | |
Film laminates | |
Stretch wrapping |
This place does not cover:
Shaping a tube locally and then cutting in the deformed area, so that two tubes with shaped ends are obtained |
Attention is drawn to the following places, which may be of interest for search:
Forming the tip of catheters | |
Altering the diameter of tube ends | |
Shaping paper or cardboard tube ends |
This place does not cover:
Photomechanical, e.g. photolithographic, production of textured or patterned surfaces, e.g. printing surfaces, lithographic processes using patterning methods other than those involving the exposure to radiation, e.g. by stamping |
Attention is drawn to the following places, which may be of interest for search:
Moulding articles characterized by the shape of the surface | |
Shapping composites, comprising fillers only, the filler influencing the surface characteristics of the material, e.g. by concentrating near the surface or by incorporating in the surface by force | |
Absorbent pads, characterised by the outer layer being three-dimensional, e.g. embossed, textured | |
Producing rollers or cylinders having an axial length of several times the diameter, e.g. for embossing, pressing or printing | |
Basic electric elements such as spark gaps; overvoltage arresters using spark gaps; sparking plugs; corona devices | |
Plasma technique |
This place does not cover:
incorporation of release agents in the material to be embossed |
Attention is drawn to the following places, which may be of interest for search:
using lubricants during embossing |
This place covers:
incorporation of release agents in the material to be embossed
This place covers:








This place does not cover:
Working by laser beam, removal material, plastics | |
Cutting work, making a superficial cut in the surface of the work without removal of material, e.g. scoring, incising |
Attention is drawn to the following places, which may be of interest for search:
Moulding articles characterised by the shape of the surface; moulding single grooves or ribs, e.g. tear lines | |
Vehicles, arrangements for storing air bag modules, characterised by a tear line for defining a deployment opening | |
Packages comprising tear-lines provided in a wall portion |
This place covers:




This place does not cover:
Apparatus or machines for carrying out printing operations with other operations, with embossing | |
Inking and printing with a printer's forme combined with embossing | |
Machines or apparatus for embossing decorations or marks, dies | |
Machines or apparatus for embossing decorations or marks, heated dies | |
Artists' hand tool for embossing | |
Processes for producing decorative surface effects, pressing or stamping ornamental designs on surfaces | |
Processes for producing ornamental structures, stamping |
Attention is drawn to the following places, which may be of interest for search:
Moulds or cores characterized by the shape of the moulding surface, e.g. ribs, grooves | |
Shaping by casting, making articles of definite length characterised by the shape of the surface | |
Compression moulding of article of definite length chatracterised by the shape of the surface | |
Shaping by swelling, foaming, after-treatment of articles, by mechanical deformation, e.g. embossing | |
Injection moulding, mould cavity walls provided with means for marking or patterning | |
Blow moulding moulds having decorating or printing means | |
Processes for manufacturing semi-permeable membranes; after-treatment of organic or inorganic membranes; mechanical after-treatment | |
Mechanical deformation of paper or cardboard, embossing |
This place covers:






Attention is drawn to the following places, which may be of interest for search:
Extrusion moulding, producing hollow articles characterised by the shape of the surface, e.g. rough, irregular |
This place covers:







This place does not cover:
Apparatus or processes specially adapted for the manufacture of record carriers, preparing and using a stamper, e.g. pressing or injection moulding substrates |
Attention is drawn to the following places, which may be of interest for search:
Apparatus or processes for manufacturing absorbent pads, mechanical treatment of webs, e.g. for giving them a fibre like appearance, e.g. by embossing | |
Methods preventing deposition of fouling or of dust, by giving articles subject to fouling a special shape or arrangement (e.g. lotus effect) | |
Producing optical elements, e.g. lenses, prisms; optical laminates | |
Producing carriers of records containing fine grooves or impressions, producing optically read record carriers, e.g. optical discs | |
Curable composition for imprints | |
Holographic processes or apparatus |
This place covers:







Attention is drawn to the following places, which may be of interest for search:
Compression moulding of articles of indefinite length, characterised by the shape of the surface | |
Fasteners of the touch-and-close type; making such fasteners made integrally of plastics, obtained by moulding processes | |
Absorbent pads, topsheet characterised by its apertures, e.g. perforations |
This place covers:



Attention is drawn to the following places, which may be of interest for search:
Floor covering on textile basis, e.g. PVC coatings on fibrous felt, characterised by their relief structure obtained by mechanical embossing |
This place covers:






Attention is drawn to the following places, which may be of interest for search:
Compression moulding of articles of indefinite length, characterised by the shape of the surface | |
Fasteners of the touch-and-close type; making such fasteners made integrally of plastics, obtained by moulding processes | |
Absorbent pads, topsheet characterised by its apertures, e.g. perforations |
This place covers:




Attention is drawn to the following places, which may be of interest for search:
Producing optical elements, e.g. lenses, prisms; optical laminates | |
Ancillary operations in connection with laminating processes, embossing |
This place covers:




Attention is drawn to the following places, which may be of interest for search:
Apparatus or processes for manufacturing absorbent pads, mechanical treatment of webs, e.g. for giving them a fibre like appearance, e.g. by embossing | |
Perforating by non-mechanical means, e.g. by fluid jet |
This place covers:


This place does not cover:
Pretreatment of surfaces to which liquids or fluent materials are to be applied; by flame |
Attention is drawn to the following places, which may be of interest for search:
Inking and printing with a printer's forme; printing on plastics, using mechanical, physical or chemical means, e.g. corona discharge, etching or organic solvents, to improve ink retention |
This place covers:


This place covers:




This place does not cover:
Pretreatment of surfaces to which liquids or fluent materials are to be applied; by electrical means | |
Inking and printing with a printer's forme; printing on plastics, using mechanical, physical or chemical means, e.g. corona discharge, etching or organic solvents, to improve ink retention |
Attention is drawn to the following places, which may be of interest for search:
Physical treatment of fibres, threads, yarns, fabrics, of fibrous goods; corona discharge, low temperature plasma | |
Devices providing for corona discharge | |
Devices providing for corona discharge, corona rings | |
Devices providing for corona discharge, having pointed electrodes |
This place covers:




This place covers:




This place covers:





This place does not cover:
Processes, other than flocking for applying particular liquids or other fluent materials; plasma deposition of organic layers | |
Pretreatment of surfaces to which liquids or fluent materials are to be applied; plasma treatment, pretreatment of polymeric substrates | |
Apparatus or processes for manufacturing printed circuits; etching the insulating substrate by plasma etching |
Attention is drawn to the following places, which may be of interest for search:
Processes for manufacturing semi-permeable membranes; after-treatment of organic or inorganic membranes; with wave-energy, particle radiation or plasma | |
Physical treatment of fibres, threads, yarns, fabrics, of fibrous goods; corona discharge, low temperature plasma |
This place covers:





This place covers:






This place does not cover:
Pretreatment of surfaces to which liquids or fluent materials are to be applied; by exposure to radiation, using U.V., pretreatment of polymeric substrates | |
Pretreatment of surfaces to which liquids or fluent materials are to be applied; by exposure to radiation, using U.V., after-treatment | |
Pretreatment of surfaces to which liquids or fluent materials are to be applied; by exposure to radiation, using ionising radiations (gamma, X, electrons) | |
Working by laser beam, removal material, plastics | |
Duplicating or marking methods; thermography; marking of plastic artifacts, e.g. with laser |
Attention is drawn to the following places, which may be of interest for search:
Coating by vacuum evaporation; pre-treatment of the material to be coated; cleaning or etching treatment by means of bombardment with energetic particles or radiation |
This place covers:



This place covers:




Attention is drawn to the following places, which may be of interest for search:
Shaping by liberation of internal stresses; thermal shrinking |
This place covers:
Methods or apparatus for liberation of internal stresses, typically for heat-shrinking
Methods or apparatus for making preforms having internal stresses, typically heat-shrinkable articles
Heating devices specially designed for thermal shrinking.
Attention is drawn to the following places, which may be of interest for search:
Mechanical power produced by shape memory element | |
Shrinkage connections |
In patent documents, the following words/expressions are often used as synonyms:
- "shrink", "recover" and "shape memory"
This place does not cover:
Extrusion coating | |
Applying liquid or other fluent coatings |
Attention is drawn to the following places, which may be of interest for search:
Inserting a flexible liner inside a pipe for covering leaks |
This place covers:
Technologies involving the use or application of processes or apparatus that produce three-dimensionally shaped structures by selectively depositing successive layers of material one upon another. In particular it covers processes, apparatus and other aspects of additive manufacturing, i.e., making, repairing, or modifying articles of manufacture by the selective application of multiple layers of material. The applied layers may be applied directly, as in a printing process, or by selective solidification of material onto a substrate or previously developed layers, for example, by selective sintering of a particulate.
This group B29C 64/00 covers additive manufacturing of plastics or materials in a plastic state, not otherwise provided for.
Attention is drawn to the following places, which may be of interest for search:
Shaping by coating a mould, core or other substrate, i.e. by depositing material and stripping-off the shaped article | |
Moulding by agglomeration | |
Preparation of cocoa products | |
Preparation of food or foodstuffs | |
Making of dental prostheses | |
Coating apparatus, in general | |
Coating processes, in general | |
Manufacture of workpieces or articles from metallic powder characterised by the manner of compacting or sintering | |
Milling, in general | |
Build-up welding | |
Producing shaped articles from ceramic or cementitious material | |
Methods or apparatus for laminating, e.g. by curing or by ultrasonic bonding | |
Forme preparation | |
Typewriters or selective printers | |
Braille printing | |
Superimposing layers to produce ornamental structures | |
Sintering of ceramic materials | |
Culture of undifferentiated human, animal or plant cells | |
Coating by vacuum evaporation, by sputtering or by ion implantation of the coating forming material | |
Photosensitive materials | |
Photomechanical production of patterned surfaces | |
Electrographic processes using a charge pattern | |
Programme-control systems for surface or curve machining, making 3D objects, e.g. desktop manufacturing | |
General purpose image data processing | |
Image enhancement for 2D or 3D images | |
Image analysis for 2D or 3D images | |
Image coding, e.g. from bit-mapped to non bit-mapped | |
3D [Three-dimensional] image rendering | |
3D [Three-dimensional] modelling, e.g. data description of 3D objects | |
Manipulating 3D models or images for computer graphics | |
Geography, e.g. relief models | |
Electron-beam or ion-beam tubes for localised application of thin layers on objects | |
Manufacturing printed circuits by printing of conductive patterns | |
Manufacture of semiconductor or otherwise not provided for electric solid state devices |
In this place, the following terms or expressions are used with the meaning indicated:
3D printing | Additive manufacturing where the buildup of successive layers of material includes the use of a printer-like device having a motor controlled head for dispensing materials that form the layers. |
Stereolithography | Additive manufacturing technique where the successive layers of material are formed by selectively hardening regions of polymeric material successively applied to the structure, typically by the use of laser light. |
In patent documents, the following abbreviations are often used:
SLS | Selective laser sintering |
DTM | Desktop manufacturing |
LOM | Laminated Object Modelling |
3DP, 3D-printing | Three-dimensional printing |
SFF | Solid Freeform Fabrication |
FDM | Fused Deposition Modelling |
3DD | Three-dimensional deposition |
SDM | Selective Deposition Modelling |
LDM | Layered deposition modelling |
3DM | Three-dimensional modelling |
BPM | Ballistic Particle Modelling |
Additive manufacturing should obligatorily be further be classified in subclass B33Y irrespective of the process or material used.
This place covers:
e.g. extruding thermoplastic material.

Attention is drawn to the following places, which may be of interest for search:
Dispensing heads | |
Moving heads for distributing liquid or viscous material into moulds | |
Moving along predetermined circuits or distributing according to patterns |
This place covers:

This place covers:

In patent documents, the following abbreviations are often used:
LCD | Liquid Crystal Display |
MMD | Micromirror Devices |
This place covers:

This place covers:

Attention is drawn to the following places, which may be of interest for search:
laser sintering of metallic powder | |
laser sintering of ceramic powder | C04B 35/64 and C04B 35/65 |
This place covers:

This place covers:
- Machines and systems for carrying out additive manufacturing methods to produce objects
- Subcombinations of machines that carry out additive manufacturing methods to produce objects
- Accessories for machines that carry out additive manufacturing methods. Accessories include things attachable to or used in conjunction with an additive manufacturing machine that have a direct association with the additive manufacturing machine, per se.
Auxiliary operations or equipment, e.g. for treating or handling the raw materials for additively manufacturing objects, are classified in B29C 64/30.
Additive manufacturing should obligatorily be further be classified in subclass B33Y irrespective of the process or material used.
This place covers:
The handling or treating of materials used in an additive manufacturing process, or the subsequent treating or handling of objects produced by an additive manufacturing process. Also covered are ancillary components or process steps not directly involving the additive manufacturing process or apparatus, per se, such as cleaning raw materials used in the additive manufacturing process, or recycling residual material from the manufacturing process.
Additive manufacturing should obligatorily be further be classified in subclass B33Y irrespective of the process or material used.
This place covers:

Attention is drawn to the following places, which may be of interest for search:
Deburring or deflashing | |
Surface shaping | |
After treatment | |
Repairing | |
Coating | |
Cleaning by brushing in general | |
Cleaning by jet rinsing in general | |
Cleaning by immersion in general | |
Cleaning by blowing in general | |
Cleaning by vacuum in general |
This place covers:
- Data processing aspects related to an object to be manufactured in an additive manufacturing process, specially adapted for processing of plastics or materials in a plastic state, not otherwise provided for, for example, combining together data from different sources to produce composite production data for said object to be made.
- Acquiring, sending, or receiving data that will be used in additive manufacturing, either internal or external to the additive manufacturing apparatus, specially adapted for processing of plastics or materials in a plastic state, not otherwise provided for.
Illustrative example of subject matter classified in this group:

Additive manufacturing should obligatorily be further be classified in subclass B33Y irrespective of the process or material used.
This place covers:
Data processing specially adapted for managing the additive manufacturing process performed by one or more additive manufacturing apparatuses, specially adapted for processing of plastics or materials in a plastic state, not otherwise provided for.
Illustrative example of subject matter classified in this group:

Additive manufacturing should obligatorily be further be classified in subclass B33Y irrespective of the process or material used.
This place covers:

This place covers:
Joining by heating (cf. B29C 65/02 and subgroups);
Joining using adhesives (cf. B29C 65/48 and subgroups);
Joining using mechanical means (cf. B29C 65/56 and subgroups);
Joining and severing (cf. B29C 65/74 and subgroups);
Means for handling the parts to be joined (cf. B29C 65/78 and subgroups);
Testing the joints obtained by processes as foreseen in this main group (cf. B29C 65/82 and subgroups).
This place does not cover:
General aspects of processes or apparatus for joining preformed parts |
Examples of places where the subject matter of this place is covered when specially adapted, used for a particular purpose, or incorporated in a larger system:
Devices or methods of sealing or securing package folds or closures |
Attention is drawn to the following places, which may be of interest for search:
Manufacture of lost patterns, made from expanded plastic materials, by assembling preformed parts | |
Making preforms by assembling performed material | |
Making of boxes, cartons, envelopes, or bags | |
Assembling of microstructural devices by bonding of two components | |
Chemical aspects of bonding of a preformed macromolecular material to the same or other solid material | |
Adhesive processes in general | |
Devices for fastening or securing constructional elements or machine parts together | |
Splicing of light guides |
Patent literature (e.g. patent applications, patent specifications):
Claims / claimed subject-matter:
Independent claims: compulsory invention information;
Dependent claims: at least compulsory additional information (or compulsory invention information if appropriate).
Figures - depicted subject-matter: at least compulsory additional information (or compulsory invention information if appropriate).
Description - described subject-matter: at least desirable additional (or compulsory invention information if appropriate).
Tables: at least compulsory additional information.
Non-patent literature (e.g. scientific non-patent publications):
Figures - depicted subject-matter: compulsory invention information;
Abstract: compulsory invention information;
Description: at least desirable additional information (or compulsory invention information if appropriate).
N.B.: in this main group, it is compulsory that any disclosed aspect relating to the invention is identified by the corresponding classification code(s).
Attention is drawn to the following places, which may be of interest for search:
Cold vulcanisation |
This place covers:
Example 1, from
DE1104679:

Attention is drawn to the following places, which may be of interest for search:
Attachments of seat coverings by thermal welding | |
Attachments of removable protective seat coverings by thermal welding | |
Closing containers or receptacles after filling, by applying separate preformed closures, e.g. lids, covers, securing said closures on said containers by heat-sealing | |
Securing ends of binding material by welding or heat-sealing | |
Devices for, or methods of, sealing or securing package folds or closures, by applying or generating heat or pressure or combinations thereof | |
Devices, e.g. jaws, for applying pressure and heat, specially adapted for producing longitudinal or transverse seams in package web or tubes, e.g. for subdividing filled tubes | |
Chemical aspects of bonding of a preformed macromolecular material to the same or other solid material by heating | |
Joining multiple sections together by welding, for assembling air intake systems |
Attention is drawn to the following places, which may be of interest for search:
Curing by dielectric heating | |
Non-woven fabrics formed from fleeces or layers composed of fibres by welding together the fibres by radio-frequency heating |
Attention is drawn to the following places, which may be of interest for search:
Heating or curing using friction | |
Friction welding of metals | |
Attaching together paper or cardboard sheets, strips, or webs by friction | |
Securing ends of binding material by friction welding | |
Devices for, or methods of, sealing or securing package folds or closures by friction welding |
This place covers:
Example 1, from
XP001177273:

Example 2, from
EP2380726:

This place covers:
Example 1, from
EP2380726:

This place covers:
Example 1, from
US2007262488:

Example 2, from
JP10193461:

This place covers:
Example 1, from
DE10238550:

Attention is drawn to the following places, which may be of interest for search:
Friction stir welding of metals |
This place covers:
Example 1, from
JP5024114:

Example 2, from
US2006255590:

This place covers:
Example 1, from
JP11348132:

Attention is drawn to the following places, which may be of interest for search:
Heating or curing using ultrasonic or sonic vibrations | |
Methods or apparatus for generating or transmitting mechanical vibrations of ultrasonic frequency | |
Ultrasonic welding of metals | |
Attaching together paper or cardboard sheets, strips, or webs by ultrasonic vibrations | |
Securing ends of binding material by ultrasonic welding | |
Devices for, or methods of, sealing or securing package folds or closures by ultrasonic welding | |
Methods of, or devices for, interconnecting successive lengths of filamentary material by welding using ultrasonic means | |
Non-woven fabrics formed from fleeces or layers composed of fibres by welding together the fibres by ultrasonic heating |
This place covers:
Example 1, from
JP11348132:

Example 2, from
DE1957216:

Example 3, from
DE3911634:

This place covers:
Example 1, from
EP2269807:

Example 2, from
EP1930148:

This place covers:
Example 1, from
JP11170404:

This place covers:
Example 1, from
JP11170404:

This place covers:
Example 1, from
DE2251521:

Example 2, from
DE3929770:

This place covers:
Example 1, from
WO2004099488:

Attention is drawn to the following places, which may be of interest for search:
Heating or curing using gas or flames | |
Soldering with the use of hot gas | |
Gas flame welding of metals | |
Device for, or methods of, sealing or securing package folds or closures by applying heat using fluids, e.g. hot-air jets |
This place covers:
Example 1, from
WO2004099488:

This place covers:
Example 1, from
JP60048331:

Attention is drawn to the following places, which may be of interest for search:
Heating or curing by wave energy or particle radiation | |
Medical tube couplings for connecting tubes having sealed ends, both tube ends being sealed by meltable membranes pierced after connection by use of heat, e.g. using radiant energy | |
Soldering by means of radiant energy | |
Soldering by means of beams, e.g. E.B. |
Attention is drawn to the following places, which may be of interest for search:
Soldering by means of I.R. | |
Non-woven fabrics formed from fleeces or layers composed of fibres by welding together the fibres by infrared heating |
This place covers:
Example 1, from
DE845564:

Example 2, from
EP0313731:

This place covers:
Example 1, from
GB2103147:

This place covers:
Example 1, from
BE629609:

This place covers:
Example 1, from
DE845564:

This place covers:
Example 1, from
EP0415068:

Example 2, from
DE938499:

This place covers:
Example 1, from
JP11053778:

This place covers:
Example 1, from
JP63275052:

Example 2, from
JP11053778:

This place covers:
Example 1, from
EP0415068

Example 2, from
EP0510804:

Example 3, from
EP1059344:

This place covers:
Example 1, from
JP3238185:

This place covers:
Example 1, from
US5968305:

Attention is drawn to the following places, which may be of interest for search:
Heating or curing by wave energy or particle radiation using transparent moulds provided with masks or diaphragms |
Attention is drawn to the following places, which may be of interest for search:
Soldering by means of lasers | |
Bonding, e.g. welding, of materials in general, e.g. metals, by laser beam | |
Lasers |
This place covers:
Example 1, from
JP4249134:

Example 2, from
JP50138066:

This place covers:
Example 1, from
DE19814298:

This place covers:
Example 1, from
DE1479686:

This place covers:
Example 1, from
FR1576435:

This place covers:
Example 1, from
DE2725463:

This place covers:
Example 1, from
XP000535361:

This place covers:
Example 1, from
DE10338732:

Example 2, from
JP2004333946:

This place covers:
Example 1, from
WO2005021244:

This place covers:
Example 1, from
WO2005021244:

Example 2, from
JP2007111961:

This place covers:
Example 1, from
WO2005021244:

This place covers:
Example 1, from
EP1393848:

This place covers:
Example 1, from
US5276303:

Example 2, from
US6592239:

This place covers:
Example 1, from
US5276303:

This place covers:
Example 1, from
US2006278617:

Example 2, from
EP1864784:

Attention is drawn to the following places, which may be of interest for search:
Heating or curing by wave energy or particle radiation using transparent moulds provided with masks or diaphragms |
This place covers:
Example 1, from
JP2003080601:

Example 2, from
JP11325374:

This place covers:
Example 1, from
JP52168967U:

This place covers:
Example 1, from
WO8803245:

Example 2, from
EP0667285:

Example 3, from
JP4044831:

This place covers:
Example 1, from

Attention is drawn to the following places, which may be of interest for search:
Methods or apparatus for connecting medical tubes under sterile conditions, i.e. sterile docking |
This place covers:
Example 1, from
EP1889708:


This place covers:
Example 1, from
DE3739656:


This place covers:
Example 1, from
DE2300626:

Example 2, from
EP0453903:

This place covers:
Example 1, from
US5893961:

Example 2, from
US6550514:

This place covers:
Example 1, from
FR2840247:

This place covers:
Example 1, from
US2009250440:


Example 2, from
FR2840247

This place covers:
Example 1, from
US2581977:

Example 2, from
BE556713:


This place covers:
Example 1, from
DE1936611:

Example 2, from
DE1268360:

This place covers:
Example 1, from
FR2105312:

Example 2, from
US2621704:

This place covers:
Example 1, from
WO9323235:

Example 2, from
WO9214601:

This place covers:
Example 1, from
US3005402:

This place covers:
Example 1, from
EP0538636:

This place covers:
Example 1, from
CH362216:

Example 2, from
DE19746402:

This place covers:
Example 1, from
CH334038:

Example 2, from
DE2241657:

This place covers:
Example 1, from
FR1422754:

This place covers:
Example 1, from
US4451325:

Attention is drawn to the following places, which may be of interest for search:
Heating or curing using lost heating elements, i.e. heating means incorporated and remaining in the formed article | |
Multistep processes for producing pipe joints provided with electrical wiring | |
Plastic pipe welded joints with an electrical resistance incorporated in the joint |
This place covers:
Example 1, from
DE3411179:

Example 2, from
JP6074386:

This place covers:
Example 1, from
FR1049710:

This place covers:
Example 1, from
FR2182587:

This place covers:
Example 1, from
DE3411179:

This place covers:
Example 1, from
FR1072800:

This place covers:
Example 1, from
FR1072800:

This place covers:
Example 1, from
FR1072800:

This place covers:
Example 1, from
JP4308729:

Example 2, from
JP2001214994:

Example 3, from
NL7004944:

This place covers:
Example 1, from
EP0183188:

This place covers:
Example 1, from
DE3411179:

Example 2, from
EP0586283:

Example 3, from
WO03029717:

Attention is drawn to the following places, which may be of interest for search:
Devices for, or methods of, sealing or securing package folds or closures by induction welding | |
Induction heating |
This place covers:
Example 1, from
WO2010083942:

Example 2, from
US5124203:

This place covers:
Example 1, from
JP6074386:

This place covers:
Example 1, from
WO9628683:

This place covers:
Example 1, from
JP5196187

This place covers:
Example 1, from
US3008862:

This place covers:
Example 1, from
JP3180331:

This place covers:
Example 1, from
US2007284040:

Attention is drawn to the following places, which may be of interest for search:
Vehicle superstructures characterised by the material thereof, characterised by combining metal and synthetic material, preformed metal and synthetic material elements being joined together |
This place covers:
Example 1, from
US5771589:

The joining of metal-plastic laminates by induction is to be classified in B29C 65/3656, B29C 65/368 and B29C 66/72321
Attention is drawn to the following places, which may be of interest for search:
Garment hems or seams made by gluing | |
Joining garments parts or blanks by gluing | |
Applying glue or adhesive peculiar to bookbinding by fusing, welding sheets together | |
Closing containers or receptacles after filling, by applying separate preformed closures, e.g. lids, covers, securing said closures on said containers by gluing | |
Securing ends of binding material by applying adhesive | |
Chemical aspects of bonding of preformed macromolecular material to the same or other solid material, e.g. using adhesives | |
Adhesive processes in general | |
Connecting constructional elements or machine parts by gluing | |
Connecting constructional elements or machine parts by gluing of tubular elements or rods in coaxial engagement |
When classifying in this group, techniques for heating heat-activated adhesives are additionally classified in B29C 65/02 and subgroups
Attention is drawn to the following places, which may be of interest for search:
Adhesives in the form of films or foils, on paper or textile fabric, characterised by pressure-sensitive adhesive | |
Adhesives in the form of films or foils, on carriers other than paper or textile fabrics, characterised by pressure-sensitive adhesive | |
Adhesives in the form of films or foils, on carriers, characterised by pressure-sensitive adhesive |
Attention is drawn to the following places, which may be of interest for search:
Adhesives in the form of films or foils, on paper or textile fabric, characterised by heat-curable adhesive | |
Adhesives in the form of films or foils, on carriers other than paper or textile fabrics, essentially based on heat-curable adhesive | |
Adhesives in the form of films or foils, on carriers, essentially based on heat-curable adhesive |
Attention is drawn to the following places, which may be of interest for search:
Adhesive in the form of films or foils, on paper or textile fabrics, characterised by water-activable adhesive |
This place covers:
Example 1, from

US5087311

Attention is drawn to the following places, which may be of interest for search:
Adhesive additives, in general |
This place covers:
Example 1, from
US2010276065:

Attention is drawn to the following places, which may be of interest for search:
Non-macromolecular adhesive additives, in general |
This place covers:
Example 1, from
WO2009125997:

Attention is drawn to the following places, which may be of interest for search:
Bonding of a preformed macromolecular material using low molecular chemically inert solvents, swelling or softening agents | |
Non-woven fabrics formed from fleeces or layers composed of fibres by welding together the fibres by applying solvents |
Attention is drawn to the following places, which may be of interest for search:
Closing containers or receptables after filling, by applying separate preformed closures, e.g. lids, covers, securing said closures on said containers by adhesive tape | |
Adhesives in the form of films or foils |
This place covers:
Example 1, from
JP1027928:

This place covers:
Example 1, from
WO8404486:

This place covers:
Example 1, from
JP58028345:

This place covers:
Example 1, from
WO8404486:

Attention is drawn to the following places, which may be of interest for search:
Adhesive processes in general; Joining materials by welding overlapping edges with an insertion of plastic material |
This place covers:
Example 1, from
EP1905570:

Example 2, from
DE102005010467:


This place covers:
Example 1, from
US2009317580:

Example 2, from
US2003138586:


This place covers:
Example 1, from
FR2919819:

This place covers:
Example 1, from
WO0046013:

Attention is drawn to the following places, which may be of interest for search:
Devices for, or methods of, sealing or securing package folds or closures applying adhesives or sealing liquids | |
Devices for, or methods of, sealing or securing package folds or closures applying adhesives or sealing liquids using applicator nozzles | |
Devices for, or methods of, sealing or securing package folds or closures applying adhesives or sealing liquids using rotating applicators |
This place covers:
Example 1, from
US2009040913:

Example 2, from
US6263939:

Attention is drawn to the following places, which may be of interest for search:
Applying liquids to surfaces by spin coating |
This place covers:
Example 1, from
JP2008114530:

This place covers:
Example 1, from
JP5261821:

Attention is drawn to the following places, which may be of interest for search:
Applying liquids to surfaces by dipping |
This place covers:
Example 1, from
US4512947:

Attention is drawn to the following places, which may be of interest for search:
Applying liquids to surfaces by applying the liquid from an outlet device in contact with, or almost in contact with, the surface |
Attention is drawn to the following places, which may be of interest for search:
Applying liquids to surfaces by extrusion coating |
This place covers:
Example 1, from
US2005173059:

Attention is drawn to the following places, which may be of interest for search:
Applying liquids to surfaces by transfer from the surfaces of elements carrying the liquid, e.g. brushes, pads, rollers |
Attention is drawn to the following places, which may be of interest for search:
Applying liquids to surfaces by gravity only |
This place covers:
Example 1, from
JP2010247350:

This place covers:
Example 1, from
JP11090986:

This place covers:
Example 1, from
WO9829243:

This place covers:
Example 1, from
US2007258756:

This place covers:
Example 1, from
XP000362330:

This place covers:
Example 1, from
XP000362330:

This place covers:
Example 1, from
JP3205132:

Example 2, from
DE3835027:

Attention is drawn to the following places, which may be of interest for search:
Joining sheets or plates, in general, by means of riveting | |
Rivets | |
Riveting of metal parts |
This place covers:
Example 1, from
JP8127185:

Attention is drawn to the following places, which may be of interest for search:
Riveting of metal parts by riveting hollow rivets mechanically | |
Riveting of metal parts by riveting hollow rivets by means of hydraulic, liquid, or gas pressure | |
Hollow rivets |
This place covers:
Example 1, from
DE623911:

Example 2, from
EP0160425:

This place covers:
Example 1, from
FR2831229:

Example 2, from
US3612803:

This place covers:
Example 1, from
GB893375:

This place covers:
Example 1, from EP1488913:

Example 2, from
XP000362330:

Attention is drawn to the following places, which may be of interest for search:
Joining superposed metal plates by locally deforming without slitting or piercing | |
Joining superposed metal plates by locally deforming, by fitting a projecting part integral with one plate in a hole of the other plate | |
Joining sheets or plates, in general, by means of riveting, without the use of separate rivets |
This place covers:
Example 1, from
EP1190804:

Example 2, from
XP000362330:

This place covers:
Example 1, from
DE1294647:

This place covers:
Example 1, from
US2010193108:

Attention is drawn to the following places, which may be of interest for search:
Hems or seams of garments | |
Sewing in general | |
Joining belts by sewing |
Attention is drawn to the following places, which may be of interest for search:
Vehicle superstructures characterised by the material thereof, characterised by combining metal and synthetic material, preformed metal and synthetic material elements being joined together |
Attention is drawn to the following places, which may be of interest for search:
Shaping by liberation of internal stresses |
Attention is drawn to the following places, which may be of interest for search:
Medical tube couplings for connecting tubes having sealed ends by cutting and welding |
When classifying in this group, joining techniques are additionally classified in the relevant groups, e.g. in B29C 65/02 and subgroups.
Attention is drawn to the following places, which may be of interest for search:
Severing with heated wires |
Attention is drawn to the following places, which may be of interest for search:
Severing with heated rollers or discs |
Attention is drawn to the following places, which may be of interest for search:
Closing semi-rigid or rigid containers or receptacles after filling, by feeding web material to securing means and securing by heat-sealing |
Attention is drawn to the following places, which may be of interest for search:
Details of apparatus for cutting, cutting-out, stamping-out, punching, perforating, or severing by vibrating, e.g. ultrasonically |
Attention is drawn to the following places, which may be of interest for search:
Perforating strips of completed packages |
Attention is drawn to the following places, which may be of interest for search:
Closing semi-rigid or rigid containers or receptacles after filling, by feeding web material to securing means and securing by heat-sealing |
Attention is drawn to the following places, which may be of interest for search:
Layered products permitting easy separation |
Attention is drawn to the following places, which may be of interest for search:
Clamps for holding or positioning work for welding metal | |
Jigs for positioning work for welding metal | |
Clamps for plates in general | |
Clamps for pipes in general |
This place covers:
Example 1, from
DE4336274:

This place covers:
Example 1, from
JP11240025:

This place covers:
Example 1, from
EP0483569:

Example 2, from
DE1058426:

This place covers:
Example 1, from
DE3807164:

This place covers:
Example 1, from
DE102009037662:

This place covers:
Example 1, from
CH537834:

Example 2, from
DE1143630:

This place covers:
Example 1, from
FR2167559:

Attention is drawn to the following places, which may be of interest for search:
Investigating strength properties of welds by application of mechanical stress |
Attention is drawn to the following places, which may be of interest for search:
Investigating strength properties of solid materials by applying steady tensile forces |
Attention is drawn to the following places, which may be of interest for search:
Investigating strength properties of solid materials by applying steady shearing forces |
Attention is drawn to the following places, which may be of interest for search:
Investigating strength properties of solid materials by applying steady bending forces |
Attention is drawn to the following places, which may be of interest for search:
Investigating strength properties of solid materials by applying a single impulsive force |
Attention is drawn to the following places, which may be of interest for search:
Investigating fluid-tightness of structures |
Attention is drawn to the following places, which may be of interest for search:
Investigating materials by the use of wave or particle radiation |
Attention is drawn to the following places, which may be of interest for search:
Investigating materials by the use of thermal means |
Attention is drawn to the following places, which may be of interest for search:
Investigating materials by the use of electric or magnetic means |
Attention is drawn to the following places, which may be of interest for search:
Investigating materials by the use of ultrasonic, sonic or infrasonic waves |
This place covers:
General aspects dealing with the joint area (cf. B29C 66/01 and subgroups)), e.g.:
pre-treatments (cf. B29C 66/02 and subgroups);
post-treatments (cf. B29C 66/03 and subgroups);
particular design of joint configurations (cf. B29C 66/05 and subgroups);
General aspects of joining substantially flat articles (cf. B29C 66/40 and subgroups);
General aspects of joining tubular articles; General aspects of joining hollow-preforms to form hollow articles (cf. B29C 66/50 and subgroups);
Specific composition, properties or structure of the material to be joined (cf. B29C 66/70 and subgroups);
General aspects of machine constructions (cf. B29C 66/80 and subgroups), e.g.:
constructional aspects of the welding jaw (cf. B29C 66/81 and subgroups);
transmission or actuating mechanisms for joining tools (cf. B29C 66/82 and subgroups);
specific movements of the joining tools (cf. B29C 66/83 and subgroups);
Measuring or controlling the joining process (cf. B29C 66/90 and subgroups).
This place does not cover:
Joining methods; means for handling the parts to be joined; testing the joint |
Patent literature (e.g. patent applications, patent specifications):
Claims / claimed subject-matter:
Independent claims: compulsory invention information;
Dependent claims: at least compulsory additional information (or compulsory invention information if appropriate).
Figures - depicted subject-matter: at least compulsory additional information (or compulsory invention information if appropriate).
Description - described subject-matter: at least desirable additional (or compulsory invention information if appropriate).
Tables: at least compulsory additional information.
Non-patent literature (e.g. scientific non-patent publications):
Figures - depicted subject-matter: compulsory invention information;
Abstract: compulsory invention information;
Description: at least desirable additional information (or compulsory invention information if appropriate).
N.B.: in this main group, it is compulsory that any disclosed aspect relating to the invention is identified by the corresponding classification code(s).
Attention is drawn to the following places, which may be of interest for search:
Closing containers in chambers maintained under vacuum or super-atmospheric pressure or containing a special atmosphere, e.g. of inert gas |
This place covers:
Example 1, from
JP7080941:

This place covers:
Example 1, from
WO2010129569:

This place covers:
Example 1, from
WO2008005882:

Attention is drawn to the following places, which may be of interest for search:
Conditioning or physical treatment of the material to be shaped, in general | |
Adhesive processes in general involving pretreatment of the surfaces to be joined |
Attention is drawn to the following places, which may be of interest for search:
Perforating material prior to packaging |
Attention is drawn to the following places, which may be of interest for search:
Conditioning or physical treatment of the material to be shaped, by grinding, in general |
Attention is drawn to the following places, which may be of interest for search:
Conditioning of the material to be shaped, by heating, in general | |
Conditioning of the material to be shaped, by drying, in general |
Attention is drawn to the following places, which may be of interest for search:
Conditioning of the material to be shaped, by cooling, in general |
Attention is drawn to the following places, which may be of interest for search:
Chemical treatment of shaped articles made of macromolecular substances |
Attention is drawn to the following places, which may be of interest for search:
Conditioning or physical treatment of the material to be shaped, by using wave energy or particle radiation, in general | |
Chemical modification of shaped articles made of macromolecular substances by wave energy or particle radiation treatment |
Attention is drawn to the following places, which may be of interest for search:
After-treatment, in general, of articles without altering their shape | |
After-treatment, in general, of articles without altering their shape, by wave energy or particle radiation |
This place covers:
Example 1, from
USRE38248E:

In this place, the following terms or expressions are used with the meaning indicated:
Flattening | e.g. flat ironing or smoothing an e.g. overlap joint |
This place covers:
Example 1, from
EP1491105:

Attention is drawn to the following places, which may be of interest for search:
Thermal after-treament, in general, of articles without altering their shape |
Attention is drawn to the following places, which may be of interest for search:
Cooling | |
Cooling, or cooling and pressing, package closures after heat-sealing |
This place covers:
Example 1, from
US2010151176:


In this group the possible supplementary joining material (e.g. adhesive, adhesive tapes or extra joining elements, e.g. extra riveting elements) is not taken into account for the joint configuration. The use of supplementary joining material (e.g. adhesive, adhesive tapes or extra joining elements, e.g. extra riveting elements) has to be additionally classified as such (e.g. in B29C 65/48 and subgroups, B29C 65/50 and subgroups, B29C 65/562 and subgroups or B29C 65/601 and subgroups).
This place covers:
Example 1, B29C 66/112 (single lapped joint) and B29C 66/131 (single flanged joint), from
JP2009202894:

Example 2, B29C 66/135 (single hemmed joint) and B29C 66/112 (single lapped joint), from
EP0721745:

Example 3, B29C 66/135 (single hemmed joint) and B29C 66/112 (single lapped joint), from
JP8118499:

This place covers:
Example 2, B29C 66/112 (single lapped joint) and B29C 66/114 (single butt joint), from
NL1028543C:

Example 3, B29C 66/116 (single bevelled joint) and B29C 66/112 (single lapped joint), from
US2009307995:

This place covers:
Example 1, from
JP2007112127:

Example 2, from
DE19813387

Attention is drawn to the following places, which may be of interest for search:
Overlap laser welding of metal parts |
This place covers:
Example 1,
from
JP2007296857:

Example 2, from
JP2011008277:

Example 3, from
DE19813387:

Attention is drawn to the following places, which may be of interest for search:
Joining sheets, plates or panels in abutting relationship, relating to finishing work on buildings |
This place covers:
Example 1, from
XP000831529:

Example 2, from
XP000831529:

Attention is drawn to the following places, which may be of interest for search:
Welded mitre corner joints for windows, doors, or the like frames or wings |
This place covers:
Example 1, from
JP2011008277:

This place covers:
Example 1, from
JP2011008277:

This place covers:
Example 1, B29C 66/1224 (comprising at least a butt joint-segment) and B29C 66/1226 (comprising at least one bevelled joint-segment), from
JP2011008277:

Example 2, B29C 66/1224 (comprising at least a butt joint-segment) and B29C 66/1222 (comprising at least a lapped joint-segment), from
DE19510493:

Example 3, B29C 66/1224 (comprising at least a butt joint-segment) and B29C 66/1222 (comprising at least a lapped joint-segment), from
DE19510493:

Example 4, B29C 66/1222 (comprising at least a lapped joint-segment) and B29C 66/1226 (comprising at least one bevelled joint-segment), from
WO2005095828:

This place covers:
Example 1, from
JP2011008277:

This place covers:
Example 1, from
EP2402145:

This place covers:
Example 1, from
DE19510493:

This place covers:
Example 1, from
DE2645771:

Example 2, from
FR2575804:

Example 3, from
US3695340:

This place covers:
Example 1, from
JP55051527:

Example 2, from
US2005067084:

This place covers:
Example 1, from
US2005284559:

This place covers:
Example 1, from
JP11291347:

This place covers:
Example 1, from
JP2977035B1:

This place covers:
Example 1, from
GB2314597:

Example 2, from
GB2314597:

This place covers:
Example 1, from
JP7125074:

This place covers:
Example 1, from
GB2314597:

Example 2, from
GB2314597:

Example 3, from
GB2314597:

This place covers:
Example 1, from
US4252849:

This place covers:
Example 1, from
JP3254332:

Example 2, from
FR2714123:

This place covers:
Example 1, B29C 66/12841 (two butt joint-segments) and B29C 66/1282 (one overlap joint-segment), from
EP1935618:

Example 2, B29C 66/12841 (two butt joint-segments) and B29C 66/1282 (one overlap joint-segment), from DE19718790:

Example 3, B29C 66/12861 (two bevelled joint-segments) and B29C 66/1282 (one overlap joint segment), from
DE19718790:

Example 4, B29C 66/12841 (two butt joint-segments) and B29C 66/1286 (one bevelled joint-segment), from
JP11291347:

Example 5, B29C 66/12841 (two butt joint-segments) and B29C 66/1286 (one bevelled joint-segment), from
DE102008010384:

Example 6, B29C 66/12821 (two overlap joint-segments) and B29C 66/12841 (two butt joint-segments), from
DE19510493:

Example 7, B29C 66/12822 (three overlap joint-segments) and B29C 66/12841 (two butt joint-segments), from
US5160771:

Example 8, B29C 66/12822 (at least three overlap joint-segments) and B29C 66/12842 (three butt joint-segments), from
US5160771:

Example 9, B29C 66/12821 (two overlap joint-segments) and B29C 66/1284 (one butt joint-segment), from
GB2425337:

This place covers:
Example 1, from
BE640458:

This place covers:
Example 1, from
US5698358:

Example 2, from
US5698358:

This place covers:
Example 1, from
DE19510493:

This place covers:
Example 1, from
WO2011001528:

This place covers:
Example 1, from
EP0721745:

Example 2, from
WO0228210:

This place covers:
Example 1, from
JP49045179:

Attention is drawn to the following places, which may be of interest for search:
Making brushes by welding together bristles made e.g. of plastic materials |
This place covers:
Example 1, from
WO9215817:

Example 2, from
CH403537:

This place covers:
Example 1, from
EP1258557:

Attention is drawn to the following places, which may be of interest for search:
Non-woven fabrics formed from fleeces or layers composed of fibres by welding together the fibres at spaced points or locations |
This place covers:
Example 1, from
DE9213273U:

Example 2, from
EP0343629:

This place covers:
Example 1, from
GB705303:

Example 2, from
EP0343629:

This place covers:
Example 1, from
DE3809907:

Example 2, from
US5922162:

This place covers:
Example 1, from
DE3809907:

Example 2, from
EP1318327:

This place covers:
Example 1, from
DE3809907:

This place covers:
Example 1, from
EP0783956:

This place covers:
Example 1, from
US4265954:

This place covers:
Example 1, from
EP2364836:

This place covers:
Example 1, from
EP1516816:

This place covers:
Example 1, from
EP0343629:

Example 2, from
JP52098783:

This place covers:
Example 1, from
EP0343629:

Example 2, from
JP52098783:

This place covers:
Example 1, from
JP62023728:

This place covers:
Example 1, from
JP2000294012:

This place covers:
Example 1, from
JP63023237:

This place covers:
Example 1, from
JP2004202828:

This place covers:
Example 1, from
EP0301831:

Attention is drawn to the following places, which may be of interest for search:
Measures or configurations in general for obtaining anchoring effects in the contact areas between layers |
This place covers:
Example 1, from
CH493325:

Example 2, from
JP59127982:

This place covers:
Example 1, from
DE19523900:


This place covers:
Example 1, from
DE2746544:

This place covers:
Example 1, from
EP0158528:


This place covers:
Example 1, from
CH644411:

Example 2, from
DE4428938:

This place covers:
Example 1, from
JP1199845:


This place covers:
Example 1, from
DE20212606U:

This place covers:
Example 1, from
FR2207812:

This place covers:
Example 1, from
WO0147691:

This group also covers providing cavities in the joined article to collect adhesive.
This place covers:
Example 1, from
WO2010086164:

This place covers:
Example 1, from
US2003046906:

This place covers:
Example 1, from
EP0313731:

Attention is drawn to the following places, which may be of interest for search:
Treating the weld bead of metal tubes |
This place covers:
Example 1, from
US2009032166:


This place covers:
Example 1, from
WO2011065827:

This place covers:
Example 1, from
EP2323804:

This place covers:
Example 1, from
DE102006045338:

Example 2, from
EP1468914:

This place covers:
Example 1, from
EP1837161:

This place covers:
Example 1, from
DE19624625:

This place covers:
Example 1, from
US2009294047:

This place covers:
Example 1, from
US2005225991:


This place covers:
Example 1, from
WO2010074348:

This place covers:
Example 1, from
US3231444:

This place covers:
Example 1,
from
JP2007296857:

Example 1, from
JP2007112127:

Attention is drawn to the following places, which may be of interest for search:
Joining sheets, plates or panels, relating to finishing work on buildings |
This place covers:
Example 1, from
US6213184:

This place covers:
Example 1, from
DE102009003029:

Attention is drawn to the following places, which may be of interest for search:
Rollers for producing longitudinal and transverse seams simultaneously in package webs or tubes | |
Device specially adapted for producing transverse seams in package webs or tubes, e.g. for subdividing filled tubes, by applying pressure and heat |
Attention is drawn to the following places, which may be of interest for search:
Closing bags by reciprocating or oscillating members applying or generating heat or pressure or combinations thereof |
This place covers:
Example 1, from
JP9142441:

Example 2, from
EP0097984:

This place covers:
Example 1, from
DE29905766U

Attention is drawn to the following places, which may be of interest for search:
Heating tube ends | |
Closing collapsible or resilient tubes, e.g. for tooth paste, after filling |
This place covers:
Example 1, from
DE102009003029:

This place covers:
Example 1, from
FR2856008:

Example 2, from
DE19813387:

Example 3, from
DE19813387:

This place covers:
Example 1, from
JP10016058:

Attention is drawn to the following places, which may be of interest for search:
Tube advancing means combined with longitudinal welding devices, for enclosing successive articles, or quantities of material, in webs formed into tubes in situ around filling nozzles |
This place covers:
Example 1, from
WO2006003524:

Attention is drawn to the following places, which may be of interest for search:
Joining belts by sewing, sticking, vulcanishing, or the like; Constructional adaptations of the belt ends for this purpose |
This place covers:
Example 1, from
JP10016058:

This place covers:
Example 1, from
US2010037564:

Attention is drawn to the following places, which may be of interest for search:
Articles or materials enclosed between two opposed sheets or blanks having their margins united, e.g. by heat-sealing or welding | |
Flat or ribbon cables comprising parallel wires, sandwiched between two insulating layers |
This place covers:
Example 1, from
EP1240995:

Attention is drawn to the following places, which may be of interest for search:
Articles or materials wholly enclosed in sheets or blanks doubled around contents and having their opposed free margins united, e.g. by heat-sealing or welding |
This place covers:
Example 1, from
DE19748616:

This place covers:
Example 1, from
FR2919819:

This place covers:
Example 1, from
WO0216784:

This place covers:
Example 1, from
FR2919819:

Example 2, from
FR2919819:

Example 3, from
WO0216784:

This place covers:
Example 1, from
FR2919819:

This place covers:
Example 1, from
EP2123515:

This place covers:
Example 1, from
WO2009133508:

Example 2, from
WO2005097474:

Example 3, from
GB2389560:

This place covers:
Example 1, from
DE19753716:

Attention is drawn to the following places, which may be of interest for search:
Making honeycombed structures for window coverings |
This place covers:
Example 1, from
FR2929549:

Example 2, from
DE4426097:

This place covers:
Example 1, from
CA2654675:

Example 2, from
US2008250753:

Example 3, from
US2006218880:

This place covers:
Example 1, from
WO03082548:

Example 2, from
FR2584336:

Attention is drawn to the following places, which may be of interest for search:
Forming webs by bringing together several webs for manufacturing absorbent pads |
This place covers:
Example 1, from
US2008283192:

Example 2, from
US2009040913:

Attention is drawn to the following places, which may be of interest for search:
Producing carriers of records containing fine grooves or impressions, e.g. disc records, by combined operations | |
Producing optically read record carriers, e.g. optical discs by combined operations | |
Apparatus or processes specially adapted for the manufacture of record carriers |
This place covers:
Example 1, from
JP2005279990:

Attention is drawn to the following places, which may be of interest for search:
Devices for fastening nuts to surfaces, e.g. sheets, plates, by means of welding or riveting |
This place covers:
Example 1, from
JP4216382:

Attention is drawn to the following places, which may be of interest for search:
Devices for applying ribbons to babies' napkins, e.g. diapers |
This place covers:
Example 1, from
EP0395836:

This place covers:
Example 1, from
JP2233230:

Attention is drawn to the following places, which may be of interest for search:
Non-integral spouts connected to a planar surface of the wall of packages, said packages comprising articles or materials enclosed in strips, sheets, blanks, tubes, or webs of flexible sheet material |
This place covers:
Example 1, from
US3231444:

This place covers:
Example 1, from
DE2922834:

Example 2, from
EP2360007:

Attention is drawn to the following places, which may be of interest for search:
Connections of rods or tubes in general | |
Non-disconnectable couplings for attachment of a member on a shaft or on a shaft-end involving gluing, welding or the like |
Attention is drawn to the following places, which may be of interest for search:
Connecting a tube to a hub for making catheters or medical or surgical tubes | |
Plastic pipe welded joints; Plastic pipe adhesive joints |
This place covers:
Example 1, from
WO9415137:

Example 2, from
US5793017:

This place covers:
Example 1, from
EP0382971:

Example 2, from
EP0141450:

This place covers:
Example 1, from
WO9415137:

Example 2, from
EP0141450:

This place covers:
Example 1, from
WO9415137:

Example 2, from
US3873391:

This place covers:
Example 1, from
WO9415137:

Example 2, from
CH398211:

Example 3, from
FR2596133:

This place covers:
Example 1, from
WO9415137:

This place covers:
Example 1, from
WO9415137:

Example 2, from
FR2596133:

This place covers:
Example 1, from
JP2001179839:


This place covers:
Example 1, from
EP2065168:


This place covers:
Example 1, from
EP0406818:

This place covers:
Example 1, from
JP2001050464:

This place covers:
Example 1, from
JP55093411:

This place covers:
Example 2, from
JP55093411:

This place covers:
Example 1, from
DE19628916:

Example 2, from
JP10281383:

Example 3, from
JP5318596:

This place covers:
Example 1, from
DE9208024U:

Example 2, from
WO0106168:

This place covers:
Example 1, from
JP4171392:

Attention is drawn to the following places, which may be of interest for search:
Sealing elements in general |
This place covers:
Example 1, from
JP4171392:


Example 2, from
JP4191592:

This place covers:
Example 1, from
DE19519341:

Example 2, from
JP5240394:

This place covers:
Example 1, from
WO0189811:

This place covers:
Example 1, from
EP2233391:

Attention is drawn to the following places, which may be of interest for search:
Welded corner joints for windows, doors, or the like frames or wings |
This place covers:
Example 1, from
DE102007055393:

This place covers:
Example 1, from
FR2712345:

This place covers:
Example 1, from
DE20206377U:


Example 2, from
FR2712345:

This place covers:
Example 1, from
US3707062:

This place covers:
Example 1, from
EP1314539:

This place covers:
Example 1, from
US4872935:

Example 2, from
EP1939509:

Attention is drawn to the following places, which may be of interest for search:
Applying rigid valves, spouts, filling tubes to box, carton, envelope or bag | |
Fuel tank inlets | |
Applying or incorporating rigid fittings, e.g. discharge spouts, to containers or packages | |
Spouts for containers of polygonal cross-section, said spouts being formed separately from the container |
This place covers:
Example 1, from
JP63237935:

This place covers:
Example 1, from
EP0572187:

This place covers:
Example 1, from
US5855544


This place covers:
Example 1, from
JP7323478:

Attention is drawn to the following places, which may be of interest for search:
Joining a shaft and a balloon for making balloon catheters |
This place covers:
Example 1, from
CH701363:


This place covers:
Example 1, from
DE8716157U:

Example 2, from
WO2010105076:

Attention is drawn to the following places, which may be of interest for search:
Closing semi-rigid or rigid containers or receptacles after filling, by feeding web material to securing means and securing by heat-sealing | |
Closing semi-rigid or rigid containers or receptacles after filling, by applying separate preformed closures, e.g. lids, covers, securing said closures on said containers by heat-sealing |
This place covers:
Example 1, from
GB998124:

This place covers:
Example 1, from
US2007131401:

Attention is drawn to the following places, which may be of interest for search:
Heat-exchanger arrangements for sealing elements into end plates by welding, at least one of the parts being non-metallic, e.g. heat-sealing plastic elements |
This place covers:
Example 1, from
JP2010111036:

Example 2, from
JP2009285929:

Attention is drawn to the following places, which may be of interest for search:
Manufacturing and assembling intake systems, by joining multiple sections together by welding, bonding or the like |
This place covers:
Example 1, from
US2009212460:


This place covers:
Example 1, from
EP2153977: 

This place covers:
Example 1, from
JP5212795:

Example 2, from
FR2276160:

This place covers:
Example 1, from
DE10216175:

Example 2, from
US2008187697:

This place covers:
Example 1, from
US2009173043:

This place covers:
Example 1, from
DE19519341:

Example 2, from
US5007666:

This place covers:
Example 1, from
FR2328315:

Example 2, from
US5007666:


This place covers:
Example 1, from
US5853831:

This place covers:
Example 1, from
JP49003836B:

Example 2, from
US5007666:


This place covers:
Example 1, from
US5007666:


This place covers:
Example 1, from
WO03033286:

This place covers:
Example 1, from
EP0284899:

Attention is drawn to the following places, which may be of interest for search:
Sealing elements in general |
This place covers:
Example 1, from
FR2944780:

Example 2, from
EP2253876:

Attention is drawn to the following places, which may be of interest for search:
Lining of internal surfaces |
This place covers:
Example 1, from
WO2008028224:

This place covers:
Example 1, from
EP0415068:

Attention is drawn to the following places, which may be of interest for search:
Inflatable cores or mandrels | |
Collapsible, e.g. inflatable, mandrels especially adapted for winding and joining |
This place covers:
Example 1, from
DE4123383:

This place covers:
Example 1, from
US2006043622: 
Example 2, from
FR2812372:

Example 3, from
JP2003123512:

This place covers:
Example 1, from
US2006043622: 
Example 2, from
FR2812372:

This place covers:
Example 1, from
EP2168755:

Attention is drawn to the following places, which may be of interest for search:
Making brushes by welding together bristles made of plastic materials | |
Securing filiform haptic to lens body | |
Methods of, or devices for, Interconnecting succesive lengths of filamentary material by welding | |
Non-woven fabrics formed wholly or mainly of staple fibres or like relatively short fibres, from fleece or layers composed of fibres without existing or potential cohesive properties, by welding together the fibres, e.g. by partially melting or dissolving |
Combination of B29C 66/71 with the relevant composition index from B29K 2001/00 - B29K 2095/00 is compulsory.
For instance, "characterised by the composition of the plastics material of the parts to be joined being PTFE" has to be classified as: B29C 66/71; B29K 2027/18.
Indexing with B29K 2105/06 is optional.
Combination of B29C 66/7212 with the relevant reinforcement composition index from B29K 2201/00 - B29K 2311/14 is compulsory.
For instance, "characterised by the composition of the fibres being carbon" has to be classified as: B29C 66/7212; B29K 2307/04.
This place covers:
Example 1, from
EP1892079:

Indexing from B29K 2105/08 - B29K 2105/10 is optional
This place covers:
Example 1, from
EP1941987:

Indexing from B29K 2105/12 - B29K 2105/14 is optional
This place covers:
Example 1, from
EP2092231:

Attention is drawn to the following places, which may be of interest for search:
Layered products essentially comprising natural or synthetic rubber | |
Layered products essentially comprising natural or synthetic rubber comprising rubber as the main or only constituent of a layer, next to another layer of synthetic resin | |
Layered products essentially comprising synthetic resin | |
Layered products essentially comprising synthetic resin as the main or only constituent of a layer next to another layer of synthetic resin of a different kind |
Indexing with B29L 2009/00 is optional.
Attention is drawn to the following places, which may be of interest for search:
Layered products essentially comprising metal as the main or only constituent of a layer, next to another layer of rubber | |
Layered products essentially comprising metal as the main or only constituent of a layer, next to another layer of synthetic resin |
Attention is drawn to the following places, which may be of interest for search:
Layered products essentially comprising glass at the main or only constituent of a layer, next to another layer of synthetic resin |
Attention is drawn to the following places, which may be of interest for search:
Layered products essentially comprising natural or synthetic rubber comprising rubber as the main or only constituent of a layer, next to another layer of paper or cardboard | |
Layered products essentially comprising synthetic resin as the main or only constituent of a layer next to another layer of paper or cardboard |
Attention is drawn to the following places, which may be of interest for search:
Layered products essentially comprising wood as the main or only constituent of a layer, next to another layer of synthetic resin or fibre-reinforced resin |
This place covers:
Example 1, from
US5965238:


This place covers:
Example 1, from
FR2557932:

Example 2, from
DE29713027U:

This place covers:
Example 1, from
US6017413:

Example 2, from
WO2010071525:

This place covers:
Example 1, from
WO9614201:

Attention is drawn to the following places, which may be of interest for search:
Making filtering elements |
Indexing with B29K 2105/04 is optional.
This place covers:
Example 1, from
DE19602575:

Example 2, from
EP1145657:

Attention is drawn to the following places, which may be of interest for search:
Garment hems or seams made by welding or gluing | |
Joining garments or blanks by gluing or welding | |
Seaming textile materials |
This place covers:
Example 1, from
DE4024252:

Example 2, from
JP2264065:

Attention is drawn to the following places, which may be of interest for search:
Non-woven fabrics formed wholly or mainly of staple fibres or like relatively short fibres, from fleece or layers composed of fibres without existing or potential cohesive properties, by welding together the fibres, e.g. by partially melting or dissolving |
Indexing in B29K 2995/00 is optional.
Indexing with B29K 2995/0022&B29K 2995/003 is optional.
Indexing with B29K 2995/0025 is optional.
Indexing with B29K 2995/0026&B29K 2995/0029 is optional.
Indexing with B29K 2105/24, B29K 2105/243 , B29K 2105/246 is optional.
Joining a thermoplastic part to a thermoset part is to be classified both in B29C 66/7392 and in B29C 66/7394.
Attention is drawn to the following places, which may be of interest for search:
Vehicle superstructures characterised by the material thereof, characterised by combining metal and synthetic material, preformed metal and synthetic material elements being joined together | |
Connecting arrangements or other fittings specially adapted to be made of plastics or to be used with pipes made of plastics, for joints between metal and plastic pipes |
Indexing from B29K 2705/00 - B29K 2705/14 is optional.
This place covers:
This group covers e.g. Titanium.
Indexing from B29K 2707/00 - B29K 2707/04 is optional.
Indexing from B29K 2709/00 - B29K 2709/12 is optional.
Indexing from B29K 2711/00 - B29K 2711/14 is optional.
Attention is drawn to the following places, which may be of interest for search:
Moulds or cores in general, characterised by the material |
Combination of B29C 66/8122 with the relevant composition index from B29K 2801/00 - B29K 2911/14 is compulsory.
For instance, "characterised by the composition of the material constituting the welding jaws being PTFE" has to be classified as: B29C 66/8122; B29K 2827/18.
This place covers:
Example 1, from
US3311525:

Indexing in B29K 2995/00 is optional.
Attention is drawn to the following places, which may be of interest for search:
Heating or curing by wave energy or particle radiation using transparent moulds |
This place covers:
Example 1, from
GB2305391:

N.B.: the convexity of the transverse cross-section of a roller, cylinder or drum (i.e. the cross-section transversal to its axis) is not considered to correspond to inventive subject-matter and as such is not covered by this group.
This place covers:
Example 1, from
GB2305391:

Example 2, from
US3367809:

Example 3, from
WO2005042232:

This place covers:
Example 1, from
US4398986:

This place covers:
Example 1, from
EP2113371:

Example 2, from
US2010199602:

This place covers:
Example 1, from
DE3912198:


This place covers:
Example 1, from
WO2010069599:




Example 2, from
EP1306196:

Attention is drawn to the following places, which may be of interest for search:
Bags for isostatic pressing, for compression moulding | |
Applying pressure through the wall of an inflated bag or diaphragm, for thermoforming | |
Lining or sheathing using sheet or web-like material applied by "rubber" bag or diaphragm | |
Devices for gluing soles on shoe bottoms using flexible diaphragm pressing devices | |
Pressing means in the form of a flexible element, e.g. diaphragm, urged by fluid pressure | |
Vacuum pressing, for laminating |
This place covers:
Example 1, from
EP1027981:

Example 2, from
US3830681:

This place covers:
Example 1, from
US2806116:

This place covers:
Example 1, from
EP2286986:

Attention is drawn to the following places, which may be of interest for search:
Vice jaws being composed of a plurality of parts adapting to the shape of the workpiece, the parts having a linear movement |
This place covers:
Example 1, from
JP1061228:

This place covers:
Example 1, from
US2010116409:

Example 2, from
WO9828123:

This place covers:
Example 1, from
US2010116409:

This place covers:
Example 1, from
EP1410988:

This place covers:
Example 1, from
DE19540119:

Example 2, from
FR2829962:

This place covers:
Example 1, from
DE20019000U:

Example 2, from
GB885309:

Example 3, from
FR1310917:

This place covers:
Example 1, from
DE20317289U:

Example 2, from
US5421923:

Example 3, from
US3426951:

This place covers:
Example 1, from
JP6008330:

Example 2, from
US4426244:

This place covers:
Example 1, from
WO9738905:

This place covers:
Example 1, from
DE4241974:

This place covers:
Example 1, from
US6308493:

This place covers:
Example 1, from
DE4425207:

Example 1, from
DE4425207:

This place covers:
Example 1, from
JP2002144434:

This place covers:
Example 1, from
EP0344137:

Example 2, from
DE102008004880:

This place covers:
Example 1, from
EP0368095:

This place covers:
Example 1, from
DE29917831U:


Example 2, from
DE10024036:

This place covers:
Example 1, from

WO9208613
Attention is drawn to the following places, which may be of interest for search:
Presses characterised by an elastic bag or diaphragm expanded by fluid pressure | |
Presses using a fluid connecting unit between drive shaft and press ram |
This place covers:
Example 1, from
US4247273:

This place covers:
Example 1, from
EP2159037:

This place covers:
Example 1, from
FR2535337:

This place covers:
Example 1, from
DE19715779:

Example 2, from
EP1167021:

Attention is drawn to the following places, which may be of interest for search:
Applying or generating heat by reciprocating members for sealing package folds or closures | |
Device specially adapted for producing transverse or longitudinal seams in webs or tubes, by applying pressure and heat, reciprocating along only one axis |
This place covers:
Example 1, from
WO2008146160:

Example 2, from
WO03080447:

This place covers:
Example 1, from
FR2198872:

This place covers:
Example 1, from
FR1015971:

Example 2, from
FR2732264:

This place covers:
Example 1, B29C 66/83411 (roller, cylinder or drum types) and B29C 66/83511 (jaws mounted on rollers, cylinders or drums), from
US6454890:

Example 2, B29C 66/83541 (flying jaws) and B29C 66/83421 (band or belt types), from
US3692608:

Attention is drawn to the following places, which may be of interest for search:
Ultrasonic welding of metals using a roller | |
Applying or generating heat by rotary members for sealing package folds or closures | |
Applying or generating heat by endless bands or chains for sealing package folds or closures | |
Rollers for producing longitudinal and transverse seams simultaneously in package webs or tubes | |
Counter-rotating devices for producing transverse or longitudinal seams in package webs or tubes by applying pressure and heat | |
Heated rollers for induction heating |
This place covers:
Example 1, from
DE2259203:

Example 2, from
JP2006027671:


Example 3, from
US6454890:

This place covers:
Example 1, from
US2003010439:

This place covers:
Example 1, from
US3059690:

Attention is drawn to the following places, which may be of interest for search:
Devices for, or methods of, sealing or securing package folds or closures, by applying or generating heat by endless bands |
This place covers:
Example 1, from
US4411310:

This place covers:
Example 1, from
WO2006087224:

This place covers:
Example 1, from
US2003010439:

This place covers:
Example 2, from
LU41236:

This place covers:
Example 1, from
FR2953200:

Attention is drawn to the following places, which may be of interest for search:
Rollers for producing longitudinal and transverse seams simultaneously in package webs or tubes |
This place covers:
Example 1, from
JP61142105:

Example 2, from
JP2006027671:


This place covers:
Example 1, from
WO03097341:

This place covers:
Example 1, from
EP1442984:

Example 2, from
WO0026010:

This place covers:
Example 1, from
DE4314637:

Example 2, from
EP1234772:

This place covers:
Example 1, from
EP0915015:

This place covers:
Example 1, from
JP58042049:

Example 2, from
WO2011065827:

Example 3, from
JP2000272612:

This place covers:
Example 1, from
JP58042049:

Attention is drawn to the following places, which may be of interest for search:
Arrangements to enable machines to produce packages of different sizes |
This place covers:
Example 1, from
DE2654342:

Example 2, from
NL7802257:

This place covers:
Example 1, from
DE19938100:

Example 2, from
EP1837163:




This place covers:
Example 1, from
GB1189906:

Example 2, from
US4158584:

This place covers:
Example 1, from
US2583709:

Example 2, from
JP3126529:

Example 3, from
GB2062538:

Example 4, from
DE2055127:

Example 5, from
US2003010439:

This place covers:
Example 1, from
JP61189925:

This place covers:
Example 1, from
CH373305:

Attention is drawn to the following places, which may be of interest for search:
Machines, apparatus or devices for, or methods of, packaging articles or materials, in general |
This place covers:
Example 1, from
DE1511540:

Example 2, from
WO2011001528:

Attention is drawn to the following places, which may be of interest for search:
Subdividing filled tubes to form two or more packages by sealing involving displacement of contents |
Attention is drawn to the following places, which may be of interest for search:
Making boxes, cartons, envelopes, or bags, in general |
This place covers:
Example 1, from
EP2204274:


Attention is drawn to the following places, which may be of interest for search:
Changing web rolls in general, by attaching, e.g. pasting, the replacement web to the expiring web |
This place covers:
Example 1, from
US4376668:

Attention is drawn to the following places, which may be of interest for search:
Apparatus or tools for joining belts in general | |
Joining belts by sewing, sticking, vulcanising, or the like |
This place covers:
Example 1, from
WO0062820:

Attention is drawn to the following places, which may be of interest for search:
Medical tube connectors, for connecting tubes having sealed ends, by cutting and welding |
This place covers:
Example 1, from
TW467845B:

Attention is drawn to the following places, which may be of interest for search:
Hand tools in general | |
Hand tools for securing ends of binding material by welding, or heat-sealing or by applying adhesive | |
Devices for, or methods of, sealing or securing package folds or closures, by applying or generating heat by reciprocating or oscillating hand-operated members |
This place covers:
Example 1, from
US2008115885:

Attention is drawn to the following places, which may be of interest for search:
Irons for laying carpeting by using hot-melt adhesives | |
Hand irons |
This place covers:
Example 1, from
US2003127177:

This place covers:
Example 1, from
EP2255952:

Example 2, from
EP2006066:

Attention is drawn to the following places, which may be of interest for search:
Manipulators in general |
This place covers:
Example 1, from
DE202008008145U:

This place covers:
Example 1, from
DE9317104U: 
This place covers:
Example 1, from
US3080910:

Example 2, from
DE29713474U: 
Example 3, from
EP0787572:


Attention is drawn to the following places, which may be of interest for search:
Trouble-shooting during starting or stopping moulding or shaping apparatus |
Attention is drawn to the following places, which may be of interest for search:
Safety-devices for packaging machines | |
Safety devices specially designed for welding in general |
Attention is drawn to the following places, which may be of interest for search:
Masks, shields or hoods for welders |
Attention is drawn to the following places, which may be of interest for search:
Audible or visible alarm signals for packaging machines |
Attention is drawn to the following places, which may be of interest for search:
Measuring temperature |
This place covers:
Example 1 (to be also classified in B29C 66/91221), from
WO2006042251:

Example 2 (to be also classified in B29C 66/91231), from
EP2216167:

Attention is drawn to the following places, which may be of interest for search:
Radiation pyrometry |
Attention is drawn to the following places, which may be of interest for search:
Measuring temperature using change of colour or translucency |
This place covers:
Example 1, from
EP1225028:

Example 2, from
WO0181070:

This place covers:
Example 1 (to be also classified by B29C 66/91212), from
JP2002104311:

Example 2 (to be also classified by B29C 66/91216), from
EP2216167: 
Attention is drawn to the following places, which may be of interest for search:
Measuring quantity of heat |
Attention is drawn to the following places, which may be of interest for search:
Heat seal temperature control of devices for, or method of, sealing or securing package folds or closures by applying or generating heat |
This place covers:
Example 1, from
WO9706205:

This place covers:
Example 1, from
US5561964:

This place covers:
Example 1, from
JPH0581103U:

This place covers:
Example 1, from
WO9516557:

Documents merely stating that the welding occurs above the melting temperature of the parts to be joined do not belong to this class.
Documents specifying the welding temperature by giving actual values, e.g. absolute or in relation to the melting temperature, do belong to this class
This place covers:
e.g. plants for moulding, curing or finishing articles, e.g. disposable plants, plants mounted on vehicles; e.g. lay-out of plants or machines, e.g. arrangement, sequence or exchange of machines, machine parts or tools not otherwise provided for; e.g. modular plants or machines, i.e. plants or machines build up from modular parts
The group B29C 69/00 and it subgroups cover combination(s) of shaping techniques not otherwise provided for in B29C, where the invention lies in the combination of techniques - not in the single technique as such - and wherein the invention is related to a shaping problem.
Documents not relating to a shaping problem do not belong to this group. For instance, documents relating to combined operations for making a particular article, which involves a mere combination of moulding steps, but failing to relate to a moulding problem as such, do not belong to this group; such documents do belong to the relevant B29D entry, if such entry exists, and if not then to the relevant product/article entry.
This place does not cover:
Injection moulding combined with a final shaping operation | |
Extrusion moulding combined with other shaping operations | |
Auxiliary operations prior to blow moulding | |
Auxiliary operations after blow moulding | |
Auxiliary operations prior to thermoforming | |
Auxiliary operations after thermoforming |
Documents classified in this group relate to a joining problem. Documents not relating to a joining problem do not belong to this group. For instance, documents relating to combined operations for making a particular article, which involves a mere combination of the step of moulding parts in separate cavities and the step of joining said parts, but failing to relate to a joining problem as such, do not belong to this group; such documents do belong to the relevant B29D entry, if such entry exists, and if not then to the relevant product/article entry.
Documents classified in this group relate to a joining problem. Documents not relating to a joining problem do not belong to this group. For instance, documents relating to combined operations for making a particular article, which involves a mere combination of the step of cutting-off or cutting-out a part of a strip-like or sheet-like material, the step of transferring said part and the step of fixing said part to an article, but failing to relate to a joining problem as such, do not belong to this group; such documents do belong to the relevant B29D entry, if such entry exists, and if not then to the relevant product/article entry.
Attention is drawn to the following places, which may be of interest for search:
Nanotechnology for materials or surface science, e.g. nanocomposites | |
Fibre reinforced ceramics | |
Carbon-Carbon composites | |
Chemical aspects of manufacture of articles or shaped materials containing macromolecular substances | |
Alloys containing metallic or non-metallic fibres or filaments | |
Testing of composites | |
CAD/CAM |
In this place, the following terms or expressions are used with the meaning indicated:
Fibre or fiber | General expression for a reinforcement in the form of a bundle of filaments. |
Filament | Single reinforcing body of high aspect ratio, typically produced artificially by pressing a fluid through a small diameter orifice (spinneret) and allowing the fluid to solidify after leaving the spinneret and being subjected to cooling, drying or a chemical reaction. The filament can also come from a natural source (single filament of a plant or animal fibre). |
Roving | Bundle of fibres or collection of a large number of filaments resulting in a bundle of substantially higher cross section than that of a single fibre. |
Whisker | Typically a short length filament. |
This place does not cover:
Shaping composites of combinations of different types of fibres |
Further details of subgroups
Reinforcing inserts, e.g. bars, profiles, local reinforcements other than fibrous
combinations of fibrous reinforcements and filler
This place covers:
heating and fusing of thermoplastic fibres or high aspect ratio elements with high molecular orientation, without the use of a matrix material or with matrix material of the same thermoplastic material as the fibres, yielding a plastic product with anisotropic properties.
Example: heating and compressing of HDPE or PP fibres.
This place covers:
This is not a subgroup of self reinforced plastics unlike the title of B29C 70/04 suggests.
This is in fact the head group of fibre reinforced polymers where there is a distinct fibrous reinforcement and a polymer matrix material.
Illustrative example of subject matter classified in B29C 70/081:

EP2112192
Illustrative example of subject matter classified in B29C 70/083:


Illustrative example of subject matter classified in B29C 70/085:

Attention is drawn to the following places, which may be of interest for search:
Use of gel coats |
Illustrative example of subject matter classified in B29C 70/086

This place covers:
technical details of a filaments or fibres, e.g. by cross sectional shape, surface treatment, molecular orientation

Attention is drawn to the following places, which may be of interest for search:
Reinforcement yarns or threads for specific use in general industrial applications |
This place covers:
fibrous structures. Note that polymers containing short fibres without mutual connection are not considered fibrous structures and B29C 70/00. If the short fibres are connected, e.g. by bonding, it is considered a fibrous structure.
Use of short fibres as additive to a polymer are to be classified in the specific moulding technique. e.g. B29C 45/0005 (injection moulding using fibre reinforcements), B29C 48/0011 (extrusion moulding using fibre reinforcements)

In patent documents, the following abbreviations are often used:
Mat | non-woven |
This place covers:
use of short fibres which are not randomly oriented:


This place covers:
Sheet Molding Compound
SMC is a combination of chopped strands and filled resin in the form of a sheet. Processing SMC by compression molding produces bodywork or structural automotive components and electrical or electronic machine housings in large industrial volumes. The process is also used for other products such as sanitary ware (baths) and urban furniture (stadium and cinema seating). TheSMC contains all the components needed to mould the final part (resin, reinforcement, filler, catalyst, low profile additives, etc.) in a malleable and non-tacky sheet. SMC is made from chopped strands sandwiched between two layers of film, onto which the resin paste has already been applied. The SMC passes through a compaction system that ensures complete strand impregnation before being wound into rolls. These are stored for a few days before molding to allow the prepreg to thicken to a moldable viscosity.

This place covers:
Examples:
unidirectional prepregs, moulding compounds with unidirectional fibres. 
Illustrative example of subject matter classified in B29C 70/202

Illustrative example of subject matter classified in B29C 70/205

Illustrative example of subject matter classified in B29C 70/207

This place covers:
Illustrative examples of subject matter classified in this group:
Typical fabric structures: 

Braid
Illustrative example of subject matter classified in B29C 70/222

Illustrative example of subject matter classified in B29C 70/224

Illustrative example of subject matter classified in B29C 70/226

Illustrative example of subject matter classified in B29C 70/228

Illustrative example of subject matter classified in B29C 70/24


Illustrative example of subject matter classified in B29C 70/26

In this place, the following terms or expressions are used with the meaning indicated:
Warp | collection of fibres in a fabric in the lengthwise machine directionFill |
Tex | indication of the linear weight of a roving, fibre or yarn, 1 Tex = 1 gram/kilometer |
Weft or woof fibres | in the transverse direction of the warp fibres, these fibres are shot between warp fibres during the weaving process. |
In patent documents, the following abbreviations are often used:
Weft = Woof | Fill fibres |
This place covers:
B29C 70/30 deals with lay-up specific details. Lay-up is the positioning of reinforcements in or on a mould, former, core or substrate taking into account the anisotropy of the material.
Example: the specific lay-up in terms of sequence and or fibre orientation of fibrous reinforcing layers prior to a moulding process.
Examples of places where the subject matter of this place is covered when specially adapted, used for a particular purpose, or incorporated in a larger system:
Producing fibrous preforms for subsequent moulding |
Attention is drawn to the following places, which may be of interest for search:
Specific details of the moulding process |
Illustrative example of subject matter classified in B29C 70/305
This place covers:
Winding of fibres reinforcements where the layup of the winding is of importance.
Attention is drawn to the following places, which may be of interest for search:
Shaping by helically winding |
Illustrative example of subject matter classified in B29C 70/323
EP0198744
Illustrative example of subject matter classified in B29C 70/326

This place covers:
moulding where the layup of the reinforcements (i.e. orientation, position, fibre type) is of importance and the moulding technique has no particular relevance.
Moulding using isostatic pressing means, e.g. using vacuum bag, silicone core, expanding bags or balloons to apply moulding pressure.
moulding where the composite material is moulded by 'hard' or 'stiff' moulding surfaces (e.g. a male and a female metal mould)
Illustrative example of subject matter classified in B29C 70/347

Illustrative example of subject matter classified in B29C 70/382

Illustrative example of subject matter classified in B29C 70/384

Illustrative example of subject matter classified in B29C 70/386

Illustrative example of subject matter classified in B29C 70/388

This place covers:
B29C 70/40 up to and including B29C 70/56 deals with moulding specific details
This place does not cover:
Lay-up specific details |

Illustrative example of subject matter classified in B29C 70/443

Illustrative example of subject matter classified in B29C 70/446

Illustrative example of subject matter classified in B29C 70/46

GB2453308
Illustrative example of subject matter classified in B29C 70/462

In patent documents, the following abbreviations are often used:
RTM | resin transfer moulding |
CIRTM | co-injection RTM |
VI | vacuum infusion |
DRDF | double resin infusion under flexible tooling |
LRI | liquid resin infusion |
MVI | modified vacuum infusion |
RFI | resin film infusion |
RIRM | resin injection recirculation moulding |
SCRIMP | Seeman Composites Resin Infusion Moulding Process |
VAIM | vacuum assisted injection moulding |
VAP | vacuum assisted processing |
VARI | vacuum assisted resin injection system |
VARIM | vacuum assisted resin injection moulding |
V(A)RTM | vacuum (assisted) resin transfer moulding |
VIM | vacuum infusion moulding |
VIMP | vacuum infusion moulding process |
VM/RTM light | a hybrid RIFT/RTM |
VIP | vacuum infusion process |
Attention is drawn to the following places, which may be of interest for search:
Impregnating per se | |
Vitreous materials in general |
Illustrative example of subject matter classified in B29C79/46B:

Attention is drawn to the following places, which may be of interest for search:
Impregnating of fibrous material per se |
Illustrative example of subject matter classified in B29C79/46C:

Attention is drawn to the following places, which may be of interest for search:
Impregnating of fibrous reinforcement per se |
Illustrative example of subject matter classified in B29C79/48:

Illustrative example of subject matter classified in B29C79/50:

Illustrative example of subject matter classified in B29C 70/502:

Illustrative example of subject matter classified in B29C 70/504:

This place does not cover:
Pulp or paper, comprising vitreous materials |
This place covers:
Continuous fibres or fibrous structures are pulled with matrix material through a die.
This place does not cover:
Extrusion moulding compounds comprising short fibres which are pressed through a die |
Illustrative example of subject matter classified in B29C 70/521:

Illustrative example of subject matter classified in B29C 70/522:

Attention is drawn to the following places, which may be of interest for search:
Impregnating per se |
Illustrative example of subject matter classified in this group:

Illustrative example of subject matter classified in B29C 70/524:

Illustrative example of subject matter classified in B29C 70/526:

Illustrative example of subject matter classified in B29C 70/527:

Attention is drawn to the following places, which may be of interest for search:
Heating, cooling during moulding in general |
This place covers:
All details and auxiliary operations related to shaping of composites consisting of reinforcements only, e.g. sensing means to control curing, impregnation, positioning reinforcements in a mould, perforating, cutting or machining during or after moulding.
Attention is drawn to the following places, which may be of interest for search:
Releasing articles from moulds or removal of cores | |
Heating and curing during moulding in general | |
Using release agents | |
Pre-treatment, e.g. impregnation, of reinforcements | |
Testing |
Illustrative example of subject matter classified in B29C 70/541:

Illustrative example of subject matter classified in B29C 70/542: 
Documents that teach, e.g. local stitching, bonding, or curing to avoid fibrous reinforcement from misaligning during moulding belong here.
If a document teaches mechanical post treatment that would be obvious to one of ordinary skill in the art, such as deburring, sanding or removal of mould flash, the document should not be classified here. A document should be classified here only if the process teaches treatment that is not obvious to one of ordinary skill in the art, and is taught as part of the invention or as indispensable for the moulding method presented.
This place covers:
methods to improve impregnation of fibrous material, e.g. by modifying surface tension or viscosity of moulding materials (e.g. by heating) and thereby reducing void content of the moulded composite material
Attention is drawn to the following places, which may be of interest for search:
Impregnating of fibrous material per se |
Illustrative example of subject matter classified in B29C 70/547:
After curing of the resin, the channels remain in the product.
Porous layers can be peeled off if they are separated from the product by a peel ply or perforated film. 
Illustrative example of subject matter classified in B29C 70/548:

This place covers:
Methods and apparatuses to apply tension on fibrous reinforcement before or during moulding. Fibrous reinforcements in their dry state are often crimped (not straight) and mechanical properties (tensile and compressive strength and modulus) suffer. Predominantly used to improve the straightness of fibres and thereby impart improved mechanical properties.
Attention is drawn to the following places, which may be of interest for search:
Moulds from resin bonded particles |
Illustrative example of subject matter classified in B29C 70/585:

Illustrative example of subject matter classified in B29C 70/60:
EP11003063
Illustrative example of subject matter classified in B29C 70/603:

FR2703623
Illustrative example of subject matter classified in B29C 70/606:

Illustrative example of subject matter classified in B29C 70/62:

FR2850634
Illustrative example of subject matter classified in B29C 70/64:

Attention is drawn to the following places, which may be of interest for search:
Making or treating expandable particles |
Illustrative example of subject matter classified in B29C 70/66:
EP1502726 EP
Positioning inserts in moulds | |
Casting around inserts | |
Coating a mould with inserts | |
Compression moulding with inserts | |
Foaming with inserts | |
Injection moulding with inserts | |
Extrusion moulding with inserts | |
Blow moulding with labels |
Attention is drawn to the following places, which may be of interest for search:
Measures or configurations for obtaining anchoring effects in the contact areas between layers by mechanical anchoring | |
Measures or configurations for obtaining anchoring effects in the contact areas between layers by means of openings in the layers |
Mainly to improve bonding with the plastic material in which it is embedded
Illustrative example of subject matter classified in B29C 70/685:

Illustrative example of subject matter classified in B29C 70/686:

Illustrative example of subject matter classified in B29C 70/687:

Illustrative example of subject matter classified in B29C 70/688:

This place does not cover:
Reinforced encapsulating material (e.g. by fibres) |
Attention is drawn to the following places, which may be of interest for search:
Joining by foaming: |
Illustrative example of subject matter classified in B29C 70/70:

Illustrative example of subject matter classified in B29C 70/72:

Illustrative example of subject matter classified in B29C 70/74:
GB2197849
Illustrative example of subject matter classified in B29C 70/742:

Illustrative example of subject matter classified in B29C 70/745:

Illustrative example of subject matter classified in B29C 70/747:

Illustrative example of subject matter classified in B29C 70/763:

Illustrative example of subject matter classified in B29C 70/766:

Illustrative example of subject matter classified in B29C 70/78:

Illustrative example of subject matter classified in B29C 70/80:
EP0021691
Illustrative example of subject matter classified in B29C 70/82:

Illustrative example of subject matter classified in B29C 70/84:

Illustrative example of subject matter classified in B29C 70/845:

Illustrative example of subject matter classified in B29C 70/882:

Illustrative example of subject matter classified in B29C 70/885:

Illustrative example of subject matter classified in B29C 70/887:

This place covers:
After-treatment of articles without altering their shape e.g. extracting undesirable components (unreacted monomers, solvents) from articles e.g. using vacuum or gases, supercritical fluid; absorbing ingredients (drugs, flavourings) in the wall of articles.
This place does not cover:
After-treatment of articles shaped by internal pressure generated in the material | |
Surface shaping, e.g. embossing | |
Repairing of articles |
Attention is drawn to the following places, which may be of interest for search:
Chemical treatment or coating of shaped articles made of macromolecular substances |
This place does not cover:
Cleaning by methods involving the use or presence of liquid or steam, cleaning involving contact with liquid | |
Cleaning by liquid gases or supercritical fluids | |
Producing contact lenses; hydrating contact lenses | |
Chemical treatment or coating of shaped articles made of macromolecular substances; with solvents, e.g. swelling agents |
Attention is drawn to the following places, which may be of interest for search:
Auxiliary treatment of granules | |
Conditioning or physical treatment of the material to be shaped |
Attention is drawn to the following places, which may be of interest for search:
Heating or cooling the stream of extruded material | |
Producing flat articles; films or sheets | |
Manufacture of articles or shaped materials containing macromolecular substances; manufacture of films or sheets |
This place does not cover:
Cleaning by liquid gases or supercritical fluids |
This place covers:
annealing, i.e. reducing or eliminating tensions; quenching; tempering; stabilisation against shrinkage (by reducing tensions)
This place does not cover:
Heating or cooling the stream of extruded material | |
Processes for manufacturing semi-permeable membranes; after-treatment of organic or inorganic membranes; thermal after-treatment |
This place does not cover:
Processes of treating or compounding macromolecular substances; treatment by wave energy or particle radiation | |
Chemical treatment or coating of shaped articles made of macromolecular substances; chemical modification; treatment by wave energy or particle radiation | |
Apparatus or processes for manufacturing printed circuits; etching the insulating substrate by plasma etching |
Attention is drawn to the following places, which may be of interest for search:
Sieving, screening; repairing of screening surfaces | |
Repairing fractures or cracked metal parts or products, e.g. castings | |
Rebuilding ships, e.g. increasing tonnage | |
Designing, manufacturing, assembling, cleaning, maintaining, or repairing aircraft | |
Materials for sealing or packing joints or covers | |
Blades, blades-carrying members; repairing methods or devices |
This place covers:




Attention is drawn to the following places, which may be of interest for search:
Repairing damaged coatings |
This place covers:





Attention is drawn to the following places, which may be of interest for search:
Layered products essentially comprising sheet glass; repairing layered products containing glass and synthetic resin layers (e.g. windshields) |
This place covers:





Attention is drawn to the following places, which may be of interest for search:
Devices for recovering leaks in pipes or hoses; by means of a plug |
This place covers:





Attention is drawn to the following places, which may be of interest for search:
Designing, manufacturing, assembling, cleaning, maintaining, or repairing aircraft | |
Working measures on existing buildings; repairing, e.g. filling cracks | |
Working measures on existing buildings; repairing, e.g. filling cracks; arrangements for filling cracks or cavities in building constructions | |
Repairing or joining pipes on or under water | |
Devices for recovering leaks in pipes or hoses | |
Devices for recovering leaks in pipes or hoses; from outside the pipe | |
Devices for recovering leaks in pipes or hoses; from outside the pipe; by means of a parch which is fixed on the wall of the pipe by means of an adhesive, a weld or the like |
This place covers:




This place covers:




Attention is drawn to the following places, which may be of interest for search:
Producing pneumatic or solid tyres; retreading | |
Tyres characterised by the chemical composition or the physical arrangement or mixture of the composition; composition of the inner liner | |
Inflatable pneumatic tyres; without separate inflatable inserts; with impervious liner or coating on the inner wall of the tyre | |
Linings therefor acting locally | |
Tyres parts or constructions; puncture preventing arragements | |
Tyres parts or constructions; puncture preventing arragements; disposed between the inner chamber and the tyre | |
Tyres parts or constructions; puncture preventing arragements; disposed removable on the tyre |
Attention is drawn to the following places, which may be of interest for search:
Tyres parts or constructions; puncture preventing arragements | |
Tyres parts or constructions; puncture preventing arragements; disposed between the inner chamber and the tyre | |
Tyres parts or constructions; puncture preventing arragements; disposed removable on the tyre | |
Materials for stopping leaks, e.g. in radiators, in tanks |
This place covers:



Attention is drawn to the following places, which may be of interest for search:
Arrangements for tyre-inflating valves to tyres or rims; accessories for tyre-inflating valves; for filling a tyre with, or removing from a tyre, particular materials, e.g. liquids | |
Servicing, maintaining, repairing or refitting of vehicles; supplyingair for tyre inflation | |
Characterised by the inflation control means or the drive of the air pressure system | |
Using electrical or electronical means |
This place covers:



This place covers:





This place covers:




This place covers:


This place covers:



Attention is drawn to the following places, which may be of interest for search:
Tools for repairing damaged tyres |
This place covers:



Attention is drawn to the following places, which may be of interest for search:
Curing during moulding using laser | |
Welding using laser beams |












































































































































