CPC Definition - Subclass B01J
This place covers:
Granulation processes or devices, e.g. by dividing liquid material into drops in drums or in fluidised beds or by expressing the material through sieves, making particulate materials hydrophobic.
Chemical or physical processes or apparatus therefor concerning:
- chemical or physical change of matter by the use of pressure;
- feed or outlet regulating devices;
- calcining, fusing;
- apparatus for generating gases;
- solidifying liquids;
- direct application of electric or wave energy;
- production of inert gas mixtures;
- stationary, nozzle-type reactors.
Chemical processes involving a gas, e.g. gas passing through fixed beds or fluidised beds, reacting liquid with gaseous media other than in the presence of solid particles, reacting gaseous media with gaseous media or reacting gaseous media with non-particulate solids.
Chemical processes involving a liquid, e.g. liquids passing through fixed beds or fluidised beds, reacting liquid with gaseous media, reacting liquid with liquids or reacting liquids with non-particulate solids.
Production of colloidal materials or their solutions, e.g. making microcapsules by physical drying, spraying, coacervation or polymerisation.
Sorbent or filter aid compositions comprising inorganic or organic material, sorbents specially adapted for chromatography and processes for preparing or regenerating thereof.
Catalysts:
- catalysts containing elements or inorganic compounds, e.g. magnesium, silica, copper, noble metals, sulfides, halides or carbides;
- Raney catalysts, e.g. Raney nickel;
- catalysts comprising molecular sieves, e.g. silicalites, crystalline zeolites, clays or phosphates;
- catalysts comprising metal hydrides, organic compounds or coordination complexes;
- catalysts characterised by their form or physical properties;
- preparation processes, protection or activation, e.g. impregnation, coating, reducing;
- regeneration or reactivation of catalysts.
Ion exchange processes, e.g. cation, anion or amphoteric ion-exchange; regeneration of ion-exchangers and apparatus therefor.
Polymerisation subclasses C08F and C08G: Apparatus used for polymerisation processes should be classified in subclass B01J since the polymer subclasses usually cover aspects of process and not of the apparatus used.
Reforming/hydrogen production subclass C01B: Apparatus used for reforming reactions (production of hydrogen for fuel cell applications) should be classified in subclass B01J (mainly in group B01J 8/00 since very often a catalytic bed is used for catalytic reforming). Subclass C01B covers mainly the process aspects of the reforming and subclass B01J the aspects relating to the types of apparatus used.
Molecular sieves per se are classified in subclass C01B.
Water treatment subclass C02F: if the claims of a patent document classified in subclass C02F do not specify which kind of fluid is treated, the document should be classified in groups B01J 3/00-B01J 12/00 and B01J 14/00-B01J 19/00, especially regarding apparatus features (UV radiation means, baffles).
Separation, e.g. distillation, also combined with a chemical reaction, is classified in subclass B01D.
Electrocatalysts used in processes or means for the direct conversion of chemical energy into electrical energy are classified in subclass H01M.
Electrocatalysts used in electrolytic or electrophoretic processes for the production of compounds or non-metals and apparatus therefor are classified in subclass C25B.
Examples of places where the subject matter of this place is covered when specially adapted, used for a particular purpose, or incorporated in a larger system:
Separation of liquids by cation-exchange adsorbents | |
Separation of liquids by anion-exchange adsorbents | |
Treatment of milk | |
Separation by ion-exchangers | |
Chromatography involving ion-exchange | |
Separation of isotopes | |
Treatment of water by ion exchange | |
Refining of hydrocarbon oils, in the absence of hydrogen, with solid sorbents | |
Purification of sugar juices | |
Extraction of sugar from molasses | |
Extraction of metal compounds from ores or concentrates by wet processes | |
Combustion apparatus in which combustion takes place in a fluidised bed of fuel or other particles | |
Drying solid materials to form a fluidised bed | |
Using ion-exchange for investigating or analysing materials | |
Treating radioactively contaminated material |
Attention is drawn to the following places, which may be of interest for search:
Apparatus or devices for combinatorial chemistry or for making molecular arrays | |
Solid sorbent compositions | |
Preparations for medical, dental or toiletry purposes | |
Disinfection, sterilisation or deodorisation of air | |
Treating hazardous wastes | |
Distillation or related exchange processes in which liquids are contacted with gaseous media, e.g. stripping | |
Crystallisation | |
Filtering material for liquid or gaseous fluids | |
Separation of gases or vapours; Recovering vapours of volatile solvents from gases; Chemical or biological purification of waste gases, e.g. engine exhaust gases, smoke, fumes, flue gases, aerosols | |
Catalytic processes for purification of waste gases | |
Purification of engine exhaust gases by catalytic processes | |
Apparatus in general for separation processes using semi-permeable membranes | |
Mixing | |
Laboratory equipment | |
Lab-on-a-chip | |
Cyclones per se | |
Ultrasonic devices per se | |
Cleaning reactors | |
Waste incineration | |
Treating soils | |
Presses | |
Control when application is electrically driven vehicles | |
Storage containers, bags | |
Making microstructures | |
Hydrogen production | |
Process for preparing hydrogen using catalysts | |
Carbon/nanocarbon | |
Ammonia production | |
Water treatment | |
General methods of organic chemistry | |
Process for preparing acyclic or carbocyclic compounds | |
Preparation of hydrocarbons, such as ethylene and propylene, from one or more compounds, none of them being a hydrocarbon, starting from organic compounds containing only oxygen atoms as heteroatoms, such as methanol | |
Preparation of compounds having hydroxy or O-metal groups bound to a carbon atom not belonging to a six-membered aromatic ring by reduction of an oxygen containing functional group | |
Preparation of compounds having hydroxy or O-metal groups bound to a carbon atom not belonging to a six-membered aromatic ring, such as ethanol by reduction of oxides of carbon exclusively characterised by the catalyst used | |
Preparation of compounds having >C = O groups bound only to carbon or hydrogen atoms, such as (meth)acrolein, by oxidation of unsaturated hydrocarbons | |
Preparation of carboxylic acid nitriles by ammoxidation of hydrocarbons or substituted hydrocarbons | |
Process for preparing heterocyclic compounds | |
Preparation of oxiranes, such as ethylene oxide or propylene oxide, by oxidation | |
Macromolecular compounds obtained by reactions only involving carbon-to-carbon unsaturated bonds | |
Macromolecular compounds obtained otherwise than by reactions only involving unsaturated carbon-to-carbon bonds | |
Coke oven, pyrolysis | |
Fluid catalytic cracking [FCC], Fischer-Tropsch process | |
Production of liquid hydrocarbon mixtures from carbon monoxide with hydrogen with the use of catalysts | |
Catalytic cracking of hydrocarbon oils | |
Catalytic reforming naphtha | |
Refining of hydrocarbon oils using hydrogen or hydrogen-generating compounds | |
Hydro-cracking hydrocarbon oils | |
Hydro-processing hydrocarbon oils | |
Gasification | |
Bioreactors | |
Chemical vapor deposition processes | |
Electrolytic processes | |
Single crystal growth | |
Combinatorial chemistry | |
Exhaust gas treatment for NOx | |
Apparatus for treating combustion-air, fuel or fuel-air mixtures by catalysts | |
Pumps | |
Valves | |
High pressure vessels in general | |
Combustion apparatus or processes | |
Air-conditioning systems | |
Drying solids | |
Heat exchange apparatus having stationary plate-like or laminated conduit assemblies | |
Plate-like or laminated elements of heat exchange apparatus | |
Analysis | |
Control for other applications | |
Surface treatment of semi-conductors | |
Primary batteries | |
Fuel cells | |
Microwave devices, UV devices | |
Electrostatic charges (removing of) | |
Plasma reactors per se |
In group B01J 20/00 and in each set of groups B01J 21/00 - B01J 31/00 and B01J 39/00 - B01J 49/00, in the absence of an indication to the contrary, classification is made in the last appropriate place.
Pure compounds or elements, or their recovery from solid sorbent compositions, filter aid compositions or catalysts, are classified in the appropriate subclass for chemical compounds or elements. However, when it is explicitly stated that the pure compound or element, in a particular form, is especially useful as a solid sorbent, filter aid or catalyst, it is further classified in groups B01J 20/00, B01J 21/00 - B01J 31/00 or B01J 35/00.
Metal catalysts or metal oxide catalysts activated or conditioned by halogens, sulfur or phosphorous, or compounds thereof are classified in the appropriate groups for metal catalysts or metal oxide catalysts.
When classifying in groups B01J 33/00 - B01J 38/00, any part of a catalyst that is not covered by B01J 33/00 - B01J 38/00 and that itself is determined to be novel and non-obvious must also be classified in groups B01J 21/00 - B01J 31/00. Such a part of a catalyst can be either a single substance or a composition in itself.
In groups B01J 39/00 - B01J 49/00, ion-exchange covers all processes whereby ions are exchanged between the solid exchanger and the liquid to be treated and wherein the exchanger is not soluble in the liquid to be treated. Ion-exchange processes also cover ion-exchange in combination with complex or chelate forming reactions.
In groups B01J 39/00 - B01J 49/00, the last place priority rule is applied, i.e. at each hierarchical level, in the absence of an indication to the contrary, classification is made in the last appropriate place.
The most important aspect of groups B01J 3/00 - B01J 12/00 and groups B01J 14/00 - B01J 19/00 (except group B01J 19/0046) is the fact that they cover general chemical and/or physical processes or apparatus used in chemistry and/or physico-chemistry, mainly on industrial scale, except microreactors group B01J 19/0093. B01J 19/0093 focuses on the devices, which are reactors (technical characteristics thereof, as well as equipment in cooperation therewith). In this context, devices for specific applications are normally (unless some agreements are provided between technical fields) to be classified in these more specific application fields, especially where these fields foresee groups for devices (for example devices for combustion, pyrolysis, gasification, manufacturing of semi-conductors) and not in groups B01J 3/00 - B01J 19/00. Consequently, processes or apparatus for specific applications should be at a first stage classified in the relevant specific classes for these processes or apparatus. If specific aspects of these processes or apparatus could be generalized and could then be of interest for search purposes, B01J groups can also be used at a second stage for classification of these processes or apparatus.
Thus, specific technical fields should not be mixed with subclass B01J, unless agreements exist between fields (e.g. hydrogen production).
Whole documents should be classified, not only the claims of a patent, but also the content of the description and of the drawings.
Orthogonal indexing codes B01J 2203/00, B01J 2208/00 and B01J 2219/00 are used to classify additional information not covered by the main trunk. In some cases, orthogonal indexing codes are mainly used as subdivisions of a specific group (for example the microreactors or the plate-type reactors), whereas in other cases the orthogonal indexing codes are used for several groups (typical example are the orthogonal indexing codes relating to heat exchange aspects).
A material is classified as catalyst when:
- the application states that it is useful as catalyst (or catalyst support), and
- when details regarding its composition, properties, preparation or regeneration are disclosed.
Aspects of the catalyst to be classified:
- if applicable: protection of catalysts (group B01J 33/00);
- physical-chemical properties of the catalyst (group B01J 35/00);
- preparation of the catalyst (group B01J 37/00);
- regeneration of the catalyst (groups B01J 38/00, B01J 21/20, B01J 23/90, B01J 25/04, and B01J 27/28, B01J 29/90);
Catalysts comprising organic compounds, metal hydrides, organometallic compounds and coordination complexes are classified in group B01J 31/00.
Pure compounds or elements are classified in the appropriate subclass for chemical compounds or elements.
However, when it is explicitly stated or claimed that the pure compound, element or zeolite in a particular form is especially useful as a catalyst, it is additionally classified in groups B01J 21/00 - B01J 29/90 or B01J 33/00 - B01J 35/00.
Which parts of the application/patent to classify for catalysts:
Each specifically disclosed embodiment, in particular each example, giving details regarding composition, properties, preparation or regeneration of the catalyst (or catalyst support) is classified, even if the application/patent does not claim a catalyst per se. In case of claims relating to a catalyst, if classification of the examples only does not suitably reflect the subject matter of the claims, additional, general groups are given to cover the scope of the catalyst claims.
"Last place rule":
In each set of groups B01J 21/00 - B01J 33/00, in the absence of an indication to the contrary, classification is made in the last appropriate place ("last place rule").
The last place rule for classifying the composition of the catalyst is:
Does catalyst contain any organic compounds, metal hydrides, organometallic compounds or coordination complexes? If yes, use group in right column. If no, continue down. | |
Any molecular sieves (e.g. zeolites) present? If yes, use group in right column. If no, continue down. | |
S, Te, Se, P or nitrogen present or are halogens present? (Excluding activators). If yes, use group in right column. If no, continue down. | |
Are any Raney catalysts present? If yes, use group in right column. If no, continue down. | |
Are components other than Mg, B, Al, C, Si, Ti, Zr or Hf present? If yes, use group in right column. If no, continue down. | |
If all of the above answers are no, then use the group in the right column. |
The last place rule within B01J 23/00 is:
Is an iron group metal or is copper in combination with a noble metal present? If yes, use group in right column. If no, continue down. | |
Is an iron group metal or copper present? If yes, use groups in right column. If no, continue down. | |
Is there a noble metal in combination with a metal of groups B01J 23/02 - B01J 23/36? If yes, use groups in right column. If no, continue down. | |
If all of the above answers are no, then use the groups in the right column. |
Example: MoVSbOx is classified in group B01J 23/28 as molybdenum is the last group.
Example: MoVSbFeOx is classified in group B01J 23/8877 as iron combined with molybdenum, further containing vanadium is the last group.
In addition to the appropriate symbol according to the "last place rule", mixed oxides are classified in group B01J 23/002, spinels are classified in groups B01J 23/005 or B01J 25/00 and mixed salts (e.g. hydrotalcite) are classified in group B01J 23/007.
In addition, mixed oxides (including spinels) containing three or more elements other than oxygen, are classified using C-Sets. This C-Sets classification only applies to the specific mixed oxides of the working examples.
Catalysts composed of separately prepared, distinguishable parts having different compositions are classified in group B01J 35/19. The appropriate group for the catalyst composition as a whole is given. In addition, each part is classified as a separate catalyst. Exception: Mixtures of molecular sieves are classified in groups B01J 29/005 or B01J 29/80 and the individual constituents of these mixtures are classified with symbols chosen from groups B01J 29/03 - B01J 29/046 as additional information.
Example: Admixture of zeolite ZSM-5 and Pt/Al2O3; is classified in groups B01J 35/19, B01J 29/44, B01J 29/40 and B01J 23/42.
Example: Zeolite ZSM-5 shaped with Al2O3 as matrix, and then impregnated with Pt is classified in groups B01J 29/44 and B01J 2229/20.
Example: Zeolite ZSM-5 mixed with Pt-impregnated Zeolite Y, is classified in groups B01J 29/80, B01J 29/40, B01J 29/126 and B01J 2229/18.
How to classify supported catalysts:
The carrier is normally not classified, unless the inventive idea is linked to the nature of the support. In this case, the support per se is also classified, usually in group B01J 21/00, if appropriate. A symbol is given as additional information.
Metal catalysts or metal oxide catalysts activated or conditioned by halogens, sulfur or phosphorus, or compounds thereof are classified in the appropriate groups for metal or metal oxide catalysts (group B01J 23/00) and in the groups relevant for activation or conditioning (group B01J 37/00).
Heteropolyacids are classified in group B01J 27/188 and subgroups.
If metals are introduced into the framework of the molecular sieve already in the synthesis stage, then classification is done in groups B01J 29/86 - B01J 29/89 and B01J 29/046 - B01J 29/048.
Combination sets (C-Sets) classification:
In this subclass, C-Sets classification is applied to the following groups, listed in the table below, if the document discloses a pertinent combination of technical features that cannot be covered by the allocation of a single symbol. The fourth column of the table indicates the place where the detailed information about the C-Sets construction and the associated syntax rules can be found, in the definition section "Special rules of classification".
C-SETS ID | BASE SYMBOLS | SUBSEQUENT SYMBOLS | C-SETS FORMULA; LOCATION OF C-SETS RULES |
#B1Ja | (B01J 23/002, B01J 2523/00 - B01J 2523/847); catalyst comprising mixed oxides; see B01J 23/002 | ||
#B1Jb | (B01J 39/00 - B01J 49/90, B01J 39/00 - B01J 49/90); compositions, apparatus or processes having at least two types of ion exchangers; see B01J 39/00 |
The specific C-Sets rule is located at only one place of the base symbol in the section "Special rules of classification" in the definition. If the C-Sets rule is applicable to all groups of a subclass, it is located at the subclass level only. If the same C-Sets rule is applicable to multiple groups or subgroups within the same subclass, the C-Sets rule is placed at the highest group or subgroup of the multiple groups.
In this place, the following terms or expressions are used with the meaning indicated:
catalyst | any substance that increases the rate of a reaction without itself being consumed. Catalysts are commonly used in their pure form or in combination with suitable carriers. It covers also a carrier forming part of the catalyst. |
chromatography | a process in which a fluid is caused to flow along a linear path comprising a sorbent, with which the fluid competes in affinity for a constituent of the fluid. The constituent is sorbed from the moving fluid by the relatively immobile sorbent and re-dissolved by a later passing portion of the fluid until an equilibrium of the sorbing-dissolving step is set up causing the constituent to concentrate in a specific volume of the sorbent and to move along the path of the fluid at a rate slower than such fluid. |
fluidised particle | finely divided solid particle lifted and agitated by a stream of fluid |
fluidised-bed | fluidised-solid contacting technique in which finely divided particles are lifted and agitated by a rising stream of fluid |
molecular sieve | material (e.g. zeolitic, mesoporous) having cavities and channels which by their size allow some molecules to pass through, but prevent others |
solid particle | particle whether catalysts, reactant or inert in solid, semi-solid or pasty state |
sorbent | a material which separates a constituent from a fluid mixture containing such constituent by sorption. The action in most instances is that of selective retention (i.e. the sorbent removes only the part of the fluid mixture for which it has the greatest affinity). |
zeolites | crystalline aluminosilicates with base-exchange and molecular sieve properties, having three-dimensional, microporous lattice framework structure of tetrahedral oxide units; compounds isomorphous to those of the former category, wherein the aluminium or silicon atoms in the framework are partly or wholly replaced by atoms of other elements, e.g. by gallium, germanium, phosphorus or boron |
In patent documents, the following words/expressions are often used as synonyms:
- "Raney catalyst", "sponge-metal catalyst" and "skeletal catalyst"
This place covers:
Processes or devices for granulation/agglomeration, which are applicable to (more than one) different fields of application, such as food, cosmetics, pharmaceuticals, fertilisers or for which no specific application is indicated.
Examples of places where the subject matter of this place is covered when specially adapted, used for a particular purpose, or incorporated in a larger system:
Granulating metals | |
Making granules from plastics or from substances in a plastic state | |
Processes for granulating fertilisers characterised by their chemical composition | |
Chemical aspects of granulating macromolecular substances | |
Granulating slag | |
Granulating ores or scrap |
Attention is drawn to the following places, which may be of interest for search:
Processes for preparing catalysts by granulating | |
Agglomerating or granulating milk powder | |
Preparing unshaped finely divided cereal products, e.g. flour | |
Devices or methods adapted for bringing pharmaceutical products into a particular form | |
Medical preparations in particulate form | |
Medical preparations in form of granules or agglomerates | |
Medical preparations obtained by tabletting processes | |
Crushing, pulverising or disintegrating solids | |
Granulating metals | |
Working of plastics or substances in a plastic state to make granules | |
Granulation of ammonium nitrate fertilisers | |
Granulation of nitrogenous fertilisers containing calcium or other cyanamides | |
Post-treatment of fertilisers containing urea or urea compounds | |
Granulation of fertiliser compounds | |
Chemical aspects of powdering or granulating of macromolecular substances | |
Granulating slag | |
Granulating ores or scrap | |
Production of ice |
Concepts teaching general principals of granulation / agglomeration which can be applied in different fields of application, e.g. food, pharmaceutics, fertilisers, are classified in B01J 2/00.
If a specific granulation concept is mentioned in a document without further details, an Indexing Code chosen from B01J 2/00 may be allocated.
Microencapsulation is classified in B01J 13/00
This place does not cover:
Preventing granules sticking together |
Attention is drawn to the following places, which may be of interest for search:
Processes for preparing solid sorbent compositions by impregnating or coating | |
Processes for preparing catalysts by impregnation of coating | |
Processes and devices for covering fertilisers |
This place does not cover:
Preventing granules sticking together | |
Making microcapsules |
Attention is drawn to the following places, which may be of interest for search:
Processes for preparing solid sorbent compositions by impregnating or coating | |
Processes for preparing catalysts by impregnation of coating | |
Processes and devices for covering fertilisers |
Spraying or apparatus, nozzles: B05B
Attention is drawn to the following places, which may be of interest for search:
Nozzle type reactors | |
Processes for preparing catalysts by drying a slurry, e.g. spray drying | |
Evaporating by spraying | |
Evaporation by spraying to obtain dry solids | |
Drying solid materials by convection in the form of a spray |
Spraying or apparatus, nozzles: B05B
This place does not cover:
If combined with suspending the material in a gas, e.g. fluidised beds |
Attention is drawn to the following places, which may be of interest for search:
Nozzle type reactors | |
Processes for preparing catalysts by drying a slurry, e.g. spray drying | |
Evaporation by spraying to obtain dry solids | |
Drying solid materials by convection in the form of a spray |
Attention is drawn to the following places, which may be of interest for search:
Stationary reactors having moving elements inside |
Attention is drawn to the following places, which may be of interest for search:
Moving reactors, e.g. rotary drums |
Attention is drawn to the following places, which may be of interest for search:
Application of shock-waves for chemical reactions or for modifying the crystal structure of substances | |
General processes employing sonic or ultrasonic vibrations |
Processes for granulating materials in general using a pressure or shock waves will be classified in B01J 2/18, B01J 19/10 and B01J 3/08
Attention is drawn to the following places, which may be of interest for search:
Stationary reactors having moving elements inside in the form of endless belts |
This place does not cover:
Pressure vessels for containing or storing compressed, liquefied or solidified gases |
Examples of places where the subject matter of this place is covered when specially adapted, used for a particular purpose, or incorporated in a larger system:
Attention is drawn to the following places, which may be of interest for search:
Pressure vessels or autoclaves for sterilization | |
Pressure vessels or autoclaves for laboratory purposes | |
Coating metallic material | |
Making single crystals | |
Pressure vessels in general |
B01J 3/062: Indexing Code B01J 2203/0605, B01J 2203/065 and B01J 2203/0675 are used as a subdivision of this sub-group.
This place covers:
Apparatus moving the material into or out the chemically or physically processor
This place does not cover:
Feed or outlet devices for pressure vessels | |
Feeding of particles into and evacuation of particles out of the reactor |
This group covers the feeding devices of the reactors which are classified in B01J 19/00. A feeding device for feeding reactive fluids in a reactor classified in B01J 8/00 should not be classified in B01J 4/00 but only in B01J 8/00.
If the feeding device comprises a nozzle element, it should be classified in B01J 4/002. B01J 19/26 should be used if the reaction takes place in the nozzle device (the nozzle device is not only used for feeding purposes but also for reacting purposes).
This place covers:
Thermal treatment processes in the presence of air, fired in a kiln, or thermochemical decomposition at elevated temperatures in the absence of oxygen
This place does not cover:
Pyrolysis | |
Furnaces |
This place does not cover:
Feeding of particles into and evacuation of particles out of the reactor | |
Production of inert gas mixtures | |
For generating gases in air bags on vehicles | |
For generating specific gases, see the relevant subclasses | |
For starter gas | |
Blasting cartridges for producing gas under pressure |
This place covers:
The condition for classifying a document in B01J 8/00 is that solid particles, especially catalytic particles, should be always present, at the beginning of the reaction. If a process leads to the formation of some solid particles (e. g. polymerization process), and no solid particles were present at the beginning of the process, the document should not be classified in B01J 8/00. Furthermore the feature "solid particles" does not apply only to small (catalytic or non-catalytic) particles, but also to random packing elements (e. g. Raschig rings). Random packings as such should be classified in B01J 19/30 and additionally in B01J 8/00 if an apparatus which contains these random packings is disclosed.
For the specific case of a plate-type reactor with catalytic particles between the plates, B01J 19/249 and the Indexing Code-code B01J 2219/2481 take preference.
For the specific case of a monolithic reactor with catalytic particles in the monolithic channels, B01J 19/2485 and the Indexing Code-code B01J 2219/243 take preference.
If a catalyst is present but not in granular form, appropriate classes are B01J 10/007, B01J 12/007, B01J 14/005, B01J 15/005, B01J 16/005.
Examples of places where the subject matter of this place is covered when specially adapted, used for a particular purpose, or incorporated in a larger system:
Furnaces conducted in the presence of fluids and solid particles |
Attention is drawn to the following places, which may be of interest for search:
Processes or devices for granulating material | |
Absorption | |
Adsorption | |
Loading and unloading vessels in general | |
Heat exchange apparatus |
For classification in B01J 8/00, a large group of Indexing Code-codes B01J 2208/00 has been created; these Indexing Code-codes are very important for search purposes and should be used extensively for classifying additional information.
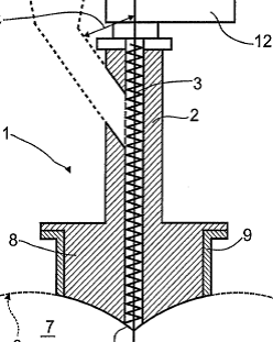
B01J 8/002: a moving instrument is used for feeding or evacuating the solid particles; in B01J 8/0045 a rotary device is located in the flow channel used for introducing or evacuating the solid particles.
Moving can be also a rotary movement. If there is also a flow channel, then it's classified in B01J 8/002.
Example for B01J 8/002: reference 6 (rotating blades) Example for B01J 8/0045:


B01J 8/0292: this subgroup should be used if some stationary packing material is embedded in a bed of some other solid particles (mixture of packing elements and other solid particles).
B01J 8/18: in this subgroup "fluidized particles" means that the particles are completely fluidized and a bed is not visible; each particle can move upwardly and downwardly independently from the movement of the other particles. It means that the speed of the fluidizing gas is higher than in case of a fluidized bed.
B01J 8/1854: for a polymerization process carried out in a tubular loop-type reactor, B01J 19/1837 or B01J 19/2435 should be used instead of B01J 8/1854 if no solid particles are present at the beginning of the reaction.
B01J 8/24: in this subgroup "fluidized bed" means that the particles are fluidized but a compact bed is still visible. The speed of the fluidized gas is lower than in the case of fluidized particles.
Examples of places where the subject matter of this place is covered when specially adapted, used for a particular purpose, or incorporated in a larger system:
Combustion apparatus in which combustion takes place in a fluidised bed |
This place covers:
Chemical processes in general for reacting liquid with gaseous media other than in the presence of solid particles, or apparatus specially adapted therefore (B01J 19/08 takes precedence).
This place does not cover:
Separation, e.g. distillation, evaporation |
B01J 10/00 Subgroups should be used for classification of process features. Apparatus features should be classified in the B01J 19/00 Subgroups.
B01J 10/02: for apparatus aspects, see B01J 19/1887 or B01J 19/247.
For the specific case of a plate-type reactor with plates coated with a catalytic porous coating, B01J 19/249 and the Indexing Code-codes under B01J 2219/245 take preference.
Microchannels reactors are classified in B01J 19/0093
If an apparatus is disclosed in detail, the corresponding apparatus features should also be classified in the B01J 19/00 Subgroups.
For the specific case of a plate-type reactor with plates coated with a catalytic porous coating, B01J 19/249 and the Indexing Code-codes under B01J 2219/245 take preference.
Gas-gas reactions conducted in the presence of solid particles are classified in B01J 8/00:
This place covers:
Methods for producing colloidal materials or their solutions, e.g. sols, gels, aerosols, aerogels as well as methods for producing microcapsules or microballoons.
Sols containing an elemental metal for medical purposes are classified in A61K.
Sols containing an elemental method for diagnostical purposes are classified in G01N.
Colloid mills are classified in B02C.
Examples of places where the subject matter of this place is covered when specially adapted, used for a particular purpose, or incorporated in a larger system:
Use of substances as emulsifying, wetting, dispersing or foam-producing agents |
Attention is drawn to the following places, which may be of interest for search:
Preventing evaporation or oxidation of non-metallic liquids by applying a floating layer comprising microcapsules | |
Microcapsules comprising biocide, pest repellent, pest attractant, plant growth regulator | |
Microcapsules comprising feed | |
Microcapsules comprising flavouring agent | |
Microcapsules comprising foodstuff, foodstuff additives | |
Absorbent pads, e.g. towels, swabs, tampons comprising microcapsules comprising perfume or medicaments | |
Nanocapsules comprising cosmetic or similar toilet preparations | |
Tablets comprising microcapsules comprising drugs | |
Microcapsules or microballoons for medical preparations | |
Mixture of drugs of which at least one is microencapsulated | |
Microcapsules comprising magnetic carrier material, e.g. ferrite for drug targeting | |
Nanocapsules comprising medicinal preparations | |
Microcapsules comprising living eukaryotic cells | |
Microcapsules or nanocapsules comprising a medicinal preparation chemically bound to a non-active ingredient, e.g. polymer-drug conjugate | |
Microcapsules comprising X-ray contrast reagents | |
Nanocapsules comprising X-ray contrast reagents | |
Microcapsules comprising halogenated organic X-ray contrast reagents | |
Nanocapsules comprising halogenated organic X-ray contrast reagents | |
Microparticles comprising NMR contrast preparation | |
Microcapsules comprising gas as echographic or ultrasound imaging preparation | |
Microcapsules comprising radioactive substance for therapeutic use or testing in vivo | |
Inhalator comprising microcapsules | |
Microcapsules comprising fire-extinguishing compositions | |
Breaking microcapsules to make a message legible in lotto or bingo board games | |
Tickets of lotto or bingo board games, raffle games having a message become legible by breaking microcapsules | |
Moulding polymers or prepolymers comprising microcapsules comprising ingredients | |
Shaped material comprising microcapsules | |
Material comprising microballoon fillers | |
Layered particles essentially comprising metal | |
Filled microcapsules | |
Using pressure to make a masked colour visible characterised by the use of microcapsules | |
Thermography using microcapsules | |
Contact thermal transfer or sublimation process using microcapsules | |
Colloidal silica | |
Use of inorganic microballoons as fillers for mortars, concrete or artificial stone | |
Use of microballoons as fillers for mortars, concrete or artificial stone | |
Use of porous ceramic microballoons in porous mortar, concrete, artificial stone or ceramic ware | |
Microcapsules comprising accelerator in order to inhibit setting of mortar, concrete, artificial stone by mechanical separation of ingredients | |
Working up of compositions comprising microballoons and macromolecular substance to porous or cellular materials | |
Microcapsules comprising dye, dies | |
Materials not porovided elsewhere for aerosols | |
Microcapsules comprising lubricant | |
Microcapsules comprising perfume | |
Microcapsules comprising detergent | |
microcapsules comprising a treating agent for the treatment of fibres, threads, yarns, fabrics, fibrous goods | |
Microcapsules added to pulp | |
microcapsules comprising latent heat storage material | |
Microcapsules as distributed sensing elements for measuring force or stress | |
Liposomes or microcapsules for investigating or analysing materials, immunoassay | |
Labelled liposomes or microcapsules for investigating or analysing materials | |
Microcapsules copiers | |
Photosensitive materials comprising microcapsules | |
Structures with microcapsules in the context of photosensitive materials for diffusion transfer processes | |
Photomechanical, e.g. photolithographic, production of textured or patterned surfaces, e.g; printing surfaces, using microcapsules | |
Labels, tag tickets comprising microcapsules |
The following areas are not included in this group:
- Colloid materials or solutions, microcapsules, microballoons, or other particles per se, without clear indication of the method of preparation.
- Suspensions, dispersions, emulsions that are not colloidal and methods for producing them.
- Methods for producing particles other than those mentioned in the title of the subclass, e.g. matrix-type microparticles.
Methods for producing microcapsules by physical processes where the inventive aspect resides in the apparatus are classified in B01J 13/04 or hierarchically lower groups. Other methods for producing microcapsules by non-chemical processes are classified in B01J 13/02 or hierarchically lower groups.
In this place, the following terms or expressions are used with the meaning indicated:
Colloid | a substance microscopically dispersed evenly throughout another substance. The colloidal system, which may be solid, liquid or gaseous, has a very high stability, i.e. precipitation does not occur under the influence of gravity. |
Microcapsule | a core-shell particle with a stable, non-transient shell |
Microballoon | a gas-filled microcapsule |
Sol | a colloidal system of solid particles in a liquid medium |
Non-Newtonian sol | sol displaying a decreasing viscosity with increasing shear stress |
Gel | a substantially dilute cross-linked system, which exhibits no flow when in the steady-state. A gel has the appearance of a jelly-like material. |
Aerosol | a colloidal system comprising fine solid particles or liquid droplets in a gaseous medium |
Aerogel | a gel in which the liquid component of the gel has been replaced with a gas |
Xerogel | a solid formed from a gel by drying with unhindered shrinkage |
Simple coacervation | phase separation process involving only one type of hydrophilic polymer |
Complex coacervation | phase separation process involving at least two types of hydrophilic polymers |
Interfacial polymerization | polymerization process where the reactants (monomers) meet at an interface where the polymerization reaction occurs and the shell material if formed |
In situ polymerization | polymerization process where all reactants (monomers) are present in the same phase. Also processes comprising an initiator in the other phase are in situ polymerization processes. |
After-treatment of capsule walls by coating | process in which coating of the microcapsule wall results in core-multiple shell particles |
Dispersant | A non-surface active polymer or a surface active substance added to a suspension to improve the separation of particles and to prevent settling or clumping |
Emulsion | Two immiscible liquids mixed with small droplets of one liquid dispersed (separated and distributed throughout the space) in the other liquid |
Foam | Substance that is formed from trapped gas bubbles |
Fog | Collection of liquid water droplets or ice crystals suspended in the air |
Surface active agents(surfactants) | Substance which have the effect of reducing the surface tension of a solvent. These substances also known as wetting agents, contain a combination of polar (hydrophilic) and non-polar (hydrophobic) parts which serve to bind oil and water together. They locate at the phase boundary between the water phase and the organic phase, or if there is no room there, they will congregate together and form micelles. |
HLB | Hydrophilic-lipophilic balance of a surfactant. Measure of the degree to which it is hydrophilic or lipophilic. |
Organosol | Finely divided or colloidal suspension of insoluble material in a suspending organic liquid |
Thixotropic fluid | Fluid which takes a finite time to attain equilibrium viscosity when introduced to a step change in shear rate |
O/W emulsion | Oil-in- water emulsion |
W/O emulsion | Water-in-oil emusion |
W/0/W emulsions | Water-in-oil-in-water multphase emulsions |
In patent documents, the following words/expressions are often used as synonyms:
- "microcapsule", "microballoon", "microsphere", "nanocapsule", "nanoballoon", "nanosphere", "core-shell particle", "microencapsulated agent" and "nanoencapsulated agent"
This place covers:
Chemical processes and apparatus specially adapted for reacting liquids with liquids other than in the presence of solid particles.
Liquid-liquid reactions conducted in the presence of solid particles are classified in B01J 8/00
This place covers:
Chemical processes and apparatus specially adapted for reacting gases with non particulate solids, e.g. sheet material
Reaction of gaseous media with catalytic and inert non-particulate solids, catalytically porous plates is classified in B01J 15/005
This place covers:
Chemical processes and apparatus specially adapted for reacting liquids with non particulate solids, e.g.sheet material
Reaction of liquids with catalytic and inert non-particulate solids, catalytically porous plates is classified in B01J 16/005
This place covers:
Particularly important is the general aspect of the processes and/or apparatus classified in this group. Processes or apparatus for specific applications should be classified in the relevant specific places for these processes or apparatus. An exception of this rule concerns apparatus used for polymerization which should be, in addition to the polymerization subclasses C08F, C08G, also classified in B01J 19/00 Subclasses if specific apparatus features are very relevant.
Membranes, filters, their composition are classified in B01D and C02F if they are used in water treatment. If membrane or filter is used in a general apparatus, it is classified in B01J 19/00 subgroups, e.g. B01J 19/1893, membranes reactors.
Examples of places where the subject matter of this place is covered when specially adapted, used for a particular purpose, or incorporated in a larger system:
Packings, fillings or grids specially adapted for biological treatment of water, waste water or sewage | |
Physical treatment of fibers, threads, yarns, fabrics, feathers or fibrous goods made from such materials | |
Splashing boards or grids specially adapted for trickle coolers |
Attention is drawn to the following places, which may be of interest for search:
Computational chemistry; Chemoinformatics; Computational materials science |
For classification in B01J 19/00, a large group of Indexing Code B01J 2219/00 has been created; these Indexing Code-codes are very important for search purposes and should be used extensively for classifying additional information.
B01J 19/0006: this subgroup is used mainly in cases where the invention concerns the whole control system, except temperature control (see B01J 19/0013). For optimisation processes see B01J 19/0033. Documents classified in B01J 19/0006 should be always circulated to G05B.
B01J 19/004: if documents relate to combinatorial chemistry or array manufacture, these documents should be classified only in B01J 19/0046 and C40B (for arrays as such: C12Q 2537/00).
B01J 19/0053: this subgroup does not cover ozone making devices (see B01J 19/088 or C01B).
B01J 19/008: if cavitation is produced by acoustic waves, B01J 19/10 takes precedence. For mixing by cavitation: B01F.
B01J 19/0086: this subgroup also covers general recrystallisation processes. Specific crystallisation processes are covered by B01D 9/00- B01D 19/00.
B01J 19/0093: documents classified in this subgroup should not be classified in other subgroups, unless it is disclosed that the sizes can be scaled up. Microfluidic devices without any reaction aspect are not covered by this subgroup and should be circulated to B01L. Microdevices for analytic purposes are also not covered by B01J 19/0093 and should be circulated to G01N; micromixers should be circulated to B01F. Microheat-exchangers should be circulated to F28D 9/00 and F28F 3/00.
B01J 19/088: electric discharge ozone generators should not be classified in B01J 19/088 but should be classified in C01B. All other devices for producing ozone, e. g. with plasma production, can be classified in both fields.
B01J 19/123: Fluid treatment with UV should be classified in B01J 19/123 if the nature of the fluid is not specified. For water treatment with UV, C02F takes precedence.
B01J 19/18: stationary reactors having moving elements inside used for the treatment of waste materials (plastic wastes, organic wastes, hazardous or toxic wastes....) should not be classified in B01J 19/18 but should be classified in the more specific fields like A62D 3/00, B09C 1/00 depending on the kind of waste treated.
B01J 19/1837 and B01J 19/2435: for a polymerization process carried out in a tubular loop-type reactor, B01J 8/1854 should be used instead of B01J 19/1837 or of B01J 19/2435 if solid particles (catalyst, polymer particles...) are present at the beginning of the reaction (the reaction is carried out from the beginning in present of solid particles).
B01J 19/30 and B01J 19/32: documents relating to C02F should be classified in B01J 19/30 or B01J 19/32 if the packing aspect, especially geometrical shapes, is relevant (the Indexing Codes B01J 2219/00 should be used).
- Processes with catalytic granular particles are classified in B01J 8/00, unless for a plate-type reactor with catalytic particles between the plates (B01J 19/249 and Indexing Code-code: B01J 2219/2479) or a monolithic reactor with catalytic particles in the monolithic channels (B01J 19/2485 and Indexing Code-code B01J 2219/243).
This place covers:
Methods and devices in general for the purpose of combinatorial chemistry or the making of combinatorial arrays, e.g. biochips. This implies that a synthesis of a library is performed or is meant to be performed with a device.
It is particularly relevant to note that documents classified in this sub-group relate to general aspects of such methods and devices, such as general process steps, or the physical aspects of bio-chips.
Purely chemical or biochemical aspects, analytical aspects, as well as libraries per sé, are NOT covered by this group
Combinatorial libraries as such, and many aspects of combinatorial libraries, including synthesis, screening and identification of library members, relating to methods as well as devices, are not covered by this sub-group, but classified in C07, C12N, C40B.
Microfluidic analysis and PCR devices are classified in B01L.
Sampling and analysis devices per se are classified in G01N.
This place does not cover:
Peptide libraries | |
Nucleaic acid libraries and their screening | C12N 15/1034 and subgroups |
Nucleic acid analysis characterised by the use of probe arrays or probe chips. | |
Methods for sequencing involving nucleic acid arrays, e.g. Sequencing By Hybridisation | |
Combinatorial libraries as such | C40B 40/00 and subgroups |
General methods per se for simultaneous synthesis of five or more different organic compounds |
Examples of places where the subject matter of this place is covered when specially adapted, used for a particular purpose, or incorporated in a larger system:
Immunoassays; Biospecific binding assays.(on solid supports) | G01N 33/53 and sub groups ( G01N53/543 and subgroups) |
Attention is drawn to the following places, which may be of interest for search:
Compounds containing polynucleotide units obtained by (or as intermediates for) chemical engineering | |
Preparation of peptides on supports |
Aspects of methods and devices for combinatorial chemistry classified in B01J 19/0046 are to be classified in the corresponding Indexing Code-codes below B01J 2219/00274
Attention is drawn to the following places, which may be of interest for search:
Refractory details of furnaces |
Attention is drawn to the following places, which may be of interest for search:
Generating or handling plasma |
Examples of places where the subject matter of this place is covered when specially adapted, used for a particular purpose, or incorporated in a larger system:
Degasification of liquids | |
Auxiliary pre-treatment of gases or vapours by sounds or ultrasonics | |
Mixing by means of ultrasonic vibrations | |
Cleaning by sonic or ultrasonic vibrations |
Examples of places where the subject matter of this place is covered when specially adapted, used for a particular purpose, or incorporated in a larger system:
Separation of gases or vapours |
Attention is drawn to the following places, which may be of interest for search:
Apparatus for generating gases | |
Use of inert gas for filling space above liquid or between contents for reducing the vapour space or for reducing the formation of vapours within large containers |
Attention is drawn to the following places, which may be of interest for search:
Thin-film reactors |
Examples of places where the subject matter of this place is covered when specially adapted, used for a particular purpose, or incorporated in a larger system:
Heat treatments such as calcining using rotating drums | |
Rotary-drum furnaces |
Attention is drawn to the following places, which may be of interest for search:
Centrifuges |
This place covers:
Solid inorganic or organic materials and compositions useful as adsorbent, as absorbent, as filter aid, as packing or stationary phase for preparative, analytical or investigative chromatography.
Solid sorbent materials or compositions, filter aid materials or compositions, stationary phases for chromatography, in general, characterised by their form or physical properties.
Solid sorbent materials or compositions, filter aid materials or compositions and stationary phases comprising a carrier.
Processes, in general, for preparing solid sorbents, filter aids and stationary phases for chromatography.
Regenerating or reactivating such materials or compositions, in general.
In this group "solid sorbent or filter aid" includes also materials or compositions in semi-solid, paste or gel state.
Examples of places where the subject matter of this place is covered when specially adapted, used for a particular purpose, or incorporated in a larger system:
Chromatography involving ion exchange | |
Liquid absorbents for use in the separation of gases | |
Ion-exchangers used in processes for treating water |
Attention is drawn to the following places, which may be of interest for search:
Ion exchange materials or ion exchange processes | |
Animal litters. | |
Treatment of milk | |
Removal of unwanted matter from foods or foodstuffs, e.g. deodorisation , detoxification using adsorption or absorption agents, resins, synthetic polymers , or ion exchangers | |
Deodorant compositions containing sorbent material, e.g. activated carbon | |
Super-absorbents or liquid swellable gel forming materials used in absorbent pads. | |
Processes for treating blood in an extra-corporeal blood circuits involving sorbents. | |
Liquid absorbents for solvent extraction processes, i.e. separating processes involving the treatment of liquids with liquid | |
Processes and apparatus involving the treatment of liquids in general with solid sorbents. | |
Processes of filtration by addition of filter aids to the liquid being filtered. | |
Processes involving the treatment or separation of gases with adsorbents. | |
Compounds per se, see the relevant classes | |
Uptaking or getter material for reversible uptake of hydrogen | |
Processes involving the treatment of water with sorbents. | |
Purification of hydrocarbons by adsorption. | |
Separation or purification of peptides by chromatography. | |
Materials used for absorbing liquid pollutants, e.g. oil, gasoline, fat. | |
Processes for refining hydrocarbon oils involving solid sorbents. | |
Working-up used lubricants with the use of sorbents. | |
Clarification materials used in the clarification of alcoholic beverages. | |
Processes for the isolation, preparation or purification of DNA or RNA | |
Purification of sugar juices using sorbents | |
Extraction of metals from ores or concentrates by wet processes. | |
Recovery of noble metals from waste materials from spent catalysts using solid sorbents, e.g. getters or catchment gauzes | |
Gas sorbents in vessels, e.g. for storage. | |
Boiler-absorbers, i.e. boilers usable for absorption or adsorption using a solid as sorbent | |
Drying solid materials or objects by processes not involving the application of heat by contact with sorbent bodies, e.g. adsorbent mould; by admixture with sorbent materials | |
Controlling humidity by using sorbent or hygroscopic materials in arrangements for supplying and controlling air or gases for drying solid materials or objects | |
Preparing specimens for investigating by concentrating samples using adsorption or absorption | |
Investigating or analysing materials by separation into components using adsorption, absorption or similar phenomena or using ion-exchange, e.g. chromatography | |
Treatment of radioactively contaminated liquids using sorbents. | |
CO2 capture by adsorption |
Pure compounds or elements are classified in the appropriate subclass for chemical compounds or elements. When it is explicitly stated that a solid pure inorganic or organic compound or element is useful as a sorbent, filter aid, packing or stationary phase for chromatography, it is further classified in B01J 20/00-B01J 20/3491.
- In groups B01J 20/00-B01J 20/3491, in the absence of an indication to the contrary, classification is made in the last appropriate place.
- In some cases, multiple classification should be applied:
In the case of documents relating to different solid sorbents, filter materials or stationary phases as alternatives or relating to compositions of several of these components, each sorbent or component should be classified in the appropriate place within B01J 20/00-B01J 20/3491.
Use of solid sorbent materials or compositions are also further classified in the corresponding appropriate classes.
- Sorbents specially useful for preparative, analytical or investigative chromatography, e.g. stationary phases, are classified in B01J 20/281-B01J 20/292.
The Indexing Code symbol B01J 2220/54 should also be used when the stationary phase is used for analytical or investigative chromatography.
- B01J 20/30 is used for classifying processes for preparing sorbents. B01J 20/30 should only be used for particular processes wherein the sorbent prepared is irrelevant or not well defined. The preparation process of a well defined sorbent should be classified in the appropriate group corresponding to the sorbent B01J 20/02-B01J 20/292.
- However, sorbents or stationary phases and their preparation involving coating, impregnating, e.g. coating, impregnating by modifying or functionalizing a carrier, should both be classified in B01J 20/32-B01J 20/3297.
- Regeneration or reactivation of sorbents should be classified in B01J 20/34-B01J 20/3491.
Attention is drawn to the following places, which may be of interest for search:
Active carbon |
This place covers:
Catalysts comprising the elements, oxides, or hydroxides of magnesium, boron, aluminium, carbon, silicon, titanium, zirconium, or hafnium
This place does not cover:
Electrocatalysts, electrodes |
See the Special rules of classification of B01J
Attention is drawn to the following places, which may be of interest for search:
Alumina per se |
Attention is drawn to the following places, which may be of interest for search:
Catalysts characterised by their photocatalytic properties | |
Titania per se |
Attention is drawn to the following places, which may be of interest for search:
Zirconia per se |
This place does not cover:
Pillared clays |
Regeneration processes may additionally be classified in B01J 38/00, if details of the regeneration process are disclosed
This place does not cover:
Electrocatalysts, electrodes |
See the Special rules of classification of B01J
Classification of catalysts follows Special rules of classification described in B01J.
Combination sets (C-Sets):
C-Sets statement: #B1Ja
- In group B01J 23/002 the compositions of, mixed oxides containing three or more elements excluding oxygen are classified in the form of C-Sets.
- In #B1Ja, the base symbol, representing the constitutive chemical elements of heterogenous catalysts is B01J 23/002, whereas the subsequent symbols representing the chemical elements are taken from the groups B01J 2523/00 - B01J 2523/847.
C-Sets syntax rules:
- Each of these C-Sets should contain three or more symbols.
- The order of the subsequent B01J 2523/00 - B01J 2523/847 symbols in C-Set is numerical.
- C-Sets classifications based on #B1Ja are allocated as additional information (Add).
C-Sets examples:
- #B1Ja: A catalyst comprising MoaVbTecOx is classified as (B01J 23/002, B01J 2523/55, B01J 2523/64, B01J 2523/68).
- #B1Ja: A catalyst comprising zinc doped manganese-iron spinel mixed oxide comprises ZnxMn0.5Fe2.5-xO4, wherein 0<x≤0.9, is classified as (B01J 23/002, B01J 2523/27, B01J 2523/72, B01J 2523/842).
- #B1Ja: A catalyst comprising a solid support coated with a calcined mixed metal oxide hydrotalcite-like compound, wherein said calcined mixed metal oxide hydrotalcite-like compound is Co6Ce0.8Al1.2O9, is classified as (B01J 23/002, B01J 2523/31, B01J 2523/3712, B01J 2523/845).
Attention is drawn to the following places, which may be of interest for search:
Hydroxy carbonates | |
Hydrotalcite per se |
Hydrotalcites or at least two different metal oxides forming a solid solution obtained as intermediate, later converted to other structures, may be classified by using an orthogonal indexing code.
In patent documents, the following words/expressions are often used as synonyms:
- "hydrotalcite", "anionic clay", "HT" and "HTc"
Attention is drawn to the following places, which may be of interest for search:
Zr-Ce mixed oxides per se |
This place covers:
Catalysts comprising platinum group metals with magnesium.
This place covers:
Catalysts comprising iron group metal or copper with magnesium.
Regeneration processes may additionally be classified in B01J 38/00, if details of the regeneration process are disclosed
Regeneration or reactivation relates to any type of catalyst
Regeneration or reactivation of catalysts comprising metals, oxides or hydroxydes provided in groups B01J 13/02 - B01J 23/36 are classified in B01J 23/92
Regeneration or reactivation of catalysts comprising metals, oxides or hydroxides of the iron group metals or copper are classified in B01J 23/94
Regeneration or reactivation of catalysts comprising metals, oxides or hydroxides of the nobles metals are classified in B01J 23/96
This place covers:
Catalysts of the Raney type, i.e. catalysts prepared by leaching of an alloy to produce porous structure, such as by dissolving aluminium from alloy using a base such as NaOH.
This place does not cover:
Electrocatalysts, electrodes |
See the Special rules of classification of B01J
In patent documents, the following words/expressions are often used as synonyms:
- "Raney catalyst", "sponge-metal catalyst" and "skeletal catalyst"
Regeneration processes may additionally be classified in B01J 38/00, if details of the regeneration process are disclosed
This place does not cover:
Electrocatalysts, electrodes |
Metal catalysts or metal oxide catalysts activated or conditioned by halogens, sulfur or phosphorus, or compounds thereof are classified in the appropriate groups for metal or metal oxide catalysts (B01J 23/00) and in the groups relevant for activation / conditioning (B01J 37/00).
See also special rules of classification in B01J
Heteropolyacids are classified in B01J 27/188 and subgroups, even if no phosphorus is present, in which case the regular class is additionally given (e.g. H4[W12SiO40] is classified in B01J 23/30 and B01J 27/188)
Attention is drawn to the following places, which may be of interest for search:
Mixed salts | |
Hydrotalcite per se |
Hydrotalcites are classified in B01J 23/007
Attention is drawn to the following places, which may be of interest for search:
In patent documents, the following abbreviations are often used:
DMC | Double Metal Cyanide |
This place covers:
Regeneration or reactivation of catalysts comprising elements or compounds of halogens, sulfur, selenium, tellurium, phosphorous, nitrogen or catalysts comprising carbon compounds
Regeneration processes may additionally be classified in B01J 38/00, if details of the regeneration process are disclosed
This place does not cover:
Electrocatalysts, electrodes |
Aspects of molecular sieve catalysts relating to after treatment, such as dealumination, or synthesis on support, are indexed with codes selected from B01J 2229/00
See also special rules of classification in B01J
Attention is drawn to the following places, which may be of interest for search:
Mixtures containing only aluminosilicate zeolites |
Mixtures of containing one or more molecular sieves which are not a (aluminosilicate) zeolite are classified here, and their constituents are classified individually with the corresponding B01J 29/00-Indexing Codes
Attention is drawn to the following places, which may be of interest for search:
Mixtures containing one or more molecular sieves, which are not (aluminosilicate) zeolites |
Mixtures of (aluminosilicate) zeolites are classified here, and their constituents are classified individually with the corresponding B01J 29/00-Indexing Codes
This place covers:
Regeneration or reactivation of catalysts comprising molecular sieves
Regeneration processes may additionally be classified in B01J 38/00, if details of the regeneration process are disclosed
In this place, the following terms or expressions are used with the meaning indicated:
Regeneration, Reactivation | a substance microscopically dispersed evenly throughout another substance. The colloidal system, which may be solid, liquid or gaseous, has a very high stability, i.e. precipitation does not occur under the influence of gravity. |
Microcapsule | a core-shell particle with a stable, non-transient shell |
This place covers:
The meaning of the term "catalyst" within this group encompasses catalyst systems, i.e. additives essential to the catalytic function of such systems are also included in this group, e.g. co-catalysts, specific reagents, solvents or solvent mixtures.
A material is classified as catalyst when the application states that it is useful as catalyst (or catalyst support) and when details regarding its composition, properties, preparation or regeneration are disclosed.
Double metal cyanide [DMC] catalysts are classified in group B01J 27/26.
Compounds per se are classified in subclasses C07C - C07F. This compound classification is also (additionally) applied in cases where multiple possible uses from distinct chemical fields are disclosed in the application, e.g. as catalysts, sorbents or medicinal agents.
Electrocatalysts used in processes or means for the direct conversion of chemical energy into electrical energy are classified in subclass H01M.
Electrocatalysts used in electrolytic or electrophoretic processes for the production of compounds or non-metals and apparatus therefor are classified in subclass C25B.
In contrast to the apparatuses used for the polymerisation processes of subclasses C08F and C08G, the relevant polymerisation catalysts should not be classified in subclass B01J, in particular not in group B01J 31/00, since these, as well as further polymerisation process features are covered in the polymer subclasses of C08.Group B01J 31/00 may however be allocated as additional information to provide further information of potential interest for search purposes.
Multiple classification
The intended use of the catalysts of this group is preferably classified as well, e.g. in a group of subclasses C07B - C07D.
Separately claimed ligands of metal complexes should be classified in a group of subclasses C07C - C07F.
Any part of a catalyst which is not identified by the classification according to the point above, and which is considered to represent information of interest for search, may also be classified with symbols in B01J 31/00 as additional information. This can, for example, be the case when it is considered of interest to enable searching of catalysts using a combination of classification symbols.
Examples of places where the subject matter of this place is covered when specially adapted, used for a particular purpose, or incorporated in a larger system:
Catalytic processes for purification of waste gases | |
Purification of engine exhaust gases by catalytic processes | |
Catalyst compositions used only in polymerisation reactions | |
Metal complexes in liquid carbonaceous fuels | |
Metal complexes as bleach catalysts in detergent compositions | |
Catalytic antibodies | |
Electrocatalysts |
Attention is drawn to the following places, which may be of interest for search:
Catalysts comprising inorganic constituents or molecular sieves | |
Catalysts comprising inorganic carbon compounds | |
Protection of catalysts, e.g. of Raney catalysts | |
Catalysts characterised by their form or physical properties | |
General processes for catalyst preparation or activation, e.g. impregnation, coating, reducing | |
General processes for catalyst regeneration or reactivation | |
Separation of liquids by cation-exchange adsorbents | |
Separation of liquids by anion-exchange adsorbents | |
General methods of organic chemistry | |
C-C cross-coupling reactions | |
Acyclic or alicyclic organic compounds per se, their preparation | |
Hydroformylation (oxo-reaction) | |
Preparation of metal complexes, including MOFs, containing carboxylic acid moieties | |
Heterocyclic organic compounds per se, their preparation | |
Epoxidation (preparation of oxiranes) | |
Organic non-metal and metal compounds per se, including organometallic compounds and complexes, of groups 1-18 of the periodic table | |
Metal-organic frameworks [MOFs] | |
Metal complexes as synthetic dyes |
In this group, in the absence of an indication to the contrary, classification is made in the last appropriate place.
The distinction between "compound" and "coordination complex" is made according to the definitions in the glossary below. In borderline cases (higher hierarchy) ligands of metal complexes can also be classified as compounds per se as additional information, with the complex of lower hierarchy being classified as invention information, or vice versa.
For example, in case of doubt, a probable coordination complex having two oxygen atoms present at least in one of the bidentate or bridging ligands is classified as invention information in group B01J 31/223 and the compound per se (oxygen containing compounds with a metal oxygen link) may be classified as additional information in group B01J 31/0211. This situation may be found in the following case: titanium hydrocarbyl oxide compounds (Ti(OR)4, group B01J 31/0211) vs valence expanded titanate complexes having added anionic ligands, e.g. Cl- or RO- or RC(=O)O- group B01J 31/223, the status of these further compounds present in the reaction mixture being unclear based on limited information in the document to be classified. Therefore, the last place rule is not fully applied for coordination complexes with ligands being classified as invention information and complexes as additional information.
The wording in the application should also be considered. Thus, in absence of exact identification of substances by name, formula or registry number, if reference is made exclusively to "complexes" and this designation appears correct on the basis of probability, the catalyst in question should be classified as coordination complex.
In this group, if two or more aspects are of equal importance, these are each classified, e.g. two components in a catalyst system such as:
- support and pendant or otherwise immobilised coordination complex;
- MOF and all linking ligands;
- coordination complex and essential additive; or
- coordination complex and further catalytically active metal components, e.g. nanoparticles.
However, if two components, even if separately added, are described as forming, or known to form, a coordination complex, only the latter is classified, e.g. phosphine and Group 8-10 metal such as rhodium. The groups B01J 31/26 - B01J 31/38 are not to be used for the central metals in coordination complexes, but rather for separately added further inorganic ingredients.
Likewise, the catalyst (system) and its regeneration method (see groups B01J 31/40), if defined in sufficient detail, would both be classified.
The further catalyst groups of subclass B01J, i.e. B01J 21/00 - B01J 38/00, can be used to classify such further aspects of materials and processes to be used, if not provided in sufficient detail in group B01J 31/00, e.g. when a specially prepared inorganic support or a support with specific physical parameters or a special form is concerned. Further guidance in this respect is given in the classification rules for groups B01J 21/00 - B01J 29/00 and B01J 33/00 - B01J 38/00.
Each specifically disclosed alternative is separately classified, i.e. specifically disclosed by way of worked examples, specific claims and/or explicit alternatives therein. This applies even if the application does not claim a catalyst per se.
In the case of compounds of this group, and in analogy to the guidance given in subclass C07C (cf. respective classification rules), this means either real examples of claimed compounds, i.e. those which are prepared or for which physical data, preparation or regeneration details are given, and compounds which are individually named or drawn in the claims.
Conversely long lists ("shopping lists") of prophetic compounds which fall within the scope of the claims but which have not actually been prepared and characterised or at least individually claimed are not classified. Neither are individual compounds generated only via Markush enumerations of generic formulae classified.
All examples are classified individually. Even if classification of the "fully identified" compounds would lead to the assignment of a large number of subgroups, no generalisation to the next hierarchically higher level is made. However, in case the claims relate to a catalyst and if classification of the examples only does not suitably reflect the subject-matter of the claims, additional, general groups are assigned to cover the scope of the catalyst claims.
When classifying in group B01J 31/00, additional information for the catalysts is provided as follows:
- the specifically disclosed intended uses are indexed in B01J 2231/00;
- general aspects of the complexes of group B01J 31/16, e.g. polynuclearity, ligand type, metal bonding mode(s) and the specifically disclosed central metal(s) therein, as well as additional information regarding any special solvents used for any catalyst system of this group are indexed in B01J 2531/00;
- if expedient further compositional aspects of such complexes, e.g. non-coordinating substituents on the ligand described as essential and explicitly mentioned in the claims or the worked examples, are indexed in B01J 2540/00; and
- conceptual articles, e.g. reviews, are separately indexed in B01J 2231/005 and B01J 2531/001.
Example:
A metal-organic framework would be classified in group B01J 31/1691, the principal ligands, e.g. dicarboxylate, bipyridine, pyrazine, or 1,4-diazabicyclo[2.2.2]octane [DABCO] would furthermore be classified with the appropriate groups from B01J 31/00, e.g. B01J 31/2239 for dicarboxylate linkers.
The orthogonal indexing codes B01J 2531/0205 - B01J 2531/0222, would then be used to define the respective catalyst (component) further according to the respective SBU comprising the metal, e.g.:
- tetrahedral [Zn4O] in MOF-5 and the IRMOF series => term is classified in B01J 2531/0216 since a bi- or polynuclear complex, without metal-carbon bonds, is involved;
- paddle-wheel [Cu2(O2CR)4], comprising a Cu-Cu bond, present in typical copper-based MOFs, e.g. [Cu2(1,4-bdc)2](4,4'-bipy) => term is classified in B01J 2531/0219, since a bimetallic complex, without metal-carbon bonds, is involved.
In this place, the following terms or expressions are used with the meaning indicated:
bimetallic complex | a discrete coordination complex comprising one or more units of two metals, same or different, with metal-metal bonds but no all-metal (M)n rings, e.g. Cr2(OAc)4, [(Mo2)4(MeOPhNCNPhOMe)8(Ph(COO)2)4], [Ph2P-X-PPh2]Pt(Cl)SnCl3, [Cp(CO)2Mn=]2Pb |
bi- or polynuclear complex | a coordination complex comprising two or more same or different metal atoms, without M-M bonds; e.g. Cp(Lx)Zr-imidazole-Zr(Lx)Cp, [R2PCp-Fe-CpPR2]Rh(L)n, [(salen)Co(III)]SbF6, Co(II)(salen)Fe(II)Cl2 |
carbenes (carbyne) | a metal coordination complex comprising a formally divalent (trivalent) ligand with a neutral carbon atom bonded to the metal via two (three) unshared electrons, i.e. a formal derivative of the hypothetical ligand CR2 (CR); the electrons may be paired or not |
catalyst | covers also a carrier forming part of the catalyst, specific additives and co-catalysts |
coordination complexes | all donor-acceptor compounds or complex ions comprising organic or inorganic, anionic or neutral Lewis basic ligands, attached to a Lewis acid central metal or metal ion through one or several complexing donor atoms with at least one lone-pair of electrons, e.g. N, O, S, P, to provide at least a sigma-bond; typically the maximum number of same or different ligands according to the coordination number, spatial requirements of the ligand and electronic configuration of the metal is bound in a predictable geometry; complexes of neutral, cationic or anionic hydrocarbon ligands with delocalised charge and/or bonding site, e.g. Pd-olefin complexes or metallocenes, are also included |
ionic liquid | an organic salt in the liquid state at the reaction temperature employed, e.g. less than or equal to 100°C or less than or equal to 20°C ("room-temperature ionic liquid") |
metal cluster | a coordination complex with 3 to about 1000 same or different metal atoms and further comprising M-M bonds to provide (M)n rings, i.e. size range from atomic to colloid dimensions; e.g. Rhx(CO)y, [R3P=N=PR3]+[Ru3lr(CO)13]-, [Rh3(DIPAMP)3(μ3-OMe)2]BF4, Pt4(OAc)8, "Pd(OAc)2" = Pd3(OAc)6 |
metal-organic framework | crystalline compounds consisting of metal ions or clusters coordinated to often rigid organic molecules as linkers to form one-, two-, or three-dimensional structures; the linkers are often dicarboxylates, the metals often Zn, Cu, Fe or Al |
N-Heterocyclic carbene | a saturated or unsaturated heterocyclic compound comprising a neutral carbon atom with a lone electron pair (in the typical case of singlet or "nucleophilic" carbenes) adjacent to at least one nitrogen atom |
oligomer | compound with more than two identical repeating units connected to one another and typically 500 less than M less than 10000 g/mol; grouped with the respective polymers |
organic complexes | all coordination complexes comprising organic ligands |
organic compound | a compound in which carbon is bonded to - a second carbon; - at least one atom of hydrogen or halogen; or - nitrogen by a single or double bond; except cyanic acid (HOCN), cyanogen (NCCN), cyanamide (H2NCN), cyanogen halide (HalCN), hydrocyanic acid (HCN), isocyanic acid (HNCO), fulminic acid (HCNO) and metal carbides (MCCM) |
organic ligand | a carbon-containing ligand bonded to a central metal in which said carbon is bonded to - a second carbon;- at least one atom of hydrogen or halogen; or - nitrogen by a single or double bond; except cyanic acid (HO-C≡N), cyanogen (N≡C-C≡N), cyanamide (H2N-C≡N), cyanogen halide (Hal-C≡N), hydrocyanic acid (HC≡N), isocyanic acid (HN=C=O), fulminic acid (HC≡N-O), carbides (C≡C) and the respective anionic ligands derived by deprotonation (O-C≡N, N=C=N, C≡N, N=C=O, C≡N-O) |
organometallic complexes | all coordination complexes comprising a M-C bond, e.g. metal carbonyls; also includes complexes which are not strictly organometallic per se, e.g. comprising only N, O, S and/or P coordinated ligands, but are described as involving, or known to involve, organometallic intermediates and/or transition states during use, e.g. Group 8-10 metal complexes for a variety of catalytic reactions or steps thereof, such as oxidative addition, e.g. hydrogenation, carbonylation or epoxidation |
organometallic compound | all organic compound wherein a metal or metalloid atom is bonded directly to a carbon fragment, the latter being formally anionic, no further neutral ligands being coordinated to the metal and the compound requiring no further cations for charge balance; e.g. M(CR3)n with M=main group metal, n=valency of metal and R=H or hydrocarbyl |
polymer | a macromolecular substance (typically M>10000 g/mol) comprising repeating units made up of one or several kinds of atoms or groups of atoms, which are identically connected to one another |
In patent documents, the following abbreviations are often used:
(RT)IL | (room-temperature) ionic liquid |
MOF | metal-organic framework |
Acac | acetylacetonate |
NHC | N-heterocylic carbene |
Cp | cyclopentadienyl |
Cp* | pentamethyl cyclopentadienyl |
In patent documents, the following words/expressions are often used as synonyms:
- phosphanes and phosphines
- N-heterocyclic carbene and any member of the family of 1,3-dihydrocarbylimidazoline-2-ylidenes or its saturated imidazolidine analogue.
This place covers:
B01J 31/02 - B01J 31/0274: Catalysts comprising simple organic compounds as components of a catalyst system (e.g. solvent or additive) or catalysts per se (e.g. sulfonic acids), which can contain the heteroatoms (i.e. elements other than carbon or hydrogen) defined in B01J 31/0201 - B01J 31/0255 or other heteroatoms (B01J 31/0272), with the exception of metal atoms as heteroatoms (see B01J 31/12).
B01J 31/0277 - B01J 31/0298: Catalysts comprising ionic liquids, as components in catalyst systems or catalysts per se, the ionic liquid compounds being used in the molten state at the respective reaction temperature. Compounds likewise being organic onium salts but only used in the solid or dissolved state in multiphase mixtures (e.g. phase-transfer catalysts) and/or with melting points at temperatures above those normally used in organic synthesis (i.e. > 200 °C) would not be classified here but rather in the catalyst compound subgroups of B01J 31/02 - B01J 31/0274.
B01J 31/04: Catalysts comprising carboxylic acids or their salts, with the exception of multi-metal carboxylate complexes like "Pd(II)acetate", i.e. Pd3(OAc)6 or "Cr(II)acetate", i.e. Cr2(OAc)4 and ionic liquids with carboxylate counter-anions (see B01J 31/0277).
B01J 31/06 - B01J 31/10: Catalysts comprising polymers and/or oligomers without metal-carbon bonds, including (sulfonated) ion-exchange resins.
B01J 31/12 - B01J 31/146: Catalysts comprising organometallic compounds, including organometallic polymers and metal hydrides.
This place does not cover:
Catalysts comprising coordination complexes | |
Multi-metal carboxylate complexes with bridging ligands |
B01J 31/02 - B01J 31/0274: The last place rule is applied for the catalysts of this subgroup. It is applied in the following manner when two or more different heteroatoms or functional groups are present in one compound:
- The heteroatom furthest down in the scheme is classified first by choosing an appropriate functional group, or the generic element subgroup, i.e. B01J 31/0215, B01J 31/0234, B01J 31/0235, B01J 31/0255, B01J 31/0272 if none is available.
- Next the respective subgroup, within the subgroups of the chosen element/functional group, designating further heteroatoms/functional groups is allocated (B01J 31/0229, B01J 31/0232, B01J 31/0271 or B01J 31/0275), should heteroatoms outside of the scope of the chosen functional group remain (e.g. subgroups B01J 31/0222 and B01J 31/0225 cover certain S-O combinations, likewise B01J 31/0245). In the case of halogen being the heteroatom furthest down in the scheme, only this group is allocated (i.e. not both B01J 31/0231 and B01J 31/0232), unless perfluorinated sulfonyl or sulfonic acid functional groups are concerned (=> groups B01J 31/0224, B01J 31/0227).
- Next the appropriate functional group or the generic element subgroup for the second heteroatom is allocated.
- If further heteroatoms or functional groups are present, the preceding step is repeated as often as needed, i.e. only the groups corresponding to the further functional groups/elements are added.
Additional indexing is provided for by codes B01J 2531/90 - B01J 2531/985 for special (essential) solvent (systems), e.g. supercritical solvent (mixtures), fluorinated or aqueous solvents, as well as for solvent systems used in phase-transfer catalysis. Catalysts designated as phase transfer catalysts are hence additionally indexed under B01J 2531/98 or B01J 2531/985.
B01J 31/0277 - B01J 31/0298: The last place rule is applied in the same way as for B01J 31/02 - B01J 31/0274, however starting from the appropriate cationic centre (cf. B01J 31/0278 - B01J 31/0289). Thus the symbols from B01J 31/02 - B01J 31/0274 are also used to classify multifunctional "task specific" ionic liquids. As in the case of B01J 31/02 - B01J 31/0274, the designation of further heteroatoms/functional groups is allocated only once, i.e. by way of B01J 31/0285 or B01J 31/0291. Additional subgroups should be allocated in case of a single, or at most very limited selection of, claimed counter-ions (i.e. not when "shopping lists" of explicit ions are claimed): B01J 31/0298, or when (special) supports are disclosed or claimed: B01J 31/0292 - B01J 31/0297.
B01J 31/04: If deemed expedient, carboxylate complexes to be classified in B01J 31/2226 and subgroups can additionally receive an Indexing Code symbol B01J 31/04 as additional, search relevant information.
In this place, the following terms or expressions are used with the meaning indicated:
Organic compound | a compound in which carbon is bonded to - a second carbon;- at least one atom of hydrogen or halogen; or - nitrogen by a single or double bond;except cyanic acid (HOCN), cyanogen (NCCN), cyanamide (H2NCN), cyanogen halide (HalCN), hydrocyanic acid (HCN), isocyanic acid (HNCO), fulminic acid (HCNO) and metal carbides (MCCM). |
Metal amide | M+[NR2]- |
Metal guanidide | M+[RNC(NR2)NR]- and isomers |
Onium salt | salts of cations derived by the protonation of mononuclear parent hydrides of a pnictogen (Grp. 15), chalcogen (Grp. 16), or halogen (Grp. 17), their hydrogen substitution derivatives R, typ. organic radicals or halogens, e.g. tetramethylammonium, and further derivatives having polyvalent additions, e.g. iminium, nitrilium. |
Ionic liquid | an organic, typ. onium salt in the liquid state at the reaction temperature employed, e.g. ≤ 100 °C or ≤ 20 °C ("room-temperature ionic liquid") |
In patent documents, the following abbreviations are often used:
EO | ethylene oxide, oxirane |
PO, PPO | propylene oxide, methyl oxirane |
OTf | triflate, trifluoromethanesulfonate |
OMs | mesylate, methanesulfonate |
TBAB | tetrabutylammonium bromide |
(RT)IL | (room-temperature) ionic liquid |
Bmim | ionic liquids: 1,3-butyl- methylimidazolium cation |
Emim | ionic liquids: 1,3-ethyl- methylimidazolium cation |
NTf2 | ionic liquids: bistriflimide anion |
HMDS | hexamethyldisilazane, Me3Si-NH-SiMe3 |
In patent documents, the following words/expressions are often used as synonyms:
- "metal esters", "metal alkoxides" and "metal ethers"
This place covers:
Catalysts containing polymers and/or oligomers without metal-carbon bonds, including (sulfonated) ion-exchange resins.
In contrast to the "oligomer" definition in C07C (up to 10 repeating units), the definition used in this group is more than two repeating units and a molecular weight of between about 500 and 10 000 g/mol. Furthermore, in this group oligomers are grouped with the respective polymers, whereas in C07C they are grouped with low-molecular weight compounds.
This place does not cover:
(Sulfonated) Ion-exchange resins | |
Organometallic polymers | |
Polymer-bound organometallic complexes | |
Coordination polymers |
Attention is drawn to the following places, which may be of interest for search:
Ion-exchange resins in ion-exchange per se | |
Polymers, polymerisation catalysts |
In this subgroup, oligomers are grouped with the respective polymers, i.e. with the polymers constituted of the same monomers.
Example:
An alkoxylation catalyst of the following preferred structure,
![]()
and the definition:
"wherein t is from 1 to 15, preferably from 1 to 10, more preferably from 1 to 7. Particularly preferred ethoxylated/propoxylated species coming within Formula IV which are useful in the present invention are those wherein R1 contains from 8 to 14 carbon atoms, p is from 2 to 6 and t is from 1 to 3, most preferably from 1 to 1.5"
would overlap with the oligomer range (see Glossary), since MW of cat B = 536 (with R1 = C14 alkyl, p= 6, t= 1) => oligomer and therefore to be classified as polymer, i.e. B01J 31/068 (a polyalkylene glycol), cf. WO2007/030277.
The subgroup B01J 31/063 is reserved for polymers with a precisely defined and special microstructure.
In this place, the following terms or expressions are used with the meaning indicated:
Polymer | a macromolecular substance (typically M>10000 g/mol) comprising repeating units made up of one or several kinds of atoms or groups of atoms, which are identically connected to one another. |
Oligomer | compound with more than two identical repeating units connected to one another and typically 500 less than M less than 10000 g/mol; grouped with the respective polymers |
In patent documents, the following abbreviations are often used:
PEG | poly ethyleneglycol |
In patent documents, the following words/expressions are often used as synonyms:
- "Polyethylene glycol" or PEG, "polyethylene oxide" or PEO, "polyoxyethylene" or POE and the tradename "Carbowax"
This place covers:
Monomeric and polymeric organometallic compounds, the metals, with the exception of arsenic and antimony, including those defined in the notes under the title of section C, and furthermore include the metalloid element boron as "metal".
In the case of organometallic polymers the metalloid elements silicon, arsenic, antimony, selenium and tellurium are furthermore covered under the term "metal".
This place does not cover:
Organometallic monomeric compounds of antimony, arsenic | |
Organic monomeric compounds of silicon, selenium, tellurium | |
Dendrimers | |
Calixarenes and hetero-analogues, e.g. thiacalixarenes | |
Molecularly imprinted polymers | |
(Sulfonated) Ion-exchange resins | |
Polymer-bound organometallic complexes | |
Coordination polymers | |
Catalysts for the preparation of polysiloxanes, e.g. Karstedt catalysts |
Attention is drawn to the following places, which may be of interest for search:
Organometallic compounds per se |
B01J 31/123: if the organometallic polymer carries a coordination complex and that complex is covalently bound, it may be additionally classified in these groups, if appropriate (i.e. providing additional information). In any case it is to be classified in B01J 31/1675.
B01J 31/128: this subgroup is only used when at least two different species of organometallic compounds are involved, e.g. by addition of two different organometallic starting compounds.
In this place, the following terms or expressions are used with the meaning indicated:
Organometallic compounds | all organic compounds wherein a metal or metalloid atom is bonded directly to a carbon fragment, the latter being formally anionic, no further neutral ligands being coordinated to the metal and the compound requiring no further cations for charge balance; e.g. M(CR3)n with M= main group metal, n= valency of metal and R= H or hydrocarbyl. |
This place covers:
B01J 31/16 - B01J 31/2495: Catalysts containing coordination complexes with inorganic or organic ligands, including organometallic complexes on an inorganic or polymer support, coordination polymers and metal-organic frameworks, as well as phosphines.
This place does not cover:
(Poly)Oxoacid (poly)salts | |
Other compounds comprising only anionic organo-nitrogen, organo-oxygen or organo-sulfur fragments with a metal bonded to these heteroatoms, e.g. Ti(OR)4 | |
Compounds comprising only alkyl groups bonded to a metal |
Attention is drawn to the following places, which may be of interest for search:
Preparation of metal complexes, including MOFs, containing carboxylic acid moieties per se | |
MOF's per se | C07F, in particular C07F 19/005 |
Each coordinating atom and its respective environment is separately classified, viz. in terms of atoms or functional groups involved, unless provided for by way of specific multi-atom donor sets (e.g. B01J 31/189, B01J 31/2217, B01J 31/2221, B01J 31/2495).
All complexes are further indexed in B01J 2231/00 according to specifically disclosed intended use(s), unless already provided for otherwise (e.g. by way of complete classification in C07C) and in B01J 2531/00 according to the central metals in the complexes and further structural aspects, such as number of donor atoms, geometry, chirality, metal bonding mode, polynuclearity, as well as chemical environment aspects, such as any special solvents being used or phase-transfer systems. If appropriate, further compositional aspects such as essential non-coordinating substituents on the ligands can be indexed in B01J 2540/00.
B01J 31/1616, B01J 31/165: In these groups and their respective sub-groups B01J 31/1625 - B01J 31/1641 and B01J 31/1658 - B01J 31/1683, the coordination environment would be additionally classified as the corresponding complex wherein the solid support has been replaced by a hydrogen atom. The terms B01J 2531/0205 - B01J 2531/0222 would be likewise used to define the respective catalyst (component) further, by indexing according to the corresponding complex attached, e.g.:
mono- di- or oligomeric cobalt(salen) complex covalently bound via alkylene tether and -Si(Me)(OEt)2 groups to silica (cf. WO2010/099300 A) => term is B01J 2531/0216 since a bi- or polynuclear complex, without metal-carbon bonds, is involved (the two coordinating metals, Co(III), not shown below):
;
copolymer of [2-Ph2PCH2-4-PPh2-1-acryloyl-pyrrolidine]Pt(Cl)SnCl3 and styrene (cf. WO 88/08835 A) => term is B01J 2531/0219 since a bimetallic complex, without metal-carbon bonds, is involved.
If a support is involved, which is not already covered by these groups (e.g. because it is only broadly defined or because there is no adequately specific classification group for it), it would be additionally classified in groups B01J 21/00, B01J 23/00 or B01J 29/00, respectively, in the appropriate subgroups of B01J 31/061 - B01J 31/068 or B01J 31/124 - B01J 31/127. Alternatively, if not essential to the invention, the support may also be so indexed with the corresponding groups B01J 21/00, B01J 23/00 or B01J 29/00, respectively, in the appropriate subgroups of B01J 31/061 - B01J 31/068 or B01J 31/124 - B01J 31/127; see also the classification rules for B01J 21/00 - B01J 29/00 and B01J 33/00 - B01J 38/00.
B01J 31/1691: In this group the principal ligands (e.g. dicarboxylate, bipyridine, pyrazine, dabco) would be classified with the appropriate groups from B01J 31/16 and subgroups, e.g. B01J 31/2239 for dicarboxylate linkers;
the orthogonal Indexing Code terms B01J 2531/0205 - B01J 2531/0222, would be used to define the respective catalyst (component) further according to the respective SBU comprising the metal, e.g.:
tetrahedral [Zn4O] in MOF-5 and the IRMOF series => term is B01J 2531/0216 since a bi- or polynuclear complex, without metal-carbon bonds, is involved;
paddle-wheel [Cu2(O2CR)4], comprising a Cu-Cu bond, present in typical copper-based MOFs, e.g. [Cu2(1,4-bdc)2](4,4'-bipy) => term is B01J 2531/0219, since a bimetallic complex, without metal-carbon bonds, is involved.
B01J 31/189: In this subgroup only those metal complex ligands are to be classified that:
are (at least) bidentate, i.e. two bonds from two different atoms to the central metal, typically as chelate (=> adjacent atoms, e.g. in R2P-NR'R'' will not form a complex with both N and P coordinating for geometrical reasons (ring strain), as is also the case for e.g. phosphites, which are known to only coordinate vie P, not via both P and O, hence at least a one-atom space is required between P and N):
- one of these atoms is N, e.g. as amine, imine, amide; and
- the other is P, e.g. as phosphite, phosphonite, phosphinite, phosphine;
are described as forming bidentate complexes/chelates or at least reasonably are expected to do so (criteria see above).
Typical example:
R2P-Cn-NR'2 (n ≥ 1; R= hydrocarbyl, hydrocarbyloxy, -thio, etc.; R'= hydrocarbyl-C(=O)-, hydrocarbyl; rings possible using combinations of (R)s and/or (R')s).
Typical non-examples:
R2P-NR'-PR2 (with R, R' as above: as amide derivatives of phosphites, phosphonites or phosphinites, with no coordination by N yet known, these would respectively be B01J 31/186, B01J 31/187 or B01J 31/188.);
(RO)2P-NR'2 (with R= hydrocarbyl, R' as above, ring possibilities as above: amide derivatives of phosphites, i.e. phosphoramidites, these would be B01J 31/186).
B01J 31/24: In this group, phosphines are considered to be all compounds (ligands) that have phosphorus bonded to only carbon atoms, or to both carbon and hydrogen atoms, including sp2-hybridised phosphorus compounds such as phosphabenzene, phosphole (with a P-H bond) or anionic phospholide ligands (i.e. the P-deprotonation product of phosphole). Hence complexes with the parent PH3 ligand would be classified in B01J 31/1845.
In this place, the following terms or expressions are used with the meaning indicated:
Coordination complexes | all donor-acceptor compounds or complex ions comprising organic or inorganic, anionic or neutral Lewis basic ligands, attached to a Lewis acid central metal or metal ion through one or several complexing donor atoms with at least one lone-pair of electrons, e.g. N, O, S, P, to provide at least a sigma-bond; typically the maximum number of same or different ligands according to the coordination number, spatial requirements of the ligand and electronic configuration of the metal is bound in a predictable geometry;complexes of neutral, cationic or anionic hydrocarbon ligands with delocalised charge and/or bonding site, e.g. Pd-olefin complexes or metallocenes, are also included. |
Organometallic complexes | all coordination complexes comprising a M-C bond, e.g. metal carbonyls; included are furthermore complexes which are not strictly organometallic per se, e.g. comprising only N, O, S and/or P coordinated ligands, but are described as involving, or known to involve, organometallic intermediates and/or transition states during use, e.g. Group 8-10 metal complexes for a variety of catalytic reactions or steps thereof, such as oxidative addition, e.g. of ArX, hydrogenation, carbonylation, epoxidation. |
Metal-organic framework | crystalline compounds consisting of metal ions or clusters coordinated to often rigid organic molecules as linkers to form one-, two-, or three-dimensional structures; see e.g. reviews: - O. Yaghi et al., Nature 423 (2003) 705-714 (XP2392829),- M.J. Rosseinsky, Micropor. Mesopor. Mat. 73 (2004) 15-30 (XP4522127); the linkers are often dicarboxylates, the metals often Zn, Cu, Fe or Al. |
Chelating or multidentate ligands | a ligand having more than one donor (Lewis basic) centre, the centres not being on contiguous atoms and being lone electron pairs, with each of these centres connecting to a common metal centre; the prefix κ denotes these ligands, the superscript index quantifies the number of bonding atoms of the ligand involved (κ2: bidentate ligand, usually omitted if no other coordinating entities are present) |
In patent documents, the following abbreviations are often used:
MOF | metal-organic framework |
Acac | acetylacetonate |
This place covers:
Catalysts comprising coordination complexes comprising organic ligands, including polynuclear carboxylate complexes such as "Pd(II)acetate", i.e. Pd3(OAc)6, "Pt(II)acetate", i.e. Pt4(OAc)8 or "Cr(II)acetate", i.e. Cr2(OAc)4.
This place does not cover:
Complexes of organic silicon ligands | |
Organic coordination complexes immobilised on an inorganic support | |
Organic coordination complexes immobilised on a polymer support | |
Coordination polymers, e.g. metal-organic frameworks (MOF) | |
Complexes containing nitrogen, phosphorus, arsenic or antimony as complexing atoms in organic ligands, if no oxygen as additional complexing atom is present, as in the case of e.g. the phosphite / phosphonate tautomer pair | |
Complexes of organic phosphines |
Attention is drawn to the following places, which may be of interest for search:
Catalysts comprising metal carbonyls |
B01J 31/2265 (carbenes or carbynes): when more than one carbene ligand is involved and they differ from one another, this feature is separately classified in B01J 31/2278, in addition to that regarding the structural type of carbene ligand, i.e. generic / heterocyclic carbene / NHC as classified in B01J 31/2265, B01J 31/2269 and B01J 31/2273, respectively.
Additional classification should be given in groups B01J 31/22 for those complexes referred out above if appropriate groups are found, e.g. for ligands of B01J 31/22 attached to a polymer or inorganic support or included in a coordination polymer.
Example P----O ligand (---- being a carbon-containing bridge with a P-C bond) => B01J 31/22
but
Non-example phosphate => B01J 31/1845
Non-example PNP-ligands of general structure R2P-N(R)-PR2 =>
B01J 31/188 (amide derivative of a phosphinite ligand)
In this place, the following terms or expressions are used with the meaning indicated:
Organic ligand | a carbon-containing ligand bonded to a central metal in which said carbon is bonded to - a second carbon;- at least one atom of hydrogen or halogen; or - nitrogen by a single or double bond;except cyanic acid (HO-C≡N), cyanogen (N≡C-C≡N), cyanamide (H2N-C≡N), cyanogen halide (Hal-C≡N), hydrocyanic acid (HC≡N), isocyanic acid (HN=C=O), fulminic acid (HC≡N-O), carbides (C≡C) and the respective anionic ligands derived by deprotonation (O-C≡N, N=C=N, C≡N, N=C=O, C≡N-O). |
Bridging ligand | a ligand connecting two or more metal centres in an at least binuclear complex, the metal atoms being directly bonded to another or not; the prefix μ denotes these ligands, the superscript index quantifies the number of metal centres connected (the simplest case, 2, may be omitted) |
Chelating or multidentate ligands | a ligand having more than one donor (Lewis basic) centre, the centres not being on contiguous atoms and being lone electron pairs, with each of these centres connecting to a common metal centre; the prefix κ denotes these ligands, the superscript index quantifies the number of bonding atoms of the ligand involved (κ2: bidentate ligand, usually omitted if no other coordinating entities are present) |
Polyhapto ligands | a ligand having a group of contiguous atoms, typ. a π-electron system, which are coordinated to a common central atom; the prefix η denotes these ligands, the superscript index quantifies the number of contiguous bonding atoms of the ligand involved (η5: pentahapto ligand, e.g. Cp) |
Thiocarbamates | ligands of either one of the following isomeric structures: |
N-Heterocyclic carbene | a saturated or unsaturated heterocyclic compound comprising a neutral carbon atom with a lone electron pair (in the typical case of singlet or "nucleophilic" carbenes) adjacent to at least one nitrogen atom. |
In patent documents, the following abbreviations are often used:
NHC | N-heterocyclic carbene |
Cy | cyclohexyl |
Mes | mesityl = 2,4,6-trimethylphenyl |
IMes | 1,3-dimesitylimidazoline-2-ylidene: |
SIMes | 1,3-dimesitylimidazolidine-2-ylidene (see below) |
Grubbs catalyst, 1st generation or Grubbs-I | X2L2Ru[=CHR]; L= PR3, typ. PCy3 (tricyclohexyl phosphine); X= anionic ligand, typ. Cl (e.g. Benzylidene-bis(tricyclohexylphosphine)dichlororuthenium(II): |
Grubbs catalyst, 2nd generation or Grubbs-II | X2L1L2Ru[=CHR]; L1= PR3, typ. PCy3; L2= NHC, typ. 1,3-dihydrocarbylimidazoline-2-ylidenes (e.g. IMes) or the corresponding imidazolidines (e.g. SIMes, see Fig); X as above (e.g. (1,3-Bis(2,4,6-trimethylphenyl)-2-imidazolidinylidene)dichloro(phenylmethylene)(tricyclohexylphosphine)ruthenium(II)) |
Hoveyda-Grubbs catalyst, 1st generation | X2LRu=CHPhOiPr; L= PR3, typ. PCy3 ; (e.g. Dichloro(o-isopropoxyphenylmethylene)(tricyclohexylphosphine)ruthenium(II): |
Hoveyda-Grubbs catalyst, 2nd generation | X2 LRu=CHPhOiPr; L= NHC, typ. SIMes (e.g. (1,3-Bis-(2,4,6-trimethylphenyl)-2-imidazolidinylidene)dichloro(o-isopropoxyphenylmethylene)ruthenium(II): |
Cp | cyclopentadienyl |
Cp* | pentamethyl cyclopentadienyl |
This place covers:
Additionally added inorganic metal compounds, e.g. binary metal halides such as TiCl4 or FeCl3.
These subgroups B01J 31/26 - B01J 31/38 are only used if such inorganic additives do not give rise to in-situ formed coordination complexes (see also notes following main-group title B01J 31/00).
This place does not cover:
Catalysts comprising metal coordination complexes |
Attention is drawn to the following places, which may be of interest for search:
Catalysts comprising metal nanoparticles | |
Catalysts comprising the elements or inorganic compounds of carbon, halogens, sulfur, selenium, tellurium, phosphorus or nitrogen |
If two components, even if separately added, are described as forming, or known to form, a coordination complex, only the latter is classified, e.g. phosphine and Group 8-10 metal such as rhodium. The groups B01J 31/26 - B01J 31/38 are not to be used for the central metals in coordination complexes The specifically disclosed central metal(s) of said complexes are indexed in B01J 2531/10 - B01J 2531/847.
In this place, the following terms or expressions are used with the meaning indicated:
Inorganic compounds | compounds other than organic compounds |
This place covers:
Regeneration or reactivation of the catalysts, catalyst systems or constituents thereof (e.g. metal, ligand) comprising hydrides, coordination complexes or organic compounds by chemical and/or physical means, e.g. membrane separation, extraction with special solvents, electrochemical processes.
These subgroups are only used if non-trivial regeneration or reactivation steps are at least disclosed, i.e. more than simple filtration and/or washing in the case of supported catalysts.
Regeneration processes may additionally be classified in B01J 38/00, if pertinent details of the regeneration process are disclosed.
This place covers:
Any protection of catalysts ; Conditioning catalyst such that it can be stored or transported, e.g. by coating with a removable material, by passivation involving controlled exposure to oxygen or by other generally reversible
This place covers:
Physical or chemical properties of a catalyst not covered by subgroups of B01J 35/30, e.g. Lewis or BrØnsted acid sites.
Detailed physical or chemical properties or characteristics of the support are classified as additional information in B01J 35/00 subgroups.
When classifying in groups B01J 35/00 - B01J 35/80, it is mandatory when appropriate to further classify in orthogonal groups B01J 2235/00 - B01J 2235/30 for the analysis techniques used to determine a catalyst's form or properties.
This place covers:
Catalysts with properties derived from having portions with different compositions, e.g. bifunctional catalysts, layered catalysts, exhaust gas catalysts or catalysts having distinct regions where the catalyst is applied, e.g. rear end or front end.
Doped supports or doped catalysts are not considered as catalysts containing parts with different compositions and are classified under B01J 21/00 - B01J 29/00.
Catalysts with the same active material but with varying support concentration, e.g. 1%Pd/99%Al2O3 in one region and 1%Pd/90%Al2O3-9%SiO2 in another region within the catalyst, are classified in B01J 35/19 as additional information.
This place covers:
Catalysts in a non-solid state, e.g. plasma catalysts.
This place covers:
- Particles homogenously dispersed in another medium.
- A suspension of finely divided particles in a continuous medium from which the particles do not settle out rapidly and are not readily filtered.
- An overall mixture consisting of two phases, a continuous phase (the dispersion medium) and a dispersed phase that can be solid, liquid or gas.
This place covers:
Molten or liquid catalysts, including ionic liquids.
- Documents disclosing catalysts with different compositions are classified in B01J 35/19.
- Chemical properties of the catalyst are classified in B01J 35/00.
This place covers:
Catalysts characterised by electric or magnetic properties, e.g. catalysts that can be used in electrodes or in electrochemical reactions or catalysts having conductivity properties.
Electrocatalysts only used in processes or means for the direct conversion of chemical energy into electrical energy are classified in H01M.
Electrocatalysts only used in electrolytic or electrophoretic processes for the production of compounds or non-metals and apparatus therefor are classified in C25B.
This place covers:
A catalyst's ability to resist an applied force.
This place covers:
A catalyst's ability to resist fracture or breakage when force or pressure is applied to the catalyst material in the axial direction or a catalyst's ability to resist the formation of fines, e.g. side or bulk crush strength.
This place covers:
A catalyst's ability to resist erosion caused by particle movement and collision between particles.
This place covers:
A catalyst's ability to change energy state when it absorbs light, achieves a higher energy level and initiates a reaction by providing the additional, absorbed energy to a reacting substance, e.g. catalysts with a band gap.
Attention is drawn to the following places, which may be of interest for search:
Disinfection, sterilisation or deodorisation of air using a photocatalyst or photosensitiser | |
Treatment of water with photocatalysts | |
Glass coated with TiO2 | |
Coating compositions |
This place covers:
Active metal or metal oxide crystallite size, e.g. a metal oxide nanoparticle of 100 nm or less.
Attention is drawn to the following places, which may be of interest for search:
Catalyst compounds characterised by their crystallite size |
Documents disclosing catalysts with an active metal or metal oxide catalyst crystallite size and having a catalyst size of 100 nm or less are classified in B01J 35/393 and B01J 35/45, e.g., a catalyst with a metal oxide crystallite size of 20 nm and a total particle size below 100 nm.
This place covers:
Thickness of the active catalyst layer if disclosed as a numerical value.
This place covers:
Varied concentrations of the active metal ingredient within the catalyst, e.g. within different layers.
This place covers:
A catalyst particle with a shell and with metal being distributed on the surface of the support/carrier in a configuration similar to that of an egg shell, though not necessarily in a spherical configuration.
This place covers:
A catalyst with metal being distributed inside the support/carrier in a configuration similar to that of an egg yolk, though not necessarily in a spherical configuration.
This place covers:
Catalysts comprising particles that have a controlled geometrical size below 100 nanometres (nm) in one or more dimensions and include nanofilaments, nanofibers, nanowires, nanorods or any nanostructures having a geometrical size below 100 nm.
- Documents disclosing catalysts with a nanostructure above 100 nm should be classified in B01J 35/40.
- Documents disclosing catalysts having a size ranging from below 100 nm to above 100 nm should be double classified in B01J 35/40 and B01J 35/45.
This place covers:
Geometry or shape of a catalyst, e.g. trilobes.
This place covers:
Particles with a core (inner material) and a shell (outer layer material), wherein the core and shell are made of different materials, e.g. including non-metallic material and are of a non-spherical or unspecified shape.
Documents disclosing a non-spherical or an unspecified core-shell catalyst particle are classified in B01J 35/505.
Documents disclosing a non-spherical or an unspecified core-shell catalyst particle with an egg shell or egg yolk metal distribution are classified in B01J 35/505 and B01J 35/397 or B01J 35/398.
This place covers:
Particles with a core (inner material) and a shell (outer layer material), wherein the core and shell are made of different materials, e.g. including non-metallic material and are of a spherical shape.
Documents disclosing a spherical core-shell catalyst particle with an egg shell or egg yolk metal distribution are classified in B01J 35/53 and B01J 35/397 or B01J 35/398.
This place covers:
Catalyst structures that have the form of grids, or three-dimensional monoliths.
Attention is drawn to the following places, which may be of interest for search:
Catalysts comprising molecular sieves | |
Wall flow filters | |
Exhaust gas treating with catalysts | |
Honeycomb structures per se | |
Mechanical aspects relating to exhaust gas treatment |
This place covers:
- Material that has a honeycomb shape and inventive properties, and is impregnated, coated or deposited with catalytic material.
- Catalytic material impregnated, coated or deposited on a honeycomb shape with inventive properties.
- Catalyst being itself in a honeycomb form.
This place covers:
Pore size distributions such as ratios, e.g. ratio of mesopores/micropores.
This place covers:
A crystal or crystalline solid material whose constituents (such as atoms, molecules or ions) are arranged in a highly ordered microscopic structure, forming a crystal lattice that extends in all directions.
This place does not cover:
Catalysts comprising carbon | |
Molecular sieves |
Catalysts with a two-dimensional layered crystalline structure are classified in B01J 35/73, while compositional aspects are classified in B01J 27/236 for hydroxy carbonates and B01J 23/007, for mixed salts, e.g. hydrotalcite.
Perovskite-type catalysts are doubly classified in B01J 35/733 for the structure and B01J 23/002, for the composition.
Pyrochlore-type catalysts are doubly classified in B01J 35/735 for the structure and B01J 23/002, for the composition.
Hexaaluminate-type catalysts are doubly classified in B01J 35/737 for the structure and B01J 23/002, for the composition.
This place covers:
Catalysts comprising a crystallite compound for which a crystallite size is disclosed.
Attention is drawn to the following places, which may be of interest for search:
Catalysts characterised by dimensions, e.g. grain size |
If particle size is disclosed but no mention of particle being a crystallite, subject matter is classified in groups for dimensions.
Crystallite size of metal or metal oxide in the catalyst is classified in B01J 35/393.
This place covers:
Processes for preparing any type of catalysts
This place does not cover:
Electrocatalysts, electrodes |
Multiple classification: All relevant groups of this main group are allocated.
This place covers:
Use of pore forming agents including mineral oils, steric acid, polyethylene glycol polymers, carbohydrate polymers, methacrylates, cellulose polymers, and carboxylates which decompose upon being heated.
When applicable, groups from B01J 35/60 are to be given additionally
This place does not cover:
Preparation of multilayered catalysts |
This place covers:
chemical vapor deposition (CVD)
This place does not cover:
Physical vapor deposition |
add KW 37 cvd general (B01J)
This place covers:
catalysts having a multi-layer structure, such as some exhaust gas catalysts
Attention is drawn to the following places, which may be of interest for search:
Multilayered exhaust gas treating catalysts |
This place covers:
Also includes leaching or etching by acids or bases
B01J 37/0009, B01J 37/0018 take precedence
This place does not cover:
ion exchange of zeolite (see B01J 2229/18 and subgroups)
This place covers:
physical vapor deposition (PVD)
Attention is drawn to the following places, which may be of interest for search:
Physical vapor deposition in genera |
This place covers:
Any processes, treatments to regenerate or reactivate catalysts in general, e.g. heat treatment, gas or vapour treatment, liquid treatment
This place does not cover:
Electrocatalysts, electrodes |
Multiple classification: All relevant groups of this main group are allocated.
The regeneration of a specific catalyst composition is classified also in B01J 21/20, B01J 23/90-B01J 23/96, B01J 25/04, B01J 27/28-B01J 27/32, B01J 29/90 according to the catalyst composition.
B01J 38/00 subgroups are used in combination with the specific groups mentioned above for detailed process.
Activation of new catalysts is classified in B01J 37/00.
Re-activation of spent/used catalysts is classified in B01J 38/00
In this place, the following terms or expressions are used with the meaning indicated:
Reactivation= regeneration of catalyst | recovery of catalytic activity, rejuvanation, renewing a catalyst or making it reusable |
This place does not cover:
Recovery of metals from (spent) catalysts |
This place covers:
- Processes involving solid inorganic or organic cation exchangers and uses of inorganic or organic materials as cation exchangers whereby cations are exchanged between the solid exchanger and a medium to be treated;
- The treatment of inorganic or organic materials used as cation exchangers; and
- Cation exchangers as stationary phases or packings for chromatography processes.
Compositions, apparatus or processes involving at least two different types of ion exchangers, e.g. two different cation exchangers, or a cation exchanger and an anion exchanger, are classified using a combination of the corresponding groups.
For example:
- A process involving an organic cation exchanger in the strongly acidic form and an organic cation exchanger in the weakly acidic form is classified in group B01J 39/05 and group B01J 39/07.
- A process involving an inorganic cation exchanger and an inorganic anion exchanger is classified in group B01J 39/02 and group B01J 41/02.
- A process involving an organic cation exchanger in the strongly acidic form and an organic anion exchanger in the weakly basic form is classified in group B01J 39/05 and group B01J 41/07.
This place does not cover:
Preparative chromatography processes involving cation exchange |
Attention is drawn to the following places, which may be of interest for search:
Ion exchange resins used as catalyst | |
Processes in general for preparing or activating catalysts using ion exchange | |
Regeneration or reactivation of catalysts using ion-exchange | |
Regeneration or reactivation of cation exchangers | |
Modifying dairy products by ion exchange | |
Clarifying, fining of non-alcoholic beverage by ion-exchange | |
Removal of unwanted matter from foods or foodstuffs using ion exchangers | |
Use of ion exchange materials for tobacco smoke filters | |
Separation of different isotopes of the same chemical element by ion exchange | |
Treatment of water by ion-exchange | |
Purification or separation of hydrocarbons with ion-exchangers | |
Extraction, separation or purification of peptides by ion exchange chromatography | |
Manufacture of shaped structures of ion-exchange resins | |
Refining of hydrocarbon oils by ion-exchange material | |
Purification, clarification of alcoholic beverages with the aid of ion-exchange material | |
Extracting or separating nucleic acids from biological samples by ion-exchange chromatography | |
Purification of sugar juices using ion exchange materials | |
Extraction of sugar from molasses using ion exchange | |
Treatment or purification by ion exchange of solutions obtained from the extraction of metals from ores | |
Investigative or analytical chromatography processes involving cation exchange | |
Treating radioactively contaminated liquids using ion exchange |
In groups B01J 39/00 - B01J 49/00, in the absence of an indication to the contrary, classification is made in the last appropriate place.
Combination sets (C-Sets):
C-Sets statement: #B1Jb
- In #B1Jb, information concerning compositions, apparatus or processes having at least two types of ion exchangers are classified in the form of C-Sets. This applies to the following situations: (1) a process having multiple steps wherein different ion exchange materials in separate vessels/beds/columns used in different steps; or (2) ion exchanging mixture materials (physically mixed or as two separate layers/zones/regions) in the same vessel/bed/column.
- In these C-Sets, both base symbol and the subsequent symbol(s) are selected from groups B01J 39/00 - B01J 49/90.
- However, for mixed bed processes group B01J 47/04 should also be allocated as single symbol.
- C-Sets classifications based on #B1Jb are allocated as invention information [INV].
C-Sets syntax rules:
- Each C-Sets can contain two or more symbols.
- The subsequent symbols in the C-Sets are allocated in a given order for multistep process using different ion exchange materials in separate vessels/bed/columns in different steps, e.g. a specific ion-exchange multistep process involving different ion-exchange mechanisms in a given order.
- The subsequent symbols are also in a given order if mixed bed process involves the above situation (2).
- Every alternative embodiment is classified with C-Sets.
C-Sets examples:
- #B1Jb: A process involving an inorganic cation exchanger and an inorganic anion exchanger is classified as (B01J 39/02, B01J 41/02).
- #B1Jb: A process involving an organic cation exchanger in the strongly acidic form and an inorganic anion exchanger in the weakly basic form is classified as (B01J 39/05, B01J 41/07).
- #B1Jb: A process involving a step using an organic cation exchanger in the strongly acidic form followed by a step using an organic cation exchanger in the weakly acidic form is classified as (B01J 39/05, B01J 39/07).
- #B1Jb: A process involving an inorganic cation exchanger and an inorganic anion exchanger is classified as (B01J 39/02, B01J 41/02).
- #B1Jb: A process involving an organic cation exchanger in the strongly acidic form and an organic anion exchanger in the weakly basic form is classified as (B01J 39/05, B01J 41/07).
- #B1Jb: An ion exchange resin bed containing a mixture of particles bearing differing functional ion exchange groups wherein the resin bed is (1) a stratified bed containing a weakly basic anion exchange resin as the upper zone and a strongly basic anion exchange resin as the lower zone or (2) a mixed bed containing a macroreticular strongly basic anion exchange resin and a macroreticular strongly acidic cation exchange resin, is classified as (B01J 41/07, B01J 41/05) and (B01J 41/05, B01J 39/05) and B01J 47/04 as single symbol for the mixed bed.
This place covers:
- Processes involving solid inorganic or organic anion exchangers and uses of solid inorganic or organic materials as anion exchangers whereby anions are exchanged between the solid exchanger and a medium to be treated;
- The treatment of inorganic or organic materials used as anion exchangers; and
- Anion exchangers as stationary phases or packing for chromatography processes.
Compositions, apparatus or processes involving at least two different types of ion exchangers, e.g. two different anion exchangers, or a cation exchanger and an anion exchanger, are classified using a combination of the corresponding groups.
For example:
- A process involving an organic anion exchanger in the strongly basic form and an organic anion exchanger in the weakly basic form is classified in group B01J 41/05 and group B01J 41/07.
- A process involving an inorganic cation exchanger and an inorganic anion exchanger is classified in group B01J 39/02 and group B01J 41/02.
- A process involving an organic cation exchanger in the strongly acidic form and an organic anion exchanger in the weakly basic form is classified in group B01J 39/05 and group B01J 41/07.
This place does not cover:
Preparative chromatography processes involving anion exchange |
Attention is drawn to the following places, which may be of interest for search:
Ion exchange resins used as catalyst | |
Processes in general for preparing or activating catalysts using ion exchange | |
Regeneration or reactivation of catalysts using ion-exchange | |
Regeneration or reactivation of anion exchangers | |
Modifying dairy products by ion exchange | |
Clarifying, fining of non-alcoholic beverage by ion-exchange | |
Removal of unwanted matter from foods or foodstuffs using ion exchangers | |
Use of ion exchange materials for tobacco smoke filters | |
Separation of different isotopes of the same chemical element by ion exchange | |
Treatment of water by ion-exchange | |
Purification or separation of hydrocarbons with ion-exchangers | |
Extraction, separation or purification of peptides by ion exchange chromatography | |
Manufacture of shaped structures of ion-exchange resins | |
Refining of hydrocarbon oils by ion-exchange material | |
Purification, clarification of alcoholic beverages with the aid of ion-exchange material | |
Extracting or separating nucleic acids from biological samples by ion-exchange chromatography | |
Purification of sugar juices using ion exchange materials | |
Extraction of sugar from molasses using ion exchange | |
Treatment or purification by ion exchange of solutions obtained from the extraction of metals from ores | |
Investigative or analytical chromatography processes involving anion exchange | |
Treating radioactively contaminated liquids using ion exchange |
In groups B01J 39/00 - B01J 49/00, in the absence of an indication to the contrary, classification is made in the last appropriate place.
C-Sets classification:
In this group, C-Sets (e.g. #B1Jb) are used. The detailed information about the C-Sets construction and the associated syntax rules are found in the "Special rules of classification" in B01J 39/00.
Attention is drawn to the following places, which may be of interest for search:
Carbon, coal or tar |
This place covers:
- Processes involving solid amphoteric ion exchanger materials, i.e. having cation exchanging and anion exchanging groups and uses of such materials whereby both cations and anions are exchanged between the solid exchanger and a medium to be treated;
- The treatment of these materials used as amphoteric ion-exchangers; and
- Amphoteric ion exchange materials as stationary phase or packing for chromatography processes.
This place does not cover:
Preparative chromatography processes involving ion exchange |
Attention is drawn to the following places, which may be of interest for search:
Ion exchange relating to particular applications, or relating to treating particular compound, may be classified in the following non-exhaustive list:
Ion exchange resins used as catalyst | |
Processes in general for preparing or activating catalysts using ion exchange | |
Regeneration or reactivation of catalysts using ion-exchange | |
Regeneration or reactivation of ion exchangers | |
Modifying dairy products by ion exchange | |
Clarifying, fining of non-alcoholic beverage by ion-exchange | |
Removal of unwanted matter from foods or foodstuffs using ion exchangers | |
Use of ion exchange materials for tobacco smoke filters | |
Separation of different isotopes of the same chemical element by ion exchange | |
Treatment of water by ion-exchange | |
Purification or separation of hydrocarbons with ion-exchangers | |
Extraction, separation or purification of peptides by ion exchange chromatography | |
Manufacture of shaped structures of ion-exchange resins | |
Refining of hydrocarbon oils by ion-exchange material | |
Purification, clarification of alcoholic beverages with the aid of ion-exchange material | |
Extracting or separating nucleic acids from biological samples by ion-exchange chromatography | |
Purification of sugar juices using ion exchange materials | |
Extraction of sugar from molasses using ion exchange | |
Treatment or purification by ion exchange of solutions obtained from the extraction of metals from ores | |
Investigative or analytical chromatography processes involving ion exchange | |
Treating radioactively contaminated liquids using ion exchange |
In groups B01J 39/00 - B01J 49/00, in the absence of an indication to the contrary, classification is made in the last appropriate place.
C-Sets classification:
In this group, C-Sets (e.g. #B1Jb) are used. The detailed information about the C-Sets construction and the associated syntax rules are found in the "Special rules of classification" in B01J 39/00.
This place covers:
- Processes involving solid inorganic or organic ion exchangers and use of inorganic or organic materials as ion exchangers whereby the ion exchangers forms complexes or chelates and bring about ion exchange between the solid exchanger and a medium to be treated;
- The treatment of inorganic or organic materials used as ion exchanger in which a complex or chelate is formed; and
- Ion exchange materials in which a complex or chelate is formed, the materials being used as stationary phases or packing for chromatography processes.
This place does not cover:
Preparative chromatography processes or apparatus therefor involving ion exchange |
Attention is drawn to the following places, which may be of interest for search:
Ion exchange relating to particular applications, or relating to treating particular compound, may be classified in the following non-exhaustive list:
Ion exchange resins used as catalyst | |
Processes in general for preparing or activating catalysts using ion exchange | |
Regeneration or reactivation of catalysts using ion-exchange | |
Regeneration or reactivation of ion exchangers | |
Modifying dairy products by ion exchange | |
Clarifying, fining of non-alcoholic beverage by ion-exchange | |
Removal of unwanted matter from foods or foodstuffs using ion exchangers | |
Use of ion exchange materials for tobacco smoke filters | |
Separation of different isotopes of the same chemical element by ion exchange | |
Treatment of water by ion-exchange | |
Purification or separation of hydrocarbons with ion-exchangers | |
Extraction, separation or purification of peptides by ion exchange chromatography | |
Manufacture of shaped structures of ion-exchange resins | |
Refining of hydrocarbon oils by ion-exchange material | |
Purification, clarification of alcoholic beverages with the aid of ion-exchange material | |
Extracting or separating nucleic acids from biological samples by ion-exchange chromatography | |
Purification of sugar juices using ion exchange materials | |
Extraction of sugar from molasses using ion exchange | |
Treatment or purification by ion exchange of solutions obtained from the extraction of metals from ores | |
Investigative or analytical chromatography processes or apparatus therefor involving ion exchange | |
Treating radioactively contaminated liquids using ion exchange |
In groups B01J 39/00 - B01J 49/00, in the absence of an indication to the contrary, classification is made in the last appropriate place.
C-Sets classification:
In this group, C-Sets (e.g. #B1Jb) are used. The detailed information about the C-Sets construction and the associated syntax rules are found in the "Special rules of classification" in B01J 39/00.
This place covers:
Processes in general involving ion-exchange and apparatus therefor, comprising cationic, anionic or amphoteric ion exchange resin.
This place does not cover:
Ion-exchange chromatography processes or apparatus |
Attention is drawn to the following places, which may be of interest for search:
Ion exchange resins used as catalyst | |
Processes in general for preparing or activating catalysts using ion exchange | |
Regeneration or reactivation of catalysts using ion-exchange | |
Regeneration or reactivation of ion exchangers | |
Modifying dairy products by ion exchange | |
Clarifying, fining of non-alcoholic beverage by ion-exchange | |
Removal of unwanted matter from foods or foodstuffs using ion exchangers | |
Use of ion exchange materials for tobacco smoke filters | |
Arrangements or adaptation of water softeners and constructional details of the salt container or the ion exchanger in washing or rinsing machines for crockery or tableware | |
Separation of different isotopes of the same chemical element by ion exchange | |
Processes or apparatus using semi-permeable membranes for electrolysis or electro-osmosis; Such processes or apparatus comprising ion exchange materials | |
Treatment of water by ion-exchange | |
Treatment of water by electrodialysis, electrodeionisation, electro-osmosis, capacitive deionisation | |
Purification or separation of hydrocarbons with ion-exchangers | |
Extraction, separation or purification of peptides by ion exchange chromatography | |
Manufacture of shaped structures of ion-exchange resins | |
Refining of hydrocarbon oils by ion-exchange material | |
Purification, clarification of alcoholic beverages with the aid of ion-exchange material | |
Extracting or separating nucleic acids from biological samples by ion-exchange chromatography | |
Purification of sugar juices using ion exchange materials | |
Extraction of sugar from molasses using ion exchange | |
Treatment or purification by ion exchange of solutions obtained from the extraction of metals from ores | |
Arrangements of water softeners in washing machines | |
Investigative or analytical chromatography processes involving ion exchange | |
Treating radioactively contaminated liquids using ion exchange |
In groups B01J 39/00 - B01J 49/00, in the absence of an indication to the contrary, classification is made in the last appropriate place.
C-Sets classification:
In this group, C-Sets (e.g. #B1Jb) are used. The detailed information about the C-Sets construction and the associated syntax rules are found in the "Special rules of classification" in B01J 39/00.
This place covers:
- Processes or apparatus for regeneration or reactivation of ion-exchangers;
- Reagents for regenerating or reactivating ion exchangers; and
- Cleaning or rinsing of ion exchanger beds.
This place does not cover:
Ion-exchange chromatography processes or apparatus |
Attention is drawn to the following places, which may be of interest for search:
Regeneration or reactivation of solid sorbents | |
Arrangements or adaptation of water softeners and constructional details of the salt container or the ion exchanger in washing or rinsing machines for crockery or tableware | |
Treatment of water by ion-exchange | |
Arrangements of water softeners in washing machines |
In groups B01J 39/00 - B01J 49/00, in the absence of an indication to the contrary, classification is made in the last appropriate place.
C-Sets classification:
In this group, C-Sets (e.g. #B1Jb) are used. The detailed information about the C-Sets construction and the associated syntax rules are found in the "Special rules of classification" in B01J 39/00.
This place covers:
This is an indexing scheme, where disclosed aspects of documents of relevance to B01J 19/0046 are classified, irrespective of whether this is invention information or additional information. As this is a(n) (deep) indexing scheme, documents usually receive multiple codes under B01J 2219/00274.
Documents may also receive codes under B01J 2219/00274 despite not having been classified in B01J 19/0046 if aspects are relevant to library technology.
Combinatorial libraries as such, and many aspects of combinatorial libraries, including synthesis, screening and identification of library members, relating to methods as well as devices, are not covered by this sub-group, but classified in C07, C12N, C40B.
Microfluidic analysis and PCR devices are classified in B01L 3/00.
Sampling and analysis devices per se are classified in G01N.
This place does not cover:
Peptide libraries | |
Nucleaic acid libraries and their screening | C12N 15/1034 and lower sub-groups |
Nucleic acid analysis characterised by the use of probe arrays or probe chips. | |
Methods for sequencing involving nucleic acid arrays, e.g. Sequencing By Hybridisation | |
Combinatorial libraries as such | C40B 40/00 and lower sub-groups |
Examples of places where the subject matter of this place is covered when specially adapted, used for a particular purpose, or incorporated in a larger system:
Immunoassays; Biospecific binding assay s.(on solid supports) | G01N 33/53 and lower sub-groups ( G01N53/543 and subgroups) |
Attention is drawn to the following places, which may be of interest for search:
Compounds containing polynucleotide units obtained by (or as intermediates for) chemical engineering | |
Preparation of peptides on supports |
This is an indexing scheme where the last-place Rule is not applied, but rather codes are given for every relevant aspect in a document. This is furthermore done regardless of whether this aspect appears in the claims, description or drawings.
Documents may receive codes under B01J 2219/00274 despite not having been classified in B01J 19/0046.
B01J 2219/00286: Reactor vessels with top and bottom openings.
This code is used for flow-through reactors in general, even if openings are, for example, at the side rather than top and bottom.
B01J 2219/00387: Applications using probes.
This code is also used for the use of pin-tools and dip-pen (nano-) lithography.
B01J 2219/00738: Organic catalysts.
This code also includes organometallic catalysts, which are then not given the code B01J 2219/00747.
In patent documents, the following abbreviations are often used:
DPN | Dip Pen Nanolithography |
In patent documents, the following words/expressions are often used as synonyms:
- "stamping", "microcontact printing" and "soft lithography"
Attention is drawn to the following places, which may be of interest for search:
Micromixers |
Attention is drawn to the following places, which may be of interest for search:
Use of sorbent or filter aid materials in a single column |
Attention is drawn to the following places, which may be of interest for search:
Reaction of molecular sieve catalysts with silicon compounds, e.g. TEOS or silicon fluoride |
This place covers:
The group B01J 2231/00 is an indexing scheme, where specific catalytic reaction types of catalysts classified in B01J 31/00 are indexed according to purpose or concept. Elements from in particular C07B, C07C, C07D, C08F and C08G are incorporated. Multiple catalytic purposes are multiply indexed.
Polymerisation reactions are only indexed in groups B01J 2231/10 - B01J 2231/14 if at least a dual use of the catalyst is disclosed in the application, e.g. oligomerisation and polymerisation.
Relevant NPL publications such as review articles relating to methods of using catalyst systems are also indexed in this scheme.
This place does not cover:
catalysts used only in polymerisation reactions | C08, M08 |
Attention is drawn to the following places, which may be of interest for search:
asymmetric syntheses in general | |
optical isomers in general |
In this group indexing is done according to the specific catalytic reaction. In case of multiple catalytic activities only those are indexed which are specifically exemplified, i.e. by ways of worked examples, specific claims or explicit alternatives therein.
General concepts, e.g. as presented in review articles, relating to methods of using catalyst systems are indexed in B01J 2231/005, the concept being defined by a common method or theory, e.g. microwave heating or multiple stereoselectivity
Polymerisation reactions are only indexed in groups B01J 2231/10 - B01J 2231/14 if at least a dual use of the catalyst is disclosed in the application, e.g. oligomerisation and polymerisation.
Group B01J 2231/76 includes dehydrogenative coupling, e.g. 2 CH2=CH-CH3 + O2 + 2 AcOH ---> 2 CH2=CH-CH2-OAc + 2 H2O; or H2C=CH2 + O2 + AcOH ---> H2C(vinyl acetate);
incl. H abstraction by oxidant and radical recombination, e.g. cyclohexene + tBuOOC(=O)Ph ---> cyclohexen-3-yl-OC(=O)Ph + tBuOH
Attention is drawn to the following places, which may be of interest for search:
Metathesis reactions, e.g. olefin metathesis |
Attention is drawn to the following places, which may be of interest for search:
C-H or C-C activation | |
Hydrogenation of organic substrates, i.e. H2 or H-transfer hydrogenations, e.g. Fischer-Tropsch processes |
This place covers:
Chemical elements of heterogeneous catalysts.
C-Sets classifications:
In this group, C-Sets (e.g. #B1Ja) are used. The detailed information about the C-Sets construction and the associated syntax rules are found in the "Special rules of classification" in B01J 23/002.
This place covers:
In this indexing scheme additional compositional aspects of the coordination complexes contained within group B01J 31/00 are indexed, e.g. polynuclearity, ligand type, metal bonding mode(s) and the specifically disclosed central metal(s) therein.
Furthermore additional information is indexed regarding any special solvent (systems) used for any catalyst system of the group B01J 31/00.
General concepts, e.g. as presented in review articles, relating to catalyst systems and methods of making them, the concept being defined by a common material or method/theory are indexed in B01J 2531/001 - B01J 2531/008.
Indexing codes B01J 2531/0202 - B01J 2531/0222 specify the presence and type of polynuclearity, as well as linkage type of the metals involved among themselves.
Indexing codes B01J 2531/0225 - B01J 2531/0283 characterise the complexes on the basis of bond-type (linkage-type) between central metal(s), thereby specifying the structural geometry of the complexes, while classification entries B01J 31/16 - B01J 31/24 are purely compositional subdivisions.
Indexing codes B01J 2531/0286 - B01J 2531/0297 broadly characterise ligands by their function.
Indexing codes B01J 2531/10 - B01J 2531/847 are used to index the individual (central) metals in the (polynuclear) complexes.
Special solvent (systems) used with any catalyst system of the group B01J 31/00 are indexed in B01J 2531/90 - B01J 2531/985.
In this group the term "metals" refers to the central metal in the coordination complexes (B01J 31/16 - B01J 31/24), as used for the respective catalytic reaction, excluding simple carboxylates (see B01J 31/04) and other simple salts or organometallic compounds (see B01J 31/12).
As to components, only those metals or solvents are indexed which are explicitly mentioned in the claims or the worked examples.
As to compositional aspects, only those are provided for in the scheme below and are intended to be indexed, which provide additional information regarding the complexes and/or ligands classified in B01J 31/16 - B01J 31/24. Indexing codes B01J 2531/0286 - B01J 2531/0297 are only used if these aspects are described as essential.
The individual metals, the compositional aspects of complexes used and the solvents are indexed for each explicit alternative, according to the guideline above.
As to concepts, only the focus is indexed in B01J 2531/004 - B01J 2531/007 and only if groups with closely related members are concerned, e.g. N-heterocyclic carbenes (B01J 2531/004), Pd-complexes (B01J 2531/005), added halide (B01J 2531/007). Otherwise the main code B01J 2531/002 is used.
In this place, the following terms or expressions are used with the meaning indicated:
Ionic liquid | an organic salt in the liquid state at the reaction temperature employed, e.g. ≤ 100 °C or ≤ 20 °C ("room-temperature ionic liquid") |
Bi- or polynuclear complex | a coordination complex comprising two or more same or different metal atoms, without M-M bonds; e.g. Cp(Lx)Zr-imidazole-Zr(Lx)Cp, [R2PCp-Fe-CpPR2]Rh(L)n, [(salen)Co(III)]SbF6, Co(II)(salen)Fe(II)Cl2. |
Bimetallic complex | a discrete coord. complex comprising one or more units of two metals, same or different, with metal-metal bonds but no all-metal (M)n rings, e.g. Cr2(OAc)4, [(Mo2)4(MeOPhNCNPhOMe)8(Ph(COO)2)4], [Ph2P-X-PPh2]Pt(Cl)SnCl3, [Cp(CO)2Mn=]2Pb. |
Metal cluster | a coordination complex with 3 to abt. 1000 same or different metal atoms and further comprising M-M bonds to provide (M)n rings, i.e. size range from atomic to colloid dimensions; e.g. Rhx(CO)y, [R3P=N=PR3]+[Ru3lr(CO)13]-, [Rh3(DIPAMP)3(μ3-OMe)2]BF4, Pt4(OAc)8, "Pd(OAc)2" = Pd3(OAc)6. |
Pincer-type complexes | Example (with metal-carbon bond): |
Tripodal ligand | Example (tris(pyrazolyl)borate skeleton): |
Tedicyp ligand (flexible) |
|
Corrole | Example: |
Phthalocyanin (parent structure) |
|
Porphyrin ring system | Example: |
BINAP (Ligand with axial chirality) |
|
DIOP (tartrate-derived ligand, example) |
|
Salen-ligand (parent structure) |
|
Ligand with affinity tag (example) |
|
In patent documents, the following abbreviations are often used:
(RT)IL | (room-temperature) ionic liquid |
Cp | cyclopentadienyl |
Cp* | pentamethyl cyclopentadienyl |
Attention is drawn to the following places, which may be of interest for search:
Ligands adapted to form modular catalysts, e.g. self-associating building blocks |
This place covers:
Additional information regarding catalytic systems classified in B01J 31/00 and not covered by B01J 2531/00.
In this group further compositional aspects of coordination complexes and/or ligands classified in B01J 31/16 - B01J 31/24 are indexed. Only such aspects are provided for and are intended to be indexed, which provide additional information regarding the complexes and/or ligands classified in B01J 31/16 - B01J 31/24 and indexed in B01J 2531/00, e.g. non-coordinating substituents on the ligand described as essential, and which are explicitly mentioned in the claims or the worked examples.
The primary subdivision is according to heteroatoms in such substituents, cf. indexing codes B01J 2540/10 (oxygen), B01J 2540/20 (halogen), B01J 2540/30 (sulfur), B01J 2540/40 (nitrogen), B01J 2540/50 (phosphorus). The respective lower groups define these heteroatom groups further.
A further primary subdivision is according to generic statements of function of substituent groups on the ligand, cf. B01J 2540/60. These functions must be presented as essential in the application, either in the description or the claims. The focus here is more on the groups as such, whereas the codes in B01J 2531/00, e.g. B01J 2531/028 or B01J 2531/0291 are used for the overall ligand. In case of doubt the codes of B01J 2531/00 should be used.














