CLASS 137, | FLUID HANDLING |
| Click here for a printable version of this file | |
SECTION I - CLASS DEFINITION
This is the residual class for fluid material handling, and takes processes, systems, combinations, subcombinations and certain elements pertaining thereto not otherwise classified.
Fluid materials include gas and liquids primarily, but the handling of other flowable materials, as fluent granular solids, is also found.
Handling for this class comprises the transfer of fluent material by flow, as by confining, directing, causing and/or controlling the flow, and includes making the material available for flow or separating a smaller from a larger body of fluid material, as by tanks, containers, receivers, traps, etc., or pipes or conduits, with or without siphons, pumps, pressure or displacing fluids or other flow imparting means.
SECTION II - LINES WITH OTHER CLASSES AND WITHIN THIS CLASS
The class is divided into two groups, subclasses 1+ for processes, and subclasses 38 to 616 for automatic or condition change responsive devices, special types and combinations of the necessary elements of the class with the subject matter of other classes or with features added to perfect the operation of the material handling means, and the more complex devices of the class generally grouped under the title "systems." Class 251, Valves and Valve Actuation, provides for valves and valve actuation not otherwise classified. Subclasses 777 to 802 comprise subcombinations and elements pertaining to fluid handling not particularly related to any of the special types and not otherwise classified.
Automatic or condition change responsive systems and devices of this class are discussed more at length in (1) Automatic Control below, (2) Plural Valves, and (3) Valve Actuation.
(1) AUTOMATIC CONTROL
Devices and systems in which the presence or absence of, or a change in, a condition is sensed and control exercised as a result thereof are commonly called automatic, and in this class form the basis of a number of "special type" and general categories.
Line condition change response refers to control exercised over the material being handled in the system as a result of a change in the condition of that material, as temperature, quantity, pressure or rate of flow. Condition change response does not include the mere fact of flow or those fluid pressure operated devices where change does not affect the operation of the device, nor those where the flow is changed by external means for the purpose of causing operation of the control means or with that result.
Combinations of an automatic valve with a nonautomatic valve have been excluded for line condition change responsive groupings because the system comprising such combinations is not primarily automatic.
Fluid actuated or retarded valves which have not been considered automatic even though they depend on the presence of fluid flowing in the line, and have been classified in the following subclasses in Class 251; are (1) fluid actuated valves with compulsory cut-off after a flow period (subclasses 15+), (2) dash-pot or fluid controlled timers and retarders for valves, operating fluid for which is derived from the line controlled (subclasses 50+).
The following groups of subject matter in this class are wholly or partly of automatic or closely related types. In each instance the search notes in the definitions of the particular subclasses referenced in Subclass References of the Current Class, below, should be consulted for related art.
Atmospheric
Boiler (see temperature)
Combustion (see temperature)
Discriminating Valves (see level response).
Failure Responsive and Testing Devices
Freeze (see Temperature).
Heating (see Temperature)
Inertia or Position Change
Level Response or Maintenance, Floats, Gravitating Tanks, including: (A) By pressure connection at liquid level; (B) By gravitating vessel; and (C) By floats - This class is the generic place for floats, per se, and systems controlled by floats are classified in various appropriate groups, the subclasses in Subclass References to the Current Class provide especially for float control or operation.
Line Condition Change Response - See the definition, second paragraph of this section, and listings under Plural heading below
Periodic or Cyclic
Plural - For a discussion of plural valves as such, see following section (4). In this category, plural flow controllers, valves, or condition responsive means may be (A) plural valves controlling different flows, (B) plural valves controlling the same flow, (C) one valve responding to changes in plural conditions, or (D) plural valves each responding to a different condition change. Subclass References to the Current Class includes subclasses references to the following: (1) Plural Flows; (2) Plural Condition Responses; (3) Plural Controls, One Condition Responsive -Where the controls are separate valves controlling the same flow and one is not automatic or line condition responsive the patent is excluded from line condition responsive categories. See section 2, definitions. Such patents may appear in the earlier special type groups of subclasses, however:
Pressure Modulating
Pump
Safety cut-offs - For resetting operations see (3) Manual Control, Resetting, and Adjusting Devices, especially the subclass references to Cut-offs With Resetting.
Speed Responsive Control
Temperature. (See Boiler, Combustion)
(2) PLURAL VALVES
Control means for plural flow paths comprising a single movable body having plural seats or plural port obstructing positions have been classified as multiway valve units in subclasses 625+. Valves associated with dispensers have been classified in Class 222, Dispensing. See especially the Search Notes in the appropriate subclasses of these classes and in the main class definitions, as well as the Search Notes to the subclasses listed below.
In Class 137 devices for controlling plural flows have been regarded as comprising a system (1) if additional flow confining means was claimed to a greater extent than as a mere mounting for the valves, (2) if some definite significant relation between fact of flow and/or the direction of flow in the plural flow paths exists, or (3) if one or more conduits or passages have two or more valves or cut-off devices which function to control the flow of the fluid by means of the valves. Some plural flow path controls of various automatic or condition change responsive types are also found in the earlier subclass groups, but on that basis rather than as systems in and of themselves.
Plural valves having a common means for simultaneous or alternating actuation, are for the most part in appropriate subclasses under subclass 561. Some valves, because of motor or complex mechanical actuation, have been classified in Class 251, Valves and Valve Actuation, under the type of actuation.
For plural automatic or condition responsive valves, see (1) Automatic Control, "Plural Condition Responses", above and the associated references in Subclass References to the Current Class.
For plural valves, one automatic or condition responsive and one or more mechanically or manually actuated, see section for Automatic Control, Plural Controls, "One Condition Responsive", above and the associated references in Subclass References to the Current Class.
(3) MANUAL CONTROL, RESETTING AND ADJUSTING DEVICES
See section for Automatic Control, Plural Controls, One Condition Responsive, above for notes on manual control of valves which are also condition responsive and for manual valves combined with automatic or condition responsive valves.
The term "manual" in some instances includes nonautomatic valve actuation of other types, as by mechanical movements or even motors.
The term "control" or "actuation" as applied to the operation of valves does not include the resetting of valves which are either condition responsive or trip actuated to move from a preset position and which do not return to that position when the operating force is removed or reversed, but require intervention of an external independent agency to restore them to their set position. Mere adjustment of bias, spacing, seating or actuator connection of a valve is not included in these terms.
(A) Flow Control or Valve Actuation - See references to (1) Automatic Control, "Plural Controls, One Condition Responsive", for manual and automatic actuation of valves, and also (2) "Plural Valves," for plural valves, including actuation.
(B) Cut-Offs with Resetting - Also see references to (1) Automatic Control, "Safety Cut-offs."
(C) Adjustment
SECTION III - SUBCLASS REFERENCES TO THE CURRENT CLASS
SEE OR SEARCH THIS CLASS, SUBCLASS:
| 2+, | for processes of controlling a flow by condition or characteristic of a fluid, especially subclasses 3+ for mixture control. (Automatic Control - Line Condition Change Response). |
| 3+, | processes of mixing plural fluids of diverse characteristics or conditions. (Automatic Control - Plural Flows). |
| 6, | processes of mixing controlled by heat of combustion of mixture. (Automatic Control - Combustion). |
| 8, | processes for producing uniform flow. (Automatic Control - Pump). |
| 13, | processes for affecting flow by the addition of energy (Automatic Control - Pump). |
| 11, | Processes of regulating boiler feed water level.(Automatic Control - Boiler). |
| 11, | processes of regulating boiler water level. (Automatic Control - Level Response or Maintenance, Floats, Gravitating Tanks). |
| 10, | processes of flow control by speed of fluid. (Automatic Control - Speed Responsive Control). |
| 13, | processes of affecting flow by the addition of heat. (Automatic Control - Temperature). |
| 38+, | for change of altitude as reflected by change in air pressure, see subclass 81. (Automatic Control - Inertia or Position Change). |
| 39, | control by change of position or inertia of system with second control. (Automatic Control - Plural Controls, One Condition Responsive). |
| 39, | control by change or position or inertia of system with second control. (Automatic Control - Plural Condition Responses). |
| 40+, | marine governors. (Automatic Control - Combustion). |
| 49, | speed responsive valve control with manual control. (Automatic Control - Plural Controls, One Condition Responsive). |
| 76, | and 77, heat destructible or fusible control elements with external closing means. (Automatic Control - Plural Controls, One Condition Responsive). |
| 80, | atmospheric temperature change responsive control with additional diverse control. (Automatic Control - Plural Controls, One Condition Responsive). |
| 41, | float controlled marine governors. (Automatic Control - Level Response or Maintenance, Floats, Gravitating Tanks, By floats). |
| 47+, | speed responsive valve control. (Automatic Control - Speed Responsive Control). |
| 43, | vent closing in overturned containers. (Automatic Control - Safety cut-offs). |
| 50, | and 57, excess speed responsive controls. (Automatic Control - Safety cut-offs). |
| 50, | and 51+, speed responsive control with other condition responsive valve control. (Automatic Control - Plural Condition Responses). |
| 50, | and 57, excess speed cut-offs. (Manual Control, Resetting And Adjusting Devices - Cut-Offs with Resetting). |
| 52, | speed responsive valve control with governor drive failure control. (Automatic Control - Failure Responsive and Testing Devices). |
| 59+, | freeze condition responsive safety cut-off. (Automatic Control - Temperature). |
| 65+, | combustion failure responsive safety cut-offs for burners. (Manual Control, Resetting And Adjusting Devices - Cut-Offs with Resetting). |
| 65+, | combustion failure responsive fuel safety cut-offs for burners. (Automatic Control - Boiler). |
| 65+, | combustion failure responsive fuel safety cut-off for burners. (Automatic Control - Temperature). |
| 65+, | combustion failure responsive fuel safety cut-offs for burners. (Automatic Control - Combustion). |
| 65+, | combustion failure responsive fuel safety cut-off for burners. (Automatic Control - Safety cut-offs). |
| 65+, | combustion failure responsive cut-off for burner fuel. (Automatic Control - Failure Responsive and Testing Devices). |
| 67+, | frangible, soluble, deformable or fusible control elements, the failure of which caused operation of safety means. (Automatic Control - Failure Responsive and Testing Devices). |
| 67+, | destructible or deformable element control, especially subclasses 72+, heat destructible or fusible. (Automatic Control - Combustion). |
| 72+, | heat destructible or fusible element control. (Automatic Control - Temperature). |
| 73, | heat destructible of fusible element control with second sensing means. (Automatic Control - Plural Condition Responses). |
| 75+, | heat destructible or fusible safety cut-offs. (Manual Control, Resetting And Adjusting Devices - Cut-Offs with Resetting). |
| 80, | atmospheric temperature change responsive control with additional diverse control. (Automatic Control - Plural Condition Responses). |
| 82+, | pressure modulating relays or followers. (Automatic Control - Pressure Modulating). |
| 98+, | self-proportioning flow systems. (Automatic Control - Plural Condition Responses). |
| 75+, | heat destructible or fusible safety cut-off elements. (Automatic Control - Safety cut-offs). |
| 78+, | for atmospheric condition change responsive controls. (Automatic Control - atmospheric). |
| 79+, | atmospheric temperature change responsive control. (Automatic Control - Temperature). |
| 87.01+, | plural flows. (Automatic Control - Line Condition Change Response). |
| 87.01+, | self-proportioning or correlating systems. (Automatic Control - Plural Flows). |
| 88+, | apparatus for controlling mixtures. (Automatic Control - Line Condition Change Response). |
| 96+, | control of pump-motive fluid by level of pumped liquid. (Automatic Control - Level Response or Maintenance, Floats, Gravitating Tanks). |
| 98+, | self-proportioning flow systems. (Automatic Control - Line Condition Change Response). |
| 90, | mixture condition maintaining or sensing by temperature or heat content. (Automatic Control - Temperature). |
| 94, | fuel controlled by boiler or water system condition. (Automatic Control - Temperature). |
| 94, | fuel controlled by boiler or water system condition.(Automatic Control - Boiler). |
| 94, | fuel controlled by boiler or water system condition. (Automatic Control - Combustion). |
| 101.25+, | for self-proportioning systems with liquid level sensing means. (Automatic Control - Level Response or Maintenance, Floats, Gravitating Tanks). |
| 103+, | vacuum or suction pulsator type systems. (Automatic Control - Periodic or Cyclic). |
| 106, | reversing or 4-way valve systems. (Automatic Control - Periodic or Cyclic). |
| 109+, | self-controlled branch flow systems. (Automatic Control - Line Condition Change Response). |
| 115.03+, | by-pass or relief responsive to change in rate or main line flow in self-controlled branch systems. (Automatic Control - Speed Responsive Control). |
| 129, | 163, 190, 401, and 404, sinking or bucket type floats. (Automatic Control - Level Response or Maintenance, Floats, Gravitating Tanks, By gravitating vessel). |
| 120, | 161, 162+, 189, 402, and 403+, especially subclass 408, gravitating tanks. (Automatic Control - Level Response or Maintenance, Floats, Gravitating Tanks, By gravitating vessel). |
| 120, | and 122, filling successive tanks by float controlled receiver. (Automatic Control - Level Response or Maintenance, Floats, Gravitating Tanks, By floats). |
| 129, | sinking float operated siphons. (Automatic Control - Level Response or Maintenance, Floats, Gravitating Tanks, By floats). |
| 129, | 163, 190, 401, and 404, for sinking or bucket type floats: see level response. (Automatic Control - Level Response or Maintenance, Floats, Gravitating Tanks, By floats). |
| 131, | float controlled discharge from a siphon to a receiver. (Automatic Control - Level Response or Maintenance, Floats, Gravitating Tanks, By floats). |
| 132+, | periodic or accumulation responsive siphon discharge. (Automatic Control - Periodic or Cyclic). |
| 133, | periodic siphons with manual control. (Automatic Control - Plural Controls, One Condition Responsive). |
| 135, | float operated inlet for siphons. (Automatic Control - Level Response or Maintenance, Floats, Gravitating Tanks, By floats). |
| 137, | for float operated vents for trapped air in a siphon. (Automatic Control - Level Response or Maintenance, Floats, Gravitating Tanks, By floats). |
| 154+, | diverse fluid containing pressure systems, especially subclass 155, gas lift valves for wells, 180, 183, 199, 204, 213+. (Automatic Control - Line Condition Change Response). |
| 154+, | 155, 156+, for diverse fluid containing pressure systems which repeatedly discharge gas and/or liquid upon accumulation thereof. (Automatic Control - Periodic or Cyclic). |
| 154+, | diverse fluid containing pressure systems, especially subclasses 156+, gas pressure discharge of liquid feed traps to receivers under pressure and 173+, plural discriminating outlets for diverse fluids in pressure systems. (Automatic Control - Plural Flows). |
| 156+, | gas pressure discharge of liquid feed traps to boilers.(Automatic Control - Boiler). |
| 158, | gas pressure discharge of liquid feed trap controlled by level in boiler or receiver. (Automatic Control - Level Response or Maintenance, Floats, Gravitating Tanks, By pressure connection at liquid level). |
| 169, | manual control of gas pressure in discharging liquid feed traps to boilers. (Manual Control, Resetting And Adjusting Devices - Flow Control or Valve Actuation). |
| 171+, | fluid separating traps or vents. (Automatic Control - Boiler). |
| 171+, | accumulation responsive fluid separating traps and vents. (Automatic Control - Periodic or Cyclic). |
| 163, | 165+, 185+, 192+, and 202, for float control in diverse fluid containing pressure systems. (Automatic Control - Level Response or Maintenance, Floats, Gravitating Tanks, By floats). |
| 171+, | fluid separating traps and vents. (Automatic Control - Discriminating Valves). |
| 173+, | plural discriminating outlets for diverse fluids in pressure systems. (Automatic Control - Plural Condition Responses). |
| 183+, | 199+, for accumulation responsive gas pressure discharge of liquid feed traps to receivers under pressure. (Automatic Control - Periodic or Cyclic). |
| 184, | plural successively opened discriminating fluid responsive valves for liquid in diverse fluid containing pressure systems. (Automatic Control - Plural Condition Responses). |
| 185+, | for gas collecting floats, e.g., inverted bucket type. (Automatic Control - Level Response or Maintenance, Floats, Gravitating Tanks, By floats). |
| 213+, | liquid level responsive gas vent or whistle.(Automatic Control - Boiler). |
| 213+, | liquid level responsive gas vent or whistle. (Automatic Control - Level Response or Maintenance, Floats, Gravitating Tanks, By pressure connection at liquid level). |
| 215+, | back flow prevention by vacuum breaking. (Automatic Control - Line Condition Change Response). |
| 214, | high and low level responsive gas vents or whistles for diverse fluid containing pressure systems. (Automatic Control - Plural Condition Responses). |
| 218, | back flow preventing air vent in liquid line with coacting valve in liquid flow path. (Automatic Control - Plural Condition Responses). |
| 220, | line condition change responsive valves of the Larner-Johnson type. (Automatic Control - Line Condition Change Response). |
| 223+, | tire filling chuck and stem type connectors. (Automatic Control - Plural Controls, One Condition Responsive). |
| 224+, | pressure-responsive pressure-control means for tire inflation devices. (Automatic Control - Pump). |
| 226, | coaxial inflation and relief valves for tire inflation with pressure-responsive pressure-control means. (Automatic Control - Plural Condition Responses). |
| 229, | selectively connected gauge and inflow or relief passages in tire inflation devices. (Plural Valves). |
| 230, | stem attached relief valves for tires. (Automatic Control - Line Condition Change Response). |
| 238+, | steam sterilizing. (Automatic Control - Temperature). |
| 255+, | plural tanks or compartments with parallel flow. (Plural Valves). |
| 270 | through 270.5, for a convertible unit orientable in a single location between plural positions. |
| 271, | for convertible units interchangeable between alternate locations. |
| 274, | 286+, 614+, and 616, valve actuators comprising movable flow pipes. (Manual Control, Resetting And Adjusting Devices - Flow Control or Valve Actuation). |
| 285, | 299 and 300, serial valves in hydrants. (Plural Valves). |
| 289, | balanced valves in hydrants. (Plural Valves). |
| 290, | 291+, and 298, hydrant valve actuators. (Manual Control, Resetting And Adjusting Devices - Flow Control or Valve Actuation). |
| 297, | hydrant casing with heater. (Automatic Control - Temperature). |
| 301+, | hydrant protection against freezing. (Automatic Control - Temperature). |
| 309+, | regenerative furnace type reversing valves. (Automatic Control - Combustion). |
| 309, | regenerative furnace type reversing valves. (Plural Valves). |
| 310, | regenerative furnace type reversing valves with cooling means. (Automatic Control - Temperature). |
| 334+, | heating or cooling of fluid handling systems. (Automatic Control - Temperature). |
| 334+, | heating, especially subclasses 335+, burner type. (Automatic Control - Combustion). |
| 345+, | locomotive associated systems. (Automatic Control - Combustion). |
| 344+, | heating, especially subclasses 335+ burner type. (Automatic Control - Boiler). |
| 346, | locomotive boiler or steam dome associated systems. (Automatic Control - Boiler). |
| 386+, | liquid level responsive or maintaining systems.(Automatic Control - Boiler). |
| 389, | liquid level responsive systems with a second diverse control. (Automatic Control - Plural Condition Responses). |
| 390, | liquid level responsive systems with manual control. (Automatic Control - Plural Controls, One Condition Responsive). |
| 391, | control of both inflow and outflow of a tank by liquid level responsive means. (Automatic Control - Plural Condition Responses). |
| 393, | liquid level control or maintenance. (Automatic Control - Level Response or Maintenance, Floats, Gravitating Tanks, By pressure connection at liquid level). |
| 396+, | for self-emptying tanks responsive to level of accumulated liquid. (Automatic Control - Periodic or Cyclic). |
| 397, | 398+, 401, 404, and 409+, for float control in liquid level responsive or maintaining systems. (Automatic Control - Level Response or Maintenance, Floats, Gravitating Tanks, By floats). |
| 399, | low level safety cut-off of tank outflow. (Automatic Control - Safety cut-offs). |
| 399, | float operated low level safety cut-offs. (Manual Control, Resetting And Adjusting Devices - Cut-Offs with Resetting). |
| 405, | oil burner fuel overflow preventing safety cut-offs operated by accumulated fluid weight. (Manual Control, Resetting And Adjusting Devices - Cut-Offs with Resetting). |
| 405, | oil burner fuel overflow preventing safety cut-offs operated by weight of accumulated fuel. (Automatic Control - Combustion). |
| 436+, | float arm operated valves with restrictors, e.g., silencers. (Automatic Control - Plural Controls, One Condition Responsive). |
| 456+, | line condition change responsive safety cut-offs requiring resetting. (Manual Control, Resetting And Adjusting Devices - Cut-Offs with Resetting). |
| 475+, | pop valve with adjustable choke (Automatic Control - Plural Controls, One Condition Responsive). |
| 481, | combustion engine induction type governor with manual modifier. (Automatic Control - Plural Controls, One Condition Responsive). |
| 495, | line condition responsive valves with a separate connected fluid reactor surface and manual or external control for the valve. (Automatic Control - Plural Controls, One Condition Responsive). |
| 479+, | combustion engine induction type governors. (Automatic Control - Combustion). |
| 457, | safety cut-offs responding to thermal conditions and requiring resetting. (Automatic Control - Temperature). |
| 458, | and 459+, line condition change responsive valves of the safety cut-off type responding to velocity or rate of flow. (Automatic Control - Speed Responsive Control). |
| 458, | safety cut-offs responsive to both high and low pressure or velocity. (Automatic Control - Plural Condition Responses). |
| 482, | combustion engine induction type. (Automatic Control - Plural Condition Responses). |
| 493, | line condition change responsive valves of the bidirectional type governor with suction compensator. (Automatic Control - Plural Condition Responses). |
| 456+, | line condition change responsive safety cut-off valves requiring resetting. (Automatic Control - Safety cut-offs). |
| 455+, | line condition change responsive valves, especially 469+, pop valves. (Automatic Control - Boiler). |
| 486+, | for pilot or servo-controlled valves responsive to change in rate of fluid flow. (Automatic Control - Speed Responsive Control). |
| 497+, | for valves with separate connected fluid reactor surface responsive to change in rate of fluid flow. (Automatic Control - Speed Responsive Control). |
| 468, | line condition thermal change responsive valves. (Automatic Control - Temperature). |
| 482, | combustion engine induction type governor with suction compensator. (Automatic Control - atmospheric). |
| 455+, | line condition change responsive valves. (Automatic Control - Line Condition Change Response). |
| 506, | and 512+, plural line condition change responsive valves. (Automatic Control - Plural Condition Responses). |
| 522+, | for safety valves with testing means. (Automatic Control - Failure Responsive and Testing Devices). |
| 524, | for a valve (i.e., check valve, etc.) that directly responds to a change in line condition having a bias adjustment indicator. |
| 530, | for a reciprocating valve (i.e., check valve, etc.) that directly responds to a change in line condition having a bias fixed or adjusted by a cam. |
| 531, | for a reciprocating valve (i.e., check valve, etc.) that directly responds to a change in line condition having a bias fixed or adjusted by varying its lever. |
| 533+, | position or extent of motion indicators for fluid handling apparatus. (Manual Control, Resetting And Adjusting Devices - Adjustment). |
| 571+, | plural tanks or compartments connected for serial flow. (Plural Valves). |
| 583, | systems with plural openings, one a gas vent or access opening. (Plural Valves). |
| 586, | access opening interlock with outlet valve actuator. (Manual Control, Resetting And Adjusting Devices - Flow Control or Valve Actuation). |
| 595, | 601, 607, 609, 888+, and 896+, plural valves with common operator in plural flow paths, either separate or branching. (Plural Valves). |
| 596, | stop and waste systems. (Plural Valves). |
| 598, | hill holders for hydraulic brake lines. (Automatic Control - Plural Controls, One Condition Responsive). |
| 606, | and 861+, flow control means for plural flows in distribution systems. (Plural Valves). |
| 613+, | distribution systems comprising a single flow path with plural serial valves and/or closures. (Plural Valves). |
| 622+, | multiple valve type fluid distributors for plural chamber servo motors. (Plural Valves). |
| 624.11+, | for timer controlled flow. (Manual Control, Resetting And Adjusting Devices - Flow Control or Valve Actuation). |
| 624.22, | for time cam-operated trips. (Manual Control, Resetting And Adjusting Devices - Cut-Offs with Resetting). |
| 625+, | multiway valve units. (Plural Valves). |
| 624.14, | for self-cycling flows. (Automatic Control - Line Condition Change Response). |
| 624.27, | for line condition change responsive release of valve. (Automatic Control - Line Condition Change Response). |
| 625.61+, | for variable orifice modulator for pilot valve of supply and exhaust valve. (Automatic Control - Plural Controls, One Condition Responsive). |
| 624.13+, | for repeating cyclic control. (Automatic Control - Periodic or Cyclic). |
SECTION IV - REFERENCES TO OTHER CLASSES
SEE OR SEARCH CLASS:
| 251, | Valves and Valve Actuation, subclass 11 for heat motor actuators for valves. (Automatic Control - Temperature). |
| 251, | Valves and Valve Actuation, subclasses 16+ for main line cut-off after flow period reset by operation of serial main valve. (Automatic Control - Safety cut-offs). |
| 251, | Valves and Valve Actuation, subclasses 12+ , for fluid actuated or retarded valves, especially subclasses 15+ for compulsory cut-off after flow period, and subclass 50 for line pressure connected chambers for retarding or timing valves. (Automatic Control - Line Condition Change Response). |
| 251, | Valves and Valve Actuation, subclass 11 for buoyancy motor actuators for valves. (Automatic Control - Level Response or Maintenance, Floats, Gravitating Tanks, By floats). |
| 251, | Valves and Valve Actuation, subclass 27 for servo failure responsive control of a fluid servo operated valve and 69, for electrical trip actuated valves with trip operation on failure of electric power. (Automatic Control - Failure Responsive and Testing Devices). |
| 251, | Valves and Valve Actuation, subclasses 16+ for serial main line cut-off and manual valves, the cut-off operating after a predetermined flow and being reset only by closing the serial manual or mechanically operated valve; subclass 117 for valve and restrictors in parallel flow passages; subclasses 118+ for valves and serial restrictors; subclasses 129+ for valve actuators comprising plural solenoids, which may operate separate valves; and 281+ for balanced valves. (Plural Valves). |
| 251, | Valves and Valve Actuation, subclass 3 , for pattern tracer controlled actuators; subclass 11, for heat or buoyancy motor actuators; subclass 12+,for fluid actuators or retarder.; subclass 64,for nonfluid retarder.; subclass 65,for permanent magnet actuators.; subclass 66,for biased trip actuators; subclass 75,for snap action actuators.; subclass 76,for impact type actuators; subclass 77+, for actuators with lost motion.; subclass 89,for means for holding an actuator in set position; subclass 128and 335, for seals for actuator connecting means; subclass 128and 291+, for detachable actuators; subclass 129+,for electrical actuators; subclass 149+and 149.8, for valves operated by conduit motion; subclass 213+,for mechanical movement actuators; subclass 289,for actuation from plural position.; subclass 290,for plural neutral positions of an actuator; subclass 293,for actuator extensions; subclass 294,for flexible actuators; subclass 295,for pedal actuators; subclass 339, for actuators extending through fluid flow path; subclass 340,for actuators surrounding flow pipes; subclass 341 and 349, for valve actuators wherein part of the valve body is movable. (Manual Control, Resetting And Adjusting Devices - Flow Control or Valve Actuation). |
| 251, | Valves and Valve Actuation, subclasses 15+ , for fluid actuated valves with compulsory cut-off after a flow period; 48+, for fluid retarders or timers for valves; subclasses 64+, for nonfluid retarders for valves; 66+, for biased trip valve actuation. (Manual Control, Resetting And Adjusting Devices - Cut-Offs with Resetting). |
| 251, | Valves and Valve Actuation, subclass 35 for a valve actuated or retarded by a fluid type servomotor having a choke passage that varies according valve position, subclass 42 for a fluid actuated or retarded valve having choke passage pressure type servomotor including an adjustable opening limit for a main valve, subclass 60 for a fluid actuated or retarded valve having an adjustable limit stop, subclasses 84-88 for valve heads movable connected for accommodation to seat, subclasses 120-122 for a valve having a movable or resilient material guide or restrictor, subclass 233 for a valve having a variable leverage lever actuator that is adjustable during operation or subclass 234 for a valve having an adjustable leverage lever. |
| 417, | Pumps, for pumps, per se. For distinction of the line between Classes 137 and 417, see the class definition. (Automatic Control - Pump). |
SECTION V - GLOSSARY
SPECIAL TYPE CATEGORIES
Those comprising a group of related patents directed toward solving a problem in one specific field of activity, which have been classified on the basis of and under a title reflecting that activity rather than on a generalized basis. Examples of special type categories are 94, Fuel controlled by boiler or water system condition; 108, Pump unloader type (indented under Self-proportioning or correlating systems).
SYSTEM
A term applied to any apparatus of the class which comprises more than a single flow path and/or a single valve unit. It may include only an unvalved branched flow path or a single flow path having two or more valve units. In some instances subcombinations or elements having special utility in the combination and having no other classification have been included in the group of subclasses pertaining to the system, as subclasses 777-802, Expansible Chamber Devices.
VALVES AND VALVE ACTUATION
The term "valve unit," as used above, is applied to either a single or multiway valve. In the multiway type plural passages are controlled by valve means having plural flow closing areas or points, but the entire means is housed in a single casing or organized as a body or unit. Valve units as such are classified in subclasses 625+. The class also provides for some valve units under the special titles. Radiator vent check valves, Reversing cokes and valves, Flush or water closet valves, Drain valves, Float valves, Temperature operated cut-off valves, Safety valves, and certain analogous types. The class also takes valves combined with other structure, as the tire inflation type combined with or adapted for connection with inflation means and/or the inflatable article. Class 251, Valves and Valve Actuation provides for valves combined with certain actuators, particularly the fluid and electric motors and the more complex mechanical movement actuators.
The term "Valves" includes variable restrictors, which frequently cannot be distinguished as claimed, and have been set apart only in certain subclasses having the term restrictor or choke in the title, as subclasses 436+, and 475+, primarily because of their special function as silencers. Closures are also frequently indistinguishable from valves, particularly as used and claimed in fluid handling systems. In some instances they have been classified with valves, as in subclasses 613+, Single flow path with plural serial valves and/or closures and Class 251, Valves and Valve Actuation, provides for restrictors or flow guides in subclasses 118.01+.
SUBCLASSES
1 | PROCESSES: | ||||||||||||||
This subclass is indented under the class definition. Processes.
SEE OR SEARCH CLASS:
| |||||||||||||||
2 | With control of flow by a condition or characteristic of a fluid: | ||||
This subclass is indented under subclass 1. Processes in which one or more conditions or characteristics
of a fluent material are determined and used to control the system
in such a manner as to cause delivery of controlled quantities of
a fluent material at a part of the system.
SEE OR SEARCH THIS CLASS, SUBCLASS:
| |||||
3 | Mixing of plural fluids of diverse characteristics or conditions: | ||
| This subclass is indented under subclass 2. Processes in which two or more fluent materials of different
conditions or characteristics are mixed and the determined condition
or characteristic may be taken from any or all the fluent materials
and used to control the quantitative flow in any or all the branches
or in the mixed channel.
SEE OR SEARCH THIS CLASS, SUBCLASS:
| |||
4 | Controlled by consistency of mixture: | ||||
| This subclass is indented under subclass 3. Processes in which the determined condition is the consistency
of the mixture.
SEE OR SEARCH THIS CLASS, SUBCLASS:
| |||||
5 | Controlled by conductivity of mixture: | ||
| This subclass is indented under subclass 3. Processes in which the determined condition is the conductivity
of the mixture.
SEE OR SEARCH THIS CLASS, SUBCLASS:
| |||
6 | Controlled by heat of combustion of mixture: | ||||
| This subclass is indented under subclass 3. Processes in which the determined condition or characteristic
is the heat of combustion of the mixture.
SEE OR SEARCH THIS CLASS, SUBCLASS:
SEE OR SEARCH CLASS:
| |||||
7 | Controlled by pressure: | ||
| This subclass is indented under subclass 3. Processes in which the determined condition or characteristic
is a pressure.
SEE OR SEARCH THIS CLASS, SUBCLASS:
| |||
8 | For producing uniform flow: | ||||||
| This subclass is indented under subclass 2. Processes in which one or more characteristics or conditions
of a fluent material is determined and used to control the system
in such a manner as to cause a uniform flow of a fluent material
through a part of the system.
SEE OR SEARCH THIS CLASS, SUBCLASS:
SEE OR SEARCH CLASS:
| |||||||
9 | For producing proportionate flow: | ||||||||
This subclass is indented under subclass 2. Processes in which one or more conditions of a fluent material
is determined and used to produce or control the flow of a fluent
material at a part of the system, which flow is regulated by the
condition or conditions sensed so as to vary proportionally therewith.
SEE OR SEARCH THIS CLASS, SUBCLASS:
| |||||||||
10 | By speed of fluid: | ||
| This subclass is indented under subclass 2. Processes in which the condition or characteristic determined
is the speed of the fluent material of the system.
SEE OR SEARCH THIS CLASS, SUBCLASS:
| |||
11 | For regulating boiler feed water level: | ||||||||
| This subclass is indented under subclass 2. Processes in which one or more conditions or characteristics
of a fluent material is determined and used to control the flow
of boiler feed water.
SEE OR SEARCH THIS CLASS, SUBCLASS:
SEE OR SEARCH CLASS:
| |||||||||
12 | By fluid pressure: | ||||
| This subclass is indented under subclass 2. Processes in which the condition or characteristic which
is determined is a fluid pressure and the determination is used
to cause delivery of controlled quantity of a fluent material at
a part of the system.
SEE OR SEARCH THIS CLASS, SUBCLASS:
| |||||
12.5 | Carbonated beverage handling processes: | ||||||
| This subclass is indented under subclass 1. Processes for handling potable liquids which are impregnated
with gas.
SEE OR SEARCH THIS CLASS, SUBCLASS:
SEE OR SEARCH CLASS:
| |||||||
13 | Affecting flow by the addition of material or energy: | ||||||||||||||||||
| This subclass is indented under subclass 1. Processes in which the flow of fluent material is facilitated
by the addition of material which affects the flow characteristics
of the fluent material, or by the application of heat or other forms
of energy.
SEE OR SEARCH THIS CLASS, SUBCLASS:
SEE OR SEARCH CLASS:
| |||||||||||||||||||
14 | Involving pressure control: | ||||
| This subclass is indented under subclass 1. Processes in which the pressure of the fluent material is
reduced for the purpose of facilitating handling of the material
or avoiding damage to the equipment, or equalized with the pressure
in another part of the system or a container to facilitate transfer
of the fluent material or of control thereof, or regulated to maintain the
pressure of the fluent material at a desired value.
SEE OR SEARCH THIS CLASS, SUBCLASS:
| |||||
15.01 | Cleaning, repairing, or assembling: | ||||||||
| This subclass is indented under subclass 1. Subject matter wherein the method comprises the removal
of undesirable material from the system, restoration of the system
or its component to a sound condition, or connecting together various
components of the system.
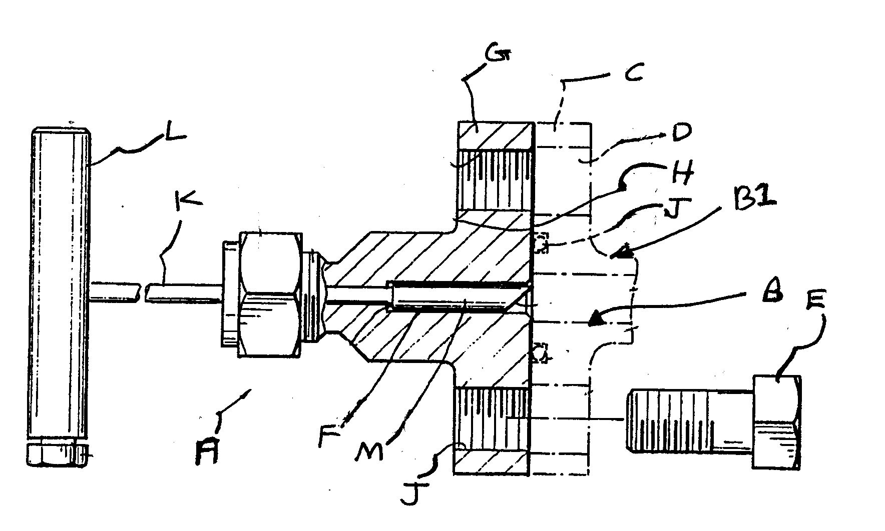
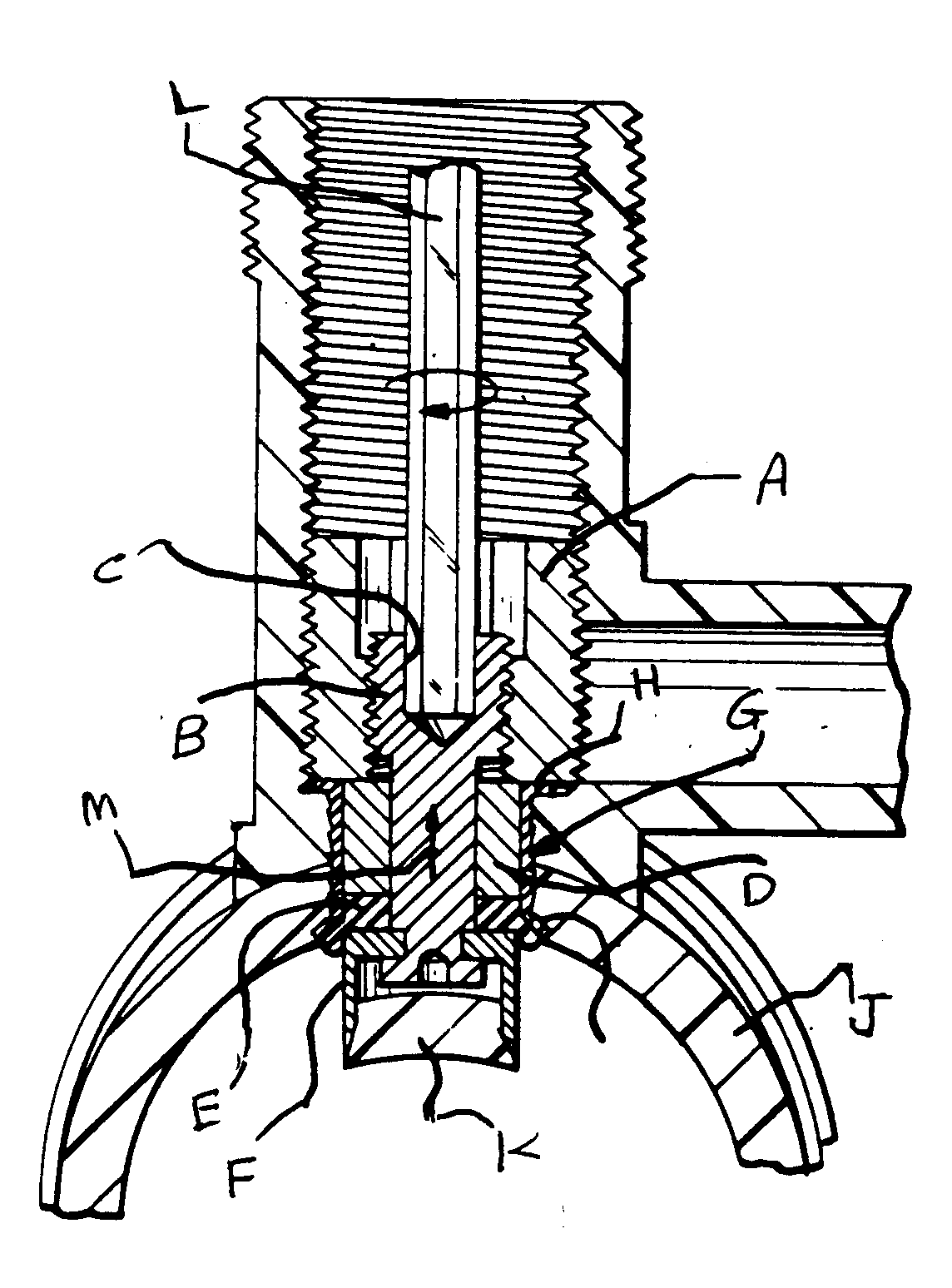
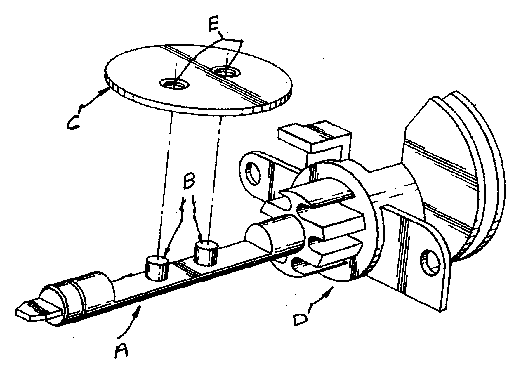
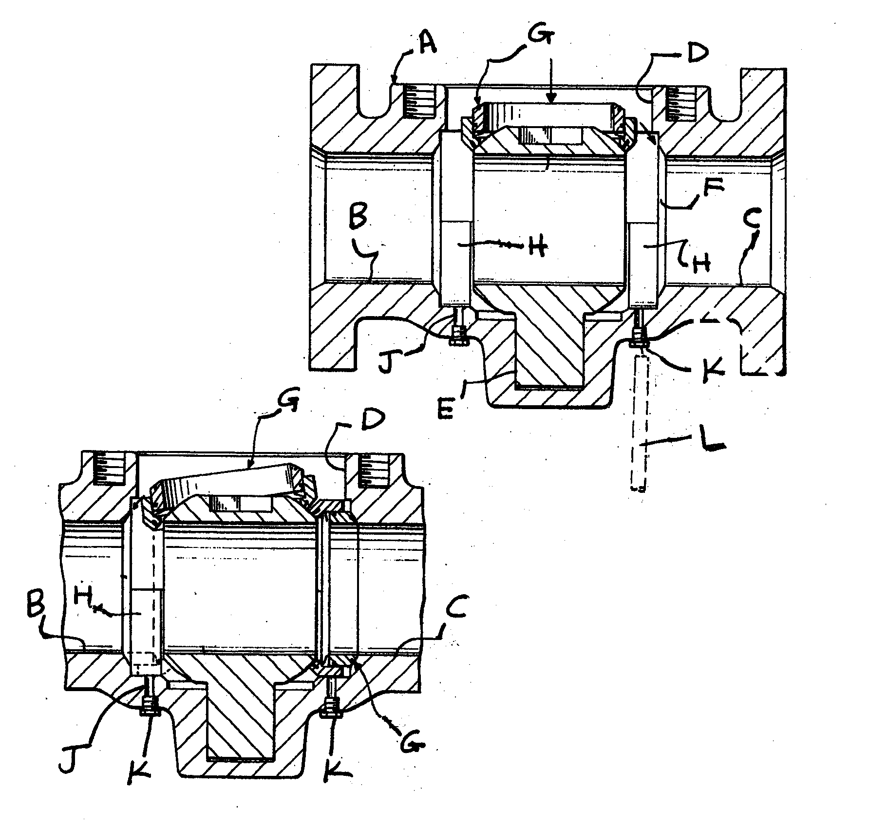
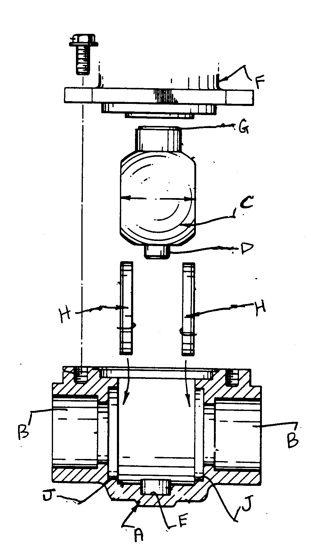
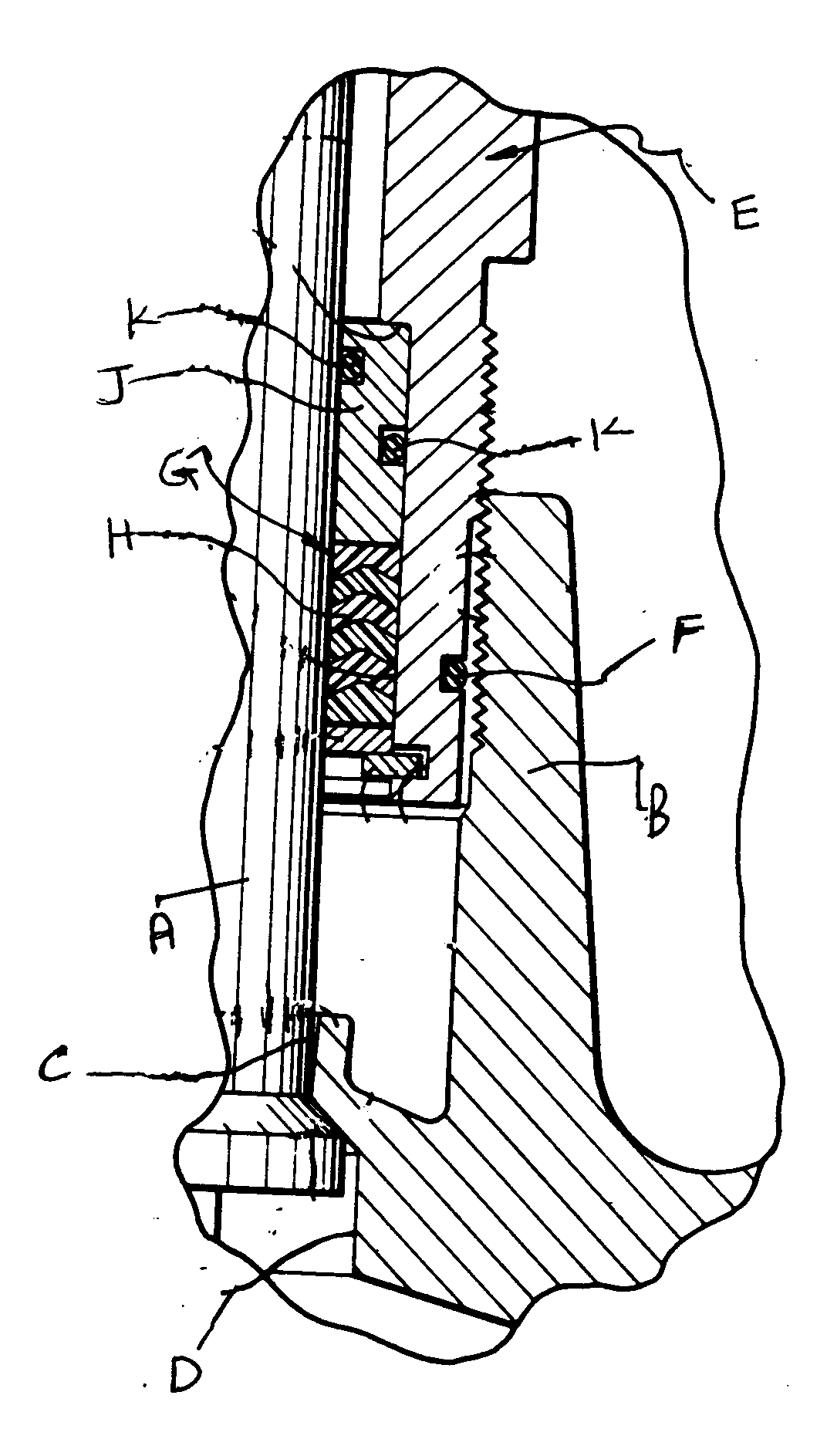
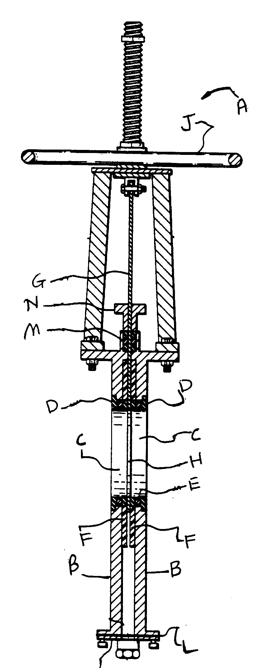
Figures 1, 2, and 3: A typical example of the subject mattershowing various steps of assembling and mounting a faucet structure.A - Sink deck; B - Valve stem; C - Nut; D - Protective shield; E- Groove; F - "C" clip; G - Spout tube; H - Spout bolt; J - Clampingscrew; K - Wrench; L - Draw spout. SEE OR SEARCH THIS CLASS, SUBCLASS:
SEE OR SEARCH CLASS:
| |||||||||
15.02 | Repairing or assembling hydrant (e.g., fireplug, etc.): | ||||
| This subclass is indented under subclass 15.01. Subject matter wherein the process of repairing or assembling
is directed to a system having a discharge pipe including a valve
and a spout, at which water may be drawn from a water main or water
system.
Figure 1: A typical example of the subject matter. A - Firehydrant; B - Nozzle; C - Cap; D - Jet of water; E - Nozzle expanderbolted to "B" by bolts "F"; F - Bolts; G - Shutoff valve; H - Flange;J - Bolts secure to "E" and "G". SEE OR SEARCH THIS CLASS, SUBCLASS:
| |||||
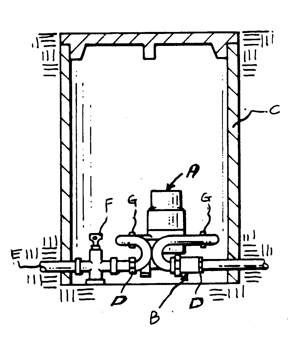
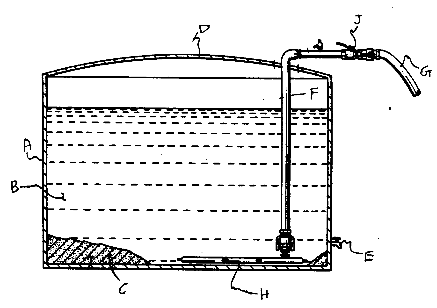
15.03 | Gas or water meter repairing or assembling: | ||||
| This subclass is indented under subclass 15.01. Subject matter wherein the process of repairing or assembling
is directed to an instrument for measuring and recording the quantity
of combustible mixture used for commercial or industrial heating
or for measuring and recording the quantity of water supplied for
commercial or domestic use.
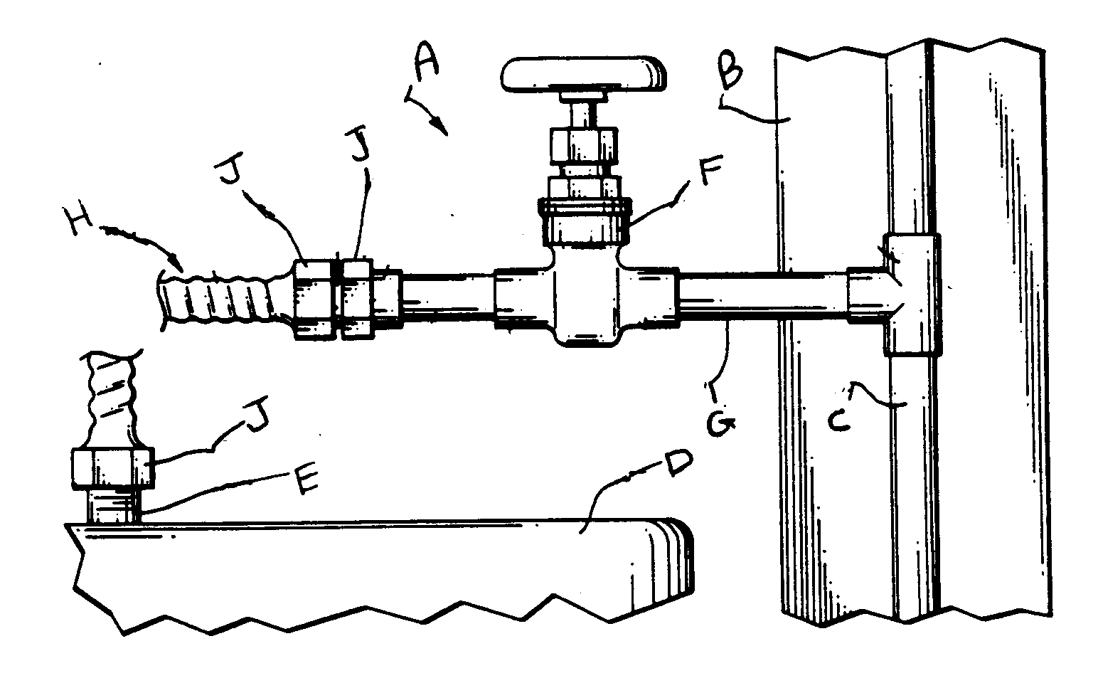
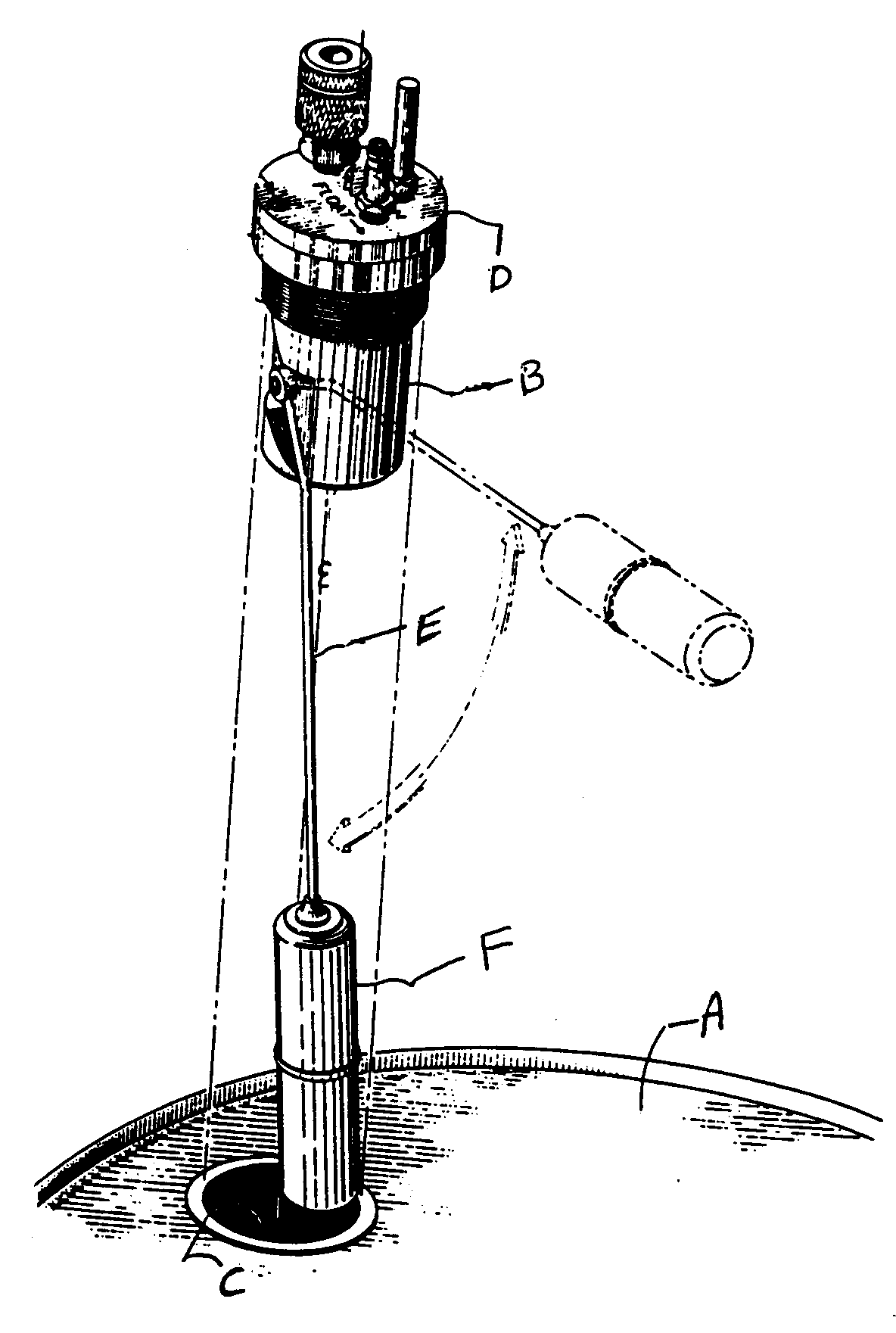
A typical example of the subject matter. Figure 1: A - Gasmeter; B - Outlet gas supply; C - Control valve; D - Regulator;E - Riser nipple; F - Relief valve.
Figure 2: A - Water meter; B - Backflow prevention valve;C - Meter pit; D - Coaxial fitting; E - Fluid conduit; F - Flowcontrol valve; G - Fittings to facilitate meter mounting. SEE OR SEARCH THIS CLASS, SUBCLASS:
SEE OR SEARCH CLASS:
| |||||
15.04 | Fluid cleaning or flushing: | ||||||
This subclass is indented under subclass 15.01. Subject matter wherein the process of comprises injecting
a pressurized gas, liquid, or a mixture of flowable solid and liquid
through the system to eliminate or wash out the material from the
system.
SEE OR SEARCH THIS CLASS, SUBCLASS:
SEE OR SEARCH CLASS:
| |||||||
15.05 | Liquid cleaning or flushing: | ||
| This subclass is indented under subclass 15.04. Subject matter wherein the process of washing out or eliminating
the undesirable material from the system is accomplished by use
of a desirable material which is a fluid that is not in gaseous
form.
Figure 1: A typical example of the subject matter. Brake cylinder"A" is filled with brake liquid "B". Inlet valve "C" is providedfor introduction of new brake liquid. The outlet valve "D" is forremoval of spent brake liquid due to purging. SEE OR SEARCH CLASS:
| |||
15.06 | Valve or valve seat cleaning: | ||
| This subclass is indented under subclass 15.05. Subject matter wherein the flushing liquid is being passed
through the body of a flow regulating device or around the circular
ring or annular sealing surface used for resting or supporting the
head of the device.
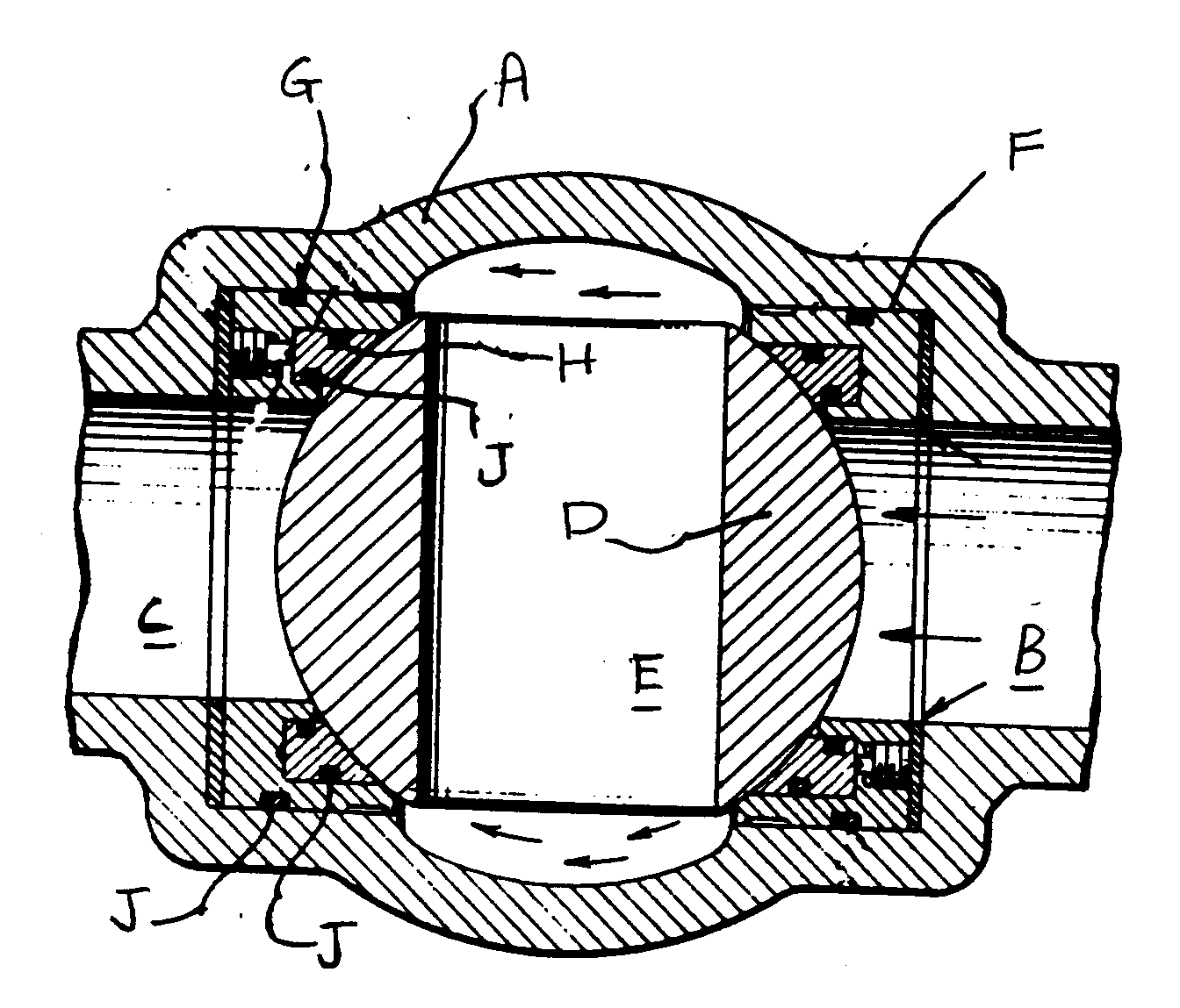
Figure 1: A typical example of the subject matter. A - Seatassembly; B - Valve seat; C - Replaceable gasket; D - Representswashing fluid being flushed; E, F - Path of washing fluid throughslots of gasket. SEE OR SEARCH THIS CLASS, SUBCLASS:
| |||
15.07 | Mechanical cleaning (e.g., pig, etc.): | ||||||
This subclass is indented under subclass 15.01. Subject matter comprising an internally movable element
consisting of a brush, scraper, inflatable ring, or similar means
used for removing undesirable material from the system.
SEE OR SEARCH CLASS:
| |||||||
15.08 | Repairing, securing, replacing, or servicing pipe, joint, valve, or tank: | ||||||
| This subclass is indented under subclass 15.01. Subject matter wherein the process is directed to a tubular
product, coupling, a flow regulating device, or a container or receptacle.
Figures 1and 2: A typical example of the subject matter. A- Supply main; B - Pipe saddle; C - Pipe conduit; D - Coupling;E - Flange adaptor; F - Coupled assembly; G - Standard tool; H -Control valve. SEE OR SEARCH CLASS:
| |||||||
15.09 | Including joint or coupling: | ||||||||
| This subclass is indented under subclass 15.08. Subject matter wherein the significance is attributed
to a union formed by two abutting pipes or ducts, an area at which
two ends or edges of the pipe or duct are attached, or a device
that serves to connect the ends of adjacent parts of a pipe or duct.
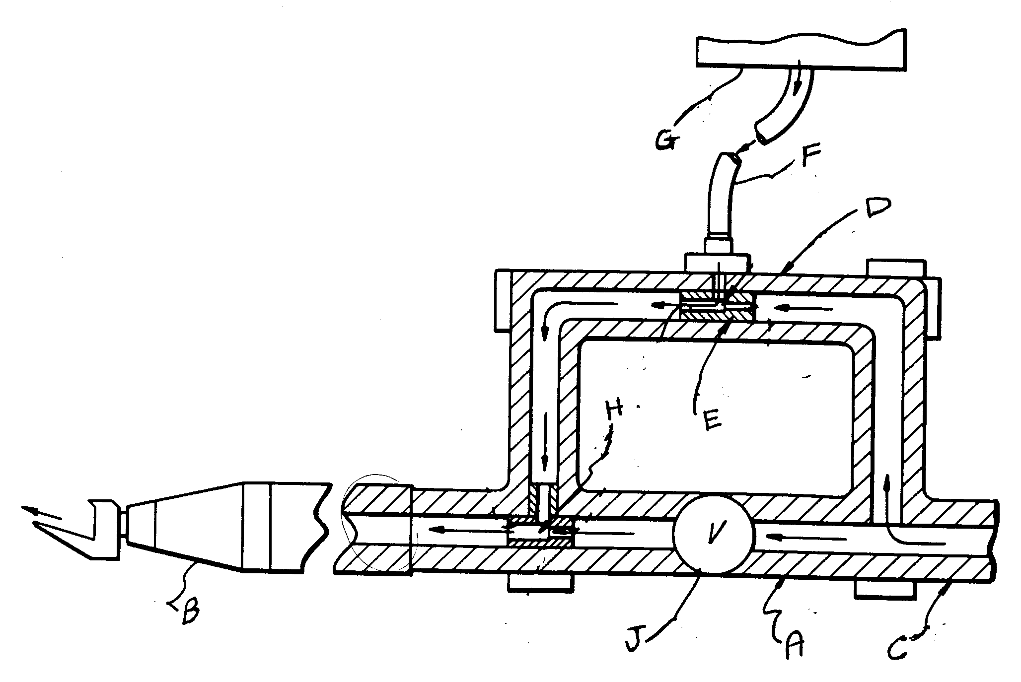
A typical example of the subject matter. Figure 1: COUPLING:A, B - Flanges; C - Gasket; D - Band; E, F - Welds; G - Seat; H,J - Sealing nuts; K - Bolt.
Figure 2: PIPE JOINT: A - Pipe Joint; B, C - Pipe; D - Internalshelf; E - Connector; F - Fitting. SEE OR SEARCH CLASS:
| |||||||||
15.1 | HIGHSPEED FLUID INTAKE MEANS (E.G., JET ENGINE INTAKE): | ||||||
This subclass is indented under the class definition. Apparatus comprising intake means described for use in an
ambient gaseous medium to gather a portion of that medium, said
incoming medium moving at a relatively high speed with respect to
the intake means, said intake means comprising a flow passage for
the incoming medium, said flow passage disclosed as having at least
(1), a portion which converges in the direction of flow or (2),
a portion which diverges in the direction of flow or (3), an enlarged
portion downstream of the intake end.
| |||||||
15.11 | Detecting or repairing leak: | ||||||||||
| This subclass is indented under subclass 15.08. Subject matter wherein the significance is attributed
to discovering or determining presence or existence of a crack,
crevice, or hole that usually by wear and tear or mishap allows gas
or liquid to escape, and restoring to a sound condition by patching,
applying, or injecting a liquid, semi-liquid, or semi-solid material
to prevent gas or liquid entry to or loss from a pipe, duct, container,
or valving system.
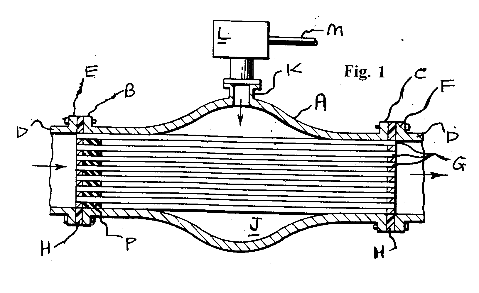
A typical example of the subject matter. Figure 1: INJECTINGSEALANT: A - Leak repair clamp; B - Pipe line; C - Cavity for receivingsealant; D - Passageway for sealant injection; E - Stopper plug.
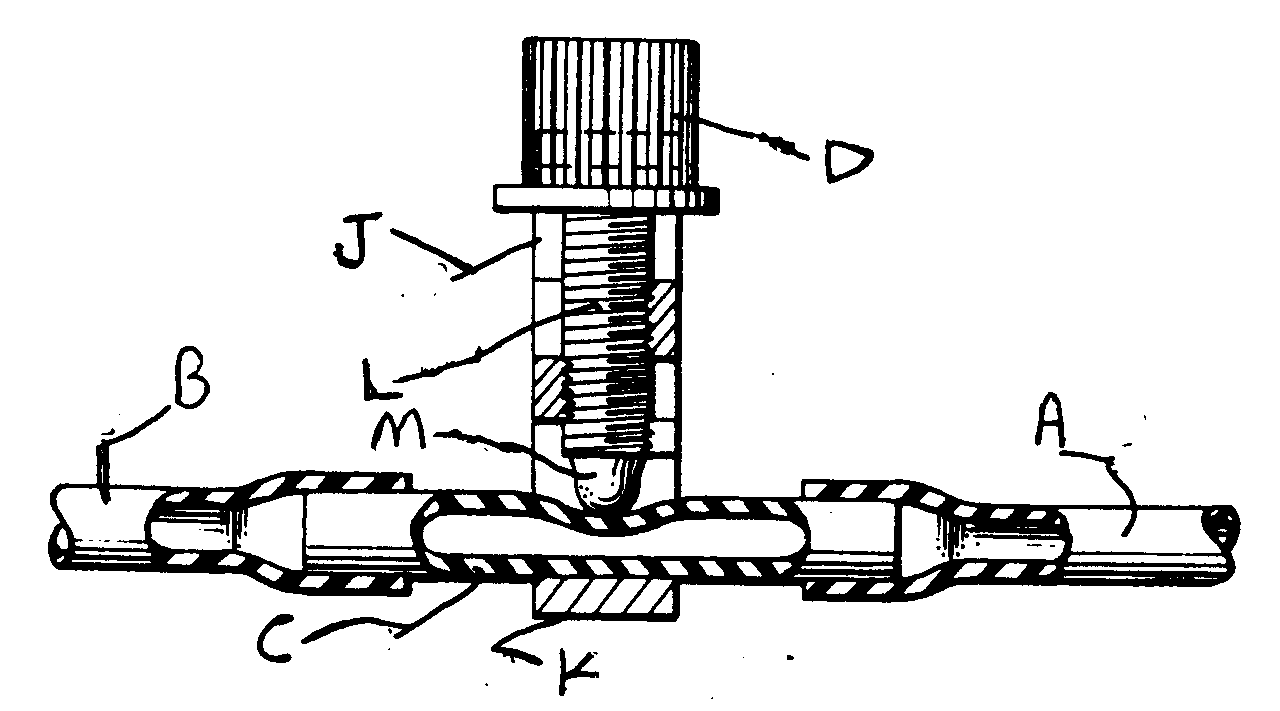
Figure 2: FLEXIBLE PATCH: A - Sealing leak; B - Pipe; C- Sealing patch. SEE OR SEARCH THIS CLASS, SUBCLASS:
SEE OR SEARCH CLASS:
| |||||||||||
15.12 | Tapping pipe, keg, or tank: | ||||||
| This subclass is indented under subclass 15.08. Subject matter wherein the significance is attributed
to piercing an aperture or removing a plug from a tubular product,
a small cask or barrel, or a container or receptacle used for transporting,
holding, or storing a gas or liquid.
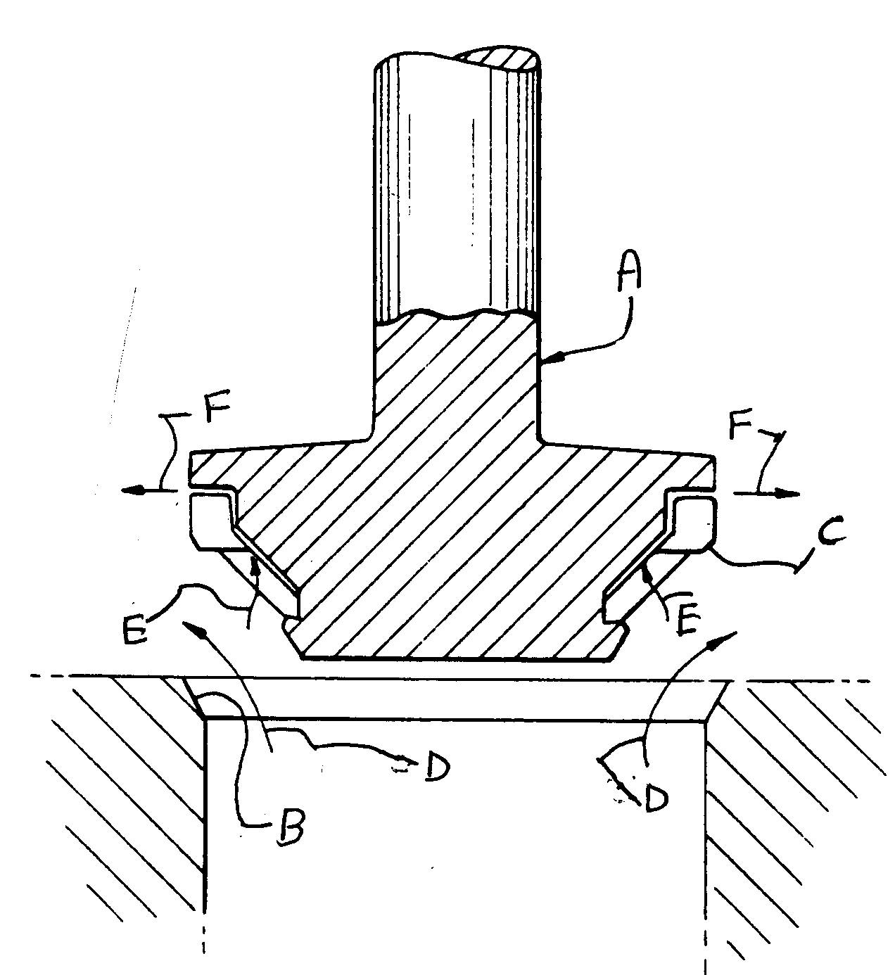
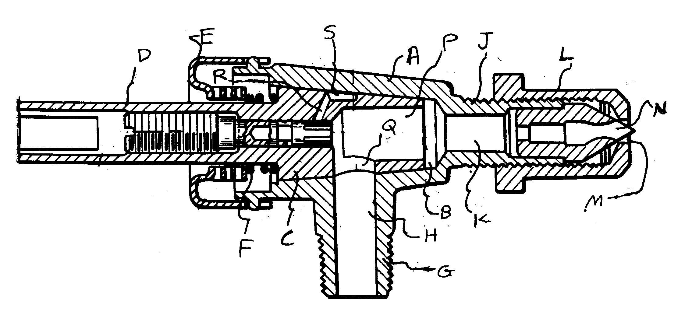
Figure 1: A typical example of the subject matter. A - Concretetube or pipe; B - Tensioned wires; C - Cement coating; D - Sealinggland; E - Shell cutter; F - Film (auxiliary coating); G - Saddle;H - Straps; J - Saddle neck; K - Gasket; L - Tightening bolts; M- Grout; N - Valve casing; P - Valve; Q - Adapter for tapping machine;R - Tapping machine; S - Conduit for fluid under pressure; T - Cuttingmachine shaft; V - Centering drill. SEE OR SEARCH THIS CLASS, SUBCLASS:
SEE OR SEARCH CLASS:
| |||||||
15.13 | Particular aperture forming means: | ||||||
| This subclass is indented under subclass 15.12. Subject matter wherein the significance is attributed
to creating a hole, gap, indentation, or a narrow, deep opening.
Figure 1: A typical example of the subject matter. A - Nipple(outer end); B - Exterior threads; C - Enlarged outer end portion;D - Perforating tool; E - Exterior taper; F Main pipe; G - Allenwrench; H - Passageway; J - Valve. SEE OR SEARCH THIS CLASS, SUBCLASS:
SEE OR SEARCH CLASS:
| |||||||
15.14 | Cutter or cutting tool: | ||||||||
| This subclass is indented under subclass 15.13. Subject matter comprising a shearing device to remove
a portion of the pipe or keg to provide an aperture.
Figure 1: A typical example of the subject matter. A - Cutterassembly; B - Piston; C - Recess; D - Bushing; E - Resilient ring;F - Cutter; G - Tubular insert; H - Annular ring; J - Pipe wall;K - Cut portion (coupon); L - Allen wrench; M - Piston movement. SEE OR SEARCH CLASS:
| |||||||||
15.15 | Having deformable or inflatable means: | ||
| This subclass is indented under subclass 15.13. Subject matter wherein the method of forming an aperture
further includes sealing by use of an abnormally expandable bladder,
compressible stopper, or similar resilient member.
Figure 1: A typical example of the subject matter. A - Pipemain; B - Resilient plug (inflatable); C - Inner rod; D - Saddle;E - Opening in pipe; F - Pipe plug; G - Stopper rod; H - Intermediaterod; J - U-bolt; K - Service tree. SEE OR SEARCH CLASS:
| |||
15.16 | With content loading or unloading (e.g., dispensing, discharge assistant, etc.): | ||||||
| This subclass is indented under subclass 15.08. Subject matter comprising a method of filling the pipeline
or tank with a substance or material or removing a substance or
material from a pipeline or tank.
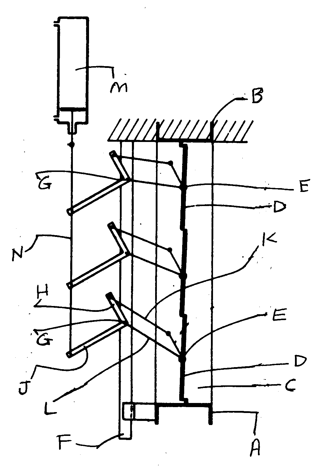
Figure 1: A typical example of the subject matter. A - Vessel;B - Viscous material; C - Gear pump; D - Drain opening; E - Boss;F - Valve body; G - Flange connection; H - Side outlet; J - Piston;K - Actuator; L - Hose; M - Container; N - Solenoid valve. SEE OR SEARCH THIS CLASS, SUBCLASS:
SEE OR SEARCH CLASS:
| |||||||
15.17 | Specific valve or valve element mounting or repairing: | ||||
| This subclass is indented under subclass 15.08. Subject matter wherein the significance is attributed
to the process of installing, replacing, or servicing a flow regulating
device or its component.
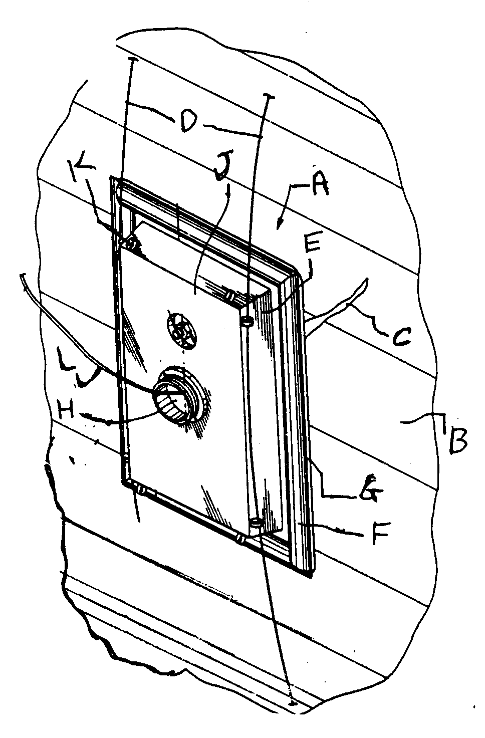
Figure 1: A typical example of the subject matter. A - Valveassembly; B - Interior wall; C - Distribution pipe; D - Tank; E- Tank inlet; F - Main valve; G - Water inlet line; H - Flexibletube; J - Fittings. SEE OR SEARCH THIS CLASS, SUBCLASS:
SEE OR SEARCH CLASS:
| |||||
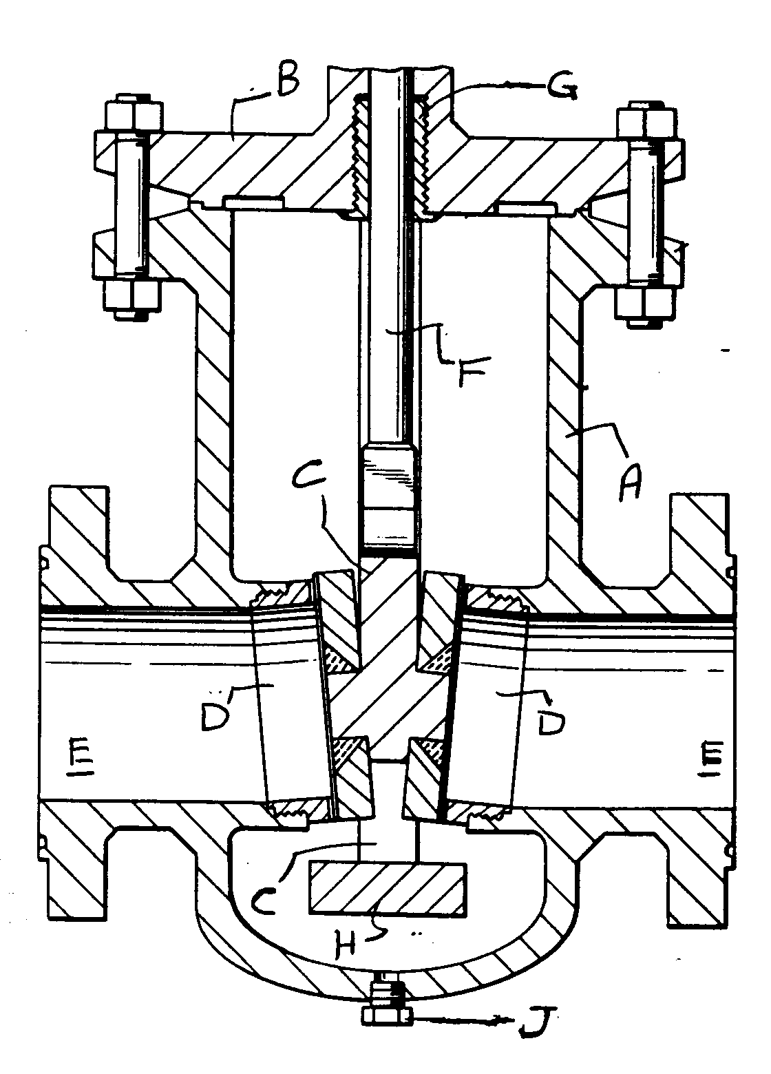
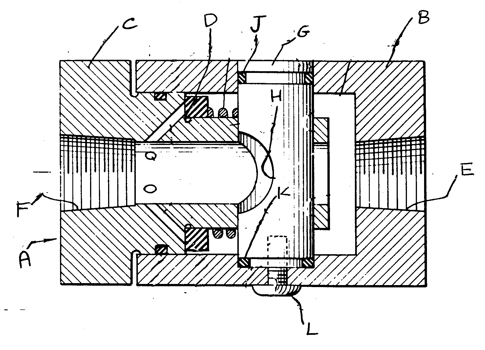
15.18 | Valve or valve element assembling, disassembling, or repairing: | ||||||
| This subclass is indented under subclass 15.01. Subject matter wherein the significance is attributed
to the process of installing, replacing, or securing a flow regulating
device or its component.
Figure 1: A typical example of the subject matter. A - Valvebody; B - Inlet port; C - Outlet port; D - Flanges; E - Valve chamber;F - Seat sections; G - Valve body portion; H - Hanger surface; J- Hanger recess; K - Clapper; L - Annular ring; M- Spherical segment;N - Annular recess; P - Clapper pin; Q - Bushing. SEE OR SEARCH THIS CLASS, SUBCLASS:
SEE OR SEARCH CLASS:
| |||||||
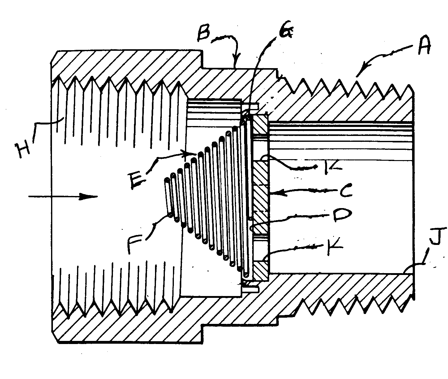
15.19 | Fluid actuated or retarded: | ||||
| This subclass is indented under subclass 15.18. Subject matter wherein the significance is attributed
to the opening or closing movement of the valve and is produced
by the relative force of a gas, liquid, or a mixture of a solid and
liquid.
Figure 1: A typical example of the subject matter. A - Controlvalve; B - Valve stem; C, D, E, F - Lever and link mechanism; G- Piston; H - Servomechanism; J - Actuator; K - Manifold to controlactuator. SEE OR SEARCH THIS CLASS, SUBCLASS:
SEE OR SEARCH CLASS:
| |||||
15.2 | With condition responsive control means: | ||||
| This subclass is indented under subclass 15.1. Apparatus having means sensing a condition of the ambient
medium, or of the medium flowing through the intake means, said
sensing means controlling operation of a control means for the medium
flowing through the intake means, or for a separate fluid.
SEE OR SEARCH THIS CLASS, SUBCLASS:
SEE OR SEARCH CLASS:
| |||||
15.21 | Multi way valve: | ||||
| This subclass is indented under subclass 15.18. Subject matter wherein the valve regulates or controls
a plurality of flow lines.
Figure 1: A typical example of the subject matter. A - Valvebody; B - Valve cage; C - Valve plug; D - Valve stem; E - Bonnet;F, G - Valve ports; H - Central boss; J - Valve body bridge; K,L - Side ports; M - Bottom port. SEE OR SEARCH THIS CLASS, SUBCLASS:
| |||||
15.22 | Ball valve or rotary ball valve: | ||||
| This subclass is indented under subclass 15.18. Subject matter wherein the significance is attributed
to a valve comprising a recriprocating spherical element, a pivoting
spherical element, or a housing having a flow passage therethrough
with a valve seat, and a spherical head that contacts the seat and
can be rotated about an axis passing generally through its geometrical
center by actuating means.
Figure 1: A typical example of the subject matter. A - Valveseat; B - Upper valve seat; C - Lower valve seat; D - Packings;E, F - Retainers; G, H -Bearing packings; J - Valve box; K - Valverod; L - Packing gland; M - Gland screw; N - Ball handle; P - Capnut; Q - Lock nut; R, S, T - Fluid passages. SEE OR SEARCH THIS CLASS, SUBCLASS:
SEE OR SEARCH CLASS:
| |||||
15.23 | Gate valve: | ||||||||
| This subclass is indented under subclass 15.18. Subject matter wherein the significance is attributed
to a valve comprising essentially a wedge-shaped or flat sliding
plate that can be lowered into a seat or raised to regulate fluid flow.
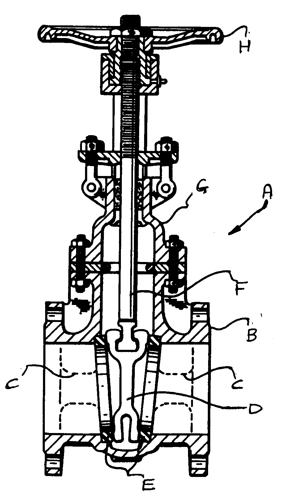
Figure 1: A typical example of the subject matter. A - Gatevalve; B - Valve body; C - Passageway; D -Valve gate; E - Valveseats; F - Valve stem; G - Valve yoke; H - Valve handle. SEE OR SEARCH THIS CLASS, SUBCLASS:
SEE OR SEARCH CLASS:
| |||||||||
15.24 | Plug valve: | ||||
| This subclass is indented under subclass 15.18. Subject matter wherein the significance is attributed
to a valve comprising a cock with a conical or cylindrical piece
which is being turned to regulate the flow.
Figure 1: A typical example of the subject matter. A - Valveassembly; B, C - Inlet and outlet in axial alignment with each other;D - Cylindrical plug assembly with valve assembly "A"; E - Upperactuating portion of plug "D"; F - Lower actuating portion of plug"D"; G, H - Sealing grooves for plug "D"; J - Plug valve handle;K - Valve support surface. SEE OR SEARCH THIS CLASS, SUBCLASS:
SEE OR SEARCH CLASS:
| |||||
15.25 | Butterfly valve: | ||||||||
| This subclass is indented under subclass 15.18. Subject matter wherein significance is attributed to a
valve comprising a substantially flat and coplaner wings depending
from a central axis of rotation.
Figure 1: A typical example of the subject matter. A - Throttlevalve shaft; B - Cylindrical bosses; C - Throttle valve disk; D- Spring retainer and lever; E - Holes to receive bosses "B". SEE OR SEARCH THIS CLASS, SUBCLASS:
SEE OR SEARCH CLASS:
| |||||||||
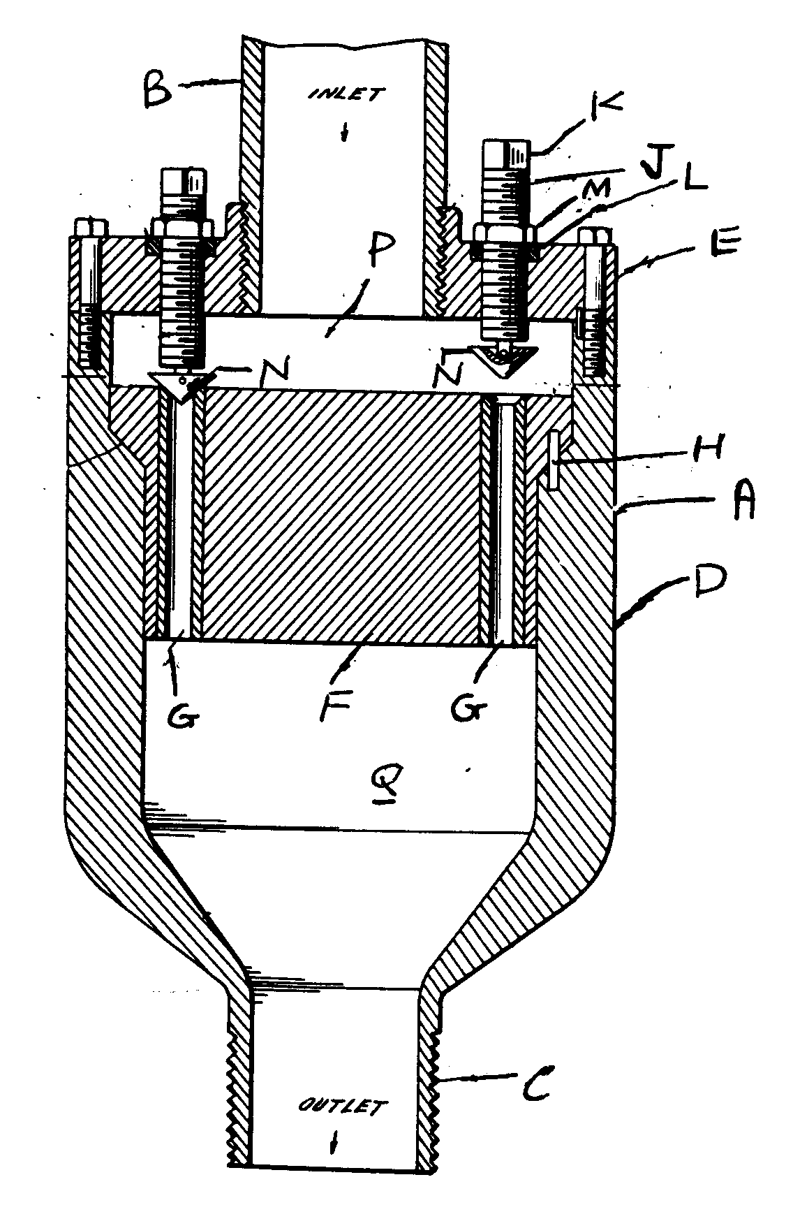
15.26 | Float valve: | ||||||||||||
| This subclass is indented under subclass 15.18. Subject matter wherein the significance is attributed
to a valve comprising a hollow, buoyant element, usually attached
at the end of a lever, providing positive buoyancy while resting
on the fluid surface.
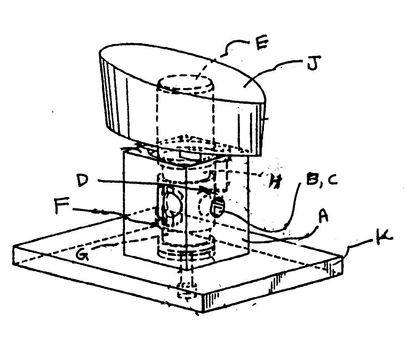
Figure 1: A typical example of the subject matter. A - Tank;B - Water level; C - Standpipe; D - Ballcock valve; E - Lever arm;F - Float; G - Port; H - Fill tube. Note: Valve "D" operates suchthat downward articulation of lever arm "E" causes valve "D" toopen so that water can communicate between port "G" and the fill tube"H". SEE OR SEARCH THIS CLASS, SUBCLASS:
SEE OR SEARCH CLASS:
| |||||||||||||
38 | CONTROL BY CHANGE OF POSITION OR INERTIA OF SYSTEM: | ||||||||||||||||||
This subclass is indented under the class definition. Apparatus wherein a flow of fluid is controlled in response
to (1) the shifting of the position of the system as a whole relative
to gravitational field or to a body of liquid in which the system
exists or (2) the inertia or dislocation of the system as a whole.
SEE OR SEARCH THIS CLASS, SUBCLASS:
SEE OR SEARCH CLASS:
| |||||||||||||||||||
39 | With second control: | ||||||
This subclass is indented under subclass 38. Apparatus which includes, in addition to the control responsive
to the position or inertia of the system as a whole, a second means
for operating the control means.
| |||||||
40 | Position relative body of water (e.g., marine governors): | ||||||||
This subclass is indented under subclass 38. Apparatus wherein the flow is controlled in response to
the position of the system as a whole relative to a body of water
in which the system is located.
SEE OR SEARCH THIS CLASS, SUBCLASS:
SEE OR SEARCH CLASS:
| |||||||||
41 | Float controlled: | ||
| This subclass is indented under subclass 40. Apparatus which includes a float means for sensing the position
of the system relative the body of water in which the system exists.
SEE OR SEARCH THIS CLASS, SUBCLASS:
| |||
42 | Pressure or head controlled: | ||
| This subclass is indented under subclass 40. Apparatus which includes means to sense the pressure or
head of the body of water in which the system exists.
SEE OR SEARCH THIS CLASS, SUBCLASS:
| |||
43 | Vent opening or closing on tipping container: | ||||||
| This subclass is indented under subclass 38. Apparatus including means to close or open a vent opening
on a container when the position of the container is varied, e.g.,
when the container is tipped.
SEE OR SEARCH THIS CLASS, SUBCLASS:
SEE OR SEARCH CLASS:
| |||||||
44 | By shifting of liquid level: | ||||||
| This subclass is indented under subclass 38. Apparatus wherein the control is effected by a change in
a level of a liquid.
SEE OR SEARCH THIS CLASS, SUBCLASS:
| |||||||
45 | By pendulum or swinging member: | ||
| This subclass is indented under subclass 38. Apparatus wherein the flow is controlled by means of a pendulum
or other pivoted member swinging about its pivot in response to
a change of position of the system or to the inertia of the system.
SEE OR SEARCH CLASS:
| |||
46 | With servo connection to valve: | ||
| This subclass is indented under subclass 45. Apparatus in which the pendulum or pivoted member controls
the application of another source of power for operating the control instead
of by acting directly through a mechanical connection.
SEE OR SEARCH CLASS:
| |||
47 | SPEED RESPONSIVE VALVE CONTROL: | ||||||||||
This subclass is indented under the class definition. Systems including the combination of a valve or valves and
an actuator therefor, the actuator including a driven means which changes
its position or produces a regulating pressure which varies in accordance
with the speed at which it is driven.
SEE OR SEARCH CLASS:
| |||||||||||
48 | Acceleration responsive valve control: |
| This subclass is indented under subclass 47. Control systems wherein the driven means changes its position in accordance with the rate of change of speed at which it is driven. | |
49 | With manual valve control: | ||||||||||
This subclass is indented under subclass 47. Control systems including additional means whereby the valve
or valves may be manually operated.
SEE OR SEARCH THIS CLASS, SUBCLASS:
SEE OR SEARCH CLASS:
| |||||||||||
50 | Speed change and excess speed valve control: | ||||
This subclass is indented under subclass 47. Control systems wherein the driven means is operable to
vary the extent of opening of the valve or valves in response to
changes in speed and to effect closing of the valve or valves in response
to a speed above a predetermined speed.
SEE OR SEARCH THIS CLASS, SUBCLASS:
| |||||
51 | With other condition responsive valve control: | ||
| This subclass is indented under subclass 47. Control systems including additional means responsive to
another operating condition which may actuate the same valve which
is actuated by the speed responsive means, or another valve.
SEE OR SEARCH CLASS:
| |||
52 | Governor drive failure responsive: | ||||||
This subclass is indented under subclass 51. Control systems wherein the additional condition responsive
means comprises a control device responsive to the breaking or failure
of the driving means for the speed responsive governor to effect
closing or substantial closing of a valve.
SEE OR SEARCH CLASS:
| |||||||
53 | Centrifugal mass type (exclusive of liquid): | ||
| This subclass is indented under subclass 47. Control systems wherein the speed responsive means comprises
a rotating or revolving weight or weights, the position assumed
by such weight or weights due to centrifugal force varying as a
function of the speed at which they are rotated or revolved.
SEE OR SEARCH CLASS:
| |||
54 | With multiple valves: | ||
This subclass is indented under subclass 53. Control systems wherein two or more valves are provided,
at least one of said valves being actuated by the speed responsive
means.
| |||
55 | Periodically actuated valve: | ||||
This subclass is indented under subclass 53. Control systems wherein the valves or valve are periodically
and continually opened and closed, the governor being effective
to vary the period and/or the extent of opening.
SEE OR SEARCH THIS CLASS, SUBCLASS:
| |||||
56 | Rotating valve and rotating governor: | ||
| This subclass is indented under subclass 53. Control systems wherein the speed responsive means and the
valve or valves are combined to comprise a continuously rotating
construction.
SEE OR SEARCH THIS CLASS, SUBCLASS:
| |||
57 | Excess speed responsive: | ||||||
| This subclass is indented under subclass 53. Control systems wherein the speed responsive means is effective
to actuate the valve or valves only at speeds above a predetermined
speed.
SEE OR SEARCH THIS CLASS, SUBCLASS:
SEE OR SEARCH CLASS:
| |||||||
58 | With fluid servo-motor: | ||||||
| This subclass is indented under subclass 53. Control systems wherein the speed responsive means transmits
its regulating motion to the valve or valves by means of a fluid
type servo-motor mechanism.
SEE OR SEARCH CLASS:
| |||||||
59 | FREEZE CONDITION RESPONSIVE SAFETY SYSTEMS: | ||||||||||||||||||||||||
| This subclass is indented under the class definition. Apparatus which includes means which senses the existence
of conditions which would cause the freezing of liquid within the
system and in response thereto exercises a control to protect the
liquid from freezing or to safeguard the system as a whole from
the effects of freezing of a part thereof.
SEE OR SEARCH THIS CLASS, SUBCLASS:
SEE OR SEARCH CLASS:
| |||||||||||||||||||||||||
60 | With freeze waste: | ||||
This subclass is indented under subclass 59. Apparatus which includes means to protect the liquid from
freezing by responding to the freezing of the liquid in a chamber.
SEE OR SEARCH THIS CLASS, SUBCLASS:
| |||||
61 | Stop and waste: | ||||
| This subclass is indented under subclass 59. Apparatus which closes the system to liquid flow and opens
a waste outlet so that at least part of the liquid in the system
is drained or wasted in response to the sensing of low temperature
or freezing conditions.
SEE OR SEARCH THIS CLASS, SUBCLASS:
| |||||
62 | Low temperature responsive drains: | ||||
| This subclass is indented under subclass 59. Apparatus which operates to open an outlet so that at least
part of the system is drained or emptied of liquid in response to
the sensing of low temperature or freezing conditions.
SEE OR SEARCH THIS CLASS, SUBCLASS:
| |||||
65 | COMBUSTION FAILURE RESPONSIVE FUEL SAFETY CUT-OFF FOR BURNERS: | ||||||||
This subclass is indented under the class definition. Subject matter comprising a flow control device or safety
valve in the fuel supply to a burner which is automatically actuated
to discontinue the fuel flow in response to the extinguishment of
the main or pilot burner.
SEE OR SEARCH THIS CLASS, SUBCLASS:
SEE OR SEARCH CLASS:
| |||||||||
66 | Thermo-electric: | ||||
| This subclass is indented under subclass 65. Control systems wherein the safety valve is retained in
its set or open position under the action of a solenoid, which solenoid
is energized by the electric current generated by a thermoelectric
element, e.g., a thermocouple, subject to the heat of the pilot
burner or main burner.
SEE OR SEARCH CLASS:
| |||||
67 | DESTRUCTIBLE OR DEFORMABLE ELEMENT CONTROLLED: | ||||||||||
This subclass is indented under the class definition. Subject matter in which the flow of fluid is controlled
in response to the destruction, fusion or permanent deformation
of an element or body.
SEE OR SEARCH THIS CLASS, SUBCLASS:
SEE OR SEARCH CLASS:
| |||||||||||
68.11 | Destructible element: | ||||
| This subclass is indented under subclass 67. Subject matter in which the fluid flow control element is
physically broken by having a force acting directly upon it.
SEE OR SEARCH THIS CLASS, SUBCLASS:
SEE OR SEARCH CLASS:
| |||||
68.12 | Combined destructible and fusible element: |
| This subclass is indented under subclass 68.11. Subject matter in which the element breaks and melts at a specific temperature to control the fluid flow or has, in addition to the destructible element, a separate element which melts at a specific temperature to control the fluid flow. | |
68.13 | Explosive actuation: |
| This subclass is indented under subclass 68.11. Subject matter which includes means capable of detonation for creating a force for breaking or deforming the destructible element (e.g., an explosive element moves a plunger or creates a pressure surge to break the element). | |
68.14 | Separable valve coupling or conduit: |
| This subclass is indented under subclass 68.11. Subject matter where the destructible element is a fluid-conveying assembly such as a nipple, valve assembly, or hose that disconnects at a specific joint when an excessive force is applied to it. | |
68.15 | Tensile or sheer pin or bolt: |
| This subclass is indented under subclass 68.14. Subject matter where the destructible element is a pin or bolt that holds the coupling together and destructs when a perpendicular or axial excessive force is applied to the coupling. | |
68.16 | Tensile or sheer pin or bolt: |
| This subclass is indented under subclass 68.11. Subject matter where the destructible element is a pin or bolt that destructs when an excessive force is applied. | |
68.17 | Pressure causes pin or bolt to destruct: |
| This subclass is indented under subclass 68.16. Subject matter that destructs when the applied excessive force that fractures the pin or bolt is applied over the surface of the pin or bolt. | |
68.18 | With alarm or indicator: |
| This subclass is indented under subclass 68.11. Subject matter that includes a sensing means that sends a signal when the element breaks. | |
68.19 | Rupture disc: | ||||
| This subclass is indented under subclass 68.11. Subject matter where the destructible element is a diaphragm
or seal that holds fluid.
SEE OR SEARCH THIS CLASS, SUBCLASS:
SEE OR SEARCH CLASS:
| |||||
68.21 | Means for holding entire disc after rupture: |
| This subclass is indented under subclass 68.19. Subject matter that has a specific means for preventing the rupture disc from tearing away (e.g., hinge-reinforcing member). | |
68.22 | Disc burst after destruction of additional element: | ||
This subclass is indented under subclass 68.19. Subject matter that includes a second frangible element
in a system which destructs before the rupture disc.
| |||
68.23 | Direct pressure causes disc to burst: |
| This subclass is indented under subclass 68.19. Subject matter wherein the destructible element is destroyed by excessive pressure exerted by the fluid flow. | |
68.24 | Two-way rupture disc: |
| This subclass is indented under subclass 68.23. Subject matter that is designed to break either in the direction of or opposite the direction of the fluid flow when an excessive pressure differential exists. | |
68.25 | Dome shape: |
| This subclass is indented under subclass 68.23. Subject matter that is specifically designed to be hemispherical to enable the disc to more easily rupture as pressure builds. | |
68.26 | Reverse buckling: |
| This subclass is indented under subclass 68.25. Subject matter which has excessive pressure at the convex side of the disc to cause the disc to reverse its concavity and burst. | |
68.27 | Specific weakening point: |
| This subclass is indented under subclass 68.19. Subject matter specially modified to have an area of varied thickness creating a vulnerable section to enable the pressure disc to more easily break. | |
68.28 | Integral disc assembly: |
| This subclass is indented under subclass 68.19. Subject matter including a support member welded or bonded with adhesive to the rupture disc or the rupture disc is directly bonded or welded to the assembly. | |
68.29 | Knife or cutter causes disc to break: |
| This subclass is indented under subclass 68.19. Subject matter penetrated by a piercing device to enable the disc to more easily break when the internal pressure in the system becomes excessive. | |
68.3 | Movable knife or cutter: |
| This subclass is indented under subclass 68.29. Subject matter wherein the piercing device is positionable. | |
69 | With counterbalancing element: |
| This subclass is indented under subclass 68.12. Apparatus which includes means for applying a force or bias to the frangible means in a direction opposing the force (usually fluid pressure) which tends to break the frangible element. | |
70 | Frangible element returns pressure responsive valve: | ||
| This subclass is indented under subclass 68.12. Apparatus in which a valve which opens in response to increased
pressure is retained in closed position by means of a frangible
element, opening of the valve resulting from the breaking of the
frangible element.
SEE OR SEARCH THIS CLASS, SUBCLASS:
| |||
71 | Having pressure responsive valve: | ||||
| This subclass is indented under subclass 68.12. Apparatus including a pressure responsive valve controlling
the fluid flow in response to the pressure thereof in addition to
the control in response to the breaking of the frangible element.
SEE OR SEARCH THIS CLASS, SUBCLASS:
SEE OR SEARCH CLASS:
| |||||
72 | Heat destructible or fusible: | ||||||||||||||
| This subclass is indented under subclass 67. Apparatus in which the flow is controlled in response to
an element which is fusible or destructible by heat (e.g., combustible).
SEE OR SEARCH THIS CLASS, SUBCLASS:
SEE OR SEARCH CLASS:
| |||||||||||||||
73 | With second sensing means: | ||||
This subclass is indented under subclass 72. Apparatus which includes a means for controlling the fluid
flow in response to a change in condition in addition to the control
in response to the fusion or destruction of the heat destructible
element.
SEE OR SEARCH THIS CLASS, SUBCLASS:
| |||||
74 | In fluid flow path: | ||||
This subclass is indented under subclass 72. Apparatus in which the fusible or heat destructible element
is in the passage carrying the flow controlled and functions as
a barrier or stop member for such flow.
SEE OR SEARCH THIS CLASS, SUBCLASS:
| |||||
75 | Safety cut-off: | ||||
| This subclass is indented under subclass 72. Apparatus in which the valve controlling the fluid flow
is biased toward a closed position but is held open by a restraining
means, the fusion or destruction of the heat destructible or fusible
means causing a release of the restraining means.
SEE OR SEARCH THIS CLASS, SUBCLASS:
SEE OR SEARCH CLASS:
| |||||
76 | With heater for destructible or fusible element: | ||||||
This subclass is indented under subclass 75. Apparatus which includes a heating means for the fusible
or heat destructible element.
SEE OR SEARCH THIS CLASS, SUBCLASS:
SEE OR SEARCH CLASS:
| |||||||
77 | With external closing means: | ||||||
This subclass is indented under subclass 75. Apparatus including a means for closing the valve by manual
or external means in addition to the operation in response to the
fusible or heat destructible element.
SEE OR SEARCH THIS CLASS, SUBCLASS:
SEE OR SEARCH CLASS:
| |||||||
78.1 | AMBIENT CONDITION CHANGE RESPONSIVE: | ||||||||
This subclass is indented under the class definition. Apparatus which controls a flow of a fluid in response to
a variation in a condition of, or in the surrounding environment.
SEE OR SEARCH THIS CLASS, SUBCLASS:
| |||||||||
78.2 | For controlling soil irrigation: |
| This subclass is indented under subclass 78.1. Apparatus in which flow of water to the ground is controlled by means responsive to an environmental condition. | |
78.3 | Coil moisture sensing: |
| This subclass is indented under subclass 78.2. Apparatus in which flow of water to the ground is controlled in response to a change in moisture content of the ground. | |
78.4 | Burner gas cutoff: |
| This subclass is indented under subclass 78.1. Apparatus in which flow of flammable gas to a burner is stopped in response to a sensed environmental extinguishing action to the flame of the burner. | |
78.5 | Atmospheric: |
| This subclass is indented under subclass 78.1. Apparatus in which control of a flow of fluid is responsive to a variation in a condition of, or in surrounding atmosphere. | |
79 | Temperature: | ||||||||||
This subclass is indented under subclass 78.5. Apparatus which controls a fluid flow in response to variations
of temperature in the surrounding atmosphere.
SEE OR SEARCH THIS CLASS, SUBCLASS:
SEE OR SEARCH CLASS:
| |||||||||||
80 | With additional diverse control: | ||
This subclass is indented under subclass 79. Apparatus which also includes, in addition to the atmosphere
temperature responsive element, an additional means for operating
the control means.
| |||
81.1 | Pressure: | ||||||
This subclass is indented under subclass 78.5. Apparatus in which a fluid flow is controlled in response
to variations of atmospheric pressure.
SEE OR SEARCH THIS CLASS, SUBCLASS:
SEE OR SEARCH CLASS:
| |||||||
81.2 | Underwater: |
| This subclass is indented under subclass 78.1. Apparatus in which control of a flow of fluid is responsive to a variation in a condition of, or in an environment beneath the surface of a body of water. | |
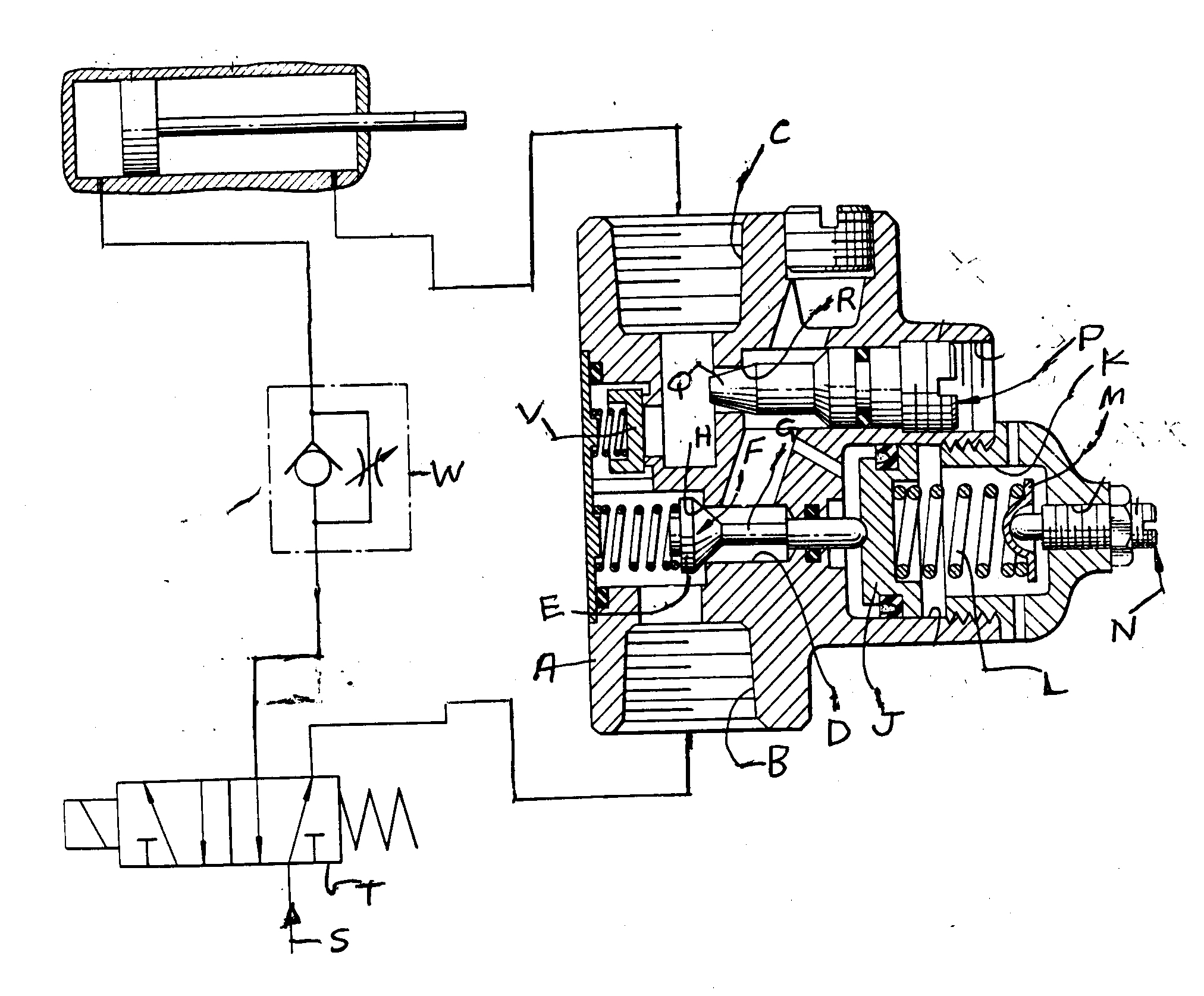
82 | PRESSURE MODULATING RELAYS OR FOLLOWERS: | ||||||||||||
This subclass is indented under the class definition. Apparatus which continuously varies or modulates a fluid
in response to a varying control condition. The modulation is usually accompanied
by varying a pressure bleed.
SEE OR SEARCH THIS CLASS, SUBCLASS:
SEE OR SEARCH CLASS:
| |||||||||||||
83 | Jet control type: | ||||||
| This subclass is indented under subclass 82. Apparatus which utilize a fluid jet and one or more jet
receiving orifices with the control condition varying the pressure
in the orifices by varying the amount of jet fluid entering the orifices.
SEE OR SEARCH THIS CLASS, SUBCLASS:
SEE OR SEARCH CLASS:
| |||||||
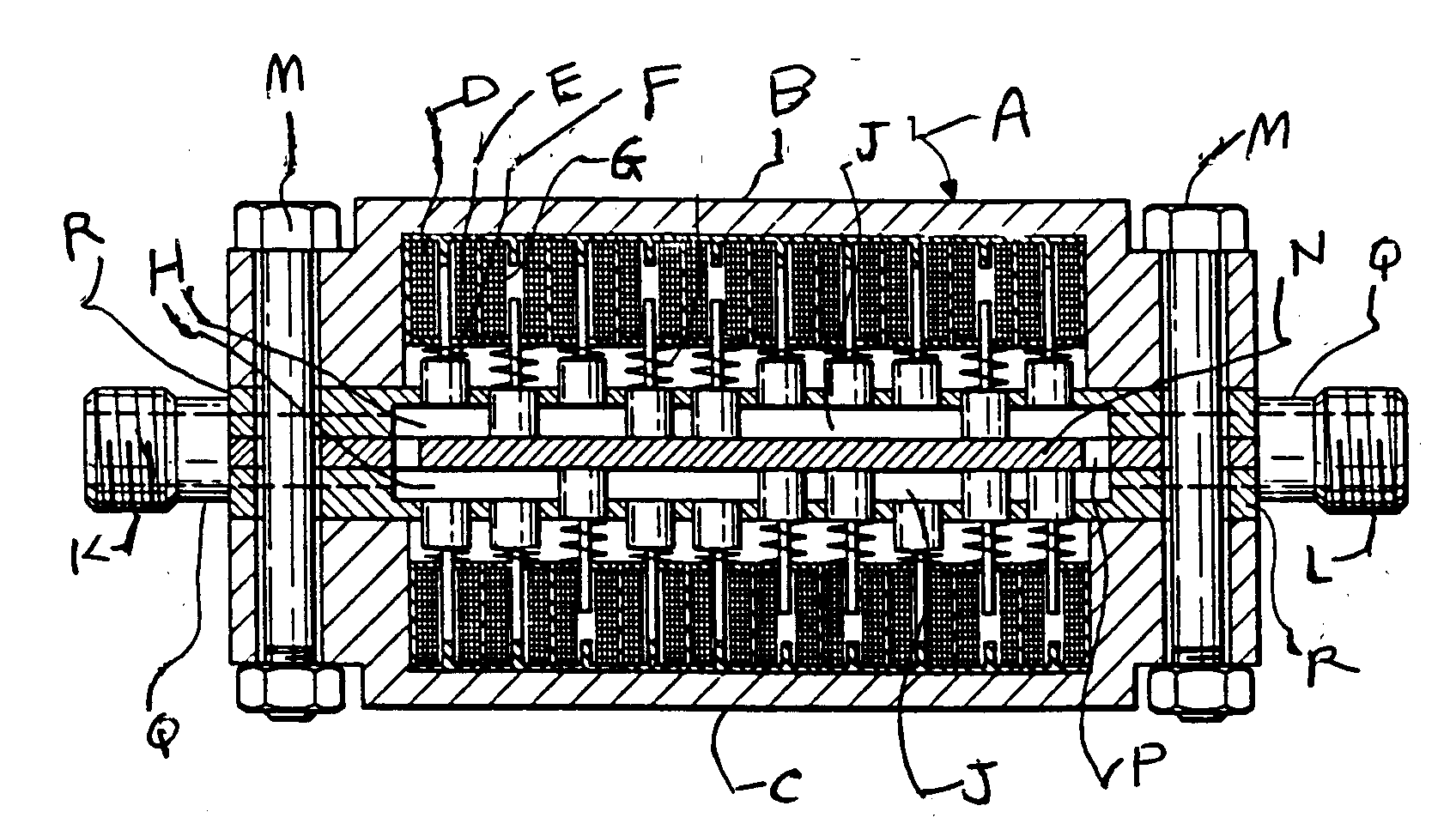
84 | Plural series units: |
| This subclass is indented under subclass 82. Apparatus wherein a plurality of modulating relays on followers are connected in series; the output pressure of one controlling the modulation in the next. | |
85 | With counter-balancing pressure feedback to the modulating device: |
| This subclass is indented under subclass 82. Apparatus in which the modulated pressure is utilized in a feedback arrangement to counterbalance the modulating control element. | |
86 | With counter-counter balancing pressure feedback: |
| This subclass is indented under subclass 85. Apparatus in which the modulated pressure is utilized in a second feedback arrangement to counterbalance the counterbalance of the modulating control element. | |
87.01 | SELF-PROPORTIONING OR CORRELATING SYSTEMS: | ||||||||||||||||
This subclass is indented under the class definition. Subject matter wherein a fluid flow in a first flow line
is proportioned or correlated with the fluid flow in a second fluid
flow line by a movable means, which is positioned in one of the
fluid flow lines and controlling the fluid flow in the other fluid
flow line in response to a sensor detecting a variable condition
or characteristic of the fluid in the other fluid flow line.
SEE OR SEARCH THIS CLASS, SUBCLASS:
SEE OR SEARCH CLASS:
| |||||||||||||||||
87.02 | Liquid level responsive: | ||||
| This subclass is indented under subclass 87.01. Subject matter wherein the sensor is detecting the variation
in an uppermost horizontal surface of the liquid in one of the flow
lines and in response thereto the sensor controls the flow in the
other flow line.
SEE OR SEARCH THIS CLASS, SUBCLASS:
| |||||
87.03 | Flow rate responsive: |
| This subclass is indented under subclass 87.01. Subject matter wherein the sensor is detecting the variation in the amount of fluid flowing in one of the flow lines in a set period of time or is detecting the variation in fluid pressure (i.e., pressure differential) along the flow line and in response thereto the sensor controls the flow in the other flow line. | |
87.04 | Pressure differential: | ||
| This subclass is indented under subclass 87.03. Subject matter wherein the sensor is detecting the variation
of the fluid pressures at two distinct points along one of the flow
lines and in response thereto the sensor controls the flow in the
other flow line.
SEE OR SEARCH THIS CLASS, SUBCLASS:
| |||
87.05 | Plural sensors: |
| This subclass is indented under subclass 87.01. Subject matter including two or more sensors for detecting two distinct or similar conditions or characteristics of the fluid in one of the flow lines and in response thereto the sensors control the flow in the other flow line. | |
87.06 | For single valve: |
| This subclass is indented under subclass 87.05. Subject matter comprising one valve element and wherein the sensors operate only one valve element to control the flow. | |
88 | Mixture condition maintaining or sensing: | ||
| This subclass is indented under subclass 87.01. Systems in which a condition of a fluid mixture is maintained
by controlling the flow of at least one of the fluids mixed in response
to a means which sense the condition of the mixture.
SEE OR SEARCH THIS CLASS, SUBCLASS:
| |||
89 | Dividing and recombining flow: | ||||
This subclass is indented under subclass 88. Systems in which a fluid flow is divided into a plurality
of flow paths which are subsequently recombined, the ratio of the
flows thus divided and recombined being controlled in response to a
means sensing a condition to be maintained.
SEE OR SEARCH THIS CLASS, SUBCLASS:
| |||||
91 | By specific gravity: | ||
| This subclass is indented under subclass 88. Systems in which the condition maintained or sensed is specific
gravity.
SEE OR SEARCH THIS CLASS, SUBCLASS:
| |||
92 | By viscosity or consistency: | ||||||
This subclass is indented under subclass 88. Systems in which the condition maintained or sensed is viscosity
or consistency.
SEE OR SEARCH THIS CLASS, SUBCLASS:
SEE OR SEARCH CLASS:
| |||||||
93 | By optical or chemical property: | ||||||||||
| This subclass is indented under subclass 88. Systems in which the condition maintained or sensed is an
optical or chemical property.
SEE OR SEARCH THIS CLASS, SUBCLASS:
SEE OR SEARCH CLASS:
| |||||||||||
94 | Fuel controlled by boiler or water system condition: | ||||||
| This subclass is indented under subclass 87.01. Subject matter in which a condition of the fluid in a boiler
or water heating system controls the flow of fuel used for heating
the boiler or water.
SEE OR SEARCH THIS CLASS, SUBCLASS:
SEE OR SEARCH CLASS:
| |||||||
98 | Self-proportioning flow systems: | ||||||||||||||
This subclass is indented under subclass 87.01. Systems in which the control means maintains a predetermined
ratio between flows in a plurality of flow lines.
SEE OR SEARCH THIS CLASS, SUBCLASS:
SEE OR SEARCH CLASS:
| |||||||||||||||
99 | Interconnected flow displacement elements: | ||||
This subclass is indented under subclass 98. Systems in which the proportioning or correlating means
includes mechanically interconnected flow displacement elements.
SEE OR SEARCH THIS CLASS, SUBCLASS:
| |||||
99.5 | Movable trap chamber: | ||||
| This subclass is indented under subclass 99. Subject matter wherein the flow displacement element comprises
a bodily movable measuring chamber which provides continuous flow with
increment feeding.
SEE OR SEARCH THIS CLASS, SUBCLASS:
SEE OR SEARCH CLASS:
| |||||
100 | Flow comparison or differential response: | ||||
This subclass is indented under subclass 98. Systems in which the sensing means is sensitive to the differences
between the rates of flow or pressure difference along the line
in a plurality of flow lines or at spaced points along one line.
SEE OR SEARCH THIS CLASS, SUBCLASS:
| |||||
101 | Flow dividers (e.g., reversely acting controls): | ||||||
This subclass is indented under subclass 100. Systems in which a flow is divided into a plurality of flow
paths and the ratio between the flow in each branch maintained in
response to means sensing differences in flow or pressure in each
branch by throttling one branch an amount equal to the amount the
other branch is opened.
SEE OR SEARCH CLASS:
| |||||||
101.11 | Main line flow displaces or entrains material from reservoir: |
| This subclass is indented under subclass 100. Subject matter wherein a shunt line having a reservoir therein relies on the pressure difference between its connection to the main line to cause flow therethrough to entrain material in the reservoir, or to displace the reservoir material or an intermediate distinct fluid layer or expansible chamber device whereby the reservoir material is forced into the main line without mixing with the flow while in the shunt. | |
101.19 | With electrical controller: | ||
| This subclass is indented under subclass 100. Subject matter comprising an electrical controller responsive
to the sensing means.
SEE OR SEARCH CLASS:
| |||
101.21 | Flow displacement element actuates electrical controller: |
| This subclass is indented under subclass 98. Subject matter comprising an electrical controller responsive to a flow displacement element. | |
101.25 | Liquid level response: | ||
| This subclass is indented under subclass 98. Subject matter comprising at least one means which senses
the level of a liquid in means to receive an accumulation thereof
and in response thereto exercises a control of the flow in one or
more of the flow lines.
SEE OR SEARCH THIS CLASS, SUBCLASS:
| |||
101.27 | Float controlled weir or valve: |
| This subclass is indented under subclass 101.25. Subject matter wherein a weir or valve is responsive to the level sensing means. | |
101.29 | Swinging outlet pipe controller: | ||
| This subclass is indented under subclass 101.25. Subject matter wherein a swinging outlet pipe controls the
flow from an accumulator or tank responsive to the level sensing means.
SEE OR SEARCH THIS CLASS, SUBCLASS:
| |||
101.31 | With measuring type discharge assistant: | ||
| This subclass is indented under subclass 98. Subject matter comprising a measuring type discharge assistant
in one flow line responsive to a flow displacement element in another
flow line or by the weight of accumulated fluid of a proportionate
part of the flow in another line to provide continuous flow through
the system with increment feeding.
SEE OR SEARCH CLASS:
| |||
102 | Supply and exhaust type: | ||||||||
This subclass is indented under subclass 87.01. Systems in which an outlet or receiver alternatively receives
a fluid from a source of supply and drains the fluid to an exhaust,
the flow of fluid from the supply or to the exhaust, being controlled
in response to a means sensing a change in condition.
SEE OR SEARCH THIS CLASS, SUBCLASS:
SEE OR SEARCH CLASS:
| |||||||||
103 | Vacuum or suction pulsator type (e.g., milking machine): | ||||||
This subclass is indented under subclass 102. Systems in which an outlet or receiver is alternately connected
to a source of suction or vacuum and a source of fluid under pressure
or vent (usually the atmosphere).
SEE OR SEARCH THIS CLASS, SUBCLASS:
SEE OR SEARCH CLASS:
| |||||||
104 | With trip linkage or snap action: | ||
| This subclass is indented under subclass 103. Apparatus which include a snap acting or trip linkage in
the control system.
SEE OR SEARCH CLASS:
| |||
105 | With pulsation responsive pilot valve: | ||||
| This subclass is indented under subclass 103. Apparatus wherein the flow controlling valve is moved by
a fluid servo under control of a second valve which is itself fluid
operated under control of the first valve, there being no mechanical
linkage between the two valves.
SEE OR SEARCH THIS CLASS, SUBCLASS:
SEE OR SEARCH CLASS:
| |||||
106 | Reversing or 4-way valve systems: | ||||
This subclass is indented under subclass 102. Systems which include two outlets or receivers, one outlet
or receiver being connected to the supply while the other is connected
to the exhaust, the connections being reversed or changed in response
to a means sensing a change in condition.
SEE OR SEARCH THIS CLASS, SUBCLASS:
| |||||
107 | Waste responsive to flow stoppage: | ||||
| This subclass is indented under subclass 102. Systems wherein a waste or drain is opened in response to
the stopping of the fluid flow from the supply to the outlet or
receiver.
SEE OR SEARCH THIS CLASS, SUBCLASS:
| |||||
109 | Self-controlled branched flow systems: | ||||||||
This subclass is indented under subclass 87.01. Systems in which a single flow is divided into a plurality
of flow paths or a plurality of flow paths are combined into a single
flow path or in which a single flow path is divided and then recombined,
and in which the flow in one branch or line is controlled in response
to a change in a condition in another branch or line.
SEE OR SEARCH THIS CLASS, SUBCLASS:
| |||||||||
110 | Dividing and recombining: | ||||||
| This subclass is indented under subclass 109. Systems in which a single flow path is divided into a plurality
of branch flow paths which are in turn recombined into a single
flow path and in which at least one branch flow path is controlled
in response to a sensing means which is at least partially affected
by a condition in another branch flow path.
SEE OR SEARCH THIS CLASS, SUBCLASS:
| |||||||
111 | Plural inflows: | ||||||||||
| This subclass is indented under subclass 109. Systems in which a plurality of flows from separate sources
are joined, or are provided with a common outflow, and in which
at least one flow path is controlled in response to a sensed condition
change.
SEE OR SEARCH THIS CLASS, SUBCLASS:
SEE OR SEARCH CLASS:
| |||||||||||
112 | Alternate or successive inflows: |
| This subclass is indented under subclass 111. Systems in which flow in one inlet is alternated with the flow in a second inlet or is substituted therefor in response to a sensing of a changed condition. | |
113 | Control by depletion of source: | ||||
This subclass is indented under subclass 112. Systems in which the control is in response to a failure
or depletion of the source of the flow in one of the inflow.
SEE OR SEARCH CLASS:
| |||||
114 | One inflow supplements another: | ||
| This subclass is indented under subclass 111. Systems in which one inflow is added to or supplements the
second flow and is in response to a sensed condition change such
as reduction in pressure or flow in the second inflow or in the
combined flow or in the level of accumulated fluid derived from
the second or combined flow.
SEE OR SEARCH THIS CLASS, SUBCLASS:
| |||
115.01 | Bypass or relief controlled by main line fluid condition: | ||||||||
| This subclass is indented under subclass 109. Subject matter including a flow line with an inlet and outlet
for a main flow and an outlet branch or bypass in which the flow
is controlled in response to a variation in the fluid condition
(e.g., fluid level, flow rate or pressure, or the like) in the main
flow line detected by a sensor.
SEE OR SEARCH THIS CLASS, SUBCLASS:
SEE OR SEARCH CLASS:
| |||||||||
115.02 | Liquid level responsive: | ||||
| This subclass is indented under subclass 115.01. Subject matter wherein the sensor is detecting the variation
in the levels of the liquid in the main line and in response thereto
the sensor controls the flow in the bypass or relief.
SEE OR SEARCH THIS CLASS, SUBCLASS:
| |||||
115.03 | Flow rate responsive: | ||||||||||||
This subclass is indented under subclass 115.01. Subject matter wherein the sensor is detecting the variation
in the quantity of the fluid flowing in the main flow line in a
set period of time and in response thereto the sensor controls the
flow in the bypass or relief.
SEE OR SEARCH THIS CLASS, SUBCLASS:
| |||||||||||||
115.04 | Including controlling main line flow: | ||
| This subclass is indented under subclass 115.03. Subject matter wherein the sensor is regulating the flow
in the main line in response to the variation in the flow rate.
SEE OR SEARCH THIS CLASS, SUBCLASS:
| |||
115.05 | Relief or bypass closes as main opens: |
| This subclass is indented under subclass 115.04. Subject matter wherein the sensor, in response to the change in the flow rate, is simultaneously opening a main line valve and closing a relief valve in a branch line or vice versa. | |
115.06 | Bypass or relief valve biased open: | ||
| This subclass is indented under subclass 115.03. Subject matter comprising a valve means for permitting the
flow to the bypass or relief valve is held open in absence of the
flow by a flexibly adjustable device (e.g., a weight of the valve
body itself, or a spring or such similar flexible means).
SEE OR SEARCH THIS CLASS, SUBCLASS:
| |||
115.07 | Pilot valve operated: | ||
| This subclass is indented under subclass 115.03. Subject matter comprising an auxiliary valve control and
wherein the bypass or relief valve is controlled by the auxiliary
control valve in response to the variation of the flow rate in the
main line.
SEE OR SEARCH THIS CLASS, SUBCLASS:
| |||
115.08 | Carried choke: |
| This subclass is indented under subclass 115.03. Subject matter wherein the sensor is a fluid flow restricting element which is an integral part of the bypass or relief valve and the element is moving with the bypass or relief valve to restrict the flow. | |
115.09 | Choke: | ||
| This subclass is indented under subclass 115.03. Subject matter wherein the sensor includes a device for
restricting the flow of the fluid in the main flow line.
SEE OR SEARCH CLASS:
| |||
115.1 | Variable choke resistance: |
| This subclass is indented under subclass 115.09. Subject matter wherein the choke is adjustable to provide different flow resistances without requiring disassembly of the sensor. | |
115.11 | Venturi: | ||
This subclass is indented under subclass 115.03. Subject matter wherein the sensor includes a device which
is a part of the main flow passage having a cross section of the
part gradually constricted to a throat between two ends of the part
and gradually expanded from the throat to the cross section of the
passage.
| |||
115.12 | Flapper: |
| This subclass is indented under subclass 115.03. Subject matter wherein the sensor includes a member supported at one end and moving by the momentum of the fluid in the flow line to operate the bypass or relief valve. | |
115.13 | Pressure responsive: | ||
| This subclass is indented under subclass 115.01. Subject matter wherein the sensor is detecting the pressure
of the fluid in the main flow line and in response thereto controls
the bypass or relief valve.
SEE OR SEARCH THIS CLASS, SUBCLASS:
| |||
115.14 | Common sensor for both bypass or relief valve and other branch valve: | ||
| This subclass is indented under subclass 115.13. Subject matter comprising an additional valve in another
flow path and wherein the sensor which controls the bypass or relief valve
also controls the additional valve.
SEE OR SEARCH THIS CLASS, SUBCLASS:
| |||
115.15 | Bypass or relief valve opens as other branch valve closes. |
| This subclass is indented under subclass 115.14. Subject matter wherein the sensor opens the bypass or relief valve in the main line while it closes the additional valve in the main line or vice versa. | |
115.16 | Bypass or relief valve biased open: | ||
| This subclass is indented under subclass 115.13. Subject matter wherein the bypass or relief passage is held
open in absence of the fluid pressure by a flexibly adjustable device (e.g.,
a weight of the valve body itself, or a spring, or such similar
flexible means).
SEE OR SEARCH THIS CLASS, SUBCLASS:
| |||
115.17 | Increasing pressure progressively closes then reopens bypass or relief valve: |
| This subclass is indented under subclass 115.16. Subject matter wherein the increase in the fluid pressure progressively closes the bypass or relief valve and reopens at still higher pressure. | |
115.18 | Bypass or relief valve responsive to pressure downstream of outlet valve: |
| This subclass is indented under subclass 115.13. Subject matter wherein the outlet branch includes a valve which is located before the bypass or relief valve and the bypass or relief valve is controlled by the fluid pressure between the outlet valve and the bypass or relief valve. | |
115.19 | Pilot valve: | ||
| This subclass is indented under subclass 115.18. Subject matter comprising an auxiliary control valve and
wherein the bypass or relief valve is controlled by the auxiliary
control valve in response to the pressure in the main flow line.
SEE OR SEARCH THIS CLASS, SUBCLASS:
| |||
115.2 | Outlet valve carried by bypass or relief valve: | ||
This subclass is indented under subclass 115.18. Subject matter wherein the outlet valve is an integral part
of the bypass or relief valve and the outlet valve moves with the bypass
or relief valve.
| |||
115.21 | Plural sensors for single bypass or relief valve: | ||
| This subclass is indented under subclass 115.13. Subject matter comprising at least two pressure sensors
for controlling either the bypass or relief valve.
SEE OR SEARCH THIS CLASS, SUBCLASS:
| |||
115.22 | Sensors interconnected by timing or restrictive orifice: | ||
| This subclass is indented under subclass 115.21. Subject matter wherein the pressure sensors are connected
to each other directly by means of a restrictive passage in order
that all the sensors react to the same pressure, but with a different
speed of response.
SEE OR SEARCH CLASS:
| |||
115.23 | Pilot valve operated: | ||
| This subclass is indented under subclass 115.13. Subject matter comprising an auxiliary control valve and
wherein the bypass or relief valve is controlled by the auxiliary
control valve in response to the pressure in the main flow line.
SEE OR SEARCH THIS CLASS, SUBCLASS:
| |||
115.24 | Mechanical movement between sensor and valve: |
| This subclass is indented under subclass 115.13. Subject matter wherein the sensor and the bypass or relief valve are so interconnected that the sensor is moving at a different rate and in different direction than the movement of the bypass or relief. | |
115.25 | Electrical control: |
| This subclass is indented under subclass 115.13. Subject matter comprising an electrical element and wherein the sensor controls the bypass or relief by means of the electrical element. | |
115.26 | Sensor rigid with valve: |
| This subclass is indented under subclass 115.13. Subject matter wherein the sensor is either (a) assembled as an integral part of the bypass or relief valve, or (b) attached inflexibly to the bypass or relief valve. | |
115.27 | Flexible sensor: |
| This subclass is indented under subclass 115.26. Subject matter wherein the sensor is constructed of a thin pliable or resilient material such as used in a diaphragm or bellows or the like. | |
115.28 | Pressure responsive outlet valve: |
| This subclass is indented under subclass 115.26. Subject matter comprising a valve on the outlet branch and wherein the valve is responsive to a pressure being sensed in the outlet branch. | |
116.3 | With pressure reducing inlet valve: | ||
| This subclass is indented under subclass 115. Devices with a correlated fluid pressure responsive regulator
or pressure reducing valve controlling the inlet branch.
SEE OR SEARCH THIS CLASS, SUBCLASS:
| |||
116.5 | Relief port through common sensing means: |
| This subclass is indented under subclass 116.3. Devices in which a common sensing means for both inlet control and relief control has a valve controlled outlet or relief passage. | |
118.01 | Plural outflows: | ||||||||
| This subclass is indented under subclass 109. Subject matter comprising a sensor and wherein the flow
is from a single source and is divided in to a plurality of paths
which the flow may take to separate destinations and the flow is
controlled by the sensor in response to the change in the condition
(e.g., fluid level, flow rate, or pressure, or the like), or a
characteristic of the fluid.
SEE OR SEARCH THIS CLASS, SUBCLASS:
| |||||||||
118.02 | Single actuator operates plural outlets simultaneously: | ||||
| This subclass is indented under subclass 118.01. Subject matter comprising an outlet valve in each outflow
and wherein the outlet valves are opened or closed at the same time
by only one sensor.
SEE OR SEARCH THIS CLASS, SUBCLASS:
| |||||
118.03 | Biased open isolation valve: | ||||||
| This subclass is indented under subclass 118.01. Subject matter comprising an outlet valve in each outflow
and wherein each outlet valve is held open in the absence of a fluid pressure
by a flexibly adjustable device (e.g., a weight of the valve body
itself, or a spring) and at least one valve closes in response to
a sudden pressure drop or flow increase in the outlet line.
SEE OR SEARCH THIS CLASS, SUBCLASS:
SEE OR SEARCH CLASS:
| |||||||
118.04 | Flow rate responsive: | ||
| This subclass is indented under subclass 118.01. Subject matter wherein the sensor is detecting a change
in the quantity of the fluid flowing in the main line in a set period
of time and in response thereto controls the outflows.
SEE OR SEARCH THIS CLASS, SUBCLASS:
| |||
118.05 | Primer valve: | ||
| This subclass is indented under subclass 118.04. Subject matter wherein the change in the fluid flow rate
in the main line actuates an outlet leading to a liquid trap seal.
SEE OR SEARCH THIS CLASS, SUBCLASS:
| |||
118.06 | Pressure responsive: | ||||
| This subclass is indented under subclass 118.01. Subject matter wherein the sensor detects a change in the
fluid pressure in the main line and in response thereto controls
the outflows.
SEE OR SEARCH THIS CLASS, SUBCLASS:
| |||||
118.07 | With external control for correlating valve (e.g., manual): | ||||||||
This subclass is indented under subclass 118.06. Subject matter wherein, in addition to the pressure responsive
sensor, the outflows are controlled by a device independent of the
condition of the flow line.
SEE OR SEARCH THIS CLASS, SUBCLASS:
| |||||||||
119.01 | Alternately or successively substituted outflow: | ||||
| This subclass is indented under subclass 118.01. Subject matter wherein (a) the fluid is flowing first through
one outlet and then changed to another outlet, or (b) more than two
outlets are substituted for each other in sequence; in response
to the change in the condition or characteristic of the main line
flow detected by the sensor.
SEE OR SEARCH THIS CLASS, SUBCLASS:
| |||||
119.02 | Four port reversing valve: | ||||
| This subclass is indented under subclass 119.01. Subject matter including a four way valve having an inlet
port, an outlet port and two intermediate ports, the valve being
selectively movable into two positions, in one position the inlet
port being connected to the first intermediate port and the second
intermediate port being connected to the outlet port, and in the
other position the inlet port being connected to the second intermediate
port and the first intermediate port being connected to the outlet
port.
SEE OR SEARCH THIS CLASS, SUBCLASS:
| |||||
119.03 | Responsive to pressure or flow interruption: |
| This subclass is indented under subclass 119.01. Subject matter comprising a valve and wherein the alternately or successively substituted outflow is controlled by the valve in response to a break in the pressure of the fluid or a break in the flow of the fluid being detected by the sensor. | |
119.04 | Plural outlets control with automatic reset: | ||
This subclass is indented under subclass 119.03. Subject matter wherein the valve is regulating more than
one outlet; said valve opens one outlet in response to the pressure
or flow interruption and closes that outlet and opens another outlet
when the pressure or flow is restored.
| |||
119.05 | Manually set to a single outflow position: |
| This subclass is indented under subclass 119.03. Subject matter wherein the sensor causes the valve to move from a first position to a second position to open or close one outlet, but the valve is moved back to the first position by an application of a force exerted by a living being. | |
119.06 | Flow rate responsive: | ||||
| This subclass is indented under subclass 119.01. Subject matter wherein the alternately or successively substituted
outflow is responsive to a change in the amount of fluid flowing in
the flow line in a set period of time being detected by the sensor.
SEE OR SEARCH THIS CLASS, SUBCLASS:
| |||||
119.07 | Flow sensing turbine: |
| This subclass is indented under subclass 119.06. Subject matter wherein the sensor comprising a member pivoted for oscillation or rotation, and having blades, vanes or surfaces which are exposed to the flow and rotating or tending to rotate the member. | |
119.08 | Pressure responsive: | ||||
| This subclass is indented under subclass 119.01. Subject matter wherein the change in the condition is a
fluid pressure detected by the sensor for controlling the alternately
or successively substituted outflow of the fluid in the main flow
line.
SEE OR SEARCH THIS CLASS, SUBCLASS:
| |||||
119.09 | Responsive to outlet pressure: |
| This subclass is indented under subclass 119.08. Subject matter wherein in response to the change in the fluid pressure in the outlet branch the sensor controls the outflow of the fluid. | |
119.1 | Electrical control: | ||
| This subclass is indented under subclass 119.01. Subject matter comprising an electrical element and wherein
the sensor controls the outlet by means of the electrical element.
SEE OR SEARCH THIS CLASS, SUBCLASS:
| |||
120 | Control by filling auxiliary gravitating or float operating tank: | ||||
This subclass is indented under subclass 119.01. Systems in which the control of the flow is in response
to a filling of a separate or auxiliary tank of the gravitating
or float operating type.
SEE OR SEARCH THIS CLASS, SUBCLASS:
| |||||
121 | Control by filling outlet tank or receiver: | ||||||||
| This subclass is indented under subclass 119.01. Systems in which the control of the flow is in response
to a filling of a tank or receivers receiving fluid from an outflow
of the system.
SEE OR SEARCH THIS CLASS, SUBCLASS:
SEE OR SEARCH CLASS:
| |||||||||
122 | Float controlled: | ||
| This subclass is indented under subclass 121. Systems in which the filling of the tank or receiver is
sensed by means of a float.
SEE OR SEARCH THIS CLASS, SUBCLASS:
| |||
123 | SIPHONS: | ||||||||||||
This subclass is indented under the class definition. Apparatus having a flow passage comprising two branches
or legs of unequal effective length by which a liquid can be transferred to
a lower level over an intermediate elevation by the pressure of
the atmosphere in forcing the liquid up the shorter branch or leg
immersed in it while the excess of weight of the liquid in the longer
branch (when once filled) causes a continuous flow.
SEE OR SEARCH THIS CLASS, SUBCLASS:
SEE OR SEARCH CLASS:
| |||||||||||||
124 | Plural: |
| This subclass is indented under subclass 123. Apparatus including a plurality of siphons. | |
125 | Tank truck mounted: | ||||
| This subclass is indented under subclass 124. Apparatus in which the siphons are connected to the compartments
of a tank truck to discharge the liquid contained therein.
SEE OR SEARCH THIS CLASS, SUBCLASS:
| |||||
126 | Sequentially discharging in parallel: | ||
| This subclass is indented under subclass 124. Apparatus in which the plural siphons operate successively
to produce plural discharges from the same or from different supply
chambers. Means are usually provided whereby the termination of
the discharge of one of the siphons initiates the discharge of a
subsequently operated siphon.
SEE OR SEARCH THIS CLASS, SUBCLASS:
| |||
127 | From plural tanks: | ||
| This subclass is indented under subclass 126. Apparatus in which at least some of the siphons are supplied
from different chambers.
SEE OR SEARCH THIS CLASS, SUBCLASS:
| |||
128 | Main siphon with auxiliary starting, stopping or resetting siphon: | ||||||
This subclass is indented under subclass 124. Apparatus having a main siphon through which the major portion
of the fluid is discharged and an auxiliary siphon which operates
to start or stop fluid flow through the main siphon, or, after discharge
of the main siphon, restores some or all of the main siphon operating
means to a position permitting a subsequent discharge.
SEE OR SEARCH THIS CLASS, SUBCLASS:
| |||||||
129 | Sinking or bucket-type float operated main siphon, float emptying auxiliary siphon: | ||||
| This subclass is indented under subclass 128. Apparatus having a float which fills with liquid and sinks
to initiate discharge through the main siphon, the auxiliary siphon
then emptying the float.
SEE OR SEARCH THIS CLASS, SUBCLASS:
| |||||
130 | With discharge-controlling receiver: | ||||||||
| This subclass is indented under subclass 123. Apparatus having a receiver for the discharge of the siphon,
the siphon discharge being controlled by a condition in the receiver.
SEE OR SEARCH THIS CLASS, SUBCLASS:
SEE OR SEARCH CLASS:
| |||||||||
131 | With float: | ||||
| This subclass is indented under subclass 130. Apparatus in which a float responsive to a condition in
the receiver controls discharge of the siphon.
SEE OR SEARCH THIS CLASS, SUBCLASS:
| |||||
132 | Periodic or accumulation responsive discharge: | ||||||
| This subclass is indented under subclass 123. Apparatus having means responsive to a condition or characteristic
of the fluid in the system whereby the siphon is caused to discharge
at recurrent intervals, i.e., as often as a certain level of tank
contents is reached.
SEE OR SEARCH THIS CLASS, SUBCLASS:
SEE OR SEARCH CLASS:
| |||||||
133 | With manual control: | ||||
This subclass is indented under subclass 132. Apparatus having means whereby the siphon may be discharged
either by manual operation or by a condition or characteristic of
the fluid in the system, the manual control being either auxiliary
to the automatic or the control being convertible from one type
to the other.
SEE OR SEARCH THIS CLASS, SUBCLASS:
| |||||
134 | Control by filling auxiliary tank: | ||
| This subclass is indented under subclass 132. Apparatus having an additional accumulation receptacle arranged
to discharge recurrently into the siphon chamber, such recurrent
discharge initiating discharge of the siphon.
SEE OR SEARCH THIS CLASS, SUBCLASS:
| |||
135 | Float-operated inlet to siphon: | ||
| This subclass is indented under subclass 132. Apparatus having a float responsive to the accumulation
of liquid in the siphon chamber in which the float actuates means
for admitting liquid to the siphon element to initiate liquid flow
there through.
SEE OR SEARCH THIS CLASS, SUBCLASS:
| |||
136 | Release of trapped air: | ||||||
| This subclass is indented under subclass 132. Apparatus in which the liquid accumulating in the siphon
chamber traps air in the siphon element and means is provided to
release such trapped air to initiate liquid flow through the siphon.
SEE OR SEARCH THIS CLASS, SUBCLASS:
SEE OR SEARCH CLASS:
| |||||||
137 | Through float-operated vent: | ||||||||
| This subclass is indented under subclass 136. Apparatus in which the trapped air releasing means is actuated
by a float responsive to accumulation of liquid in the siphon system.
SEE OR SEARCH THIS CLASS, SUBCLASS:
SEE OR SEARCH CLASS:
| |||||||||
138 | Through liquid trap seal: | ||
| This subclass is indented under subclass 136. Apparatus in which the trapped air releasing means comprises
a liquid trap seal, which may be formed by suitable configuration
of the discharge end of the siphon element.
SEE OR SEARCH THIS CLASS, SUBCLASS:
| |||
139 | Auxiliary liquid trap seal: |
| This subclass is indented under subclass 138. Apparatus in which the air releasing seal comprises a second liquid trap seal in addition to the air trapping seal necessarily present at the discharge end of the siphon element. | |
140 | With strainer, filter, separator or sediment trap: | ||||
| This subclass is indented under subclass 123. Apparatus combined with a strainer, filter, separator or
sediment trap.
SEE OR SEARCH THIS CLASS, SUBCLASS:
SEE OR SEARCH CLASS:
| |||||
141 | With recorder, register, signal, indicator or inspection window: | ||
| This subclass is indented under subclass 123. Apparatus combined with a recorder, register, signal, indicator
or inspection window.
SEE OR SEARCH THIS CLASS, SUBCLASS:
| |||
142 | With flow starting, stopping or maintaining means: | ||||||||
| This subclass is indented under subclass 123. Apparatus having means for applying pressure to initiate,
stop or maintain liquid flow, to vent air for starting, stopping
or maintaining siphon flow, or for controlling the flow by opening, closing
or variably restricting the main flow path of the siphon.
SEE OR SEARCH THIS CLASS, SUBCLASS:
SEE OR SEARCH CLASS:
| |||||||||
143 | Siphon venting or breaking: | ||||||
| This subclass is indented under subclass 142. Apparatus in which the siphon is provided with means for
stopping or regulating the flow through the siphon by admitting
air into the siphon.
SEE OR SEARCH THIS CLASS, SUBCLASS:
| |||||||
144 | With leakage or entrained air removal: | ||||
| This subclass is indented under subclass 142. Apparatus having means for removing air which accumulates
in the siphon while it is discharging liquid, such means comprising
a positively acting eductor connected at one or more high points
of a siphon and having either a separate or a line jet operated
pumping means.
SEE OR SEARCH THIS CLASS, SUBCLASS:
| |||||
145 | Pressure applied to liquid in supply chamber: | ||||||||||
| This subclass is indented under subclass 142. Apparatus in which pressure either of liquid or a displacing
gas is developed in that part of the system which holds the material
into which the inlet end of the siphon dips to fill the siphon and
start the flow.
SEE OR SEARCH THIS CLASS, SUBCLASS:
SEE OR SEARCH CLASS:
| |||||||||||
146 | Plunge or immersion starting: |
| This subclass is indented under subclass 142. Apparatus in which a movable siphon is provided with an enlarged entrance chamber whereby when the chamber end is rapidly introduced into the supply a surge of fluid through the line results, which fills the siphon and initiates flow. | |
147 | Pump or liquid displacement device for flow passage: | ||||||
| This subclass is indented under subclass 142. Apparatus in which the means comprises a pump mounted in
or on the siphon.
SEE OR SEARCH THIS CLASS, SUBCLASS:
SEE OR SEARCH CLASS:
| |||||||
148 | Piston: | ||
| This subclass is indented under subclass 147. Apparatus in which the pump includes a piston.
SEE OR SEARCH CLASS:
| |||
149 | Co-axial within flow passage: |
| This subclass is indented under subclass 148. Apparatus in which the piston is moved in the flow passage of the siphon. | |
150 | Collapsible bulb: | ||
| This subclass is indented under subclass 147. Apparatus in which the pump comprises a collapsible bulb.
SEE OR SEARCH CLASS:
| |||
150.5 | Siphon inlet movable to and from seat: |
| This subclass is indented under subclass 142. Apparatus in which the siphon is movably mounted so that the inlet end comes into contact with the supply chamber wall when flow is cut off, the contact either operating a valve or directly blocking flow through the siphon. | |
151 | With valve or closure in-flow passage: | ||||
| This subclass is indented under subclass 142. Apparatus having a flow controlling stopping means which
comprises a valve or closure.
SEE OR SEARCH THIS CLASS, SUBCLASS:
| |||||
152 | With means for mounting and/or positioning relative to siphon chamber: | ||
| This subclass is indented under subclass 123. Apparatus in which the siphon is provided with means for
mounting and/or positioning it relative to the chamber
from which liquid is supplied to the siphon.
SEE OR SEARCH CLASS:
| |||
153 | Elements: | ||
| This subclass is indented under subclass 123. Apparatus comprising the siphon passage forming means, per
se.
SEE OR SEARCH CLASS:
| |||
154 | DIVERSE FLUID CONTAINING PRESSURE SYSTEMS: | ||||||||||||||
This subclass is indented under the class definition. Apparatus which contain under pressure a plurality of fluids
having diverse characteristics such as fluid phase (i.e., gas and
liquid) or specific gravity, and which fluids are in contact in
at least a part of the system.
SEE OR SEARCH THIS CLASS, SUBCLASS:
SEE OR SEARCH CLASS:
| |||||||||||||||
155 | Gas lift valves for wells: | ||
| This subclass is indented under subclass 154. Apparatus which controls a gas to be injected or introduced
into the liquid column of well to elevate the liquid.
SEE OR SEARCH CLASS:
| |||
156 | Gas pressure discharge of liquids feed traps (e.g., to boiler): | ||||||||||||||
This subclass is indented under subclass 154. Apparatus which includes a receiving chamber which holds
a liquid for subsequent discharge to a receiver at a higher pressure,
which discharge is controlled or enabled by the controlled application
of a gas pressure over the liquid equal to or greater than the pressure
to which the liquid is discharged.
SEE OR SEARCH THIS CLASS, SUBCLASS:
SEE OR SEARCH CLASS:
| |||||||||||||||
157 | Gas pressure controlled by amount of liquids in boiler or discharge receiver: | ||||||||
| This subclass is indented under subclass 156. Feed-traps wherein the application of gas pressure is controlled
by the amount of liquid in the discharge receiving receptacle, as
the boiler.
SEE OR SEARCH THIS CLASS, SUBCLASS:
SEE OR SEARCH CLASS:
| |||||||||
158 | Pressure connection at liquid level in boiler or discharge receiver: | ||
| This subclass is indented under subclass 157. Feed-traps which include a gas pressure connection at the
desired liquid level in the discharging receiver.
SEE OR SEARCH THIS CLASS, SUBCLASS:
| |||
159 | Gas pressure controlled by amount of liquid in trap: | ||
| This subclass is indented under subclass 156. Feed-traps wherein the application of gas pressure is controlled
by the amount of liquid in the feed-trap chamber.
SEE OR SEARCH THIS CLASS, SUBCLASS:
| |||
160 | Plural trap chambers: | ||
This subclass is indented under subclass 159. Feed-traps which include a plurality of trap chambers.
| |||
161 | Gravitating: | ||||
| This subclass is indented under subclass 160. Feed-traps wherein alternately acting feed traps are moved
by gravity to discharge their contents and the lowering of one trap
raises the other trap.
SEE OR SEARCH THIS CLASS, SUBCLASS:
SEE OR SEARCH CLASS:
| |||||
162 | Gravitating vessel: | ||||
| This subclass is indented under subclass 159. Feed-traps wherein liquid accumulates in a vessel which
lowers by gravity upon the accumulation of a predetermined amount
of liquid therein to control the admission of gas pressure.
SEE OR SEARCH THIS CLASS, SUBCLASS:
| |||||
163 | Sinking or bucket type float: | ||
| This subclass is indented under subclass 162. Feed-traps wherein the vessel is an open-topped float which
floats in liquid and sinks when filled with liquid.
SEE OR SEARCH THIS CLASS, SUBCLASS:
| |||
164 | Pivoted vessel with fluid passage through pivot: |
| This subclass is indented under subclass 162. Feed-traps wherein the vessel is pivoted and a fluid passage is provided through the pivot. | |
165 | Float responsive: | ||||
| This subclass is indented under subclass 159. Feed-traps wherein the gas pressure application is controlled
by a float in the feed-trap chamber.
SEE OR SEARCH THIS CLASS, SUBCLASS:
| |||||
166 | Liquid control valve positively actuated: | ||||
This subclass is indented under subclass 165. Feed-traps wherein a valve in the liquid flow line to or
from the trap is actuated by a distinct positively acting mechanism
in conjunction with the float control of the gas inlet.
| |||||
167 | Gas condensing type: |
| This subclass is indented under subclass 165. Feed-traps which are not provided with a gas outlet, as the gas applied to discharge the trap is in the form of a readily condensed vapor such as steam which condenses to eliminate the gas pressure after discharge to allow subsequent filling of the trap. | |
168 | Gas inlet and outlet valves unitary: | ||||
This subclass is indented under subclass 165. Feed-traps provided with gas inlet and outlet valves which
are integrally mounted on a single actuating stem.
SEE OR SEARCH THIS CLASS, SUBCLASS:
| |||||
169 | Gas pressure controlled by manual or cyclic means: | ||
| This subclass is indented under subclass 156. Feed-traps wherein the gas pressure application to the feed-traps
controlled by manual or cyclic means.
SEE OR SEARCH THIS CLASS, SUBCLASS:
| |||
170 | Movable trap chamber: | ||||
| This subclass is indented under subclass 169. Feed traps wherein the feed trap is moved into discharge
relationship with the receiver for discharge and the controlling
gas pressure is the pressure in the discharge receiver which may enable
discharge of the liquid by the mere flow connection of the trap
chamber to the receiver.
SEE OR SEARCH CLASS:
| |||||
170.1 | Foam control in gas charged liquids: | ||||||||
This subclass is indented under subclass 154. Apparatus in which the fluids comprise a liquid and a gas
which has been intentionally and desirably entrained in the liquid
to form a mixture which is subject to frothing under certain conditions
and having means for preserving or modifying the pressure of gas
in the mixture, thereby controlling the amount of froth released,
retained or formed in the handling of the mixture.
SEE OR SEARCH THIS CLASS, SUBCLASS:
SEE OR SEARCH CLASS:
| |||||||||
170.2 | Level or pressure responsive: | ||||
| This subclass is indented under subclass 170.1. Apparatus having means for sensing a force exerted by the
mixture or of either of its component parts, or means for sensing
a fluid level, such means causing operation of a control device.
SEE OR SEARCH THIS CLASS, SUBCLASS:
SEE OR SEARCH CLASS:
| |||||
170.3 | Separate handling of foam: | ||||||||
This subclass is indented under subclass 170.1. Apparatus having means apart from the mixture handling means
for treating or disposing of the froth while it remains in the frothy
state either by discharging said froth, by extracting liquid from
it, or by storing or retaining it in a separate chamber.
SEE OR SEARCH THIS CLASS, SUBCLASS:
SEE OR SEARCH CLASS:
| |||||||||
170.4 | With conditioning trap or chamber: | ||||||||
| This subclass is indented under subclass 170.1. Apparatus wherein the means for preserving or modifying
the pressure of the gas includes an enclosed vessel through which
such fluids pass and in which they are retained for a time.
SEE OR SEARCH THIS CLASS, SUBCLASS:
SEE OR SEARCH CLASS:
| |||||||||
170.5 | Recarbonation: | ||||||
| This subclass is indented under subclass 170.4. Apparatus having means associated with the vessel for withdrawing
evolved gas from the mixture and means whereby some or all of such
evolved gas may be returned to the mixture for reentrainment therein
before being discharged by the apparatus.
SEE OR SEARCH THIS CLASS, SUBCLASS:
SEE OR SEARCH CLASS:
| |||||||
170.6 | With trap or chamber by-pass: | ||||||
| This subclass is indented under subclass 170.4. Apparatus having conduits or passages so connecting portions
of the apparatus that the mixture may be directed to a point of
discharge without passing through the vessel so that it is possible
to discharge either material which has been held or treated in the
vessel, material which has not been so treated, or a desired combination
of such materials.
SEE OR SEARCH THIS CLASS, SUBCLASS:
SEE OR SEARCH CLASS:
| |||||||
171 | Fluid separating traps or vents: | ||||||||||||||||
This subclass is indented under subclass 154. Apparatus which separates and provides for the removal of
one or more of the diverse fluids from the system.
SEE OR SEARCH THIS CLASS, SUBCLASS:
SEE OR SEARCH CLASS:
| |||||||||||||||||
172 | Liquids separated from liquid: | ||||||
This subclass is indented under subclass 171. Separating traps wherein the diverse fluids are liquids
of different specific gravity.
SEE OR SEARCH CLASS:
| |||||||
173 | Plural discriminating outlets for diverse fluids: | ||
| This subclass is indented under subclass 171. Separating traps which are provided with plural discriminating
outlets each of which permits outflow of one fluid and prevents
outflow of other diverse fluids.
SEE OR SEARCH CLASS:
| |||
174 | Common actuator for control valves: | ||||||||
| This subclass is indented under subclass 173. Separating traps wherein the outlets are valve controlled
and the valves have a common actuator.
SEE OR SEARCH THIS CLASS, SUBCLASS:
| |||||||||
175 | Choke or restricted passage gas bleed: | ||||||
| This subclass is indented under subclass 173. Separating traps wherein one of the discriminating outlets
is a restricted gas bleed, which by its small size acts or tends
to act as a discriminating gas outlet.
SEE OR SEARCH THIS CLASS, SUBCLASS:
SEE OR SEARCH CLASS:
| |||||||
176 | From above liquid level: |
| This subclass is indented under subclass 175. Separating traps wherein the gas bleed has its inlet above the normal maximum liquid level in the trap chamber. | |
177 | Discriminating outlet for liquid: | ||||||
| This subclass is indented under subclass 171. Separating traps wherein the separating trap is provided
with a discriminating outlet which permits outflow of liquid but
prevents outflow of gas.
SEE OR SEARCH THIS CLASS, SUBCLASS:
SEE OR SEARCH CLASS:
| |||||||
178 | With alternately operated inlet and outlet valves: | ||||||||
This subclass is indented under subclass 177. Separating traps further provided with a valve controlling
a trap chamber inlet which is operated alternately with the outlet
valve.
SEE OR SEARCH THIS CLASS, SUBCLASS:
SEE OR SEARCH CLASS:
| |||||||||
179 | With non-discriminating gas vent or liquid discharge: | ||||
| This subclass is indented under subclass 177. Separating traps provided with a nondiscriminating gas vent,
an additional nondiscriminating liquid outlet or an additional control
of the discriminating liquid outlet, the additional control being
such as to give a nondiscriminating action to the discriminating
outlet.
SEE OR SEARCH THIS CLASS, SUBCLASS:
| |||||
180 | Abnormal pressure responsive liquid blow-off or drain: | ||
| This subclass is indented under subclass 179. Separating traps wherein the additional liquid outlet or
additional control of the liquid outlet responds to a system pressure
either above or below the normal operating pressure.
SEE OR SEARCH THIS CLASS, SUBCLASS:
| |||
181 | Manual control: | ||
This subclass is indented under subclass 179. Separating traps wherein the nondiscriminating fluid discharge
is manually controlled.
| |||
182 | With auxiliary inlet or by-pass valve: | ||||
| This subclass is indented under subclass 177. Separating traps further provided with a nondiscriminating
valve in the trap inlet or a valve providing a by-pass of the trap.
SEE OR SEARCH THIS CLASS, SUBCLASS:
| |||||
183 | With fluid responsive valve: | ||||
| This subclass is indented under subclass 177. Separating traps wherein the discrimination is obtained
by an outlet valve which is responsive to a fluid condition.
SEE OR SEARCH THIS CLASS, SUBCLASS:
SEE OR SEARCH CLASS:
| |||||
184 | Successively opened valves: | ||||||
This subclass is indented under subclass 183. Separating traps having a plurality of successively opened
liquid outlet valves.
SEE OR SEARCH THIS CLASS, SUBCLASS:
| |||||||
185 | Gas collecting float (e.g., inverted bucket): | ||
| This subclass is indented under subclass 183. Separating traps wherein the valve closes in response to
the collection of gas in an open-bottom float.
SEE OR SEARCH THIS CLASS, SUBCLASS:
| |||
186 | Downstream from valve: |
| This subclass is indented under subclass 185. Separating traps wherein the float is located downstream from the valve. | |
187 | Level responsive: | ||||||
| This subclass is indented under subclass 183. Separating traps wherein the valve is controlled by the
level of liquid in the trap.
SEE OR SEARCH THIS CLASS, SUBCLASS:
SEE OR SEARCH CLASS:
| |||||||
188 | Weight or pressure: | ||
| This subclass is indented under subclass 187. Separating traps wherein the valve is responsive to the
weight or pressure of accumulated liquid.
SEE OR SEARCH THIS CLASS, SUBCLASS:
| |||
189 | Gravitating vessel: | ||||
| This subclass is indented under subclass 188. Separating traps wherein liquid accumulates in a vessel
which lowers in response to the weight of the liquid which lowering
controls the valve.
SEE OR SEARCH THIS CLASS, SUBCLASS:
| |||||
190 | Sinking or bucket type float: | ||
| This subclass is indented under subclass 189. Separating traps wherein the vessel is an open-topped float
which floats in liquid and sinks when filled with liquid.
SEE OR SEARCH THIS CLASS, SUBCLASS:
| |||
191 | Servo-control: | ||||||
| This subclass is indented under subclass 190. Separating traps wherein the float operates a servo-mechanism
or pilot valve controlled device which in turn operates the valve.
SEE OR SEARCH THIS CLASS, SUBCLASS:
SEE OR SEARCH CLASS:
| |||||||
192 | Float: | ||||
| This subclass is indented under subclass 187. Separating traps wherein the level responsive means is a
float.
SEE OR SEARCH THIS CLASS, SUBCLASS:
SEE OR SEARCH CLASS:
| |||||
193 | With main line gas outlet from trap chamber: | ||||
| This subclass is indented under subclass 192. Separating traps wherein the trap chamber is provided with
an inlet for gas and liquid, a discriminating outlet for liquid
and a nondiscriminating outlet for the main flow of the gas to a gas
distribution system.
SEE OR SEARCH THIS CLASS, SUBCLASS:
| |||||
194 | With outlet extending above liquid in trap: | ||||||
| This subclass is indented under subclass 192. Separating traps wherein the discriminating liquid outlet
pipe rises above the normal liquid level in the trap chamber, thus
requiring the gas pressure in the chamber to discharge the liquid.
SEE OR SEARCH THIS CLASS, SUBCLASS:
SEE OR SEARCH CLASS:
| |||||||
195 | Servo-control: | ||||||
| This subclass is indented under subclass 192. Separating traps wherein the liquid outlet valve is controlled
by a servo mechanism or pilot valve operated means which is in turn
controlled by the float.
SEE OR SEARCH THIS CLASS, SUBCLASS:
SEE OR SEARCH CLASS:
| |||||||
196 | With pressure balanced outlet valve: | ||
| This subclass is indented under subclass 192. Separating traps wherein a plurality of coacting liquid
outlet valves are arranged to act in opposition or a single outlet
valve is provided with opposed surfaces to cancel out the effect
of internal pressure on the valve.
SEE OR SEARCH CLASS:
| |||
197 | Discriminating outlet for gas: | ||||||||||||||||
| This subclass is indented under subclass 171. Separating traps wherein the trap is provided with an outlet
through which outflow of a gas is permitted but outflow of a liquid
or diverse gas therethrough is prevented.
SEE OR SEARCH THIS CLASS, SUBCLASS:
SEE OR SEARCH CLASS:
| |||||||||||||||||
198 | With reverse flow stop or pressure regulating valve: | ||
| This subclass is indented under subclass 197. Separating traps further provided with a pressure responsive
valve in the gas outlet which prevents reverse flow or regulates
the system gas pressure.
SEE OR SEARCH THIS CLASS, SUBCLASS:
| |||
199 | Fluid sensing valve: | ||||
| This subclass is indented under subclass 197. Separating traps wherein the discrimination is obtained
by an outlet valve which is responsive to a fluid.
SEE OR SEARCH THIS CLASS, SUBCLASS:
| |||||
200 | With vaporized liquid stop: |
| This subclass is indented under subclass 199. Separating traps wherein the valve or an additional device functions to stop normally liquid fluid which is vaporized, such as steam, in the system. | |
201 | With separate return for condensate: | ||
| This subclass is indented under subclass 200. Separating traps wherein a separate return path is provided
from the trap to the system for condensed vapor.
SEE OR SEARCH THIS CLASS, SUBCLASS:
| |||
202 | Float responsive: | ||||
| This subclass is indented under subclass 199. Separating traps wherein the valve is responsive to a float
member.
SEE OR SEARCH THIS CLASS, SUBCLASS:
| |||||
203 | With liquid emptying means: | ||||||
This subclass is indented under subclass 171. Separating traps wherein the provision for removal of a
fluid from the system is a nondiscriminating liquid outlet.
SEE OR SEARCH THIS CLASS, SUBCLASS:
| |||||||
204 | Self-emptying: | ||||
| This subclass is indented under subclass 203. Separating traps wherein the outlet empties the system of
liquid of its own volition, as when the system pressure is removed.
SEE OR SEARCH THIS CLASS, SUBCLASS:
| |||||
205 | Liquid filling by evacuating container: | ||||||||||
| This subclass is indented under subclass 154. Apparatus providing means whereby a container may be filled
with a liquid by evacuating the container either prior to or simultaneously with
the liquid filling.
SEE OR SEARCH THIS CLASS, SUBCLASS:
SEE OR SEARCH CLASS:
| |||||||||||
205.5 | Main line flow displaces additive from shunt reservoir: | ||||
| This subclass is indented under subclass 154. Apparatus including a shunt line having a reservoir therein
containing a fluid diverse from that in the main line and wherein
the reservoir material is fed into the main line, without mixing
with main line material in the reservoir, by main line flow into
the shunt due to differential pressure along the main line.
SEE OR SEARCH THIS CLASS, SUBCLASS:
| |||||
206 | Gas pressure storage over or displacement of liquid: | ||||||||||||
This subclass is indented under subclass 154. Apparatus wherein a gas under pressure is provided over
a body of liquid or is utilized to displace a liquid and a definite
coaction exists between the gas and liquid which affects the system.
SEE OR SEARCH THIS CLASS, SUBCLASS:
SEE OR SEARCH CLASS:
| |||||||||||||
207 | Surge suppression: | ||||||
| This subclass is indented under subclass 206. Apparatus wherein the gas is trapped in a dome over a liquid
from a liquid distribution system to suppress or absorb pressure
surges in the liquid system.
SEE OR SEARCH THIS CLASS, SUBCLASS:
SEE OR SEARCH CLASS:
| |||||||
207.5 | With return of liquid to supply: | ||||
| This subclass is indented under subclass 206. Apparatus in which the liquid in one part of the system
is allowed to flow back, is forced back, or is by-passed back to
the source of supply, in order to empty the system for cleaning,
storage, etc.
SEE OR SEARCH THIS CLASS, SUBCLASS:
SEE OR SEARCH CLASS:
| |||||
208 | Plural units: | ||
| This subclass is indented under subclass 206. Apparatus wherein a plurality of similarly functioning gas
pressure over liquid units are provided.
SEE OR SEARCH THIS CLASS, SUBCLASS:
| |||
209 | With gas maintenance or application: | ||||||
| This subclass is indented under subclass 206. Apparatus wherein means are provided to maintain or apply
the gas pressure over or to the liquid.
SEE OR SEARCH THIS CLASS, SUBCLASS:
SEE OR SEARCH CLASS:
| |||||||
210 | Gas carried by or evolved from liquid: | ||
| This subclass is indented under subclass 209. Apparatus in which the gas is derived from a liquid not
necessarily the liquid over which the gas acts.
SEE OR SEARCH CLASS:
| |||
211 | Gas injectors: | ||
| This subclass is indented under subclass 210. Apparatus with a device to add or inject gas into the liquid
of the system to replenish the gas over the liquid.
SEE OR SEARCH CLASS:
| |||
211.5 | Gas injected by liquid pressure or flow: | ||
| This subclass is indented under subclass 209. Apparatus including means to apply gas pressure over the
liquid said means utilizing the pressure of flow of the liquid to
apply the gas.
SEE OR SEARCH THIS CLASS, SUBCLASS:
| |||
212 | Unitary mounting for gas pressure inlet and liquid outlet: | ||||||
| This subclass is indented under subclass 209. Apparatus wherein the gas pressure inlet and liquid outlet
have a common mounting adapted for manipulation as a unit for positioning
or removal from a gas and liquid container.
SEE OR SEARCH THIS CLASS, SUBCLASS:
SEE OR SEARCH CLASS:
| |||||||
213 | With liquid level responsive gas vent or whistle: | ||||||||||||||
This subclass is indented under subclass 206. Apparatus wherein a gas vent or whistle is opened in response
to a predetermined liquid level.
SEE OR SEARCH THIS CLASS, SUBCLASS:
SEE OR SEARCH CLASS:
| |||||||||||||||
214 | Combined high and low level responsive: | ||
| This subclass is indented under subclass 213. Apparatus wherein the gas vent or whistle is opened in response
to a high and low liquid level.
SEE OR SEARCH THIS CLASS, SUBCLASS:
| |||
215 | BACK FLOW PREVENTION BY VACUUM BREAKING (E.G., ANTI-SIPHON DEVICES): | ||||||||||||||
This subclass is indented under the class definition. Apparatus which stop reverse flow of a liquid in a distribution
system by preventing or eliminating the vacuum condition which would cause
the reverse flow, such as a condition which would start siphoning.
SEE OR SEARCH THIS CLASS, SUBCLASS:
SEE OR SEARCH CLASS:
| |||||||||||||||
216 | Air vent in liquid flow line: | ||||
| This subclass is indented under subclass 215. Apparatus wherein the back flow is prevented by an air vent
or gap in the liquid flow line.
SEE OR SEARCH THIS CLASS, SUBCLASS:
| |||||
216.1 | With liquid seal in liquid flow line: | ||||
| This subclass is indented under subclass 216. Apparatus including a liquid seal means in the liquid flow
line.
SEE OR SEARCH THIS CLASS, SUBCLASS:
SEE OR SEARCH CLASS:
| |||||
216.2 | Automatic valve in vent line: | ||
| This subclass is indented under subclass 216.1. Subject matter including an automatic valve in the vent
line.
SEE OR SEARCH THIS CLASS, SUBCLASS:
| |||
217 | Valved: | ||||||
| This subclass is indented under subclass 216. Apparatus wherein the air vent is provided with a valve.
SEE OR SEARCH THIS CLASS, SUBCLASS:
SEE OR SEARCH CLASS:
| |||||||
218 | With co-acting valve in liquid flow path: | ||
| This subclass is indented under subclass 217. Apparatus wherein a valve is provided in the liquid flow
path which operates in conjunction with the air vent valve.
SEE OR SEARCH THIS CLASS, SUBCLASS:
| |||
219 | LARNER-JOHNSON TYPE VALVES; I.E., TELESCOPING INTERNAL VALVE IN EXPANDED FLOW LINE SECTION: | ||||||||||||||||
This subclass is indented under the class definition. Flow control devices comprising a flow line having a contracted
portion, a valve seat adjacent said contracted portion and an internal coaxial
valve part comprising telescoping members, one of which is a movable
needle or valve head which engages said seat.
SEE OR SEARCH THIS CLASS, SUBCLASS:
SEE OR SEARCH CLASS:
| |||||||||||||||||
220 | Line condition change responsive: | ||||
This subclass is indented under subclass 219. Flow control devices in which the valve is actuated in response
to a change in condition of the fluid handled.
SEE OR SEARCH THIS CLASS, SUBCLASS:
| |||||
221 | Internal servo-motor with internal pilot valve: | ||
| This subclass is indented under subclass 219. Flow control devices in which a controlled motor device
comprising a pilot operated or servo-mechanism is involved, the
motor device and its pilot or control valve being located within
the internal part of the valve, i.e., the part comprising the telescoping
support and the needle or movable valve head lying within the flow
passage.
SEE OR SEARCH CLASS:
| |||
222 | Pilot controlled passage in nose or needle: | ||
| This subclass is indented under subclass 221. Flow control devices in which the pilot valve controls a
passage through the needle or movable part of the valve means internal
to the flow line.
SEE OR SEARCH CLASS:
| |||
223 | INFLATABLE ARTICLE (E.G., TIRE FILLING CHUCK AND/OR STEM): | ||||||||||||||||
This subclass is indented under the class definition. Apparatus comprising valved inflation stems of the type
attached to pneumatic tires and analogous inflatable articles, including
filling and/or relief extensions of such stems, valved
filling chucks or the type attached to pressure fluid supplying
conduits and employed to inflate such articles by means of the inflation
stems, and combinations of such inflation stems and filling chucks.
SEE OR SEARCH THIS CLASS, SUBCLASS:
SEE OR SEARCH CLASS:
| |||||||||||||||||
224 | With pressure-responsive pressure-control means: | ||||||
This subclass is indented under subclass 223. Apparatus having fluid pressure responsive means permanently
associated therewith for controlling the pressure therein or in
the inflatable article during the inflating operation or while the
inflatable article is in use.
SEE OR SEARCH THIS CLASS, SUBCLASS:
| |||||||
224.5 | Pulsating: |
| This subclass is indented under subclass 224. Devices wherein the fluid is dispensed in successive charges until the predetermined pressure is reached. | |
225 | Diaphragm, bellows or expansible tube: | ||||||
| This subclass is indented under subclass 224. Apparatus having a diaphragm, bellows or expansible tube
as the pressure responsive means.
SEE OR SEARCH THIS CLASS, SUBCLASS:
| |||||||
226 | Co-axial inflation and relief valves: | ||||||||||
This subclass is indented under subclass 224. Apparatus having inflation and relief valves on a common
axis.
SEE OR SEARCH THIS CLASS, SUBCLASS:
| |||||||||||
227 | With gauge or indicator: | ||||||||||
| This subclass is indented under subclass 223. Apparatus having a fluid pressure gauge or indicator combined
therewith.
SEE OR SEARCH THIS CLASS, SUBCLASS:
SEE OR SEARCH CLASS:
| |||||||||||
228 | With deflating means: | ||||
| This subclass is indented under subclass 227. Apparatus having means for releasing fluid from the article
being inflated while the gauge or indicator remains combined with
the filling chuck and/or stem.
SEE OR SEARCH THIS CLASS, SUBCLASS:
| |||||
229 | Selectively connected: |
| This subclass is indented under subclass 227. Apparatus having means whereby the gauge or indicator may be selectively placed in or out of communication with the filling passage of the chuck or stem. | |
230 | Stem attached relief valve: | ||||||||||
This subclass is indented under subclass 223. Valved devices which are adapted to be mounted in the end
of a conventional pneumatic tire inflation stem to relieve excess
pressure.
SEE OR SEARCH THIS CLASS, SUBCLASS:
| |||||||||||
231 | With coupling means: | ||||||||||
This subclass is indented under subclass 223. Apparatus having significant structure for connecting a
filling chuck to an inflation stem, or an inflation stem to a second
inflation stem or filling tube, the second stem or tube usually being
permanently associated with a tire.
SEE OR SEARCH THIS CLASS, SUBCLASS:
SEE OR SEARCH CLASS:
| |||||||||||
232 | With cap: | ||||||
| This subclass is indented under subclass 223. Apparatus, usually of the inflation stem type, having a
cap or closure for protecting and/or sealing the end thereof.
SEE OR SEARCH THIS CLASS, SUBCLASS:
SEE OR SEARCH CLASS:
| |||||||
233 | Valve actuating, assembling or locking means on cap: | ||||||
| This subclass is indented under subclass 232. Apparatus in which the cap is provided with means for actuating,
locking in place, or assembling a valve located in an inflation
stem.
SEE OR SEARCH THIS CLASS, SUBCLASS:
SEE OR SEARCH CLASS:
| |||||||
234 | Valve manually seated: | ||
This subclass is indented under subclass 233. Apparatus in which the valve which is actuated, locked or
assembled is seated by manual manipulation.
| |||
234.5 | Removable valve head and seat unit (valve insides): | ||
| This subclass is indented under subclass 223. Devices comprising one or more valve heads and their cooperating
seats formed in a sleeve or similar structural unit which is removable
as such from a tire stem.
SEE OR SEARCH THIS CLASS, SUBCLASS:
| |||
234.6 | WITH VEHICLE GUIDE OR SUPPORT, E.G., SERVICE STATION: | ||||||||||||||||
This subclass is indented under the class definition. Fluid handling system combined with means for supporting,
guiding or confining a vehicle relative to fluid handling means
which supples a fluid to the vehicle, e.g., lubricant or fuel.
SEE OR SEARCH THIS CLASS, SUBCLASS:
SEE OR SEARCH CLASS:
| |||||||||||||||||
236.1 | DISTRIBUTION SYSTEMS INVOLVING GEOGRAPHIC FEATURES: | ||||||||||||
This subclass is indented under the class definition. Fluid handling systems including or specifically related
to a particular geographic feature, e.g., a hill, river, ocean shore,
city street, etc.
SEE OR SEARCH THIS CLASS, SUBCLASS:
SEE OR SEARCH CLASS:
| |||||||||||||
237 | WITH CLEANER, LUBRICATION ADDED TO FLUID OR LIQUID SEALING AT VALVE INTERFACE: | ||||||||||||||||
This subclass is indented under the class definition. Fluid handling systems having (1) devices to render the
system or parts thereof free from undesirable material, or (2) devices for
lubricating the system or parts thereof by adding a lubricating
medium to the stream of fluent material carried by the system or
(3) devices for preventing leakage between the valve and a solid
valve seat by introducing a liquid between the valve and its seat.
SEE OR SEARCH THIS CLASS, SUBCLASS:
SEE OR SEARCH CLASS:
| |||||||||||||||||
238 | Cleaning or steam sterilizing: | ||||||||||||||||||||
| This subclass is indented under subclass 237. Systems containing a means other than those causing or controlling
the normal or unmodified flow of the fluent material of the system for
removing germs or other undesirable internal or extraneous material
from the system itself or parts thereof, as distinguished from treating
the material being handled to remove undesirable material.
SEE OR SEARCH THIS CLASS, SUBCLASS:
SEE OR SEARCH CLASS:
| |||||||||||||||||||||
239 | Reverse fluid flow: | ||||||||
| This subclass is indented under subclass 238. Systems in which the cleaning device includes a means for
causing a fluid to flow in the reverse direction to the normal flow
path to remove undesirable material from the system or parts thereof.
SEE OR SEARCH THIS CLASS, SUBCLASS:
| |||||||||
240 | With separate material addition: | ||||||||
| This subclass is indented under subclass 238. Systems in which a separate material such as steam, air,
water, valve grinding compounds or other chemical or physical agents
are introduced into the fluent material of the system to clean parts
of the system.
SEE OR SEARCH THIS CLASS, SUBCLASS:
SEE OR SEARCH CLASS:
| |||||||||
241 | Steam sterilizing: | ||||||
| This subclass is indented under subclass 238. Systems in which steam is used as a medium for cleaning
germs or other infective agents from parts of the system.
SEE OR SEARCH THIS CLASS, SUBCLASS:
SEE OR SEARCH CLASS:
| |||||||
242 | Mechanical cleaning: | ||||||||||
This subclass is indented under subclass 238. Systems in which the undesired material is removed from
the device or system or parts thereof by the physical interaction
of two or more parts of the device or system, not including relations
or operations which are part of or necessary for flow handling.
SEE OR SEARCH THIS CLASS, SUBCLASS:
SEE OR SEARCH CLASS:
| |||||||||||
243 | Valve grinding motion of valve on seat: | ||||||||||
This subclass is indented under subclass 242. Systems in which the fluent material system or a part thereof
has means for giving the valve or its seat a motion which produces
cleaning or grinding of the valve and/or its seat.
SEE OR SEARCH THIS CLASS, SUBCLASS:
SEE OR SEARCH CLASS:
| |||||||||||
243.1 | Concentric stem: |
| This subclass is indented under subclass 243. Devices in which the actuator is made up of an axial rod mounted within a sleeve. | |
243.2 | Spring pressed: |
| This subclass is indented under subclass 243. Devices provided with a spring which permits regrinding of the valve head on its seat. | |
243.3 | Lost motion permits grinding: | ||
| This subclass is indented under subclass 243. Devices provided with lost motion which permits the valve
to rotate on its seat before it leaves the seat upon opening.
SEE OR SEARCH THIS CLASS, SUBCLASS:
| |||
243.4 | With swivel-preventing means: |
| This subclass is indented under subclass 243. Devices in which a normally swiveled connection between the head and stem is blocked to cause the head to rotate on the seat as the stem rotates. | |
243.5 | Nut releasable from body and/or stem: | ||
| This subclass is indented under subclass 243. Devices comprising screw actuated valves in which the nut
is disconnected from the body or the stem, or both, to permit the
valve head to rotate without reciprocating.
SEE OR SEARCH THIS CLASS, SUBCLASS:
| |||
243.6 | With independent grinding actuator: |
| This subclass is indented under subclass 243. Devices which are provided with means in addition to and independent of the normal valve actuator for imparting the grinding motion to the valve. | |
243.7 | Separable: |
| This subclass is indented under subclass 243.6. Devices in which the grinding means is normally removed from the valve. | |
244 | Cleaning member reciprocates in passage: | ||
| This subclass is indented under subclass 242. Systems in which the fluent material system has a member
which has a reciprocating movement to enter a restricted passage
of the system to clean either or both parts, either the member, the
passage or the movement being nonworking characteristics of the
system; i.e., not contributing to the fluid flow causing or controlling
function of the system, though the member or passage may be carried
by a working part of the system.
SEE OR SEARCH CLASS:
| |||
245 | By-pass cleaning: | ||||
This subclass is indented under subclass 244. Systems in which the reciprocating member cleans a branch
channel.
SEE OR SEARCH THIS CLASS, SUBCLASS:
| |||||
245.5 | Independent actuation: |
| This subclass is indented under subclass 244. Devices wherein the means to actuate the cleaning means is independent of the valve actuator. | |
246 | Liquid supplied at valve interface: | ||||||||
This subclass is indented under subclass 237. Systems in which a separate fluid is applied between the
valve and its seats to seal the valve against passage of the fluent
material carried by the system.
SEE OR SEARCH THIS CLASS, SUBCLASS:
SEE OR SEARCH CLASS:
| |||||||||
246.11 | Plural feed: |
| This subclass is indented under subclass 246. Valves wherein plural feed means (other than gravity) are provided for the sealing liquid to cause flow thereof. | |
246.12 | Line pressure feed: |
| This subclass is indented under subclass 246. Valves wherein line pressure is used to feed the sealing liquid. | |
246.13 | Feed by or with actuation: |
| This subclass is indented under subclass 246. Valves wherein the feed means is actuated by the valve actuator or is so interrelated therewith that feeding of sealing liquid is dependent on valve actuation. | |
246.14 | Loss control: |
| This subclass is indented under subclass 246. Valves having means to control or prevent the loss of sealing means to the line flow. | |
246.15 | Screw feed: |
| This subclass is indented under subclass 246. Valves having a screw means (e.g., screw fed plunger) for feeding the fluid. | |
246.16 | With check valve: |
| This subclass is indented under subclass 246.15. Valve having check valve means in the lubrication or sealing system. | |
246.17 | Excess relief: |
| This subclass is indented under subclass 246.16. Valves having means to permit escape of the sealing liquid from its flow system to prevent excessive pressure therein or as an indication of complete flow therein. | |
246.18 | Jacking: |
| This subclass is indented under subclass 246.16. Valves wherein the valve is lifted from its seat to aid actuation by the pressure of the lubricant. | |
246.19 | Jacking: | ||
| This subclass is indented under subclass 246.15. Valves wherein the lubrication pressure lifts the valve
from its seat.
SEE OR SEARCH THIS CLASS, SUBCLASS:
| |||
246.2 | Seating: |
| This subclass is indented under subclass 246.15. Valves wherein the lubrication pressure aids in seating of the valve. | |
246.21 | Spring biased piston feed: |
| This subclass is indented under subclass 246. Valves wherein the lubricant feed means is a spring biased piston. | |
246.22 | External pressure: |
| This subclass is indented under subclass 246. Valves wherein the sealing material is introduced into the valve under pressure from some means such as a grease gun or oil pump. | |
246.23 | Gravity or capillary feed: |
| This subclass is indented under subclass 246. Valves wherein the lubricant flows by gravity or by capillarity. | |
247 | WITH LIQUID VALVES OR LIQUID TRAP SEALS: | ||||||||||||||
| This subclass is indented under the class definition. Apparatus in which a liquid, maintained at the desired location
by some form of reservoir, is used as a seal or closure between
adjacent parts of a system containing either a gas or a liquid which
is lighter than the sealing liquid.
SEE OR SEARCH THIS CLASS, SUBCLASS:
SEE OR SEARCH CLASS:
| |||||||||||||||
247.11 | Liquid seal in liquid flow line; flow liquid forms seal: | ||||||||||
| This subclass is indented under subclass 247. Apparatus comprising a U-shaped flow passage which retains
a portion of a line flow liquid to provide a gas seal in the said
line.
SEE OR SEARCH THIS CLASS, SUBCLASS:
SEE OR SEARCH CLASS:
| |||||||||||
247.13 | Valves: |
| This subclass is indented under subclass 247.11. Apparatus having a valve in the liquid flow line in or adjacent to the seal. | |
247.15 | Line condition change responsive: | ||||
| This subclass is indented under subclass 247.13. Apparatus in which the valve is responsive to a change in
the condition of the liquid in the flow line.
SEE OR SEARCH THIS CLASS, SUBCLASS:
| |||||
247.17 | Plural valves or valve seats: | ||||||||
| This subclass is indented under subclass 247.15. Apparatus having a plurality of line condition responsive
valves or having such a valve which seats alternatively on one of
a plurality of seats.
SEE OR SEARCH THIS CLASS, SUBCLASS:
SEE OR SEARCH CLASS:
| |||||||||
247.19 | Pivoted valve: | ||||
| This subclass is indented under subclass 247.15. Apparatus in which the valve is pivoted.
SEE OR SEARCH THIS CLASS, SUBCLASS:
| |||||
247.21 | Ball valve: | ||||||||
| This subclass is indented under subclass 247.15. Apparatus in which the valve is a substantially spherical
element.
SEE OR SEARCH THIS CLASS, SUBCLASS:
| |||||||||
247.23 | Seats vertically up: | ||
| This subclass is indented under subclass 247.21. Apparatus having a seat lying in a general horizontal plane
above the valve.
SEE OR SEARCH THIS CLASS, SUBCLASS:
| |||
247.25 | Seal replenishers: | ||||
| This subclass is indented under subclass 247.11. Devices having (1) a distinct compartment with a restricted
orifice which stores flow line liquid during flow and discharges
it into the seal after the flow ceases in order to assure a seal
or replace lost seal liquid, or (2) a connection to an outside source
of seal liquid for the same purpose.
SEE OR SEARCH THIS CLASS, SUBCLASS:
| |||||
247.27 | Plural inlet: | ||||
| This subclass is indented under subclass 247.11. Devices having connections for a plurality of inlet pipes.
SEE OR SEARCH THIS CLASS, SUBCLASS:
| |||||
247.29 | Divided and recombined passages: | ||||
| This subclass is indented under subclass 247.11. Devices having divided and recombined passage means for
flow liquid and/or air, for preventing seal loss by forward
siphonage.
SEE OR SEARCH THIS CLASS, SUBCLASS:
| |||||
247.31 | Tangential inlet flow: |
| This subclass is indented under subclass 247.11. Devices wherein the flow enters a leg of the U-shaped passage tangentially to the axis of the leg. | |
247.33 | Downward partition encircles projecting outlet: | ||
| This subclass is indented under subclass 247.11. Seals in which the U-shaped passage is formed by a chamber
having a downwardly extending partition comprising an inverted cup and
a distinct outlet pipe which projects up into the cup.
SEE OR SEARCH CLASS:
| |||
247.35 | Submerged inlet pipe end: |
| This subclass is indented under subclass 247.11. Seals comprising a chamber having a distinct inlet pipe projecting thereinto and an outlet at a higher lever than the inlet pipe end opening. | |
247.37 | Hinged seal bowl: |
| This subclass is indented under subclass 247.35. Seals wherein the chamber comprises an overflow seal bowl hinged for movement into and out of seal forming position. | |
247.39 | Distinct seal bowl in flow line connected casing: | ||
| This subclass is indented under subclass 247.35. Seals wherein the chamber comprises a distinct overflow
seal bowl within a flow line connected closed casing.
SEE OR SEARCH CLASS:
| |||
247.41 | U-seals: |
| This subclass is indented under subclass 247.11. Seals wherein theU-shaped passage comprises a U-bend of which one leg thereof is an inlet pipe and constitutes the downflow column and the other leg is distinct and externally spaced from the first leg and constitutes the upflow column. | |
247.43 | Topside access beneath cover plate closed floor opening: |
| This subclass is indented under subclass 247.41. Apparatus installed beneath a surface and having a top side access means located beneath an opening in the surface, the opening being provided with a removable cover plate. | |
247.45 | Enlarged upflow leg: |
| This subclass is indented under subclass 247.41. Seals wherein the upflow leg or a portion thereof ahead of the overflow into the outlet is transversely larger than the downflow (inlet) leg. | |
247.47 | Topside access opening: | ||
| This subclass is indented under subclass 247.45. Seals with a top side access means located above the liquid
seal level.
SEE OR SEARCH THIS CLASS, SUBCLASS:
| |||
247.49 | Even diameter legs: |
| This subclass is indented under subclass 247.41. Seals wherein both legs of the U-bend have substantially uniform and like internal cross sections. | |
247.51 | Access opening: | ||
| This subclass is indented under subclass 247.49. Seals having access means.
SEE OR SEARCH CLASS:
| |||
248 | Seal for relatively movable valving parts: | ||
| This subclass is indented under subclass 247. Apparatus in which the liquid is used to seal a gap between
relatively movable valving parts of a valve in at least one position
of the valve, the liquid pool comprising in effect the seat for the
movable valve element.
SEE OR SEARCH THIS CLASS, SUBCLASS:
| |||
249 | Horizontally moving valve: | ||
| This subclass is indented under subclass 248. Apparatus in which the movement of the valve has a component
in a horizontal plane.
SEE OR SEARCH THIS CLASS, SUBCLASS:
| |||
250 | Rotary: | ||
| This subclass is indented under subclass 249. Apparatus in which the movement in a horizontal plane is
rotary.
SEE OR SEARCH THIS CLASS, SUBCLASS:
| |||
251.1 | Liquid valves: | ||||
| This subclass is indented under subclass 247. Apparatus in which the sealing liquid alone performs a valving
function in response to either external control means or to fluid
pressure in the flow path, i.e., no flow conduit is withdrawn from
the liquid to open a flow path.
SEE OR SEARCH THIS CLASS, SUBCLASS:
SEE OR SEARCH CLASS:
| |||||
252 | Branched passage for sealing liquid: | ||
| This subclass is indented under subclass 251.1. Apparatus in which at least one side of the liquid valve
is provided with a branching path whereby as the sealing liquid
rises on that side beyond a predetermined point it divides into
a plurality of branches.
SEE OR SEARCH THIS CLASS, SUBCLASS:
| |||
253 | With auxiliary means for varying liquid level: |
| This subclass is indented under subclass 251.1. Apparatus including auxiliary means independent of the flow path for adjusting or varying the height of the liquid in the valve. | |
254 | With baffle: | ||
| This subclass is indented under subclass 251.1. Apparatus in which one or more baffles is provided either
in or above the liquid of the valve, usually to restrict, deflect,
or slow up sudden rising of the valving liquid.
SEE OR SEARCH CLASS:
| |||
255 | PLURAL TANKS OR COMPARTMENTS WITH PARALLEL FLOW: | ||||||||||
| This subclass is indented under the class definition. Apparatus having two or more tanks or compartments so connected
that (1) fluid from the same or different sources is separately
supplied to different tanks or compartments, and/or (2)
the tanks or compartments discharge separate fluid flows externally
of the system or to parts of the system other than one another.
SEE OR SEARCH THIS CLASS, SUBCLASS:
SEE OR SEARCH CLASS:
| |||||||||||
256 | Sequentially filled and emptied (e.g., holding type): | ||||||||||
| This subclass is indented under subclass 255. Apparatus having means for successively filling the tanks
and means for subsequently emptying the filled tanks in succession.
Many of the patents in this group of subclasses are directed to
milk pasteurization tank systems, wherein milk at pasteurization
temperatures is retained in a tank for a period of time before the
tank is emptied.
SEE OR SEARCH THIS CLASS, SUBCLASS:
| |||||||||||
257 | With relative rotation of tank group and filling head: | ||||||
| This subclass is indented under subclass 256. Apparatus in which a group of tanks or compartments and
the filling means therefor are mounted for rotation with respect
to one another.
SEE OR SEARCH THIS CLASS, SUBCLASS:
SEE OR SEARCH CLASS:
| |||||||
258 | With rotary filling and emptying head: | ||
| This subclass is indented under subclass 257. Apparatus in which the filling means rotates with respect
to the tank group and the filling means also includes means for
emptying the tanks.
SEE OR SEARCH THIS CLASS, SUBCLASS:
| |||
259 | With housings, supports or stacking arrangements: | ||||||||||
| This subclass is indented under subclass 255. Apparatus having means for enclosing some or all of the
tanks or compartments, means for positioning the tanks or compartments
with respect to a supporting surface or member other than the tanks
or compartments themselves, or constructional features specially designed
to permit stacking one upon another.
SEE OR SEARCH THIS CLASS, SUBCLASS:
SEE OR SEARCH CLASS:
| |||||||||||
260 | Battery or electrolytic cell replenishment: | ||||||||||
This subclass is indented under subclass 255. Apparatus in which the tanks or compartments are storage
battery or electrolytic cells and means is provided for supplying
liquid thereto, usually to maintain a constant liquid level in the
cells.
SEE OR SEARCH THIS CLASS, SUBCLASS:
SEE OR SEARCH CLASS:
| |||||||||||
261 | Barometric supply: | ||
| This subclass is indented under subclass 260. Apparatus in which the supply means comprises a closed container
elevated with respect to the cells and adapted to be placed in continuous
communication therewith, whereby, upon lowering of the liquid level
in the cell, liquid is supplied thereto.
SEE OR SEARCH THIS CLASS, SUBCLASS:
| |||
262 | Flow dividing compartments: | ||||||||
| This subclass is indented under subclass 255. Apparatus in which fluid from a single source is supplied
to a plurality of compartments, each of which has a normally open
outlet, for the purpose of proportionally dividing the single flow
into a plurality of flows.
SEE OR SEARCH THIS CLASS, SUBCLASS:
SEE OR SEARCH CLASS:
| |||||||||
263 | Tank type manifold (i.e., one tank supplies or receives from at least two others): | ||||
| This subclass is indented under subclass 255. Apparatus in which one tank or compartment is arranged to
supply to and/or receive from a plurality of additional
tanks or compartments, with or without the intervention of a manifold.
SEE OR SEARCH THIS CLASS, SUBCLASS:
| |||||
264 | Tank within tank: | ||||||||
| This subclass is indented under subclass 255. Apparatus in which one tank is positioned within another.
SEE OR SEARCH THIS CLASS, SUBCLASS:
SEE OR SEARCH CLASS:
| |||||||||
265 | With cross connecting passage: | ||
| This subclass is indented under subclass 255. Apparatus having a connecting passage whereby fluid may
flow between the tanks or compartments.
SEE OR SEARCH THIS CLASS, SUBCLASS:
| |||
266 | With manifold or grouped outlets: | ||||||||||||||||||
This subclass is indented under subclass 255. Apparatus having (1) a filling and/or emptying or
venting manifold or (2) separate outlet conduits from plural tanks
or compartments arranged to terminate adjacent one another, usually
for convenience in discharging the contents of the several compartments.
SEE OR SEARCH THIS CLASS, SUBCLASS:
SEE OR SEARCH CLASS:
| |||||||||||||||||||
267 | Tank truck type: | ||||
| This subclass is indented under subclass 266. Apparatus in which the plural compartments are of the type
commonly mounted on a truck or other vehicle.
SEE OR SEARCH THIS CLASS, SUBCLASS:
| |||||
268 | WITH HOLDER FOR SOLID, FLAKY OR PULVERIZED MATERIAL TO BE DISSOLVED OR ENTRAINED: | ||||||||||||||||||||||||||||||||||||||||||||||
| This subclass is indented under the class definition. Fluid handling devices including a member for holding and
bringing a fluent material and a material to be dissolved or entrained
into contact with the fluid.
SEE OR SEARCH THIS CLASS, SUBCLASS:
SEE OR SEARCH CLASS:
| |||||||||||||||||||||||||||||||||||||||||||||||
269 | CONVERTIBLE: | ||||||||
This subclass is indented under the class definition. Apparatus so designed that its mode of operation can be
changed by reassembling all or some of its parts in a different
relationship to each other or by the addition or omission of a part.
SEE OR SEARCH THIS CLASS, SUBCLASS:
SEE OR SEARCH CLASS:
| |||||||||
269.5 | Reversible check: |
| This subclass is indented under subclass 269. Devices comprising check valves mounted in alternately positionable carriers whereby a carried valve may check fluid flow in either of two directions by repositioning the carrier. | |
270 | Unit orientable in a single location between plural positions: | ||||
| This subclass is indented under subclass 269. Apparatus in which a part or a unitary subassembly of parts
may be assembled with the remainder of the apparatus in only one
location, but plural relative angular positions or orientations
with respect thereto are possible with corresponding changes in
the mode of operation.
SEE OR SEARCH THIS CLASS, SUBCLASS:
SEE OR SEARCH CLASS:
| |||||
270.5 | Reversible stop and vent or waste: |
| This subclass is indented under subclass 270. Devices comprising stop and vent or waste valve units having means to associate the waste port with either principal port. | |
271 | Units interchangeable between alternate locations: | ||
| This subclass is indented under subclass 269. Apparatus in which the mode of operation can be changed
by interchanging plural parts or unitary subassemblies. One of
the parts interchanged may be a mere plug or closure.
SEE OR SEARCH CLASS:
| |||
272 | HYDRANT TYPE: | ||||||||||
This subclass is indented under the class definition. Fluid distributors characterized by a vertical delivery
riser with a valve at the bottom, to avoid freezing when installed
below the frost line, and an extended actuator for the valve, usually
for actuating the valve from a point adjacent the outlet from the
riser or an extension thereof.
SEE OR SEARCH THIS CLASS, SUBCLASS:
SEE OR SEARCH CLASS:
| |||||||||||
273 | Water crane type: | ||||
| This subclass is indented under subclass 272. Apparatus including a laterally extending delivery spout
at the top of the riser for delivery of liquid, usually to movable
tanks, e.g., water to railroad locomotive tenders or gasoline to
tank trucks.
SEE OR SEARCH THIS CLASS, SUBCLASS:
| |||||
274 | Spout operated valve: | ||
| This subclass is indented under subclass 273. Apparatus in which the valve is actuated by movement of
the spout into delivery position.
SEE OR SEARCH THIS CLASS, SUBCLASS:
| |||
275 | Rotating riser: | ||
| This subclass is indented under subclass 273. Apparatus in which the riser is rotatable about its axis
to position the spout for delivery of water.
SEE OR SEARCH THIS CLASS, SUBCLASS:
| |||
276 | Spout articulated to riser: | ||||||
| This subclass is indented under subclass 275. Apparatus in which the spout is attached to the rotatable
riser by a flexible joint providing for movement of the spout in
at least one plane.
SEE OR SEARCH THIS CLASS, SUBCLASS:
| |||||||
277 | Vertically movable riser: | ||
| This subclass is indented under subclass 275. Apparatus in which the riser is movable vertically as well
as rotatably.
SEE OR SEARCH THIS CLASS, SUBCLASS:
| |||
278 | Extensible spout: | ||
| This subclass is indented under subclass 273. Apparatus in which the spout is extensible in a lateral
direction from the riser to vary its length.
SEE OR SEARCH CLASS:
| |||
279 | Spout articulated to riser: | ||||||||
| This subclass is indented under subclass 273. Apparatus in which the spout is attached to the riser by
a flexible joint providing for movement of the spout in at least
one plane.
SEE OR SEARCH THIS CLASS, SUBCLASS:
SEE OR SEARCH CLASS:
| |||||||||
280 | Plural riser: | ||
| This subclass is indented under subclass 272. Apparatus in which at least part of the riser is divided
into plural parallel fluid flow passages.
SEE OR SEARCH THIS CLASS, SUBCLASS:
| |||
281 | Expansible chamber operated by valve actuator for draining riser: | ||||||||||||||||
This subclass is indented under subclass 272. Apparatus including an expansible chamber near the bottom
of the riser and operated by movement of the riser and/or
valve actuator to evacuate water from the riser as the valve is closed
or receive the drain or waste after the valve is closed, and to
refill the riser as or before the valve is opened.
SEE OR SEARCH THIS CLASS, SUBCLASS:
SEE OR SEARCH CLASS:
| |||||||||||||||||
282 | With pump or ejector: | ||
| This subclass is indented under subclass 272. Apparatus combined with a pump or ejector.
SEE OR SEARCH THIS CLASS, SUBCLASS:
| |||
283 | Removable valve and valve seat: | ||||||||||
This subclass is indented under subclass 272. Apparatus in which a valve and its valve seat are so arranged
as to facilitate removal, usually where the valve opens downwardly.
SEE OR SEARCH THIS CLASS, SUBCLASS:
| |||||||||||
284 | With extension to facilitate removal: |
| This subclass is indented under subclass 283. Apparatus in which the valve seat is provided with an extension independent of the riser, to facilitate its removal. | |
285 | Removable valve with supplemental check valve: | ||||||||||||||
| This subclass is indented under subclass 272. Apparatus in which the main valve is arranged to be removable,
and a supplemental check valve is provided, biased closed by a spring
or by fluid pressure and normally held open by a projection on the
main valve or its actuator when the main valve is in place.
SEE OR SEARCH THIS CLASS, SUBCLASS:
| |||||||||||||||
286 | Movable riser actuated valve: | ||||||||
| This subclass is indented under subclass 272. Apparatus in which the riser serves as the actuator for
the valve, i.e., movement of the riser in a predetermined manner
actuates the valve.
SEE OR SEARCH THIS CLASS, SUBCLASS:
SEE OR SEARCH CLASS:
| |||||||||
287 | Reciprocating riser: | ||||
This subclass is indented under subclass 286. Apparatus in which reciprocating movement of the riser actuates
the valve.
SEE OR SEARCH THIS CLASS, SUBCLASS:
| |||||
288 | Piston type valve: | ||
| This subclass is indented under subclass 287. Apparatus in which the valve is a piston cooperating with
one or more ports in a cylindrical valve seat.
SEE OR SEARCH CLASS:
| |||
289 | Balanced valve: | ||
| This subclass is indented under subclass 272. Apparatus in which the valve is balanced, i.e., has opposed
surfaces of equal or nearly equal area exposed to the line fluid
pressure.
SEE OR SEARCH CLASS:
| |||
290 | Valve actuator extends laterally from bottom of riser: | ||
| This subclass is indented under subclass 272. Apparatus in which the valve actuator has at least one element
projecting in a generally horizontal direction adjacent the bottom
of the riser, or comprises a linkage such that the resultant movement
of the valve is in a generally horizontal direction.
SEE OR SEARCH CLASS:
| |||
291 | Valve actuator outside riser: | ||||
This subclass is indented under subclass 272. Apparatus in which the extended valve actuator does not
extend longitudinally through the flow path or riser, but is located
entirely outside the riser.
SEE OR SEARCH THIS CLASS, SUBCLASS:
| |||||
292 | Lever actuator: | ||
| This subclass is indented under subclass 291. Apparatus in which the valve actuator includes a lever.
SEE OR SEARCH CLASS:
| |||
293 | With casing, flush with ground or pavement surface: | ||||
| This subclass is indented under subclass 291. Apparatus with a ground supporting casing for at least the
upper end of the riser whereby the discharge end of the riser can
be at or below the surface of the ground or pavement where it is installed.
SEE OR SEARCH THIS CLASS, SUBCLASS:
| |||||
294 | With casing: | ||
| This subclass is indented under subclass 272. Apparatus combined with an external enclosure for the riser,
valve casing or valve actuator or for a part thereof.
SEE OR SEARCH THIS CLASS, SUBCLASS:
| |||
295 | Flush with ground or pavement surface: | ||||
| This subclass is indented under subclass 294. Apparatus in which at least a portion of the casing provides
a ground supporting recess for the discharge end of the riser whereby
the discharge opening can be at or below the surface of the ground
or pavement where it is installed.
SEE OR SEARCH THIS CLASS, SUBCLASS:
| |||||
296 | Cap, cover or hood: | ||||||
| This subclass is indented under subclass 294. Apparatus in which the casing includes a cap, cover or hood
for the top or discharge outlet of the riser.
SEE OR SEARCH THIS CLASS, SUBCLASS:
| |||||||
297 | With heater: | ||||||
| This subclass is indented under subclass 294. Apparatus which includes a heating means, e.g., a heat exchange
device or a gas or oil burner.
SEE OR SEARCH THIS CLASS, SUBCLASS:
SEE OR SEARCH CLASS:
| |||||||
298 | With actuator lubricating means: | ||
| This subclass is indented under subclass 272. Apparatus which includes means for lubricating the valve
actuator.
SEE OR SEARCH CLASS:
| |||
299 | With valve at outlet: | ||||||
| This subclass is indented under subclass 272. Apparatus which includes one or more valves at outlets from
the riser, either in the riser or in a discharge spout, and provided
in addition to the main or foot valve of the riser.
SEE OR SEARCH THIS CLASS, SUBCLASS:
SEE OR SEARCH CLASS:
| |||||||
300 | With supplemental valve: | ||||
| This subclass is indented under subclass 272. Apparatus which includes an additional valve independent
of the main valve and exposed to fluid upstream of the main valve.
SEE OR SEARCH THIS CLASS, SUBCLASS:
| |||||
301 | Protection against freezing: | ||||||||||||||||
| This subclass is indented under subclass 272. Apparatus which makes some provision for preventing freezing
of water in the riser or around the valve, by providing for its
removal from the hydrant, by arrangement of the connection to the
water main or by means provided inside the flow path.
SEE OR SEARCH THIS CLASS, SUBCLASS:
SEE OR SEARCH CLASS:
| |||||||||||||||||
302 | Stop and waste: | ||||||||||||||
| This subclass is indented under subclass 301. Apparatus in which freezing of water in the riser is prevented
by providing an auxiliary valve operated in at least one direction
by the actuator of the main valve for draining the riser when the
main valve is closed.
SEE OR SEARCH THIS CLASS, SUBCLASS:
SEE OR SEARCH CLASS:
| |||||||||||||||
303 | With disabling means: | ||||
This subclass is indented under subclass 302. Apparatus including selective means for preventing operation
of the auxiliary or drain valve.
SEE OR SEARCH CLASS:
| |||||
304 | Separate relatively movable valves with single actuator: | ||||
| This subclass is indented under subclass 302. Apparatus in which the control valve and the drain valve
are relatively movable but are operated by a single actuator.
SEE OR SEARCH CLASS:
| |||||
305 | Unidirectional abutting connection between main valve or actuator and waste valve: | ||
| This subclass is indented under subclass 304. Apparatus in which the drain valve is operated in only one
direction by abutment of a part thereof with the control valve or
a projection thereon or on the valve actuator, operation in the
other direction being by weight or spring bias.
SEE OR SEARCH CLASS:
| |||
306 | With screw or gear in actuating mechanism: | ||
| This subclass is indented under subclass 304. Apparatus in which the valve actuator includes a screw or
gear interposed between the main valve and the waste valve.
SEE OR SEARCH CLASS:
| |||
307 | Reciprocating relatively fixed valves: | ||||
This subclass is indented under subclass 302. Apparatus in which the control valve and drain valve are
relatively fixed and comprise a reciprocating body. A unitary body,
usually cylindrical, and cooperating with plural ports to accomplish
the stop and waste function is included in this subclass.
SEE OR SEARCH CLASS:
| |||||
308 | Waste through lower valve guide: |
| This subclass is indented under subclass 307. Apparatus in which the drain passage is through a guide channel for a valve extension or the valve stem or actuator projection and below the normal travel limits of the valve. | |
309 | REVERSING VALVES - REGENERATIVE FURNACE TYPE: | ||||
| This subclass is indented under the class definition. Fluid handling devices comprising four-way reversing valves
disclosed for fluid distribution in connection with a regenerative
type of furnace, gas generator, or similar circuit having two connections
to two heat exchangers or regenerators, a connection for incoming
air or fuel or both, and a connection to the exhaust stack, the
valve being selectively movable into two positions; in one position
the incoming air or fuel is passed through a first heat exchanger or
regenerator to the furnace or gas generator, the exhaust gases passing
through the second heat exchanger or regenerator to the exhaust stack;
and in the other position of the valve the incoming air or fuel
is passed through said second heat exchanger or regenerator, to
the furnace or gas generator, and the exhaust gases pass through
said first heat exchanger or regenerator to the exhaust stack.
SEE OR SEARCH THIS CLASS, SUBCLASS:
| |||||
310 | With cooling: | ||
| This subclass is indented under subclass 309. Reversing valves wherein a coolant, such as air or water,
is circulated in heat exchange relation with the valve, valve seat,
or operating parts thereof.
SEE OR SEARCH THIS CLASS, SUBCLASS:
| |||
311 | Rotary reversing valve: | ||
| This subclass is indented under subclass 309. Reversing valves wherein the valve is mounted for rotating
or oscillating motion.
SEE OR SEARCH THIS CLASS, SUBCLASS:
| |||
312 | WITH LEAKAGE OR DRIP COLLECTING: | ||||||||||||||||
This subclass is indented under the class definition. Apparatus in which means are provided to catch or otherwise
dispose of material dripping, leaking or being discharged as waste material.
SEE OR SEARCH THIS CLASS, SUBCLASS:
SEE OR SEARCH CLASS:
| |||||||||||||||||
313 | Relatively movable receptacle or drain pipe and outlet: |
| This subclass is indented under subclass 312. Apparatus in which either a receptacle or a pipe means is provided to collect the fluid dripping from an outlet after cessation of normal flow, the collecting means and the outlet being relatively movable. | |
314 | Collector for waste liquid derived from solid, gas or vapor: | ||||
| This subclass is indented under subclass 312. Apparatus in which a collecting or drain means is provided
for a liquid which is derived from a solid, gas, or vapor.
SEE OR SEARCH THIS CLASS, SUBCLASS:
SEE OR SEARCH CLASS:
| |||||
315.01 | WITH REPAIR, TAPPING, ASSEMBLY, OR DISASSEMBLY MEANS: | ||||||||||||||||||
| This subclass is indented under the class definition. Subject matter wherein the parts of the fluid handling
system are equipped with means to restore the system to its former
condition, means for piercing or withdrawing a plug in the system,
or means for securing or taking apart parts of the system.
Figure 1: A typical example of the subject matter. REPAIRPATCH FOR RUPTURED FLUID TANK. A - Patch; B - Fluid tank; C - Rupture;D - Cable (to secure container to tank); E - Container; F - Peripheraledge; G - Tubular seal (fluid filled); H - Fluid bypass passage;J, K - Exterior surface with protruding eyelets; L - Triggeringwire.
Figure 2: A typical example of the subject matter. DIVERSIONBLIND FITTING FOR PIPELINE REPAIR. A,B - Pipe sections; C, D - Flanges;E - Diversion blind fitting; F - Circular body section; G, H - Bolt holeswith bolts; J - Threaded pipe section; K - Pipe coupling; L - Fluidduct. SEE OR SEARCH THIS CLASS, SUBCLASS:
SEE OR SEARCH CLASS:
| |||||||||||||||||||
315.02 | Blowout preventer or choke valve device (e.g., oil well flow controlling device, etc.): | ||||||
| This subclass is indented under subclass 315.01. Subject matter comprising a plurality of relatively movable
flow obstruction members controlling an annular fluid flow passage about
an axial rod or pipe, such as between a well casing and drill stem
or a fluid flow regulating device, in combination with a means for stopping
the abrupt escape of fluid in the annular space between a casing
supported enclosure and pipe, rod, tubing, or wireline.
Figure 1: A typical example of the subject matter. A - Blowoutpreventer; B - Main body; C - Vertical bore; D - Guideways; E -Upper and lower flanges; F - Bonnet; G - Ram (recriprocates duringnormal preventer operation); H - Bonnet body; J - Cylinder; K -Bonnet head. SEE OR SEARCH THIS CLASS, SUBCLASS:
SEE OR SEARCH CLASS:
| |||||||
315.03 | Solenoid or electromagnetically actuated valve: | ||||||
This subclass is indented under subclass 315.01. Subject matter wherein the valve is controlled by electricity
such as an electrically energized coil of insulated wire producing
a magnetic field within the coil.
SEE OR SEARCH THIS CLASS, SUBCLASS:
SEE OR SEARCH CLASS:
| |||||||
315.04 | Pressure regulating type valve: | ||||||||
This subclass is indented under subclass 315.01. Subject matter comprising a valve adapted to be connected
in a fluid line or fluid system for shutting off flow in response
to a fluid force in the nature of a thrust distributed over an area
in excess of a predetermined thrust.
SEE OR SEARCH THIS CLASS, SUBCLASS:
| |||||||||
315.05 | Diaphragm type: | ||||||
| This subclass is indented under subclass 315.04. Subject matter wherein the valve has a thin flexible member
(e.g., disk shaped, etc.) secured at its periphery to the valve
body and deformable by fluid pressure to act as an open and close
member for the valve.
SEE OR SEARCH THIS CLASS, SUBCLASS:
SEE OR SEARCH CLASS:
| |||||||
315.06 | Gas or water meter replacing: | ||
| This subclass is indented under subclass 315.01. Subject matter wherein means for restoring to a serviceable
condition or fitting together various parts so as to make into an operative
whole is directed to an instrument for measuring and recording the
quantity of a combustible mixture used for commercial or industrial
heating or for measuring and recording the quantity of water supplied
for commercial or industrial use.
Figure 1: A typical example of the subject matter. A - Riserpipe; B - Shutoff valve; C - Nipples; D - Union; E - Regulator;F - Nipples; G - Elbow; H - Union fittings; J - Gas meter. SEE OR SEARCH CLASS:
| |||
315.07 | Assembling or disassembling flexible tube or sleeve type valve: | ||||||||||
| This subclass is indented under subclass 315.01. Subject matter wherein means comprises a flow regulating
clamp for regulating the flow of fluid through a resilient or pliable hollow
elongated, usually cylindrical body or a flexible, resilient elastomeric
tubular part designed to fit over another part together with means
to constrict the tubular part so as to regulate, throttle, or terminate
the flow of fluid.
Figure 1: A typical example of the subject matter. A - Tubingclamp assembly; B - Clamp body; C - Passage; D - Parallel side walls;E - End wall; F - Restricted opening; G - Threaded shank; H - Threadednut.
Figure 2: A typical example of the subject matter. A - Hollowhousing; B - Sleeve portion; C - Process fluid containing pipeline.Motive fluid fills actuating space between housing "A" and sleeve"B". SEE OR SEARCH THIS CLASS, SUBCLASS:
SEE OR SEARCH CLASS:
| |||||||||||
315.08 | Assembling or disassembling float or float valve: | ||||||||||
| This subclass is indented under subclass 315.01. Subject matter comprising a hollow buoyant element usually
attached at the end of a lever and providing positive buoyancy while resting
on the surface of the fluid.
Figure 1: A typical example of the subject matter. A - Tank;B - Valve body; C - Bung hole; D - Mounting flange; E - Float arm;F - Float. SEE OR SEARCH THIS CLASS, SUBCLASS:
SEE OR SEARCH CLASS:
| |||||||||||
315.09 | Assembling or disassembling multi way valve: | ||||
| This subclass is indented under subclass 315.01. Subject matter comprising a device wherein a single flow
regulating element regulates a plurality of flow lines.
Figure 1: A typical example of the subject matter. A - Valvebody; B, C, D - Radial ports; E - Cylindrical bore; F - Spindle(mandrel); G, H, J, K, - O-rings; L - Thin protective sleeve; M- Spindle cap. In operation, "G" and "H" seal the valve againstloss of fluid; "J" and "K" divide the space between spindle andbore into three discrete flow passages. SEE OR SEARCH THIS CLASS, SUBCLASS:
| |||||
315.11 | Assembling, disassembling, or mounting cartridge type valve (e.g., insertable or removable as a unit, etc.) |
| This subclass is indented under subclass 315.01. Subject matter comprising means, usually replaceable and
designed to permit ready insertion or removal, and usually consists
of a single, self-contained assembly.
Figure 1: A typical example of the subject matter. A - Valveassembly; B - Support box; C - Valve module or cartridge; D - Valveoperating means; E - Flow passageway. | |
315.12 | Faucet type (e.g, domestic water use, etc.): | ||||||
| This subclass is indented under subclass 315.11. Subject matter comprising a fixture for drawing a liquid
from a pipe, cask, or other vessel for household use.
Figure 1: A typical example of the subject matter. A - Faucetassembly; B - Inlet nipples; C - Support deck; D - Base plate; E- Cover plate; F - Spout (outlet); G - Operator (knob) ; H - Readilyremovable plate. SEE OR SEARCH THIS CLASS, SUBCLASS:
SEE OR SEARCH CLASS:
| |||||||
315.13 | Including removable valve head and seat unit: | ||||
| This subclass is indented under subclass 315.12. Subject matter wherein the disk part of the faucet and the
ring on which the disk part rests are adapted to be assembled into
a unitary construction and can be replaced as one single assembly.
Figure 1: A typical example of the subject matter. A - Valvestem assembly; C - Valve seat; D - Sleeve opening; F - Valve stem;G - Washers; H - Packing nut; J - Packing; K - Fluid inlet; L -Fluid outlet.
Figure 2: A typical example of the subject matter. A - Valvestem assembly; B - Sleeve; C - Valve seat; D - Sleeve Opening; E- Valve member controls fluid; F - Valve stem; G - Washers. SEE OR SEARCH THIS CLASS, SUBCLASS:
| |||||
315.14 | Including mechanical movement actuator: | ||||||
| This subclass is indented under subclass 315.12. Subject matter wherein the significance is attributed to
moving parts of the mechanism that transmit definite motion to the component
of the valve or to the valve itself, such that the motion provided
at the input (actuator) end of the mechanism is different in direction
or distance traveled than the motion at the output (valve) end of
the mechanism.
Figure 1: A typical example of the subject matter. A - Faucetbody; B - Valve stem; C - Upper sleeve with internal threads; D- Lower rod with external threads; E - Valve head; F - Valve seat;G - Direction of water flow; H - Gland nut; J - Threaded lock nut;K - Compression spring to urge "E" against "F"; L - Annular frictionring; M - Deformable "O" ring; N - Packing material; P - Commonconduit. SEE OR SEARCH THIS CLASS, SUBCLASS:
SEE OR SEARCH CLASS:
| |||||||
315.15 | Particular handle or handle fastening means: | ||||||
| This subclass is indented under subclass 315.12. Subject matter wherein the significance is attributed to
a faucet adapter for adapting a part that is designed especially
to be grasped by hand for mounting on the valve stem of various
configurations.
Figure 1: A typical example of the subject matter. A - Spout;B - Valve stem; C - Adaptor; D - Faucet handle; E - Skirt. SEE OR SEARCH CLASS:
| |||||||
315.16 | Assembling or disassembling pivoted valve: | ||
| This subclass is indented under subclass 315.01. Subject matter comprising flow regulating means wherein
the disk or plug unit of the regulating means swings around the
means by which it is mounted with respect to the seat or casing
of the regulating means.
Figure 1: A typical example of the subject matter. A - Valvehousing; B - Mounting flanges; C - Pivot shaft; D - Valve seat;E - Valve flapper; F - Deflector; G - Inlet port; H - Outlet port;J - Clevis and pin assembly; K - Lever arm; L - Wear surface; M- Centering lugs. SEE OR SEARCH CLASS:
| |||
315.17 | Assembling or disassembling rotary valve: | ||||||||||||||||
| This subclass is indented under subclass 315.01. Subject matter comprising flow regulating means wherein
the head of the regulating means turns or revolves about its axis.
Figure 1: A typical example of the subject matter. A - Valvecasing; B - Fluid inlet; C - Fluid outlet; D - Fluid passage throughvalve; E - Valve seat; F - Rotary valve head; G - Valve head openings;H - Valve head hub; J - Valve stem; K - Valve handle; L- Springto hold valve seat. SEE OR SEARCH THIS CLASS, SUBCLASS:
SEE OR SEARCH CLASS:
| |||||||||||||||||
315.18 | Rotary ball valve: | ||||
| This subclass is indented under subclass 315.17. Subject matter wherein the flow regulating means comprises
a housing having a flow passage therethrough and a seat for the regulating
means and a spherical plug type closure member that contacts the
seat and can be rotated about an axis passing generally through its
geometrical center by an actuating means.
Figure 1: A typical example of the subject matter. A - Barstock type ball valve; B - Ball type valve member; C - Elongatedvalve bore; D -Ball rotation axis; E - Valve stem; F - Valve handle;G, H - Valve seats; J - Housing axis; K, L - Valve open ends connectedto pipelines. In operation, fluid flows through the housing whenbore "C" is in alignment with axis "J" and fluid flow is blockedwhen ball "B" is rotated 90 degrees so that bore "C" is transverseto axis "J". SEE OR SEARCH THIS CLASS, SUBCLASS:
SEE OR SEARCH CLASS:
| |||||
315.19 | Particular valve seat or interface seal: | ||||
| This subclass is indented under subclass 315.18. Subject matter wherein the significance is attributed to
a usually circular ring on which the valve head rests or to a tight,
perfect enclosure or joint that is formed by resting of the valve
head on the ring.
Figure 1: A typical example of the subject matter. A - Valvebody; B - Intake port; C - Outlet port; D - Ball element; E - Fluidpassage; F - Seal seat assembly; G - Seal seat assembly; H - Sealseat; J - "O" rings. Note: Ball "D" is engaged (inlet side) by sealseat assembly "F" and (outlet side) by seal seat assembly "G". SEE OR SEARCH CLASS:
| |||||
315.2 | Replaceable: | ||
| This subclass is indented under subclass 315.19. Subject matter comprising seat or sealing element so constructed
or arranged as to be readily removed and restored to its former condition.
Figure 1: A typical example of the subject matter. A - Valvebody; B - Inlet; C - Outlet; D - Valve opening to provide access;E - Valve stem; F - Valve seating surface; G - Annular valve seat;H - Cylindrical recess to support "G"; J - Hole in valve body intersectsrecess "H" to receive rod "L"; K - Plug to close hole "J"; L - Rod facilitatesseat removal. SEE OR SEARCH CLASS:
| |||
315.21 | With top entry valve: | ||||
| This subclass is indented under subclass 315.2. Subject matter wherein the upper part of the flow regulating
means can be dismounted by being withdrawn vertically up from the
housing of the regulating means while the lower part remains inside
the housing so that the seat and the seal adapter of the regulating
means can be inspected, overhauled, or replaced without the regulating
means being discontinued from the flow passageway.
Figure 1: A typical example of the subject matter. A - Valvebody; B - Fluid passages; C - Valve element; D - Trunion; E - Socket;F - Plate removable from top; G - Trunion; H - Valve seats; J -Valve seat shoulder. SEE OR SEARCH THIS CLASS, SUBCLASS:
SEE OR SEARCH CLASS:
| |||||
315.22 | Butterfly valve: | ||||||||||||||
| This subclass is indented under subclass 315.17. Subject matter wherein the significance is attributed to
a valve comprising a substantially flat and coplanar wing depending from
a central axis of rotation.
Figure 1: A typical example of the subject matter. A - Pipe,duct, or conduit; B - Throttle or butterfly valve; C - Adjustabledrive motor; D - Valve stem or rod. SEE OR SEARCH THIS CLASS, SUBCLASS:
SEE OR SEARCH CLASS:
| |||||||||||||||
315.23 | Having valve head or seat packing: | ||||||
| This subclass is indented under subclass 315.22. Subject matter comprising a sealing material or element
carried by the disk part of the valve or the circular ring on which
the disk part rests.
Figure 1: A typical example of the subject matter. A - Valveseat; B - Valve stem; C - Butterfly leaf; D - Ring packing. SEE OR SEARCH CLASS:
| |||||||
315.24 | With head and stem connections: | ||||
| This subclass is indented under subclass 315.22. Subject matter comprising means for attaching the disk part
of the valve and the rod element by means of which the disk part
is moved to open and close the valve.
Figure 1: A typical example of the subject matter. A - Valveclosure member; B - Valve shaft; C - Joint connections for valve;D - Boss; E - First valve passage receives shaft end "F"; G - Secondvalve passage; H - Shaft end driven by hand or power driven means;J - Tapered key; K - Groove on shaft "B" to engage key "J" SEE OR SEARCH CLASS:
| |||||
315.25 | Plug valve: | ||||||
| This subclass is indented under subclass 315.17. Subject matter comprising a cylindrical or conical element
that can be turned to rotate on its own axis and has a flow passage through
it and at least the inlet or outlet of that passage is transverse
to the axis of rotation.
Figure 1: A typical example of the subject matter. A - Valvebody; B - Tapered bore to receive plug valve; C - Plug valve; D- Inlet passage; E - Outlet passage; F - Through port in valve openposition; G - Valve chamber cover; H - Valve stem; J - Biasing spring;K - Seal ring. SEE OR SEARCH THIS CLASS, SUBCLASS:
SEE OR SEARCH CLASS:
| |||||||
315.26 | Having retainer at actuator end: |
| This subclass is indented under subclass 315.25. Subject matter wherein means for holding the plug valve
head in the body is one the same side of the head as the valve mechanism
that is being used for opening or closing the valve.
Figure 1: A typical example of the subject matter. A - Valvebody; B - Valve chamber; C - Valve plug or element; D - Valve stem;E - Valve handle; F - Inlet passageway; G - Outlet passageway; H- Hollow open end of "C"; J - Inner end of "D" is disposed without"J". | |
315.27 | Assembling or disassembling reciprocating valve: | ||||
| This subclass is indented under subclass 315.01. Subject matter wherein the flow regulating means has a linear
motion to and from the flow obstructing position.
Figure 1: A typical example of the subject matter. A - Valvebody; B - Valve seat; C - Valve element; D - Inlet fluid conduit;E - Outlet fluid conduit; F - Lower fluid chamber; G - Upper fluidchamber; H - Internal wall; J - Valve stem; K - Valve handle. SEE OR SEARCH THIS CLASS, SUBCLASS:
SEE OR SEARCH CLASS:
| |||||
315.28 | Having particularly packed or sealed mechanical movement actuator: | ||||
| This subclass is indented under subclass 315.27. Subject matter wherein the valve stem that transmits motion
to the valve is specifically associated with means which is being assembled
into a compact group or is being firmly secured to prevent fluid
leakage.
Figure 1: A typical example of the subject matter. A - Facestem; B - Bonnet; C, D - Bonnet peripheral surfaces connect to facestem "A"; E - Packing sleeve engages bonnet "B"; F - Outer "O" ringprovides seal between "E" and "B"; G - Packing assembly made of pluralityof packing rings "H"; H - Packing rings; J - Packing bushing. SEE OR SEARCH CLASS:
| |||||
315.29 | Gate valve: | ||||||
| This subclass is indented under subclass 315.27. Subject matter wherein the valve comprises essentially a
flat or wedge-shaped sliding barrier that can be lowered into a
seat to seal off the flow or raised into an external recess for
a partial or full flow condition.
Figure 1: A typical example of the subject matter. A - Valvebody; B - Bonnet; C - Valve stem mechanism; D - Gate valve; E, F- Seal assemblies; G, H - Flow passages; J - Valve stem; K - Valveoperator; L - Valve hand wheel. SEE OR SEARCH THIS CLASS, SUBCLASS:
SEE OR SEARCH CLASS:
| |||||||
315.3 | Bifaced: |
| This subclass is indented under subclass 315.29. Subject matter wherein the valve head has two seating or
sealing surfaces.
Figure 1: A typical example of the subject matter. A - Valveassembly; B - Blind valve plates; C - Blind valve apertures; D -Resilient seats; E - Metal inserts; F - Apertured body liners; G- Apertured gate; H - Gate aperture; J - Hand wheel (rotation of"J" causes "G" to rise or descend between "F"; K - Sealing plates;L - Gasket; M - Packing or seal; N - Packing gland. | |
315.31 | Having particular valve seat: | ||
| This subclass is indented under subclass 315.29. Subject matter wherein the significance is attributed to
a normally stationary and usually circular element which cooperates
with the valve.
Figure 1: A typical example of the subject matter. A - Valvebody; B - Valve bonnet or cover; C - Wedge-type slide valve; D -Valve seats; E - Flow passages; F - Valve stem; G - Stuffing box;H - Internal valve stop; J - Drain. SEE OR SEARCH CLASS:
| |||
315.32 | Including seal: | ||
| This subclass is indented under subclass 315.31. Subject matter wherein a separate element is being disposed
between the valve seat and the seat supporting body structure to
prevent leakage.
Figure 1: A typical example of the subject matter. A, B- Seal members; C - Through conduit gate valve; D - Valve body;E, F - Aligned flow passages; G, H - Flanges to connect flow system;J - Valve chamber; K - Gate having passage "L"; L - Gate valve openportion; M - Gate valve solid portion; N - Valve stem. SEE OR SEARCH CLASS:
| |||
315.33 | Assembling or disassembling check valve: | ||||||||||||
This subclass is indented under subclass 315.01. Subject matter comprising flow regulating means which automatically
limits the fluid flow to a single direction and is sensitive to
the fluid pressure.
SEE OR SEARCH THIS CLASS, SUBCLASS:
SEE OR SEARCH CLASS:
| |||||||||||||
315.35 | With mechanical movement between actuator and valve: | ||||
| This subclass is indented under subclass 315.01. Subject matter wherein the significance is attributed to
repair, assembly, or disassembly of moving parts of the mechanism
that transmit a definite motion to the valve or valve component.
Figure 1: A typical example of the subject matter. A, B, C,D - Constitute valve assembly; E - Flanged orifice of the container;F - Valve seat; G - Movable valve member; H - Valve head; J - Valvestem; K - Valve operating mechanism or mechanical movement actuator; L - Connecting rod; M - Crank; N - Shaft; P - Operating lever securedto "N" (not shown); Connecting rod "L" cooperates with "G" for positiveopening of valve. SEE OR SEARCH THIS CLASS, SUBCLASS:
SEE OR SEARCH CLASS:
| |||||
315.36 | Plural motions of valve: | ||||||||||
This subclass is indented under subclass 315.35. Subject matter wherein the mechanical movement actuator
provides more than one movement of the valve or valve component which
movements are concurrent or consecutive.
SEE OR SEARCH THIS CLASS, SUBCLASS:
SEE OR SEARCH CLASS:
| |||||||||||
315.37 | Lever type: | ||||||
| This subclass is indented under subclass 315.35. Subject matter wherein the mechanical movement actuator
comprises an elongated rigid means pivoted at one point to a support and
having the actuating power and the valve connection at at least
two other points.
Figure 1: A typical example of the subject matter. A - Hollowvalve body; B, C - Inlet and outlet channels; D, E - Valve flanges;F - Rotary plug; G - Plug passageway; H - Valve seal; J - Valveoperator mechanism; K - Lever arm; L - Outer tubular handle; M -Operator housing. SEE OR SEARCH THIS CLASS, SUBCLASS:
SEE OR SEARCH CLASS:
| |||||||
315.38 | Gear type: | ||||||
| This subclass is indented under subclass 315.35. Subject matter wherein the mechanical movement actuator
comprises (1) relatively movable toothed members, round, linear,
or irregular, which transmit motion by meshing of the teeth during
travel of the members, and (2) friction gearing in which the members
lack teeth, and the force is transmitted by pressing one moving
surface against the other, including those have one endless flexible
member or belt.
Figure 1: A typical example of the subject matter. A - Bodyof the gauge cock or valve; B - Connection to wate gauge or otherarticle; C - Disc closure or cutoff; D - Valve operating handle;E - Valve stem; F - Valve plug coacts with valve seat "G"; G - Valveseat.
Figure 2: A typical example of the subject matter. A - Bodyof the gauge cock or valve; B - Connection to water gauge or otherarticle; C - Disc closure or cutoff. Notes (1) Rotation of the collar"H" (see Figure 1) causes the rotation of the cutoff or disc closure"C"; this motion is being transmitted through the gear or gear element"M" (Figure 1), through gear "J" (see Figure 1), the gear shaft"K" (see Figure 1), pinion "L", and the gear or gear element "N".(2) The pinion "L" that meshes with the gear or gear element "N"is formed on the disc closure or cutoff "C" and is segmental type locatedon the arcuate slot "P" formed in cutoff "C". SEE OR SEARCH THIS CLASS, SUBCLASS:
SEE OR SEARCH CLASS:
| |||||||
315.39 | Cam type: | ||||||
| This subclass is indented under subclass 315.35. Subject matter wherein the mechanical movement actuator
comprises an eccentrically mounted rotating or swinging member or members,
the varying radii of which produce varying positions of the valve.
Figure 1: A typical example of the subject matter. A - Actuatorknob; B - Actuator handle; C - Bearing portion; D - Cylinder bore;E - Valve stem; F - Pin; G - Slot; H - Valve; J - Actuator. Note:The bearing portion "C" is rotatable in bore "D" and axis of bore"D" is offset from axis of valve stem "E"; Pin "F" or slot "G" providea connection between actuator "J" and valve "H"; pin "F" is eccentricto axis of bore "D". SEE OR SEARCH THIS CLASS, SUBCLASS:
SEE OR SEARCH CLASS:
| |||||||
315.4 | Screw type: | ||||
| This subclass is indented under subclass 315.35. Subject matter wherein the mechanical movement actuator
comprises a simple machine consisting of a spirally grooved solid cylinder
and a correspondingly grooved hollow cylinder of equal dimension
which is operable to reciprocate the movable valve member through
connecting means but does not impart the rotary motion of the machine
to the valve member.
Figure 1: A typical example of the subject matter. A, B- Valve end portions; C - Cylinder externally threaded at "D"; E- Elongated needle valve; F - Hollow cap type actuator internallythreaded at "G". SEE OR SEARCH THIS CLASS, SUBCLASS:
SEE OR SEARCH CLASS:
| |||||
315.41 | Tool for applying or removing valve or valve member: | ||||||||||
| This subclass is indented under subclass 315.01. Subject matter wherein the significance is attributed to
the specific features of the instrument that is being used for manipulating the
flow regulating means or its component.
Figure 1: A typical example of the subject matter. A - Valvespring compression tool; B - "C" frame; C - Fixed pad; D - Aperture;E - Movable pad; F - Structure to move "E" toward or away from "C";G - Valve; H - Valve washer; J - Valve spring; K - Valve stem; L- Engine block. Note: When "G" bears against "E" and "H" against"C", "J" is compressed and valve "G" is disassembled. SEE OR SEARCH CLASS:
| |||||||||||
315.42 | Including sealing feature: | ||
| This subclass is indented under subclass 315.41. Subject matter wherein the significance is attributed to
a tool which is being used for temporarily sealing a valve connection
to a conduit or a tool for blocking or precluding flow of fluid
through a conduit means, from a tank, or from a similar fluid containing
vessel.
Figure 1: A typical example of the subject matter. A - Openingto be sealed; B - Hollow support; C - Actuating rod; D - Flangedcollar; E - Annular seal; F - Washer; G - Series of links; H - Nut;J - Clamp block. SEE OR SEARCH CLASS:
| |||
316 | With holding means functioning only during transportation assembly or disassembly: | ||||||
| This subclass is indented under subclass 315.01. Devices having combined with a part of the device a fixture,
attachment, support, or stop, which is inoperative in the assembled operating
device, for (1) supporting and/or aligning parts of the
device during assembly or disassembly, or (2) for immobilizing a
moving part of the device other than an actuator or taking the pressure
off a wear surface to permit transportation or safe storage.
SEE OR SEARCH CLASS:
| |||||||
317 | Tapping a pipe, keg, or apertured tank under pressure: | ||||||||||||||||||||
This subclass is indented under subclass 315.01. Devices in which access is gained to a closed container
or system by means of a connectable device or tap which comprises
a flow passage to receive material from the system and means to
form an opening in or open a closed passage of the system, either
by removing a plug or by opening a valve which has no other actuating
means, the connection being made in a manner which prevents loss
of material from the system and/or admission of extraneous
matter to it.
SEE OR SEARCH THIS CLASS, SUBCLASS:
SEE OR SEARCH CLASS:
| |||||||||||||||||||||
318 | With aperture forming means: | ||||
| This subclass is indented under subclass 317. Devices in which the connectable means carries a cutter
or punch for making the opening in the closed system through which
flow will occur. The aperture may be formed at the time the connection
is placed, or subsequently by operation of means carried by the
connectable means.
SEE OR SEARCH CLASS:
| |||||
319 | Imperforate closure removing and holding tap: | ||||||
| This subclass is indented under subclass 317. Devices in which the system has an opening closed by a plug,
cap, cork or other imperforate closure, and the connectable part
has means to engage, completely remove and hold the closure, which
may or may not be replaced in closing position upon disconnection
of the parts.
SEE OR SEARCH THIS CLASS, SUBCLASS:
SEE OR SEARCH CLASS:
| |||||||
320 | With valved closure or bung: | ||||||||||
| This subclass is indented under subclass 317. Devices in which the system is provided with a valved opening,
the valve having no externally operable actuator, and the connectable
means either opens the system valve as the coupling is made or carries
an actuator which engages the valve as a result of the coupling,
being manipulated subsequently to open and close the valve.
SEE OR SEARCH THIS CLASS, SUBCLASS:
SEE OR SEARCH CLASS:
| |||||||||||
321 | Combined rotary and longitudinal movement of valve: | ||
| This subclass is indented under subclass 320. Devices in which the valve means of the system comprises
a head which moves axially and rotationally with respect to its
seat, usually as a result of being engaged with a screw type actuator
or tap.
SEE OR SEARCH CLASS:
| |||
322 | Longitudinal movement of valve: | ||
| This subclass is indented under subclass 320. Devices in which the valve opens with a straight line motion
with reference to the axis or the outlet when engaged by the connectable device
or the actuator carried thereby.
SEE OR SEARCH CLASS:
| |||
323 | Rotary movement of valve: |
| This subclass is indented under subclass 320. Devices in which the valve rotates around the axis of the flow path when actuated by engagement with the connecting means at the attached flow device or by the actuator carried thereon. | |
324 | With core ejectors: | ||||
| This subclass is indented under subclass 317. Devices in which the system is closed by a bung or cork
or other frictionally held closure and the connectable part has
a portion, usually tapered, which enters the opening so closed and
pushes or drives out the closure.
SEE OR SEARCH THIS CLASS, SUBCLASS:
SEE OR SEARCH CLASS:
| |||||
325 | Impact operated: |
| This subclass is indented under subclass 324. Devices in which the connectable or tapping member is forced into the opening by blows delivered by a means which is ordinarily not part of the system, the member being provided merely with a surface designed to receive the blow. | |
326 | Foot valve extraction from top of enclosure: | ||||
| This subclass is indented under subclass 315.01. Devices comprising a container having an access opening
at the top and a valve located in a part of the container remote
from the access opening usually at the bottom, with means for disassembling
and removing the valve and/or its seat through the access
opening.
SEE OR SEARCH THIS CLASS, SUBCLASS:
| |||||
327 | With disassembly tool engaging feature: | ||
This subclass is indented under subclass 315.01. Devices one or more parts of which have a member for interlocking
with a tool for disassembling the part or disengaging the part from
the device.
| |||
328 | Wrench engaging lugs: |
| This subclass is indented under subclass 327. Devices in which the interlocking means are projections or ears for engaging the jaws of a wrench. | |
329 | With provision of alternate wear parts: | ||
| This subclass is indented under subclass 315.01. Devices having a part or parts made in attached duplicate
form or of extensive area movably mounted in such a manner the worn or
injured part may be replaced by a duplicate part or another unworn
surface to restore the device to its former condition.
SEE OR SEARCH THIS CLASS, SUBCLASS:
| |||
329.01 | Valve heads and/or seats: | ||
| This subclass is indented under subclass 329. Devices relating to valve heads and/or seats.
SEE OR SEARCH THIS CLASS, SUBCLASS:
| |||
329.02 | Opposite duplicate surfaces of unitary structure: | ||
| This subclass is indented under subclass 329.01. Devices having oppositely disposed duplicate surfaces forming
a unitary structure.
SEE OR SEARCH THIS CLASS, SUBCLASS:
| |||
329.03 | Homogeneous material: |
| This subclass is indented under subclass 329.02. Devices relating to an homogeneous material forming the surfaces and their intermediate support. | |
329.04 | Valve heads: |
| This subclass is indented under subclass 329.03. Devices relating to valve heads. | |
329.05 | Different portions of continuous surfaces: |
| This subclass is indented under subclass 329.01. Devices in which different portions of the same surface are adjusted to a certain position to form a valve interface. | |
329.06 | Successively used adjacent independent elements: |
| This subclass is indented under subclass 329.01. Devices in which are stored adjacently a plurality of separate elements forming duplicate surfaces successively used. | |
329.1 | Removable valve with normally disabled supplemental check valve: | ||||||||||||
| This subclass is indented under subclass 315.01. Apparatus in which the main valve is arranged to be removable
and a supplemental check valve is provided upstream, biased to close
by fluid pressure and/or a spring; the check-valve being
maintained inoperative in normal use of the main valve.
SEE OR SEARCH THIS CLASS, SUBCLASS:
| |||||||||||||
329.2 | Check valve disabled by normally movable main valve part: |
| This subclass is indented under subclass 329.1. Devices in which the check valve is biased opened by a part of the main valve which is movable in normal usage of the main valve. Usually a spacer or projection between the check valve and main valve is provided. | |
329.3 | Ball check: |
| This subclass is indented under subclass 329.2. Devices in which the check valve is of the ball-check type. | |
329.4 | Spring bias: |
| This subclass is indented under subclass 329.2. Devices having a spring bias to close the check valve or to supplement the bias of the fluid. | |
330 | NON-VALVING MOTION OF THE VALVE OR VALVE SEAT: | ||||||||
This subclass is indented under the class definition. Apparatus in which means is provided for moving either a
valve or a valve seat with respect to its cooperating member independently
of opening or closing movement in such a direction or between such
limits as to be ineffective to open or close the valve, usually
to reduce friction or to prevent sticking or to equalize wear.
SEE OR SEARCH THIS CLASS, SUBCLASS:
SEE OR SEARCH CLASS:
| |||||||||
331 | Rotary motion of a reciprocating valve: | ||||||
| This subclass is indented under subclass 330. Apparatus which provides means for imparting rotary motion
to a reciprocating valve.
SEE OR SEARCH THIS CLASS, SUBCLASS:
SEE OR SEARCH CLASS:
| |||||||
332 | Turbine on valve: | ||
| This subclass is indented under subclass 331. Apparatus in which the rotating means is a turbine mounted
on the valve or valve stem.
SEE OR SEARCH THIS CLASS, SUBCLASS:
| |||
333 | Manual rotating means: |
| This subclass is indented under subclass 331. Apparatus in which a manual actuator is provided for rotating the valve. | |
334 | WITH HEATING OR COOLING OF THE SYSTEM: | ||||||||||||||||||||||||||||
This subclass is indented under the class definition. Fluent material device to which has been added means for
heating or cooling the device or the fluent material.
SEE OR SEARCH THIS CLASS, SUBCLASS:
SEE OR SEARCH CLASS:
| |||||||||||||||||||||||||||||
335 | With burner: | ||
| This subclass is indented under subclass 334. Apparatus in which the source of heat for the device includes
a burner.
SEE OR SEARCH CLASS:
| |||
336 | Flue extending through fluid: |
| This subclass is indented under subclass 335. Apparatus in which an enclosed passageway for gases and flames from the burner extends through the fluid. | |
337 | Hot and cold water system having a connection from the hot to the cold channel: | ||||||||
This subclass is indented under subclass 334. Fluid handling systems comprising hot and cold water systems
having a cross connection from the hot water channel to the cold
water channel to permit flow of hot water to the cold water channel.
SEE OR SEARCH THIS CLASS, SUBCLASS:
| |||||||||
338 | Air heated or cooled (fan, fins, or channels): | ||||
| This subclass is indented under subclass 334. Fluid handling systems in which (1) air as a heating or
cooling fluid for the system has a thermally caused movement through
channels whereby it is warmed by contact with the earth and/or
an object buried in the earth, such as a pipe line; or (2) the fluent
material system or a part thereof is equipped with a fan or fins
to aid in the heating or cooling of the device or the fluid by heat
exchange with the air.
SEE OR SEARCH THIS CLASS, SUBCLASS:
SEE OR SEARCH CLASS:
| |||||
339 | With diversion of part of fluid to heat or cool the device or its contents: | ||
This subclass is indented under subclass 334. Apparatus in which a part of the fluid is diverted in a
separate channel to heat or cool the device or a part thereof, or
to heat or cool another part of the fluid that has assumed a different
temperature.
| |||
340 | Circulating fluid in heat exchange relationship: | ||||||
This subclass is indented under subclass 334. Apparatus in which a heating or cooling medium circulates
in a channel which is in heat exchange relationship with the fluent
material device or part thereof.
SEE OR SEARCH THIS CLASS, SUBCLASS:
SEE OR SEARCH CLASS:
| |||||||
341 | With electric heating element: | ||||||||||||
This subclass is indented under subclass 334. Apparatus in which an electric heating element is used to
heat the fluid or the device or a part thereof.
SEE OR SEARCH THIS CLASS, SUBCLASS:
SEE OR SEARCH CLASS:
| |||||||||||||
342 | WITH FLUID SYSTEM SUPPORT FOR WORKMAN OR NON-SYSTEM MATERIAL: | ||||||||
| This subclass is indented under the class definition. Apparatus comprising a fluent material handling device combined
with a fixture or attachment carried by the device or a part thereof
exterior of the flow path for supporting material or articles that
may be used in conjunction with the device or its contents or for supporting
persons, usually workmen who are tending the fluent material handling
device.
SEE OR SEARCH THIS CLASS, SUBCLASS:
SEE OR SEARCH CLASS:
| |||||||||
343 | WITH CASING, SUPPORT, PROTECTOR OR STATIC CONSTRUCTIONAL INSTALLATIONS: | ||||||||||||||||
This subclass is indented under the class definition. Apparatus comprising (1) fluid handling devices combined
with means for supporting the device or a part thereof relative
to means external to the device; (2) the combination of such devices
or parts thereof with an enclosing member, fixture, or attachment
to (a) protect the device or part thereof from soil, contamination,
injury, theft or loss; or (b) protect persons or things from injury
through contact with the system or a part thereof.
SEE OR SEARCH THIS CLASS, SUBCLASS:
SEE OR SEARCH CLASS:
| |||||||||||||||||
345 | Locomotive: | ||||||||||
| This subclass is indented under subclass 899. Apparatus in which the casing, support or protector is a
locomotive or a part thereof.
SEE OR SEARCH THIS CLASS, SUBCLASS:
SEE OR SEARCH CLASS:
| |||||||||||
346 | Boiler or steam dome: |
| This subclass is indented under subclass 345. Apparatus in which the casing or protector is the boiler or steam dome of a locomotive. | |
347 | Railway car: | ||||||||
| This subclass is indented under subclass 899. Apparatus in which the casing support or protector is a
railroad car or a part thereof.
SEE OR SEARCH CLASS:
| |||||||||
348 | Car frame: | ||
| This subclass is indented under subclass 347. Apparatus in which the supports, casing or protector is
the car frame or a part thereof.
SEE OR SEARCH CLASS:
| |||
349 | End of car: |
| This subclass is indented under subclass 347. Apparatus in which the support casing or protector is the end or end wall of car. | |
350 | Roof, wall or floor: | ||||||
| This subclass is indented under subclass 347. Apparatus in which the support, casing or protector is the
roof, wall or floor of a railroad car.
SEE OR SEARCH THIS CLASS, SUBCLASS:
| |||||||
351 | Automotive: | ||||||||||||||||||||||||||
| This subclass is indented under subclass 899. Apparatus in which the casing, support or protector is a
self propelled land vehicle that contains within itself means of
motion and direction control.
SEE OR SEARCH THIS CLASS, SUBCLASS:
SEE OR SEARCH CLASS:
| |||||||||||||||||||||||||||
352 | Steering post or wheel: | ||||
| This subclass is indented under subclass 351. Apparatus in which a fluid control means or fluid delivery
device is mounted on or associated with the steering post or steering
wheel of the vehicle.
SEE OR SEARCH CLASS:
| |||||
353 | Dash: | ||
| This subclass is indented under subclass 351. Apparatus in which the fluid handling device is mounted
on or associated with the dashboard of automobile.
SEE OR SEARCH CLASS:
| |||
354 | Floor or frame: | ||||
| This subclass is indented under subclass 351. Apparatus in which the fluid handling device is mounted
on or associated with the floor or frame of the vehicle.
SEE OR SEARCH THIS CLASS, SUBCLASS:
SEE OR SEARCH CLASS:
| |||||
355 | Fender or running board: | ||||
| This subclass is indented under subclass 351. Apparatus in which the fluid handling device is mounted
on or associated with the fender or running board of the vehicle.
SEE OR SEARCH CLASS:
| |||||
355.12 | With hose reel storage means: | ||
| This subclass is indented under subclass 899. Apparatus having a revolvable means for storing a flexible
flow line mounted on the vehicle or on a part thereof.
SEE OR SEARCH CLASS:
| |||
355.16 | With hose storage or retrieval means: | ||||||||
This subclass is indented under subclass 343. Apparatus comprising a storage type, use and nonuse holding
and supporting means, and/or rewind or retracting means
for a flexible conduit combined with some element or elements of
the fluid supply means.
SEE OR SEARCH CLASS:
| |||||||||
355.17 | With means for plural hoses: |
| This subclass is indented under subclass 355.16. Apparatus provided with means for accommodating a plurality of flow line conduits. | |
355.18 | With flow regulation responsive to hose movement: | ||||
This subclass is indented under subclass 355.16. Apparatus provided with a connection between the flow control
means for the fluid and the flow conduit or the storing means therefor
whereby movement of the conduit or its storing means to flow discharging
position actuates the flow control means to fluid transmitting position.
SEE OR SEARCH CLASS:
| |||||
355.19 | Reel type: |
| This subclass is indented under subclass 355.18. Apparatus in which the flow line storing means is a spool or drum and movement of the storing means as a consequence of flow line movement actuates the flow regulating means. | |
355.2 | With retrieval means: | ||||
This subclass is indented under subclass 355.16. Apparatus provided with means in addition to the hose support
or storage means and its associated support against gravity means
whereby the flow line conduit is returned to its nonuse or stored
position.
SEE OR SEARCH CLASS:
| |||||
355.21 | Power stop or brake: | ||
This subclass is indented under subclass 355.2. Apparatus provided with an arresting or checking means acting
on the return mechanism.
| |||
355.22 | Responsive to position of hose in casing: |
| This subclass is indented under subclass 355.21. Apparatus in which the actuation of the arresting or checking element for the return mechanism responds to the position of the flexible flow line conduit in its housing, or storage encasing means. | |
355.23 | Biased to retracted position: |
| This subclass is indented under subclass 355.2. Apparatus provided with additional means which tends to return the flexible conduit to its nonuse or stored position. | |
355.24 | Boom type: |
| This subclass is indented under subclass 355.23. Apparatus having a relatively long spar or beam to which at least a portion of the flexible conduit is attached and which is mounted for movement relative to its support. | |
355.25 | Weighted: |
| This subclass is indented under subclass 355.23. Apparatus in which the means tending to return the flexible flow line to nonuse or stored position is a weight. | |
355.26 | Reel with support therefor: | ||
This subclass is indented under subclass 355.16. Apparatus having a spool or drum on which the flow line
is wound or coiled and provided with structure to support the spool
or drum.
| |||
355.27 | Ground supported: |
| This subclass is indented under subclass 355.26. Apparatus in which the spool or drum is carried by a frame in contact with and supported by the ground or floor or other similar substantially horizontal surface. | |
355.28 | Basket or holder for folded coiled hose: | ||||
This subclass is indented under subclass 355.16. Apparatus in which the means for storing the flexible conduit
comprises a frame having a bottom and sides whereby the conduit may
be looped back and forth or convoluted on itself, in both cases
each loop or convolution being contiguous to the next adjacent.
SEE OR SEARCH THIS CLASS, SUBCLASS:
| |||||
356 | Static constructional installations: | ||||||||
| This subclass is indented under subclass 343. Apparatus in which the support is a structural member immovably
joined to the ground, or in which the casing or protector is immovably joined
to and partially or wholly embedded in the ground.
SEE OR SEARCH THIS CLASS, SUBCLASS:
SEE OR SEARCH CLASS:
| |||||||||
357 | Buildings: | ||||||||||
| This subclass is indented under subclass 356. Apparatus in which the fluid handling device is mounted
in or associated with a building.
SEE OR SEARCH CLASS:
| |||||||||||
358 | Outside access to portions of the system: |
| This subclass is indented under subclass 357. Apparatus in which the building has an external casing or pit connected to the building serving as a housing or a support for part or all of the fluent material device, and having an opening exterior of the building providing admittance to portions of the system. | |
359 | Escutcheon type support: | ||||||||||||||
This subclass is indented under subclass 357. Apparatus in which the fluid handling system includes a
member which surrounds a pipe or pipes and covers the opening through
which the pipe or pipes pass through a wall or floor.
SEE OR SEARCH THIS CLASS, SUBCLASS:
SEE OR SEARCH CLASS:
| |||||||||||||||
360 | Wall: | ||||
| This subclass is indented under subclass 357. Apparatus in which the fluid handling device is mounted
on or associated with the wall of a building.
SEE OR SEARCH THIS CLASS, SUBCLASS:
| |||||
361 | Recessed gas outlet box: |
| This subclass is indented under subclass 360. Apparatus in which the support, casing or protector is a covered space in the wall of building used for concealing the outlet of a gas main. | |
362 | Floor installation: | ||||||
| This subclass is indented under subclass 357. Apparatus in which the floor of the building or a part thereof
acts as a support, casing or protector, the relation being other
than that involved in merely setting the device on the floor.
SEE OR SEARCH THIS CLASS, SUBCLASS:
SEE OR SEARCH CLASS:
| |||||||
363 | Ground supporting enclosure: | ||||||||||||||
| This subclass is indented under subclass 356. Apparatus in which the support, casing or protector is a
means covering at least a portion of a fluent material system and
acting as a support for the ground around the part.
SEE OR SEARCH THIS CLASS, SUBCLASS:
SEE OR SEARCH CLASS:
| |||||||||||||||
364 | Valve and meter wells: | ||||||
| This subclass is indented under subclass 363. Apparatus in which the support, casing or protector is an
apertured vertical casing partially or wholly surrounding and providing
access to a valve or meter connected to a buried pipe line.
SEE OR SEARCH THIS CLASS, SUBCLASS:
SEE OR SEARCH CLASS:
| |||||||
365 | With means to center well on valve: | ||
| This subclass is indented under subclass 364. Apparatus in which the apertured vertical casing, valve
or pipe line has a means to cause coincidence of the axis of the
valve actuator and the casing, to enable a person applying a removable
actuator to locate the valve connection easily.
SEE OR SEARCH CLASS:
| |||
366 | Detachable base plate: |
| This subclass is indented under subclass 365. Apparatus in which the vertical well-forming casing or tube rests on a base plate or section which lies beneath the valve in the pipe, the pipe being held in place between the base plate and the upper section of the casing with the valve centered in the well. | |
367 | Vertical casing aligned by valve casing: | ||||||
| This subclass is indented under subclass 365. Apparatus in which the top of the valve casing has means
engaging the well-forming casing to insure assembly in proper alignment.
SEE OR SEARCH THIS CLASS, SUBCLASS:
| |||||||
368 | Combined with actuator: | ||||||
| This subclass is indented under subclass 364. Valve wells in which an operating member for the valve extends
through the vertical column and terminates at or near the surface
of the ground.
SEE OR SEARCH THIS CLASS, SUBCLASS:
SEE OR SEARCH CLASS:
| |||||||
369 | Telescopic well casing: | ||||
| This subclass is indented under subclass 368. Valve wells in which the vertical column is divided into
sections slidable one within the other, which sections may be locked
together to fix the height of the column.
SEE OR SEARCH THIS CLASS, SUBCLASS:
| |||||
370 | Telescopic well casing: | ||||||
| This subclass is indented under subclass 364. Valve wells in which the vertical column is divided into
movable sections slidable one within the other, which sections may
be locked together to fix the height of the casing.
SEE OR SEARCH THIS CLASS, SUBCLASS:
SEE OR SEARCH CLASS:
| |||||||
371 | Covers: | ||||||
| This subclass is indented under subclass 364. Devices comprising closures for the upper ends of the valve
or meter wells.
SEE OR SEARCH THIS CLASS, SUBCLASS:
SEE OR SEARCH CLASS:
| |||||||
372 | Pipe line transport: | ||||||||||
This subclass is indented under subclass 363. Apparatus in which the fluent material system is a pipe
line.
SEE OR SEARCH THIS CLASS, SUBCLASS:
SEE OR SEARCH CLASS:
| |||||||||||
373 | Tapering or tower type: | ||||||
| This subclass is indented under subclass 356. Apparatus in which the longitudinal dimension of the support,
casing or protector extends upwardly and is reduced in cross-section
at successively higher levels; or in which the support, casing or
protector is designed primarily with a view to elevation by making
its height greater than its diameter or making its height relatively
great by positioning the support on another structure.
SEE OR SEARCH THIS CLASS, SUBCLASS:
SEE OR SEARCH CLASS:
| |||||||
374 | Furniture and housing furnishings: | ||||||||||||
This subclass is indented under subclass 343. Apparatus in which the support, casing or protector is the
whole or a part of one of the articles of convenience or decoration
used to furnish a house or apartment.
SEE OR SEARCH THIS CLASS, SUBCLASS:
SEE OR SEARCH CLASS:
| |||||||||||||
375 | Jacketed: | ||||||||||||||
This subclass is indented under subclass 343. Apparatus in which the fluent material device is completely
or partially surrounded by a layer of heat exchange or non conducting
material to promote or prevent heat radiation or absorption, or
by a protective cover or layer which may be either outside the fluid
confining member or inside it, being in fact a liner in the latter case,
the layer or cover being more or less similar in shape or proportions
to the enclosed device.
SEE OR SEARCH THIS CLASS, SUBCLASS:
SEE OR SEARCH CLASS:
| |||||||||||||||
376 | Tank supports: | ||||||||||
| This subclass is indented under subclass 343. Apparatus in which the fluent material device includes a
tank and the support, casing, or protector holds the tank in position
with reference to an external area or point of reference.
SEE OR SEARCH THIS CLASS, SUBCLASS:
SEE OR SEARCH CLASS:
| |||||||||||
377 | Guards and shields: | ||||||||||||||
This subclass is indented under subclass 343. Devices in which the fluent material handling device or
a part thereof is totally or partially surrounded by a casing (1)
to prevent damage to an object external to the device, (2) to seal the
device against leakage to or from the device outside the normal
fluid path, (3) to protect the device or parts thereof or the contents
against damage or contamination by contact with external objects,
dirt or germs, or (4) to prevent unauthorized use.
SEE OR SEARCH THIS CLASS, SUBCLASS:
SEE OR SEARCH CLASS:
| |||||||||||||||
378 | Resilient abutment for preventing breakage: | ||||
| This subclass is indented under subclass 377. Guards or shields in which a spigot or faucet of a fluent
material device is provided with a shock absorbing fixture or attachment
which will be struck by a container when moved into position for
filling from the spigot or faucet.
SEE OR SEARCH CLASS:
| |||||
379 | Nozzle abutment for scratch or damage prevention: | ||||
| This subclass is indented under subclass 377. Guards or shields in which a nozzle of a fluent material
device is provided with an attachment or fixture to prevent scratching
of the surface of a container into which the nozzle is inserted.
SEE OR SEARCH THIS CLASS, SUBCLASS:
SEE OR SEARCH CLASS:
| |||||
380 | Cover for beer cooler aperture for faucet: | ||||||
| This subclass is indented under subclass 377. Guards or shields in which a closure member seals the opening
between the spigot and refrigerator casing of a beer cooler.
SEE OR SEARCH THIS CLASS, SUBCLASS:
SEE OR SEARCH CLASS:
| |||||||
381 | Sanitary covers or shields: | ||||||||
This subclass is indented under subclass 377. Guards and shields which comprise (1) a cylindrical or conical
member attached to the spout of the fluent material device to prevent
contamination of the spout either during or after the flow of fluent
material; or (2) a movable shield that covers the outlet area or
spout when not in use.
SEE OR SEARCH THIS CLASS, SUBCLASS:
SEE OR SEARCH CLASS:
| |||||||||
382 | Valve guards: | ||||||||||||
| This subclass is indented under subclass 377. Guards and shields in which the valve member of a fluent
material device (1) is enclosed in a casing which is locked against
unauthorized use of the valve; or (2) has an internal key which
is fastened to another object to prevent movement of the valve to
an unauthorized position; or (3) in which the valve is totally or partially
enclosed in a casing or shield or has casings covering all or part
of the operating handle or stem or a valve to protect the stem or operating
handle against damage or unintentional movement to or from a desired
position.
SEE OR SEARCH THIS CLASS, SUBCLASS:
SEE OR SEARCH CLASS:
| |||||||||||||
382.5 | With means for accommodating a detachable actuator: | ||
| This subclass is indented under subclass 382. Devices wherein there is a particularly shaped aperture
in the casing to accommodate a detachable actuator having a particular
shape and being adapted to engage the valve stem inside the casing.
SEE OR SEARCH CLASS:
| |||
383 | WITH LOCK OR SEAL: | ||||||||||||
This subclass is indented under the class definition. Apparatus including a lock means which prevents unauthorized
use or adjustment or a sealing means the breaking of which indicates unauthorized
use or adjustment.
SEE OR SEARCH THIS CLASS, SUBCLASS:
SEE OR SEARCH CLASS:
| |||||||||||||
384 | With seal: | ||||
| This subclass is indented under subclass 383. Apparatus which uses a seal as a means for preventing and/or
indicating unauthorized use or adjustment.
SEE OR SEARCH CLASS:
| |||||
384.2 | Common lock and valve actuator: |
| This subclass is indented under subclass 383. Devices in which the structure which is employed to actuate the lock also actuates the valve. | |
384.4 | Combination lock: |
| This subclass is indented under subclass 384.2. Devices in which the lock comprises an element which is, or a plurality of elements which are, manually manipulable in a predetermined sequence, or to a predetermined position to effect the operation of the lock. | |
384.6 | Biased valve: |
| This subclass is indented under subclass 384.2. Devices in which the valve head is biased to or from the open position. | |
384.8 | Mechanical movement between lock and valve: |
| This subclass is indented under subclass 384.2. Devices in which the valve head is connected to the lock and actuated therewith by means comprising two or more fixed and movable parts so combined that the motion of one compels or completely controls or constrains motion of the other according to a law of operation inherent in and depending on the nature of the combination. | |
385 | Locks against rotary motion: |
| This subclass is indented under subclass 383. Apparatus with a lock means the proximate effect of which is to prevent rotation of a rotatable element. | |
386 | LIQUID LEVEL RESPONSIVE OR MAINTAINING SYSTEMS: | ||||||||||||||||||||||||||||
This subclass is indented under the class definition. Apparatus which includes an element which senses the level
of a liquid in means to receive an accumulation thereof and in response
thereto exercises a control of the flow of fluid or acts to maintain
that level of the liquid.
SEE OR SEARCH THIS CLASS, SUBCLASS:
SEE OR SEARCH CLASS:
| |||||||||||||||||||||||||||||
387 | Washing machine cycle control: | ||||||||
| This subclass is indented under subclass 386. Apparatus in which the cycle of operation of a washing machine
is controlled in response to a change in liquid level.
SEE OR SEARCH THIS CLASS, SUBCLASS:
SEE OR SEARCH CLASS:
| |||||||||
388 | Liquid excluding devices for gas inlet or outlets: | ||||||||||||
| This subclass is indented under subclass 386. Apparatus wherein a liquid level responsive device is provided
to exclude an external liquid from a gas inlet or outlet such as
a shipboard ventilator.
SEE OR SEARCH THIS CLASS, SUBCLASS:
SEE OR SEARCH CLASS:
| |||||||||||||
389 | With second diverse control: | ||||
This subclass is indented under subclass 386. Apparatus wherein the level responding or maintaining flow
is increased or diminished by an external means or in response to
a change in condition other than liquid level, either by a means
acting upon the liquid level responsive control means or by a second
means in series or parallel therewith.
SEE OR SEARCH THIS CLASS, SUBCLASS:
| |||||
390 | Manual control: | ||
| This subclass is indented under subclass 389. Apparatus in which the second control is a manual control.
SEE OR SEARCH THIS CLASS, SUBCLASS:
| |||
391 | Control of both inflow and outflow of tank: | ||||
| This subclass is indented under subclass 386. Apparatus which includes means responsive to variations
of the level of the accumulated liquid to control both the inflow
to and outflow from an accumulation of liquid.
SEE OR SEARCH THIS CLASS, SUBCLASS:
SEE OR SEARCH CLASS:
| |||||
392 | Electrical characteristic sensing: | ||||
| This subclass is indented under subclass 386. Apparatus in which the liquid level is sensed by sensing
an electrical characteristic of a liquid.
SEE OR SEARCH THIS CLASS, SUBCLASS:
| |||||
393 | With control fluid connection at desired liquid level: | ||
| This subclass is indented under subclass 386. Apparatus wherein the level to be controlled is in a pressure
tank, as a boiler, and a separate control chamber is provided to
control a liquid inflow or outflow line of the tank. The control chamber
is provided with a connection to the tank at the desired liquid
level so that when the liquid is above this level the chamber is
filled with liquid by the tank pressure and when the liquid is below
the desired level the liquid in the control chamber is drained to
the pressure tank. The presence or absence of liquid in the control
chamber causes the control of the liquid inflow or outflow line
of the tank.
SEE OR SEARCH THIS CLASS, SUBCLASS:
| |||
395 | Control of outflow from tank: | ||||||||
This subclass is indented under subclass 386. Apparatus which include means to control the outflow from
the accumulation thereof in response to an element sensing the level
of the accumulated liquid.
SEE OR SEARCH THIS CLASS, SUBCLASS:
| |||||||||
396 | Self-emptying tanks: | ||||||||||
| This subclass is indented under subclass 395. Apparatus in which a means sensing a predetermined, usually
high, liquid level or a full condition of a tank which is accumulating
liquid controls the opening of the tank outlet, allowing the liquid
to discharge, and the closing of the outlet at a low level or when
the tank is empty, the cycle being repeated as long as liquid is
supplied to the tank.
SEE OR SEARCH THIS CLASS, SUBCLASS:
SEE OR SEARCH CLASS:
| |||||||||||
397 | By float: | ||||
| This subclass is indented under subclass 396. Apparatus in which the means sensing the liquid level floats
in the liquid and is buoyed up thereby.
SEE OR SEARCH THIS CLASS, SUBCLASS:
| |||||
398 | By float: | ||||||||
| This subclass is indented under subclass 395. Apparatus which includes one or more floats responsive to
a change in the level of the accumulated liquid.
SEE OR SEARCH THIS CLASS, SUBCLASS:
SEE OR SEARCH CLASS:
| |||||||||
399 | Low level safety cut-off: | ||||
This subclass is indented under subclass 398. Apparatus wherein the outflow is closed in response to the
presence of a low level in the liquid accumulation.
SEE OR SEARCH CLASS:
| |||||
400 | With supplemental or safety closing means or bias: |
| This subclass is indented under subclass 386. Apparatus which (1) includes the application of a supplemental force or bias that will insure the closing of the valve controlled by the liquid level responsive means, or (2) is combined with means to insure that the flow is stopped, in case the valve fails to close properly when urged in closing position by the liquid level sensing means. | |
401 | Sinking or bucket type float: | ||
| This subclass is indented under subclass 400. Apparatus in which the means sensing the liquid level is
an open or bucket type float which floats to urge the valve closed,
and in the event that the valve controlled thereby does not properly
close the continued rise of liquid level will cause the float to
fill with liquid and sink in the liquid to apply the supplemental
safety closing bias or means.
SEE OR SEARCH THIS CLASS, SUBCLASS:
| |||
402 | Gravitating tank: | ||
| This subclass is indented under subclass 400. Apparatus wherein the supplemental closing bias or means
responds to or is actuated by a gravitating tank.
SEE OR SEARCH THIS CLASS, SUBCLASS:
| |||
403 | By weight of accumulated fluid: | ||||||||||||||||||||||
This subclass is indented under subclass 386. Apparatus in which the liquid level is sensed by means responsive
to the weight or pressure head of the accumulated liquid.
SEE OR SEARCH THIS CLASS, SUBCLASS:
SEE OR SEARCH CLASS:
| |||||||||||||||||||||||
404 | In sinking or bucket type float: | ||||||||||
| This subclass is indented under subclass 403. Apparatus in which the liquid level is sensed by an open
or bucket type element which floats on the liquid accumulation when
empty and subsequently is filled with the liquid.
SEE OR SEARCH THIS CLASS, SUBCLASS:
| |||||||||||
405 | Oil burner fuel overflow preventing safety cut-offs: | ||||||||||
| This subclass is indented under subclass 403. Apparatus including a valve arranged to cut off the fuel
supply to an oil burner or the like in response to a predetermined
accumulation of unburned liquid fuel.
SEE OR SEARCH THIS CLASS, SUBCLASS:
SEE OR SEARCH CLASS:
| |||||||||||
406 | In communicating measuring vessel: | ||||||||||
This subclass is indented under subclass 403. Apparatus in which the weight or pressure head of the liquid
is sensed in a vessel which is separate from the liquid accumulation
but is in communication therewith.
SEE OR SEARCH THIS CLASS, SUBCLASS:
| |||||||||||
407 | Top and bottom connections: | ||
| This subclass is indented under subclass 406. Apparatus in which the separate measuring vessel is provided
with connections with the liquid accumulation at both the top and
bottom of the measuring vessel.
SEE OR SEARCH THIS CLASS, SUBCLASS:
| |||
408 | In gravitating tank: | ||||||||||||||||||||
This subclass is indented under subclass 403. Apparatus in which a single gravitating tank, with or without
its mounting means, constitutes both the liquid accumulating means
and the liquid level sensing means.
SEE OR SEARCH THIS CLASS, SUBCLASS:
SEE OR SEARCH CLASS:
| |||||||||||||||||||||
409 | By float controlled valve: | ||||||||||||||||||||||||||||
| This subclass is indented under subclass 386. Apparatus wherein the element which senses the liquid level
floats on the liquid and is buoyed up thereby.
SEE OR SEARCH THIS CLASS, SUBCLASS:
SEE OR SEARCH CLASS:
| |||||||||||||||||||||||||||||
410 | Valve opened by external means, closing or closing control by float: | ||||||||
| This subclass is indented under subclass 409. Apparatus wherein the flow controlling valve is opened by
external means and its closing is in response to or is controlled
by a float.
SEE OR SEARCH THIS CLASS, SUBCLASS:
SEE OR SEARCH CLASS:
| |||||||||
411 | Single float controls plural valves: | ||||||
| This subclass is indented under subclass 409. Apparatus in which a single float controls a plurality flow
controlling means.
SEE OR SEARCH THIS CLASS, SUBCLASS:
SEE OR SEARCH CLASS:
| |||||||
412 | Servo relay operation of control: | ||||||
| This subclass is indented under subclass 409. Apparatus in which the float controls the application of
another source of power for operating the flow controlling means
rather than acting directly through a mechanical connection.
SEE OR SEARCH THIS CLASS, SUBCLASS:
SEE OR SEARCH CLASS:
| |||||||
413 | Fluid pressure: | ||||
| This subclass is indented under subclass 412. Apparatus in which the float controls the application of
fluid pressure for operating the flow control means.
SEE OR SEARCH CLASS:
| |||||
414 | Flexible diaphragm valve: | ||||
| This subclass is indented under subclass 413. Apparatus in which the flow control means is a valve comprising
a flexible diaphragm.
SEE OR SEARCH THIS CLASS, SUBCLASS:
SEE OR SEARCH CLASS:
| |||||
415 | From tank: | ||||||||
This subclass is indented under subclass 413. Apparatus in which the source of fluid pressure is the tank
holding the liquid accumulation to the level of which the float
responds.
SEE OR SEARCH THIS CLASS, SUBCLASS:
SEE OR SEARCH CLASS:
| |||||||||
416 | Quick acting: | ||
| This subclass is indented under subclass 409. Apparatus in which the float and/or the flow control
means is operated during a shorter length of time than would be
the case if the float and valve were free to respond continuously
to the change in liquid level.
SEE OR SEARCH CLASS:
| |||
417 | Pilot float released: | ||
| This subclass is indented under subclass 416. Apparatus in which the float operating the flow controlling
means is restrained from freely responding to the changing liquid
level and is released from restraint by a second or auxiliary float.
SEE OR SEARCH THIS CLASS, SUBCLASS:
| |||
418 | Over center mechanism: | ||
| This subclass is indented under subclass 416. Apparatus in which the quick action of the flow controlling
means is obtained by use of a mechanism which has a faster or accelerated rate
of motion after it passes a center position than its rate of motion
before attaining the center position.
SEE OR SEARCH CLASS:
| |||
419 | Shifting weight: | ||||
| This subclass is indented under subclass 418. Apparatus wherein the change in rate of motion is obtained
by the use of a shifting weight.
SEE OR SEARCH THIS CLASS, SUBCLASS:
SEE OR SEARCH CLASS:
| |||||
420 | Trip mechanism: | ||||||
| This subclass is indented under subclass 416. Apparatus in which the flow control means is provided with
a biasing means urging it in one direction which means is restrained
by a latch or similar element, which latch is released by means
of the float.
SEE OR SEARCH THIS CLASS, SUBCLASS:
SEE OR SEARCH CLASS:
| |||||||
421 | Weight or spring bias: | ||
| This subclass is indented under subclass 420. Apparatus which includes a weight or spring as the biasing
means.
SEE OR SEARCH CLASS:
| |||
422 | Lost motion mechanism: | ||
| This subclass is indented under subclass 416. Apparatus in which during a part of its travel the float
moves without producing a corresponding movement of the flow control
means.
SEE OR SEARCH CLASS:
| |||
423 | Plural floats: | ||||||||
| This subclass is indented under subclass 409. Apparatus which includes a plurality of floats.
SEE OR SEARCH THIS CLASS, SUBCLASS:
SEE OR SEARCH CLASS:
| |||||||||
424 | With counter-balance: | ||
| This subclass is indented under subclass 409. Apparatus in which the float is provided with means to apply
a force which at least partially counterbalances the weight of the
float and valve assembly or which partially counterbalances the
buoyancy of the float.
SEE OR SEARCH THIS CLASS, SUBCLASS:
| |||
425 | Within tank: |
| This subclass is indented under subclass 424. Apparatus in which the counterbalancing means is within the tank holding the liquid accumulation. | |
426 | Level adjustment or selection means: | ||
| This subclass is indented under subclass 409. Apparatus in which the valve operating mechanism can be
preset to respond at any one of a plurality of levels, by making
appropriate changes in the connections between the valve and the
float or any intermediate linkage or mechanism.
SEE OR SEARCH CLASS:
| |||
427 | With float leakage disposal: | ||
| This subclass is indented under subclass 409. Apparatus in which means is provided for removing from the
interior of a float material which may leak into it.
SEE OR SEARCH THIS CLASS, SUBCLASS:
| |||
428 | In separate communicating float chamber: | ||||
| This subclass is indented under subclass 409. Apparatus where the float is in a chamber separate from
the holder for the liquid accumulation, but which chamber is connected
therewith so that the variation in liquid level in the chamber corresponds
to that in the holder.
SEE OR SEARCH THIS CLASS, SUBCLASS:
| |||||
429 | Rectilinearly traveling float: |
| This subclass is indented under subclass 409. Apparatus in which the float is guided or so constructed and mounted that its path of movement will necessarily be along a straight line. | |
430 | Float co-axial with valve or port: |
| This subclass is indented under subclass 429. Apparatus in which the path of travel of the float is co-axial with the valve or part controlled in response to the float. | |
431 | Float is spreader or anti-splash means: | ||||||
| This subclass is indented under subclass 430. Apparatus in which the float acts as spreading, distributing
or antisplash means for the liquid flow controlled thereby.
SEE OR SEARCH THIS CLASS, SUBCLASS:
SEE OR SEARCH CLASS:
| |||||||
432 | Float surrounds inlet pipe: | ||
| This subclass is indented under subclass 430. Apparatus in which the float surrounds the inlet pipe for
the fluid the flow of which is controlled by the valve.
SEE OR SEARCH THIS CLASS, SUBCLASS:
| |||
433 | Float rigid with valve: |
| This subclass is indented under subclass 430. Apparatus in which the float and valve controlled thereby are rigidly connected together. | |
434 | Float arm operated valve: | ||||||
| This subclass is indented under subclass 409. Apparatus in which the float responding to variations in
liquid level is connected to the flow control means by means of
a rod or arm which is pivoted at an end thereof and the arm turns
about the pivot during operation.
SEE OR SEARCH CLASS:
| |||||||
435 | With valve retarder or cushion means: | ||||||
| This subclass is indented under subclass 434. Apparatus which includes in addition to the float mechanism,
means to retard or cushion the rate of closing or opening of the
flow controlling valve.
SEE OR SEARCH THIS CLASS, SUBCLASS:
SEE OR SEARCH CLASS:
| |||||||
436 | With flow guide or restrictor: | ||||
This subclass is indented under subclass 434. Apparatus including means to restrict or act as a guide
for the flow of liquid to or from the valve controlled by the float.
SEE OR SEARCH CLASS:
| |||||
437 | External hood or deflector or annular outlet surrounding the inlet pipe: | ||
| This subclass is indented under subclass 436. Apparatus in which the restrictor or flow guide is an external
hood or deflector or annular outlet surrounding the inlet pipe.
SEE OR SEARCH THIS CLASS, SUBCLASS:
| |||
438 | Movable nozzle or inlet terminal: | ||||||
| This subclass is indented under subclass 434. Apparatus wherein the float means moves the nozzle or inlet
terminal for controlling the flow.
SEE OR SEARCH THIS CLASS, SUBCLASS:
| |||||||
439 | Valve removable from outside container: | ||||
This subclass is indented under subclass 434. Apparatus in which the valve controlled by the float is
removable from outside the container holding the liquid accumulation.
SEE OR SEARCH THIS CLASS, SUBCLASS:
| |||||
440 | With U-shaped inlet pipe having terminal valve: | ||||||||
| This subclass is indented under subclass 434. Apparatus in which the inlet pipe is reversed upon itself
in substantially a "U" shape and is provided with
the float operated valve on the terminal thereof.
SEE OR SEARCH THIS CLASS, SUBCLASS:
| |||||||||
441 | With refill pipe: | ||||||
This subclass is indented under subclass 434. Apparatus which includes a pipe carrying a part of the flow
through the float arm controlled valve out of the tank holding the
liquid accumulation the level of which controls the float.
SEE OR SEARCH THIS CLASS, SUBCLASS:
SEE OR SEARCH CLASS:
| |||||||
442 | Assembly mounted on and having reciprocating valve element coaxial with inlet pipe: | ||||||
| This subclass is indented under subclass 434. Apparatus in which the float arm, the valve operated thereby
and the connections therebetween comprise an assembly which is mounted on
the inlet pipe and in which the valve element reciprocates co-axially
with respect to the inlet pipe.
SEE OR SEARCH THIS CLASS, SUBCLASS:
SEE OR SEARCH CLASS:
| |||||||
443 | Horizontal or side entering pipe: |
| This subclass is indented under subclass 442. Apparatus in which the inlet pipe is horizontal or enters the tank holding the liquid accumulation laterally. | |
444 | Vertical inlet riser: |
| This subclass is indented under subclass 442. Apparatus in which the inlet pipe is vertical and enters the tank holding the liquid accumulation from the bottom thereof. | |
445 | With toggle or second lever connected to valve: | ||
| This subclass is indented under subclass 434. Apparatus in which there is a second lever or toggle connecting
the float arm with the valve controlled thereby.
SEE OR SEARCH CLASS:
| |||
446 | With interposed cam, gear or threaded connection: | ||||
| This subclass is indented under subclass 434. Apparatus in which the connection between the float arm
and the valve controlled thereby comprises a cam or gear or a screw
thread type mechanical motion.
SEE OR SEARCH THIS CLASS, SUBCLASS:
SEE OR SEARCH CLASS:
| |||||
447 | Rotary valve element: | ||||
| This subclass is indented under subclass 434. Apparatus including a valve which rotates on its axis to
control the valve part or parts and is connected to the float arm
for operation thereby.
SEE OR SEARCH THIS CLASS, SUBCLASS:
SEE OR SEARCH CLASS:
| |||||
448 | Pivoted valve: | ||
| This subclass is indented under subclass 434. Apparatus in which the valve controlled by the float arm
is pivoted to swing about an axis for controlling the fluid flow.
SEE OR SEARCH CLASS:
| |||
449 | Ball valves: | ||
| This subclass is indented under subclass 434. Apparatus in which the valve controlled by the float arm
is spherical in shape.
SEE OR SEARCH THIS CLASS, SUBCLASS:
| |||
450 | Balanced valves: | ||
| This subclass is indented under subclass 434. Apparatus in which the valve controlled by the float arm
is designed in such a manner that fluid pressure is exerted on opposing
surfaces of the valve so that the forces acting on the valve as
a result of flow or pressure in the line are neutralized or balanced,
and thus a smaller force is necessary to actuate the valve.
SEE OR SEARCH CLASS:
| |||
451 | Flexible valve: | ||||||||
| This subclass is indented under subclass 434. Apparatus in which the valve controlled by the float arm
is made of or includes material which flexes during the closing
action.
SEE OR SEARCH THIS CLASS, SUBCLASS:
SEE OR SEARCH CLASS:
| |||||||||
453 | Barometric: | ||||||||||
| This subclass is indented under subclass 386. Apparatus in which atmospheric pressure is utilized for
maintaining a liquid level by balancing such pressure against a
hydrostatic head.
SEE OR SEARCH THIS CLASS, SUBCLASS:
SEE OR SEARCH CLASS:
| |||||||||||
454 | With shut-off between supply tank and receiver: | ||||||||||||
This subclass is indented under subclass 453. Apparatus which includes means for closing the fluid connection
between a supply container and a receiving vessel.
SEE OR SEARCH THIS CLASS, SUBCLASS:
SEE OR SEARCH CLASS:
| |||||||||||||
454.2 | REMOVABLE VALVE HEAD AND SEAT UNIT: | ||||||||||||
| This subclass is indented under the class definition. Devices comprising one or more valve heads and their cooperating
seats, with or without actuating means, formed in a sleeve, bonnet or
similar structural unit which is removable as such from a valve
body or housing.
SEE OR SEARCH THIS CLASS, SUBCLASS:
| |||||||||||||
454.4 | Pump type: | ||
| This subclass is indented under subclass 454.2. Devices which are designed to be used as inlet or outlet
valves, or both, of fluid compressors or pumps.
SEE OR SEARCH CLASS:
| |||
454.5 | Threaded into valve casing: |
| This subclass is indented under subclass 454.2. Devices in which the seat carrying portion is threadably secured in the valve casing. | |
454.6 | Retained by bonnet or closure: |
| This subclass is indented under subclass 454.2. Devices in which the unit is retained in position by a valve bonnet or access-opening closure. | |
455 | LINE CONDITION CHANGE RESPONSIVE VALVES: | ||||||||||||||||||||||||
This subclass is indented under the class definition. Apparatus in which a valve is controlled in response to
a change in the fluid condition, occurring within the system or
line including the valve, which change has not been effected by
external means for the express purpose of controlling the operation
of the valve.
SEE OR SEARCH THIS CLASS, SUBCLASS:
SEE OR SEARCH CLASS:
| |||||||||||||||||||||||||
456 | Safety cut-off requiring reset: | ||||||||||||
| This subclass is indented under subclass 455. Apparatus in which a valve closes in response to a change
in internal condition of the line fluid but does not open when the
line condition returns to its previous state, the necessary reopening
or resetting operation being performed by an external operator,
usually manually.
SEE OR SEARCH THIS CLASS, SUBCLASS:
SEE OR SEARCH CLASS:
| |||||||||||||
457 | Thermal: | ||||||||||||
| This subclass is indented under subclass 456. Apparatus in which the valve is closed in response to a
change in temperature in the line.
SEE OR SEARCH THIS CLASS, SUBCLASS:
SEE OR SEARCH CLASS:
| |||||||||||||
458 | Responsive to both high and low pressure or velocity: | ||||
| This subclass is indented under subclass 456. Apparatus in which the valve member is provided with a means
to close the valve in response to a predetermined low pressure or velocity
of line fluid at a point in the line, and also with means to close
the valve in response to a predetermined high internal pressure
or velocity occurring in the line.
SEE OR SEARCH THIS CLASS, SUBCLASS:
| |||||
459 | Responsive to change in rate of flow: | ||||||||||
This subclass is indented under subclass 456. Apparatus which includes a mechanism which senses and is
responsive to variations in the velocity of the fluid flowing through
the line.
SEE OR SEARCH THIS CLASS, SUBCLASS:
| |||||||||||
460 | Excessive flow cut-off: | ||||||
This subclass is indented under subclass 459. Apparatus in which the valve closes in response to an increased
velocity beyond a predetermined value.
SEE OR SEARCH THIS CLASS, SUBCLASS:
| |||||||
461 | High pressure cut-off: | ||||
| This subclass is indented under subclass 456. Apparatus in which the valve is closed in response to an
increase in pressure beyond a maximum.
SEE OR SEARCH THIS CLASS, SUBCLASS:
| |||||
462 | Reset by pressure equalization valve or by-pass: | ||||||
| This subclass is indented under subclass 456. Apparatus in which the valve is reopened or reset by use
of by-passes and/or valves which equalize the pressure
on both sides of the main or cut-off valve, thereby permitting or
causing the cut-off valve to open by fluid pressure alone.
SEE OR SEARCH THIS CLASS, SUBCLASS:
SEE OR SEARCH CLASS:
| |||||||
463 | Fluid released trip: | ||
| This subclass is indented under subclass 456. Apparatus in which the valve is biased toward the closed
or cut-off condition but is restrained from closing by a latch or
similar means, which latch will release the valve for closing in response
to a change in fluid condition within the apparatus.
SEE OR SEARCH CLASS:
| |||
464 | Fluid counter-biased or unseated valve: | ||
| This subclass is indented under subclass 456. Apparatus in which the valve is urged or biased, as by gravity
or a spring means, toward a closed or cut-off position and this
bias is opposed by the fluid pressure within the apparatus, a lowering
in the fluid pressure permitting the valve to seat or close, the
arrangement being such that the valve does not return to open position
on subsequent increase of fluid pressure.
SEE OR SEARCH THIS CLASS, SUBCLASS:
| |||
465 | With mechanical stop against reopening: | ||||||||
This subclass is indented under subclass 464. Apparatus including a mechanical means which prevents the
valve from reopening after seating or closing in the event the fluid
pressure is reestablished.
SEE OR SEARCH THIS CLASS, SUBCLASS:
SEE OR SEARCH CLASS:
| |||||||||
466 | With fluid pressure seating of valve: | ||
| This subclass is indented under subclass 464. Apparatus in which the incoming pressure urges the cut-off
valve toward its seat or holds it closed after the valve has closed
in response to the decrease in pressure.
SEE OR SEARCH THIS CLASS, SUBCLASS:
| |||
467 | Fluid opened valve requiring reset: | ||||
| This subclass is indented under subclass 455. Apparatus in which a valve opens in response to a change
in internal fluid condition and will not return to its closed operative
position on removal of the change in condition until a closing or
resetting of the valve and/or a trip device is performed
by an external operator, usually manually.
SEE OR SEARCH THIS CLASS, SUBCLASS:
| |||||
467.5 | Consistency responsive: | ||||||
| This subclass is indented under subclass 455. Apparatus which responds to a change in consistency of the
fluent material in the line.
SEE OR SEARCH THIS CLASS, SUBCLASS:
| |||||||
468 | Thermal responsive: | ||||||||||||||||||||
This subclass is indented under subclass 455. Apparatus within ... in which a valve is controlled in
response to a change in the thermal condition of the fluid within
the apparatus.
SEE OR SEARCH THIS CLASS, SUBCLASS:
SEE OR SEARCH CLASS:
| |||||||||||||||||||||
469 | Pop valves: | ||||||||
This subclass is indented under subclass 455. Valves which are biased closed and are forced open by fluid
pressure, the fluid flowing through the valve after the initial
opening movement thereof acting on an auxiliary reactor surface
to affect the valve opening and/or closing motion.
SEE OR SEARCH THIS CLASS, SUBCLASS:
| |||||||||
470 | Pop closing valves: | ||
| This subclass is indented under subclass 469. Valves in which the auxiliary reactor surface aids in valve
closing.
SEE OR SEARCH CLASS:
| |||
471 | Pop pressure reactor in inflow to valve: |
| This subclass is indented under subclass 469. Valves in which the reactor is in the inlet to the valve seat. | |
472 | Pop pressure reactor in branched released path: |
| This subclass is indented under subclass 469. Valves in which the fluid is released in a plurality of paths, the reactor surfaces being located in one or more of the branches. | |
473 | Separate relief valves or valves for each branch: |
| This subclass is indented under subclass 472. Valves in which the flow in each path is initiated or controlled by a separate valve or valve area, at least one of which is of the pop reactor and/or huddling chamber type. | |
474 | Lost motion between pop pressure reactor and valve: | ||||
This subclass is indented under subclass 469. Valves in which the reactor moves relative to the valve
parts and is capable of motion in some part of its range without
causing movement of the valve.
SEE OR SEARCH CLASS:
| |||||
475 | Adjustable choke: | ||
| This subclass is indented under subclass 469. Valves in which the flow path giving access to the auxiliary
reactor is controlled by an adjustable choke.
SEE OR SEARCH CLASS:
| |||
476 | Annular lip or baffle: |
| This subclass is indented under subclass 475. Valves in which the adjustable member is an annular lip or baffle concentric with the valve inlet passage. | |
477 | On movable valve part: |
| This subclass is indented under subclass 476. Valves in which the annular adjustable lip is on a movable valve part. | |
478 | Screw threaded: |
| This subclass is indented under subclass 476. Valves in which the annular adjustable lip is screw threaded for axial adjustment along the valve inlet passage. | |
479 | Combustion engine induction type: | ||||
| This subclass is indented under subclass 455. Apparatus comprising governor valves or induction controlled
inlets associated with internal combustion engines, in which a valve responds
to a pressure differential proportional to changes to an outlet
at sub-atmospheric pressure, i.e., the induction manifold of the
engine.
SEE OR SEARCH THIS CLASS, SUBCLASS:
| |||||
480 | Valve in auxiliary inlet to induction line: | ||||
This subclass is indented under subclass 479. Apparatus in which the valve controlled is a second or auxiliary
inlet to the line-carrying the suction induced flow.
SEE OR SEARCH THIS CLASS, SUBCLASS:
| |||||
481 | With manual modifier: | ||||
This subclass is indented under subclass 479. Apparatus which includes a manual means which modifies the
action of the valve responsive to the flow of fluid.
| |||||
482 | With suction compensator: | ||||||||
This subclass is indented under subclass 479. Apparatus which includes means to compensate for atmospheric
pressure differential in addition to flow responsive means within
the flow line.
SEE OR SEARCH THIS CLASS, SUBCLASS:
| |||||||||
483 | With separate reactor surface: | ||||
This subclass is indented under subclass 479. Apparatus which includes a separate reactor surface which
is responsive to the pressure differential between the interior
and exterior of the inlet manifold.
SEE OR SEARCH THIS CLASS, SUBCLASS:
| |||||
484 | Unbalanced pivoted valve (e.g., unbalanced butterfly type): | ||||
This subclass is indented under subclass 479. Apparatus in which a biased valve having at least a flat
center area is mounted in the fluid flow path and moves about a
pivot located between its edges, said valve having a dynamic unbalance
to fluid flow causing a torque which proportionally governs the
position of the valve.
SEE OR SEARCH THIS CLASS, SUBCLASS:
| |||||
484.2 | Line flow effect assisted: | ||
| This subclass is indented under subclass 455. Devices in which the valve controlling forces are altered
by a force resulting from a fluid pressure derived for variations
in the flow of fluid in the line acting on a reactor surface other
than the valve head.
SEE OR SEARCH CLASS:
| |||
484.4 | Reactor surface normal to flow: |
| This subclass is indented under subclass 484.2. Devices in which the reactor surface is normal to the line flow of fluid and is in a chamber off-set from co-axial inlet and outlet flow ports so that the reactor movement is parallel to the line flow. | |
484.6 | Reactor surface separated from flow by apertured partition: | ||
| This subclass is indented under subclass 484.2. Devices in which the reactor surface is in a chamber distinct
from the outlet chamber and in direct fluid communication therewith
by means of an aperture through a partition or wall through the
chambers.
SEE OR SEARCH THIS CLASS, SUBCLASS:
| |||
484.8 | Through separate aperture: |
| This subclass is indented under subclass 484.6. Devices having an additional aperture for the accommodation of the valve stem. | |
485 | Pilot or servo controlled: | ||
| This subclass is indented under subclass 455. Apparatus within ... in which the means sensing a change
in fluid condition within the apparatus controls the application
of another source of power for operating the flow control valve rather
than acting directly through a mechanical connection.
SEE OR SEARCH CLASS:
| |||
486 | Responsive to change in rate of fluid flow: | ||||||||
This subclass is indented under subclass 485. Apparatus in which the valve is operated in response to
the sensing of the velocity of the fluid flow or to the pressure
differential along the flow line under flow condition.
SEE OR SEARCH THIS CLASS, SUBCLASS:
| |||||||||
487 | Control by pressures across flow line valve: | ||||
This subclass is indented under subclass 486. Apparatus in which the flow pressure drop across the flow
line valve is used to control the flow line valve pilot or servo
system.
SEE OR SEARCH THIS CLASS, SUBCLASS:
| |||||
487.5 | Electrically actuated valve: | ||
| This subclass is indented under subclass 485. Devices in which the valve is electrically actuated.
SEE OR SEARCH CLASS:
| |||
488 | Fluid pressure type: | ||||||
This subclass is indented under subclass 485. Apparatus in which the means sensing a change in fluid condition
controls the effectiveness of a fluid pressure which is employed
for controlling the operation of the flow controlling valve.
SEE OR SEARCH THIS CLASS, SUBCLASS:
SEE OR SEARCH CLASS:
| |||||||
489 | Choked or throttled pressure type: | ||
| This subclass is indented under subclass 488. Apparatus which includes a pressure chamber having both
a valved passage and an unvalved passage for ingress and egress
of fluid, the relative sizes of the passages being such that a different
pressure may be maintained in the chamber when the valve passage
is open than is the case when it is closed.
SEE OR SEARCH CLASS:
| |||
489.3 | Loose fitting piston: |
| This subclass is indented under subclass 489. Devices in which the unvalved passage is between the piston and the cylinder walls. | |
489.5 | Pilot controls supply to pressure chamber: |
| This subclass is indented under subclass 489. Devices in which the valved passage is so positioned that the pilot valve controls the ingress of the pressure fluid to the pressure chamber. | |
490 | Pilot valve within main valve head: | ||
| This subclass is indented under subclass 489. Apparatus in which the valve controlling the servo fluid
pressure is physically located within the main or flow controlling
valve.
SEE OR SEARCH CLASS:
| |||
491 | Choked passage through main valve head: |
| This subclass is indented under subclass 489. Apparatus in which the restricted and unvalved passage passes through the main or flow controlling valve. | |
492 | Single acting fluid servo: |
| This subclass is indented under subclass 488. Apparatus in which the fluid pressure servo-motor operates the flow controlling valve in one direction only, the valve being operated the other direction by a constantly acting pressure or bias. | |
492.5 | Spring biased: |
| This subclass is indented under subclass 492. Devices in which the constantly acting pressure or bias is a spring. | |
493 | Bi-directional flow valves: | ||||||||||
This subclass is indented under subclass 455. Apparatus in which a valve means opens in response to excess
pressure over a selected maximum and also opens in response to pressure
below a selected minimum, usually to admit atmospheric air, or opens
in response to a pressure applied to either side of the valve means.
SEE OR SEARCH THIS CLASS, SUBCLASS:
| |||||||||||
493.1 | One head and seat carried by head of another: | ||||||
| This subclass is indented under subclass 493. Apparatus wherein one valve head carries the head and seat
of a second valve.
SEE OR SEARCH THIS CLASS, SUBCLASS:
| |||||||
493.2 | Supporting valve only spring biased: |
| This subclass is indented under subclass 493.1. Apparatus wherein only the carrying valve is provided with spring biasing means. | |
493.3 | Supporting valve spring carried by supporting valve: |
| This subclass is indented under subclass 493.1. Apparatus wherein the spring for the carried valve is mounted on the supporting valve. | |
493.4 | Spring stop on supported valve stem: |
| This subclass is indented under subclass 493.3. Apparatus wherein the spring of the carried valve abuts a stop (e.g., a collar) on the carried valve stem. | |
493.5 | Spring abuts guide for supported valve stem: |
| This subclass is indented under subclass 493.3. Apparatus wherein the spring of the carried valve abuts the guide for the stem of the carried valve. | |
493.6 | Both valves spring biased: |
| This subclass is indented under subclass 493.1. Apparatus wherein both the carried and carrying valves are spring biased. | |
493.7 | Axes of ports perpendicular: |
| This subclass is indented under subclass 493. Apparatus wherein the axis of one valve port is perpendicular to the axis of the second valve port. Port as used herein is the inlet or outlet provided with the valve seat. | |
493.8 | Axes of ports parallel: |
| This subclass is indented under subclass 493. Apparatus wherein the axis of one valve port is parallel to the axis of the second valve port. See the definition of valve port under subclass 493.7. | |
493.9 | Axes of ports co-axial: | ||
| This subclass is indented under subclass 493. Apparatus wherein the axis of one valve port is co-axial
with that of the second valve port.
SEE OR SEARCH THIS CLASS, SUBCLASS:
| |||
494 | With separate connected fluid reactor surface: | ||||||||||||||||||
This subclass is indented under subclass 455. Apparatus in which a flow controlling valve is connected
to a separate movable nonvalving surface so as to be operated thereby,
the fluid flowing in the apparatus and being controlled by the valve
reacting on said surface, which moves in response to variations
in fluid condition in the apparatus, the motion being transmitted
to the valve.
SEE OR SEARCH THIS CLASS, SUBCLASS:
SEE OR SEARCH CLASS:
| |||||||||||||||||||
495 | With manual or external control for line valve: | ||||||||||
This subclass is indented under subclass 494. Apparatus which include in addition to the fluid actuated
reactor surface, a manual or other external means for operating
or for causing the operation of the same valve.
SEE OR SEARCH THIS CLASS, SUBCLASS:
| |||||||||||
496 | Valve closes in responses to reverse flow: | ||||||||
| This subclass is indented under subclass 494. Apparatus in which the flow controlling valve is disclosed
or claimed as being closed in response to the reversal of the fluid
flow or to its tendency toward reversal.
SEE OR SEARCH THIS CLASS, SUBCLASS:
| |||||||||
497 | Responsive to change in rate of fluid flow: | ||||||||||||||||
This subclass is indented under subclass 494. Apparatus in which the separate reactive surface which controls
the valve is responsive to variations in the rate of flow of fluid
through the apparatus or to variations in the pressure differential
along the line under flow conditions.
SEE OR SEARCH THIS CLASS, SUBCLASS:
SEE OR SEARCH CLASS:
| |||||||||||||||||
498 | Valve closes in response to excessive flow: | ||||||||
This subclass is indented under subclass 497. Apparatus in which the flow controlling valve is closed
in response to an increase in the rate of flow beyond a predetermined
maximum.
SEE OR SEARCH THIS CLASS, SUBCLASS:
| |||||||||
499 | Turbine or swinging vane type reactor: | ||||||||
| This subclass is indented under subclass 497. Apparatus wherein the separate reactor surface is a member
pivoted for oscillation or rotation, having blades, vanes or surfaces
which are exposed to the fluid flow and rotating or tending to rotate
the member.
SEE OR SEARCH THIS CLASS, SUBCLASS:
SEE OR SEARCH CLASS:
| |||||||||
500 | Expansible chamber subject to differential pressures: | ||||||
This subclass is indented under subclass 497. Apparatus in which the valve is operated by a movable reaction
member such as a piston or diaphragm working in an expansible chamber under
the influence of two pressures taken at spaced points in the flow
line which vary as a function of the rate of fluid flow through
the line.
SEE OR SEARCH THIS CLASS, SUBCLASS:
SEE OR SEARCH CLASS:
| |||||||
501 | Pressures across fixed choke: | ||
This subclass is indented under subclass 500. Apparatus in which the pressures to which the movable reaction
member is subject are taken on opposite sides of a fixed choke or
flow restrictor placed in the flow line.
| |||
502 | With Venturi tube having a connection to throat: | ||||||
| This subclass is indented under subclass 500. Apparatus in which the pressures to which the movable reaction
member is subject are taken at the throat of a Venturi placed in
the flow line and at another point upstream or downstream of said
throat.
SEE OR SEARCH THIS CLASS, SUBCLASS:
SEE OR SEARCH CLASS:
| |||||||
503 | Pressures across flow line valve: | ||
| This subclass is indented under subclass 500. Apparatus in which the pressures to which the movable reaction
member is subject are taken on opposite sides of the throttle valve
which is operated by the reaction member and which valve regulates
the fluid flow.
SEE OR SEARCH THIS CLASS, SUBCLASS:
| |||
504 | Movable deflector or choke: | ||||
| This subclass is indented under subclass 497. Apparatus in which the separate reactive surface which controls
the valve includes a choke, restriction, or deflector, in the fluid
flow line and subject to the flow of fluid, such choke, restriction,
or deflector being mounted as to be moved by the fluid proportionally
to the rate of fluid flow.
SEE OR SEARCH CLASS:
| |||||
505 | With opening bias (e.g., pressure regulator): | ||||||
| This subclass is indented under subclass 494. Apparatus in which the flow controlling valve is biased
toward an open position and a change in fluid condition tends to
close the valve.
SEE OR SEARCH THIS CLASS, SUBCLASS:
| |||||||
505.11 | With relief valve: | ||||
| This subclass is indented under subclass 505. Devices having a port leading from the low pressure side
of the valve to waste and controlled by a normally closed pressure
responsive valve.
SEE OR SEARCH THIS CLASS, SUBCLASS:
| |||||
505.12 | Multi-stage: | ||
| This subclass is indented under subclass 505. Devices in series with another line pressure responsive
valve to produce plural stage reduction.
SEE OR SEARCH THIS CLASS, SUBCLASS:
| |||
505.13 | Senses inlet pressure: |
| This subclass is indented under subclass 505. Devices in which the fluid reactor surface, in communication with tie inlet side of the valve, responds to changes in inlet fluid pressure. | |
505.14 | Bias variable during operation: | ||||
| This subclass is indented under subclass 505. Devices with means for automatically varying the opening
bias on the valve, so that a variation of fluid condition through
the valve (without closing the valve) may be obtained, (e.g., gas
supply regulators which permit a greater flow during the high demand
period).
SEE OR SEARCH THIS CLASS, SUBCLASS:
| |||||
505.15 | Ancillary reactor surface responds to inlet pressure: |
| This subclass is indented under subclass 505.14. Devices in which the bias is varied by an ancillary reactor surface which responds to fluid pressure at the inlet. | |
505.16 | Liquid transfer: |
| This subclass is indented under subclass 505.14. Devices in which the pressure of the fluid is exerted upon the surface of a liquid free to move in such manner that fluctuations in the pressure of the fluid will transfer the liquid from one receptacle to another or from one portion of a receptacle to another portion thereof, and thereby operate the regulating valve. | |
505.17 | Weight: |
| This subclass is indented under subclass 505.14. Devices in which the means comprises a weight varied in accordance with the pressure of the line fluid. | |
505.18 | Balanced valve: |
| This subclass is indented under subclass 505. Devices in which the valve is so related to the fluid controlled that the pressure bias imparted by the line pressure is balanced by means connected to but not forming a portion of the valve itself, so that the effect of line pressure tending to open or close the valve is cancelled out at least in part. | |
505.19 | Liquid level responsive gas flow control: |
| This subclass is indented under subclass 505. Devices in which the reactor surface is a liquid transferable between plural chambers and in which the valve is actuated by means responsive to the variation of liquid level in one chamber. | |
505.2 | With protective separator: | ||
| This subclass is indented under subclass 505. Devices relating to the control of gas or vapor and having
a distinct reactor surface chamber and connecting passage to the
flow line whereby a liquid seal is provided which prevents line
gas or vapor from directly contacting the reactor surface.
SEE OR SEARCH THIS CLASS, SUBCLASS:
| |||
505.21 | Main flow through isolated reactor chamber: |
| This subclass is indented under subclass 505. Devices wherein the flow line comprises sequentially, the valve chamber, a flow line or passage distinct from the outlet of the valve chamber, and a remote isolated reactor surface chamber the reactor surface of which is mechanically connected to the valve. | |
505.22 | Through external pipe: |
| This subclass is indented under subclass 505. Devices in which the pressure fluid is communicated to a chamber enclosing the reactor surface through a pipe external of the chamber. | |
505.23 | Modified valve casing: |
| This subclass is indented under subclass 505.22. Devices in which the valve casing is modified to receive the external pipe. | |
505.24 | Adjustable external lever: |
| This subclass is indented under subclass 505.22. Device in which a lever extending out of the casing provides the means of connecting the reactor and valve head, and also provides an adjustable biasing means. | |
505.25 | Apertured reactor surface surrounds flow line: |
| This subclass is indented under subclass 505. Devices in which the flow line passes through the reactor surface. | |
505.26 | Reactor surface separated by apertured partition: | ||
| This subclass is indented under subclass 505. Devices in which the reactor surface is in a chamber distinct
from the outlet chamber and in direct fluid communication therewith
by means of an aperture through a partition or wall between the
chambers.
SEE OR SEARCH THIS CLASS, SUBCLASS:
| |||
505.27 | In valve stem: |
| This subclass is indented under subclass 505.26. Devices in which the passage to the reactor surface chamber is through the valve stem. | |
505.28 | Also through reactor surface: |
| This subclass is indented under subclass 505.27. Devices in which said passage further extends through the reactor surface so as to apply pressure to the rear of the reactor surface. | |
505.29 | Valve stem passes through the aperture: |
| This subclass is indented under subclass 505.26. Devices in which the valve stem passes through the communicating aperture. | |
505.3 | Plural reactor surfaces: |
| This subclass is indented under subclass 505.29. Devices wherein the reactor surface is in the form of an expansible chamber having at least two flexible walls. | |
505.31 | Reactor is an inverted cup having liquid seal: |
| This subclass is indented under subclass 505.29. Devices wherein the reactor surface is in the form of a bell or inverted cup floating in a liquid which forms a liquid seal for the reactor surface chamber. | |
505.32 | With movement dampener: |
| This subclass is indented under subclass 505.31. Devices in which the inverted cup has additional members, or is purposefully shaped, to dampen or retard its movement. | |
505.33 | Valve head in inlet chamber: |
| This subclass is indented under subclass 505.31. Devices in which the valve head is in the inlet chamber. | |
505.34 | Valve head in inlet chamber: |
| This subclass is indented under subclass 505.29. Devices in which the valve head is in the inlet chamber. | |
505.35 | Rectilinear valve stem rigid with reactor surface: |
| This subclass is indented under subclass 505.34. Devices in which the valve stem through the aperture is straight and rigidly joins the reactor to the valve which has at least one head in the inlet chamber. | |
505.36 | Reactor surface is diaphragm: |
| This subclass is indented under subclass 505.26. Devices in which the reactor surface is in the form of a flexible diaphragm. | |
505.37 | With valve closing bias: |
| This subclass is indented under subclass 505.36. Devices in which the valve head is provided with a bias which opposes the opening bias but is of less strength. | |
505.38 | Reactor surface closes chamber: |
| This subclass is indented under subclass 505. Devices in which the reactor surface is in the outlet chamber and forms an imperforate wall thereof. | |
505.39 | Valve head in inlet chamber: |
| This subclass is indented under subclass 505.38. Devices in which the valve head is in the inlet chamber and has a stem, or connector, passing through the valve part and connected with and usually attached to, the reactor surface. | |
505.4 | Reactor surface is inverted cup (float): |
| This subclass is indented under subclass 505.39. Devices in which the reactor surface is a bell or inverted cup floating in a liquid seal. | |
505.41 | Rectilinear valve stem rigid with reactor surface: |
| This subclass is indented under subclass 505.39. Devices in which the valve stem comprises a rectilinear rod rigidly connected to the reactor surface. | |
505.42 | With valve closing bias: | ||
This subclass is indented under subclass 505.39. Devices in which the valve is urged towards its seat in
opposition to the opening bias.
| |||
505.43 | In reactor chamber: |
| This subclass is indented under subclass 505.42. Devices in which the bias tending to close the valve is located in the reactor surface, or outlet, chamber. | |
505.44 | Valve head on yoke: |
| This subclass is indented under subclass 505.38. Devices in which the valve head is connected to the reactor surface by a yoke. | |
505.45 | Yoke has valve closing bias: |
| This subclass is indented under subclass 505.44. Devices wherein the valve is urged toward its seat in opposition to the opening bias by a force of less strength. | |
505.46 | Reactor operatively connected to valve by mechanical movement: | ||
| This subclass is indented under subclass 505.38. Devices wherein a mechanical movement is interposed between
the fluid pressure reactor and the valve.
SEE OR SEARCH THIS CLASS, SUBCLASS:
| |||
505.47 | With mechanical movement between actuator and valve: | ||
| This subclass is indented under subclass 505. Devices wherein a mechanical movement is interposed between
the actuator and the valve.
SEE OR SEARCH THIS CLASS, SUBCLASS:
| |||
506 | Plural valves biased closed: | ||||
| This subclass is indented under subclass 494. Apparatus which include a plurality of biased closed valves
responsive to variations in fluid condition, at least one of which
utilizes a separate connected reactor surface.
SEE OR SEARCH THIS CLASS, SUBCLASS:
| |||||
507 | With means for mounting or connecting to system: | ||||
This subclass is indented under subclass 494. Apparatus combined with means for mounting the apparatus
on or connecting it with the system from which the apparatus derives
its fluid.
SEE OR SEARCH CLASS:
| |||||
508 | Valve seat or external sleeve moves to open valve: | ||||
This subclass is indented under subclass 494. Apparatus in which the separate reactor surface comprises
a movable member in which is located an orifice to be controlled,
the closure for which is either fixed with respect to the valve
casing, or has movement which is different from or less than the
possible movement of the orifice member, whereby the controlled
orifice is opened by movement of the orifice member beyond a predetermined
point.
SEE OR SEARCH THIS CLASS, SUBCLASS:
| |||||
509 | Valve seating in direction of flow: |
| This subclass is indented under subclass 494. Apparatus wherein the valve controlling the fluid flow is seated by moving in the direction of flow of the fluid. | |
510 | Flexible diaphragm or bellows reactor: | ||||
| This subclass is indented under subclass 509. Apparatus in which the reactor includes a member having
a flexible wall which is subject to the pressure of the fluid in
the line.
SEE OR SEARCH THIS CLASS, SUBCLASS:
| |||||
511 | Direct response valves (i.e., check valve type): | ||||||||||||||
This subclass is indented under subclass 455. Valves which are responsive to pressure of the line fluid
on the face of the valve disc or plug itself.
SEE OR SEARCH THIS CLASS, SUBCLASS:
SEE OR SEARCH CLASS:
| |||||||||||||||
512 | Plural: | ||||||||
This subclass is indented under subclass 511. Apparatus including more than one valve of the type.
SEE OR SEARCH THIS CLASS, SUBCLASS:
SEE OR SEARCH CLASS:
| |||||||||
512.1 | Dividing and recombining in a single flow path: | ||||
| This subclass is indented under subclass 512. Devices in which the valves are arranged in a single flow
path and divide the flow into parallel paths which recombine after
passing through the valves.
SEE OR SEARCH THIS CLASS, SUBCLASS:
| |||||
512.15 | Integral resilient member forms plural valves: | ||
| This subclass is indented under subclass 512.1. Valves controlled by an integral resilient member mounted
so that portions of the said member provide separate valve heads.
SEE OR SEARCH THIS CLASS, SUBCLASS:
| |||
512.2 | One valve carries head and seat for second valve: | ||||
| This subclass is indented under subclass 512. Devices in which one of the valves carries the seat for
at least one other valve and also serves as the support for the
other valve.
SEE OR SEARCH THIS CLASS, SUBCLASS:
| |||||
512.3 | Diverse types: |
| This subclass is indented under subclass 512. Devices in which the valves are of different types, e.g., disc valves and ball valves, or are of different size so that they operate at different pressures. | |
512.4 | Integral resilient member forms plural valves: | ||||
| This subclass is indented under subclass 512. Devices in which the valves are integral resilient members
which are attached to the valve body in such a manner as to provide
separately operating resilient portions which control separate ports
in the valve body.
SEE OR SEARCH THIS CLASS, SUBCLASS:
| |||||
512.5 | With common biasing means: |
| This subclass is indented under subclass 512. Devices in which the valves are urged toward or away from their seats by the same biasing means. | |
513 | Mechanically interconnected: | ||||
| This subclass is indented under subclass 512. Apparatus in which there is a mechanical interconnection
between two of the valves such that the movement of one valve relative
to its seat in response to variation in the line condition is transmitted
to the other thereby to move it relative to its seat.
SEE OR SEARCH THIS CLASS, SUBCLASS:
| |||||
513.3 | With leak passage: |
| This subclass is indented under subclass 511. Devices in which means are provided to permit limited flow through the valve when the valve is closed, or nominally closed. | |
513.5 | Permits flow at valve interface: |
| This subclass is indented under subclass 513.3. Devices in which the nominally engaging surfaces of the head and/or seat elements are so constructed or arranged that when the valve is closed, a limited flow passage exists between said surfaces. | |
513.7 | Bypass in valve casing: |
| This subclass is indented under subclass 513.3. Devices in which a passage permitting limited flow around the head and seat elements is provided in the valve body structure. | |
514 | With retarder or dashpot: | ||||||
| This subclass is indented under subclass 511. Valves provided with a dashpot or other retarding means
to prevent or reduce chattering or hunting of the valve.
SEE OR SEARCH THIS CLASS, SUBCLASS:
SEE OR SEARCH CLASS:
| |||||||
514.3 | End of valve forms dashpot chamber: |
| This subclass is indented under subclass 514. Devices wherein the end of the valve has a dashpot chamber therein. | |
514.5 | End of valve moves inside dashpot chamber: |
| This subclass is indented under subclass 514. Devices in which the end of the valve reciprocates in a dashpot chamber. | |
514.7 | Enlarged piston on end of valve stem: |
| This subclass is indented under subclass 514.5. Devices wherein an enlarged member on the end of a valve stem reciprocates in a dashpot chamber. | |
515 | In couplings for coaxial conduits, e.g., drill pipe check valves: | ||||||||
This subclass is indented under subclass 511. Valves in which the valve is associated with or mounted
in a housing provided with means for joining it with pipe at both
ends, the three elements being longitudinally aligned when connected.
SEE OR SEARCH THIS CLASS, SUBCLASS:
SEE OR SEARCH CLASS:
| |||||||||
515.3 | Valve seat threaded into a coupling element: | ||
This subclass is indented under subclass 515. Devices in which a separate valve seat element is threaded
into one of the coupling elements
| |||
515.5 | Valve seat formed on or carried by a coupling element: |
| This subclass is indented under subclass 515. Devices in which the valve seat element is formed as an integral part of one of the coupling elements or is separate but carried by one of the coupling elements. | |
515.7 | Valve seat clamped between coupling elements: |
| This subclass is indented under subclass 515. Devices in which the valve seat element is clamped between separable elements of the coupling means. | |
516 | With means for selecting area of valve or seat: | ||||||||
This subclass is indented under subclass 511. Valves provided with means for selecting one of a plurality
of diverse effective areas for the valve by selecting from a plurality
of preselected valve elements, i.e., from a plurality of valves
or from a plurality of valve seats to vary the responsiveness of
the valve.
SEE OR SEARCH THIS CLASS, SUBCLASS:
| |||||||||
516.11 | Single head, plural ports in parallel: | ||
| This subclass is indented under subclass 511. Valves wherein a single valve head controls a plurality
of ports in a single seat, whereby the flow is subjected to an action
of dividing and recombining by its flow through the seat member.
SEE OR SEARCH THIS CLASS, SUBCLASS:
| |||
516.13 | Concentric ports: |
| This subclass is indented under subclass 516.11. Valves wherein the ports are arranged concentrically. | |
516.15 | Annular head: |
| This subclass is indented under subclass 516.11. Valves wherein the valve head is annular in form. | |
516.17 | Central post on seat: |
| This subclass is indented under subclass 516.15. Valves wherein the seat supports a post, the said post being substantially concentric with the annular head. | |
516.19 | Stop: |
| This subclass is indented under subclass 516.17. Valves wherein the post provides a valve stop or support such a stop. | |
516.21 | With guide: |
| This subclass is indented under subclass 516.19. Valves wherein the post also provides guide means for the valve. | |
516.23 | Guide: | ||
| This subclass is indented under subclass 516.17. Valves wherein the post provides guide means for the valve
head.
SEE OR SEARCH THIS CLASS, SUBCLASS:
| |||
516.25 | Plural seating: | ||||
This subclass is indented under subclass 511. Valves comprising a single flow path provided with a plurality
of serially arranged sealing surfaces which cooperate with a single
head element.
SEE OR SEARCH THIS CLASS, SUBCLASS:
| |||||
516.27 | Sequential: |
| This subclass is indented under subclass 516.25. Valves wherein the seating is sequential. | |
516.29 | Resilient gasket: |
| This subclass is indented under subclass 516.27. Valves wherein a resilient gasket is provided at the seating surface and the deformation of the gasket provides one seating. | |
517 | Biased open: | ||||||||
| This subclass is indented under subclass 511. Valves in which a bias means is provided to maintain the
valve normally open against fluid pressure on the valve itself tending
to close or partly close the valve. The bias means may be the weight
of the valve body itself.
SEE OR SEARCH THIS CLASS, SUBCLASS:
SEE OR SEARCH CLASS:
| |||||||||
518 | Oppositely swinging vanes: | ||
| This subclass is indented under subclass 517. Valves comprising a pair of edge-pivoted vanes biased in
opposite directions, the pivot means comprising closely adjacent
parallel axes or both vanes being pivoted on the same axis.
SEE OR SEARCH THIS CLASS, SUBCLASS:
| |||
519 | Weight biased: | ||
| This subclass is indented under subclass 517. Valves in which the bias means is a weight which may be
the weight of the valve body itself.
SEE OR SEARCH CLASS:
| |||
519.5 | Ball valves: | ||
| This subclass is indented under subclass 519. Valves wherein the moving element is substantially spherical.
SEE OR SEARCH THIS CLASS, SUBCLASS:
| |||
520 | Edge pivoted valve: | ||||||
| This subclass is indented under subclass 519. Valves in which the valve body is pivoted about an axis
at or closely adjacent one of its edges.
SEE OR SEARCH THIS CLASS, SUBCLASS:
| |||||||
521 | Pivoted valves: | ||||||||
| This subclass is indented under subclass 517. Valves in which the valve body is pivotally mounted.
SEE OR SEARCH THIS CLASS, SUBCLASS:
| |||||||||
522 | With external means for opposing bias: | ||||||||||||||
This subclass is indented under subclass 511. Valves provided with means external to and independent of
the flow path of the fluid controlled for opening the valve against
its bias or for relieving the valve of the effect of the bias so
that normal fluid pressure will open the valve.
SEE OR SEARCH THIS CLASS, SUBCLASS:
SEE OR SEARCH CLASS:
| |||||||||||||||
523 | With means for retaining external means in bias opposing position: | ||
| This subclass is indented under subclass 522. Valves provided with means for maintaining the bias relieving
or valve opening means in the bias relieving or valve opening position.
SEE OR SEARCH CLASS:
| |||
524 | With bias adjustment indicator: | ||||||
| This subclass is indented under subclass 511. Valves provided with means for indicating the adjustment
of the biasing means, usually in terms of the pressure at which
the valve will open.
SEE OR SEARCH THIS CLASS, SUBCLASS:
SEE OR SEARCH CLASS:
| |||||||
526 | Vacuum relief type: | ||||||
| This subclass is indented under subclass 511. Valves which open in response to an excessive decrease in
pressure, e.g., to admit atmospheric air.
SEE OR SEARCH THIS CLASS, SUBCLASS:
| |||||||
527 | Pivoted valves: | ||||||||
| This subclass is indented under subclass 511. Valves in which the valve disc or plug swings around the
means by which it is mounted in the valve seat or casing.
SEE OR SEARCH THIS CLASS, SUBCLASS:
| |||||||||
527.2 | Head retained by removable closure: |
| This subclass is indented under subclass 527. Devices in which the valve casing is provided with a removable closure element which retains the valve head in assembled relation with its seat. | |
527.4 | Valve head movably connected for accommodation to seat: |
| This subclass is indented under subclass 527. Devices in which the mounting of the valve permits motion of the valve head, in addition to pivoting, in order to allow the head to adjust itself to the valve seat. | |
527.6 | Valve mounted on end of pipe: |
| This subclass is indented under subclass 527. Devices which provide means for mounting the valve on the end of a pipe. | |
527.8 | Weight biased: |
| This subclass is indented under subclass 527. Devices which are provided with means having sufficient mass to maintain the valve in the desired position in response to gravity. | |
528 | Reciprocating valves: | ||
| This subclass is indented under subclass 511. Valves in which the movable member of the valve moves substantially
rectilinearly between its extreme positions. Ball valves are included although
their motion may not be strictly rectilinear.
SEE OR SEARCH CLASS:
| |||
529 | Plural biasing means: | ||
| This subclass is indented under subclass 528. Valves in which the biasing means comprises more than one
bias force providing element exclusive of the weight of the valve
body itself.
SEE OR SEARCH CLASS:
| |||
530 | Cam means for adjusting and fixing bias: | ||||
| This subclass is indented under subclass 528. Valves having a cam member associated with a biasing means
to determine the effect of the bias.
SEE OR SEARCH THIS CLASS, SUBCLASS:
SEE OR SEARCH CLASS:
| |||||
531 | Varying effective lever arm: | ||
| This subclass is indented under subclass 528. Valves in which the bias is applied through a lever the
effective length of which varies as the valve opens or closes.
SEE OR SEARCH CLASS:
| |||
532 | Weight biased: | ||||
| This subclass is indented under subclass 528. Valves in which the force of gravity is utilized to bias
the valve.
SEE OR SEARCH THIS CLASS, SUBCLASS:
SEE OR SEARCH CLASS:
| |||||
533 | Valve body is the weight: |
| This subclass is indented under subclass 532. Valves in which the weight of the valve itself is utilized as the biasing means. | |
533.11 | Ball valves: | ||||
| This subclass is indented under subclass 533. Valves in which the moving element is substantially spherical.
SEE OR SEARCH THIS CLASS, SUBCLASS:
| |||||
533.13 | Removable cage: |
| This subclass is indented under subclass 533.11. Valves in which the means for controlling the movement of the valve element is separable from the valve body. | |
533.15 | Separable seat: | ||
| This subclass is indented under subclass 533.11. Valves in which the valve seat is separable from the valve
body.
SEE OR SEARCH THIS CLASS, SUBCLASS:
| |||
533.17 | Guided head: |
| This subclass is indented under subclass 533. Devices in which means are provided to guide the head to or from its seat. | |
533.19 | Cage: |
| This subclass is indented under subclass 533.17. Devices in which the valve head is guided by means stationary with respect to the seat and engagable with the outer periphery of the valve head. | |
533.21 | Guide stem: |
| This subclass is indented under subclass 533.17. Devices in which there is provided a rod-like guiding element usually substantially smaller in diameter than the head. | |
533.23 | With closing stop: | ||||
This subclass is indented under subclass 533.21. Devices in which nonvalving structure carried by the head
engages a stop or abutment when the valve closes.
SEE OR SEARCH THIS CLASS, SUBCLASS:
| |||||
533.25 | Oppositely disposed: |
| This subclass is indented under subclass 533.21. Devices in which there are a plurality of rodlike elements projecting from opposite faces of the valve head. | |
533.27 | Head slidable on guide rod: |
| This subclass is indented under subclass 533.21. Devices in which the valve head is apertured and slides on the stationary rod-like element extending through the aperture. | |
533.29 | Guide and seat integral unit: |
| This subclass is indented under subclass 533.21. Devices in which the valve seat and the guide for the rod-like element constitute a unit. | |
533.31 | Guide and closure integral unit: |
| This subclass is indented under subclass 533.21. Devices in which the casing closure and the guide for the rod-like element constitute a unit. | |
534 | Weight coaxial with valve: |
| This subclass is indented under subclass 532. Valves in which the weight is coaxial with the valve disc or plug. | |
535 | Spring biased: | ||||
| This subclass is indented under subclass 528. Valves in which the elasticity of a resilient element is
used to provide the biasing force.
SEE OR SEARCH THIS CLASS, SUBCLASS:
SEE OR SEARCH CLASS:
| |||||
536 | With means to protect spring from fluid: | ||||||
| This subclass is indented under subclass 535. Valves provided with means preventing or reducing the impingement
of the pressure fluid on the spring, usually a flexible wall, deflecting baffles
or a telescoping enclosure for the spring.
SEE OR SEARCH THIS CLASS, SUBCLASS:
SEE OR SEARCH CLASS:
| |||||||
537 | Spring under tension: | ||
| This subclass is indented under subclass 535. Valves in which the resilient member is placed under tension
to hold the valve normally closed.
SEE OR SEARCH CLASS:
| |||
538 | Piston-type valves: | ||||
| This subclass is indented under subclass 535. Valves in which the valve is a cylindrical plug cooperating
with a hollow cylindrical valve seat, there being ports in the cylindrical
wall of either piston or seat which are opened and closed by reciprocating
movement of the piston in the cylindrical seat.
SEE OR SEARCH THIS CLASS, SUBCLASS:
SEE OR SEARCH CLASS:
| |||||
539 | Ball valves: | ||||||
| This subclass is indented under subclass 535. Valves in which the moving element is substantially spherical.
SEE OR SEARCH THIS CLASS, SUBCLASS:
| |||||||
539.5 | With follower: |
| This subclass is indented under subclass 539. Valves wherein a follower (e.g., reciprocating rod) is interposed between the spring and the ball. | |
540 | Spring coaxial with valve: |
| This subclass is indented under subclass 535. Valves in which the spring is coaxial with the valve. | |
540.11 | Broken valve parts retainer: | ||
| This subclass is indented under subclass 540. Valves having retaining means for broken valve parts, e.g.,
an auxiliary chamber or stop on the valve stem by means of which
broken valve parts are prevented from entering the cylinder of compressors,
etc.
SEE OR SEARCH THIS CLASS, SUBCLASS:
| |||
541 | Spring in inlet: |
| This subclass is indented under subclass 540. Valves in which the spring is located on the side of the valve which is exposed to the fluid pressure to which the valve is to be responsive, i.e., the spring and valve are on opposite sides of the valve seat and the spring is in the fluid conduit or container. | |
542 | Valve stem extends through fixed spring abutment: | ||
| This subclass is indented under subclass 540. Valves in which the valve has a stem which passes through
the biasing spring, which is mounted between abutments one of which
is fixed and comprises a guide for the stem and the other of which
is carried by or comprised in the valve head and/or stem.
SEE OR SEARCH THIS CLASS, SUBCLASS:
| |||
543 | Yoke or cage-type support for valve stem: |
| This subclass is indented under subclass 542. Valves which provide a transverse support for the valve stem, spaced from the valve and supported in its location by a plurality of elongated, circumferentially spaced members parallel to the valve stem, the support usually comprising a spring abutment. | |
543.13 | Spring abuts removable valve stem guide: |
| This subclass is indented under subclass 540. Valves wherein the head and spring are on the same side of the seat and the spring abuts a removable guide for the valve stem. | |
543.15 | Head slides on guide-rod concentric with spring: |
| This subclass is indented under subclass 540. Valves wherein the head slides on a guide-rod which is concentric with the spring. | |
543.17 | Spring guides valve head: |
| This subclass is indented under subclass 540. Valves wherein the spring guides the head to its seat. | |
543.19 | Cage-type guide for stemless valves: |
| This subclass is indented under subclass 540. Valves wherein the guide is cage-like and guides a stemless valve by sliding contact with the outer periphery thereof. | |
543.21 | Guide means integral and coplanar with valve disk: |
| This subclass is indented under subclass 540. Valves wherein a guide means integral and coplanar is provided on the stemless valve disk, said guide means contacting the walls of the valve casing. | |
543.23 | Head between spring and guide: |
| This subclass is indented under subclass 540. Valves wherein the head is provided with a guide and the spring is on the side of the head opposite the guide. | |
544 | WITH MEANS FOR SEPARATING SOLID MATERIAL FROM THE FLUID: | ||||||||||||||||||
This subclass is indented under the class definition. Apparatus having means for separating one or more materials
from a fluid mixture either by providing a physical barrier to the passage
of particles over a given size or by providing a trap where heavier
material may be deposited.
SEE OR SEARCH THIS CLASS, SUBCLASS:
SEE OR SEARCH CLASS:
| |||||||||||||||||||
545 | Plural separating elements: | ||
This subclass is indented under subclass 544. Apparatus in which the separating means includes plural
elements.
| |||
546 | Sediment chamber: | ||||||
| This subclass is indented under subclass 544. Apparatus in which the separating means includes a chamber
for trapping sediment.
SEE OR SEARCH THIS CLASS, SUBCLASS:
SEE OR SEARCH CLASS:
| |||||||
547 | Movable strainer: | ||||
This subclass is indented under subclass 544. Apparatus in which the separating means is a strainer which
is movable with respect to the flow path without being removed from
the apparatus.
SEE OR SEARCH THIS CLASS, SUBCLASS:
| |||||
549 | Hollow strainer, fluid inlet and outlet perpendicular to each other: |
| This subclass is indented under subclass 544. Apparatus in which the separating means is a foraminated or porous body or hollow strainer arranged with the fluid inlet in an axial direction and the outlet in a generally radial direction or vice versa. | |
550 | Planar strainer normal to flow path: |
| This subclass is indented under subclass 544. Apparatus in which the separating means is a strainer defining a substantially plane surface and disposed perpendicular to flow path. | |
551 | WITH INDICATOR, REGISTER, RECORDER, ALARM OR INSPECTION MEANS: | ||||||||||||||||||||
This subclass is indented under the class definition. Apparatus comprising fluid handling means combined (1) with
an indicator, register, recorder, or alarm responsive to a condition
or position of a part of the apparatus or of the fluid in the apparatus
or (2) with means which permits inspection of normally hidden parts
of the apparatus or of the fluid inside the apparatus.
SEE OR SEARCH THIS CLASS, SUBCLASS:
SEE OR SEARCH CLASS:
| |||||||||||||||||||||
552 | Plural: | ||
| This subclass is indented under subclass 551. Apparatus comprising more than one indicator, register,
recorder, alarm or inspection means or more than one of the beforementioned
types of subcombinations.
SEE OR SEARCH CLASS:
| |||
552.5 | Unobvious - "combination lock" type: | ||||
| This subclass is indented under subclass 552. Apparatus wherein the information conveyed by the indicators
is in some code not obvious to an uninformed operator, whereby the
operation is similar to that required by combination locks in that
the indicators must be positioned in a predetermined relationship
to allow flow through the system.
SEE OR SEARCH THIS CLASS, SUBCLASS:
| |||||
552.7 | Time: | ||
| This subclass is indented under subclass 551. Apparatus calibrated in time.
SEE OR SEARCH CLASS:
| |||
553 | Position or extent of motion indicator: | ||||||||||
This subclass is indented under subclass 551. Apparatus comprising an indicator which gives information
as to the position or range of motion of a movable or adjustable
part of the apparatus, e.g., a valve or adjustable wall.
SEE OR SEARCH THIS CLASS, SUBCLASS:
SEE OR SEARCH CLASS:
| |||||||||||
554 | Electrical: | ||||
| This subclass is indented under subclass 553. Apparatus in which electrical signal system means are used
to sense and/or indicate the position or extent of motion
in valves.
SEE OR SEARCH THIS CLASS, SUBCLASS:
SEE OR SEARCH CLASS:
| |||||
555 | Selection from plural branches: | ||
| This subclass is indented under subclass 553. Apparatus in which the indicator shows the position or selection
for use of one of a plurality of paths.
SEE OR SEARCH CLASS:
| |||
556 | Indicator element rigidly carried by the movable element whose position is indicated: | ||
| This subclass is indented under subclass 553. Apparatus in which an element of the indicator is an integral
part of, or is rigidly carried by, the movable or adjustable part.
SEE OR SEARCH CLASS:
| |||
556.3 | Movable indicator element is a pointer: |
| This subclass is indented under subclass 556. Devices wherein the movable indicator element comprises a pointer. | |
556.6 | Pointer integral with handle: |
| This subclass is indented under subclass 556.3. Devices wherein the pointer is an integral part of the valve handle. | |
557 | Fluid pressure responsive indicator, recorder or alarm: | ||||||||||||
| This subclass is indented under subclass 551. Apparatus provided with a visual indicator, audible alarm
or recorder which is responsive to the pressure of the fluid in
the flow path.
SEE OR SEARCH THIS CLASS, SUBCLASS:
SEE OR SEARCH CLASS:
| |||||||||||||
558 | Liquid level responsive indicator, recorder or alarm: | ||||||||||||
This subclass is indented under subclass 551. Apparatus provided with a visual indicator, audible alarm
or recorder which is responsive to the level of the liquid in some
part of the apparatus.
SEE OR SEARCH THIS CLASS, SUBCLASS:
SEE OR SEARCH CLASS:
| |||||||||||||
559 | Inspection means: | ||||
| This subclass is indented under subclass 551. Apparatus which provides means which permit or facilitate
observation or inspection of the fluid inside the apparatus or of
normally invisible parts of the apparatus.
SEE OR SEARCH CLASS:
| |||||
560 | COMBINED: | ||||||||
This subclass is indented under the class definition. Apparatus which comprises devices or parts in addition to
or combined with distribution systems and (1) having functions other than
material handling or (2) which serve to perfect the material handling
apparatus for its intended purpose.
SEE OR SEARCH CLASS:
| |||||||||
561 | SYSTEMS: | ||||||||||||||||||||||||||
This subclass is indented under the class definition. Systems comprising means for confining flowable material
during its flow or making it available for flow and either causing
or controlling its flow or potential flow, which means is (1) a
combination of material containing or confining means, such as tanks
or conduits, in flow relation with flow causing means, such as pumps,
(2) combinations of two or more material confining devices in flow
relation, including branched flow lines and hydrostatic devices,
such as standpipes or vertically adjustable outlet and overflow
conduits in open communication with the confined body of flowable material;
and (3) combinations of material confining devices with flow controlling
means when more of the material confining device is claimed than
is necessary to mount the flow controlling means.
SEE OR SEARCH THIS CLASS, SUBCLASS:
SEE OR SEARCH CLASS:
| |||||||||||||||||||||||||||
562 | Faucet connected, sink drained: | ||||||||
This subclass is indented under subclass 561. Systems including means whereby a tank may be filled from
a faucet and drained into a sink or basin associated with the faucet.
SEE OR SEARCH THIS CLASS, SUBCLASS:
| |||||||||
563 | Closed circulating system: | ||||||||
| This subclass is indented under subclass 561. Systems including a flow path in which at least a portion
of the fluent material is continuously circulated in a closed circuit.
Such system may comprise (1) one or more return by-passes in which
a portion of the fluent material in a flow line is diverted from
and returned to the flow line at a point upstream from the point
of diversion, or (2) a system in which the main portion of a flow
continuously returns to the starting point, and one or more branches
are provided for tapping and removing from the circuit a portion
of the fluent material or one or more branches are provided for
admitting fluent material from an outside source into the circuit, or
(3) all the material circulates in a confined path without addition
or removal of material.
SEE OR SEARCH THIS CLASS, SUBCLASS:
SEE OR SEARCH CLASS:
| |||||||||
564 | With thermal circulating means (thermo-siphons): | ||
| This subclass is indented under subclass 563. Systems comprising a circulating system in which the thermal
characteristics of the system are such that temperature differences
exist at spaced points in the device and cause flow of the fluent
material.
SEE OR SEARCH THIS CLASS, SUBCLASS:
| |||
564.5 | Main line as motive fluid for follower-type feeder: | ||||
| This subclass is indented under subclass 561. System including an additive reservoir in a shunt on a main
line, the reservoir including noncommunicating compartments defined
by a blind follower actuated by main line pressure.
SEE OR SEARCH THIS CLASS, SUBCLASS:
SEE OR SEARCH CLASS:
| |||||
565.01 | With pump: | ||||||||||||||||
This subclass is indented under subclass 561. Subject matter wherein the system includes a pump that supplies
energy to a fluid by suction or pressure or both.
SEE OR SEARCH THIS CLASS, SUBCLASS:
SEE OR SEARCH CLASS:
| |||||||||||||||||
565.11 | Pumped fluid control: | ||||||||
This subclass is indented under subclass 565.01. Subject matter including regulating means for varying the
flow of a gas or liquid.
SEE OR SEARCH THIS CLASS, SUBCLASS:
SEE OR SEARCH CLASS:
| |||||||||
565.12 | Manual: | ||
| This subclass is indented under subclass 565.11. Subject matter including a nonautomatic valve mechanism
for selectively regulating the fluid flow.
Figure 1: A typical example of the subject matter. A- Manual control; B - Connecting pipe; C - Hydraulic pump; D - Electricmotor; E - Reservoir or tank; F - Normally open switch; G - Actuatinglever. SEE OR SEARCH CLASS:
| |||
565.13 | Fluid pressure responsive: | ||||||
| This subclass is indented under subclass 565.11. Subject matter wherein means sensing the change in fluid
force controls the effectiveness of pumped fluid flow.
Figure 1: A typical example of the subject matter. A- Pump; B - Fluid pressure responsive valve; C - Pilot line; D -Fluid system. SEE OR SEARCH THIS CLASS, SUBCLASS:
SEE OR SEARCH CLASS:
| |||||||
565.14 | And pilot valve: | ||||
| This subclass is indented under subclass 565.13. Subject matter comprising an auxiliary controlling operation
of a fluid pressure operator valve.
Figure 1: A typical example of the subject matter. A- Reservoir; B - Fluid; C - Main flowline; D - Pump; E - Discharge;F - Pilot valve; G - Control circuit. SEE OR SEARCH CLASS:
| |||||
565.15 | Direct response valve: | ||||
| This subclass is indented under subclass 565.13. Subject matter including (a) a valve head having a face
and (b) a nonreturn element wherein the nonreturn element is responsive
to pressure of a line fluid.
Figure 1: A typical example of the subject matter. A- Discharge; B - Tank or reservoir; C - Outlet hose assembly; D- Inlet; E - Inlet valve; F - Flexible hose; G - Check valve; P- Pump. SEE OR SEARCH THIS CLASS, SUBCLASS:
SEE OR SEARCH CLASS:
| |||||
565.16 | Electric: | ||||
| This subclass is indented under subclass 565.11. Subject matter wherein the regulating means is an electrically
operated valve.
SEE OR SEARCH CLASS:
| |||||
565.17 | Combined with fluid receiver: | ||||||
| This subclass is indented under subclass 565.01. Subject matter wherein the system includes a receptacle
or container for accepting gas or liquid.
Figure 1: A typical example of the subject matter. A- Reservoir; B - Sump; C, D - Pumps; M - Motor. SEE OR SEARCH THIS CLASS, SUBCLASS:
SEE OR SEARCH CLASS:
| |||||||
565.18 | Compressed air supply unit: | ||||||||
| This subclass is indented under subclass 565.17. Subject matter comprising means for supplying fluid at a
pressure higher than the atmospheric pressure.
Figure 1: A typical example of the subject matter. A- Compressor unit; B - Storage reservoir; C - Unloader governor;D - Pipe supplies fluid under pressure from compressor to reservoir;E - Valve body; F - Operating handle (valve). SEE OR SEARCH THIS CLASS, SUBCLASS:
SEE OR SEARCH CLASS:
| |||||||||
565.19 | Hydraulic power unit: | ||||||||
| This subclass is indented under subclass 565.17. Subject matter comprising a fluid reservoir, a pump for
withdrawing fluid from the reservoir, or further including one or
more selector valves together with a fluid motor to supply high
pressure fluid to another device.
Figure 1: A typical example of the subject matter. A- Well casing; B - Impulse actuated pump; C - Hydraulic cylinder;D - Accumulator (load compensating reservoir); E - Housing; F -Liquid storage tank; G - One-way valve. SEE OR SEARCH CLASS:
| |||||||||
565.22 | And jet-aspiration type pump: | ||||
| This subclass is indented under subclass 565.01. Subject matter including a pump wherein a motive fluid and
a driven fluid are brought into intimate contact in an enclosed flow
path, the motive fluid having a higher velocity than the driven
fluid and imparting energy to the driven fluid by the action of entrainment
contact.
Figure 1: A typical example of the subject matter. A- Pump; B - Tank or reservoir; C - Jet-aspiration pump; D - Diffuser;E - Vent; F - Drain valve. SEE OR SEARCH CLASS:
| |||||
565.23 | Vacuum pump: | ||
| This subclass is indented under subclass 565.01. Subject matter wherein the device or machine creates a system
pressure lower than the ambient pressure.
Figure 1: A typical example of the subject matter. A- Vacuum chamber; B - Movable member in chamber; C - Casing withsealing liquid; E - Preliminary pump; F - Final pump. SEE OR SEARCH CLASS:
| |||
565.24 | Resiliently mounted pump: | ||
| This subclass is indented under subclass 565.01. Subject matter wherein the device or machine is supported
on a vibration dampening element.
A - Tank; B - Motor; C - Pump; D - Outlet manifold; E - Resilientwasher; F - Tank pipe; G - Moulded resilient rings; H - Rubber plugs. SEE OR SEARCH CLASS:
| |||
565.25 | Hand pump: | ||
| This subclass is indented under subclass 565.01. Subject matter wherein the device or machine for supplying
energy is operated manually.
Figure 1: A typical example of the subject matter. A- Pump chamber; B - Plunger; C - Handle. SEE OR SEARCH CLASS:
| |||
565.26 | Multiple inlet with multiple outlet: | ||||
| This subclass is indented under subclass 565.01. Subject matter including a fluent material branched flow
line having two or more admission passages and two or more exhaust
passages, wherein the admission passages and the exhaust passages
are joined by one or more fluent material flow lines.
Figure 1: A typical example of the subject matter. SEE OR SEARCH THIS CLASS, SUBCLASS:
SEE OR SEARCH CLASS:
| |||||
565.27 | Downstream cyclic distributor: | ||
| This subclass is indented under subclass 565.01. Subject matter including a distributing device receiving
the discharge of the pump for sequentially establishing the communication with
the pump fluid and operating to divide the fluid discharged by the
pump into at least two separate flow paths leading to points of
fluid utilization.
Figure 1: A typical example of the subject matter. A- Supply tank; B - Feed pump; C - Fuel injection pump; D - Pumpcasing; E, F - Plungers; G - Cyclic cam; H - Pump drive shaft; J - Relief valve. SEE OR SEARCH CLASS:
| |||
565.28 | Distributor part unitary with movable pump part: |
| This subclass is indented under subclass 565.27. Subject matter wherein an element of the distributing device is integral with a member of the device or machine which is in motion. | |
565.29 | Plural: | ||||
| This subclass is indented under subclass 565.01. Subject matter having at least two or more pumps.
Figure 1: A typical example of the subject matter. A1- Pumpone; A2- Pump two. SEE OR SEARCH CLASS:
| |||||
565.3 | Serial: | ||||
| This subclass is indented under subclass 565.29. Subject matter wherein two or more pumps are arranged in
regular succession for fluid communication with each other.
Figure 1: A typical example of the subject matter. A- First housing; B - Second housing; C - First pump; D - Secondpump; E - Booster pump; F - Spray gun. SEE OR SEARCH THIS CLASS, SUBCLASS:
SEE OR SEARCH CLASS:
| |||||
565.31 | With single motive input: | ||
| This subclass is indented under subclass 565.3. Subject matter wherein two or more pumps are driven by one
prime mover.
Figure 1: A typical example of the subject matter. A- Motor; B - Drive shaft; C, D, E, F, G - Series of pumps; H, J,K, L, M - Vessels in series. SEE OR SEARCH CLASS:
| |||
565.32 | One pump driven by motive fluid from the other: | ||
| This subclass is indented under subclass 565.31. Subject matter wherein one pump additionally supplies gas
or liquid as a power source for a motor to drive another device.
Figure 1: A typical example of the subject matter. A- Reservoir; B - Pressure pump; C - Supply motor pump; D - Supplyinlet; E - Pressure outlet; F - Intake of pressure pump; G - Outletof pressure pump; H - Fluid pressure user; J - Pressure inlet ofsupply motor pump. SEE OR SEARCH CLASS:
| |||
565.33 | Parallel: | ||||||
| This subclass is indented under subclass 565.29. Subject matter wherein the pumps discharge separate fluid
flows to parts of the system other than one another.
Figure 1: A typical example of the subject matter. A- Beginning of pipeline; B, C - Inlet piece; D - Central supplypipe for oil; E - Oil pump; F - Annular water supply channel; G- Water pump.
SEE OR SEARCH THIS CLASS, SUBCLASS:
SEE OR SEARCH CLASS:
| |||||||
565.34 | Reserve or surge receiver: | ||||||
| This subclass is indented under subclass 565.17. Subject matter including a pump and (a) a reservoir or a
holding tank under atmospheric pressure usually at an elevation
above the pump, and in open or check controlled communication with
the pump outlet line to receive surplus fluid for storage or to
absorb sudden rise of pressure, or (b) a parallel supply from a
different line or from a container supplied from a source other
than the pump.
SEE OR SEARCH CLASS:
| |||||||
565.35 | With pump bypass: | ||||||||||
| This subclass is indented under subclass 565.01. Subject matter having means whereby fluid in the system
may either pass through the pump or be caused to flow around the
pump.
Figure 1: A typical example of the subject matter. A- Inlet conduit; B - Discharge conduit; C - Bypass connecting inletconduit to outlet conduit; P - Motor driven pump; T - Timer. SEE OR SEARCH THIS CLASS, SUBCLASS:
SEE OR SEARCH CLASS:
| |||||||||||
565.36 | Drain valve actuator mounted on pump: | ||||||
| This subclass is indented under subclass 565.01. Subject matter having a pump associated with fluid delivery
tubing, usually vertically positioned in a well, the tubing being provided
with a drain valve which has an actuator mounted on or supported
by the pump housing, the pump mounting, or a part thereof.
Figure 1: A typical example of the subject matter. Note:Drain valve for pump: Valve is attached to pump tube. The operatingrod for valve extends through platform, and handle on the rod engagesthe housing on the platform. SEE OR SEARCH THIS CLASS, SUBCLASS:
SEE OR SEARCH CLASS:
| |||||||
565.37 | Fluid sump: | ||||||
| This subclass is indented under subclass 565.17. Subject matter including pit, depression, or reservoir serving
as (a) a drain or (b) a receptacle for liquid to be stored for a
later use.
Figure 1: A typical example of the subject matter. SEE OR SEARCH THIS CLASS, SUBCLASS:
SEE OR SEARCH CLASS:
| |||||||
571 | Plural tanks or compartments connected for serial flow: | ||||||||||||||
This subclass is indented under subclass 561. Systems in which two or more tanks or compartments are connected
in such manner that all tanks except the last in the flow sequence deliver
fluid only to one other tank and to no other type of receiver.
SEE OR SEARCH THIS CLASS, SUBCLASS:
SEE OR SEARCH CLASS:
| |||||||||||||||
572 | Separable with valved-connecting passage: | ||||||||||
This subclass is indented under subclass 571. Systems in which the plural tanks are so constructed that
they may be separated from one another and in which the passage
by which the tanks are connected contains a valve or closure.
SEE OR SEARCH THIS CLASS, SUBCLASS:
SEE OR SEARCH CLASS:
| |||||||||||
573 | Fluid progresses by zigzag flow: | ||||||
| This subclass is indented under subclass 571. Systems in which fluid passes through the tanks or compartments
in a zigzag path.
SEE OR SEARCH THIS CLASS, SUBCLASS:
SEE OR SEARCH CLASS:
| |||||||
574 | Plural compartments formed by baffles: | ||||
| This subclass is indented under subclass 571. Systems comprising a container having plural compartments
formed by plates or walls in the flow path but only partially closing
it.
SEE OR SEARCH THIS CLASS, SUBCLASS:
SEE OR SEARCH CLASS:
| |||||
575 | Plural top-to-bottom connected tanks: |
| This subclass is indented under subclass 571. Systems in which a flow passage leads from the top of one tank to the bottom of the next tank in the series. | |
576 | With communicating opening in common walls of tanks or compartments: | ||||
| This subclass is indented under subclass 571. Systems in which the tanks or compartments are connected
by an opening in a wall common thereto.
SEE OR SEARCH THIS CLASS, SUBCLASS:
| |||||
577 | Tank with movable or adjustable outlet or overflow pipe: | ||||||||||||||
| This subclass is indented under subclass 561. Systems comprising a tank having a discharge passage which
may be moved or adjusted with respect to the tank to (1) remove
material from a particular part of the tank, or (2) determine the
level of material retained in the tank and/or the amount
withdrawn from the tank.
SEE OR SEARCH THIS CLASS, SUBCLASS:
SEE OR SEARCH CLASS:
| |||||||||||||||
577.5 | Horizontally traversing outlet: | ||||||||||||
| This subclass is indented under subclass 577. Systems including a conduit placed or adapted to be placed
within a receptacle, e.g., tank, reservoir or swimming pool, and
means arranged to traverse the inlet end of the conduit in a generally
horizontal direction, usually to remove sediment from the receptacle.
SEE OR SEARCH THIS CLASS, SUBCLASS:
SEE OR SEARCH CLASS:
| |||||||||||||
578 | Float-supported outlet: | ||||
| This subclass is indented under subclass 577. Systems in which the intake end of the movable outlet is
supported by a float.
SEE OR SEARCH THIS CLASS, SUBCLASS:
| |||||
579 | Swinging outlet pipe or spout: | ||||
This subclass is indented under subclass 577. Systems in which the movable outlet comprises a pipe or
spout which is mounted to swing with respect to the tank to control
the level within the tank.
SEE OR SEARCH THIS CLASS, SUBCLASS:
| |||||
580 | With running joint between movable parts of system: | ||||||||||
| This subclass is indented under subclass 561. Systems comprising a relatively movable fluid supply and
fluid receiver normally joined by rotating or longitudinally sliding
or telescoping elements forming a shifting flow passage at right
angles to the direction of movement of the elements to allow fluid
flow between the supply and receiver during relative movement.
SEE OR SEARCH THIS CLASS, SUBCLASS:
SEE OR SEARCH CLASS:
| |||||||||||
581 | Movable tank: | ||||||||||||||||
| This subclass is indented under subclass 561. Systems, including a tank mounted for movement with respect
to supporting means, the supporting means not being positively recited in
the claims, but movement of the tank being inherent in the operation
of the device or required in causing or controlling flow of material.
SEE OR SEARCH THIS CLASS, SUBCLASS:
SEE OR SEARCH CLASS:
| |||||||||||||||||
582 | With antisplash means not in flow passage: | ||||
| This subclass is indented under subclass 561. Systems having means for preventing splashing of a liquid
stream located in the path of flow of the liquid but not located
in the conduit which carries the liquid, i.e., usually mounted in
the tank receiving the liquid.
SEE OR SEARCH THIS CLASS, SUBCLASS:
SEE OR SEARCH CLASS:
| |||||
583 | System with plural openings, one a gas vent or access opening: | ||||||||||||||||||||||||||||||||
This subclass is indented under subclass 561. Systems having two or more openings at least one of which
functions to vent gases to or from the system or serves as an opening
permitting access thereto of persons or of tools other than those
contributing to the intended fluid handling operation of the system.
SEE OR SEARCH THIS CLASS, SUBCLASS:
SEE OR SEARCH CLASS:
| |||||||||||||||||||||||||||||||||
584 | Access and outlet: | ||||||||||||||||||
This subclass is indented under subclass 583. Systems in which one of the openings is an access opening
and another is an outlet for fluid contents of the system.
SEE OR SEARCH THIS CLASS, SUBCLASS:
SEE OR SEARCH CLASS:
| |||||||||||||||||||
585 | Tank access opening and bottom outlet: | ||||||||||
This subclass is indented under subclass 584. Systems in which the access opening is formed in a tank,
such as a tank car, usually comprising a manhole, and in which the
outlet is at the bottom of the tank.
SEE OR SEARCH THIS CLASS, SUBCLASS:
SEE OR SEARCH CLASS:
| |||||||||||
586 | Access opening interlock or telltale on outlet valve actuator: | ||||
| This subclass is indented under subclass 585. Systems in which the actuator for the valved outlet performs
an additional function in the system by interengaging with or extending
into the access opening in one position of the valve thereby preventing
the application of a closure to the access opening while the bottom
valve is open and/or indicating the open condition of the
valve.
SEE OR SEARCH THIS CLASS, SUBCLASS:
SEE OR SEARCH CLASS:
| |||||
587 | Tank with gas vent and inlet or outlet: | ||||||||||||||
| This subclass is indented under subclass 583. Systems in which one of the openings is a gas vent for a
tank and another is a liquid inlet and/or outlet.
SEE OR SEARCH THIS CLASS, SUBCLASS:
SEE OR SEARCH CLASS:
| |||||||||||||||
588 | Vent and inlet or outlet in unitary mounting: | ||||
| This subclass is indented under subclass 587. Systems in which the vent and the liquid passage are formed
in a common mounting adapted to be attached to or removed from the supply
container as a unit.
SEE OR SEARCH THIS CLASS, SUBCLASS:
SEE OR SEARCH CLASS:
| |||||
589 | With vented outlet: | ||||||
| This subclass is indented under subclass 583. Systems having a valved discharge conduit and means connecting
such conduit with the atmosphere downstream of the valve, whereby
the conduit may be drained of liquid after the valve has been closed.
SEE OR SEARCH THIS CLASS, SUBCLASS:
| |||||||
590 | Tank with internally extending flow guide, pipe or conduit: | ||||||||||||
This subclass is indented under subclass 561. Systems comprising a tank having a material guide or flow
pipe extending into the interior of the tank.
SEE OR SEARCH THIS CLASS, SUBCLASS:
SEE OR SEARCH CLASS:
| |||||||||||||
590.5 | Nondraining overflow type: | ||||||||||
This subclass is indented under subclass 590. Systems in which the material flow or guide means has laterally
spaced inlet and outlet portions with (1) the end of the outlet
portion positioned above the end of the inlet portion, (2) means,
such as a vent, positioned relative to the end of the outlet portion
so as to cut-off flow at an upper level.
SEE OR SEARCH THIS CLASS, SUBCLASS:
SEE OR SEARCH CLASS:
| |||||||||||
591 | Inverted "U" passage: | ||||||||
This subclass is indented under subclass 590. Systems in which the internally extending pipe comprises
a conduit of inverted U-shape.
SEE OR SEARCH THIS CLASS, SUBCLASS:
| |||||||||
592 | Inlet internally extending: | ||||
| This subclass is indented under subclass 590. Systems in which the internally extending pipe is a fluid
inlet.
SEE OR SEARCH THIS CLASS, SUBCLASS:
SEE OR SEARCH CLASS:
| |||||
593 | Head-establishing standpipe or expansion chamber (e.g., surge tanks): | ||||||||||||||
This subclass is indented under subclass 561. Systems comprising an expansion chamber or a vertically
extending pipe or tank adapted to be placed in open communication
with a source of liquid and functioning as a storage or pressure-maintaining
reservoir or to increase the head against which liquid from the
source must exert pressure.
SEE OR SEARCH THIS CLASS, SUBCLASS:
SEE OR SEARCH CLASS:
| |||||||||||||||
594 | Plural noncommunicating flow paths: | ||||||||||||
| This subclass is indented under subclass 561. Systems involving two or more fluent material flow lines
which do not unite within the scope of the combination of elements
claimed.
SEE OR SEARCH THIS CLASS, SUBCLASS:
SEE OR SEARCH CLASS:
| |||||||||||||
595 | With common valve operator: | ||||||||||||
| This subclass is indented under subclass 594. Systems having at least one valve in each of two or more
noncommunicating flow lines, the valves in the noncommunicating
flow lines being connected to a single operating means so as to
be operated thereby.
SEE OR SEARCH THIS CLASS, SUBCLASS:
| |||||||||||||
596 | Supply and exhaust: | ||||||||||||||||||||||||||||||||||
| This subclass is indented under subclass 561. Device comprising a valve controlled flow line and valve
controlled exhaust passage connected to the line downstream of the
flow control valve, whereby the supply through the flow line may
be cut off and the downstream portion of the line may be drained
through the exhaust passage.
SEE OR SEARCH THIS CLASS, SUBCLASS:
SEE OR SEARCH CLASS:
| |||||||||||||||||||||||||||||||||||
596.1 | Biased exhaust valve: |
| This subclass is indented under subclass 596. Devices in which the exhaust valve is biased toward one of its positions. | |
596.12 | With bypass: | ||
| This subclass is indented under subclass 596. Device including an additional valve to connect the upstream
side of the main valve directly to exhaust so that the fluid does
not pass through a downstream port of the main valve.
SEE OR SEARCH THIS CLASS, SUBCLASS:
| |||
596.13 | Controlled by supply or exhaust valve: |
| This subclass is indented under subclass 596.12. Device wherein the supply and exhaust valve controls the fluid flow to or through the by-pass valve. | |
596.14 | Pilot-actuated: | ||
| This subclass is indented under subclass 596. Device in which the valves are actuated by fluid pressure
motive means controlled by an auxiliary or pilot valve.
SEE OR SEARCH CLASS:
| |||
596.15 | Common to plural valve motor chambers: |
| This subclass is indented under subclass 596.14. Device in which a single pilot valve controls a plurality of valve actuating motor chambers. | |
596.16 | Electric: |
| This subclass is indented under subclass 596.14. Device in which the pilot valve is operated by electric motive means. | |
596.17 | Motor: |
| This subclass is indented under subclass 596. Device in which a valve is operated by a power driven actuating means. | |
596.18 | Fluid motor: |
| This subclass is indented under subclass 596.17. Device in which the motor is actuated by a fluid. | |
596.2 | Biased closed: |
| This subclass is indented under subclass 596.1. Devices in which the exhaust valve is biased to closed position. | |
597 | Multiple inlet with multiple outlet: | ||||||
| This subclass is indented under subclass 561. Systems comprising a fluent material branched flow line
having two or more inlets or admission passages and two or more
outlets or exhaust passages, such admission passages and exhaust
passages being joined by one or more fluent material flow lines,
i.e., flow combining followed by flow dividing.
SEE OR SEARCH THIS CLASS, SUBCLASS:
| |||||||
598 | Hydraulic brake line (e.g., hill holders): | ||||
This subclass is indented under subclass 561. Systems comprising a liquid flow passage between the master
cylinder and the brake or slave cylinder, including means in the
line to control the flow of fluid between said cylinders.
SEE OR SEARCH CLASS:
| |||||
599.01 | Dividing into parallel flow paths with recombining: | ||||||||||||||||||||||||||||||||||||||||
This subclass is indented under subclass 561. Subject matter comprising a fluent material branched flow
line having a single inlet or admission passage and a single outlet
or exhaust passage, wherein the admission and the exhaust passages
are being joined by two or more flow lines or valved controlled
flow passages.
SEE OR SEARCH THIS CLASS, SUBCLASS:
SEE OR SEARCH CLASS:
| |||||||||||||||||||||||||||||||||||||||||
599.02 | With fluid coupling (e.g., railway car hose coupling, truck-trailer oil system coupling, etc.) | ||||||||||
This subclass is indented under subclass 599.01. Subject matter comprising a self-sealing device or a separable
flow joint wherein steam or air intervenes between moving members
to transmit pressure and torque or a joint for a conduit adapted
to carry steam or air under pressure such that the escape of steam
or air from the conduit is prevented when the joint is made or broken.
SEE OR SEARCH THIS CLASS, SUBCLASS:
SEE OR SEARCH CLASS:
| |||||||||||
599.03 | System having plural inlets: | ||||||||
| This subclass is indented under subclass 599.01. Subject matter comprising a system having two or more entrance
flow lines wherein at least one entrance flow passage is divided
and recombined.
Figure 1: A typical example of the subject matter. A - Showervalve system; B - Selector valve; C, D - Inlets; E - Outlet; F,G - Flow control valves; H - Flow inlet; J - Bypass inlet; K - Valvedisc element; L - Valve body; M, N - Pair of opposite ports; P,Q - Pair of opposite ports; R - Valve operating handle. SEE OR SEARCH THIS CLASS, SUBCLASS:
SEE OR SEARCH CLASS:
| |||||||||
599.04 | Having digital flow controller: | ||||||||||||||
| This subclass is indented under subclass 599.03. Subject matter wherein at least one of the parallel flow
paths provide a specific flow rate controlled by a valve which is
completely open or closed (the valve itself provides no adjustable
metering). (1) Note. This subclass includes a flow controller
that can be manually set to a numerical value. (2) Note. The flow rate
determining means can be a serial restrictor or restricting means
in the valve itself.
Figure 1: A typical example of the subject matter. A, B- Two sources of binary gas mixtures; C, D - Pressure reducing valves;E - Stabilizing unit; F - Unit for setting proportion between gasmixture from unit "E"; G - Main mixer; H - Controller; J, K - Orificeplates; L - Additional mixer; M - Controller to effect stabilizationof gas pressure upstream of final control element; N - Distributor;P, Q - Two sets of capillary tubes "R"; R - Capillary tubes. SEE OR SEARCH THIS CLASS, SUBCLASS:
SEE OR SEARCH CLASS:
| |||||||||||||||
599.05 | Having digital flow controller: | ||||||||||||
This subclass is indented under subclass 599.01. Subject matter wherein at least one of the parallel flow
paths provide a specific flow rate controlled by a valve which is
completely open or closed (the valve itself provides no adjustable
metering).
SEE OR SEARCH CLASS:
| |||||||||||||
599.06 | Having plural branches under common control for separate valve actuators: | ||||||||||
This subclass is indented under subclass 599.05. Subject matter comprising two or more unique flow restriction
passageways, a valve associated with each passageway, and a single
control for selectively opening any one of the valves and maintaining
each additional valve closed.
SEE OR SEARCH THIS CLASS, SUBCLASS:
SEE OR SEARCH CLASS:
| |||||||||||
599.07 | Electromagnetic or electric control (e.g., digital control, bistable electro control, etc.): | ||||||||||||
This subclass is indented under subclass 599.06. Subject matter wherein at least one valve is operated by
electricity.
SEE OR SEARCH THIS CLASS, SUBCLASS:
SEE OR SEARCH CLASS:
| |||||||||||||
599.08 | With multi way valve having serial valve in at least one branch: | ||||||||
| This subclass is indented under subclass 599.01. Subject matter comprising a single flow regulating or controlling
element at a point where plural lines divide or recombine and further
includes additional flow regulating or controlling elements in at
least one of the parallel flow paths.
Figure 1: A typical example of the subject matter. A - Spoolelement; B, C - Lands slidably mounted in "D" of housing "E"; F- Inlet passage with branches "T" and "S"; G - Outlet passage; H,J - Parallet main orifices; K - Variable secondary orifice in serieswith "L"; L - Passage; M - Serial valve with lands "N" and "P";N, P - Lands; Q, R - Valve bores; S - Branch leading to valve bore"D". SEE OR SEARCH THIS CLASS, SUBCLASS:
SEE OR SEARCH CLASS:
| |||||||||
599.09 | Fluid pressure regulator in at least one branch: | ||||||||||||
| This subclass is indented under subclass 599.01. Subject matter wherein at least one flow passageway includes
a biased open valve that is responsive to its outlet pressure in
a manner that tends to maintain a constant outlet pressure.
Figure 1: A typical example of the subject matter. A - Valvecasing; B - Inlet; C - Outlet; D - Passage (communicates with "B"and "C"; E - Valve body; F -Pressure governor valve; G - Controlrod; H - Valve seat; J - Piston; K - Chamber for sliding "J"; L- Spring (acts on valve body "E" through piston "J" and rod "G";N - Pressure governing screw; P - Flow control valve; Q - Valvebody; R - Valve seat; S - Pressure source; T - Direction switchvalve; V - Check valve; W - Throttle valve with pressure compensator. SEE OR SEARCH THIS CLASS, SUBCLASS:
SEE OR SEARCH CLASS:
| |||||||||||||
599.11 | Flow passage with bypass connection: | ||||||||||||
| This subclass is indented under subclass 599.01. Subject matter comprising a pipe or conduit, in addition
to those for inlet and outlet, for diverting the flow to a device
other than a valve and a connection for returning the flow to the
main pipe or conduit.
Figure 1: A typical example of the subject matter. A - Supportbase; B - Chamber; C - Nipple carries valve housing "D"; D - Housingfor valve mechanism; E - Hollow stem connected to chamber "F"; F- Cleaning agent chamber (other device) with pervious receptacle "T";G - Fluid inlet; H - Nozzle with discharge orifice "J"; J - Dischargeorifice; K - Mixing chamber; L - Ball check valve; M - Containeroutlet; N - Valve controlled conduit; P - Dispensing nozzle; Q -Flexible hose; R - Nozzle "P" perforations; S - Manually operatedrestrictor; T - Pervious receptacle. SEE OR SEARCH THIS CLASS, SUBCLASS:
SEE OR SEARCH CLASS:
| |||||||||||||
599.12 | Including mixing feature: |
| This subclass is indented under subclass 599.11. Subject matter wherein at least one branch includes a device
or arrangement for adding another fluid to the branch fluid.
Figure 1: A typical example of the subject matter. The fluidflows from right to left through main conduit "A" and out of a nozzle"B". A by-pass conduit "D" is connected to inlet "C" and the mainconduit "A". A chemical mixture "E" is disposed in the by-pass conduit"D". A conduit "F" is connected between mixing solution tank "G"and the mixture "E". "H" (a power mixture) together with the controlvalve "J" further regulates amount of liquid by-passed. | |
599.13 | Including flowmeter: |
| This subclass is indented under subclass 599.11. Subject matter wherein at least one branch includes an instrument
for measuring the rate of fluid passing through the branch.
Figure 1: A typical example of the subject matter. A - Manifold;B - Inlet; C - Outlet; D - Gas meter; E - Junction stop cocks; F- Stop cock (by-pass); G - To gas service pipe; H - Gas by-passjunction. Note: The gas by-pass junction "H" fitted with a stopcock "F" interconnects with manifold "A" and this, together withthe junction stop cocks "E", enables the meter to be by-passed. | |
599.14 | Including cleaning, treating, or heat transfer feature: | ||||||||
| This subclass is indented under subclass 599.11. Subject matter comprising a porous article or mass that
serves as a medium for separating from a fluid passed through it,
matter held in suspension, dissolved impurities or coloring matter,
or means for subjecting the fluid to an agent or process, or means
for moving energy in transit due to a temperature difference between
the source and the sink.
Figure 1: A typical example of the subject matter. CLEANINGDEVICE. A - Strainer body portion; B - Fluid inlet; C - Connectionflanges; D - Strainer cartridges; E - Passageway connects "F" withinlet "B"; F - Upper chamber; G - Plug valve (controls fluid to strainer);H - Plug valve lateral passageway; J - Upper support yoke; K - Lowersupport yoke.
Figure 2: A typical example of the subject matter. HEAT TRANSFERDEVICE. A - Main conduit; B - Radiator (heat transfer device); C- Inlet for radiator; D - Outlet for radiator; E - Control valve;F - Electromagnetic control device; G - Thermostat. SEE OR SEARCH THIS CLASS, SUBCLASS:
SEE OR SEARCH CLASS:
| |||||||||
599.15 | Water treatment feature: | ||||||
| This subclass is indented under subclass 599.14. Subject matter comprising means for subjecting water supplied
for commercial and domestic use to the action of an agent or process
to make it safely potable.
Figure 1: A typical example of the subject matter. A - Waterunder pressure; B - Treatment device inlet tubing; C - Inlet totreatment device; D - Treatment device (holds chemical); E - Flowrate valve; F - Inlet shutoff valve; G - Treatment device outlettubing; H - Outlet from treatment device; J - Outlet shutoff valve. SEE OR SEARCH CLASS:
| |||||||
599.16 | Second valve assembly carried by first valve head: | ||||
| This subclass is indented under subclass 599.01. Subject matter wherein a valve head carries the head and
seat of another valve.
Figure 1: A typical example of the subject matter. A - Fluidinlet; B - Fluid outlet; C - Movable accumulator rod; D - Yieldablefoot engages lever "E"; E - Lever; F - Valve lever pivot; G - Accumulatorcontrol valve; H - Control valve pivot; J, K - Control valve ports;L - Control valve hollow interior; M - Self contained check valve(built within valve "G"); N - Spring seated upon plug "Q"; P - Seriesof ports in check valve; Q - Plug; R - Packing gland. SEE OR SEARCH THIS CLASS, SUBCLASS:
| |||||
599.17 | With rotary plug having variable restrictor: | ||
| This subclass is indented under subclass 599.16. Subject matter wherein the first valve head revolves about
its own axis and includes means to adjust parallel flow path.
Figure 1: A typical example of the subject matter. A - Firstvalve body; B - Tapered valve chamber; C - Tapered plug valve element;D - Hollow valved stem; E - Valve cap; F - Coiled spring acts uponthe valve member to keep it seated; G, H - Threaded valve body extensionwith inlet passage; J, K - Thread valved body extension with outletpassage; L, M, N, - Second orifice valve assembly; P - Axial passagein plug element to provide flow to "K"; Q - Axial passage in registrywith "H"; R, S - Variable restrictor. SEE OR SEARCH CLASS:
| |||
599.18 | Carried valve is direct response valve (e.g., check valve, etc.): | ||||||||
This subclass is indented under subclass 599.16. Subject matter wherein the other flow regulating means comprises
a device which automatically limits the flow to a single direction
and is sensitive to the pressure of the fluid.
SEE OR SEARCH THIS CLASS, SUBCLASS:
SEE OR SEARCH CLASS:
| |||||||||
600 | With foam controlling means (e.g., beer, soda faucets): | ||||||||
| This subclass is indented under subclass 599.01. Subject matter having a dividing and obstructing member
in the flow path to cause and/or control foaming of the
fluid.
SEE OR SEARCH THIS CLASS, SUBCLASS:
SEE OR SEARCH CLASS:
| |||||||||
601.01 | With common operator: | ||||||||||||||||||||||||
This subclass is indented under subclass 599.01. Subject matter having at least one valve in each parallel
flow path and wherein both valves are controlled by a single operating means.
SEE OR SEARCH THIS CLASS, SUBCLASS:
SEE OR SEARCH CLASS:
| |||||||||||||||||||||||||
601.02 | Balanced valve: | ||
| This subclass is indented under subclass 601.01. Subject matter wherein the flow regulating means in each
branch is so related to the fluid controlled that the pressure bias
imparted by the line pressure is in equilibrium with respect to
opposing surfaces of the regulating means.
Figure 1: A typical example of the subject matter. In operation,fluid is permitted to pass through the valve by operating lever"H" to rock the shaft "D", thereby lifting each valve n n" simultaneouslyfrom its seat allowing the fluid to flow through passages o o";since the fluid pressure acts on one valve to force it against itsseat and to the other valve to force it from its seat, valves arebalanced between opposing pressures. SEE OR SEARCH CLASS:
| |||
601.03 | Single resilient member actuates or forms plural passages: | ||||||
| This subclass is indented under subclass 601.01. Subject matter wherein a device consisting of an element
capable of returning freely to a previous position, shape, or condition
operates valves in response to the control pressure in parallel
flow paths or the element is a valve means for parallel flow paths.
Figure 1: A typical example of the subject matter. IN GENERAL.A - First conduit; B - Second conduit; C - Third conduit; D - Clampingmechanism; E - Interior passage whose wall defines a plurality ofserrations.
Figures 2, 3, and 4: Typical examples of the subject matter.F - "V"-shaped grooves; G - Projections; H - Flat surfaces (wallof "E" (see Figure 1) defines serrations consisting of "V"-shapedgrooves ("F") having projections ("G") and inner flat surfaces ("H"));J - Clamp body; K - Bottom wall; L - Shaft; M - Cam; N - Passages;P - Passages (Passages "N" and "P" formed due to clamping actionuntil the fluid is completely stopped); Q - Passages formed dueto clamping action for flow of fluid. SEE OR SEARCH THIS CLASS, SUBCLASS:
SEE OR SEARCH CLASS:
| |||||||
601.04 | Valves deform to close passage: | ||||||||
| This subclass is indented under subclass 601.01. Subject matter wherein the flow regulating means with the
help of the increased external pressure alters the shape of the
collapsible and expansible flow paths or conduits by varying degrees
to complete closure.
Figure 1: A typical example of the subject matter. A - Valvehousing (exterior); B, C - Pair of flanged ends; D - Fluid lineinlet end; E, F - Fluid line flanged ends; G - Plurality of fluidtight tubes; H - tube sheets; J - Space for control fluid; K - Controlfluid inlet; L - Valve with a pump; M - Control fluid line; N- Tubewall (uniform); P - Elastomer.
Figures 2, 3a, 3b, and 3c: Typical examples of the subjectmatter. G - Plurality of fluid type tubes; N - Tube wall (uniform);P - Elastomer. SEE OR SEARCH THIS CLASS, SUBCLASS:
SEE OR SEARCH CLASS:
| |||||||||
601.05 | Rotary valve: | ||||
| This subclass is indented under subclass 601.01. Subject matter wherein at least one flow regulating means
includes the head which turns or revolves about its axis to open
and close the regulating means. (1) Note. Valves having rotary
actuator motion to reciprocate a valve or compound rotary and reciprocal motions
(helical or screw thread) are found in other appropriate subclasses
under 601.01.
Figure 1: A typical example of the subject matter. A - Measuringvessel; B, C - Opposite glass walls; D - Vertical partition formingchambers "E" and "F"; G - Cock; H - Tapping-cock; M - Handle whichoperates both "G" and "H". Note: Handle "M" is fixed to the key"I" and passes through slot "K" in the key "L". SEE OR SEARCH THIS CLASS, SUBCLASS:
| |||||
601.06 | Including rigid plate with flexible or resilient seal: |
| This subclass is indented under subclass 601.05. Subject matter wherein the valve head is made of a substantially
flat plate and having an element which is intended to stop leakage between
the plate and an adjacent plate or the housing of the valve and
wherein the element comprises material that deflects under pressure or
under force exerted during the operation of the valve, but returns
to its original state when the pressure or force is removed.
Figure 1: A typical example of the subject matter. A - Damperblades; B - Linkage mechanism to operate "A"; C - Seals. | |
601.07 | Axes of rotation of valves intersect at point: | ||||||||
| This subclass is indented under subclass 601.05. Subject matter wherein a straight line about which each
flow regulating means of a plurality of flow means is conceived
to revolve, cut into one another to share a narrow, localized spot.
Figure 1: A typical example of the subject matter. A - Valvehousing; B - Mounting holes; C - Outer peripheral surface; D - Innerperipheral surface; E, F, G, H - Rotatable shims, each occupiesa space between corresponding vanes J, K, L, and M; J, K, L, M- Connected vanes; N, P - Vane tips rotate within hub "Q"; Q - Hub;R - Bracket carrying actuator "S"; S - Actuator; T - Plunger; V,W - Orifices for fluid inputs to control "T"; X - Shaft controlledor turned by "T"; Y - Crank. In operation, servo controller suppliesfluid to the orifices "V" and "W" so that piston within the actuator"S" is moved back and forth, controlling plunger "T" to obtain desired valveopening. SEE OR SEARCH CLASS:
| |||||||||
601.08 | Axes of rotation parallel: | ||||
| This subclass is indented under subclass 601.05. Subject matter wherein a line about which each flow regulating
means of a plurality of flow means is conceived to revolve, extends
in the same direction, and is equidistant everywhere.
Figure 1: A typical example of the subject matter. A - Airflow regulating assembly for a burner; B - Front main plate; C -Circular center plate; D - Circular rear plate; E - Spacer rodsjoining all plates; F - Control rods; G - Secondary air vanes; H- Observation tubes; J - Tube cover; K - Flow control mechanismconsisting of operating ring "L", central rollers "M", actuatingarm "N", link "P", rack segment "Q", pinion gear "R", and crank handle"S". SEE OR SEARCH CLASS:
| |||||
601.09 | Adjacent plate valves always parallel: | ||||
| This subclass is indented under subclass 601.08. Subject matter wherein the flow regulating means comprising
a substantially flat sheet of uniform thickness and the one immediately
preceding or following are equidistant from each other.
Figure 1: A typical example of the subject matter. A, B- Lower and upper frame members; C - Lateral members; D - Damperblades; E - Blade shafts; F - Support member to actuate blades;G, H, J, K, L - Bell crank levers, operating links, and tie linkmechanism form a parallelogram; M - Air cylinder; N - Couplingrod connected to bell crank levers. SEE OR SEARCH CLASS:
| |||||
601.11 | Adjacent plate valves counter rotate: | ||||||
| This subclass is indented under subclass 601.08. Subject matter wherein the flow regulating means comprising
a substantially flat sheet of uniform thickness and one immediately
preceding or following revolve in opposite direction to each other
or move toward and away from each other.
Figure 1: A typical example of the subject matter. A - Damperassembly; B- Socket swivel unit; C, D - Flanges; E - Cross bar;F - Shank; G - Actuating rod element; H - Damper frame; J, K, L- Damper blades; M - Bearing pins; P, Q, R - Lateral channels; S- Bearing strap; T - Connecting rod; V - Trunion support; W - Rotatabletrunion; X - Blade actuating means. SEE OR SEARCH CLASS:
| |||||||
601.12 | Mechanical movement between actuator and non-rotary valve: | ||||||||||||
| This subclass is indented under subclass 601.01. Subject matter wherein the significance is attributed to
moving parts of the mechanism that transmit definite motion to the
non-revolving component of the flow regulating means or to the regulating
means itself, such that the motion provided at the input (actuator) end
of the mechanism is different in direction or distance traveled
that the motion at the output (valve) end of the mechanism.
Figure 1: A typical example of the subject matter. A - Controllercasing; B - Steam inlet chamber; C - Steam pipe; D - Exhaust chamber;E - Steam outlet; G - Non-rotary poppet valve; H - Lifting stem;J - Valve spring; K - Washer; L - Non-rotary poppet valve; M - Valve stem;N - Valve spring; P - Washer; Q - Cam shaft; R, S - Spindles affordbearing for valve levers; T - Valve lever; V - Lever support cam;W - Valve lever; X - Rotary cam. SEE OR SEARCH THIS CLASS, SUBCLASS:
SEE OR SEARCH CLASS:
| |||||||||||||
601.13 | Fluid actuated or retarded: | ||||||||||
| This subclass is indented under subclass 599.01. Subject matter wherein the significance is attributed to
a valve device in which the opening or closing movement of the valve is
produced or modified by the relative force of gas, liquid, or a
mixture of a solid and liquid in a flowable form acting against
a portion of the valve actuating means.
Figure 1: A typical example of the subject matter. A - Supplyhopper; B - Resistant coating; C, D - Flanges; E - Valve body; F- Air-vacuum line; G - Compression fitting; H - "T" fitting; J -Tube; K - Tube plug; L - Perforations; M - Close fitting rubbertube; N - Flexible coupling; P - Flange; R - Pressure vessel; S- Opening in vessel; T - Three-way valve; V - Line through which vacuumis pulled; W - Air supply line. In operation, air pressure is suppliedthrough "F", "H", "J", and "L", causing the rubber tube "M" to expandinto the position shown by dotted lines, thus closing the openingin "E" and cutting off flow through "A". When "T" is opened, vacuumis pulled through "V", quickly collapsing the tube "M" against "J". SEE OR SEARCH THIS CLASS, SUBCLASS:
SEE OR SEARCH CLASS:
| |||||||||||
601.14 | Electrical actuator: | ||||||
| This subclass is indented under subclass 599.01. Subject matter wherein the position of the valve is moved
by a mechanism powered by electricity, such as a solenoid, motor,
or piezoelectric actuator.
Figure 1: A typical example of the subject matter. A - Fueltank; B - Inlet; C - "T" coupling; D - Tank drain; F - Valve stem;G - Outlet; H - Valve seat; J - Ball check valve; K - Electromagneticcoil; L, N - Conductors; M - Switch; P - Power source. SEE OR SEARCH THIS CLASS, SUBCLASS:
SEE OR SEARCH CLASS:
| |||||||
601.15 | Mechanical movement between actuator and valve: | ||||
| This subclass is indented under subclass 599.01. Subject matter wherein the significance is attributed to
moving parts of the mechanism that transmit definite motion to the component
of the flow regulating means or to the flow regulating means itself,
such that the motion provided at the input (actuator) end of the
mechanism is different in direction or distance traveled than the
motion at the output (valve) end of the mechanism.
Figure 1: A typical example of the subject matter. RESERVEVALVE FOR FUEL TANK: A - Cylindrical casting; B - Screw threadsmatches internal threads of "C"; C - Supply tank; D - Central passage;E - Port; F - Tapered valve to close port "E"; G - Leaf spring;H - Leaf spring free end engaged to screw threaded rod "J"; J -Screw threaded rod; K - Packing gland; L - Packing screw; M - Packingmaterial; N - Internal screw head of lower flow passage. In operation,port "E" is opened by mechanical actuator (screw threaded rod "J"),thereby allowing the fuel to feed from tank "C" through port "E" toinlet passage "D". SEE OR SEARCH THIS CLASS, SUBCLASS:
SEE OR SEARCH CLASS:
| |||||
601.16 | Rotary valve: | ||||||||
| This subclass is indented under subclass 599.01. Subject matter wherein at least one flow path has flow regulating
means which turns on or revolves about its axis that passes through
the regulating means itself.
Figure 1: A typical example of the subject matter. A - Rotarycontrol valve assembly; B - First body member; C - Second body members;D - Axially movable valve; E - Inlet passage; F - Outlet passage;G - Rotary flow-through valve; H - Cross slot in valve "G" to alignwith "F"; J, K - Rotary valve seal rings; L - Set screw (loosenedwhen valve "G" is rotatably adjusted). In operation, valve "G" isrotatable whereby the position of cross slot "H" relative to "F"is selectively adjusted between valve-closed position and valve-openposition. SEE OR SEARCH THIS CLASS, SUBCLASS:
SEE OR SEARCH CLASS:
| |||||||||
601.17 | Butterfly valve: | ||||||||||||||
| This subclass is indented under subclass 601.16. Rotary valve wherein the movable flow control member has
a disk or semicircular clappers shape that rotate centrally and
perpendicularly to open or close the flow passage to regulate the
flow of fluid.
Figure 1: A typical example of the subject matter. A - Butterflyvalve; B - Valve housing; C - Flow passage; D - Valve disc; E -Disc support shaft; F - Resilient seal; G - Flange (to secure pipesections); H - Distribution ring; J - Jet orifices; K - Upstreamradial port; L - Downstream radial port; M - Fluid conduit; N -Valve to control fluid movement. SEE OR SEARCH THIS CLASS, SUBCLASS:
SEE OR SEARCH CLASS:
| |||||||||||||||
601.18 | Having guide or restrictor: | ||
| This subclass is indented under subclass 599.01. Subject matter wherein at least one flow path has means
to change flow direction or impede it without having the intention
of blocking it completely during normal use.
Figure 1: A typical example of the subject matter. A - Controlvalve; C - Inlet (discharge from boiler); D - Steam trap; E, F -Branch pipes; G, H - Contracted or constricted passages. Note: Toinsure the perfect operation of the steam trap, the passages "G"and "H" in the branch pipes "E" and "F" are contracted or constrictedto such an extent in their diameter as to prevent the escape ofsteam with the water. SEE OR SEARCH CLASS:
| |||
601.19 | Manually variable: | ||
| This subclass is indented under subclass 601.18. Subject matter wherein the guide or restrictor can be adjusted
by a human being.
Figure 1: A typical example of the subject matter. A - Couplingdevice; B - Inlet; C - Outlet; D - Body of the device; E - Annularclosing head; F - Removable adapter plate; G - Tubular insert; H- Dovel pins; J, K, L, M - Manually adjustable restrictor assembly;N - Restrictor valve; P - Inlet chamber; Q - Outlet chamber. Inoperation, fluid flowing into the device "A" by way of the inletpipe "B" is trapped in the chamber "P" and its passage into theoutlet chamber "Q" is regulated by the restrictor "N". SEE OR SEARCH CLASS:
| |||
601.2 | Having direct response valve (e.g., check valve, etc.): | ||||
| This subclass is indented under subclass 599.01. Subject matter wherein at least one flow path has a flow
regulating means comprising a device which automatically limits
the fluid flow to a single direction and is sensitive to the pressure
of the fluid.
Figure 1: A typical example of the subject matter. A - Directresponse valve; B - Valve housing; C - Orifice member; D - Flatupstream face of "C"; E - Orifice regulating spring; F - Apex coil;G - Base coil; H - Inlet port; J - Outlet port; K - Plurality ofequally spaced orifices. In operation, to maintain uniform flowthrough valve "A", orifices "K" are closed and opened with increases anddecreases in the pressure differential between "H" and "J". Thiscontrol is provided by closure of "F" against upstream face "D"of the plate "C" with changes in the pressure differential. SEE OR SEARCH THIS CLASS, SUBCLASS:
SEE OR SEARCH CLASS:
| |||||
601.21 | With reverse flow direction: | ||||
This subclass is indented under subclass 601.2. Subject matter wherein the direct response valve is provided
with means causing the stream of fluid to turn completely in opposite path.
SEE OR SEARCH CLASS:
| |||||
602 | Multiple inlet with single outlet: | ||||||||||||||||||||||||
| This subclass is indented under subclass 561. Systems including a fluent material branched flow line having
two or more inlets or admission passages connected to a single outlet
or exhaust passage.
SEE OR SEARCH THIS CLASS, SUBCLASS:
SEE OR SEARCH CLASS:
| |||||||||||||||||||||||||
603 | Faucet attachment: | ||||||||
| This subclass is indented under subclass 602. Systems comprising means at each inlet for attachment to
a faucet, whereby the efflux from the respective faucets, usually
hot and cold water, may be mixed prior to discharge from the single
outlet.
SEE OR SEARCH THIS CLASS, SUBCLASS:
| |||||||||
605 | With flow control: | ||
| This subclass is indented under subclass 602. Systems having means to stop or to regulate the flow of
fluent material in one or more branches.
SEE OR SEARCH THIS CLASS, SUBCLASS:
| |||
606 | Valve in each inlet: | ||||||||
This subclass is indented under subclass 605. Systems in which the flow control means comprises one or
more valves in each inlet branch.
SEE OR SEARCH THIS CLASS, SUBCLASS:
| |||||||||
607 | With common valve operator: | ||||
| This subclass is indented under subclass 606. Systems in which at least one valve in each inlet branch
is connected to a single operating means so as to be operated thereby.
SEE OR SEARCH THIS CLASS, SUBCLASS:
| |||||
613 | Flow path with serial valves and/or closures: | ||||||||||||||||||||||||||
This subclass is indented under subclass 561. Systems comprising a single flow path for a fluent material
having two or more spaced valves, flow controllers or closures therein through
which the fluent material passes serially.
SEE OR SEARCH THIS CLASS, SUBCLASS:
SEE OR SEARCH CLASS:
| |||||||||||||||||||||||||||
614 | Separable flow path section, valve or closure in each: | ||||
| This subclass is indented under subclass 613. Systems in which the flow path includes joined, disconnectible,
sections; one of the valves, flow controllers or closures being retained
with each section.
SEE OR SEARCH THIS CLASS, SUBCLASS:
| |||||
614.01 | Common joint and valve seat faces, or sections joined by closing members: |
| This subclass is indented under subclass 614. Systems in which (1) the faces which seat the valves, flow controllers, or closures, when the sections are disjoined, abut each other when the sections are joined, (2) the valves, flow controllers, or closures, have integral with them that structure which joins the flow path sections. | |
614.02 | Each valve and/or closure operated by coupling motion: | ||||||
| This subclass is indented under subclass 614. Systems in which actuation of each of the valves, flow controllers,
or closures is simultaneous with the joining or disconnecting of
the flow path sections.
SEE OR SEARCH THIS CLASS, SUBCLASS:
SEE OR SEARCH CLASS:
| |||||||
614.03 | Linear motion of flow path sections operates both: |
| This subclass is indented under subclass 614.02. Systems in which the joining or disconnecting includes a linear component of motion of the flow path sections with respect to each other, which linear component results in the operation of both valves, flow controllers or closures. | |
614.04 | Valves actuate each other: |
| This subclass is indented under subclass 614.03. Systems in which the force which moves the valves, flow controllers, or closures is transmitted from one to the other and vice versa. | |
614.05 | Valve- or closure-operated by coupling motion: | ||
| This subclass is indented under subclass 614. Systems in which actuation of one of the valves, flow controllers
or closures is simultaneous with the joining or disconnecting of
the flow path sections.
SEE OR SEARCH CLASS:
| |||
614.06 | Coupling interlocked with valve, or closure or actuator: | ||||
| This subclass is indented under subclass 614. Systems in which the act of joining the flow path sections
and the act of operating one of the valves, flow controllers, or
closures must be performed in a predetermined sequence.
SEE OR SEARCH CLASS:
| |||||
614.11 | Common actuator: |
| This subclass is indented under subclass 613. Systems in which the several valves are operated by a single actuator. | |
614.12 | Delivery cock with terminal valve: |
| This subclass is indented under subclass 614.11. Systems comprising a faucet-type cock having a closure which coacts with either the inlet or outlet end of the cock and is connected with the main cock valve for simultaneous actuation therewith. | |
614.13 | Alternately seating: | ||
| This subclass is indented under subclass 614.11. Systems wherein as one valve is moved toward its closed
position, another valve is simultaneously moved toward its open position.
SEE OR SEARCH THIS CLASS, SUBCLASS:
| |||
614.14 | Biased valve: |
| This subclass is indented under subclass 614.13. Systems in which at least one valve is biased by spring means, gravity or fluid pressure. | |
614.15 | Opposed screw: |
| This subclass is indented under subclass 614.11. Systems in which the valve heads are simultaneously moved toward or away from oppositely directed seats by a common actuator through a right and left hand screw relationship. | |
614.16 | One valve head provides seat for other head: | ||
| This subclass is indented under subclass 613. Systems in which the movable element of one valve forms
the seat for the movable element of another valve.
SEE OR SEARCH THIS CLASS, SUBCLASS:
| |||
614.17 | Also carries head of other valve: |
| This subclass is indented under subclass 614.16. Systems in which a valve comprising a head and seat is carried by and movable with the head of another valve. | |
614.18 | One valve head carries other valve head: |
| This subclass is indented under subclass 613. Systems in which the head portion of one valve is carried by and movable with the head of another valve. | |
614.19 | Biased valve with external operator: |
| This subclass is indented under subclass 613. Systems in which at least one of the valves is biased by spring means, gravity or fluid pressure and which is also provided with an operator therefor which is manually actuatable from outside the system. | |
614.2 | Direct response normally closed valve limits direction of flow: |
| This subclass is indented under subclass 613. Systems in which at least one of the valves is of the check valve type, thereby preventing flow in one direction. | |
614.21 | Coaxial oppositely directed seats: |
| This subclass is indented under subclass 613. Systems in which two valve seats are provided in coaxial relationship, each seat having a separately actuatable head associated therewith. | |
615 | Articulated or swinging flow conduit: | ||||||||||||||||||
| This subclass is indented under subclass 561. Systems comprising a spout, nozzle or similar fluid flow
conduit having two or more sections joined for relative angular
movement in one or more planes whereby the device may be swung or
otherwise caused to assume various delivery or nonuse positions.
SEE OR SEARCH THIS CLASS, SUBCLASS:
SEE OR SEARCH CLASS:
| |||||||||||||||||||
616 | Actuates valve: | ||||||||||
| This subclass is indented under subclass 615. Systems in which relative movement of the sections of the
flow conduit actuates a valve which controls flow through the conduit.
SEE OR SEARCH THIS CLASS, SUBCLASS:
SEE OR SEARCH CLASS:
| |||||||||||
616.3 | Plural motions of valve: | ||
| This subclass is indented under subclass 616. Devices wherein the movement of the flow conduit produces
plural motions of the valve or valve components.
SEE OR SEARCH THIS CLASS, SUBCLASS:
| |||
616.5 | Reciprocating valve: |
| This subclass is indented under subclass 616. Devices wherein the movement of the flow conduit produces reciprocating motion of the valve or valve components. | |
616.7 | Rotary valve: |
| This subclass is indented under subclass 616. Devices wherein the movement of the flow conduit produces rotary motion of the valve or valve components. | |
624.11 | Programmer or timer: | ||||||||||||||||||||||
| This subclass is indented under subclass 561. Subject matter in which an actuating means provides (1)
a continuously repetitive operation of one or more valves, (2) a
single cycle of operation terminating in a position to restart an additional
cycle, which cycle is more complex than a mere opening and closing
of a single valve, or (3) a valve operation brought about at a particular
time of day, or after a particular time delay period, following
initiation of a nonfluid timer.
SEE OR SEARCH THIS CLASS, SUBCLASS:
SEE OR SEARCH CLASS:
| |||||||||||||||||||||||
624.12 | With independent valve controller: | ||
| This subclass is indented under subclass 624.11. Subject matter with means utilized for valve control independent
of the programmer or timer.
SEE OR SEARCH CLASS:
| |||
624.13 | Repeating cycle: |
| This subclass is indented under subclass 624.11. Subject matter in which the actuating means is capable of causing a cycle of operation of one or more valves to be repeated. | |
624.14 | Self-cycling: | ||||||||
| This subclass is indented under subclass 624.13. Subject matter powered by the fluid controlled by the valve.
SEE OR SEARCH THIS CLASS, SUBCLASS:
SEE OR SEARCH CLASS:
| |||||||||
624.15 | Variable: |
| This subclass is indented under subclass 624.13. Subject matter in which means is provided for changing the cycle of operation. | |
624.16 | Attachable and removable element: |
| This subclass is indented under subclass 624.15. Subject matter in which the change is brought about by either attaching or removing an element of the device. | |
624.17 | Adjustable cam: |
| This subclass is indented under subclass 624.15. Subject matter in which the change is brought about by shifting the position of a cam element with respect to another portion of the device. | |
624.18 | Plural, sequential, valve actuations: |
| This subclass is indented under subclass 624.11. Subject matter in which the actuating means causes sequential operations of a single valve or an operation of each of a plurality of valves in sequence. | |
624.19 | Plural trips or trip actuations: | ||
This subclass is indented under subclass 624.18. Subject matter in which the valve or valves, are each biased
toward one position and are latched against the bias, and a trip
or trips, are controlled for releasing the latch.
| |||
624.2 | Variable cycle: |
| This subclass is indented under subclass 624.18. Subject matter in which the sequential operations complete a single cycle of operation (e.g., open and close a valve) and means is provided for changing the cycle. | |
624.21 | Clock alarm mechanism controlled: |
| This subclass is indented under subclass 624.11. Subject matter in which the actuating means includes the alarm mechanism of an alarm clock. | |
624.22 | Biased latch, cam operated: | ||
| This subclass is indented under subclass 624.11. Subject matter including means biasing the valve in one
direction, biased means latching the valve against its bias, and
a cam for moving the latching means against its bias to free the
valve for movement under its bias.
SEE OR SEARCH CLASS:
| |||
624.27 | Line condition change responsive release of valve: |
| This subclass is indented under subclass 561. Device wherein an impediment means is provided to maintain a valve in one position of adjustment, and wherein a means responsive to a change in the fluid condition is effective, upon such change, to remove or disable the impediment means or to override its holding action to permit movement of the valve from the one position. | |
625 | Multi-way valve unit: | ||||||||||
This subclass is indented under subclass 561. Subject matter in which a single valve controlling communication
with three or more flow lines, has its actuator or actuator
so arranged or related as to determine or aid in the determination
of the relative order, duration or magnitude of flow through
each of the several flow lines.
SEE OR SEARCH THIS CLASS, SUBCLASS:
| |||||||||||
625.11 | Sequential distributor or collector type: |
| This subclass is indented under subclass 625. Devices in which a valve unit has a number of outlet ports and a lesser number of inlet ports, usually one, or a number of inlet ports and a lesser number of outlet ports, some of the ports being opened or closed as others close or open. | |
625.12 | Sequentially progressive opening or closing of plural ports: |
| This subclass is indented under subclass 625. Devices in which a plurality of ports are sequentially progressively opened or closed by a valve unit. | |
625.13 | With subsequent closing of first port: |
| This subclass is indented under subclass 625.12. Devices in which the first opened port is subsequently closed by continued movement of the valve unit. | |
625.14 | Flow combining with flow dividing: |
| This subclass is indented under subclass 625.13. Devices comprising two or more inlets or admissions passages and two or more outlets or discharge passages wherein there is flow combining followed by flow dividing. | |
625.15 | Rotary: |
| This subclass is indented under subclass 625.13. Devices which comprise valve units which only rotate. | |
625.16 | Plug: |
| This subclass is indented under subclass 625.15. Devices comprising rotary plugs. | |
625.17 | Selective reciprocation or rotation: |
| This subclass is indented under subclass 625. Devices in which control of flow passages may be obtained by reciprocation or rotation of the valve. | |
625.18 | Plural noncommunicating flow paths: |
| This subclass is indented under subclass 625. Devices having a plurality of distinct conduits or passages, flow through which is so controlled by a single valve unit that flow lines never unite. | |
625.19 | Rotary plug: | ||
| This subclass is indented under subclass 625.18. Devices wherein the valve unit is of the rotary type.
SEE OR SEARCH THIS CLASS, SUBCLASS:
| |||
625.2 | Supply and exhaust: | ||||
| This subclass is indented under subclass 625. Devices comprising a flow line controlled by a valve unit
which has a passage connectible between atmosphere and the downstream
portion of the line, whereby that portion may be completely drained
or fluid therein may escape to waste.
SEE OR SEARCH THIS CLASS, SUBCLASS:
| |||||
625.21 | Rotary valve: |
| This subclass is indented under subclass 625.2. Devices in which the valve unit rotates. | |
625.22 | Plug type: |
| This subclass is indented under subclass 625.21. Devices in which the valve unit is a rotary plug. | |
625.23 | For plural lines: |
| This subclass is indented under subclass 625.22. Subject matter wherein a plurality of lines downstream of the valve will be drained. | |
625.24 | Axial and radial flow: | ||
| This subclass is indented under subclass 625.22. Subject matter having radially and longitudinally extending
passages in the plug.
SEE OR SEARCH CLASS:
| |||
625.25 | Reciprocating valve: |
| This subclass is indented under subclass 625.2. Devices wherein the valve unit reciprocates rectilinearly. | |
625.26 | Combined disk or plug and gate or piston: |
| This subclass is indented under subclass 625.25. Devices wherein the valve unit comprises a disk or plug for controlling one port and a gate or piston for controlling another port. | |
625.27 | Plural disk or plug: |
| This subclass is indented under subclass 625.25. Devices wherein the valve unit comprises a plurality of disk or plug faces, each controlling a different port. | |
625.28 | Dividing into parallel flow paths with recombining: | ||||
| This subclass is indented under subclass 625. Devices comprising a single inlet or admission passage and
a single outlet or exhaust passage, the passages being joined by
a plurality of flow lines or passages controlled by a valve unit.
SEE OR SEARCH THIS CLASS, SUBCLASS:
| |||||
625.29 | Valve with bypass connections: |
| This subclass is indented under subclass 625.28. Devices in which the valve has connections in addition to those for the inlet and outlet to provide for dividing and recombining, e.g., a main passage with a connection for diverting flow to a device other than a valve and a connection for returning the flow to the main passage. | |
625.3 | With metering feature: | ||||
| This subclass is indented under subclass 625.28. Devices having means to vary the flow through the parallel
paths.
SEE OR SEARCH THIS CLASS, SUBCLASS:
| |||||
625.31 | Rotary: |
| This subclass is indented under subclass 625.28. Devices in which the valve unit rotates. | |
625.32 | Plug: |
| This subclass is indented under subclass 625.31. Devices in which the valve unit is a rotary plug. | |
625.33 | Reciprocating: |
| This subclass is indented under subclass 625.28. Devices wherein the valve has a linear motion to and from flow obstructing position. | |
625.34 | Spool: | ||
| This subclass is indented under subclass 625.33. Devices having a spool type valve (i.e., two port controllers
immovably mounted on a single valve stem, said controllers coacting
with co-axial seats).
SEE OR SEARCH THIS CLASS, SUBCLASS:
| |||
625.35 | With internal passage: |
| This subclass is indented under subclass 625.34. Devices wherein one flow path is through the longitudinal axis of the spool, e.g., a hollow spool with flow therethrough. | |
625.36 | Unequal heads: |
| This subclass is indented under subclass 625.34. Devices having port controllers of unequal size generally to partially balance the valve. | |
625.37 | Piston: | ||||
| This subclass is indented under subclass 625.33. Subject matter wherein the valve is of the piston type.
SEE OR SEARCH THIS CLASS, SUBCLASS:
SEE OR SEARCH CLASS:
| |||||
625.38 | With internal flow passage: | ||
| This subclass is indented under subclass 625.37. Subject matter wherein the piston provides an internal flow
passage for the line fluid.
SEE OR SEARCH CLASS:
| |||
625.39 | Sequential opening or closing of serial ports in single flow line: | ||
| This subclass is indented under subclass 625.38. Subject matter including sequential opening or closing of
serial ports in a single flow line.
SEE OR SEARCH CLASS:
| |||
625.4 | Multiple inlet with single outlet: |
| This subclass is indented under subclass 625. Devices wherein a branched flow line has two or more controlled inlets connected to a single outlet. | |
625.41 | Rotary valve: |
| This subclass is indented under subclass 625.4. Devices comprising a rotary valve. | |
625.42 | Selective opening of plural ports: |
| This subclass is indented under subclass 625. Devices in which one direction or kind of movement of the valve unit from an intermediate closed position will open one or a reduced number of a plurality of ports, and another direction or kind of movement of the valve unit will open another, the remaining, or all the ports. | |
625.43 | Four port reversing valves: | ||||
| This subclass is indented under subclass 625. Devices comprising four way valves having an inlet port,
an outlet port and two intermediate ports, the valve being selectively
movable into two positions, in one position the inlet port being
connected to the first intermediate port and the second intermediate
port being connected to the outlet port, and in the other position
the inlet being connected to the second intermediate port and the
first intermediate port being connected to the outlet port.
SEE OR SEARCH THIS CLASS, SUBCLASS:
| |||||
625.44 | Pivoted valve unit: |
| This subclass is indented under subclass 625. Devices in which the valve disk or plug unit swings around the means by which it is mounted with respect to the valve seats or casing and thereby controls two or more branched flow passages. | |
625.45 | Gate: |
| This subclass is indented under subclass 625.44. Devices in which the valve moves transversely of the controlled flow passages. | |
625.46 | Rotary valve unit: |
| This subclass is indented under subclass 625. Devices comprising a valve head which rotates about its axis and has a flow passage within it, and wherein two or more branched flow passages are controlled. | |
625.47 | Plug: |
| This subclass is indented under subclass 625.46. Devices comprising a plug type body in which the flow passage has an inlet or outlet transverse to the axis of rotation and which forms a seat contacting portion. | |
625.48 | Reciprocating valve unit: |
| This subclass is indented under subclass 625. Devices in which the valve unit moves rectilinearly to and from seats of controlled passages and thereby controls two or more branched flow passages. | |
625.49 | Combined disk or plug and gate or piston: | ||
| This subclass is indented under subclass 625.48. Devices wherein the valve unit comprises a disk or plug
for closing one port and a gate or piston for closing another.
SEE OR SEARCH THIS CLASS, SUBCLASS:
| |||
625.5 | Plural disk or plug: |
| This subclass is indented under subclass 625.48. Devices comprising oppositely facing seating surfaces for co-axially aligned seats. | |
625.6 | Pilot-actuated: | ||
| This subclass is indented under subclass 625.2. Device in which the valve unit is actuated by a fluid pressure
motive means controlled by an auxiliary or pilot valve.
SEE OR SEARCH CLASS:
| |||
625.61 | Variable orifice-type modulator: | ||
| This subclass is indented under subclass 625.6. Device wherein the valve actuating mechanism is connected
to a fluid pressure line and responsive to pressure differentials
therein to move the valve, and wherein the pilot includes a constantly
discharging opening connected to the line, and a modulating restrictor
adjacent the opening and movable to and from the opening to vary
the rate of flow and modify the pressure to thereby actuate the
valve.
SEE OR SEARCH THIS CLASS, SUBCLASS:
| |||
625.62 | Opposed orifices; interposed modulator: |
| This subclass is indented under subclass 625.61. Device having two lines, each having an opening discharging toward the other, and wherein the restrictor is located between the orifices and movable to lower the pressure in one line and increase the pressure in the other. | |
625.63 | Common to plural valve motor chambers: |
| This subclass is indented under subclass 625.6. Device in which a single pilot valve controls a plurality of valve actuating motor chambers. | |
625.64 | Electric: |
| This subclass is indented under subclass 625.6. Device in which the pilot valve is operated by electric motive means. | |
625.65 | Motor-operated: |
| This subclass is indented under subclass 625.2. Device in which the valve unit is operated by a power driven actuating mechanism. | |
625.66 | Fluid motor: |
| This subclass is indented under subclass 625.65. Device in which the motor is actuated by a fluid. | |
625.67 | Piston valve: |
| This subclass is indented under subclass 625.25. Device wherein the valve unit is a reciprocating piston. | |
625.68 | With internal flow passage: |
| This subclass is indented under subclass 625.67. Device wherein the piston has a flow passage within it for the line fluid. | |
625.69 | With annular passage (e.g., spool): |
| This subclass is indented under subclass 625.67. Device wherein an annular exterior flow passage for the line fluid is provided between adjacent seat engaging heads. | |
626 | Plural petcocks: | ||||||||
This subclass is indented under subclass 561. Subject matter in which two or more valves of the type normally
actuated by turning a relatively small thumb piece have means interrelating
the motions of these thumb pieces.
SEE OR SEARCH THIS CLASS, SUBCLASS:
SEE OR SEARCH CLASS:
| |||||||||
627 | Sequential distributor or collector type: | ||||||||||||||
| This subclass is indented under subclass 561. Subject matter in which the plural valves are of the distributor
type, i.e., comprise a number of valve-controlled outlets and a
lesser number of inlets, usually one, or a number of valve-controlled
inlets and lesser number of outlets, some of the valves of the larger
number opening or closing as others close or open.
SEE OR SEARCH THIS CLASS, SUBCLASS:
SEE OR SEARCH CLASS:
| |||||||||||||||
627.5 | Sequentially closing and opening alternately seating flow controllers: | ||
| This subclass is indented under subclass 561. Devices wherein an actuator moves one valve from an open
to a closed position after which the same actuator moves another
valve from a closed to an open position.
SEE OR SEARCH THIS CLASS, SUBCLASS:
| |||
628 | Sequentially progressive opening or closing of plural valves: | ||||||||
| This subclass is indented under subclass 561. Subject matter in which two or more valves are so arranged
or actuated that one valve starts to open or close prior to another
concurrently opening or closing valve.
SEE OR SEARCH THIS CLASS, SUBCLASS:
SEE OR SEARCH CLASS:
| |||||||||
629 | Pressure equalizing or auxiliary shunt flow: | ||||||
This subclass is indented under subclass 628. Subject matter in which the valves are located in flow passages
which are connected in parallel.
SEE OR SEARCH THIS CLASS, SUBCLASS:
| |||||||
630 | One valve seats against other valve (e.g., concentric valves): | ||||||||
This subclass is indented under subclass 629. Subject matter in which one valve is arranged to control
a passage through the other valve element.
SEE OR SEARCH THIS CLASS, SUBCLASS:
SEE OR SEARCH CLASS:
| |||||||||
630.11 | Locomotive throttle: |
| This subclass is indented under subclass 630. Systems which are disclosed, or structurally limited, for use in steam locomotives to control the feeding of steam to the motor means. | |
630.12 | Gate: |
| This subclass is indented under subclass 630. Systems in which at least one of the valves has a reciprocatory, rectilinear motion substantially normal to the fluid path. | |
630.13 | With balancing chamber: | ||
| This subclass is indented under subclass 630. Systems in which a pilot valve controls line pressure in
a separate chamber which balances, or tends to balance the pressure
differential across the second opened valve.
SEE OR SEARCH CLASS:
| |||
630.14 | First valve moves second valve: |
| This subclass is indented under subclass 630. Systems in which a structure rigidly connected to a first opened valve head engages structure rigidly connected to a second valve head so that continued motion of the first valve operator subsequently causes the second valve head to be positively opened. | |
630.15 | Actuator moves both valves: |
| This subclass is indented under subclass 630. Systems in which a continuous motion of the actuator causes the actuator to engage and open one valve and then to engage and open a second valve. | |
630.16 | With subsequent closing of first opened port: |
| This subclass is indented under subclass 628. Systems in which, after the sequentially actuated valves are opened, the first opened valve is closed. | |
630.17 | Simultaneously moved port controllers: |
| This subclass is indented under subclass 630.16. Systems in which the valves are so related to each other that motion of one is necessarily accompanied by motion of the other, or others. | |
630.18 | Screw-actuated differential valves: |
| This subclass is indented under subclass 628. Systems in which (1) at least one of the valves is screw actuated and the remaining valve or valves are biased so that as the screw is actuated one of the valves is moved to or from its seated position and further actuation of the screw in the same direction then moves the remaining valve or valves, against the bias, to or from the seated position, or (2) both valves are screw actuated by a common operator and a lost motion connection is provided between the two movable valve elements or between one of the valve elements and its screw actuator. | |
630.19 | Lost motion: | ||
| This subclass is indented under subclass 628. Systems in which there is provided a lost motion connection
between the actuating means and one or more of the valves so that
a continuous motion of the actuating means causes first one and
then other valves to sequentially open or close.
SEE OR SEARCH THIS CLASS, SUBCLASS:
| |||
630.2 | Cam determines sequence: | ||
| This subclass is indented under subclass 630.19. Systems in which cam means, usually between the actuator
and the valves, compels the sequential actuation of the valves.
SEE OR SEARCH THIS CLASS, SUBCLASS:
| |||
630.21 | Rotary concentric valves: |
| This subclass is indented under subclass 630.19. Systems in which the valves rotate about a common axis, one valve having relative motion with respect to and within the other, and having a lost motion connection between one of the valves and the actuator, or the other valve. | |
630.22 | First valve actuates second valve: |
| This subclass is indented under subclass 630.19. Systems in which a subsequently operated valve is actuated by being contacted by the first or prior actuated valve, but not by the prior valve"s actuator. | |
635 | With preselecting means for plural valve actuator: | ||
This subclass is indented under subclass 561. Subject matter in which a preliminary adjustment of the
actuator mechanisms, not a part or its actuating motion, determines
the number or sequence of valves to be actuated.
| |||
636 | With selective motion for plural valve actuator: |
| This subclass is indented under subclass 561. Subject matter in which one direction or kind of movement given a single actuator will operate one or a reduced number of a plurality of valves in either an opening or closing direction and another direction or kind of movement given the actuator will operate another, the remaining or all the valves in either an opening or closing direction. | |
636.1 | Oppositely movable cam surfaces: | ||
| This subclass is indented under subclass 636. Devices which select by means of oppositely movable or usable
cam or eccentric surfaces.
SEE OR SEARCH THIS CLASS, SUBCLASS:
| |||
636.2 | Rotation about either of two pivotal axes: |
| This subclass is indented under subclass 636. Devices in which the movements are rotation of the actuator arm about either of two pivots or pivotal axes. | |
636.3 | Rotation of actuator arm about its pivot and its axis: |
| This subclass is indented under subclass 636. Devices in which one movement is rotation of the actuator arm about its pivot and another is rotation about its axis. | |
636.4 | Reciprocation along and rotation about same axis: |
| This subclass is indented under subclass 636. Devices in which the movements are reciprocation of the actuator along, and rotation of it, about its axis. | |
637 | Valves with separate, correlated, actuators: |
| This subclass is indented under subclass 561. Subject matter in which a plurality of valves or valve groups each are provided with individual, but particularly related actuator mechanisms. | |
637.05 | Correlated across separable flow path joint: | ||
| This subclass is indented under subclass 637. Subject matter wherein the valves, or valve groups, are
located at opposite sides of a separable joint in the flow path,
and the particular relationship between the actuators includes a feature
of separability of the joint.
SEE OR SEARCH THIS CLASS, SUBCLASS:
| |||
637.1 | Interlocked: | ||||
| This subclass is indented under subclass 637. Devices having plural actuators with interlocking means
therebetween, whereby the actuation of one valve is prerequisite
to the actuation of another or additional valves, or whereby the opening
of one valve precludes the opening of another until such time as
the first opened valve has been closed.
SEE OR SEARCH THIS CLASS, SUBCLASS:
SEE OR SEARCH CLASS:
| |||||
637.2 | Coaxial stems: |
| This subclass is indented under subclass 637. Subject matter in which at least two independently actuable valves are provided with stem type actuators, each of which move about or along a common axis. | |
637.3 | Rotary: |
| This subclass is indented under subclass 637.2. Subject matter in which at least one of the coaxial stem valves pivots about a fixed axis to open or close a fluid path or paths (e.g., plug valves, butterfly valves, etc.). | |
637.4 | And reciprocating: |
| This subclass is indented under subclass 637.3. Subject matter in which the other coaxial stem valve has a rectilinear motion with respect to its seat or port. | |
637.5 | Concentric, central valve removable: | ||
| This subclass is indented under subclass 637.3. Subject matter in which a rotary plug valve is within an
outer concentric, separately actuated, rotary plug valve and so
constructed that the central valve may be removed for repair or other
purposes without disturbing the outer valve.
SEE OR SEARCH THIS CLASS, SUBCLASS:
| |||
797 | FRANGIBLE: | ||||
| This subclass is indented under the class definition. Subject matter wherein the device includes an element designed
to rupture or break where a force of a magnitude greater than a
predetermined value is applied thereto.
SEE OR SEARCH THIS CLASS, SUBCLASS:
SEE OR SEARCH CLASS:
| |||||
798 | WITH COUPLING: | ||||
| This subclass is indented under the class definition. Subject matter wherein the device includes a connecting
means to join two or more flow lines in fluid conducting relation.
SEE OR SEARCH CLASS:
| |||||
799 | Flexible: | ||||||
This subclass is indented under subclass 798. Subject matter wherein the coupling is capable of flexing,
bending or bowing.
SEE OR SEARCH THIS CLASS, SUBCLASS:
SEE OR SEARCH CLASS:
| |||||||
800 | WITH CLOSURE: | ||||||||||||||||
| This subclass is indented under the class definition. Subject matter wherein the device is provided with removable
cap or similar closing means.
SEE OR SEARCH THIS CLASS, SUBCLASS:
SEE OR SEARCH CLASS:
| |||||||||||||||||
801 | FAUCETS AND SPOUTS: | ||||||||||||
| This subclass is indented under the class definition. Subject matter wherein the device is provided with a fluid
inlet or outlet in the form of a nozzle or spout which discharges
the effluent in a desired direction or with a desired pattern or
admits and directs it into a receiver of which it forms a part.
SEE OR SEARCH THIS CLASS, SUBCLASS:
SEE OR SEARCH CLASS:
| |||||||||||||
802 | MISCELLANEOUS: | ||||||||||
This subclass is indented under the class definition. Devices not hereinbefore provided for.
SEE OR SEARCH THIS CLASS, SUBCLASS:
SEE OR SEARCH CLASS:
| |||||||||||
803 | FLOW AFFECTED BY FLUID CONTACT, ENERGY FIELD OR COANDA EFFECT (E.G., PURE FLUID DEVICE OR SYSTEM): | ||||||||||||||||||||||||||||||||||
This subclass is indented under the class definition. Subject matter wherein movement of a stream of fluid is
controlled by one or more devices, at least one of the devices having
the following characteristics:(A) the stream is caused to flow into
the device through a passage or along a path of flow, or the stream
is caused to flow in a predetermined condition or amount of flow
into the device; (B) the stream is caused to flow out of the device
through a passage or along a path of flow, and the stream is diverted
to flow out of the device through a different passage or along a
different path of flow, or the stream is caused to flow in an altered
condition or amount of flow out of the device; (C) the diversion
of alteration (referred to in (B) above) is caused by one or more
of the following,(1) direct contact of at least one other stream
of fluid with the inflow stream, or (2) application of an energy
field directly to the inflow stream, or (3) application of the Coanda effect.
SEE OR SEARCH CLASS:
| |||||||||||||||||||||||||||||||||||
| GLOSSARY | |||||||||||||||||||||||||||||||||||
| CONTROL INPUT | |||||||||||||||||||||||||||||||||||
|
Stream or energy field, referred to in the subclass definition, (C) (1) and (C) (2) above, that causes the diversion or alteration of the output stream. | |||||||||||||||||||||||||||||||||||
| PASSAGE | |||||||||||||||||||||||||||||||||||
|
Channel or duct that surrounds and guides a stream of fluid or energy in a desired path or direction. | |||||||||||||||||||||||||||||||||||
| POWER INPUT | |||||||||||||||||||||||||||||||||||
|
Stream, referred to in the subclass definition, (A), above, that flows into the devices. | |||||||||||||||||||||||||||||||||||
| POWER OUTPUT | |||||||||||||||||||||||||||||||||||
|
Stream, referred to in in the subclass definition, (B), above, that flows out of the device; | |||||||||||||||||||||||||||||||||||
804 | Responsive to condition external of system: | ||||
This subclass is indented under subclass 803. Device or system which senses or detects or which is provided
with additional means to sense or detect, a characteristic or state
of the environment outside of said device or system, and which generates
a signal or impulse as a result of such sensing or detecting.
SEE OR SEARCH CLASS:
| |||||
805 | And causing change or correction of sensed condition: |
| This subclass is indented under subclass 804. Device or system wherein the signal or impulse activates said device or system or activates another mechanism for the purpose of varying the characteristic or state of the environment or for the purpose of restoring the characteristic or state of the environment to that which is desired. | |
806 | Utilizing diverse fluids: | ||||
| This subclass is indented under subclass 803. Device or system involving the use therein of two or more
different fluids or of fluids having different characteristics.
SEE OR SEARCH THIS CLASS, SUBCLASS:
SEE OR SEARCH CLASS:
| |||||
807 | Utilizing particular fluid: | ||
| This subclass is indented under subclass 803. Device or system involving the use therein of a specific
fluid or a fluid having specific characteristics.
SEE OR SEARCH THIS CLASS, SUBCLASS:
| |||
808 | Means to cause rotational flow of fluid (e.g., vortex generator): | ||
This subclass is indented under subclass 803. Device or system provided with means to compel any of the
streams of fluid to turn about an axis in a generally circular (i.e., "vortex")
path.
| |||
809 | Plural vortex generators: | ||
This subclass is indented under subclass 808. Device or system provided with two or more of said means
for a corresponding number of streams.
| |||
810 | Vortex generator as control for system: | ||
| This subclass is indented under subclass 808. Device or system wherein said means is a subcombinational
element in an array of fluidic devices forming a fluidic system,
and said means regulates the inflow or outflow of fluid to or from
said array.
SEE OR SEARCH THIS CLASS, SUBCLASS:
| |||
811 | Vortex generator in interaction chamber of device: | ||||
This subclass is indented under subclass 808. Device wherein said means is part of the common zone referred
to in the definition of subclass 834 or subclass 841.
SEE OR SEARCH THIS CLASS, SUBCLASS:
| |||||
812 | By tangential input to axial output (e.g., vortex amplifier): | ||
This subclass is indented under subclass 808. Device wherein the flow of fluid into the device is along
a straight line that is substantially perpendicular to a radius
line from said axis, and the flow of fluid out of the device is along
said axis.
| |||
813 | With means to vary input or output of device: | ||||
This subclass is indented under subclass 812. Device provided with means to alter the flow of any of the
streams of fluid into or out of the device.
SEE OR SEARCH THIS CLASS, SUBCLASS:
| |||||
814 | System comprising plural fluidic devices or stages: | ||||||
This subclass is indented under subclass 803. Subject matter provided with two or more devices of the
type defined there, or provided with a housing having therein two
or more groups of passages for fluid flow, each of which groups
acts as a fluidic device.
SEE OR SEARCH THIS CLASS, SUBCLASS:
| |||||||
815 | Plural power inputs (e.g., parallel inputs): | ||||
This subclass is indented under subclass 814. System provided with two or more passages for a corresponding
number of streams of power input fluid, each said passage leading
to its own device.
SEE OR SEARCH THIS CLASS, SUBCLASS:
| |||||
816 | Variable or different-value power inputs: | ||
This subclass is indented under subclass 815. System wherein at least one of the streams of power input
fluid can be regulated or altered relative to another, or wherein
at least one of the streams is unequal to another.
| |||
817 | Pulsating power input and continuous-flow power input: |
| This subclass is indented under subclass 816. System wherein at least one of the streams of power input fluid is in the form of a series of short bursts of fluid timed in a predetermined sequence or duration, and at least another of the streams is an uninterrupted stream of power input fluid, the two different streams being applied simultaneously to the system. | |
818 | With variable or selectable source of control-input signal: | ||
| This subclass is indented under subclass 815. System provided with a supply of control input fluid for
at least one of said devices, which supply can be regulated or altered,
or wherein the supply that is used for control purposes can be chosen
from a plurality of supplies available.
SEE OR SEARCH THIS CLASS, SUBCLASS:
| |||
819 | To cascaded plural devices: | ||
This subclass is indented under subclass 815. System provided with two or more fluidic devices arranged
in a series array, and also provided with a connection from a power
output passage of a first of said devices to a control input passage
of a second of said devices that is downstream of said first device.
| |||
820 | With feedback passage(s) between devices of cascade: | ||||
This subclass is indented under subclass 819. System further provided with a connection from a power output
passage of said second (i.e., downstream) device to a control input passage
of said first device, whereby at least a portion of the power output
fluid of the second device will affect the control input of the
first device.
SEE OR SEARCH THIS CLASS, SUBCLASS:
| |||||
821 | With pulsed control-input signal: | ||
This subclass is indented under subclass 819. System wherein at least one of the fluidic devices has control
input that is in the form of a series of short bursts of fluid timed
in a predetermined sequence or duration.
| |||
822 | Plural power inputs to single device: | ||||||
This subclass is indented under subclass 803. Device provided with only one (as claimed in the patent
thereto) fluidic device, and further provided with two or more passages
each supplying a stream of power input fluid to that device.
SEE OR SEARCH THIS CLASS, SUBCLASS:
SEE OR SEARCH CLASS:
| |||||||
823 | Intersecting at interaction region (e.g., comparator): | ||||
This subclass is indented under subclass 822. Device wherein each said passage lies along a separate line,
and said lines converge at a zone common to all the lines, and the
streams are directed toward said common zone.
| |||||
824 | Co-lineal, oppositely-directed power inputs (e.g., impact modulator): | ||||
This subclass is indented under subclass 823. Device wherein said separate lines merge into a single line
common to both said passages, and said streams impinge against one
another coaxially in said common zone.
| |||||
825 | Means to regulate or vary operation of device: | ||||
This subclass is indented under subclass 803. Device provided with means that is additional to the fluidic
device, which means causes a change in the output stream of the
device.
SEE OR SEARCH THIS CLASS, SUBCLASS:
| |||||
826 | To vary frequency of pulses or oscillations: |
| This subclass is indented under subclass 825. Device wherein the output stream of the device is in the form of a succession of bursts of fluid issuing from a single outlet or issuing alternatively from two or more outlets, and wherein the change that is produced is a change in the time interval of or between said bursts of fluid. | |
827 | By non-fluid energy field affecting input (e.g., transducer): | ||||
This subclass is indented under subclass 825. Device wherein said means causes the generation of force
other than the force of a stream of fluid, said force causing a
change in the output stream.
| |||||
828 | Acoustical or thermal energy: | ||||
This subclass is indented under subclass 827. Device wherein the force comprises sound waves or heat waves.
SEE OR SEARCH CLASS:
| |||||
829 | By movable element: | ||
This subclass is indented under subclass 825. Device wherein said means is a member that can move relative
to the passages provided for flow of fluid.
| |||
830 | Operating at timed intervals (e.g., to produce pulses): |
| This subclass is indented under subclass 829. Device wherein the movement of said member occurs at a particular frequency to cause a succession of bursts of fluid to be emitted. | |
831 | Electrically-actuated element (e.g., electro-mechanical transducer): | ||
This subclass is indented under subclass 829. Device wherein the movement of the member is caused by electrical
energy.
| |||
832 | Means (e.g., valve) in control input: | ||||
This subclass is indented under subclass 829. Device wherein said member is a means located in or adjacent
to the control input passage that supplies fluid for diverting the
power input stream (referred to in definition of subclass 803).
| |||||
833 | Structure of body of device: | ||||
This subclass is indented under subclass 803. Device wherein the device is provided with a housing having
passages therein for guiding the flow of fluid from input to output
and wherein the claimed disclosure of the patent pertains to the
manufactured elements that comprise the device or the manner in
which the elements are assembled to form the device.
SEE OR SEARCH CLASS:
| |||||
834 | Device including passages having V over T configuration: | ||||
This subclass is indented under subclass 803. Device provided with at least five passages joined at a
zone common to all the passages, including a first passage permitting
entry into said common zone of a power input stream of fluid, a
second passage and a third passage permitting entry into said common
zone of control input signals (i.e., stream of fluid or energy field),
said second and third passages being substantially opposed to one
another and substantially perpendicular to said first passage and
the three passages thus forming approximately a letter "T";
and also including a fourth passage and a fifth passage permitting
exit from said common zone of power output fluid, said fourth and
fifth passages diverging substantially oppositely away from said
first passage and said common zone and thus forming approximately
a letter "V"; the overall arrangement of passages
thus forming a "V" joined to a "T" at
the common juncture of zone.
| |||||
835 | And feedback passage(s) or path(s): | ||||
This subclass is indented under subclass 834. Device further provided with means permitting at least a
portion of the fluid exiting from said common zone via said fourth
or fifth passage to be diverted from its exit passage and returned to
said common zone.
SEE OR SEARCH THIS CLASS, SUBCLASS:
| |||||
836 | With particular characteristics of control input: | ||
This subclass is indented under subclass 834. Device wherein said second and third passages have special
structure or configuration or peculiarity of operation.
| |||
837 | Multiple control-input passages: |
| This subclass is indented under subclass 836. Device wherein the special structure includes a plurality of second passages or a plurality of third passages, the number of passages permitting control-input signal to enter the common zone thus being three or more. | |
838 | And multiple or joined power-outlet passages: | ||
This subclass is indented under subclass 834. Device provided with a plurality of fourth passages or a
plurality of fifth passages, the number of passages diverging away
from said common zone permitting fluid to exit from said zone being
three or more, or provided with fourth and fifth passages that come
to a second common zone downstream of the first common zone.
| |||
839 | And enlarged interaction chamber: | ||||
This subclass is indented under subclass 834. Device wherein said common zone is greater in size than
would normally be required for passage of fluid therethrough, or
wherein the walls forming the common zone are particularly disclosed
as having a specified configuration.
SEE OR SEARCH THIS CLASS, SUBCLASS:
| |||||
840 | And vent passage(s): |
| This subclass is indented under subclass 834. Device further provided with a sixth passage joining any of said other passages or said common zone to ambient surroundings for the purpose of "bleeding" excess pressure within the device. | |
841 | Device including passages having V over gamma configuration: | ||||
This subclass is indented under subclass 803. Device provided with at least four passages joined at a
zone common to all the passages, including a first passage permitting
entry into said common zone of a power input stream of fluid and
a second passage permitting entry into said common zone of control
input signals (i.e., stream of fluid or energy field), said first and
second passages being angularly related and thus forming approximately
ar (Greek letter "Gamma") or an inverted letter "L";
and also including a third passage and a fourth passage permitting
exit from said common zone of power outlet fluid, said third and
fourth passages diverging substantially oppositely away from said
first passage and said common zone and thus forming approximately
a letter "V"; the overall arrangement of passages
thus forming a "V" joined to ar at the common
juncture or zone.
| |||||
842 | Device including linearly-aligned power stream emitter and power stream collector: | ||||
This subclass is indented under subclass 803. Device provided with at least two passages joined at a zone
common to both passages, including a first passage permitting entry
into said common zone of a power input stream of fluid and a second
passage permitting exit from said common zone of a power output
stream of fluid, said passages each extending along a line common
to both passages.
SEE OR SEARCH CLASS:
| |||||
843 | Resilient material valve: | ||
This subclass is indented under subclass 511. Valve in which the valve member or the valve seat is made
of resilient easily deformable material which yields in response
to pressure to open the valve. The restoring force of the resilient
material constitutes a major component of the biasing means.
| |||
844 | Having expansible port: |
| This subclass is indented under subclass 843. Valve wherein the valve member comprises a resilient body which has a passage therethrough which passage expands to an open position when fluid pressure is applied to the body and retracts upon itself into a closed position when pressure is removed to thus seal the passage against fluid flow. | |
845 | Apertured plate: |
| This subclass is indented under subclass 844. Valve wherein the resilient body is a substantially flat plate-like member having an expansible orifice formed therethrough. | |
846 | Having exit lip: |
| This subclass is indented under subclass 844. Valve wherein the resilient body has a fluid passage therethrough a portion of which is substantially nondeformable, which passage terminates in an expansible port at the point where the fluid flows from the body. | |
847 | With biasing means: |
| This subclass is indented under subclass 846. Valve wherein closing of the exit lip is effected or facilitated by an additional force applying means. | |
848 | Side vent: |
| This subclass is indented under subclass 846. Valve wherein the fluid passage is provided with a laterally disposed outlet port. | |
849 | Multiple slit: | ||
This subclass is indented under subclass 846. Valve wherein the expansible port is formed as a plurality
of cuts in the resilient body.
| |||
850 | Internally extending mount: |
| This subclass is indented under subclass 846. Valve wherein the nondeformable portion of the passage has a rigid tubular supporting element inserted therein. | |
851 | Center flexing strip: |
| This subclass is indented under subclass 843. Valve wherein the resilient material valve includes an elongated member which is confined or retained at each of its ends to thus limit deformation to its central region. | |
852 | With valve member flexing about securement: |
| This subclass is indented under subclass 843. Valve wherein a portion of the resilient member is fixed to a substantially rigid mounting means about which at least part of the remainder of the resilient member bends or distorts towards or away from contact with a valve seat with which the resilient member coacts to produce a desired valving action upon variations in fluid pressure. | |
853 | Sleeve: |
| This subclass is indented under subclass 852. Valves in which the resilient member is an axially extending tubular element which flexes radially with respect to its mounting means. | |
854 | Central mount: |
| This subclass is indented under subclass 852. Valves in which the resilient member is secured at its center and the periphery flexes about said securement. | |
855 | Flap or reed: |
| This subclass is indented under subclass 852. Valve wherein the resilient member is fixed at a single location along its periphery and wherein the free portion of the member bends about this location to produce the desired valving action. | |
856 | With stop: |
| This subclass is indented under subclass 855. Valve wherein an abutment is located in close proximity to said resilient member to restrict the travel of said member as it moves from a closed to an open position. | |
857 | With spring: |
| This subclass is indented under subclass 855. Valve wherein a resilient, energy storing, bias means is provided. | |
858 | With weight: |
| This subclass is indented under subclass 855. Valve which, in addition to the restoring force of the resilient material is provided with a mass of material which due to the force of gravity acts to bias the resilient member towards its valve seat. | |
859 | Peripherally secured diaphragm: |
| This subclass is indented under subclass 852. Valve wherein said valve member is in the form of a resilient disc which is secured around its entire periphery. | |
860 | Annulus: | ||
This subclass is indented under subclass 843. Valve wherein the resilient member is in the form of a ring
which is carried by but not secured to a mounting and which either
slides along or freely expands with respect to the mounting.
| |||
861 | With flow control means for branched passages: | ||||||||||||||
This subclass is indented under subclass 561. System wherein an array of branched fluent material flow
passages is provided with means to stop or regulate the flow in
more than one branch, which means may comprise (1) multiple valves,
(2) a deflector or valve located at a junction and operable to open
one passage and close or restrict the flow from the other, or (3)
a single valve controlling one outlet flow path, the hydrostatic
characteristics of the system being such that the entire flow passes
through the valved line when it is fully open.
SEE OR SEARCH THIS CLASS, SUBCLASS:
SEE OR SEARCH CLASS:
| |||||||||||||||
862 | With common valve operator: | ||||||||||
| This subclass is indented under subclass 861. Systems wherein a plurality of branches in the branched
array are each provided with a separate flow control means and means
to coordinate the actuation of the separate flow control means.
SEE OR SEARCH THIS CLASS, SUBCLASS:
SEE OR SEARCH CLASS:
| |||||||||||
863 | For valve having a flexible diaphragm valving member: |
| This subclass is indented under subclass 862. Systems in which at least one flow control means comprises a pliant member which flexes relative to a rigid surface to control flow therebetween. | |
864 | For valve having a ball head: |
| This subclass is indented under subclass 862. Systems comprising at least one flow control means which employs a substantially spherical member to regulate flow. | |
865 | With gearing: |
| This subclass is indented under subclass 862. Systems wherein the means to coordinate the actuation of the flow control means includes relatively movable toothed members which transmit motion to the flow control means by meshing of the teeth during travel of the members. | |
866 | Threaded actuator: | ||
| This subclass is indented under subclass 862. Systems wherein the means to coordinate the actuation of
the flow control means includes a member having a helical rib, which
member reciprocates as a result of rotary motion applied thereto.
SEE OR SEARCH CLASS:
| |||
867 | Pivoted or rotary motion converted to reciprocating valve head motion: |
| This subclass is indented under subclass 862. System comprising a flow control means in which swinging or turning motion of a member is mechanically converted to rectilinear movement of a flow control member. | |
868 | Spring biased: |
| This subclass is indented under subclass 867. System wherein a resilient mass is provided to urge either the flow control means or coordinating means to a desired position. | |
869 | Having fluid actuator: |
| This subclass is indented under subclass 862. System wherein the coordinating means includes a hydraulic or pneumatic motor. | |
870 | With electrical actuation: | ||
| This subclass is indented under subclass 862. System wherein the coordinating means includes means utilizing
electrical energy to effect actuation of a flow control means.
SEE OR SEARCH CLASS:
| |||
871 | Spring biased: |
| This subclass is indented under subclass 862. System wherein a resilient mass is provided to urge either the flow control means or coordinating means to a desired position. | |
872 | With valve or movable deflector at junction: | ||||||||
This subclass is indented under subclass 861. System wherein a fluent material flow regulating means or
fluent material diverting means is provided at the junction of the
inlet branch with two or more outlet branches, the fluent material flow
regulating means or movable diverting means being selectively operable
to direct the effluent from the inlet branch into an desired outlet
branch or branches.
SEE OR SEARCH THIS CLASS, SUBCLASS:
SEE OR SEARCH CLASS:
| |||||||||
873 | Movable deflector spout in lateral port: |
| This subclass is indented under subclass 872. System in which an opening in the side wall of the fluent material flow line provides a branched discharge line, there being provided a pipe which may be moved into position in the flow line to deflect the fluent material through the opening in the side wall, the pipe being effective to guide or to conduct the diverted fluent material to a point beyond the opening. | |
874 | Valve or deflector is tubular passageway: |
| This subclass is indented under subclass 872. System in which the fluent material flow control means or diverting means comprises, at least in part, a movable tubular switching passageway. | |
875 | Pivoted valve or deflector: |
| This subclass is indented under subclass 872. System in which fluent material flow control or diverting means swings about an axis other than its axis of symmetry. | |
876 | Rotary valve or deflector: |
| This subclass is indented under subclass 872. System in which at least one fluent material flow control or diverting means only rotates about its axis of symmetry. | |
877 | Biased valve: |
| This subclass is indented under subclass 861. System in which at least one of the flow passages is provided with a fluent material flow control means which is urged by a spring, gravity, or fluid pressure means either toward or away from its seat. | |
878 | Spring bias: |
| This subclass is indented under subclass 877. System wherein a resilient mass is provided to urge the flow control means to a desired position. | |
879 | For valve having a ball head: |
| This subclass is indented under subclass 878. System wherein fluent material flow control means employs a substantially spherical member to regulate flow. | |
880 | With threaded actuator: |
| This subclass is indented under subclass 878. System wherein the means to actuate the fluent material flow control means has a helical rib by which the actuating means reciprocates as a result of rotary motion applied thereto. | |
881 | Spring coaxial with valve: |
| This subclass is indented under subclass 878. System wherein the axis along which the resilient mass is compressed is coincident with the axis along which the fluent material flow control means moves. | |
882 | Biased open: |
| This subclass is indented under subclass 881. System wherein the resilient means is provided to urge the flow control means to an open position. | |
883 | Single inlet with multiple distinctly valved outlets: | ||
| This subclass is indented under subclass 861. System having two or more outlets or exhaust passageways
connected to a single inlet or admission passage, there being a
separate, distinct, and independently operable material flow regulating
means in each outlet.
SEE OR SEARCH THIS CLASS, SUBCLASS:
| |||
884 | Sectional block structure: | ||
| This subclass is indented under subclass 861. System wherein the flow passages are formed in modular pieces
facilitating assembly or disassembly of the array.
SEE OR SEARCH THIS CLASS, SUBCLASS:
| |||
885 | With fluid actuator: | ||
| This subclass is indented under subclass 861. System in which a fluent material flow regulating means
is actuated, at least in part, by a fluid pressure motive means.
SEE OR SEARCH CLASS:
| |||
886 | With threaded actuator: | ||
| This subclass is indented under subclass 861. System comprising a fluent material flow regulating means
having an operator with a helical rib, which operator reciprocates
as a result of rotary motion applied thereto.
SEE OR SEARCH CLASS:
| |||
887 | Containing rotary valve: | ||||
| This subclass is indented under subclass 861. System in which a fluent material flow control means rotates
about its axis of symmetry.
SEE OR SEARCH THIS CLASS, SUBCLASS:
SEE OR SEARCH CLASS:
| |||||
888 | Combining by aspiration: | ||||||||||||||||||
This subclass is indented under subclass 602. System in which a fluid flowing from a first inlet flow
line causes or facilitates the flow of a fluid from a second inlet
flow line so that the fluids are combined prior to leaving the single outlet
or exhaust passage, the fluid flowing from the first inlet flow
line serves as the motivating or aspirating fluid while the fluid
in the second inlet flow line serves as the aspirated fluid; whereby,
the motivating or aspirating fluid imparts energy to the aspirated
fluid by the action of entrainment.
SEE OR SEARCH THIS CLASS, SUBCLASS:
SEE OR SEARCH CLASS:
| |||||||||||||||||||
889 | Combining of three or more diverse fluids: | ||
This subclass is indented under subclass 888. System wherein the branched flow line has three or more
inlets or admission passages connected to the single outlet or exhaust
passage; and wherein the system includes three or more fluids, each
fluid having a characteristic which is diverse from or different
from the characteristic of at least two other of the fluids such
as different composition, different phase (i.e., gas and liquid),
different temperature, or different viscosity.
| |||
890 | Plural motivating fluid jets: |
| This subclass is indented under subclass 888. System in which the fluid flowing from the motivating fluid inlet line is divided into a plurality of streams prior to combining with the aspirated fluid; or in which the motivating fluid acts to entrain the aspirated fluid and then, the motivating fluid again, or the combined motivating and aspirated fluid stream acts to further entrain additional fluid to be aspirated at a point downstream of the first entrainment. | |
891 | Flow control by varying position of a fluid inlet relative to entrainment chamber: |
| This subclass is indented under subclass 888. System wherein at least one of the inlets or admission passages is movable relative to the portion of the system in which the fluids are entrained and combined so that, by altering the position of the movable inlet relative to the entraining portion of the system, the flow of one or more of the incoming fluids may be controlled. | |
892 | With selectively operated flow control means in inlet: | ||
This subclass is indented under subclass 888. System including means located in an inlet flow line or
in an admission passage to selectively control the flow of fluid
flowing from the inlet flow line into the portion of the system in
which the fluids are entrained and combined.
| |||
893 | Flow control means is located in aspirated fluid inlet: |
| This subclass is indented under subclass 892. System wherein the means to selectively control the flow of fluid is located in the aspirated fluid inlet flow line or in the aspirated fluid admission passage so as to control the flow of aspirated fluid from the aspirated fluid admission passage into the entraining and combining portion of the system. | |
894 | Single actuator operates flow control means located in both motivating fluid and aspirated fluid inlets: |
| This subclass is indented under subclass 893. System wherein additional means to selectively control the flow of fluid is located in the motivating fluid inlet flow line or admission passage so as to control the flow of motivating fluid from the motivating fluid admission passage into the entraining and combining portion of the system; and wherein a single, selectively controlled actuator is operatively connected to both the flow control means located in the aspirated fluid inlet flow line or passage and to the flow control means located in the motivating fluid inlet flow line or passage, so that whenever the actuator is selectively operated, the flow control means located in both the aspirated and motivating fluid inlet flow lines or admission passages are operated to alter the flows of the respective fluids into the entraining and combining portion of the system. | |
895 | With condition responsive valve: |
| This subclass is indented under subclass 888. System including a movable valve connected to a flow line, which valve is operated to move in response to a change in the condition of the fluid located within the system. | |
896 | With means to promote mixing or combining of plural fluids: | ||||||||||||||||||
This subclass is indented under subclass 602. System including means to promote admixing or combining
together of the fluids leaving the admission passages prior to discharge
from the single outlet so as to provide a single, combined, or uniformly
mixed output stream.
SEE OR SEARCH THIS CLASS, SUBCLASS:
SEE OR SEARCH CLASS:
| |||||||||||||||||||
897 | With selectively operated flow control means: |
| This subclass is indented under subclass 896. System including means located in a flow line, admission passage, or the outlet passage to selectively control the flow of the fluid in one or more of the flow lines. | |
898 | Single actuator operates plural flow control means: |
| This subclass is indented under subclass 897. System wherein there are a plurality of means to selectively control the flow of fluid within the system, which means to control the flow of fluid is located in any combination of two or more locations including the flow lines, admission passages, or the outlet passage; and wherein a single, selectively controlled actuator is operatively connected to the plural flow control means, so that whenever the actuator is selectively operated, the plural flow control means are operated to alter the flows of the fluids within the system. | |
899 | Vehicle: | ||||||||||||||||||||||||||||||
This subclass is indented under subclass 343. Apparatus in which the casing, support, or protector is
a vehicle or a part thereof, which vehicle or part thereof supports
and enables movement of the fluid-handling device or part thereof
relative to means external to the fluid-handling device or part
thereof.
SEE OR SEARCH THIS CLASS, SUBCLASS:
SEE OR SEARCH CLASS:
| |||||||||||||||||||||||||||||||
899.1 | Guided by means of track or guideway: |
| This subclass is indented under subclass 899. Apparatus including rail means, guide wire means, or some other predetermined and established pathway which constrains the vehicle or a part thereof to be bodily movable along the rail means, guide wire means, or other pathway. | |
899.2 | Aerial or water-supported (e.g., airplane or ship, etc.): | ||
This subclass is indented under subclass 899. Apparatus in which the casing, support, or protector is
either (a) an aerial vehicle or part thereof, which aerial vehicle
is freely movable through the air, or (b) a buoyant vehicle or a part
thereof, which buoyant vehicle is buoyantly supported by a body
of water.
| |||
899.3 | With retractable or nonuse-positionable support wheel: |
| This subclass is indented under subclass 899. Apparatus in which the vehicle or a part thereof comprises a wheel which is positionable between an in-use supporting position and a storage position, so that (a) in the in-use position, the wheel supports and enables movement of the fluid-handling device or part thereof relative to the means external to the device, and (b) in the storage position, the wheel no longer supports or enables movement of the fluid-handling device or part thereof relative to the means external to the device. | |
899.4 | Vehicle supports fluid compressor and compressed fluid storage tank: | ||
This subclass is indented under subclass 899. Apparatus in which the fluid-handling device or a part thereof
comprises (a) a compressing means to induct and to compress an ambient, compressible
fluid, such that the resulting compressed fluid is at a greater
pressure than the ambient, uncompressed fluid, and (b) a tank or receiver
means, adapted to be fluidly connected to the compressing means,
to receive and store the compressed fluid under a higher-than-ambient
pressure; and wherein both the compressing means and the tank or
receiver means are supported as a whole by and movable as a whole
by means of the vehicle or part thereof.
| |||
CROSS-REFERENCE ART COLLECTIONS
The documents in the following collections contain only cross-references which have been placed without regard to their original classification or to their claimed subject matter and therefore are only representative of the art or subject matter. Consequently, a complete search for art or subject matter provided for here would require a review of the higher portions of the classification schedule.
900 | BUMPLESS MANUAL TO AUTOMATIC RELAYS: |
| This subclass is indented under the class definition. Art collection drawn to bumpless manual to automatic relays. | |
901 | BIASED BALL VALVES WITH OPERATORS: |
| This subclass is indented under the class definition. Art collection drawn to biased ball valves with operators. | |
902 | SLUSH PUMP CHECK VALVES: |
| This subclass is indented under the class definition. Art collection drawn to slush pump check valves. | |
903 | RUBBER VALVE SPRINGS: |
| This subclass is indented under the class definition. Art collection drawn to rubber valve springs. | |
904 | CUSHION CHECK VALVES: | ||
| This subclass is indented under the class definition. Art collection drawn to cushion check valves.
SEE OR SEARCH THIS CLASS, SUBCLASS:
| |||
905 | ROTARY VALVES FOR MULTIPLE GAS BURNERS: |
| This subclass is indented under the class definition. Art collection drawn to rotary valves for multiple gas burners. | |
906 | VALVES BIASED BY FLUID "SPRINGS": |
| This subclass is indented under the class definition. Art collection drawn to valves biased by fluid "springs". | |
907 | VACUUM-ACTUATED VALVES: |
| This subclass is indented under the class definition. Art collection drawn to vacuum-actuated valves. | |
908 | RESPIRATOR CONTROL: |
| This subclass is indented under the class definition. Art collection drawn to respirator control. | |
909 | MAGNETIC FLUID VALVE: |
| This subclass is indented under the class definition. Art collection drawn to magnetic fluid valve. | |
910 | DESTRUCTIBLE OR DEFORMABLE ELEMENT CONSTRUCTED OF SPECIFIC MATERIAL: |
| This subclass is indented under the class definition. Art collection drawn to destructible or deformable elements constructed from a unique material to enable the element to destruct under specified temperature or pressure constraints. | |
![[Search a list of Patent Appplications for class 137]](../as.gif)
![[List of Patents for class 137 subclass 1]](../ps.gif)






































































































































