SECTION I - CLASS DEFINITION
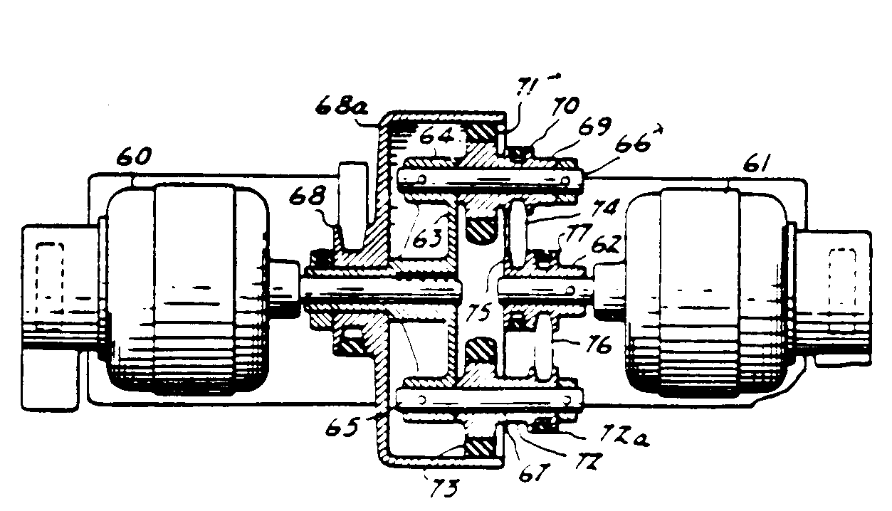
This is the class for planetary gear power transmission and
elements thereof, such transmission being defined as an assembly
of parts including interacting first and second gears each having
a central axis and wherein, during at least one mode of operation,
the axis of one of the gears follows a path extending around the
axis of the other gear.
| | (1)
Note. A nominal recitation of a device for applying power
to, or receiving power from, a structure of this class will not exclude
a patent from being placed in this class. |
SECTION II - LINES WITH OTHER CLASSES AND WITHIN THIS CLASS
A method or apparatus for manufacturing a device of this class
is not found herein (Class 475), but is found in an appropriate
manufacturing class. See References to Other Classes, below.
SECTION III - REFERENCES TO OTHER CLASSES
SEE OR SEARCH CLASS:
| 29, | Metal Working,
subclasses 893+ and the other subclasses in Class 29, directed
to process and apparatus of mechanical manufacture. (See Lines
With Other Classes and Within This Class, above.) |
| 74, | Machine Element or Mechanism,
subclass 52 and 63+ for mechanical movements which
may include planetary gearing, 640 for gearing of the "strain
wave" type, and 843+ for a planetary gearing control
interrelated with a motor control. |
| 180, | Motor Vehicles, for combinations of significant vehicle structure which
may include planetary gearing, especially
subclasses 6.2+ for steering by driving; 65.7 for an electric motor driven
change speed gearing; 165 for the use of a fluid accumulator or
flywheel to store and release energy; 233+ for a four wheel
drive vehicle; 292+ and 374+ for spatial relationships
of a transmission and a vehicle frame; and 369 and 372 for planetary
combinations. |
| 184, | Lubrication, for lubrication generally, and especially
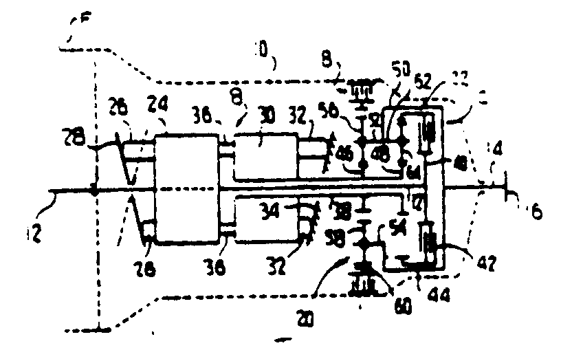
subclass 6.12 which has not been screened for planetary gearing. |
| 188, | Brakes, for brakes*, per se. |
| 192, | Clutches and Power-Stop Control, subclasses headed "INTERRELATED POWER DELIVERY
CONTROLS", which may include planetary gearing controls
combined with clutch* and motor controls; 3.21+ and
3.34 for an impeller-turbine type fluid drive in combination with
a clutch* and brake*, respectively; 3.52+ for
controls for a planetary transmission and coaxial clutch*;
and 215+ for a transmission control and brake*. |
| 477, | Interrelated Power Delivery Controls, Including
Engine Control, for interrelated control between an engine and a
transmission, clutch, or brake. |
| 701, | Data Processing: Vehicles, Navigation, and Relative
Location,
subclasses 51+ for a transmission control of that type. |
SECTION IV - GLOSSARY
The following glossary will define words or phrases used
in the class and subclass definitions and are identified by an asterisk
which appears after the word, or in the instance of a phrase, after
the last word of the phrase:
BEVEL GEAR
A gear having radial teeth extending in the same general direction
as the rotational axis of the gear, but inclined with respect to
the rotational axis of the gear.
BRAKE
Mechanism to selectively or automatically stop a moving
part with respect to a stationary part.
CLUTCH
Mechanism to selectively or automatically couple two relatively
moving parts together for common movement or to uncouple such parts.
CONDITION RESPONSIVE
Mechanism to sense a condition or change of condition in
the environment of a planetary gear transmission; and, in response
to such sensing, effect a control function on the transmission or
on a drive train* to or from such transmission.
DIFFERENTIAL TRANSMISSION
Mechanism having separate outputs driven simultaneously
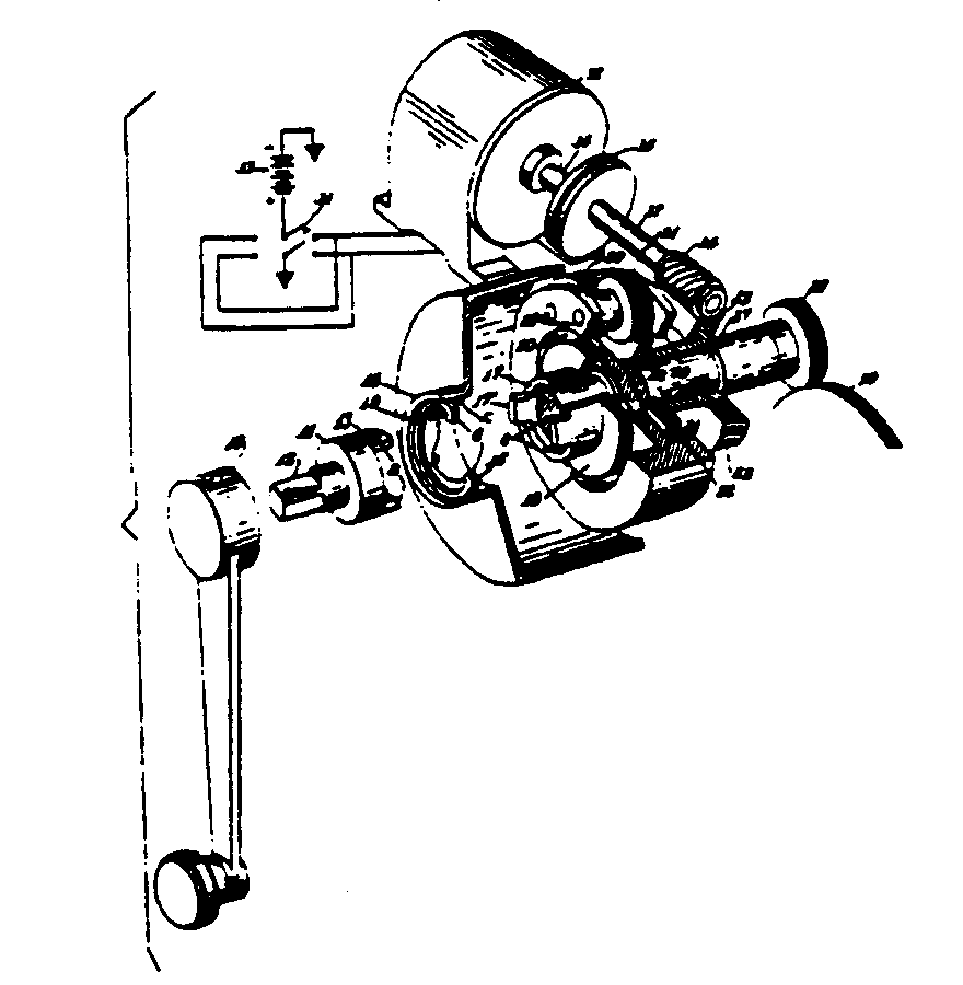
from a different member of a planetary gear transmission; the arrangement
being such that a change in speed of one of the outputs, in at least
one mode of operation, has a direct effect on the speed of the other output.
DRIVE TRAIN
Mechanism including a group of interconnected elements
which transfers rotational power from a power source* to
a load device*.
INPUT MEMBER
Mechanism which receives rotational power from a power
source*, and transfers such rotational power to a planetary
gear transmission.
LOAD DEVICE
Mechanism which receives rotational power from an output
member* to put such rotational power to useful work.
ONE-WAY BRAKE
A brake* which automatically engages to stop
a rotating part when the rotating part attempts to rotate in a first direction,
but which permits rotation of the rotating part in a direction opposite
to said first direction.
ONE-WAY CLUTCH
A clutch* which automatically couples two rotatable parts
together for joint rotation when a first of said parts rotates in
a first direction, but which automatically uncouples said parts
when the first of said parts rotates in a direction opposite to
said first direction, or uncouples said parts when the second part
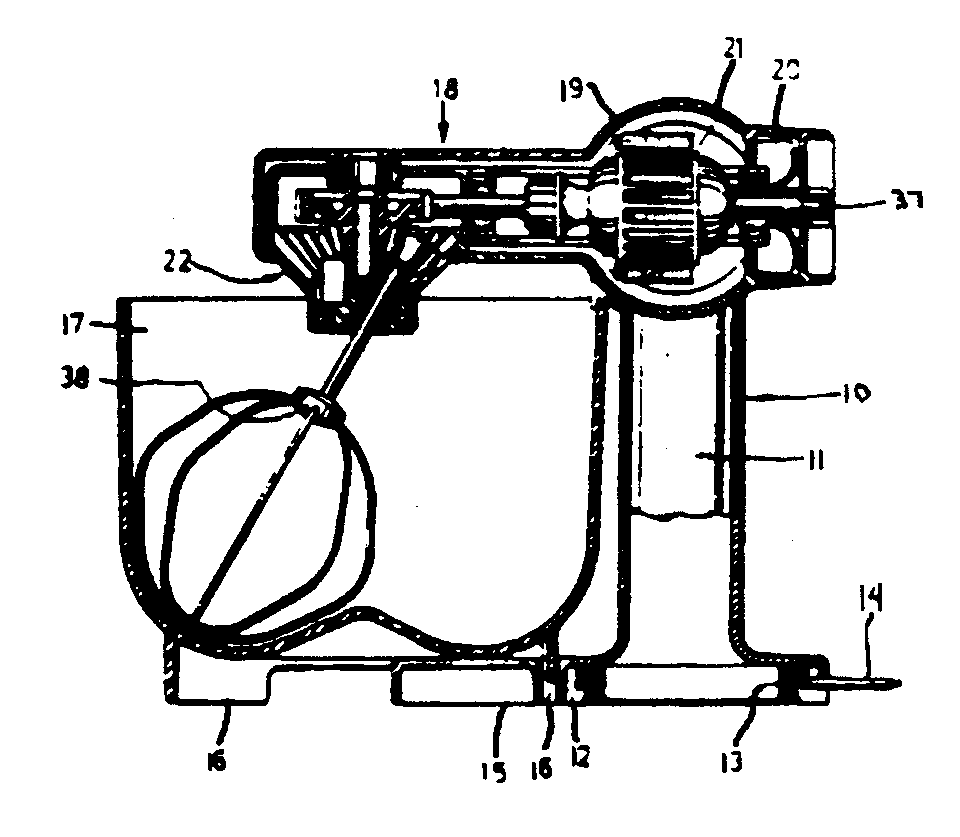
rotates faster than the first part.
ORBIT GEAR
A gear mounted for rotation about the same axis as a planet
carrier* and having a drive face contacting a drive face
of a planet pinion* at a location radially outward from
the rotational axis of the planet pinion*.
OUTPUT MEMBER
Mechanism which receives rotational power from a planetary
gear transmission and transfers such rotational power to a load
device*.
OVERDRIVE
Mechanism wherein an output member* is driven
at a greater rotational velocity than the rotational velocity of an
input member*.
PLANET CARRIER
A device mounted for rotation about a first axis, and
carrying a planet pinion*, the planet pinion having a second rotational
axis.
PLANET PINION
A gear mounted on a planet carrier*, said carrier
rotatable about a first axis, and said gear rotatable about a second
axis.
POWER SOURCE
Agency for supplying rotational power to an input member* of
a planetary gear transmission.
SPEED RATIO
Rotational velocity of an output member* divided
by the rotational velocity of an input member*.
SPUR GEAR
A gear having radially extending teeth on the rim, wherein
the edges of the teeth extend in a direction generally parallel
with rotational axis of the gear.
SUN GEAR
A gear mounted for rotation about the same axis as the rotational
axis of a planet carrier* and having a drive face contacting
a drive face of a planet pinion* between the axis of the
planet pinion and the axis of the planet carrier.
UNDERDRIVE
Mechanism wherein an output member* is driven
at a slower rotational velocity than the rotational velocity of an
input member*.
UNITARY DRIVE
Mechanism wherein an output member is driven at the same
rotational velocity as an input member.
WORM GEAR
A gear having radial teeth on the rim with the edges
of the teeth arranged as a helix extending around the rotational
axis of the gear.
SUBCLASSES
1 | INPUT FROM INDEPENDENT POWER SOURCES: |
| | This subclass is indented under the class definition. Subject matter including at least two power sources* which
act separately or in unison.

SEE OR SEARCH THIS CLASS, SUBCLASS:
| 13, | for two power sources*, one of which starts
the other and said one is subsequently driven by the other. |
| 267+, | for a flywheel which is, at times, used as a power
source*. |
SEE OR SEARCH CLASS:
| 60, | Power Plants,
subclasses 698+ for a residual system of plural motors. |
| 74, | Machine Element or Mechanism,
subclasses 661 and 665+ for related subject matter. |
|
| | |
2 | Condition responsive motor control: |
| | This subclass is indented under subclass 1. Subject matter wherein a power source* is a motor
which is condition responsive*.
SEE OR SEARCH CLASS:
| 477, | Interrelated Power Delivery Controls, Including
Engine Control, for interrelated control between an engine and a transmission,
clutch, or brake. |
|
| | |
3 | Including manual input: |
| | This subclass is indented under subclass 1. Subject matter wherein a power source* is human
force.

auxiliary hand crank; input pulley; output SEE OR SEARCH THIS CLASS, SUBCLASS:
| 349, | for related subject matter. |
|
| | |
4 | And electric motor input: |
| | This subclass is indented under subclass 3. Subject matter wherein a power source* includes
a motor driven by electricity.

SEE OR SEARCH THIS CLASS, SUBCLASS:
| 5, | and 149+, for related subject matter. |
|
| | |
5 | Including electric motor input: |
| | This subclass is indented under subclass 1. Subject matter wherein a power source* includes
a motor driven by electricity.

SEE OR SEARCH THIS CLASS, SUBCLASS:
| 4, | for subject matter including a manual and electric
drive. |
| 149+, | for a planetary transmission having an electric
motor drive. |
|
| | |
6 | Plural outputs: |
| | This subclass is indented under subclass 1. Subject matter including means to drive at least two load
devices*.

input; input; outputs SEE OR SEARCH THIS CLASS, SUBCLASS:
| 332, | and see the search notes therein for related subject
matter. |
|
| | |
8 | One-way clutch or brake in drive train: |
| | This subclass is indented under subclass 1. Subject matter wherein a drive train* includes a
one-way clutch* or a one-way brake*.

one-way brake; engine #1; engine #2 SEE OR SEARCH CLASS:
| 188, | Brakes, for a one-way brake, per se. |
| 192, | Clutches and Power-Stop Control, for a one-way clutch, per se. |
|
| | |
9 | Bevel planet pinion in drive train: |
| | This subclass is indented under subclass 1. Subject matter wherein a planetary gear transmission in
a drive train* includes a planet pinion* which
is a bevel gear*.

input; input; output SEE OR SEARCH THIS CLASS, SUBCLASS:
| 190+, | 197, 230+, 273+, 306+,
and 336, for related subject matter. |
|
| | |
11 | ROTARY PLANETATING OUTPUT: |
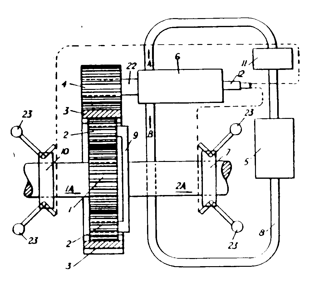
| | This subclass is indented under the class definition. Subject matter wherein a load device* is connected
to a planet pinion* for rotation about the axis of the
planet pinion* and also for rotation about the axis of
a planet carrier*.

|
| | |
12 | REVERSAL OF DIRECTION OF POWER FLOW CHANGES POWER TRANSMISSION
TO ALTERNATE PATH: |
| | This subclass is indented under the class definition. Subject matter having two alternately usable power paths
between a single input member* and a single output member* so arranged
that (1) the interchange of the input and output relationship or
(2) the change of direction of rotation of the input, changes the path
through which the power is transmitted.

output driven in same direction at variable speeds; input drivenin opposite directions SEE OR SEARCH THIS CLASS, SUBCLASS:
| 126, | for a valve, actuated in response to the reversal
of rotation of an element of a planetary transmission, to control
a fluid operated clutch or brake. |
SEE OR SEARCH CLASS:
| 74, | Machine Element or Mechanism,
subclasses 810.1+ for means to effect this function with nonplanetary
gearing. |
|
| | |
13 | Input and output exchange functions: |
| | This subclass is indented under subclass 12. Subject matter wherein in response to the interchange of
roles between the input member* and output member* the
path through which power is transmitted is changed.
| | (1)
Note. To be placed herein the transmission must have a useful
load at each of its input and output ends. Most of the patents herein
disclose either motor-generators or motor-pumps used to start an engine
which in turn drives the generator or pump.

one-way brake; motorpump unit; one-way clutch; pump-motoracts as input (underdrive) to start I.C. engine then I.C. enginedrives motor-pump; I.C. engine; one-way clutch | SEE OR SEARCH CLASS:
| 74, | Machine Element or Mechanism,
subclass 810.2 for the exchange of input and output roles using
nonplanetary gearing. |
| 290, | Prime-Mover Dynamo Plants,
subclass 38 for gearing of this type combined with significant
generator structure. |
|
| | |
14 | CYCLICAL OR INTERMITTENT DRIVE: |
| | This subclass is indented under the class definition. Subject matter wherein means is included to vary the rotational
speed of a gear of a planetary transmission according to a predetermined
pattern without operator intervention; or wherein means is included
to provide driving force to a gear of a planetary transmission at predetermined
intervals without operator intervention.

planet carrier |
| | |
15 | Plural outputs: |
| | This subclass is indented under subclass 14. Subject matter including means to drive at least two load
devices*.

output; input shaft SEE OR SEARCH THIS CLASS, SUBCLASS:
| 332, | and see the search notes therein for related subject
matter. |
| , | |
|
| | |
18 | STEERING BY DRIVING: |
| | This subclass is indented under the class definition. Subject matter wherein plural drive trains* are
utilized for driving two load devices* on opposite sides
of a vehicle at different relative speed ratios* to cause
turning.

SEE OR SEARCH THIS CLASS, SUBCLASS:
| 3, | for steering by driving where manual steering constitutes
a second power input to the drive trains. |
| 223+, | for means to apply power to only one of two differential
outputs for the purpose of steering. |
SEE OR SEARCH CLASS:
| 180, | Motor Vehicles,
subclasses 6.2+ , for steering by driving combined with vehicle
structure and see the (1) Note under subclass 6.2 for the line. |
| 477, | Interrelated Power Delivery Controls, Including
Engine Control,
subclass 1 for steering by driving with prime mover control. |
|
| | |
19 | With condition responsive steer control: |
| | This subclass is indented under subclass 18. Subject matter wherein means to cause turning is condition
responsive*.

speed sensor SEE OR SEARCH CLASS:
| 477, | Interrelated Power Delivery Controls, Including
Engine Control, for steering by driving with prime mover control. |
|
| | |
20 | With cooling or lubrication: |
| | This subclass is indented under subclass 18. Subject matter provided with means to change the temperature
of an element of, or means to apply or direct a lubricating fluid
between, moving parts of a drive train*.

SEE OR SEARCH THIS CLASS, SUBCLASS:
| 159+, | for drive train* lubrication generally. |
| 161, | for drive train* cooling or heating. |
|
| | |
23 | Hydrostatic type: |
| | This subclass is indented under subclass 22. Subject matter wherein the fluid drive train* includes
an expansible chamber pump which transfers power via fluid to an
expansible chamber motor to provide useful work.

pump motor; variable speed ratio range unit SEE OR SEARCH THIS CLASS, SUBCLASS:
| 72+, | for the general combination of planetary gearing
and hydrostatic drive. |
SEE OR SEARCH CLASS:
| 60, | Power Plants,
subclasses 325+ , for a pump and motor combination, per se. |
|
| | |
25 | Belt type: |
| | This subclass is indented under subclass 21. Subject matter wherein said ratio varying means comprises
an endless flexible band.

SEE OR SEARCH THIS CLASS, SUBCLASS:
| 210+, | for variable speed or direction belt transmission
combined with a planetary transmission. |
SEE OR SEARCH CLASS:
| 474, | Endless Belt Power Transmission Systems or Components, appropriate subclasses, for steplessly variable
belt transmissions, per se. |
|
| | |
26 | Variable drive is friction drive: |
| | This subclass is indented under subclass 21. Subject matter wherein the stepless ratio change is effected
by a drive train* which includes toothless gearing that
transmits force by frictional contact.

SEE OR SEARCH THIS CLASS, SUBCLASS:
| 114+, | for fluid control of planetary friction gearing. |
| 185+, | for planetary friction gearing, per se. |
| 214+, | for nonplanetary variable speed or direction friction
gearing combined with a planetary transmission. |
SEE OR SEARCH CLASS:
| 476, | Friction Gear Transmission Systems or Components, for variable speed nonplanetary friction gearing,
per se. |
|
| | |
27 | Fluid steer control: |
| | This subclass is indented under subclass 18. Subject matter wherein the plural drive trains* include
controlling clutches* or brakes* which are operated
by hydraulic or pneumatic pressure.

SEE OR SEARCH THIS CLASS, SUBCLASS:
| 23+, | for the control of pump-motor units for steering
purposes. |
|
| | |
29 | With planetary reaction brake steering: |
| | This subclass is indented under subclass 18. Subject matter wherein means for driving one load device* at
a speed ratio* different from the other load device includes
a brake control for a planetary element of one of the drive trains.
| | (1)
Note. The planetary element to be braked may not be an output
member* and form a basis for classification in the subclass.

| SEE OR SEARCH THIS CLASS, SUBCLASS:
| 224, | for means to apply power to only one of two differential
outputs, while braking the other, for the purpose of steering. |
|
| | |
31 | FLUID DRIVE OR CONTROL OF PLANETARY GEARING: |
| | This subclass is indented under the class definition. Subject matter wherein (1) a planetary transmission is combined
with a hydraulic or pneumatic torque transmitting means to form
a drive train*, or (2) means is provided to change the
speed ratio* or otherwise regulate the operation of a planetary
transmission and such means is actuated, at least in part, by hydraulic or
pneumatic energy.

fluid equalizes axial thrust on gears SEE OR SEARCH THIS CLASS, SUBCLASS:
| 18+, | for fluid drive or control in a steering by driving
arrangement. |
SEE OR SEARCH CLASS:
| 477, | Interrelated Power Delivery Controls, Including
Engine Control, for fluid drive or control of planetary gearing in
combination with prime mover control. |
|
| | |
32 | Diverse fluid drives: |
| | This subclass is indented under subclass 31. Subject matter wherein at least two different types of fluid
torque transmitting means are included in the drive train*.

engine |
| | |
33 | Plural impeller-turbine type fluid circuits: |
| | This subclass is indented under subclass 31. Subject matter wherein two fluid torque transmitting means
are present in the drive train* and each includes a rotary
vaned pump which acts as an input element and a coaxial rotary vaned
turbine which acts as an output element.
| | (1)
Note. For a more detailed description of this type of fluid
drive see Class 60 subclass 330 and the notes thereunder.

| |
| | |
34 | Fill and empty type: |
| | This subclass is indented under subclass 33. Subject matter wherein one of the fluid torque transmitting
means may be emptied or filled to change the speed ratio.

fluid volume control valve |
| | |
35 | Single impeller-turbine type fluid circuit divides or combines
plural power paths: |
| | This subclass is indented under subclass 31. Subject matter wherein the fluid torque transmitting means
comprises at least three coaxial bladed elements forming a fluid
filled torus, said elements being mechanically connected in power
transmitting relationship to other parts of the drive train*.
| | (1)
Note. Normally the circuit includes an input element, or
pump, and two or more output elements, or turbines. There may be
additionally included one or more reaction elements, or stators,
which function to redirect or guide the fluid within the circuit
and thus change the transmitted torque, or a turbine may fulfill
the function of both turbine and stator.

input; output | |
| | |
36 | Planetary gearing divides paths: |
| | This subclass is indented under subclass 35. Subject matter wherein the planetary transmission includes
a planetary gear set made up of at least three elements, one of
said elements being directly connected to an input member* but rotatable
relative to all elements of the fluid torque transmitting means,
and each of the other two elements constituting a power path within
the drive train.*

carrier divides path |
| | |
37 | Three fluid outputs: |
| | This subclass is indented under subclass 35. Subject matter wherein the fluid torque transmitting means
includes at least three coaxial bladed elements each of which provides
a mechanical power output to the drive train*.

output; output; output |
| | |
38 | And stator: |
| | This subclass is indented under subclass 37. Subject matter wherein the fluid torque transmitting means
includes a fourth coaxial bladed element which is stationary during
at least one mode of operation as it acts to guide or redirect the
fluid within the torque transmitting means.

output; output; stator |
| | |
39 | Two fluid outputs and stator: |
| | This subclass is indented under subclass 35. Subject matter wherein the fluid torque transmitting means
includes four coaxial bladed elements, a first input element, two
power output elements and a fourth reaction element, stationary
during at least one mode of operation, which acts to guide or redirect
the fluid within the torque transmitting means.

output; stator; output; forward clutch; input; low band; reverseband; output |
| | |
40 | With variable fluid drive control: |
| | This subclass is indented under subclass 39. Subject matter wherein means are provided to change the
path of the fluid within the torque transmitting means.
| | (1)
Note. This is usually accomplished by changing the angle
or position of one of the blade elements.

output; stator; output; vane control | |
| | |
41 | And mechanical drive path: |
| | This subclass is indented under subclass 39. Subject matter wherein in addition to the two outputs from
the fluid torque transmitting means a third power path is mechanically
connected to the input member*, by-passing the fluid circuit.

input; output |
| | |
42 | Control of or by fluid drive: |
| | This subclass is indented under subclass 35. Subject matter wherein means is provided to regulate the
operation of the fluid torque transmitting means or to affect the
operation of a mechanical drive train* in response to a
condition of the fluid torque transmitting means.

fluid control SEE OR SEARCH THIS CLASS, SUBCLASS:
| 61+, | for related art and see the notes thereunder. |
|
| | |
43 | With speed or torque responsive clutch or brake control: |
| | This subclass is indented under subclass 35. Subject matter wherein the drive train* is controlled
by a clutch* or brake* which operates in response
to the velocity or resistance to rotary movement of a transmission
part.

centrifugal control SEE OR SEARCH THIS CLASS, SUBCLASS:
| 254+, | for other speed or torque responsive transmission
controls. |
|
| | |
44 | Stator rotatable in reverse direction to provide drive: |
| | This subclass is indented under subclass 35. Subject matter wherein one of the coaxial bladed elements
functions as a reaction member to modify the speed and direction
of the fluid in the torque transmitting means in one mode of operation
and also functions, when rotating in a direction opposite to an
input element, of the fluid torque transmitting means to add torque
to the drive train.

under high load condition stator rotated in reverse direction |
| | |
46 | And adds torque in forward drive: |
| | This subclass is indented under subclass 45. Subject Matter wherein in addition to its function as both
reaction element and reverse drive output element, in one mode of
operation, the stators` rotary force is transmitted to the load device* in
the same direction as the input element.

|
| | |
47 | Impeller-turbine type fluid circuit and mechanical path
in parallel: |
| | This subclass is indented under subclass 31. Subject matter wherein the fluid torque transmitting means
includes at least two coaxial bladed element forming a fluid filled
torus, one functioning as an input element and the other as an output
element and a separate mechanical drive train* is provided,
by-passing the fluid torque transmitting means.
| | (1)
Note. A mere lock-up clutch* which connects the
input and output elements of the fluid unit together is not here
but in subclasses 59+.

out | SEE OR SEARCH THIS CLASS, SUBCLASS:
| 35+, | especially subclass 41, for a fluid drive and mechanical
drive in parallel where, in addition, the fluid unit has either
two inputs or two outputs. |
| 329+, | for other plural power path transmissions and see
the notes thereunder. |
|
| | |
48 | With control of or by the fluid circuit: |
| | This subclass is indented under subclass 47. Subject matter wherein means is provided to regulate the
operation of the mechanical drive train* in response to
a condition of the fluid torque transmitting means.

turbine movable by 61 SEE OR SEARCH THIS CLASS, SUBCLASS:
| 61+, | for related art and see the notes thereunder. |
|
| | |
50 | Fill and empty type fluid circuit: |
| | This subclass is indented under subclass 48. Subject matter wherein the operation of the fluid torque
transmitting means is regulated by controlling the amount of fluid
contained therein.

fill and empty valve |
| | |
51 | With speed responsive control: |
| | This subclass is indented under subclass 47. Subject matter wherein means is provided to regulate the
operation of the drive train* dependent on the velocity
of a part thereof.

centrifugal control SEE OR SEARCH THIS CLASS, SUBCLASS:
| 254+, | for other speed responsive controls and see the
notes therein. |
|
| | |
52 | And nonplanetary gearing: |
| | This subclass is indented under subclass 47. Subject matter wherein in addition to the fluid torque transmitting
means and planetary transmission the drive train includes gearing
of a type not falling under the class definition.
| | (1)
Note. The additional gearing may be either variable or single
speed.

| SEE OR SEARCH THIS CLASS, SUBCLASS:
| 66, | 198, 207, 225, 302, and 343, for other combinations
of planetary and nonplanetary gearing. |
|
| | |
53 | Planetary gearing divides paths: |
| | This subclass is indented under subclass 47. Subject matter wherein gearing under the class definition
is before the fluid torque transmitting means in the path of power
transmission and is effective to split such path into parallel fluid
and mechanical paths, an input element of said gearing being rotatable
relative to all elements of said fluid torque transmitting means.

|
| | |
54 | Sun, orbit and carrier braked: |
| | This subclass is indented under subclass 47. Subject matter wherein the planetary transmission is controlled
by the braking of a sun gear*, an orbit gear* and
a planet carrier*.

input SEE OR SEARCH THIS CLASS, SUBCLASS:
| 276, | and 280+, for a similar planetary transmission
without a fluid drive. |
|
| | |
55 | Sun and orbit braked: |
| | This subclass is indented under subclass 47. Subject matter wherein the planetary transmission is controlled
by the braking of a sun gear* and an orbit gear*.

SEE OR SEARCH THIS CLASS, SUBCLASS:
| 277, | 279 and 282+, for a similar planetary transmission
without a fluid drive. |
|
| | |
56 | Sun and carrier braked: |
| | This subclass is indented under subclass 47. Subject matter wherein the planetary transmission is controlled
by the braking of a sun gear* and a planet carrier*.

SEE OR SEARCH THIS CLASS, SUBCLASS:
| 278, | and 284+, for a similar planetary transmission
without a fluid drive. |
|
| | |
57 | Orbit and carrier braked: |
| | This subclass is indented under subclass 47. Subject matter wherein the planetary transmission is controlled
by the braking of an orbit gear* and a planet carrier*.

SEE OR SEARCH THIS CLASS, SUBCLASS:
| 279, | and 286+, for a similar planetary transmission
without a fluid drive. |
|
| | |
58 | Orbits braked: |
| | This subclass is indented under subclass 47. Subject matter wherein the planetary transmission is controlled
by the braking of plural orbit gears*.

SEE OR SEARCH THIS CLASS, SUBCLASS:
| 279, | and 290+, for a similar planetary transmission
without a fluid drive. |
|
| | |
59 | Impeller-turbine type fluid circuit in series with planetary
gearing: |
| | This subclass is indented under subclass 31. Subject matter wherein the fluid torque transmitting means
comprises a plurality of coaxial bladed elements forming a fluid
filled torus having an input and an output, and only a single power
path extends between said fluid drive and the planetary gearing.
| | (1)
Note. The fluid drive may include a lock-up clutch.

| |
| | |
60 | And condition responsive control: |
| | This subclass is indented under subclass 59. Subject matter wherein means is provided to regulate the
operation of the drive train* and such means is condition
responsive*.

speed sensor SEE OR SEARCH THIS CLASS, SUBCLASS:
| 254+, | for related subject matter and see the notes thereunder. |
|
| | |
61 | Control of or by fluid circuit: |
| | This subclass is indented under subclass 60. Subject matter wherein said means regulates the operation
of the fluid torque transmitting means, or affects the operation
of the mechanical drive train* in response to a condition
of the fluid torque transmitting means.

stator torque affects fluid pressure SEE OR SEARCH THIS CLASS, SUBCLASS:
| 42, | and 48+, for related art. |
SEE OR SEARCH CLASS:
| 477, | Interrelated Power Delivery Controls, Including
Engine Control,
subclass 61 for this combination and a motor control. |
|
| | |
62 | Controls responsive to relative impeller and turbine speeds: |
| | This subclass is indented under subclass 61. Subject matter wherein the difference in velocities of the
input and output of the fluid torque transmitting means regulate
the operation of the drive train*.

speed ratio governor; engine; power shift gear transmission;hydraulic torque converter SEE OR SEARCH CLASS:
| 477, | Interrelated Power Delivery Controls, Including
Engine Control,
subclass 61 for this combination and a motor control. |
|
| | |
64 | Fluid circuit controlled: |
| | This subclass is indented under subclass 61. Subject matter wherein the condition responsive* means
controls the fluid torque transmitting means.

compressor; volume of fluid controlled |
| | |
65 | By lock-up clutch actuation: |
| | This subclass is indented under subclass 64. Subject matter wherein the fluid torque transmitting means
is controlled by mechanically connecting the input and output thereof.

SEE OR SEARCH CLASS:
| 192, | Clutches and Power-Stop Control,
subclasses 3.21+ for the combination of impeller-turbine type fluid
drive and clutch in the absence of a gear transmission. |
|
| | |
66 | And nonplanetary gearing: |
| | This subclass is indented under subclass 59. Subject matter wherein in addition to the fluid torque transmitting
means and planetary transmission the drive train* includes
gearing of a type not falling under the class definition.
| | (1)
Note. Where the nonplanetary gearing forms a power path between
the combination of subclass 59 and a differential* the
patent has been placed in subclass 71.

| SEE OR SEARCH THIS CLASS, SUBCLASS:
| 52, | 198+, 207+, 225, 302, and 343,
for other combinations of planetary and nonplanetary gearing. |
|
| | |
67 | With synchronizing of positive clutch or brake: |
| | This subclass is indented under subclass 59. Subject matter wherein the two parts of a clutch* or
a brake* are provided with toothed surfaces which intermesh
when engaged and means is provided to reduce the relative movement
between the two parts before such engagement to reduce the impact
of engagement.

synchronizer SEE OR SEARCH THIS CLASS, SUBCLASS:
| 139, | and 303, for clutch or brake synchronizers in other
planetary transmissions. |
SEE OR SEARCH CLASS:
| 74, | Machine Element or Mechanism,
subclasses 339+ for meshing assisters together with nonplanetary
gearing. |
| 192, | Clutches and Power-Stop Control,
subclasses 53.1+ for frictional synchronizing of positive clutches. |
|
| | |
68 | With nonratio brake: |
| | This subclass is indented under subclass 59. Subject matter combined with a brake* which is
utilized for a purpose other than effecting a particular speed ratio* in
a planetary transmission.

fluid brake to slow down turbine SEE OR SEARCH THIS CLASS, SUBCLASS:
| 18+, | and 224, for brakes utilized in steering by driving. |
| 113, | 175, 293, and 900, for other nonratio brake combinations. |
SEE OR SEARCH CLASS:
| 74, | Machine Element or Mechanism,
subclass 888 for a nonratio brake together with a prime mover
control. |
| 192, | Clutches and Power-Stop Control,
subclasses 215+ for the combination of transmission control and
brake. |
|
| | |
69 | Fluid circuit controlled: |
| | This subclass is indented under subclass 59. Subject matter wherein the operation of the fluid torque
transmitting means is regulated.

2nd pump can be engaged for greater capacity; transmissioncontrols |
| | |
70 | Pressure controlled: |
| | This subclass is indented under subclass 69. Subject matter wherein the fluid torque transmitting means
is regulated by controlling the pressure within said means.

powershift transmission control valve; powershift transmissioncontrol elements; torque converter |
| | |
71 | And differential in series: |
| | This subclass is indented under subclass 59. Subject matter wherein a power path extends between the
device of said subclass and a differential transmission*.

SEE OR SEARCH THIS CLASS, SUBCLASS:
| 198+, | for this combination without an impeller-turbine
type fluid drive in series. |
|
| | |
72 | Fluid pump and motor in one of plural paths to or from
planetary gearing: |
| | This subclass is indented under subclass 31. Subject matter wherein the drive train* consists of
a transmission under the class definition having two power paths,
one of which is a fluid torque transmitting drive comprising means
to pressurize a fluid and means responsive to such pressure to convert
such pressure to useful mechanical work.
SEE OR SEARCH THIS CLASS, SUBCLASS:
| 23+, | for this type of drive used for steering by driving. |
| 329+, | for other plural power path transmissions and see
the notes thereunder. |
SEE OR SEARCH CLASS:
| 60, | Power Plants,
subclasses 325+ for pump and motor combinations per se. |
| 477, | Interrelated Power Delivery Controls, Including
Engine Control,
subclass 52 for this combination together with prime mover
control.

output; pump; input; motor | |
| | |
74 | Plural outputs: |
| | This subclass is indented under subclass 72. Subject matter wherein the drive train* includes
means to drive two load devices*.

output; output SEE OR SEARCH THIS CLASS, SUBCLASS:
| 18+, | for plural outputs in a steering by driving combination. |
| 332, | for other plural output transmissions and see the
notes therein. |
|
| | |
75 | Three pumps or motors: |
| | This subclass is indented under subclass 72. Subject matter wherein more than two fluid pressurizing
or pressure converting means are utilized for transferring torque
in the drive train*. |
| | |
76 | Speed responsive control: |
| | This subclass is indented under subclass 72. Subject matter wherein means is provided to regulate the
operation of the drive train* dependent on the velocity
of a part thereof.

SEE OR SEARCH THIS CLASS, SUBCLASS:
| 254+, | for related subject matter and see the notes there
under. |
|
| | |
77 | Constant speed output: |
| | This subclass is indented under subclass 76. Subject matter wherein the regulation is such that the load
device* rotates at a constant velocity.

planetary gear |
| | |
78 | Interrelated fluid unit and gear control: |
| | This subclass is indented under subclass 72. Subject matter wherein means are provided to regulate the
operation of the fluid drive and planetary transmission and such
regulation is interdependent or operated by a common control.

forward; reverse |
| | |
80 | Plural speed ranges: |
| | This subclass is indented under subclass 72. Subject matter wherein the fluid drive provides a stepless
speed ratio* variation capability and wherein a speed ratio* of
a planetary transmission is also variable to result in the stepless variation
at a plurality of speed ratio* levels.

|
| | |
82 | Having single planet carrier: |
| | This subclass is indented under subclass 81. Subject matter wherein the planetary transmission includes
but one planet carrier*.
| | (1)
Note. A Planet carrier* may include more than one
set of planet pinions* mounted thereon as long as the carrier
is unitary.

| |
| | |
83 | Pump and motor in series with planetary gearing: |
| | This subclass is indented under subclass 31. Subject matter wherein a means to pressurize a fluid and
means responsive to such pressure to convert such pressure to useful
mechanical work is placed in tandem with a transmission under the
class definition and a single power path extends there between.
| | (1)
Note. The claiming of a pump is not necessary for placement
herein.

inboard;outboard | SEE OR SEARCH CLASS:
| 91, | Motors: Expansible Chamber Type,
subclass 55 for related art and see the notes thereunder. |
| 180, | Motor Vehicles,
subclasses 305+ for this transmission combined with significant
vehicle structure. |
|
| | |
85 | Special fluid: |
| | This subclass is indented under subclass 84. Subject matter wherein significance is attributed to the
type of fluid, or the physical characteristics thereof, used to
control the differential transmission*.

fluid is silicone polymer SEE OR SEARCH THIS CLASS, SUBCLASS:
| 160, | for a fluid which is used to lubricate a differential. |
|
| | |
87 | Operated by viscous drag: |
| | This subclass is indented under subclass 86. Subject matter wherein the mechanical clutch* is
controlled by the retarding force transmitted between two relatively
rotating parts by a fluid medium.

Viscus Drag between 76 & 86 engages one-way clutch |
| | |
90 | Fluid pumped by differential gears: |
| | This subclass is indented under subclass 89. Subject matter wherein the gears of the differential transmission* act
as pumps, to pressurize a fluid contained therein, the resistance
to flow of such fluid acting to retard relative rotation of the
differential outputs.

|
| | |
91 | Fluid resistance inhibits relative rotation: |
| | This subclass is indented under subclass 31. Subject matter wherein either the weight or momentum of
a fluid mass or a fluids resistance to flow, is effective to retard
the rotation of an element of a planetary transmission.
| | (1)
Note. Both the subclasses hereunder and Class 192, Clutches
and Power-Stop Control, subclass 61 contain planetary units including
gear pumps so arranged that when fluid flow through the pump is unrestricted
the unit slips, and as fluid flow is restricted relative rotation
of the planetary elements is inhibited. Where the planet pinion
of the unit drives a separate gear pump the art is found herein but
where the planet pinion and cooperating sun and orbit together constitute the
gear pump the art will be found in Class 192, subclass 61.

| SEE OR SEARCH THIS CLASS, SUBCLASS:
| 89, | for control of a differential transmission* by
fluid resistance. |
SEE OR SEARCH CLASS:
| 188, | Brakes,
subclasses 266+ for internal resistance motion retarders, per se. |
|
| | |
94 | Speed or torque responsive valve control: |
| | This subclass is indented under subclass 93. Subject matter wherein the variable opening of the valve
is regulated by either the velocity or the resistance to rotary
movement of a transmission part.

torque responsive to move valve 100 |
| | |
95 | Centrifugally actuated valve controls fluid clutch: |
| | This subclass is indented under subclass 94. Subject matter wherein the valve is regulated by the speed
of an element of the transmission as measured by centrifugal force
and such regulation is effective to retard the rotation of one rotary
element of a transmission with respect to another rotary element
thereof.

|
| | |
97 | With fluid brake control: |
| | This subclass is indented under subclass 95. Subject matter wherein in addition to the clutch control
means, resistance to fluid flow is utilized to retard the rotation
of a planetary element with respect to a stationary element.

centrifugal weight 37 closes valve 35 of clutch; fluid brake26, 27 stops this shaft; output; input |
| | |
98 | Centrifugally actuated valve controls fluid brake: |
| | This subclass is indented under subclass 94. Subject matter wherein the valve is regulated by the speed
of an element of a transmission as measured by centrifugal force
and such regulation is effective to retard the rotation of an element
of the planetary transmission with respect to a stationary element.

|
| | |
99 | Interrelated valve control and mechanical clutch or brake: |
| | This subclass is indented under subclass 93. Subject matter wherein there is provided means to regulate
a valve, which is effective to retard an element of a planetary
transmission, and means to operate a mechanical clutch* or brake*,
the operation of one of said means affecting the other, or said
means being a common means.

|
| | |
101 | Pump pressure engages mechanical clutch: |
| | This subclass is indented under subclass 100. Subject matter wherein the valve controls the outlet of
a fluid pressurizing device which in turn retards rotation of a
planetary element and the pressurized fluid provides the force to engage
a mechanical clutch*.

|
| | |
103 | Plural fluid clutches: |
| | This subclass is indented under subclass 93. Subject matter wherein the transmission includes plural
fluid clutches*.
SEE OR SEARCH CLASS:
| 192, | Clutches and Power-Stop Control,
subclass 61 . See the (1) Note under subclass 91 of Class 475. |
|
| | |
106 | Bevel gearing: |
| | This subclass is indented under subclass 104. Subject matter wherein the planetary transmission includes
a planet pinion* that is a bevel gear*. |
| | |
108 | Fluid clutch includes gear type pump: |
| | This subclass is indented under subclass 93. Subject matter wherein the valve is effective to restrict
fluid flow from a fluid pressurizing means, said pressurizing means
being operative to operate a fluid clutch* and said pressurizing
means comprising interengaging rotating members.

SEE OR SEARCH CLASS:
| 192, | Clutches and Power-Stop Control,
subclass 61 . See the (1) Note under subclass 91 of Class 475. |
| 418, | Rotary Expansible Chamber Devices,
subclasses 54+ and 191+ for gear type pumps, per se. |
|
| | |
109 | Planet clutched to carrier: |
| | This subclass is indented under subclass 93. Subject matter wherein a pump is supported by a planet carrier* and
is driven by a planet pinion*, the valve being effective
to restrict flow from said pump.
SEE OR SEARCH THIS CLASS, SUBCLASS:
| 96, | for this combination controlled by a speed responsive
valve. |
|
| | |
111 | Planet clutched to fluid flywheel: |
| | This subclass is indented under subclass 91. Subject matter wherein a rotatable fluid containing housing
concentric with the planetary transmission surrounds vaned elements
connected to planet pinions*; the housing, when rotated,
forming a radially outer layer of fluid that is effective to retard
the rotation of the vaned elements relative to the housing.

|
| | |
113 | Impeller-turbine type fluid unit used as brake: |
| | This subclass is indented under subclass 91. Subject matter wherein at least two coaxial bladed elements
form a fluid filled torus, one of said elements being either stationary
or its motion controlled to retard another of said elements which
is connected to a rotary planetary element.

SEE OR SEARCH CLASS:
| 188, | Brakes,
subclass 296 , for impeller-turbine type brakes, per se. |
| 192, | Clutches and Power-Stop Control,
subclasses 215+ for related art. |
| 477, | Interrelated Power Delivery Controls, Including
Engine Control,
subclass 59 for hydrodynamic braking in combination with a
motor control. |
|
| | |
116 | Fluid controlled mechanical clutch or brake: |
| | This subclass is indented under subclass 31. Subject matter wherein a clutch* or brake* operated
by fluid pressure is effective to regulate the speed ratio* of
the planetary transmission.
SEE OR SEARCH THIS CLASS, SUBCLASS:
| 209, | for an interrelated control between a planetary
and nonplanetary transmission. |
SEE OR SEARCH CLASS:
| 192, | Clutches and Power-Stop Control,
subclasses 3.51+ for interrelated clutch and transmission controls wherein
the clutch and transmission is in series and subclasses 215+ for transmission
control and brake where the brake is effective to retard the load device*.

| |
| | |
118 | Speed responsive control: |
| | This subclass is indented under subclass 116. Subject matter wherein velocity of a transmission part affects
a control for the clutch* or brake*.
SEE OR SEARCH THIS CLASS, SUBCLASS:
| 254+, | for other speed responsive transmission controls
and see the notes thereunder. |
SEE OR SEARCH CLASS:
| 137, | Fluid Handling,
subclasses 47+ for speed responsive valves, per se. |
| 477, | Interrelated Power Delivery Controls, Including
Engine Control, for a prime mover control which may be combined
with a speed responsive control. |
|
| | |
119 | Safety device: |
| | This subclass is indented under subclass 118. Subject matter wherein the control prevents the transmission
or the means driving the transmission from being damaged.
| | (1)
Note. For example, the speed responsive means may prevent
a shift valve or selector valve from shifting at too high a speed.

manual valve; prevents manual downshift at high speedsto direct drive clutch 60; pump pressure; to over drive brake 40;governor; governor inhibitor valve | |
| | |
120 | Pressure control: |
| | This subclass is indented under subclass 118. Subject matter wherein the control affects the force exerted
by the fluid utilized to regulate the operation of the transmission. |
| | |
121 | Ratio change: |
| | This subclass is indented under subclass 118. Subject matter wherein the control is effective to change
the speed ratio* of the transmission.

to oil pump |
| | |
123 | Electrical control: |
| | This subclass is indented under subclass 122. Subject matter wherein between the transmission part and
the valve is an electrical or magnetic device. |
| | |
125 | Torque responsive control: |
| | This subclass is indented under subclass 116. Subject matter wherein force exerted to rotate a transmission
part affects control of the clutch* or brake*.
SEE OR SEARCH THIS CLASS, SUBCLASS:
| 254+, | for other torque responsive transmission controls
and see the notes there under. |
|
| | |
126 | Responsive to torque reversal: |
| | This subclass is indented under subclass 125. Subject matter wherein the control of the clutch* or
brake* is affected by a valve and such valve is actuated
responsive to a change in direction of rotation or relative rotation
of a planetary drive transmission part or parts. |
| | |
128 | Valving controls shift timing: |
| | This subclass is indented under subclass 127. Subject matter wherein means is provided to regulate the
speed or sequence of engagement or disengagement of a clutch* or
brake*.


clutch motors; control valves; time; time; time SEE OR SEARCH CLASS:
| 477, | Interrelated Power Delivery Controls, Including
Engine Control, especially
subclasses 143+ for shift timing control combined with motor control. |
|
| | |
129 | With fluid accumulator: |
| | This subclass is indented under subclass 128. Subject matter which further includes a variable capacity
chamber which is effective to control the buildup of fluid pressure.
SEE OR SEARCH CLASS:
| 138, | Pipes and Tubular Conduits,
subclasses 30+ for accumulators, per se. |
|
| | |
130 | Manual regulator: |
| | This subclass is indented under subclass 127. Subject matter wherein means to regulate the pressure is
controlled by human force.
SEE OR SEARCH CLASS:
| 477, | Interrelated Power Delivery Controls, Including
Engine Control, for pressure regulation which may be controlled
by actuation of a vehicle accelerator pedal. |
|
| | |
133 | With safety valve: |
| | This subclass is indented under subclass 131. Subject matter wherein said device is a valve and means
is associated with said valve to prevent damage to the transmission.
SEE OR SEARCH THIS CLASS, SUBCLASS:
| 119, | for a safety device controlled in response to speed. |
|
| | |
136 | With ancillary pump or governor drive: |
| | This subclass is indented under subclass 116. Subject matter wherein significance is attributed to a drive
of an auxiliary pressurizing device or speed responsive valve utilized
in fluid control for the transmission.

pump; engine; tran |
| | |
137 | Plural pumps: |
| | This subclass is indented under subclass 136. Subject matter wherein more than one said device is driven
to provide pressurized fluid for control of the transmission.
SEE OR SEARCH CLASS:
| 477, | Interrelated Power Delivery Controls, Including
Engine Control, for plural pumps used in transmission control which
also includes motor control. |
|
| | |
138 | With positive clutch or brake: |
| | This subclass is indented under subclass 116. Subject matter wherein a clutch* or brake* includes
two parts each having teeth which are capable, of meshing, one with
the other, to effect a positive, as opposed to a frictional connection
therebetween.
| | (1)
Note. The positive clutch* or brake* need
not be fluid actuated to be found herein. | |
| | |
139 | And friction synchronizer: |
| | This subclass is indented under subclass 138. Subject matter wherein frictional means is provided to equalize
the speed of the two clutch* or brake* parts before
the teeth thereof intermesh.
SEE OR SEARCH THIS CLASS, SUBCLASS:
| 67, | and 303, for other synchronizing clutches or brakes. |
SEE OR SEARCH CLASS:
| 192, | Clutches and Power-Stop Control,
subclasses 53+ for friction synchronizers, per se. |
|
| | |
140 | Spring engaged, fluid released clutch or brake device: |
| | This subclass is indented under subclass 116. Subject matter wherein two parts of the clutch* or
brake* are separated by fluid pressure against the resistance
of a spring.

SEE OR SEARCH THIS CLASS, SUBCLASS:
| 144, | for one-way devices that may be placed in inoperative
position by means of fluid pressure and operative position by means
of a spring. |
|
| | |
143 | Expanding fluid motor chamber mechanically contracts second
motor: |
| | This subclass is indented under subclass 116. Subject matter wherein the clutch* or brake* is actuated
by admitting pressurized fluid to an expansible chamber and the
expansion of such chamber effects the collapse of a second fluid expansible
chamber.
| | (1)
Note. To be placed here each fluid motor must control a different
clutch* or brake*. A double acting motor for one clutch* or
brake* is in subclass 146. | |
| | |
144 | Fluid controlled one-way devices: |
| | This subclass is indented under subclass 116. Subject matter wherein the fluid pressure is operative to
control a one-way clutch* or a one-way brake*.
SEE OR SEARCH CLASS:
| 188, | Brakes,
subclasses 82.1+ for one-way brakes, per se. |
| 192, | Clutches and Power-Stop Control,
subclasses 41+ for one-way clutches, per se. |
|
| | |
146 | Fluid motor structure: |
| | This subclass is indented under subclass 116. Subject matter herein significance is attributed to the
configuration, support or spatial arrangement of an expansible chamber
motor or motors which effect the actuation of the clutch* or
brake*. |
| | |
149 | ELECTRIC OR MAGNETIC DRIVE OR CONTROL: |
| | This subclass is indented under the class definition. Subject matter wherein (1) the planetary transmission is
combined with an electric motor or generator to form a drive train
or (2) means is provided to change the speed ratio* or otherwise
regulate the operation of the planetary transmission by means of
electric or magnetic energy.
| | (1)
Note. Where the electric or magnetic energy regulates a fluid
drive or a fluid control that in turn controls the transmission,
the patents have been placed with the fluid drive or control under
subclass 31.

| SEE OR SEARCH THIS CLASS, SUBCLASS:
| 4, | and 5, for electric motor drives where plural power
sources drives a planetary transmission. |
| 13, | for electric motors used as engine starters that
are subsequently driven by the engine. |
SEE OR SEARCH CLASS:
| 192, | Clutches and Power-Stop Control,
subclasses 129+ and 150 for safety devices and overload controls
that may turn off power from an electric motor. |
| 310, | Electrical Generator or Motor Structure,
subclass 83 for the combination with significant dynamo-electric machine
structure. |
| 318, | Electricity, Motive Power Systems,
subclasses 12+ and 15 for Class 310 structure having a significant
electrical circuit. See section IE6B of the class 318 definitions
for the line with this class. |
|
| | |
151 | Plural power paths: |
| | This subclass is indented under subclass 149. Subject matter wherein two power paths extend to or from
a planetary transmission, between an input member* and
an output member*, and one path includes an electric or
magnetic drive.
| | (1)
Note. A clutch* that locks up the planetary transmission
for unitary drive* is not considered a separate power path. See
other subclasses under subclass 149. |
SEE OR SEARCH THIS CLASS, SUBCLASS:
| 21, | for this type drive used in a steering by driving
combination. |
| 47+, | and 72+, for similar gearing arrangements
but using a fluid drive as the variable transmission. |
SEE OR SEARCH CLASS:
| 318, | Electricity: Motive Power Systems,
subclass 8 for similar systems where the generated electricity
is not wholly utilized in the motor-generator systems. |
|
| | |
153 | With condition responsive control: |
| | This subclass is indented under subclass 149. Subject matter herein the electric or magnetic drive or
control is regulated by condition responsive* means.
SEE OR SEARCH THIS CLASS, SUBCLASS:
| 254+, | for other condition responsive* controls
and see the notes thereunder. |
|
| | |
155 | And manual speed selector: |
| | This subclass is indented under subclass 154. Subject matter wherein a human force operated device is
used to choose the speed ratio* of the transmission.
SEE OR SEARCH THIS CLASS, SUBCLASS:
| 132, | for a manually operated speed selector of the electrical
type that in turn regulates a fluid control. |
|
| | |
158 | WITH INDICATOR OR ALARM: |
| | This subclass is indented under the class definition. Subject matter and further including a separate device for
indicating a condition thereof or for providing a warning that an undesirable
condition exists.
SEE OR SEARCH CLASS:
| 116, | Signals and Indicators, for indicators and alarms in general. |
|
| | |
159 | WITH LUBRICATION: |
| | This subclass is indented under the class definition. Subject matter provided with means for directing or applying
a substance between moving parts to reduce friction between the moving
parts.
SEE OR SEARCH THIS CLASS, SUBCLASS:
| 20, | for lubrication in a steering by driving combination. |
SEE OR SEARCH CLASS:
| 184, | Lubrication, for lubricating devices and systems in general. |
|
| | |
161 | WITH TRANSMISSION COOLING OR HEATING MEANS: |
| | This subclass is indented under the class definition. Subject matter and further including means to alter the
temperature of an element thereof during operation.
SEE OR SEARCH THIS CLASS, SUBCLASS:
| 20, | for cooling or heating in a steering by driving
combination. |
|
| | |
162 | PLANET PERIPHERY SURROUNDS AXIS OF INTERACTING GEAR (E.G., ECCENTRICALLY
DRIVEN TRANSMISSION): |
| | This subclass is indented under the class definition. Subject matter wherein a first gear has an axis which follows
a path around the axis of a second gear, and wherein the external
periphery of the first gear surrounds the axis of the second gear.


SEE OR SEARCH CLASS:
| 74, | Machine Element or Mechanism,
subclass 640 for similar structure using a cam-operated flexible
gear, sometimes referred to as "strain-wave" gearing. |
|
| | |
165 | Friction gearing: |
| | This subclass is indented under subclass 162. Subject matter in which rotary motion is transmitted from
one of said gears to the other by frictional engagement.
SEE OR SEARCH THIS CLASS, SUBCLASS:
| 183+, | for related subject matter. |
|
| | |
167 | Link chain gearing: |
| | This subclass is indented under subclass 162. Subject matter wherein one of said gears comprises an endless
member formed of interconnected links forming openings to receive
cogs on the periphery of the other of said gears.

SEE OR SEARCH THIS CLASS, SUBCLASS:
| 182, | for related subject matter. |
|
| | |
168 | Gear teeth comprise rolling bodies: |
| | This subclass is indented under subclass 162. Subject matter wherein surface contact between said first
and second gears is via smooth surface cylinders or balls positioned between
facing surfaces of said first and second gears.

|
| | |
169 | Means to change speed ratio between input and output: |
| | This subclass is indented under subclass 162. Subject matter including means selectively or automatically
actuated to vary the speed ratio*.

SEE OR SEARCH THIS CLASS, SUBCLASS:
| 13, | where the speed ratio* change is accompanied
by an exchange in function of an input member* and an output
member*. |
| 166, | for means to change the speed ratio* of
friction gearing. |
|
| | |
171 | Plural power paths to planetary gearing: |
| | This subclass is indented under subclass 169. Subject matter wherein a power transmitting path extends
between an input member* and each of two elements of a
planetary transmission while an output member* is driven
by a third planetary element. |
| | |
172 | Condition responsive control: |
| | This subclass is indented under subclass 169. Subject matter wherein said means is affected by a condition
responsive* control.
SEE OR SEARCH THIS CLASS, SUBCLASS:
| 254+, | and see the search notes therein for related subject
matter. |
|
| | |
174 | Plural outputs: |
| | This subclass is indented under subclass 162. Subject matter including means to drive at least two load
devices*.
SEE OR SEARCH THIS CLASS, SUBCLASS:
| 322, | see the search notes therein for related subject
matter. |
|
| | |
175 | With releasable clutch or brake: |
| | This subclass is indented under subclass 162. Subject matter which further has a selectively or automatically
actuatable clutch* or brake* in a drive train* for
said gears.


releasable brake to establish or release drive SEE OR SEARCH THIS CLASS, SUBCLASS:
| 68, | and 900, for related subject matter, and 169+ for
a clutch or brake to change speed ratio in this kind of gearing. |
|
| | |
178 | Circumferentially spaced connector pins: |
| | This subclass is indented under subclass 162. Subject matter wherein a plurality of peg-like elements
are spaced about the axis of one of said gears to guide said gear
for relative motion with respect to a stationary reaction element,
or to guide said gear for relative motion with respect to another
rotary member.

|
| | |
180 | Particular gear teeth: |
| | This subclass is indented under subclass 162. Subject matter wherein significance is attributed to the
configuration or material of a tooth used in one of said gears.

Resiliently deformable teeth SEE OR SEARCH THIS CLASS, SUBCLASS:
| 344+, | for related subject matter |
|
| | |
181 | Particular counterweight: |
| | This subclass is indented under subclass 162. Subject matter wherein significance is attributed to the
configuration, material or location of a mass to balance one of
said gears or rotating drive train* members. |
| | |
182 | PLANET PINION ENGAGES FLEXIBLE BELT OR CHAIN: |
| | This subclass is indented under the class definition. Subject matter wherein a planet pinion* has a driving
surface which is in driving engagement with an endless pliant member.

SEE OR SEARCH THIS CLASS, SUBCLASS:
| 167, | for related subject matter. |
|
| | |
183 | PLANET PINION IS FRICTION GEAR: |
| | This subclass is indented under the class definition. Subject matter wherein a planet pinion includes a drive
surface which receives or transmits rotary motion to a mating gear
by frictional contact.
SEE OR SEARCH THIS CLASS, SUBCLASS:
| 26, | for a friction drive in steering by driving, 114+ for
fluid control of friction gearing, and 165+ for friction
gearing in an eccentrically driven transmission. |
|
| | |
184 | Plural outputs (e.g., differential): |
| | This subclass is indented under subclass 183. Subject matter wherein plural load devices* are driven
by the planetary transmission using said planet pinion*.
SEE OR SEARCH THIS CLASS, SUBCLASS:
| 332, | and see the search notes therein for related subject
matter. |
|
| | |
185 | Variable speed ratio (without slippage): |
| | This subclass is indented under subclass 183. Subject matter wherein means is provided to change the speed
ratio*.
| | (1)
Note. A patent is not considered appropriate for this or
indented subclasses if slippage between contacting surfaces is the
only way the speed ratio is changed. | |
| | |
187 | Releasably braked element: |
| | This subclass is indented under subclass 185. Subject matter wherein said ratio changing means comprises
a selectively actuatable brake* for an element of a planetary
transmission. |
| | |
194 | Torque responsive means to increase contact pressure: |
| | This subclass is indented under subclass 193. Subject matter including means for sensing resistance to
movement or change in resistance to movement of a load device* or
of a member in a drive train*; and, in response to such sensed
resistance or change of resistance to movement, said means acts
to increase pressure of frictional contact between said planet pinion* and
a mating gear.
SEE OR SEARCH THIS CLASS, SUBCLASS:
| 195, | for related subject matter. |
|
| | |
195 | Torque responsive means to increase contact pressure: |
| | This subclass is indented under subclass 183. Subject matter including means for sensing resistance to
movement or change in resistance to movement of a load device* or
of a member in a drive train*; and, in response to such sensed
resistance or change of resistance to movement, said means acts
to increase pressure of frictional contact between said planet pinion* and
a mating gear.
SEE OR SEARCH THIS CLASS, SUBCLASS:
| 194, | for related subject matter. |
|
| | |
196 | Planet pinion is ball: |
| | This subclass is indented under subclass 183. Subject matter wherein said planet pinion* is a spherical
element.
SEE OR SEARCH THIS CLASS, SUBCLASS:
| 189, | for a spherical planet pinion in a variable ratio
transmission. |
|
| | |
198 | VARIABLE SPEED OR DIRECTION TRANSMISSION COMBINED WITH
DIFFERENTIAL: |
| | This subclass is indented under the class definition. Subject matter wherein a differential transmission* is
associated with another transmission capable of speed ratio* change
or capable of reversing the direction of relative rotation between
input and output shafts of said other transmission.
SEE OR SEARCH THIS CLASS, SUBCLASS:
| 220+, | for differential planetary gearing. |
SEE OR SEARCH CLASS:
| 74, | Machine Element or Mechanism, for variable speed or direction transmissions. |
| 474, | Endless Belt Power Transmission Systems or Components, for non-planetary belt or chain gearing. |
|
| | |
199 | Condition responsive: |
| | This subclass is indented under subclass 198. Subject matter wherein said speed ratio* change
or said direction reversal is condition responsive*.

SEE OR SEARCH THIS CLASS, SUBCLASS:
| 254+, | and see the search notes therein for related subject
matter. |
|
| | |
202 | With universal joint in drive train: |
| | This subclass is indented under subclass 198. Subject matter including connecting means between two shaft
elements in a drive train*, said connecting means permitting
rotation to be transmitted from one element to the other when the
axes of said elements are misaligned or angularly related.
SEE OR SEARCH THIS CLASS, SUBCLASS:
| 464, | Rotary Shafts Gudgeons, Housings, and Flexible Couplings
for Rotary, for universal joints in general. |
|
| | |
207 | NONPLANETARY VARIABLE SPEED OR DIRECTION TRANSMISSION COMBINED
WITH PLANETARY TRANSMISSION: |
| | This subclass is indented under the class definition. Subject matter which includes a power transmitting mechanism,
other than a planetary gear transmission, having an input and an
output shaft, and means capable of speed ratio* change
between said shafts or capable of changing the direction of relative
rotation of said shafts.
SEE OR SEARCH THIS CLASS, SUBCLASS:
| 52, | and 66, for this combination with a fluid drive. |
| 80+, | for a transmission of the type found therein combined
with a change speed non-planetary transmission. |
| 198+, | for a change speed or direction transmission combined
with a differential*. |
SEE OR SEARCH CLASS:
| 74, | Machine Element or Mechanism, for nonplanetary variable speed gearing. |
|
| | |
208 | Condition responsive: |
| | This subclass is indented under subclass 207. Subject matter and further including a control which is
condition responsive*.
SEE OR SEARCH THIS CLASS, SUBCLASS:
| 254, | and see the search notes therein for related subject
matter. |
|
| | |
209 | Interrelated control of in series transmissions: |
| | This subclass is indented under subclass 207. Subject matter wherein a planetary gear transmission has
first control means, and said power transmitting mechanism other
than the planetary gear transmission has second control means; and
wherein operation of one of said first or second control means affects
the operation of the other of said control means. |
| | |
211 | Plural power paths to planetary gearing: |
| | This subclass is indented under subclass 210. Subject matter wherein said power transmitting mechanism
has at least two power output members leading therefrom, said power
output members being connected to different elements of a planetary
gear transmission to provide rotary input to either or both of said
elements of said planetary transmission.
SEE OR SEARCH THIS CLASS, SUBCLASS:
| 329+, | and see the search notes therein for related subject
matter. |
|
| | |
214 | Nonplanetary transmission is friction gearing: |
| | This subclass is indented under subclass 207. Subject matter wherein said power transmitting mechanism
includes a gear which receives or transmits rotary motion to a mating
gear by frictional contact.
SEE OR SEARCH CLASS:
| 476, | Friction Gear Transmission Systems or Components, for nonplanetary friction gearing, per se. |
|
| | |
215 | Plural power paths to planetary gearing: |
| | This subclass is indented under subclass 214. Subject matter wherein said power transmitting mechanism
has at least two power output members leading therefrom, said power
output members being connected to different elements of a planetary
gear transmission to provide rotary input to either or both of said
elements of said planetary gear transmission.
SEE OR SEARCH THIS CLASS, SUBCLASS:
| 329+, | and see the search notes therein for related subject
matter. |
|
| | |
217 | Nonplanetary transmission is disc and wheel: |
| | This subclass is indented under subclass 215. Subject matter wherein one of said gears is in the form
of a plate having a friction drive face, and the other said gear
is generally cylindrical and has a friction drive surface on the
rim thereof in contact with said face; said cylindrical gear being
mounted for rotation about an axis generally perpendicular to a
rotational axis of said plate, and the point of contact of said face
with said rim being adjustable in a radial direction with respect
to the axis of the plate to vary the speed ratio*. |
| | |
218 | Plural power paths to planetary gearing: |
| | This subclass is indented under subclass 207. Subject matter wherein said power transmitting mechanism
has at least two power output members leading therefrom, said power
output members being connected to different elements of a planetary
gear transmission to provide rotary input to either or both of said
elements of said planetary gear transmission.
SEE OR SEARCH THIS CLASS, SUBCLASS:
| 80+, | for a transmission of the kind found therein combined
with change speed nonplanetary transmission. |
| 329+, | and see the search notes therein for related subject
matter. |
|
| | |
219 | Plural planetary units: |
| | This subclass is indented under subclass 207. Subject matter which includes at least two planetary gear
transmissions.
SEE OR SEARCH THIS CLASS, SUBCLASS:
| 52, | and 66, for related art. |
| 80+, | for a transmission of the type found therein combined
with a change speed nonplanetary transmission. |
|
| | |
220 | DIFFERENTIAL PLANETARY GEARING: |
| | This subclass is indented under the class definition. Subject matter which includes a differential transmission* in
a drive train*.

SEE OR SEARCH THIS CLASS, SUBCLASS:
| 6, | 15, 18+, 71, 84+, 150, 160, 174,
184, and 198+ for other differential planetary gearing
or combinations therewith. |
|
| | |
222 | With universal joint in drive train: |
| | This subclass is indented under subclass 220. Subject matter including connecting means between two shaft
elements in said drive train*, said connecting means permitting
rotation to be transmitted from one element to the other when the
axes of said elements are misaligned or angularly related.
SEE OR SEARCH THIS CLASS, SUBCLASS:
| 202, | and 346+, for related subject matter. |
|
| | |
226 | Planet pinion is worm gear: |
| | This subclass is indented under subclass 220. Subject matter wherein a planet pinion* in said differential
transmission* is a worm gear*.

SEE OR SEARCH THIS CLASS, SUBCLASS:
| 7, | 304 and 333, for related subject matter. |
|
| | |
228 | Worm drive on input shaft: |
| | This subclass is indented under subclass 220. Subject matter wherein input power to said differential
transmission* is supplied by a worm gear*.
SEE OR SEARCH THIS CLASS, SUBCLASS:
| 7, | for related subject matter. |
|
| | |
230 | Bevel gear differential: |
| | This subclass is indented under subclass 220. Subject matter wherein said differential gearing* is
formed by bevel gears*.
SEE OR SEARCH THIS CLASS, SUBCLASS:
| 9, | 190+, 197, 273+, 306+,
and 336, for related subject matter. |
|
| | |
231 | With means to limit overspeed of one output (e.g., lock-up
clutch): |
| | This subclass is indented under subclass 230. Subject matter including means to restrict the amount the
rotational velocity of one of the output members of said differential
transmission* may exceed the rotational velocity of the other
of said output members.
SEE OR SEARCH THIS CLASS, SUBCLASS:
| 86+, | for fluid actuated clutches* in differentials* |
| 150, | for electric or magnetic controlled differentials* |
| 249+, | for related subject matter. |
|
| | |
232 | Centrifugal actuator: |
| | This subclass is indented under subclass 231. Subject matter wherein said means for restricting said rotational
velocity includes an element movable outwardly in response to inertial
force caused by rotation of a part in said differential transmission*. |
| | |
233 | Lock-up clutch between pinion and pinion carrier: |
| | This subclass is indented under subclass 231. Subject matter wherein said means includes an element for
directly locking a planet pinion* to a cage carrying said
pinion or to a supporting pin for said pinion.
SEE OR SEARCH THIS CLASS, SUBCLASS:
| 91, | 108, 109+, and 305, for related subject
matter. |
|
| | |
235 | With spring bias on gear or clutch: |
| | This subclass is indented under subclass 234. Subject matter including resilient means providing a force
bias on said output gear, or on a clutch* therefor, in
a direction parallel to its rotational axis.
SEE OR SEARCH THIS CLASS, SUBCLASS:
| 240+, | for related subject matter. |
|
| | |
237 | Manual actuator: |
| | This subclass is indented under subclass 231. Subject matter wherein said restricting means includes a
member selectively actuatable by human force.
SEE OR SEARCH THIS CLASS, SUBCLASS:
| 250, | for related subject matter. |
|
| | |
238 | Friction clutch: |
| | This subclass is indented under subclass 237. Subject matter wherein said restricting means comprises
a clutch* in which pressure and resultant friction between
faces of two relatively movable parts causes the parts to have common
movement. |
| | |
239 | Plate clutch: |
| | This subclass is indented under subclass 238. Subject matter in which said relatively movable parts are
in the form of discs. |
| | |
246 | With roller bearing between gear and its support: |
| | This subclass is indented under subclass 230. Subject matter wherein at least one of said bevel gears* is
supported for rotation by ball bearings or by cylindrical bearings
surrounding the rotational axis of the bevel gear.
SEE OR SEARCH THIS CLASS, SUBCLASS:
| 253, | and 348, for related subject matter. |
|
| | |
249 | With means to limit overspeed of one output: |
| | This subclass is indented under subclass 248. Subject matter including means to restrict the amount the
rotational velocity of one of the output members of said differential
transmission* may exceed the rotational velocity of the other
of said output members.
SEE OR SEARCH THIS CLASS, SUBCLASS:
| 84+, | for fluid actuated clutches* in differentials* |
| 150, | for electric or magnetic controlled differentials* |
| 231+, | for related subjected matter. |
|
| | |
250 | Manual actuator: |
| | This subclass is indented under subclass 249. Subject matter wherein said restricting means includes a
member selectively actuatable by human force.
SEE OR SEARCH THIS CLASS, SUBCLASS:
| 237+, | for related subject matter. |
|
| | |
251 | Pinion axis at angle intersecting axis of output: |
| | This subclass is indented under subclass 248. Subject matter wherein the axis of rotation* of a
planet pinion* in said differential gearing* extends
at an angle with respect to the rotational axis of an output member
of said differential gearing.

SEE OR SEARCH THIS CLASS, SUBCLASS:
| 190+, | 197, 273+, 306+, and 336, for
related subject matter. |
|
| | |
252 | Intermeshing planet pinions: |
| | This subclass is indented under subclass 248. Subject matter wherein said differential gearing* includes
a plurality of planet pinions* having gear teeth which
intermesh with each other.

|
| | |
253 | With roller bearing between gear and its support: |
| | This subclass is indented under subclass 248. wherein at least one of said spur gears* is supported
for rotation by ball bearings or by cylindrical bearings surrounding
the rotational axis of said spur gear.
SEE OR SEARCH THIS CLASS, SUBCLASS:
| 246, | and 348, for related subject matter. |
|
| | |
254 | CONDITION RESPONSIVE CONTROL: |
| | This subclass is indented under the class definition. Subject matter together with a condition responsive* transmission
regulating means.
SEE OR SEARCH THIS CLASS, SUBCLASS:
| 2, | 19, 42, 43, 47, 51, 60, 76, 94, 117, 118, 125, 153,
186, 199, 208, and 232, for various transmission combinations including
condition responsive* control. |
SEE OR SEARCH CLASS:
| 477, | Interrelated Power Delivery Controls, Including
Engine Control, for condition responsive transmission control also
including motor control. |
|
| | |
255 | Eccentrically weighted planet: |
| | This subclass is indented under subclass 254. Subject matter wherein a planet pinion* includes
an additional mass carried thereby at a location spaced from its
axis.
SEE OR SEARCH THIS CLASS, SUBCLASS:
| 112, | for a similar combination but using fluid as the
eccentric weight. |
|
| | |
256 | Downshift responsive to high speed limit: |
| | This subclass is indented under subclass 254. Subject matter wherein a planetary transmission is regulated
such that the attainment of an undesirable fast speed is prevented
by changing the speed ratio* to rotate an output member* at
a lower velocity.

flyweight |
| | |
258 | Centrifugally controlled clutch or brake: |
| | This subclass is indented under subclass 254. 7Subject matter wherein a clutch* or brake* is utilized
to change the speed ratio* of a planetary transmission
and the operation of such clutch* or brake* is
controlled by the velocity of a transmission part as measured by
the centrifugal force of a mass rotating with said part. |
| | |
261 | Positive clutch: |
| | This subclass is indented under subclass 258. Subject matter wherein two parts of a controlled clutch* each
include teeth-like elements thereon that mesh when the clutch is
engaged so that torque is delivered positively, as opposed to frictionally,
from one part to the other. |
| | |
262 | Axially engaged friction clutch: |
| | This subclass is indented under subclass 258. Subject matter wherein a controlled clutch* has two
parts with frictional drive faces and the two parts of the controlled
clutch* are moved, one relative to the other, in the direction
of the transmission axis to engage or disengage their frictional
surfaces. |
| | |
263 | Overload release: |
| | This subclass is indented under subclass 254. Subject matter including means to sense when torque to an
output member* exceeds a predetermined value; and, in response
to such sensing, interrupt the flow of power through a drive train* power
path.
SEE OR SEARCH THIS CLASS, SUBCLASS:
| 192, | Clutches and Power-Stop Control, subclasses 56+,
129+ and 150 for related art. |
| 464, | Rotary Shafts, Gudgeons, Housings, and Flexible
Couplings for Rotary Shafts, subclasses 30+ for an overload release
coupling in a drive train. |
|
| | |
264 | Spring applied friction drive establishing means: |
| | This subclass is indented under subclass 263. Subject matter wherein a coupling, clutch* or brake* is
utilized to establish a speed ratio* in a planetary transmission,
such coupling, clutch* or brake* being of a non-positive,
friction type and being engaged by a spring and disengaged in response
to torque.
| | (1)
Note. In disengaging the coupling, clutch* or brake* a
second coupling, clutch* or brake* may or may
not be engaged. |
SEE OR SEARCH THIS CLASS, SUBCLASS:
| 140+, | for a spring applied and fluid released clutch* or
brake* |
| 301, | for a clutch* or brake* consisting
of a helical spring. |
|
| | |
266 | Stepped, torque responsive ratio change: |
| | This subclass is indented under subclass 254. Subject matter wherein a plurality of distinct speed ratios* are
effected by the use of a plurality of clutches* or brakes* and
the change from one ratio to another is in response to the turning
effort of a part of a transmission.

SEE OR SEARCH THIS CLASS, SUBCLASS:
| 12, | for a stepped ratio change in response to the change
in direction of an input member*. |
|
| | |
267 | With flywheel or centrifugal weight control: |
| | This subclass is indented under subclass 254. Subject matter wherein a planetary transmission is controlled
in response to (1) the affect thereon of the inertia of a separate
mass driven by a transmission part, or (2) the radially acting force
produced in response to the speed of a transmission part by a separate
mass driven by said part and spaced from the rotary axis of such
part.
SEE OR SEARCH THIS CLASS, SUBCLASS:
| 255, | for eccentrically weighted planet pinions* and
258+ for centrifugally controlled clutch* or brake*. |
SEE OR SEARCH CLASS:
| 180, | Motor Vehicles,
subclass 165 for the use of a flywheel in a power delivery system
together with significant vehicle structure. |
|
| | |
269 | WITH MEANS TO VARY DRIVE RATIO OR DISCONNECT DRIVE (E.G.,
BRAKE OR CLUTCH): |
| | This subclass is indented under the class definition. Subject matter which includes a ratio-changing device to
provide at least two different speed ratios*; or wherein
means are provided to disconnect the flow of power to an output
member* while an input member* continues to rotate.
SEE OR SEARCH THIS CLASS, SUBCLASS:
| 91+, | for fluid-resistance type clutches* and brakes*. |
| 116+, | for fluid control of clutches* and brakes*. |
| 149+, | for electrical control of clutches* and brakes*. |
|
| | |
270 | Manual force provides reaction during drive: |
| | This subclass is indented under subclass 269. Subject matter wherein a reaction force in a planetary gear
transmission is provided by human force limiting or preventing rotation
of an element in the transmission while another element in the transmission
provides rotation to an output member*.

|
| | |
271 | Plural elements selectively braked: |
| | This subclass is indented under subclass 269. Subject matter wherein an assemblage which comprises a planetary
gear transmission or a plurality of planetary gear transmissions
has at least two elements thereof which are provided with a brake*.
SEE OR SEARCH THIS CLASS, SUBCLASS:
| 173, | for a transmission including an eccentric type planetary
gear set having plural planetary elements braked. |
|
| | |
272 | With preselection: |
| | This subclass is indented under subclass 271. Subject matter including a first manual controller actuatable
to select a desired speed ratio* and a second manual controller
effective to engage the said desired speed ratio*.
SEE OR SEARCH CLASS:
| 477, | Interrelated Power Delivery Controls, Including
Engine Control, wherein a second manual controller may be a motor
control, such as an accelerator pedal. |
|
| | |
276 | With brake for sun, carrier and orbit: |
| | This subclass is indented under subclass 275. Subject matter wherein one of said elements provided with
a brake* is one of said sun gears*; and two other
of said elements provided with a brake are a planet carrier* and
an orbit gear*.
SEE OR SEARCH THIS CLASS, SUBCLASS:
| 54, | for this combination with a fluid drive in one of
plural paths. |
|
| | |
278 | And brake for carrier: |
| | This subclass is indented under subclass 277. Subject matter which further includes a brake* for
a planet carrier*.

SEE OR SEARCH THIS CLASS, SUBCLASS:
| 56, | for this combination with a fluid drive in one of
plural paths. |
|
| | |
279 | With brake for plural orbits: |
| | This subclass is indented under subclass 275. Subject matter wherein at least two orbit gears* are
provided with a brake*.

SEE OR SEARCH THIS CLASS, SUBCLASS:
| 58, | for this combination with a fluid drive in one of
plural paths. |
|
| | |
280 | Brake for sun, carrier and orbit: |
| | This subclass is indented under subclass 271. Subject matter wherein said elements which are provided
with a brake*, a sun gear*, a planet carrier* and
an orbit gear*.

SEE OR SEARCH THIS CLASS, SUBCLASS:
| 54, | for this combination with a fluid drive in one of
plural paths. |
|
| | |
282 | Brake for sun and orbit: |
| | This subclass is indented under subclass 271. Subject matter wherein said elements which are provided
with a brake* are a sun gear* and an orbit gear*.
SEE OR SEARCH THIS CLASS, SUBCLASS:
| 55, | for this combination with a fluid drive in one of
plural paths. |
|
| | |
284 | Brake for sun and carrier: |
| | This subclass is indented under subclass 271. Subject matter wherein said elements which are provided
with a brake* are a sun gear* and a planet carrier*.
SEE OR SEARCH THIS CLASS, SUBCLASS:
| 56, | for this combination with a fluid drive in one of
plural paths. |
|
| | |
286 | Brake for orbit and carrier: |
| | This subclass is indented under subclass 271. Subject matter wherein said elements which are provided
with a brake* are an orbit gear* and a planet
carrier*.
SEE OR SEARCH THIS CLASS, SUBCLASS:
| 57, | for this combination with a fluid drive in one of
plural paths. |
|
| | |
288 | Plural suns braked: |
| | This subclass is indented under subclass 271. Subject matter wherein said elements which are provided
with a brake* are at least two sun gears*.
SEE OR SEARCH THIS CLASS, SUBCLASS:
| 47, | for this combination with a fluid drive in one of
plural paths. |
|
| | |
290 | Plural orbits braked: |
| | This subclass is indented under subclass 271. Subject matter wherein said elements which are provided
with a brake* are at least two orbit gears*.
SEE OR SEARCH THIS CLASS, SUBCLASS:
| 58, | for this combination with a fluid drive in one of
plural paths. |
|
| | |
293 | Speed responsive clutch or brake: |
| | This subclass is indented under subclass 269. Subject matter wherein a drive train* includes a
clutch* having mechanism for controlling the coupling of
two parts in response to the velocity of one of the parts; or which
includes a brake* which controls a moving part in response
to its velocity.
| | (1)
Note. Patents in this subclass are directed to a speed responsive
brake* or clutch* in a drive train in advance
of, or after a planetary gear transmission. |
SEE OR SEARCH THIS CLASS, SUBCLASS:
| 254+, | and see the search notes therein for condition responsive
control of a planetary gear transmission. |
SEE OR SEARCH CLASS:
| 192, | Clutches and Power-Stop Control,
subclasses 3.51+ for a combination of transmission control and clutch
control; and 215+ for a combination of transmission control
and brake. |
|
| | |
294 | Ratio shift initiated by reverse rotation of input shaft: |
| | This subclass is indented under subclass 269. Subject matter wherein an input shaft is rotated in a first
direction during both of said ratios*; and wherein means
are provided for operating said ratio changing device by limited
movement of said input shaft in a direction opposite to said first
direction.
SEE OR SEARCH CLASS:
| 192, | Clutches and Power-Stop Control,
subclasses 217.1+ for related subject matter combined with a back-pedaling brake. |
|
| | |
295 | Plural outputs: |
| | This subclass is indented under subclass 269. Subject matter which includes means to drive at least two
load devices*.
SEE OR SEARCH THIS CLASS, SUBCLASS:
| 332, | and see the search notes therein for related subject
matter. |
|
| | |
296 | Plural drive ratios other than unity: |
| | This subclass is indented under subclass 269. Subject matter wherein said different speed ratios are two
overdrives*, or two underdrives*, or an underdrive* and
an overdrive*.

ring gear fixed to frame; output; input SEE OR SEARCH THIS CLASS, SUBCLASS:
| 271+, | for plural drive ratios obtained by selectively
braking plural elements. |
|
| | |
301 | Brake or clutch on surface of helically coiled member: |
| | This subclass is indented under subclass 269. Subject matter wherein a helically coiled resilient device
has a frictional surface which expands or contracts into engagement
with two relatively movable members to function as a clutch*,
or which expand or contracts into engagement with a moveable and
stationary member to function as a brake*.
SEE OR SEARCH CLASS:
| 188, | Brakes, for, per se. |
| 192, | Clutches and Power-Stop Control,
subclass 41 for this type clutch. |
|
| | |
302 | Nonplanetary gearing combined with planetary: |
| | This subclass is indented under subclass 269. Subject matter wherein a part of a drive train* leading
to or from a planetary gear transmission includes nonplanetary gearing
associated therewith.
SEE OR SEARCH THIS CLASS, SUBCLASS:
| 343, | and see the search notes therein for related subject
matter. |
|
| | |
303 | With synchronizing clutch or brake: |
| | This subclass is indented under subclass 269. Subject matter wherein a clutch* includes friction
members to couple relatively moving parts to gradually achieve common
rotation prior to positive coupling by intermeshing parts; or wherein
a brake* includes friction members to gradually couple
a rotating part to a stationary part prior to positive coupling
by intermeshing parts.
SEE OR SEARCH THIS CLASS, SUBCLASS:
| 67, | and see the search notes therein for related subject
matter. |
|
| | |
304 | Planet pinion is worm gear: |
| | This subclass is indented under subclass 269. Subject matter including a planetary gear transmission in
which a planet pinion is a worm gear*.

SEE OR SEARCH THIS CLASS, SUBCLASS:
| 7, | 226+, and 333, for related subject matter. |
|
| | |
308 | And lock-up clutch: |
| | This subclass is indented under subclass 306. Subject matter wherein of another said speed ratios is a
unitary drive* which is provided by engaging a clutch*. |
| | |
309 | Friction clutch: |
| | This subclass is indented under subclass 308. Subject matter wherein said clutch* is of a type in
which pressure and resultant friction between faces of two relatively
movable parts causes the parts to have common movement. |
| | |
310 | Plate clutch: |
| | This subclass is indented under subclass 309. Subject matter in which said relatively moveable parts are
in the form of discs. |
| | |
311 | Sun braked: |
| | This subclass is indented under subclass 269. Subject matter wherein a drive train* includes a
planetary gear transmission, and wherein one of said speed ratios* is
provided by applying a brake* to a sun gear* of
said planetary gear transmission. |
| | |
314 | And lock-up clutch: |
| | This subclass is indented under subclass 311. Subject matter wherein another of said speed ratios* is
a unitary drive* which is provided by engaging a clutch*. |
| | |
315 | Friction clutch: |
| | This subclass is indented under subclass 314. Subject matter wherein said clutch* is of a type in
which pressure and resultant friction between faces of two relatively
moveable parts causes the parts to have common movement. |
| | |
316 | Plate clutch: |
| | This subclass is indented under subclass 315. Subject matter in which said relatively movable parts are
in the form of discs. |
| | |
317 | Orbit braked: |
| | This subclass is indented under subclass 269. Subject matter wherein a drive train* includes a
planetary gear transmission, and wherein one of said speed ratios* is
provided by applying a brake* to an orbit gear* of
said planetary gear transmission. |
| | |
320 | And lock-up clutch: |
| | This subclass is indented under subclass 317. Subject matter wherein another of said speed ratios* is
a unitary drive* which is provided by engaging a clutch*. |
| | |
321 | Friction clutch: |
| | This subclass is indented under subclass 320. Subject matter wherein said clutch* is of a type in
which pressure and resultant friction between faces of two relatively
moveable parts causes the parts to have common movement. |
| | |
322 | Plate clutch: |
| | This subclass is indented under subclass 321. Subject matter in which said relatively movable parts are
in the form of discs. |
| | |
323 | Carrier braked: |
| | Subject matter under 269 wherein a drive train* includes
a planetary gear transmission, and wherein one of said speed ratios* is
provided by applying a brake* to a planet carrier* of
said planetary gear transmission. |
| | |
326 | And lock-up clutch: |
| | This subclass is indented under subclass 323. Subject matter wherein another of said speed ratios is a
unitary drive* which is provided by engaging a clutch*. |
| | |
327 | Friction clutch: |
| | This subclass is indented under subclass 326. Subject matter wherein said clutch* is of a type in
which pressure and resultant friction between faces of two relatively
moveable parts cause the parts to have common movement. |
| | |
328 | Plate clutch: |
| | This subclass is indented under subclass 327. Subject matter in which said relatively moveable parts are
in the form of discs. |
| | |
329 | PLURAL POWER PATHS TO PLANETARY GEARING: |
| | This subclass is indented under the class definition. Subject matter wherein rotational force from a power source* is
split into at least two paths prior to reaching a planetary gear
transmission; one of said paths providing rotational input power
to a first element of the planetary gear transmission, and the other
of said paths providing rotational input power to a second element
of said planetary gear transmission.
SEE OR SEARCH THIS CLASS, SUBCLASS:
| 1+, | 18+, 35+, 47+, 72+,
171, 211+, 215+, and 218, for related subject
matter. |
| 343, | for similar art where there may be plural power
paths extending from the planetary transmission. |
|
| | |
331 | PLANETARY GEARING OR ELEMENT: |
| | This subclass is indented under the class definition. Subject matter including a planetary gear transmission or
a device particularly adapted to be used with said planetary gear
transmission. |
| | |
332 | Plural outputs: |
| | This subclass is indented under subclass 331. Subject matter including means to drive at least two load
devices*.
SEE OR SEARCH THIS CLASS, SUBCLASS:
| 6, | 15, 18+, 74, 174, 184, 220+, and
295, for related subject matter. |
SEE OR SEARCH CLASS:
| 74, | Machine Element or Mechanism,
subclasses 11+ and 665+ for other plural output transmissions. |
| 180, | Motor Vehicles,
subclasses 53.1+ for power take-offs including significant vehicle
structure. |
|
| | |
333 | Planet pinion is worm gear: |
| | This subclass is indented under subclass 331. Subject matter wherein a planet pinion* of said planetary
gear transmission is a worm gear*.
SEE OR SEARCH THIS CLASS, SUBCLASS:
| 7, | 226+ and 304, for related subject matter. |
|
| | |
334 | Floating support annulus in rolling contact with planet
pinion: |
| | This subclass is indented under subclass 331. Subject matter which includes a ring surrounding the rotational
axis of a planet carrier* and free to move with respect
to said carrier; said ring contacting a smooth surface on a plurality of
planet pinions* spaced about said planet carrier to aid
in supporting said planet pinions.

|
| | |
337 | Plural planet carriers in series move at different speeds: |
| | This subclass is indented under subclass 331. Subject matter including a plurality of planet carriers*,
the output power of one of said planet carriers providing input
power to the other of said planet carriers; and wherein the rotational
velocity of one of said planet carriers is different than the other.

|
| | |
342 | And sun gear: |
| | This subclass is indented under subclass 341. Subject matter which also includes a sun gear* meshing
with said planet pinion*. |
| | |
343 | Nonplanetary gearing combined with planetary: |
| | This subclass is indented under subclass 331. Subject matter wherein a part of a drive train* leading
to or from said planetary gear transmission includes non-planetary
gearing associated therewith.
SEE OR SEARCH THIS CLASS, SUBCLASS:
| 52, | 66, 198+, 207+, 225, and 302,
for related subject matter. |
| 329+, | for this combination where there is provided two
power paths to the planetary transmission. |
|
| | |
344 | Particular gear tooth feature: |
| | This subclass is indented under subclass 331. Subject matter wherein significance is attributed to the
shape of a gear tooth, or to the material from which a gear tooth
is formed.

oblique teeth SEE OR SEARCH THIS CLASS, SUBCLASS:
| 180, | for related subject matter. |
SEE OR SEARCH CLASS:
| 74, | Machine Element or Mechanism,
subclasses 457+ for related subject matter. |
|
| | |
345 | Nonmetallic or resilient: |
| | This subclass is indented under subclass 344. Subject matter wherein said gear tooth is formed of a flexible
material or of a material other than metal.
SEE OR SEARCH THIS CLASS, SUBCLASS:
| 180, | for related subject matter. |
|
| | |
346 | Floating or flexible coupling or support: |
| | This subclass is indented under subclass 331. Subject matter wherein one of the gears in said planetary
gear transmission is moveable in an axial or radial, nonrotary,
direction with respect to another of the gears to accommodate proper
alignment of the gears; or which include connecting means between
two shaft elements in a drive train* which permits a limited amount
of relative movement between said shaft elements or permits rotation
of said shaft elements when they are misaligned or angularly related;
or which provides a flexible support for said planetary gear transmission;
or which provides a resilient connection between a gear and its
supporting or driving member.

floating planet SEE OR SEARCH THIS CLASS, SUBCLASS:
| 202, | and 222, for related subject matter. |
SEE OR SEARCH CLASS:
| 464, | Rotary Shafts Gudgeons Housing, and Flexible Couplings for Rotary Shafts etc., for
flexible couplings, per se. |
|
| | |
347 | Resilient member: |
| | This subclass is indented under subclass 346. Subject matter which provides a resilient connection between
a gear and its supporting or driving member.
SEE OR SEARCH THIS CLASS, SUBCLASS:
| 92, | for planetary reaction element having a fluid damper. |
|
| | |
348 | Planet pinion supported by roller bearings: |
| | This subclass is indented under subclass 331. Subject matter wherein a planet pinion* is supported
for rotation by ball bearings or by cylindrical bearings surrounding
the axis of the planet pinion.
SEE OR SEARCH THIS CLASS, SUBCLASS:
| 246+, | and 253, for related subject matter. |
|
| | |
349 | With manual input: |
| | This subclass is indented under subclass 331. Subject matter wherein a power source* for driving
said planetary gear transmission is human force.
SEE OR SEARCH THIS CLASS, SUBCLASS:
| 3+, | for related subject matter. |
|
| | |
CROSS-REFERENCE ART COLLECTIONS
900 | BRAKE FOR INPUT OR OUTPUT SHAFT: |
| | This subclass is indented under the class definition. A collection of patents relating to structure for applying
a brake* to an input member* or to an output member*.
SEE OR SEARCH THIS CLASS, SUBCLASS:
| 18+, | and 224, for output shaft brakes* used in
steering by driving combinations. |
| 68, | and 175, for brakes* in combination with
the drives of those subclasses. |
| 113, | for fluid brakes* that may act on an input
member*, or output member. |
SEE OR SEARCH CLASS:
| 188, | Brakes, for brakes in general. |
| 192, | Clutches and Power-Stop Control,
subclasses 215+ for combined transmission control and brake. |
| 477, | Interrelated Power Delivery Controls, Including
Engine Control, for interrelated control between an engine and a transmission,
clutch, or brake. |
|
| | |
901 | PARTICULAR MATERIAL: |
| | This subclass is indented under the class definition. A collection of patents wherein significance is attributed
to a special kind of material used in a planetary gear transmission.
SEE OR SEARCH THIS CLASS, SUBCLASS:
| 85, | 180, and 344+, for related subject matter. |
|
| | |
902 | Nonmetallic: |
| | This subclass is indented under subclass 901. A collection of patents wherein the material is a material
other than metal.
SEE OR SEARCH THIS CLASS, SUBCLASS:
| 85, | 180 and 344+, for related subject matter. |
|
| | |
903 | STACKED PLANETARY GEARING: |
| | This subclass is indented under the class definition. A collection of patents relating to structure wherein first
and second sun gears* are arranged so that the second sun
gear is located radially outwardly from the first sun gear; and both
sun gears are in a common plane bisecting the rotational axis of
the sun gears.

|
| | |
904 | PARTICULAR MATHEMATICAL EQUATION: |
| | This subclass is indented under the class definition. A collection of patents wherein significance is attributed
to using a mathematical equation to compute a structural or operational feature
of planetary gear transmission. |
| | |