SECTION I - CLASS DEFINITION
Class 269 is the residual locus for patents to a device which,
during a work treating operation, contacts a workpiece for the purpose
of (a) supporting the work against the force of gravity; or (b)
preventing movement of the work in a particular direction or in
all directions while, as disclosed, such work is supported against
the force of gravity; or (c) providing a surface juxtaposed to the
work for constraining the motion of a tool during its performance
of such work treating operation.
Holding articles together so that (by disclosure) a glue, cement
or adhesive may set and secure said articles together is considered
to be a work holding operation for this class. Thus, a clamp or
vise, disclosed for use by cabinet makers, carpenters, woodworkers,
etc., to hold plural pieces together while an adhesive (previously applied)
sets, is properly classifiable in this class.
A "clamp" means, per se, to grasp or draw
portions of a mold or flask either together or onto a base or support
is structurally so similar to the work holders of this class that
patents to such clamp are classified in this class. This is a specific
exception to the functional workholding concept otherwise maintained
for this class.
PLACEMENT OF PATENTS
The following statement is supplemental to the explanation
set forth on pages I and II of the Manual of Classification.
As among coordinate subclasses, the rule of superiority followed
in this class requires placement of the "original" patent
copy in the first or highest subclass providing for claimed subject
matter. As between a subclass, providing for such claimed subject
matter, and subclasses indented thereunder, patent placement is
in the first of such indented subclasses providing for disclosed subject
matter. Thus, depending upon the "superiority" of
a particular subclass, an original copy of a specific patent may
be placed therein on the basis of either claim or disclosure.
For example, a patent discloses a holder with a pair of relatively
movable jaws and an aligned hole in each of the jaws so that a punch
can move through the holes and perforate the paper while the paper
is held by the jaws. Only relatively movable jaw means are broadly
claimed. On the basis of claimed subject matter, the patent falls into
subclass 86, but then on the basis of the disclosed subject matter,
the patent would be placed in the indented subclass 87.
SECTION II - LINES WITH OTHER CLASSES AND WITHIN THIS CLASS
A. This class is intended to be, ultimately, the general locus
for all work holders regardless of the treatment that is disclosed
as being performed on the so held work. At present, however, most
work treating classes include patents directed to work holders effective
during the treatment which characterizes such class. With the exceptions
enumerated below, no attempt has been made to incorporate such work
holders into this class. For a partial list of work treating classes
that provide for their own work holders, see "Holder, Work" in
the "Index to the U.S. Patent Classification System."
B. At present, patents to be found in this class have been screened
from Class 29, Metal Working, subclasses 2.1-2.25 and 700-283.5;
Class 30, Cutlery; Class 73, Measuring and Testing; Class 82, Turning,
subclasses 46-102; Class 83, Cutting; Class 223, Apparel Apparatus; Class
225, Severing by Tearing or Breaking; Class 156, Adhesive Bonding
and Miscellaneous Chemical Manufacture.
C. In addition to the above listed loci for work holders that
have been screened and the appropriate patents placed in this class,
the following loci have been abolished and substantially all the
patents reassigned to this class: Class 29, Metal Working, subclass
284; Class 65, Glass Manufacturing; Class 81, Tools, subclasses
17+; Class 409, Gear Cutting, Milling, or Planing; Class
144, Woodworking, subclasses 288, 289+.
D. As other loci are screened, or reclassified, and patents
for work holders moved to this class, appropriate notation will
be added to B and C above.
HOLDER, PER SE, ELSEWHERE CLASSIFIED
(A) The following classes have provision for specific types
of article holding devices; and patents claiming such holding devices
as the sole claimed means for supporting the work against gravity
and falling within the definitions of such classes are to be found
in such classes rather than in this class (269) even though work is
disclosed as being treated while so supported: Class 24, Buckles,
Buttons, Clasps, etc.; Class 81, Tools; Class 108, Horizontally
Supported Planar Surfaces; Class 187, Elevator, Industrial Lift
Truck, or Stationary Lift for Vehicle, subclasses 203-221 for a
stationary lift for a roadway vehicle which is to be repaired or inspected;
Class 211, Supports: Racks; Class 242, Winding, Tensioning, or Guiding;
Class 248, Supports, subclasses 26.1+; Class 249, Static
Molds, subclasses 205-219.2 for mold adjuncts that hold mold parts
in operative relation; Class 254, Implements or Apparatus for Applying
Pushing or Pulling Force; Class 279, Chucks or Sockets; Class 285,
Pipe Joints or Couplings; Class 384, Bearings; Class 312, Supports:
Cabinet Structure; Class 335, Electricity: Magnetically Operated
Switches, Magnets, and Electromagnets, subclasses 285-295; Class
403, Joints and Connections; Class 433, Dentistry, subclasses 49-67
for work holder specific to use in dentistry, especially subclasses
54-67 for articulators.
If, however, additional means not provided for in any of these
classes are claimed as supporting the work against gravity, the
patent will be found in this class. Also, if a tool couple element* is
claimed in addition to the holding means, the patent will be found
in this class.
(B) Holding material for a nontreating purpose:
A device for holding material solely for a nontreating purpose
will not be found in this class but will be found in the class providing
for such holding means. See Class 248, Supports, which is the locus
of art for supports of general utility. If a patent claims a holder
which is disclosed as being usable either to support work while
it is treated or to support material for a nontreating purpose, the
patent will be found in this class with a cross-reference in the
appropriate material supporting or holding class based on the nontreating
disclosure.
(C) Relationship to work treating classes whose work holding
subcombinations are placed in this class.
Exemplary types of treating and nontreating operations:
The following operations are deemed to come within the definition
of treating as set forth under the definitions of this class: Stretching
material, Testing material, Winding material about a core, Assembly
as by moving (i.e., with means for moving) an article from one position
to a second position where it will be secured to a second article.
(Putting a cap on a receptacle is considered to be an assembling
operation and therefore a treating operation).
Exemplary operations considered to be of nontreating type:
Inspecting, measuring and gauging, filling a receptacle. Merely
holding an article or articles in place so that the article can
be secured to another article while so held is considered to be
a work holding operation of this class. See RELATIONSHIP TO ASSEMBLY
MEANS below.
WORK HOLDER IN COMBINATION WITH TREATING MEANS
(A) A patent claiming a work holder which has a claimed work
treating instrumentality as a part thereof, which is disclosed as
treating the work without cooperating with a coacting tool, will
be found in the class providing for such treatment, and not in this
class.
Examples:
A patent claiming a fixed blade for severing work by manually
drawing the work thereagainst with a transverse tearing action is
found in Class 225, Severing by Tearing or Breaking.
A patent claiming a work holder having a brush mounted therein,
for coating work moved against it, goes beyond this class.
(B) Work holder having as a part thereof, specific means which
takes part in the treating function:
(1) A patent claiming a work holder including a tool couple
element*, and claiming in combination therewith the cooperating
element of the tool couple or the support for the cooperating element,
will be placed in the appropriate treating class no matter how broadly
the cooperating element or its support is claimed. For example,
a work holder having a claimed edge or inserted cutting stick that
is disclosed as coacting with a movable cutter to cut the work will
be found in this class only if the movable cutter or its support
is not claimed.
(2) Distinction between a treating tool, per se, and a work
holder having a tool couple element*.
(a) A patent claiming a work treating tool, per se, will not
be found in this class even though the tool is disclosed as supporting
the work against gravity, if the portion of the work contacted by
the tool is only that portion of the work which is to be treated
and portions of the work immediately adjacent thereto.
(b) A patent claiming a work holder having a treating tool,
per se, as a part only thereof will be found in this class.
(C) The following exceptions to this rule of distinction are:
Excluded from this class is a patent claiming a roller having
a tool couple element* thereon and rotating about its axis
for the purpose of having work moved about the periphery of the
roller and partially envelop the periphery, so that a portion of
the work in contact with the periphery can be treated while the
roller is rotating and while the work is moving about the periphery
and another portion of the work has relative movement with respect
to the roller. Such a patent is considered to be drawn to a tool
and its support and will be found in the class of the tool couple
element. Compare with RELATIONSHIP TO MATERIAL HANDLING CLASSES,
Movable work holder, paragraph 2, below.
Also excluded from this class is a patent claiming a work
holder carrying a tool couple element*, which holder and
element are disclosed as being relatively movable during the treatment
of the work. Such a patent will be found in the class of the tool
couple element.
(C) Claimed combination of a work holder and a nominally recited
treating means:
The claiming of a work holder and the recitation of a work
treating means or its support (not part of or carried by the work
holder) is considered to go beyond the scope of this class unless
the tool or tool support is nominally claimed. If the tool or tool
support is nominally claimed, the patent does not exceed the boundaries
of this class unless there is claimed a tool couple element* as
described in WORKHOLDER IN COMBINATION WITH TREATING MEANS, below.
The following, for example, are considered not to be nominal recitations
of the work treating means or its support:
(1) A limitation to a treating means structure or characteristic
as, for example, the claiming of a tool as being "sharp" or
the claiming of a tool or its support as being "movable."
(2) A limitation to the relative positions of the treating means
or its support and the work holder as, for example, the claiming
of a tool or its support as being "above" the
work holder.
RELATIONSHIP TO MATERIAL HANDLING CLASS
(A) Movable work holder:
The subject matter of this class includes a work holder having
means for moving the work holder while it is holding the work, either
before, during or after treatment. Where, however, such apparatus
has been recognized as a material transporter in an existing body
of art, a patent thereto will be found in such body of art. See the
list of classes in the class definition of Class 414, Material or
Article Handling. Where the claimed apparatus includes, in addition
to the details of the recognized material transporter, a tool or
tool couple element*, the patent will not be found in a
material transporting class but in either this class or in the appropriate
work treating class depending on the criteria set forth above in
WORK HOLDER IN COMBINATION WITH TREATING MEANS. For example, a patent claiming
an endless belt conveyor whose upper run is disclosed as holding
work while it is treated will be found in either Class 271, Sheet
Feeding or Delivering, Class 226, Advancing Material of Indeterminate
Length or Class 198, Conveyors: Power-Driven; such work holding
means being a recognized material transporter. If the patent also
claims a guide overlying the upper run and having the disclosed
function of guiding a work cutting tool, the patent will be found
in this class. If the tool on the guide is claimed, the patent will
be found in the class of such tool.
The following exemplifies the rule set forth in the preceding
subsection. Excluded from this class is a patent claiming a roller
and not claiming a tool couple element* on the roller,
said roller rotating about its axis for the purpose of having work
moved about the periphery of the roller, and partially enveloping
the periphery, so that a portion of the work in contact with the
periphery can be treated while the roller is rotating and the work
is moving about the periphery and while another portion of the work
has relative movement with respect to the roller. Such a patent
will be found in the appropriate material transporting class. Compare
this paragraph with WORKHOLDER IN COMBINATION WITH TREATING MEANS,
above.
A material transporter having the disclosed function of (a)
taking work to, or away from, an article to which said work is secured
as well as (b) holding said work in position while it is being secured
to, or unsecured from, said article is considered to be beyond the
scope of this class. See Class 414, subclasses 10-12, Class 29,
subclasses 700-283.5 and Class 254 for such a device.
(B) Product removal means:
The subject matter of this class includes a work holder having
means for moving a product relative to the work holder. Where however,
such combination has been recognized as a material transporter in
a recognized body of art, the patent will be found in such body
of art. Where the claimed apparatus includes, in addition to the details
of such recognized material transporter, a tool or tool couple element*,
the patent will not be found in such recognized material transporting
class, but either in this class or in the appropriate work treating
class depending on the criteria set forth in WORK HOLDER IN COMBINATION
WITH TREATING MEANS, above. For example, a patent claiming delivery
rollers for removing sheets from a table, which table is disclosed
as holding work during treatment will be found in Class 271, Sheet
Feeding or Delivering, even though the table is claimed. If the
patent also claims a slot in the table having the disclosed function
of guiding a work cutting tool, the patent will be found in this
class. If the tool moving in the slot also is claimed, the patent
will be found in the class of such tool.
(C) Means to feed work to a work holder:
The basic subject matter of this class does not include the
claimed combination of a work holder and a means for moving the
work relative to a work holder portion, or for enabling such movement
to take place. Nor does the basic subject matter of this class include
a device for moving work with respect to a work holder portion regardless
of whether the device supports or holds the work during treatment
of the work. For example, a gripper which holds and moves work with
respect to another work holder portion (claimed or disclosed) is
excluded from this class. Such a combination or device will be found
in the class appropriate for the work moving means. If the referred
to combination also includes a significantly claimed tool or tool
couple element*, the patent will be found in the class
of the tool. See Class 399, Electrophotography, subclasses 377-380
for holder of original and subclass 393 for copy medium input tray;
all support structure is limited to use with an electrophotographic
device.
If it is not clear from a patent specification whether a claimed
element of the patent is intended to move the work relative to the
holder or act as a part of a work holder, the element will be construed
as being a part of a work holder and the patent will be found in
this class. If such element is disclosed as being capable of either moving
the work with respect to the work holder or acting as part of the
work holder, the patent will be found in the appropriate material
transporting class and may be cross-referenced in this class.
For example, where the claimed subject matter of a patent
includes an abutment which moves across a work supporting surface
that underlies the work and a drive means for producing unidirectional
intermittent movement of the abutment across the supporting surface,
the abutment will be construed as pushing the work across the supporting
surface and the patent will be found in the appropriate material
transporting class.
(D) Means to guide moving work or product with respect to
the work holder:
The subject matter of this class includes a work holder and
passive means constraining movement of the work toward or over the
work holder, or of the product away from the work holder, to a desired
path. Where, however, such apparatus has been recognized as a material handler
in a recognized body of art, the patent will be found in such body
of art. Where the apparatus includes, in addition to the details
of such recognized material handler, a tool or tool couple element*,
the patent will not be found in such recognized material handling
art, but either in this class or in the appropriate work treating class
depending on the criteria set forth in WORK HOLDER IN COMBINATION
WITH TREATING MEANS, above. For example, a patent claiming only
a trough which, by disclosure, serves to support a pipe for a cutting
operation while the pipe is moving along the trough will be found
in Class 193, Conveyors, Chutes, Skids, Guides, and Ways. As a second
example, an invention relating to a power-driven conveyor having means
to facilitate working on the conveyed load at a work station is
included in Class 198, Conveyors: Power-Driven, subclasses 339+,
or, in the case of a power-driven conveyor having means to change
the attitude of the conveyed load relative to the conveying direction,
in subclasses 373-417 of the same class. As a third example, a patent
claiming a flat work supporting table having air jets mounted therein
which blow against the bottom of the work so as to permit the work
to be moved more easily over the table will be found in Class 414,
Material or Article Handling, subclass 676. If either patent claims,
in addition, a slot in the trough or table which is disclosed as
coacting with a movable cutter to cut the work, the patent will
be found in this class. If, in addition, the cutting tool is claimed,
the patent will be found in the class of such tool.
RELATIONSHIP TO ASSEMBLY MEANS (CLASS 29)
The claimed recital of means to hold a piece of work relative
to another piece of work for purposes of juxtapositioning and/or
securing has been considered to be a work holding operation for
this class. (See above, HOLDER, PER SE, ELSEWHERE CLASSIFIED, section
C, Exemplary styles of treating and nontreating operations, 2nd
paragraph). However, the inclusion of (a) means to move the individual
pieces to effect such juxtapositioning or (b) means to guide the
pieces during movement is considered to be an assembling operation for
Class 29, subclasses 700-283.5. For example, with respect to (b),
a patent with limitations to a work holder including a tapered pin
(said taper being claimed) so as to align the holder with another
holder during relative movement of said holders, no means for such
movement being claimed, is considered to go beyond a work holding
function for this class and would be placed in the assembling art
of Class 29.
RELATIONSHIP TO PRESS MEANS (CLASS 100)
Structural differences between devices labeled vise, clamp,
work holder, or press are often lacking. The differences, if any,
lie in the use to which these devices are applied. Where material
is engaged and compacted by the engaging means, the term "press" (Class
100) is considered appropriate. Where material is engaged to support
and/or immobilize said material during treatment, the term "work
holder" (Class 269) is considered appropriate. It should
be noted that Class 100 is only the residual press class, other
classes (such as 65, 72, etc.) providing for presses relating to
specific material and modifications. Similarly, Class 269 is only
the residual work holder class, other classes (Class 65, Class 118, Class
408, Class 451, etc.) including work holders effective during the
specific treatment characterizing such classes.
The work holders of Class 269 (with one exception - tool couple
element*) do not include means to modify or treat the material
engaged. For the purpose of keeping similar structure together,
it is deemed best that, as between Class 100 and Class 269, the
setting of an adhesive, previously applied, to material is considered
to be a treatment of said material, which material is therefore considered
to be "work." Thus, a device to hold plural pieces
while an adhesive (previously applied) sets is considered appropriate
for this class (269). However, a work holder for holding plural
pieces while an adhesive sets, proper for Class 269, combined with
means for heating, cooling or fluid contact, is considered a combination
classifiable in Class 100.
A device for continuously processing material, involving means
for a shifting area of contact between the device and the material,
while a bonding agent between component parts of the material sets,
is considered to be a form of treating device in itself and as such
is excluded from Class 269.
Class 100 is considered to be superior to Class 269 and as
such the appropriate locus for patents relating to work gripping
devices not clearly provided for in Class 269 or by the notes thereto.
MISCELLANEOUS NOTES
Convertible devices:
A patent claiming a device with means which by adjustment,
addition, removal or reassembly of one or more of its parts may,
at the discretion of an operative, be capable of performing a function
as a work holder for this class or a function falling within the
scope of another class will be placed in said other class. For example,
a patent for a device which, as claimed, is adjustable for use as
a vise or readjustable for use as a wrench will be placed in Class
81, subclasses 53+, with the wrench art.
A patent claiming a work holder having relatively movable
jaws convertible to a work shaping means, said conversion providing
means to hold and shape work is placed in Class 29, Metal Working,
subclass 560.1 with appropriate cross-reference in this class and/or
the proper shaping class for specific individual features.
Relationship to classes of composition of matter:
A work holder defined in terms of its composition, without
any significant structure claimed, will be found in the class providing
for the composition and not in this class.
Relationship to classes of power transmitting means:
A patent limited in its claims to a means for driving or moving
a work holder element, with the element defined merely as the named
load of the driving or moving means, will be found in the class
providing for such driving or moving means and not in this class.
If any significant structure of the holder element is claimed, the
patent will be found in this class.
Combination with work supply holder:
This class includes the combination of a work holder and a
holder for the supply of work which is to be placed in the work
holder. An example of such a work supply holder is a reel from which
a web of the work may be unwound to be placed on the work holder.
The work supply holder is not considered to be a work holder unless
that portion of the work which is on the work supply holder is disclosed
as being treated.
Combination with geometrical instrument or geometrical indicia:
This class includes the combination of a work holder and a
geometrical instrument or geometrical indicia, as for indicating
desired distances along or positions in the basic device of this
class.
Processes of work holding:
Class 29, Metal Working, subclass 559, is the residual locus
of patents directed to methods of holding work. A patent including
a claim to a work holding method would be placed in subclass 559
and cross-referenced back to Class 269, if necessary, for disclosed
or claimed work holding structure.
Processes of making a work holder:
Class 76, Metal Tools and Implements, Making, subclasses 101.1-119,
is the residual locus for patents to a blank for, or a process of,
making a work holder.
The class of adhesive bonding:
Class 156, Adhesive Bonding and Miscellaneous Chemical Manufacture,
subclasses 502 and 503 include work-holder with treatment means,
e.g., heating, cutting, etc.
SECTION III - GLOSSARY
Terms or phrases used in titles and definitions
either repeatedly or in a special and limited sense are set forth below
with the meaning each is to have in this class. For economy of space,
an asterisk (*) following a word indicates that reference
should be had to this glossary for the specific meaning thereof,
while an asterisk following an underlined phrase (e.g., holder mounted
for movement*) indicates that the entire underlined term
as such, has been defined in this glossary.
ACTUATION (ACTUATE, ACTUATING, ETC.)
The application of (a) a bias (resilient or gravity),
or (b) a mechanical advantage, or (c) the use of a lost motion mechanism
to effect the relative movement of jaws. The use of levers, inclined
planes, pulleys, gears, cams, fluid systems, etc., even where such
means fail to produce force multiplication, or actually provide
a force reduction, is considered enough to constitute actuation
means rather than adjustment* means.
ADJUSTMENT (ADJUST, ADJUSTING, ETC.)
The shift of a jaw or jaws into juxtaposition with work without
the application of (a) a bias (resilient or gravity), or (b) mechanical
advantage effective to press or grip work, or (c) utilizing a "lost
motion mechanism". This shift may be (d) no more than a "quick
setting" of a jaw of a particular device (e.g., the use
of a split nut to initially position a jaw for gripping movement
along a lead screw) or (e) a change of the range* limits
(e.g., the use of a pawl and rack lock to initially position a jaw
for gripping movement by a cam or eccentric). While the shift of
(d) and (e) are both considered to be jaw adjustment only (e) represents
a true variation of range limits; i.e., the full cam throw will
move the jaw one inch (the range whether the pawl and rack setting
provides a work accommodating span of three or ten inches).
ADJUSTMENT-LOCK
The immobilization, or securing against movement, of structural
elements constituting the means for jaw adjustment*. An
adjustment-lock may be effected (a) by a shift in relative position
of the structural elements being immobilized (as, for example, in
subclasses 166-171.5) or (b) by positioning an additional element
to effect the desired binding or securing.
The immobilization, securing, or binding referred to may be
only relative rather than absolute, in the sense that further movement
or positioning of the structural elements requires the utilization
of actuating* means.
The adjustment-lock effected may in fact be limited to a one
way latch or binding. For example, in some of the pawl and rack
locks of subclasses 212-215, the structural elements, when said
pawl and rack are engaged, cannot be further adjusted except in
a direction favored by the inclination of both rack teeth and pawl;
and similarly, in the simple cant type lock of subclass 166, the structural
elements, when relatively askew, resist adjustment in a direction
tending to further accentuate the degree of cant but are freely
adjustable in the direction tending to reduce the degree of cant.
CAM, ECCENTRIC
A rotatable, pivotal or rockable member having a contour,
which contour is not uniformly concentric with the pivotal or rotational
axis of the member, and which contour, as it moves with respect
to said axis, imparts a to-and-fro movement to a follower element
bearing against said contour. The movement of said follower element, as
the point of mutual contact between the member and the element shifts
along the contour, is thus prescribed by the configuration of said
contour with respect to the axis of rotation. The contour may be
a modification of a peripheral or radial surface with respect to
the pivotal or rotational axis or a configured groove, ridge or
slot lying in the general plane of either surface. Thus, the effective movement
of a follower element, caused by pivoting or rocking the cam member,
is measurable along lines normal to the member axis or parallel
to the member axis. The follower element is usually mounted for
sliding or pivoting movement with respect to the cam member. In some
instances, the contour, referred to above, is part of the follower
element.
In this class, the terms "cam" and "eccentric" are
used interchangeably.
See (3) Note under subclass 165 and (1) Note under subclass
229 for wedge adjustment and wedge actuating means.
CLAMP COUPLE ELEMENT
Structure limited to one jaw* plus the means
to adjust* and/or actuate* said jaw relative
to a disclosed, but not claimed, coacting jaw.
HAND (MANIPULATE)
The term "hand" (or "manipulate")
is used in the sense of "by contact with a living being" and
includes hand, foot, head, etc. Specific recital of foot, pedal,
etc. is limited to such recital.
HOLDER MOUNTED FOR MOVEMENT
A device in which a work holder is structurally related with
respect to a member on which it is supported so that the work holder
may be moved to a limited extent or in a definite path(s) with respect
to its supporting member. The entire holder, i.e., the structure
which contacts and thus actually supports the work, must be capable
of movement while work is held. In the case of a work underlying
support (as in subclasses 289-314), such underlying support is considered
mounted for movement even though the clamps or fastening means needed
to keep work from sliding off are not claimed.
HOLDER SUPPORT, MOUNT, OR BASE
A work holder support is the structure for positioning work
contacting elements, including the associated adjusting and/or
operating means for said work contacting elements, with respect
to a reference member (table, floor, wall, rack, bench, etc.). Such
support structure may be integral or articulated with a work contacting assembly
and is provided with means for maintaining position of said assembly
with respect to the reference member. The position maintained may
be adjustable with respect to a particular reference member by (a)
relative shifting of parts or links constituting the work holder
support or by (b) relative shifting of the articulated joint structure
between the work contacting assembly and the work holder support.
The position may also be varied by (c) temporary fastening means
selectively securing the work holder support to different reference members
or different portions of the same reference member.
A work holder support means such as (a) or (b) above is generally
disclosed as positionable either (1) preparatory to engaging work
or (2) while the work is being held. Since in many instances the
structure for (1) will serve for (2) and vise versa, no attempt
has been made to distinguish classificationwise on this basis. Both
(1) and (2) are treated, unless specifically noted otherwise, as (2)
and provided for under Holder Mounted for Movement*.
A work holder support means such as (c) above is not considered
as a Holder Mounted for Movement* and if claimed, per se,
will be found in Class 248, Supports.
MANIPULATE
see "HAND"
PRODUCT
The material that is placed in, or on, or in juxtaposition to,
the work holder in the condition in which such material exists after
it has been treated.
RANGE
The extent or span of relative jaw movement, without reference
to the work to be engaged, as predetermined by the structural relationship
between elements of the means to actuate* said jaws. For
example, shifting a split nut on a screw to initially position a
jaw carried by said nut does not involve a range change since the
nut can still travel the full extent of the screw; however, changing
the degree of eccentricity of a jaw actuating element does involve
a range change since the operation of said actuating element will
now result in a variation of the effective throw of said element
and its associated jaw.
SIMPLE MOVEMENT
The following, only, are considered to be simple movements
of a work holder:
(a) A movement in which all of the work holder swings about
a fixed axis except for the part lying on the axis, i.e., rotational
movement.
(b) A movement in which each point on the work holder moves
in a single rectilinear path; i.e., rectilinear movement.
JAW
(a) One of the plural portions of a work holder couple which
engages or grips a workpiece. Generally, the jaw is taken to include
the work contacting surface and that part of the holder which (1)
is contiguous to said surface as well as that portion which (2)
if moveable, moves bodily in congruent fashion with said surface.
(See subclass 271 for the definition of a jaw attachment or insert).
(b) A work holder portion with an underlying work contacting
surface, for which see subclass 289, especially (2) Note, is not
considered to be a jaw, unless claimed in combination as one of
plural coacting work gripping elements. However, a work holder portion
with an overlying work contacting surface, which portion ordinarily is
incapable of functioning as a work holder in the absence of a coacting
underlying support means, will be considered as a jaw even if there
is no claimed reference to said coacting underlying portion. (See
subclasses 37-45 for plural holders which separately hold at least
two workpieces relative to each other; each such holder is considered
to be more than a jaw).
(c) As an exception to (a) which states that a "jaw" must be
one of a couple; a work engaging member, which as claimed (1) includes
plural, abutting, nonparallel, flat work engaging surfaces; (2)
each such flat surface, coacting with a different one of plural
work engaging elements as one of a plurality of work engaging elements
as one of a plurality of work holding couples, is considered to
be a common jaw member cooperating with a plurality of jaws. (See
subclass 104 for patents to a holder with plural jaws coacting with
a common angle-corner jaw to hold the same workpiece). (See subclass
154 for patents to a holder with plural jaws coacting with a common
flat jaw surface to hold work or workpieces).
(d) Unlike (c) above, a work engaging member which as claimed
includes either (1) plural, nonabutting, work engaging surfaces
or (2) plural, abutting, curved, work engaging surfaces, and which
surfaces (1) or (2) each coact with a different one of plural work
engaging elements, is not considered to be a "common" jaw
member. Hence, such a configured work engaging member in combination
with coacting plural elements does not constitute plural jaw pairs
either for subclass 104 or subclass 152. (See subclasses 257-284
for specific jaw features, per se.)
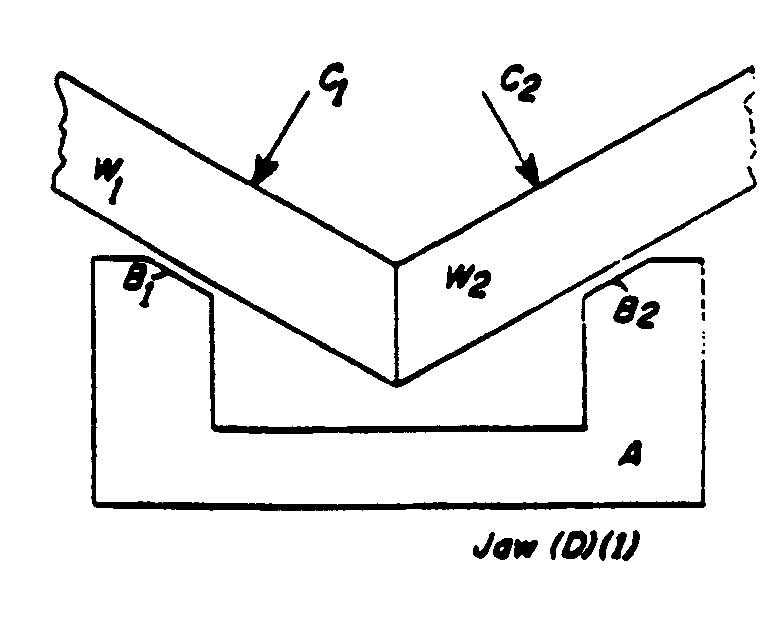
The following figure is illustrative of plural, nonabutting,
work engaging surfaces B1 and B2 referred to in (d)(1) above.

The following figure is illustrative of plural abutting, curved,
work engaging surfaces E1, E2 and E3 referred to in (d)(2) above.

(e) Each of three mutually adjustable* and/or
actuable* work contacting elements effective to hold work
(as in subclass 156) is also considered to be a jaw.
In both rotational and rectilinear movement, the movement
may be in steps, backwards, or forwards.
TOGGLE
A linkage including at least two links, pitmans, bars
or struts, and at least three pivots, the end of one link being connected
to the end of the other link by a pivot common to both links, each
of said links also having a pivot at the end remote from the common
pivot, which common or intermediate pivot is movable from a position not
in a straight line with the other two pivots, to a position substantially
in line by a force applied to the intermediate pivot in a direction
substantially normal to one of the links, thereby moving at least
one of the two pivots away from the other. At least one of said
links is articulated at both ends and is not integral with either
a jaw or handle.
TOOL
An instrumentality for effecting treatment of the work.
TOOL COUPLE ELEMENT
The portion of a work holder whose disclosed function is
to (a) coact with a relatively movable work treating tool to treat
the work, or (b) act as a guide for a relatively movable work treating
tool to directly or indirectly constrain the tool for movement in
a particular path, or (c) limit the movement of a work treating
tool relative to the work so that it may contact only a portion of
the work and is prevented from contacting another portion of the
work.
To be recognized as such, the tool couple element, if it is
part of the work contacting portion of the work holder, must be
of different structure than the rest of the work contacting surface,
or must be a particular, definable portion of the work contacting
surface such as an edge thereof.
TREATMENT OR TREATING
An operation which modifies the shape or changes a characteristic
of material, assembles pieces of material together, disassembles
pieces of material, or applies fluid (nonpropellant) to material.
See WORK HOLDER IN COMBINATION WITH TREATING MEANS and RELATIONSHIP
TO PRESS MEANS, above.
WORK
The material that is placed in, or on, or in juxtaposition to
the work holder for treatment in the condition in which such material
exists prior to its being treated or during treatment.
WORK-STOP ABUTMENT
(a) An element positioned adjacent a surface which supports
the work against the force of gravity, and which element presents
an obstacle that restrains the movement of the work across the surface
in a particular direction, including the necessary supporting frame
work for such element.
(b) The inclusion of an opposing or coacting element engaging
the work, so as to grip said work between the "abutment" and
said element, is considered to be characteristic of a jaw* relationship
and such combination, claimed or disclosed, is not a work-stop abutment.
SUBCLASSES
1 | HAND MANEUVERED OR WORK SUPPORTED TOOL GUIDES: |
| | This subclass is indented under the class definition. Device which, when used during the work treating operation,
(a) derives substantially all of its support from the work to be treated
or any position thereof or (b) is held solely by the operator either
directly or through an operator either directly or through an operator-manipulated
grappling device, and which has a portion thereon serving as a tool
couple element*.
| | (1)
Note. If it is not clear from a patent disclosure whether
the claimed device falls within the definition of this subclass
or of one of the coordinate subclasses following in this schedule,
the patent will be found as an original in this subclass or a subclass
indented thereunder. |
SEE OR SEARCH THIS CLASS, SUBCLASS:
| 3, | for patents to an operator supported holder that
does not include a tool guide. |
|
| | |
2 | Relatively movable jaws: |
| | This subclass is indented under subclass 1. Device wherein the work is maintained in the tool guide
by being gripped between two surfaces, at least one of which is
movable with respect to the other.
SEE OR SEARCH THIS CLASS, SUBCLASS:
| 86, | through 286, for patents to a holder with relatively movable
jaws. |
|
| | |
3 | OPERATOR SUPPORTED: |
| | This subclass is indented under the class definition. Device including a portion whereby the entire device is
held against the force of gravity by a living being during work
treatment.
| | (1)
Note. The portion disclosed as held by an operator must be
clearly claimed as a handle or in structural terms peculiar to such
handle function. A "handle" for "adjustment"* or
for "actuation"* only is not considered
an operator supported feature for this subclass. |
SEE OR SEARCH THIS CLASS, SUBCLASS:
| 1, | and 2, for patents to an operator supported holder
and tool guide. |
SEE OR SEARCH CLASS:
| 81, | Tools,
subclasses 300 through 427.5for patents to pliers and see search notes thereunder
and subclass 487 for a hand held holder or clamp for manipulation
of an article rather than work treatment. |
| 294, | Handling: Hand and Hoist-Line Implements, appropriate subclasses for hand-held grapples, manipulators, and
carriers for articles. |
|
| | |
4 | Convertible to bench supported: |
| | This subclass is indented under subclass 3. Device having means which, by a rearrangement, addition,
removal or reassembly of one or more of its parts, permits the device
to serve as either an operator supported holder or a base supported
holder.
SEE OR SEARCH THIS CLASS, SUBCLASS:
| 96, | for patents to a holder, per se, either a wrench
or plier, with means to fasten said holder to a support. |
|
| | |
5 | With opening through handle for work supply: |
| | This subclass is indented under subclass 3. Device wherein the portion supported by an operator includes
an aperture through which work may extend into a supporting or gripping zone.
| | (1)
Note. Usually, the opening permits a fresh portion of work
to be extended into a gripping zone after operation on a previously
gripped portion. |
SEE OR SEARCH CLASS:
| 30, | Cutlery,
subclasses 124 through 137for patents to cutlery implements combined with
means to hold material to be cut. |
|
| | |
7 | SOLIDIFICATION OF WORK CONTACTING MEDIUM: |
| | This subclass is indented under the class definition. Device for holding work by means of a work engaging material,
changeable from liquid or fluent state (which liquid state permits movement
of the work) to a solid or rigid state (which solid state immobilizes
the work).
| | (1)
Note. Included here are patents which hold work by means of
freezing a portion in ice. |
SEE OR SEARCH CLASS:
| 62, | Refrigeration, appropriate subclasses for patents to a refrigeration
process and/or apparatus, per se. |
|
| | |
8 | MAGNETIC HOLDER: |
| | This subclass is indented under the class definition. Device for holding work by subjecting said work, or a work
contacting element, to the forces exerted by a magnetic field.
| | (1)
Note. The magnetic field may be that of a "permanent" magnet
or that induced by an electric current. |
| | (2)
Note. Included here are patents to a holder for nonmagnet
material wherein the magnetic forces act on a work gripping element,
which element holds the work. |
SEE OR SEARCH THIS CLASS, SUBCLASS:
| 216, | for patents to a holder with other than magnetic
actuating* means. |
SEE OR SEARCH CLASS:
| 335, | Electricity: Magnetically Operated Switches, Magnets,
and Electromagnets,
subclasses 289 through 294for electromagnetic type work holding means, per
se. |
|
| | |
9 | PLURAL SELECTIVELY USED HOLDERS: |
| | This subclass is indented under the class definition. Device including at least two separate holding means, at
least one of which is disclosed as being utilized for work holding
purposes at a different time than another work holding means, at
the will or option of an operator, rather than by machine sequence.
| | (1)
Note. The holding means are separate to the extent that each
work holding means can maintain or position a workpiece (a) without
requiring the presence of other workpieces or other holding means,
or (b) each holding means has its own actuating* and/or
adjusting* means. |
| | (2)
Note. Excluded from this subclass are patents to a device
having a first work holder mounted on a second work holder so that
the first work holder must be completely taken off the second work holder
before the second work holder can be utilized. |
SEE OR SEARCH THIS CLASS, SUBCLASS:
| 37, | through 45, for patents to a plural holder to hold workpieces
relative to each other, and see notes thereunder. |
| 152, | through 155, for patents to holder with plural jaw pairs and
see notes thereunder. |
| 315, | through 320, for patents to a work-stop abutment mounted on another work-stop
abutment so that the former must be completely taken off the latter abutment
before the latter may be used to engage the work. |
|
| | |
10 | Work stop abutment: |
| | This subclass is indented under subclass 9. Device wherein at least two of the selectively used work
holders are work-stop abutments*, and the work is disclosed
as being supported against the force of gravity on the same support surface
while in contact with either of the work-stop abutments.
| | (1)
Note. Since the work-stop abutment is considered to be a work
holder for this class, two or more such abutments constitute plural
holders. The selective use of said plural abutments thus effecting placement
in this subclass. |
SEE OR SEARCH THIS CLASS, SUBCLASS:
| 315, | through 320, for other patents having a work-stop abutment. |
|
| | |
11 | WITH HOLDER ILLUMINATING MEANS: |
| | This subclass is indented under the class definition. Device wherein means are provided to cast or direct light
on the work holder.
| | (1)
Note. A patent claiming the illuminating means without claiming
the work holder will be found in the class providing for the illuminating
means. |
SEE OR SEARCH CLASS:
| 362, | Illumination, appropriate subclasses for illuminating means, per se,
and
subclasses 109 through 120for illuminating means combined with the structure
being illuminated. |
|
| | |
12 | WITH DRY RUN WORK DRIVING MEANS: |
| | This subclass is indented under the class definition. Device wherein means are provided to cause interrelated
movement of the parts of a work assembly, while said assembly is mounted
in the holder, to simulate operating conditions of the work. |
| | |
13 | WITH PRODUCT DISCHARGE FACILITATOR: |
| | This subclass is indented under the class definition. Device wherein means are provided which enable at least
a portion of the product to be removed from the work holder, or
which implement or accomplish such removal.
| | (1)
Note. See section VI, B under the class definition. |
SEE OR SEARCH THIS CLASS, SUBCLASS:
| 15, | for patents for a device having a catch pan to collect
material falling from the work. |
|
| | |
14 | Product mover: |
| | This subclass is indented under subclass 13. Device wherein the product discharge facilitator includes
a means for applying a force to the product so as to impart movement
thereto. |
| | |
15 | WITH CATCH PAN: |
| | This subclass is indented under the class definition. Device wherein a receptacle is provided to collect material
which leaves or falls from the work or product.
SEE OR SEARCH THIS CLASS, SUBCLASS:
| 13, | and 14, for patents for a work holder having a product
discharge facilitator which includes a receptacle for receiving
the product. |
|
| | |
16 | WITH PART OR TOOL HOLDING RECEPTACLE: |
| | This subclass is indented under the class definition. Device wherein the work holder includes a place or space
disclosed as being provided to store a workpiece element or a work
treating instrumentality to be used in treating the work.
| | (1)
Note. The workpiece element when so stored is not in the position
it assumes in the work holder while being treated; and the work
treating instrumentality is not in the position it assumes when
it is treating the work. |
SEE OR SEARCH THIS CLASS, SUBCLASS:
| 15, | for patents for a catch pan that intercepts a workpiece
element falling from the work. |
SEE OR SEARCH CLASS:
| 38, | Textiles: Ironing or Smoothing,
subclass 111 for ironing tables combined with a work catcher. |
| 112, | Sewing,
subclass 217.1 for a sewing machine table combined with a work catcher. |
|
| | |
17 | WITH GROUND TRAVERSING MEANS: |
| | This subclass is indented under the class definition. Device wherein the work holder has a means (such as a wheel)
thereon for contacting a fixed surface beneath the work holder (such as
a floor or the ground) and whose disclosed purpose is to enable
the work holder to be moved on the surface, in any desired direction, from
one place to another.
| | (1)
Note. A patent claiming a vehicle and not claiming a work
holder will be found in the class of the vehicle regardless of whether
a work holder is disclosed. See Class 180, Motor Vehicles, and Class 280,
Land Vehicles. | |
| | |
19 | WITH PLUMB INDICATOR: |
| | This subclass is indented under the class definition. Device including a visual gage means for determination of
the vertical and/or horizontal position of the workpiece
and/or holder being held.
| | (1)
Note. The gage is usually a spirit level. |
| | (2)
Note. Included here is a group of patents claiming means disclosed
for use as a plasterer"s corner bead setter which include
visual gage means. To facilitate an art search, known patents disclosed for
the same art purpose, though not showing a plumb indicator, are
also placed here as cross-references. |
SEE OR SEARCH THIS CLASS, SUBCLASS:
| 365+, | for levels or plumbs, per se. |
SEE OR SEARCH CLASS:
| 33, | Geometrical Instruments, subclass. |
|
| | |
20 | WITH FLUID MEANS: |
| | This subclass is indented under the class definition. Device including pneumatic or hydraulic means, or both,
for holding, releasing, and/or force-applying purposes.
| | (1)
Note. The fluid means may also be utilized to (a) "float" a
portion of the work or work holder, (b) eject a workpiece, (c) remove
unwanted particles falling on or adjacent the work holder during
treatment, or, (d) any combination of (a), (b), and/or
(c). |
| | (2)
Note. If a patent is silent as to how a cylinder or piston
is returned to its normal or starting position, or if a patent discloses
nonfluid means for returning a cylinder or piston, and there is
no disclosure pertinent to any one of the indented subclasses, such
patents will remain in this subclass. |
| | (3)
Note. If a patent discloses that a vacuum means is used only
to remove a weighted element from the work (e.g., if suction is used
to lift a cylinder above a workpiece, and allowing atmospheric air
to re-enter the cylinder lets the cylinder descend onto the work
by its own weight), such patent will remain in this subclass. |
| | (4)
Note. A fluid "cushion" chamber that is passive,
rather than active, and is controlled only by (a) a valve means exhausting
to atmosphere, or (b) a valve means exhausting into an unconfined liquid
receptacle, or (c) a conduit which connects said chamber with a
confined (second) chamber having a fixed pressure, or (d) any combination
of (a), (b), and/or (c) is not deemed to be a device for
moving a jaw or holder for any one of the indented subclasses, and,
if only such a means is claimed as part of a work holder, then the
patent will remain in this subclass. |
SEE OR SEARCH THIS CLASS, SUBCLASS:
| 7, | for patents including the use of a "freezing" means
to hold work. |
| 13, | and 14, for patents for a product discharge facilitator
which may include fluid means to perform this function, and see
the notes thereunder. |
| 55, | through 85, for patents including a similar means to a complete
holder. |
| 157, | through 163, for patents for a holder including means to bias
a jaw(s) toward a nonholding position. |
| 216, | through 254, for patents for a similar means to move a jaw(s). |
SEE OR SEARCH CLASS:
| 15, | Brushing, Scrubbing, and General Cleaning,
subclasses 3.12 through 3.15and 300+ for patents for a device in which
a fluid contacts the work, and see the notes under subclasses 3.12,
300 and 301. |
| 16, | Miscellaneous Hardware (e.g., Bushing, Carpet
Fastener, Caster, Door Closer, Panel Hanger, Attachable or Adjunct
Handle, Hinge, Window Sash Balance, etc.),
subclasses 49 through 50and 82-86 for patents for a fluid check and closer. |
| 60, | Power Plants,
subclasses 325 through 494for a force applying motor of general utility supplied
with motive fluid from a pressure fluid source. |
| 91, | Motors: Expansible Chamber Type, for patents for structure of a fluid motor, per
se, and see the notes under the class definition. |
| 100, | Presses,
subclasses 269.01 through 269.21for patents for a press including fluid means to
move one or more pressure surfaces, and see the notes thereunder. |
| 137, | Fluid Handling, for patents for a fluid handling means, and see
the notes under the class definition. |
| 188, | Brakes,
subclasses 266 through 322.5for a fluid-resistance brake or shock absorber. |
| 192, | Clutches and Power-Stop Control, for patents to a clutch, especially subclasses which
include "fluid" in the title. |
| 279, | Chucks or Sockets,
subclasses 3 and 4.01-4.12 for patents including a vacuum and
a fluid operated chuck, respectively, and see the notes thereunder. |
| 418, | Rotary Expansible Chamber Devices, for rotary expansible chamber devices, per se. |
|
| | |
21 | Vacuum-type holding means: |
| | This subclass is indented under subclass 20. Device wherein the fluid pressure means operates to produce
a difference in the pressures upon at least two sides of a workpiece,
or a portion of a complete holder, which difference is effective
to hold the work or the holder. |
| | |
22 | With movable diaphragm: |
| | This subclass is indented under subclass 20. Device including a flexible wall element, one side of said
element being forced into contact with a workpiece by fluid pressure
applied to the other side of said element.
SEE OR SEARCH THIS CLASS, SUBCLASS:
| 275, | for patents including a yieldable jaw element that
may be placed either on the diaphragm or between the diaphragm and
the work. |
SEE OR SEARCH CLASS:
| 100, | Presses,
subclasses 211 and 212 for patents to a press with a deformable pressure
surface. |
| 137, | Fluid Handling,
subclasses 777+ for patents for a fluid handling device having
one or more flexible wall elements, and see the notes under subclasses
784 and 793. |
|
| | |
23 | With safety means: |
| | This subclass is indented under subclass 20. Device including means operable to (a) cease the continued
application of fluid pressure, (b) cease jaw* movement,
(c) insert blocking means between opposed jaws, or (d) any combination
of (a), (b), and/or (c); such means may be dormant, movable
or activated by a condition (such as the absence of a workpiece
in the work holder) to prevent injury to a worker, and/or
to avoid damage to the material being treated or the work holder
itself.
SEE OR SEARCH THIS CLASS, SUBCLASS:
| 257, | through 284, for patents to holder jaw features which may prevent
the work from being damaged by the jaw. |
SEE OR SEARCH CLASS:
| 100, | Presses,
subclasses 341 through 352 for patents to a press including safety means. |
|
| | |
24 | Plural positioning means sequentially operated: |
| | This subclass is indented under subclass 20. Device wherein (a) one holder, or holder portion, is moved
in response to, and after, the movement of a second holder, or holder
portion, or (b) a main drive unit activates a first holder prior
to activating a second holder, or (c) any combination of (a) and
(b).
SEE OR SEARCH THIS CLASS, SUBCLASS:
| 107, | through 109, for patents including an interrelated actuating
means for angularly related jaw couples. |
SEE OR SEARCH CLASS:
| 100, | Presses,
subclasses through 352for patents for a press including interrelated
actuators. |
|
| | |
25 | Cylinder-piston means directly moves jaw(s): |
| | This subclass is indented under subclass 20. Device wherein (a) a fluid means is used to relatively move
a solid (or hollow) member that has a generally circular periphery
having a close fit within a surrounding hollow member that is similarly
configured, and (b) one of these two members moves an immediately adjacent
jaw*(s).
| | (1)
Note. Patents will be placed in this subclass where (a) the
movable piston or cylinder serves as a jaw itself, (b) the piston
or cylinder is rigid with a jaw, or (c) a jaw is connected to the
piston or cylinder by a pivot means or by a single universal-type
joint. |
| | (2)
Note. There may be an additional jaw(s) that is independently
adjusted* or actuated* by nonfluid means, provided
such jaw(s) is not interrelated with the fluid operated jaw(s). |
| | (3)
Note. There may be a mechanical and/or electrical
means, operated by a human operator, that starts or continues the operation
of the fluid means; but, if there is a mechanical means between
the fluid means and the jaw(s), see subclass 27 and the notes thereunder. |
| | (4)
Note. Compare the sketches under this subclass 25 and subclass
32 for illustrative examples of the structural variations that distinguish
the subject matter placed in these groups of subclasses. |
| | (5)
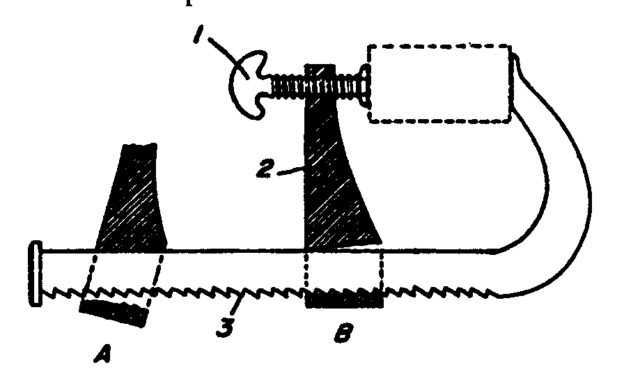
Note. In the figure below, the jaw 1 is pivoted (at 2) to
the piston rod 3 which is moved by the piston 4 operating within the
cylinder 5.

| SEE OR SEARCH THIS CLASS, SUBCLASS:
| 27, | through 34, especially subclasses 32+, for patents
to a fluid operated holder including additional positioning means,
and see the notes thereunder. |
| 257, | through 284, for patents to a jaw (face) feature, per se. |
|
| | |
26 | With equalized pressure on plural (nonopposed) jaws: |
| | This subclass is indented under subclass 25. Device including means for interconnecting a supply of fluid
under pressure to two or more fluid actuated* cylinder-piston
means, so that the pressure exerted from said (usually common or
single) source will be applied to the same extent on each of two
or more jaws while they are contacting work.
SEE OR SEARCH THIS CLASS, SUBCLASS:
| 33, | for patents including an opposed cylinder-piston
means having additional positioning means, and see the notes thereunder. |
| 107, | through 109, for patents for a holder with angularly related
jaw couples having interrelated actuating means. |
| 152, | through 155, for patents to a holder including plural jaw pairs. |
|
| | |
27 | Cylinder-piston means in series with additional positioning
means: |
| | This subclass is indented under subclass 20. Device including a cylinder-piston unit as set forth in
(a) of the definition of subclass 25; and further means, either
directly connected to or interrelated with said unit, to add to
the efficacy of the unit, or to perform some function that said
unit standing alone could not perform.
| | (1)
Note. Patents including a fluid unit (usually the cylinder)
that is moved as an entirety, by either fluid or nonfluid means,
prior to operating said unit (cylinder) to actuate its associated
jaw will be placed in this and indented subclasses. |
| | (2)
Note. See (2) Note under subclass 20. |
| | (3)
Note. Valving means, whether singular or plural, in parallel
or in series, manual or nonmanual, are not deemed to be "additional
positioning means" in series with fluid means unless the
valve(s) is so connected or related that a portion of the valve
structure itself moves a jaw or holder in addition to performing
its function of directing the fluid and/or modifying the
fluid pressure; such patents will be placed in subclasses 25 and
26, if otherwise appropriate. |
| | (4)
Note. See the sketches accompanying the definitions of subclasses
25 and 32. |
SEE OR SEARCH THIS CLASS, SUBCLASS:
| 25, | and 26, for patents including a cylinder-piston
unit(s) that directly moves an associated jaw(s) without additional
positioning means. |
|
| | |
28 | With separate air means in series with liquid means: |
| | This subclass is indented under subclass 27. Device including (a) a pneumatically operated pressure means
that moves one or more elements of a hydraulically operated pressure means,
or (b) a compressible fluid chamber within an incompressible fluid
chamber including means to increase or decrease the pressure exerted
by said compressible fluid, or (c) the air and liquid means may
be reversed in either (a) or (b); or (d) any combination of (a),
(b), and/or (c).
| | (1)
Note. See (4) Note and the search notes under subclass 20. | |
| | |
30 | With common fluid means for holding and releasing: |
| | This subclass is indented under subclass 27. Device wherein a single pneumatic or hydraulic source is
used (usually through valve means) to hold and release a jaw* carrier;
or such means is used to move (a) a jaw, (b) a jaw carrier, (c)
mechanical means associated with a jaw or carrier, or (d) any combination
of (a), (b), and/or (c), both toward and away from a workpiece.
| | (1)
Note. This subclass requires the single fluid unit to move
at least one element in each of two opposite (180°) directions.
If a spring (or similar means) is used to move the element in one
of the two directions, see (2) Note under subclass 20 and see subclasses
32-34. |
| | (2)
Note. See (4) Note and the search notes under subclass 20. | |
| | |
31 | Cylinder-piston unit rotatably and/or pivotally
mounted: |
| | This subclass is indented under subclass 30. Device including (a) at least one fluid means that is movable,
as a unit, at a fixed distance about a point on a work holder; or
(b) at least one fluid means that is swivelly connected, at some
point on the unit, to a fixed point on a portion (stationary or
movable) of the work holder; or (c) a combination of (a) and (b).
SEE OR SEARCH THIS CLASS, SUBCLASS:
| 55, | through 85, for patents including a complete holder mounted
for movement, and see the notes thereunder. |
| 216, | through 254, for patents including nonfluid actuating* means
which may be pivoted to a work holder. |
|
| | |
32 | Mechanical means between fluid means and jaw: |
| | This subclass is indented under subclass 27. Device including adjusting* and/or actuating* means
positioned between (a) a jaw* and (b) the cylinder or piston
of the jaw"s pneumatic or hydraulic actuating means.
| | (1)
Note. See (3) Note under subclass 27. |
| | (2)
Note. In the figure below, the link 6 is pivoted to a jaw
5, and the pivot for the link 3 is fixed at 4. Reciprocation of
the piston rod 1 moves the movable pivot 2 and the jaw 5 to and
from the work W.

| |
| | |
33 | Including opposed cylinder-piston means: |
| | This subclass is indented under subclass 32. Device wherein at least one cylinder-piston unit moves its
jaw*, in a straight line, toward a cylinder-piston unit
similarly moving a second coacting jaw at a 180° angle
with respect to said first mentioned jaw.
| | (1)
Note. One or more of the cylinder-piston means may be movable
out of the opposed relationship. |
| | (2)
Note. The plural cylinder-piston means may operate from a
common source of fluid supply or from independent sources. |
SEE OR SEARCH THIS CLASS, SUBCLASS:
| 25, | and 26, for patents to a holder including a jaw(s)
moved directly by a cylinder or piston without additional positioning
means. |
| 140, | through 150, for patents to a holder with separate positioning
means for each of a jaw pair. |
| 218, | through 220, for patents to a holder with common actuating means
for each of a jaw pair. |
|
| | |
34 | Single fluid unit moves plural spaced jaws: |
| | This subclass is indented under subclass 32. Device including at least one fluid means which, when operated,
forces physically separated plural jaw* elements into contact
with the work at spaced points.
| | (1)
Note. Patents including an insert between the plural jaw elements
defined above and the work are included in this subclass. |
| | (2)
Note. The jaws may be parallel, angularly related, or a combination
of both; or a single fluid unit may operate through linkages to
move each of at least two jaws into contact with (a) adjacent points on
one side of the work, or (b) points on opposite sides of the work. |
SEE OR SEARCH THIS CLASS, SUBCLASS:
| 218, | through 220, for patents for a holder including a common means
to actuate plural jaws, and see notes thereunder. |
|
| | |
35 | With guide means: |
| | This subclass is indented under subclass 20. Device including means preventing rotation of either the
piston or the cylinder, or both, of a pneumatic or hydraulic pressure
means; or a means restricting, to a desired path, the movement of
one or more parts of a fluid-operated holder.
SEE OR SEARCH THIS CLASS, SUBCLASS:
| 256, | for patents to a holder including structure for
maintaining opposed jaws in parallel planes. |
|
| | |
36 | FENCE BOARD HOLDER AND GAUGE: |
| | This subclass is indented under the class definition. Device for supporting one or more rails of a fence relative
to another rail on which said device is supported.
| | (1)
Note. Included here are patents to a device for holding and
gauging wire fence strands or metal slats. |
| | (2)
Note. Most patents found in this subclass are classified here
as originals on a disclosure basis and cross-referenced below on
a structural basis. |
| | (3)
Note. Patents to a device for holding plural elements, disclosed
as fence components, in desired relative position are not proper
for this subclass unless such device is supported by a fence rail.
See subclasses 37-45 for plural holders to hold workpieces relative
to each other. | |
| | |
37 | PLURAL HOLDERS TO HOLD WORKPIECES RELATIVE TO EACH OTHER: |
| | This subclass is indented under the class definition. Device including at least two separate holding means, each
of which separately immobilizes at least one workpiece with respect
to another workpiece separately held by another such holding means.
| | (1)
Note. The holding elements are separate to the extent that
at least two workpieces can be maintained in position without requiring
either the presence of other workpieces or the presence of the other of
said two workpieces. |
| | (2)
Note. A patent claiming the use of a single pair of jaws,
the work engaging faces of which are configured to enable the simultaneous
grasping of separate workpieces, to hold plural workpieces relative to
each other will not be placed in these subclasses (37-45). Such
jaws do not constitute "separate holding means" as defined
above and placement will be in the appropriate subclass lower in
the class schedule. |
| | (3)
Note. A patent claiming the use of plural work contacting
elements to hold workpieces relative to each other but which elements
are actuated* in gangs so as to constitute a single work
holding couple or pair (at least one jaw of such couple thus including
several spaced and relative positionable portions as in subclasses
164 and 265-370) will not be placed in this subclass (37). Such
jaws do not constitute "separate holding means" as
defined above and placement will be in the appropriate subclass
lower in the schedule. |
| | (4)
Note. A patent claiming the use of plural clamping means structurally
capable of meeting the above criteria but disclosed as holding work
with respect to a reference table, wall or floor, rather than with respect
to another workpiece, is not placed here and will be found in subclasses
95-102 below. |
| | (5)
Note. A device with two or more separate work holders, which
device includes mechanism for moving one holder, and the work held,
relative to another holder, and the work held thereby, is not considered
to be a work holder for this class (269); such device is an assembly
mechanism for Class 29, Metal Working, subclasses 700-283.5. Articulation
between holders and/or means whereby an operator may shift
said holders, without mechanical advantage or lost motion, does
not constitute "mechanism" for assembly. However,
the provision of a work contacting guide to align or orient two
or more workpieces, while an operator shifts the holders of said
pieces, is considered to be sufficient "mechanism" for
assembly. |
| | (6)
Note. Included, in this and indented subclasses, are patents
to a device wherein the individual or separate holders consist of
static structure insofar as the work contacting portion of the holder
is concerned, e.g., a socket or groove into which a workpiece is
inserted. However, plural grooves or sockets in a single bar or
plate do not constitute "plural holders." |
SEE OR SEARCH THIS CLASS, SUBCLASS:
| 95, | through 102, for patents to a holder with means to fasten to
support, and see (4) Note above. |
| 104, | through 125, for patents to a holder with plural jaw pairs, angularly
oriented, engaging common work, which common work may be of composite or
plural element composition. |
| 152, | through 155, for patents to a holder with plural spaced jaw pairs. |
| 156, | for patents to a holder with three mutually coacting
jaws. |
| 164, | for patents to a holder with relatively movable
jaws including means to position portions of a jaw lateral to the general
direction of work gripping jaw movement. |
| 257, | through 284, for patents to details of work engaging surface
and element characteristics. |
SEE OR SEARCH CLASS:
| 29, | Metal Working,
subclasses 700 through 283.5for patents to plural holders to hold and move
workpieces relative to each other; see (5) Note above. |
| 65, | Glass Manufacturing,
subclass 152 for glassworking apparatus including fusion bonding
means having plural work holders. |
| 294, | Handling: Hand and Hoist-Line Implements,
subclasses 87.1 through 87.28and 159 for a grapple or article carrier having
plural holders for carrying plural articles. |
|
| | |
38 | Fletching jig (i.e., arrow feathering holder): |
| | This subclass is indented under subclass 37. Device wherein the separate holders maintain one or more
of the feathers of an arrow in desired orientation with respect
to the shaft of said arrow while said feathers and said shaft are
being joined.
| | (1)
Note. Patent placement in this art grouping requires claimed
identity of the holders as being for arrow and feathers. |
SEE OR SEARCH CLASS:
| 29, | Metal Working,
subclass 2.1 for patents to the process of fletching an arrow. |
| 473, | Games Using Tangible Projectile,
subclasses 569 through 615for an arrow having a special feature such as being
material dispensing or of scattershot type, etc., particularly subclasses
578+ for an arrow. |
|
| | |
40 | Fixed work-contacting portions for each holder: |
| | This subclass is indented under subclass 37. Device limited to plural holders which all support and hold
work by means of static work contacting portions.
| | (1)
Note. See (6) Note under subclass 37. |
| | (2)
Note. See (2) Note under subclass 37 with respect to jaws* which
individually have plural static work contacting portions. | |
| | |
43 | Workpieces parallel to each other (e.g., box-shook clamp): |
| | This subclass is indented under subclass 37. Device including at least two clamp couples with the jaw(s)
of one couple oriented for movement, during actuation*,
along a path parallel to the jaw(s) of other couples so as to hold workpieces
parallel to each other.
| | (1)
Note. Included here are patents to a device for holding the
two end shooks of a box while a top, bottom and/or side
is fastened thereto. | |
| | |
44 | Three holders: |
| | This subclass is indented under subclass 43. Device including three clamp couples.
| | (1)
Note. Included here are patents to a device for holding three
shooks, such as in an orange or egg crate, while top, bottom and/or
sides are fastened thereto. | |
| | |
45 | With means to relatively array or arrange holders: |
| | This subclass is indented under subclass 37. Device including means whereby an operator may, without
mechanical advantage or lost motion means, change the spatial relationship of
one holder with respect to another.
| | (1)
Note. See (5) Note under subclass 37. |
SEE OR SEARCH CLASS:
| 433, | Dentistry,
subclasses 53 through 67for work holders for similar structure used in
dentistry. |
|
| | |
46 | SUSPENDED HOLDER: |
| | This subclass is indented under the class definition. Device wherein a work holder is supported by being hung
from a member overlying the work holder in at least one position
of adjustment of the holder.
| | (1)
Note. Patents in this subclass include those in which work
holder supporting means is provided in addition to the supporting
means which suspends the holder. |
| | (2)
Note. The hanging support is nonrigid, of a hook, strand or
chain-like nature; not a bolt, screw or clamp-like element. |
SEE OR SEARCH THIS CLASS, SUBCLASS:
| 95, | through 102, for patents to a holder with means to fasten said
holder to a support. |
|
| | |
47 | HOLDER INSERTED WITHIN WORK APERTURE: |
| | This subclass is indented under the class definition. Device wherein the work holder has a portion which is adapted
to be positioned within a preformed opening in the work and, when
so positioned, is peripherally encompassed by the work.
| | (1)
Note. The opening need not extend completely through the work. |
| | (2)
Note. A holder for a wound up roll of material is not considered
to meet the definition of this subclass unless the teaching of the
patent is that the work is treated in wound up roll form; also see the
class definition. |
| | (3)
Note. For a patent to be placed as an original in this subclass,
the holder portion insertable within the work aperture, or a holder
part receiving such portion, must be claimed. For example, a patent to
a work holder disclosed as having work bolted thereto by a bolt
extending through an opening in the work and extending through an
opening in the holder will be placed as an original in this subclass
only if the bolt or the bolt receiving opening in the holder is claimed. |
| | (4)
Note. Included in this an indented subclasses are devices
to which a workpiece is secured by embracing a part of the holder,
e.g., using the clamp of an outboard motor to mount said motor on
a holder. |
SEE OR SEARCH THIS CLASS, SUBCLASS:
| 53, | for patents for a pin which penetrates work to hold
it, making an aperture as it enters the work. |
SEE OR SEARCH CLASS:
| 294, | Handling: Hand and Hoist-Line Implements,
subclass 158 for an article carrier having a component adapted
to be positioned in an aperture in the article. |
|
| | |
48 | With tool couple element: |
| | This subclass is indented under subclass 47. Device wherein the work holder includes a tool couple element*.
SEE OR SEARCH THIS CLASS, SUBCLASS:
| 87, | 288, and 290, for patents for other work holders
having tool couple elements. |
|
| | |
48.1 | Expandable mandrel: |
| | This subclass is indented under subclass 47. Device whose holder portion includes means to allow its
size to be increased by an amount sufficient to permit engagement
between the holder and the work at such opening.
SEE OR SEARCH CLASS:
| 279, | Chucks or Sockets,
subclasses 2.01 through 2.24for an expanding chuck or socket. |
|
| | |
48.2 | Plural pin mandrel: |
| | This subclass is indented under subclass 48.1. Device wherein the portion comprises a plurality of elongated
elements capable of radially expanding from each other.
| | (1)
Note. The portion comprises plural pins which, however, could
be composed of a folded single piece of wire or rod structure. |
SEE OR SEARCH CLASS:
| 24, | Buckles, Buttons, Clasps, etc.,
subclasses 208+ for mating head and socket fasteners. |
| 29, | Metal Working,
subclasses 271 through 274for hand manipulable tools used to align or center
pipes or similar structures. |
|
| | |
48.4 | And coil spring: |
| | This subclass is indented under subclass 48.3. Device further provided with a helical body tending to return
to its original shape after being distorted.
| | (1)
Note. The coil spring usually acts to axially move and bias
the intermediate expanding means. | |
| | |
49 | Inserted holder movable relative to work backup: |
| | This subclass is indented under subclass 47. Device wherein there is provided a work holder portion engaging
one surface of the work, and the work holder portion which is insertable within
the work aperture is so mounted that it may move toward and away
from both the first mentioned work holder portion and the work, entering
the aperture through a work surface opposite such first named surface. |
| | |
50 | Holder mounted for movement: |
| | This subclass is indented under subclass 47. Device wherein the work holder is mounted for movement*.
SEE OR SEARCH THIS CLASS, SUBCLASS:
| 55, | through 85, for patents for other work holders mounted for movement. |
|
| | |
51 | Compound or plural movement: |
| | This subclass is indented under subclass 50. Device wherein (a) the movement of the work holder has as
components thereof simple movements* as, for example, a
combined rectilinear and rotational movement, or (b) the work holder
sequentially partakes of a plurality of simple movements, as, for
example, two rectilinear movements in two different paths. |
| | |
52 | Within concentric opening: |
| | This subclass is indented under subclass 47. Device wherein the outer periphery of the portion of the
work which engages the holder is substantially circular in cross-section
and the center of the aperture in which the holder is inserted is
disclosed as coinciding with the center of mass of such circular
work portion. |
| | |
53 | PIN-TYPE HOLDER: |
| | This subclass is indented under the class definition. Device wherein the work holder comprises an elongated pointed
element that penetrates the work.
SEE OR SEARCH THIS CLASS, SUBCLASS:
| 47, | through 52, for patents for a work holder having a portion entering
a preformed opening in the work. |
SEE OR SEARCH CLASS:
| 99, | Foods and Beverages: Apparatus,
subclasses 419 through 421for a cooking spit or impaling means and subclasses
557-561 and 594-599 for a device that impales a food item to remove
a pit or to hold it while the skin is removed. |
| 452, | Butchering,
subclass 196 for patents to a fish clamp including impaling means. |
|
| | |
54 | With work-overlying clamp: |
| | This subclass is indented under subclass 53. Device wherein there is provided, additionally, an element
other than a pin which is positioned above and in contact with at
least part of the upper surface of the work when the work is being
treated. |
| | |
54.1 | With means to drive pin into work: |
| | This subclass is indented under subclass 53. Device provided with means for moving the pin, causing the
pin to penetrate the work.
| | (1)
Note. The mere extension of a pivoted-pin supporting member,
forming a simple lever, is not considered to result in a drive means
for purposes of placement in this subclass. Likewise, means for merely
holding a pin in a raised position and subsequently allowing it
to drop under the influence of gravity does not constitute drive
means for this subclass. |
SEE OR SEARCH THIS CLASS, SUBCLASS:
| 20, | through 35, for pin-type holders including fluid moving means. |
|
| | |
54.2 | Including opposed coacting pins: |
| | This subclass is indented under subclass 54.1. Device including a pair of pins mounted for relative movement
toward one another for penetrating the work at spaced points.
| | (1)
Note. The pins need not be physically diametrically opposed,
but must have components of force, respectively, which are so opposed. |
| | (2)
Note. Only one pin need be movable to satisfy the requirement
for relative movement. | |
| | |
54.3 | Three or more pins: |
| | This subclass is indented under subclass 54.2. Device provided with one or more pins in addition to the
coacting pair.
SEE OR SEARCH THIS CLASS, SUBCLASS:
| 9, | for holders including plural, selectively usable
pins. |
|
| | |
54.4 | With work-underlying support: |
| | This subclass is indented under subclass 53. Device including a surface which is positioned beneath at
least a part of the work and is situated so as to contact said part
to support the work against gravity.
SEE OR SEARCH THIS CLASS, SUBCLASS:
| 289, | for work underlying supports, per se. |
|
| | |
54.5 | Pin perpendicularly extended: |
| | This subclass is indented under subclass 54.4. Device provided with at least one elongated, pointed element
situated normally to the work underlying surface.
| | (1)
Note. The pointed element may be part of the surface or may
move relative to said surface. |
| | (2)
Note. Any relative movement of the pointed element is for
the purpose of removing the element from the work only. |
SEE OR SEARCH THIS CLASS, SUBCLASS:
| 54.1, | for similar devices having means to move the pointed
elements into the work. |
|
| | |
55 | HOLDER MOUNTED FOR MOVEMENT: |
| | This subclass is indented under the class definition. Device including holder supporting structure modified to
allow shifting of the holder from one position to another with respect
to its base or support or from one station to another.
| | (1)
Note. Included here are patents to a holder with means providing
for adjustment about a horizontal and/or vertical axis,
as well as about a universal joint. |
| | (2)
Note. A patent for a holder movable with respect to a reference
member (table, bench) is in this subclass, but if the holder(s)
is movable with respect to a station(s), the device is considered
to be a conveyor type holder and the patent is in subclass 56. |
| | (3)
Note. See Holder Mounter for Movement* |
SEE OR SEARCH THIS CLASS, SUBCLASS:
| 17, | for patents to a holder with means for moving said
holder freely along the ground or floor. |
| 95, | through 102, for patents to a holder that can be selectively
secured to a support. |
SEE OR SEARCH CLASS:
| 248, | Supports,
subclass 349.1 and appropriate subclasses for patents to a work holder
mount structure, per se, which support structure is of general utility. |
| 414, | Material or Article Handling,
subclasses 222.01 through 226.05for apparatus for charging a load holding or supporting
element from a source, and means for transporting the element to
a working, treating, or inspecting station. |
|
| | |
56 | Relative to a station: |
| | This subclass is indented under subclass 55. Device wherein the work holder is combined with a conveyor
means to move said holder.
| | (1)
Note. A patent disclosing a work holder in combination with
a conveyor but claiming the conveyor, per se, will be found in the
appropriate conveyor class. |
SEE OR SEARCH THIS CLASS, SUBCLASS:
| 17, | for patents to a holder with means for moving said
holder freely along the ground or floor. |
SEE OR SEARCH CLASS:
| 100, | Presses,
subclasses 144 through 192for patents to a holder for concurrent pressing
and conveying. |
|
| | |
59 | With means to lock shift means: |
| | This subclass is indented under subclass 58. Device including means to latch and immobilize the mechanism.
SEE OR SEARCH THIS CLASS, SUBCLASS:
| 74, | through 85, for patents to a holder with means to immobilize
the holder with respect to its support. |
|
| | |
60 | Screw means: |
| | This subclass is indented under subclass 58. Device in which the mechanism for moving the holder includes
mating concentrically threaded elements, which elements are relatively
rotatable to cause relative axial movement of said elements, which
movement is imparted to said holder. |
| | |
61 | Gear means: |
| | This subclass is indented under subclass 58. Device in which the mechanism for moving the holder includes
relatively rotatable bodies provided with teeth or frictional interengaging
elements whereby one rotatable body will impact motion to, or receive
motion from, some other body by rolling contact, which motion directly, or
as part of a mechanism train, effects movement of said holder. |
| | |
62 | Treadle means: |
| | This subclass is indented under subclass 58. Device in which the mechanism for moving the holder includes
structure which turns freely on a fixed pivot to impact pressure
or motion to mechanism to effect movement of said holder.
SEE OR SEARCH THIS CLASS, SUBCLASS:
| 37, | through 45, for patents to plural means for holding workpieces
relative to each other. |
|
| | |
63 | With indexing steps: |
| | This subclass is indented under subclass 55. Device in which the supporting structure, which allows shifting
of the holder, includes mechanism for securing the holder against
both forward and rearward shifting while locating the holder in
a structurally predetermined position with respect to support structure.
| | (1)
Note. A patent to a holder with indicia so an operator can
visually determine where to place the work holder with respect to
the base is not considered to include indexing means for this subclass. |
SEE OR SEARCH THIS CLASS, SUBCLASS:
| 74, | through 85, for patents to a holder with means to lock the work
holder with respect to its base or support. |
| 307, | for patents to a work-underlying support with a
sight gage. |
SEE OR SEARCH CLASS:
| 74, | Machine Element or Mechanism,
subclasses 813+ for tool or work turret indexing means, per se. |
|
| | |
64 | Corrugated: |
| | This subclass is indented under subclass 63. Device wherein the mechanism for securing the holder against
shifting includes plural elements (each element has at least two
teeth or a wrinkled surface) so configured that the interengagement
of a portion of one with a portion of another causes immobilization
of the work holder.
SEE OR SEARCH THIS CLASS, SUBCLASS:
| 207, | through 215, for patents to a holder with a detent type lock
for adjustment. |
|
| | |
65 | Threaded: |
| | This subclass is indented under subclass 63. Device wherein the mechanism for securing the holder against
shifting includes a screw or bolt means. |
| | |
67 | Pin-rack: |
| | This subclass is indented under subclass 63. Device wherein the mechanism for securing the holder against
shifting includes an element that is moved laterally of its general
extent to engage a selected notch in another toothed element.
SEE OR SEARCH THIS CLASS, SUBCLASS:
| 211, | for patents to a holder with pin-rack adjustment
means for a jaw. |
|
| | |
68 | Pawl-rack: |
| | This subclass is indented under subclass 63. Device wherein the mechanism for securing the holder against
shifting includes a pivotable element to be engaged with a selected
notch in another toothed element.
SEE OR SEARCH THIS CLASS, SUBCLASS:
| 212, | for patents to a holder with pawl-rack adjustment
means for a jaw. |
|
| | |
69 | Peg-hole: |
| | This subclass is indented under subclass 63. Device wherein the mechanism for securing the holder against
shifting includes a bar, pin or rod which is insertable axially
or longitudinally within a selected aperture or mating opening.
SEE OR SEARCH THIS CLASS, SUBCLASS:
| 208, | for patents to a holder with peg-hole adjustment
means for a jaw. |
|
| | |
70 | With bias means: |
| | This subclass is indented under subclass 69. Device including means to urge the bar, pin or rod into
the aperture or mating opening. |
| | |
72 | Single lock for plural means: |
| | This subclass is indented under subclass 71. Device including a common means to immobilize shifting in
at least two degrees of shift.
| | (1)
Note. Included here are patents to a holder that also has
separate means to lock shift means other than those locked by the
common means. |
SEE OR SEARCH THIS CLASS, SUBCLASS:
| 59, | for patents to a holder with means to immobilize
a mechanism for moving the holder. |
|
| | |
74 | Means for position lock: |
| | This subclass is indented under subclass 55. Device including structure to immobilize the holder with
respect to its support structure.
SEE OR SEARCH THIS CLASS, SUBCLASS:
| 59, | for patents to a holder with means to immobilize
a mechanism for moving the holder. |
| 63, | for patents to a holder with means to secure the
holder against both forward and rearward shifting (e.g., indexing). |
|
| | |
75 | For universal joint: |
| | This subclass is indented under subclass 74. Device wherein the immobilizing means is for members which
can relatively swivel or turn in plural planes, within defined limits,
about a point.
SEE OR SEARCH THIS CLASS, SUBCLASS:
| 71, | through 73, for patents to a work holder which permits at least
two degrees or types of shift. |
|
| | |
76 | Set screw type: |
| | This subclass is indented under subclass 74. Device wherein the immobilizing structure comprises a threaded
element(s) adjustably mounted on the holder (or the holder support) so
that an end of said element can frictionably engage the holder support
(or the holder).
| | (1)
Note. While the reaction to the force applied by the set screw
may involve considerable surface area contact of a binding nature
between the holder and holder support, the application of binding
force is by means of the set screw. |
SEE OR SEARCH THIS CLASS, SUBCLASS:
| 74, | for patents to a holder with position lock means
utilizing a detent or interlocking elements. |
|
| | |
77 | Periphery clamp type: |
| | This subclass is indented under subclass 74. Device wherein the structure applies an immobilizing force
about the surface of the structure linking the holder and the holder
support.
| | (1)
Note. The clamp means must be such so as to embrace and contact
more than a 180° section of the structure being immobilized. | |
| | |
78 | Split ring type: |
| | This subclass is indented under subclass 77. Device including a curved or angular band-like element with
spaced ends and with means to increase or decrease said space so
as to apply internal or external clamping force with said band. |
| | |
79 | Effective on a movable brace: |
| | This subclass is indented under subclass 74. Device including a clamp on a link (or links) connecting
the holder with the holder support, said link(s) being articulated
to the holder and/or support so as to limit relative movement. |
| | |
80 | For yoke type: |
| | This subclass is indented under subclass 74. Device wherein the holder and holder support are jointed
by a clevis type joint, which joint includes means to compress or
force the U-shaped legs or ears together adjacent a tongue-like
element between said legs. |
| | |
81 | Of holder to table (i.e., reference base or wall): |
| | This subclass is indented under subclass 74. Device wherein the support structure is set forth as a bench,
floor, bracket or frame clearly part of the environment rather than
a mount* or subholder for the work holder.
SEE OR SEARCH THIS CLASS, SUBCLASS:
| 95, | for patents to fasten a holder to a support where
the holder is not mounted for movement. |
|
| | |
82 | Plane bearing surfaces clamped together: |
| | This subclass is indented under subclass 74. Device wherein the immobilization structure includes a means
for drawing flat abutting surfaces of the holder and holder support
into binding frictional engagement.
| | (1)
Note. This and indented subclasses are limited to patents
for a holder wherein the bearing surfaces, providing for movement
of the holder relative to the holder support, are both (a) flat
and (b) pressable together for relative immobilization of said surfaces.
Any claimed (c) variation from the flat or (d) immobilization other
than by drawing flat surfaces together is excluded. |
SEE OR SEARCH THIS CLASS, SUBCLASS:
| 76, | for patents to a holder mounted for movement with
set screw type position lock. |
| 77, | for patents to a holder mounted for movement with
periphery clamp type position lock. |
|
| | |
83 | Radial bearing surface type: |
| | This subclass is indented under subclass 82. Device including an axis normal to the abutting surfaces,
around which axis the holder and holder support can be relatively
positioned.
| | (1)
Note. Included here are patents to a holder mounted for movement
with a single clamp means for immobilizing radial bearing surfaces,
said clamp means acting parallel to and spaced from the axis. | |
| | |
84 | Central clamp: |
| | This subclass is indented under subclass 83. Device wherein the means for drawing the radial surfaces
together is part of or concentric with the axis structure. |
| | |
85 | Plural clamps: |
| | This subclass is indented under subclass 83. Device including two or more spaced means for drawing the
bearing surfaces together.
| | (1)
Note. Included here are patents for holders with a single
operative element for applying plural clamps. | |
| | |
86 | RELATIVELY MOVABLE JAWS: |
| | This subclass is indented under the class definition. Device including two or more jaws* movable with
respect to each other to engage and hold work.
| | (1)
Note. A patent for a holding device claiming only one jaw
and the means to position (adjust* and/or actuate*)
said jaw relative to a disclosed, but not claimed, coacting jaw
(i.e., a clamp couple element *) will be placed in this
and indented subclasses as though said coacting jaw were claimed. |
SEE OR SEARCH THIS CLASS, SUBCLASS:
| 2, | for patents to a hand maneuvered or work supported
tool guide with relatively movable jaws. |
| 257, | through 284, for patents to a holding device with relatively
movable jaws, claiming only jaw features without either means to
adjust* or actuate* said jaws. |
SEE OR SEARCH CLASS:
| 24, | Buckles, Buttons, Clasps, etc., appropriate subclasses, particularly
subclasses 243+ for patents to similar devices disclosed as holding
material for other than treatment of said material. |
| 81, | Tools,
subclasses 300 through 427.5for patents to tool jaws positioned by relatively
movable plural handles (e.g., pliers), and see search notes thereunder
and subclass 487 for other hand held tools having article gripping
jaws. |
| 100, | Presses, appropriate subclasses, particularly
subclasses 214 through 294for patents to relatively movable platens which
engage and treat the material engaged, and see search notes thereunder.
Also see section VIII in the class definition of this class. |
| 164, | Metal Founding, appropriate subclasses for patents to a combination
of a mold or flask with means to grasp or draw portions of the mold
or flask either together or onto a base or support. The clamp means,
per se, even if the mold or flask is named as the article held is
classified here (Class 269) as a workholder. |
|
| | |
87 | With tool couple element: |
| | This subclass is indented under subclass 86. Device including a tool couple element *.
SEE OR SEARCH THIS CLASS, SUBCLASS:
| 48, | for patents to a holder inserted within work aperture
including a tool couple element. |
| 288, | for patents to a holder enclosing work and including
a tool couple element. |
| 290, | through 295, for patents to a work underlying support with a
tool couple element. |
|
| | |
87.1 | With guide means: |
| | This subclass is indented under subclass 87. Device including means to limit or restrict the movement
or course of a tool to a particular path(s).
SEE OR SEARCH CLASS:
| 33, | Geometrical Instruments,
subclasses 501 through 573for patents to a gauge. |
|
| | |
87.3 | Hole type: |
| | This subclass is indented under subclass 87.1. Device including an opening or aperture through which a
tool is applied to the work. |
| | |
88 | Convertible to other type or form of holder: |
| | This subclass is indented under subclass 86. Device including means, which by arrangement, addition,
removal or reassembly of one or more of its elements, causes or
permits the device to serve or function, alternately, as one or
the other of at least two of the different types of holding devices
separately provided for under subclass 86.
| | (1)
Note. The fact that a device may be used in several varying
ways to hold work will not effect classification in this subclass
unless such variation in mode of operation requires a rearrangement, addition,
removal or reassembly of component elements. |
| | (2)
Note. The use of selective jaw attachments or inserts is not
considered to constitute a variation as to type of holding device
as required by the above definition. |
| | (3)
Note. A holder is considered to be a particular "type" when
the claimed means provide for (a) distinctive adjustment* or actuating* mechanism
as indicated by the subclasses 165-254 and (b) specific number,
relative coaction and/or alignment of jaws as indicated
by subclasses 104 through 156. |
| | (4)
Note. Devices convertible from a work holder to a treating
or force applying mechanism are excluded from this class (269) and
are classified on the basis of the appropriate treating or force
applying mechanism. |
SEE OR SEARCH THIS CLASS, SUBCLASS:
| 4, | for patents to a holding device convertible from
operative to bench supported. |
| 271, | for patents to a holder with jaw attachments and/or
inserts. |
|
| | |
89 | Jaw actuation locks holder position relative to base: |
| | This subclass is indented under subclass 86. Device including means responsive to jaw actuation* for
immobilizing the jaw couple relative to the holder support *.
| | (1)
Note. The structure is incapable of grasping work prior to
immobilization and thus is not considered to be a holder mounted
for movement *. |
SEE OR SEARCH THIS CLASS, SUBCLASS:
| 55, | through 85, for patents to a holder mounted for movement. |
| 216, | through 254, for patents to a holder actuating means. |
|
| | |
91 | Clamp couple element with fastening means: |
| | This subclass is indented under subclass 86. Device including means to removably secure a clamp couple
element* to a supporting structure, which structure serves
as a coacting jaw.
| | (1)
Note. The clamp couple element itself, not in secured position,
is incapable of holding work. |
| | (2)
Note. Included here are patents to a "hold down" used
on a machine tool work table as well as a "planking clamp" used
for applying a sheathing, floor or wall board. |
| | (3)
Note. In the figure below, shank 4 of a clamp couple element
is maintained in position with respect to support 5 by being canted
in opening 3. Actuation of cam 2 then serves to grip work between jaw
1 and support 5.

| |
| | |
92 | With plural actuating means: |
| | This subclass is indented under subclass 91. Device including two or more actuating* means.
SEE OR SEARCH THIS CLASS, SUBCLASS:
| 221, | for patents to a holder with plural means to actuate
one jaw. |
|
| | |
93 | Responsive to element actuating means: |
| | This subclass is indented under subclass 91. Device including means wherein jaw actuating mechanism serves
to immobilize the element with respect to a coacting jaw.
SEE OR SEARCH THIS CLASS, SUBCLASS:
| 89, | for patents to a holder with immobilizing means
responsive to jaw actuating means. |
|
| | |
94 | Rocking-element type: |
| | This subclass is indented under subclass 91. Device wherein the clamp couple element is moved arcuately
by actuating means to grip work.
| | (1)
Note. Included here are patents to a device with very slight
rocking motion where such rocking is in fact effected by operation
of the actuating means. |
SEE OR SEARCH THIS CLASS, SUBCLASS:
| 237 | through 239 for patents to a holder with relatively pivoted
jaws. |
|
| | |
95 | With means to fasten holder to support (e.g., portable): |
| | This subclass is indented under subclass 86. Device including structure for fixing or making fast the
position of an entire holder with respect to a disclosed reference
table, stand, bracket, wall or floor.
| | (1)
Note. The holder structure must be capable of holding work
in the absence of the reference table or stand to which said device
is fastened. |
| | (2)
Note. See HOLDER SUPPORT*, especially form (c). |
| | (3)
Note. Included here are patents to a holder claiming features
for a temporary or removable mounting which facilitate the use of
the device as a portable instrumentality. |
| | (4)
Note. While a patent may claim structure capable of meeting
the criteria of subclass 37, i.e., plural clamping means to hold
workpieces relative to each other, such patent will be placed here
(subclasses 95-102) if the disclosure is for holding work with respect
to a reference table, wall or floor. |
SEE OR SEARCH THIS CLASS, SUBCLASS:
| 4, | for patents to an operator supported holder convertible
to bench supported type. |
| 37, | for patents to plural holders to hold workpieces
relative to each other, and see (4) Note above. |
| 81, | for patents to a holder mounted for movement* with
means to lock movement with respect to a reference base. |
| 91, | for patents to a jaw* with means to fasten
said jaw, and its adjusting* and/or actuating* means,
to a coacting jaw or jaw-like member. |
| 309, | through 314, for patents to a holder with working-underlying
support mounting means. |
SEE OR SEARCH CLASS:
| 248, | Supports, appropriate subclasses for patents to a work holder
supporting structure, per se. |
|
| | |
96 | Wrench or plier type of work holder: |
| | This subclass is indented under subclass 95. Device wherein the work holder structure, per se, is disclosed
and claimed as either (a) torque means separately classifiable in
Class 81, subclasses 54-57.46 or (b) hand pliers separately classifiable
in Class 81, subclasses 300-427.5.
SEE OR SEARCH THIS CLASS, SUBCLASS:
| 4, | for patents to a holder convertible to either operative
or bench support. |
SEE OR SEARCH CLASS:
| 81, | Tools,
subclasses 54 through 57.46and 300-427.5 for wrenches and pliers, per se,
respectively. |
|
| | |
97 | Clamp type fastening means: |
| | This subclass is indented under subclass 95. Device wherein the fastening structure includes relatively
movable jaws for gripping the support.
| | (1)
Note. In the figure below, jaws 4 and 5 are disclosed as intended
to be secured to the apron of a table or work bench while jaws 2
and 3 hold material to be worked on. Notice the detent 1 for quick
adjustment.

| SEE OR SEARCH CLASS:
| 81, | Tools,
subclass 487 for a hand tool having clamping jaws (other than
pliers or wrenches). |
|
| | |
99 | Socket type fastening means: |
| | This subclass is indented under subclass 95. Device wherein fastening structure includes an element mounted
on the support (or forming part of the support) in mating interengagement with
a generally complementary element forming part of the work holder. |
| | |
100 | Aperture in support: |
| | This subclass is indented under subclass 99. Device wherein the support includes an opening into which
a mating portion of work holder is inserted for mounting.
| | (1)
Note. A groove, notch or T-slot into which a work holder portion
of a fastener is inserted is not considered to be an aperture for
purposes of this subclass. Such feature, if claimed, is provided
for in subclass 99. | |
| | |
101 | Threaded fastening means: |
| | This subclass is indented under subclass 95. Device wherein the work holder is fastened by screw or bolt
means.
| | (1)
Note. For inclusion here, a patent must claim either threaded
fastening means or a structural feature which cooperates with, or
enables the use of, such threaded fastener. | |
| | |
102 | Nail or spur fastening means: |
| | This subclass is indented under subclass 95. Device wherein the work-holder is fastened by a driven support-penetrating
element.
| | (1)
Note. For inclusion here, a patent must claim either a nail
or spur fastener or a structural feature which cooperates with, or
enables the use of, such nail or spur. | |
| | |
103 | For cable about thimble (e.g., rigger"s vise): |
| | This subclass is indented under subclass 86. Device for holding a bight or loop of strand-like material
around a generally U-shaped wear and/or reenforcement member
so that the ends of the bight may be secured together to maintain
said member in said bight.
| | (1)
Note. This subclass represents an art collection of patents
to a cable-splicing device (which patents vary as to structural
details though all meet the criteria set forth in class and subclass
definition above) limited by claim to the means for holding cable
around a thimble. |
SEE OR SEARCH CLASS:
| 57, | Textiles: Spinning, Twisting, and Twining,
subclasses 22 and 23 for patents for splicing devices, and see search
notes thereunder. |
|
| | |
104 | Plural jaw pairs, angularly oriented, for common work: |
| | This subclass is indented under subclass 86. Device including (a) two or more jaw* couples spatially
related so that a line between, and generally normal to, coacting
gripping surfaces of one jaw couple is not parallel to a corresponding
line of another jaw couple; and (b) each of the couples contacts
either portions of the same workpiece or plural abutting workpieces.
| | (1)
Note. This subclass does not include patents for holders with
plural coacting jaws unless said jaws are adjusted* or actuated* in
groups of two (i.e., in couples). |
| | (2)
Note. In regard to this and indented subclasses from subclass
105 through subclass 117, no effort has been made to cross-reference
down from these subclasses to the indented subclasses running from
subclass 118 through subclass 125, as the vast majority of the patents, in
the higher group of subclasses, have at least one or more claims
drawn to the subject matter of one or more of the subclasses positioned
in the lower placed group of subclasses. Therefore, to be complete,
any search involving one or more of subclasses from subclasses 118 through
125 should include a search of appropriate subclasses in the group
running from subclass 104 through subclass 117 inclusive. |
| | (3)
Note. A patent claiming subject matter included within the
above definition, and including a disclosure that provides for only
two jaw couples with a single adjustment means (subclasses 165-215) for
positioning one couple and a single actuating* means (subclasses
216-254) for positioning the other couple, will remain in this subclass.
If either of the above jaw couples is disclosed as having plural
positioning means, see the subclasses indented under subclass 109. |
| | (4)
Note. See (1) Note under subclass 111. |
SEE OR SEARCH THIS CLASS, SUBCLASS:
| 37, | through 45, for patents to a holder with plural means to hold
workpieces relative to each other, each of which means can hold
work independently of other means and in the absence of other workpieces,
and see search notes thereunder. |
| 287, | and 288, for patents to a holder which encloses
work. |
SEE OR SEARCH CLASS:
| 81, | Tools,
subclass 311 for patents to pliers with separate jaw pairs. |
| 279, | Chucks or Sockets, appropriate subclasses for patents to plural coacting jaws,
and see search notes under the class definition. |
|
| | |
105 | Three jaw couples in three nonparallel planes: |
| | This subclass is indented under subclass 104. Device including at least three jaw* couples, each
one of the three couples being angularly related to each of the
other two couples; and, no more than two of the three couples acting
in a common plane.
| | (1)
Note. One jaw couple may grip and fix the work to oppose an
angularly related jaw that would move the work, rather than grip
the work, in the absence of the first mentioned couple. |
SEE OR SEARCH THIS CLASS, SUBCLASS:
| 37, | through 45, and 152-155, where three couples do not engage the
same work, and see notes thereunder. |
|
| | |
107 | Interrelated actuating means: |
| | This subclass is indented under subclass 104. Device wherein the mechanism for relatively moving the jaws
of any one set is operatively linked to the moving mechanism of
at least one other angularly oriented set.
SEE OR SEARCH THIS CLASS, SUBCLASS:
| 218, | through 220, for patents to a holder with common means to actuate opposed
jaws, and see notes thereunder. |
|
| | |
108 | Constricting loop common to plural jaw pairs: |
| | This subclass is indented under subclass 107. Device utilizing a cable, strand, strap, or articulated
link member encircling all the jaws so as to move said jaws relative
to each other as the effective length of the encircling member is shortened.
SEE OR SEARCH THIS CLASS, SUBCLASS:
| 130, | for patents to a holder wherein a cable, strand
or articulated link member is adjusted to engage work by shortening
the effective length of said member. |
|
| | |
109 | Four relatively movable corner-angled jaws: |
| | This subclass is indented under subclass 107. Device including at least four jaws, each jaw including
work-contacting portions that are angularly related; and, when actuated*,
the four jaws move in unison, or substantially so, toward or away
from the work.
| | (1)
Note. See "JAW"* (b). |
| | (2)
Note. See the sketch accompanying the definition of subclass
112 for an illustration of possible lines of movement for one of
said jaws. | |
| | |
110 | One actuated jaw carries a second actuated jaw: |
| | This subclass is indented under subclass 104. Device wherein at least one actuated* jaw* includes
structure which supports and allows relative movement of a second
actuated jaw.
SEE OR SEARCH THIS CLASS, SUBCLASS:
| 95, | and notes thereunder. |
| 134, | through 138, for patents to a holder including a "hold
down" component of force on a jaw. |
| 152, | through 155, for patents to a holder with plural jaw pairs. |
|
| | |
111 | Quadrilateral frame type: |
| | This subclass is indented under subclass 104. Device including four side portions arranged to enclose
an area, said side portions may or may not be interconnected, the
opposed pairs of side portions including the jaw couples.
| | (1)
Note. This subclass requires (a) that the positioning means
for at least one of the jaw couples includes either (i) two or more
disclosed adjustment* means (e.g., subclasses 141 and 165-215),
or (ii) two or more disclosed actuating* means (e.g., subclasses
142-145 and 216-254), or (iii) a combination of at least one adjusting
means and at least one actuating means (e.g., subclasses 146 and
188-202); and (b) that the positioning means for the other jaw couple
includes (i) adjustment means or (ii) actuating means. Therefore,
this subclass does not include a device wherein a single adjusting
means or a single actuating means is used to position one jaw of
one couple, plus a single adjusting means or a single actuating
means used to position one jaw of the other couple ("single," as
here used, excludes one jaw couple positioned by a combination of
adjustment and actuation means, as in subclasses 146 and 188-202,
as well as excluding plural adjustors or plural actuators, for one
jaw couple, as in subclasses 141 and 221-223); and, patents disclosing
only such "single" means, for each of the two jaw
couples, will remain in subclass 104. See (4) Note under subclass
104. |
| | (2)
Note. The four sides of the frame may be in the same plane
or they may be in closely adjacent parallel planes. |
| | (3)
Note. Each one of the four sides may (a) constitute a jaw,
(b) support a movable jaw, (c) support jaw moving means, or (d)
comprise any combination of (a), (b) and/or (c). |
| | (4)
Note. A "corner," as used in the definitions
of the indented subclasses, may be formed by two abutting, articulated, intersecting,
or overlapping lateral parts, or it may be merely the point where imaginary
extension of two lateral parts would intersect. |
| | (5)
Note. The force applied to portions of the frame may be exerted
from a point on or outside the periphery of the frame toward an
inner portion of the frame, or from some point within the frame
toward the periphery of the frame. |
| | (6)
Note. See "JAW"*. If one corner-angled jaw
having nonparallel faces has such faces articulated, or otherwise
movable inter se, and each such face has an opposed coacting jaw
that is movable relative thereto, then such jaw couples are appropriate
for this and indented subclasses such as subclasses 112, 124, and 125.
However, if there are two generally opposed, corner-angled jaws
and each one has a respective pair of nonparallel faces that are
fixed inter se, then such an opposed pair of fixed-angle corner-angled
jaws are considered to be a single opposed pair of configured jaws,
and such structures should be searched elsewhere, e.g., subclasses
126-129, 140-150, 218-220, 265-270, etc. |
| | (7)
Note. See the accompanying sketches which show that the lateral
parts of the frame may vary from (a) merely the pointed ends of
screw means to (b) overlapping sides.

|
| | (8)
Note. In addition to variations noted in the Notes numbered
(3), (4) and (7), immediately above, the individual sides, jaws,
or screws may be pivotally mounted, slidable, or otherwise movable
with respect to each other or an underlying supporting structure. |
SEE OR SEARCH THIS CLASS, SUBCLASS:
| 37, | through 45, for patents to plural holders, and see the notes
thereunder. |
| 47, | through 52, for patents to a holder insertable within a work
aperture. |
| 55, | through 85, for patents to a movable holder which may include
a quadrilateral frame type holder to grip the work while the holder
is moved. |
| 311, | through 314, for patents to a work underlying support including
means to hold plural supporting blocks. |
|
| | |
112 | Diagonally moved jaw: |
| | This subclass is indented under subclass 111. Device including at least one actuating* means that
is positioned adjacent one corner, and (a) said means is not perpendicularly
related to either of the two sides that meet at said corner, and
(b) a line, formed by tracing a point on the actuated jaw as it
moves toward the work, falls within the angle formed either (1)
by the corner or (2) by imaginary lines forming extensions of the
two sides intersecting at said corner.
| | (1)
Note. Most of the patents placed in this subclass disclose
actuating means that move the jaw on a path that is generally aligned
with or closely parallel to either (a) a diagonal of the frame or
(b) the bisector of a corner. |
| | (2)
Note. Patents placed in this subclass include frames wherein
the frame, at one corner, is positioned to be coincident with one
quadrant, and adjacent said corner, the actuated jaw(s) moves either
(a) within the confines of the frame quadrant, (b) within the confines
of the opposed quadrant, or (c) both (a) and (b) type movement. |
| | (3)
Note. See (6) Note under subclass 111. |
| | (4)
Note. In the figure below, the portion shown in section represents
the work, and the lines J1 through J6 represent the movement of
a point on an actuated jaw(s) toward a gripping position.

| SEE OR SEARCH THIS CLASS, SUBCLASS:
| 115, | through 117, for patents to a holder including an actuating means
located adjacent at least one frame corner, and see the notes thereunder. |
|
| | |
113 | Plural actuating means for one side: |
| | This subclass is indented under subclass 111. Device including at least two actuating means operating
at spaced points located intermediately of the ends of one lateral
part of the frame.
| | (1)
Note. The plural actuators may be interrelated to operate
simultaneously, or they may be advanced and/or retracted individually. |
| | (2)
Note. At least one of the actuators is positioned at, or near,
the center of the side. |
| | (3)
Note. See (3) Note under subclass 111. |
SEE OR SEARCH THIS CLASS, SUBCLASS:
| 112, | and 115-117, for actuators located at the corners
of the frame, and see the notes thereunder. |
| 139, | for means to align coacting jaw faces, and see the
notes thereunder. |
|
| | |
114 | Plural actuators on each of two sides: |
| | This subclass is indented under subclass 113. Device wherein at least two sets of actuating means are
operating at spaced points upon each of at least two sides.
SEE OR SEARCH THIS CLASS, SUBCLASS:
| 118, | and 119, for patents including at least two single
actuators that are perpendicularly related. |
|
| | |
115 | Actuator located at corner: |
| | This subclass is indented under subclass 111. Device wherein an actuating means is located near, or at,
the juncture of two lateral frame parts and said means is so oriented
that a line, formed by tracing a point on the actuated jaw as it
moves toward the work, is (a) perpendicular to one of the two parts
forming a corner, or (b) the line falls outside the frame and outside the
angle, opposite said corner, formed by imaginary extensions of said
two sides.
| | (1)
Note. Patents placed in this subclass include a frame wherein
the frame, at one corner, is positioned to be coincident with one
quadrant, and, at said corner, the relatively movable jaws* are
positioned within the confines of the two adjacent quadrants. |
| | (2)
Note. See (3) Note under subclass 111. |
| | (3)
Note. In the figure below, the portion in section represents
the work, and the lines J1 through J6 represent the movement of a
point on an actuated jaw(s) toward a gripping position.

| SEE OR SEARCH THIS CLASS, SUBCLASS:
| 112, | for relatively movable jaws positioned in quadrant
opposed to the frame quadrant, and see the notes thereunder. |
|
| | |
118 | Actuated jaw couples perpendicularly related: |
| | This subclass is indented under subclass 111. Device wherein each couple of at least two jaw couples has
actuating means operating adjacent side, and lines normal to the
gripping surfaces of each of said two couples are at right angles to
each other.
| | (1)
Note. See (4) Note under the definition of subclass 104. |
SEE OR SEARCH THIS CLASS, SUBCLASS:
| 107, | through 109, for patents to a holder where such actuating means
are interrelated. |
|
| | |
119 | Actuator for each side: |
| | This subclass is indented under subclass 118. Device including at least one actuating means operating
upon each of the four sides of the frame.
| | (1)
Note. See (4) Note under subclass 104. |
| | (2)
Note. See illustration under (7) Note of subclass 111. |
SEE OR SEARCH THIS CLASS, SUBCLASS:
| 142, | through 145, for patents to a holder with separate means to actuate
each of a jaw pair. |
| 218, | through 220, for patents to a holder with common actuating means
for each of coacting jaws. |
|
| | |
120 | One couple adjusted and one couple actuated: |
| | This subclass is indented under subclass 111. Device wherein (a) at least one of the angularly related
jaw couples is operated to grip the work solely by adjustment* means,
and (b) a second jaw couple is operated by means including actuating
means.
| | (1)
Note. See (3) Note under subclass 104. |
| | (2)
Note. See (1) Note under subclass 111. | |
| | |
121 | Adjustment means intermediate ends of side: |
| | This subclass is indented under subclass 111. Device including plural adjustment means that operate either
(a) at plural spaced points intermediate the ends of one lateral
frame part, or (b) at a point remotely positioned with respect to
the ends of each of at least two lateral frame parts.
| | (1)
Note. See (3) Note under subclass 104. |
| | (2)
Note. See (1) Note under subclass 111. |
SEE OR SEARCH THIS CLASS, SUBCLASS:
| 124, | and 125, for patents to a holder including adjustment
means at plural corners, and see the search notes thereunder. |
|
| | |
122 | Adjustment means including attached wedge means: |
| | This subclass is indented under subclass 111. Device provided with adjusting means and including sloped
or inclined block means which are secured to the frame, or portions thereof,
by some means to prevent (except by destruction) the complete separation,
or loss, of said block means.
| | (1)
Note. See (4) Note under subclass 104. |
| | (2)
Note. See "CAM"* for concept of wedge. |
SEE OR SEARCH THIS CLASS, SUBCLASS:
| 124, | for patents to a holder with wedge adjustment means. |
|
| | |
123 | Wedge means attached by chain: |
| | This subclass is indented under subclass 122. Device including chains, or similarly linked elements, for
attaching the sloped or inclined block means to a portion of the
frame.
| | (1)
Note. See (4) Note under subclass 104. | |
| | |
124 | Adjustment means at diagonal corners: |
| | This subclass is indented under subclass 111. Device including adjustment means located at each of the
two junctures formed by (a) one pair of lateral frame parts, and
(b) the opposite pair of lateral frame parts that are remote with respect
to the first mentioned juncture.
| | (1)
Note. See (4) Note under subclass 104. |
| | (2)
Note. See (4) Note under subclass 111. |
| | (3)
Note. See the sketches accompanying the definitions of subclasses
112 and 115 for illustrations of the manner in which the jaws may
move toward the corner of either the workpiece or the frame sides. |
SEE OR SEARCH THIS CLASS, SUBCLASS:
| 122, | for patents to a holder with attached wedge adjustment
means. |
|
| | |
126 | Including pivoted yoke frame jaw carrier: |
| | This subclass is indented under subclass 86. Device wherein at least one jaw is supported by a generally
U-shaped member, one leg of which member is hinged at its extremity
to another jaw supporting structure, which second structure bridges
the ends of the U-shaped member and is latched to the extremity
of the other leg so as to substantially embrace work between the
legs of said member and said second structure.
| | (1)
Note. Either, or both, generally U-shaped member and the other
jaw supporting structure may carry jaw actuating or jaw adjusting
means. |
| | (2)
Note. The other jaw may, for example, be no more than a hinged
cross head extending from one leg end to the other. |
| | (3)
Note. In the illustration below, yoke 4, pivoted at 3 and
latched at 1, carries an actuating screw 2 to grip work between jaws
5 and 6.

| SEE OR SEARCH THIS CLASS, SUBCLASS:
| 130, | for patents for holders wherein a yoke-like member,
one portion of which comprises a jaw, is constricted to move said
jaw relative to another jaw. |
SEE OR SEARCH CLASS:
| 81, | Tools,
subclasses 98 and 99 for patents for pivoted outer jaw wrenches. |
|
| | |
127 | With specific latch means: |
| | This subclass is indented under subclass 126. Device including structural details of the securing means
utilized to fasten the other leg of the U-shaped member to the bridging
structure.
| | (1)
Note. Patent placement in this and indented subclasses requires
claimed recitation of the latch structure. Mere nominal recital
(e.g., "latch" or "fastener")
requires original placement of the patent on the basis of other
claimed characteristics. |
SEE OR SEARCH CLASS:
| 292, | Closure Fasteners, appropriate subclasses (and see the notes thereunder) for
patents to specific details of latch means, per se. |
|
| | |
128 | Latch means includes jaw actuating element(s): |
| | This subclass is indented under subclass 127. Device wherein the securing means is combined with jaw actuating* means.
| | (1)
Note. In the illustration below, the actuating screw 2 is
combined with the latch means 1 to effect gripping of work by jaws
5 and 6.

| SEE OR SEARCH THIS CLASS, SUBCLASS:
| 188, | through 202, for patents to a holder with actuating means, which
means also effect an adjustment lock*. |
|
| | |
130 | Including constrictable loop (strand or articulated) jaw: |
| | This subclass is indented under subclass 86. Device wherein (a) one jaw* consists of a portion(s)
of a supple length of elongated or attenuated material, the effective
length being varied to move said length relative to another jaw,
or (b) a supple length of elongated or attenuated material embracing
work is effectively shortened in length to grip and immobilize said
work.
| | (1)
Note. Examples of elongated materials are rope, cable, chain,
articulated links, straps, webs and belts. |
| | (2)
Note. Specific configuration, or modification of surface characteristics,
of the attenuated material for the purpose of improved work contact
is considered to be a jaw feature and is provided for, per se, in
subclasses 257-284. |
| | (3)
Note. The recital of a plurality of work-engaging articulated
links, meeting the above definition, will not constitute the constrictable
loop as other than a single jaw for this subclass, even though they are
disclosed as engaging the work simultaneously. |
SEE OR SEARCH THIS CLASS, SUBCLASS:
| 126, | through 129, for patents to a holder including a pivoted yoke
frame carrying a supple or flexible jaw supporting member, which
member is of fixed length during relative jaw movement. |
SEE OR SEARCH CLASS:
| 81, | Tools,
subclasses 64 through 65.4for patents for a flexible jaw wrench. |
|
| | |
131 | Flaccid loop: |
| | This subclass is indented under subclass 130. Device wherein the constrictable loop is of limber and flexible
material.
| | (1)
Note. Included here, for example, are patents to a holder
wherein the loop is of wire, rope, metal band, cable, etc. |
SEE OR SEARCH CLASS:
| 294, | Handling: Hand and Hoist-Line Implements,
subclass 149 for a hand-held article carrier which employs a flaccid
loop to retain the article. |
|
| | |
132 | With means to actuate a coacting jaw: |
| | This subclass is indented under subclass 130. Device including mechanism to move a jaw other than the
constrictable loop.
| | (1)
Note. Generally, the loop is adjusted*, by constriction,
to desired proximate size and the coacting jaw is then actuated* to grip
work between the loop bight and said jaw. | |
| | |
133 | Weight of a vertically disposed panel actuates jaws: |
| | This subclass is indented under subclass 86. Device including at least two coacting jaws* and
their supports with a work underlying portion(s) that (a) is attached
to or integral with either a jaw(s) or a jaw supporting structure(s), and
(b) is so interconnected with one or more jaws that the force of
gravity on the workpiece, upon contact with the underlying portion(s), actuates* the
coacting jaws.
| | (1)
Note. The most common panel or workpiece present, in the patent
disclosures placed in this subclass, is a door or window supported
during planing, weatherstripping, etc. |
SEE OR SEARCH THIS CLASS, SUBCLASS:
| 13, | and 14, for patents to a holder including a separate
means (i.e., other than merely manually lifting the panel against
the force or gravity) to facilitate the removal of work. |
| 157, | through 163, for patents to a holder including claimed means
to urge jaws away from the work. |
| 217, | for patents to a holder including means to resist
further movement of the work once it is gripped. |
| 218, | through 220, for patents to a holder including a single means
to actuate coacting jaws. |
| 237, | through 239, for patents to a holder with pivoted jaws. |
| 310, | for patents to a holder including supporting structure
that is resiliently urged upwardly. |
|
| | |
134 | With means for "hold-down" component of force: |
| | This subclass is indented under subclass 86. Device including means to effect an additional clamping
or holding action on work with respect to an underlying work supporting
member(s), which additional clamping action is derived from jaw
actuating* means or jaw movement, generally parallel to
the supporting surface of said member.
| | (1)
Note. Inherent in all rockable or pivotal jaw holding devices,
depending on the relative angular position of the parts, is a similar
force-component urging work transversely of the pivot or axis. However,
unless the device includes (a) specific work underlying support
means and (b) the jaw actuating means (or jaw movement) is generally
parallel to said surface, patents to such device will not be placed
here (subclass 134) but elsewhere in the schedule on the basis of other
appropriate features. | |
| | |
135 | With rockable work contacting member: |
| | This subclass is indented under subclass 134. Device including a pivotal or arcuately movable body engaging
the material to be held.
| | (1)
Note. Generally, the line of force applied to the element
is such as to cause the body to shift both toward the work and toward
a work underlying support surface. | |
| | |
136 | Moved by linearly acting jaw: |
| | This subclass is indented under subclass 134. Device wherein the work contacting body is in the nature
of an insert or attachment to a jaw*, which jaw itself
is constrained to movement generally parallel to the supporting
surface.
SEE OR SEARCH THIS CLASS, SUBCLASS:
| 271, | through 284, for patents to a holder attachment and/or
insert. |
|
| | |
137 | Inclined actuator and/or jaw travel: |
| | This subclass is indented under subclass 134. Device wherein the jaw and/or actuating means are
specifically set forth as moving in a path slightly sloped with
respect to the plane of the work underlying support surface.
| | (1)
Note. The phrase "slightly sloped" is intended
to cover included angles up to, but not exceeding, 45o. | |
| | |
139 | With means to align coacting jaw faces: |
| | This subclass is indented under subclass 86. Device including additional means for moving a jaw* so
as to vary the disposition (i.e., orientation) of the work engaging
surface of said jaw with respect to the work engaging surface of
an opposed jaw.
| | (1)
Note. The movement effected by the additional means is other
than such movement as will engage and grip work. A patent to a holder
with additional means to pivot one jaw with respect to another,
which pivotal movement is effective to engage and grip work, is therefore
not to be placed in this subclass even though the relative orientation
of coacting jaw faces is changed. Generally, the pivot of the jaw
is external of the jaw body when the pivotal movement is part of
the jaw actuation, and the pivot is internal of the jaw body when the
pivotal movement is merely for jaw alignment. |
| | (2)
Note. Patent placement here requires that the holder include
positive means to change the jaw orientation. Mere pivot, swivel,
slide or articulation means for a jaw or jaw portions is not considered such
a positive means. See illustration under subclass 258. |
| | (3)
Note. Generally, the change in orientation involves either
(a) variation in angularity of the work engaging surface with respect
to line of relative gripping movement, or (b) shift of the work
engaging surface normal or lateral to the line of relative gripping
movement, or (c) both variation in angularity and lateral shift. |
SEE OR SEARCH THIS CLASS, SUBCLASS:
| 164, | for patents to a holder with means to adjust portions
of the same jaw with respect to each other laterally of the line
of relative gripping movement. |
| 237, | through 239, for patents to a holder with relatively pivoted
jaws. |
| 258, | through 264, for patents to a holder characterized by adjustable
jaw features. |
SEE OR SEARCH CLASS:
| 81, | Tools,
subclass 421 for patents to pliers with articulated jaws. |
|
| | |
140 | With separate positioning means for each of jaw pair: |
| | This subclass is indented under subclass 86. Device including a means for adjusting* and/or actuating* one
jaw* plus a different means for adjusting and/or
actuating a coacting jaw.
| | (1)
Note. A device which includes a common driving element, anywhere
in a train of mechanisms used to position both jaws, is not considered
to have separate means in the sense of the above definition. Such
a means is considered to constitute a single positioning means. |
| | (2)
Note. The adjustment and/or actuation of the coacting
jaws must be with respect to some common supporting structure, as well
as with respect to each other, for inclusion in this and indented
subclasses. |
| | (3)
Note. This subclass does not include devices having three
work gripping elements mutually movable to hold work, for which
see subclass 156. |
| | (4)
Note. In the figure below, the pins on bar 3 provide for adjustment
of one jaw and the screw 2 provides for actuation of the other jaw.

| SEE OR SEARCH THIS CLASS, SUBCLASS:
| 165, | through 215, for patents to a holder with the specific adjustment
means. |
| 216, | through 254, for patents to a holder with specific actuating
means. |
| 218, | for patents to a holder with common means to simultaneously
actuate plural jaws. |
|
| | |
141 | Adjustable positioning only: |
| | This subclass is indented under subclass 140. Device wherein the different means for positioning are adjustment
means.
SEE OR SEARCH THIS CLASS, SUBCLASS:
| 165, | through 215, for patents to a holder including adjustment means. |
|
| | |
142 | Separate means to actuate each of a jaw pair: |
| | This subclass is indented under subclass 140. Device including a different actuating means for each jaw
of a coacting jaw couple.
SEE OR SEARCH THIS CLASS, SUBCLASS:
| 119, | for patents to a quadrilateral frame type holder
with at least one actuating means upon each of the four sides of the
frame. |
|
| | |
143 | Portable C-clamp type: |
| | This subclass is indented under subclass 142. Device wherein the coacting jaws are mounted on, or adjacent
to, the ends of an arched, curved or channel shaped member, which member
constitutes the common supporting structure relative to which both
coacting jaws are actuated and which member is not secured to a
base or mount.
| | (1)
Note. Included here are patents to a portable C-clamp type
holder with diverse actuator means. |
SEE OR SEARCH THIS CLASS, SUBCLASS:
| 147, | through 149, for patents to straight beam type holder including
separate positioning means for each of coacting jaws. |
| 249, | for patents to a C-clamp type holder including a
screw-nut type actuator. |
|
| | |
145 | Same actuator type for each jaw: |
| | This subclass is indented under subclass 142. Device wherein the different actuating means are of the
same type.
| | (1)
Note. See (1) Note under subclass 143. Actuating means provided
for in the same subclass (on the basis of said actuating means)
will be considered as being of the same type, e.g., all forms of
toggle actuators are the "same" type. | |
| | |
146 | Means to both actuate and adjust the same jaw: |
| | This subclass is indented under subclass 140. Device wherein one of a pair of coacting jaws is provided
with means to adjust and actuate said jaw.
| | (1)
Note. Such means may be a single unitary mechanism or two
separate structural entities. |
| | (2)
Note. In the figure below, screw 3 provides for actuation
of a jaw with respect to element 4, while the element and the jaw
can both be adjusted (by cant means) with respect to jaw 1 along
bar 2.

| |
| | |
147 | Portable straight beam type: |
| | This subclass is indented under subclass 140. Device wherein the coacting jaws are mounted on a rectilinear
shank (rod, rail or bar), which shank constitutes the common supporting structure
relative to which coating jaws are positioned and which shank is
not secured to a base or mount.
| | (1)
Note. Patents to a holder including a beam with a lateral
projecting fixed thereto, through which projecting an actuating
means moves a jaw parallel to the extent of the beam, are considered akin
to a straight beam type for this and indented subclasses. |
SEE OR SEARCH THIS CLASS, SUBCLASS:
| 143, | for patents to a C-clamp type holder including separate
means to actuate each of a jaw pair. |
|
| | |
148 | Plural parallel beams: |
| | This subclass is indented under subclass 147. Device including at least two shank members in spaced, nonconverging
relationship.
SEE OR SEARCH THIS CLASS, SUBCLASS:
| 270, | for patents to a holder with paralleling structure
for jaws. |
|
| | |
149 | Extensible beam: |
| | This subclass is indented under subclass 147. Device including shank structure whereby said shank may
be varied in length.
| | (1)
Note. The variation in length may, for example, be accomplished
by telescoping of shank portions, insertion or substitution of shank
portions, etc. |
| | (2)
Note. Included in this subclass are patents for a holder with
the variant referred to in (1) Note of subclass 147. | |
| | |
150 | Pivoted jaw actuator means: |
| | This subclass is indented under subclass 140. Device including an arcuately movable jaw and means to rock
said jaw about a fulcrum to grip work.
SEE OR SEARCH THIS CLASS, SUBCLASS:
| 237, | through 239, for patents to a holder including a pivoted jaw. |
|
| | |
152 | Plural jaw pairs: |
| | This subclass is indented under subclass 86. Device including two or more jaw* couples.
| | (1)
Note. Patent placement here requires that the claimed holder
jaws coact in pairs; that is, each jaw is movable relative to another
particular jaw, whether or not each pair engages the same workpiece. |
| | (2)
Note. Two or more work contacting elements, each of which
is separately movable (i.e., adjusted* and/or
actuated*), which coact with a single member to grip a
workpiece(s), are considered to be plural jaws and are specifically
set out in subclass 154 below. |
| | (3)
Note. This subclass is residual, in the workholder art, for
patents claiming plural jaw pairs, which jaw pairs are not encompassed
by the definitions of superior subclasses in the class schedule. |
SEE OR SEARCH THIS CLASS, SUBCLASS:
| 37, | through 45, for patents to plural means for holding workpieces
relative to each other, and search notes thereunder. |
SEE OR SEARCH CLASS:
| 81, | Tools,
subclasses 300 through 427.5for patents to tool jaws positioned by relatively
movable plural handles, e.g., pliers. |
|
| | |
153 | With common actuating means: |
| | This subclass is indented under subclass 152. Device including a single mechanism for the jaw actuation* of
two or more of the jaw couples.
SEE OR SEARCH THIS CLASS, SUBCLASS:
| 218, | for patents to a holder including a common means
to actuate plural jaws, and see notes thereunder. |
|
| | |
154 | One jaw common to plural coacting jaws: |
| | This subclass is indented under subclass 152. Device including two or more separately movable jaws coacting
with a single common, flat member to hold work.
| | (1)
Note. Included here are patents to a holder for single or
plural workpieces. |
| | (2)
Note. See JAW*, paragraphs (c) and (d). |
SEE OR SEARCH THIS CLASS, SUBCLASS:
| 37, | through 45, for patents to a holder with plural jaws which hold
plural workpieces relative to each other, and see search notes thereunder
for loci of patents to devices with plural jaws. |
|
| | |
156 | Three coacting work grippers: |
| | This subclass is indented under subclass 86. Device including three work gripping elements, each movable
in substantially the same plane and mutually adjustable* and/or
actuable*, to hold the same workpiece or workpieces.
| | (1)
Note. While the elements do not move in couples, they do coact
and are therefore considered jaws*. |
| | (2)
Note. See subclass 289, (2) Note and JAW* (b) with
reference to a disclosed, but unclaimed, work-underlying-support
element constituting one of the three work gripping elements. A
patent to a holder with a jaw couple which can hold work without
a disclosed, but not claimed, work-underlying-support is therefore
not placed in this subclass. |
| | (3)
Note. See JAW* (c) and (d) for the locus of patents
with respect to plural jaw elements all coacting with a multi-configured
work engaging member. |
SEE OR SEARCH THIS CLASS, SUBCLASS:
| 37, | through 45, for patents to plural holders for holding workpieces
relative to each other, and see search notes thereunder. |
SEE OR SEARCH CLASS:
| 81, | Tools,
subclasses 303 through 312for patents to pliers with three or more jaws. |
|
| | |
157 | With means to bias jaw(s) toward nonholding position: |
| | This subclass is indented under subclass 86. Device including resilient or weight means urging one or
more jaws* into nongripping relationship with the work.
| | (1)
Note. Included here are means which rely upon springs, gravity
or resiliency of structural elements. These means must be claimed
for placement of a patent in this subclass, rather than in other
coordinate subclasses below on the basis of other jaw positioning
features. |
SEE OR SEARCH THIS CLASS, SUBCLASS:
| 254, | for patents for a holder with bias means to urge
jaws toward work gripping position. |
|
| | |
158 | Pedal lever actuator: |
| | This subclass is indented under subclass 157. Device wherein the means to effect relative jaw movement
includes a member to be moved by the foot of an operative.
| | (1)
Note. A foot switch to initiate motor means for a holding
device is not considered to be a pedal mechanism for this subclass,
and a patent to such means will be placed elsewhere on the basis
of other features in the work holding combination. |
|
| | |
159 | Including position latch or lock: |
| | This subclass is indented under subclass 158. Device including means other than, and in addition to, the
means to actuate* the jaw(s) for maintaining said jaw(s)
in a desired spaced relationship.
SEE OR SEARCH THIS CLASS, SUBCLASS:
| 165, | through 215, for patents for a holding device with means to latch
or lock the jaws in desired initial adjusted* position. |
|
| | |
160 | Spring coil around actuating screw: |
| | This subclass is indented under subclass 157. Device wherein the resilient means consists of an elastic
helical element embracing a threaded cylindrical member forming
part of a screw-nut actuating means.
SEE OR SEARCH THIS CLASS, SUBCLASS:
| 240, | through 253, for patents to a holder using a screw-nut actuating
means. |
|
| | |
161 | Leaf spring between pivoted jaws: |
| | This subclass is indented under subclass 157. Device wherein the resilient means consists of an elastic
strip or sheet positioned intermediate coacting rockable jaws.
SEE OR SEARCH THIS CLASS, SUBCLASS:
| 237, | through 239, for patents to a holder including pivoted jaws. |
|
| | |
162 | Spring coil around or abutting cam or cam follower: |
| | This subclass is indented under subclass 157. Device wherein the resilient means consists of an elastic
helical element embracing or bearing against a cam* or
cam follower forming part of a cam actuating means.
SEE OR SEARCH THIS CLASS, SUBCLASS:
| 229, | for patents to a holder using a cam actuating means. |
|
| | |
163 | With articulated attachment or insert for jaws: |
| | This subclass is indented under subclass 157. Device including at least two coacting work grippers secured
to each other independently of any actuating* means.
| | (1)
Note. The work grippers are placed between coacting jaws* so
that the actuation of said jaws will cause said work grippers to
grip work. |
SEE OR SEARCH THIS CLASS, SUBCLASS:
| 277, | and 278, for patents to holder attachments or inserts
which are joined without bias means. |
|
| | |
164 | With means for lateral adjustment of jaw portions: |
| | This subclass is indented under subclass 86. Device wherein a work gripping element includes two or more
sections with means to shift said sections, individually or jointly,
normal to the general line of relative gripping action.
| | (1)
Note. Included here are devices which adjust jaw portions
to better grip different work shapes or sizes and also devices which
adjust jaw portions to enable ready access for working on different parts
of the work. |
SEE OR SEARCH THIS CLASS, SUBCLASS:
| 139, | for patents to a holder with lateral jaw adjustment
of coacting unitary jaws. |
|
| | |
165 | Means for direct manual adjustment of jaw(s): |
| | This subclass is indented under subclass 86. Device including adjustment* means to initially
position a jaw or jaws.
| | (1)
Note. The adjustment means is often referred to as a "quick
adjust," "quick acting means" or "rapid
set means" for the purpose of fixing an approximate jaw position
with respect to the work to be held, after which a gripping force
is applied to further move the jaw against the work. Such further
movement, where the gripping force is applied by means not encompassed
by the definition of adjustments, need by merely infinitesimal to
be considered actuating* movement. |
| | (2)
Note. The adjustment positioning of (1) Note, above, is generally
a simple sliding, pivoting or changing of a jaw(s) effected by an
operative grasping said jaw, or a portion thereof or a member attached
thereto, and imparting all spacial repositioning to said jaw by
congruent movements of his hand. |
| | (3)
Note. Included in this subclass are patents to a holder with
an insert adjustment-lock* means, which means comprises
one or more blocks positionable between structural elements constituting
the means for jaw adjustment so as to relatively immobilize said
elements. A wedge or cam-like insert, without means to apply force
or bias to further seat the wedge (or rock the cam-like element),
used to effect adjustment-lock is one form of such block. |
| | (4)
Note. A patent claiming means which provides for both adjustment
and actuation, and not encompassed by the definitions of subclasses
higher in the class schedule, will be placed here (subclasses 165-215)
on the basis of the adjustment feature and cross-referenced to the appropriate
actuation subclasses (216-254). |
SEE OR SEARCH CLASS:
| 81, | Tools,
subclasses 385 through 414for patents to a plier adjustment means. |
|
| | |
166 | With cant type adjustment lock: |
| | This subclass is indented under subclass 165. Device including means to effect an adjustment-lock*,
which means comprises at least two relatively movable elements with
antipodal pairs of mutually abutting surfaces, said surfaces being
caused to bind or frictionally engage by relative tilting or skewing
of either (a) one of said elements with respect to the other or
(b) a third element with respect to both of said relatively movable
elements.
| | (1)
Note. Generally, members having a restricted path of movement
with respect to each other because of the mating configuration of
their interengaged parts are cant locked in relative position by
moving one member askew to said path of movement. |
| | (2)
Note. The use of one or more pivoted elements to effect an
adjustment-lock by frictionally engaging a member is not considered
to be a "cant lock" mechanism. Such mechanism
is a clamp means for subclass 203. The "cant" means
of this and indented subclasses do not have pivots or axes and are
free for relative tilting or skewing. |
| | (3)
Note. In the illustration below, the opening 3 in jaw member
1 permits free movement along bar 2 when the jaw member is positioned
as shown at B. When canted as shown at A, the jaw member is immobilized.

| SEE OR SEARCH THIS CLASS, SUBCLASS:
| 203, | through 206, for patents to a holder including jaw adjustment
mechanism with frictional immobilization means applied by other
than a relative tilting or skewing of elements. |
|
| | |
167 | Including separate cant member: |
| | This subclass is indented under subclass 166. Device wherein two relatively adjustable subassemblies or
elements are locked together by skewing a third discrete binding
element.
| | (1)
Note. This third binding element is either (a) fastened to
one of the subassemblies and thus immobilizes said subassembly as
the element binds on the other or (b) interposed between portions
of said subassemblies to act as an abutment stop when the binding
element is manipulated to friction engage. |
| | (2)
Note. The discrete binding element may comprise a plurality
of separate cant members. |
| | (3)
Note. In the illustration shown below, elements 2 are canted
with respect to bar 1 to lock the position of jaw 3. |
| |
(This illustration is from patent No. 2,815,778
dated December 10, 1957).

| |
| | |
169 | Plus additional means to release cant lock: |
| | This subclass is indented under subclass 167. Device including mechanism, other than bias means or the
means utilized to apply the cant lock, to move the separate binding
element out of askew position.
SEE OR SEARCH THIS CLASS, SUBCLASS:
| 205, | for patents to a holder with additional means to
release a clamp type adjustment-lock. |
|
| | |
171 | Including interlocking abutting surfaces: |
| | This subclass is indented under subclass 166. Device wherein at least one such pair of binding surfaces
is configured to provide positive interengagement.
| | (1)
Note. Patent placement here requires both surface modification
and canting to maintain said surfaces together. |
| | (2)
Note. The term "configured" includes "teeth," "roughened," "racks," "serrations," etc.,
as integral surface characteristics, thus "positive interengagement" also
includes any surface modification which enhances frictional binding. |
| | (3)
Note. In the illustration shown below, A indicates the adjustable
position of the jaw member 2 while B indicates the lock position.

| SEE OR SEARCH THIS CLASS, SUBCLASS:
| 203, | through 206, for patents for a holder with noncanting friction
lock means using serrated surfaces. |
| 212, | for patents for a holder with noncanting lock means
using a pivoted or sliding pawl element, which element is not integral
or fixedly secured to one of the surfaces. |
|
| | |
171.5 | With tooth-like surface engaging a planar surface: |
| | This subclass is indented under subclass 166. Device including a roughened, serrated, knurled, or similarly
configured portion on at least one portion of one of a pair of the
antipodal abutting surfaces.
| | (1)
Note. In regard to the required tilting or skewing of the
two relatively movable elements of subclass 166, a patent disclosing
the interengagement of a single sharply defined edge or point on
one element with the plane surface of the second element will remain
in subclass 166; thus, for original placement in this subclass,
in regard to any single pair of relatively canted elements:
| | (a)
there must be an additional configuration (other than an
edge or point) on at least one element; or, |
| | (b)
there must be either (i) at least one inserted element that
has a roughened surface, or (ii) two or more inserted elements that
may have either single edges or roughened surface. | |
SEE OR SEARCH THIS CLASS, SUBCLASS:
| 171, | for patents including plural abutting surfaces that
interlock. |
|
| | |
172 | With relative axial shift of screw-nut actuating means: |
| | This subclass is indented under subclass 165. Device having screw-nut type actuating* means,
one of whose mating threaded components is movable, parallel to
the thread helix axis, with respect to the other (without recourse to)
and without effecting, the translation and rotation required by
interengagement of said mating.
| | (1)
Note. This, and indented subclasses, are characterized by
the inclusion of patents to a holder with a common type of actuating
means, screw-nut type set forth and defined in subclasses 240-253,
which provide a fertile field for modifications relative to "quick
adjust" or "rapid set" jaw positioning.
This subclass and subclasses hereunder are differentiated on the
basis of such modifications pertinent to adjustment features. |
| | (2)
Note. Subsequent to the relative disengaged shift of the mating
components, the further movement of said components in mating position
causes the jaws to grippingly hold work. |
| | (3)
Note. In the illustration shown below, B indicates the adjustable
position of the screw-nut actuating means wherein the screw element
9 has been turned to permit the insert element 4 to be disengaged from
the nut element 1, thus permitting relative axial movement without
rotation. A indicates the actuation position of the parts, as the
intermeshing of elements causes relative axial movement when screw
9 is rotated. (The illustration is from patent No. 2,620,695 dated December
9, 1952.)

| SEE OR SEARCH THIS CLASS, SUBCLASS:
| 189, | through 195, for patents to a holder with screw-nut type actuating
means which also locks the jaw adjustment. |
| 240, | through 253, for patents to a holder with screw-nut type actuating
means, per se. |
|
| | |
173 | Split nut type: |
| | This subclass is indented under subclass 172. Device wherein the screw-nut type actuating means includes
a threaded cylindrical member (solid or hollow) engaging with two
or more annular segments, bearing mating thread portions, with means
to move a segment(s) into and out of thread interengagement with
the cylindrical member.
| | (1)
Note. The segments are generally moved radially away from
the threaded cylinder to permit relative axial shift of segments and
cylinder. |
| | (2)
Note. While the segments may not encompass more than 180° of
the threaded cylindrical member, at least two of the segments are
so arranged as to lie in antipodal hemispheres. |
| | (3)
Note. In the illustration shown below, jaw 3 is tilted so
as to separate the nut-like thread 1 from the screw 2.

| SEE OR SEARCH THIS CLASS, SUBCLASS:
| 181, | through 183, for patents to a holder utilizing only one segment,
or plural segments all lying in a common hemisphere. |
|
| | |
174 | With separate means for lateral motion of segments: |
| | This subclass is indented under subclass 173. Device including operative manipulated mechanism, other
than the relatively rotatable segments and cylindrical member themselves,
for effecting relative radial movement of plural segments.
SEE OR SEARCH THIS CLASS, SUBCLASS:
| 173, | for patents to holders with separate means to move
only one of the split segments. |
|
| | |
176 | Common to spaced parallel screw means: |
| | This subclass is indented under subclass 174. Device wherein the operative manipulated mechanism effects
relative radial movement of segments coacting with both of a pair
of threaded cylindrical actuating members, said members lie in the
plane of relative jaw movement generally normal to and at different
distances from the work engaging surfaces of the jaws.
SEE OR SEARCH THIS CLASS, SUBCLASS:
| 219, | for patents to a holder with spaced parallel screw
means, either of which means serves as a common actuator for each
of the coacting jaws. |
|
| | |
177 | Control travels with screw: |
| | This subclass is indented under subclass 174. Device wherein the operative manipulated mechanism is mounted
on the threaded cylindrical member support means and moves with said
member. |
| | |
179 | With longitudinally rockable actuating screw: |
| | This subclass is indented under subclass 172. Device wherein the screwnut type actuating means includes
a threaded cylindrical member (hollow or solid), which member is
tiltable about an axis transverse to the extent of said member to
engage or disengage a mating threaded member.
| | (1)
Note. Included here are patents for a device wherein the tilting
is effected by cam* means carried by the tiltable member. |
| | (2)
Note. In the illustration shown below, initial rotation of
screw 2 turns cam 3 so as to tilt the screw and free said screw thread
from the nut-like element 1.

| |
| | |
180 | Direct hand tilt: |
| | This subclass is indented under subclass 179. Device wherein the tiltable cylinder is moved by manipulation
of an operative without intervention of mechanical advantage, lost
motion, or biasing means.
|
| | |
181 | Half nut type: |
| | This subclass is indented under subclass 172. Device wherein the screw-nut type actuating means includes
a threaded cylindrical member (hollow or solid) engaging a segment
bearing a mating thread portion, with means to move the segment
into and out of thread interengagement with the cylindrical member.
| | (1)
Note. The segment is generally moved radially away from the
threaded cylinder to permit relative axial shift of segment and
cylinder. |
| | (2)
Note. An annular member bearing a segment (less than 180°)
of thread, relatively rotated to align nonthreaded portions, is
not considered as an interrupted thread for subclasses 184-187. |
SEE OR SEARCH THIS CLASS, SUBCLASS:
| 173, | for patents to a holder utilizing plural annular
segments. |
|
| | |
183 | With pedal means: |
| | This subclass is indented under subclass 182. Device including a foot operated lever for effecting relative
radial movement of the segment. |
| | |
184 | Interrupted thread type: |
| | This subclass is indented under subclass 172. Device including mutilated portions of one or both of the
mating components, which portions, where properly aligned, permit
relative axial motion without interengagement of the thread (or
helix-like) elements of said mating components.
| | (1)
Note. Generally, a partial rotation of a mating component
serves to align mutilated portion, permitting an axial shift of said
component (and associated jaw); and a further rotation serves to
apply the actuating work gripping force. |
| | (2)
Note. See subclass 181, (2) Note for relationship to "haft-nut." | |
| | |
185 | Antipodal screw thread sectors: |
| | This subclass is indented under subclass 184. Device including two separate thread portions facing away,
oppositely, from each other on a cylindrical element.
| | (1)
Note. Usually the mating nut member is undercut in two similar
portions to permit relative axial motion without thread interengagement. | |
| | |
186 | Rack-like nut thread sector: |
| | This subclass is indented under subclass 184. Device including a single narrow thread portion coacting
with a mutilated screw element, which portion is greater in axial
extent than the screw element. |
| | |
188 | With common means to both lock and actuate jaw(s): |
| | This subclass is indented under subclass 165. Device including actuating* means, which means,
itself or through its drive train, operating in a manner necessary
to effect actuation also effects an adjustment-lock* of
relatively movable jaws.
| | (1)
Note. Usually, initial operation of the actuating means locks
the adjustment and further operation moves the jaws relative to
each other. |
SEE OR SEARCH THIS CLASS, SUBCLASS:
| 128, | for patents to a holder including a pivoted yoke
frame jaw carrier with specific latch means combined with jaw actuating
means. |
| 166, | through 171.5, for patents to a holder with a cant type adjustment-lock, which
lock is accentuated by further operation of actuating means. |
|
| | |
189 | Screw-nut type: |
| | This subclass is indented under subclass 188. Device wherein the actuating means includes mating concentric
threaded elements, which elements are relatively rotatable to cause
relative axial movement of said elements which movement is imparted
to associated jaws.
SEE OR SEARCH THIS CLASS, SUBCLASS:
| 172, | through 187, for patents to a holder adjustable by relative axial
shift of threaded actuating elements and which actuating means may
also effect an adjustment-lock. |
| 240, | through 253, for patents to a holder with screw-nut type actuating
means, per se. |
|
| | |
190 | With wedge means in the lock mechanism: |
| | This subclass is indented under subclass 189. Device including a tapered or sloped block in the train
of adjustment-lock mechanism, which block is shiftable to effect
binding of relatively movable jaws.
| | (1)
Note. In the illustration shown below, the initial rotation
of the screw element shifts wedge block 4, causing wedge block 2
to bind against the frame 1, thus immobilizing member 5 (and part
integral therewith) with respect to 1 and 6. Continued rotation
of the screw effects said movement thereof.

| SEE OR SEARCH THIS CLASS, SUBCLASS:
| 229, | for patents to a holder with wedge type actuating
means. |
|
| | |
191 | Roll or ball gripping element: |
| | This subclass is indented under subclass 190. Device wherein the block moves cylindrical or spherical
means to effect frictional engagement for locking the adjustment.
| | (1)
Note. In the illustration below (as in the illustration above),
screw rotation moves block 4, here block 4 moves a roller or ball
2 to immobilize member 5.

| |
| | |
192 | With pawl-rack immobilization means: |
| | This subclass is indented under subclass 190. Device including an element having one or more toothed portions
movable into engagement with selected notches in another toothed element
to maintain desired jaw adjustment.
SEE OR SEARCH THIS CLASS, SUBCLASS:
| 212, | through 215, for patents to a holder with pawl-rack detent adjustment-lock
means. |
|
| | |
193 | Pivotal or rockable pawl: |
| | This subclass is indented under subclass 192. Device wherein the movable element is constrained to limited
movement in an arcuate path for the purpose of engaging the coacting toothed
element. |
| | |
194 | Pawl-rack adjustment lock: |
| | This subclass is indented under subclass 189. Device wherein the means to maintain an adjustment position
includes the interengagement of a toothed bar with a pivoted or
sliding element, which element has one or more teeth mating with
those of the bar.
SEE OR SEARCH THIS CLASS, SUBCLASS:
| 212, | for patents to a holder with adjustment means utilizing
a pawl-rack lock, which lock means is not applied by means common
to it and to the jaw actuating means. |
|
| | |
195 | To immobilize nut: |
| | This subclass is indented under subclass 194. Device wherein an internally threaded element of the actuating
means is fixed or secured to, then serves as the reaction element
for transmitting work gripping force when a mating externally threaded
element is rotated.
SEE OR SEARCH THIS CLASS, SUBCLASS:
| 246, | through 253, for patents to a holder with screw-nut type actuating
means utilizing a relative fixed nut element. |
|
| | |
196 | Cam or eccentric type: |
| | This subclass is indented under subclass 188. Device wherein the actuating means includes cam* or
eccentric* means.
| | (1)
Note. See (3) Note under subclass 229. |
SEE OR SEARCH THIS CLASS, SUBCLASS:
| 204, | for patents to a holder with cam or eccentric means
which only effect adjustment-lock. |
| 229, | for patents to a holder with cam or eccentric actuating
means. |
|
| | |
197 | Plural cams in series: |
| | This subclass is indented under subclass 196. Device wherein the cam means coacts in succession with another
cam, eccentric, or wedge means to effect both actuation and adjustment-lock. |
| | |
198 | Cam in series with diverse actuator: |
| | This subclass is indented under subclass 196. Device wherein the cam means coacts in succession with some
actuating mechanism other than a cam, eccentric, or wedge means.
| | (1)
Note. For example, the diverse means may be a toggle mechanism. | |
| | |
199 | Plural cam surfaces: |
| | This subclass is indented under subclass 196. Device wherein the cam means included at least two separate
spaced contours which act to transmit motion as the cam is moved.
| | (1)
Note. Generally, one contour effects adjustment-lock and another
contour effects actuation as the cam is moved. | |
| | |
200 | Including radial face and/or axial follower feature(s): |
| | This subclass is indented under subclass 196. Device wherein a surface of the cam normal to the pivotal
or rotational axis is modified to impart to-and-fro movement, parallel
to said axis, to a follower element as the cam is pivoted, either
the structure of (a) an axial follower or (b) a normal cam surface
being specifically claimed.
SEE OR SEARCH THIS CLASS, SUBCLASS:
| 232, | for patents to a cam actuator with radial face and/or
axial follower features. |
|
| | |
201 | Toggle type: |
| | This subclass is indented under subclass 188. Device wherein the actuating means is a toggle* means.
SEE OR SEARCH THIS CLASS, SUBCLASS:
| 228, | for patents to a holder with toggle actuating means. |
|
| | |
202 | Rack-pinion sector: |
| | This subclass is indented under subclass 188. Device wherein the actuating means includes a pivotal or
rotatable gear-like portion rocked into engagement with a toothed
bar to lock the jaw adjustment and further pivoted or rotated to
effect relative jaw motion.
SEE OR SEARCH THIS CLASS, SUBCLASS:
| 227, | for patents to a holder with rack and pinion actuating
means. |
|
| | |
203 | With clamp (or friction) type adjustment-lock: |
| | This subclass is indented under subclass 165. Device wherein a mutually immobilizing engagement between
adjustable elements of the holder is effected or maintained by mechanism
which increases pressure of one element (or part of one) against
the other (or part of the other) to cause binding.
| | (1)
Note. Included in this and indented subclasses are lock means
with roughened or serrated surfaces to enhance the frictional characteristics
of abutting parts. However, the claimed modification, in structural
terms, of one surface to coact with an element of another surface
is considered to constitute a detent type lock. For example: the
recital of "interengageable teeth," "cogs," "racks," "pawls," "dogs," "pins," "ratchet grooves," "lugs," "keys," "studs," "notches," or "fingers" is
considered descriptive of detent means, while "roughened" or "serrated" surfaces
are deemed frictional surface characteristics for this and indented
subclasses. |
| | (2)
Note. If the only disclosed means for increasing the pressure
to cause binding is a spring means, and/or a simple lever, and/or
gravity acting on a "detent" means, then such
means is not considered to be a clamp or friction type means, and
original placement will be made in subclasses 207-215. |
| | (3)
Note. If a patent claims both a "detent" type
and a clamp or friction type adjustment (e.g., a set screw is used
to force a toothed element into engagement with a mating toothed
element), original placement will be in this subclass. Thus, if
a set screw (or similar) means plus a surface configuration is claimed,
whether the surface is considered to be "roughened" or "detent" type
is immaterial. However, if no set screw (or similar) means is used
to apply or force one configured surface into interengagement with
a coacting configured surface, then (1) Note applies. |
SEE OR SEARCH THIS CLASS, SUBCLASS:
| 166, | through 171.5, for patents to a holder with frictional locking
means effected by relative tilting or skewing of elements. |
| 207, | through 215, especially the indented subclasses 210 and 215. |
|
| | |
204 | Pivoted eccentric for applying lock: |
| | This subclass is indented under subclass 203. Device including a cam* to effect interengagement
of such locking elements.
SEE OR SEARCH THIS CLASS, SUBCLASS:
| 229, | for patents to a holder with cam actuating means,
and see search notes thereunder. |
|
| | |
205 | Plus additional means to release lock: |
| | This subclass is indented under subclass 203. Device including mechanism to remove or reduce an immobilizing
pressure between such elements to permit relative adjustment.
| | (1)
Note. The mechanism is a means other than a bias or the means
used to apply the lock. |
SEE OR SEARCH THIS CLASS, SUBCLASS:
| 169, | and 170, for patents to a holder with jaw adjustment
means including cant-lock release means. |
|
| | |
207 | With detent type adjustment-lock: |
| | This subclass is indented under subclass 165. Device including adjustment-lock* means, which
means comprise plural elements (each element carried by, integral
with or part of a coacting jaw* member) said elements so
configured that the interengagement of a portion of one with a portion
of another causes immobilization of the means for relative jaw adjustment.
| | (1)
Note. The detent may only limit relative adjustment in a particular
direction(s) rather than completely fix one member with respect
to another. |
SEE OR SEARCH THIS CLASS, SUBCLASS:
| 63, | through 70, for patents to a holder mounted for movement with
indexing stops. |
| 203, | through 206, for frictional engagement to effect adjustment-lock
and see (1) Note thereunder for the distinction between "roughened" surfaces
and "detents." |
| 284, | for patents to a holder detent fastener means for
a jaw insert. |
|
| | |
208 | Peg-hole: |
| | This subclass is indented under subclass 207. Device wherein the detent is a bar, pin or rod which is
insertable axially (i.e., longitudinally) within a selected aperture
or mating opening to maintain a desired adjustment.
SEE OR SEARCH THIS CLASS, SUBCLASS:
| 69, | and 70, for patents to a pawl-rack adjustment of
a holder. |
|
| | |
209 | For pivoted jaw: |
| | This subclass is indented under subclass 208. Device wherein the immobilized member is one of a pair of
relatively movable fulcrumed jaws.
SEE OR SEARCH THIS CLASS, SUBCLASS:
| 237, | through 239, for patents to a holder with pivoted jaw actuating
means. |
|
| | |
210 | Movable rack: |
| | This subclass is indented under subclass 207. Device including a notched or toothed bar that is disclosed
as being adjusted* by manually pivoting, sliding or rocking
of said bar into and out of interengagement with a coacting element (pin,
pawl or second rack-type element).
SEE OR SEARCH THIS CLASS, SUBCLASS:
| 203, | through 206, for patents to a holder including clamp or friction
type adjusting means, and see search notes thereunder. |
|
| | |
211 | Pin-rack: |
| | This subclass is indented under subclass 207. Device wherein one element is moved laterally of its general
extent to engage a selected notch in another toothed element to
maintain a desired adjustment of jaws.
SEE OR SEARCH THIS CLASS, SUBCLASS:
| 67, | for patents to a pin-rack adjustment of a holder. |
|
| | |
212 | Pawl-rack: |
| | This subclass is indented under subclass 207. Device wherein one element having one or more toothed portions
is pivotable or slidable into engagement with the selected notches
in another toothed element to maintain a desired jaw adjustment.
SEE OR SEARCH THIS CLASS, SUBCLASS:
| 68, | for patents to a pawl-rack adjustment of a holder. |
| 171, | for patents to a holder with adjustment-lock means
including both interengagement of configured surfaces and canting
to maintain desired jaw adjustment, the configured surfaces portions
being integral or fixedly secured to said surfaces. |
| 194, | and 195, for patents to a holder with a pawl-rack
adjustment-lock, which lock is applied by the means for relative
jaw actuation. |
|
| | |
215 | Spring urged pawl: |
| | This subclass is indented under subclass 212. Device including a resilient means to bias the pivotal or
slidable toothed element into engagement with the coacting toothed
element. |
| | |
216 | Means to actuate jaw(s) (i.e., apply holding force): |
| | This subclass is indented under subclass 86. Device including an actuating* means to move at
least one jaw with respect to another.
| | (1)
Note. Generally, a patent providing for relative movement
of jaws not clearly encompassed by the concept of adjustment* is
considered to set forth the use of actuating means and such patent
will be placed here (subclasses 216-254). |
| | (2)
Note. A patent claiming an actuating train, which train includes,
in series, two or more of the specific actuating means set forth
below, will be placed as an original in the first or superior subclass
providing for any of said claimed actuating means and a cross-reference
copy placed in subclasses providing for other claimed actuating
means; e.g., a patent claiming the use of a toggle mechanism to
drive a cam actuating means will be placed, as an original, in subclass
228 with a cross reference in subclasses 229-236. |
SEE OR SEARCH THIS CLASS, SUBCLASS:
| 8, | for patents to a holder with magnetic means to exert
force and work gripping. |
| 165, | through 215, for patents to a holder which includes means for
adjustment combined with actuating means as well as adjustment means,
per se. |
SEE OR SEARCH CLASS:
| 81, | Tools,
subclasses 342 through 384for patents to plier actuating means. |
| 100, | Presses,
subclasses 280 through 294for patents for a reciprocating press with mechanical
force multiplier means. |
|
| | |
217 | Work camming or wedging action type: |
| | This subclass is indented under subclass 216. Device including jaws and jaw supporting structure so configured
and linked that, once the jaws are in firm contact with the work,
said jaws will react to movement of the work by tending to tighten
engagement with said work, without the application of other forces
on said jaws or jaw supporting structures.
| | (1)
Note. Generally, the movement of the work is rotary and the
jaws tend to hold the work against further rotation, but the patents
placed herein are not limited to such rotational action. |
| | (2)
Note. The work need not be claimed for patent placement here. |
SEE OR SEARCH THIS CLASS, SUBCLASS:
| 166, | through 171.5, for patents to holder with similar self-camming
action used to lock parts of a jaw mechanism in desired adjustment
relationship. |
|
| | |
218 | With common means for each of coacting jaws: |
| | This subclass is indented under subclass 216. Device including a single means effective to move each of
two or more coacting jaws, which jaws engage the same work, with
respect to a common member as well as with respect to each other.
| | (1)
Note. The common member may be a base or a support for an
actuating means or a linkage between jaws. |
| | (2)
Note. Included in this and indented subclasses are patents
to a holder supported only by the contact of the coacting jaws with
the work itself. |
| | (3)
Note. In the illustration below, jaws 1 and 2 are each moved
by screw 3 with respect to each other and screw 3.

| SEE OR SEARCH THIS CLASS, SUBCLASS:
| 34, | for patents to a single fluid unit to move plural
jaws. |
| 42, | for patents to plural holders with means for simultaneous
actuation of the holders. |
| 107, | through 109, for patents to plural jaw pairs with interrelated
actuating means. |
| 119, | for patents to a quadrilateral frame type holder
with at least one actuating means upon each side of the frame. |
| 142, | for patents to a holder with separate actuating
means for each of a jaw pair. |
| 153, | for patents to plural jaw pairs with common actuating
means. |
| 242, | for patents for a screw means with right and left
thread to move a jaw pair. |
|
| | |
219 | Spaced parallel screw means: |
| | This subclass is indented under subclass 218. Device wherein the single means is either of two threaded
cylindrical members, which members lie in the plane of relative
jaw movement, generally normal to and at different distances from
the work engaging surfaces of the jaws.
SEE OR SEARCH THIS CLASS, SUBCLASS:
| 237, | for patents to a holder with pivoted jaws. |
| 240+, | for patents to a holder with screw-nut type actuating
means. |
|
| | |
221 | Plural means for one jaw: |
| | This subclass is indented under subclass 216. Device including two or more mechanisms to move the same
jaw.
| | (1)
Note. Patents placed in this subclass require that the claimed
holder include at least two force multiplying or bias inducing means
acting on the same jaw. The inclusion of means to vary effective speed
of jaw movement or jaw force is not such a mechanism. For example,
a holder utilizing a differential screw actuator is not considered
to have plural means for this subclass. |
| | (2)
Note. In the illustration shown below, jaw 3 can be moved
by the force of both spring 2 and screw 1.

| SEE OR SEARCH THIS CLASS, SUBCLASS:
| 92, | for patents to a clamp couple element with plural
actuating means. |
| 241, | for patents to a holder with a differential screw
actuating means. |
|
| | |
222 | Plural intergeared screw-nut actuating means: |
| | This subclass is indented under subclass 221. Device including two or more screw nut actuating means operatively
coupled by means of relatively rotatable bodies provided with teeth
or frictional interengaging elements.
SEE OR SEARCH THIS CLASS, SUBCLASS:
| 225, | through 227, for patents to a holder with gear type (other than
screw-nut) actuating means. |
| 240, | through 253, for patents to a holder with screw-nut actuating
means. |
|
| | |
223 | Including means to move nut: |
| | This subclass is indented under subclass 221. Device including a screw-nut type actuating means and additional
actuating mechanism, which mechanism effects a shift of the internally
threaded member of said screw-nut means.
| | (1)
Note. The nut usually carries the screw along with it as said
nut is shifted. |
SEE OR SEARCH THIS CLASS, SUBCLASS:
| 240, | through 253, for patents for a holder with screw-nut type actuating
means, and see notes thereunder for related subclasses and definition
of screw-nut type mechanism. |
|
| | |
224 | With yieldable means in actuation train: |
| | This subclass is indented under subclass 216. Device including means which resile upon the jaw"s
first gripping the work.
| | (1)
Note. The extent to which the device yields or resiles upon
gripping contact with work is usually limited to, and a function
of, the nature of the particular work disclosed. |
| | (2)
Note. Included here are patents to a holder with a jaw, said
jaw specifically claimed as resilient or yielding. |
| | (3)
Note. In the illustration below, spring 1 serves as a yielding
element upon initial contact of jaws 2 and 3 with work. As shown
the spring is relatively unstressed, the screw 4 moves to the left
against said spring a short distance with respect to jaw 2.

| SEE OR SEARCH THIS CLASS, SUBCLASS:
| 157, | for patents for a holder with a movable jaw biased
to nonholding position. |
| 254, | for patents for a holder with a movable jaw with
bias means to actuate the jaw. |
SEE OR SEARCH CLASS:
| 81, | Tools,
subclasses 417 and 427 for patents to a resiliently urged plier. |
|
| | |
225 | Gear type: |
| | This subclass is indented under subclass 216. Device including relatively rotatable bodies (other than
screw-nut members) provided with teeth or frictional interengaging
elements, whereby one rotatable body will impart motion to, or receive
motion from, some other body by rolling contact, which motion directly,
or as part of a mechanism train, effects relative jaw motion.
| | (1)
Note. Screw-nut gearing is characterized by the fact that
the relative rotation and relative axial movement, between screw and
nut, is about and along a common axis. While screw-nut means are
a species of gearing, patents for a holder including a screw-nut
means in the jaw actuating train are placed in subclasses 240-253
below; e.g., a patent for a holder including the combination of
a gear driven screw-nut actuating means is placed in subclasses
240-253. |
SEE OR SEARCH THIS CLASS, SUBCLASS:
| 222, | for patents to a holder with plural intergeared
screw-nut type actuating means. |
SEE OR SEARCH CLASS:
| 74, | Machine Element or Mechanism,
subclasses 640 through 468for patents for gearing means, per se, and see search
notes thereunder. |
|
| | |
226 | Worm: |
| | This subclass is indented under subclass 225. Device wherein the relatively rotatable bodies are (a) a
toothed wheel engaged by the mating spiral or helix on (b) a cylinder
tangent to a said wheel.
SEE OR SEARCH CLASS:
| 74, | Machine Element or Mechanism,
subclasses 425 through 427for patents for worm gearing means, per se. |
|
| | |
227 | Rack and pinion: |
| | This subclass is indented under subclass 225. Device wherein the relatively rotatable bodies are (a) a
toothed bar engaged by mating teeth on the outer periphery of (b)
a wheel-like member.
SEE OR SEARCH THIS CLASS, SUBCLASS:
| 202, | for patents for a holder with a rack-pinion sector
means used to both lock adjustment and actuate jaw movement. |
SEE OR SEARCH CLASS:
| 74, | Machine Element or Mechanism,
subclass 420 for patents to rack and pinion gear means, per
se. |
|
| | |
228 | Toggle type: |
| | This subclass is indented under subclass 216. Device wherein a toggle* linkage is utilized to effect
the relative movement of jaws*.
SEE OR SEARCH THIS CLASS, SUBCLASS:
| 201, | for patents to a holder with toggle means to both
lock the adjustment and actuate jaw movement. |
SEE OR SEARCH CLASS:
| 81, | Tools,
subclasses 363 and 367-380 for patents to toggle actuated pliers. |
|
| | |
229 | Cam, eccentric or wedge type: |
| | This subclass is indented under subclass 216. Device wherein the actuating means includes (a) cam* means
or (b) a tampered or sloped block (acting as an inclined plane)
for effecting relative jaw movement.
| | (1)
Note. The wedge means must include mechanism to seat or shift
said means to be considered as an actuating means. |
| | (2)
Note. See subclass 165, (3) Note for line with respect to
insert block adjustment. |
| | (3)
Note. A helical element coacting with a mating threaded element
or threaded segment, so that the only relative movement between
said elements is about and/or along a common axis, is considered
to be a screw-nut type of mechanism rather than a cam or gear means.
In the case of a threaded segment, the relative axial movement of
the segment with respect to the helical element is along a line
parallel to the helical axis. The provision of means for relative
radial movement between the elements is considered to characterize
the mechanism as a cam type means. |
SEE OR SEARCH THIS CLASS, SUBCLASS:
| 165, | for patents to a holder with a wedge insert for
jaw adjustment. |
| 196, | through 200, for patents to a holder with cam means to both lock
the adjustment of and actuate jaw movement. |
| 204, | for patents to a holder with cam means to lock adjustment. |
|
| | |
230 | With position latch: |
| | This subclass is indented under subclass 229. Device including means to retain the cam or wedge in a selected
one of several spatial relationship so as to maintain or fix holding
relationship of jaws. |
| | |
232 | Including radial face and/or axial follower feature: |
| | This subclass is indented under subclass 229. Device wherein a surface of the cam normal to the pivotal
or rotational axis is modified to impart to-and-fro movement, parallel
to said axis, to a follower element as the cam is pivoted, either
the structure of (a) an axial follower or (b) a normal cam surface
being specifically claimed.
SEE OR SEARCH THIS CLASS, SUBCLASS:
| 200, | for patents to a holder with radial face cam means
to both lock the adjustment of, and actuate, jaws. |
|
| | |
235 | Eccentric cylinder or disc: |
| | This subclass is indented under subclass 229. Device wherein the cam consists of a specifically recited
circular element mounted for pivotal or rotary movement about an
axis spaced from the circle center. |
| | |
237 | For pivoted jaw(s): |
| | This subclass is indented under subclass 216. Device wherein the jaw(s) is moved arcuately by actuating
means which rocks the jaw or jaw support about a fulcrum member
to grip work.
| | (1)
Note. Included here are patents to a holder with arcuate jaw
movement effected by actuating means applied as in a second class
lever system; i.e., the work engaging surface is intermediate the
fulcrum point and the point of force application. |
SEE OR SEARCH THIS CLASS, SUBCLASS:
| 91, | through 94, for patents to a clamp couple element with fastening
means, which element may rock to hold work. |
| 150, | for patents to a holder including separate positioning
means for each of a jaw pair, at least one of which jaws is pivotally
mounted and actuated. |
| 157, | for pivoted jaws with means to bias jaw(s) toward
nonholding position. |
|
| | |
240 | Screw-nut type: |
| | This subclass is indented under subclass 216. Device wherein the actuating* means includes mating
concentrically threaded elements, which elements are relatively
rotatable about a common axis to cause relative axial movement of
said elements, which relative movement is imparted to associated
jaws*.
| | (1)
Note. Included here are patents for a holder with elements
of less than 360° mating concentric extent. For example, the
nut portion may only be a thread segment or the screw may be interrupted. |
| | (2)
Note. A worm-gear, though similar to screw-nut, does not provide
for relative rotation of mating elements about a common axis. A
patent to a holder with a worm-gear actuator is therefor excluded from
this subclass. |
| | (3)
Note. See (3) Note under subclass 229. |
SEE OR SEARCH THIS CLASS, SUBCLASS:
| 172, | through 187, for patents for a holder with screw-nut actuating
means including means to adjust jaws by relative axial shift of
the threaded elements. |
| 189, | for patents for a holder with screw-nut actuating
means which also lock the jaw adjustment. |
| 223, | for patents for a holder with plural actuating means
for one jaw, one of which is of the screw-nut type. |
| 225, | through 227, for patents for a holder with gear type (other than
screw-nut) actuating means. |
SEE OR SEARCH CLASS:
| 74, | Machine Element or Mechanism,
subclasses 424.71 through 424.96for screw nut type gearing, per se. |
|
| | |
241 | Differentially threaded: |
| | This subclass is indented under subclass 240. Device wherein at least one portion of a threaded actuating
means is provided with a lead or a pitch smaller or greater than
another portion.
| | (1)
Note. Rotation of such actuation means thus imparts axial
movement of varying degrees to coacting mating elements. | |
| | |
242 | Right and left threaded: |
| | This subclass is indented under subclass 240. Device wherein threaded portions of one of said elements
form two opposed helices so that rotation of said element causes
relative movement in opposite directions between coacting threaded
elements.
SEE OR SEARCH THIS CLASS, SUBCLASS:
| 218, | through 220, for patents for a holder including a common means
to actuate plural jaws, and see the notes thereunder. |
|
| | |
244 | Screw held at ends for rotation only: |
| | This subclass is indented under subclass 240. Device including means to support a threaded cylindrical
element at both ends so that said element can be rotated without
axial movement.
| | (1)
Note. The rotation of the threaded cylindrical element causes
a mating nut and its associated jaw to move axially of said element. | |
| | |
246 | Screw travels with jaw: |
| | This subclass is indented under subclass 240. Device wherein an externally threaded element is rotated
for axial movement along with a jaw* carried or associated
with said element.
| | (1)
Note. Generally, the screw end has a jaw mounted thereon or
engages a jaw supporting carriage. | |
| | |
247 | Screw within traveling box-beam guide: |
| | This subclass is indented under subclass 246. Device including a shell or channel member, generally coextensive
with and surrounding the screw, which member moving with the screw serves
as a slide or rail to determine the path of relative jaw movement.
| | (1)
Note. In most instances the member is so configured as to
limit jaw movement to translation. |
| | (2)
Note. In the illustration below, slide 1 moving with the screw
4 serves as a guide for movement of the jaw coacting with jaw 2.

| SEE OR SEARCH THIS CLASS, SUBCLASS:
| 250, | through 253, for patents to screw actuated holders with means
for jaw translation. |
|
| | |
248 | With separable or replaceable nut means: |
| | This subclass is indented under subclass 246. Device including an internally threaded element, coacting
with the rotated element and serving as a reaction member to effect
axial movement of the rotated element, which internally threaded
element is not integral with the holding device frame and thus capable
of being interchanged with other elements if necessary or desired.
| | (1)
Note. This substitution feature is usually for the purpose
of wear correction or to facilitate assembly. |
| | (2)
Note. See the illustration is subclass 247 above wherein the
nut-like element 3 is dovetailed in the vise frame so as to be replaceable
if necessary. |
SEE OR SEARCH THIS CLASS, SUBCLASS:
| 247, | for patents to a holder with traveling screw actuator
within a box-beam guide, which type of holder usually has a replaceable
nut. Generally, no cross-references of this feature have been made
to this (248) subclass. |
|
| | |
249 | C-clamp type: |
| | This subclass is indented under subclass 246. Device wherein the screw coacts with a nut, or nut-like
portion, on one leg of an arched, curved or channel shaped member
so that the jaw associated with said screw is movable relative to
a second jaw constituting, or attached to the other leg of said
member, and which member is not secured to a base or mount.
SEE OR SEARCH THIS CLASS, SUBCLASS:
| 143, | for patents to a C-clamp type holder including separate
actuating means for each of coacting jaws. |
SEE OR SEARCH CLASS:
| 100, | Presses,
subclass 231 for patents to a C-frame type reciprocating press
construction. |
|
| | |
250 | Means to keep faces parallel and/or translate
jaw: |
| | This subclass is indented under subclass 246. Device including means associated and movable with the jaw
to (a) keep the work engaging surface(s) of said jaw from shifting
or varying angularly with respect to a coacting work engaging surface
and/or (b) prevent rotation of said jaw as the screw rotates.
SEE OR SEARCH THIS CLASS, SUBCLASS:
| 139, | for patents to a holder with means to change the
relative angular position of coacting jaw faces. |
|
| | |
251 | Flange and/or slot: |
| | This subclass is indented under subclass 250. Device wherein the means for preventing jaw rotation is
a configured frame guide coacting with a mating configuration carried
by the jaw. |
| | |
252 | Traveling means parallel to screw: |
| | This subclass is indented under subclass 250. Device wherein the movable means, to keep coacting work
engaging surfaces from shifting angularly, moves in the same direction
as the screw element along a separate but congruent path. |
| | |
253 | Plural traveling elements coplanar with screw: |
| | This subclass is indented under subclass 252. Device including two or more traveling elements parallel
to the screw and also lying in a common straight plane.
| | (1)
Note. In the illustration below, bars 2 and 3 are the traveling
elements used to maintain parallelism.

| |
| | |
254 | Bias type (e.g., weight, spring, resilience): |
| | This subclass is indented under subclass 216. Device including means tending to urge the jaws* into
gripping relationship with the work.
| | (1)
Note. Included here are patents to a holder with means which
rely upon springs, gravity or resiliency of structural elements. |
SEE OR SEARCH THIS CLASS, SUBCLASS:
| 157, | through 163, for patents to a holder with bias means to urge
jaws away from work holding position. |
SEE OR SEARCH CLASS:
| 294, | Handling: Hand and Hoist-Line Implements,
subclasses 148 and 166 for a hand-held article carrier which employs
a spring to retain the article on the carrier. |
|
| | |
256 | With paralleling mechanism for jaws: |
| | This subclass is indented under subclass 86. Device including means to limit the movement of one jaw
with respect to an opposed jaw so that work-engaging or work-gripping
faces of the respective jaws are maintained continuously normal
to the line of relative jaw movement.
| | (1)
Note. While most of these devices are for flat faced jaws,
this subclass is not so limited. Configured jaws with means to maintain
the relative spatial orientation, as set forth above, are classified
here. |
SEE OR SEARCH THIS CLASS, SUBCLASS:
| 212, | for patents to screw means to actuate jaws with
parallel mechanism. |
SEE OR SEARCH CLASS:
| 81, | Tools,
subclasses 352 through 354for patents to means for parallel movement of plier
jaw faces. |
|
| | |
257 | Jaw features: |
| | This subclass is indented under subclass 86. Device including a specifically claimed work engaging gripper
(a) structure, (b) composition, and/or (c) conformation.
| | (1)
Note. This and indented subclasses are rather parallel to
subclasses 418-426.5 of Class 81, Tools; thus a full search must encompass
both bodies of art. |
SEE OR SEARCH CLASS:
| 81, | Tools,
subclasses 418 through 426.5for patents to plier jaw structure, subclass 186
for wrench jaw structure, and see (1) Note above. |
| 100, | Presses,
subclasses 295 through 297for patents to platens or pressure surface structure. |
| 279, | Chucks or Sockets,
subclass 123 for patents to radially reciprocating jaw structure,
per se. |
|
| | |
258 | Angularly alignable: |
| | This subclass is indented under subclass 257. Device including means to permit movement of a jaw* or
portion thereof to orientate a contacting surface with respect to
the work.
| | (1)
Note. The means to permit movement of a jaw is other than
one including a mechanical advantage. Thus, "means to permit
movement" includes a pivot, swivel or slide. |
| | (2)
Note. In the illustration below, the jaw element 1 is freely
pivoted so as to be "self-aligning" with the work
contacted.

| SEE OR SEARCH THIS CLASS, SUBCLASS:
| 139, | for patents to a holder wherein the means for aligning
a jaw (with respect to another jaw or work) includes a mechanical
advantage, e.g., screw, cam, lever, etc. |
|
| | |
259 | Attachments and/or inserts: |
| | This subclass is indented under subclass 258. Device including (a) a separate work-engaging element fastened
or secured to at least one jaw or (b) a separate work-engaging element
positioned between opposed jaws so as to be actuated to grip work
by the movement of said jaws.
SEE OR SEARCH THIS CLASS, SUBCLASS:
| 271, | through 284, for patents to an attachment and/or insert
which is not alignable. |
|
| | |
260 | With hook type fastener means: |
| | This subclass is indented under subclass 259. Device wherein the fastening means includes a crook or crook-like
element engaging an eye or aperture.
| | (1)
Note. The curved or nib element can be part of either the
jaw or attachment. | |
| | |
261 | With socket type fastener means: |
| | This subclass is indented under subclass 259. Device wherein the fastening means includes an element forming
part of the jaw (or mounted on the jaw) in mating interengagement
with a generally complementary element forming part of the attachment
or insert.
SEE OR SEARCH THIS CLASS, SUBCLASS:
| 283, | for patents to a socket fastener means for a jaw
attachment and/or insert that is not angularly alignable. |
|
| | |
262 | With threaded type fastener means: |
| | This subclass is indented under subclass 259. Device wherein the fastening means includes a screw or bolt
means.
SEE OR SEARCH THIS CLASS, SUBCLASS:
| 282, | for patents to a threaded fastener means for a jaw
attachment or insert that is not angularly alignable. |
|
| | |
264 | Loosely positioned between coacting jaws: |
| | This subclass is indented under subclass 259. Device wherein the attachment or insert is placed intermediate
opposed jaws so that jaw actuation* causes said attachment
or insert to grip work.
| | (1)
Note. Included here are patents for an insert, which insert
includes structure for the insert to rest on the jaws. |
SEE OR SEARCH THIS CLASS, SUBCLASS:
| 277, | for patents to an insert (not angularly alignable)
loosely positioned between jaws. |
|
| | |
265 | Plural spaced work contacting portions: |
| | This subclass is indented under subclass 257. Device wherein a work-engaging member includes at least
two work-engaging portions, and said engaging portions do not form
a continuous surface.
| | (1)
Note. Included in this subclass are patents which merely call
for "roughened" or "knurled" or "anti-friction" gripping surfaces. |
SEE OR SEARCH THIS CLASS, SUBCLASS:
| 268, | through 270, for patents to a holder with specific nonplanar
work contacting surface configuration. |
|
| | |
267 | With pressure equalizing means: |
| | This subclass is indented under subclass 265. Device including means for uniformly distributing the actuating
force so that the individual work-engaging portions each exert the
same gripping action. |
| | |
268 | Angular and/or curved jaw face: |
| | This subclass is indented under subclass 265. Device in which the surface of at least one work-engaging
portion is nonplanar, i.e., a stepped and/or arcuately
formed surface.
| | (1)
Note. A "roughened" or "nonfriction" surface
is not considered to define an angular or curved face for this subclass. | |
| | |
271 | Attachment(s) and/or insert(s): |
| | This subclass is indented under subclass 257. Device including (a) a separate work-engaging element fastened
or secured to at least one jaw or (b) a separate work-engaging element
positioned between opposed jaws so as to be actuated to grip work
by the movement of said jaws.
| | (1)
Note. The removal of the separate work-engaging element will
leave a jaw* for engaging a workpiece. |
SEE OR SEARCH THIS CLASS, SUBCLASS:
| 136, | for patents to a holder insert for applying a "hold-down" component. |
| 259, | through 264, for patents to a holder attachment and/or
insert that is angularly alignable. |
|
| | |
272 | Interdigitated: |
| | This subclass is indented under subclass 271. Device wherein the work-engaging elements include opposed
finger or fork elements which are offset from each other so as to
interlace as the opposed elements approach each other. |
| | |
273 | Named material: |
| | This subclass is indented under subclass 271. Device including a specified composition for the separate
work-engaging element or the work-engaging surface of such element.
| | (1)
Note. The recital of "yielding" material is
not a naming for this subclass. |
SEE OR SEARCH THIS CLASS, SUBCLASS:
| 275, | for patents to a holder with yieldable attachments
and/or inserts. |
|
| | |
274 | Nonmetallic: |
| | This subclass is indented under subclass 273. Device wherein the named work-engaging surface consists
of other than a metal or metal alloy. |
| | |
275 | Yieldable element: |
| | This subclass is indented under subclass 271. Device wherein the work-engaging element is resilient or
includes a resilient work-contacting surface.
SEE OR SEARCH THIS CLASS, SUBCLASS:
| 22, | for patents to a flexible wall element where fluid
pressure is used to force said element into contact with a work-piece. |
|
| | |
276 | With magnetic fastening means: |
| | This subclass is indented under subclass 271. Device including means for setting up a magnetomotive force
to hold the attachment in place.
SEE OR SEARCH THIS CLASS, SUBCLASS:
| 8, | for patents to a magnetic holder. |
SEE OR SEARCH CLASS:
| 335, | Electricity: Magnetically Operated Switches, Magnets,
and Electromagnets,
subclasses 285 through 295for patents to a magnetic holder, per se. |
|
| | |
277 | Coacting elements loosely positioned between jaws: |
| | This subclass is indented under subclass 271. Device wherein at least two coacting work-contacting elements
are secured to each other independently of the structure of related
supporting jaws.
| | (1)
Note. Included here are patents for inserts which include
structure so that the inserts rest on the jaw. |
SEE OR SEARCH THIS CLASS, SUBCLASS:
| 163, | for patents to articulated jaw attachments or inserts
with means to bias jaws toward nonholding position. |
| 264, | for patents to an angularly alignable insert loosely
positioned between jaws. |
|
| | |
279 | Selective: |
| | This subclass is indented under subclass 271. Device including attachment or insert fastening means (or
mounting means) providing for the choice of one of plural available
work-contacting portions.
| | (1)
Note. Included here, for example, are patents to a device
with a swivel mounted attachment so that as desired one of several
faces may be presented to engage work. | |
| | |
280 | By substitution: |
| | This subclass is indented under subclass 279. Device including means for interchange of work-contacting
portions by removal and replacement of the attachment and/or
insert bearing said portion. |
| | |
281 | With yieldable type fastener means: |
| | This subclass is indented under subclass 280. Device wherein the attachment is secured to a jaw by a spring
or elastic means.
SEE OR SEARCH THIS CLASS, SUBCLASS:
| 263, | for patents to a holder with jaws having yieldable
fastener means. |
|
| | |
282 | With threaded type fastener means: |
| | This subclass is indented under subclass 280. Device wherein the attachment is secured to a jaw by a screw
or bolt means.
SEE OR SEARCH THIS CLASS, SUBCLASS:
| 262, | for patents to a holder with jaws having threaded
fastener means. |
|
| | |
283 | With socket type fastener means: |
| | This subclass is indented under subclass 280. Device wherein the insert fastening means includes an element
forming part of the jaw (or mounted on the jaw) in mating interengagement
with a generally complementary element forming part of the insert.
SEE OR SEARCH THIS CLASS, SUBCLASS:
| 261, | for patents to a holder with jaws having socket
fastener means. |
|
| | |
284 | With detent type fastener means: |
| | This subclass is indented under subclass 280. Device wherein the attachment or insert fastening means
includes an element forming part of the jaw* in mating
interengagement with an element forming part of said attachment
or insert to secure the elements together.
SEE OR SEARCH THIS CLASS, SUBCLASS:
| 207, | through 215, for patents to a holder with detent type lock for
adjustment. |
|
| | |
285 | Specific means for wear, strain, protection, assembly: |
| | This subclass is indented under subclass 86. Device including structural details relative to (a) shielding
of parts against dirt or corrosion, (b) improving the bearing characteristics
of rubbing parts, (c) providing modifications to facilitate juxtapositioning
of parts in operative position, and (d) re-enforcement of parts
subject to failure under operative conditions. |
| | |
287 | HOLDER ENCLOSES WORK: |
| | This subclass is indented under the class definition. Device wherein at least a portion of the work holder substantially
surrounds at least a portion of the work so that a section exists whereat
the inner periphery of the work holder surrounds, is substantially
contiguous with, and substantially conforms to, the outer periphery of
the work.
SEE OR SEARCH THIS CLASS, SUBCLASS:
| 152, | through 155, for patents to a holder with plural jaws, and see
notes thereunder. |
|
| | |
288 | With tool couple element: |
| | This subclass is indented under subclass 287. Device wherein the work holder includes a tool couple element*.
SEE OR SEARCH THIS CLASS, SUBCLASS:
| 48, | 87, 157, and 290, for patents for other holders
having tool couple elements. |
|
| | |
289 | WORK-UNDERLYING SUPPORT: |
| | This subclass is indented under the class definition. Device wherein the work holder comprises a surface which,
when the work is being treated, is positioned beneath at least a
part of the work and is in contact with said part of the work to
support the work against the force of gravity, in at least one position
of adjustment of the work holder.
| | (1)
Note. A mere pin is not considered to be a work underlying
support. A pin-type holder is found in subclasses 53-54.5 of this
class. |
| | (2)
Note. The mere disclosure of an underlying and work supporting
surface, without terminology in the claim clearly defining said
surface as either positioned or modified so as to hold work against
the force of gravity, will not effect patent placement (as an original)
into this and indented subclasses. Thus recital in a claim of a
term such as "base," "support," "surface," "plane," "frame," "stand," "block," "cradle," "arm," "spider," "bar," etc.,
and which term encompasses a disclosed work underlying support,
will not of itself form the basis of original patent placement.
| |
The "hairline" distinction above is of particular
importance with respect to work clamping or gripping devices which
disclose a work underlying surface support or a surface obviously
capable of such support or even a surface peculiarly limited to
such support. Such disclosure is true of substantially all vises,
clamps, chucks, and gripping devices including a plethora of claimed references
thereto. The purposes of a restrictive search field are believed
best served by not classifying primarily on this feature (work underlying
support) unless specifically so limited in the claim. |
| |
Judicious cross-referencing of disclosed work underlying support
features into this and indented subclasses should assure a reasonably
complete field of search for said features at this locus. | |
SEE OR SEARCH THIS CLASS, SUBCLASS:
| 257, | through 284, for patents to work holder characterized by the
details of jaw and/or attachments. |
SEE OR SEARCH CLASS:
| 248, | Supports, appropriate subclasses for patents including article-underlying features,
which article is not disclosed as being worked on while so supported.
See search notes thereunder. |
| 405, | Hydraulic and Earth Engineering,
subclass 7 for a marine vessel support for a dry dock. |
|
| | |
290 | With tool couple element: |
| | This subclass is indented under subclass 289. Device wherein the work holder includes, in association
with the work-underlying support, a tool couple element*.
SEE OR SEARCH THIS CLASS, SUBCLASS:
| 48, | 87, and 288, for patents for other work holders
having a tool couple element. |
|
| | |
291 | With work-stop abutment: |
| | This subclass is indented under subclass 290. Device wherein the work holder includes a work-stop abutment*.
SEE OR SEARCH THIS CLASS, SUBCLASS:
| 10, | 297, 303, and 315, for patents for other work holders
leaving a work-stop abutment. |
|
| | |
292 | Element projectable through support: |
| | This subclass is indented under subclass 290. Device wherein the tool couple element is mounted so that
it may be moved from a position beneath the work bearing surface
of the support, where it is ineffective to take part in treatment
of the work, to a position coextensive with or above and surface
where it is effective to participate in said treatment.
| | (1)
Note. Where the relative movement of the support and element
is disclosed as taking place during the treatment of the work, the
patent will be found in the class of the treating device and in
this class. | |
| | |
293 | In support surface: |
| | This subclass is indented under subclass 290. Device wherein the tool couple element is mounted rigidly
in, or on, or is part of that portion of the support that underlies
and bears against the work. |
| | |
294 | Cylindrical element: |
| | This subclass is indented under subclass 293. Device wherein the element has a longitudinal axis and a
generally uniform circular cross-section transverse to this axis,
a portion of the outer periphery of the element serving as part of
the work bearing surface of the support. |
| | |
295 | Guiding slot for horizontally moving tool: |
| | This subclass is indented under subclass 293. Device wherein the work bearing surface of the support has
an opening therein having spaced wall portions disclosed as being
of the order of magnitude of the thickness of a tool or tool support,
said wall portions serving to guide the tool in a substantially
horizontal path across the support during treatment of the work
by the tool. |
| | |
296 | Gapped support: |
| | This subclass is indented under subclass 289. Device wherein the work bearing surface of the support has
an interruption or a reentrant portion and the structure of the
work bearing surface of the support is so constructed and disposed
that, when the work is held during treatment, spaced portions of
the work undersurface are in contact with the support, said spaced
portions having between them a portion of the work under-surface
that is not in contact with the support.
SEE OR SEARCH THIS CLASS, SUBCLASS:
| 304, | for a work-stop abutment having connected thereto
a work support portion closing a gap in the support. |
|
| | |
297 | With movable work-stop abutment: |
| | This subclass is indented under subclass 296. Device wherein a work-stop abutment* is provided
and is mounted so that it may be moved in a direction generally
parallel to at least a portion of the work-underlying support surface,
to thereby enable the abutment to be selectively positioned with
respect to the support.
SEE OR SEARCH THIS CLASS, SUBCLASS:
| 10, | 291, 303, and 315-320, for patents for other work
holders having a work-stop abutment. |
| 304, | for a work-stop abutment having connected thereto
a work support portion closing a gap in the support. |
|
| | |
298 | Abutment movable in gap: |
| | This subclass is indented under subclass 297. Device wherein at least a portion of the work-stop abutment,
or its mounting means which moves with it, extends into or lies
within a gap in the support. |
| | |
300 | With abutment position indicator: |
| | This subclass is indented under subclass 298. Device wherein the abutment has a distance indicating member
associated therewith which enables the operator to determine the
distance of the abutment from a datum position in any position of
adjustment of the abutment. |
| | |
301 | With abutment lock: |
| | This subclass is indented under subclass 298. Device wherein holding means are provided for the purpose
of preventing movement of the abutment in the gap after the abutment
has been moved to the desired position in the gap, said holding
means being additional to the means provided for moving the abutment
in the gap. |
| | |
302 | Enclosed gap: |
| | This subclass is indented under subclass 296. Device wherein a portion of the work undersurface not in
contact with the support is completely surrounded by portions of
the work undersurface that are in contact with the support. |
| | |
302.1 | Mixing or kneading board: |
| | This subclass is indented under subclass 289. Apparatus including means providing an underlying support
upon which a plastic or particulate material is mixed or kneaded
by hand (e.g., pastry board, etc.).
SEE OR SEARCH CLASS:
| 100, | Presses,
subclasses 295 through 297for a platen or pressure surface of a press. |
| 108, | Horizontally Supported Planar Surfaces, appropriate subclasses for means providing a table
surface with spacing support means. |
| 433, | Dentistry,
subclass 49 for mixing slabs disclosed for use in the dental art. |
|
| | |
303 | With work-stop abutment: |
| | This subclass is indented under subclass 289. Device wherein the work holder includes a work-stop abutment*.
SEE OR SEARCH THIS CLASS, SUBCLASS:
| 10, | 291, 297, and 315-320, for patents for other work
holders having a work-stop abutment. |
|
| | |
304 | Attached to movable support portion: |
| | This subclass is indented under subclass 303. Device wherein a movable abutment is connected to an element
that serves as a portion of the work underlying support, said element being
connected to the abutment in such a manner that at least a portion
of the element moves with respect to the rest of the support when
the position of the abutment, with respect to the rest of the support,
is varied. |
| | |
305 | Multiple direction restrainer: |
| | This subclass is indented under subclass 303. Device wherein the abutment has the function of restraining
the movement of the work across the support surface in at least
two directions.
| | (1)
Note. The abutment may comprise a plurality of discrete unconnected
elements. | |
| | |
306 | Suspended abutment: |
| | This subclass is indented under subclass 303. Device wherein the abutment is mounted so as to hang down
from a member positioned above the work-underlying support surface. |
| | |
307 | With sight gage: |
| | This subclass is indented under subclass 289. Device wherein a member is provided which enables the operator
to determine when the work is placed in a desired position on the
support, by visually aligning the member and a particular portion
of the work. |
| | |
308 | With work supply supporting means: |
| | This subclass is indented under subclass 289. Device wherein means are provided to hold a relatively large
mass of the work, from which mass a relatively small portion of
the work is brought to the support.
| | (1)
Note. The mass, for instance, may be a coil of work material. | |
| | |
309 | Support mounting means: |
| | This subclass is indented under subclass 289. Device wherein means are provided for (a) holding the support
in a desired position against the force of gravity or (b) holding
a support made of a plurality of parts, each of which underlies
and contacts the work, in a desired assembled relation.
| | (1)
Note. The support holding means may be a part of the support
specially provided to enable the support to be connected to the
member on which it is mounted. |
SEE OR SEARCH CLASS:
| 248, | Supports, appropriate subclasses for patents to a work holder
supporting structure, per se. |
|
| | |
310 | Support resiliently urged upwardly: |
| | This subclass is indented under subclass 309. Device wherein the support is connected to its mount by
yieldable means which normally apply an upward force to the support,
which force may be overcome by a downward force. |
| | |
311 | Means to hold plural support blocks: |
| | This subclass is indented under subclass 309. Device wherein the support comprises a plurality of discrete
members, each of which has an upper surface upon which the work
lies, and the support mounting means includes means to hold the
members in a desired assembled relationship.
SEE OR SEARCH THIS CLASS, SUBCLASS:
| 296, | through 302, for a support comprising a plurality of blocks with
a gap in the work-underlying surface between one or more pairs of
the blocks. |
|
| | |
312 | By through rod: |
| | This subclass is indented under subclass 311. Device wherein the holding means comprises a member extending
from one side of the assembled blocks to the opposite side of the
assembled blocks through openings in the blocks. |
| | |
313 | Blocks enclosed by holder: |
| | This subclass is indented under subclass 312. Device wherein the holding means comprises, in addition
to the through rod, a member or members which completely surround
the blocks. |
| | |
315 | WORK-STOP ABUTMENT: |
| | This subclass is indented under the class definition. Device where there is provided a work-stop abutment*.
| | (1)
Note. A patent will not be placed as an original in this subclass
if the combination of a work-underlying support and work-stop abutment
is claimed. See the note under "SEARCH THIS CLASS, SUBCLASS" below. |
SEE OR SEARCH THIS CLASS, SUBCLASS:
| 10, | 291, 297, and 303, for other work holder patents
having a claimed work-stop abutment. |
|
| | |
316 | Vertically compressible abutment: |
| | This subclass is indented under subclass 315. Device wherein the top of the abutment is resiliently urged
upwardly away from the bottom of the abutment and may be moved toward
the bottom upon the application of a force directed against the
top. |
| | |
317 | Resiliently urged abutment: |
| | This subclass is indented under subclass 315. Device wherein spring means are provided in the abutment
mounting which urge the work contacting surface of the abutment
in a particular direction, said spring means permitting the surface
to move against the spring force when a force is applied against
the surface. |
| | |
319 | Plural spaced abutment surfaces: |
| | This subclass is indented under subclass 315. Device wherein the work is contacted by at least two surfaces
serving as abutments, and the work contacting surfaces of the abutments do
not form one substantially continuous surface. |
| | |
329 | MISCELLANEOUS: |
| | This subclass is indented under the class definition. Device not provided for in the subclasses above. |
| | |
CROSS-REFERENCE ART COLLECTIONS
900 | SUPPORTING STRUCTURE HAVING WORK HOLDER RECEIVING APERTURES
OR PROJECTIONS: |
| | Work holder supporting structure having apertures or projections
located on one or more of its surfaces for receiving complementary
formations on members of the work holder, to enable one or more
of the members to be shifted to a different set of apertures or
projections when a new orientation or configuration of the member
is desired. |
| | |
901 | COLLAPSIBLE OR FOLDABLE WORK HOLDER SUPPORTING STRUCTURE: |
| | Work holder supporting structure which is designed to collapse
or fold from its normal use configuration to a smaller, more compact
storage configuration when the supporting structure is not intended
to be used (e.g., portable workbenches). |
| | |
902 | WORK HOLDER MEMBER WITH V-SHAPED NOTCH OR GROOVE: |
| | Work holder provided with at least one member which has
a work-contacting and work-supporting surface having a V-shaped
notch or groove for at least partially encircling the work and confining
it to a particular portion of the surface. |
| | |
903 | WORK HOLDER FOR ELECTRICAL CIRCUIT ASSEMBLAGES OR WIRING SYSTEMS: |
| | Work holder for positioning electrical elements relative
to each other in a particular arrangement during the assembling
or repair of an electrical circuit or wiring system. |
| | |
904 | WORK HOLDER FOR POSITIONING ELEMENTS OF BUILDING IN INSTALLED
LOCATION: |
| | Work holder intended to position one element of a building
relative to another element of the building for their attachment
to each other in their final assembled location and orientation in
the building. |
| | |
905 | WORK HOLDER FOR DOORS AND DOOR FRAMES: |
| | Work holder intended to hold a door or a door frame prior
to its installation in a doorway during various work treatment operations
on the frame or the door. |
| | |
906 | WORK HOLDER FOR SKIS: |
| | Work holder intended to hold a ski in a particular position
or orientation during a waxing, repair, or maintenance operation
thereon. |
| | |
907 | WORK HOLDER FOR FISHING FLIES: |
| | Work holder intended to hold a fishing hook while it is
dressed with hair, feathers, silk, tensel, or other material into
a finished product which vaguely resembles an insect. |
| | |
908 | WORK HOLDER FOR CATHODE-RAY TUBES: |
| | Work holder intended to hold a cathode-ray display tube
during an assembling or repair operation. |
| | |
909 | WORK HOLDER FOR SPECIFIC WORK: |
| | Work holder constructed with features (e.g., contour of
work-contacting surface) peculiar to the holding of a specific type
work. |
| | |
910 | WORK HOLDER FOR PREFABRICATED ROOF TRUSS OR WALL FRAME: |
| | Work holder for positioning elements of a roof truss or
a wall frame in juxtaposed relationship to each other during their
assembly into a unit which is intended for later use in a building. |
| | |