CPC Definition - Subclass H01F
This place covers:
Magnets or magnetic bodies characterised by the magnetic materials therefor. Selection of materials for their magnetic properties (H01F 1/00).
Thin magnetic films (H01F 10/00).
Permanent magnets (H01F 7/00).
Electromagnets (H01F 7/00) including, for example, superconductive magnets (H01F 6/00); details thereof such as coils (H01F 5/00), cores, yokes, and armatures (H01F 3/00).
Fixed and variable transformers including, for example, superconductive or cryogenic transformers; adaptations thereof for specific applications or functions; details thereof (H01F 19/00, H01F 21/00, H01F 27/00, H01F 29/00, H01F 30/00, H01F 36/00, H01F 38/00).
Fixed and variable inductances; adaptations thereof for specific applications or functions; details thereof (H01F 17/00, H01F 21/00, H01F 27/00, H01F 29/00, H01F 37/00, H01F 38/00).
Apparatus or processes for magnetising or demagnetising (H01F 13/00).
Apparatus or processes specially adapted for manufacturing or assembling devices covered by this subclass (H01F 41/00).
Further information:
Groups H01F 17/00 - H01F 38/00 (with the exception of groups H01F 27/42 and H01F 38/32) cover only structural or constructional aspects of transformers, inductive reactors, chokes or the like. These groups do not cover circuit arrangement of such devices, which are covered by the appropriate functional places.
Examples of places where the subject matter of this place is covered when specially adapted, used for a particular purpose, or incorporated in a larger system:
Magnets used to separate solid materials from other solid materials or fluids | |
Magnetic work holders | |
Apparatus or processes for degaussing ships | |
Lifting magnets | |
Magnets or electromagnets in electric meters | |
Devices for demagnetising parts of clocks and watches | |
Magnetic record carriers | |
Apparatus or processes specially adapted for manufacturing magnetic record carriers | |
Thin-film magnetic stores | |
Apparatus or processes for threading magnetic cores in digital storage elements | |
Magnets or electromagnets in relays | |
Magnets or electromagnets in dynamo-electric machines | |
Methods or apparatus specially adapted for manufacturing, assembling, maintaining or repairing dynamo-electric machines, e.g. forming windings prior to mounting into the machine | |
Arrangements for controlling transformers, reactors or choke coils for the purpose of obtaining a desired output | |
Magnetic amplifiers | |
Impedance networks | |
Demagnetising arrangements for color television | |
Acoustic electromechanical transducers having coils or permanent magnets |
Attention is drawn to the following places, which may be of interest for search:
Powder metallurgy | |
Iron oxides (not sintered) | |
Ferrite based ceramics | |
Ferrous alloys | |
Coating by evaporation or sputtering | |
Refrigeration machines using magnetic effects | |
Magneto-optical devices | |
Sensing record carriers using inductive or magnetic sensors | |
Screening of electric apparatus against magnetic fields | |
Semiconductor devices having potential barriers controllable by variation of the magnetic field applied to the devices | |
Thermomagnetic devices | |
Magnetostrictive devices | |
Devices using galvano-magnetic or similar magnetic effects |
- Groups H01F 17/00 - H01F 38/00 (with the exception of groups H01F 27/42 and H01F 38/32) cover only structural or constructional aspects of transformers, inductive reactors, chokes or the like. These groups do not cover circuit arrangement of such devices, which are covered by the appropriate functional places.
- Documents are classified with a CPC symbol according to the invention information mainly found in the claims with due regard given to the description and the figures. Additional information found in the claims and in the description and figures, which might be relevant for future searches is given an Indexing Code symbol.
Classification proceeds by assigning the most restricted possible CPC symbol to the document, followed by additional knowledge tagging using Indexing Code symbols. This implies that CPC head subgroups (corresponding to IPC subgroups) should only be used if no other possibility could be found for classifying the document in a more restricted subgroup.
If the set of claims comprises product or article and method claims an CPC symbol should be assigned to each of these categories. However if the most suitable subgroup for a claim of a given category, e.g. product, does not exist in the main group of the same category, e.g. product group, and can only be found in groups of another corresponding category, e.g. a group for a method to manufacture the product, this latter subgroup should be assigned to the claim e.g. method subgroup assigned to a product claim. For example a document with no method claims dealing with a magnetic tunnel junction in which the spacer has been processed in such a way that its material structure becomes inventive, would still be given the method CPC symbol H01F 41/307 as product CPC symbol H01F 10/3254 is silent over any material inventive features.
Another use of Indexing Codes can be made for particular cases where the invention is a specific property of a given type of material or article and this property is classified only in subgroups of another specific material type. In this case the corresponding CPC symbol cannot be given. Consequently the Indexing Code should be given together with an CPC symbol corresponding to the material described in the document. For example: a sintered nanocomposite exchange spring magnet of SmCo/Fe cannot be given H01F 1/0579 as CPC symbol since the latter symbol belongs to NdFeB magnets classification subtree. Therefore the combination H01F 1/0557 and H01F 1/0579 should be used.
In this place, the following terms or expressions are used with the meaning indicated:
compound | homogenous substance comprising at least two elements, having a non-metallic character and a specific (fixed) composition ratio, including also intermetallic compounds. |
This place covers:
Bulk magnetic materials: antiferromagnetic, diamagnetic, paramagnetic, hard and soft ferromagnetic materials.
0D, 1D and 2D magnetic (nano)structures.
Materials cover metallic materials, compounds (i.e. mainly non-metallic materials) or organic materials. Selected types of magnetic materials are highlighted within specific subgroups.
H01F 1/00 is mainly concerned with bulk materials except for some specific subgroups.
H01F 1/0009 covers antiferromagnetic bulk material.
H01F 1/0018 covers diamagnetic or paramagnetic bulk material.
H01F 1/0027 covers thick magnetic films formed with methods classified under H01F 41/16.
This place does not cover:
Methods to manufacture magnetic hard or soft articles out of said materials |
Attention is drawn to the following places, which may be of interest for search:
Working metallic powder; manufacturing powder (related to H01F 1/0045; H01F 1/06; H01F 1/20- H01F 1/28) | |
Iron oxides carriers (related to H01F 1/342, H01F 1/36) | |
Making alloys by powder metallurgy (related to H01F 1/0045; H01F 1/06; H01F 1/20- H01F 1/28; H01F 1/14766; H01F 1/14708) | |
Non-ferrous alloys containing 5-50% by weight of oxides, carbides, borides, nitrides, silicides etc. (related to H01F 1/09, H01F 1/33, H01F 1/14708, H01F 1/14766) | |
Making ferrous alloys (related to H01F 1/14708, H01F 1/14766) | |
Cast iron alloys (related to H01F 1/14708, H01F 1/14766) | |
Ferrous alloys (related to H01F 1/14708, H01F 1/14766) | |
Amorphous alloys and related processes (related to H01F 1/153) | |
Single crystal growth, unidirectional solidification (related to H01F 1/0072) | |
Electromagnetic interference suppressing, shielding (related to H01F 1/26, H01F 1/28) |
Treatment of the materials, e.g. compacting, sintering, bonding are also classified into this group.
This place covers:
Thick magnetic films characterized by being manufactured with methods associated under H01F 41/16. This subgroup encompasses single layers and multiple layers of thick films. This subgroup primarily includes soft magnetic thick films but also includes hard magnetic thick films meeting the above requirements.
Thick magnetic films can be distinguished from thin magnetic films by assessing their respective manufacturing methods:
Thick magnetic films are typically obtained from magnetic particles and bonding agent, according to manufacturing methods of groups H01F 41/16 thereby forming a composite film.
Thin magnetic films are typically obtained by deposition or plating of magnetic material, according to manufacturing methods of groups H01F 41/18-H01F 41/34.
This place does not cover:
Forming thick magnetic films |
Examples of places where the subject matter of this place is covered when specially adapted, used for a particular purpose, or incorporated in a larger system:
Magnetic record carriers |
Hard magnetic thick films applied in magnetic record carriers are classified under G11B 5/70.
Hard magnetic thick films forming permanent magnets are classified according to the composition of the magnetic particles; i.e. under H01F 1/047 and its subgroups, primarily under H01F 1/0533, H01F 1/0558 or H01F 1/0578. When the composition of the magnetic particles is nominal, i.e. not a restriction, classification will usually fall under H01F 1/08 and its subgroups, i.e. H01F 1/083.
This place covers:
These subgroups cover:
0D, 1D and 2D magnetic (nano)structures wherein the size and carriers confinement alters the magnetic properties. Embedded magnetic nanostructures.
This place does not cover:
Hard magnetic particles | |
Nanosized particles used in magnetic cores, electromagnetic noise suppressing sheets | |
Magnetorheological fluids |
Examples of places where the subject matter of this place is covered when specially adapted, used for a particular purpose, or incorporated in a larger system:
Nuclear magnetic resonance imaging: preparations for testing in vivo including magnetic particles | |
Magnetic separation process including magnetic particles |
1. Nanoparticles used in bioscreening (diagnostic, separation) are classified in these subgroups irrelevant of their composition and size effect.
2. If a strong effect of the size of the nanoparticles belonging to the groups cited in the above table is shown on the magnetic properties, then it is also classified in H01F 1/0036-H01F 1/0063
This place covers:
Magnetocaloric materials. Subdivided in metallic or compounds materials.
Attention is drawn to the following places, which may be of interest for search:
Cryogenic machines using magnetic effects based on a magnetocaloric material |
This place covers:
Hard magnetic metals or alloys characterised by composition, by shape and by the process or treatments to obtain articles including these materials.
Subgroup H01F 1/0579 is concerned with nanocomposite exchange spring magnets.
H01F 1/057 covers so-called R-T-B magnets (Nd2Fe14B phase).
H01F 1/059 covers magnets with a Sm2Fe17N2 phase.
This place does not cover:
Permanent magnets with emphasis on the structure or use rather than the material | |
Method claims directed at manufacturing or treating magnets | |
Actuators, dynamo-electric rotating machines, motors (related to H01F 1/053- H01F 1/059) |
Magnets obtained from the corresponding materials are classified in the same subgroups according to method criteria (process or treatments undergone by the material forming the magnet) on which part of the classification refinement is based.
This place covers:
Hard magnetic metallic particles characterised by shape and by treatments to obtain articles including these materials.
The subgroups are generally concerned with particles used in magnetic recording or under subgroup H01F 1/08 metallic particles for permanent magnets when composition is not specifically mentioned in the claims.
Examples of places where the subject matter of this place is covered when specially adapted, used for a particular purpose, or incorporated in a larger system:
This place covers:
Hard magnetic non-metallic particles characterised by shape and by treatments to obtain articles including these materials.
H01F 1/09 can cover hard metallic particles covered with an oxide layer
For rare earth containing particles covered with an oxide layer, subgroups H01F 1/0552 and H01F 1/0572 would take precedence except if the oxide layer is the core of the invention.
This place covers:
Hard non-metallic magnets such as Ba-ferrite type of magnets
This place covers:
Soft magnetic metals or alloys characterised by composition, by shape and treatments to obtain articles including these materials.
Fe-Ni and Fe-Si alloys and their shape are classified in the subgroups H01F 1/14708-H01F 1/14791.
Other compositions than Fe-Ni, Fe-Si must be classified according to a shape criterion: subgroups H01F 1/16 and onwards for sheets, H01F 1/20 and onwards for particles and H01F 1/143 for wires or for no specific shape given: subgroup H01F 1/147. If no specific shape or composition criterion is given, the H01F 1/14 symbol should be given.
This place covers:
Soft magnetic amorphous metals, also including nanocrystallites, characterised by composition and by methods to obtain articles including these materials.
Attention is drawn to the following places, which may be of interest for search:
Security coding | |
Alarms using amorphous ferromagnetic tags |
The method section of these subgroups has to be used in combination with the method subgroups H01F 41/0206-H01F 41/0246.
This place covers:
Soft magnetic particles of metals or alloys characterised by shape and by treatments or methods to obtain articles including these materials.
H01F 1/20 covers particles
H01F 1/22 covers compacted particles.
H01F 1/24 covers insulated compacted particles.
H01F 1/26 covers compacted particles wherein insulator are organic macromolecules.
Subgroup H01F 1/28 concerns non compacted bodies.
Soft magnetic particles compacted in a bonded body (magnetic core or noise suppressing sheet) are classified in H01F 1/26 in combination with H01F 41/0246 for magnetic cores only.
This place covers:
Soft metallic particles covered with an oxide layer.
This place covers:
Soft non-metallic materials characterised by composition, by shape and treatments to obtain articles including these materials.
H01F 1/34 covers bulk non metallic material such as ferrite.
H01F 1/36 covers non-metallic particles.
Attention is drawn to the following places, which may be of interest for search:
Ferrite based ceramics described only by chemical composition |
Subgroup H01F 1/24 would take precedence in the case of oxide insulated particles being part of a compacted body.
This place covers:
Magnetic semiconductors and half-metals (Heusler).
Perovskites (H01F 1/407) and half-metals (H01F 1/408) are classified under the arborescence of magnetic semiconductors even if they might not be necessarily a semiconducting material.
This place covers:
Magnetic and magnetorheologic fluids.
Attention is drawn to the following places, which may be of interest for search:
Nuclear magnetic resonance imaging: preparations for testing in vivo including magnetic particles | |
Magnetorheological fluid dampers including a ferrofluid |
This place covers:
Cores, yokes and armatures which are single parts or arrangements of several parts of ferromagnetic material used to guide magnetic flux.
Further information:
- Cores, yokes and armatures are covered by H01F 3/00 if:- no specific application is mentioned,- a special application is mentioned for which no specific subgroup exists elsewhere,- they comprise specific features for which no subgroups exist in the specific subgroup for the application (e.g. transformer cores which are normally classified in H01F 27/24 have to be classified in H01F 3/10 if they are made from a combination of materials and in H01F 3/14 if they comprise air gaps).
Examples of places where the subject matter of this place is covered when specially adapted, used for a particular purpose, or incorporated in a larger system:
Magnet cores of signal inductances | |
Details of magnet cores of transformers or inductances in general | |
Magnetic shunt path in the case of transformers/inductances ( related to H01F 3/12) | |
Apparatus or processes for manufacturing magnet cores | |
Magnetic cores for electric motors/generators |
This place covers:
Printed coils.
Wound electric conductors.
Further information:
- Coils are covered by H01F 5/00, if:- no specific application is mentioned,- a special application is mentioned for which no specific subgroups exist elsewhere,- they comprise specific features for which no subgroups exist in the specific subgroup for the application (e.g. a bobbin for an electromagnet is classified in H01F 5/02 although electromagnets are normally classified in H01F 7/06).
Examples of places where the subject matter of this place is covered when specially adapted, used for a particular purpose, or incorporated in a larger system:
Superconducting coils | |
Printed coils for signal inductances | |
Coils for transformers/inductances | |
Printed coils for transformers/inductances | |
Bobbins for transformers/inductances (related to H01F 5/02) | |
Bobbins in relation with apparatus or processes for manufacturing coils (related to H01F 5/02) | |
Loop aerials (antennae) | |
Coils for electric motors/generators | |
Coil arrangements for induction heating |
Attention is drawn to the following places, which may be of interest for search:
Apparatus or processes for manufacturing coils |
In patent documents, the following words/expressions are often used as synonyms:
- "former" and "bobbin, spool, (coil/winding) support, (coil/winding) body, tube, sleeve"
- "coil" and "winding, solenoid"
This place covers:
Superconducting magnets and coils and accessories necessary to operate them.
Further information:
- Superconducting magnets can be superconducting bulk pieces cooled below the critical temperature in a magnetic field or superconducting coils. For use as magnets, the coils are often shorted ("persistent mode" or "persistent current mode").
- Constructive details of inductive superconducting current limiters are covered by H01F 6/00.
This place does not cover:
Superconductive cables | |
Devices using superconductivity in general | |
Resistive superconducting current limiters (related to H01F 6/00) |
Examples of places where the subject matter of this place is covered when specially adapted, used for a particular purpose, or incorporated in a larger system:
Attention is drawn to the following places, which may be of interest for search:
Apparatus or processes for manufacturing superconductive coils | |
Emergency protective circuits for limiting excessive current using superconducting elements (related to H01F 6/00) |
This place covers:
Magnets in general.
Further information:
- Electromagnets comprising permanent magnets in any part of the magnetic circuit are covered as follows:- by H01F 7/1615 or H01F 7/1646 if they comprise a rectilinearly movable armature,- by H01F 7/122 if the armature is not or not only rectilinearly movable,- by H01F 7/20 if they do not comprise a movable armature.
This place does not cover:
Superconducting magnets |
Examples of places where the subject matter of this place is covered when specially adapted, used for a particular purpose, or incorporated in a larger system:
H01F 7/00 in general:
Magnets or electromagnets for electric meters | |
Magnets or electromagnets for relays | |
Magnets or electromagnets for dynamo-electric machines |
Permanent magnets (H01F 7/02):
Magnets for fastening garments | |
Magnetic fasteners for bags | |
Magnets used to separate solid materials from other solid materials or fluids | |
Chucks using magnetic means | |
Devices for holding work using magnetic or electric force acting directly on the work | |
Magnetic work holders | |
Screwdrivers using magnetic means | |
Griping heads with magnetic holding means | |
Load-engaging elements for cranes attached by magnetic means | |
Treatment of water by magnetic fields using permanent magnets |
Electromagnets (H01F 7/06):
Attention is drawn to the following places, which may be of interest for search:
Permanent magnets (H01F 7/02):
Demagnetization of permanent magnets by coils | |
Fastening by use of magnets (jewellery, haberdashery) | |
Devices for hanging or supporting pictures, mirrors, or the like using magnetism | |
Magnetic cleaning implements | |
Magnetic dental implant retention systems | |
Magnetic fastening of teeth prostheses in mouth | |
Toys: building blocks comprising magnetic interaction means | |
Magnetic mixers/stirrers | |
Securing wings by magnetic or electromagnetic attraction | |
Devices for securing together, or preventing relative movement between, constructional elements or machine parts by the use of a magnetic material | |
Electromagnetic valve actuated using a permanent magnet | |
Fastening of component parts of lighting devices using magnets | |
Supporting, suspending, or attaching arrangements for lighting: magnetic devices | |
Faraday rotators (magnetic field generation) | |
Educational appliances having elements to be mounted on a support by means of magnets | |
Educational appliances comprising elements to be used without a special support, the elements being connectible magnetically | |
Planning boards using magnetic elements |
Electromagnets (H01F 7/06):
MEMS with flexible or deformable elements (related to H01F 7/08) | |
Valve-gear or valve arrangements actuated by electric means | |
Electrical control of supply of combustible mixture or its constituents: output circuits, e.g. for controlling currents in command coils (related to H01F 7/18) | |
Fuel injectors using electromagnetic operating means | |
Fuel injectors with movable windings (related to H01F 7/066) | |
Control or regulating systems: automatic controllers (related to H01F 7/18) | |
Magnetic circuit arrangements for electromagnetic relays (related to H01F 7/081) | |
Electromagnetic relays in general | |
Motors with reciprocating/oscillating/vibrating magnet/armature/coil | |
Propulsion systems (e.g. linear motors) | |
Acoustic electromechanical transducers having coils or permanent magnets | |
Actuators based on magnetostriction |
Although magnets are normally classified in the respective subgroups of an application when provided for, the presence of features for which an appropriate subgroup does not exist in the application main group but in H01F 7/00, requires the respective subgroup in H01F 7/00 to be allocated.
For example, an electromagnetically actuated valve which is normally classified in F16K 31/06, should also be classified in H01F 7/10 for details concerning the use of alternating current for powering the actuator.
This place covers:
Hard and soft ferromagnetic thin films. Antiferromagnetic thin films. Single layers and (spin-exchanged coupled) multilayers are both considered as thin films.
Thin film materials cover metallic materials, compounds or organic materials.
H01F 10/00 is concerned with ferromagnetic or antiferromagnetic materials in the form of thin films.
A thin film is generally less than a couple of microns thick and can be defined as being manufactured by the methods classified in subgroups H01F 41/18-H01F 41/34.
H01F 10/002 covers antiferromagnetic, single layer, thin films.
H01F 10/005 covers organic or organo-metallic thin films. Graphene thin films are also given this symbol in case magnetic properties are claimed.
H01F 10/007 covers granular thin films.
Examples of places where the subject matter of this place is covered when specially adapted, used for a particular purpose, or incorporated in a larger system:
Measuring magnetic variables: magnetoresistive sensors (related to H01F 10/324) | |
Magnetic recording heads (related to H01F 10/324) |
Attention is drawn to the following places, which may be of interest for search:
Alloys based on Ni; alloys based on Co (related to H01F 10/14; H01F 10/16) | |
Ferrous alloys (related to H01F 10/14) | |
Amorphous alloys and related processes (related to H01F 10/13) | |
Single crystal growth of garnets (related to H01F 10/24) | |
Magneto-optic materials (related to H01F 10/24) | |
Semiconductor devices with potential-jump barrier or surface barrier controllable by variation of the magnetic field applied to the devices, e.g. spin (valve) transistor, spin injection device (related to H01F 10/324, H01F 10/1936) | |
Devices using magnetic effects; Selection of materials for(related to H01F 10/324 ) |
This place covers:
Thin films characterised by contact with conductors.
This place covers:
Single layer thin films characterised by properties or composition.
This place covers:
Metallic single layer thin films characterised by their composition, e.g. amorphous, crystalline.
This place covers:
Compounds single layer thin films characterised by their composition. Further divided in amorphous, magnetic semiconductors, half-metals (Heusler), perovskites and ferrites.
Attention is drawn to the following places, which may be of interest for search:
Photonic crystals | |
Magneto-optic devices (Faraday-rotator) |
This place covers:
Multilayers characterised by intermediate layers.
H01F 10/30 covers specific seed, template and cap layers.
This place covers:
Spin-exchanged-coupled multilayers characterised by the interaction between the different layers and refined by composition of the single interacting layers.
Multilayers with perpendicular magnetic anisotropy of the type of (Co/Pt)n are also classified in H01F 10/3236 but H01F 10/3286 takes precedence.
This place covers:
Spin-exchanged-coupled multilayers characterised by having a thin non-magnetic spacer between magnetic layers.
Typical TMR and GMR structures.
Examples of places where the subject matter of this place is covered when specially adapted, used for a particular purpose, or incorporated in a larger system:
Magnetic record carriers | |
Magnetic storage elements, non volatile memories, MRAM |
Attention is drawn to the following places, which may be of interest for search:
Magnetostrictive devices; | |
Selection of materials therefor |
Tunnel magnetic junctions (a tunnel barrier sandwiched between two magnetic layers) are classified in H01F 10/3254.
However TMR junctions with additional pinning of one of the magnetic layers (by an AF layer or a SAF/AAF multilayer) do not have a subgroup of H01F 10/3254 where they can be classified. Therefore an Indexing Code of H01F 10/3268-H01F 10/3281 is generally additionally given.
Spin valves (GMR structures) with no specificity of the magnetic layers are generally classified under H01F 10/325.
If no subgroup in H01F 10/00 can reflect the invention of a product claim for a spin-exchanged-coupled multilayer, subgroup from the corresponding method subgroups H01F 41/302-H01F 41/309 is assigned when appropriate.
This place covers:
Apparatus or processes for magnetising permanent magnets or for demagnetising magnetic bodies.
This place does not cover:
Examples of places where the subject matter of this place is covered when specially adapted, used for a particular purpose, or incorporated in a larger system:
Imparting anisotropy to permanent magnet material (e.g. aligning magnetic grains in a magnetic field) |
This place covers:
Inductances of fixed value not used /useable for high power.
Further information:
"Signal type" means that these inductances are not used/useable for high power.
This place does not cover:
Coils in general | |
Fixed inductances used/usable for high power |
Examples of places where the subject matter of this place is covered when specially adapted, used for a particular purpose, or incorporated in a larger system:
Adaptations of transformers for special applications or functions | |
Loop aerials with ferromagnetic core (related to H01F 17/04) | |
Impedance networks | |
Printed circuits incorporating printed inductors (related to H01F 17/0006) | |
Inductors for integrated circuits and corresponding multistep methods of manufacture (related to H01F 17/0006) | |
Inductive arrangements for semiconductor devices not otherwise provided for (related to H01F 17/0006) |
Attention is drawn to the following places, which may be of interest for search:
Thin- or thick-film solid state devices (related to H01F 17/0006) | |
Inductive arrangements or effects between of or between wiring layers of semiconductor devices (related to H01F 17/0006) |
In patent documents, the following words/expressions are often used as synonyms:
- "inductance" and "inductor, choke, reactor, reactance"
Attention is drawn to the following places, which may be of interest for search:
Inductors for integrated circuits |
This place covers:
Transformers or coupled inductances.
Further information:
"Signal type" means that these transformers or inductances are not used/useable for high power.
The subgroups basically define different frequency ranges.
Examples of places where the subject matter of this place is covered when specially adapted, used for a particular purpose, or incorporated in a larger system:
Transformers with superconductive windings | |
Adaptations of transformers or inductances for special applications or functions |
This place covers:
Transformers or inductances which are variable and not used/useable for high power.
Further information:
- "Signal type" means that these transformers or inductances are not used/useable for high power.
This place does not cover:
Variable inductances/transformers not being of the signal type (i.e. variable inductances/transformers used/usable for high power) | |
Transformers with superconductive windings | |
Magnetic amplifiers |
Examples of places where the subject matter of this place is covered when specially adapted, used for a particular purpose, or incorporated in a larger system:
Adaptations of transformers or inductances for special applications or functions | |
Means for converting output of a sensing member to another variable: varying inductance |
Attention is drawn to the following places, which may be of interest for search:
Variable inductances including MEMS (related to H01F 21/04 or H01F 21/06) |
This place covers:
Constructional features of transformers or inductances in general.
Further information:
In this group no distinction is made between "signal type" and "power type" applications except for the cases mentioned below. "Power type" means that these transformers or inductances are used/useable for high power.
H01F 27/00 covers constructional features of transformers and inductances falling under the titles of H01F 17/00 - H01F 21/00 and H01F 29/00 - H01F 38/00. If a subgroup for a specific detail exists under H01F 17/00 - H01F 21/00 and H01F 29/00 - H01F 38/00, this subgroup takes precedence over H01F 27/00.
H01F 27/00 also covers details of cores, coils and magnetising arrangements in H01F 3/00 - H01F 7/00 and H01F 13/00 if there is no appropriate subgroup for the respective constructional features in the H01F 3/00 - H01F 7/00 and H01F 13/00.
- Example: cooling of coils: For superconducting coils (H01F 6/00), there is a subgroup for cooling covered by H01F 6/04. For normal-conducting coils, however, which are classified generally in H01F 5/00 and in H01F 7/20 when used as electromagnet, no subgroups for cooling exist. Therefore, applications related to the cooling of normal-conducting coils or electromagnets, in addition to H01F 5/00 or H01F 7/20, have to be classified in an appropriate subgroup of H01F 27/08.
- Although in general, no difference is made between "signal type" and " power type" applications in H01F 27/00, this is not true for the mounting of transformers/inductances; H01F 27/027 covers the mounting of "signal type" applications; H01F 27/06 covers the mounting of "power type" applications.
- Details related to cooling: Cooling arrangements only for coils are covered by H01F 27/2876; Cooling channels in the insulation of coils are covered by H01F 27/322; Cooling of transformers/inductances, in general, is covered by H01F 27/08 and subgroups; H01F 27/14 covers a wide variety of accessories used for oil-cooled transformers/inductances like oil expansion chambers, gas cushions, oil filters.
- Details related to encapsulation: Devices encapsulated as a whole are covered by H01F 27/022; Encapsulation only of a winding is covered by H01F 27/327.
- Details related to electric/magnetic shields: Shields in general are covered by H01F 27/36; Shields of the winding arrangement are covered by H01F 27/288; Shields of pancake coils are covered by H01F 27/2871.
This place does not cover:
Cooling of superconducting coils (related to H01F 27/08) |
Attention is drawn to the following places, which may be of interest for search:
Buchholz relays (for protecting oil-cooled transformers, related to H01F 27/14 and H01F 27/402) | |
Buchholz relays (for protecting oil-cooled transformers, related to H01F 27/14 and H01F 27/402) | |
Emergency protective circuits for transformers (related to H01F 27/402) | |
Arrangements for controlling transformers, reactors or choke coils for the purpose of obtaining a desired output (field not active anymore) | |
Cooling of electrical devices in general (related to H01F 27/08) |
This place covers:
Variable transformers or inductances of the "power type", i.e. used/useable for high power.
This place does not cover:
Variable transformers or inductances of the signal type | |
Details of tap change devices regarding the construction, opening mechanism and contact arrangement of the selector switches (related to H01F 29/02) |
Examples of places where the subject matter of this place is covered when specially adapted, used for a particular purpose, or incorporated in a larger system:
Adaptations of transformers or inductances for special applications or functions | |
Use of variable transformers or inductances in automatic systems for regulating voltage or current | |
Amplitude modulation by means of variable impedance element (related to H01F 29/14) | |
Magnetic amplifiers (related to H01F 29/14) |
This place covers:
Fixed transformers of the "power type", i.e. used/useable for high power.
Further information:
- The subgroups define different general transformer structures.
This place does not cover:
Fixed transformers of signal type | |
Transformers with superconductive windings |
Examples of places where the subject matter of this place is covered when specially adapted, used for a particular purpose, or incorporated in a larger system:
Adaptations of transformers for special applications or functions |
This place covers:
Transformers with superconducting windings.
Transformers with windings operating at cryogenic temperature.
This place does not cover:
Superconducting magnets or coils |
Attention is drawn to the following places, which may be of interest for search:
Cooling of transformers in general |
This place covers:
Fixed inductances of "power type", i.e. used/useable for high power.
This place does not cover:
Fixed inductances of signal type |
Examples of places where the subject matter of this place is covered when specially adapted, used for a particular purpose, or incorporated in a larger system:
Adaptations of inductances for special applications or functions | |
Impedance networks |
In patent documents, the following words/expressions are often used as synonyms:
- "inductance" and "inductor, choke, reactor, reactance"
This place covers:
Transformers or inductances for specific applications or functions.
Welding transformers and discharge lamp ballasts are covered by H01F 38/08
even if they do not explicitly have a high leakage (i.e. gap in magnetic flux path).
Attention is drawn to the following places, which may be of interest for search:
Rotary transformer for transmission of signals and/or power between stationary and moving part of an X-ray computed tomography (CT) apparatus (related to H01F 38/18) | |
Current collectors for power supply lines of electronically propelled vehicles without mechanical contact between collector and power supply line (related to H01F 38/14) | |
Charging electric vehicles by inductive power transfer (related to H01F 38/14) | |
For wireless supply or distribution of electric power using inductive coupling | |
Near field transmission systems using inductive coupling (related to H01F 38/14) | |
Ignition circuits for discharge lamps (related to H01F 38/10 and H01F 38/12) |
This place covers:
Apparatus or processes for manufacturing or assembling transformers, inductances, reactors or choke coils.
Apparatus or processes for manufacturing or assembling magnetic circuits, permanent magnets or coils.
Apparatus or processes for applying magnetic films to substrates and forming magnetic nanostructures.
Attention is drawn to the following places, which may be of interest for search:
Manufacturing articles from powder; (related to H01F 41/0246) |
This place covers:
Methods for encapsulating/impregnating. Refers to cases where a whole device (e.g. coil and core of a transformer or a choke) is encapsulated.
Attention is drawn to the following places, which may be of interest for search:
Injection moulding incorporating preformed parts |
Encapsulation only of a winding is to be classified in H01F 41/127.
This place covers:
Manufacturing of hard or soft magnetic articles. Manufacturing of coils.
This place covers:
Methods and apparatus for manufacturing soft magnetic articles characterised by the shape of the magnetic material composing those articles. H01F 41/14 takes precedence.
Examples of places where the subject matter of this place is covered when specially adapted, used for a particular purpose, or incorporated in a larger system:
Manufacturing of coils, cores or magnets for dynamo-electric machines |
This place covers:
Methods and apparatus for manufacturing permanent magnets characterised by process steps performed on the magnetic material or on the magnets.
Examples of places where the subject matter of this place is covered when specially adapted, used for a particular purpose, or incorporated in a larger system:
Manufacturing of coils, cores or magnets for dynamo-electric machines |
This place covers:
Methods and apparatus for manufacturing coils.
Further information:
The most important subgroups are related to:
- printed circuit coils (H01F 41/041),
- superconducting coils (H01F 41/048),
- winding (H01F 41/06)
- insulating of windings (H01F 41/12).
Examples of places where the subject matter of this place is covered when specially adapted, used for a particular purpose, or incorporated in a larger system:
Manufacturing of coils cores or magnets for dynamo-electric machines |
This place covers:
Processes or apparatus for manufacturing coils by winding.
Attention is drawn to the following places, which may be of interest for search:
Winding or coil filamentary material |
In this place, the following terms or expressions are used with the meaning indicated:
Former | Frame, e.g. composed of electrically insulating material, around which a coil is wound. Examples of former are bobbins, spools or winding supports |
This place covers:
Processes or apparatus for winding flat conductive wires or sheets with insulation.
To be classified here, the conductive wires or sheets and the insulation must initially be separate, and must be wound simultaneously.
The figure below is an example of material classified in this subgroup. In the figure, the conductive sheet 40 and the insulating sheet 52 are wound simultaneously to form an insulated coil.

Attention is drawn to the following places, which may be of interest for search:
Insulation of windings | |
Insulating of coils, windings, or parts thereof | |
Winding non-flat conductive wires with insulation | |
Insulation of windings |
This place covers:
Processes or apparatus for winding non-flat conductive wires with insulation.
To be classified here, the conductive wires or sheets and the insulation must initially be separate and must be wound simultaneously.
The figure below is an example of material classified in this subgroup. In the figure, for example, the conductive wire 24 and the insulation tapes 21 and 22 are wound simultaneously to form an insulated coil.

Attention is drawn to the following places, which may be of interest for search:
Insulation of windings | |
Insulating of coils, windings, or parts thereof | |
Winding flat conductive wires or sheets with insulation | |
Insulation of windings |
This place covers:
Processes or apparatus for forming taps or terminals while, or in conjunction with winding.
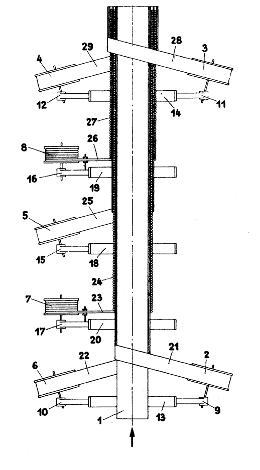
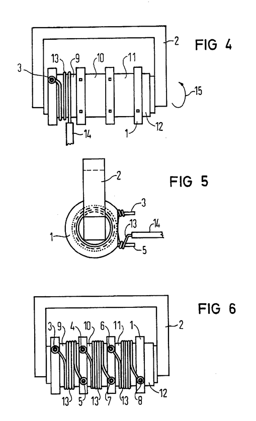
The figure below is an example of material classified in this subgroup. In the figure, the first terminal 3 is wrapped, then the first section 9 of the bobbin 1 is wound. The wire is then wrapped around the second terminal 5. The terminal connections are thus formed in conjunction with the winding of the bobbin.

This place covers:
Processes or apparatus for deforming the cross section or shape of the winding material in conjunction with winding.
The figure below is an example of material classified in this subgroup. In the figure, the circular material wire 50 is transformed into the deformed rectangular wire 52 just before winding.

This place covers:
Processes or apparatus for winding coils while measuring electrical characteristics, e.g. resistance, inductance or capacitance.
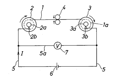
The figure below is an example of material classified in this subgroup. In the figure, the existence of an electrical short circuit is detected by measuring voltage during winding.

This place covers:
Thin films deposition methods not provided in subgroups below.
Examples of places where the subject matter of this place is covered when specially adapted, used for a particular purpose, or incorporated in a larger system:
Manufacturing record carriers |
Attention is drawn to the following places, which may be of interest for search:
Covering metals, or materials with metals |
This place covers:
Deposition methods and apparatus for forming thick magnetic films, usually performed by macroscopic methods.
The obtained material is a thick magnetic film or any precursor of thick magnetic film, generally in the form of magnetisable pastes, inks or glass frits.
This place does not cover:
Cathode sputtering | |
Evaporation | |
Heat treatment, thermal decomposition, Chemical vapour deposition | |
Using liquids to apply magnetic films |
Attention is drawn to the following places, which may be of interest for search:
Thick films and precursors thereof |
This place covers:
Deposition methods and apparatus for forming thin magnetic films characterised by deposition methods.
Attention is drawn to the following places, which may be of interest for search:
Coating by evaporation or sputtering |
This place covers:
Deposition methods and apparatus for forming multilayered nanostructures, especially spin-exchange-coupled multilayers corresponding to product subgroups H01F 10/324-H01F 10/3295, characterised by specific process steps leading to a specific change of properties of the grown superlattice (H01F 41/303-H01F 41/304) or to a given structure (H01F 41/305-H01F 41/309).
Attention is drawn to the following places, which may be of interest for search:
Ion implantation |
This place covers:
Deposition methods and apparatus for applying a single layer on a magnetic thin film characterised by specific process steps.
H01F 41/34 covers deposition in patterns (i.e. using lithography).
Attention is drawn to the following places, which may be of interest for search:
Ion implantation |
Spin filters capping layers for TMR/GMR structures (products) are also classified within method subgroup H01F 41/325.