CPC Definition - Subclass E04F
This place covers:
Finishing work on buildings, like:
- sunshades, Florentine blinds, awnings, outside screens (E04F 10/00);
- fixed and moveable stairways, ramps, balustrades, handrails (E04F 11/00);
- coverings or linings for walls or ceilings (E04F 13/00);
- floor coverings, parquet, sectional false floors (E04F 15/00)
- vertical ducts, chimneys, air ducts, light shafts, lift shafts, utility lines channels, disposal chutes, channels for drainage (E04F 17/00);
- borders, finishing strips, built-in cup-boards, niches (E04F 19/00);
- implements for finishing work on buildings, e.g. for mounting doors or windows, for mounting plinths, for plastering, for finishing joints, for setting wall or ceiling slabs, for laying floor coverings (E04F 21/00)
This place covers:
Sunshades, e.g. Florentine blinds or jalousies;
Screens on the outside of buildings which provide a shading function;
Outside shading elements mounted to the building;
Awnings; Baldachins
This subgroup contains outdoor screens, which are designed withstand outside environmental changes, like wind, rain and snow. Screens mounted on the inner side of a window or door, so called indoor screens are classified in E06B 9/24. Operating means for indoor and outdoor screens are classified in E06B 9/68. Venetian-type lamellar outdoor and indoor screens are classified in E06B 9/26. Free-standing screens which are not attached to the exterior of a building are classified in E04H 15/00. Umbrellas in A45B.
This place does not cover:
Awnings for tents | |
Venetian-type lamellar screens | |
Operating means |
Attention is drawn to the following places, which may be of interest for search:
Awnings for caravans | |
Awnings for vessels | B63F17/02 |
Sunshades for a roof | |
Roller blinds inside a building | E06B/40 |
Screening devices inside building | |
Lamellar or like blinds, e.g. venetian blinds |
This place covers:
This class contains shading elements for which the surface that provides the shading function is of a rigid inflexible material, e.g. plexiglass, metal.

This place does not cover:
Gutters for roofs |
Details which are not-specific to this kind of non-rollable/foldable surface (e.g. fixing to the supporting structure) should be classified in E04F 10/06
This place covers:
This class contains shading elements for which the surface that provides the shading function is of a flexible material, e.g. canvas

Details which are not-specific to this kind of non-rollable/non-foldable surface (e.g. fixing to the supporting structure) should be classified in E04F 10/0603 - E04F 10/0685
This place covers:
This class contains shading elements for which the surface that provides
the shading function is of a series of rigid parts. e.g. lamellae
This place covers:
Fixed stairways and movable stairways, e.g. loft ladders, and their components, e.g. treads and risers; Ramps; Balustrades; Handrails
This place does not cover:
Mounting or marking-off stairways | |
Appliances for aiding patients or disabled persons to walk | |
Stairways of temporary use during building construction | |
Means for facilitating access to swimming pools | |
Ladders permanently attached to fixed structures |
Attention is drawn to the following places, which may be of interest for search:
Ladders |
This place covers:
Only spiral stairways supported by a central column, where "by a central column" is to be read strictly
Attention is drawn to the following places, which may be of interest for search:
Veneer panels should be classified in E04F 11/108, i.e. of wood, as well as in E04F11/128, i.e. composed of several layers.
This place does not cover:
Loosely laid coverings, floor fabrics, fastenings therefor |
Attention is drawn to the following places, which may be of interest for search:
Guard covers of stairs |
Documents describing both aspects, i.e. surfaces and protecting means for edges or corners of treads, are classified in E04F 11/16 only.
This place covers:
Balustrades, balcony balustrades, and handrails.
This place does not cover:
Guard-rails on ships | |
Handrails for bridges | |
Handrails for roads | |
Safety measures for persons during the construction of buildings, e.g. temporary balustrades | |
Balustrades not having a handrail, i.e. picket fences, fences |
Attention is drawn to the following places, which may be of interest for search:
Balustrades being an integral part of the structure of a balcony. |
Use E04F 11/1812 - E04F 11/1851 to completely classify each aspect of the documents to be classified.
This place covers:
Balustrades or handrails comprising aids for ascending or descending stairs , e.g. for elderly or disabled people e.g. : 
This place does not cover:
Lifts associated with stairs |
Attention is drawn to the following places, which may be of interest for search:
Lifts or other hoisting devices on ladders |
This place covers:
Coverings or linings, e.g. for walls or ceilings, either made of plastic materials hardening after applying, like plaster, or composed of covering or lining elements and their fastening means.
This place covers:
Coverings or linings, e.g. for walls or ceilings, made of webs, e.g. of fabrics, or wallpaper e.g. :
This place does not cover:
Of a number of similar elements carried by a common web | |
Paper-hanging and tapestry-work |
This place does not cover:
Implements for applying plasticised materials | |
Surface treatment in painting technique | |
Inorganic or bituminous masses | |
Organic plastics |
This place does not cover:
Sub-ceilings with plaster-carrying means |
This place does not cover:
Borders for joints between plaster layers and window or door frames or the like |
This place does not cover:
Stretched foil- or web-like elements attached with edge gripping devices | |
Composed of several layers, e.g. sandwich panels | |
Characterised by the joints between neighbouring elements | |
For insulation or surface protection, e.g. against noise | |
Accommodating lighting devices | |
Accommodating heating conduits | |
Accommodating electrical cables or lines |
Sub-groups E04F 13/074 - E04F 13/078 are not used; documents are classified according to the table here above.
This place does not cover:
Elements of webs or fabrics | |
Specially adapted, structured or shaped covering or lining elements | |
Borders, skirtings | |
Fixing strips | |
Separate provisional spacers between adjacent tiles | |
Implements or means for setting tiles |
This place covers:
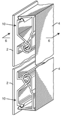
Separate fastening elements for coverings composed of a plurality of similar covering elements, with load-supporting elongated furring elements between wall and covering elements, and with additional fastening elements between furring elements and covering elements, (any of the elements being) fixed by means of spring action, e.g. effecting a clamping, the spring element being integral to or separate from the other elements. e.g. : (spring 8) 
In patent documents, the following words/expressions are often used with the meaning indicated:
" snap action" | "spring action" |
This place covers:
Separate fastening elements for coverings composed of a plurality of similar covering elements, with load-supporting elongated furring elements between wall and covering elements, and with additional fastening elements between furring elements and covering elements, (any of the elements being) fixed by means of clamping action. e.g. : (Clamping effected by elements 12-15)
In patent documents, the following words/expressions are often used with the meaning indicated:
" holding tight " | " clamping action " |
This place covers:
Separate fastening elements for coverings composed of a plurality of similar covering elements, without load- supporting elongated furring elements between wall and covering elements, the fastening element being not adjustable, e.g. no adjustment or compensation means for tolerances, inaccuracy, or by means of screws, teeth, wedges.
This place does not cover:
Supporting consoles, e.g. adjustable only in a direction parallel to the wall |
This place covers:
Separate fastening elements for coverings composed of a plurality of similar covering elements, without load-supporting elongated furring elements between wall and covering elements, not adjustable, and with fastening elements retaining the edges of the covering elements e.g. : 

This place does not cover:
The fastening elements situated at the corners of the covering elements, not extending through the covering | |
The fastening elements engaging holes or grooves in the side faces of the covering elements |
This place covers:
Separate fastening elements for coverings composed of a plurality of similar covering elements, without load-supporting elongated furring elements between wall and covering elements, not adjustable, and with fastening elements engaging holes or grooves in the lateral edge side of the covering elements e.g.: 

This place does not cover:
The fastening elements extending into the back side of the covering elements | |
The fastening elements situated at the corners of the covering elements, and not extending through the covering |
In patent documents, the following words/expressions are often used with the meaning indicated:
" snap action" | "spring action" |
In patent documents, the following words/expressions are often used with the meaning indicated:
" holding tight " | " clamping action " |
This place covers:
Coverings or linings composed of superposed elements which overlap each other and of which the flat outer surface includes an acute angle with the surface to cover, where the expression "acute angle" is to be read strictly
This place does not cover:
Case of absence of an acute angle |
This place does not cover:
Composed of superposed elements which overlap each other and of which the flat outer surface includes an acute angle with the surface to cover | |
Having a basic insulating layer and at least one covering layer | |
Layered products as such in general | |
Producing decorative panels or veneers |
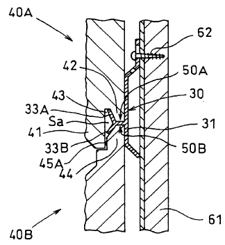
This place covers:
Coverings composed of a plurality of similar covering elements, characterised by the joints between neighbouring elements, with sealing elements between coverings (regardless if the sealings are integral with the panel or separate elements ) e.g. : 
This place does not cover:
Sealing of joints between building constructions in general |
Not used, see E04F 13/0862
This place does not cover:
Composed of superposed elements which overlap each other and of which the flat outer surface includes an acute angle with the surface to cover | |
Producing shaped elements from concrete, ceramic compositions or other stone-like materials | |
Prefabricated panels in general |
This place does not cover:
Composed of superposed elements which overlap each other and of which the flat outer surface includes an acute angle with the surface to cover | |
Of plastic-bound fibres or chips |
Sub-groups E04F 13/21 - E04F 13/30 are not used. Documents which fall under the title of sub-groups E04F 13/21 - E04F 13/28 are classified in E04F 13/0801, documents falling under the title of E04F 13/30 are classified in E04F 13/0883. E04F 13/30 takes precedence over E04F 13/24.
This place covers:
Floor coverings, parquet, resiliently-mounted floors, joints in floor coverings, sectional false floors, e.g. computer floors
This place does not cover:
Stair treads | |
Coverings not specially adapted for floors | |
Borders, skirting | |
Built-in gratings | |
Implements for laying flooring | |
Carpets | |
Gratings for cleaning soles | |
Road paving | |
Structural floors | |
Removing floor coverings |
This place does not cover:
Flooring composed of webs |
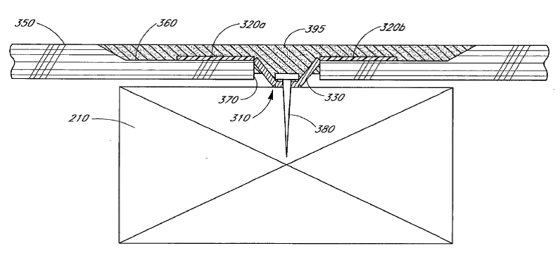
This place covers:
Construction of joints for flooring composed of a number of similar elements, with sealing elements between coverings (regardless if the sealings are integral with the panel or separate elements) e.g. : 
This place does not cover:
Sectional false-floors | |
Flooring only of wood | |
Flooring of metal | |
Flooring of other material | |
Construction of joints in flooring made of masses in situ | |
Separate provisional spacers | |
Sealing of joints between building constructions in general |
This place does not cover:
Height-adjustable supports for terrace roof coverings | |
Underfloor heating using water | |
Underfloor heating using air | |
Installation of cables, lines or protective tubing in floors |
This place covers:
Sectional false floors composed of a number of similar elements, comprising floor panels with integrated feet e.g. : 
This place does not cover:
Floor panels made of casing elements filled with plastic materials hardening after application |
This place does not cover:
Rollable parquet |
This place does not cover:
Metal treads | |
Floor panels for sectional false floors | |
Gratings as building elements |
This place does not cover:
Construction of joints in floorings |
This place does not cover:
Construction of joints for floorings composed of a number of similar elements | |
Construction of joints not restricted to flooring |
Attention is drawn to the following places, which may be of interest for search:
Construction of joints in roads and airfields |
This place does not cover:
Resiliently mounted floors, e.g. sprung floors |
Attention is drawn to the following places, which may be of interest for search:
Carpets | |
Linoleum | |
Webs in general, manufacturing of webs |
This place does not cover:
Boundary strips in layers made of masses in situ |
Attention is drawn to the following places, which may be of interest for search:
Insulating of buildings in general |
This place does not cover:
Resiliently-mounted floors laid as webs |
This place covers:
Vertical ducts for carrying away gases, chimneys, air ducts, light shafts, channels for receiving utility lines, channels for drainage, chutes for the disposal of refuse, lift shafts.
Attention is drawn to the following places, which may be of interest for search:
Drainage devices in floors | |
Roof drainage | |
Pipes in general | |
Pipe-line systems |
This place does not cover:
Coke-ovens | |
Apparatus for inserting new lining elements in existing ducts | |
Working measures on existing vertical ducts | |
Free-standing chimneys | |
Connections between fireplace and chimney, chimney fittings, covers for cleaning holes for chimneys | |
Metallic chimneys, linings, joints and spacers therefor | |
Chimney tops |
This place covers:
Vertical ducts or channels for carrying away waste gases, e.g. flue gases comprising an exterior cladding, e.g. of chimney parts extending above the roof or rain covers for chimney tops without draught-inducing aspects e.g. : or 

This place does not cover:
Inducing draught in chimneys |
Attention is drawn to the following places, which may be of interest for search:
Daylight conveying tubular skylights |
This place does not cover:
Covers giving access to the ducts or channels, covers of inspection holes | |
Shafts or channels arranged underground outside buildings |
This place does not cover:
Refuse bins, gathering or removal of refuse |
This place covers:
Borders, finishing strips, light-coves, built-in cup-boards, niches, covers of holes enabling access to installations, built-in gratings, chimney mantel pieces
This place does not cover:
Borders for protecting edges of plaster | |
Climbing irons |
This place does not cover:
Borders for protecting edges of plaster |
Attention is drawn to the following places, which may be of interest for search:
Lighting devices in general |
This place does not cover:
Borders adapted for cushioning impacts at protruding corners |
Attention is drawn to the following places, which may be of interest for search:
Edge details of ceilings |
This place covers:
Borders or finishing strips for use between floor or ceiling and wall, e.g. skirtings characterised by the fixing method (group not used, see subgroups) e.g. by hooking in a direction perpendicular (E04F 19/0463) or parallel (E04F 19/0468) to the wall, by means of magnets or hook and loop-type fasterners (E04F 19/0472), by means of glue (E04F 19/0477):




This place does not cover:
For use at vertical intersections of walls | |
Specially adapted for cushioning impacts | |
For use between floor or ceiling and wall |
This place covers:
Borders or finishing strips, specially designed for securing panels, used to finish off an edge or corner of a wall or floor covering area e.g. floor transition pieces

This place does not cover:
In connection with floor fabrics | |
Sealings between walls and baths |
This place covers:
Borders or finishing strips, specially designed for securing panels, used between similar elements, e.g., a bridger strip for a gap created by two panels, e.g. 
This place does not cover:
Separate provisional spacers |
This place does not cover:
Inspection openings in bathtub aprons | |
Removable wall partitions | |
Movable ceiling parts | |
Cleanout doors of chimneys | |
Covers for electrical distribution boxes |
This place covers:
Implements for finishing work on buildings, e.g. for mounting doors or windows, for mounting plinths, for applying plasticised masses to surfaces, for finishing joints, for setting wall or ceiling slabs, for laying flooring, for mounting staircases, for glazing.
This place does not cover:
Implements for working or treating building elements of stone or stone-like materials |
Attention is drawn to the following places, which may be of interest for search:
Working measures on existing buildings | |
Measuring angles or linear dimensions in general | |
Measuring inclination, e.g. by clinometers or levels | |
Reference lines, planes or sectors, generated by active optical means |
Implements designed specifically for special details provided for in the preceding groups, see the relevant groups for the details
This place covers:
Implements for mounting doors, windows or frames, e.g. door jamb setters 
This place does not cover:
Door-lifters |
This place covers:
Implements for marking doors, windows or frames, e.g. tools indicating the location of closures or closure frames 
This place does not cover:
Templates for marking the position of doorlocks | |
Templates for marking the position of hinges |
This place covers:
Separate provisional spacers used between adjacent floor or wall tiles, with at least parts of it being removed after installation. e.g. removable tile spacer 
This place does not cover:
Sealing elements between coverings composed of a number of similar elements | |
Construction of joints in floorings composed of a number of similar elements |
Attention is drawn to the following places, which may be of interest for search:
Wall coverings made of hardening materials | |
Joint tapes | |
Drywall taper tools | |
Specially for flooring | |
Applying liquids or other fluent materials to surfaces, in general | |
Implements for painting or decorating |
Attention is drawn to the following places, which may be of interest for search:
Profile trowels |
This place does not cover:
Implements for after treatment of plaster |
This place does not cover:
Implements for applying plaster in shafts | |
Spraying in general | |
Sandblasting |
This place does not cover:
Patterns or templates; Jointing rulers | |
Implements for finishing joints |
This place does not cover:
Implements for cleaning joints | |
Wallpaper scrapers | |
Bricklayers' tools | |
Repairing, e.g. filling cracks |
This place does not cover:
Tools for mosaic work |
This place covers:
Lifting devices for installing ceiling panels in place e.g. 

Attention is drawn to the following places, which may be of interest for search:
Suspended ceilings comprising panels |
This place covers:
Lifting devices for installing ceiling panels in place, with hand-driven crank systems, e.g. rope, cable or chain winding or rack-and-pinion mechanisms e.g. 
This place does not cover:
Fluid pressure-operated | |
With pivotally mounted arms | |
Lazy-tongs mechanisms |
This place covers:
Lifting devices for installing ceiling panels in place, operated by fluid pressure e.g.
This place does not cover:
With pivotally mounted arms | |
Lazy-tongs mechanisms |
This place covers:
Implements for setting a plurality of similar wall or ceiling slabs or plates: e.g. 
This place does not cover:
Separate provisional spacers | |
Ceiling panels lifting devices | |
Lever-type lifters |
This place covers:
Lever-type lifters gripping the bottom edge of wall panels e.g. e.g. fulcrum-type device, e.g. 
Attention is drawn to the following places, which may be of interest for search:
Door lifters |
This place does not cover:
Implements for laying flooring made of similar material to roads or pavements | |
Arrangements for removing of previously fixed floor covering |
This place does not cover:
Cutting tiles |
This place does not cover:
Pattern or templates for applying plasticised masses to surfaces | |
Finishing of concrete roads or pavings | |
Devices for solidifying concrete floors by vibrating | |
Devices for levelling concrete floors |
Attention is drawn to the following places, which may be of interest for search:
Glass cutters |
Group not used, see B05C 17/002
Attention is drawn to the following places, which may be of interest for search:
Separate tongues or interlocking keys, e.g. joining mouldings of circular, square or rectangular shape |
