CPC Definition - Subclass A44C
This place does not cover:
Brooches with a safety pin fastening | |
Recycling | |
Bio-degradable packaging materials | |
Localisation means |
Comprises brooches in their decorative aspect. For brooches with a safety pin class in A44B 9/16. Comprises decorative ornaments or jewellery to be fastened on clothing.
This place does not cover:
Brooches in their decorative aspect | |
Buttons for fastening | |
Brooches with a safety pin fastening | |
Identification means | |
Fastening for badge label |
In American English "Button" is used for "Badge", correct class for Badges is A44C 3/001.
For removable buttons that look like badges but are used as a fastener, class in A44B 1/18 and in A44C 3/001.
If they fasten through a safety pin, should also be classed in A44B 9/16.
In this place, the following terms or expressions are used with the meaning indicated:
Button | A knob or stud of metal or other material sewn or fixed by a shank or neck to articles of dress, usually for the purpose of fastening one part of the dress to another by passing through a button-hole, but often merely for ornament. |
Badge | Any distinctive device, emblem, or mark worn to indicate a person's affiliation, rank, office, name, etc., or membership of an organization or support for a cause; also a small piece of metal, card, plastic, etc., bearing a distinguishing design or words and often worn purely for ornament. |
This place covers:
llustrative example of subject matter classified in this group.

Comprises honorific medals hold as badges. For medals suspended from chains or ribbons, class in A44C 3/004 and lower groups.
Comprises only medals which are suspended from chain or ribbon. For honorific medals hold as badges, class in A44C 3/002.
This place covers:
llustrative example of subject matter classified in this group.

This place covers:
llustrative example of subject matter classified in this group.


Contains also supension loops or rings for pendants.
This place covers:
llustrative example of subject matter classified in this group.


This place does not cover:
Devices for putting-on or pulling-off bracelets | |
Settings for holding gems or the like | |
Ratchet type straps (for bundling or identification), that cannot be opened | B65B 13/027, B65D 63/1072, E05B 75/00, F16L 3/2334, F16B 2/08, G07C 9/20, G09F 3/03 |
This place does not cover:
Wearable computers | |
Transmitters carried on body | |
Transceivers / phones carried on body |
This place does not cover:
Bracelets combined with games | |
Ratchet- type straps (for bundling or identification), that cannot be opened | B65B 13/027, B65D 63/1072, E05B 75/00, F16L 3/2334, F16B 2/08, G07C 9/20, G09F 3/03 |
Localisation means | |
Abaccus | |
Hand computing conversion | |
Calendars | |
Devices using visible light signalling for partner search | S08B5/36W14 |
This place does not cover:
Detecting pulse rate with devices worn on patient |
This place does not cover:
Ratchet- type straps (for bundling or identification), that cannot be opened | B65B 13/027, B65D 63/1072, E05B 75/00, F16B 2/08, F16L 3/2334, G07C 9/20, G09F 3/03 |
This place covers:
llustrative example of subject matter classified in this group.


This place covers:
llustrative example of subject matter classified in this group.

This place does not cover:
Ornamental chains made of pearls |
This place covers:
llustrative example of subject matter classified in this group.

This place covers:
llustrative example of subject matter classified in this group.

This place covers:
llustrative example of subject matter classified in this group.

This place covers:
llustrative example of subject matter classified in this group.

This place covers:
llustrative example of subject matter classified in this group.

This place covers:
llustrative example of subject matter classified in this group.

This place covers:
llustrative example of subject matter classified in this group.

This place covers:
llustrative example of subject matter classified in this group.



This place does not cover:
Fastening of bracelet to watch case | |
Ornamentation in watches |
Irrespective of giving this class or not, always forward to watch cases in G04B 37/1486.
This place covers:
Illustrative example of subject matter classified in this group.

This place covers:
llustrative example of subject matter classified in this group.

This place covers:
llustrative example of subject matter classified in this group.

This place covers:
llustrative example of subject matter classified in this group.


This place covers:
llustrative example of subject matter classified in this group.

This place covers:
llustrative example of subject matter classified in this group.

This place covers:
llustrative example of subject matter classified in this group.

This place covers:
llustrative example of subject matter classified in this group.

Comprises swivels with springs
In this place, the following terms or expressions are used with the meaning indicated:
Swivel | A simple fastening device made so that each half or part of the swivel itself can turn independently; e.g. a ring or staple with two parts where one is turning on a pin or the like. |
This place covers:

This place covers:
llustrative example of subject matter classified in this group.

This place covers:

When push button is present, class in A44C 5/2052. When there's no push button but only locking means, class in A44C 5/2066.
This place covers:


This place covers:

When push button is present, class in A44C 5/2052. When there's no push button but only locking means, class in A44C 5/2066.
This place covers:

This place does not cover:
Fasteners for open straps |
This place covers:

This place does not cover:
Fasteners for open straps |
This place covers:

This place covers:

This place covers:

This place covers:
llustrative example of subject matter classified in this group.

This place covers:
Illustrative example of subject matter classified in this group

This place does not cover:
Puncturing needles for implanting / removing devices | |
Body-piercing guide needles, cathethers |
This place covers:

Comprises earrings for ears without piercing.
This place covers:

This place covers:

This place does not cover:
Handsfree headsets for mobile phones |
This place covers:
llustrative example of subject matter classified in this group.

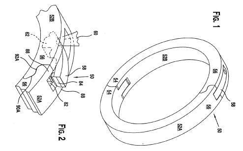
This place covers:


For adjustable rings in size, class in A44C 9/02.
When ring is openable with a hinge and can be adjusted to different sizes class in A44C 9/02 and in A44C 9/0046
For adjustable rings in size, class in A44C 9/02. When ring is openable with a hinge and can be adjusted to different sizes, class in A44C 9/02 and in A44C 9/0046.
This place covers:
llustrative example of subject matter classified in this group.

This place covers:
llustrative example of subject matter classified in this group.

This place covers:


This place does not cover:
Measuring devices for rings |
Comprises adjustable rings in size. Adjustable rings do not comprise rings which open to allow easier donning.
For rings which are openable with a hinge class in A44C 9/0046.
When ring is openable with a hinge and can be adjusted to different sizes, class in A44C 9/02 and in A44C 9/0046.
This place does not cover:
Fastening devices for watch or ornamental chains | |
Making ornamental chains |
Comprises chains in their ornamental aspect.
When link construction is relevant classify in A44C 5/02 and lower groups.
This place does not cover:
Rosaries | |
Making such chains |
Comprises also chains composed of gems or the like.
This place covers:

This place does not cover:
Buidling blocks, toys | |
Teaching elements, supports | |
Atomic models for teaching |
When connection is a fastener for straps classify in A44C 5/18 and lower groups.
This place does not cover:
Processes for producing special ornamental bodies |
This place covers:
llustrative example of subject matter classified in this group.

Attention is drawn to the following places, which may be of interest for search:
Electroluminescent light source, LEDs |
This place does not cover:
Holders for insecticides | |
Containers for holding perfume | |
Holders for air deodorants |
This place covers:

This place covers:
llustrative example of subject matter classified in this group.

This place does not cover:
Earrings |
This place covers:
llustrative example of subject matter classified in this group.

This place covers:
llustrative example of subject matter classified in this group.

This place does not cover:
Dental brackets |
This place does not cover:
Devices for grinding edges or bevels, specially designed with respect to properties of diamonds, jewels.. | |
Fine working of gems | |
Coating of metal and marking stones (safety of diamonds) | |
Vapor deposition for forming diamonds | |
After-treatment of crystals | |
Investigating jewels by optical means | |
Diffraction gratings in optical elements | |
Optics | |
Theft alarms |
This place does not cover:
In this place, the following terms or expressions are used with the meaning indicated:
Girdle | The line or rim dividing the two faces of a brilliant. |
This place covers:
Illustrative example of subject matter classified in this group.

This place covers:
Illustrative example of subject matter classified in this group.

This place covers:
Illustrative example of subject matter classified in this group.


This place covers:
Illustrative example of subject matter classified in this group.


This place does not cover:
Dop holders (for grinding machines) | |
Supports for fine working of gems | |
Optical means for visual inspection |
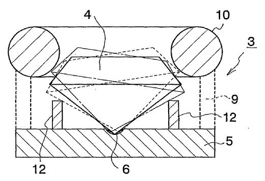
Difference between A44C 17/02 & A44C 17/04:
A44C 17/02 Removable or non removable settings not needing more than minor jewellery work.
A44C 17/04 More technical settings, needing a more intensive jewellery work, often claimed by a method.
This place covers:
Illustrative example of subject matter classified in this group.

This place covers:
Illustrative example of subject matter classified in this group.

This place covers:
Illustrative example of subject matter classified in this group.

This place covers:
Illustrative example of subject matter classified in this group.

This place covers:
Illustrative example of subject matter classified in this group.

This place covers:
Illustrative example of subject matter classified in this group.

This place covers:
Illustrative example of subject matter classified in this group.

This place covers:
Illustrative example of subject matter classified in this group.

This place covers:
Illustrative example of subject matter classified in this group.

This place covers:



This place does not cover:
Setting gems on metal parts, e.g. on tools |
Difference between A44C 17/02 & A44C 17/04:
A44C 17/02 Removable or non removable settings not needing more than minor jewellery work.
A44C 17/04 More technical settings, needing a more intensiv jewellery work, often claimed by a method.
This place covers:


This place does not cover:
Setting gems on metal parts, e.g. on tools |
This place covers:

This place covers:


This place does not cover:
Purses | |
Games / playing pieces | A63F3/02P |
Lottery-ticket scraper | |
Record carriers, integration of circuit chips, RFID | G06K10/077T |
Holders for coins | |
Forming tokens inside vending machine | |
Circulation of gaming tokens | G07F17/32D2 |
This place covers:
All religious jewelry and beads, both electronic and mechanical to aid in the saying of prayer or meditation.



This place does not cover:
Religious or ritual equipment | |
Abacus | |
Teaching appliances for counting |
This place covers:
Illustrative example of subject matter classified in this group.

For supension loops or rings for pendants class in A44C 3/008.
This place covers:
Illustrative example of subject matter classified in this group.

This place covers:
Illustrative example of subject matter classified in this group.

This place does not cover:
Decoration of strap for carrying mobile phone | |
Decoration of covers of mobile phones |
Comprises also jewelry pending from mobile phones that is not used for carrying them, only for decoration purposes.
Attention is drawn to the following places, which may be of interest for search:
Processing sheet metals for making jewelry products | |
Bead chains manufacturing | |
Making chain links | |
Making ornamental chains | |
Casting/moulding jewellery articles | |
Metal welding | |
Gold soldering chemical compositions | |
Fitting metal parts together | |
Producing ornamental structures by stamping or bending with cutting | |
Processes for producing special ornamental bodies | |
Beadings, ribbons, tapes made of textile or analogous material | |
Chains (in general) |
For wire wound around jewel, class in A44C 27/006
This place does not cover:
Recycling | |
Bio-degradable packaging materials |
This place does not cover:
Producing ornamental structures by stamping or bending with cutting |
This place does not cover:
Coating metal wires | |
Wire-working in the manufacture of particular articles | |
Metallic coating on metal |
Comprises wire wound around jewel.













