CPC Definition - Subclass A41D
This place covers:
Outerwear covers athletic garments, jackets, trousers, shorts, skirts, maternity clothing, overgarments (overcoats, capes), dressing-gowns, bathing costumes, and pyjamas.
In particular, the following subjects are classified as follows:
- Jackets, e.g. dress jackets or sport coats, are classified in A41D 1/02
- Waistcoats, vests, jerseys, sweaters and T-shirts are classified in A41D 1/04
- For blouse, e.g. women's top, classify in A41D 1/18
- For overalls, e.g. coveralls or bodysuits for adult, classify in A41D 13/02
- For leggings, e.g. chaps, classify in A41D 17/02
This subclass covers outwear and protective garments. It is known that some therapeutic devices can be worn by the patient and even be integrated into garments. Despite that, therapeutic devices per se are covered by the relevant subclasses of class A61.
Outerwear does not cover shirts (i.e. button down shirts with a collar) A41B 1/00, hosiery A41B 11/00, baby linen A41B 13/00 and handkerchiefs A41B 15/00.
Garments fastenings and suspenders are classified in A41F.
Attention is drawn to the following places, which may be of interest for search:
Button down shirt or formal dress shirt | |
Chemise, e.g. slips with shoulder straps worn beneath a dress | |
Chemise, e.g. slips that only cover the lower body | |
Overalls, e.g. coveralls or bodysuits (for babies) | |
Bodices, e.g. baby onesies | |
Straps, bands | |
Carrying straps around neck | |
Carrying straps around waist | |
Carrying straps | |
Carriers for hand articles | |
Fastening articles to the garment | |
Carriers for holding garments | |
Garment bags | |
Detecting heart/pulse rate for diagnostic purposes, worn by patient | |
Orthopaedic slings, straps for holding arms | |
Electromedical stimulation with electrodes | |
Magnetotherapy | |
Radiation therapy | |
Packaging for clothing | |
Supports for musical instruments, straps |
In this place, the following terms or expressions are used with the meaning indicated:
Dressing-gown | a loose gown worn while making one's toilet or when in dishabille. |
Jacket | lightweight long-sleeve garment typically having a collar and lapel extending below the front sides of the collar providing a central opening between the lapels, also referred to as a dress jacket or sport coat |
Waistcoat | upper body garment without sleeves also referred to as a vest in American English |
Vest | T-shirt or casual top with or without sleeves |
Jersey | knitted garment with or without sleeves, also referred to as a sweater in American English |
Sweater | garment typically worn for playing team sports, also referred to as a jersey in American English |
Blouse | shirt having features specific to women, also referred to as a women's top |
Overalls | a one-piece garment having an upper body portion (e.g. short or long sleeve top, bib secured by shoulder straps, etc.) and lower body portion (e.g. pants, shorts, etc.), also referred to as coveralls or bodysuits |
Leggings | lower body overgarment with or without seats for protecting a garment worn underneath, also referred to as chaps |
Shirt | an upper body garment having a collar and an opening at the front which is fastened closed via fastening elements (e.g. buttons) disposed adjacent the opening, also referred to as a men's dress shirt, button-up shirt or button-down shirt |
Chemise | undergarment with shoulder strap worn beneath dress or the like, also referred to as a slip |
Bodices | baby garment usually with sleeves but leaving the legs uncovered and fastening means at the crotch, also referred to as a onesie |
This place covers:
Also covers costumes and religious outfits.
Illustrative examples of subject matter classified in this group


Attention is drawn to the following places, which may be of interest for search:
Masks or dominoes for concealing identity, e.g. for theatrical use | |
Sacks for dead corpses | |
Disguises for artists for life-like imitation of creatures |
This place covers:
Illustrative example of subject matter classified in this group.


Attention is drawn to the following places, which may be of interest for search:
Detecting heart/pulse rate for diagnostic purposes, worn by patient | |
Electromedical stimulation with electrodes | |
Magnetotherapy | |
Radiation therapy | |
Wearable computers | |
Remote control of information storage system (audio/video media) | |
Conductors dispersed in non-conductive materials | |
Switches | |
Mechanisms of switches | |
Semiconductors in flexible layers | |
Connections (switches) | |
Portable transceivers carried on body | |
Sound systems | |
Multilayer printed circuits | |
Printed circuits on textiles |
When the subject is focused mainly on electronic equipment classify in this group as "additional information" only, and consider main classification in the relevant field.
For pockets adapted to receive electronic equipment consider classification in A41D 27/205.
This place covers:
Illustrative example of subject matter classified in this group.

Attention is drawn to the following places, which may be of interest for search:
Seaming making a tubular fabric by helically winding it |
This place covers:
Lightweight long-sleeve garment typically having a collar and lapel extending below the front sides of the collar providing a central opening between the lapels.
Suit jackets.
Illustrative example of subject matter classified in this group.

Attention is drawn to the following places, which may be of interest for search:
This place covers:
T-shirts, vests with or without sleeves, jerseys and sweaters.
Illustrative examples of subject matter classified in this group.


This place covers:
Also covers details of trouser cuffs.
Illustrative examples of subject matter classified in this group.


For all types of shorts classify in A41D 1/089. For trousers adjusting its length classify in A41D 15/002 and as additional information in A41D 1/06.
For details of hems of trousers classify in A41D 27/24 and as additional information in A41D 1/06.
For protectors of the underedges of trousers classify only in A41D 27/145.
For fastening the trouser cuff to the shoe classify in A41F 17/00 and as additional information in A41D 1/06.
For leggings (leg outer coverings, over trousers) classify in A41D 17/00.
For waist details or expansible/adjustable waist classify also in A41F 9/00 and lower groups.
This place covers:
Illustrative example of subject matter classified in this group.

Attention is drawn to the following places, which may be of interest for search:
Bermuda swimming shorts | |
Underwear panti-hose |
For underwear panti-hose classify in A41B 11/14 and subgroups.
For sportive tights classify in A41D 1/08 and subgroups.
For sportive garments with embedded elastic bands but no compression, classify in A41D 31/18.
For compression tights, elastic trousers with curative purposes consider classification in A61F 13/08.
This place covers:
Illustrative examples of subject matter classified in this group.


This place covers:
Illustrative example of subject matter classified in this group.

Attention is drawn to the following places, which may be of interest for search:
Sports pants with crotch reinforcement (not for cycling, i.e. garment protection) | |
Buttocks protection in sports trousers not for cycling and not at crotch area |
Comprises padding for buttocks protection in cycling shorts.
When reinforcements are used as interface between body and cycling saddle, e.g. for impact or pressure reduction, or for saddle shaped reinforcements, even if the word "cycling" is not used, class only in A41D 1/084, and not in A41D 1/088. For all other crotch area reinforcements in sports trousers, e.g. garment protection, classify only in A41D 1/088.
For buttocks protection in sports trousers not for cycling and not at crotch area, class in A41D 13/0537.
This place covers:
Illustrative example of subject matter classified in this group.

Attention is drawn to the following places, which may be of interest for search:
Riding equipment or accessories | |
Saddling equipment |
This place covers:
Comprises sports trousers with crotch area reinforcements, i.e. garment protection.
Illustrative example of subject matter classified in this group.

Attention is drawn to the following places, which may be of interest for search:
Cycling trousers (with saddle reinforcements and padding) | |
Buttocks protection in sports trousers not for cycling and not at crotch area | |
Protectors for clothing, not in crotch area of sports trousers |
When reinforcements are used as interface between body and cycling saddle, e.g. for impact or pressure reduction, or for saddle shaped reinforcements, even if the word "cycling" is not used, classify only in A41D 1/084, and not in A41D 1/088. For all other crotch area reinforcements in sports trousers e.g. garment protection, classify only in A41D 1/088.
For buttocks protection in sports trousers not for cycling and not at crotch area, classify in A41D 13/0537.
For clothing protection, i.e. patches avoiding wear and tear, not in crotch area of sports trousers, classify in A41D 27/12.
Attention is drawn to the following places, which may be of interest for search:
Bathing drawers or trunks |
This place covers:
Illustrative examples of subject matter classified in this group.


In this place, the following terms or expressions are used with the meaning indicated:
Crease | the line or mark produced on the surface of anything by folding; a furrow in a surface, such as is caused by folding; a fold, wrinkle, ridge, specifically in trousers. |
This place covers:
Illustrative example of subject matter classified in this group.

In this place, the following terms or expressions are used with the meaning indicated:
Bandy legs | curved laterally with the concavity inward |
This place covers:
Illustrative example of subject matter classified in this group.

This place covers:
Illustrative example of subject matter classified in this group.

In this place, the following terms or expressions are used with the meaning indicated:
Crinoline | a stiffened petticoat or underskirt made with a stiff fabric comprising a weft of horsehair and a warp of cotton or linen thread or an imitation fabric made of stiffened muslin or other material, designed to support the skirts of a woman's dress. |
Hooped skirt | stiffened or expanded by hoops of whalebone, cane etc. |
This place covers:
Upper body garments with features specifically meant for women.
Illustrative examples of subject matter classified in this group.


This place covers:
Illustrative examples of subject matter classified in this group.

Attention is drawn to the following places, which may be of interest for search:
Maternity corsets |
This place covers:
Illustrative example of subject matter classified in this group.

Comprises also other clothes worn by infant carer, i.e. stimulating baby
Attention is drawn to the following places, which may be of interest for search:
Baby-carriers | |
Infant toys | |
Educational appliances |
This place covers:
Comprises dresses and cleavage covers.
Illustrative example of subject matter classified in this group.
Cleavage cover


This place covers:
Outer jackets.
Illustrative examples of subject matter classified in this group.

Attention is drawn to the following places, which may be of interest for search:
Suit jackets | |
Non-outerwear vests | |
Garments for children | |
Professional, industrial or sporting protective garments | |
Hoods attachable to clothing |
References A41D 5/00, A41D 11/00 and A41D 13/00 are non-limiting in the group A41D 3/00. CPC will be updated/corrected once this inconsistency is resolved in IPC.
This place covers:
Illustrative example of subject matter classified in this group.

This place covers:
Illustrative example of subject matter classified in this group.

This place covers:
Illustrative example of subject matter classified in this group.

Attention is drawn to the following places, which may be of interest for search:
Leggings, rain protectors for legs alone |
This place covers:
Illustrative example of subject matter classified in this group.

Attention is drawn to the following places, which may be of interest for search:
Cover for sitting person |
This place covers:
Illustrative examples of subject matter classified in this group.

Attention is drawn to the following places, which may be of interest for search:
Making garments from natural or artificial fur | |
Making articles from leather | |
Manufacture and treatment of leather | |
Artificial leather |
This place covers:
Illustrative example of subject matter classified in this group.

This place covers:
Illustrative example of subject matter classified in this group.

This place covers:
Illustrative examples of subject matter classified in this group.


Attention is drawn to the following places, which may be of interest for search:
Bathing caps |
This place covers:
Swimwear having an insert, attachment or feature which enables floating or prevents sinking, such as a buoyant foam element.
Illustrative example of subject matter classified in this group.

This place does not cover:
Life-saving equipment in water |
This place covers:
Illustrative example of subject matter classified in this group.

This place covers:
Comprises bermuda swimming shorts.
Illustrative example of subject matter classified in this group.

This place does not cover:
Non-sinkable swim-suits, drawers or trunks |
Attention is drawn to the following places, which may be of interest for search:
Shorts |
This place covers:
Illustrative example of subject matter classified in this group.

Attention is drawn to the following places, which may be of interest for search:
UV or other ranges of light protection | |
UV or other ranges of light permeability | |
Umbrellas | |
Topical barriers, i.e. suncreams | |
Radiation therapy | |
Fiber treatment | |
Dyeing textiles | |
Outdoor fabrics for tents | |
Sun-shades | |
Tents | |
Filters with dyes |
This place covers:
Illustrative example of subject matter classified in this group.


Attention is drawn to the following places, which may be of interest for search:
Towels, body-drying implements |
This place covers:
Sleeping-bags with the shape of a garment used as pyjamas for adults.
Illustrative examples of subject matter classified in this group.


Always consider classification of sleeping-bags in group A47G 9/08.
Attention is drawn to the following places, which may be of interest for search:
Sleeping-bags with the shape of a garment used as pyjamas for babies |
This place covers:
Illustrative example of subject matter classified in this group.

Attention is drawn to the following places, which may be of interest for search:
Baby Linen | |
Height measuring | |
Babies' nappies or holders therefore |
This place does not cover:
Helmets | |
Clothing affording protection against chemical agents or for use at high altitudes | |
Fire-fighters' clothes | |
ABC suits (against chemical/ biological/ toxic environment) | |
Life-saving garments for use at sea, diving suits | |
Bulletproof or armoured clothing | |
Bulletproof vest | |
Camouflage flexible covers, screens, nets | |
Clothing affording protection against radiation | |
Clothing protecting against X radiations |
Attention is drawn to the following places, which may be of interest for search:
Materials for clothing protecting against harmful chemical agents |
Comprises protective clothing having camouflage pattern.
For materials of protective clothing having camouflage pattern class in A41D 31/04.
Looping references between A41D 13/00 and A62B 17/00 have been identified. Until this inconsistency is resolved, the current classification practice in CPC is as follows: for clothing affording protection against chemical agents or for use at high altitudes classify in A62B 17/00 and do not classify in A41D 13/00.
In particular for ABC suits (used to protect against chemical/biological/toxic environment) classify in A62B 17/006 and do not classify in A41D 13/00.
This place covers:
Illustrative examples of subject matter classified in this group.


Comprises sealing attachments between protective garments, also glove and protective garment sealing attachments.
For glove and sleeve attachments without sealing class either in A41D 19/0089 or A41D 19/0041.
This place covers:
Illustrative example of subject matter classified in this group.


This place does not cover:
Safety harnesses |
Attention is drawn to the following places, which may be of interest for search:
Carrying straps | |
Safety harnesses for already walking children | |
Devices for lifting disabled patients | |
Life-saving, parachutes with clothing | |
Parachutes with harnesses |
This place covers:
Illustrative example of subject matter classified in this group.

For layered textiles in garments protecting against insects class only in A41D 13/001.
This place covers:
Illustrative example of subject matter classified in this group.

For professional or protective garments with pockets where the construction of the pocket is relevant per se class in A41D 27/20 and lower groups and as additional information in A41D 13/0012.
For medical staff garments with pockets for holding medical supplies class in A41D 13/12 and in A41D 13/0012.
This place covers:
Illustrative example of subject matter classified in this group.
Figure 1.

Attention is drawn to the following places, which may be of interest for search:
Sportive tights | |
Professional or sportive protective overalls | |
Elastic materials in outerwear | |
Layered elastic materials in outerwear | |
Underwear panti-hose /body stocking | |
Elastic trousers with curative purposes, compression stockings | |
Elastic bands for exercising muscles | |
Weighted exercise suits | |
Elastic bands for exercising muscles worn on body |
Comprises garments with embedded elastic bands but no compression garments which have a curative or medical effect.
For underwear panti-hose class in A41B 11/14 and lower groups.
For sportive tights class in A41D 1/08 and lower groups.
For underwear body stockings class in A41B 11/14.
For professional or sportive protective overalls class in A41D 13/02.
For sportive garments with embedded elastic bands but no compression class in A41D 13/0015 or A41D 31/18 or A41D 31/185.
For compression stockings forward to A61F 13/08.
This place covers:
Illustrative example of subject matter classified in this group.

This place covers:
Illustrative example of subject matter classified in this group.
- Figure 1.

- Every time there's any kind of ventilation classify in A41D 27/28.
- When ventilation is done transversally (perpendicular) to the fabric: classify only in A41D 27/28.
- When ventilation is done parallel to the fabric (i.e. with channels): classify in A41D 31/14 in addition to A41D 27/28.
- When ventilation is also used to regulate inside conditions (temperature, humidity etc.): to be classified as additional information in A41D 13/002.
- When there are sweat handling or wicking properties, (i.e. sweat transport in ventilation channels): to be classified as additional information in A41D 31/12 or A41D 31/125.
This place covers:
Illustrative example of subject matter classified in this group.

Attention is drawn to the following places, which may be of interest for search:
Furniture ventilated covers | |
Vehicle's seat with ventilation | |
Portable air-conditioner units |
This place covers:
Illustrative example of subject matter classified in this group.

Attention is drawn to the following places, which may be of interest for search:
Heating / Cooling therapy | |
Heating / cooling incorporated in clothing | |
Heat-exchange apparatus (also coolers) with conduits |
This place covers:
Illustrative example of subject matter classified in this group.

Attention is drawn to the following places, which may be of interest for search:
Heating / Cooling therapy | |
Heating / cooling incorporated in clothing | |
Ohmic resist. heating in clothes |
This place covers:
Illustrative examples of subject matter classified in this group.


Attention is drawn to the following places, which may be of interest for search:
Heating / Cooling therapy | |
Heating / cooling incorporated in clothing | |
Heat-exchange apparatus (also coolers) with conduits |
This place covers:
Comprises dry ice, ice packs, gel packs.
Illustrative examples:


Attention is drawn to the following places, which may be of interest for search:
Ice-bags for therapeutic uses | |
Cold exchangers, ice pockets | |
Heat-storage apparatus in general, using latent heat |
This place covers:
Illustrative example of subject matter classified in this group.

Attention is drawn to the following places, which may be of interest for search:
Lightning conductors |
Attention is drawn to the following places, which may be of interest for search:
Lighting signalling worn by driver | |
Lighting with clothing | |
Refracting surfaces | |
Visible signalling arrangements attached on persons, reflective safety belts | |
Indicating arrangements with diodes | |
Illuminated signs | |
Reflective surfaces radiated with aerials/antena |
This place covers:
Illustrative example of subject matter classified in this group.

Attention is drawn to the following places, which may be of interest for search:
Boots with waterproof legs | |
Life-jackets | |
Diving suits |
This place covers:
Illustrative example of subject matter classified in this group.

Attention is drawn to the following places, which may be of interest for search:
Inflatable body suits |
This place covers:
Shock-absorbing means in general, i.e. pads.
Illustrative examples:


If the shock-absorbing is relevant per se, it should also be classified in A41D 13/015.
Protection of body parts not included in the subgroups of A41D 13/05 and protection for several body parts in the same garment, are classified in A41D 13/05.
Attention is drawn to the following places, which may be of interest for search:
Cycling pants (with saddle reinforcements and padding) | |
Protecting only a particular body part | |
Materials of protective garments with shock absorbing means |
Reference A41D 13/05 is non-limiting in the subgroup A41D 13/015. CPC will be updated/corrected once this inconsistency is resolved in IPC.
This place covers:
Comprises also archery protectors in the form of a garment.
Illustrative example:

Attention is drawn to the following places, which may be of interest for search:
Archery | |
Accessories for archery |
When protector is only for the arm, classify in A41D 13/08.
This place covers:
Illustrative example of subject matter classified in this group.

Attention is drawn to the following places, which may be of interest for search:
Backpacks with shoulder straps | |
Airbag triggering | |
Motorcycle safety equipment |
This place covers:
One-piece garments having an upper body portion (e.g. short or long sleeve top, bib secured by shoulder straps, etc.) and a lower body portion (e.g. pants, shorts, etc.).
Illustrative example of subject matter classified in this group.

Sportive garments with embedded elastic bands but no compression are classified in groups A41D 13/0015 or A41D 31/18 or A41D 31/185.
This place does not cover:
Sweating suits |
Attention is drawn to the following places, which may be of interest for search:
Patient suits | |
Drop-seat openings (donning facilities). | |
Underwear body stockings | |
Baby overalls | |
Compression tights, elastic garments with curative purposes | |
Flight suits | |
Packaging for clothing |
This place covers:
Illustrative example of subject matter classified in this group.

Attention is drawn to the following places, which may be of interest for search:
Toilet/cosmetic protecting mantles, shoulder-shields, bibs (hairdresser) | |
Napkins attachable to clothing | |
Napkin with separate holding devices | |
Lap trays | |
Surgical drapes |
When protection is for children/babies, class in bibs A41B 13/10. When protection is for adults, class in aprons A41D 13/04.
For protectors of neckties class in A41D 25/00.
This place covers:
Illustrative example of subject matter classified in this group.

Attention is drawn to the following places, which may be of interest for search:
Armour plate constructions |
This place covers:
Illustrative example of subject matter classified in this group.

This place covers:
Illustrative example of subject matter classified in this group.
Figure 1.

Figure 2.

Figure 3.

This place does not cover:
Ear protectors |
Attention is drawn to the following places, which may be of interest for search:
Sports brassières | |
Helmets with chin protectors integrated | |
Hearing and cold protectors for the ear (internal & external) | |
Body protectors for players / sports |
Even if A41D 13/05 takes precedence over A41D 13/015, if the shock-absorbing is relevant per se it should also be classed in A41D 13/015.
Comprises protection of body parts not included in the subgroups of A41D 13/05 and protection for several body parts in the same garment.
Comprises external impact protection for the ears.
For shock-absorbing means in general, i.e. pads, class in A41D 13/015.
For materials of protective garments with shock absorbing means class in A41D 31/28 and lower group.
When protection is for clothing and not for body part, class in A41D 13/04 or A41D 27/12
This place covers:
Comprises groin, genitalia area.
Illustrative example:

Includes hip shock-absorbing / protection pads, not shaping pads. For hip shaping pads classify in A41D 27/26.
This place covers:
Illustrative example of subject matter classified in this group.

This place covers:
Illustrative example of subject matter classified in this group.

This place covers:
Illustrative example of subject matter classified in this group.

This place covers:
Illustrative example of subject matter classified in this group.

Attention is drawn to the following places, which may be of interest for search:
Back strengthening devices (orthopaedic corsets) |
This place covers:
Illustrative example of subject matter classified in this group.

This place does not cover:
Cycling pants (with saddle reinforcements & padding) | |
Sports pants with crotch reinforcement (not for cycling, i.e. garment protection) |
Comprises buttocks protection in sports trousers not for cycling and not at crotch area.
When reinforcements are used as interface between body and cycling saddle, e.g. for impact or pressure reduction, or for saddle shaped reinforcements, even if the word "cycling" is not used, class only in A41D 1/084, and not in A41D 1/088. For all other crotch area reinforcements in sports trousers, e.g. garment protection, classify only in A41D 1/088.
This place covers:
Illustrative example of subject matter classified in this group.

This place does not cover:
Leggings | |
Protectors for clothing | |
Mending garments by adhesives or adhesive patches |
For protection of trousers from rain, soiling with leggings class in A41D 17/02.
For clothing protection, i.e. patches avoiding wear & tear, class in A41D 27/12.
For mending garments by adhesive or adhesive patches, class in A41H 27/00.
This place covers:
Illustrative example of subject matter classified in this group.

Socks with protection for the feet should be classified in A41B 11/02 and as additional information in A41D 13/06.
This place covers:
Illustrative example of subject matter classified in this group.

Attention is drawn to the following places, which may be of interest for search:
Kneelers, prayer supports |
This place covers:
Illustrative examples of subject matter classified in this group.


Attention is drawn to the following places, which may be of interest for search:
Orthopaedic devices for arm / hand / finger | |
Elbow protectors for sportsmen |
This place covers:
Comprises partial covering of hand.
Illustrative example:

Attention is drawn to the following places, which may be of interest for search:
Orthopaedic devices for arm / hand / finger | |
Guards for hand cutting tools | |
Data gloves | |
Capacitive touch screens |
For complete covering of hand with fingers class in A41D 19/00 and lower classes (gloves).
This place covers:
Illustrative example of subject matter classified in this group.

Attention is drawn to the following places, which may be of interest for search:
Palm protectors for hand sewing |
This place covers:
Illustrative example of subject matter classified in this group.

This place covers:
Illustrative example of subject matter classified in this group.

This place covers:
Illustrative example of subject matter classified in this group.

Attention is drawn to the following places, which may be of interest for search:
Manicuring implements | |
Orthopaedic devices for fingers | |
Devices for preventing finger-sucking | |
Nail protectors, finger stalls | |
Leaf turners | |
Thimbles, finger shields, protectors for hand sewing | |
Finger worn pointing device | |
Pointing devices | |
Mobile pen-type handsets | |
Facilitating the use of keys in mobile devices |
This place covers:
Illustrative example of subject matter classified in this group.

Attention is drawn to the following places, which may be of interest for search:
Orthopaedic devices for arm / hand / finger | |
Bandages for supporting wrist |
This place covers:
Illustrative examples of subject matter classified in this group.


Attention is drawn to the following places, which may be of interest for search:
Masks or dominoes for concealing identity, e.g. for theatrical use | |
Masks for cosmetic treatment of the face | |
Ear, face or lip protectors (cosmetics) | |
Hearing and cold protectors for the ear | |
Masks for respiratory patient treatment | |
Respiratory apparatus (with filters) | |
Masks protecting chemical agents or high altitude | |
Filters for breathing protection purposes (with shape of mask) | |
Nose filters | |
Filter Cloth material |
When mask protects against splashes/liquids, dust or exterior impact, classify in A41D 13/11 and lower groups.
When filtering or respiratory protection of the mask is relevant, classify in A62B 23/025.
When both kind of protection are specified, both classes should be given in A41D 13/11 and A62B 23/025.
This place covers:
Illustrative example of subject matter classified in this group.

This place covers:
Illustrative example of subject matter classified in this group.

This place covers:
Illustrative example of subject matter classified in this group.

This place covers:
Illustrative example of subject matter classified in this group.

This place covers:
Illustrative example of subject matter classified in this group.

This place covers:
Illustrative example of subject matter classified in this group.

This place covers:
Illustrative example of subject matter classified in this group.

This place covers:
Illustrative example of subject matter classified in this group.

This place covers:
Illustrative example of subject matter classified in this group.

This place covers:
Illustrative example of subject matter classified in this group.

Attention is drawn to the following places, which may be of interest for search:
Eye-masks |
This place covers:
Comprises garments for medical staff other than surgeons, i. e. nursing personel. Illustrative examples:


This place does not cover:
Surgeon's gowns or dresses |
For medical staff garments with pockets for holding medical supplies classify here and in A41D 13/0012.
This place covers:
Illustrative example of subject matter classified in this group.

This place covers:
Illustrative example of subject matter classified in this group.

Attention is drawn to the following places, which may be of interest for search:
Insulin pumps portable on the body |
Comprises gown shapes.
This place covers:
Illustrative example of subject matter classified in this group.

This place covers:
Illustrative example of subject matter classified in this group.

This place does not cover:
Hip shock-absorbing pads |
Attention is drawn to the following places, which may be of interest for search:
Devices worn by the patient for reception of bodily fluids |
This place covers:
Illustrative example of subject matter classified in this group.

Attention is drawn to the following places, which may be of interest for search:
Underwear body stockings | |
Patient restraining devices |
Comprises pants and shirt shape
This place covers:
Illustrative example of subject matter classified in this group.

This place covers:
The garment construction to hold means for medical monitoring. Illustrative example:

When the special means for medical monitoring are relevant per se, consider classification in A61B 5/00.
Attention is drawn to the following places, which may be of interest for search:
Diagnosis by temperature mapping of body parts | |
Detecting heart/pulse rate for diagnostic purposes, worn by patient | |
Marking methods by using thermochromic compounds, liquid crystals | |
Tenebrescent material (darkening or bleaching due to change of wavelengths) i.e. crystals lenses | |
Dyeing with phototropic dyes | |
Photometry, using change in colour | |
Supports for thermometers | |
Measuring temperature upon physical/ chemical changes, change of colour |
This place covers:
Illustrative example of subject matter classified in this group.

This place covers:
Illustrative example of subject matter classified in this group.


Attention is drawn to the following places, which may be of interest for search:
Adjusting sleeve lengths |
For pants adjusting its length class in A41D 15/002 and A41D 1/06.
This place covers:
Illustrative example of subject matter classified in this group.

This place covers:
Illustrative example of subject matter classified in this group.

This place covers:
Illustrative example of subject matter classified in this group.

This place covers:
Illustrative example of subject matter classified in this group.

Attention is drawn to the following places, which may be of interest for search:
For travelling or camp articles | |
Travelling/sleeping rugs convertible into robes |
This place covers:
Illustrative example of subject matter classified in this group.

Attention is drawn to the following places, which may be of interest for search:
Stockings without foot parts | |
Overshoes | |
Overshoes for sporting purposes |
When worn under garments or shoes, class in stockings without foot parts A41B 11/08.
When worn over garments and/or shoes, class in Gaiters/Spats A41D 17/00 and lower groups.
In this place, the following terms or expressions are used with the meaning indicated:
Gaiter | a covering of cloth, leather, etc. for the ankle, or ankle and lower leg. |
Spat | a short gaiter worn over the instep and reaching only a little way above the ankle, usually fastened under the foot by means of a strap. |
This place covers:
Illustrative example of subject matter classified in this group.

Attention is drawn to the following places, which may be of interest for search:
Straps on the lower end of legs of trousers for holding-down | |
Overshoes | |
Overshoes for sporting purposes |
This place covers:
Lower body over garments with or without seats for protecting a garment worn underneath, also referred to as chaps.
Illustrative examples:


Attention is drawn to the following places, which may be of interest for search:
Outerwear tights | |
Outerwear sportive tights | |
Raincoats with leg protecting means | |
Panti-hose (underwear tights) |
In this place, the following terms or expressions are used with the meaning indicated:
Legging | Lower body overgarment with or without seats for protecting a garment worn underneath, also referred to as chaps |
This place covers:
Illustrative example of subject matter classified in this group.

In this place, the following terms or expressions are used with the meaning indicated:
Puttee | a long strip of cloth or leather wound spirally round the leg from the ankle to the knee and worn by soldiers, walkers, etc., for protection and support in rough terrain. |
This place covers:
Comprises complete covering of hand with fingers.
Illustrative examples:


Attention is drawn to the following places, which may be of interest for search:
Glove for curing / therapy | |
Gloves delivering cosmetics | |
Yarns (for gloves) | |
Knitting gloves |
For partial covering or protection of hand class in A41D 13/081 (hand protectors).
For seams of gloves, where the seam is not relevant, class additionally in A41D 2300/50 or A41D 2300/52.
For seams in general, class in A41D 27/24 or A41D 27/245
This place covers:
Illustrative example of subject matter classified in this group.

This place covers:
Illustrative example of subject matter classified in this group.

This place covers:
Illustrative examples of subject matter classified in this group.


This place covers:
Illustrative example of subject matter classified in this group.

This place covers:
Illustrative example of subject matter classified in this group.

This place covers:
Illustrative example of subject matter classified in this group.

Attention is drawn to the following places, which may be of interest for search:
Devices for massage | |
Finger worn pointing device | |
Data gloves | |
Pointing devices | |
Capacitive touch screens | |
Mobile pen-type handsets | |
Facilitating the use of keys in mobile devices |
This place covers:
Illustrative example of subject matter classified in this group.

This place does not cover:
Fixation of watch cases on items of clothing |
This place covers:
Illustrative example of subject matter classified in this group.

This place covers:
Illustrative example of subject matter classified in this group.

For fastening glove in cuff area (but not to another garment), class only in A41F 1/06 .
For fastening glove in other area, class only in A41F 1/06. For fastening glove to another garment class in A41D 19/0041 or A41D 19/0089.
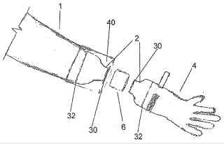
For sealing attachments of glove and sleeve from protective garment class in A41D 13/0005
This place covers:
Illustrative example of subject matter classified in this group.

This place covers:
Illustrative example of subject matter classified in this group.

For fastening glove in cuff area (but not to another garment), classify only in A41F 1/06.
For fastening glove in other area, classify only in A41F 1/06.
For fastening glove to another garment classify in A41D 19/0041 or A41D 19/0089.
For sealing attachments of glove and sleeve from protective garment classify in A41D 13/0005.
This place covers:
Illustrative example of subject matter classified in this group.

For fastening glove in cuff area (but not to another garment), class only in A41F 1/06 .
For fastening glove in other area, class only in A41F 1/06. For fastening glove to another garment class in A41D 19/0041 or A41D 19/0089.
For attachments of glove and sleeve from protective garment with sealing class in A41D 13/0005.
This place covers:
Illustrative example of subject matter classified in this group.

Attention is drawn to the following places, which may be of interest for search:
Glove dispensers in surgery / diagnosis | |
Surgery instruments detector | |
Gloves delivering cosmetics | |
Dipping process | |
Shaping by coating a mould | |
Encapsulating inserts in plastic | |
Producing gloves from plastics | |
Dispensing flat articles | |
Reinforced macromolecular compounds | |
Coating shaped articles | |
Magnet detectable rubber gloves | |
Latex compounds | |
Oilcloth obtained by covering fibrous webs with rubber, PU | |
Safety control of machines | |
Tags for object detection | |
Alarms, ferromagnetic tags |
This place covers:
Illustrative example of subject matter classified in this group.

This place covers:
Illustrative example of subject matter classified in this group.

This place covers:
Illustrative example of subject matter classified in this group.


This place covers:
Illustrative example of subject matter classified in this group.

Attention is drawn to the following places, which may be of interest for search:
Sanitary / disposable caps (food / hospital) |
This place covers:
Illustrative example of subject matter classified in this group.

This place covers:
Illustrative example of subject matter classified in this group.

Attention is drawn to the following places, which may be of interest for search:
Hand implements for removing excrements |
This place covers:
Illustrative example of subject matter classified in this group.

This place covers:
Illustrative example of subject matter classified in this group.

This place covers:
Illustrative example of subject matter classified in this group.

This place covers:
Illustrative example of subject matter classified in this group.

For fastening glove in cuff area (but not to another garment), classify only in A41F 1/06.
For fastening glove in other area, classify only in A41F 1/06.
For fastening glove to another garment class in A41D 19/0041 or here (A41D 19/0089).
For sealing attachments of glove and sleeve from protective garment class in A41D 13/0005.
This place covers:
Illustrative example of subject matter classified in this group.

Attention is drawn to the following places, which may be of interest for search:
Devices to assist donning of gloves | |
Glove hooks on walls |
This place covers:
Illustrative example of subject matter classified in this group.

This place covers:
Illustrative example of subject matter classified in this group.

Attention is drawn to the following places, which may be of interest for search:
Kitchen pot holders |
This place covers:
Illustrative example of subject matter classified in this group.

This place covers:
Illustrative examples of subject matter classified in this group.


This place covers:
Illustrative example of subject matter classified in this group.

Attention is drawn to the following places, which may be of interest for search:
Armour plate constructions |
This place covers:
Illustrative examples of subject matter classified in this group.


This place covers:
Illustrative example of subject matter classified in this group.

This place covers:
Illustrative examples of subject matter classified in this group.


This place covers:
Illustrative examples of subject matter classified in this group.

Attention is drawn to the following places, which may be of interest for search:
Heating / cooling therapy of human body | |
Hand heating / cooling | |
Heating / cooling incorporated in clothing | |
Ohmic-resist. heating in clothes |
This place covers:
Illustrative example of subject matter classified in this group.

Attention is drawn to the following places, which may be of interest for search:
Heating / cooling therapy of human body | |
Hand heating / cooling | |
Heating / cooling incorporated in clothing |
This place covers:
Illustrative examples of subject matter classified in this group.


This place covers:
Illustrative example of subject matter classified in this group.

This place covers:
Illustrative example of subject matter classified in this group.

This place covers:
Illustrative example of subject matter classified in this group.

This place covers:
Illustrative example of subject matter classified in this group.

Attention is drawn to the following places, which may be of interest for search:
Lighting signalling worn by driver | |
Structural combinations of lighting devices with clothing, gloves | |
Structural combination of light devices with fire-fighting equipment | |
Refracting surfaces | |
Visible signalling arrangements attached on persons, reflective safety belts | |
Indicating arrangements with diodes | |
Illuminated signs |
Reflective means include mirrors.
This place covers:
Illustrative examples of subject matter classified in this group.


Attention is drawn to the following places, which may be of interest for search:
Orthopaedic devices for fingers |
This place covers:
Illustrative examples of subject matter classified in this group.


This place covers:
Illustrative example of subject matter classified in this group.

This place covers:
Illustrative example of subject matter classified in this group.

This place covers:
Illustrative example of subject matter classified in this group.

This place covers:
Illustrative example of subject matter classified in this group.


This place covers:
Illustrative example of subject matter classified in this group.

Attention is drawn to the following places, which may be of interest for search:
Measuring instruments |
This place covers:
Illustrative example of subject matter classified in this group.

Attention is drawn to the following places, which may be of interest for search:
Hat fittings | |
Towels, body-drying implements |
For exterior protection on arm to use as handkerchief, class in A41D 27/12 and as additional information in A41B 15/00.
If it has the shape of an armband, class additionally in A41D 20/00.
This place covers:
Illustrative example of subject matter classified in this group.

Attention is drawn to the following places, which may be of interest for search:
Soft caps, turbans | |
Bonnets | |
Veils |
This place covers:
Illustrative examples of subject matter classified in this group.


Attention is drawn to the following places, which may be of interest for search:
Decorative bow structures |
Comprises ascot ties, bow ties and cravates.
Comprises protectors of neckties.
This place covers:
Illustrative example of subject matter classified in this group.

This place covers:
Illustrative example of subject matter classified in this group.

Attention is drawn to the following places, which may be of interest for search:
Shirt collars with supports for neckties |
This place covers:
Illustrative example of subject matter classified in this group.

This place covers:
Illustrative example of subject matter classified in this group.

This place covers:
Illustrative examples of subject matter classified in this group.


This place covers:
Illustrative example of subject matter classified in this group.

Attention is drawn to the following places, which may be of interest for search:
Shirt collars with supports for neckties |
This place covers:
Illustrative example of subject matter classified in this group.

This place covers:
Illustrative examples of subject matter classified in this group.


This place covers:
Illustrative example of subject matter classified in this group.

This place covers:
Illustrative example of subject matter classified in this group.

This place covers:
Illustrative example of subject matter classified in this group.

Attention is drawn to the following places, which may be of interest for search:
Shirt collars with supports for neckties |
This place covers:
Illustrative example of subject matter classified in this group.

This place covers:
Illustrative example of subject matter classified in this group.

This place covers:
Illustrative example of subject matter classified in this group.

This place covers:
Illustrative example of subject matter classified in this group.

This place covers:
Illustrative example of subject matter classified in this group.

This place covers:
Illustrative example of subject matter classified in this group.

Attention is drawn to the following places, which may be of interest for search:
Brooches (Decorative ornament or jewellery to be fastened on clothing) | |
Printing imitating patterns | |
Decoration of surfaces | |
Decoration of surfaces by etching | |
Processes for producing special ornamental bodies | |
Decoration with light effects, holograms | |
Imitation of artists work | |
Labelling fabrics | |
Mechanical ornamentation of leather | |
Decorative bow structures | |
Embroidery | |
Decorating textiles | |
Decorating textiles with glass beads or other particulate material | |
Etching with laser for patterning surfaces | |
Labels/ identification means | |
Signs | |
Mobile advertising by a carrier person / animal | |
Fixed on clothing |
This place covers:
Illustrative example of subject matter classified in this group.

Attention is drawn to the following places, which may be of interest for search:
Decoration with light effects, holograms | |
Lighting with clothing | |
Indicating arrangements with diodes | |
Illuminated signs, luminous advertising being electroluminescent | |
Circuits for light sources, controlling |
Light emitting electronic textiles classed & treated in G09F 13/22, G09F 9/33
This place covers:
Illustrative examples of subject matter classified in this group.


This place covers:
Protection of interior of clothing, usually for absorbing sweat.
Protection of exterior of clothing, i.e. patches avoiding wear and tear.
Illustrative example of subject matter classified in this group.

Mending of garments by adhesive or adhesive patches is classified as additional invention in group A41H 27/00.
Exterior protections on arm to use as handkerchief are classified in groups A41D 27/12 and A41B 15/00.
Protection for e.g. from impacts for a particular body part, are classified in A41D 13/05, knee protectors are classified in A41D 13/065.
Attention is drawn to the following places, which may be of interest for search:
Sports pants with crotch reinforcement (not for cycling, i.e. garment protection) | |
Protecting exterior front part from getting dirty for adults | |
Protection of trousers from rain, soiling with leggings | |
Protectors of neckties | |
Protectors for shirt collars | |
Protectors for shirt cuffs | |
Protective undergarments, when protection done by textile only | |
Protecting exterior front part from getting dirty for children/babies | |
Mending garments by adhesives or adhesive patches | |
Toilet/cosmetic protecting mantles, shoulder-shields, bibs (hairdresser) | |
Napkins attachable to clothing | |
Napkin with separate holding devices | |
Lap trays | |
Surgical drapes |
This place covers:
Separate under-arm shields for underwear or outerwear, usually for absorbing sweat.
Illustrative example of subject matter classified in this group.

Textile protective undergarments and underwear having integral sweat/odor protection means are to be classified in A41B 9/12.
Attention is drawn to the following places, which may be of interest for search:
Absorbent pads for breast / torso | |
Absorbent pads attaching to the body | |
Body deodorants | |
Textiles containing perfume or deodorants |
This place covers:
Illustrative example of subject matter classified in this group.

This place covers:
Piping edges (clothing having trimming stitched in seams or along edges).
Illustrative example of subject matter classified in this group.

This place covers:
Comprises protectors for collars of outerwear, not of shirts.
Illustrative example of subject matter classified in this group shown as an outdoor jacket having a detachable collar covering:

Attention is drawn to the following places, which may be of interest for search:
This place covers:
Illustrative example of subject matter classified in this group.

This place covers:
Illustrative example of subject matter classified in this group.

For professional or protective garments with pockets where the construction of the pocket is relevant per se classify in A41D 27/20 and lower groups and in A41D 13/0012.
For medical staff garments with pockets for holding medical supplies classify in A41D 13/12 and in A41D 13/0012.
This place covers:
Illustrative example of subject matter classified in this group.

This place covers:
Illustrative example of subject matter classified in this group.

This place covers:
Illustrative example of subject matter classified in this group.

This place covers:
Illustrative example of subject matter classified in this group.

Attention is drawn to the following places, which may be of interest for search:
Show hangers | |
Clothes hangers |
This place covers:
Illustrative example of subject matter classified in this group.

Attention is drawn to the following places, which may be of interest for search:
Treating selvedges or other edges | |
Seaming textiles |
Comprises stitch, when stitch and weld combined it should be classed in A41D 27/24 and A41D 27/245.
For methods of joining or sewing machines with adhesive without thread, always consult/forward to B29C 65/00.
For seams of gloves, where the seam is not relevant, class in A41D 2300/50 or A41D 2300/52.
For details of hems of trousers class in A41D 27/24 and A41D 1/06.
This place covers:
Illustrative example of subject matter classified in this group.

Attention is drawn to the following places, which may be of interest for search:
Mending garments by adhesives or adhesive patches | |
Methods of joining or sewing machines with adhesive without thread | |
Joining of performed parts | |
Ultrasonic welding | |
Welding & severing by ultrasonic vibrations | |
Applying adhesive | |
Layered products using adhesive | |
Laminating using adhesive | |
Forming selvedges by adhesion | |
Thermal or chemical fixing of seams, hems and cuttings |
When stitch and weld combined it should be classed in A41D 27/24 and A41D 27/245.
For methods of joining or sewing machines with adhesive without thread, always consult/forward to B29C 65/00.
For seams of gloves, where the seam is not relevant, class in A41D 2300/50 or A41D 2300/52.
For methods of joining garment parts or blanks by gluing or welding, class also in A41H 43/04.
This place covers:
Illustrative examples of subject matter classified in this group.


Attention is drawn to the following places, which may be of interest for search:
Shoulder cushioning attachments for shoulder straps |
Includes only shaping pads, not protection pads.
For hip shock-absorbing / protection pads, refer to A41D 13/0506 and A41D 13/015.
This place covers:
Illustrative examples of subject matter classified in this group.
Figure 1.

Figure 2.

Attention is drawn to the following places, which may be of interest for search:
Ventilation in shoes |
In cases of ventilation without fans (or forced air circulation) of an outside garment:
- Everytime there's any kind of ventilation: A41D 27/28.
- When ventilation is done transversally (perpendicular) to the fabric: A41D 27/28 alone.
- When ventilation is done parallel to the fabric, i.e. with channels: A41D 31/14 or A41D 31/145 combined with A41D 27/28.
- When ventilation is also used to regulate inside conditions (temperature, humidity etc) : add Indexing Code A41D 13/002.
- When there are sweat handling or wicking properties, i.e. sweat transport in ventilation channels: add A41D 31/12 or A41D 31/125.
This place covers:
Illustrative example of subject matter classified in this group.

When the material aspects such as compositions used and/or construction (layered, woven, non-woven, knitted, etc.) are inventive and the structure of the garment per se is not inventive, classify in the respective material scheme(s) (e.g. D03D, D04H, B32B, etc.) and use D10B 2501/00, B32B 2437/00, D04B 1/24 and/or subgroups thereof to designate the use or application of the material in articles of apparel.
Attention is drawn to the following places, which may be of interest for search:
Composite separation membranes | |
Woven fabrics characterised by material | |
Knitted with synthetic threads | |
Making textile fabrics from fibers | |
Other non-woven fabrics | |
Mechanical treatment on fabrics | |
Coating fibres | |
Textiles containing perfume or deodorants | |
Flexible sheet materials |
For classification in A41D 31/00, the garment's structural configuration (e.g. shape of the trouser, configuration of pocket(s), etc.) must be inventive and thus, be classified elsewhere in A41D 1/00 - A41D 29/00 as well. The material serves to impart a particular function to the garment (e.g. permit a raincoat to be water-resistant or impermeable, prevent electric shock in industrial protective garments, etc.).
This place covers:
Illustrative example of subject matter classified in this group.

This place does not cover:
Layered materials specially adapted for outerwear characterised by special function or use |
Attention is drawn to the following places, which may be of interest for search:
Armoured clothing plate construction |
This place covers:
Illustrative example of subject matter classified in this group.

This place does not cover:
Characterised by special function or use |
Attention is drawn to the following places, which may be of interest for search:
Laminated products with one fibrous layer | |
Two or more fibrous layers | |
Layered products, next to fibrous layer | |
Laminating processes | |
Double or multi-ply fabrics | |
Treating fabrics with fluorine | |
Producing multi-layer textile fabrics |
This place covers:
Materials of protective clothing having camouflage pattern.
Illustrative example of subject matter classified in this group:
Figure 1.

Figure 2.

This place does not cover:
Protective clothing affording protection against heat or harmful chemical agents | |
Materials for clothing protecting against harmful chemical agents |
Attention is drawn to the following places, which may be of interest for search:
Camouflage flexible covers, screens, nets | |
Clothing protecting against X radiations |
For protective clothing having camouflage pattern class in A41D 13/00.
This place covers:
Only thermal protection against cold.
Illustrative example of subject matter classified in this group:
Figure 1.

Figure 2.

Attention is drawn to the following places, which may be of interest for search:
Thermal insulation in general |
Attention is drawn to the following places, which may be of interest for search:
Duvets | |
Pillows | |
Loose filling materials for upholstery | |
Filling of cushions, mattresses | |
Non-woven fabrics formed by filamentary materials | |
Quilting and filling with feathers | |
Treatment of feathers |
This place covers:
Illustrative example of subject matter classified in this group:
Figure 1.

Attention is drawn to the following places, which may be of interest for search:
Fireproof yarns | |
Woven fabrics using heat / flame proof threads | |
Knitted with synthetic threads |
This place covers:
Waterproof/breathable material construction for non-protective garments, i.e. Gore-Tex.
Illustrative example of subject matter classified in this group:
Figure 1.

Figure 2.

This place covers:
Materials having a moisture handling or wicking function.
In cases of ventilation without fans (or forced air circulation) of an outside garment:
- Every time there is any kind of ventilation: A41D 27/28
- When ventilation is done transversally (perpendicular) to the fabric: A41D 27/28 alone
- When ventilation is done parallel to the fabric, i.e. with channels: A41D 31/14 or A41D 31/145 combined with A41D 27/28
- When ventilation is also used to regulate inside conditions (temperature, humidity etc.): add Indexing Code A41D 13/002
- When there are sweat handling or wicking properties, i.e. sweat transport in ventilation channels: add A41D 31/12 or A41D 31/125
Special rules of classification
- In cases of ventilation without fans (or forced air circulation) of an outside garment
- Every time there is any kind of ventilation: A41D 27/28
- When ventilation is done transversally (perpendicular) to the fabric: A41D 27/28 alone
- When ventilation is done parallel to the fabric, i.e. with channels: A41D 31/14 or A41D 31/145 combined with A41D 27/28
- When ventilation is also used to regulate inside conditions (temperature, humidity etc): add Indexing Code A41D 13/002
- When there are sweat handling or wicking properties, i.e. sweat transport in ventilation channels: add A41D 31/12 or A41D 31/125
This place does not cover:
Waterproof and breathable materials for outerwear |
In cases of ventilation without fans (or forced air circulation) of an outside garment:
- Every time there is any kind of ventilation: A41D 27/28
- When ventilation is done transversally (perpendicular) to the fabric: A41D 27/28 alone
- When ventilation is done parallel to the fabric, i.e. with channels: A41D 31/14 or A41D 31/145 combined with A41D 27/28
- When ventilation is also used to regulate inside conditions (temperature, humidity etc): add Indexing Code A41D 13/002.
- When there are sweat handling or wicking properties, i.e. sweat transport in ventilation channels: add A41D 31/12 or A41D 31/125
This place does not cover:
Aprons resistant to mechanical aggressions |
Attention is drawn to the following places, which may be of interest for search:
Cut resistant yarns | |
Armoured clothing plate construction |
Also contains abrasion resistant materials
Attention is drawn to the following places, which may be of interest for search:
Anti-static materials |
Attention is drawn to the following places, which may be of interest for search:
Cushioning for helmets | |
Cushions in bicycle seats | |
Loose filling materials for upholstery | |
Chemical aspects of damping compositions | |
Springs, dampers | |
Shock absorbers | |
Protective helmets (bulletproof) |
Comprises materials of protective garments with shock absorbing means.
For protection of body parts not included in the subgroups of A41D 13/05 and protection for several body parts in the same garment, class in A41D 13/05.
For shock-absorbing means in general, i.e. pads, class in A41D 13/015.
Attention is drawn to the following places, which may be of interest for search:
Anthrax |
For ABC suits (used to protect against chemical/biological/toxic environment) forward to A62B 17/006 and do not class in A41D 13/00.
Attention is drawn to the following places, which may be of interest for search:
Laminates for surgical drapes |
This place covers:
Reflective materials of electromagnetic waves, protecting against them.
Attention is drawn to the following places, which may be of interest for search:
Methods producing reflective surfaces |
This place covers:
Illustrative example of subject matter classified in this group.


Attention is drawn to the following places, which may be of interest for search:
Soft hoods | |
Hoods attachable to clothing |
This place does not cover drawstrings inside pants which are to be classified in group A41F 9/025.
For seams of gloves, where the seam is not relevant, class additionally in A41D 2300/50 or A41D 2300/52.
For seams in general, class in A41D 27/24 or A41D 27/245.
When stitch and weld combined it should be classed in A41D 27/24 and A41D 27/245.
For methods of joining or sewing machines with adhesive without thread, always consult/forward to B29C 65/00.
For seams of gloves, where the seam is not relevant, class in A41D 2300/50 or A41D 2300/52.
For seams in general, class in A41D 27/24 or A41D 27/245.
Comprises also already inflated sealed structures, i .e. air bubbles
Attention is drawn to the following places, which may be of interest for search:
Flight suits |
For increasing drag or turbulence in air or water, class in A41D 2400/80
Attention is drawn to the following places, which may be of interest for search:
Umbrellas | |
Topical barriers, i.e. suncreams | |
Radiation therapy | |
Fiber treatment | |
Dyeing textiles | |
Outdoor fabrics for tents | |
Sun-shades | |
Tents | |
Filters with dyes |
Comprises also protection for ranges other than UV, i.e. IR
Attention is drawn to the following places, which may be of interest for search:
Umbrellas | |
Topical barriers, i.e. suncreams | |
Radiation therapy | |
Fiber treatment | |
Dyeing textiles | |
Outdoor fabrics for tents | |
Sun-shades | |
Tents | |
Filters with dyes |
Comprises also protection for ranges other than UV, i.e. IR
Attention is drawn to the following places, which may be of interest for search:
Containers for holding perfume | |
Holders for air deodorants | |
Body deodorants | |
Perfumes encapsulated in a carrier | |
Perfumes released by thermal or chemical activation | |
Textiles containing perfume or deodorants |
Comprises drop-seat opening for overalls
This place covers:
A part of the garment is removable from the garment itself.
If the garment has a feature which aids in removability from the wearer, classify in A41D 2400/44.
Comprises function of increasing drag or turbulence in air or water
Attention is drawn to the following places, which may be of interest for search:
Masks/eye protectors for welders | |
Welding protection for head |