CPC Definition - Subclass F16L
This place covers:
- Methods and machines for laying pipes (F16L 1/00);
- Devices to support, fix or hold pipes (F16L 3/00);
- Pipes: conduits of closed cross-section which are specially adapted to convey fluids, material or objects (F16L 9/00 and F16L 11/00);
- Energy and noise absorbers associated with pipes (F16L 55/02-F16L 55/055);
- Means for stopping flow in pipes (F16L 55/10-F16L 55/136);
- Devices for covering leaks in pipes (F16L 55/16-F16L 55/179);
- Pipe pigs primarily for repairing pipes (F16L 55/26-F16L 55/48);
- Protection of pipes against wear, heat, cracking, buckling and corrosion (F16L 57/00 and F16L 58/00);
- Thermal insulation of pipes, or in general, e.g. when no other special application of the insulation is given (F16L 59/00).
Pipes or connections adapted for a specific use are classified in the use field (e.g. medical connectors, microconnectors or vacuum cleaners).
Tubular bodies that are not used to carry fluid, material or objects, e.g. pipes for scaffoldings, or furniture are only classified in the associated field, e.g. scaffoldings (E04G 1/06) or tubular chairs (A47C 3/023, A47C 5/04).
Examples of places where the subject matter of this place is covered when specially adapted, used for a particular purpose, or incorporated in a larger system:
Hoses or pipes for suction cleaners | |
Hose or pipe couplings for suction cleaners | |
Tracheal tubes | |
Joints or connectors for connecting tubes of devices for influencing the respiratory system of patients by gas treatment | |
Connecting tubes of devices for influencing the respiratory system of patients by gas treatment | |
Catheters | |
Medical tubes | |
Medical tube connectors; Medical tube couplings | |
Medical tube multi-channel connectors or couplings | |
Wall-mounted fire hydrant hoses | |
Permanently-installed fire-fighting pipe-line systems | |
Tubes for labware specially adapted for transferring fluids | |
Tube joints or fittings for labware specially adapted for transferring fluids | |
Tube seals for labware specially adapted for transferring fluids | |
Perforated pipes designed to produce a jet, spray or other discharge of particular shape or nature, e.g. in single drops | |
Hose connections for pneumatic tyres | |
Details of ducts of heating, cooling or ventilating devices specially adapted for passenger or goods spaces of vehicles | |
Arrangements of fuel conduits | |
Fastening or routing means for wire harnesses of electric circuits specially adapted for vehicles and not otherwise provided for | |
Arrangement of piping or air hoses for brake systems | |
Adaptations of hose constructions for refuelling aircraft during flight | |
Adaptations of pipes or tubes for conveying materials in bulk, e.g. concrete | |
Flexible pipes or tubes for conveying materials in bulk, e.g. concrete | |
Arrangements of hoses in apparatus or devices for transferring liquids from bulk storage containers or reservoirs into vehicles or into portable containers | |
Arrangements of pipe-lines of apparatus or devices for transferring liquids from bulk storage containers or reservoirs into vehicles or into portable containers | |
Fastening of pipes or cables to bridges | |
Drainage conduits | |
Pipe joints for suction pipes of dredgers | |
Pipe-lines for conveying excavated materials | |
Water main or service pipe systems | |
Domestic plumbing installations for fresh water or waste water | |
Water supply lines, e.g. shower hoses | |
Special adaptations of pipe joints for use with water-closet bowls | |
Means for connecting water-closet bowls to the flushing pipe | |
Pipes or fittings specially adapted to sewers | |
Down pipes for roof drainage; Special clamping means therefor | |
Hoses specially adapted for tools or apparatus for applying mortar | |
Air ducts for ventilation of mines or tunnels; Connections therefor | |
Suspension devices for tubes or the like in mines or tunnels | |
Air intake ducts for internal-combustion engines | |
Conduits, junctions for lubrication systems | |
Water tubes of steam boilers | |
Ducting arrangements for air-conditioning | |
Spray pipes of trickle coolers | |
Heat-pipes for promoting flow of the coolant within the pressure vessel containing the core in nuclear reactors | |
Protective tubing or conduits for electric cables | |
Installations of cables or lines on walls, floors or ceilings | |
Installations of cables or lines in walls, floors or ceilings |
Attention is drawn to the following places, which may be of interest for search:
Watering arrangements making use of perforated pipe-lines located in the soil | |
Fire-fighting hose accessories | |
Fluid circuits specially adapted for vehicles and not otherwise provided for; Arrangement of elements of fluid circuits specially adapted for vehicles and not otherwise provided for | |
Pipe-laying vessels | |
Containers; Connections to containers in general; Straps for supporting articles | |
Dispensing fluids, e.g. filling bottles or cans | |
Apparatus or devices for transferring liquids from bulk storage containers or reservoirs into vehicles or into portable containers using articulated pipes | |
Filling nozzles of apparatus or devices for transferring liquids from bulk storage containers or reservoirs into vehicles or into portable containers | |
Apparatus or devices for transferring liquids when loading or unloading ships using articulated pipes | |
Hand irons internally heated by electricity, with means for supplying steam to the article being ironed, the steam being produced from water supplied to the iron from an external source | |
Quick acting type couplings for dredgers | |
Siphons for water-closets | |
Vertical ducts, channels in buildings, e.g. chimneys | |
Devices for both conveying and distributing fluid concrete with distribution hose | |
Arrangements or adaptations of exhaust conduits | |
Fixing exhaust pipes or pipe sections to each other, to engine or to vehicle body | |
Fixing devices, e.g. hollow screws | |
Valves | |
Arrangement or mounting of valves to gas vessels | |
Pipes of vessels for containing or storing compressed, liquified or solidified gases | |
Pipe-line systems | |
Joints, connections for chimneys or flues | |
Central heating systems; Domestic hot-water supply systems | |
Arrangements for connecting fluid heaters to circulation pipes | |
Heat-exchange apparatus | |
Details of heat-exchange apparatus or heat transfer apparatus, of general application | |
Arrangements for sealing elements into header boxes or end plates of heat-exchangers | |
Structural association of coolant tubes with headers in nuclear reactors |
Classification is not allocated when the features in the document concerning this subclass are obviously of no technical value, or a mere reference (e.g. if in a document it is mentioned that the connection can be also made by gluing, welding, screwing, etc. without further relevant technical information).
Documents mainly concerning the material of the pipe or hose are classified in main groups F16L 9/00 or F16L 11/00.
There is an orthogonal indexing scheme for further details not related to a specific CPC group:
- Uses or applications of pigs or moles F16L 2101/00;
- Special arrangements for pipe couplings F16L 2201/00.
Examples of places where the subject matter of this place is covered when specially adapted, used for a particular purpose, or incorporated in a larger system:
Laying sewer pipes |
Attention is drawn to the following places, which may be of interest for search:
Making special pipe joints | |
Lining of pipes, replacement of damaged part of a pipe, replacing an existing pipe with a new pipe, wherein the old pipe is being ruptured | |
Soldering or welding | |
Pipe laying ships | |
Lifting-gear and load-engaging elements | |
Hydraulic installations or soil drainage | |
Excavations or underwater constructions | |
Machines for digging trenches in combination with pipe-assembly | |
In earth boreholes or wells | |
Tunnelling | |
Laying electric, or combined optical and electric, cables |
This place covers:
Pipes passing over streets or bodies of water
This place covers:
Methods of laying pipes wherein the material which forms the pipe later takes the pipe-shape at the building site, e.g. concrete.
Attention is drawn to the following places, which may be of interest for search:
Pipe laying methods wherein the pipe is made by connecting together short pipe pieces |
Attention is drawn to the following places, which may be of interest for search:
Buoyant hoses | |
Pipe-laying vessels |
This place covers:
protection against fishing, cortex induced vibrations
Attention is drawn to the following places, which may be of interest for search:
Protection of pipes in general |
This place covers:
pipes that stay vertically, for example: riser pipes
This place covers:
e.g.pipe laying methods wherein the pipe segments are joined together on the bottom of the body of water.
Attention is drawn to the following places, which may be of interest for search:
Buoys |
This place covers:
Illustrative example of subject matter classified in this place:

This place covers:
clamping devices holding the pipe during laying
This place covers:
e.g. checking welding seams or coatings just before laying of the pipe
Attention is drawn to the following places, which may be of interest for search:
Floats per se | |
Salvaging sunken vessels or underwater object |
Attention is drawn to the following places, which may be of interest for search:
Buoyant hoses | |
Joints per se | |
Joining pipes to underwater installations |
This place does not cover:
Anchors for holding pipes on or under the ground | |
Noise absorbers in the form of specially adapted hangers or supports | |
Supports for insulated bodies |
Examples of places where the subject matter of this place is covered when specially adapted, used for a particular purpose, or incorporated in a larger system:
Supports for electrical cables |
Attention is drawn to the following places, which may be of interest for search:
Holders for pipes passing through walls or partitions |
This place covers:
Supports for pipes, for supporting or guiding the pipes between relatively movable points, wherein one part of a pipe is fixed and another part of the pipe moves.
Attention is drawn to the following places, which may be of interest for search:
Hauling- or hoisting-chains with arrangements for holding electric cables, hoses or the like |
Attention is drawn to the following places, which may be of interest for search:
Cores for coiled material, e.g. reels, in general |
Attention is drawn to the following places, which may be of interest for search:
Cranes with means for transmitting pneumatic, hydraulic or electric power to movable parts or devices |
Attention is drawn to the following places, which may be of interest for search:
Staples |
This place covers:
Illustrative example of subject matter classified in this place:

This place covers:
Supports for pipes, cables or protective tubing, substantially surrounding the pipe, cable or protective tubing, divided, i.e. with two or more members engaging the pipe, cable or protective tubing.
This place covers:
Illustrative example of subject matter classified in this place:

This place does not cover:
Supports for pipes, cables or protective tubing, substantially surrounding the pipe, cable or protective tubing, divided, i.e. with two members engaging the pipe, cable or protective tubing, with two members engaging the pipe, cable or tubing, the two members being joined only on one side of the pipe |
This place covers:
Illustrative example of subject matter classified in this place:

This place covers:
Illustrative example of subject matter classified in this place:

This place covers:
Supports for pipes, cables, or protective tubing substantially surrounding the pipe, cable or protective tubing with two or more members engaging the pipe, cable or tubing, e.g. pipe clamps made of two parts, the parts being connected on one side and the opposite side stays open.
Illustrative example of subject matter classified in this place:

This place covers:
Illustrative example of subject matter classified in this place:
1a.

1b.

This place covers:
Illustrative example of subject matter classified in this place:

This place covers:
Illustrative example of subject matter classified in this place:

This place covers:
Illustrative example of subject matter classified in this place:

This place covers:
Illustrative example of subject matter classified in this place:

This place covers:
Illustrative example of subject matter classified in this place:

This place covers:
Illustrative example of subject matter classified in this place:

This place covers:
Illustrative example of subject matter classified in this place:

This place covers:
Illustrative example of subject matter classified in this place:

This place covers:
Illustrative example of subject matter classified in this place:

This place covers:
Illustrative example of subject matter classified in this place:

This place covers:
Illustrative example of subject matter classified in this place:

This place covers:
Illustrative example of subject matter classified in this place:

This place covers:
Illustrative example of subject matter classified in this place:

This place covers:
Illustrative example of subject matter classified in this place:

This place covers:
Illustrative example of subject matter classified in this place:

This place covers:
Illustrative example of subject matter classified in this place:

This place does not cover:
Supports comprising a member substantially surrounding the pipe, cable or protective tubing, with a pair of arms moved automatically to closed position by overcenter spring |
This place covers:
Supports for pipe, with special provision allowing the pipe to move locally, e.g. within the support.
This place covers:
Illustrative example of subject matter classified in this place:

This place does not cover:
Movement of the pipes being hydraulically or electrically controlled |
This place covers:
Illustrative example of subject matter classified in this place:

This place covers:
Support for supporting a number of parallel pipes at intervals, wherein the brackets and support are originally two different parts.
Illustrative example of subject matter classified in this place:

This place covers:
Illustrative examples of subject matter classified in this place:
1.

2.

This place covers:
One integral support for all pipes.
Illustrative examples of subject matter classified in this place:
1.

2.

This place does not cover:
Supports for a bundle of pipes or a plurality of pipes placed side by side in contact with each other | |
Supports for two pipes only |
This place covers:
Illustrative example of subject matter classified in this place:

This place covers:
Illustrative example of subject matter classified in this place:

Examples of places where the subject matter of this place is covered when specially adapted, used for a particular purpose, or incorporated in a larger system:
Channels for electric cables formed by wire |
This place covers:
Holders for pipes passing through walls or partitions, the pipe passing from one side of the wall to the other side.
Examples of places where the subject matter of this place is covered when specially adapted, used for a particular purpose, or incorporated in a larger system:
Passing insulated pipes through walls | |
Penetrations of steam boiler water tubes through a wall and their sealing | |
Arrangements for leading electric cables or lines through walls, floors or ceilings |
Attention is drawn to the following places, which may be of interest for search:
Joining pipes to walls | |
Joining plastic pipes to walls | |
Sealing elements into header boxes or end plates of heat-exchangers |
This place does not cover:
Sleeves for supporting pipes, cables or protective tubing, between relatively movable points |
Examples of places where the subject matter of this place is covered when specially adapted, used for a particular purpose, or incorporated in a larger system:
Fixation devices in ducts for drawing cables | |
Installation of electric cables through tubing or conduit |
Attention is drawn to the following places, which may be of interest for search:
Steam boiler tubes |
This place does not cover:
Rigid pipes wound from sheets or strips, with or without reinforcement | |
Rigid pipes obtained by bending a sheet longitudinally and connecting the edges | |
Double-walled pipes; Multi-channel pipes or pipe assemblies | |
Rigid pipes made of sound-absorbing materials or with sound-absorbing structure | |
Rigid pipes composed of a plurality of segments |
Examples of places where the subject matter of this place is covered when specially adapted, used for a particular purpose, or incorporated in a larger system:
Finned pipes for heat exchangers |
Attention is drawn to the following places, which may be of interest for search:
Corrugated flexible pipes |
This place does not cover:
Rigid pipes wound from sheets or strips, with or without reinforcement | |
Rigid pipes obtained by bending a sheet longitudinally and connecting the edges | |
Double-walled pipes; Multi-channel pipes or pipe assemblies | |
Rigid pipes made of sound-absorbing materials or with sound-absorbing structure | |
Rigid pipes composed of a plurality of segments |
Attention is drawn to the following places, which may be of interest for search:
Shaping clay or other ceramic compositions, slag or mixtures containing cementitious material |
Attention is drawn to the following places, which may be of interest for search:
Tubular-shaped layered products, e.g. hoses, pipes | |
Layered products comprising three layers |
Attention is drawn to the following places, which may be of interest for search:
Tubular-shaped layered products, e.g. hoses, pipes | |
Layered products comprising four layers |
Attention is drawn to the following places, which may be of interest for search:
Tubular-shaped layered products, e.g. hoses, pipes | |
Layered products comprising two layers |
Attention is drawn to the following places, which may be of interest for search:
Joints for double-walled pipes or multi-channel pipes or pipe assemblies |
This place covers:
Illustrative example of subject matter classified in this place:

In this place, the following terms or expressions are used with the meaning indicated:
The term "segments" means radial segments, not axial segments.
Examples of places where the subject matter of this place is covered when specially adapted, used for a particular purpose, or incorporated in a larger system:
Attention is drawn to the following places, which may be of interest for search:
Hose-like supports for pipes, cables or protective tubing, between relatively movable points |
This place covers:
Hoses, i.e. flexible pipes, made of fibres or threads, e.g. of textile, which may or may not be impregnated, or provided with an impermeable layer, e.g. fire-hoses.
Attention is drawn to the following places, which may be of interest for search:
Rigid pipes obtained by bending a sheet longitudinally and connecting the edges | |
Covers for the protection of thermal insulation |
This place covers:
e.g. hoses with two layers of helically wound cord or wire
This place covers:
e.g. hoses with three or more layers of helically wound cord or wire
This place covers:
e.g. hoses with three of more braided layers
This place covers:
Corrugated hoses made from elastic material.
Attention is drawn to the following places, which may be of interest for search:
Corrugated hoses wound from strips or bands |
This place covers:
Illustrative example of subject matter classified in this place:

This place covers:
Double-walled hoses, i.e. two concentric hoses.
This place covers:
Non-disconnectable joints between rigid pipes.
This place does not cover:
Non-disconnectable pipe joints to walls or other pipes, the joined pipe axis being perpendicular to the plane of the wall or to the axis of the other pipe | |
Non-disconnectable joints for rigid pipes of plastics |
This place does not cover:
Joints between metal and plastic pipes |
Attention is drawn to the following places, which may be of interest for search:
Joints for pipes of dissimilar materials in general |
Attention is drawn to the following places, which may be of interest for search:
Arc welding of curved planar seams |
Attention is drawn to the following places, which may be of interest for search:
Non-electric welding without the application of heat |
Attention is drawn to the following places, which may be of interest for search:
Arrangements specially adapted for connecting metal hoses to rigid members | |
Soldering metal |
Attention is drawn to the following places, which may be of interest for search:
Adhesive joints for connecting hoses to rigid members |
Attention is drawn to the following places, which may be of interest for search:
Working of metal tubes without essentially removing material |
This place does not cover:
Non-disconnectable pipe joints, made by plastically deforming the material of the pipe, the pipe joint consisting of overlapping extremities having mutually co-operating collars, for screw threaded pipes |
Examples of places where the subject matter of this place is covered when specially adapted, used for a particular purpose, or incorporated in a larger system:
Couplings or joints for setting of expandable casings, screens, liners, or the like, in wells |
Examples of places where the subject matter of this place is covered when specially adapted, used for a particular purpose, or incorporated in a larger system:
Couplings or joints for setting of expandable casings, screens, liners, or the like, in wells |
Examples of places where the subject matter of this place is covered when specially adapted, used for a particular purpose, or incorporated in a larger system:
Screw threaded connections for drilling rods | |
Casing joints used in deep-drilling |
Attention is drawn to the following places, which may be of interest for search:
Hose connections with parts screwed directly on or into the hose | |
Branching pipes; Joining pipes to walls | |
Lubricating compositions | |
Joints sealed primarily by means other than engagement of screw-threads |
This place covers:
Screw-threaded connections with supplementary elements not forming a seal, e.g. additional locking elements.
This place does not cover:
Screw-threaded joints with additional sealings |
Attention is drawn to the following places, which may be of interest for search:
Bends or siphons adapted to make use of special securing means |
Attention is drawn to the following places, which may be of interest for search:
Sealing by fluid pressure for universal joints with partly spherical engaging surfaces | |
Joints allowing adjustment or movement only about the axis of one pipe | |
Joints comprising a flexible connection only | |
Joints allowing substantial longitudinal adjustment or movement | |
Sealing by fluid pressure for hoses | |
Couplings of the quick acting type | |
Expansion-compensation arrangements for pipe-lines | |
Sealings tightened by external pressure, inflatable packings |
This place covers:
Illustrative example of subject matter classified in this place:
1a.

1b.

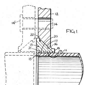
In figures 1a and 1b, note radially directed ribs (46 and 48) of sealing ring (42).
In this place, the following terms or expressions are used with the meaning indicated:
The term "radially directed ribs" also includes ribs which are deformed in an axial direction upon connection.
This place covers:
Illustrative example of subject matter classified in this place:
1a.

1b.

This place covers:
Illustrative example of subject matter classified in this place:
1a.

1b.

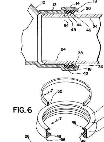
This place covers:
Sealing rings which are an integral part of the pipe, flange or joint, i.e. forming a whole with the pipe, flange or joint.
Illustrative example of subject matter classified in this place:

Sealing member (42) adapted to seal by fluid pressure is integral with joint (30).
Attention is drawn to the following places, which may be of interest for search:
Screw-threaded joints with sealing rings forming a whole with the pipe or joint |
Attention is drawn to the following places, which may be of interest for search:
Expansion-compensation arrangements for pipe-lines |
This place does not cover:
Joints with packing adapted to sealing by fluid pressure | |
Flanged joints with sealing surfaces pressed together by bolts or equivalent connecting means | |
Connecting arrangements or other fittings specially adapted to be made of plastics or to be used with pipes made of plastics | |
Joints, specially adapted for pipes of brittle material, in which sealing surfaces are pressed together by means of a member, e.g. swivel nut, screwed on, or into, one of the joint parts |
Attention is drawn to the following places, which may be of interest for search:
Screw threaded joints | |
Pipe joints specially adapted for electrically insulating the two pipe ends of the joint from each other | |
Adjustable joints, joints allowing movement |
Looping references between F16L 19/00 and F16L 23/00 have been identified. Until this inconsistency is resolved in IPC, the current classification practice in CPC is as follows:
Flanged joints with sealing surfaces pressed together by means other than bolts or equivalent are classified only in F16L 19/00.
Flanged joints with sealing surfaces pressed together by bolts or equivalent are classified only in F16L 23/00.
Attention is drawn to the following places, which may be of interest for search:
Locking of screws or nuts per se |
This place covers:
Joints with flanges not forming part of the pipe body. This includes welded or screwed on flanges which are not considered to be integral with the pipe
Attention is drawn to the following places, which may be of interest for search:
Branch units per se | |
Bends per se | |
Pipe units with cleaning aperture per se |
Attention is drawn to the following places, which may be of interest for search:
Branch units per se | |
Bends per se | |
Pipe units with cleaning aperture per se |
This place covers:
connections having two rings
Attention is drawn to the following places, which may be of interest for search:
Branch units per se | |
Bends per se | |
Pipe units with cleaning aperture per se |
This place covers:
connections having one ring
This place covers:
connections wherein the ring rotates with the nut during the fastening
This place covers:
connections wherein the ring being a split ring
This place covers:
connection wherein the ring being no split ring
This place does not cover:
Non-disconnectable pipe-joints | |
Screw-threaded joints | |
Joints adapted to sealing by fluid pressure | |
Joints in which sealing surfaces are pressed together by means of a member, e.g. a swivel nut | |
Joints for pipes made of reinforced concrete | |
Connecting arrangements or other fittings specially adapted to be made of plastics or to be used with pipes made of plastics | |
Joints specially adapted for pipes of brittle material |
Attention is drawn to the following places, which may be of interest for search:
Devices for covering leaks in pipes or hoses |
This place covers:
Illustrative examples of subject matter classified in this place:
1.

2.

This place does not cover:
Joints with sleeve or socket with elastic sealing rings between pipe and sleeve or between pipe and socket | |
Adjustable joints; Joints allowing movement | |
Couplings of the quick-acting type |
Attention is drawn to the following places, which may be of interest for search:
Joints with a divided sleeve or ring clamping around overlapping pipe-ends |
This place does not cover:
Joints with longitudinally split or divided sleeve comprising packing adapted to sealing by fluid pressure |
Attention is drawn to the following places, which may be of interest for search:
Double-walled hoses | |
Hose-clips |
This place does not cover:
Adjustable joints; Joints allowing movement | |
Quick-acting type couplings combined with automatic locking by means of elements wedged between the pipe and the frusto-conical surface of the body of the connector | |
Quick-acting type couplings using hooks tightened by a wedge section | |
Quick-acting type couplings using a retaining member in the form of a wedge | |
Quick-acting type couplings secured by inserting a wedge between mating surfaces | |
Quick-acting type couplings tightened by the action of a wedge-shaped hinged hooks |
Sealing rings arranged between outer surface of pipe and inner surface of sleeve or socket, the sealing rings having radially directed ribs, are classified under F16L 17/025.
Sealing rings arranged between outer surface of pipe and inner surface of sleeve or socket, the sealing rings having annular axial lips, are classified under F16L 17/03.
This place does not cover:
Joints with sleeve or socket with a divided sleeve or ring clamping around the pipe-ends | |
Joints with sleeve or socket with additional locking means | |
Adjustable joints |
Joints in which sealing surfaces are pressed together by means of a member screwed on or into one of the joint parts, in which radial clamping is obtained by wedging action on non-deformed pipe ends, adapted for use in socket or sleeve connections are classified under F16L 19/07.
Attention is drawn to the following places, which may be of interest for search:
Quick acting couplings | |
Devices for covering leaks from inside a pipe |
This place covers:
Joints with sleeve or socket with a divided sleeve or ring clamping around the overlapping pipe-ends.
Illustrative example of subject matter classified in this place:

This place does not cover:
Flanged joints | |
Couplings of the quick-acting type |
Attention is drawn to the following places, which may be of interest for search:
Sleeves or nipples for pipes of the same diameter; Reduction pieces |
Looping references between F16L 21/06 and F16L 37/00 have been identified. Until this inconsistency is resolved in IPC, the current classification practice in CPC is as follows: the reference to F16L 37/00 is considered to be limiting.
This place covers:
Illustrative example of subject matter classified in this place:

Joints with packing adapted to sealing by fluid pressure with sealing rings arranged between outer surface of pipe and inner surface of sleeve or socket having annular axial lip, the sealing rings having two lips parallel to each other, are classified under F16L 17/035.
Joints with packing adapted to sealing by fluid pressure with sealing rings arranged between outer surface of pipe and inner surface of sleeve or socket with longitudinally split or divided sleeve are classified under F16L 17/04.
Joints in which sealing surfaces are pressed together by means of a member screwed on or into one of the joint parts with metal rings which bite into the wall of the pipe are classified under F16L 19/08.
This place does not cover:
Joints with sleeve or socket with a divided sleeve or ring clamping around the pipe-ends | |
Couplings of the quick-acting type |
Attention is drawn to the following places, which may be of interest for search:
Joints with sleeve or socket with elastic sealing rings between pipe and sleeve or between pipe and socket, in which sealing rings are compressed by axially-movable members |
This place does not cover:
Non-disconnectable pipe joints | |
Joints adapted to sealing by fluid pressure | |
Flanged joints with sealing surfaces pressed together by means other than bolts or equivalent | |
Adjustable joints | |
For hoses | |
Couplings of the quick-acting type | |
For double-walled or multi-channel pipes or assemblies | |
Connecting arrangements or other fittings specially adapted to be made of plastics or to be used with pipes made of plastics | |
Specially adapted for pipes of brittle material |
Looping references between F16L 19/00 and F16L 23/00 have been identified. Until this inconsistency is resolved in IPC, the current classification practice in CPC is as follows:
Flanged joints with sealing surfaces pressed together by means other than bolts or equivalent are classified only in F16L 19/00.
Flanged joints with sealing surfaces pressed together by bolts or equivalent are classified only in F16L 23/00.
This place covers:
devices for aligning, separating or locking of the flange connection
This place covers:
Attachments to the joints having no sealing or connection function, e.g. measuring devices or valves that are attached to or integrated in the flange.
Illustrative example of subject matter classified in this place:

This place covers:
Illustrative example of subject matter classified in this place:

Attention is drawn to the following places, which may be of interest for search:
Joints with sleeve and socket, where the pipe ends are overlapping |
Attention is drawn to the following places, which may be of interest for search:
Non-flanged joints for pipes with a rectangular cross-section |
This place covers:
Joints where pipe ends are abutting each other with no extra sealing rings present, such that there is surface to surface contact between the flanges.
Illustrative example of subject matter classified in this place:

This place covers:
Details of pipe joints not provided for in, or of interest apart from, groups F16L 13/00 - F16L 23/00, e.g. electrically conducting or insulating means.
This place does not cover:
Adjustable joints | |
Joints with fluid cut-off means | |
Couplings of the quick-acting type | |
Joints or fittings for double-walled or multi-channel pipes or pipe assemblies | |
Specially adapted to be made of plastics or to be used with pipes made of plastics | |
Specially adapted for pipes of brittle material |
Examples of places in relation to which this place is residual:
Non-disconnectable pipe joints | |
Screw-threaded joints | |
Joints adapted to sealing by fluid pressure | |
Joints in which sealing surfaces are pressed together by means of a member, e.g. swivel nut | |
Joints with sleeve or socket | |
Flanged joints |
Contrary to the F16L 37/00 limiting refence, joints for corrugated pipes of the quick-acting type are classified in F16L 25/0045.
Examples of places in relation to which this place is residual:
Flanged joints for pipes with a rectangular cross-section |
This place does not cover:
Joints between metal and plastic pipes |
Examples of places in relation to which this place is residual:
Non-disconnectable joints for pipes of dissimilar materials |
This place covers:
Illustrative example of subject matter classified in this place:

Attention is drawn to the following places, which may be of interest for search:
Electrically-conductive connections between or with tubular conductors |
Attention is drawn to the following places, which may be of interest for search:
Insulating bodies in general |
This place covers:
Illustrative example of subject matter classified in this place:

This place covers:
Illustrative example of subject matter classified in this place:

This place does not cover:
Couplings of the quick-acting type | |
For double-walled or multi-channel pipes or pipe assemblies | |
Adjustable joints specially adapted to be made of plastics or to be used with pipes made of plastics; Joints allowing movement specially adapted to be made of plastics or to be used with pipes made of plastics | |
Adjustable joints specially adapted to be used with pipes of brittle material; Joints allowing movement specially adapted to be used with pipes of brittle material |
Examples of places where the subject matter of this place is covered when specially adapted, used for a particular purpose, or incorporated in a larger system:
Medical tube rotating or swivel joints | |
Swivel joints in hose lines used for flushing boreholes |
Attention is drawn to the following places, which may be of interest for search:
Branching pipes, wherein the branch pipes are moveable | |
Connections between hoses and sprayers |
Attention is drawn to the following places, which may be of interest for search:
Articulated hoses made of rigid material |
Attention is drawn to the following places, which may be of interest for search:
Joints with, between the surfaces, a flexible element which undergoes shear and flexure |
This place covers:
joints held together with a swivel nut
Attention is drawn to the following places, which may be of interest for search:
Swivel joints in hose lines for flushing boreholes |
Attention is drawn to the following places, which may be of interest for search:
Connections of quick-acting couplings maintained by balls or rollers under radial pressure |
This place covers:
Illustrative example of subject matter classified in this place:

This place covers:
- Adjustable joints comprising a flexible connection only, e.g. for damping vibrations.
- Joints allowing movement and comprising a flexible connection only, e.g. for damping vibrations.
This place does not cover:
Joint allowing movement by use of screw-threads |
Attention is drawn to the following places, which may be of interest for search:
Telescopic bends |
This place covers:
The fluid cut off means must be a part of, or functionally associated with the connection, not just a valve in a pipe, otherwise its classified only with the valves F16K
This place does not cover:
Couplings of the quick-acting type with cut-off means |
Attention is drawn to the following places, which may be of interest for search:
Valves, taps and cocks in general |
Attention is drawn to the following places, which may be of interest for search:
Taps in general |
Attention is drawn to the following places, which may be of interest for search:
Cut-off devices with a breakable closure member in general |
Attention is drawn to the following places, which may be of interest for search:
Operating means for cut-off devices in general |
Attention is drawn to the following places, which may be of interest for search:
Screw joints without cut-off devices |
Attention is drawn to the following places, which may be of interest for search:
Screw joints without cut-off devices |
This place covers:
hoses directly connected to each other
This place does not cover:
Arrangements for connecting hose to rigid members | |
Rigid hose connectors, i.e. single members engaging both hoses |
This place does not cover:
Connecting arrangements or other fittings specially adapted to be made of plastics or to be used with pipes made of plastics |
Examples of places where the subject matter of this place is covered when specially adapted, used for a particular purpose, or incorporated in a larger system:
Hose couplings specially adapted for suction cleaners |
Attention is drawn to the following places, which may be of interest for search:
Hand tools for inserting fittings into hoses |
Attention is drawn to the following places, which may be of interest for search:
Covering leaks in pipes or hoses |
This place covers:
e.g. Oetiker ears
This place covers:
e.g. fastening means working like a sardine-can opener
This place covers:
corrugated hoses
This place covers:
safety housings; devices against unauthorized use, anti-kink devices for pipe ends; pressure relief devices
This place covers:
Joints wherein the connection is established by one or two simple quick movements.
This place does not cover:
Devices for use where pipes pass through walls by means of a joint of the quick acting type | |
Radially binding sleeves | |
Connecting hoses to rigid members |
Examples of places where the subject matter of this place is covered when specially adapted, used for a particular purpose, or incorporated in a larger system:
Couplings of the quick-acting type specially adapted for lubricating devices |
Attention is drawn to the following places, which may be of interest for search:
Welded connections or screwed connections | |
Joints with a divided sleeve or ring clamping around the pipe-ends | |
Thermally insulated quick acting joints | |
Connections between hoses and sprayers | |
Connections made automatically when vehicles are brought together |
Looping references between F16L 37/00 and F16L 21/06 have been identified. Until this inconsistency is resolved in IPC, the current classification practice in CPC is as follows: the reference to F16L 21/06 is considered to be informative.
Attention is drawn to the following places, which may be of interest for search:
Branching pipes in general; Joining pipes to walls in general |
This place covers:
Couplings that can be separated by force, e.g. pulling strongly
This place does not cover:
Connections maintained by means of balls, rollers or helical springs under radial pressure between the parts |
This place covers:
Joints wherein the connection is established by one simple quick movement: simply push the two pipe ends together: "click"
This place covers:
Illustrative example of subject matter classified in this place:

This place covers:
Couplings with rigid hook members which can pivot.
Illustrative example of subject matter classified in this place:

This place covers:
Illustrative example of subject matter classified in this place:

This place does not cover:
Radially moved latching members forming a ring |
This place covers:
Illustrative example of subject matter classified in this place:

This place covers:
Joints wherein the connection is established by two simple quick movements: Pushing the two pipe ends together plus an additional second action; an action to achieve the locking
This place covers:
Illustrative example of subject matter classified in this place:

This place covers:
Illustrative example of subject matter classified in this place:

This place covers:
Illustrative example of subject matter classified in this place:

This place covers:
Joints wherein the locking pins are visible in closed position
This place covers:
Bayonet type couplings with male part having external lugs, wherein the locking pins are not visible in closed position
Attention is drawn to the following places, which may be of interest for search:
Joints with fluid cut-off means in general |
Attention is drawn to the following places, which may be of interest for search:
Adjustable joints in general | |
Joints for double-walled or multi-channel pipes or pipe assemblies |
Attention is drawn to the following places, which may be of interest for search:
Screw-threaded part allowing substantial longitudinal adjustment of screw-threaded joints |
Attention is drawn to the following places, which may be of interest for search:
Joints for double-walled or multi-channel pipes or pipe assemblies in general |
This place does not cover:
Quick-acting joints for double-walled or multi-channel pipes or pipe assemblies |
This place covers:
Connections wherein the different lines turn together.
Illustrative example of subject matter classified in this place:
1a.

1b.

Attention is drawn to the following places, which may be of interest for search:
Joints allowing adjustment or movement in general | |
Joints of the multiple swivel type |
This place covers:
Connections wherein the different lines are independently turnable.
Illustrative example of subject matter classified in this place:

This place covers:
Joining pipes to walls of other pipes.
This place does not cover:
Couplings of the quick-acting type for branching pipes or for joining pipes to walls | |
Joints or fittings for double-walled or multi-channel pipes or pipe assemblies | |
Connecting arrangements or other fittings specially adapted to be made of plastics or to be used with pipes made of plastics for branching pipes or for joining pipes to walls |
Attention is drawn to the following places, which may be of interest for search:
Pipes passing through walls | |
Joints suitable for connecting together pipe-ends | |
Connectors not designed for conveying fluid |
This place covers:
Illustrative example of subject matter classified in this place:

This place covers:
Illustrative example of subject matter classified in this place:

Examples of places where the subject matter of this place is covered when specially adapted, used for a particular purpose, or incorporated in a larger system:
Fluidic connecting means for pressure measuring apparatus |
This place covers:
e.g. manifolds
Attention is drawn to the following places, which may be of interest for search:
Manifolds for hydraulics and pneumatics |
This place covers:
Tapping pipe walls without removal of material, e.g. the tapping means piercing the wall.
This place does not cover:
Tapping pipe walls making use of attaching means embracing the pipe without removal of material |
This place covers:
e.g. the tapping means piercing the wall by using guidance on attaching means embracing the pipe
Attention is drawn to the following places, which may be of interest for search:
Non-disconnectible pipe joints in general |
This place does not cover:
Bends with cleaning apertures |
Examples of places where the subject matter of this place is covered when specially adapted, used for a particular purpose, or incorporated in a larger system:
Expansion-compensation arrangements making use of bends | |
Odour seals for basins | |
Siphons for water-closets | |
Siphons in general |
Examples of places where the subject matter of this place is covered when specially adapted, used for a particular purpose, or incorporated in a larger system:
Coiled tube furnaces for thermal non-catalytic cracking of hydrocarbon oils |
This place covers:
- Bends adapted to make use of special securing means, e.g. stress relief devices holding the pipe on both sides of the bend.
- Siphons adapted to make use of special securing means.
Illustrative example of subject matter classified in this place:

Attention is drawn to the following places, which may be of interest for search:
Means for stopping flow in pipes or hoses | |
Launching or retrieval of pigs or moles |
Attention is drawn to the following places, which may be of interest for search:
Rigid pipes of plastics | |
Packing, for joints, adapted to sealing by fluid pressure | |
Connections for hoses of plastics | |
Bends or siphons |
Fittings made of plastic or which are used with plastic pipes, but not specially adapted therefor, e.g. if they could be made of any other material without any adaptations, are not classified in F16L 47/00. These fittings are classified in the general groups of subclass F16L for the respective connections.
Attention is drawn to the following places, which may be of interest for search:
Non-disconnnectible pipe-joints in general |
Attention is drawn to the following places, which may be of interest for search:
Joints in which sealing surfaces are pressed together by means of a member screwed on or into one of the joint parts, in general |
Attention is drawn to the following places, which may be of interest for search:
Joints with sleeves or socket, in general |
Attention is drawn to the following places, which may be of interest for search:
In other than plastics |
Not covered are joints of pipes of brittle material when the connection is not specially adapted therefor, e.g. if they could be made of any other material without any adaptations. These fittings are classified in the general groups for the respective connections.
Attention is drawn to the following places, which may be of interest for search:
Sleeves, nipples of reduction pieces made of elastic material |
Attention is drawn to the following places, which may be of interest for search:
Joints in which sealing surfaces are pressed together by means of a member screwed on or into one of the joint parts, in general |
Attention is drawn to the following places, which may be of interest for search:
Adjustable joints, in general |
This place does not cover:
Telescopic pipes |
Attention is drawn to the following places, which may be of interest for search:
Hangers or supports for pipes with special provision allowing movement of the pipes |
Attention is drawn to the following places, which may be of interest for search:
Rigid corrugated pipes | |
Corrugated hoses made of rigid material | |
Bellows that are intended to provide adjustment or movement to the coupling |
This place covers:
Bellows consisting of separate flexible rings which are joined together.
Illustrative example of subject matter classified in this place:

Attention is drawn to the following places, which may be of interest for search:
Flexible pipe connections |
This place covers:
Illustrative example of subject matter classified in this place:

This place covers:
Illustrative example of subject matter classified in this place:

This place covers:
Illustrative example of subject matter classified in this place:

Examples of places where the subject matter of this place is covered when specially adapted, used for a particular purpose, or incorporated in a larger system:
Heating or cooling of hoses | |
Devices for preventing freezing of pipes in water main or service pipe systems | |
Devices for thawing frozen pipes in water main or service pipe systems |
Attention is drawn to the following places, which may be of interest for search:
Heating or cooling of valves | |
Pipe-line systems; Pipe-lines | |
Heat exchangers |
This place covers:
Devices for use in, or in connection with, pipes or pipe systems that are not covered by groups F16L 1/00 – F16L 53/00, F16L 57/00 or F16L 59/00, e.g. damping devices, means for stopping flow, devices for covering leaks, pigs or moles, or preventing accumulation of dirt.
This place does not cover:
Laying or reclaiming pipes; Repairing or joining pipes on or under water | |
Repairing or joining pipes on or under water | |
Supports for pipes, cables or protective tubing | |
Devices for use where pipes, cables or protective tubing pass through walls or partitions | |
Supporting pipes or cables inside other pipes or sleeves | |
Pipes | |
Pipe joints; Hose nipples | |
Expansion-compensation arrangements for pipe-lines | |
Heating of pipes or pipe systems; Cooling of pipes or pipe systems | |
Protection of pipes or objects of similar shape against external or internal damage or wear | |
Thermal insulation in general | |
Cleaning of pipes | |
Removal of blockages in pipes |
Examples of places where the subject matter of this place is covered when specially adapted, used for a particular purpose, or incorporated in a larger system:
Arrangements of draining devices for water main or service pipe systems | |
Devices for preventing bursting of water pipes by freezing | |
Draining devices for hydrants | |
For domestic plumbing installations | |
Arrangements for sealing leaky tubes or conduits of heat-exchangers |
Attention is drawn to the following places, which may be of interest for search:
Nozzles |
Looping references between F16L 55/00 and E03B 7/10 have been identified. Until this inconsistency is resolved in IPC, the current classification practice in CPC is as follows: the reference to E03B 7/10 is considered to be application-oriented.
Attention is drawn to the following places, which may be of interest for search:
Baffle plates for influencing the flow of fluids | |
Influencing the flow of fluids in pipes or conduits | |
Springs, shock absorbers, means for damping vibration in general | |
Means in valves for absorbing fluid energy |
In CPC, the subject matter of F16L 55/02 and F16L 55/04 are considered to be substantially overlapping.
With respect to the CPC-only F16L 55/02 precedence reference over F16L 55/04:
- F16L 55/02 subgroups are allocated whenever appropriate.
- F16L 55/04 and subgroups are only allocated if there are no appropriate F16L 55/02 subgroups.
This place covers:
Illustrative examples of subject matter classified in this place:
1.

2.

This place does not cover:
Energy absorbers; Noise absorbers |
Attention is drawn to the following places, which may be of interest for search:
Counter-acting cavitation in pumps | |
Springs, shock absorbers, means for damping vibration in general | |
Means in valves for absorbing fluid energy |
In CPC, the subject-matter of F16L 55/02 and F16L 55/04 are considered to be substantially overlapping.
With respect to the CPC-only F16L 55/02 precedence reference over F16L 55/04:
- F16L 55/02 subgroups are allocated whenever appropriate.
- F16L 55/04 and subgroups are only allocated if there are no appropriate F16L 55/02 subgroups.
Attention is drawn to the following places, which may be of interest for search:
Accumulators |
This place covers:
pneumatic reservoirs having a membrane
This place does not cover:
Apparatus for draining |
Examples of places where the subject matter of this place is covered when specially adapted, used for a particular purpose, or incorporated in a larger system:
Arrangement of draining devices in water-supply systems |
Attention is drawn to the following places, which may be of interest for search:
Venting or aerating devices per se |
Attention is drawn to the following places, which may be of interest for search:
Air-conditioning in general |
This place covers:
Means for stopping flow from or in pipes or hoses.
This place does not cover:
Joints with fluid cut-off means | |
Quick-acting joints with cut-off means | |
Valves |
Attention is drawn to the following places, which may be of interest for search:
Devices for covering leaks in pipes or hoses, e.g. hose-menders |
Attention is drawn to the following places, which may be of interest for search:
Fire protection devices in general |
This place covers:
Closing means which can be fixed inside the pipe end.
This place does not cover:
In situ expandable members introduced axially into pipes or hoses |
This place covers:
Closing means which can be fixed on the outside of the pipe end.
This place does not cover:
In situ expandable caps introduced axially into pipes or hoses |
This place does not cover:
Devices for covering leaks in pipes or hoses, e.g. hose-menders, by means of a plug | |
Devices for covering leaks in pipes or hoses, e.g. hose-menders, specially adapted for bends, branch units, branching pipes or the like |
Attention is drawn to the following places, which may be of interest for search:
Protection against corrosion |
Attention is drawn to the following places, which may be of interest for search:
Hoses, i.e. flexible pipes, in general |
This place does not cover:
Devices for covering leaks in pipes or hoses, e.g. hose menders, specially adapted for bends, branch units, branching pipes or the like |
This place covers:
Rings, bands or sleeves, including two half sleeves, for covering leaks in pipes from outside the pipe.
Attention is drawn to the following places, which may be of interest for search:
Hose-clips for connecting hoses to rigid members |
Attention is drawn to the following places, which may be of interest for search:
Coupling of the quick-acting type using hooks, pawls or other movable or insertable locking members |
Attention is drawn to the following places, which may be of interest for search:
Pigs or moles specially adapted to work at or near a junction between a main and a lateral pipe |
This place does not cover:
Means for stopping flow in pipes or hoses |
Attention is drawn to the following places, which may be of interest for search:
Pigs or moles for pipes, in general |
Attention is drawn to the following places, which may be of interest for search:
Cleaning of pipes | |
Preventing accumulation in pneumatic conveyors |
This place covers:
General features of pigs or moles for use in pipes or pipe systems.
Special adaptations of pigs or moles for the use in pipes or pipe systems as defined in Note 1 are classified in the corresponding place of the Note.
General features of pigs or moles, e.g. propulsion means, not specially adapted to the use in pipes or pipe systems as defined in Note 1 are classified in F16L 55/26 and subgroups.
Attention is drawn to the following places, which may be of interest for search:
Tunnel railway systems | |
Conveying articles through pipes or tubes, e.g. tube mail systems |
This place does not cover:
Protection under water | |
Supporting of pipes inside other pipes or sleeves | |
Used in connection with end fittings of hoses | |
Protection of pipes or pipe fittings against corrosion or incrustation | |
Protecting of pipes during transport |
Examples of places where the subject matter of this place is covered when specially adapted, used for a particular purpose, or incorporated in a larger system:
Wear protection for pipes or tubes for conveying materials in bulk, e.g. concrete | |
Protection of steam boiler water tubes |
This place does not cover:
Protection against fire or sources of extreme heat |
Attention is drawn to the following places, which may be of interest for search:
Wear protection of pipes conveying material in bulk, e.g. concrete |
This place does not cover:
Compound tubes |
Attention is drawn to the following places, which may be of interest for search:
Coatings for thermal insulation | |
Methods or machines for applying coatings |
This place does not cover:
Coatings in the form of a bandage |
Attention is drawn to the following places, which may be of interest for search:
Compositions of coatings, see the relevant subclasses, e.g. |
Attention is drawn to the following places, which may be of interest for search:
Apparatus for covering cores by winding |
Attention is drawn to the following places, which may be of interest for search:
Non-disconnectible joints of coated pipes | |
Screw joints for coated pipes comprising pipes with collars or flanges |
Attention is drawn to the following places, which may be of interest for search:
Non-disconnectable pipe joints in general |
Attention is drawn to the following places, which may be of interest for search:
Screw-threaded joints in general |
Attention is drawn to the following places, which may be of interest for search:
Joints in which sealing surfaces are pressed together by means of a member, e.g. a swivel nut, screwed on or into one of the joint parts in general |
Attention is drawn to the following places, which may be of interest for search:
Joints with sleeve or socket in general |
Attention is drawn to the following places, which may be of interest for search:
Flanged joints in general |
Attention is drawn to the following places, which may be of interest for search:
Branching pipes in general; Joining pipes to walls in general |
This place covers:
Thermal insulation for pipes or hoses or pipe cover elements, or in general, e.g. when no other special application of the insulation is given.
Specific materials or specific uses for thermal insulation are classified in the specific fields for the material or use (e.g. fridges, building panels or motor compartments).
Examples of places where the subject matter of this place is covered when specially adapted, used for a particular purpose, or incorporated in a larger system:
Heat, sound insulation in buildings | |
Heat insulation of steam engines | |
Heat insulation in rotary piston machines or engines | |
Thermal or acoustic insulation for combustion engines | |
Heat insulation of pumps | |
Thermal insulation of pressure vessels | |
Vessels not under pressure, with provision for insulation | |
For refrigerators |
This place covers:
Illustrative example of subject matter classified in this place:

Attention is drawn to the following places, which may be of interest for search:
Tubular-shaped layered products, e.g. hoses, pipes |
This place covers:
Arrangements using dry fillers, e.g. slag wool, which is added to the object to be insulated by pouring, spreading, spraying or the like.
This place covers:
Arrangements using an air layer or vacuum, air meaning any type of gas
Attention is drawn to the following places, which may be of interest for search:
Pipe supports allowing movement in axial direction |
Attention is drawn to the following places, which may be of interest for search:
Devices for use where pipes, cables or protective tubing pass through walls or partition in general |
This place covers:
Insulation for pipes conveying fluids below ambient temperature, e.g. cryogenic fluids.
Attention is drawn to the following places, which may be of interest for search:
Rigid pipes of wood | |
Vacuum insulation |
Attention is drawn to the following places, which may be of interest for search:
Protection of pipes or objects of similar shape against fire or other external sources of extreme heat in general |
Attention is drawn to the following places, which may be of interest for search:
Means in or on valves for heating or cooling |
Attention is drawn to the following places, which may be of interest for search:
Branch units in general |
This place covers:
Illustrative example of subject matter classified in this place:

Attention is drawn to the following places, which may be of interest for search:
Joints in which sealing surfaces are pressed together by means of a member, e.g. a swivel nut, screwed on or into one of the joint parts in general |
Attention is drawn to the following places, which may be of interest for search:
Joints with sleeve or socket in general |
Attention is drawn to the following places, which may be of interest for search:
Flanged joints in general |
Attention is drawn to the following places, which may be of interest for search:
Adjustable joints in general; Joints allowing movement in general |
Attention is drawn to the following places, which may be of interest for search:
Arrangements for connecting hoses to one another or to flexible sleeves in general | |
Arrangements for connecting hoses to rigid members in general |
Attention is drawn to the following places, which may be of interest for search:
Couplings of the quick-acting type in general |
Attention is drawn to the following places, which may be of interest for search:
Non-disconnectable joints in general |
Attention is drawn to the following places, which may be of interest for search:
Expansion-compensation arrangements for pipe-lines |
Attention is drawn to the following places, which may be of interest for search:
Bends in general |