CPC Definition - Subclass A47B
This place covers:
This sub-class relates largely to office and domestic furniture. Some industrial furniture is included in the sub-groups relating to cabinets, racks and shelf-units. This subclass covers : Tables or desks characterised by structural features
Tables or desks characterised by adaptation for particular purposes
School benches or desks
Cabinet; racks; shelf units; similar furniture
Furniture combinations
Details of furniture: -
Drawers and slides therefore
- Feet for furniture
- Fittings for furniture
- Details of cabinets, racks or shelf units (bars,uprights,struts,shelves brackets,furniture panels)
- Miscellaneous furniture and miscellaneous accessories for furniture
Furniture classification is separated into 2 broad fields:
- furniture type e.g. bottle rack or sectional furniture etc.
- functional furniture e.g. folding tables or height adjustable shelves.
Classification may be necessary in both the furniture type(s) and functional furniture fields.
The drawings in the definition statements are only indicative as an example of the group or sub-group definition and encompass ofcourse many other embodiments
Generally this sub-class does not cover transport devices or systems as covered in B65G or specific furniture, fittings or accessories for shops as covered in A47F, although it is clear that certain subject matter is common to these sub-classes.
It is clear that certain items of furniture (e.g. brackets, rails) may be classified in many different sub-classes of differing technical areas, however, the following general rules should be applied:
For components of furniture covered by specific subclasses e.g. A47F - shop furniture; E06B - doors:
If relevant for their structural and/or functional association with the furniture item, are classified in A47B.
If relevant only per se are not classified in A47B, but in the specific subclass of the item concerned.
This place does not cover:
Examples of places where the subject matter of this place is covered when specially adapted, used for a particular purpose, or incorporated in a larger system:
Beds, bedsteads, chairs, stools, sofas | |
Step stools | |
Racks for dispensing merchandise | |
Show cases and show cabinets | |
Show stands, hangers or shelves (constr. features) | |
Show stands, hangers or shelves for particular articles | |
Tables or chairs for medical use | |
Containers/packaging | |
Storing articles in warehouses or magazines | |
Built in cupboards as part of a building | |
Devices for fastening or securing together constructional elements or machine parts together | |
Jointing of furniture or the like | |
Furniture joints | |
Frames, supports or stands for apparatus in general |
Attention is drawn to the following places, which may be of interest for search:
Beds, bedsteads, chairs, sofas, stools | |
Special furniture for shops | |
Household or table equipment | |
Kitchen equipment | |
Domestic washing or cleaning | |
Games or sports accessories | |
Construction toys | |
Work benches | |
Storage means or arrangements for workshops | |
Working veneer or plywood | |
Working of wood | |
Layered products | |
Hand carts/trolleys | |
Containers/packaging | |
Refuse receptacles | |
Storing articles in warehouses or magazines | |
Laundering, drying, ironing | |
Partitions in general building construction | |
Locks (including E05B 1/0015 - mounting of knobs/handles not operating the bolt/lock | |
Bolts or fastening devices for wings (incl. touch/latch mechanisms E05C 19/022) | |
Hinges | |
Closers or openers for wings | |
Doors/windows | |
Devices for fastening or securing constructional elements | |
Furniture joints | |
Pipes, joints or fittings for pipes | |
Frames, supports or stands for apparatus in general | |
Structural combinations of lighting devices with other parts | |
Domestic stoves or ranges | |
Fridges (shelves/drawers for fridges F25D 25/02) | |
Displaying/advertising, signs, labels | |
Electric plugs; electrically-conductive connections | |
Boards, desks, casings, substations or switching arrangements for electric power | |
Installation of electric cables or lines | |
Printed circuits, casings or constructional details of electric apparatus |
Classification in head group and sub-groups
If a document concerns embodiments which are covered by several sub-groups (e.g. A47B 1/02 and A47B 1/10) dependent upon a higher hierarchy group e.g.head group A47B 1/00, the following rules apply:
- the specific technical information relevant for some of the sub-groups is classified (EC) in all said sub-groups.
- if relevant, the structural association (e.g. the combination) of the elements covered by the sub-groups is classified (EC) in the head group; the document may also be Indexing Code for the sub-groups concerned.
- analogously, if generic technical information common to a number of the sub-groups is disclosed and only schematic embodiments of the specific subgroup embodiments are represented, the document is classified (EC) in the head group and may be Indexing Code for the subgroups.
Classification of additional information:
Although not compulsory, in many cases the classification of additional information (e.g. particular technical aspect of a piece of furniture) may be useful in classification and subsequent retrieval of such documents and is therefore considered very desirable.
-The reference to tables or desks in this sub-class and particularly in the sub-groups A47B 13/00, A47B 19/00, A47B 21/00, A47B 27/00 and A47B 41/00 isn't relevant per se. Dependent upon the nature of the context, these terms may be considered to be synonymous. Furthermore, the term 'tables' covers also tables OR underframes therefor for other than domestic use.
For the sub-groups concerning technical features of tables and desks (i.e. A47B 1/00 - A47B 41/06) it is noted that the technical features of the sub-groups themselves are defining rather than, in some cases, their terms of description.
The terms 'cabinets' or 'racks' in the sub-groups A47B 43/00 - A47B 96/20 cover also cabinets or racks for storage in general.
This place does not cover:
Combinations of tables: Linking or assembling means therefore | |
Operating tables |
Attention is drawn to the following places, which may be of interest for search:
Extensible shelf units |
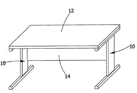
This place covers:
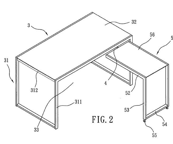
Illustrative example of subject matter classified in A47B 1/04



US2004069191,US2007169673,US2009050033
This place does not cover:
Tables with extensible frames |
Attention is drawn to the following places, which may be of interest for search:
Tables or desks with substantially horizontally extensible or adjustable parts | |
Tables or desks with parts added to the original furniture to enlarge its surface | |
Tables or desks with substantially horizontally extensible or adjustable parts other than drawers | |
Tables or desks with platforms for supporting office equipment |
This place covers:
A table having a use configuration and a non-use configuration and being transformable between the use and non-use configurations by relative movement of its parts and without the use of tools.
Illustrative example of subject matter classified in A47B 3/00:

US2010300239
This place does not cover:
Folded and suspended or hinged, or wall tables |
Examples of places where the subject matter of this place is covered when specially adapted, used for a particular purpose, or incorporated in a larger system:
Tables for use in a medical application |
Attention is drawn to the following places, which may be of interest for search:
Tables with tops of variable height |
Attention is drawn to the following places, which may be of interest for search:
Table underframes |
This place covers:
Subject matter in which at least one of the parts of the table is attached to one or more of the other parts in the use configuration, the parts being capable of being disconnected from each other without destruction of the essential structures of the parts and without the use of tools (i.e., so that the parts may be immediately reassembled to form the table) in order to transform the assembly to the non-use configuration and back to the use configuration multiple times.
Illustrative example of subject matter classified in A47B 3/06

US2009066140
This place covers:
Subject matter in which the table includes at least two seats attached to the table in the use configuration.
Attention is drawn to the following places, which may be of interest for search:
Folded and suspended or hinged or wall tables | |
With tops of variable height | |
Foldable service or tea tables |
This place does not cover:
Tables with foldable top leaves | |
Foldable tables with struts supporting the legs |
This place does not cover:
Tables with foldable top leaves | |
Foldable tables with struts supporting the legs |
This place does not cover:
With foldable top leaves | |
With struts supporting the legs |
Attention is drawn to the following places, which may be of interest for search:
In combination with foldable top leaves |
Attention is drawn to the following places, which may be of interest for search:
Connecting table tops to underframes |
This place covers:
Subject matter in which at least two of the parts of the table are pivotally attached to each other so that they pivot in order to transform the table from the use to the non-use configuration.
Illustrative example of subject matter classified in A47B 3/14

US7922245
Attention is drawn to the following places, which may be of interest for search:
Folding school forms | |
Tables combined with seats |
This place covers:
Illustrative example of subject matter classified in A47B 5/00


US2008190329, US2006013007
Attention is drawn to the following places, which may be of interest for search:
Foldable or stowable tables | |
Bed tables | |
Tables adapted for use in vehicules | |
Tables in combination with other furniture | |
Arm-rest tables for chairs |
Attention is drawn to the following places, which may be of interest for search:
Tables combined with cabinets |
This place does not cover:
Lecterns with variable height | |
School forms or desks with variable height | |
Seats with variable height |
Attention is drawn to the following places, which may be of interest for search:
Writing tables with height adjustable parts | |
Tables or desks with vertically adjustable parts | |
Lifting devices in general |
Attention is drawn to the following places, which may be of interest for search:
Folding or stowable tables with foldable cross-legs |
Attention is drawn to the following places, which may be of interest for search:
Tables with tops of variable height and a vertical spindle |
This place covers:
Illustrative example of subject matter classified in A47B 11/00



US2011036275,US2011053136,US2007/0062418
Attention is drawn to the following places, which may be of interest for search:
Revolving cabinets or racks; cabinets or racks with revolving parts |
Attention is drawn to the following places, which may be of interest for search:
Drawers | |
Feet for furniture in general | |
Arm-rest tables or back-rest tables | |
Childrens tables | |
Flower tables | |
Operating tables | |
Laboratory benches or tables | |
Work benches or tables | |
Supervisory desks or panels for distribution of electric power |
Attention is drawn to the following places, which may be of interest for search:
Stowable tables with detachable top leaves | |
Connecting furniture tubing to non-tubular parts |
This place does not cover:
Underframes with a central column |
Attention is drawn to the following places, which may be of interest for search:
Leg joints, Corner joints | |
Non-metal corner connections | |
Non-metal leg connections | |
Metal corner connections | |
Metal leg connections |
In patent documents, the following words/expressions are often used as synonyms:
- "feet" and "legs"
This place does not cover:
Underframes with a central column |
This place does not cover:
Underframes with a central column |
Attention is drawn to the following places, which may be of interest for search:
Kitchen work tops | |
Rims not restricted to table tops | |
Tops specially designed for working on | |
Furniture panels or like furniture elements | |
Layered products |
Attention is drawn to the following places, which may be of interest for search:
Extensible tables | |
Tables with tops of variable height | |
Tables with tops revolving on vertical spindles |
Attention is drawn to the following places, which may be of interest for search:
Tops characterised by shape other than circular or rectangular |
Attention is drawn to the following places, which may be of interest for search:
Tables or desks |
Attention is drawn to the following places, which may be of interest for search:
Tables with tops of variable height | |
Tables or desks with vertically-adjustable parts |
Attention is drawn to the following places, which may be of interest for search:
Tables or desks with substantially horizontally extensible or adjustable parts other than drawers, e.g. leaves |
Attention is drawn to the following places, which may be of interest for search:
Movable strip writing or reading apparatus |
Attention is drawn to the following places, which may be of interest for search:
Bed-tables; trays;reading -racks; book-rests |
Attention is drawn to the following places, which may be of interest for search:
Leaf turners or devices for holding books open | |
With movable strip reading apparatus |
This place does not cover:
With adjustable top leaf |
Attention is drawn to the following places, which may be of interest for search:
Spot indicators per se |
Attention is drawn to the following places, which may be of interest for search:
Writing tables |
The difference between the 'tables or desks' in A47B 21/00 and the 'writing tables' in A47B 17/00 is the'office environment' which is intended for A47B 21/00 whereby the corresponding technical features for accessories and the like and the design features of the units themselves are suitably adapted.
Attention is drawn to the following places, which may be of interest for search:
Tables with tops of variable height | |
Writing tables with vertically adjustable parts |
This place covers:
Illustrative example of subject matter classified in A47B 21/0314


US2007170326, US2008203865
This place covers:
i.e., wire management. Illustrative example of subject matter classified in this group:

US2009310291
Attention is drawn to the following places, which may be of interest for search:
Reading desks;lecterns;pulpits | |
Frames, supports or stands for apparatus in general |
A47B 23/00 includes supports for portable computers.
A47B 23/04 includes supports for portable computers.
Attention is drawn to the following places, which may be of interest for search:
Releasably mounted |
Attention is drawn to the following places, which may be of interest for search:
Bedside cabinets |
Attention is drawn to the following places, which may be of interest for search:
Spot indicators, leaf turners, per se |
This place covers:
llustrative example of subject matter classified in A47B 25/00

US2008006185
US7575240 
Attention is drawn to the following places, which may be of interest for search:
Table games physically beneficial for the human body |
Attention is drawn to the following places, which may be of interest for search:
Tables convertible to drawing desks | |
Easels or stands for blackboards or the like | |
Drawing-boards |
Attention is drawn to the following places, which may be of interest for search:
Underframes of tables or desks |
This place does not cover:
Adjustable underframes |
Attention is drawn to the following places, which may be of interest for search:
Sewing-tables for industrial use |
Attention is drawn to the following places, which may be of interest for search:
Serving trays | |
Features relating to running gear or to movement by hand |
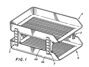
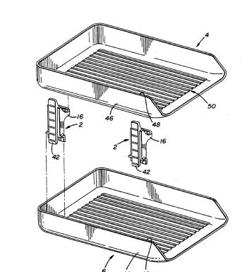
This place covers:

US3738465
Attention is drawn to the following places, which may be of interest for search:
Heat insulated warming chambers; for either storing and preparing or for preparing food on serving trays |
Attention is drawn to the following places, which may be of interest for search:
With a set of feet and a part resting on someone's lap | |
Arrangements or adaptations of tables in vehicles |
Attention is drawn to the following places, which may be of interest for search:
Washing machines, ironing boards, wringers per se |
Attention is drawn to the following places, which may be of interest for search:
Childrens' tables | |
Glass cutting tables |
Attention is drawn to the following places, which may be of interest for search:
Tables with adjustable height | |
Tables with adjustable inclination of the top |
Attention is drawn to the following places, which may be of interest for search:
Easels combined with seats |
This place covers:
Subject matter in which a table or desk is combined with a single seat or bench, the table top or desk top and the seat or bench being supported by a shared support structure
This place does not cover:
Chairs with arm-rest tables |
Attention is drawn to the following places, which may be of interest for search:
Tables combined with seats, i.e. more than one seat or bench | |
Attaching to floor |
This place covers:
Subject matter in which one portion of the form is movable between a plurality of use positions relative to another portion.
Attention is drawn to the following places, which may be of interest for search:
Adjustable desk tops | |
Lecterns mounted on a seat arm-rest |
This place covers:
Subject matter in which the distance between the table and chair is different in one of the use positions than in another.
Attention is drawn to the following places, which may be of interest for search:
Foldable table and seat units | |
Tables combined with seats |
Attention is drawn to the following places, which may be of interest for search:
Attaching to floor |
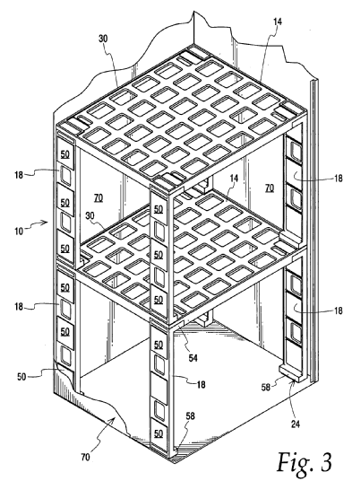
This place covers:
llustrative example of subject matter classified in A47B 43/003



US2009278004, FR1179557
Attention is drawn to the following places, which may be of interest for search:
Cabinets;racks ;shelf units made mainly of cardboard | |
Cabinets ;racks;shelf units having essential features of rigid construction | |
Travelling wardrobes | |
Display stands made of cardboard, paper or the like | |
Hand-folded from sheet material and specially adapted for display |
Attention is drawn to the following places, which may be of interest for search:
Sectional furniture |
This place does not cover:
Cabinets, racks or shelf units adapted for storing books, documents and the like with a writing surface | |
Kitchen cabinets with members movable outwards to a position of use |
Attention is drawn to the following places, which may be of interest for search:
Writing tables with extensible leaves | |
Cabinets or racks having several sections one behind the other | |
Wardrobes with extensible garment holders |
This place does not cover:
Cabinets, racks or shelf units characterised by features enabling folding | |
Cabinets, racks or shelf units characterised by features enabling enlargening in height, length or depth |
Attention is drawn to the following places, which may be of interest for search:
Features for adjusting shelves or partitions |
Attention is drawn to the following places, which may be of interest for search:
Node corner connectors,e.g. cubic | |
Joints for furniture tubing | |
Furnture corner and leg joints in general |
Attention is drawn to the following places, which may be of interest for search:
Three dimensional corner connectors, the legs thereof being received within hollow elongated frame members | |
Joints for furniture tubing | |
Furniture corner and leg joints in general |
Attention is drawn to the following places, which may be of interest for search:
Joining of strips or plates to one another | |
Joints between panels and corner posts |
The documents in this sub-group may also include vertical members and vertical panels.
Attention is drawn to the following places, which may be of interest for search:
Joining of strips or plates to one another | |
Joints between panels and corner posts |
Attention is drawn to the following places, which may be of interest for search:
Joining of strips or plates to one another | |
Joints between panels and corner posts |
The documents in this sub-group may also include vertical members with vertical panels
Attention is drawn to the following places, which may be of interest for search:
Joining of strips or plates to one another | |
Joints between panels and corner posts |
This sub-group may also include vertical members
Attention is drawn to the following places, which may be of interest for search:
For panels mainly made of wood or plastic |
Attention is drawn to the following places, which may be of interest for search:
For panels mainly made of wood or plastic |
Attention is drawn to the following places, which may be of interest for search:
For units mainly made of wood or plastic |
Attention is drawn to the following places, which may be of interest for search:
For elements or assemblies mainly made of wood or plastic | |
Sectional furniture | |
Stackable furniture |
This place does not cover:
Cabinets, racks or shelf units with panels separate from the frame |
This place does not cover:
Racks or shelf units with cantilever shelves |
This place does not cover:
Cabinets, racks or shelf units with horizontal connecting members to receive several panel elements | |
Combination of corners and bars | |
Cabinets, racks or shelf units comprising formed panels without frames |
This place does not cover:
Horizontal connecting members without panels |
Attention is drawn to the following places, which may be of interest for search:
Cabinets, racks or shelf units with panels on a separate frame e.g. a metal frame |
Attention is drawn to the following places, which may be of interest for search:
Formed panels connected without frames | |
Flat or flat-like panels connected without frames |
Attention is drawn to the following places, which may be of interest for search:
Cabinets, racks or shelf units with four vertical uprights |
Attention is drawn to the following places, which may be of interest for search:
Modular arrangements of similar assemblies of elements |
Attention is drawn to the following places, which may be of interest for search:
Cabinets, racks or shelf units with panels separate from the frame |
Attention is drawn to the following places, which may be of interest for search:
Cabinets, racks or shelf units enabling folding and made of cardboard ot the like | |
Cabinets, racks or shelf units made of cardboard, paper, or the like | |
Display stands made of cardboard, paper or the like |
This place covers:
Illustrative example of subject matter classified in A47B 49/00
US2003038569
US2008196634 
US2009121103 
Attention is drawn to the following places, which may be of interest for search:
Show cases or show cabinets with movable or removable shelves | |
Rotary show cases or cabinets | |
Show stands or display racks with movable parts | |
Rotary display stands |
This sub-group may include partially rotating elements
Attention is drawn to the following places, which may be of interest for search:
Cabinets, racks or shelf units for books, documents and forms with trays revolving on a horizontal axis |
This sub-group generally concerns fully rotating units.
Attention is drawn to the following places, which may be of interest for search:
Cabinets, racks or shelf units for books,documents and forms with trays revolving on a vertical axis |
This sub-group generally concerns fully rotating units.
This place does not cover:
This sub-group does not concern corner cabinets with parts which rotate partly or fully out of the cabinet and which do not fully rotate within the cabinet. |
This sub-group generally concerns fully rotating units within a corner cabinet.
Attention is drawn to the following places, which may be of interest for search:
For cabinets,racks or shelf units with parts rotating about a horizontal axis | |
For show or display | |
Lifting devices in general |
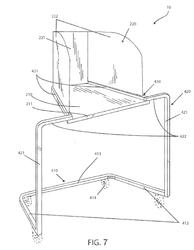
This place covers:
Illustrative example of subject matter classified in A47B 53/00


US4979785, US6158601
Attention is drawn to the following places, which may be of interest for search:
Cabinets, racks or shelf units having one or more surfaces brought into position for use by extending or pivoting | |
For show or display |
Attention is drawn to the following places, which may be of interest for search:
Storing articles with relatively movable racks to facilitate insertion or removal of the articles |
Attention is drawn to the following places, which may be of interest for search:
Safes |
Attention is drawn to the following places, which may be of interest for search:
Cabinets,racks or shelf units enabling folding and made of cardboard or the like | |
Cabinets,racks or shelf units related to dismountability or building up from elements and made mainly of cardboard, textile, paper or the like | |
Travelling wardrobes | |
Display stands made of cardboard, paper or the like |
Attention is drawn to the following places, which may be of interest for search:
Shelf units with stackable uprights | |
Details of cabinets, racks or shelf units in general | |
Brackets adjustable in themselves | |
Adjustable or foldable display stands |
This place does not cover:
Inclination adjustment of shelving | |
Height adjustment of detachable shelf supports |
Attention is drawn to the following places, which may be of interest for search:
Height adjustable shelves whereby there is a detachable shelf support bracket between upright and shelf. | |
Brackets or similar supporting means for cabinets, racks or shelves |
The groups and sub-groups A47B 57/06 - A47B 57/265 cover height adjustable supports for shelves whereby there is no detachable shelf support bracket between the upright and shelf.
This place does not cover:
Height and adjustable shelving |
Attention is drawn to the following places, which may be of interest for search:
Height adjustable shelves whereby there is a detachable shelf support bracket between upright and shelf. | |
Brackets or similar supporting means for cabinets, racks or shelves |
The groups and sub-groups A47B 57/06 - A47B 57/265 cover height adjustable supports for shelves whereby there is no detachable shelf support bracket between the upright and shelf.
Attention is drawn to the following places, which may be of interest for search:
Height adjustable shelves whereby there is a detachable shelf support bracket between upright and shelf. | |
Brackets or similar supporting means for cabinets, racks or shelves |
The groups and sub-groups A47B 57/06 - A47B 57/265 cover height adjustable supports for shelves whereby there is no detachable shelf support bracket between the upright and shelf.
Attention is drawn to the following places, which may be of interest for search:
Height adjustable shelves whereby there is a detachable shelf support bracket between upright and shelf. | |
Brackets or similar supporting means for cabinets, racks or shelves |
The groups and sub-groups A47B 57/06 - A47B 57/265 cover height adjustable supports for shelves whereby there is no detachable shelf support bracket between the upright and shelf.
Attention is drawn to the following places, which may be of interest for search:
Height adjustable shelves whereby there is a detachable shelf support bracket between upright and shelf. | |
Brackets or similar supporting means for cabinets, racks or shelves |
The groups and sub-groups A47B 57/06 - A47B 57/265 cover height adjustable supports for shelves whereby there is no detachable shelf support bracket between the upright and shelf.
Attention is drawn to the following places, which may be of interest for search:
Height adjustable shelves whereby there is a detachable shelf support bracket between upright and shelf. | |
Brackets or similar supporting means for cabinets, racks or shelves |
The groups and sub-groups A47B 57/06 - A47B 57/265 cover height adjustable supports for shelves whereby there is no detachable shelf support bracket between the upright and shelf.
Attention is drawn to the following places, which may be of interest for search:
Height adjustable shelves whereby there is a detachable shelf support bracket between upright and shelf. | |
Brackets or similar supporting means for cabinets, racks or shelves |
The groups and sub-groups A47B 57/06 - A47B 57/265 cover height adjustable supports for shelves whereby there is no detachable shelf support bracket between the upright and shelf.
This place does not cover:
Height adjustable shelving consisting of grooved or notched ledges, uprights or side walls | |
Height adjustable shelving consisting of hooks coacting with openings |
Attention is drawn to the following places, which may be of interest for search:
Height adjustable shelves whereby there is a detachable shelf support bracket between upright and shelf. | |
Brackets or similar supporting means for cabinets, racks or shelves |
The groups and sub-groups A47B 57/06 - A47B 57/265 cover height adjustable supports for shelves whereby there is no detachable shelf support bracket between the upright and shelf.
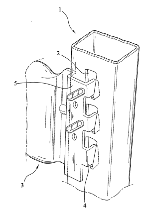
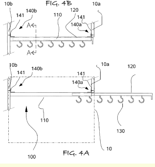
This place covers:
Illustrative example of subject matter classified in A47B 57/26



FR1432959, FR855715
Attention is drawn to the following places, which may be of interest for search:
Fixed on cords or the like | |
Height adjustable shelves whereby there is a detachable shelf support bracket between upright and shelf. | |
Brackets or similar supporting means for cabinets, racks or shelves |
The groups and sub-groups A47B 57/06 - A47B 57/265 cover height adjustable supports for shelves whereby there is no detachable shelf support bracket between the upright and shelf.
Attention is drawn to the following places, which may be of interest for search:
Height adjustable shelves whereby there is a detachable shelf support bracket between upright and shelf. | |
Brackets or similar supporting means for cabinets, racks or shelves |
The groups and sub-groups A47B 57/06 - A47B 57/265 cover height adjustable supports for shelves whereby there is no detachable shelf support bracket between the upright and shelf.
This place does not cover:
Height adjustable shelving consisting of clamping means |
Attention is drawn to the following places, which may be of interest for search:
Height adjustable shelves whereby there is no detachable shelf support bracket between upright and shelf | |
Brackets or similar supporting means for cabinets, racks or shelves |
The groups and sub-groups A47B 57/30 - A47B 57/567 cover height adjustable supports for shelves whereby the shelf support bracket is detachable from the upright.
Attention is drawn to the following places, which may be of interest for search:
Height adjustable shelves whereby there is no detachable shelf support bracket between upright and shelf | |
Brackets or similar supporting means for cabinets, racks or shelves |
The groups and sub-groups A47B 57/30 - A47B 57/567 cover height adjustable supports for shelves whereby the shelf support bracket is detachable from the upright.
Attention is drawn to the following places, which may be of interest for search:
Height adjustable shelves whereby there is no detachable shelf support bracket between upright and shelf | |
Brackets or similar supporting means for cabinets, racks or shelves |
The groups and sub-groups A47B 57/30 - A47B 57/567 cover height adjustable supports for shelves whereby the shelf support bracket is detachable from the upright.
Attention is drawn to the following places, which may be of interest for search:
Height adjustable shelves whereby there is no detachable shelf support bracket between upright and shelf | |
Brackets or similar supporting means for cabinets, racks or shelves |
The groups and sub-groups A47B 57/30 - A47B 57/567 cover height adjustable supports for shelves whereby the shelf support bracket is detachable from the upright.
Attention is drawn to the following places, which may be of interest for search:
Height adjustable shelves whereby there is no detachable shelf support bracket between upright and shelf | |
Brackets or similar supporting means for cabinets, racks or shelves |
The groups and sub-groups A47B 57/30 - A47B 57/567 cover height adjustable supports for shelves whereby the shelf support bracket is detachable from the upright.
This place does not cover:
Hooks attached to member embracing at least two sides of an upright |
Attention is drawn to the following places, which may be of interest for search:
Height adjustable shelves whereby there is no detachable shelf support bracket between upright and shelf | |
Brackets or similar supporting means for cabinets, racks or shelves |
The groups and sub-groups A47B 57/30 - A47B 57/567 cover height adjustable supports for shelves whereby the shelf support bracket is detachable from the upright.
This place does not cover:
Height adjustable shelving consisting of hooks attached to uprights |
Attention is drawn to the following places, which may be of interest for search:
Height adjustable shelves whereby there is no detachable shelf support bracket between upright and shelf | |
Brackets or similar supporting means for cabinets, racks or shelves |
The groups and sub-groups A47B 57/30 - A47B 57/567 cover height adjustable supports for shelves whereby the shelf support bracket is detachable from the upright.
Attention is drawn to the following places, which may be of interest for search:
Height adjustable shelves whereby there is no detachable shelf support bracket between upright and shelf | |
Brackets or similar supporting means for cabinets, racks or shelves |
The groups and sub-groups A47B 57/30 - A47B 57/567 cover height adjustable supports for shelves whereby the shelf support bracket is detachable from the upright.
Attention is drawn to the following places, which may be of interest for search:
Height adjustable shelves whereby there is no detachable shelf support bracket between upright and shelf | |
Brackets or similar supporting means for cabinets, racks or shelves |
The groups and sub-groups A47B 57/30 - A47B 57/567 cover height adjustable supports for shelves whereby the shelf support bracket is detachable from the upright.
Attention is drawn to the following places, which may be of interest for search:
Height adjustable shelves whereby there is no detachable shelf support bracket between upright and shelf | |
Brackets or similar supporting means for cabinets, racks or shelves |
The groups and sub-groups A47B 57/30 - A47B 57/567 cover height adjustable supports for shelves whereby the shelf support bracket is detachable from the upright.
Attention is drawn to the following places, which may be of interest for search:
Height adjustable shelves whereby there is no detachable shelf support bracket between upright and shelf | |
Brackets or similar supporting means for cabinets, racks or shelves |
The groups and sub-groups A47B 57/30 - A47B 57/567 cover height adjustable supports for shelves whereby the shelf support bracket is detachable from the upright.
This place does not cover:
Height adjustable shelving consisting of grooved or notched ledges uprights or side walls | |
Height adjustable shelving consisting of hooks coacting with openings |
Attention is drawn to the following places, which may be of interest for search:
Height adjustable shelves whereby there is no detachable shelf support bracket between upright and shelf | |
Brackets or similar supporting means for cabinets, racks or shelves |
The groups and sub-groups A47B 57/30 - A47B 57/567 cover height adjustable supports for shelves whereby the shelf support bracket is detachable from the upright.
Attention is drawn to the following places, which may be of interest for search:
Height adjustable shelves whereby there is no detachable shelf support bracket between upright and shelf | |
Brackets or similar supporting means for cabinets, racks or shelves |
The groups and sub-groups A47B 57/30 - A47B 57/567 cover height adjustable supports for shelves whereby the shelf support bracket is detachable from the upright.
Attention is drawn to the following places, which may be of interest for search:
Height adjustable shelves whereby there is no detachable shelf support bracket between upright and shelf | |
Brackets or similar supporting means for cabinets, racks or shelves |
The groups and sub-groups A47B 57/30 - A47B 57/567 cover height adjustable supports for shelves whereby the shelf support bracket is detachable from the upright.
Attention is drawn to the following places, which may be of interest for search:
Height adjustable shelves whereby there is no detachable shelf support bracket between upright and shelf | |
Brackets or similar supporting means for cabinets, racks or shelves |
The groups and sub-groups A47B 57/30 - A47B 57/567 cover height adjustable supports for shelves whereby the shelf support bracket is detachable from the upright.
Attention is drawn to the following places, which may be of interest for search:
Height adjustable shelves whereby there is no detachable shelf support bracket between upright and shelf | |
Brackets or similar supporting means for cabinets, racks or shelves |
The groups and sub-groups A47B 57/30 - A47B 57/567 cover height adjustable supports for shelves whereby the shelf support bracket is detachable from the upright.
Attention is drawn to the following places, which may be of interest for search:
Shelf supports being cantilever brackets |
Attention is drawn to the following places, which may be of interest for search:
Book-troughs; Accessories specially adapted for book storing | |
Partition walls | |
Show shelves - partitions therefore |
This place covers:
Illustrative example of subject matter classified in A47B 61/00

US2011204005
US2004256337 
Attention is drawn to the following places, which may be of interest for search:
Cabinets, racks or shelf units characterised by features related to dismountabilty or building-up from elements |
Attention is drawn to the following places, which may be of interest for search:
Extensible garment holders |
Attention is drawn to the following places, which may be of interest for search:
Fighting means against moths |
Attention is drawn to the following places, which may be of interest for search:
Shoe racks as an implement for the manufacture of shoes |
Attention is drawn to the following places, which may be of interest for search:
Show cases or show cabinets with movable or removable shelves | |
Rotary show cases or cabinets | |
Show stands or display racks with movable parts | |
Rotary display stands | |
Suspended filing appliances |
Attention is drawn to the following places, which may be of interest for search:
Filing of suspended drawings |
Attention is drawn to the following places, which may be of interest for search:
Surfaces adapted to be brought into position for use by extension or pivoting in general |
Attention is drawn to the following places, which may be of interest for search:
Revolving cabinets in general; cabinets with revolving parts in general | |
Cabinets with means for moving compartments up and down in general |
Attention is drawn to the following places, which may be of interest for search:
Cabinets with compartments provided with trays revolving on a vertical axis |
Attention is drawn to the following places, which may be of interest for search:
Cabinets with compartments provided with trays revolving on a horizontal axis |
This place covers:
Articles in the form of (1) book-troughs, i.e., portable apparatus adapted to hold only a single row of books or other bound documents and having an open top or (2) accessories for use with a support (e.g., shelf) on which books or other bound documents may be supported which accessories have features useful for storing the books on the support, e.g., the accessories may include structure to maintain the books in an upright position.
Illustrative example of subject matter classified in A47B 65/00

FR2129159
Attention is drawn to the following places, which may be of interest for search:
Partition walls of cabinets, racks or shelf units | |
Show shelves - partitions therefore |
This place covers:
Subject matter in which the book-trough or accessory includes parts that can be moved relative to each other and includes structure for maintaining the parts is different relative positions once moved.
Not included in this group are unconnected apparatus that are adjustable only in relation to each other (e.g., a pair of rigid book-ends).
This place covers:
Subject matter including an accessory comprising (a) a vertically extending element (i.e., partition) attachable to a structure adapted to support books for laterally supporting and/or visually separating the books or (b) a book-trough having partitions (removable or otherwise).
Attention is drawn to the following places, which may be of interest for search:
Cabinets, racks or shelf units with means for adjusting partitions horizontally |
This place covers:
Subject matter including an accessory that (1) is adapted, in use, to rest on the support in a freestanding and freely repositionable manner and to be retained on the support only by gravity and (2) is adapted to support books against lateral movement in only one direction (e.g., to prevent tipping of upright books in only one direction). Additional structure (e.g., another book-end) is required to laterally support the books in the opposite direction.
This place covers:
GB2350549 
This place does not cover:
Cabinets for shaving tackle, medicines or the like |
Attention is drawn to the following places, which may be of interest for search:
Guides for drawers per se |
Attention is drawn to the following places, which may be of interest for search:
Cabinets or racks for bottles only |
Attention is drawn to the following places, which may be of interest for search:
Fruit or potato storage cabinets, racks or trays | |
Ice-boxes, refrigerators |
Attention is drawn to the following places, which may be of interest for search:
Show stands, hangers or shelves for containers e.g. flasks, bottles |
Attention is drawn to the following places, which may be of interest for search:
Tops specially designed for working on |
This place does not cover:
Kitchen cabinets for incorporating apparatus operated by power |
Attention is drawn to the following places, which may be of interest for search:
Combinable furniture units |
This place covers:
Illustrative example of subject matter classified in A47B 77/022



FR1229267, DE202007011342U ,DE102008012332
Attention is drawn to the following places, which may be of interest for search:
Table tops | |
Tops specially designed for working on | |
Furniture panels or like furniture elements | |
Layered products |
Attention is drawn to the following places, which may be of interest for search:
Cabinets with revolving parts in general | |
Cabinets with compartments moving up and down |
Attention is drawn to the following places, which may be of interest for search:
Constructional features of draining boards | |
Sinks |
Attention is drawn to the following places, which may be of interest for search:
Arrangements for mounting stoves or ranges in particular locations | |
Arrangements for mounting fridges in particular locations e.g. for built-in type, for corner type |
This place does not cover:
Kitchen cabinets |
Attention is drawn to the following places, which may be of interest for search:
Surfaces adapted to be brought into position for use by extension or pivoting in general |
This place covers:
Domestic (kitchen) wastebins

US3528718
Attention is drawn to the following places, which may be of interest for search:
Gathering or removal of domestic or like refuse |
Attention is drawn to the following places, which may be of interest for search:
Racks for dispensing merchandise | |
Racks specially adapted for work-shops | |
Built-in cupboards as part of a building |
This place covers:

DE102007009894
Corner cabinets with parts which rotate partly or fully out of the cabinet but which do not fully rotate within the cabinet.
This place does not cover:
Cabinets or racks with fully revolving parts | A47B 49/002, A47B 49/004, A47B 49/006, A47B 63/062, A47B 63/065, A47B 63/067 |
Attention is drawn to the following places, which may be of interest for search:
Built-in cupboards as part of a building |
Attention is drawn to the following places, which may be of interest for search:
Storing fishing rods or the like in vehicles | |
Storing guns in vehicles | |
Cases for carrying guns |
This place does not cover:
A47B 81/06 and it's sub-groups do not include casings or housings for loud speakers or TV sets or audio/video devices.
Attention is drawn to the following places, which may be of interest for search:
Frames, supports or stands for apparatus in general:for supporting on or attaching to an object | |
For stands or trestles as supports for apparatus or articles placed thereon |
Attention is drawn to the following places, which may be of interest for search:
Cabinets,cases, stands for record carriers |
Attention is drawn to the following places, which may be of interest for search:
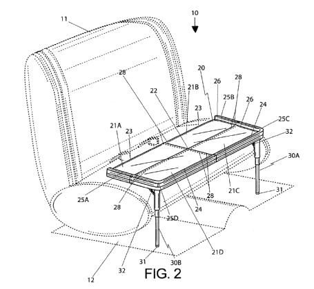
Arm-rest tables or back-rest tables |
This place covers:
Subject matter including a table and at least two seats or benches connected thereto.
This place does not cover:
Folding or stowable tables with separable parts combined with seats | |
Foldable table and seat units |
Attention is drawn to the following places, which may be of interest for search:
School forms; Benches or forms combined with desks | |
Chairs with arm-rest tables |
This place covers:
Subject matter in which the seats are movable from a use position to a stored position located substantially completely beneath the top surface of the table.
This place covers:
Subject matter in which the seats rotate about a fixed axis or fixed point between the use position and the stored position beneath the table.
This place covers:
Subject matter in which a portion of the seats are supported by sliding contact with a linear or curvilinear guide or the portion of the seats is supported by the guide through one or more interposed bearings (rolling or otherwise) or wheels as the seat is moved between the use position and the stored position. The guide has distinct ends along the path of travel of the seat portion (e.g., in contrast to a guide having the form of a cylindrical shaft around which the seat portion rotates).
This place covers:
Subject matter including seats on the opposite sides of the table and an additional structure such that a partially enclosed compartment is formed and defined by the table, seats, and additional structure.
This place covers:
Subject matter in which the seats are located on opposite sides of the table, each seat is a bench (i.e., a horizontally extending support having plural seating portions and sized to accommodate a plurality of seated persons) that has no back rest.
Attention is drawn to the following places, which may be of interest for search:
Wall tables |
Attention is drawn to the following places, which may be of interest for search:
Tables convertible otherwise into beds | |
Tables convertible otherwise into billiard tables |
Attention is drawn to the following places, which may be of interest for search:
Switchboards or switch cubicles for the distribution of electric power |
This place does not cover:
Stackable furniture |
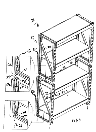
This place covers:
Illustrative example of subject matter classified in A47B 87/007


FR2027055, US3834776
Attention is drawn to the following places, which may be of interest for search:
Nodes corner connectors | |
Horizontal connecting members to receive the edges of several panel elements |
This place does not cover:
Shelves stackable by means of poles or tubular members as distance holders |
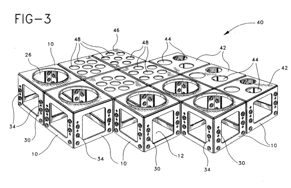
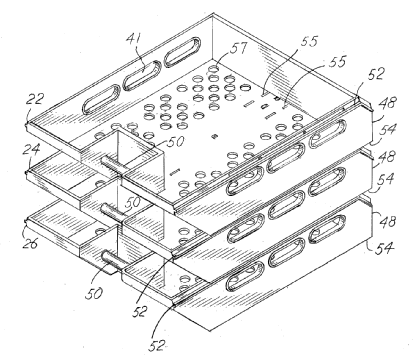
This place covers:
Stackable modular elements and some stackable juxta-posed elements

US2008110190
This place does not cover:
Stackable furniture, each casing having a cross section with a closed periphery |
Attention is drawn to the following places, which may be of interest for search:
Stackable containers |
This place does not cover:
Cabinets, racks or shelf units specially adapted for storing drawings | |
Drawers coupled to doors |
Attention is drawn to the following places, which may be of interest for search:
Drawers in or under beds | |
Locks for furniture | |
Locks for drawers, e.g. anti-tilt interlock | |
Linear slides | |
Drawers for fridges |
Attention is drawn to the following places, which may be of interest for search:
Linear slides in general | |
Drawers for fridges |
Attention is drawn to the following places, which may be of interest for search:
Slides or guides with fastening devices at cabinet side |
Attention is drawn to the following places, which may be of interest for search:
Cabinet systems, e.g. consisting of cabinets arranged in a row with means to open or close passages between adjacent cabinets |
This place covers:
Single extensible slides and similar arrangements

Attention is drawn to the following places, which may be of interest for search:
Linear slides in general |
Attention is drawn to the following places, which may be of interest for search:
Linear slides in general |
Attention is drawn to the following places, which may be of interest for search:
Linear slides in general |
Attention is drawn to the following places, which may be of interest for search:
Linear slides in general |
Attention is drawn to the following places, which may be of interest for search:
Cabinets, racks or shelf units, having one or more surfaces adapted to be brought into position for use by extending or pivoting by displacement in a vertical plane: by rotating about a horizontal axis |
Attention is drawn to the following places, which may be of interest for search:
Cabinets, racks or shelf units with means for adjusting partitions horizontally | |
Book troughs, accessories specially adapted for book storing | |
Partitions for show shelves |
Attention is drawn to the following places, which may be of interest for search:
Furniture panels or like furniture elements with a continuous layer allowing folding |
Attention is drawn to the following places, which may be of interest for search:
Furniture panels or like furniture elements with a continuous layer allowing folding |
Attention is drawn to the following places, which may be of interest for search:
Furniture panels or like furniture elements with a continuous layer allowing folding |
Attention is drawn to the following places, which may be of interest for search:
Furniture panels or like furniture elements with a continuous layer allowing folding |
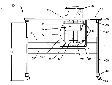
This place covers:
Illustrative example of subject matter classified in A47B 91/00


US2010/0252521, US2007052330
Attention is drawn to the following places, which may be of interest for search:
Racks or shelf units | |
Adjustable or foldable display stands | |
Castors | |
Details of attaching or adjusting frames or supporting legs on foundation or base |
In this place, the following terms or expressions are used with the meaning indicated:
'foot' or 'feet' | the (lower) extremity of a leg member |
Attention is drawn to the following places, which may be of interest for search:
Self-levelling feet |
This place covers:
Illustrative example of subject matter classified in A47B 91/04


US5042765, US2010276564
This place covers:
Illustrative example of subject matter classified in A47B 91/12



US2008/025802, US2001040206
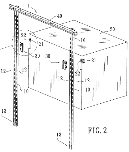
This place covers:
Illustrative example of subject matter classified in A47B 95/00


US2008048079, US5423510
This place covers:
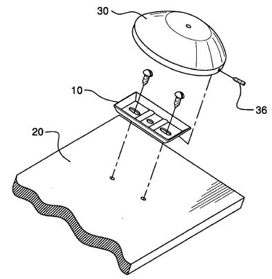
Illustrative example of subject matter classified in A47B 95/008


US2009152217, US2007221595
Attention is drawn to the following places, which may be of interest for search:
Similar handles for doors in general whereby the knobs/handles do not operate the bolt/lock |
Attention is drawn to the following places, which may be of interest for search:
Rims specially adapted for table tops | |
Keyplates in general |
Attention is drawn to the following places, which may be of interest for search:
Table tops; Rims therefor |
Attention is drawn to the following places, which may be of interest for search:
Doors in general |
Attention is drawn to the following places, which may be of interest for search:
Movable shelves coupled to doors | |
Show shelves | |
Shelves and drawers for fridges |
This place does not cover:
Shelves characterised by support bracket location means |
Attention is drawn to the following places, which may be of interest for search:
Cabinets, racks or shelf units enabling enlargement in height, length or depth | |
Slidable shelves for fridges |
Attention is drawn to the following places, which may be of interest for search:
Cabinets, racks or shelf units with means for adjusting partitions horizontally | |
Book troughs, accessories specially adapted for book storing | |
Show shelves - partitions therefore |
This place does not cover:
Single corner shelves, brackets therefore |
Attention is drawn to the following places, which may be of interest for search:
Aspects of adjusting height or inclination | |
Brackets for the display of articles |
Attention is drawn to the following places, which may be of interest for search:
Suspension fittings for cabinets to be hung on walls | |
Rails or bars; Article supports therefore, e.g. brackets being slidably attached on the outside thereof | |
Display panels or rails with elongated channels; sliders, brackets, shelves or the like, slidably attached therein |
Attention is drawn to the following places, which may be of interest for search:
Aspects of adjusting height or inclination of shelves or brackets | |
Structural elongate elements designed for load supporting | |
Structural elongate elements for building aids |
Attention is drawn to the following places, which may be of interest for search:
Table tops | |
Work tops for kitchen cabinets | |
Furniture panels or like furniture elements | |
Layered products |
This place covers:
Illustrative example of subject matter classified in A47B 96/201


US2006102054, US5275862
This place covers:
Illustrative example of subject matter classified in A47B 96/202


US5232762, US2010239795
Attention is drawn to the following places, which may be of interest for search:
Foldable cabinets | |
Foldable drawers |
Attention is drawn to the following places, which may be of interest for search:
Arrangements of light sources for display | |
Means for bringing about special optical effects for display | |
Structural combinations of lighting devices with other articles |
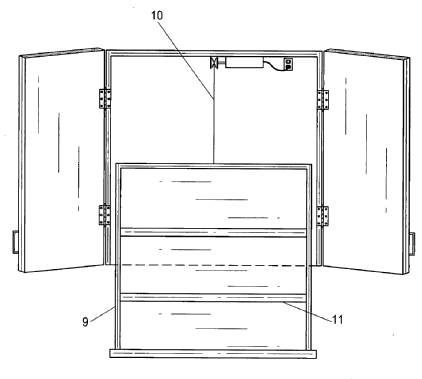
This sub-group includes:
Lighting devices for furniture
Anti-tilt devices
Attention is drawn to the following places, which may be of interest for search:
Easels or stands |
Attention is drawn to the following places, which may be of interest for search:
Suspended filing appliances for hanging large drawings or the like |
Attention is drawn to the following places, which may be of interest for search:
Easels combined with seats |
Attention is drawn to the following places, which may be of interest for search:
Means for balancing weight of drawing boards |





































































































































