CPC Definition - Subclass F16K
This place does not cover:
In combination with sliding valves | |
Diaphragm valves |
Attention is drawn to the following places, which may be of interest for search:
Functional types of lift valves |
This place covers:
Illustrative example of subject matter classified in this group.

Attention is drawn to the following places, which may be of interest for search:
For the actuation mechanism |
This place covers:
Illustrative example of subject matter classified in this group.

This place covers:
The valve member is within the flow passage.
Illustrative example:

This place covers:
Illustrative example of subject matter classified in this group.

This place covers:
Illustrative example of subject matter classified in this group.

This place does not cover:
Valves actuated by fluid in general |
This place covers:
Illustrative example of subject matter classified in this group.

Attention is drawn to the following places, which may be of interest for search:
Check valves | |
Safety/equalising valves | |
Fluid delivery valves of the self-closing type | |
Venting valves |
This place covers:
Illustrative example of subject matter classified in this group.

This place covers:
Illustrative example of subject matter classified in this group.

This place covers:
Illustrative example of subject matter classified in this group.

This place covers:
Illustrative example of subject matter classified in this group.

This place covers:
Illustrative example of subject matter classified in this group.

This place covers:
Illustrative example of subject matter classified in this group.

This place covers:
Illustrative example of subject matter classified in this group.

This place covers:
High-pressure valves, generally used in connection with pressure containers. See also F17C (Gas vessels) and G05D (Pressure regulators).
Illustrative example:

Attention is drawn to the following places, which may be of interest for search:
Connectors used in connection with pressure containers / the connectors comprising valves |
This place covers:
Valves used for opening/closing the flow path, without other functions (e.g. regulation) or other valves on the same valve body (e.g. safety valves).
This place covers:
Illustrative example of subject matter classified in this group.

This place covers:
Illustrative example of subject matter classified in this group.

In this place, the following terms or expressions are used with the meaning indicated:
Additional means | Valves or devices, used for other functional purposes than only opening/closing the valve (e.g. regulation, safety, monitoring). |
This place does not cover:
Flow regulation |
The application focuses on the "other" functions of the main valve.
In this place, the following terms or expressions are used with the meaning indicated:
Additional means | Valves or devices, used for other functional purposes than only opening/closing the valve (e.g. regulation, safety, monitoring). |
This place covers:
Details of the (permanent) connection of the valve to the container.
This place does not cover:
Connectors per se (quick connectors with valves) |
This place covers:
Details (e.g. shape, materials, function) of valve members, seats, attaching members to spindles, preventing rotation, additional adjustment (with additional means) of the flow and other arrangements of the valve member for modifying the rate of flow (see sub-classes).
This place covers:
E.g. "needle" valves.
This place covers:
Illustrative example of subject matter classified in this group.

This place covers:
Illustrative example of subject matter classified in this group.

This place covers:
Illustrative example of subject matter classified in this group.

This place covers:
Illustrative example of subject matter classified in this group.

This place covers:
Illustrative example of subject matter classified in this group.

This place covers:
Additional means for adjusting the rate of flow in combination with the cutting-off parts.
This place covers:
Only the valve member modifies the flow during the actuation of the valve.
Illustrative example:

This place covers:
Illustrative example of subject matter classified in this group.

This place covers:
Illustrative example of subject matter classified in this group.

This place covers:
Blade-type: no through-hole is present in the valve member.
Illustrative example:

This place covers:
Illustrative example of subject matter classified in this group.

This place covers:
Illustrative example of subject matter classified in this group.

This place covers:
Illustrative example of subject matter classified in this group.

This place covers:
Illustrative example of subject matter classified in this group.

This place covers:
Illustrative example of subject matter classified in this group.

This place covers:
Illustrative example of subject matter classified in this group.

This place covers:
Illustrative example of subject matter classified in this group.

This place covers:
The closure members are pushed towards the seats by hydraulic forces.
Illustrative example:

This place does not cover:
Fluid actuation of the valve |
This place covers:
Illustrative example of subject matter classified in this group.

This place covers:
The seat members are pushed towards valve members by hydraulic forces.
This place does not cover:
Fluid actuation of the valve |
This place covers:
Illustrative example of subject matter classified in this group.

This place does not cover:
Taps and cocks | |
Multiple-way (e.g. more than two) sliding valves with sealing faces shaped as surfaces of solids of revolution |
This place covers:
Illustrative example of subject matter classified in this group.

This place covers:
Illustrative example of subject matter classified in this group.

This place covers:
Illustrative example of subject matter classified in this group.

This place covers:
Illustrative example of subject matter classified in this group.

This place covers:
Illustrative example of subject matter classified in this group.

This place covers:
Illustrative example of subject matter classified in this group.

This place covers:
Illustrative example of subject matter classified in this group.

This place covers:
Constructional details of the valve member, guiding and attachment to the spindle, lubrication and other details of special arrangements for influencing the flow.
This place does not cover:
Multiple way taps or cocks |
This place covers:
Illustrative example of subject matter classified in this group.

This place covers:
Illustrative example of subject matter classified in this group.

This place covers:
Illustrative example of subject matter classified in this group.

This place covers:
Illustrative example of subject matter classified in this group.

This place covers:
Illustrative example of subject matter classified in this group.

This place covers:
Illustrative example of subject matter classified in this group.

This place covers:
Illustrative example of subject matter classified in this group.

This place covers:
Illustrative example of subject matter classified in this group.

This place covers:
Illustrative example of subject matter classified in this group.

This place covers:
Illustrative example of subject matter classified in this group.

This place covers:
Illustrative example of subject matter classified in this group.

This place covers:
Illustrative example of subject matter classified in this group.

This place covers:
Illustrative example of subject matter classified in this group.

This place covers:
Illustrative example of subject matter classified in this group.

This place does not cover:
Faucet diverter valves |
This place covers:
A common valve member seals several seats
This place covers:
Stationary valve seats and a movable valve member.
Illustrative example:

This place covers:
Stationary seats positioned between movable valve members.
Illustrative example:

This place covers:
Illustrative example of subject matter classified in this group.

This place covers:
Illustrative example of subject matter classified in this group.

This place covers:
Illustrative example of subject matter classified in this group.

This place covers:
Illustrative example of subject matter classified in this group.

This place covers:
Illustrative example of subject matter classified in this group.

This place covers:
Including means for modifying the flow for avoiding the jamming of the slide.
Illustrative example:

This place covers:
Illustrative example of subject matter classified in this group.

This place covers:
Illustrative example of subject matter classified in this group.

This place covers:
Illustrative example of subject matter classified in this group.

This place covers:
Illustrative example of subject matter classified in this group.

This place covers:
Multiple-way valves with either a common acutating means or separate actuating means for every valve member.
This place covers:
Valve arrangements which do not belong per se to any of the previous constructional classes or having a function which cannot be classified under the existing functional classes.
This place covers:
Illustrative example of subject matter classified in this group.

This place covers:
Illustrative example of subject matter classified in this group.

This place covers:
Illustrative example of subject matter classified in this group.

This place covers:
Valves that normally allow fluid (liquid or gas) to flow through it in only one direction. (also known as non-return valve, reflux valve, retention valve, one-way valve or as clack valve).
Check valves may also be characterized by their structural type (i.e. lift valves, gate valves/sliding valves, plug valves/taps/cocks, diaphragm valves, multiple-way valves) in the following groups F16K 1/00 - F16K 13/00, when it is not possible to fully classify the structural features in F16K 15/00 alone.
Examples of places where the subject matter of this place is covered when specially adapted, used for a particular purpose, or incorporated in a larger system:
Inhalers with inhalation check valves | |
Inhalers with exhalation check valves | |
One-way valves in medical respiratory devices | |
Check valves for medical applications. Details of check valves in devices for introducing media into, or onto, the body | |
Valves specially adapted for inflatable balls | |
Check valves used in devices for preventing contamination of drinking-water pipes | |
Using check valves with a crankcase | |
Valves for positive displacement machines, pumps | |
Check valves for hydraulic or pneumatic systems | |
Check valves in means for varying tension of belts | |
Check valves for lubrication systems |
Attention is drawn to the following places, which may be of interest for search:
Three-way check or safety valves with two or more closure members | |
Safety valves; Equalising valves | |
Details on the construction of the housing in check valves of the lift valve type |
If the structural features of the check valve cannot be fully classified in this area or when special features so entitle, then classification in F16K 1/00 or F16K 11/04 and respective subgroups should also be considered.
In some exceptional cases, valves classified in F16K 17/00 can also be classified in this subgroup when structural features so entitle. In general, if the structural features are already fully classified in F16K 17/00, then additional classification in F16K 15/00 is not needed.
Classification should also be given in F16K 11/105 if the valve is a multi-way valve.
Reference "valves specially adapted for inflatable balls A63B 41/00" is non-limiting in the main group F16K 15/00. CPC will be corrected once this inconsistency is resolved in IPC.
In this place, the following terms or expressions are used with the meaning indicated:
Valve member | generally refers to the component that is moving relative to the seating surface. The valve member itself may be stationary, but there is generally relative movement between it and the seating surface during opening and closing of the valve. |
This place covers:
Illustrative example of subject matter classified in this group.

This place covers:
Illustrative example of subject matter classified in this group.

This place does not cover:
Check valves with guided rigid valve members having particular constructional features. |
This place covers:
Illustrative example of subject matter classified in this group.

Examples of places where the subject matter of this place is covered when specially adapted, used for a particular purpose, or incorporated in a larger system:
Disc valves in compressors |
This place covers:
Illustrative example of subject matter classified in this group.

This place does not cover:
Check valves with guided rigid valve members being loaded by a spring of particular constructional types covered by groups |
This place covers:
Illustrative example of subject matter classified in this group.

This place covers:
Check valves with a hinged closure member or with a pivoted closure member.
Illustrative example of subject matter classified in this group.

This place covers:
Rigid valve members connected by a hinge formed of a flexible member.
Illustrative example of subject matter classified in this group. 

For purposes of classification, pivoted valves as shown below, would be considered as flexible member are NOT classified here, and are normally placed in F16K 15/14 - F16K 15/16.

Even though hinge (24) is flexible, since the valve member is also flexible and not rigid, it would be better classified in F16K 15/14 - F16K 15/16.
This place covers:
Illustrative example of subject matter classified in this group.


This place covers:
Illustrative example of subject matter classified in this group.

This place covers:
Illustrative example of subject matter classified in this group.

Centrifugal pump with splitter vane/shut-off valve system

This place covers:
Illustrative example of subject matter classified in this group.

This place covers:
Illustrative examples of subject matter classified in this group.


This place covers:
Illustrative example of subject matter classified in this group.

Examples of places where the subject matter of this place is covered when specially adapted, used for a particular purpose, or incorporated in a larger system:
Ball valves in devices for introducing media into, or onto, the body | |
Ball valves in positive displacement machines, pumps |
This place covers:
Illustrative example of subject matter classified in this group.

This place covers:
Illustrative example of subject matter classified in this group.



This place covers:
Illustrative example of subject matter classified in this group.

This place covers:
Ball valves in which the ball has features considered to be special characteristics in view of the inventive concept.
Illustrative example of subject matter classified in this group.

This place covers:
Illustrative example of subject matter classified in this group.

Examples of places where the subject matter of this place is covered when specially adapted, used for a particular purpose, or incorporated in a larger system:
Check valves with guided stems in devices for introducing media into, or onto, the body |
This place covers:
Illustrative examples of subject matter classified in this group.


This place covers:
Illustrative example of subject matter classified in this group.


This place covers:
Illustrative examples of subject matter classified in this group.


This place covers:
Illustrative examples of subject matter classified in this group.


This place covers:
Valves where the stem is guided at two or more points along the longitudinal axis of the valve member.
Illustrative example of subject matter classified in this group.


A guided closure member is also considered a guide point, as illustrated below.

This place covers:
Illustrative example of subject matter classified in this group.


This place covers:
Illustrative example of subject matter classified in this group.

Examples of places where the subject matter of this place is covered when specially adapted, used for a particular purpose, or incorporated in a larger system:
Annular disc valves in compressors | |
Hoerbiger valves in compressors |
This place covers:
Illustrative example of subject matter classified in this group.

This place covers:
Check valve in which the valve member is made of resilient deformable material which yields in response to pressure to open the valve.
Examples of places where the subject matter of this place is covered when specially adapted, used for a particular purpose, or incorporated in a larger system:
Slit valve specially adapted for medical use | |
Valve comprising a resilient or deformable element specially adapted for medical use | |
Valves formed of one or more flexible elements in positive displacement machines for liquids; pumps |
This place covers:
Illustrative example of subject matter classified in this group.


This place covers:
A single flexible valve member controls the flow through a plurality of openings, by cooperating with the seating surface of each of the individual openings.
Illustrative example of subject matter classified in this group.

This place covers:
Illustrative example of subject matter classified in this group.


Examples of places where the subject matter of this place is covered when specially adapted, used for a particular purpose, or incorporated in a larger system:
Flexible disc check valves not being fixed to the valve body specially adapted for medical use |
This place covers:
Illustrative example of subject matter classified in this group.

This place covers:
Illustrative example of subject matter classified in this group.

This place covers:
Valves with flexible members where there is a biasing means in addition to the resiliency of the flexible valve member.
Illustrative example of subject matter classified in this group.


This place covers:
Illustrative example of subject matter classified in this group.

This place covers:
Illustrative example of subject matter classified in this group.


Examples of places where the subject matter of this place is covered when specially adapted, used for a particular purpose, or incorporated in a larger system:
Slit valves in devices for introducing media into, or onto, the body | |
Valves for dispensing bottles, e.g. ketchup squeeze bottle | |
Slit valves in containers for storage or transport |
This place covers:
Illustrative example of subject matter classified in this group.

This place covers:
Illustrative examples of subject matter classified in this group.


This place covers:
Illustrative example of subject matter classified in this group.

This place covers:
Illustrative example of subject matter classified in this group.


This place covers:
Illustrative example of subject matter classified in this group.

Examples of places where the subject matter of this place is covered when specially adapted, used for a particular purpose, or incorporated in a larger system:
Valve comprising a resilient or deformable flap, specially adapted for medical use | |
Reed valves for positive displacement machines for liquids, pumps |
This place covers:
Illustrative example of subject matter classified in this group.


This place covers:
Illustrative example of subject matter classified in this group.


This place covers:
This subgroup includes two different categories:
- check valves with an actuating mechanism F16K 15/182 and subgroups
- combined check valves and actuated valves F16K 15/184 and subgroups
This place covers:
Check valves with an actuating mechanism that can alternatively move or hold the valve closure member open or closed.
Illustrative example of subject matter classified in this group.

This place covers:
Check valves with a hinged or pivoted closure member and with an actuating mechanism that can alternatively move or hold the valve closure member open or closed.
Illustrative example of subject matter classified in this group.

Ref 508: magnet.

This place covers:
Ball check valves with an actuating mechanism that can alternatively move or hold the valve closure member open or closed.
Illustrative example of subject matter classified in this group.


This place covers:
Check valves with flexible valve members and with an actuating mechanism that can alternatively move or hold the valve closure member open or closed.
Illustrative example of subject matter classified in this group.

This place covers:
Check valves which can be actuated by a pilot valve.
Illustrative example of subject matter classified in this group.

Ref 60, 62 check valves and 68 pilot valve
This place covers:
Valve arrangements including a check valve in combination with an actuated valve.
Illustrative example of subject matter classified in this group.

This place covers:
Valve arrangements including a check valve with a hinged or pivoted closure member in combination with an actuated valve.
Illustrative example of subject matter classified in this group.


This place covers:
Valve arrangements including a ball check valve in combination with an actuated valve.
Illustrative example of subject matter classified in this group.



This place covers:
Valve arrangements including a check valve with flexible valve member in combination with an actuated valve.
Illustrative example of subject matter classified in this group.


Disposable dental valve device having a check valve
Ref. 18 main rotary plug valve member and 66 flex check valve
This place covers:
Valve arrangements including a check valve in combination with actuated valves having a rotating tap or cock.
Illustrative example of subject matter classified in this group.

This place covers:
Apparatus comprising valved inflation stems of the type attached to pneumatic tyres and analogous inflatable articles, including filling and/or relief extensions of such stems, valved filling chucks or the type attached to pressure fluid supplying conduits and employed to inflate such articles by means of the inflation stems, and combinations of such inflation stems and filling chucks.
Illustrative example of subject matter classified in this group.

Valve construction for tubeless tyre
Examples of places where the subject matter of this place is covered when specially adapted, used for a particular purpose, or incorporated in a larger system:
Inflatable mattresses | |
Hollow inflatable balls | |
Inflatable kites | |
Valves for balloons | |
Arrangements of tyre-inflating valves relative to tyres or wheel rims; connection of valves to wheel rims, tyres or other inflatable elastic bodies | |
Dunnage (inflatable bags for packaging, load protection) for trailers | |
Dunnage for trains | |
Inflatable boats | |
Dunnage in general |
Reference "connecting valves to inflatable bodies B60C 29/00" is non-limiting in the subgroup F16K 15/20. CPC will be corrected once this inconsistency is resolved in IPC.
This place covers:
Flexible element controls flow into or out of inflatable article.
Illustrative example of subject matter classified in this group.

Ball with inflation valve sleeve for rapid deflation


Releasing valve for an inflatable object
This place covers:
Devices including a feature other than the valve member that obstructs a valve inlet or outlet.
Illustrative example of subject matter classified in this group.

Air Valve
This place covers:
Illustrative example of subject matter classified in this group.

Pressure regulator and method of use

Air regulator for tires
Check valves (F16K 15/00) can be classified in this sub-class when their function can be identified as falling under this title.
This place covers:
Illustrative example of subject matter classified in this group.

This place does not cover:
Actuated by temperature only |
This place covers:
Adapted for bomb-shelters.
This place covers:
When no details of the valve members or seats are disclosed in the document.
Attention is drawn to the following places, which may be of interest for search:
Nozzles, spray heads or other discharge apparatus for spraying or atomising |
Attention is drawn to the following places, which may be of interest for search:
Fuel tanks |
This place covers:
The air (or fluid) from the circuit is released.
This place covers:
Fluid (air) is admited in the circuit.
This place does not cover:
Venting of plumbing installations, waste pipes |
This place covers:
Materials and arrangements of valve members and seats not otherwise provided for
This place covers:
Illustrative example of subject matter classified in this group.

This place covers:
Illustrative example of subject matter classified in this group.

This place covers:
Devices in which the valve housing is provided with a removable closure element which retains the valve member in assembled relation with its seat.
Illustrative example of subject matter classified in this group.

This place does not cover:
Sensitive elements producing movements (e.g. bimetallic strips). |
Attention is drawn to the following places, which may be of interest for search:
Shape memory alloy |
This place covers:
Illustrative example of subject matter classified in this group.

Attention is drawn to the following places, which may be of interest for search:
Piezoelectric devices |
This place does not cover:
Magnetic circuits and magnets in general |
This place does not cover:
Details of the magnetic circuit of the motor |
This place covers:
Illustrative example of subject matter classified in this group.

This place covers:
Illustrative example of subject matter classified in this group.

This place covers:
Illustrative example of subject matter classified in this group.

This place covers:
Illustrative example of subject matter classified in this group.

This place covers:
Illustrative example of subject matter classified in this group.

This place covers:
Illustrative example of subject matter classified in this group.

This place covers:
Illustrative example of subject matter classified in this group.

This place covers:
Illustrative example of subject matter classified in this group.

This place does not cover:
Form, features and function of taps or faucets handles |
This place covers:
Construction of the float per se.
This place covers:
Locking or interlocking the valve actuating device. Not the lock per se.
Attention is drawn to the following places, which may be of interest for search:
Locks |
Attention is drawn to the following places, which may be of interest for search:
Testing or monitoring control systems or parts; Electric testing |
This place does not cover:
Above ground control means for valves in boreholes or wells | |
Testing static or dynamic balance of machines or structures; Investigate fluid-tightness (leaks) | |
Testing or monitoring control systems or parts; Electric testing |
This place covers:
Illustrative example of subject matter classified in this group.

This place covers:
Illustrative example of subject matter classified in this group.

This place covers:
It refers to sealings by fluid in general, not only liquid.
This place covers:
Sealings with stuffing-box OR sealing ring.
This place covers:
Illustrative example of subject matter classified in this group.

This place covers:
Feature that slows, cushions movement or reduces oscillation of a valve member.
Attention is drawn to the following places, which may be of interest for search:
Dampers, per se |
Devices for preventing water hammer or noise should also be classified in F16K 47/02 – F16K 47/026.
Electromagnetically actuated valves should also be classified in F16K 31/0696, as applicable.
This place covers:
Valves provided with a dashpot to prevent or reduce chattering or hunting of the valve member or to dampen the opening and/or closing of the valve member.
Illustrative example of subject matter classified in this group.

This place covers:
A movable plunger (comprising the valve member) slides within a fixed dashpot.
Illustrative example of subject matter classified in this group.

This place covers:
A movable dashpot (comprising the valve member) slides over a fixed plunger.
Illustrative example of subject matter classified in this group.

This place covers:
Valves provided with a resilient damping means to prevent or reduce chattering or hunting of the valve or to dampen the opening and/or closing of the valve member.
Illustrative examples of subject matter classified in this group.



This place covers:
Valves with arrangements for the specific purpose of reducing water-hammer or noise.
This place covers:
Damping for the specific purpose of reducing water-hammer.
Illustrative example of subject matter classified in this group.

This place covers:
Arrangements for preventing noise in single handle mixing valves.
Illustrative example of subject matter classified in this group.

Attention is drawn to the following places, which may be of interest for search:
Housings |
Attention is drawn to the following places, which may be of interest for search:
Microvalves |
B01F 33/30 - Micromixers.
B01L 3/00 - Containers or dishes for laboratory use.
B81B 1/00 - Microcapillary devices in general.
B81B 7/00 - Microstructural systems (Auxiliary parts of microstructural devices or systems.)
B81C 1/00 - Microstructural technology.
B01J 19/0093 - Microreactors.
F04B 19/006 - Micropumps.
F04B 43/043 - Membrane micropumps.
G01N 27/447 - Electrophoresis for analysis in microdevices.
See also: B81B 2201/054 - Microvalves, B81B 2203/0127 - Diaphragms, membranes for microelectromechanical structures.
In the case where both the closure member and seat are self-aligning, classification should be given in both F16K 2200/101 and F16K 2200/102.
This place covers:
Illustrative example of subject matter classified in this group.


This place covers:
Illustrative example of subject matter classified in this group.

This place covers:
Devices classified in this group have a single inlet and a single outlet.
Multi-port and multi-way valves are not classified in this group.
Illustrative example of subject matter classified in this group.

Attention is drawn to the following places, which may be of interest for search:
Plurality of pivoted valve members | |
Double-seat lift valves | |
Second valve for limiting the maximum flow rate of a lift valve | |
Sliding valves having two or more gates | |
Check valves having a plurality of hinged valve members | |
Check valves having a plurality of balls | |
Check valves having a plurality of stem guided valve members | |
Check valves having a plurality of flexible valve members | |
Combined check valves and actuated valves | |
Auxiliary valve for relieving pressure on sealing faces of lift valves | |
Auxiliary closure means in valves |
Multi-way valves do not belong in this subgroup and should be classified in F16K 11/10.
Also, dual flap pivot valves as shown below should not be classified here, but in F16K 15/036 - F16K 15/038.

This place covers:
Devices in which the valves are of different types, e.g. disc valves and ball valves, or are of different size so that they operate at different pressures.
Illustrative example of subject matter classified in this group.

This place covers:
Devices in which one of the valves carries the seat for at least one other valve, and also serves as the support for the other valve.
Illustrative example of subject matter classified in this group.

Attention is drawn to the following places, which may be of interest for search:
Auxiliary valve on main lift valve for relieving pressure on sealing faces |
This place covers:
Illustrative example of subject matter classified in this group.

This place covers:
Illustrative example of subject matter classified in this group.

This place covers:
The spring may be any type of resilient element.
Illustrative example of subject matter classified in this group.


Attention is drawn to the following places, which may be of interest for search:
Springs in general |
This place covers:
A single spring biasing a plurality of closure members.
Illustrative example of subject matter classified in this group.

This place covers:
Valves in which the plural springs bias the single valve member open or closed.
Illustrative example of subject matter classified in this group.

Attention is drawn to the following places, which may be of interest for search:
Pressure relief valves with more than one spring |
This place covers:
The spring must be in the flow path of the fluid, and the means for protecting the spring must prevent or reduce the impingement of the fluid on the spring.
Illustrative example of subject matter classified in this group.


This place covers:
Valves provided with means adjusting the preload of the biasing means, usually in terms of the pressure at which the valve will open. In devices classified in this group, only the preload is adjustable. The spring rate of the spring is not modified.
Illustrative example of subject matter classified in this group.

Attention is drawn to the following places, which may be of interest for search:
Pressure relief valve with arrangement for adjusting the opening pressure |
This place covers:
Valves with spring arrangements of non-conventional type.
Attention is drawn to the following places, which may be of interest for search:
Ball check valve with a spring other than a helicoidal spring | |
Stem guided check valve with a spring other than a helicoidal spring | |
Pressure relief valve with a spring other than a helicoidal spring |
This place covers:
Springs that are generally planar in the uncompressed state.

Magnetically operated valve with spider armature
This place covers:
At least a portion of the spring projects along a plane extending from one or more attachment points.
Illustrative example of subject matter classified in this group.

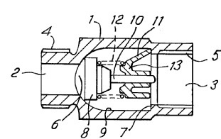
Actuating mechanism for a rolling ball valve
This place covers:
Spring includes a pitch, diameter or spring rate value that is not constant.
Illustrative example of subject matter classified in this group.

This place covers:
Valves provided with at least one passage for allowing a limited amount of fluid to flow through the valve when the valve is in the closed position, including details of leak passages.
For purposes of classification, bypass lines for pilot pressure actuated valves should not be classified in this subgroup but in F16K 31/36 or F16K 31/42 and respective subgroups.
For purposes of classification, fluid-delivery valves providing a continuous small flow should not be classified in this subgroup but in F16K 21/02 only.
For purposes of classification, valves provided with a bypass for relieving the pressure on the sealing faces should not be classified in this subgroup but in F16K 39/00 and respective subgroups.
This place covers:
Valves provided with at least one passage arranged on the closure member for allowing a limited amount of fluid to flow through the valve when the valve is in the closed position.
Illustrative example of subject matter classified in this group.

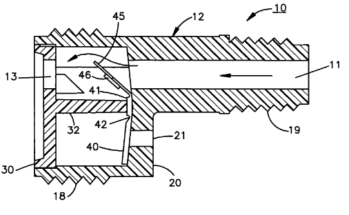
Bleeding passage 68 provided on closure member
This place covers:
Valves provided with at least one passage arranged on the valve housing or seat for allowing a limited amount of fluid to flow through the valve when the valve is in the closed position.
Illustrative example of subject matter classified in this group.

Bleeding passage 68 provided on seat/housing 20.
This place covers:
Valve assemblies with most or all of its components housed in a separate housing that are then inserted into the valve housing.

Cartridge valve 10 is inserted into housing 12
This place covers:
A valve assembly contained within a housing, which is usually replaceable and designed to permit ready insertion or removal into another housing or manifold.
Illustrative example of subject matter classified in this group.


This place covers:
Valves provided with a separate housing component (i.e. cage) that is inserted within the valve housing and with said cage surrounding and guiding the closure member.
Illustrative example of subject matter classified in this group.

Cage 14 guides closure member 13.

For purposes of classification, cages or trim with a throttle for decreasing pressure or noise should not be classified in this subgroup but in F16K 47/00.
