CPC Definition - Subclass F16D
This place covers:
Systems of clutches or couplings for transmitting rotation used within a mechanism of general utility.
Combinations of clutches and brakes used within a mechanism of general utility.
Combinations couplings for transmitting rotation from one element to another and brakes used in conjunction with each other in a mechanism of general utility.
Combinations of couplings for transmitting rotation from one element to another and a clutch used in conjunction with each other in a mechanism of general utility.
Couplings per se for transmitting rotation of the following types:
- Rigid couplings (e.g. for connecting two coaxial shafts or for attaching a member on a shaft);
- Yielding couplings (e.g. Oldham couplings, Hooke's joints, cardan joints);
- Impulse couplings;
- Slip couplings;
- Safety couplings;
- Hydrostatic couplings;
- Hydrokinetic couplings.
Clutches per se of the following types:
- Friction clutches (e.g. disc clutches, multiple disc clutches);
- Freewheel clutches;
- Hydrostatic clutches;
- Hydrokinetic clutches;
- Visco clutches;
- Internally controlled automatic clutches, e.g. centrifugal clutches, torque limiting clutches;
- External control of clutches.
Clutch components or special features related to clutches:
- Actuation mechanisms;
- Clutch slack adjusters;
- Clutch cooling devices.
Brakes per se of the following types:
- Liquid- or air-resistant brakes, e.g. Föttinger brakes, retarder;
- Self-acting brakes;
- Drum brakes;
- Disc brakes.
Brake components or special features related to brakes:
- Brake shoes, pads or bands;
- Brake discs or drums;
- Actuation mechanisms;
- Brake slack adjusters;
- Brake cooling devices;
- Brake monitoring, e.g. wear indication.
Friction linings in general:
- Composition of linings;
- Attachment of linings.
Other types of couplings for transmitting rotation, clutches or brakes not provided for in another subclass of the CPC.
F16D is a general function-orientated place.
Application-orientated places for this subject matter are provided elsewhere in the classification – see below.
This place does not cover:
Electrodynamic brake systems for vehicles in general | |
Vehicle brake control systems | |
Conjoint control of vehicle sub-units of different type or different function, e.g. when at least one sub-unit is a clutch or a brake | |
Fluid gearings | |
Combinations of fluid gearings with clutches or couplings | |
Combinations of mechanical gearings with fluid clutches | |
Differential gearings, e.g. with freewheels or other clutches | |
Dynamo-electric brakes or clutches, e.g. of the Eddy-current hysteresis type | |
Clutches or holding devices using electrostatic attraction, e.g. using Johnson-Rahbek effect |
Attention is drawn to the following places, which may be of interest for search:
Couplings:
Couplings for metal-rolling mills | |
Attachment of wheels to axles for railway carriages | |
Attachment of marine propellers on shafts | |
Couplings for drilling rods |
Clutches:
Clutches of harvesters or mowers for grass, cereals or other crops | |
Clutches in dental machines for boring or cutting | |
Clutches specially adapted for presses | |
Arrangement or location of clutches in vehicles | |
Arrangement or mounting of control devices for main transmission clutches in vehicles | |
Cycle brakes controlled by back-pedalling | |
Details of rotary fluid gearing of the hydrokinetic type | |
Combinations of mechanical gearings with fluid clutches | |
Clutches for apparatus for transmitting or receiving coded digital information |
Brakes:
Brakes of harvesters or mowers for grass, cereals or other crops | |
Brakes for threshing machines | |
Brakes for swings | |
Brakes specially adapted for presses | |
Braking devices for ribbon-feed devices in selective printing mechanisms | |
Electrodynamic brake systems for vehicles in general | |
Vehicle brake control systems | |
Brakes peculiar to rail vehicles | |
Braking mechanisms for hand carts | |
Braking mechanisms for children's carriages or perambulators | |
Braking mechanisms for animal-drawn vehicles | |
Cycle brakes | |
Braking devices for lifting or hoisting gear | |
Brakes for electric motors, generators, or dynamo-electric converters |
Couplings, clutches and/or brakes:
Conjoint control of vehicle sub-units of different type or different function, e.g. when at least one sub-unit is a clutch or a brake | |
Fluid gearings | |
Combinations of fluid gearings with clutches or couplings |
For this subclass reference is made to the corresponding Indexing Code scheme: F16D.
For clutches and couplings in F16D 1/00 - F16D 48/00 only: see F16D 2300/00, F16D 1/00 - F16D 48/00 and F16D 2500/00.
Special rules of classification for brakes, i.e. for groups F16D 48/00 - F16D 71/04:
Classification rules in groups F16D 48/00 - F16D 71/04 for brakes:
The CPC-guide refers to "invention information". This definition is not followed, since "the addition to the prior art" of most documents is not always clear. In subclass F16D the criteria for classification derive from the main rule that all relevant technical information of a document is classified to allow efficient retrieval. Most documents should preferably have two or more classification symbols. One symbol to describe the general configuration or overall construction and one or more further symbols to identify additional features should be assigned.
To avoid duplication of entries for the same subject matter, most of the existing subgroups relating to the type of operation force (e.g. hydraulic) are no longer used for classification. Instead the codes relating to brake actuation in groups F16D 2121/00 - F16D 2131/00 are given to each document.
Examples:
A hydraulically actuated band brake previously classified in IPC group F16D 49/12 is classified according the rules in F16D 49/08 and F16D 2121/04.
A hydraulically and magnetically actuated band brake also classified in IPC group F16D 49/12 is classified according the rules in F16D 49/08, F16D 2121/04, F16D 2121/20 and F16D 2123/00.
In this place, the following terms or expressions are used with the meaning indicated:
actuator | a component of a mechanism that causes movement of a motion-conveying component or motion-inhibiting component but does not itself directly convey or inhibit motion. |
brake | a mechanism with at least one component that is moved by an actuator to selectively or automatically engage or stop a member with respect to a stationary part. |
clutch | a mechanism with at least two relatively movable components that are selectively or automatically engaged with each other by control means, e.g. an actuator, to transmit mechanical power or convey motion from a first member to a second member or disengaged by control means to stop transmitting mechanical power or conveying motion. |
coupling for transmitting rotation | a mechanism that transmits torque or conveys rotary motion from a first shaft to a second shaft or other rotating member and that either does not include relatively moving components or, if it has relatively moving components, the components move without the use of control means. |
In patent documents, the following abbreviations are often used:
Slack adjuster | Wear compensation mechanism, automatic adjuster, automatically adjusting device, automatic adjustment device, self-adjustment device |
Freewheel clutch | One-way clutch |
This place does not cover:
Attachment of cranks to their shafts |
In this place, the following terms or expressions are used with the meaning indicated:
Rigidly | "rigidly" means that there is no play or clearance intended in the connection (DE:spiel, FR:jeu). |
This place covers:
Used for adhesive connection or welding, but not limited thereto. Rivets are also non-disconnectable therefore this type of connection would also be classified here. But bolts are usually disconnectable and would be classified rather in F16D 1/033 when connecting two faces perpendicular to the axis of rotation.
This place covers:
Used for connecting two abutting shafts or the like by means of a clamping hub or hub with a longitudinal key. Examples of clamping hubs (radial clamping/loading) and keys can be found in the titles of the subgroups of F16D 1/08.
This place covers:
Used for connecting two abutting shafts or the like by means of radial clamping due to axial loading of at least one pair of conical surfaces. Examples of this kind of clamping can be found in the subgroups of F16D 1/09.
This place covers:
Used for attachment of a member on a shaft or on a shaft end by means of a clamping hub or a hub with a longitudinal key.
This place covers:
Used for attachment of a member on a shaft or on a shaft end by means of a radial clamping hub due to deformation of a resilient body or a body of fluid, e.g. used for hubs comprising cavities which can be pressurised by fluid, so that a wall of the hub can expand towards the shaft in order to radially clamp the shaft.
This place covers:
Used for attachment of a member on a shaft or on a shaft end by means of a radial clamping hub due to tilting of a hub part or ring about a diametral axis, meaning that radially clamping is achieved by means of tilting of a hub part or ring about an axis perpendicularly crossing the rotational axis.
This place covers:
Used for attachment of a member on a shaft or on a shaft end by means of a radial clamping hub due to rotation along an eccentric surface, e.g. arcuate wedging elements on the inner surface of the hub and/or the mating outer surface of the shaft, whereby clamping is achieved when the shaft and hub are relatively rotated and the elements wedge.
This place covers:
Used for attachment of a member on a shaft or on a shaft end by means of a radial clamping hub due to clamping of a helical wrap spring on the shaft or in the hub bore, e.g. by expanding the wrap spring against the hub bore due to relative rotation of the spring ends around the rotational axis.
This place covers:
Used for attachment of a member on a shaft or on a shaft end by means of a radial clamping hub due to clamping by a set screw, e.g. a screw screwed in the hub in a radial direction through the hub and ending in the hub bore and thereby hitting the shaft outer surface.
This place covers:
Used for attachment of a member on a shaft or on a shaft end by means of a radial clamping between the mating surfaces of the hub and the shaft due to the elasticity of the hub, e.g. a hub is heated (to enlarge its bore), is then put on the shaft and subsequently cooled in order to crimp or e.g. a hub is press fit on a shaft.
This place covers:
Used for attachment of a member on a shaft or on a shaft end by means of a radial clamping between the mating surfaces of the hub and the shaft due to tangential loading of the hub, e.g. a split hub, meaning e.g. a hub which has a radial split in the direction of the rotational axis, whereby the parts of the hub adjacent to the split and facing each other are clamped together by e.g. a screw so that the bore of the hub clamps around the shaft.
This place does not cover:
Tapered keys |
This place does not cover:
Couplings comprising a chamber including a tapered piston moved axially by fluid pressure to effect clamping |

This place covers:
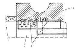
Used for attachment of a member on a shaft or on a shaft-end with clamping hub, with radial clamping due to axial loading of at least one pair of conical surfaces, using one of more elastic segmented conical rings forming at least one of the conical surfaces, the rings being contracted to effect clamping, with clamping effected by ring contraction only, e.g. used for the following arrangements: see figure:

the rings 9,10 are stiff and the elastic ring 3 is contracted when the rings 9,10 are loaded (when the bots are tightened).
This place does not cover:
Couplings for connecting two abutting shafts |
This place covers:
Used for attachment of a member on a shaft or on a shaft-end with clamping hub, with radial clamping due to axial loading of at least one pair of conical surfaces, using one of more elastic segmented conical rings forming at least one of the conical surfaces, the rings being expanded to effect clamping, with clamping effected by ring expansion only, e.g. used for the following arrangements: see figure (the elastic ring 45 is expanded between the shaft part 13 and the hub 3 when screwed on the shaft end 14):

Attention is drawn to the following places, which may be of interest for search:
Other joints having more than one degree of angular freedom, i.e. universal joints |
This place covers:
Universal joints in which flexibility is produced by means of rolling connecting parts, one coupling part entering a sleeve of the other coupling part and connected thereto by rolling members whereby the rolling members are being guided in grooves in both coupling parts.
This place covers:
Universal joints where the rolling members are being guided in grooves on both coupling parts. The projection of the groove lines forming a S curve with an inflection point, see inner contour of part (12) and outer contour of part (16) in the figure.

This place covers:
Universal joints where the rolling members are being guided in grooves on both coupling parts. In the projection these grooves are composed of radii and straight lines, see groove line (11b) and (12b) in the figure.

This place covers:
Universal joints where the rolling members are being guided in grooves in both coupling parts, and the groove centre-lines of each coupling part are lying on a sphere with the same centre.

This place covers:
Universal joints where the rolling members are being guided in grooves in both coupling parts, the groove centre-lines are lying on spheres and the centres of these spheres (D1, G1) are offset from the joint centre (E1).
Each complete groove centre-line lying on (a part of) a single sphere.
This place does not cover:
In case the groove centre-lines are composed of combinations of parts of several spheres |

Attention is drawn to the following places, which may be of interest for search:
Similar clutches |
Attention is drawn to the following places, which may be of interest for search:
Combined with yielding shaft couplings | |
Fluid slip couplings | |
Gearings with arrangements or devices for absorbing overload or preventing damage by overload |
Attention is drawn to the following places, which may be of interest for search:
Couplings in which overload initiates a decrease of coupling pressure or a disconnection, see the relevant groups for clutches, e.g. for friction overload clutches |
Attention is drawn to the following places, which may be of interest for search:
Overload clutches of the ratchet type |
Attention is drawn to the following places, which may be of interest for search:
Arrangements for synchronisation |
Attention is drawn to the following places, which may be of interest for search:
Arrangements for synchronisation |
Attention is drawn to the following places, which may be of interest for search:
Similar clutches electromagnetically actuated | |
Similar slip clutches | |
Similar freewheel clutches | |
Similar brakes |
Attention is drawn to the following places, which may be of interest for search:
Similar brakes |
Attention is drawn to the following places, which may be of interest for search:
Similar brakes |
Attention is drawn to the following places, which may be of interest for search:
Similar brakes |
Attention is drawn to the following places, which may be of interest for search:
Similar brakes |
Attention is drawn to the following places, which may be of interest for search:
Similar brakes |
This place does not cover:
Tools for assembling or disassembling clutches |
This place does not cover:
Friction lining or attachment thereof |
This place does not cover:
Brake-bands, brake-shoes, brake-drums |
This place does not cover:
Brake-plates, brake-lamellae |
This place does not cover:
One or more discs connected to the linings transmitting torque to one or more discs connected to the hub by helical springs in windows in the discs, i.e. rotary vibration dampers |
This place does not cover:
Clutch flywheels comprising two or more masses with a rotational damper |
This place does not cover:
Freewheels, freewheel clutches |
This place does not cover:
For synchronisation |
Attention is drawn to the following places, which may be of interest for search:
In endless-track vehicles |
In this place, the following terms or expressions are used with the meaning indicated:
Mechanically actuated clutches | include also clutches other than mechanically actuated, e.g. electrically or hydraulically actuated |
This place does not cover:
Shape or mounting of interengaging parts of clutch members to facilitate engagement |
This place does not cover:
In combination with an additional friction clutch |
This place does not cover:
Specific for combined clutches | |
Mechanisms specific for synchronisation |
This place does not cover:
Fluid actuated torque limiting clutches |
In this place, the following terms or expressions are used with the meaning indicated:
Fluid | any gas or liquid, e.g. for pneumatic or hydraulic control |
Attention is drawn to the following places, which may be of interest for search:
Arrangements or mounting of clutches in vehicles |
This place does not cover:
Clutches with electro-rheological fluids | |
Clutches with magnetisable particles | |
Magnetic clutches e.g. electrostatic or Eddy current clutches |
This place does not cover:
Clutches actuated directly by means of an electromagnet | |
Clutches with electro-rheological fluids | |
Clutches with magnetisable particles | |
Magnetic clutches e.g. electrostatic or Eddy current clutches |
This place does not cover:
Retarders | |
Torque converters |
Attention is drawn to the following places, which may be of interest for search:
Mounting of such means in vehicles |
Attention is drawn to the following places, which may be of interest for search:
Applicable also to fluid gearing |
Attention is drawn to the following places, which may be of interest for search:
Arrangements of viscous clutches in four-wheel drives |
Attention is drawn to the following places, which may be of interest for search:
Couplings for varying the relationship between two coaxial shafts | |
Freewheels, freewheel clutches |
This place does not cover:
Clutches in which the drive is transmitted through a medium consisting of small particles |
Attention is drawn to the following places, which may be of interest for search:
Slip couplings of the ratchet type |
Attention is drawn to the following places, which may be of interest for search:
Slip couplings with intermediate balls or rollers |
Attention is drawn to the following places, which may be of interest for search:
Corresponding slip couplings |
Attention is drawn to the following places, which may be of interest for search:
Corresponding slip couplings |
Attention is drawn to the following places, which may be of interest for search:
Corresponding slip couplings |
Attention is drawn to the following places, which may be of interest for search:
Actuating by means of stationary abutment | |
Control of change-speed or reversing-gearings conveying rotary motion |
Attention is drawn to the following places, which may be of interest for search:
Clutch flywheels with damping devices |
Attention is drawn to the following places, which may be of interest for search:
Freewheels combined with a clutch to lock the driving and driven members of the freewheel |
Attention is drawn to the following places, which may be of interest for search:
Details of pistons in master or slave cylinders |
Attention is drawn to the following places, which may be of interest for search:
Fluid-actuated clutches with the line of action of the fluid-actuated members being distinctly separate from the axis of rotation | |
Clutches and systems of clutches with a fluid pleasure piston driven by an electric motor |
Attention is drawn to the following places, which may be of interest for search:
Pedals per se |
Attention is drawn to the following places, which may be of interest for search:
Details of actuators per se |
This place covers:
Illustrative example of subject matter classified in F16D 2048/026.
Arrangement: Source - Actuation cylinder


This place covers:
Illustrative example of subject matter classified in F16D 2048/0263.
Arrangement: Source- Passive valves - Actuation cylinder


This place covers:
Illustrative example of subject matter classified in F16D 2048/0266.
Arrangement: Source - Active valves - Actuation cylinder

This place covers:
Illustrative example of subject matter classified in F16D 2048/0269.
Arrangement: Source - Single valve - Actuation cylinder


This place covers:
Illustrative example of subject matter classified in F16D 2048/0272.
Arrangement: Source - Two valves - Actuation cylinder/Sump

This place covers:
Illustrative example of subject matter classified in F16D 2048/0275.
Arrangement: Source - Two valves in parallel - Actuation cylinder

This place covers:
Illustrative example of subject matter classified in F16D 2048/0278.
Arrangement: Source - Two valves in series - Actuation cylinder

This place covers:
External drum brakes.
This place does not cover:
Bicycle brakes engaging the tyre surface | B62L1/05 |
All technical features that are considered relevant for future prior art searches should be classified by using codes in groups F16D 2121/00 - F16D 2129/00.
This place covers:
Internal drum brakes
All technical features that are considered relevant for future prior art searches should be classified by using codes in groups F16D 2121/00 - F16D 2131/00.
This place covers:
Brakes with a drum that is engaged both radially internally and externally.
All technical features that are considered relevant for future prior art searches should be classified by using codes in groups F16D 2121/00 - F16D 2131/00.
All technical features that are considered relevant for future prior art searches should be classified by using codes in groups F16D 2121/00 - F16D 2131/00.
This place covers:
Standard disc brakes having an axially fixed disc.
This place covers:
The common actuating member (e.g. caliper) is movably mounted (sliding, pivoting) in order to apply the brake force evenly on both sides of the disc.
This group is used if the way of mounting of the actuating member is not relevant or not shown.
This place covers:
Tong brakes, mainly for railway vehicles.
This place does not cover:
Rim brakes for bicycles |
This place covers:
e.g. pivoting caliper disc brakes.
This place covers:
so-called fixed caliper brakes.
This place covers:
The term "plurality of" relates to stator and rotor elements, i.e. brakes with one axially movable rotor and one axially movable stator (disc or pad) fall within the scope of this class.
This place covers:
Brakes with a single disc which is rotating and axially movable.
This place covers:
so-called multi-disc or lamellae brakes.
All technical features that are considered relevant for future prior art searches should be classified by using codes in groups F16D 2121/00 - F16D 2131/00.
All technical features that are considered relevant for future prior art searches should be classified by using codes in groups F16D 2121/00 - F16D 2131/00.
This place covers:
Spring-applied brakes, regardless of their type (drum / disc).
This group is not used for classification anymore. Instead a classification for the type of brake and the appropriate codes in group F16D 2121/00 "for releasing a normally applied brake" is assigned.
Example:
A spring-applied, electromagnetically released fixed caliper disc brake is classified F16D 55/228 and F16D 2121/22.
This place does not cover:
Electrodynamic brake systems for vehicles | |
Dynamo-electric brakes |
All technical features that are considered relevant for future prior art searches should be classified by using codes in groups F16D 2121/00 - F16D 2131/00.
This place covers:
Brakes combining a plurality of brakes, each of these brakes is additionally classified in the relevant groups, e.g. a combined disc and drum brake is classified F16D 63/00 and F16D 51/00 and F16D 55/00.
All technical features that are considered relevant for future prior art searches should be classified by using codes in groups F16D 2121/00 - F16D 2131/00.
This place covers:
Brake parts, details and accessories which cannot be classified in any of the other groups or in the subgroups of F16D 65/00.
All technical features that are considered relevant for future prior art searches should be classified by using codes in groups F16D 2121/00 - F16D 2131/00.
This place covers:
Means for noise or vibration control in brakes.
This place does not cover:
Resilient means interposed between pads and supporting members (so-called anti-rattle springs) |
If noise or vibration of a specific brake or component is controlled, an additional classification is given.
Example:
A brake disc with means for noise damping is classified F16D 65/0006 and F16D 65/12.
This place covers:
Parts of axially engaging brakes, e.g. disc brakes, which are classified F16D 55/00.
This place covers:
Members interacting with each other to produce the braking effect, including active braking members, e.g. brake pads, and passive members to be braked, e.g. brake discs and drums; Accessories for mounting, e.g. holding springs, abutments.
This place does not cover:
Friction linings as such (physical aspects, e.g. shape) | |
Friction lining composition |
This place covers:
Drum brake shoe pivots or abutments, e.g. anchor blocks.
This place covers:
e.g. springs holding drum brake shoes in contact with the brake carrier.
This place covers:
e.g. details of disc brake pad abutments.
This place covers:
primarily so-called anti-rattle springs.
This place covers:
Cylindrical braked members, engaged on the radially inner and/or outer side. Contains mainly brake drums for standard drum brakes, i.e. with radially inner braking surface.
This place does not cover:
Rotors having both a drum and a disc part |
Additional classification is given in groups F16D 2065/13.
This place covers:
Simple disc rotors and rotors having both a drum and a disc part.
Additional classification is given in groups F16D 2065/13.
This place covers:
Actuating mechanisms which are integrated in the brake itself.
This place does not cover:
Actuation mechanisms arranged apart from the brake, e.g. connected to the brake by a rod. |
This place covers:
in particular disc brake actuators.
This place covers:
in particular drum brake actuators.
This place covers:
Independent actuator units, e.g. slave cylinders acting on the brake members via a rod.
Attention is drawn to the following places, which may be of interest for search:
Brake cylinders other than ultimate actuators |
This place covers:
Anything to do with cooling of brakes; e.g. modification of brakes to improve cooling, liquid cooling circuits.
This place does not cover:
Brake drums with cooling fins | |
Internally ventilated brake discs | |
Vehicle modifications to facilitate cooling of brakes |
This place covers:
Devices for brake monitoring only.
This place does not cover:
Monitoring brake control circuits |
All technical features that are considered relevant for future prior art searches should be classified by using codes in groups F16D 2121/00 - F16D 2131/00.
This place covers:
Arrangements combining clutches with brakes in one unit
Arrangements combining couplings with brakes in one unit
This place does not cover:
Conjoint control of brake systems and driveline clutches in vehicles |
All technical features that are considered relevant for future prior art searches should be classified by using codes in groups F16D 2121/00 - F16D 2131/00, e.g. additional classification for indicating type of brake and actuating force are assigned.
This place covers:
Clutches with external or internal control combined with a brake.
This place covers:
Friction elements characterised by their physical aspects (e.g. shape or surface structure).
This place does not cover:
Braking members, e.g. assembly of friction material and support structure, friction block with backing plate | |
Friction lining composition |
All technical features that are considered relevant for future prior art searches should be classified by using codes in groups F16D 2200/00 and F16D 2250/00.
This place covers:
- processes for making friction linings
- special shapes or arrangements of linings
- semi-metallic compositions e.g. metal-ceramic
This place does not cover:
- ceramic composites (e.g. C/SiC): F16D 69/023 with Indexing Code for "ceramic composite" and C04B
- anti friction materials: F16C 33/00
Attention is drawn to the following places, which may be of interest for search:
Clutching elements | |
Braking elements | |
Mating compositions for stator / rotor | |
Layered structure | |
Clutch discs | F13D13/64 |
Surface treatment of the friction surface F16D 69/02 and Indexing Code for "surface treatment"
This place covers:
C/C composites and ceramic composites : carbon/carbon composites infiltrated with Si, B or Metals.
Attention is drawn to the following places, which may be of interest for search:
C/C composites infiltrated with silicium, in general | |
C/C composite materials in general |
For ceramic composites: F16D 69/023 and Indexing Code for "ceramic composite".
This place covers:
Compositions containing :
- metals or metal oxides as BINDER
- inorganic binders
- sintered metals
Attention is drawn to the following places, which may be of interest for search:
Metal alloys |
This place covers:
This code indicates which operation force drives the brake and is combined with a classification characterising the general structure of the brake or the actuator itself (e.g. drum / disc brake).
If different sources are present, each is classified separately, and in addition, a classification in group F16D 2123/00 is assigned.
Attention is drawn to the following places, which may be of interest for search:
Actuator components | |
Actuators for ancillary elements like parking brake locks |
This place does not cover:
Brakes comprising a medium with electrically or magnetically controlled internal friction | |
Electrodynamic brake systems for vehicles | |
Dynamo-electric brakes; eddy current brakes |
This place covers:
This code indicates the presence of multiple independently operating actuators. Not used for plural actuators which are connected to the same power source and can only work in concert, like interconnected hydraulic cylinders.
When this code is assigned, each operation force is indexed additionally.
This place covers:
The code is used to describe the mechanical construction of actuators; a symbol is assigned for each individual component.
This place covers:
Additional control mechanisms having a specific function; does not include slack adjusters (classified in group F16D38/00) or simple mechanical elements (indexed F16D 2125/00).
Attention is drawn to the following places, which may be of interest for search:
Brake pedal position |






























































