CPC Definition - Subclass A63B
This place covers:
Gymnastic or exercising apparatus or equipment, of which examples are:
- Horizontal or parallel bars, balance beams, tightropes or similar apparatus;
- Apparatus for jumping e.g. pole-vaulting poles, spring-boards, trampolines, high-jump apparatus, skipping-ropes;
- Mats for absorbing the shock of landing, e.g. in pole-vaulting;
- Freely-suspended apparatus e.g. swinging rings, trapezes, climbing-ropes;
- Climbing poles, frames or stages, clubs, hoop exercising apparatus;
- Fitness devices, exercising apparatuses for ACTIVE exercising (A63B 21/00-A63B 24/00);
- Exercising apparatus for developing or strengthening muscles or joints against a counterforce, e.g. in weight training;
- Apparatus for conditioning the cardio-vascular system, e.g. exercise bikes, treadmills;
- Apparatus for conditioning particular parts of the body, e.g. particular muscle groups;
- Electric or electronic controls for such apparatus.
Climbing or mountaineering apparatus, including apparatus for climbing trees or poles; Swimming aids or equipment, e.g. fins, flippers, goggles;
- Electric or electronic controls for such apparatus.
Balls for ball games including:
- Solid balls, e.g. golf balls, cricket balls, marbles;
- Hollow non-inflatable balls, e.g. for squash rackets or tennis;
- Hollow inflatable balls e.g. for football, rugby, American football;
- Balls with special arrangements e.g. handles or eccentric centres of gravity (e.g. in bowling balls); and
- Apparatus or methods for manufacturing balls or for handling or treating them, e.g. cleaning.
Rackets, bats or other striking implements for ball games, e.g. tennis rackets and similar, golf clubs, baseball bats, cricket bats, hockey sticks.
Accessories for golf; accessories for other ball games.
Targets or goals for ball games; tennis and similar nets and accessories therefor.
Implements for throwing, e.g. darts, javelins, spears, throwing-hammers, boomerangs, discus discs, quoits, juggling clubs.
Miscellaneous sporting games, e.g. miniature golf, juggling, curling, badminton, shuttlecock or like games, games using a hockey puck; projectiles for these games which do not fall into the above category of balls for ball games.
Training appliances for particular sports, e.g. for fencing, riding, skiing, rowing, punching-balls for boxing, golf swing trainers, artificial mountain slopes.
Other games or sports accessories, e.g. indicating or scoring devices, body protectors.
- Some sporting subject matter is to be found in other subclasses of class A63.
- Skates, skis and their bindings, roller skates, skate-boards and the design or layout of playing-courts, rinks, bowling-greens or water-skiing areas or the like are classified in A63C.
- Merry-go-rounds, swings, rocking-horses, toy animals for riding, chutes, switchbacks, water roundabouts, helter-skelters or the like are classified in A63G.
- Toys are in A63H.
- Racing, riding sports and equipment and accessories therefore, including race-courses and race-tracks, are in A63K.
In relation to apparatus or methods for manufacturing balls, it should be borne in mind that working of plastics or substances in a plastic state is classified in class B29 and the chemical or compositional aspects of balls is in Section C, e.g. compositions for making golf balls are usually in subclass C08L.
- Sporting subject matter can be found in other subclasses within CPC
- Methods to process and manage data is found under subclass G06Q.
- ICT specially adapted for therapies or health-improving plans relating to physical therapies or activities, e.g. physiotherapy, acupressure or exercising G16H 20/30
- Teaching a sequence of movements in sports is found in G09B 19/0038.
This place does not cover:
Apparatus for passive exercising or massage |
Examples of places where the subject matter of this place is covered when specially adapted, used for a particular purpose, or incorporated in a larger system:
Non-skid devices or attachments for footwear, e.g. crampons | |
Breathing masks or helmets for use at high altitudes | |
Safety belts for climbers | |
Picks | |
Ladders attached to fixed structures |
Attention is drawn to the following places, which may be of interest for search:
Protective equipment in the form of clothing or garments for sporting purposes | |
Uses of garments specially adapted for sport activities | |
Soft caps; hoods with protection against blows | |
Helmets | |
Measuring muscular strength for diagnostic purposes | |
Video games | |
Manufacturing sport articles | |
Connecting valves to inflatable elastic bodies | |
Unicycles | |
Bicycles | |
Vessels or like floating structures for pleasure or sport | |
Life-saving in water | |
Breathing aids for swimming, e.g. snorkels | |
Training of parachutists | |
Devices for producing mechanical power from muscle energy | |
Weapons for projecting missiles | |
Sling weapons | |
Archers' finger tabs | |
Traps for clay-pigeon targets | |
Stop watches | |
Controlling member being movable by hand, e.g. joystick | |
PDA - Personal Assistance Device | |
Time or attendance registers | |
Signal device with lights | |
Simulators for training | |
Devices for exercising or strengthening of fingers or arms in teaching music | |
Teaching repetitive work cycles; sequence of movements | |
Displaying; advertising; signs; labels or name-plates; seals | |
ICT specially adapted for therapies or health-improving plans relating to physical therapies or activities, e.g. physiotherapy, acupressure or exercising |
In A63B, indexing codes are required whenever the additional information is relevant; also, when only an indexing code applies.
In this place, the following terms or expressions are used with the meaning indicated:
Support element | an apparatus element for supporting a body part during exercising, e.g. a handle for the hand, a seat for the buttocks; |
Handle | a support element for a single hand or arm (upper limb); |
Pedal | a support element for a single foot or leg (lower limb); |
Steps | support elements for lower limbs; |
Band | a continuous support element for upper or lower limbs, used at undetermined, variable places during exercising; |
Platform | a support element of an exercising apparatus, used for any body part, e.g. for both feet |
Body planes

In patent documents, the following words/expressions are often used as synonyms:
- "the body-symmetrical plane" and "midsagittal plane or median plane"
This place covers:

Attention is drawn to the following places, which may be of interest for search:
Bars for chinning, pull-ups | |
Athletics hurdles |
This place covers:

US2006270523
This place does not cover:
Rope dancing | |
Other apparatus for improving balance |
This place covers:

US4323234


US2004235620

US2011077133
This place does not cover:
Mats for jumping | |
Bungee jumping | |
Planes mounted on springs for playing | |
Devices for racing or riding sports, e.g. hurdles |
Attention is drawn to the following places, which may be of interest for search:
Elastic means are coded under | |
General features for injury prevention in sport apparatuses | |
Backstops, cages, enclosures or the like | |
Space saving arrangements, e.g. foldable or collapsible | |
Apparatus for multiple users | |
Floating apparatus | |
Inflatable | |
Mats or carpets for courts | |
Connections of rods or tubes |
Attention is drawn to the following places, which may be of interest for search:
Resilient force-resisters | |
Games similar to volleyball or basketball and played on trampolines or the like, e.g. "Spaceball" or "Aeroball" | |
Protective housings covering the working parts of the apparatus | |
Jumping devices used for lowering persons from buildings or the like |
Elastic means, e.g. springs connecting the mat with the frame of a trampoline are classified both in A63B 5/11 and A63B 21/02 and subgroups.
Attention is drawn to the following places, which may be of interest for search:
Walk exercisers without moving parts | |
Hurdling | |
Slalom gate poles, posts or marking sticks for sport fields | |
Athletics hurdles | |
Road signs or traffic signals in the form of a three-dimensional body, e.g. cones |
This place covers:
Mats as illustrated.


Attention is drawn to the following places, which may be of interest for search:
Small and/or yoga mats | |
Mats for jogging on the spot | |
Mats for golf practice | |
Stuffed or fluid mattresses specially adapted for chairs, beds or sofas | |
Pavings for sport grounds | |
Resiliently mounted floors |
This place covers:

WO2008085058

DE102009012127

WO9108800
This place covers:
- Poles on a flexible support;
- Rope networks;
- Grids.

WO2006079182
This place does not cover:
Endless loop ladders | |
Climbing walls for mountaineering training | |
Playgrounds | |
Playhouses, play-tents, big enough for playing inside |
Attention is drawn to the following places, which may be of interest for search:
Flat climbing nets | |
Three-dimensional rope or cable networks | |
With water spraying means | |
Games or sport accessories for large room or outdoor sporting games | |
used in water | |
inflatable | |
Planes mounted on springs | |
Means for fastening cables |
Attention is drawn to the following places, which may be of interest for search:
Amusement arrangements |
Attention is drawn to the following places, which may be of interest for search:
Amusement arrangements involving water |
This place covers:
Items as shown in illustrations.


Attention is drawn to the following places, which may be of interest for search:
Resistances to the movement of the club | |
Special means for attachment of arms or hands to exercising or sports equipment | |
Substantially flexible shafts, hinged shafts | |
Telescopic shaft | |
Juggling games using sticks or discs | |
Normal golf clubs with directly attached weights for training |
Attention is drawn to the following places, which may be of interest for search:
Movable ballast means for adjusting the centre of mass of golf clubs, bats, rackets or the like |
Attention is drawn to the following places, which may be of interest for search:
Powered illuminating means | |
Exercising or sporting devices provided with means enabling use in the dark |
This place covers:

US4278250
Attention is drawn to the following places, which may be of interest for search:
Space saving | |
Used in water |
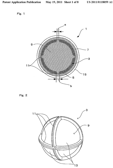
This place covers:
Non-eccentric hoop exercisers (e.g. Hula hoops). The following image show a hoop 10 positioned to engage with a portion of the waist of person 90.

This place does not cover:
Eccentric weights put into orbital motion by nutating movement of the user |
Attention is drawn to the following places, which may be of interest for search:
Space saving | |
Used in water | |
Inflatable | |
Spinning hoops, whirling amusement devices, orbiting toys | |
Rolling drums, turning somersaults with or without rolling seats | |
Hoop movement apparatuses not driven by the user, e.g. motor driven | |
Toy hoops, i.e. rings to be rolled by separate sticks |
This place does not cover:
Resisting devices overcoming gyroscopic forces of rotating bodies | |
Standing on it for equilibrium exercises |
Attention is drawn to the following places, which may be of interest for search:
Spherical hulls or hulls in the shape of a vertical ring for use in water |
This place covers:
This main group covers the construction features of the apparatuses for ACTIVE exercising
This place does not cover:
Electric or electronic control |
Examples of places where the subject matter of this place is covered when specially adapted, used for a particular purpose, or incorporated in a larger system:
These further different aspects should be considered while classifying the apparatuses for active physical exercising (see also the flowchart annexed after A63B 24/00 and the Classification examples for A63B 22/00):
Use for cardio-vascular, agility or coordination | |
Use of the apparatus for strength training |
Attention is drawn to the following places, which may be of interest for search:
Means for physically limiting movements of body parts | |
Position of the user during training | |
Space saving, e.g. collapsible | |
Sensors | |
Multi station exercising machines | |
Measuring muscular strength |
- Force transmission means: A63B 21/15;
- Kind of resistance of fitness devices: A63B 21/00189, A63B 21/00192, A63B 21/00196, A63B 21/005 - A63B 21/078, A63B 21/22;
- Supports for anchoring force resistors: A63B 21/04, A63B 21/16.

The preceding image includes references to A63B 21/0004, A63B 21/00047, A63B 21/00061, A63B 21/00065, A63B 21/00069, A63B 21/00076, A63B 21/00178, A63B 21/00181, A63B 21/00185, A63B 21/002, A63B 21/005, A63B 21/0051, A63B 21/0053, A63B 21/0056, A63B 21/0057, A63B 21/0058, A63B 21/008, A63B 21/0083, A63B 21/0084, A63B 21/0087, A63B 21/0088, A63B 21/012, A63B 21/02, A63B 21/023, A63B 21/026, A63B 21/028, A63B 21/04, A63B 21/0407, A63B 21/0414, A63B 21/0421, A63B 21/0428, A63B 21/0435, A63B 21/0442, A63B 21/045, A63B 21/05, A63B 21/055, A63B 21/06, A63B 21/0601, A63B 21/0608, A63B 21/0609, A63B 21/0615, A63B 21/068, A63B 21/072, A63B 21/075, A63B 21/078, A63B 21/15, A63B 21/151, A63B 21/157, A63B 21/158, A63B 21/159, A63B 21/22, A63B 21/225, A63B 21/28, A63B 21/285, A63B 22/00, A63B 23/00, A63B 24/00, A63B 71/06.
This place does not cover:
Weights moving upon horizontal plane | |
Weight worn on user's body | |
Free weights, Dumbbells and Barbells | |
Resisting device worn on user's body | |
Moving as a whole on wheel |
This place does not cover:
Skipping ropes | |
Using resilient force-resistors |
Attention is drawn to the following places, which may be of interest for search:
Buckles with strap length adjustment |
This place covers:
US6287244
This place does not cover:
Exercising device moving as a whole during use | |
Isometric exercising devices | |
Benches | |
Step exercisers without moving parts | |
Walk exercisers without moving parts | |
Support for the head or the back |
This place does not cover:
Variation of the resistance for weight resistance | |
Electronic variation of resistance |
This place does not cover:
Apparatus for passive exercising |
Attention is drawn to the following places, which may be of interest for search:
Isokinetic exercising |
This place does not cover:
Using user's body weight |
Attention is drawn to the following places, which may be of interest for search:
Isometric exercising |
This place does not cover:
Elastic materials with internal friction |
Attention is drawn to the following places, which may be of interest for search:
Resilient force-resistors made of material having high internal friction |
This place does not cover:
Electromagnetic means |
This place does not cover:
Passive vibrating platform |
In this place, the following terms or expressions are used with the meaning indicated:
Isometric exercise | a type of strength training in which the joint angle and muscle length do not change during contraction; |
Isokinetic exercise | dynamic muscle activity performed at a constant angular velocity; torque and tension remain constant while muscles shorten or lengthen; |
Isotonic exercise | active exercise without appreciable change in the force of muscular contraction, with shortening of the muscle. |
This place does not cover:
Details of magnetic circuit |
Attention is drawn to the following places, which may be of interest for search:
Eddy-current type dynamo-electric brakes |
Attention is drawn to the following places, which may be of interest for search:
Producing mechanical power from muscles | |
Circuit arrangements for power supply or distribution technologies responsive to energy trading |
This place does not cover:
Hydraulic transmissions |
This place does not cover:
using pneumatic piston-cylinder type force resistors |
Attention is drawn to the following places, which may be of interest for search:
Shock absorbers in general |
Attention is drawn to the following places, which may be of interest for search:
using hydraulic piston-cylinder type force resistors |
This place does not cover:
Electromagnetic controlled friction brakes |
This place covers:

US2004248700
This place covers:

US2011224046
This place covers:

US4560160
Attention is drawn to the following places, which may be of interest for search:
Support for anchoring non-resilient force resistors |
Attention is drawn to the following places, which may be of interest for search:
resistance provided by plastic deformable materials |
Attention is drawn to the following places, which may be of interest for search:
Benches for exercising |
Attention is drawn to the following places, which may be of interest for search:
Symmetric devices, e.g. hula hoops, put into orbital motion |
This place covers:
Transmission means between the resistance means and the interface with the user.
Attention is drawn to the following places, which may be of interest for search:
Freely suspended gymnastic apparatus | |
Supports for resilient resistors | |
Fastening household utensils to tables, walls or the like |
Attention is drawn to the following places, which may be of interest for search:
Chairs with exercising means |
This place does not cover:
Eccentric weights put into orbital motion by the user |
This place covers:
Also two persons operating in co-operation
This place does not cover:
Resistance force provided by the user himself |
Attention is drawn to the following places, which may be of interest for search:
Exoskeletons in general |
This place does not cover:
Mats for absorbing shocks |
This place does not cover:
Use of the apparatus for strength training | |
Passive stretching or bending |
The use of exercising apparatuses for ACTIVE physical training for cardio vascular, agility or coordination.
Within A63B 22/00 the main different aspects to be classified are:
which limbs (A63B 22/0002);movement-path direction (A63B 2022/0028);
combination of movements (A63B 2022/0033-A63B 2022/0043);Adjustability of path (A63B 22/0015); kind of path (A63B 22/0048-A63B 22/20).
These further different aspects should be considered while classifying the apparatuses for active physical exercising (see also the flowchart annexed after A63B 24/00 and the Classification examples for A63B 22/00):
Construction features of an exercise apparatus | |
Electric or electronic control | |
Means for physically limiting movements of body parts | |
Sensors | |
Position of the user during training |

Examples in subject matters classify in this group
| A63B 22/001 : arms and legs simultaneously ; A63B 22/0061 :support pivoting in a horizontal plane ; A63B 22/0664 : Elliptical movement ; A63B 2022/067 : crank and handles being on opposite sides |
A63B 22/0012 : arms and legs being functionally independent. A63B 22/203 : using rollers in a horizontal plane ; A63B 22/0664 : Elliptical movement ; A63B 2022/0676 : crank and handles being on the same side |
|
| A63B 22/001 : arms and legs simultaneously ; A63B 22/0005 : with particular movement of the arms provided by handles. A63B 22/0664 : Elliptical movement ; A63B 2022/0682 : support elements being cantilevered |
A63B 22/001 : arms and legs simultaneously ; A63B 22/0061 : support pivoting in a horizontal plane ; A63B 22/0664 : Elliptical movement ; A63B 2022/0688 : cranks being substantially within the horizontal moving range of the support elements |
|
| A63B 22/0056 : stepper in vertical plane If not in anti-phase: A63B 2022/0033 : simultaneously ; A63B 2022/0038 : independently |
A63B 22/0058 : stepper, vertical plane is body-plane ; A63B 2022/0053 : parallelogram If one-way clutches ; A63B 21/157 : ratchet-wheel links ; A63B 2022/0038: foot moving independently |
|
| A63B 22/001 : arms and legs simultaneously ; A63B 22/0069 : pivoting around inclined axis ; A63B 2022/0071 : axis behind ; A63B 69/0022 : for skating ; A63B 69/182: cross-count |
A63B 22/0069 : pivoting around inclined axis ; A63B 2022/0074 : axes in front not ; A63B 22/0066 because movement downward-outward |
|
| A63B 22/0076 : Rowing ; A63B 2022/0084 : handlebar with horizontal axis ; A63B 22/0089: a counterforce being provided to the seat |
A63B 69/06 : for rowing ; A63B 2022/0082 : pivoting handlebars ; A63B 21/285 : 2 in cooperation ; A63B 2225/107: multi-station, same kind of resistance |
|
| A63B 22/0089 : resistance provided to seat ; A63B 22/001: for arms and legs |
A63B 22/0694 : cycling movement, without integral seat, to be placed in front of a chair ; A63B 22/0605 : circular ; A63B 22/0023: inclination adjustable |
|
| A63B 22/20 : using rollers over the floor ; A63B 21/0004 : moving as a whole |
A63B 22/203 : translating horizontally ; A63B 2022/0038 : foot supports moving independently ; A63B 22/0023: adjusting inclination |
|
| A63B 22/001 : Arms and legs simultaneously ; A63B 22/205 : translating substantially vertically ; A63B 2022/206: on a curved path |
A63B 22/0012 : Arms and legs simultaneously, independently ; A63B 22/203 : translating horizontally ; A63B 2022/206 : on a curved path ; A63B 2022/0038 : feet moving independently ; A63B 2022/0035: hands moving independently |
|
Attention is drawn to the following places, which may be of interest for search:
Exercising the strength of the upper limbs |
Exercising of legs is not classified per se, only in combination with arms.
This place does not cover:
Rowing machines |
In this place, the following terms or expressions are used with the meaning indicated:
Diagonally | left arm with right leg |
Anti-phase | when the right leg moves forward, the left legs moves rearward |
This place does not cover:
Adjusting the resistance |
This place does not cover:
for strength training |
This place does not cover:
Attachment of resisters or weights to the user | |
Using rollers, wheels, castors or gliding means to be moved over the floor or guide tracks |
Attention is drawn to the following places, which may be of interest for search:
Rowing machines |
This place covers:
The support elements are cantilevered and pivot about an axis, the axis being outside the vertical projection of the support elements.

This place does not cover:
Platforms for rocking motion about a horizontal axis |
This place covers:
Movement on the frontal plane of the user,side-to side movement path, not forwards/backwards.
US2003008750
This place covers:

US2009239713
This place does not cover:
Platforms for reciprocating rotating motion about a vertical axis |
This place covers:

Training appliances for rowing or sculling on boats A63B 69/06
Seats moving during exercise has to be classified in A63B 22/0087
This place does not cover:
Pivoting movement to be classified in |
Translation movement not classified
Attention is drawn to the following places, which may be of interest for search:
Visualisation or indication relating to symmetrical exercise |
Attention is drawn to the following places, which may be of interest for search:
Passive rehabilitation |
Attention is drawn to the following places, which may be of interest for search:
Passive devices therefore |
Exercise equipments for training animals. A01K 15/027
This place does not cover:
Belts for conveyors | |
Treadmills for producing mechanical power |
Attention is drawn to the following places, which may be of interest for search:
Shock absorbing means for treadmills | |
Physical characteristics of the belt of a treadmill | |
Treadmills with separate belt for each leg, e.g. dual deck | |
Other training appliances for running on the spot | |
For wheelchair users | |
Space saving | |
Measuring or simulating ambient conditions (e.g. wind) | |
Suspension devices for supporting the body |
Attention is drawn to the following places, which may be of interest for search:
Controlled by user's position on the belt |
This place covers:
If not differently coded the steps or platforms reciprocate in anti-phase (when one leg moves forwards, the other leg moves rearwards).
This place does not cover:
Steppers with cantilevered support elements pivoting about an axis |
This place does not cover:
Support stands for bicycles | |
Rotating cycling movement for PASSIVE exercising | |
Unicycles |
This place covers:

US2010248905
Bicycles |
This place covers:

WO2005123197
Small portable devices which can be placed in front of a chair, on a table, on a door or on a bed.
Attention is drawn to the following places, which may be of interest for search:
Fastening household utensils to tables, walls or the like |
The kind of movement has to be classified in A63B 22/0605 if circular, in A63B 22/0664 if generally elliptical or A63B 22/06 if the cycling movement has any other shape.
This place covers:
axis passing substantially in the middle of a platform or between the platforms

US4313603
This place does not cover:
devices with cantilevered platform like the one below

US2009239713
these devices do not have the axis passing through their middle portion or between the platforms: these devices have to be classified in A63B 22/0061
Devices with cantilevered platform |
This place covers:
Axis being situated generally in the middle portion of the platforms

GB2377651
This place does not cover:
Other exercising apparatus for improving balance |
Devices with cantilevered platform like the one below

These devices with cantilevered platforms have the axis situated far from their middle portion: these devices have to be classified in A63B 22/0056
This place covers:

US2004018924
This place does not cover:
Hoop exercising apparatus | |
Eccentric weights put into orbital motion by nutating movement of the user | |
Pots rotating or rocking by moving the whole body |
This place covers:

US2004198564
This place covers:
All kind of devices for which the reciprocating movement cannot be classified in the subclasses A63B 22/203 or A63B 22/205.
Attention is drawn to the following places, which may be of interest for search:
Reciprocating translation on a curved path |
This place covers:

US5368533
Attention is drawn to the following places, which may be of interest for search:
Means for supporting or limiting movement of body parts |
This place covers:

US2008032869

US5803880
This place does not cover:
Exercising for developing or strengthening the muscles or joints of the body by working against a user's body weight | |
With adjustable inclination of the main axis of the movement path |
This place covers:
The use of the Exercising apparatuses for active strength physical training.
This place does not cover:
Use of the apparatus for cardio-vascular, agility or coordination | |
Passive stretching or bending |
Attention is drawn to the following places, which may be of interest for search:
Isometric or Isokinetic exercises | |
Devices for exercising or strengthening of fingers, or arms in teaching operation of keyboards |
These further different aspects should be considered while classifying the apparatuses for active physical exercising (see also the flowchart annexed after A63B 24/00 and the Classification examples for A63B 22/00).
Construction features of an exercising apparatus | |
Electric or electronic control | |
Means for physically limiting movements of body parts | |
Sensors | |
Position of the user during training |

In this place, the following terms or expressions are used with the meaning indicated:
Concentric exercise | exercise: the muscle shortens as it contracts, a concentric contraction of the biceps would cause the arm to bend at the elbow and hand to move from near to the leg, to close to the shoulder |
Eccentric exercise | the muscle elongates while under tension due to an opposing force being greater than the force generated by the muscle. Rather than working to pull a joint in the direction of the muscle contraction, the muscle acts to decelerate the joint at the end of a movement |
Isometric exercise | a type of strength training in which the joint angle and muscle length do not change during contraction |
Isokinetic exercise | dynamic muscle activity performed at a constant angular velocity; torque and tension remain constant while muscles shorten or lengthen; |
Isotonic exercise | active exercise without appreciable change in the force of muscular contraction, with shortening of the muscle. |
This place does not cover:
Arm wrestling |
This place covers:
Exercise devices for active stretching exercises.
This place does not cover:
Passive stretching devices |
This place covers:

US7744510

US2009239675
This place does not cover:
Torsion movements | |
Position of the user during training |
Attention is drawn to the following places, which may be of interest for search:
Exercising belts without indicating means |
This place covers:

US2010216615

US2005009678
Attention is drawn to the following places, which may be of interest for search:
Attachment of lower limbs to exercising apparatus | |
Leg restraining devices | |
Drawing-out, the patient hanging upside down | |
Feet or leg holding means |
This place covers:

US5273508

US5080352

US5147267
Attention is drawn to the following places, which may be of interest for search:
Attachment of upper limbs to exercising apparatus | |
Means for physically limiting movements of body parts |
This place covers:

WO2008077117

US5531658
This place covers:

FR2950537
Attention is drawn to the following places, which may be of interest for search:
Movement perpendicular to the body-symmetrical plane for cardio training | |
Cantilevered support platforms for cardio training |
This place covers:

US6287244

US2008090709
Attention is drawn to the following places, which may be of interest for search:
Attachment of lower limbs to exercising apparatus | |
Attachment of upper limbs to exercising apparatus | |
Means for physically limiting movements of body parts | |
Drawing-out, the patient hanging upside down | |
Feet or leg holding means |
This place covers:

This place does not cover:
Detecting, measuring or recording devices for testing the shape, pattern, size or movement of the body or parts thereof, for diagnostic purposes |
Attention is drawn to the following places, which may be of interest for search:
Passive stretching devices for the neck |
Attention is drawn to the following places, which may be of interest for search:
for cardio-training |
Attention is drawn to the following places, which may be of interest for search:
Training appliances for special sports | |
for the purpose of producing mechanical power |
This place covers:
Exercise devices for specifically training the strength of the upper limb or upper extremity which comprises the region extending from the deltoid region to the hand, including the arm, axilla and shoulder.
This place does not cover:
Horizontal bars for pull up exercising | |
Exercising upper limbs for teaching music |
Attention is drawn to the following places, which may be of interest for search:
Means for creating vibrations in patient's airways |
Attention is drawn to the following places, which may be of interest for search:
Massage of the genitals |
In this place, the following terms or expressions are used with the meaning indicated:
Vaginal muscles or other sphincter-type muscles | called pubococcygeal muscles |
This place covers:
- Electric or electronic controls within exercising apparatuses for active physical training.
- Electric or electronic controls for A63B 21/00-A63B 23/00 are specifically classified in A63B 24/0087.
This place does not cover:
Passive physical training |
Applications relating only to software and not dealing with mechanical features of the exercising apparatuses are classified in section G, for example:
Database structure, Audio information retrieval | |
Database structure, Video information retrieval | |
Data Management | |
Recognition of body movements, e.g. for sport training | |
Applications for learning a movement |
Attention is drawn to the following places, which may be of interest for search:
Video games | |
Controlling member being movable by hand, e.g. joystick | |
Digital data processing | |
Image analysis | |
Image generation (2D) | |
Recognising movements or behaviour | |
Mechanisms actuated by objects other than coins | |
Coin freed apparatus for sports or amusements | |
ICT specially adapted for therapies or health-improving plans (e.g. for handling prescriptions, for steering therapy or for monitoring patient compliance) relating to physical therapies or activities (e.g. exercising) |
These further different aspects should be considered while classifying the apparatuses for active physical exercising (see also the flowchart annexed after A63B 24/00 and the Classification examples for A63B 22/00):
Construction features of an exercising apparatus | |
Use of apparatus for cardio-vascular, agility or coordination | |
Use of the apparatus for strength training | |
Means for physically limiting movements of body parts | |
Sensors | |
Position of the user |
This place does not cover:
Analysing movement for medical diagnosis | |
Recognition of whole body movements, e.g. for sport training | |
Teaching repetitive work cycles; Sequence of movements |
Attention is drawn to the following places, which may be of interest for search:
Differential GPS | |
Analysis of motion from image |
This place covers:
Tracking a path or terminating locations, including: position, e.g. in function of time, speed, acceleration.
This place covers:
Exercise devices with systems for rewarding the user and provide incentives to train.
This place does not cover:
Virtual environments for tracking the behaviour,
the purchases or the athletic activity of an user in order to customize services offered to the user:
Marketing, e.g. market research and analysis, surveying, promotions, advertising, buyer profiling, customer management, rewards; Price estimation and determination |
Attention is drawn to the following places, which may be of interest for search:
Virtual races | |
Means for conducting or scheduling competition, league, tournaments, rankings |
This place does not cover:
Monitoring performances for medical diagnosis |
Attention is drawn to the following places, which may be of interest for search:
Time management | |
Task assignment |
This place covers:
Exercise devices with means for competitions
Attention is drawn to the following places, which may be of interest for search:
Ranking | |
Maps of tracks or courses | |
Wireless | |
Interaction between a plurality of game devices | |
Arrangements for interaction with the human body | |
Digital computing special functions | |
Networking; advertising | |
Network security protocols | |
Protocols for real-time services in data packet switching networks | |
Protocols for telewriting; Protocols for networked simulations, virtual reality orgames |
Attention is drawn to the following places, which may be of interest for search:
Devices for balloon jumping |
This place covers:
Apparatus for improving balance or equilibrium
This place does not cover:
Balance beams | |
Apparatuses for rope dancing | |
Balancing drums, balancing boards or the like | |
Wobbling platforms | |
Training surfing, i.e. without a sail, skateboarding, snowboarding |
A pump jack travelling on pole is to be classified here or in subgroups and, when relevant, also in B66F 1/02, B66F 19/00, and/or E04G 1/20.
This place does not cover:
Ropes | |
Safety belts for climbers |
This place covers:
Mechanical inventive aspects of apparatuses for mountaineering.
This place does not cover:
Helmets | |
Non-skid devices or attachments for footwear, e.g. mountain climbing irons | |
Breathing masks or helmets for use at high altitudes | |
Picks |
Attention is drawn to the following places, which may be of interest for search:
Devices for lowering persons, including "descendeurs", rope brakes etc | |
Safety belts or body harnesses | |
Arrangements on buildings for connecting safety-lines |
Devices for lowering persons are classified in A62B 1/06. This includes descendeurs, rope brakes etc.
Attention is drawn to the following places, which may be of interest for search:
Rope-lowering devices for mountaineering | |
Rope-lowering devices for mountaineering with brakes sliding on the rope | |
Safety belts for climbers | |
Hooks, e.g. snaphooks, therefor | |
Detecting hidden masses in general |
Multiple entry classification in different classes is sometime used in borderline cases, i.e. documents are classified in the applicable groups and/or subgroups of two different sub-classes: A62B 1/00 and A63B 29/00.
For example, the document EP0752255 A1 is classified as follows (multiple entry classification in different classes): A62B 1/14, A62B 35/04, A63B 29/02.
Attention is drawn to the following places, which may be of interest for search:
Devices allowing a buried person to escape or draw attention, e.g. avalanche airbags | |
Detecting hidden masses in general | |
Distress signalling devices |
Mechanical means for helping someone survive an avalanche are also classified here.
Attention is drawn to the following places, which may be of interest for search:
Friction-grip releasable fastenings | |
Dowels or other devices fastened in walls or the like by inserting them in holes made therein for that purpose | |
Means for fastening cables or ropes to one another or to other objects; Caps or sleeves for fixing on cables or ropes |
This place does not cover:
Ropes in general |
This place covers:
Hand equipment for climbers e.g. ice axes, chalk bags.
For chalk bags for climbing multiple classification applies: See also:
Sacks or packs carried on the body by means of a single strap around the waist | |
Holders or carriers for use while travelling or camping fastened to the belt | |
Sport bags |
Attention is drawn to the following places, which may be of interest for search:
Apparatus for climbing poles, trees, or the like | |
Walking/Climbing sticks | |
Ski-sticks |
Body flotation supports, e.g. for children, are to be classified in B63C 9/00 and subgroups (see, e.g. B63C 9/08 and B63C 9/13), even if they do not fit the definition "life-saving".
In B63C 9/00 and subgroups, the sole purpose of the device is to provide enough flotation for people - under distress – to stay afloat. It is designed with the capacity to maintain a person afloat.
On the other hand, A63B 31/00 relates to swimming aids, i.e. devices which do not necessarily provide a flotation capacity sufficient to maintain a person afloat and are intended to help swimming. "Swimming" needs to be understood as an active movement by the user and not simply staying afloat.
There are inevitably overlaps, so double classification might be needed.
This place does not cover:
Apparatus for teaching swimming or training | |
Swimming boards and other teaching frames for swimming | |
Body flotation supports, e.g. for children |
Attention is drawn to the following places, which may be of interest for search:
Exercise apparatus with counterforce generated by moving the ambient water (hydraulic force resistors for exercising) | |
Inflatable | |
Body floating supports for relaxation in water | |
Toy boats; Floating toys; Other aquatic toy devices | |
Body-boards, i.e. surfboards specially adapted for use by users in prone position; Planing members attachable to, or held by body-surfers | |
Vessels or like floating structures for pleasure or sport | |
Rafts, i.e. free floating waterborne vessels, of shallow draft, with little or no freeboard, and having a platform or floor for supporting a user |
This place does not cover:
Swimming appliances with propulsive effect for hands and feet simultaneously |
Attention is drawn to the following places, which may be of interest for search:
Swimming aids worn as gloves |
This place covers:
Helmets for swimming and/or playing water polo, and any other kind of swimming equipment whose function is intrinsically connected to the practise of any kind of sport in water. It is also used for nose clips for swimming.
This place does not cover:
Diving masks | |
Air supply equipment for dwelling or working underwater, Breathing aids, e.g. snorkels |
Attention is drawn to the following places, which may be of interest for search:
Swimming boards and other teaching frames for swimming | |
Other body protectors for the head | |
Head protectors in the form of caps or hats | |
Hats or head coverings, soft caps or hoods, bathing caps not specifically conceived for sporting purposes | |
Helmets | |
Surgical instruments for use in the nose | |
Devices for correcting deformities of the nose and for enlarging the nostrils for breathing improvement | |
Nose clips for preventing snoring | |
Nose clips when part of respiratory or breathing apparatus | |
Nose filters | |
Shaping of plastics, swimming equipment | |
Divers' equipment | |
Diving masks ( comprising nose-clips |
Attention is drawn to the following places, which may be of interest for search:
Attachment of buckle to strap | |
Buckles with strap length adjustment | |
Protective goggles | |
Straps; Buckles; Attachment of headbands for goggles | |
Diving masks | |
Straps, or the like for fastening diving masks; Accessories therefor, e.g. buckles |
This place does not cover:
Divers' sleds or like craft |
Attention is drawn to the following places, which may be of interest for search:
Water sports boards; Accessories therefor | |
Vessels specially adapted for water sports or leisure, e.g. canoes or kayaks; Body-supporting devices specially adapted for water sports or leisure | |
Vessels or similar floating structures specially adapted for specific purposes and not otherwise provided for |
References B63B 32/00 and B63B 34/00 are non-limiting in the main group A63B 35/00. CPC will be corrected once this inconsistency is resolved in IPC.
This place does not cover:
Heavy balls for throwing, i.e. medicine balls, shots, weights or stones for putting |
Attention is drawn to the following places, which may be of interest for search:
Billiards | |
Shaping of plastics, golf balls |
Billiard, pool and snooker balls are classified in A63B 37/00 and A63B 2243/002.
The subgroups are arranged in a tree structure, of which the following are the main branches:
- general subgroup for golf balls (note: to be allocated as "Additional Information" when the golf ball is not the invention but nevertheless is mentioned in the application);
- dimples and protrusions;
- non-structural external layer: coatings and markings, exclusively;
- three structural layers: cover (exclusively), intermediate layer (all the intermediate layers: Inner Cover, Mantel, Outer Core) and core (exclusively), respectively;
- ball as a whole.
The following "branches" apply independently to each of the different structural layers (cover, intermediate layer, core) and are repeated for each of the structural layers:
- Materials and Chemistry
- Coefficient of restitution
- Hardness
- Hardness Gradient
- Thickness / Diameter
- Deflection or Compression
- Density / Gravity
- Melt flow rate
- Mass, Weight (only common to the core and to the ball as a whole)
- Initial Velocity (only common to the core and to the ball as a whole)
- Flexural Modulus
(Note that some properties are not repeated for each structural layer and have therefore not been mentioned here).
It will be often necessary to classify the chemistry aspects outside of the scope of A63B. Thus, multiple classification is commonly used between classes and sections. Some guidance can be derived from the following examples:
- C08L 23/0876: Salts from copolymers of ethene and carboxylic acid, as neutralised ethylene carboxylic acid copolymers, i.e. ionomers
- C08L 75/00: Compositions of polyureas or polyurtehanes
- C08L 77/00: Compositions of polyamides obtained by reactions forming a carboxylic amide link in the main chain
- C08K 5/00: Use of organic ingredients
- C08K 5/098: Metal salts of carboxylic acids
- C08G 18/00: Polymeric products of isocyanates or isothiocyanates
- C09D 1/00: Coating compositions
- B29C 35/00: Heating, cooling or curing, e.g. crosslinking, vulcanising
- B29C 45/14819: Injection moulding by completely encapsulating inserts (typical for golf balls)
- B29C 59/00: Surface shaping, e.g. embossing
"Practice/training golf balls" are also allocated to subgroups A63B 69/3655 and/or A63B 69/3688.
Attention is drawn to the following places, which may be of interest for search:
Golf balls for practising drives | |
Golf balls for practising putts | |
Methods for moulding | |
Chemical aspects |
The best approach for classifying golf ball documents:
Look through the abstract;
Look at the drawings;
Look through the claims;
Look through the description:
- Pay attention to the first paragraph, "Summary of the invention";
- In the "Detailed description of this invention" pay attention wherever it is written "...of this invention" (and similar);
- Depending on the main invention, some information from the description can be considered significant or not, that is to say, to be classified as "Invention Information" or "Additional Information". For classifying "Additional Information" pay attention to the different embodiments, examples and tables;
- Sometimes the examples compare the invention with another golf ball, which is usually not to be classified.
- Common general knowledge present in the Description should not be classified.
The physical properties of subassemblies encompassing simultaneously different layers of a golf ball are to be classified as properties of the golf ball as a whole; e.g. the "compression of a golf ball subassembly consisting of the center and the intermediate layer has a compression of 50 or less" is classified as A63B 37/0087.
"Volume" and/or "surface" of the core or a layer of a golf ball must be classified with the equivalent physical property of diameter or thickness of the corresponding layer.
In this place, the following terms or expressions are used with the meaning indicated:
The issue of the different layers of the ball:
- Non-structural: Coating/Marking.
- Structural: Cover, Intermediate layer, Core.
Golf balls usually have only ONE cover and only ONE core. The rest of the structural layers are simply intermediate layers.
- Irrespective of the wording and leaving aside the Coating/Markings (if any):
- Cover - the outermost mechanical layer
- Core - the innermost part of the ball
- Intermediate layer - every layer therebetween
- Therefore:
- "Inner cover" - intermediate layer (not Cover)
- "Outer core" - intermediate layer (not Core)
- "Core thickness": it must necessarily refer to the "outer core" (and, therefore, an Intermediate layer), as a "core" is defined by its diameter or its radius, but not by its thickness: this feature is, therefore, to be classified in A63B 37/0045
- "Mantel": it can refer to the cover OR the coat OR the intermediate layer: Therefore, it has to be interpreted correctly in order to know where to classify the information relating to such a "mantel"
- This is graphically exemplified as follows:

Other terms:
- "Thread wound core": only used for thread wound cores with nothing inside. It is, therefore, not to be used when a thread layer is wound around a core that is not thread.
- In long patent descriptions, it is often mentioned that the invention may be made from one up to three or more layers.
However, unless every single layer explicitly appears in claims, it is not to be classified in A63B 37/0073 - A63B 37/0076 every time.
For example:
- If the invention is mainly manufactured with 1 layer (core) but it can also be used in golf balls with more layers (but this information does not appear in the claims), we classify as follows:
Invention information: A63B 37/0073;
Additional information: A63B 37/0074, A63B 37/0075, A63B 37/0076.
If the invention describes in the claims every possible case (one, two, three-layer golf balls, etc.), classification is as follows:
Invention information: A63B 37/0073, A63B 37/0074, A63B 37/0075, etc.
- "Multi-piece balls": Can be used both for three-piece balls and balls having two or more intermediate layers.
- Solid core ≠ Rigid core (A63B 37/0054) unless they specify that it is made of metal.
- Translucent cover A63B 37/0024
- A63B 37/0039: to be allocated when the chemistry of the intermediate layer is neither an Ionomer, nor Polyurethane, nor Polybutadien, or, at least, a very unusual one amongst the previous one (so, mixed-up with other stuff, etc.)
- Initial Velocity concerning the Cover: allocate A63B 37/0084.
- "Weight; Mass": Used for, e.g. specific weight, but not for chemical weight ratios.
- A63B 37/0067 and A63B 37/0083: Weight, just specific weight, not for ratio weight.
- MFR = Melt Flow Rate = MFI= Melt Flow Index: A63B 37/0036 or A63B 37/0048 (or both, if the layer is not specified).
- Flexural Modulus [Mpa=factor x psi] is different from Young modulus=Tensile modulus=Elastic modulus, Ionomer modulus, Stiffness modulus, Flexural rigidity.
- "Hardness Gradient" is most likely to be found with cores. Example: The core has a JIS-C hardness at its surface of at least 70 and a JIS-C hardness at its center that is at least 10 units lower than the hardness at the core surface.
- "Hardness distribution amongst the different ball layers" (A63B 37/0092) is to be allocated when the hardness gradient does not apply only to a specific single layer amongst several, but to the whole ball.
- Rather common parameters such as "diameter of dimple", "spin rate", "rebound resilience", "coefficient of drag", etc. are not to be classified unless they are described in the claims, the abstract or the description accurately and in a quantitative manner, or unless they are mentioned throughout the document continuously (even if not quantitatively)... except with the "scuff resistance", which is usually valued with qualitative (not quantitative) terms (i.e. "good", "bad", "better", etc.) and is to be classified even without specific values being given therefor.
- A63B 45/00: Manufacture of golf balls. It is written in claims or abstract; or it is fully described in description.
- Material manufacturing process" for cover, internal layer or core: A63B 45/00 and the corresponding A63B 37/0023, A63B 37/0038, A63B 37/005 (or A63B 37/0024, A63B 37/0039, A63B 37/0051).
- "Moulding/molding compression": we do not have any specific subgroup for this: it is, however, a different concept from "deflection or compression" (A63B 37/0034, A63B 37/0046, A63B 37/0065, A63B 37/0087). These features are, therefore, to be understood as "Method for Manufacturing", for which the correct subgroup is A63B 45/00
- A63B 45/02: Methods or apparatus for marking golf balls. It usually goes with A63B 37/0022 (either as "Invention" or "Additional" information) if they describe the mark or it appears in the drawings.
- A circular dimple is something standard -> Do not classify this feature in any of A63B 37/0007 - A63B 37/0011.
- Interpret A63B 37/002 (i.e. "Specified dimple diameter") as" Specified dimple diameter, or length of their main axis" instead. Sometimes, dimples may have various shapes like polygonal or elliptical: in such cases perimeters, lengths, widths, major and minor axis lengths are given.
- Patents with specific drawings of one or several dimples (cross section) -> A63B 37/0012.
- If some parameters (depth, diameter) appear in drawings, accurate figures are likely to be found in the text (see A63B 37/0019, A63B 37/002):
- Drawings with various dimples with and without sub-dimples -> Classify simultaneously as A63B 37/0012 and A63B 37/0015;
- When the shape of the dimple is not clear, not important in that document, etc. -> Classify as "Additional Information" A63B 37/0012.
"Volume Ratio": Classified for the time being in A63B 37/0016 and A63B 37/0017.
Dimple coverage (%) = Occupation ratio -> A63B 37/0021.
Compression (A63B 37/0034, A63B 37/0046, A63B 37/0065, A63B 37/0087): it can be "PGA compression", "Atti compression", "Riehle compression" or "Load/Deflection tests.
PGA Compression = Atti Compression: A piston whose travel path is fixed compresses the ball against a spring and the spring deflection is then measured.
Riehle Compression: It measures the deformation of ball under a fixed load of 90.9 kg.
Load/Deflection tests: Same as "Riehle Compression" but with a plurality of possible loads.
In patent documents, the following words/expressions are often used with the meaning indicated:
Outer Cover | used for Cover |
Shell | an Intermediate layer |
Inner Core, Center, Centre | used for Core |
This place covers:
Features on the outer surface as shown in the following drawing:

Attention is drawn to the following places, which may be of interest for search:
Computer-aided design | |
Finite element generation, e.g. wire-frame surface description, tesselation |
This place covers:
Varnish, paint etc. any thin layer coating the cover. Therefore, this encompasses only the coating and/or markings.
Attention is drawn to the following places, which may be of interest for search:
Methods for marking |
This place covers:
"Special materials", meaning any materials other than those which are normally used for covers or cores. (Poly)urethanes and ionomers are all normally used in covers, thus not "special", unless it is referred to a very specific unusual type of ionomer or polyurethane.
Any material which makes the cover be translucent is considered "special" and, thus, classified here.
This place covers:
"Special materials" means any materials other than those which are normally used for covers or cores. (Poly)butadiene, (Poly)urethanes, ionomers are all normally used, thus not "special", unless the material is a very specific and unusual type of (poly)butadiene, (poly)urethane or ionomer.
Attention is drawn to the following places, which may be of interest for search:
Apparatus or methods for marking balls |
Every subgroup of A63B 37/0077 defining a property for which there is no specific subgroup defining the distribution of such property amongst the several layers of a golf ball is also used for classifying such distribution.
The physical properties of subassemblies encompassing simultaneously different layers of a golf ball are to be classified as properties of the golf ball as a whole; e.g. the "compression of a golf ball subassembly consisting of the centre and the intermediate layer has a compression of 50 or less" is classified as A63B 37/0087.
This place covers:
The following images that show balls with layers that are interlocked by protrusions, inserts or lattices.



This place does not cover:
Balls with finger holes, e.g. for bowling | |
Cores of golf balls |
This place does not cover:
Balls with finger holes, e.g. for bowling | |
Golf balls |
Attention is drawn to the following places, which may be of interest for search:
(non-solid) balls with an eccentric centre of gravity; with mechanism for changing the centre of gravity |
This place does not cover:
Balls with finger holes, e.g. for bowling | |
Golf ball covers |
Attention is drawn to the following places, which may be of interest for search:
Golf balls |
This place does not cover:
Surface depressions or protrusions on golf balls |
Attention is drawn to the following places, which may be of interest for search:
Golf ball covers | |
Stitchings |
This place does not cover:
Rigid hollow balls |
Hollow rigid balls are classified in A63B 37/0098
Attention is drawn to the following places, which may be of interest for search:
Packages under vacuum or pressure, or special atmospheres |
Attention is drawn to the following places, which may be of interest for search:
Computer-aided design | |
Finite element generation, e.g. wire-frame surface description, tesselation |
Attention is drawn to the following places, which may be of interest for search:
Inflatable chairs | |
Connecting valves to inflatable elastic bodies | |
Valves, e.g. self-closing valves |
Attention is drawn to the following places, which may be of interest for search:
Computer-aided design | |
Finite element generation, e.g. wire-frame surface description or tesselation |
This place does not cover:
Tools for blowing up pricking-balls |
Attention is drawn to the following places, which may be of interest for search:
Air pumps per se for blowing up balls | |
Muscle-powered pumps |
Attention is drawn to the following places, which may be of interest for search:
Feathered missiles with special functions | |
Balls or other moving playing bodies used in indoor games |
Heavy throwing balls, medicine balls and the like are classified in A63B 65/06
This place does not cover:
Discs for throwing |
American Footballs are to be classified always in A63B 43/002 and A63B 2243/007. For American Footballs lacing system, classify in A63B 41/085.
Attention is drawn to the following places, which may be of interest for search:
(Sports equipment in general) with adhesive type surfaces, e.g. hook-and-loop fasteners |
Attention is drawn to the following places, which may be of interest for search:
Balls tethered to a line or cord | |
Tethered playing balls or other tethered playing bodies |
This place covers:
Means for improving visibility. Special markings or colours. Also special markings or indices for training purposes.
This place does not cover:
Balls with illuminating or reflecting means |
This place does not cover:
Cores with an eccentric centre of gravity for solid balls |
Attention is drawn to the following places, which may be of interest for search:
Motorised rolling toys |
Attention is drawn to the following places, which may be of interest for search:
Other means for approving visibility | |
Exercising or sporting devices provided with means enabling use in the dark |
This place does not cover:
Working of plastics or substances in a plastic state | |
Producing hollow plastic balls | |
Producing plain plastic balls |
Attention is drawn to the following places, which may be of interest for search:
Identification means which can be read by electronic detection means | |
Printing apparatus | |
Methods of printing |
Attention is drawn to the following places, which may be of interest for search:
Arrangements for maintaining ball pressure | |
Fitted on golf bags | |
Holders for golf balls | |
Ball holders combined with racket presses | |
With racket covers or cases | |
Devices for handling or treating for games with feathered missiles, e.g. badminton | |
Sport bags | |
Machines or devices designed for grinding spherical surfaces or parts of spherical surfaces on work |
Ball holders combined with racket presses are classified both in A63B 47/00 and in A63B 60/44.
This place does not cover:
Automatic teeing devices | |
Devices for projecting balls |
Attention is drawn to the following places, which may be of interest for search:
Bats or rackets having ball-dispensing means | |
Devices for alarm or indication, e.g. when empty |
Attention is drawn to the following places, which may be of interest for search:
Measuring or testing in general | |
Mechanical measuring of sport |
This place covers:
The following image shows a device for picking-up or collecting balls.

Attention is drawn to the following places, which may be of interest for search:
Analogous devices for inserting a golf tee with a ball on it | |
Bats or rackets having ball-dispensing or storing means | |
Targets or goals with ball-returning means |
This place covers:
The following image shows an apparatus for automatic pick-up by moving over a surface.

Attention is drawn to the following places, which may be of interest for search:
Apparatus for gathering together crops spread on the soil, e.g. apples, beets, nuts, potatoes |
This place covers:
Robot-like machines running around collecting balls, able to respond autonomously to obstacles and the like. Not intended to be used for radio-controlled vehicles operated remotely by a person.
This place does not cover:
Golf cups with ejector means | |
Targets or goals with ball returning means |
Attention is drawn to the following places, which may be of interest for search:
Apparatus for cleaning balls, as accessories for bowling- or table alleys |
This place does not cover:
Strings for stringed rackets |
Attention is drawn to the following places, which may be of interest for search:
Resonance frequency related characteristics | |
Shaping of plastics for rackets |
Aspects of inventions which relate to various types of sports bats, of which rackets are just one example, are to be classified in A63B 60/00, A63B 2102/00 and subgroups, e.g. shock damping means equally applicable to rackets, golf clubs and other sports bats are to be classified in A63B 60/54
Details of manufacturing methods are additionally classified according to the relevant manufacturing process
Attention is drawn to the following places, which may be of interest for search:
Resonance frequency related characteristics |
This place covers:
e.g. grommets.
This place does not cover:
Stringing tennis rackets | |
Devices arranged in or on the racket for adjusting the tension of the strings |
Attention is drawn to the following places, which may be of interest for search:
Using strings with different characteristics on the same frame | |
Using strings with different cross-sections, e.g. different thickness, on the same frame | |
Using strings with different tension on the same frame | |
With non-circular cross-section | |
Devices arranged in or on the racket for adjusting the tension of the string |
This place does not cover:
Devices for adjusting the tension of racket strings |
Attention is drawn to the following places, which may be of interest for search:
Using strings with different characteristics on the same frame | |
Using strings with different cross-sections, e.g. different thickness, on the same frame | |
Using strings with different tension on the same frame | |
With non-circular cross-section |
A63B 51/12 takes precedence.
This place covers:
Throat sections, i.e. not necessarily a separate piece.
Attention is drawn to the following places, which may be of interest for search:
With variable thickness of the head in a direction perpendicular to the string plane | |
With variable thickness of the head in the string plane |
This place covers:
e.g. typically found in badminton racquets
Attention is drawn to the following places, which may be of interest for search:
Pre-woven string-sets ready for insertion into a frame |
Attention is drawn to the following places, which may be of interest for search:
Special means for attachment of arms or hands to exercising or sports equipment | |
Throat sections with two legs having mutually different constructions | |
Handles or grips for bats |
Details are also to be classified in subgroups of A63B 60/06 where appropriate
Attention is drawn to the following places, which may be of interest for search:
Shafts, e.g. non-metallic shafts, for golf clubs | |
Documents relating to methods of manufacturing composite shafts | |
Shaping composites, i.e. plastics material comprising reinforcements, fillers or preformed parts, e.g. inserts | |
Layered products characterised by the non- homogeneity or physical structure, i.e. comprising a fibrous, filamentary, particulate or foam layer; Layered products characterised by having a layer differing constitutionally or physically in different parts | |
Manufacture of articles or shaped materials containing macromolecular substances |
Characteristics of materials are classified in A63B 2209/00 and subgroups, e.g. long, oriented fibres, e.g. wound filaments, woven fabrics, mats A63B 2209/023
Documents relating to methods of manufacturing composite shafts should also be classified in B29C.
Attention is drawn to the following places, which may be of interest for search:
Resonance frequency related characteristics |
Attention is drawn to the following places, which may be of interest for search:
String guides on frames | |
Clamping strings on frames |
Attention is drawn to the following places, which may be of interest for search:
Devices for controlling the tension during stringing | |
Measuring force, in general | |
Apparatus for or methods of measuring the tension in ropes, cables, wires, threads, belts, bands or like flexible members |
Head subframes for replacing the stringing A63B 49/038.
This place covers:
Strings for sports rackets.
Methods of making a string for a racquet are usually classified in D02G 3/444
Yarn or threads for use in sports applications are ALSO classified in D02G 3/444
Attention is drawn to the following places, which may be of interest for search:
Mechanical methods or apparatus in the manufacture of artificial filaments, threads, fibres, bristles or ribbons | |
Yarns or threads for use in sports applications | |
Ropes or cables in general | |
Strings for musical instruments |
This place covers:
Golf clubs considered as a whole, e.g. documents disclosing clubs characterised by the form, balance, Swing-weight or frequency of the overall club. In many cases the documents should also be classified in subgroups for individual characteristics (see Technical Relationships).
For special materials or manufacturing processes, the specific field concerned should be consulted, e.g. forged product B21K; making sport articles B21K 17/00; casting B22D; casting of metals/special casting B22D 19/00, B22D 25/00; soldering/welding B23K; laser welding B23K 26/00; shaping composites B29C 70/00; sport equipment B29L 2031/52; producing articles from plastics B29D; shaping of plastics for clubs B29L 2031/5227; heat treatment C21D; alloys C22C 19/055; metal matrix composite C22C 32/00; casting metallic material C23C.
Also, classify where appropriate in classes relating to specific parts of the club.
Attention is drawn to the following places, which may be of interest for search:
Cleaning or maintenance of golf-clubs, putters, shoes or other golf accessories | |
Bats, rackets or the like, not covered by groups A63B 49/00 - A63B 57/00 | |
Devices for measuring, verifying or correcting golf club characteristics | |
Clubs or attachments on clubs for golf training | |
Clubs or attachments on clubs for putting | |
Metal forging or pressing of sports articles | |
Shaping of plastics for clubs |
Details are also to be classified in subgroups of A63B 60/00 and A63B 2102/00, where appropriate.
Details of manufacturing methods are additionally classified according to the relevant manufacturing process.
This place covers:
Group relating to sets of golf clubs, i.e. golf clubs related by a common characteristic throughout the series, e.g. length, swingweight, resonant frequency; the characteristic may be constant or progressive throughout the set.
Attention is drawn to the following places, which may be of interest for search:
General aspects: of joining tubular articles; of joining long products; of joining single elements to tubular articles; of hollow articles or bars; of joining several hollow-preforms to form hollow or tubular articles |
Attention is drawn to the following places, which may be of interest for search:
Handle for bats, in general, whose axis is different from the main axis of the bat |
This place covers:
Golf clubs in which the angular orientation of the shaft relative to the head can be adjusted (see image below).

Attention is drawn to the following places, which may be of interest for search:
Substantially flexible or hinged shafts |
This place covers:
Golf clubs in which the lie angle of the shaft relative to the head can be adjusted (see image below).

This place covers:
Golf clubs in which the loft angle of the shaft relative to the head can be adjusted (see image below).

This place covers:
Golf clubs in which the shaft can be adjusted about its longitudinal axis relative to the head (see image below).

This place covers:
Golf clubs in which the shaft can be attached to the head at any of a range of alternative attachment points (see image below).

Subgroup A63B 53/04 is only to be used in case that none of its dependent lower subgroups is applicable; e.g. a document disclosing a driver but where the technology can also be used in iron clubs and putter should not be classified in A63B 53/04, but rather in A63B 53/0466 as Invention, A63B 53/047 and A63B 53/0487 as Additional.
Multiple entry classification is used, i.e. documents are classified in each subgroup that is applicable.
Club heads with the following features are additionally classified as follows:
- Sets of golf clubs, i.e. in which the heads are related throughout the set by a constant or progressive characteristic, in A63B 53/005;
- Club heads with a face insert in A63B 53/0416;
- Special sole configurations in A63B 53/0433;
- Visual indicators for aligning the golf club in A63B 53/0441;
- Heads with added weights, e.g. changeable, replaceable, in A63B 2053/0491; A63B 60/02
- Materials in A63B 2209/00 and subgroups.
Documents relating to woods must be classified in A63B 53/0466.
Documents relating to irons must be classified in A63B 53/047.
Putter heads are classified in A63B 53/0487.
Adjustable heads are classified in A63B 53/06, A63B 60/00, A63B 60/46.
In this place, the following terms or expressions are used with the meaning indicated:


Attention is drawn to the following places, which may be of interest for search:
Striking surfaces, in general, coated with high-friction abrasive material |
This place covers:
A special configuration of the portion of the club head that normally touches the ground; this can be on the external side or on the internal side of this portion, e.g. a difference in thickness, ribs or even a lower portion that usually should contact the ground but which is designed not to touch the ground.
Attention is drawn to the following places, which may be of interest for search:
Strengthening ribs |
In general, only wood clubs are regarded as having a crown. However, if in an iron club or a putter, the invention lies in the top portion of the club head, and this subgroup should be used.
A63B 53/0441 is the relevant group, if the effect is only a visual indication.
Attention is drawn to the following places, which may be of interest for search:
Heads with special crown configurations | |
Aiming or aligning devices for training purposes, for woods and irons; for putters |
Considering that almost all putter heads and many woods have some form of visual indicator for aligning the golf club, this class is only given to those documents which describe details of the visual indicator, or in which the visual indicator differs from a standard marking.
This place covers:
Details of the surface of the striking face, e.g. special groove features, other protrusions or indentations.
Note that with the exception of putters, almost all golf clubs have a grooved striking face. This subgroup is only for golf clubs in which the surface is specified in detail.
If the ribs are realised by creating slits or grooves, then only the subgroup A63B 60/52 should be used, unless on the impact surface, where only A63B 53/0445 should be used (see definition).
Bridge-like structures on putters are generally considered normal and should not be classified here unless special.
In this place, the following terms or expressions are used with the meaning indicated:
Rib | An elongated structure that protrudes and which reinforces another surface. |
Attention is drawn to the following places, which may be of interest for search:
Heads with an impact surface provided by a face insert |
This place covers:
Heads having an impact face plate where the cross-section along at least one axis discloses a non-uniform thickness. This should apply even if a cross-section in another axis might be uniform.
In this place, the following terms or expressions are used with the meaning indicated:
Tapering | A gradually diminishing thickness, without any non-diminishing portions or steps there between, either from one side of the face to another side of the face, or from the centre of the face outwards. |
This place covers:
Traditional wooden golf club heads, and also heads made of other materials but similar in shape to traditional wooden heads, e.g. US2009258727 (see image below). The front-to-rear length of the head is normally greater than the height, providing for a centre of gravity positioned far behind the striking face. These heads are for long-distance shots.

In this place, the following terms or expressions are used with the meaning indicated:
A wood-type golf club head | has a large, bulbous form usually with a convexly curved strike face and is used for hitting the ball long distances. They were traditionally solid wooden heads, but are nowadays usually in the form of hollow shells using strong, lightweight materials, e.g. titanium, fibre composite. |
Hybrid club: a hybrid club combines the playing characteristics of both woods and irons.
Hybrid wood: a club which has a convexly curved strike face like a wood but which is usually lower from crown to sole than a wood and does not extend as far back from the strike face to the rear of the head. It may be solid or hollow.
This place covers:
Golf club heads resembling the type that was traditionally made of solid iron or steel, typically with a large, flat, angled striking face, usually having grooves to increase friction with a golf ball, e.g. GB2451317 (see image below). This group also club heads of similar shape but made of other materials.

Irons with a cavity back, i.e. perimeter weighting but with the cavity open towards the rear of the club, should be classified here.
Irons with a hollow space which is completely closed on all sides including towards the rear should be classified in A63B 53/0475.
In this place, the following terms or expressions are used with the meaning indicated:
Iron -type golf club head | traditionally has a thin, blade-like body, usually with a planar strike face, and is made of iron or steel (forged or cast). Similar-shaped heads made of other materials, e.g. titanium, fibre composite, also fall into this category. |
Cavity backs | Many irons feature peripheral weighting on some or all of the perimeter of the rear surface. Irons with weighting around most or all of the perimeter are known as "cavity backs". |
This place covers:
Irons with a hollow space which is completely closed on all sides and towards the rear.
Examples:
US2005209023

US2004266550

Attention is drawn to the following places, which may be of interest for search:
Hybrid wood |
Irons with a cavity back, i.e. perimeter weighting but with the cavity open towards the rear of the club, should be classified in A63B 53/047.
Hybrid club | a hybrid club combines the playing characteristics of both woods and irons. |
Hybrid iron | a club which has a flat strike face like a traditional iron but which usually has an enclosed volume behind the strike face, providing a larger moment of inertia and a centre of gravity which is displaced further behind the strike face compared with a traditional iron. |
This place covers:

e.g. US2007243950
This place does not cover:
Adjustable heads for putters |
This place does not cover:
Normal golf clubs with externally attached weights, e.g. for warming-up |
This place covers:
Added weights that are moving on impact, e.g. sliding or turning.
Attention is drawn to the following places, which may be of interest for search:
Weight systems where the position of the weight can be changed, but remains fixed during the stroke |
Weights movable in a slit should also be classified in A63B 60/52.
This place covers:
Golf club heads with some form of adjustment means for varying the characteristics of the club head, whereby the adjustment does not consist solely of changeable or replaceable added weights, or whereby the adjustment does not take place in the joint structure between the head and the shaft.
The following image shows adjustment means 3 on golf club head 1.

Attention is drawn to the following places, which may be of interest for search:
When the adjustment takes place in the joint structure between the head and the shaft | |
Devices for measuring, verifying, correcting or customizing characteristics of golf-clubs, bats or rackets |
Golf club heads with added weights, e.g. changeable, replaceable, but not otherwise adjustable, should be classified in A63B 2053/0491 and one or more of A63B 53/0466, A63B 53/047 and A63B 53/0475.
This place covers:
Putter heads with some form of adjustment means for varying the characteristics of the head, whereby the adjustment does not consist solely of changeable or replaceable added weights, or whereby the adjustment does not take place in the joint structure between the head and the shaft.
Image below shows a golf putter head 3, with head body 4 having a rotatable faceplate 3 that rotates about axis (X).

Putter heads with added weights, e.g. changeable, replaceable, but not otherwise adjustable, should be classified in A63B 2053/0491, A63B 60/02 and A63B 53/0487.
This place covers:
Golf clubs with some form of adjustment means for varying the characteristics of the club, e.g. the club's balance or centre of gravity. See for example WO2007111272, which displays a changing head weight (see image below).

Attention is drawn to the following places, which may be of interest for search:
User-manipulated weights; fluids, e.g. water | |
Resisting devices with rotary bodies; flywheels | |
Striking surfaces coated with high-friction abrasive material |
This place covers:
Shafts made of composite materials and other non-metallic materials.
Characteristics of a shaft whereby the material is not mentioned and/or is not important for the invention
Attention is drawn to the following places, which may be of interest for search:
Racket frames made of non-metallic materials, other than wood | |
Metallic golf club shafts | |
Resonance frequency related characteristics | |
Substantially flexible shafts, hinged shafts | |
Telescopic shafts | |
Weighted handle | |
Means for damping vibration | |
Shaft materials | |
Size reducing arrangements for stowing or transport | |
Shaping composites, i.e. plastics material comprising reinforcements, fillers or preformed parts, e.g. inserts | |
Layered products characterised by the non-homogeneity or physical structure, i.e. comprising a fibrous, filamentary, particulate or foam layer; Layered products characterised by having a layer differing constitutionally or physically in different parts | |
Manufacture of articles or shaped materials containing macromolecular substances |
Considering that all golf clubs have a shaft, classifying in this group is not required for documents mentioning a particular type of shaft, if the shaft itself is not important for the invention disclosed, and is well known per se; in such a case, classifying the invention alone in the relevant groups is considered sufficient.
This group is also not required for documents disclosing a golf club, in which the otherwise well-known shaft is chosen to provide a golf club with specific characteristics. For example, a golf club with a carefully selected resonant frequency based on the length and stiffness of the shaft and the mass of the club head should be classified in A63B 53/00 and A63B 60/002, a set of such clubs should also be classified in A63B 53/005.
Documents relating to methods of manufacturing composite shaft should also be classified in B29C.
Characteristics of materials are classified in A63B 2209/00 and subgroups, e.g. long, oriented fibres, e.g. wound filaments, woven fabrics, and mats A63B 2209/023.
This place covers:
This class is for shafts made of metallic materials.
This place does not cover:
Shafts made of a composite material comprising metallic and non-metallic materials |
This class is not required for documents mentioning a particular type of metallic shaft if the shaft itself is not important to the invention disclosed and is well known per se; in such a case, classifying the invention alone is considered sufficient.
This class is also not required for documents disclosing a golf club in which an otherwise well known metallic shaft is chosen to provide a golf club with specific characteristics. For example, a golf club with a carefully selected resonant frequency based on the length and stiffness of the shaft and the mass of the club head should be classified in A63B 53/00 and A63B 60/002 ; a set of such clubs should also be classified in A63B 53/005
This place covers:
This class is for documents relating to the area or areas of the golf club gripped by the golfer when playing golf. It is for grips covering a part or parts of the club shaft. It is also for "gripless" shafts, i.e. shafts intended to be grasped directly by the hands of the golfer without an attached grip member.
Attention is drawn to the following places, which may be of interest for search:
Attachments of exercising apparatus to the upper limbs of the user | |
Attachments of exercising apparatus to the hand of the user | |
Attachments of exercising apparatus to the wrist of the user | |
Weighted handles for golf clubs, bats, rackets or the like | |
Attaching handles to the implements |
"Gripless" shafts, i.e. shafts intended to be grasped directly by the hands of the golfer without an attached grip member, are to be classified here and also in A63B 53/10, A63B 60/00, A63B 60/46 for non-metallic shafts or A63B 53/12, A63B 60/00, A63B 60/46 for metallic shafts.
Details of the handles are also to be classified in subgroups of A63B 60/06, where appropriate.
This place covers:
Golf bags, supports for golf bags while golfing, or caddies with wheels for golf bags.
Attention is drawn to the following places, which may be of interest for search:
Stands for golf clubs for use on the course | |
Security means for locking golf clubs in the bag | |
Devices for protection, storage, or transport (e.g. stands or cases) for golf clubs (e.g. head covers and connector means therefor) | |
Sheaths for golf clubs | |
Apparatus or equipment provided with article holders | |
Flexible luggage; Handbags | |
Sport bags | |
Sacks or packs carried on the body (harness for carrying a golf bag) |
This place covers:
Means for carrying one or more golf clubs, or for supporting one or more golf clubs fully or partially above the ground.
This place does not cover:
Golf bags | |
Accessories for stowing or putting away equipment for games played with rackets or bats | |
Cabinets or racks for storage | |
Show stands, hangers or shelves for displaying or storing golf clubs, e.g. in a shop |
Attention is drawn to the following places, which may be of interest for search:
Devices for holding or carrying balls | |
Holders for golf balls when not in bags; stands or carriers for golf clubs |
Attention is drawn to the following places, which may be of interest for search:
Theft alarms |
This place covers:
Means for locking the clubs in the bag not necessarily only for theft prevention (it could also be, e.g. for holding the clubs into position).
Attention is drawn to the following places, which may be of interest for search:
Covers or hoods for golf bags |
Attention is drawn to the following places, which may be of interest for search:
Covers for club heads | |
Flexible luggage; Handbags | |
Sport bags | |
Protective covers |
This place covers:
This class is for covers which are removable from the golf bag. Such covers or hoods can either cover the opening of the bag or enclose the whole bag, e.g. travel bags or cases for golf bags.
This place does not cover:
Golf bags with special or detachable receptacles for the balls | |
Supports for golf bags |
Attention is drawn to the following places, which may be of interest for search:
Covers or hoods for golf bags | |
Holders of golfing accessories, e.g. of tees, balls, or golf ball position markers | |
Covers for golf club heads | |
Details of carrying straps | |
Supplementary fittings on vehicle exterior for carrying loads, e.g. luggage, sports gear, or the like |
This place covers:
Support means for golf bags
This place does not cover:
Supports (other than bags) for golf clubs on the golf course |
This place covers:
Golf bags.
Attention is drawn to the following places, which may be of interest for search:
Measuring distance travelled | |
Running gear or propulsion features for wheeled carriers for golf bags | |
Supplementary fittings on vehicle exterior for carrying loads, e.g. luggage, sports gear or the like | |
Insofar as the features thereof are generic to hand carts | |
Trolley adapted to receive an ordinary/unspecified bag | |
Accessories or details for handcarts | |
Trolleys or handcarts for carrying golf articles, e.g. golf bags | |
Trolleys or handcarts for carrying golf clubs, i.e. not in a golf bag | |
Foldable or dismountable when not in use | |
Cycles; with adaptations to be used as golf carts | |
Measuring distance traversed for golf carts |
This place does not cover:
Weather shields for a golf buggy |
Attention is drawn to the following places, which may be of interest for search:
Umbrellas |
Attention is drawn to the following places, which may be of interest for search:
Motor vehicles |
This place covers:
This group concerns devices and accessories used in the game of golf.
Attention is drawn to the following places, which may be of interest for search:
Golf clubs | |
Bags for golf clubs | |
Training appliances or apparatus for golf | |
Slidably retracted in a housing when not in use | |
Cigar holders |
Attention is drawn to the following places, which may be of interest for search:
Devices for automatically dispensing balls in general |
Attention is drawn to the following places, which may be of interest for search:
Means for releasably holding a ball in position prior to kicking, striking or the like |
This place covers:
Tees which are conceived to penetrate the ground and where the ball is contacted only by flexible elements, no matter whether they constitute a "real brush" as such or something similar, as exemplified as follows:
With a "real brush":
(WO0045905)
Not necessarily being a "real brush":
(US8167741)
Attention is drawn to the following places, which may be of interest for search:
Other kind of sport equipment with a writing point |
This place covers:
Holders for golfing accessories (such as, e.g. divot repair tools) when not in use or play.
Attention is drawn to the following places, which may be of interest for search:
Devices for handling or treating balls, e.g. for holding balls | |
Ball holders attached to the player's body | |
Receptacles for golf balls fitted on golf bags | |
Supports for holding cigars or cigarettes while smoking |
This place covers:
Holders for tees when not in use.
When these devices are adapted to be releasably mounted on a golf bag, they should also be classified in A63B 55/408
This place covers:
Holders for golf ball position markers when not in use.
When these devices are adapted to be releasably mounted on a golf bag, they should also be classified in A63B 55/408.
This place covers:
Golf ball position markers.
Attention is drawn to the following places, which may be of interest for search:
Holders of golf ball position markers |
Attention is drawn to the following places, which may be of interest for search:
Magnetic materials |
Attention is drawn to the following places, which may be of interest for search:
Magnetic materials | |
Apparatus or equipment provided with article holders, e.g. keys, wallets, books |
Attention is drawn to the following places, which may be of interest for search:
Targets or goals for ball games which are variable in size | |
Means for closing or opening a hole, covering, blocking or uncovering, unblocking a target |
Additional classifications may be required in A63B 63/00 (targets or goals for ball games) and A63B 69/36 (Training appliances or apparatus for golf) and subclasses.
This place does not cover:
Targets or goals with ball returning means |
Attention is drawn to the following places, which may be of interest for search:
Variable in size |
This place covers:
Specific tools for repairing or maintaining the turf where the balls rest, e.g. golf divot tools.
This place does not cover:
Cleaning balls | |
Devices for cleaning handles or grips |
Attention is drawn to the following places, which may be of interest for search:
Devices specially adapted for course maintenance | |
Brush for cleaning specific unusual places not otherwise covered, e.g. golf clubs | |
Cleaning footwear in general | |
Cleaning in general |
Attention is drawn to the following places, which may be of interest for search:
Clubs for swinging exercises in general | |
Details or accessories of golf clubs, bats, rackets or the like | |
Bats in general (not only rackets) whose frames disclose slits | |
Bats with a ball tethered thereto | |
Shaping of plastics for clubs |
Details of manufacturing methods are additionally classified according to the relevant manufacturing process.
Aspects of inventions which relate to specific types of sports bats should be classified in the relevant group, e.g. rackets in A63B 49/00, golf clubs in A63B 53/00, A63B 60/00, A63B 60/46 specific types of bat see A63B 59/20 - A63B 59/80
This place does not cover:
Juggling games with integral catching arrangements |
Attention is drawn to the following places, which may be of interest for search:
Hand-held mechanical projectors, e.g. for balls | |
Dog ball launchers |
Attention is drawn to the following places, which may be of interest for search:
Hand-held mechanical projectors, e.g. for balls | |
Sling weapons |
This place covers:
Typical examples, such as paddles for table tennis, frescobol and pickle ball.
This place covers:
Every kind of paddle with perforated flat striking surfaces for hitting a ball in the air and which is not covered by other groups.
Typical examples are paddles for paddle tennis, pádel tennis and platform tennis.
Attention is drawn to the following places, which may be of interest for search:
Stringed rackets, e.g. for tennis |
Attention is drawn to the following places, which may be of interest for search:
Games using a bat or racket with a body, e.g. a ball tethered thereto |
Aspects of inventions that relate to specific types of sports bats should be classified in the relevant group, e.g. stringed rackets in A63B 49/00, golf clubs in A63B 53/00, specific types of bats in A63B 59/20 - A63B 59/80.
Details are also to be classified in subgroups of A63B 2102/00 where appropriate.
Attention is drawn to the following places, which may be of interest for search:
Emitting sound, noise or music |
This place covers:
Details of the surface, e.g. dimpled.
Attention is drawn to the following places, which may be of interest for search:
Surfaces reducing air resistance, in general |
Forms, profiles or through holes for reducing air resistance (i.e. special aerodynamic features that are not related to specific details of the surface) are classified in A63B 2225/01.
This place covers:
Flexible shafts (with or without a hinge).
Shafts with a hinge (independent of whether the hinged parts are flexible on their own or not).
Shafts with a certain degree of stiffness, independent of whether the flexibility is explicitly mentioned, as both flexibility and stiffness are relative terms that refer to the same property (i.e. a bigger or smaller degree of bendability).


This place does not cover:
Allowing adjustable angular orientation of the head of a golf club with respect to the shaft of the golf club |
This place covers:
Telescopic shafts, handles and grips of rackets, golf clubs and every other kind of sport clubs and bats.
Attention is drawn to the following places, which may be of interest for search:
Handles, grips and also shafts (when the shaft is used for gripping the apparatus) adjustable in length and which are not telescopic | |
Walking sticks with shafts of adjustable length, e.g. telescopic shafts | |
Telescopic ski-sticks varying the length | |
Telescopic or extensible handles for hand implements | |
Telescoping systems |
This place does not cover:
Weighted handles | |
Golf clubs, bats, rackets or the like with means for damping vibrations |
Attention is drawn to the following places, which may be of interest for search:
Golf club heads with added weights |
This place covers:


This place does not cover:
Clubs with a weight movable along the longitudinal axis due to centrifugal forces |
Attention is drawn to the following places, which may be of interest for search:
Weights set in movement on impact of the ball for damping vibrations |
This place covers:
Handles, grips and also shafts/shanks (when the shaft/shank is used for gripping the apparatus) of rackets, golf clubs and every other kind of sport clubs and bats.
Attention is drawn to the following places, which may be of interest for search:
Attachments of exercising apparatus to the upper limbs of the user | |
Attachments of exercising apparatus to the hand of the user | |
Attachments of exercising apparatus to the wrist of the user | |
Handles for hand implements |
Handles for rackets should be classified in A63B 49/08 and also in the subgroups of A63B 60/06 where appropriate.
Handles for golf clubs should be classified in A63B 53/14 and also in the subgroups of A63B 60/06 where appropriate.
Example of document for A63B 60/06 and A63B 21/4021:

Other types of bat should be classified in the appropriate class according to the type of bat (see A63B 59/00 and subgroups).
This place covers:
Handles which are shaped to match the user's hand as shown in the following figures.



Attention is drawn to the following places, which may be of interest for search:
Tactile feedback |
Handles or grips with corrugated cross sections are additionally classified in A63B 60/48.
This place covers:
Coverings for handles. Note examples of coverings, sleeves or ribbons shown in the following images.




Layered products in strips: B32B 7/14
Attention is drawn to the following places, which may be of interest for search:
Handle-bar grips |
This place covers:

Attention is drawn to the following places, which may be of interest for search:
Bats with through holes | |
Rackets with slits, i.e. elongate holes |
This place covers:
Having handles with changeable length. See example of a handle with changeable length in the following figure.

Attention is drawn to the following places, which may be of interest for search:
Telescopic shafts | |
Walking sticks of adjustable length | |
Telescopic ski-sticks e.g. for varying the length or damping shocks |
This place covers:


This place covers:

This place does not cover:
The shaft axis of a golf club being forwardly offset relative to the striking face of the head | |
Bats or rackets with holding means provided inside, on the edge or on the rear face of the striking surface |
Attention is drawn to the following places, which may be of interest for search:
Throat sections with two legs having mutually different constructions |
Attention is drawn to the following places, which may be of interest for search:
Cleaning in general |
This place does not cover:
Bats or rackets having means, e.g. pockets, netting, or adhesive type surfaces, for catching or holding a ball | |
Rackets or the like with flat striking surfaces for hitting a ball in the air, e.g. for table tennis |
This place covers:
Measuring characteristics of implements; custom fitting bats, rackets or golf clubs
Attention is drawn to the following places, which may be of interest for search:
Clubs having a weight movable along the longitudinal axis of the club due to centrifugal forces | |
Resonance frequency related characteristics | |
Golf club selection aids informing player of his average or expected shot distance for each club | |
Testing, calibrating or measuring of equipment |
Bats or rackets for swinging exercises having a weight movable along the longitudinal axis of the club due to centrifugal forces should also be classified in A63B 15/005
Details relating to measuring of physical parameters relating to a sporting activity should also be classified in A63B 2220/00.
Controlling or monitoring of exercises, sportive games, training or athletic performances should also be classified in A63B 24/00.
This place covers:
Devices for pressing racket frames in order to keep the frame flat. Some presses have ball holders, but this feature is not essential for a press.
Attention is drawn to the following places, which may be of interest for search:
Ball holders in general |
Attention is drawn to the following places, which may be of interest for search:
Resonance frequency related characteristics | |
Golf club selection aids informing player of his average or expected shot distance for each club | |
Testing, calibrating or measuring of equipment | |
Measuring of sport goods in general |
Bats or rackets for swinging exercises having a weight movable along the longitudinal axis of the club due to centrifugal forces should also be classified in A63B 15/005.
Details relating to measuring of physical parameters relating to a sporting activity should also be classified in A63B 2220/00.
Controlling or monitoring of exercises, sportive games, training or athletic performances should also be classified in A63B 24/00.
Attention is drawn to the following places, which may be of interest for search:
Measuring force related parameters | |
Sensors arranged on the exercise apparatus or sports implement |
This place covers:



Handles or grips contoured to the anatomy of the user's hand are additionally classified in A63B 60/12.
This place covers:
Used for non-elongated holes traversing the solid parts of the bat (can also be the blade, if solid). It is also used for important holes in the bat, even if they do not exactly traverse the bat completely (i.e. "through" has to be understood in a broad way).
Only used for through holes which have not been subsequently filled-in with another material. However, it is used when only a lid or a cap has been placed on the through hole, subsequently covering it but not completely filling it in.

Example of through holes completely traversing the shaft.

Example of through holes completely traversing a solid blade.

Example of important holes (8, 10) in the frame, not exactly traversing it, but still of an special relevance. US patent 5,232,220.
This place does not cover:
String guides on frames | |
Tennis rackets comprising a wooden blade with perforations as a substitute for the strings | |
Through holes that conform normal design features of a golf club head, such as the hole for the insertion of the shaft, enclosed cavities, through holes for inserting weights, etc. | A63B 53/00 and subgroups |
Iron-type golf club heads with one or more enclosed cavities | |
Golf club heads with added weights inserted in through holes | |
Through holes whose features, effects or function are to be classified according to the specific scheme for golf club heads | A63B 53/14 and subgroups |
Handles or grips with grooves or holes for cooling, ventilating or sweat-reduction (including handles or grips for rackets) | |
Bats with slits (i.e. long narrow cuts or openings which might traverse the frame or not) |
Example of through hole (A63B 60/50) vs. slit (A63B 60/52):

Example of through holes for adding weights to a golf club head (A63B 2053/0491) and which through holes, therefore, are not classified in A63B 60/50:

This place covers:
Bat frames with long narrow cuts or openings. They might traverse the frame or not.
It is used for every kind of bat, not only for rackets.
The following image shows an example of a long narrow traversing opening.

The following image is an example of a long narrow cut (i.e. non-traversing),

Example of through hole (A63B 60/50) vs. slit (A63B 60/52)

Attention is drawn to the following places, which may be of interest for search:
Slits for guiding strings | |
Rackets comprising a wooden blade with perforations as a substitute for the strings | |
Slits whose features, effects or function are to be classified according to the specific scheme for golf club heads, or that conform normal design features of a golf club head, such as the grooves on impact surface | |
Bat handles or grips with holes for cooling, ventilating or sweat-reduction | |
Bats with corrugated cross sections (e.g. with a plurality of slits in the longitudinal direction) | |
Bats with through holes (note: holes traversing the solid parts of the bat and which are not slits, i.e. non-elongated) |
Bat handles or grips with holes in the form of slits for cooling, ventilating or sweat-reduction are classified in A63B 60/18
This place does not cover:
Clubs for swinging exercises having a weight movable along the longitudinal axis of the club due to centrifugal forces | |
Means for damping vibration in general |
Attention is drawn to the following places, which may be of interest for search:
Bags or stands for golf clubs | |
Covers or hoods for golfbags | |
Devices for storing or displaying elongated objects such as fishing rods, guns etc. |
Attention is drawn to the following places, which may be of interest for search:
Ball holders in general | |
Sport bags |
This place does not cover:
Covers or hoods for golf bags |
This place does not cover:
Accessories for stowing or putting sports equipment away |
Attention is drawn to the following places, which may be of interest for search:
Devices for holding or carrying balls | |
Accessories for table tennis |
This place does not cover:
Straining or adjusting devices on the posts |
Attention is drawn to the following places, which may be of interest for search:
Supports for table tennis nets | |
Tennis | |
Badminton | |
Table tennis | |
Volleyball | |
Warp knitting processes for the production of fabrics or articles not dependent on the use of particular machines; Fabrics or articles defined by such processes |
This place does not cover:
Other training appliances or apparatus for tennis |
This place does not cover:
Supports, e.g. floor sockets for removable posts or poles |
This place does not cover:
Straining or adjusting devices on the posts |
This place does not cover:
Golf cups |
Attention is drawn to the following places, which may be of interest for search:
Controlling or monitoring of exercises, sportive games, training or athletic performances | |
Ball rebound walls | |
Indicating or scoring devices for games or players, or for other sports activities | |
Targets for projectiles other than balls | |
Targets for games | |
Fixing nets to objects | |
Targets for weapons | |
Targets; Target stands; Target holders | |
Dartboards | |
Target indicating systems; Target-hit or score detecting systems |
In this place, the following terms or expressions are used with the meaning indicated:
Football (unless American football is specified) | Soccer (Association football) |
This place does not cover:
Golf cups | |
Moving targets, e.g. moving or revolving on impact |
This place does not cover:
Throwing toys |
Attention is drawn to the following places, which may be of interest for search:
Golf cups with ball ejector means | |
Stationarily-arranged devices for projecting balls | |
Shooting or hurling games | |
Throwing weapons | |
Sling weapons | |
Trap machines for trapshooting and clay-pigeon targets | |
Darts |
Attention is drawn to the following places, which may be of interest for search:
Darts | |
Archery arrows |
Attention is drawn to the following places, which may be of interest for search:
Flying disc toys such as frisbees |
This place does not cover:
Sticks for lacrosse, pelota or similar; hand-held throwing or catching aids |
Attention is drawn to the following places, which may be of interest for search:
Stationary devices for projecting balls or other bodies | |
Toys for animals | |
For propelling or projecting the balls in miniature bowling alleys | |
Apparatus for projecting balls for indoor games |
Attention is drawn to the following places, which may be of interest for search:
Sticks for lacrosse, pelota or similar; hand-held throwing or catching aids | |
Sling weapons |
Attention is drawn to the following places, which may be of interest for search:
Cooled |
Amongst other games, Beer Pong games are classified here but also additionally classified in A63F 7/0017 and A63F 2250/024.
Documents with trampolines are additionally classified in A63B 5/11
Attention is drawn to the following places, which may be of interest for search:
Apparatus used in water |
This place covers:
Golf games featuring unique gameplay formats or distinct elements that provide an alternative approach to the sport. This group also includes putting games played on extended putting platforms or tracks, as well as the putting tracks therefor.
Attention is drawn to the following places, which may be of interest for search:
Inclined platforms for practising drives from slopes | |
Mats for golf practice | |
Golf practising terrains | |
Golf courses |
This place does not cover:
Slopes or trails for skiing |
Attention is drawn to the following places, which may be of interest for search:
Apparatus generating unpredictable signals for reaction time training | |
Tables for table tennis | |
Other table games |
Reference A63F is non-limiting in the A63B 67/04. CPC will be updated once this inconsistency is resolved.
Table games modelled on outdoor sports with ball rebound surfaces other than the horizontal table surface, are to be classified here and also in A63B 69/0097.
Attention is drawn to the following places, which may be of interest for search:
Nets for table tennis, i.e. not the support but only the net itself |
Attention is drawn to the following places, which may be of interest for search:
Adjusting apparatus; Stands for players for bowling alleys |
This group also covers the game of "Disc golf".
Beer-pong games (also known as "Beirut") are usually classified as follows:
A63B 67/06 – usually when on a table, A63B 67/066 – usually when on the "ground", plus, additionally, A63F 2250/024 and A63F 7/0017.
Other typical symbols that might be used according to the circumstances might be:
- A63B 63/08 (targets with substantially horizontal opening for ball)
- A63B 2210/50 (size reducing arrangements for stowing or transport)
- A63B 2071/0694 (visual indication)
- A63B 2225/66 (cooled)
- A63B 67/04 (table games) and/or A63B 2102/16 (table-tennis)
- F25D 31/008 (cooling apparatus for drinking glasses)
- F25D 2331/809 (cooled holders)
- F25D 2331/812 (cooled trays)
This place does not cover:
Diabolos or similar thrown and caught spinning tops; Throwing and catching devices therefor |
Attention is drawn to the following places, which may be of interest for search:
Other games using tethered balls | |
Games using a bat or racket with a ball tethered thereto |
Attention is drawn to the following places, which may be of interest for search:
Clubs, e.g. for swinging exercises |
Juggling clubs are classified as follows: A63B 15/00 (invention information) and A63B 67/086 (additional information).
This place does not cover:
Games using a bat or racket with a body, e.g. a ball tethered thereto | |
Pin games with tethered balls |
Attention is drawn to the following places, which may be of interest for search:
Bats tethered to a line or cord | |
Indoor games using small tethered balls | |
Tethered playing balls or other tethered playing bodies supported on a tethering arm |
This group also covers ice hockey pucks, which are classified both in A63B 67/14 and A63B 69/0026.
This place covers:
Apparatus or equipment specially adapted for badminton or similar games with feathered missiles. The games other than badminton include hanetsuki, which is a traditional Japanese game, shuttlecock, and battledore.
Example covered by this group but not covered by group A63B 67/183: Portable cases for feathered missiles

Example covered by this group but not covered by group A63B 67/183: Cartridges of which feathered missiles can be easily taken out.

Attention is drawn to the following places, which may be of interest for search:
Devices for handling or treating balls | |
Badminton | |
Darts |
Shuttlecocks for badminton are classified in A63B 67/18 and A63B 2102/04.
Attention is drawn to the following places, which may be of interest for search:
Balls with special arrangements |
Attention is drawn to the following places, which may be of interest for search:
Bats tethered to a line or cord | |
Pin games with tethered balls | |
Tethered playing balls or other tethered playing bodies | |
Tethered playing balls or other tethered playing bodies supported on a tethering arm |
This place covers:
Mechanical aspects of training appliances or apparatus.
A63B 69/00 and its subgroups deal with the mechanical features of training appliances or apparatus used when training for sports. Some groups and subgroups in subclass A63B are used for additional information and may cause confusion:
- A63B 24/00, which relates to electric or electronic controls for apparatuses classified in other groups and subgroups of A63B (not A63B 71/06).
- A63B 71/06, which relates to different kinds of indicating devices for sports for apparatuses classified in other groups and subgroups of A63B.
- A63B 2220/00, for measuring of physical parameters relating to sporting activity.
- When the invention disclosed in a document does not lie in a mechanical sports device or the electronic controlling thereof with a mechanical effect on the device, it should not be classified in A63B (at least not as "invention information").
This place does not cover:
Training of parachutists |
Attention is drawn to the following places, which may be of interest for search:
Exercising apparatus for developing or strengthening the muscles or joints of the body by working against a counterforce | |
Exercising apparatus specially adapted for particular parts of the body | |
Measuring movement of entire body or parts thereof | |
Measuring muscular strength for diagnostic purposes | |
Apparatus for passive exercising or massage | |
Video games | |
Exercising for producing mechanical power | |
Archers' finger tabs | |
Measuring of sport goods in general | |
Measure arrangements characterised by the use of optical means | |
Systems for determining distance or velocity using ultrasonic, sonic, or infrasonic waves | |
Systems using reflection of acoustic waves | |
Systems using reflection of electromagnetic waves, velocity or trajectory | |
GPS – receivers – sporting applications | |
Controlling member being movable by hand, e.g. joystick | |
Input interaction (Gesture, VR, GUI) | |
Data acquisition and logging | |
Performance analysis | |
Analysis of motion | |
Recognition of whole body movements, e.g. for sport training | |
Race time recorders | |
Simulators for teaching or training | |
Devices for exercising or strengthening of fingers or arms in teaching music | |
Teaching repetitive work cycles; Sequence of movements; sport | |
Rhythm (Matching music to exercise) | |
Synchornising audio tracks of files | |
ICT specially adapted for therapies or health-improving plans relating to physical therapies or activities, e.g. physiotherapy, acupressure or exercising |
The control aspect should be classified in A63B 24/00
The interface features (indicating or scoring devices) should be classified in A63B 71/06
The sensors should be classified in A63B 2220/00 or A63B 2230/00
The position of the user should be classified in A63B 2208/00
The specific sport should be classified in A63B 2243/00 or A63B 2244/00, unless covered by the title of the group.
This place covers:
Baseball, e.g. softball or rounders.
Depending on whether it is used for baseball, softball or rounders, this subgroup always needs to be complemented by, respectively, the following codes.
Baseball, softball or rounders |
This place covers:
Baseball mounds also.
Attention is drawn to the following places, which may be of interest for search:
Apparatus for setting-out or dividing courts, in general |
This place covers:
Training appliances or apparatus for:
- Association football (more commonly known as football or soccer); or
- American football.
This place does not cover:
American-football dummies |
Depending on whether it is used for Association or American football, this subgroup always needs to be complemented by, respectively with the following codes:
Association football (soccer) | |
American football |
Attention is drawn to the following places, which may be of interest for search:
Skates with multiple blades | |
Ice-skating or roller-skating rinks |
Ice hockey pucks are classified in both A63B 67/14 and A63B 69/0026.
This place does not cover:
Movable endless bands |
Attention is drawn to the following places, which may be of interest for search:
The person using trunk supports resisting forward motion of user |
Attention is drawn to the following places, which may be of interest for search:
Climbing poles, frames, or stages |
Attention is drawn to the following places, which may be of interest for search:
Devices for projecting balls | |
Devices for testing reaction times | |
Reaction-time games |
This place covers:
Restraining devices that are not worn on the body but are (externally) attached on the body from the outside. When the user moves away from the training spot, he/she will keep on him/her what is worn (A63B 69/0059) but what was attached on him/her (A63B 69/0057) will stay behind on the training spot.
This place does not cover:
Moving torso with immobilized lower limbs |
Attention is drawn to the following places, which may be of interest for search:
Supports for anchoring force-resisters | |
Supports for anchoring force-resisters mounted on or against a wall | |
Attachment of exercising apparatus to the body of the user | |
Means for physically limiting movements of body parts worn by the user | |
Attachments on the body for golf, e.g. for measuring, aligning, restraining | |
Movement of a golf club is limited with the purpose of guiding the swing | |
Tactile feedback |
This place covers:
Also, limiting movement between grip and body parts (apart from the hand).
When A63B 69/0059 is appropriate and the invention concerns a golf device, A63B 69/36 or any other appropriate subgroup referring to golf has to be allocated too.
Attention is drawn to the following places, which may be of interest for search:
Attachments of exercise devices to the body without movement restriction | |
Attachments between the hand/hands and the golf club, either by directly attaching one or more hands to the club, or by attaching the hands to one another around the golf club (e.g. via a band or a sticking surface fixing the grip to the hand/glove of the user, or even indirectly blocking the relative movement between the hands and the grip) | |
Tactile feedback |
Attention is drawn to the following places, which may be of interest for search:
Suspension devices for supporting the body in an upright walking orstanding position, e.g. harnesses |
This place does not cover:
Sailing simulators (for teaching or training purposes) |
This place does not cover:
Golf tees |
This place does not cover:
Stationarily-arranged devices with pneumatic propelling means for projecting balls | |
Indoor games with playing bodies projected by compressed air | |
Water toys, floating toys or like buoyant toys |
This place does not cover:
Arrangements on balls for connecting lines or cords | |
Other games using tethered balls | |
Games using a bat or racket with a ball tethered thereto |
Attention is drawn to the following places, which may be of interest for search:
Tethered playing balls or other tethered playing bodies | |
Tethered playing balls or other tethered playing bodies supported on a tethering arm |
Hollow rigid balls are classified in A63B 37/0098
Arrangements on balls for connecting lines or cords A63B 43/007 takes precedence.
This place does not cover:
Eccentric weights put into orbital motion by nutating movement of the user | |
Punching balls attached to the user |
Attention is drawn to the following places, which may be of interest for search:
Equipment or arrangements for generating waves, particularly adapted for surfing, waterskiing, or the like | |
Devices for producing waves in swimming pools |
This place does not cover:
Targets or goals for ball games (walls with holes or in combination with nets) |
Attention is drawn to the following places, which may be of interest for search:
Controlling or monitoring of exercises, sportive games, training or athletic performances | |
Backstops, cages, enclosures or the like, e.g. for spectator protection, for arresting balls | |
Indicating or scoring devices for games or players, or for other sports activities | |
Targets for projectiles other than balls | |
Target indicating systems; Target-hit or score detecting systems |
Attention is drawn to the following places, which may be of interest for search:
Fencing foils, sabres or epees |
Fencing masks are classified in A63B 69/02 and also in A63B 2071/105 and A63B 71/10.
This place does not cover:
Toy animals for riding |
This place covers:
Training for real rowing or sculling movement, not necessarily on a real boat.
Canoeing and kayaking also.
Canoes, kayaks or the like B63B 34/20.
Attention is drawn to the following places, which may be of interest for search:
Rowing machines for fitness |
This group includes any rowing training which takes place in a real boat.
This place covers:
Any kind of mechanical training equipment for swimming which is used when the user is actually swimming surrounded by water or any other liquid.
Attention is drawn to the following places, which may be of interest for search:
Swimming aids | |
Floating seats | |
Fluid mattresses, e.g. pneumatic mattresses, Liquid mattresses or mattresses with fluid-like particles | |
Body floating supports for relaxation | |
Toy boats; Floating toys; Other aquatic toy devices | |
Vessels or like floating structures for pleasure or sport | |
Rafts, i.e. free floating waterborne vessels, of shallow draft, with little or no freeboard, and having a platform or floor for supporting a user | |
Life-buoys, life-belts |
Attention is drawn to the following places, which may be of interest for search:
Wave-producers or the like in baths | |
Therapeutic baths with agitated or circulated water | |
Equipment or arrangements for generating waves, particularly adapted for surfing, waterskiing, or the like | |
Producing waves in swimming pools |
Attention is drawn to the following places, which may be of interest for search:
Swimming aids | |
Floating seats | |
Fluid mattresses, e.g. pneumatic mattresses, Liquid mattresses or mattresses with fluid-like particles | |
Body floating supports for relaxation | |
Toy boats; Floating toys; Other aquatic toy devices | |
Body-boards, i.e. surfboards specially adapted for use by users in prone position; Planing members attachable to, or held by body-surfers | |
Other vessels or like floating structures for pleasure or sport | |
Rafts, i.e. free floating waterborne vessels, of shallow draft, with little or no freeboard, and having a platform or floor for supporting a user | |
Life-buoys, life-belts |
Attention is drawn to the following places, which may be of interest for search:
Mechanical means for variation of the resistance | |
Frictional force-resisters with surfaces rolling against each other without substantial slip | |
Stationary bicycles, ergometers | |
Means providing for a stabilised ride |
To be complemented with the relevant subgroups of A63B 21/00, A63B 22/00, A63B 23/00. This group is also used for wheelchair training on rollers - such documents are additionally coded with A63B 2071/0018..
This place does not cover:
Devices enabling skis to be used whilst held in a particular configuration with respect to each other, e.g. for training purposes | |
Accessories for skiing or snowboarding (fittings on vehicles for carrying skis) | |
Slalom gate poles, posts or marking sticks for sport field |
This place does not cover:
Exercising apparatus for the legs with guided foot supports moving parallel to the body-symmetrical-plane by translation | |
Training devices for skating |
This place does not cover:
Waterskis | |
Accessories, e.g. sticks for water skiing |
This place covers:
Training devices subjected to strikes or blows by a person training in a combat sport including: punching bags, punching balls, pads held or attached to the human body, and striking dummies.
Attention is drawn to the following places, which may be of interest for search:
Golf tees | |
Means for releasably holding a ball in position; Balls constrained to move around a fixed point, e.g. by tethering | |
Dummies, e.g. for boxing or American football |
In this place, the following terms or expressions are used with the meaning indicated:
Punching ball | Devices which move and return fast due to their low inertia when subject to strikes or blows; mainly designed to be hit at resonant frequency |
In patent documents, the following words/expressions are often used as synonyms:
- Punching ball
- Speed bag
This place covers:
Striking devices having an anthropomorphic shape or resemblance.
Illustrative example of subject matter classified in this group:


This place covers:
Punching balls, punching bags or other striking devices mounted on or suspended from a stationary support during the striking activity. The support may be adjusted or repositioned when not in use and the training device, e.g. the ball or bag, may move when struck, but the overall structure remains in place during the exercise.
Illustrative example of subject matter classified in this group:
A punching ball mounted on a fixed support. The height of the ball is adjustable but remains set once the punching exercise begins.

Illustrative example of subject matter classified in this group:
A punching ball suspended from a fixed support. The height of the ball is adjustable but remains set once the punching exercise begins.

This place covers:
Punching balls, punching bags or other striking devices mounted on or suspended from a support set in motion during the striking activity. The motion of the training device should be an added feature to enhance the training experience, with said motion imparted independent from the striking activity.
Illustrative example of subject matter classified in this group:
A punching target mounted on a movable support. The target is set in motion by a motor and drive shaft during the punching exercise, and a sensor detects movement by the user to alter the motion of the target.

Illustrative example of subject matter classified in this group:
Punching bags mounted on a movable support. The carousel and track system supporting the punching bags are set in motion with a motor and produce unpredictable movements. Alternatively, the carousel and track system are designed to produce unpredictable movements without a motor in response to the punching force from the user.

Attention is drawn to the following places, which may be of interest for search:
Other tethered balls being attached to the user |
Attention is drawn to the following places, which may be of interest for search:
Counting, e.g. counting periodical movements, revolutions or cycles, or including further data processing to determine distances or speed | |
Force of an impact, e.g. blow or punch | |
Sensors arranged on the exercise apparatus or sports implement |
Attention is drawn to the following places, which may be of interest for search:
Toy swords or similar toy weapons; Toy shields |
This place covers:
Tackling, blocking or grappling dummies.
Attention is drawn to the following places, which may be of interest for search:
Hanging heavy punching bags | |
Manipulators |
This subgroup should always be complemented with the appropriate code in A63B 2102/00, A63B 2243/00 or A63B 2244/00 relating to the specific sport or sports for which the dummy is used.
Boxing dummies used for punching or striking training are classified in A63B 69/20 and subgroups, e.g. A63B 69/215.
This place covers:
Mechanical aspects of training appliances or apparatus used when training golf, i.e. mechanical equipment which is not normally used during the game of golf.
A63B 69/36 and its subgroups deal with the mechanical features of training appliances or apparatus used when training golf. Some groups and subgroups in subclass A63B are used for additional information and may cause confusion:
- A63B 24/00, which relates to electric or electronic controls for apparatuses classified in other groups and subgroups of A63B (not A63B 71/06).
- A63B 71/06, which relates to different kinds of indicating devices for sports for apparatuses classified in other groups and subgroups of A63B.
- A63B 2220/00, for measuring of physical parameters relating to sporting activity.
When the invention disclosed in a document does not lie in a mechanical sports device or the electronic controlling thereof with a mechanical effect on the device, it should not be classified in A63B (at least not as "invention information").
Attention is drawn to the following places, which may be of interest for search:
Golf clubs | |
Bags and stands | |
Golf game accessories | |
Scoring devices | |
Measuring movement of entire body or parts thereof | |
Video games | |
Measuring of sport goods in general | |
Measure arrangements characterised by the use of optical means | |
Systems for determining distance or velocity using ultrasonic, sonic, or infrasonic waves | |
Systems using reflection of acoustic waves | |
Systems using reflection of electromagnetic waves, velocity or trajectory | |
GPS – receivers – sporting applications | |
Input interaction (Gesture, VR, GUI) | |
Data acquisition and logging | |
Performance analysis | |
Analysis of motion | |
Recognition of whole body movements, e.g. for sport training | |
Simulators for teaching or training | |
Teaching repetitive work cycles; Sequence of movements; sport | |
ICT specially adapted for therapies or health-improving plans relating to physical therapies or activities, e.g. physiotherapy, acupressure or exercising |
Control must be classified in A63B 24/00.
The interface features must be classified in A63B 71/06.
The sensors must be classified in A63B 2220/00 or A63B 2230/00.
The position of the user must be classified in A63B 2208/00.
Attention is drawn to the following places, which may be of interest for search:
Devices for measuring, verifying, correcting or customizing characteristics of golf-clubs, bats, rackets or the like |
This place covers:
Also attachments used between the hand/hands and the golf club, either by directly attaching one or more hands to the club, or by attaching the hands to one another around the golf club (e.g. via a band or a sticking surface fixing the grip to the hand/glove of the user, or even indirectly blocking the relative movement between the hands and the grip).
This place does not cover:
Means for physically limiting movements of body parts worn by the user | |
Foot inclining aids |
Attention is drawn to the following places, which may be of interest for search:
Attachments of exercise devices to the body without movement restriction | |
Attachments of exercising apparatus to the upper limbs of the user | |
Attachments of exercising apparatus to the hand of the user | |
Attachments of exercising apparatus to the wrist of the user | |
Visual means not attached to the body for positioning the trainee's head or for detecting head movement, e.g. by parallax (for driving) | |
Golf stance aids, i.e. means for positioning a golfer's feet | |
Visual means not attached to the body for positioning the trainee's head or for detecting head movement, e.g. by parallax (for putting) | |
Tactile feedback | |
Visual indication, e.g. Indicia (only visual (i.e. non mechanical) alignment devices) |
This place covers:
All types of training means using electro-magnetic, magnetic or ultrasonic radiation e.g. laser aiming, interruption of beams or lamps attached to golf club.
Attention is drawn to the following places, which may be of interest for search:
Optical or opto-electric sensors | |
Powered illuminating means |
This place covers:
Means indicating the actual impact point, i.e. point of contact, with the ball.
Attention is drawn to the following places, which may be of interest for search:
Means indicating the preferred impact point for normal golf clubs, i.e. visual indicators for aligning the golf club | |
Visual indicators for training purposes for indicating the preferred impact point or aligning the golf club | |
Visual indicators for putting training purposes for indicating the preferred impact point or aligning the putter |
Note: the means indicate the actual impact point, i.e. point of contact, with the ball; means indicating the preferred impact point for normal golf clubs should be coded in A63B 53/0441, and for training purposes in A63B 69/3632 or A63B 69/3685.
This place covers:
Contacting and non-contacting mechanical (i.e. not only visual) means for guiding the swing. "Non-contacting mechanical means" means that there would be contact only if the movement is executed wrongly. Thus, it is valid for any type of device that the club contacts during the swing OR would contact if used wrongly (within the normal limits of a swing).
The following figure that shows an example of non-contacting means.

Attention is drawn to the following places, which may be of interest for search:
Attachments on the body, e.g. for measuring, aligning, restraining | |
Visual means not attached to the body for positioning the trainee's head or for detecting head movement, e.g. by parallax (for driving) | |
Visual means not attached to the body for positioning the trainee's head or for detecting head movement, e.g. by parallax (for putting) | |
Visual indication (if the means for guiding the swing are only of a visual nature, e.g. line on a mat that the user should try to follow) |
This place covers:
Mechanical guides which guide the club head end during the complete (or almost complete) swing; this also can be achieved by guiding any part of the golf club, i.e. not necessarily the club head end.
This place does not cover:
Clubs for gymnastics or the like, e.g. for swinging exercises |
Attention is drawn to the following places, which may be of interest for search:
Resilient force resistors of the extension element type | |
Elastic ropes or bands | |
User-manipulated weights |
This place covers:
Linked arms/rods/bars.
Attention is drawn to the following places, which may be of interest for search:
Mechanical guide guiding the club head end during the complete swing with a flexible member fixed on the club and rotating around a fixed supporting point |
This place does not cover:
Attachments on the body, e.g. for measuring, aligning, restraining | |
Means associated with the ball for indicating or measuring, e.g. speed, direction | |
Mats for golf practice, e.g. mats having a simulated turf, a practice tee or a green area | |
Golf stance aids, e.g. means for positioning a golfer's feet | |
Golf practising terrains |
This place covers:
Means that help to put the head of the user in a position in space for driving.
Attention is drawn to the following places, which may be of interest for search:
Golf club heads with visual indicators for aligning the golf club | |
Contacting or non-contacting means for guiding the swing | |
Drivers or attachments on drivers, e.g. for measuring, aligning | |
Putters or attachments on putters, e.g. for measuring, aligning | |
Visual indication for aligning the eyes or body with the target line |
This place does not cover:
Clubs, weighted hand bars for swinging exercises not related to golf technique | |
Golf clubs not used for training with visual indicators for aligning the club | |
Bats with a ball tethered thereto | |
Golf training apparatus using electro-magnetic, magnetic or ultrasonic radiation emitted, reflected or interrupted by the golf club |
Attention is drawn to the following places, which may be of interest for search:
Attachments of exercising apparatus to the upper limbs of the user | |
Attachments of exercising apparatus to the hand of the user | |
Attachments of exercising apparatus to the wrist of the user | |
Golf clubs not used for training with visual indicators for aligning the club | |
Handles or grips for golf clubs, bats, rackets or the like | |
Weighted handles for golf clubs, bats, rackets or the like | |
Bats with a ball tethered thereto |
Attention is drawn to the following places, which may be of interest for search:
Means for indicating or measuring the pressure on the grip |
This place does not cover:
Clubs, weighted hand bars for swinging exercises not related to golf technique |
Attention is drawn to the following places, which may be of interest for search:
User-manipulated weights; fluids, e.g. water | |
Fluid-like particles, e.g. gun shot, sand |
Attention is drawn to the following places, which may be of interest for search:
Special golf games, e.g. miniature golf; Putting tracks therefor | |
Mats for golf practice, e.g. mats having a simulated turf, a practice tee or a green area | |
Golf practising terrains |
Attention is drawn to the following places, which may be of interest for search:
Short-distance or low-velocity balls for training, or for playing on a reduced area |
Attention is drawn to the following places, which may be of interest for search:
Special golf games, e.g. miniature golf; Putting tracks therefor | |
Inclined platforms for practising drives from slopes | |
Golf practising terrains | |
Surfaces simulating grass |
This place does not cover:
Attachments on the body, e.g. for measuring, aligning, restraining | |
Mats for golf practice, e.g. mats having a simulated turf, a practice tee or a green area | |
Golf stance aids, e.g. means for positioning a golfer's feet | |
Golf practising terrains with putting taking place on a green other than the target green |
Attention is drawn to the following places, which may be of interest for search:
Putting tracks for special golf games | |
Golf practising terrains |
This place covers:
Means that help to put the head of the user in a position in space for putting.
Attention is drawn to the following places, which may be of interest for search:
Golf club heads with visual indicators for aligning the golf club | |
Drivers or attachments on drivers, e.g. for measuring, aligning | |
Putters or attachments on putters e.g. for measuring, aligning | |
Visual indication for aligning the eyes or body with the target line |
This place does not cover:
Golf training apparatus using electro-magnetic, magnetic or ultrasonic radiation emitted, reflected or interrupted by the golf club |
Attention is drawn to the following places, which may be of interest for search:
Attachments of exercising apparatus to the upper limbs of the user | |
Attachments of exercising apparatus to the hand of the user | |
Attachments of exercising apparatus to the wrist of the user | |
Handles or grips for golf clubs, bats, rackets or the like | |
Weighted handles for golf clubs, bats, rackets or the like |
Attention is drawn to the following places, which may be of interest for search:
Special golf games, e.g. miniature golf; Putting tracks therefor | |
Inclined platforms for practising drives from slopes | |
Mats for golf practice, e.g. mats having a simulated turf, a practice tee or a green area | |
Golf courses | |
Pavings or foundations specially adapted for playgrounds or sports grounds; Drainage, irrigation or heating of sports grounds |
This place does not cover:
Accessories for training purposes mounted on the net | |
Means for releasably holding a ball in position; balls constrained to move around a fixed point, e.g. by tethering | |
Ball rebound walls |
Attention is drawn to the following places, which may be of interest for search:
Devices measuring hand characteristics to determine correct grip size | |
Means for indicating or measuring the pressure on the grip |
control must be classified in A63B 24/00.
The interface features must be classified in A63B 71/06.
The sensors must be classified in A63B 2220/00 or A63B 2230/00.
The position of the user must be classified in A63B 2208/00.
This place covers:
"Stationarily" also includes moving robots which are stationary when projecting balls.
This place does not cover:
Golf cups with ball ejector means | |
Traps for clay-pigeon targets |
Attention is drawn to the following places, which may be of interest for search:
Ball dispensers having means preventing bridge formation during dispensing | |
Targets with means for returning balls by gravity or mechanically | |
Implements for throwing | |
Toys specially adapted for animals, e.g. dog ball launchers | |
Apparatus for projecting balls for indoor games | |
Sling weapons | |
Magazines for projected targets | |
Means for obviating the anticipation of the flight path for projected targets |
Attention is drawn to the following places, which may be of interest for search:
Friction-wheel operated launchers |
This place covers:
Games or sports accessories not covered in groups A63B 1/00 - A63B 69/0015.
This place does not cover:
Race starting appliances |
This place covers:
Games and apparatus for handicapped persons.
Wheelchair training on rollers is classified in A63B 69/16 and additionally in A63B 2071/0018.
This place covers:
Accessories for stowing, putting away or transporting exercise apparatus or sports equipment.
This place does not cover:
Devices for handling, treating or holding balls | |
Bags and stands for golf clubs | |
Devices for protection, storage or transport for golf clubs, bats, rackets or the like |
Examples of places where the subject matter of this place is covered when specially adapted, used for a particular purpose, or incorporated in a larger system:
Devices for handling, treating or holding balls |
Attention is drawn to the following places, which may be of interest for search:
Space saving in sport equipment | |
Sport bags | |
Hand-propelled vehicles for transporting sport articles |
This place covers:
Accessories for stowing, putting away or transporting exercise apparatus or sports equipment, specially adapted for games played with rackets or bats.
This place does not cover:
Devices for protection, storage or transport for golf clubs, bats, rackets or the like |
Attention is drawn to the following places, which may be of interest for search:
Devices for storing or displaying elongated objects such as fishing rods, guns etc. |
This place does not cover:
Mats or the like for absorbing shocks for jumping |
Attention is drawn to the following places, which may be of interest for search:
Means preventing unauthorised use, e.g. by lowering a tennis net |
This place covers:
Protective housings covering the working parts of the apparatus.
Attention is drawn to the following places, which may be of interest for search:
Design or layout of playing courts, rinks, bowling greens or areas for water-skiing | |
Pavings or foundations specially adapted for playgrounds or sports grounds; Drainage, irrigation or heating of sports grounds | |
Searchlights, i.e. outdoor lighting device producing powerful beam of parallel rays, e.g. for military or attraction purposes |
Attention is drawn to the following places, which may be of interest for search:
Stays or guy-ropes for masts | |
Stays or guy-ropes for tents |
Attention is drawn to the following places, which may be of interest for search:
Targets or goals for ball games | |
Training appliances for cricket | |
Ball rebound walls | |
Fences; Nets; Barriers | |
Removable protective covers for courts, rinks, or game pitches or the like | |
Fencing, e.g. fences, enclosures, corrals |
Attention is drawn to the following places, which may be of interest for search:
Posts for tennis or like games, e.g. volley-ball | |
Forming a target or goal by fixing net or target area to garage doorway or garage parts | |
Fixation by suction cups | |
Pavings or foundations specially adapted for playgrounds or sports grounds; Drainage, irrigation or heating of sports grounds |
Attention is drawn to the following places, which may be of interest for search:
Sockets filled with water, sand or the like |
Attention is drawn to the following places, which may be of interest for search:
Sockets for poles in general |
This place does not cover:
Design or layout of playing courts, rinks, bowling greens or areas for water-skiing |
This place covers:
Scoring devices for sports activities
Attention is drawn to the following places, which may be of interest for search:
For fencing | |
Details of notification to user or patient for diagnostic purposes | |
For card games | |
For arrow or dart games |
This place does not cover:
Devices used in petanque for measuring distance or difference in distance | |
Line foul detectors for bowling | |
Decision makers for riding sports | |
Target indicating system, score detecting system for guns |
This place does not cover:
Competitions, virtual races |
Attention is drawn to the following places, which may be of interest for search:
PDA | |
Signal devices with lights |
Attention is drawn to the following places, which may be of interest for search:
MP3-player associated to further apparatuses |
This place does not cover:
Rhythm indicators for respiratory exercises | |
Golf clubs for training with sound emitting source |
This place does not cover:
rhythm indicators | |
for respiratory exercises | |
in golf clubs for training | |
Visual, audio or audio-visual systems for entertaining, instructing or motivating the user |
Attention is drawn to the following places, which may be of interest for search:
The load of the exercise apparatus being controlled in synchronism with visualising systems, e.g. hill slope |
Attention is drawn to the following places, which may be of interest for search:
Attachments of exercising apparatus to the upper limbs of the user | |
Attachments of exercising apparatus to the hand of the user | |
Attachments of exercising apparatus to the wrist of the user | |
Means for physically limiting movements of body parts | |
Means for physically limiting movements of body parts worn by the user | |
Appliances for aiding patients or disabled persons to walk about with tactile perception |
Attention is drawn to the following places, which may be of interest for search:
Head mounted display | |
Wearable computers | |
Transceiver s arranged on the body |
This place does not cover:
Time pieces combined with an external data detector | |
for measuring physiological data |
Attention is drawn to the following places, which may be of interest for search:
Wrist worn watch type |
Attention is drawn to the following places, which may be of interest for search:
Computing aids in which the computing members form at least part of the displayed result and manipulated directly by hand, e.g. abacus, pocket adding device |
This place does not cover:
For respiratory exercises | |
Pedometers | |
Sport timing | |
Automatically producing a series of tones | |
Regulating music |
cadence = strokes, strides etc per second.
This code typically is used with multiple classifications, exemplified as follows.
The following image shows an example of a typical document for training a golf swing (thus, classified in A63B 69/3623) and which is further classified in A63B 2071/0694 because of the alignment rods that give the golfer the visual indication of the actual target line.

The following image shows an example of use of A63B 2071/0694 for classifying the pose markings of a mat for learning yoga.

The next image shows use of A63B 2071/0694 for classifying the reference markings (95) on the crown of a golf club head.

Examples of places in relation to which this place is residual:
Golf club heads with visual indicators for aligning the golf club | |
Golf tees with direction indicators | |
Attachments on the body, e.g. for measuring, aligning, restraining | |
Visual means not attached to the body for positioning the trainee's head or for detecting head movement, e.g. by parallax (for driving) | |
Drivers or attachments on drivers, e.g. for measuring, aligning | |
Visual means not attached to the body for positioning the trainee's head or for detecting head movement, e.g. by parallax (for putting) | |
Putters or attachments on putters e.g. for measuring, aligning |
Attention is drawn to the following places, which may be of interest for search:
Advertising on sports articles, e.g. golf clubs |
This place does not cover:
Protective clothing or garments for sporting purposes |
Attention is drawn to the following places, which may be of interest for search:
Inflatable |
Location of protection should be classified in A63B 71/08.
This place does not cover:
Fluid-filled, e.g. air-filled body protectors |
Attention is drawn to the following places, which may be of interest for search:
Protective face masks | |
Lip or mouth protectors for dentistry |
This place covers:
Mouth inserted protectors with breathing holes.
Also for holes (i.e. airway opening) in the front portion of the mouthguard due to the manufacturing and/or customizing process.
This place covers:
Mouth inserted protectors with tether or strap, e.g. to be fixed to a helmet.
This place does not cover:
Helmets for swimming or water polo | |
Fluid-filled, e.g. air-filled, body-protectors for players or sportsmen | |
Head protectors in the form of caps or hats | |
Helmets | |
Face guards for ice hockey | |
for the ears |
Fencing masks are also classified in A63B 2071/105 and A63B 69/02.
This place covers:
Fencing mask, also for masks used in kendo.
These documents should also be classified in A63B 71/10 and A63B 69/02.
This place does not cover:
Fluid-filled, e.g. air-filled, body-protectors for players or sportsmen |
Attention is drawn to the following places, which may be of interest for search:
When the protector for sporting purposes is integrated in garment/apparel/clothing |
This place does not cover:
Crotch reinforcement | |
Suspensory bandages |
Attention is drawn to the following places, which may be of interest for search:
Hosiery with pockets | |
Reinforcements for hosiery | |
Bandages, e.g. orthesis-like supports or braces | |
Bandages or dressings for strengthening joints |
Attention is drawn to the following places, which may be of interest for search:
Hosiery with pockets | |
Reinforcements for hosiery |
Attention is drawn to the following places, which may be of interest for search:
Protectors for the neck as a part of a helmet |
This place does not cover:
Archer's finger tabs |
This place covers:
Wrist guards and gloves for weight lifting.
Attention is drawn to the following places, which may be of interest for search:
Swimming gloves | |
With adhesive type surfaces, e.g. hook and loop-type fastener | |
Hand protectors | |
Gloves in general | |
Brush bodies shaped as gloves or finger-stalls | |
Gloves for washing the body | |
Gloves for cleaning floors, carpets, furniture, walls, or wall coverings | |
Operating gloves | |
Gloves for glove-boxes |
Attachments of exercising apparatus to the upper limbs of the user | |
Attachments of exercising apparatus to the hand of the user | |
Attachments of exercising apparatus to the wrist of the user | |
User-manipulated weights |
This place covers:
also gloves for CRICKET batsmen, or LACROSSE.
This place covers:
also gloves for FOOTBALL (SOCCER) goal keepers.
Attention is drawn to the following places, which may be of interest for search:
Football (i.e. soccer) | |
Hand protectors especially for fingers | |
Protective gloves with protection against crushing | |
Protective gloves absorbing shocks or vibrations | |
Protective gloves including rigid elements |
Multiple entry classification in different classes is often used, i.e. documents are classified in the applicable groups and/or subgroups of two different sub-classes: A41D 19/00 (maybe also A41D 13/08) and A63B 71/148.
For example:
| This document (WO 2007/103985) is classified as follows (multiple entry classification in different classes):A41D 19/01588 ; A63B 71/148 ; A63B 2243/0025 |
This group and its corresponding subgroups only are used when the relevant sport/s is/are not unambiguously clear from any other of the symbols allocated.
Attention is drawn to the following places, which may be of interest for search:
Measuring physiological parameters of the user | |
Measuring physiological parameters in the context of medical care |
This place covers:
Sitting on the heels.
This place does not cover:
Squat exercises |
This place covers:
The person hanging upside-down or in an inverted position.
This place covers:
i.e. in the normal body position for standing, with head at top and feet at bottom.
Attention is drawn to the following places, which may be of interest for search:
Exercising apparatus for push-ups in horizontal position |
This place covers:
Any kind of adhesive surface in the sport equipment apparatus, e.g. low-tack pressure sensitive adhesives, not only for hook-and loop type of fastener.
This place does not cover:
Chairs with exercising means |
This place does not cover:
Attached to beds e.g. hospital beds during revalidation |
This place does not cover:
Rackets with easily dismountable parts | |
Accessories for stowing | |
Incorporated in furniture | |
Inflatable | |
Foldable camping beds | |
foldable beds | |
Size reducing arrangements for physical therapy |
This place does not cover:
Flexible frames for tents |
This place does not cover:
Devices using electric currents for producing or ending sleep or stupor |
Attention is drawn to the following places, which may be of interest for search:
Electrotherapy |
Attention is drawn to the following places, which may be of interest for search:
Medical treatment rooms |
Attention is drawn to the following places, which may be of interest for search:
Medical treatment rooms |
This place covers:
The purpose of the measurement should take precedence over the measuring method or device.
Measuring of sport goods G01B 5/0023.
This place does not cover:
Measuring torque, work, mechanical power, or mechanical efficiency in general |
Not used and not for distance or speed or acceleration determination.
This place covers:
Also for indicating the direction of e.g. a flight path of a ball, the orientation of a player etc.
This place does not cover:
Frequency | |
Cycle computers |
This place does not cover:
Cycle computers |
This place does not cover:
Measuring torque, work, mechanical power, or mechanical efficiency in general |
This code not used; use subgroups.
This place covers:
Also for deformation, flexion, deflection, torsion.
Measuring torque, mechanical power or mechanical efficiency in general G01L 3/00.
This place does not cover:
Measuring pressure on grips | |
Atmospheric pressure |
Measuring torque, Mechanical power or mechanical efficiency in general G01L 3/00.
This place covers:
Used for time reference, time stamp, master time or clock signal.
This place does not cover:
Reaction time | |
Registering, indicating or recording the time of events or elapsed time in connection with sports or games |
This place does not cover:
Resonance frequency related properties of bats or rackets |
This place does not cover:
Temperature of the user |
This place covers:
Only special sensors for, or specific aspects related to a sport implement.
This place covers:
Examples: shock sensors, vibration detectors for detecting an event (where the magnitude of shock or vibration is not important).
This place does not cover:
Counting |
This place covers:
Motion sensors in general where the motion parameter is not specifically indicated, i.e. any movement.
This place does not cover:
Cycle computers |
This place covers:
Sports OR exercising equipment.
This place does not cover:
Bats, rackets or the like having special surfaces reducing air resistance; details of the surface of the bats, rackets or the like, e.g. dimpled |
Attention is drawn to the following places, which may be of interest for search:
Bats with through holes |
This place does not cover:
Measuring or verifying ball characteristics | |
Measuring or verifying club, bat or racket characteristics |
This place does not cover:
Suction cups used as force resisting device |
Attention is drawn to the following places, which may be of interest for search:
Golf tees with writing means |
Attention is drawn to the following places, which may be of interest for search:
Telescopic systems with locking in discrete positions |
This place covers:
e.g. radially extending from a central linking element.
This place does not cover:
Compound apparatus for fitness training: A63B 23/03558 takes precedence
This place covers:
e.g. a smart card.
Attention is drawn to the following places, which may be of interest for search:
Identification of a person | |
Record carriers for use with machines | |
Individual entry or exit registers | |
Cards for payment |
This place covers:
networking.
Attention is drawn to the following places, which may be of interest for search:
with wireless data transmission | |
PDA | |
digital computing special functions | |
advertising |
This place does not cover:
Exercising apparatus comprising buoyant volumes to be submerged | |
Inflatable apparatus |
Attention is drawn to the following places, which may be of interest for search:
Fluid filled, e.g. air-filled body protectors |
Attention is drawn to the following places, which may be of interest for search:
Stopping the operation of the apparatus |
This place does not cover:
Measuring correct grip size |
Attention is drawn to the following places, which may be of interest for search:
Game controllers involving biosensors worn by the player, e.g. for measuring heart beat, limb activity |
This place does not cover:
Heartbeat characteristics, e.g. E.G.C., blood pressure modulations |
Attention is drawn to the following places, which may be of interest for search:
Measuring temperature |
This place covers:
This code is used even where the calorie consumption is calculated from other measurements, rather than directly measured.
Also indicated as MET (Metabolic Equivalent of Task).
Attention is drawn to the following places, which may be of interest for search:
Computing aids in which the computing members form at least part of the displayed result and manipulated directly by hand, e.g. abacus, pocket adding device |
This group and its corresponding subgroups are only used when the relevant sport/s is/are not unambiguously clear from any other of the symbols allocated.
Attention is drawn to the following places, which may be of interest for search:
American football |
This group is intended for the game of soccer
The corresponding subgroups of this subgroup are only used when the relevant sport/s is/are not unambiguously clear from any other of the symbols allocated.
This place covers:
Running and jumping over an obstacle at speed.
Attention is drawn to the following places, which may be of interest for search:
Hurdles or the like and athletic hurdles | |
Road signs or traffic signals in the form of a three-dimensional body |
Attention is drawn to the following places, which may be of interest for search:
Rugby, American football |
Attention is drawn to the following places, which may be of interest for search:
Boxing rings |
This place covers:
Rigid poles and also swaying rods.
Attention is drawn to the following places, which may be of interest for search:
Climbing poles | |
Supports for anchoring force resistors between horizontal surfaces, e.g. floor and ceiling |

































