CPC Definition - Subclass A44B
This place covers:
The following fasteners or their essential parts:
- Buttons;
- Pins;
- Buckles or strap fasteners that are actuated or operated directly by hand and intended to releasably connect either (1) the ends of a single web or strap, or (2) the ends of two or more webs or straps together (e.g. safety belt buckles);
- Slide fasteners;
- "Other types" of fasteners that are actuated or operated directly by hand and frequently utilized or associated with accoutrements, garments, or haberdashery (e.g. snap fasteners, collar-studs). Appropriate 'other types' of fasteners must also be readily reusable and their normal securing or releasing operation not destructive or damaging to either the fastener itself or the structure it secures.
Making slide fasteners, touch-and-close fasteners (e.g. hook-and-loop or barb-and-pile fabrics) and other fasteners of this subclass.
Accessories or ancillary devices for the fasteners of this subclass when they are used exclusively with one of the varieties of fasteners (e.g. button cards) or have their operations either influencing or being influenced by the operation of the fastener (e.g. slide fastener pulling cords).
The following additional devices associated with either the fasteners of this class or accoutrements, garments, and haberdashery:
- key rings;
- clamping or holding devices; and
- mock-fastening devices that merely look like the fasteners, or one of their essential parts, of this subclass but do not function as fasteners (e.g. ornamental buttons on coats, fake zippers on clothing).
Note
The only "other types" of fasteners appropriate for this subclass are those that are capable of use with or actually used with accoutrements, garments, or haberdashery. Therefore, it must be either a commonly known practice to use a particular type of fastener with accoutrements, garments, or haberdashery (e.g., snap fasteners) or the patent documents for a particular type of fastener must frequently disclose their use with accoutrements, garments, or haberdashery. However, it is not required that all, or even the majority, of the fasteners covered by a particular category of fastener be specially adapted for use, or disclose their intended use, with accoutrements, garments, or haberdashery.
Fasteners per se that either (a) require a tool for completing their normal fastening (e.g. screws, nails, stitches) or (b) are destroyed or destructively deformed to fasten or unfasten (e.g. staples, rivets) are excluded from A44B.
However, when F16B types of fasteners or other tool driven or deformed fasteners are used to mount fasteners or fastener components appropriate for A44B, and are attached to or cooperate with at least one of their components, they are properly classified within A44B as an additional feature of the fasteners with which they are utilized.
General relationship of A44B with subclasses for accoutrements, garments, or haberdashery.
Fasteners appropriately classified within A44B are often broadly claimed or disclosed in combination with the structure they secure or fasten. If the detail of the structure they secure or fasten specifies only the portion of the structure (e.g. dress belt tip or holes) necessary for either completing the fastening operation or mounting the fastening means, the combinations are proper for A44B.
This place does not cover:
Fastening devices specially adapted for specific types of garments | |
Buttonholes or eyelets for buttonholes | |
Corset fasteners | |
Glove fasteners | |
Garter fasteners | |
Belts, girdles or waistbands for trousers or skirts | |
Thumbtacks | |
Devices for fastening or securing constructional elements or machine parts together | |
Hand-manipulated hooks or eyes (e.g. swivel hook for dog leash) |
Examples of places where the subject matter of this place is covered when specially adapted, used for a particular purpose, or incorporated in a larger system:
Places covering apparatus or methods for making, or for positioning on the structure being fastened, fasteners or components of fasteners appropriate for this subclass
Appliances or methods for marking-out, perforating, or making buttonholes | |
Appliances or methods for setting fasteners on garments | |
Processing sheet metal, tubes or profiles to make haberdashery | |
Processing sheet metal, tubes or profiles to make buttons | |
Processing sheet metal, tubes or profiles to make metal slide fasteners parts | |
Wire-working to produce devices for fastening (e.g. slide fastener elements, buttons) | |
Pressure or injection die casting of slide fasteners and slide fastener parts | |
Producing slide fastener elements from plastic or other substances in a plastic state | |
Producing buttons or semi-finished button parts from plastic or other substances in a plastic state |
Attention is drawn to the following places, which may be of interest for search:
For garments in general | |
For protective aprons having fastening devices | |
For neckties having fastening or holding devices associated with the knot or collar | |
For hats having fastening devices | |
For head covering fastening means other than hatpins | |
For laces in general and for footwear having fastening devices | |
For machines, tools, equipment or methods for setting fasteners on footwear | |
For brooches or clips having decorative or ornamental aspects | |
For medals or badges having pin fastening devices | |
For hair-holding devices | |
For work bench type holding clamps | |
For paper clips or like paper fasteners for temporarily attaching sheets together | |
For elements specially adapted for fastening, fixing or finishing upholstery | |
For sewing apparatus or machines with mechanism for lateral movement of the needle or the work or both for making ornamental pattern seams, for sewing buttonholes, for reinforcing openings or for fastening articles (e.g. buttons) by sewing | |
For sewing needles | |
For hand operated latches or bolts for doors or windows (e.g. door hooks) |
This subclass covers buckles, hook-and-loop or slide fasteners whether used as haberdashery (i.e. for clothing) or otherwise only if there's no other class for the specific application.
Please note that there are also additional symbols in A44D other than the ones relating to Indexing Code mirror.
For classification of additional functions or features the non-Mirror Indexing Code symbols of A44D should be used.
Decorative mock-fastening devices that do not function as fasteners (e.g. ornamental buttons on coats, fake zippers on clothing), but that look like the fasteners or one of their essential parts covered by A44B, are classified within the main groups of this subclass that provide for the fasteners they are intended to resemble.
In this place, the following terms or expressions are used with the meaning indicated:
Button | A hand manipulated fastener that includes a rigid or semirigid portion (i.e. button) which is attached (e.g. sewn) to the structure it is intended to fasten or secure (e.g. clothing) in a manner that allows its reorientation by either movement about its attachment or movement of the structure it secures. A button is intended to be used with a complementary opening having a flaccid portion (e.g. buttonholes, looped cords) that forms the second essential part of the fastener. |
Buckle | A hand manipulated fastener including engaging or holding means and structure for guiding during fastening, which can selectively hold a cooperating strap or belt that is either the structure secured (e.g. end of a dress belt) or a second portion of the fastener (e.g. securing strap of a backpack flap). |
Pin | A hand manipulated fastener that includes both (1) a portion specifically shaped (e.g. pointed) to facilitate impaling of and penetration into the structure fastened or secured and (2) a remaining portion (e.g. head) intended to be manually pushed on that does not penetrate the structure fastened or secured. |
Slide fastener | A hand manipulated fastener that includes (1) two, opposed, elongated, configured surfaces that are each attached by mounting means to a secured structure and are intended to directly contact and interlock with each other when fastened and (2) a sliding device that is much shorter in length than the surfaces and which travels along their length to forcibly shift them into or out of interlocking engagement |
In patent documents, the following words/expressions are often used as synonyms:
- "slide fastener" and "zipper"
- "cufflink" and "sleeve-link"
This place covers:
Buttons, and variations including, for example, buttons containing perfume or buttons with further safety means avoiding unbuttoning.
Illustrative example of subject matter classified in this group:
1.

Attention is drawn to the following places, which may be of interest for search:
Brooches with a safety pin fastening | |
Setting on garments | |
Setting on footwear | |
Brooches in their decorative aspect | |
Badges | |
Processing sheet metal, tubes or profiles to make buttons | |
Producing buttons or semi-finished parts of buttons from plastic or other substances in a plastic state | |
Special machines for making cotton buttons |
In American English "button" is used for "badge". The correct group for badges is A44C 3/001.
For removable buttons that look like badges but are used as a fastener, classify in A44B 1/18 and in A44C 3/001.
In this place, the following terms or expressions are used with the meaning indicated:
Button | A knob or stud of metal or other material sewn or fixed by a shank or neck to articles of dress, usually for the purpose of fastening one part of the dress to another by passing through a button-hole, but often merely for ornament. |
Badge | Any distinctive device, emblem, or mark worn to indicate a person's affiliation, rank, office, name, etc., or membership of an organization or support for a cause; also a small piece of metal, card, plastic, etc., bearing a distinguishing design or words and often worn purely for ornament. |
This place covers:
Illustrative example of subject matter classified in this group.


This place covers:
Illustrative example of subject matter classified in this group.

This place does not cover:
Badges |
In American English "Button" is used for "Badge", correct class for Badges is A44C 3/001.
For removable buttons that look like badges but are used as a fastener, class in A44B 1/18 and in A44C 3/001.
This place covers:
Illustrative example of subject matter classified in this group.

This place does not cover:
Laundry button protectors |
Classification is done here only if the document specifically mentions constructional characteristics in the context of promoting the washing or laundry ability.
This place covers:
Illustrative example of subject matter classified in this group.

This place covers:
Illustrative example of subject matter classified in this group.

This place covers:
Illustrative example of subject matter classified in this group.

This place covers:
Illustrative example of subject matter classified in this group.

This place covers:
Removable buttons that look like badges but are used as a fastener.
Illustrative example of subject matter classified in this group.

This place does not cover:
Badges |
In American English "Button" is used for "Badge", correct class for Badges is A44C 3/001.
For removable buttons that look like badges but are used as a fastener, class in A44B 1/18 and in A44C 3/001.
If they fasten through a safety pin, it should also be classed in A44B 9/16.
This place covers:
Illustrative example of subject matter classified in this group.

In this place, the following terms or expressions are used with the meaning indicated:
Thread-like | Filiform, used as an alternative to textile threads. |
This place covers:
Illustrative example of subject matter classified in this group.


This place covers:
Illustrative example of subject matter classified in this group.

This place covers:
Illustrative example of subject matter classified in this group.

This place does not cover:
Capitoné furniture upholstery buttons |
This place covers:
Illustrative example of subject matter classified in this group.

This place covers:
Illustrative example of subject matter classified in this group.

This place covers:
Illustrative example of subject matter classified in this group.

This place covers:
Illustrative example of subject matter classified in this group.


This place covers:
Illustrative example of subject matter classified in this group.

Difference between buttons fixed to material, i.e. textile, with snap-action counterpiece A44B 1/34 and snap-fasteners A44B 17/00 is that the snap-fastener fastens two pieces of material, i.e. textile, by snap-fastening; while the button is fixed to one piece of material, i.e. textile by snap-fastening but does not use snap fastening to fasten two pieces of material, i.e. textile.
This place covers:
Illustrative example of subject matter classified in this group.



This place covers:
Illustrative example of subject matter classified in this group.

This place covers:
Illustrative example of subject matter classified in this group.


This place covers:
Illustrative example of subject matter classified in this group.

This place covers:
Illustrative example of subject matter classified in this group.

In this place, the following terms or expressions are used with the meaning indicated:
Collar-stud | A stud used to fasten a collar to a shirt |
This place covers:
Illustrative example of subject matter classified in this group.


This place covers:
Illustrative example of subject matter classified in this group.

This place covers:
Illustrative example of subject matter classified in this group.

This place covers:
Illustrative example of subject matter classified in this group.

This place covers:
Illustrative example of subject matter classified in this group.


In this place, the following terms or expressions are used with the meaning indicated:
Sleeve-link | A link used for fastening the loose sides of a wristband or cuff, esp. the cuff of a shirt-sleeve. |
This place covers:
Illustrative example of subject matter classified in this group.

This place covers:
Illustrative example of subject matter classified in this group.

This place covers:
Illustrative example of subject matter classified in this group.

This place covers:
Illustrative example of subject matter classified in this group.

This place covers:
Illustrative example of subject matter classified in this group.

This place does not cover:
Packaging, articles attached to webs |
This place covers:
Illustrative example of subject matter classified in this group.

This place covers:
Pin for general purpose without specific use.
Illustrative example of subject matter classified in this group.

![]()
![]()
This place covers:
Safety devices for pins classified as simple pins.
Also includes safety devices which do not cover the tip.
Illustrative example of subject matter classified in this group.

This place covers:
Illustrative example of subject matter classified in this group.

This place covers:
Illustrative example of subject matter classified in this group.


This place does not cover:
Buttons for fastening | |
Brooches in their decorative aspect | |
Badges |
Comprises brooches with a safety pin fastening. For brooches in their decorative aspect class in A44C 1/00.
Safety pins also to be found in button & badges fastenings A44B 1/18, A44C 3/001.
In American English "Button" is used for "Badge", correct class for Badges is A44C 3/001.
For removable buttons that look like badges but are used as a fastener, class in A44B 1/18 and in A44C 3/001.
If they fasten through a safety pin, it should also be classed in A44B 9/16.
In patent documents, the following words/expressions are often used as synonyms:
- "brooch" and "breast pin"
This place covers:
Illustrative example of subject matter classified in this group.



This place covers:
Methods for attaching heads of glass or the like to pin shafts. May also comprise machines for attaching if it is not the main subject of the invention
Illustrative example of subject matter classified in this group.

This place covers:
Illustrative example of subject matter classified in this group:

Attention is drawn to the following places, which may be of interest for search:
Dogs collars couplings | |
Buckles to reduce size in caps / hats | |
Buckles to reduce size in helmets | |
Magnetic coupling in handbags, accessories | |
Hangers for hanging articles | |
Supports, holders for household use | |
Tourniquets | |
Buckles for goggles/lenses | |
Swimming fins | |
Swimming goggles | |
Hand-tools for fastening wire or strip | |
Sheet fastening | |
Tighteners for securing of load on vehicles | |
Securing luggage on cycle carriers | |
Diving masks | |
Ratchet type straps (for bundling or identification), that cannot be opened | E05B 75/00, G09F 3/03, B65B 13/027, B65D 63/1072, F16L 3/2334 |
Carabiner hooks | |
Cord stoppers (buckle for every round strap) | |
Chain coupling, swivels | |
Means for preventing, limiting movements of parts of a control mechanism by a locking member |
This subclass covers buckles whether used as haberdashery (i.e. for clothing) or otherwise only if there's no other class for the specific application.
This place covers:
Illustrative example of subject matter classified in this group.

This place covers:
Illustrative example of subject matter classified in this group.

This place covers:
Illustrative example of subject matter classified in this group.

This place covers:
Illustrative example of subject matter classified in this group.

This place covers:
Illustrative example of subject matter classified in this group.


This place covers:
Illustrative example of subject matter classified in this group.

This place covers:
Illustrative example of subject matter classified in this group.


This place covers:
Illustrative example of subject matter classified in this group.

This place covers:
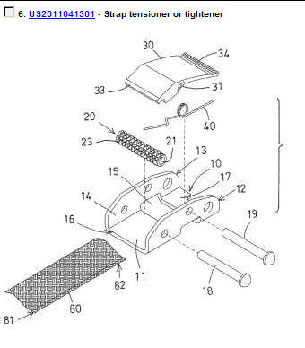
Strap tightening means incorporated in buckles which frictionally engage the surface of straps using turnable clamps.
Illustrative example of subject matter classified in this group.

This place does not cover:
Tighteners for securing of load on vehicles | |
Securing luggage straps |
This subclass covers buckles frictionally engaging surface of straps with a turnable clamp and strap tightening means whether used as haberdashery (i.e. for clothing) or otherwise only if there's no other class for the specific application.
This place covers:
Illustrative example of subject matter classified in this group.

This place covers:
Illustrative example of subject matter classified in this group.

This place covers:
Illustrative example of subject matter classified in this group.

This place covers:
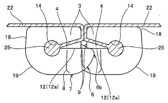
Buckles or similar fasteners which engage holes or recesses or projections formed in the strap.
Illustrative example of subject matter classified in this group.

This place does not cover:
Dogs collars | |
Buckles to reduce size in caps / hats | |
Buckles to reduce size in helmets | |
Buckles for goggles/lenses (A. Espuch is stock manager) | |
Straps, buckles, attachment of headbands in goggles | |
Breathing masks | |
Swimming fins | |
Swimming goggles | |
Swimming goggles with means covering the nostrils | |
Diving masks | |
Ratchet type straps (for bundling or identification), that cannot be opened | E05B 75/00 (Handcuffs), G09F 3/03, G07C 9/20, B65B 13/027, B65D 63/1072, F16L 3/2334 |
For straps locking head gear, forward to A42B 3/145 or A42B 1/22.
This place covers:
Illustrative example of subject matter classified in this group.

This place covers:
Illustrative example of subject matter classified in this group.

This place covers:
Illustrative example of subject matter classified in this group.

This place covers:
Illustrative example of subject matter classified in this group.

This place covers:
Illustrative example of subject matter classified in this group.

Usually in metallic material.
Comprises safety buckles used in safety belts for vehicles or aircraft.
Does not comprise the safety belts for vehicles or aircraft.
This place covers:
Illustrative example of subject matter classified in this group.

This place covers:
Illustrative example of subject matter classified in this group.

This place covers:
Illustrative example of subject matter classified in this group.

This place covers:
Illustrative example of subject matter classified in this group.

This place covers:
Illustrative example of subject matter classified in this group.

This place covers:
Illustrative example of subject matter classified in this group.

This place covers:
Illustrative example of subject matter classified in this group.

This place covers:
Illustrative example of subject matter classified in this group.

This place covers:
Illustrative example of subject matter classified in this group.

This place does not cover:
Winding devices for storing or regulating straps |
This place does not cover:
Bulletproof vest |
Single action to release simultaneously multiple buckles are in F41H 1/02, in (gc180811 and A44B) and also some in A44B 11/266.
This place covers:
Illustrative example of subject matter classified in this group.

This place does not cover:
Three-point seat belt anchoring for children |
This place covers:
Illustrative example of subject matter classified in this group.

This place covers:
Illustrative example of subject matter classified in this group.

This place covers:
Illustrative example of subject matter classified in this group.

This place covers:
Illustrative example of subject matter classified in this group.

If illumination only in the buckle, class in A44B 11/2565
If illumination in the webbing of the belt but no change in the webbing construction, forward to B60Q 3/20
If illumination in the webbing & webbing being constructionally changed, forward to B60Q 3/20 and B60R 22/12
Single action to release simultaneously multiple buckles are in F41H 1/02, in (gc180811 and A44B) and also some in A44B 11/266.
This place covers:
Illustrative example of subject matter classified in this group.

This place does not cover:
Operating or controlling locks or other fastening devices by electric of magnetic means | |
Locks |
This place covers:
Illustrative example of subject matter classified in this group.

This place covers:
Illustrative example of subject matter classified in this group.

This place covers:
Illustrative example of subject matter classified in this group.

This place covers:
Illustrative example of subject matter classified in this group.

This place covers:
Illustrative example of subject matter classified in this group.

This place covers:
Illustrative example of subject matter classified in this group.

This place covers:
Illustrative example of subject matter classified in this group.

Usually in plastic material.
This place covers:
Illustrative example of subject matter classified in this group.

This place covers:
Illustrative example of subject matter classified in this group.

This place does not cover:
Bulletproof vest |
Single action to release simultaneously multiple buckles are in F41H 1/02, in (gc180811 and A44B) and also some in A44B 11/266.
This place covers:
Illustrative example of subject matter classified in this group.

This place covers:
Illustrative example of subject matter classified in this group.

This place does not cover:
Dogs collars couplings | |
Carabiner hook |
This subclass covers hook or eye fasteners used as haberdashery (i.e. for clothing). For other specific applications see References.
This place covers:
Illustrative example of subject matter classified in this group.

This place covers:
Illustrative example of subject matter classified in this group.

This place covers:
Illustrative example of subject matter classified in this group.

This place covers:
Illustrative example of subject matter classified in this group.

This place does not cover:
Dogs collars couplings | |
Carabiner hook |
This subclass covers hook or eye fasteners used as haberdashery (i.e. for clothing). For other specific applications see References.
This place covers:
Illustrative example of subject matter classified in this group.

This place covers:
Illustrative example of subject matter classified in this group.

This place does not cover:
Bags/wallets for holding keys | |
Bags/wallets for holding keys, combined with other articles | |
Bags/wallets for holding keys, stored pivotably (when key has head) | |
Fastening keys inside bags | |
Fastening keys with spring reel | |
Fastening keys to garments | |
Key holders/boards | |
Screwdrivers | |
Hand tools (for disengaging key-rings) | B25B33/10 |
Multi-hand tool | |
Pockett knives | |
Combination of writing implements with other articles | |
Bottle opener | |
Illuminated devices for locks or keys | |
Keys stored pivotably (when keys don't have head) | |
Dummy/simulated locks | |
Rope/chain adjustment buckle | |
Light | |
Electronically operated keys | |
Coin holders | |
Coins for coin free mechanism | |
Cart coin free mechanism | |
Anti-loss alarms | |
Id tags for keys |
This place does not cover:
Joining sheets by rivets | |
Press-fasteners in general | |
Resilient clamping means for holding electric components to structure |
Difference between buttons fixed to material, i.e. textile, with snap-action counterpiece A44B 1/34 and snap-fasteners A44B 17/00 is that the snap-fastener fastens two pieces of material, i.e. textile, by snap-fastening; while the button is fixed to one piece of material, i.e. textile by snap-fastening but does not use snap fastening to fasten two pieces of material, i.e. textile.
This place covers:
Illustrative example of subject matter classified in this group.


This place covers:
Illustrative example of subject matter classified in this group.


This place covers:
Illustrative example of subject matter classified in this group.

This place covers:
Illustrative example of subject matter classified in this group.


Comprises press-button fasteners consisting of four parts or more.
This place does not cover:
Method of manufacturing hook-and-loop fasteners for absorbing pads | |
Hook-and-loop fasteners for absorbing pads, diapers | |
Cleaning, use of a film provided with piles of nanorange to prevent fouling or dust deposits | |
Bundling articles with straps | |
Delivering devices | |
Basic microstructures | |
Manufacturing micro- or nanostructures | |
Arrays of nanoscale structures | |
Nanostructures | |
Nanofibers | |
Adhesive with protrusions | |
Adhesive in form of film/foils | |
Joining sheets by hook-and-loop | |
Suction cups for attachment and equivalent means using adhesives |
This subclass covers hook-and-loop fasteners whether used as haberdashery (i.e. for clothing) or otherwise only if there's no other class for the specific application (see Informative References).
This subclass does not cover piles with nanometer dimension (also called "dry adhesive", surface treatment, van de Waals force), it's not a hook-and-loop fastener as there's no counterpart for fastening.
Adhesive in form of film/foils | |
Adhesive with protrusions | |
Nanofibers |
Comprises mixed, hermaphrodite elements.
This place does not cover:
Woven pile fabrics | |
Knitted pile fabrics |
This place does not cover:
Joining sheets by hook-and-loop fasteners |
This place does not cover:
Moulding rigid plastic, sealing-off parts of inserts | |
Fixed in mould by magnetic means | |
Moulding by foaming, avoiding impregnation of a preformed part |
This place does not cover:
Zippers in suitcases | |
Production of slide fasteners, continuous profiled strip | |
Machines placing fasteners on bags | |
Filling of bags, packaging | |
Application of profiled strips to bags | |
Tamper evident device for packaging | |
For bags, packaging | |
Locks for suitcases | |
Theft alarm actuated by tampering fastening | |
Status alarms | |
Switches in zippers | |
Connections in zippers |
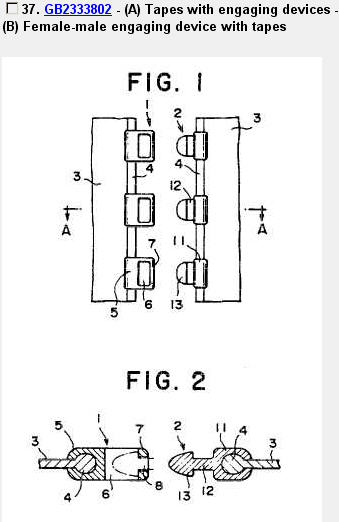
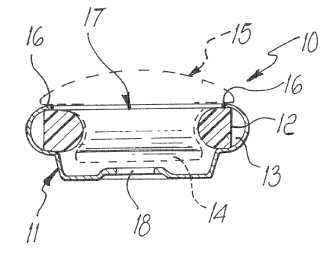
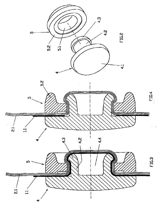
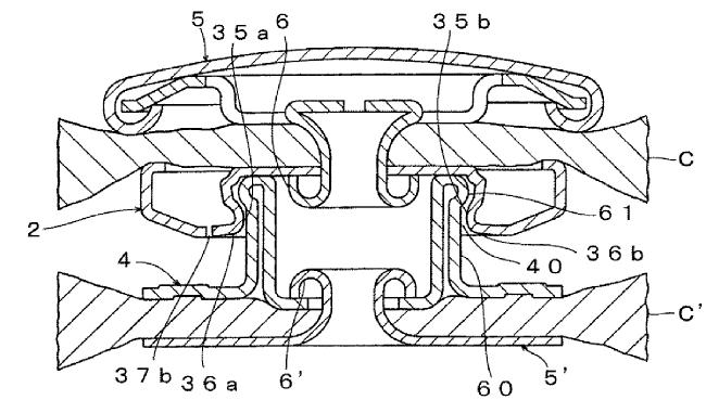
This subclass covers slide fasteners whether used as haberdashery (i.e. for clothing) or otherwise only if there's no other class for the specific application (see Informative References).
Does not comprise slide fasteners for packaging or plastic bags, even when this application is not claimed but it appears in the figures or in the description.
This place covers:
Illustrative example of subject matter classified in this group.

This place covers:
Illustrative example of subject matter classified in this group.

This place covers:
Illustrative example of subject matter classified in this group.

Comprises hidden teeth.
This place does not cover:
Production of slide fasteners, continuous helix |
This place does not cover:
Production of slide fasteners, continuous profiled strip | |
Machines placing fasteners on bags | |
Filling of bags, packaging | |
Application of profiled strips to bags | |
For bags, packaging |
Does not comprise slide fasteners for packaging or plastic bags, even when this application is not claimed but it appears in the figures or in the description.
This place does not cover:
Zippers in suitcases | |
Tamper evident device for packaging | |
Locks for suitcases | |
Theft alarm actuated by tampering fastening | |
Status alarms | |
Switches in zippers | |
Connections in zippers |
This place does not cover:
Production of slide fasteners, continuous profiled strip | |
Machines placing fasteners on bags | |
Filling of bags, packaging | |
Application of profiled strips to bags | |
For bags, packaging |
Does not comprise slide fasteners for packaging or plastic bags, even when this application is not claimed but it appears in the figures or in the description.
This place covers:
Illustrative example of subject matter classified in this group.

This place covers:
Illustrative example of subject matter classified in this group.

This place does not cover:
Zippers in suitcases | |
Locks for suitcases |
This place does not cover:
Tamper evident device for packaging | |
For bags, packaging |
This place does not cover:
Production of slide fasteners, continuous profiled strip | |
Machines placing fasteners on bags | |
Application of profiled strips to bags | |
For bags, packaging |
This place covers:
Illustrative example of subject matter classified in this group.

This place covers:
Illustrative example of subject matter classified in this group.

This place covers:
Illustrative example of subject matter classified in this group.


This place covers:
Illustrative example of subject matter classified in this group.

This place does not cover:
Machines and feeders for fitting together or separating metal parts |
This place does not cover:
Production of slide fasteners, continuous profiled strip | |
Filling of bags, packaging | |
Application of profiled strips to bags |
This place does not cover:
Methods of stamping metal to manufacture teeth, only from metal sheets | |
Machines and feeders for fitting together or separating metal parts | |
Production of slide fasteners, continuous profiled strip | |
Machines placing fasteners on bags, packaging | |
Filling of bags, packaging | |
Application of profiled strips to bags |
This place does not cover:
Making metal fastener parts combined with attaching, only from metal sheets |
This place covers:
Illustrative example of subject matter classified in this group.

This place does not cover:
Fixing of plants to supports, e.g. using clips | |
Clamps for shoes drawn tight by laces | |
Credit card holders | |
Fastening articles to the garment | |
Show stands, hangers shelves | |
Means for holding napkins to clothes | |
Hangers with clamps | |
Clamps for holding towels | |
Fastening means for diapers/absorbent articles | |
Baby-comforters | |
Clamps for tools, workshop equipment | |
Stationary clamps for paper sheets | |
Drawing pins, thumb-tacks | |
Arrangements for holding or mounting articles in vehicles | |
Clamps for packaging use, i.e. for packaging clothes, for closing a chips bag | |
Clothes pegs with pivoted clamp (for hanging to dry) | |
Tent fastenings | |
Friction grip releasable fastening, pivoting jaws for constructional machines | |
Friction grip releasable fastening, sliding jaws for constructional machines | |
Joining sheets by riveting | |
Hooks with pivoting closing members | |
Clamps for fastening cables or ropes | |
Mounting stands as support for apparatus | |
Internal mounting of support for computer equipment | |
Fastening for a badge label | |
Mounting arrangement of contructional parts | |
Mounting structure of assembly printed circuits with electric components | |
Securing means for mounting electric apparatus |
This subclass covers clamp fasteners or other holding devices used as haberdashery (i.e. for clothing). For other applications, see Informative References.


