CLASS 305, | WHEEL SUBSTITUTES FOR LAND VEHICLES |
| Click here for a printable version of this file | |
SECTION I - CLASS DEFINITION
This class relates to apparatus intended to be substituted for the wheel or runner of a land vehicle. The apparatus of this class bears the same general relationship to a land vehicle as a wheel or runner and serves generally the same function but is so contructed that it can be called neither a wheel nor a runner. The apparatus of the class, however, may include wheels or runners as subcombination portions thereof.
Apparatus of the class is characterized by the provision of means which facilitate the movement of the vehicle over rough terrain or increases the traction of the vehicle with respect to the ground. Devices characteristic of the class are usually known as "Steppers" or "Endless Track Apparatus".
| (1) Note. The scope of this class is limited to wheel substitutes, per se, and subcombination portions thereof and does not include the combination of land vehicles with wheel substitutes, except where the claimed combination includes only a nominal recitation of the land vehicle. For land vehicles provided with wheel substitutes see the appropriate vehicle classes as indicated in the Search Notes below. Wherever a drawing is associated with a definition, it is merely used to illustrate the basic concept encompassed by the definition of that subclass and should not be construed as limiting the scope of the subject matter covered by that subclass. |
SECTION II - REFERENCES TO OTHER CLASSES
SEE OR SEARCH CLASS:
| 59, | Chain, Staple, and Horseshoe Making, subclasses 78+ for chains of general utility. |
| 152, | Resilient Tires and Wheels, subclasses 1+ for spring wheels, subclasses 213+ for anti-skid devices for resilient tire. Class 305 takes patents where the sole specific disclosure or a claim is to an anti-skid device which is adapted to be trained about a pair of longitudinally spaced resilient tires and intended to operate as an endless track apparatus. |
| 180, | Motor Vehicles, subclass 6.7 for an endless track vehicle which is steered by driving, subclasses 7.1+ for a motor vehicle driven in some other way than by the mere rotation of road wheels as traction wheels, subclasses 116+ for surface effect vehicles, subclass 164 for a motor vehicle provided with powered means for creating a fluid force to attract the vehicle to a surface of travel (neither subclasses 116+ nor 164 requiring the claiming of a propulsion means or specific vehicle structure), and subclasses 182+ for a motor vehicle which includes one or more ski-like or runner members. Class 180 (noting the specified exceptions) takes patents relating to a vehicle, disclosed as a motor vehicle where some vehicle structure or a special relationship between the vehicle frame and the wheel substitute is set forth in the claims, irrespective or whether or not any driving means is claimed. However such expressions as a "vehicle frame", "an axle", "a pivotal connection between the vehicle frame and wheel substitute carrying frame" in claims which are otherwise directed to specific wheel substitute structure are considered mere nominal recitations of vehicle structure and are not excluded from Class 305. Also Class 180 takes patents claiming some element of the driving means of a wheel substitute except that the mere broad recitation of a drive means, drive axle or drive sprocket for a wheel substitute is not sufficient to exclude the patent from Class 305, if the vehicle is otherwise only nominally recited in the claims. |
| 188, | Brakes, for brakes, per se. Class 305 takes the combination of a wheel substitute and brake therefor if some wheel substitute structure is claimed. The mere nominal recitation of a wheel substitute in the claims is not sufficient wheel substitute structure to be classified in Class 305. |
| 198, | Conveyors: Power-Driven, appropriate subclasses for endless belt conveyors. |
| 244, | Aeronautics and Astronautics, subclasses 100+ for an aircraft landing gear in the form of a wheel substitute. Class 305 takes wheel substitute landing gears for aircraft where no aircraft structure is claimed or where only a nominal relationship between the aircraft and landing gear is claimed. |
| 280, | Land Vehicles, subclass 5.22 for land vehicles provided with endless tracks especially adapted for ascending steps, subclasses 12.11 and 12.12 for land vehicles provided with a stepper running gear and subclass 28.5 for land vehicles provided with wheel substitute ground engaging support means. To be placed in Class 280 a patent must claim some vehicle structure or more than a mere nominal relationship between the vehicle frame and the wheel substitute apparatus. For example the broad recitation of a vehicle frame, an axle, or a pivotal connection between the vehicle frame and the wheel substitute apparatus are considered mere nominal vehicle structure and a claim with these limitations would be classified in Class 305, if the claim is otherwise directed to the wheel substitute apparatus. |
| 301, | Land Vehicles: Wheels and Axles, subclasses 41.1+ and especially subclasses 45+ for traction increasing devices for wheels. Class 305 takes traction increasing devices in the form of plates pivotally secured to the rim of a wheel and adapted to extend in a plane parallel to the ground when in contact therewith to simulate the action of feet even though the plates are provided with ground penetrating cleats. These devices distinguish from the subject matter in Class 301, subclasses 45+ in that the traction increasing devices therein are limited to ground penetrating cleats which are movably mounted on the rim of a wheel but are not mounted on plates which are adapted to simulate the action of feet when in contact with the ground. |
| 384, | Bearings, appropriate subclasses for a bearings for a rotary element and particularly subclass 417 for a bearing support for an idler pulley. |
| 474, | Endless Belt Power Transmission Systems or Components, appropriate subclasses for power transmission belts or chains of general utility either alone or in combination with a driving sprocket, and for guides or tensioners for such belts or chains. Class 305 takes a patent for a flexible track and wheel combination or a flexible track or element thereof, per se, wherein the sole disclosure or a claim is to a flexible track apparatus for a land vehicle. Class 474, takes a pulley, sprocket, or guide roll, per se, even though the pulley, sprocket, or guide roll is solely disclosed for use in connection with an endless track for a land wheel. |
SECTION III - GLOSSARY
FLEXIBLE TRACK
An annular band made either of a single piece of flexible material or of a plurality of individual treads or sections movably connected together.
TREAD
A unitary ground engaging block or plate made of flexible or rigid material or a combination of both and provided with securing means for connection to similar devices to form a flexible track.
WHEEL
The term "wheel" as used in connection with this class includes resilient tires, sprocket gears, rollers or any other annular members rotatable about an axis and adapted to propel a flexible track or support a portion thereof.
SUBCLASSES
1 | STEPPER TYPE: | ||||
| This subclass is indented under the class definition. Apparatus comprising ground engaging feet or plates operating
by a step-by-step movement during the forward travel of the apparatus.
SEE OR SEARCH CLASS:
| |||||
2 | Cam positioned: |
| This subclass is indented under subclass 1. Apparatus wherein the ground engaging feet are positioned for ground engagement by cam means. | |
3 | Having plural link connector elements: |
| This subclass is indented under subclass 1. Apparatus wherein each of the ground engaging feet are pivotally connected to a rotating support by a plurality of links. | |
4 | Feet attached to rim: | ||||
| This subclass is indented under subclass 1. Apparatus wherein the ground engaging feet or plates are
movably connected to the rim of a wheel.
SEE OR SEARCH THIS CLASS, SUBCLASS:
SEE OR SEARCH CLASS:
| |||||
5 | Spring biased: | ||||
| This subclass is indented under subclass 4. Apparatus in which the ground engaging feet are resiliently
mounted.
SEE OR SEARCH CLASS:
| |||||
6 | RIGID PORTABLE TRACK: | ||
| This subclass is indented under the class definition. Apparatus comprising a rigid track adapted to be mounted
on a vehicle to travel therewith and to form the ground support
therefor.
SEE OR SEARCH CLASS:
| |||
7 | Circular: | ||||||||
This subclass is indented under subclass 6. Apparatus wherein said rigid track comprises a rigid circular
rim.
SEE OR SEARCH CLASS:
| |||||||||
8 | WITH RAIL ENGAGING MEANS: |
| This subclass is indented under the class definition. Apparatus provided with means adapting the apparatus to travel over a railroad rail. | |
9 | WITH BRAKE: | ||||
| This subclass is indented under the class definition. Apparatus comprising means for retarding the motion of or
stopping the apparatus either by friction or by positive engagement
of elements.
SEE OR SEARCH CLASS:
| |||||
15 | COMBINED OR CONVERTIBLE: | ||||||||||||
This subclass is indented under the class definition. Apparatus (1) combined with a device outside of the class
definition and not provided for in other subclasses of this class
or (2) so constructed that by rearrangement of its parts it may
be converted from an apparatus performing a function within the
class definition to an apparatus performing a distinctly different
kind of function either within or without the class definition.
SEE OR SEARCH THIS CLASS, SUBCLASS:
SEE OR SEARCH CLASS:
| |||||||||||||
19 | SINGLE WHEEL TYPE: | ||||||
| This subclass is indented under the class definition. Apparatus comprising a flexible track mounted about the
periphery of a single wheel to completely surround such wheel and
be carried solely thereby.
SEE OR SEARCH THIS CLASS, SUBCLASS:
SEE OR SEARCH CLASS:
| |||||||
20 | WHEEL ON TOP OF UPPER TRACK RUN: | ||
This subclass is indented under the class definition. Apparatus comprising a flexible track apparatus including
wheels and wherein one of the wheels is positioned on top of the
upper track run.
| |||
33 | WITH INTERPOSED FRICTION DRIVE BELT: |
| This subclass is indented under the class definition. Apparatus comprising a flexible track apparatus including a pair of longitudinally spaced wheels, a flexible track trained about said wheels and a flexible belt interposed between and in engagement with the track and wheels to cause the track to run over the wheels. | |
34 | INFLATABLE MEANS: | ||
| This subclass is indented under the class definition. Apparatus wherein a portion of the apparatus is adapted
to be extended or swelled with a fluid.
SEE OR SEARCH CLASS:
| |||
40 | Cable connected treads: | ||||
This subclass is indented under subclass 185. Apparatus wherein a flexible track comprises a plurality
of ground engaging treads connected together by means of an elongated
flexible element.
SEE OR SEARCH THIS CLASS, SUBCLASS:
| |||||
41 | Resilient connection between treads: |
| This subclass is indented under subclass 185. Apparatus in which the connecting means between the track treads includes an element having spring-like qualities to form a resilient connection. | |
42 | Torsion bushing: | ||
| This subclass is indented under subclass 41. Apparatus wherein the tread connecting means includes a
transverse pin extending through a bushing made of resilient compressible
material, the bushing being either vulcanized to the pin or press
fitted thereon so that rotation of the pin can only be effected
by torsional distortion of the bushing.
SEE OR SEARCH THIS CLASS, SUBCLASS:
| |||
43 | Resilient compressible hinge: |
| This subclass is indented under subclass 41. Apparatus wherein said element is a compressible rubber-like member. | |
44 | Steerable: | ||||||||||
This subclass is indented under subclass 185. Apparatus wherein the track is especially designed to permit
steering of said track while traveling over the ground.
SEE OR SEARCH THIS CLASS, SUBCLASS:
SEE OR SEARCH CLASS:
| |||||||||||
45 | Adjustable connection between treads: |
| This subclass is indented under subclass 185. Apparatus wherein the connection between the individual track treads is such as to allow the distance between adjacent treads to be selectively increased or decreased. | |
46 | With resiliently biased ground engaging portion: |
| This subclass is indented under subclass 185. Apparatus in which the track treads are provided with a spring or rubber biased ground engaging portion. | |
47 | With sag prevention means: |
| This subclass is indented under subclass 185. Apparatus in which means are provided on the track treads to prevent the track from flexing in one direction. | |
48 | Projecting truss type: |
| This subclass is indented under subclass 47. Apparatus in which said means includes outstanding projections on each track tread which projections coact to prevent flexing of the track in one direction. | |
49 | Truss interconnected: |
| This subclass is indented under subclass 48. Apparatus in which means are provided for connecting adjacent outstanding projections together for limited relative movement. | |
50 | Track treads interconnected without separate fastening means: | ||
| This subclass is indented under subclass 185. Apparatus wherein the treads are provided with interengaging
fastening portions formed either integrally therewith of preassembled
thereto so that adjacent treads may be secured together without
the addition of a separate connecting or fastening member.
SEE OR SEARCH CLASS:
| |||
51 | With street plate: |
| This subclass is indented under subclass 185. Apparatus comprising an attachment secured to a track tread to prevent ground penetrating cleats on the track tread from cutting into a road surface. | |
52 | With roller means: | ||
| This subclass is indented under subclass 185. Apparatus wherein a track tread has an anti-friction roller
means mounted thereon adapted to contact a track supporting frame
or wheel, or adapted to form the ground engaging portion of the
track.
SEE OR SEARCH THIS CLASS, SUBCLASS:
| |||
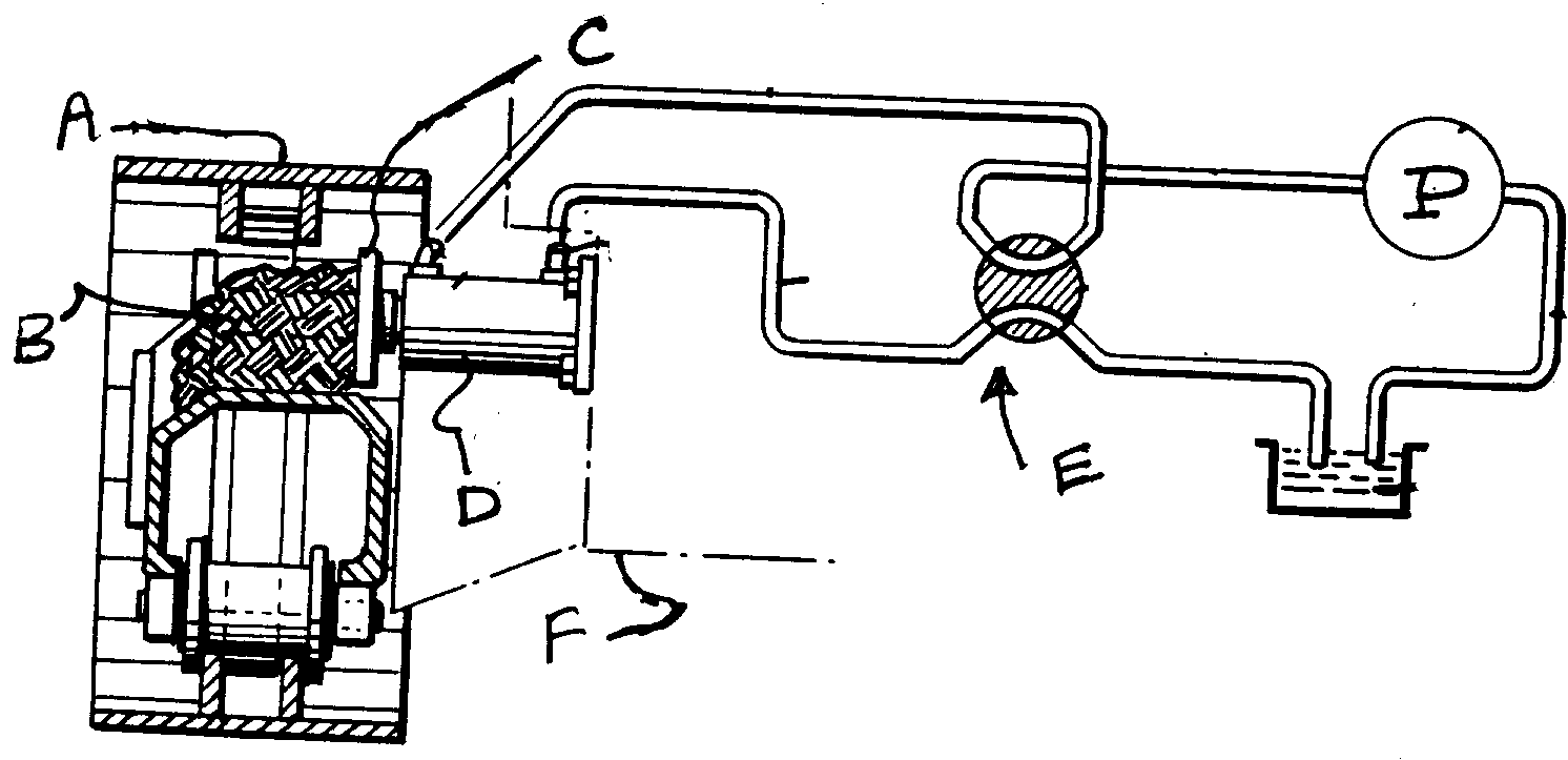
53 | One piece track tread: | ||||||||
This subclass is indented under subclass 185. Apparatus in which a complete track tread is formed in one
piece.
SEE OR SEARCH THIS CLASS, SUBCLASS:
| |||||||||
59 | Including noncylindrical or hollow connector pin: | ||||
This subclass is indented under subclass 202. Apparatus wherein at least a portion of the cylindrical
element has a cavity or opening formed thereon or has a surface
which is not circular in cross section.
SEE OR SEARCH THIS CLASS, SUBCLASS:
| |||||
60 | MISCELLANEOUS: |
| This subclass is indented under the class definition. Apparatus not provided for in any of the above subclasses. | |
100 | WITH MEANS TO REMOVE OR EXCLUDE FOREIGN MATTER (E.G., SEAL, SCRAPER): | ||||||||||||||||
| This subclass is indented under the class definition. Apparatus including a seal, scraper, guide, or shroud to
expel or prevent the entry of dirt or other outlying object from
any part of the apparatus.
A - Main frame; B - Drive sprocket; C - Teeth; D - Segment;E - Hub flange; F - Hub; G - Interconnected links; H - Track shoe;J - Pin; K - Intermediate bushing; L - Annular shroud or guard SEE OR SEARCH THIS CLASS, SUBCLASS:
SEE OR SEARCH CLASS:
| |||||||||||||||||
101 | With means between track links or shoes: |
| This subclass is indented under subclass 100. Apparatus including means integral or made separately to
present a sealed outer surface both when in a horizontal position
or when in a curved position, thereby preventing the undesirable
ingress of foreign matter between the tread segments.
A - Chain track; B - Sprocket wheel; C - Sprockets; D,E - Chain plate; F - Cleat having same thickness as chain plate;G - Opening filled with elastomeric material ; H - Projecting piecesfor improved traction | |
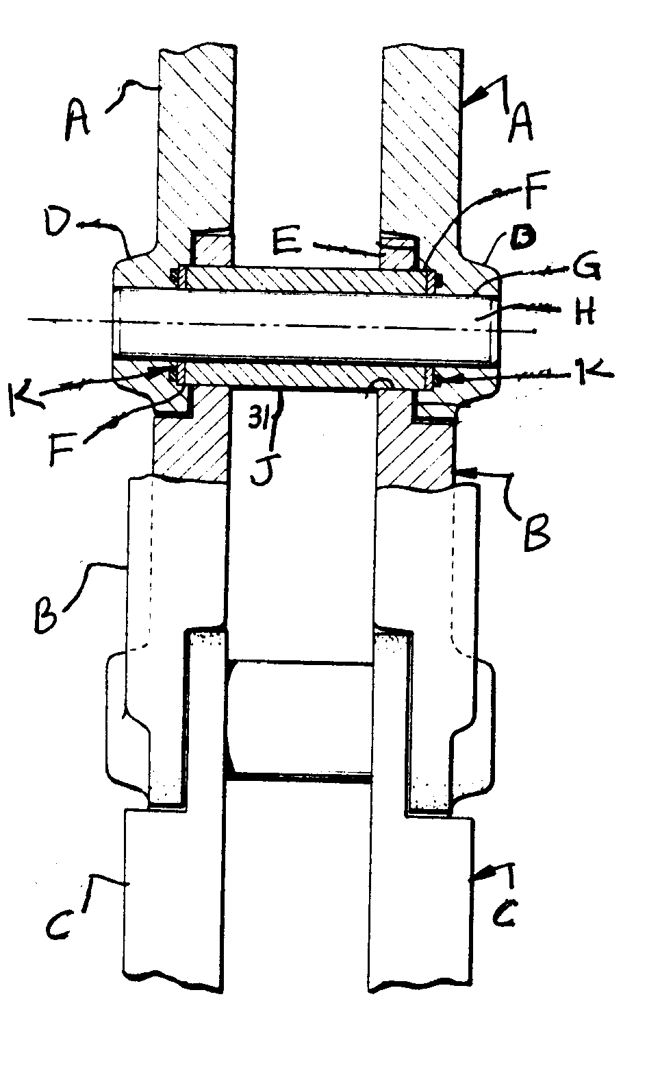
102 | With peripheral seal between bushing and track link: | ||||
| This subclass is indented under subclass 100. Apparatus including a waterproof and dustproof elastomeric
ring or similar element located on each side at or near the surface
of the sleeve around the connecting pin.
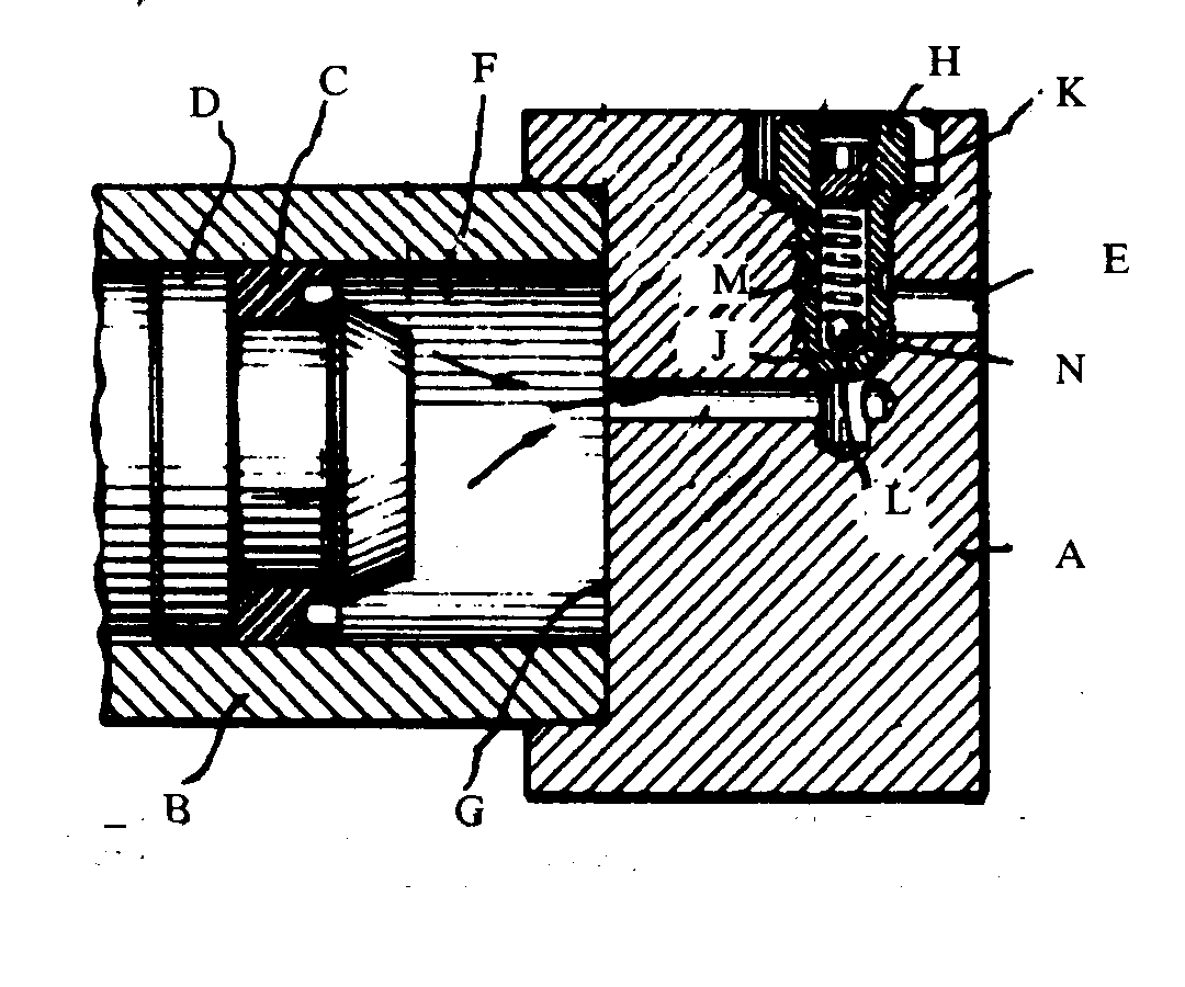
A, B, C - Track shoe collars; D, E, F - Track pin assembly;G - Spherical bearing; H - Elastomeric seal SEE OR SEARCH CLASS:
| |||||
103 | With end seal between bushing and track link: | ||||||
| This subclass is indented under subclass 100. Apparatus including a waterproof and dustproof elastomeric
ring or similar element located at the outermost section to engage
the removable sleeve of metal or other material joining the two
inflexible belt components.
A - Seal assembly; B - Inner link; C - Main body portion;D - Track pin bushing; E - Track pin; F - Track pin outer end portion;H - Main body portion; J - Outer link SEE OR SEARCH THIS CLASS, SUBCLASS:
SEE OR SEARCH CLASS:
| |||||||
104 | And at connector pin: | ||||||||||||||
This subclass is indented under subclass 103. Apparatus wherein the seal is located about a pivot pin
which interconnects the overlapped ends of a pair of inflexible
belt components.
SEE OR SEARCH THIS CLASS, SUBCLASS:
SEE OR SEARCH CLASS:
| |||||||||||||||
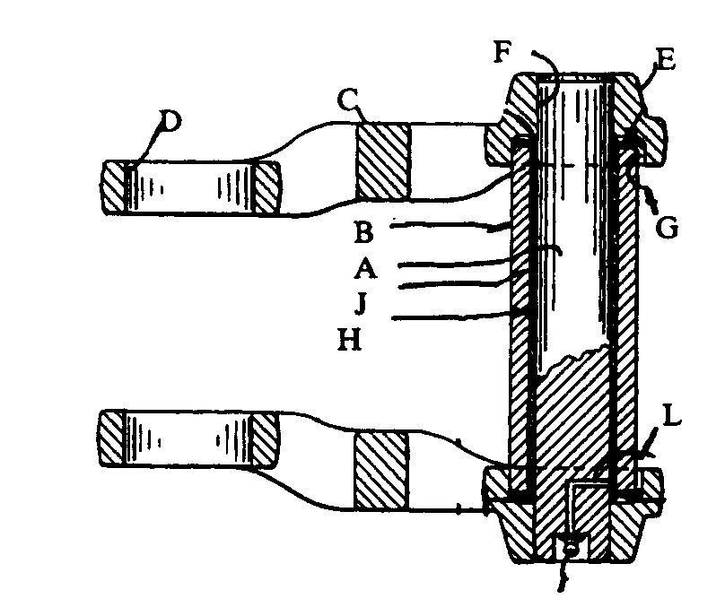
105 | With seal between connector pin and bushing: | ||||||||
| This subclass is indented under subclass 100. Apparatus including a waterproof and dustproof elastomeric
ring or similar element located between a cylindrical element used
to fasten two adjacent belt links and the removable sleeve of metal
or other material.
A - Track link assembly; B, C - Pair of link members; D, E- Pair of link members; F - Bushing; G, H - Annular recess in thebushing end; portions; J - Track pins; K, L - Circumferential sealinggrooves in the; connector pin; M, N - Sealing members between thebushing; and connector pin SEE OR SEARCH THIS CLASS, SUBCLASS:
SEE OR SEARCH CLASS:
| |||||||||
106 | With seal between connector pin and track link: | ||||||||
| This subclass is indented under subclass 100. Apparatus wherein the dustproof and waterproof elastomeric
element is located between a usually cylindrical element used to
fasten the two inflexible belt components and the recess formed
in one of the two belt components itself.
SEE OR SEARCH THIS CLASS, SUBCLASS:
SEE OR SEARCH CLASS:
| |||||||||
107 | With deflector plate, track guide means, or scraper: | ||||||||||
| This subclass is indented under subclass 100. Apparatus including a smooth, usually nearly flat and relatively
thin piece of metal or other material or a single or plurality of
a set of teeth or blades to push or expel the accumulated dirt, to
prevent dirt and debris from entering the elements, or to maintain
the surface clean of mud and rocks and having a contrivance with
a directing edge, surface, or channel for maintaining the tracks
on wheels.
A - Track; B - Dirt, mud; C - Pusher plate supported by hyd.cylinder; D - Hydraulic cylinder; E - Hydraulic control mechanismfor pusher plate; F - Main frame
A - Side frame; B - Scraper assembly; C - Support roller ofupper track section; D, E - Scraper teeth; F - Bridge section; G,H - Side wing sections; M - Mud; P - Pillow blocks SEE OR SEARCH THIS CLASS, SUBCLASS:
SEE OR SEARCH CLASS:
| |||||||||||
108 | With deflector or guard mounted to track body: | ||||||
| This subclass is indented under subclass 107. Apparatus including a lug or a beveled or wedge-shaped projecting
rib secured to endless belt shoe for aiding in cleaning the belt,
support wheels, or vehicle undercarriage.
SEE OR SEARCH THIS CLASS, SUBCLASS:
SEE OR SEARCH CLASS:
| |||||||
109 | With deflector plate mounted to lateral side of track: | ||||||||
| This subclass is indented under subclass 107. Apparatus including a scraper plate or a flexible guard
element secured on the track roller frame or vehicle body to prevent
foreign matter from entering the track area or to guide the rollers
or track relative to one another.
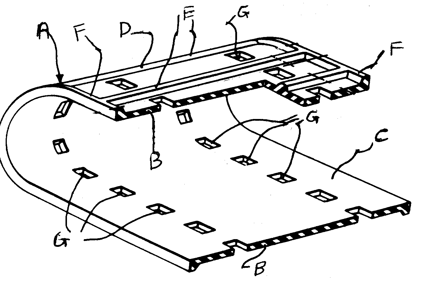
A, B, C, D - Track roller frame assembly; E - Track assembly;F - Pair of track rollers or track links; G, G1 - Flexible guardrail; H - Backup detector plate SEE OR SEARCH THIS CLASS, SUBCLASS:
SEE OR SEARCH CLASS:
| |||||||||
110 | With scraper mounted to scrape track or wheel: |
| This subclass is indented under subclass 107. Apparatus including a plate positioned on the vehicle body to remove debris from at least one surface of the drive wheels or support rollers. | |
111 | With self-cleaning tread or track unit: | ||||
| This subclass is indented under subclass 100. Apparatus including an endless chain of pivotally connected
links having a notch at one end and a tongue at the other end traveling
with the track unit to scrape automatically from the track shoes
or other part of the vehicle any accumulation of dirt, snow, or
mud.
Cleaner or cleaning chain F traverse with track to clean trackA. A - Endless chain or link track;B - Track shoe; C - Sprocketwheel ;D - Support frame; E - Support; F - Cleaning or cleaninglink; G - Notch; H - Tongue; J - Loop; K - Pivot SEE OR SEARCH CLASS:
| |||||
112 | Including self-cleaning endless belt: | ||||||||||
This subclass is indented under subclass 111. Apparatus including a continuous track for automatic removal
of mud, snow, and other debris.
SEE OR SEARCH THIS CLASS, SUBCLASS:
SEE OR SEARCH CLASS:
| |||||||||||
113 | Having openings through side or base of shoe or link: | ||||||||
| This subclass is indented under subclass 111. Apparatus including an endless positive track composed of
individual track shoes being connected together to afford the ready
passage, discharge, or extrusion of the mud, snow, chips, and other
debris.
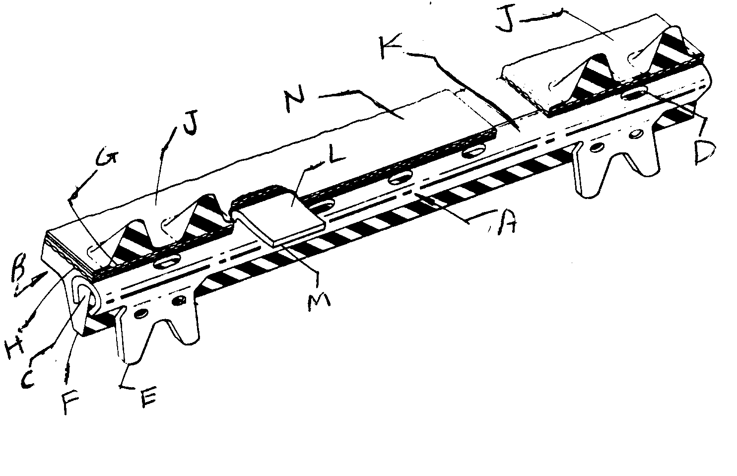
A -Track shoe; B, C - Track shoe sidewalls; D, E - Adjacenttrack shoe lugs; F - Common grouser; G - Link; H - Fastening means;J - Support plate; K - Opening thru plate "J" providesegress; of entrapped debris SEE OR SEARCH THIS CLASS, SUBCLASS:
SEE OR SEARCH CLASS:
| |||||||||
114 | With particular shoe, lug, grouser structure, or material: | ||||||||||
This subclass is indented under subclass 111. Apparatus wherein the surfaces of a metal socket or plate
or a projection or ridge are formed to extend angularly with respect
to the socket or ridge axis and with respect to each other, thereby
squeezing or extruding mud or dirt from between the operating parts.
SEE OR SEARCH THIS CLASS, SUBCLASS:
SEE OR SEARCH CLASS:
| |||||||||||
115 | With self-cleaning sprocket or drive wheel: | ||
| This subclass is indented under subclass 100. Apparatus wherein a circular device with a hub at the center
communicating the motion is provided with relief cutouts or openings
or a specific configuration to clean itself of mud and foreign substances
or move such substances outwardly of the vehicle and free of endless chain.
SEE OR SEARCH CLASS:
| |||
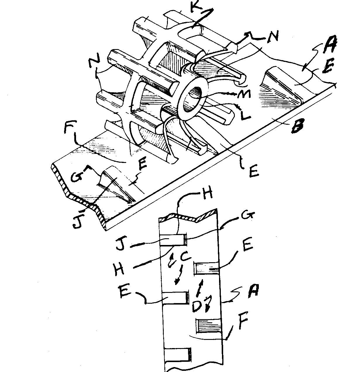
116 | TRACK GUIDE OR ALIGNMENT MECHANISM: | ||||||
| This subclass is indented under the class definition. Subject matter including an adjustment device consisting
of a wheel carriage with a support arm and coupling means having
a pair of plate members or similar structure to assist in correcting
the proper relative position of the endless ground engaging band.
A - Sprocket wheel; B - Drive axle; C - Endless chain;D - Hub; E - Outer rim; F - Web; G - Teeth; H - Sides of teeth;J - Root face region; K - Relief cutouts; L - Bushing SEE OR SEARCH THIS CLASS, SUBCLASS:
SEE OR SEARCH CLASS:
| |||||||
117 | WITH LUBRICATION: | ||||||
| This subclass is indented under the class definition. Apparatus including a discrete space, channel, or troughlike
receptacle filled with a substance capable of reducing friction
to the bearing and to the belt due to the deformation suffered by
passing around the peripheral curve of the pulley.
A - Link bar; B - Gudgeon pin; C - Journal pin; D - Metalshoe; E - Pressed rib; F - Wooden pillow; G - Spring metal plate;H, J - Mounting means; K - Lubricant receptacle SEE OR SEARCH THIS CLASS, SUBCLASS:
SEE OR SEARCH CLASS:
| |||||||
118 | Including passage in connector pin: | ||||||||||
| This subclass is indented under subclass 117. Apparatus wherein the lubricant is provided within the space
around a metal bar interconnecting the overlapped ends of a pair
of an endless chain links.
A - Link pin; B - Bushing; C - Link; D - Link opening; forbushing; E - Link outer front; F - Opening to receive link pinend; G - Annular recess; H, J - Sleeve with coils to distributelubricant; K - Grease fitting; L - Lubricant passage SEE OR SEARCH CLASS:
| |||||||||||
119 | Including passage in or for roller structure: | ||
| This subclass is indented under subclass 117. Apparatus wherein the lubricant space or channel is provided
within or for an endless track cylinder assembly mounted on the
track frame intermediate the track sprocket and the idler wheel
usually used for maintaining the lower run of the endless track
in firm engagement with the underlying terrain.
A - Elongated shaft; B - Bolts to secure shaft to track frame;C - Spaced rails forming track frame; D - Roller; E - Guiding flanges;F - Bearings; G - End collars; H - Thrust washers; J, K - Seals;L - Lubricant reservoir; M - Lubricant receiving port; N - Radialbore establishes fluid communication SEE OR SEARCH CLASS:
| |||
120 | WITH FRAME CARRIED ENDLESS TRACK: | ||
| This subclass is indented under the class definition. Apparatus including a flexible continuous band guided or
supported by a basic structural unit made up of a plurality of beams, plates,
or angle irons.
SEE OR SEARCH CLASS:
| |||
121 | With roller antifriction means: | ||||
| This subclass is indented under subclass 120. Apparatus wherein a plurality of balls or cylinders is provided
between the track and the frame to facilitate movement about the
frame.
A, B, C - Frame; D - Track rollers; E - Ground engaging roller;F - Spacer; G - Axle; H, J - Axle heads SEE OR SEARCH CLASS:
| |||||
122 | Track carried: |
| This subclass is indented under subclass 121. Apparatus wherein the rollers are attached to and carried
by a continuous ground engaging band.
A - Frame; B - Endless band; C - Rollers | |
123 | Rollers engage toothed wheel: |
| This subclass is indented under subclass 121. Apparatus wherein the ball or a cylinder of hard material
contacts the sprocket wheel.
A - Rigid frame; B - Transverse axles; C - Rubber tires; D- Cleat or tread; E - Endless band; F - Sprocket wheel; G - Verticalrigid support; H - Rollers; J - Rollers | |
124 | WITH TRACK SUPPORT INTERMEDIATE OF END WHEELS: | ||||
| This subclass is indented under the class definition. Apparatus including a continuous ground engaging band having
at least a pair of longitudinally spaced foremost and rearmost circular elements
having a hub at the center and further including a band holding
means or sag prevention means situated at the middle of the foremost
and rearmost circular elements.
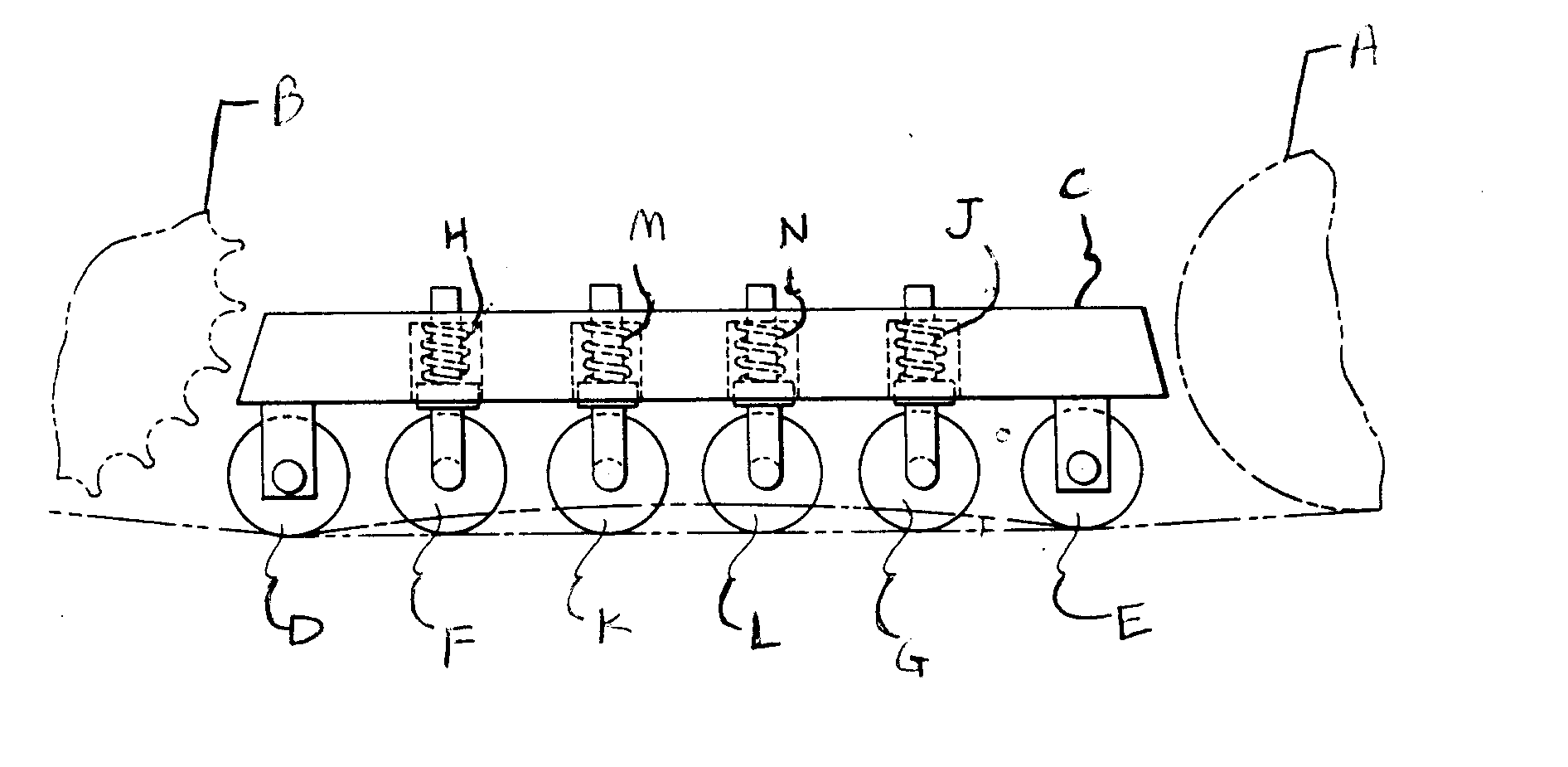
A - Main frame; B - Endless chain track; C - Rear wheel;D - Idler wheel; E - Roller truck frame; F - Rollers; G - Supportspring; H - Guide rollers; J - Support bar; K - Links; L - Linkpin
SEE OR SEARCH CLASS:
| |||||
125 | Including end wheel support for movement to maintain track tension: | ||
| This subclass is indented under subclass 124. Apparatus wherein at least one of the rearmost wheels is
mounted for longitudinal adjustment to prevent slackening of the
band.
A -Endwheel; B - Endless track; C - Wheel hub; D - Supportlink; E - Roller link; F - Roller assembly; G - Suspension pad;H - Resilient stop pad SEE OR SEARCH CLASS:
| |||
126 | Intermediate support includes wheel contacting upper and lower track runs: |
| This subclass is indented under subclass 124. Apparatus wherein the holding means at the middle of the
endless band includes at least one circular element touching both
the top and bottom portion of the endless band.
A, B - End wheels; C - Endless band; D - Band inner face;E - Intermediate support wheel | |
127 | Including elongated slide or frame support: | ||||
| This subclass is indented under subclass 124. Apparatus including at least a pair of elongated laterally
spaced means adapted to hold the vehicle on the track and keep the
track in contact with the ground.
A - Link members; B - Elongated slide support; C - Groundengaging outer track surface; D - Rollers; E - Endwheel; F - Innertrack surface SEE OR SEARCH CLASS:
| |||||
128 | Combined with at least one intermediate roller: | ||
| This subclass is indented under subclass 127. Apparatus wherein the elongated slide support further includes
a cylindrical element made of hard material located at the midportion
of the continuous belt to hold the belt in a position away from
or in addition to the slide support.
A - Elongated slide support; B - Endless track; C - Wheelor roller SEE OR SEARCH CLASS:
| |||
129 | With roller support contacting lower track run: |
| This subclass is indented under subclass 124. Apparatus including a holding means consisting of at least one cylindrical element engaging the bottom portion of the endless band. | |
130 | With frame mounted rollers: | ||
| This subclass is indented under subclass 129. Apparatus wherein the holding means includes a plurality
of cylindrical elements made of hard material and attached to the
basic structural unit made of a plurality of beams, plates, or angle
irons.
A, B - Road wheels; C - Endless band; D - Frame; E, F, G,H, J, - Rollers SEE OR SEARCH CLASS:
| |||
131 | Adjustable or movable frame: | ||
| This subclass is indented under subclass 130. Apparatus wherein the basic supporting structural unit is
positionable from one position to another position.
A - Vehicle main frame; B - Hub; C - Journal box frame;D, E - Journal box; F - Shaft; G, H - Wheels ; J - Endless belt;K - Roller frame; L - Rollers; M - Movable vertical rods; N - Rollerframe adjusting spring SEE OR SEARCH CLASS:
| |||
132 | With roller support mounted for movement individually or in pairs: | ||
| This subclass is indented under subclass 129. Apparatus wherein the cylindrical track holding means is
adapted to change in its position either singularly or as a plurality
of a set of two with respect to the remaining holding means.
A - Idler wheel; B - Sprocket wheel; C - Roller frame; D,E - Front rear rollers rigidly supported; F, G - Roller verticallymounted with downward biasing w/spring rate "K"";H, J - Springs w/equal spring rate K; K, L - Central rollersvertically mounted with downward biasing w/spring rateK less than K; M, N - Springs with equal spring rate K SEE OR SEARCH CLASS:
| |||
133 | Including individual roller mounted for movement at end of arm: | ||||
| This subclass is indented under subclass 132. Apparatus wherein the singular cylindrical element is positioned
for rotational movement at the end of a pivotable elongate member.
A - Vehicle body; B - Tension device; C - Front roller wheel;D - Rear roller wheel; E - Endless track; F - Track link; G - Linkpin; H - Forward arm; J - Rearward arm SEE OR SEARCH CLASS:
| |||||
134 | Including walking beam or pivoting arm: | ||||
| This subclass is indented under subclass 132. Apparatus wherein the track suspension mechanism includes
an elongate rocking first member or members rotatably mounted at
one end on a support means, and a second swingable member or members
aligned with the first member or members and with the lower track of
the vehicle to maintain the track in constant contact with the ground
surface.
A - Endless track; B - Carrier axle; C - Trunion (pivot connection);D - Main walking beam; E - Trunion (pivot connection); F - Walkingbeams (secondary); G - Track rollers; H - Bearings SEE OR SEARCH CLASS:
| |||||
135 | With high drive arrangement: |
| This subclass is indented under subclass 129. Apparatus wherein the lower run of the endless track is
guided by the train of wheels which is being suspended by a beam
and leg assembly from a journal tube such that the entire endless track
unit can oscillate about the axle housing and the axle as an axis
and wherein the driving wheel is arranged as the uppermost rotatable member.
A - Vehicle frame; B - Vehicle body; C - Apron; D - Framefor flanged wheels; E, F, G - Flanged wheels; H - Endless truckengaging flanged wheels | |
136 | Specific roller structure, per se: | ||||||||||
| This subclass is indented under subclass 129. Apparatus wherein the significance is attributed to the
shape or configuration of the cylindrical element.
A - Roller or resilient tire; B - Rim; C - Axle; D - Centralribs; E - Load bearing surface; F - Guide grooves SEE OR SEARCH CLASS:
| |||||||||||
137 | Including structure to engage track (e.g., wear surface, cushion): | ||||||||
| This subclass is indented under subclass 136. Apparatus including specific configuration of the roller
for partially contacting or meshing with the endless band.
A-Roller or wheel; B-Hub; C - Rim; D,E - Wheel panels;F,G - Rim outer and inner surfaces SEE OR SEARCH CLASS:
| |||||||||
138 | With roller mounting means: | ||
| This subclass is indented under subclass 129. Apparatus including the specifics of the attachment structure
(e.g., clamp, pin, key) for securing the cylindrical element to
the truck frame.
A - Truck frame; B - Roller assembly; C - Resilient cushions;D - Roller; E, F - Links to interconnect roller assembly; G - Linkoff set; H - Bell crank; J - Pivot; K - Truck frame side member SEE OR SEARCH CLASS:
| |||
139 | With intermediate upper track run support: | ||
| This subclass is indented under subclass 129. Apparatus including holding means at the middle place of
the top portion of the endless band.
A - Endless track; B-F - Constitutes intermediate upper trackrun support.; G - Sprocket wheel; H - Idler sprocket wheel; J -Truck frame; K - Rollers SEE OR SEARCH CLASS:
| |||
140 | With endless roller chain support: |
| This subclass is indented under subclass 129. Apparatus wherein the holding means includes a frame as
a continuous band made of individual links and further provided
with cylindrical elements trained to run around the frame to extend
between the frame and the lower run of the track.
A - Axle hung rocker beam; B - Runner blocks; C - Rollerchain; D - Track lugs; E, F - Sprocket wheels | |
141 | With vertically movable wheel support: |
| This subclass is indented under subclass 129. Apparatus wherein the holding means includes a frame and a plurality of a circular rim with a hub or a disc, capable of rotating on a central axis, mounted on the frame and being individually positionable perpendicular to the direction of the vehicle motion. | |
142 | With plural wheel support: |
| This subclass is indented under subclass 129. Apparatus wherein the holding means includes two or more elements consisting of a circular rim with a hub or a disc, capable of rotating on a central axis. | |
143 | WITH MEANS FOR TENSIONING TRACK BY MOVING AT LEAST ONE END WHEEL: | ||||||||||
| This subclass is indented under the class definition. Apparatus including a flexible endless band or belt trained
about a pair of longitudinally spaced distal wheels being adjustable either
in a vertical or longitudinal direction with relation to the other
wheel to prevent overtightening or slackening of the band or belt.
SEE OR SEARCH THIS CLASS, SUBCLASS:
SEE OR SEARCH CLASS:
| |||||||||||
144 | Condition responsive (e.g., inclination, speed, operator command): |
| This subclass is indented under subclass 143. Apparatus wherein the automatic adjustment of the track tension includes a system utilizing a valve in association with a track adjustment system for adjusting the track tension by providing a control for actuating the tensioner element in response to the degree of slope or rate of change of distance with time of the vehicle, or a manual signal from the operator. | |
145 | Having hydraulic adjusting means: | ||||||
| This subclass is indented under subclass 143. Apparatus wherein the means for tensioning track is operated
by use of a fluid in a spring mechanism to actuate a correcting
movement in response to changes in the tension of the track.
SEE OR SEARCH CLASS:
| |||||||
146 | Including spring device (e.g., coil spring): | ||||||||||||
| This subclass is indented under subclass 145. Apparatus wherein the hydraulic piston is provided with
an additional resilient means to maintain tension of the track and
allow recoil thereof.
A - Endless track; B - Idler wheel; C - Axle; D - Idler boxings;E - Frame; F - Hydraulic piston-cylinder; G - Spring unit; H - Bracket;J - Hydraulic cylinder; K - Piston rod; L - Spring
A - Track roller frame; B - Spring recoil assembly; C - Stop;D - Housing; E - Coil spring; F - Movable piston; G - Block closespiston at one end; H - Circular plate secured to piston block; (Shiftingpiston to the left compresses the coil spring) SEE OR SEARCH CLASS:
| |||||||||||||
147 | Coil spring housed within hydraulic cylinder: | ||||||
| This subclass is indented under subclass 146. Apparatus wherein the resilient element is operatively installed
inside the casing of the tubular fluid chamber.
SEE OR SEARCH CLASS:
| |||||||
148 | Including gas recoil: |
| This subclass is indented under subclass 145. Apparatus including a compressible fluid accumulator track
system having a sudden backward movement utilizing a hydraulic adjusting means
to provide a differential movement connection to maintain reasonable
backward movement forces over a long range of sudden backward movement.
A - Vehicle frame; B - Trunion; C - Connecting rod to yoke;D - Housing; E - Gas chamber; F - Cylinder bore; G - Free piston;H - Open-ended; J - Open-ended cylinder box; K - Piston; L - Fluidchamber | |
149 | With vent or relief valve: | ||||
| This subclass is indented under subclass 145. Apparatus including an aperture or a membranous element
to allow the pressurized fluid to escape at a controlled rate from
the hydraulic tensioning device.
A - Cross plate; B - Track adjusting cylinder; C - Piston seal;D - Piston; E - Discharge opening; F - Piston chamber; G - Pistonchamber floor; H - Safety or relief valve; J - Body sleeve; K -Integral head; L - Axial inlet passage; M - Side part; N - Ballforms second valve element SEE OR SEARCH CLASS:
| |||||
150 | Vertically movable end wheel: |
| This subclass is indented under subclass 143. Apparatus wherein the adjustable distal wheel is secured
in various positions not parallel to the direction of travel.
A - Rear of truck; B - Axle; C - End wheel; D - Endless belt;E - Cleat or projection; F, G - Chain made of links. NOTE: End wheel moves vertically (shownby dotted line) | |
151 | Biased by spring only: | ||
| This subclass is indented under subclass 143. Apparatus wherein the endwheel is acted upon by a device
capable of deflecting so as to store energy and be used as a source
of power for tensioning the track.
SEE OR SEARCH CLASS:
| |||
152 | Longitudinally outwardly biased by coil spring only: | ||||||||
| This subclass is indented under subclass 151. Apparatus including a movable wheel mounted on a transverse
axle movable in the direction away from the direction of travel
and is acted upon by a spiral elastic element used as a source of
power for tensioning the track.
A - Endless resilient band; B, C - Supports for roller;D - Terrain (ground surface); E - Shaft; F - Radial flanges; G,H - Load rollers; J - Idler roller; K, L - Floating end rollerson swingable arms; M - Coil spring mechanism; N - Radial flanges SEE OR SEARCH THIS CLASS, SUBCLASS:
SEE OR SEARCH CLASS:
| |||||||||
153 | Longitudinally adjustable: | ||||||||
This subclass is indented under subclass 143. Apparatus wherein one of the distal wheels is selectively
secured in various positions closer to or farther away from the
other wheel.
SEE OR SEARCH THIS CLASS, SUBCLASS:
SEE OR SEARCH CLASS:
| |||||||||
154 | Including threaded tension adjuster: | ||||||
| This subclass is indented under subclass 153. Apparatus wherein the device to change or regulate the tensile
stress in the endless band includes a screw member provided with
a tensile stress changing nut.
A, B, C - Journal boxes for track drive shaft; D - Adjustingdevice (threaded); E - Crawler beam; F - Screw member; G - Tensioningnut; H - Spherical seat; J - Shackle; K - Cross member; L - Sprocket;M - Track drive sprocket SEE OR SEARCH CLASS:
| |||||||
155 | With intermediate support member (e.g., linkage): | ||||||
| This subclass is indented under subclass 143. Apparatus including a longitudinally extending beam having
an inner and outer ends and a transversely extending shaft on the
vehicle connected to a midportion of the beam for supporting the
beam to rock front and center wheels freely about a transverse axis.
A - Longitudinal frame; B - Rear wheel; C - Center wheel;D - Front wheel; E - Transverse grooves; F - Metal link endlesstrack; G - Side bracket; H - Lateral rigid pipe; P, L - Fixed wheelspindle; Q, M - Bearings; N - Rigid upright SEE OR SEARCH THIS CLASS, SUBCLASS:
SEE OR SEARCH CLASS:
| |||||||
156 | Tensioner contained within idler wheel: |
| This subclass is indented under subclass 143. Apparatus wherein the device to change or regulate the tensile
stress in the endless band is provided within the device such as
a circular disk or a circular rim with a hub, capable of rotating
on a central axis and solely used to reverse the direction of rotation
or to modify the spacing of the centers, without affecting the overall
ratios of the drive.
A - Vehicle chassis; B - Endless track; C- Track shoe;D - Drive wheel; E - Idler wheel; F - Idler-wheel carrier; G - Supportbody; H - Tension adjustment device; J - Track roller; K - Beam;L - Pin; M - Empty space | |
157 | ENDLESS BELT HAVING NONMETALLIC TRACK OR TREAD: |
| This subclass is indented under the class definition. Apparatus including a continuous band having a ground engaging surface or projection made of high strength molded plastic, Teflon, synthetic rubber, or other similar material. | |
158 | Track formed of flexible sections: |
| This subclass is indented under subclass 157. Apparatus wherein the continuous band consists of a plurality of interconnected, resilient segments. | |
159 | Track formed of rigid nonmetallic links: | ||||||||
| This subclass is indented under subclass 157. Apparatus wherein the continuous belt is formed of inflexible
components connected to each other by articulated joints presenting
profiled supporting surfaces made of rubber or high strength molded
plastic or similar material to permit relative movement of the components so
that the belt is capable of conforming to the curvature of the pulley
or sprocket drive face.
A - Tubular bodies; B - Underside running pad; C - End connectorlinks; D - Chain tooth; E - Intermediate links; F - Successive chainlinks; G - Connecting pin rods; H - Roll-off surfaces SEE OR SEARCH THIS CLASS, SUBCLASS:
SEE OR SEARCH CLASS:
| |||||||||
160 | Lug, shoe, or grouser structure, per se: | ||||||||||||
| This subclass is indented under subclass 159. Apparatus wherein the significance is attributed to the
shape or configuration of the traction plate, projection, socket,
or cleat, which projects from the belt.
A - Tread member; B - Metal support member; C - Mountingapertures; D, E, F - Composite molded polymeric material; G - Wearsurface SEE OR SEARCH THIS CLASS, SUBCLASS:
SEE OR SEARCH CLASS:
| |||||||||||||
161 | With mounting means: | ||||
| This subclass is indented under subclass 160. Apparatus including the specifics of the attachment structure
(e.g., clamp, pin, key, interlocking surface) for releasably securing
a lug, shoe, or grouser.
A - Grouser plate; B - Bushing pin; C - Lock bolt; D - Bifurcatedfastening plate; E - Resilient bushing; F, G - Rubberlike treadpad; H - Support plate; J - Support plate; K, L - Grouser platelips SEE OR SEARCH CLASS:
| |||||
162 | Including threaded fastening means: |
| This subclass is indented under subclass 161. Apparatus wherein the securing means includes a metal collar, having an internal helical ridge, to fit a cylinder core having a outer helical ridge of approximately triangular, square, or rounded section for holding the tread pad or traction cleat firmly. | |
163 | With noncylindrical or hollow connector pin: | ||||||
| This subclass is indented under subclass 159. Apparatus including a bridging member bridging the gap between
the adjacent track links or including means consisting of parallel
spaced tubularly formed pivot bearing sleeves extending transversely
of the track for rigidly connecting the track shoes to the frame
members.
A - Pivot bearing sleeves; B - Pivot pins; C - Rubber bushings;D - Connecting web; E, F - Rubber block with wheel contacting face;G, H - Bottom tread shoe with a metal plate "H";J - Grouser or cleat; K - Fastening means for recurring metal platewith tread block SEE OR SEARCH THIS CLASS, SUBCLASS:
SEE OR SEARCH CLASS:
| |||||||
164 | Including metal sleeve for connector pin: | ||||
| This subclass is indented under subclass 159. Apparatus wherein a tubular reinforcing core made of a ductile
material is incorporated within the rubber tread block or track
shoe to receive a cylindrical metallic piece used for joining the
track links together.
A - Tubular sleeves adapted to receive link pins and elasticbushings; B, C - End plates brazed or welded to sleeves; D - Tappedhole in the endplate; E - Electronic material abuts the track wheels;F, G - Fastening means SEE OR SEARCH THIS CLASS, SUBCLASS:
SEE OR SEARCH CLASS:
| |||||
165 | Track formed of endless flexible belt: | ||||||||
| This subclass is indented under subclass 157. Apparatus wherein the continuous ground engaging band is
formed of a pliant material to permit the band to conform to the
circumferential curvature of the pulley, wheel, or guide roll.
A - Drive wheel; B - Ground supporting wheels; C - Flexiblebelt; D - Belt shoes; E - Shoe lips SEE OR SEARCH THIS CLASS, SUBCLASS:
SEE OR SEARCH CLASS:
| |||||||||
166 | Including plural layers of different materials: | ||
| This subclass is indented under subclass 165. Apparatus wherein the belt includes at least two strata
of distinct constituent, the constituent in one of the stratums
being of distinct chemical or mechanical composition than the constituent
in the other of the strata.
SEE OR SEARCH CLASS:
| |||
167 | With metallic embedded reinforcement: | ||||
| This subclass is indented under subclass 165. Apparatus including at least one element made of a lustrous,
fusible, malleable, or ductile material incorporated within the
flexible belt layer for additional strength.
A - Top layer; B - Bottom layer sprocket tooth; C - Metallicreinforcement; D - Hole to receive; E - Flexible belt SEE OR SEARCH THIS CLASS, SUBCLASS:
SEE OR SEARCH CLASS:
| |||||
168 | Including clip for snowmobile track: | ||
| This subclass is indented under subclass 167. Apparatus wherein the inner surface of the flexible traction
belt includes a plurality of longitudinally aligned hardened elements
to form a low friction and reinforced region to contact or receive
the elongate supporting rails of a snowmobile suspension.
A - Traction belt; B - Sprocket wheel tooth aperture; C- Projecting studs; D - Metallic embedded reinforcement; E - Rubberbonds of traction belt; F - Additional wear clips SEE OR SEARCH THIS CLASS, SUBCLASS:
| |||
169 | Including means for sprocket tooth engagement (e.g., lug, aperture): | ||||
| This subclass is indented under subclass 167. Apparatus wherein the endless belt includes spaced apertures
lined with metal reinforcing clips extending through the apertures
for contacting the pointed projection of the driving wheel.
A - Endless belt; B - Tension resistant nonmetallic cord; C- Metallic reinforcement; D - Sprocket receiving aperture; E - Tractionsurface; F - Traction lug; G - Metal clip; H - Integral clip tabs SEE OR SEARCH CLASS:
| |||||
170 | Reinforcement is endless: | ||||
| This subclass is indented under subclass 167. Apparatus including at least one metallic cable means formed
from a continuous length looped around the continuous band track
so as to form a continuous reinforcing layer.
A - Endless belt; B - Traction lugs; C - Sprocket wheel apertures;D - Endless reinforcing cable SEE OR SEARCH CLASS:
| |||||
171 | Including core bar reinforcement: |
| This subclass is indented under subclass 170. Apparatus wherein a plurality of spaced rigid members of uniform cross section are embedded extending transversely of the endless band. | |
172 | With overlapping core bar sections: |
| This subclass is indented under subclass 171. Apparatus wherein the rigid member having uniform cross
section lies or extends partly over or upon an adjacent rigid member.
A - Endless band; B - Wire cable reinforcement; C, D - Overlappingcore bars; E - Bolts for bar; F - Removable wear member; G - Integralguide plate; H - Sprocket wheel; J - Guide pulleys; K - Bolts forholding sprocket & pulley together | |
173 | Including sprocket wheel or roller guide lug or projection: |
| This subclass is indented under subclass 171. Apparatus including an integral piece of uniform cross section
having an integral protrusion serving both for directing the motion
of the track on the wheel or roller and for bracing the track against
transverse movement.
A - Rubber endless track; B - Core bar; C - Core bar wing;D - Endless embedded reinforcement; E - Projection; F, G - Travelingsurface; H - Traveling surface | |
174 | Plural lugs or projections: |
| This subclass is indented under subclass 173. Apparatus including at least a pair of central protrusions
formed upright in opposed relationship at predetermined intervals
in the central area of each core bar.
A - Rubber belt; B - Cove bar; C, D - Pair of central projections;E - Recess; F - Sprocket tooth hole; G - Steel cord reinforcement | |
175 | Including additional reinforcement for sprocket wheel: |
| This subclass is indented under subclass 174. Apparatus including at least one rib or rectangular plate
extending upwardly from the core body between the protrusions and
oriented perpendicularly to the protrusions for increasing the core
bar strength in the area of engagement with the toothed wheel.
A - Core body; B - Rubber crawler; C - Crawler body; D -Steel cable reinforcement; E - Pair of core protrusions; F - Ribreinforcement; G - Drive tumbler; H - Sprocket teeth; J - Outerrollers | |
176 | Portion of resilient belt overlaps core bar (e.g., roller engagement surface): |
| This subclass is indented under subclass 170. Apparatus wherein the area of the rigid member which supports the roller is embedded in the endless belt material. | |
177 | Including core bar reinforcement: |
| This subclass is indented under subclass 167. Apparatus wherein a plurality of spaced rigid members of uniform cross section are embedded extending transversely of the endless band. | |
178 | With integral grouser: | ||
| This subclass is indented under subclass 165. Apparatus including a plurality of stiffening members embedded
in the body of the endless belt extending transversely across the
width of the belt at least substantially at a right angle to the
longitudinal direction to implant transverse rigidity to the belt
and increase traction with the ground.
A - Belt track; B - Belt body of elastomeric material;C - Flat inner drive-contacting surface; D - Ground-contacting tractionsurface; E - Integral transverse grouser; F - Lateral belt raisedportion; G - Sprocket teeth openings SEE OR SEARCH THIS CLASS, SUBCLASS:
| |||
179 | With reinforcement in or at grouser formation: |
| This subclass is indented under subclass 178. Apparatus including a cast-in metal beam or a separate metal
beam or similar element provided adjacent the transverse rib portion
to further increase the strength of the traction belt in the area
of the grouser formation.
A - Transverse stiffener; B - Flexible track; C - Reinforcement;D - Stiffener perforations; E - Traction element; F - Transversetread bar; G - Track tensile; H - Transverse reinforcement sections;J - Drive means; K - Longitudinal groove; L, M - Tab with wear resistance surface;N - Track inner surface | |
180 | With removable lug or grouser: | ||||
| This subclass is indented under subclass 165. Apparatus including a plurality of separable or changeable
stiffening members extending transversely across the width of the
belt at least substantially at a right angle to the longitudinal direction
to impart transverse rigidity.
A - Flexible track; B - Reinforced rubber belt; C - Transversegrouser (removable); D - Skid contraction lug; E - Drive lugs SEE OR SEARCH THIS CLASS, SUBCLASS:
SEE OR SEARCH CLASS:
| |||||
181 | Grouser connects plural adjacent belts: |
| This subclass is indented under subclass 165. Apparatus wherein the stiffening member links together more
than one parallel endless bands in the transverse direction.
A - Endless track; B - Parallel rubber belts; C - Grouser barassembly; D - Inner belt surface; E - Opposed belt outer edges;F - Outer grouser bar member; G - Spaced belt inside edges; H -Grouser mounting means | |
182 | Including discrete connector to connect opposite belt ends: |
| This subclass is indented under subclass 165. Apparatus including a distinct element for joining the two distal ends of the continuous ground engaging band to create an endless loop. | |
183 | With connecting means for reinforcing elements: | ||||
| This subclass is indented under subclass 157. Apparatus including means for joining the adjacent ends
of elongated strengthening elements imbedded in nonmetallic parts
of the flexible track.
SEE OR SEARCH THIS CLASS, SUBCLASS:
SEE OR SEARCH CLASS:
| |||||
184 | With friction drive structure: | ||||||
| This subclass is indented under subclass 157. Apparatus wherein the belt configuration includes a motion
transmitting surface or surfaces for motion transmitting engagement
with a pulley or drive wheel by motion resisting contact with the
pulley or drive wheel.
SEE OR SEARCH CLASS:
| |||||||
185 | TRACKS OR TREADS: | ||||||
| This subclass is indented under the class definition. Apparatus comprising an annular band made either of a single
piece of flexible material or of a plurality of individual sections
movably connected together.
SEE OR SEARCH CLASS:
| |||||||
186 | Having master link: | ||||||
This subclass is indented under subclass 185. Apparatus wherein a pivotable connecting piece for connecting
the endless track shoes includes two-piece part, each piece part
being adapted to receive a pin and having a mating surface to couple
and interlock with that of the other piece part and wherein the
respective mating surfaces of the two pieces define a juncture of
the master track link and each has an interlocking contact surface,
these surfaces coacting to resist tensile force and thrust force exerted
on the connecting piece at the pin connection of each piece part.
SEE OR SEARCH CLASS:
| |||||||
187 | With detachable grouser for endless chain track: | ||||||||
| This subclass is indented under subclass 185. Apparatus including a separable lateral ground penetrating
cleat, stiffener, or projection for a continuous track for increasing
traction.
A - Track assembly; B - Link assemblies; C - Interconnectedlinks; D - Connector pin; E - Cylindrical bushing; F - Grouser plate;G - Track shoe; H - Mounting holes SEE OR SEARCH THIS CLASS, SUBCLASS:
SEE OR SEARCH CLASS:
| |||||||||
188 | Including additional locking means to eliminate stress concentration: |
| This subclass is indented under subclass 187. Apparatus including further distinct holding means or particular configuration of the separable ground-engaging cleat which receives force and prevents excessive force on the cleat-fastening means. | |
189 | Including nonmetallic part or component: | ||
| This subclass is indented under subclass 187. Apparatus including a pad or block made of high strength
rubber or other elastomeric material to reduce noise or vibration.
A - Grouser plate; B - Track (endless); C - Extended end connector (outboard side); D - End connector (inboard side); R - Flange portion;F - Grouser base portion; G - Grouser bracket; H - Bolt aperture;J - Nonmetallic block; K - Flotation plate SEE OR SEARCH CLASS:
| |||
190 | Reversible: |
| This subclass is indented under subclass 187. Apparatus wherein the grouser plate or the track shoe is
rearranged to provide a new and unused ground-engaging or sprocket
engaging bearing surfaces.
A - Connector pin; B - Bushing; C - Track link; D - Tracklink upper surface; E - Track link lower surface; F, G - Grouserplate with mounting bosser; H, J - Track shoes with mounting aperture;K - Fastening means; Note: Grouserplate F and truck shoe H are interchanged at surface E and D. | |
191 | Grouser structure, per se: | ||||
| This subclass is indented under subclass 187. Apparatus wherein the significance is attributed to the
shape or components of the projecting cleat or shoe.
A - Grouser bar; B - Base of the bar; C - Bolt apertures; D- Forward planner service; E - Rearward planner service; F - Elongatedtrack traction portion; G - Bearing surface; H - Curved edges; J- End surface SEE OR SEARCH THIS CLASS, SUBCLASS:
SEE OR SEARCH CLASS:
| |||||
192 | Specific material (e.g., hardness, welding, method of manufacture): | ||
| This subclass is indented under subclass 191. Apparatus wherein the significance is attributed to the
particular property or type of the basic matter from which the grouser
plate is made (e.g., resistance to cutting, indentation or abrasion,
process of making, process of joining the grouser plates).
SEE OR SEARCH CLASS:
| |||
193 | With guide means for interfitting with sprocket wheel or roller: | ||||||||
| This subclass is indented under subclass 185. Apparatus including a contrivance having a directing edge,
surface, channel, or projection placed face-to-face with the toothed
wheel or a hollow flanged drum or a device usually made of metal
and attached to the track shoe for engaging the drive wheel or the
idler wheels.
A, B - Lateral guide elements; C, D, E, F - Endless belt; G- Track bar; H - Cleat or projection; J - Flank coincides with driveroller flank; K - Drive roller; L - Drive roller flank
A - Guide assembly; B - Guide section; C - Drive section SEE OR SEARCH THIS CLASS, SUBCLASS:
SEE OR SEARCH CLASS:
| |||||||||
194 | Track wheel wear protection (e.g., track element protection): | ||
| This subclass is indented under subclass 193. Apparatus including usually a guard ring to serve as a guard
for the track tire against contact with the guide lugs and to protect
against the deterioration due to frictional contact.
A, B - Wheel rim; C - Tire; D, E, F - Wear protective rings;G - Guiding tooth; H - Track chain SEE OR SEARCH CLASS:
| |||
195 | Sprocket and track engagement: | ||||||||
| This subclass is indented under subclass 193. Apparatus wherein the cooperating interengaging means to
retain track and toothed wheel in position includes an inwardly
extending lug or guiding mandrel or guiding jaws adapted to be received
by the wheel tooth spaces.
A - Sprocket wheel; B - Endless track; C - Spaced aperture(for tooth); D - Sprocket tooth; E - Interconnected chain eye pieces;F - Underside of track plate; G - Projecting lugs; H - Groove tofit toothed width; J - Additional lugs (underside of track plate) SEE OR SEARCH CLASS:
| |||||||||
196 | Track formed of rigid links: | ||||||
| This subclass is indented under subclass 195. Apparatus wherein the continuous ground engaging band is
formed of inflexible components connected with each other by articulated joints
presenting profiled supporting surfaces to permit relative movement
of the components so that the band is capable of conforming to the curvature
of the sprocket drive face.
A - Rigid link; B - Traveling mechanism plate; C, D - Nonskidslipproof studs; E - Face engages with sprocket wheel tooth face;F - Recess to make link lighter
SEE OR SEARCH THIS CLASS, SUBCLASS:
SEE OR SEARCH CLASS:
| |||||||
197 | Having nonmetallic part or component (e.g., at area of engagement): | ||||||||
This subclass is indented under subclass 196. Apparatus including an impact pad or block made of rubber
or other elastomeric material to reduce noise, vibration, or wear
caused by the engagement of the sprocket and the inflexible components.
SEE OR SEARCH THIS CLASS, SUBCLASS:
SEE OR SEARCH CLASS:
| |||||||||
198 | Link or shoe structure, per se: |
| This subclass is indented under subclass 196. Apparatus wherein the significance is attributed to the
shape or configuration of the inflexible component or the traction
plate.
A - Track line; B - Connector pin bores; C - Removable vail;D, E - Weldments; F, G - Cross bores to avoid stress | |
199 | Sprocket wheel structure, per se: | ||
| This subclass is indented under subclass 195. Apparatus wherein the significance is attributed to the
shape or configuration of the toothed wheel.
A - Sprocket wheel rim; B, C, D - Wheel teeth; E - Reliefor vent openings; F - Openings to reduce weight SEE OR SEARCH CLASS:
| |||
200 | Track formed of rigid links: | ||||||
| This subclass is indented under subclass 193. Apparatus wherein the continuous band for vehicle having
a drive wheel or roller consists of a plurality of individual inflexible
components located adjacent to one another and forming a broad band
and being held together at short distances from one another by transverse ribs
or plates.
A - Endless belt tread; B - Link chain; C - Transverse treadplate; D - Alternate links; E - Grooves for tread plate; F - Connectorlinks; G - Semicylindrical guide members; H - Grouser or projectingcleat; T1, T2 - Drive wheels or drive rollers SEE OR SEARCH THIS CLASS, SUBCLASS:
SEE OR SEARCH CLASS:
| |||||||
201 | Link or shoe structure, per se: | ||||
| This subclass is indented under subclass 200. Apparatus wherein the significance is attributed to the
shape or configuration of the inflexible component or the traction
plate.
A - Link pin; B - Link; C - Sleeve; D - Threaded plug;E - Shoe; F - Shoe guide; G - Tire or wheel SEE OR SEARCH THIS CLASS, SUBCLASS:
SEE OR SEARCH CLASS:
| |||||
202 | Separate transverse connector pin between treads: | ||||||||||||||||||
| This subclass is indented under subclass 185. Apparatus wherein the joint between the track shoes includes
a cylindrical element engaging adjacent shoes and extending horizontally
to the direction of travel of the track.
A, B, C - (Inside-Outside) Link members; D, E - Intermediatelink members; F - Transverse connector pin; G - Sleeve or bushing SEE OR SEARCH THIS CLASS, SUBCLASS:
SEE OR SEARCH CLASS:
| |||||||||||||||||||
203 | Including nonmetallic part or component: | ||
| This subclass is indented under subclass 202. Apparatus wherein the cylindrical element includes as a
component thereof an element made of an elastomeric material.
SEE OR SEARCH THIS CLASS, SUBCLASS:
| |||
204 | Including additional locking member for retaining link connectors (e.g., pin connectors): | ||||||
| This subclass is indented under subclass 202. Apparatus further including a connecting device such as
a clamp for joining adjacent connecting pins.
A -Link connector pin; B, C, D, E - Clamps; F - Locking screw;G - Drive wheel; H - Path of travel SEE OR SEARCH CLASS:
| |||||||
CROSS-REFERENCE ART COLLECTIONS
900 | MASTER LINK: |
| Cross reference art collection drawn to links used to join the free ends of, and thereby complete the formation of, an endless track. | |
![[Search a list of Patent Appplications for class 305]](../as.gif)
![[List of Patents for class 305 subclass 1]](../ps.gif)









































NOTE: End wheel moves vertically (shownby dotted line)
" >





































