SECTION I - CLASS DEFINITION
This class relates to the broad art of digging, moving, and
handling material. This class includes method or apparatus for the
removal of a tree, stone, soil, or snow from an in situ location,
either on the earth"s surface or beneath a body of water.
GENERAL NOTE: Wherever the drawings in this class (37) are
associated with the definitions, they are merely used to illustrate
the basic concept encompassed by the definition of that subclass
and should not be construed as limiting the scope of the subject
matter covered by that subclass.
SECTION II - LINES WITH OTHER CLASSES AND WITHIN THIS CLASS
The classes in References to Other Classes, below, contain
art relating to this class, but special in application. Hence patents
properly classifiable in those classes would be excluded from this
class (37).
SECTION III - REFERENCES TO OTHER CLASSES
SEE OR SEARCH CLASS:
| 15, | Brushing, Scrubbing, and General Cleaning, for art relating to Class 37, but special in application. |
| 44, | Fuel and Related Compositions, for art relating to Class 37, but special in application. |
| 56, | Harvesters, for art relating to Class 37, but special in application. |
| 104, | Railways, for art relating to Class 37, but special in application. |
| 111, | Planting, for art relating to Class 37, but special in application. |
| 125, | Stone Working, for art relating to Class 37, but special in application. |
| 166, | Wells, for art relating to Class 37, but special in application. |
| 171, | Unearthing Plants or Buried Objects, for art relating to Class 37, but special in application. |
| 172, | Earth Working, for the relationship between Class and Class 37
see the Class Definition of Class 172, Lines with Other Classes, "Subject Matter
Relating To Snow Removal, To Working The Earth For Industrial Purposes,
etc." and also the Search Class Notes. |
| 175, | Boring or Penetrating the Earth, for art relating to Class 37, but special in application.
and for the line between Class 37 and Class 175, see the class definition
of Class 175, Lines With Other Classes, "Tools," and
References to Other Classes. |
| 198, | Conveyors: Power-Driven, for art relating to Class 37, but special in application. |
| 209, | Classifying, Separating, and Assorting Solids, for art relating to Class 37, but special in application. |
| 210, | Liquid Purification or Separation,
subclass 170.04 for liquid purification or separation means for
excavating means. |
| 212, | Traversing Hoists, for art relating to Class 37, but special in application. |
| 241, | Solid Material Comminution or Disintegration, for art relating to Class 37, but special in application,
and see the class definition of that class, Lines With Other Classes,
Material Handling, Excavating, Distributing, Harvesting and References
to Other Classes for the line. |
| 294, | Handling: Hand and Hoist-Line Implements, for art relating to Class 37, but special in application. |
| 299, | Mining or In Situ Disintegration of Hard Material, for art relating to Class 37, but special in application,
and see the class definition of Class 299, References To Other Classes,
for the line. |
| 406, | Conveyors: Fluid Current, for art relating to Class 37, but special in application. |
| 366, | Agitating, for art relating to Class 37, but special in application. |
| 404, | Road Structure, Process, or Apparatus, for art relating to Class 37, but special in application. |
| 405, | Hydraulic and Earth Engineering, for art relating to Class 37, but special in application. |
| 414, | Material or Article Handling, for art relating to Class 37, but special in application. |
SECTION IV - GLOSSARY
APRON
This device is the pivotally mounted front covering for
a scoop adapted to pivot to an open position when loading and unloading
and to a closed position when holding and transporting material.
BACKHOE
This is a material handling machine which includes a boom
pivoted to a vehicle, a handle or dipstick pivoted to the boom,
and bucket or scoop pivoted to the dipstick with the open top of
the bucket facing back toward the vehicle.
BOOM
This is a device comprising an elongated beam adapted to
project from an excavating device for the purpose of supporting
the excavating equipment and wherein the device is normally pivoted
to a support.
BOWL
This device is a portion of a scoop which holds and carries
the excavated material during transport. The scoop portion can be
adapted to be used in connection with an apron, elevator, or ejector.
CLAMSHELL
This device is an excavating or handling tool having
two similar jaws which close upon material for excavating and open
for dumping.
DREDGE
This is a machine for excavating material at the bottom or
the banks of a body of water.
EARTH
This term is applied to the fragmental material composing
part of the surface of the globe.
GROUND
This term is applied to the solid surface of the earth
or the floor of a body of water, especially a sea, river, or lake.
ORANGE-PEEL
This implement comprises an excavating tool having two
hemispherical jaws which close upon material for excavating and
open when dumping.
SPUD
In a dredge, this is an elongated member provided with
a lifting tackle at the top and fused to hold or remove the dredge
by contact with the earth.
SUBCLASSES
3 | PEAT EXCAVATORS: |
| | This subclass is indented under the class definition. Devices for excavating peat.
| | (1)
Note. Compare Class 44, Fuel and Related Compositions, subclasses
630+. |
SEE OR SEARCH CLASS:
| 172, | Earth Working,
subclass 19 for sod cutters. |
| 299, | Mining or In Situ Disintegration of Hard Material, appropriate subclass for subject matter relating
to the mining of coal. |
|
| | |
92 | Longitudinal axis: |
| | This subclass is indented under subclass 91. Apparatus wherein the axis of the digging wheel extends
longitudinally of the ditch.
| | (1)
Note. Compare this class, subclasses 209+, 244+,
and 331. | |
| | |
93 | Conveyor: |
| | This subclass is indented under subclass 92. Apparatus wherein the excavator delivers to a conveyor. |
| | |
94 | Transverse axis: |
| | This subclass is indented under subclass 91. Apparatus wherein the axis of the excavator extends across
the axis of the ditch. |
| | |
95 | Conveyor: |
| | This subclass is indented under subclass 94. Apparatus wherein the excavator delivers to a conveyor. |
| | |
104 | RAILWAY GRADERS: |
| | This subclass is indented under the class definition. Devices forming the bed or slopes of a railway.
| | (1)
Note. Compare this class, subclasses 353+. |
| | (2)
Note. Compare Class 104, Railways, subclass 2. | |
| | |
106 | Scoop: |
| | This subclass is indented under subclass 105. Devices wherein the earthworking implement is some form
of scoop or shovel. |
| | |
142.5 | DITCH FILLER: |
| | This subclass is indented under the class definition. Apparatus which is specially adapted to place earth in a
ditch.
SEE OR SEARCH THIS CLASS, SUBCLASS:
| 395, | for a cable-operated boom-type scraper or the like
adapted to place earth in a ditch. |
|
| | |
182 | ORANGE-PEEL BUCKETS: |
| | This subclass is indented under the class definition. Apparatus comprising grab buckets having more than two grapples. |
| | |
184 | Common pivot: |
| | This subclass is indented under subclass 461. Subject matter wherein each side grapple has a common pivot
on which they are hinged together. |
| | |
185 | Crossed lever: |
| | This subclass is indented under subclass 184. Subject matter wherein the operating levers extend from
each shell and cross each other at the common pivot. |
| | |
188 | Link-connected: |
| | This subclass is indented under subclass 461. Subject matter wherein the shells are connected indirectly
to the support by means of links. |
| | |
189 | ROTARY DIGGER: |
| | This subclass is indented under the class definition. General miscellaneous subclass with the rotary excavators.
| | (1)
Note. Compare this class, subclasses 209+, 238, 242+,
244+, 326+, 350+, 351, 355, and 357. |
| | (2)
Note. Compare Class 198, Conveyors: Power-Driven, subclass
9. |
SEE OR SEARCH CLASS:
| 175, | Boring or Penetrating the Earth, appropriate subclasses for a rotary tool for boring into
the earth and particularly
subclasses 327+ for a rotary type bit or bit element adapted for boring
into the earth. |
| 299, | Mining or In Situ Disintegration of Hard Material, appropriate subclass, and particularly
subclass 101 and see the search notes therein for a rotary type
cutter for mining or disintegrating hard material in situ. |
|
| | |
195 | PROCESSES: |
| | This subclass is indented under the class definition. Methods of excavating.
SEE OR SEARCH THIS CLASS, SUBCLASS:
| 197, | for a method of excavating snow. |
SEE OR SEARCH CLASS:
| 175, | Boring or Penetrating the Earth,
subclasses 57+ for processes of earth boring. |
|
| | |
196 | SNOW OR ICE REMOVING OR GROOMING BY PORTABLE DEVICE: |
| | This subclass is indented under the class definition. Subject matter relating to either (a) a process of clearing
snow or ice from a surface, or preparing snow or ice for passage
thereover, by the use of the movable excavating apparatus; or (b)
the excavating apparatus or a component part thereof. |
| | |
197 | Process: |
| | This subclass is indented under subclass 196. A method including steps performed when either clearing
the surface or preparing the snow or ice. |
| | |
199 | With melter: |
| | This subclass is indented under subclass 198. Apparatus including means for changing the excavated snow
or ice from its solid state to a liquid state.
SEE OR SEARCH THIS CLASS, SUBCLASS:
| 227, | for a general purpose snow excavator with melter,
and see search notes therein for reference to other classes. |
|
| | |
200 | Heated plow: |
| | This subclass is indented under subclass 199. Apparatus including a transversely extending, generally
vertically disposed moldboard, wherein heat is supplied to the moldboard. |
| | |
201 | Explosive: |
| | This subclass is indented under subclass 198. Apparatus including means for blasting through snow or ice
with an explosive. |
| | |
203 | For clearing single rail of set: |
| | This subclass is indented under subclass 198. Apparatus wherein the trackway includes a plurality of rails,
and including an implement adapted to remove snow or ice from an
individual rail of the plurality.
| | (1)
Note. There may be a plurality of implements, each removing
snow or ice from a different rail. |
SEE OR SEARCH CLASS:
| 104, | Railways,
subclasses 279+ for a device which clears a track of material other
than snow or ice. |
|
| | |
204 | Electrified rail: |
| | This subclass is indented under subclass 203. Apparatus including an implement adapted to remove snow
or ice from a rail which carries electricity. |
| | |
210 | Plural rotary tools: |
| | This subclass is indented under subclass 209. Apparatus wherein a plurality of implements is carried either
by a plurality of rotary shafts, each carrying an implement, or
by a single rotary shaft. |
| | |
212 | And V-shaped scraper blade: |
| | This subclass is indented under subclass 210. Apparatus including a generally vertically disposed moldboard
having two working faces angled relative to one another about a
generally vertical axis, diverging from an apex to ends on opposite
sides of the apparatus.
| | (1)
Note. The working faces have a V-configuration in plain view. | |
| | |
213 | Screw-type auger: |
| | This subclass is indented under subclass 209. Apparatus wherein the implement comprises a helical vane
means arranged to rotate upon its axis. |
| | |
215 | Inclined plane with V-divider: |
| | This subclass is indented under subclass 214. Apparatus wherein the moldboard includes a pair of working
faces angled relative to one another about a generally vertical
axis, the moldboard being carried by a substantially horizontal
base plate sloping upwardly from its leading edge. |
| | |
217 | V-shaped: |
| | This subclass is indented under subclass 214. Apparatus wherein the moldboard includes a pair of working
faces angled relative to one another about a generally vertical
axis, diverging from an apex to ends on opposite sides of the apparatus.
| | (1)
Note. The working faces have a V-configuration in plain view. | |
| | |
218 | Diagonal: |
| | This subclass is indented under subclass 214. Apparatus wherein the moldboard is obliquely angled about
a generally vertical axis relative to its intended direction of
motion. |
| | |
219 | Snow or ice surface groomer: |
| | This subclass is indented under subclass 196. Apparatus adapted to prepare a layer of snow or ice for
use as a support surface.
| | (1)
Note. The layer may be prepared for use as a ski trail, a
snowmobile trail, an ice-skating rink, etc. |
SEE OR SEARCH CLASS:
| 62, | Refrigeration, appropriate subclass for or ice-making apparatus. |
| 104, | Railways,
subclass 136 for sledways having an ice track. |
| 299, | Mining or In Situ Disintegration of Hard Material,
subclasses 24+ for ice-harvesting devices. |
| 404, | Road Structure, Process, or Apparatus,
subclasses 90+ for road-building apparatus with means for in situ
comminution of surface material. |
|
| | |
224 | Compacting roller: |
| | This subclass is indented under subclass 223. Apparatus wherein the tool is a cylindrical member adapted
to roll over and compress the layer of snow or ice. |
| | |
225 | With compressor die: |
| | This subclass is indented under subclass 196. Apparatus including a device for compacting and molding
the excavated snow or ice.
| | (1)
Note. An example of apparatus found herein is one wherein
snow is excavated and subsequently pressed into a given shape and
size. |
SEE OR SEARCH CLASS:
| 100, | Presses, appropriate subclass for a compressor die, per se. |
|
| | |
226 | And heater: |
| | This subclass is indented under subclass 225. Apparatus including means for adding heat to the snow or
ice.
SEE OR SEARCH CLASS:
| 100, | Presses,
subclasses 92+ for a compressor die with heater, per se. |
|
| | |
227 | With melter: |
| | This subclass is indented under subclass 196. Apparatus including a means for changing the excavated snow
or ice from it solid state to a fluid state.
SEE OR SEARCH CLASS:
| 56, | Harvesters,
subclass 12.2 for a motorized harvester using heat form the engine. |
| 126, | Stoves and Furnaces,
subclasses 271.1+ for in situ melting by a surface heater; and subclass
343.5 for a melting furnace, per se. |
| 239, | Fluid Sprinkling, Spraying, and Diffusing,
subclasses 650+ for a scatterer for a solid material which causes melting. |
| 252, | Compositions,
subclass 70 for a material which causes in situ melting of snow
or ice. |
| 299, | Mining or In Situ Disintegration of Hard Material,
subclasses 3+ for the in situ conversion from solid to fluid of
a material within the earth. |
| 404, | Road Structure, Process, or Apparatus,
subclasses 77 and 79 for a method for building a road with material
other than ice or snow, wherein the material is heated; and subclass
95 for apparatus for building a road with material other than ice
or snow, wherein the material is heated. |
|
| | |
230 | Manually powered: |
| | This subclass is indented under subclass 227. Apparatus wherein a human being provides the power to either
move or operate the heated excavator. |
| | |
232 | Vehicle mount with obstacle responsive trip, or yieldable
tool (e.g., brush): |
| | This subclass is indented under subclass 196. Apparatus wherein either (a) means is provided for attaching
an excavating implement to a vehicle, including means permitting
the implement to shift with respect to the vehicle when it contacts
an obstacle or (b) an excavating implement itself includes a portion
which yields when it contacts an obstacle.
SEE OR SEARCH CLASS:
| 56, | Harvesters,
subclass 10.4 for a harvester having a cutter unit which retracts
in response to an obstruction. |
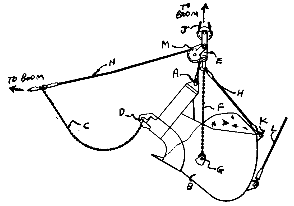
| 172, | Earth Working,
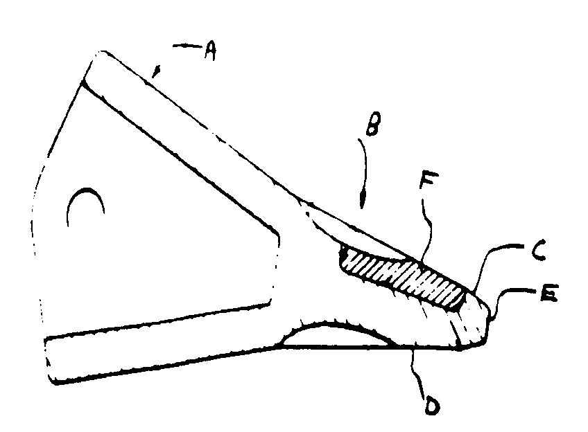
subclasses 261+ for an earthworking tool which retracts in response
to an overload. |
|
| | |
233 | Resilient impeller or blade: |
| | This subclass is indented under subclass 232. Apparatus including either a van means carried by a shaft,
or a moldboard, which contains either an elastically deformable
portion or a plurality of segments mounted elastically relative
to one another. |
| | |
234 | Including specific hydraulic control system to position
implement: |
| | This subclass is indented under subclass 196. Apparatus wherein adjustment of an excavating implement
relative to a carrying means is performed by a control system which
incorporates fluid circuitry and includes means for producing or
controlling fluid pressure within the system.
SEE OR SEARCH CLASS:
| 91, | Motors: Expansible Chamber Type, appropriate subclass for a hydraulic motor, per
se. |
| 172, | Earth Working,
subclass 812 for an hydraulic system controlling an earthworking
blade. |
|
| | |
235 | Vehicle mount including power lift: |
| | This subclass is indented under subclass 196. Apparatus including means to connect an excavating implement
to a vehicle, and a power system for vertically moving the implement.
| | (1)
Note. The purpose of the power system might be either to adjust
the excavating height of the implement, or to raise the implement
for transporting it. |
SEE OR SEARCH CLASS:
| 172, | Earth Working,
subclasses 452+ for power means to lift an earthworking implement
for transporting; and subclasses 828+ for power means to
lift an earthworking blade. |
|
| | |
237 | With endless conveyor: |
| | This subclass is indented under subclass 196. Apparatus including a closed loop, belt or chain-type conveying
means.
SEE OR SEARCH THIS CLASS, SUBCLASS:
| 305, | for a self-loading vehicle, other than a snow or
ice excavating apparatus, which includes an endless conveyor. |
SEE OR SEARCH CLASS:
| 172, | Earth Working,
subclass 33 for earthworking apparatus including a power driven,
endless conveyor. |
| 198, | Conveyors: Power-Driven, appropriate subclass for an endless conveyor, per
se. |
|
| | |
239 | Multistage conveyors: |
| | This subclass is indented under subclass 237. Apparatus including a plurality of various closed loop conveying
means, the various means each adapted to accomplish a different step
in the excavating process. |
| | |
241 | Combined or convertible: |
| | This subclass is indented under subclass 196. Apparatus having means associated therewith for performing
some function, normally the subject matter of another class, in
addition to the basic operation of excavation; or which can by an
adjustment, addition, removal, or reassembly of one or more of its
parts become basic subject matter or another class. |
| | |
243 | Lawnmower: |
| | This subclass is indented under subclass 242. Apparatus combined with, or convertible to, apparatus adapted
to cut grass. |
| | |
248 | Diverse multistage rotary tools or tool portions (e.g.,
feeding and throwing, etc.): |
| | This subclass is indented under subclass 244. Apparatus including either a plurality of differently configured
rotary implements, or a rotary implements having a plurality of
a differently configured sections, the implements or sections adapted
to accomplish various steps in the process of excavating snow or
ice.
| | (1)
Note. An example of the apparatus found in this subclass and
its indents comprises a first rotary implement feeding snow to a
second rotary implement, which throws the snow and away from the apparatus. | |
| | |
249 | Including screw-type auger for first stage: |
| | This subclass is indented under subclass 248. Apparatus wherein the implement or section adapted to accomplish
the primary step comprises a helical vane means arranged to rotate upon
its axis.
SEE OR SEARCH CLASS:
| 406, | Conveyors: Fluid Current,
subclasses 53+ for a general purpose, fluid current conveyor cooperating
with a driven screw-type conveyor. |
|
| | |
253 | Fed by scraper blade: |
| | This subclass is indented under subclass 244. Apparatus wherein snow or ice is directed to the rotating
implement by a transversely extending, generally vertically disposed
moldboard.
SEE OR SEARCH THIS CLASS, SUBCLASS:
| 267+, | for a scraper blade, per se. |
|
| | |
257 | Screw-type auger: |
| | This subclass is indented under subclass 244. Apparatus wherein the implement comprises a helical vane
means arranged to rotate upon its axis.
SEE OR SEARCH CLASS:
| 198, | Conveyors: Power-Driven,
subclasses 657+ for a screw-type conveyor, per se. |
|
| | |
259 | Centrifugal impeller: |
| | This subclass is indented under subclass 244. Apparatus wherein the implement includes a generally radially
projecting vane means adapted to transport snow or ice by centrifugal force. |
| | |
260 | Having specific flow guide: |
| | This subclass is indented under subclass 244. Apparatus wherein significance is attributed to a guide
means adapted to control the flow path of snow or ice being discharged
from the apparatus.
| | (1)
Note. A guide means found herein generally comprises either
a chute or a deflector shield. |
SEE OR SEARCH CLASS:
| 193, | Conveyors, Chutes, Skids, Guides, and Ways,
subclasses 2+ for a chute, per se. |
| 198, | Conveyors: Power-Driven,
subclasses 640 and 641 for a chute or deflector controlling discharge
from a throwing conveyor for general use. |
|
| | |
261 | Having motor powered adjustment: |
| | This subclass is indented under subclass 260. Apparatus wherein the flow guide can be adjusted by a mechanical
power means.
| | (1)
Note. Adjustment of the guide means functions to change the
discharge flow path. | |
| | |
263 | Tool prepares wheel path for passage of wheel: |
| | This subclass is indented under subclass 196. Apparatus having an implement adapted to be attached at
one side of a vehicle, wherein the implement clears only a path
at the one side.
| | (1)
Note. The implement may be duplicated on the other side of
the vehicle. |
SEE OR SEARCH THIS CLASS, SUBCLASS:
| 203+, | for a railway clearer including an implement adapted
to clear only one rail of a plurality. |
SEE OR SEARCH CLASS:
| 172, | Earth Working,
subclass 833 for an earthworking scraper blade which prepares
a wheel path for passage of the wheel. |
|
| | |
264 | Scoop: |
| | This subclass is indented under subclass 196. Apparatus having an excavating implement which includes
a bottom enclosed upon three sides by vertically extending walls
and an open fourth side at its front.
SEE OR SEARCH THIS CLASS, SUBCLASS:
| 304+, | for a general purpose self-loading vehicle. |
| 403+, | for a general purpose scraper convertible to a scoop. |
| 411+, | for a general purpose excavating scoop, per se. |
|
| | |
265 | Manually powered: |
| | This subclass is indented under subclass 264. Apparatus wherein a human being provides the power to move
or operate the scoop.
SEE OR SEARCH CLASS:
| 294, | Handling: Hand and Hoist-Line Implements,
subclass 54.5 for a hand-operated snow shovel which
may have relatively abbreviated lips on three sides and subclass
176 for a general purpose hand-operated scoop. |
|
| | |
266 | Scraper blade: |
| | This subclass is indented under subclass 196. Apparatus including a transversely extending, generally
vertically disposed moldboard which has a working face fixed to
a carrying means, adapted to deflect or push snow from
the surface to be cleared, and a cutting edge at the base
of the working face adapted to scrape snow from a surface and feed
it to the working face.
SEE OR SEARCH THIS CLASS, SUBCLASS:
| 446+, | for a cutting edge, per se, adapted
to be fixed to a scoop. |
SEE OR SEARCH CLASS:
| 172, | Earth Working,
subclasses 701.1+ for an earthworking moldboard, per se; subclasses
781+ for an earthworking moldboard mounted intermediate
to the front and rear of a vehicle; and subclasses 810+ for
an earthworking moldboard mounted on the front of a vehicle. |
|
| | |
267 | Invertible: |
| | This subclass is indented under subclass 266. Apparatus wherein the moldboard can be reversed top to bottom.
| | (1)
Note. Reversing the moldboard in this manner makes
it possible to use either the upper or lower edge of the moldboard
as a cutting edge. |
SEE OR SEARCH CLASS:
| 172, | Earth Working,
subclass 34 for an earthworking implement which is adapted
to be used upside down. |
|
| | |
268 | Pulled (e.g., by horse
or vehicle): |
| | This subclass is indented under subclass 266. Apparatus including a moldboard adapted to be drawn by a
propelling means.
SEE OR SEARCH CLASS:
| 172, | Earth Working,
subclass 684.5 for a frame supported, earthworking blade drawn
by a vehicle; and subclass 799.5 for a towed earthworking
blade with ground support wheels. |
|
| | |
269 | V-shaped: |
| | This subclass is indented under subclass 268. Apparatus wherein the moldboard includes a pair of working
faces angled relative to one another about a generally vertical
axis and diverging from an apex to ends on opposite sides of the
apparatus.
| | (1)
Note. The working faces have a V-configuration
in plan view. | |
| | |
270 | Mounted on surface contacting support or guide: |
| | This subclass is indented under subclass 266. Apparatus having auxiliary means attached to the moldboard
for either supporting it upon the surface, or giving it
direction.
| | (1)
Note. The support or guide may comprise either a
skid or a wheel. |
SEE OR SEARCH CLASS:
| 172, | Earth Working,
subclass 832 for an earthworking scraper blade carrying ground
support means. |
|
| | |
272 | V-shaped: |
| | This subclass is indented under subclass 266. Apparatus wherein the moldboard includes a pair of working
faces angled relative to one another about a generally vertical
axis and diverging from an apex to ends on opposite sides of the
apparatus.
| | (1)
Note. The working faces have a V-configuration
in plan view. |
SEE OR SEARCH CLASS:
| 172, | Earth Working,
subclasses 732 and 733 for a triangular or V-shaped blade for
earthworking. |
|
| | |
273 | Adjustable or collapsible apex: |
| | This subclass is indented under subclass 272. Apparatus wherein the angle of divergence is adapted to
be varied.
| | (1)
Note. The angle might be varied either to change
the angle of attack of the working faces when in use, or
to facilitate storage of the plow. | |
| | |
274 | And auxiliary wing or extension: |
| | This subclass is indented under subclass 272. Apparatus including an additional moldboard-like
element.
SEE OR SEARCH THIS CLASS, SUBCLASS:
| 104, | for an apparatus for forming a railway slope. |
SEE OR SEARCH CLASS:
| 172, | Earth Working,
subclass 782 for a road grader with a laterally offset, inclined
shoulder forming blade; subclasses 786+ for a
road grader having plural blades; and subclass 815 for
a bulldozer having plural blades. |
|
| | |
275 | Top flap: |
| | This subclass is indented under subclass 274. Apparatus wherein the auxiliary wing or extension is a moldboard
like element adapted to be attached adjacent and parallel to the
top edge of its primary moldboard.
| | (1)
Note. A common function of a top flap is to prevent
snow or ice from blowing over the plow. | |
| | |
276 | Diverging forwardly: |
| | This subclass is indented under subclass 272. Apparatus wherein, when the moldboard is moving
in its intended direction for use, the apex follows the
working faces. |
| | |
279 | Diagonally oriented: |
| | This subclass is indented under subclass 266. Apparatus wherein the moldboard is obliquely angled about
a generally vertical axis relative to the intended direction of
motion. |
| | |
280 | Including side gate discharge preventer: |
| | This subclass is indented under subclass 279. Apparatus including an element which can be moved into a
position adjacent and substantially perpendicular to the working
face to selectively act as a barrier preventing discharge of excavated
snow from the moldboard. |
| | |
281 | And auxiliary wing or extension: |
| | This subclass is indented under subclass 279. Apparatus including an additional moldboard-like
element.
SEE OR SEARCH THIS CLASS, SUBCLASS:
| 104, | for an apparatus for forming a railway slope. |
SEE OR SEARCH CLASS:
| 172, | Earth Working,
subclass 782 for a road grader with a laterally off-set inclined
shoulder forming blade; subclasses 786+ for a
road grader having plural blades; and subclass 815 for
a bulldozer having plural blades. |
|
| | |
283 | Adjustable about central vertical hinge: |
| | This subclass is indented under subclass 279. Apparatus including means for attaching the moldboard to
carriage, the means comprising a pivotal connection having
a generally vertical axis at the longitudinal midpoint of the moldboard, about
which the mold board can be angularly adjusted.
SEE OR SEARCH CLASS:
| 172, | Earth Working,
subclasses 792+ and 820+ for an earthworking blade which is
adjustable about a central, vertical axis. |
|
| | |
300 | GRAVE DIGGER: |
| | This subclass is indented under the class definition. Apparatus including means to penetrate the ground and remove
earth to form a cavity in the ground for receiving a casket or corpse
to be buried therein.
SEE OR SEARCH CLASS:
| 198, | Conveyors: Power-Driven,
subclasses 300+ for a conveying apparatus entirely supported by
mobile ground engaging means. |
|
| | |
301 | LAND CLEARER: |
| | This subclass is indented under the class definition. Apparatus including means to penetrate the ground to loosen, lift, or
remove earth from the ground containing tree, brush, stone, stump, or
similar material.

A - Blade, B - Brush; S - Stump; T - Diggingtooth; R - Stone
| | (1)
Note. Apparatus for cutting roots below ground for
removal of the tree, brush, or stump is proper
for this subclass. |
SEE OR SEARCH CLASS:
| 30, | Cutlery, for a randomly manipulated implement or machine for cutting
a tree above the ground, especially
subclasses 166.3+ for a saw, particularly subclass 379.5
for a vehicle mounted, randomly manipulated saw. |
| 47, | Plant Husbandry,
subclasses 73+ for a plant receptacle for facilitating transplanting
of a live plant, e.g., tree. |
| 56, | Harvesters,
subclasses 400.01+ for a hand manipulated stone rake. |
| 102, | Ammunition and Explosives,
subclasses 301+ for subject matter for removing a stump by use
of an explosive. |
| 111, | Planting,
subclass 101 for an excavating transplanter. |
| 144, | Woodworking,
subclasses 34.1+ for a machine for cutting a tree for timber purposes; subclass
334 for a stump removing process which does not include excavation; subclasses
335+ for timber harvesting or processing. |
| 172, | Earth Working,
subclasses 681+ for plows adapted for cutting roots and incidentally
loosening or lifting them, especially subclass 698 for
an earth working tool with two standards which may cut roots as
it passes through the earth. |
| 198, | Conveyors: Power-Driven,
subclasses 506+ for hoisting stone or stump. |
| 212, | Traversing Hoists,
subclasses 76+ for hoisting stone or stump. |
| 254, | Implements or Apparatus for Applying Pushing or
Pulling Force,
subclasses 199+ for apparatus for extracting stump. |
| 294, | Handling: Hand and Hoist-line
Implements,
subclasses 49+ for a hand fork or shovel; subclasses
82.1+ for a hoist line and grab hook. |
|
| | |
302 | Tree or stump remover: |
| | This subclass is indented under subclass 301. Apparatus (a) for permanently withdrawing
a relatively large wooded elongated perennial plant having a single
main stem from the earth or (b) for withdrawing
a lower portion of such plant from which the upper portion has been removed.

A (left) = Blade; B (left) = Diggingtooth; C (left) = Tree--A (right) = Stump; B (right) = Boomorcrane; C (right) = Digging tool
SEE OR SEARCH CLASS:
| 111, | Planting,
subclasses 100+ for an implement having means to hold or guide
a plant into the ground. |
| 144, | Woodworking,
subclasses 2.1+ , 34.1+, 334, and
335+ for a stump grinder. |
| 172, | Earth Working,
subclasses 681+ for plows adapted for cutting roots and incidentally
loosening or lifting them, especially subclass 698 for
an earth working tool with two standards which may cut roots as
it passes through the earth. |
| 254, | Implements or Apparatus for Applying Pushing or
Pulling Force,
subclasses 199+ for apparatus for extracting stump. |
| 414, | Material or Article Handling,
subclass 23 , for subject matter which includes a device
used for removing, transporting, or transplanting
a tree but does not include a digging tool for breaking soil or
cutting roots. |
|
| | |
303 | Stone remover: |
| | This subclass is indented under subclass 301. Apparatus having at least one tine, hook, or similar
implement especially adapted for removing a piece of rock from the
earth.

s = Stone; a,b,c,d,e = Variouspositionsof the digging tool
SEE OR SEARCH CLASS:
| 56, | Harvesters,
subclasses 400.01+ for a hand manipulated stone rake. |
| 171, | Unearthing Plants or Buried Objects,
subclasses 63+ for stone gathering or unearthing by impelling
a plant or object portion above the ground. |
| 172, | Earth Working,
subclasses 63+ for a nondriven earth working tool (e.g., plow, harrow, scraper, or
knife). |
|
| | |
304 | SELF-LOADING VEHICLE: |
| | This subclass is indented under the class definition. Apparatus including a digging tool and an earth holding
container which are separately mounted on the same vehicle, wherein
the digging tool is either manipulated to place dug earth in the
container or directs the earth to an intermediate element (e.g., a
conveyor) which places the dug earth in the container.

A = Container; B = Boom andmeans forloading (e.g., conveyor); C = Excavating
buckets with diggingedge
| | (1)
Note. If the apparatus is so constructed that the
earth receiving container on the vehicle actually takes part in
the digging such as by engaging the earth with a leading edge, then
the apparatus is a scoop-type excavator. |
SEE OR SEARCH THIS CLASS, SUBCLASS:
| 104+, | for a self-loading railway grader (e.g., ballast
machine). |
| 411+, | for a scoop-type excavator. |
SEE OR SEARCH CLASS:
| 172, | Earth Working,
subclasses 811+ for a scraper without a bottom (e.g., a
bulldozer) to hold earth. |
| 198, | Conveyors: Power-Driven,
subclasses 701+ for a bucket-type load engaging and conveying
means. |
| 414, | Material or Article Handling,
subclasses 467+ for a vehicle having a load receiving and transporting
portion and handling means carried by such vehicle. |
|
| | |
305 | Having endless digger or conveyor: |
| | This subclass is indented under subclass 304. Apparatus including a continuous feeder belt used to either
dig the earth from the ground or remove earth from the digging tool
for delivery to a container.
" >
A = Container for dug earth; B = Diggingscoopor bowl with cutter blade; C = Endless conveyor
SEE OR SEARCH THIS CLASS, SUBCLASS:
| 237+, | for snow or ice removing device having an endless
conveyor. |
| 462+, | for an endless digger including conveyor not used
in conjunction with a container. |
SEE OR SEARCH CLASS:
| 198, | Conveyors: Power-Driven,
subclasses 300+ for a load conveyor or conveyor system supported
upon a wheeled carrier; subclasses 506+ for a conveyor
section with means to gather or remove material from a mound or pile; subclasses
701+ wherein the load-engaging and conveying section comprises
structure in the form of a bucket. |
| 414, | Material or Article Handling,
subclass 398 for a driven-type conveyor for moving
a load onto or into a wheeled-type vehicle; subclasses 507+ for
a vehicle which carries a conveyor for loading or unloading. |
|
| | |
306 | Elevating wheel: |
| | This subclass is indented under subclass 304. Apparatus including a rotating circular frame having digging
elements used to either dig the earth from the ground or remove
earth from the digging tool for delivery to a container.

A - Elevating wheel; B - Wheelhub; C - Digging element;D - Digging
edge; E - Vehicle wheel
SEE OR SEARCH CLASS:
| 171, | Unearthing Plants or Buried Objects,
subclasses 63+ for apparatus for collecting small stones resting
on or partially embedded in the ground which may be driven by a
tractor wheel. |
| 414, | Material or Article Handling,
subclasses 439+ for a ground wheel-driven load-handling
means. |
|
| | |
307 | BENEATH A BODY OF WATER (E.G., DREDGER): |
| | This subclass is indented under the class definition. Apparatus especially adapted to excavate material under
a mass of liquid such as a sea, lake, river, or
stream.
" >
A - Cutter; B - Ladder; C - Suctionpipe; D - Hull; E - Pontoon;F - Spud; G - Cutter
motor; H - Pump; J - Pump motor; K - Dredgedbottom
| | (1)
Note. Class 37 includes a dredger which selectively
picks up material (e.g., by
a screen in the intake of a suction nozzle). But
a dredger means to pick up material and subsequently separate the
components thereof is classified elsewhere. See Search
Notes below. |
SEE OR SEARCH CLASS:
| 56, | Harvesters,
subclasses 8+ for a device used for underwater cutting or removing
marine plant growth. |
| 175, | Boring or Penetrating the Earth,
subclasses 5+ for boring a submerged formation. |
| 299, | Mining or In Situ Disintegration of Hard Material,
subclasses 7+ for excavating under water combined with separating
materials under water. See (1) Note above. |
| 405, | Hydraulic and Earth Engineering, appropriate subclasses, for control or treatment
of water in open channels or other bodies of water, especially
subclasses 136+ and 158+ for a step or means for placing
a tunnel, string, or conduit beneath a body of
water. |
|
| | |
308 | With signal, scale, indicator, or
inspection means: |
| | This subclass is indented under subclass 307. Apparatus including means to either acknowledge, measure, detect, or
examine a change in the excavation apparatus, the excavated
material, or the environment associated therewith.
SEE OR SEARCH CLASS:
| 116, | Signals and Indicators, for an alarm, indicator, or signal
of a mechanical nature. |
| 340, | Communications: Electrical, for an alarm, indicator, or signal
of an electrical nature. |
|
| | |
309 | With means to control dredger operation (e.g., movement
of dredged material) in response to sensed condition: |
| | This subclass is indented under subclass 307. Apparatus wherein a means is provided for (a) sensing
a change in either the excavation apparatus, the excavated
material, or the environment associated therewith, and (b) regulating the
excavation apparatus, the excavated material, or
the environment associated therewith in response to that change.
| | (1)
Note. For a patent to be classified in this subclass, the
claim must include at least three elements: (a) a
dredger, (b) a sensor to detect a condition, and (c) a
controller which responds to the sensor (e.g., pump, motor, valve, solenoid). |
SEE OR SEARCH CLASS:
| 60, | Power Plants,
subclasses 445+ for condition responsive control of pump or motor
displacement. |
| 137, | Fluid Handling,
subclasses 2+ for a fluid handling process including control
of flow by a condition or characteristic of a fluid. |
| 299, | Mining or In Situ Disintegration of Hard Material,
subclass 1 for subject matter relating to automatic control involved
in recovering valuable earth material and disintegrating hard material
in situ. |
|
| | |
310 | Swell compensator: |
| | This subclass is indented under subclass 309. Apparatus including a shock absorbing, tension restoring
means provided on the dredger to negate or offset the heave motion
of the waves in a body of water so that the excavation apparatus
can be maintained at a desired underwater coordinate.

A - Vessel; B - Pump; C - Suctionpipe; D - Dredge unit; E- Cable; F - Winch; G - Piston; H - Cylinder; Swell compensator;J - Piston
rod; K - Pressurized air tank; L - Pump
motor
SEE OR SEARCH CLASS:
| 175, | Boring or Penetrating the Earth,
subclasses 5+ for related structure in connection with a drilling
platform at sea. |
| 212, | Traversing Hoists,
subclasses 272+ for subject matter having means to prevent or dampen
load oscillations. |
| 254, | Implements or Apparatus for Applying Pushing or
Pulling Force,
subclass 277 for apparatus for hauling or hoisting a load, including
a driven device which contacts and pulls on a cable and includes
fluid or resilient shock absorbing means or tension maintaining
means attached to the cable supporting structure; subclass 392
for apparatus for contacting and guiding a moving cable wherein
the cable contacting wheel element has fluid, shock absorbing
or tension restoring mechanism connected thereto; subclass
900 for a cable pulling drum having a wave motion responsive actuator. |
| 405, | Hydraulic and Earth Engineering,
subclasses 195.1+ for a buoyancy compensator on a marine platform. |
|
| | |
311 | Suction relief valve: |
| | This subclass is indented under subclass 309. Apparatus wherein pressure or force in a dredge pipe is
maintained within predetermined limits by operation of a membranous structure
which restores the pressure or force back to normal operating conditions
by elimination of an obstruction from the pipe.

A - Suction pipe; B - Obstruction (e.g., mudball, stone); C- Tubular passage; D - Nozzle; E - Valve
seat; F - Pivoted flapvalve; G - Pivot; H - Valve
control means
| | (1)
Note. Usually the function of the relief valve is
to relieve excessive vacuum in the suction pipe resulting from plugging of
the intake end with the material and to correct velocity drop in
the discharge pipe resulting from overloading with the material. |
| | (2)
Note. The valve eliminates suction-slugging
caused by caving banks, sudden changes of material, or
pockets of gas. |
| | (3)
Note. When triggered by an abnormal pumping condition, the
cable will remain open, admitting water in an amount required
to maintain velocity. When the abnormal condition no longer
exists, the valve closes slowly, at a rate depending upon
the recovery characteristics of the pump. |
SEE OR SEARCH CLASS:
| 137, | Fluid Handling,
subclasses 455+ for subject matter wherein a valve is controlled
in response to a change in the fluid condition. |
| 406, | Conveyors: Fluid Current,
subclasses 29+ for regulating the introduction of the load through
the inlet of the fluid current conveyor. |
| 417, | Pumps,
subclasses 307+ for a pressure responsive relief valve used for controlling
pumped fluid. |
|
| | |
312 | Control of swing or swing speed: |
| | This subclass is indented under subclass 309. Apparatus including means to automatically regulate the
cyclical lateral movement of the dredger suction pipe or of the
vessel which carries the dredger.
" >
A - Walking swing; B - Advance; C - Cut; D - Anchors; E- Port; F - Starboard; G - Walkingspud lowered; H - Digging spudraised
| | (1)
Note. This subclass includes subject matter in which
the automatic control system varies the speed of the swing motors (responsive
to the pressure in the fluid circuit driving the cutterhead or to the
fluid pressure in the dredge pump), and consequently
the swinging movement of the ladder, in order to maintain
a constant load upon the cutterhead or to the fluid pressure in
the dredge pump. |
| | (2)
Note. In actual operation, a dredge swings
from side to side, using the port spud as a pivot. The
action of the dredge is controlled by swing cables attached to swing
anchors. To advance, after the swing of the dredge
has stopped, the starboard spud is dropped as the port spud
is raised. | |
| | |
313 | By use of submarine or undersea vessel: |
| | This subclass is indented under subclass 307. Apparatus especially adapted for sea floor operation wherein
the excavating is controlled in whole or part from a submerged, hollow, usually
cylindrical receptacle of watertight construction made of a buoyancy
material, manned or unmanned, which is either
adapted to be propelled through the water or travel along or rest
on the sea floor.

A - Underwater body; B - Cutterhead; C - Cutterladder; D- Suction tube; E - Cutter
motor; F - Shaft connecting underwaterbody to
atmosphere
SEE OR SEARCH THIS CLASS, SUBCLASS:
| 195, | for a dredging process. |
SEE OR SEARCH CLASS:
| 114, | Ships,
subclass 55 for means to remove sand or mud from a submerged
hull; subclasses 312+ for an underwater habitat
which is not permanently secured to the marine floor or an independently
propelled submersible vessel. |
| 405, | Hydraulic and Earth Engineering,
subclasses 8+ for a pressurized caisson; subclass 154.1
for subterranean or submarine pipe or cable laying, retrieving, manipulating, or
treating; subclasses 185+ for submersible means
which is remotely controlled by personnel at the water surface or
is operated or occupied by a diver for underwater manipulation; and
subclasses 205+ for a device having ballasting means to
be sunk or positioned at site. |
|
| | |
314 | Adapted to excavate specific discrete material: |
| | This subclass is indented under subclass 307. Apparatus especially adapted for recovering deep-ocean
minerals or other distinct material (e.g., manganese
nodules, gold, iron ore).
SEE OR SEARCH CLASS:
| 299, | Mining or In Situ Disintegration of Hard Material,
subclass 9 for separation of materials mined or excavated under
water. |
|
| | |
315 | Shellfish: |
| | This subclass is indented under subclass 314. Apparatus especially adapted for recovering aquatic animals, such
as an oyster, a clam, or a mussel, whose
external covering comprises a pivoted shell.

A - Rake or runners; B - Oceanfloor; C - Bag or cage;D - Shellfish; E - Rake
teeth or tines; F - Tow lines to ship
SEE OR SEARCH CLASS:
| 43, | Fishing, Trapping, and Vermin Destroying,
subclass 6.5 for means to catch or gather fish and convey the catch
to a boat; subclasses 7+ for a net designed and
used for capturing fish or other aquatic animals; subclasses 100+ for
a fish trap especially adapted for aquatic use to catch fish. |
| 171, | Unearthing Plants or Buried Objects,
subclass 62 for an extractor with a digger or root cutter; subclasses
84+ for a separating digger comprised of vertically disposed
digger elements arranged in a generally rakelike formation which
comb through the soil to remove buried objects; subclasses 111+ for
means to excavate a mass of earth having plant roots or other objects. |
|
| | |
316 | Including rake or scoop structure: |
| | This subclass is indented under subclass 315. Apparatus including a wire mesh basket, net, or similar
implement having a row of spaced, curved teeth or a cagelike
device, closed at top, bottom, and sides, used
to collect the aquatic animals. |
| | |
317 | Suction: |
| | This subclass is indented under subclass 307. Apparatus wherein the material is removed from the bottom
of a body of water by a flexible, noncollapsible pipe, provided
at its lower end with a weighted nozzle having means (e.g., suction
pump) for creating a pressure less than the surrounding
environment for entrainment of the material into the pipe.
SEE OR SEARCH CLASS:
| 406, | Conveyors: Fluid Current,
subclasses 151+ for subject matter wherein the load is drawn into
the conveyor by a vacuum at the inlet by forcing or withdrawing
conveying fluid into or from the fluid flow path at a point subsequent
to the inlet. |
| 417, | Pumps,
subclasses 65+ for subject matter wherein one fluid is pumped by
contact or entrainment with another. |
|
| | |
318 | Having intake screen: |
| | This subclass is indented under subclass 317. Apparatus including a grid made of materials such as wire
cloth, grate bars, or perforated material being
adapted to allow only dredged material of a predetermined size to
enter the suction device.

A - Suction pipe; B - Dischargeend; C - Inlet end; D,E - Screen
rods
SEE OR SEARCH CLASS:
| 209, | Classifying, Separating, and
Assorting Solids,
subclasses 233+ for a sifter for separating solids. |
|
| | |
319 | And material size reducer (e.g., crusher): |
| | This subclass is indented under subclass 318. Apparatus including means, other than a digging
element, for breaking large objects into smaller pieces.
SEE OR SEARCH CLASS:
| 241, | Solid Material Comminution or Disintegration, for a comminuting apparatus, generally. |
| 299, | Mining or In Situ Disintegration of Hard Material,
subclasses 29+ for hard material disintegrating means peculiar
to mining. |
|
| | |
320 | With pumping chamber: |
| | This subclass is indented under subclass 317. Apparatus including an enclosure intermediate to the suction
inlet and outlet adapted for controlling the flow of the motive
fluid and dredged material.

A - Suction inlet pipes; B - Dischargeend; C - Pumping chambers;D - Digging
tool or cutter
| | (1)
Note. The dredged material is initially drawn into
the enclosure by suction and is subsequently forced out of the enclosure
for disposal. |
SEE OR SEARCH CLASS:
| 417, | Pumps,
subclasses 118+ for the pumping of liquid by supplying or exhausting
the gaseous motive fluid to or from the pumping chamber. |
|
| | |
321 | With means to introduce lift agent directly into suction
pipe: |
| | This subclass is indented under subclass 317. Apparatus wherein the suction of the dredged material is
enhanced by adding a fluid or buoyant substance to the dredged material
at or near the suction inlet.

A - Suction pipe; B - Dredge; C - Barge; D - High-pressureliftagent
| | (1)
Note. The dredged material is drawn toward the surface
of the water body by direct contact or entrainment with another
fluid to create second stage or secondary acceleration of the dredged material. |
SEE OR SEARCH CLASS:
| 175, | Boring or Penetrating the Earth,
subclasses 5+ for means to bore a submerged formation; subclasses
65+ for process of boring with fluid. |
| 406, | Conveyors: Fluid Current,
subclasses 93+ for means to introduce booster fluid into conveyors. |
| 417, | Pumps,
subclasses 118+ wherein the liquid is pumped by supplying gaseous
motive fluid to the pumping chamber. |
|
| | |
322 | With downstream directed jet nozzle: |
| | This subclass is indented under subclass 321. Apparatus wherein a high-velocity fluid stream is
forced under pressure out of an opening and is brought into contact
with the dredged material to impart energy to the dredged material
by the action of entrainment and frictional contact of the fluid.

A - Nozzle; B - Material tobe dredged; C - Suction pipe;D - Derrick; E - Dredger
SEE OR SEARCH CLASS:
| 137, | Fluid Handling,
subclasses 602+ for systems having multiple inlets and a single
outlet with mixing, diffusing, or injecting means. |
| 406, | Conveyors: Fluid Current,
subclasses 93+ for apparatus having means to introduce booster
fluid into conveyor; subclasses 151+ for subject
matter wherein the load is drawn into the conveyor by creating a
vacuum at the inlet by forcing or withdrawing conveying fluid into
or from the fluid flow path at a point subsequent to the inlet. |
| 417, | Pumps,
subclasses 151+ for subject matter in which motive and pumped fluids
are brought into intimate contact in an enclosed flow path, the motive
fluid having a higher velocity than the pumped fluid and imparting energy
to the pumped fluid by the action of entrainment and frictional contact. |
|
| | |
323 | With fluid jet digger adjacent suction inlet: |
| | This subclass is indented under subclass 317. Apparatus including a device for emitting a high-velocity
gas or liquid stream for loosening, disintegrating, and
eroding material surrounding the suction pipe to facilitate removal by
suction.

A - Digging teeth; B - Fluidjet digger; C - Suction head
SEE OR SEARCH CLASS:
| 175, | Boring or Penetrating the Earth,
subclass 67 for method of using a stream of pressurized fluid
to dislodge the earth formation. |
| 299, | Mining or In Situ Disintegration of Hard Material,
subclasses 16+ for process wherein a source of fluid at above
atmospheric pressure is applied directly to material to mine or
disintegrate the material. |
| 405, | Hydraulic and Earth Engineering,
subclass 163 for subject matter relating to bottom fluidizing
means wherein an initially relatively firm bottom material which
supports the pre-positioned string or conduit is caused
to assume a flowable state. |
|
| | |
324 | Including driven digger adjacent suction inlet (e.g., cutterhead
dredger): |
| | This subclass is indented under subclass 317. Apparatus including cutting or breaking means operatively
connected adjacent the suction pipe or conduit for excavating material
which is to be drawn into the suction pipe or conduit.

A - Hull; B - Suction pipe; C - Cutter; D - Dredgedsurface;E. - Ladder; F - Cutter
motor; G - Cutter shaft;
SEE OR SEARCH THIS CLASS, SUBCLASS:
| 319, | for material size reducer (e.g., crusher). |
SEE OR SEARCH CLASS:
| 299, | Mining or In Situ Disintegration of Hard Material,
subclasses 7+ for excavating under water combined with separating
materials under water. |
|
| | |
325 | With specific bearing, or means to lubricate or
seal: |
| | This subclass is indented under subclass 324. Apparatus combined with means related to a digging element
in which a journal, gudgeon, pivot, pin, or
other part revolves, oscillates, or slides or
to a substance used to reduce friction between moving parts or to
a device or system to create a nonleaking union between rotating elements (e.g., pump
shafts). |
| | |
326 | Rotary: |
| | This subclass is indented under subclass 324. Apparatus wherein the means for excavating moves in a circular
orbit about a single axis.

A - Suction pipe; B - Cutterelement; C - Endless chain orbelt; D - Soil
wall
SEE OR SEARCH THIS CLASS, SUBCLASS:
| 189+, | for a rotary digger generally. |
SEE OR SEARCH CLASS:
| 15, | Brushing, Scrubbing, and General Cleaning,
subclasses 383+ for a rotary agitator. |
| 172, | Earth Working,
subclasses 518+ for apparatus having an earth working tool which
has a rotational motion in use. |
|
| | |
328 | Including distinct tooth or tooth mounting: |
| | This subclass is indented under subclass 327. Apparatus including particular recitation of a digging or
cutting tip or an assembly means for a cutting or digging tip.
SEE OR SEARCH THIS CLASS, SUBCLASS:
| 446+, | for specific digging edge or mounting structure
used on a scoop. |
SEE OR SEARCH CLASS:
| 299, | Mining or In Situ Disintegration of Hard Material,
subclass 101 for a particular tooth structure; subclasses 106+ for
a particular tooth mounting of that class. |
| 403, | Joints and Connections, for a tooth mounting or adaptor structure. |
|
| | |
329 | Axis transverse with respect to suction pipe: |
| | This subclass is indented under subclass 326. Apparatus in which the cutting or digging element turns
about an axis that is substantially perpendicular to the longitudinal
axis of the suction inlet.
SEE OR SEARCH THIS CLASS, SUBCLASS:
| 94+, | for a ditcher having a wheel excavator with a transverse
axis. |
SEE OR SEARCH CLASS:
| 172, | Earth Working,
subclass 177 for a rolling tool having circumferentially spaced
blades; subclasses 548+ for a tooth or blade unit
on a single axle. |
| 241, | Solid Material Comminution or Disintegration,
subclasses 277+ for a rotating comminuting surface. |
| 299, | Mining or In Situ Disintegration of Hard Material,
subclasses 39.1+ for a hard material disintegrating machine having
rotary cutter. |
|
| | |
330 | Axis vertical with respect to surface of body of water: |
| | This subclass is indented under subclass 326. Apparatus in which the axis about which the excavating element
rotates is substantially perpendicular to the free water surface.
SEE OR SEARCH CLASS:
| 175, | Boring or Penetrating the Earth,
subclass 6 for boring a submerged formation with an underwater
tool drive; subclass 107 for a rotary-type below ground
tool drive. |
|
| | |
332 | Endless: |
| | This subclass is indented under subclass 324. Apparatus wherein the cutting or breaking device is in the
form of a series of elements connected to one another in a continuous
loop travelling about two or more pulleys, sprockets, or
drums.

A - Pump; B - Suction dischargepipe; C - Cutter or cuttingtool; D - Sea
bed; E - Surface of body of water
SEE OR SEARCH CLASS:
| 198, | Conveyors: Power-Driven,
subclasses 506+ for a conveyor having means specialized for collecting
a load from the ground. |
|
| | |
333 | Draghead dredger (e.g., dustpan
dredger): |
| | This subclass is indented under subclass 317. Apparatus wherein the mouth of the suction pipe comprises
a plain pipe cut at an angle or a mouthpiece in the shape of a hook
being adapted to be dragged along the bottom as the pipe is pulled
along by the dredger travelling through the water.

A - Drag head; B - Universaljoint; C - Suction pipe; D- Couplings; E - Swell
compensator; F - Hoist gantries; G - Dischargepipes; H - Hopper; J - Hopper
doors; K - Pump; L - Hoist wires
| | (1)
Note. The material is literally sucked into a nozzle, much
the same way as in a vacuum cleaner, and then is transferred to
the vertical means rising to the surface. | |
| | |
334 | With pipe suspension or support (e.g., ladder
structure): |
| | This subclass is indented under subclass 317. Apparatus including means formed of structural steel or
similar material having side beams, cross beams, and
braces to maintain the suction pipe or conduit in a controlled and
stable position relative to the dredger structure from which the
pipe or conduit extends or to some other predetermined datum.
| | (1)
Note. The suction pipe for dislodging earth from
a bank is carried upon a radial arm commonly known as a ladder which includes
means for strengthening or protecting the suction pipe whereby the entire
length of the pipe is braced and means for connecting the pipe protector to
the dredger structure so that the pipe and its protector may swing
in unison. |
SEE OR SEARCH CLASS:
| 248, | Supports,
subclasses 49+ for a pipe or cable support generally. |
|
| | |
335 | Pipe or nozzle structure: |
| | This subclass is indented under subclass 317. Apparatus wherein the significance is attributed to a particular
shape of the conduit which carries the dredged material or of the
inlet.

A - Suction pipe; B - Suctionnozzle; C - Pipe coupling
SEE OR SEARCH CLASS:
| 15, | Brushing, Scrubbing, and General Cleaning,
subclasses 300.1+ for a device constructed and arranged particularly
for applying suction to a work piece. |
| 138, | Pipes and Tubular Conduits,
subclasses 118+ for a flexible pipe conduit. |
| 406, | Conveyors: Fluid Current,
subclass 152 for a specific intake nozzle structure upstream
of the suction source; subclasses 191+ for pipe, duct, or channel
for guiding the load. |
|
| | |
336 | With coupling (e.g., connector): |
| | This subclass is indented under subclass 335. Apparatus including particular feature of the joint between
separate sections of suction pipe or conduit or between suction
pipe and nozzle.
SEE OR SEARCH CLASS:
| 137, | Fluid Handling,
subclasses 615+ for subject matter including spout, nozzle, or
similar fluid flow conduit having two or more sections jointed for relative
angular movement in one or more planes. |
| 138, | Pipes and Tubular Conduits,
subclasses 118+ for means to join various flexible pipe or conduit
sections. |
| 285, | Pipe Joints or Couplings, for means to join sections of pipes or conduits. |
|
| | |
337 | Rotary digger (e.g., bucket
wheel): |
| | This subclass is indented under subclass 307. Apparatus in which the digging element is arranged on the
circumference of a circular frame which rotates about an axis.

A - Rotary wheel; B - Diggingbuckets; C - Soil; D - Surfaceof
the body of water
SEE OR SEARCH THIS CLASS, SUBCLASS:
| 189+, | for a rotary digger. |
SEE OR SEARCH CLASS:
| 414, | Material or Article Handling,
subclasses 140.9+ for handling of bulk material. |
|
| | |
338 | Endless: |
| | This subclass is indented under subclass 307. Apparatus in which the dredger includes a continuous conveying
belt with a plurality of digging elements to hold or feed the dredged material.

A - Bucket; B - Endless bucketchain; C - Ladder; D - Pulleywheel; E - Ladder
hoist wire
SEE OR SEARCH THIS CLASS, SUBCLASS:
| 327, | for a suction dredger having digging elements on
an endless belt. |
| 353+, | for a ditcher with an endless bucket. |
SEE OR SEARCH CLASS:
| 198, | Conveyors: Power-Driven,
subclasses 701+ for subject matter wherein a load-engaging
and conveying part includes a structure in the form of a bucket. |
| 406, | Conveyors: Fluid Current,
subclasses 77+ for an endless power-driven conveyor. |
|
| | |
339 | Specific bucket structure: |
| | This subclass is indented under subclass 338. Apparatus wherein the significance is attributed to a particular
shape of the cutting element.
SEE OR SEARCH THIS CLASS, SUBCLASS:
| 465, | for a digging element associated with a land-based
endless digger. |
|
| | |
340 | Grab: |
| | This subclass is indented under subclass 307. Apparatus wherein the dredging tool consists of two pivotally
cooperating digging elements which are adapted to be dropped in
the open position into material to be excavated and then adapted
to be closed to thereby encompass the material between the two elements.

A - Grab bucket; B - Boom; C - Tagline; D - Hoist and holdwires; E - Winch; F - Hoist
and hold drums; G - Pontoon; H - Sidewire; J - Aft
wire; K - Head wire
SEE OR SEARCH THIS CLASS, SUBCLASS:
| 461, | for a clamshell bucket. |
SEE OR SEARCH CLASS:
| 212, | Traversing Hoists,
subclasses 81 and 84 for a grab combined with means to swing
or shift the grab. |
| 294, | Handling: Hand and Hoist-Line Implements,
subclasses 86.4+ for a device adapted for grasping a load and having
handling and hoist-line terminals. |
| 414, | Material or Article Handling,
subclasses 618+ wherein the load carrier is a seizing, grasping, or
clamping device. |
|
| | |
341 | Scoop or bucket: |
| | This subclass is indented under subclass 307. Apparatus wherein the dredging tool consists of a ladle
or cylindrical container having a bottom, back and side
walls and which is capable of digging and holding the material and
transporting it to a dump position.
" >
A - Scoop or bucket; B - Boomarm; C - Hydraulic arms;D - Boom; E - Turntable; F - Track;
G - Pontoon; H - Dump barge
SEE OR SEARCH THIS CLASS, SUBCLASS:
| 379+, | for a ditcher having a shovel or scoop. |
| 398+, | for cable operated excavators with scoop. |
| 444+, | for scoop or bucket structure, per se. |
SEE OR SEARCH CLASS:
| 294, | Handling: Hand and Hoist-line
Implements,
subclasses 68.22+ for a bucket-type hoistable receptacle. |
| 414, | Material or Article Handling,
subclass 565 for a vertically swingable shovel or scoop. |
|
| | |
342 | With means to scour or scrape (e.g., propeller
means, digging teeth, plow): |
| | This subclass is indented under subclass 307. Apparatus including an eroding device such as a propeller
means or raking teeth which flushes or rub underwater obstructions
such as sandbars or shoals by loosening the sand, mud, or silt
at the bottom surface of a body of water.
" >
Fig. 1. A - Dredge vessel; B - Bodyof water; C - Sand bar;D - Propeller; E - Deflector

Fig. 2. A - Dredge vessel; B - Diggingelements; C - Diggingteeth; D - Body
of water; E - Sand bar
SEE OR SEARCH CLASS:
| 114, | Ships,
subclass 55 for a vessel raising means including provision
for loosening of sand or mud about a submerged hull. |
| 405, | Hydraulic and Earth Engineering,
subclass 73 for subject matter relating to the removal of a
sediment deposit by the concentration of a natural current. |
|
| | |
343 | Rotary digging element: |
| | This subclass is indented under subclass 342. Apparatus wherein the eroding device moves in a circular
path about a central axis.

A - Dredger or vessel;B - Rotarydigging element; C - Bottomof body of water; D - Body
of water; E,F,G,H - Hoisting
device |
| | |
344 | Nozzle: |
| | This subclass is indented under subclass 342. Apparatus wherein the removal or cleaning of sand, mud, or
silt is effected by the action of high-pressure air or
water which is forced through a projecting part with an opening
in a localized stream.

A - Barge; B - Tug boat; C - Fluidjet; D - River or lake bed;E - Sand
bar; F - Hoist
SEE OR SEARCH CLASS:
| 114, | Ships,
subclass 55 for a vessel raising means including provision
for loosening of sand or mud about a submerged hull. |
| 405, | Hydraulic and Earth Engineering,
subclass 73 for subject matter relating to the removal of a
sediment deposit by the concentration of a natural current. |
|
| | |
345 | With vessel, propulsion, or anchor structure (e.g., bank
spud, spud brace): |
| | This subclass is indented under subclass 307. Apparatus wherein the invention is particularly directed
toward (a) the feature of the barge, ship, or
boat which supports the dredging equipment in the body of water, or (b) the detail
of the means which is attached to a barge, ship, or
boat to hold it stationary or under controlled movement in the body
of water while dredging.
| | (1)
Note. Spud usually consists of (a) one
of four sharp pointed vertical posts or piles that can be forced
by a tackle or by power through a socket in a floating or a land
dredge or scow to anchor it and (b) one of the
two foot pieces of the legs of the A-frame of a floating
dredge that are set in the banks of the body of water to steady
the dredge and give it support. |
SEE OR SEARCH CLASS:
| 114, | Ships,
subclass 256 for a floating or semisubmersible storage vessel; subclasses
293 and 294+ for an anchor or an anchoring arrangement. |
|
| | |
346 | Bottom spud anchor: |
| | This subclass is indented under subclass 345. Apparatus including an elongated member which extends from
the vessel to the bottom of the body of water to hold the dredger
stationary or move it in a controlled manner.

A - Spud; B - Spud control system; C - Cutter; D - Dredger SEE OR SEARCH CLASS:
| 114, | Ships,
subclasses 293 and 294+ for an anchor or an anchoring
arrangement. |
| 175, | Boring or Penetrating the Earth,
subclasses 5+ for boring a submerged formation, especially
subclass 10 for using a submersible guide means engaging the marine
floor. |
|
| | |
347 | DITCHER: |
| | This subclass is indented under the class definition. Apparatus including means to penetrate the ground for digging
a long narrow trench in the surface of the ground.
SEE OR SEARCH THIS CLASS, SUBCLASS:
| 307+, | for a device for forming an underwater trench. |
| 381+, | for a device for working on forming a road. |
| 446+, | for a detailed digging edge. |
SEE OR SEARCH CLASS:
| 175, | Boring or Penetrating the Earth,
subclasses 19+ for boring successive, parallel, or
overlapping holes vertically in the earth to ultimately form a trench. |
| 299, | Mining or In Situ Disintegration of Hard Material,
subclasses 24+ and 29+ for trenching in hard material such
as rock or ice. |
| 405, | Hydraulic and Earth Engineering,
subclass 154.1 for trenching in combination with subterranean
or submarine pipe or cable laying, retrieving, manipulating, or
treating; and subclasses 282+ for trench shoring. |
|
| | |
348 | Condition responsive: |
| | This subclass is indented under subclass 347. Apparatus having means to activate ditching or trenching
means into digging condition by the control of a pre-established
sequencing means such as a template, cam, electromagnetic
tape, etc., responsive to a condition
which may or may not exist.
SEE OR SEARCH THIS CLASS, SUBCLASS:
| 381, | for a condition responsive excavator used for forming
roadways. |
| 414+, | for a condition responsive scoop or excavating and
transporting container. |
SEE OR SEARCH CLASS:
| 172, | Earth Working,
subclasses 2+ for an earth working implement with automatic power
control. |
| 175, | Boring or Penetrating the Earth,
subclasses 24+ for a process or apparatus including step or means
for sensing a condition of operation and controlling a power operated
means in response to said sensed condition. |
| 414, | Material or Article Handling,
subclasses 699+ for control means responsive to sensed condition
for a shovel or fork-type vertically swinging load support. |
| 701, | Data Processing: Vehicles, Navigation, and
Relative Location,
subclass 50 for vehicle guidance, operation, or indication
of a construction or agricultural vehicle. |
|
| | |
349 | With crumber: |
| | This subclass is indented under subclass 347. Apparatus combined with a blade or a shoe adapted to follow
an endless conveyor for the purpose of dressing or removing irregularities from
the bottom of the trench.
| | (1)
Note. The function of the crumbing blade or crumber
is to catch loose earth which may be removed or dropped by the excavator
and to collect, carry, gather, and push
forward such loose earth so that it may be taken up by the excavator
at the lowest point of travel.

A - Vehicle; B - Digger assembly; C - Crumber; D - Trench;E - Boom | |
| | |
350 | Having screw digger: |
| | This subclass is indented under subclass 347. Apparatus including a trenching tool of the auger type with
a helical surface rotated about a longitudinal axis.

A - Tractor or excavator; B - Cutterelement; C - Spiral orscrew digging element; D - Discharge
pipe; E - Ditched material
SEE OR SEARCH CLASS:
| 198, | Conveyors: Power-Driven,
subclasses 624+ for a rotating conveyor section having a load engaging
portion in the form of a helical surface. |
|
| | |
352 | Having endless digger: |
| | This subclass is indented under subclass 347. Apparatus wherein the cutting or breaking device is in the
form of a series of elements connected to one another in a continuous
loop travelling about two or more pulleys, sprockets, or
drums.

A - Digging frame; B - Diggingblades; C - Vehicle connection;D - Dirt
chute; E - Vehicle hydraulic lift; F - Power
takeoff shaft
SEE OR SEARCH THIS CLASS, SUBCLASS:
| 464, | for a miscellaneous endless digger or details thereof. |
|
| | |
353 | Endless bucket: |
| | This subclass is indented under subclass 352. Apparatus wherein the cutting or breaking device is in the
form of a series of elements connected to one another in a continuous
loop to hold and feed the excavated material.
SEE OR SEARCH THIS CLASS, SUBCLASS:
| 326+, | for miscellaneous endless digger or details thereof. |
| 338+, | for an endless digger used in dredging. |
SEE OR SEARCH CLASS:
| 198, | Conveyors: Power-Driven,
subclass 509 for a conveyor section having buckets specialized
to gather load batches; subclasses 703+ for a
conveyor section having means to facilitate loading or discharging
load from the bucket. |
|
| | |
354 | Transverse cut: |
| | This subclass is indented under subclass 353. Apparatus wherein the endless bucket rotates perpendicular
to the direction in which the trench is being formed.
SEE OR SEARCH CLASS:
| 198, | Conveyors: Power-Driven,
subclass 307.1 for a bucket conveyor. |
|
| | |
355 | Longitudinal cut: |
| | This subclass is indented under subclass 353. Apparatus wherein the endless bucket rotates parallel to
the direction in which the trench is being formed.

A - Crawler or excavator; B - Endlesschain belt; C - Diggingbucket; D - Conveyor
SEE OR SEARCH CLASS:
| 198, | Conveyors: Power-Driven,
subclasses 318+ for conveying apparatus having a vertically swingable
conveyor. |
|
| | |
356 | With side cutters: |
| | This subclass is indented under subclass 355. Apparatus combined with means for further trimming the trench
by removing material on the side faces of the trench.
| | (1)
Note. The side cutters usually include shearing bars, slice
blades, reamers, or wheel-like cutters. | |
| | |
357 | With distinct rotary digger: |
| | This subclass is indented under subclass 355. Apparatus combined with a supplementary excavating mechanism (e.g., a
rotary cutting disc, a rotary cutting knife, a
rotary cutting pick) operating in unison with the chain
to widen the trench dug by the excavator. |
| | |
358 | Reciprocating endless digger: |
| | This subclass is indented under subclass 355. Apparatus wherein the endless excavator or an excavating
device associated therewith (e.g., spade, plow, pick, scraper) is
adapted to move back and forth to excavate the material. |
| | |
360 | With transverse endless conveyor: |
| | This subclass is indented under subclass 355. Apparatus including an orbiting continuous carrier extending
perpendicular to the trench which receives material excavated from
the trench.
SEE OR SEARCH CLASS:
| 198, | Conveyors: Power-Driven,
subclasses 818+ for an endless conveyor having upwardly facing
trough configuration in transverse direction on conveying reach. |
|
| | |
361 | Drive-related feature: |
| | This subclass is indented under subclass 360. Apparatus wherein the significance is attributed to the
motion transmitting mechanism of the endless conveyor (e.g., sprocket, chain).
SEE OR SEARCH THIS CLASS, SUBCLASS:
| 362, | for a drive-related feature of ditcher with
longitudinal cut. |
| 423, | for a drive-related feature of endless load
distributor of scoop or excavating and transporting container. |
|
| | |
362 | Drive-related feature: |
| | This subclass is indented under subclass 355. Apparatus wherein the significance is attributed to motion
transmitting mechanism of the endless digging bucket (e.g., sprocket, chain, mounting).
SEE OR SEARCH THIS CLASS, SUBCLASS:
| 361, | for a drive-related feature of a transverse
endless conveyor. |
| 423, | for a drive-related feature of an endless
load distributor of scoop or excavating and transporting container. |
|
| | |
363 | Hand operated: |
| | This subclass is indented under subclass 355. Apparatus including a compact trencher capable of being
maneuvered or guided by a human being and adapted to operate in
a confined and restricted area. |
| | |
364 | With side or auxiliary cutter: |
| | This subclass is indented under subclass 347. Apparatus combined with means for widening the trench by
removing material on the side faces of the trench.
| | (1)
Note. The cutter acts as a trimmer, evener, or
smoother for sidewalk of a ditch, irrigation canal, drain
ditch, trench, stream, or canal for the
removal of sod, weeds, vegetation upon the wall, or
other debris. |
| | (2)
Note. The side or auxiliary cutter usually includes
shearing bar, slice blade, reamer, or
wheel-like cutter member. |
SEE OR SEARCH CLASS:
| 172, | Earth Working,
subclasses 329+ for an earth working element having a manipulating
and supporting handle and an implement having a handle wherein the
device is guided or propelled by a working attendant. |
| 180, | Motor Vehicles,
subclasses 19.1+ for a vehicle having steering means adapted to
be actuated by an attendant who walks with the vehicle. |
|
| | |
365 | Rotary: |
| | This subclass is indented under subclass 364. Apparatus wherein the additional or auxiliary cutter moves
in a circular orbit about an axis.
SEE OR SEARCH CLASS:
| 299, | Mining or In Situ Disintegration of Hard Material,
subclasses 39.1+ for a hard material disintegrating machine having
rotary cutter. |
|
| | |
366 | Plow: |
| | This subclass is indented under subclass 347. Apparatus including a V-shaped or diagonally oriented
blade used for penetrating the ground to form a trench.

A - Vehicle; B,C - Plowblade assembly
SEE OR SEARCH THIS CLASS, SUBCLASS:
| 389+, | for a road grader-type plow. |
SEE OR SEARCH CLASS:
| 172, | Earth Working, appropriate subclasses, especially
subclasses 721+ for apparatus in which earth working implement
is symmetrically arranged with respect to the line of draft; subclasses
754+ for apparatus in which the tool is of the type having
a landslide to receive the side pressure of the earth working element
and to act as a runner, a point for making an initial cut
in the earth, a shave to cut a slice of earth, and
a moldboard to guide the furrow slice. |
| 405, | Hydraulic and Earth Engineering,
subclasses 180+ wherein the means for placing the string or conduit
below the surface includes a plowlike digging tool for forming a
trench. |
|
| | |
367 | Slit ditcher: |
| | This subclass is indented under subclass 366. Apparatus in which the plow is a narrow, elongated
blade which forms a long, narrow trench embanked with its
own soil or which cuts the bottom and sides of the trench, thereby
forcing the dirt up.
| | (1)
Note. Slit ditcher is especially adapted for stripping
the earth from a pipeline which is buried therein, or for
opening a ditch for laying drainage tubes, cable ducts, drainage
tiles, or water supply piping. |
SEE OR SEARCH THIS CLASS, SUBCLASS:
| 380, | for slit ditcher having shovel or scoop rather than
a plow. |
SEE OR SEARCH CLASS:
| 172, | Earth Working,
subclasses 699+ for an earth working implement specifically disclosed
as working deep in the soil. |
| 405, | Hydraulic and Earth Engineering,
subclass 154.1 for a slit trencher in combination with a pipe
or cable laying or retrieving structure. |
|
| | |
368 | Including longitudinal endless conveyor: |
| | This subclass is indented under subclass 367. Apparatus including an orbitally travelling continuous carrier
extending parallel to the trench, positional to receive
the loosened earth from the trench.
SEE OR SEARCH THIS CLASS, SUBCLASS:
| 375, | for a plow having a longitudinal endless conveyor. |
SEE OR SEARCH CLASS:
| 172, | Earth Working,
subclass 33 for a power-driven conveyor or handler. |
| 198, | Conveyors: Power-Driven,
subclasses 510.1+ for a conveyor having power-driven feed
means. |
| 405, | Hydraulic and Earth Engineering,
subclasses 179+ for a pipe or cable laying apparatus having backfill
or bedding material conveying or dispensing means. |
|
| | |
369 | And transverse endless conveyor: |
| | This subclass is indented under subclass 368. Apparatus including an additional orbitally travelling continuous
carrier extending perpendicular to the trench to receive loosened
earth from the trench.
SEE OR SEARCH THIS CLASS, SUBCLASS:
| 376+, | for a plow with a transverse endless conveyor. |
|
| | |
370 | Mole plow: |
| | This subclass is indented under subclass 366. Apparatus including a shoe (e.g., conical, pyramidal, wedge
shaped) especially adapted for forming a continuous tunnel
or small covered passage through the earth.

A - Vehicle; B - Plow support; C - Moleplow assembly
| | (1)
Note. Included herein is a device for forming a subterranean
passage for draining purposes. Its action upon the earth
in forming a passage is such as to densely compress the sides and
top of the passage. |
SEE OR SEARCH CLASS:
| 111, | Planting,
subclass 123 for a chisel opener or furrow opener used for liquid
or gas soil treatment. |
| 172, | Earth Working,
subclasses 699+ for an earth working implement specifically disclosed
as working deep in the soil. |
| 405, | Hydraulic and Earth Engineering,
subclasses 180+ wherein the apparatus for placing the string or
conduit below the surface includes a plowlike digging tool for forming
a trench. |
|
| | |
373 | With conveyor: |
| | This subclass is indented under subclass 366. Apparatus including means to carry the earth loosened from
the trench.
| | (1)
Note. The conveyor usually consists of a spiral, screw, or
auger-type carrier or rotary disk with receptacles. |
SEE OR SEARCH CLASS:
| 172, | Earth Working,
subclass 33 for an earth working means combined with a power-driven
means for handling the earth after it has been severed from the
ground or loosened by the earth working means. |
|
| | |
374 | Wheel and belt: |
| | This subclass is indented under subclass 373. Apparatus wherein the means to carry or discharge the earth
includes a rotary, circular disk having peripheral side
flanges combined with revolving endless track to carry the earth
loosened from the trench. |
| | |
375 | Longitudinal endless conveyor: |
| | This subclass is indented under subclass 373. Apparatus wherein the means to carry or discharge the earth
includes an orbiting continuous carrier extending parallel to the
trench to receive the loosened earth from the trench.
SEE OR SEARCH THIS CLASS, SUBCLASS:
| 368, | for a slit ditcher having a longitudinal endless
conveyor. |
SEE OR SEARCH CLASS:
| 172, | Earth Working,
subclass 33 for a power-driven conveyor or handler. |
| 198, | Conveyors: Power-Driven,
subclasses 300+ for a conveying apparatus entirely supported by
mobile ground engaging means; subclasses 506+ for
a conveyor having means specialized for collecting a load from a
static ground support. |
|
| | |
376 | And transverse endless conveyor: |
| | This subclass is indented under subclass 375. Apparatus wherein the means to convey or discharge the earth
also includes an additional orbiting continuous carrier extending
perpendicular to the trench to further receive and discharge the
excavated soil.
SEE OR SEARCH THIS CLASS, SUBCLASS:
| 369, | for a slit ditcher having a transverse endless conveyor. |
SEE OR SEARCH CLASS:
| 198, | Conveyors: Power-Driven,
subclasses 510.1+ for a conveyor with means to collect a load from
the ground including power-driven feed means. |
|
| | |
377 | With colter: |
| | This subclass is indented under subclass 376. Apparatus combined with a blade adapted to cut a slit in
the ground in advance of the plow.

A - Draft connection; B - Longitudinalendless conveyor;C - Transverse endless conveyor; D - Plow; E - Colter
| | (1)
Note. The colter of this subclass may include a fixed
blade (i.e., knife) or
a rotary disk (i.e., rolling). |
SEE OR SEARCH THIS CLASS, SUBCLASS:
| 378, | for a ditcher plow having a colter, generally. |
SEE OR SEARCH CLASS:
| 171, | Unearthing Plants or Buried Objects,
subclass 3 for an unearthing device with stabilizing colter
or fin. |
| 172, | Earth Working,
subclasses 19+ for a sod cutter including vertical transverse
cutting means. |
|
| | |
378 | With colter: |
| | This subclass is indented under subclass 366. Apparatus combined with a blade or disk adapted to cut a
slit in the ground in advance of the plow.
| | (1)
Note. The colter of this subclass may include a fixed
blade (i.e., knife) or
a rotary disk (i.e., rolling). |
SEE OR SEARCH THIS CLASS, SUBCLASS:
SEE OR SEARCH CLASS:
| 171, | Unearthing Plants or Buried Objects,
subclass 3 for an unearthing device with stabilizing colter
or fin. |
| 172, | Earth Working,
subclasses 165+ for an earth working apparatus having a colter
for cutting a vertical slit in the ground in advance of the earth
working implement. |
|
| | |
379 | Shovel or scoop: |
| | This subclass is indented under subclass 347. Apparatus including a hol-lowed-out blade with
a concave front surface, convex rear surface, and
opposite side edges or a bucket having a bottom, back and
side walls used for removing the earth to make a trench.

A - Excavator; B - Boom; C - Dipperhandle; D - Shovel orscoop; F - Scoop
side wall; G - Side ditch cut; H - Bottom
ditchcut
SEE OR SEARCH THIS CLASS, SUBCLASS:
| 443, | for a dipper-type excavator. |
|
| | |
380 | Slit ditcher: |
| | This subclass is indented under subclass 379. Apparatus wherein the shovel or scoop is adapted to form
a long, narrow ditch embanked with its own soil which cuts
the bottom and sides of the trench, thereby forcing the
dirt up.
SEE OR SEARCH THIS CLASS, SUBCLASS:
| 367+, | for a slit ditcher having a plow as a digging blade. |
|
| | |
381 | ROAD GRADER-TYPE: |
| | This subclass is indented under the class definition. Apparatus including means to penetrate the ground for working
on and forming the ground for the passage of vehicles, persons, or animals.

A - Vehicle; B - Digger assembly; C - Roadbed; D - Windrow SEE OR SEARCH THIS CLASS, SUBCLASS:
| 309+, | for a self-loading vehicle. |
| 347+, | for a ditcher. |
| 411+, | for a scoop. |
SEE OR SEARCH CLASS:
| 172, | Earth Working,
subclasses 4.5 , 63, 197, 199, 684.5, 779, 780, 781, and 811+ for
a drag, scraper, or other leveling tool. |
| 404, | Road Structure, Process, or
Apparatus,
subclass 83 particularly for road building means combined with
earth digging, handling, or moving means. |
|
| | |
382 | Condition responsive: |
| | This subclass is indented under subclass 381. Apparatus having means to activate digging means into digging
condition by the control of a pre-established sequencing
device.
SEE OR SEARCH THIS CLASS, SUBCLASS:
| 348, | for condition responsive ditching or trenching means. |
| 414+, | for a condition responsive scoop or excavating and
transporting container. |
SEE OR SEARCH CLASS:
| 172, | Earth Working,
subclasses 2+ for an earth working implement with automatic power
control. |
| 414, | Material or Article Handling,
subclasses 699+ for control means responsive to a sensed condition
for a shovel or fork-type vertically swinging load support. |
| 701, | Data Processing: Vehicles, Navigation, and
Relative Location,
subclass 50 for vehicle guidance, operation, or indication
of a construction or agricultural vehicle. |
|
| | |
383 | Including ground supported, grader guiding rail: |
| | This subclass is indented under subclass 381. Apparatus including a structural steel bar fixed outside
the grader itself to create a track for maintaining the grader on
a predetermined path of travel.
| | (1)
Note. In the process of grading a road, the
surface is usually plowed and the main body of the material removed
by the grader scraper. The tracks are then placed in position
and the grader is passed over the surface to remove the remaining
loose material and to give the roadbed the desired contour. The
tracks serve as a gauge for the scraper carried by the road grader
as well as maintaining the grader at a predetermined level whereby
the proper height and cross section of the roadbed between the forms are
established. |
SEE OR SEARCH CLASS:
| 404, | Road Structure, Process, or
Apparatus,
subclass 119 wherein the means to level or smooth previously
laid road material is positioned and guided above the roadway by
the side forms which also serve as a trackway. |
|
| | |
384 | Adjustable digger: |
| | This subclass is indented under subclass 383. Apparatus wherein the means for removing or loosening the
earth is combined with means for selectively varying the elevational
or angular position of the loosening means. |
| | |
385 | Rotary digger: |
| | This subclass is indented under subclass 384. Apparatus wherein means for loosening the earth moves in
a circular orbit about an axis. |
| | |
386 | Rotary digger: |
| | This subclass is indented under subclass 381. Apparatus including means for removing or loosening the
earth which moves in a circular orbit about an axis.

A - Vehicle; B - Material receivingconveyor; C - Rotary digger
SEE OR SEARCH THIS CLASS, SUBCLASS:
| 189+, | for an excavator having a rotary digger. |
| 385, | for other road grader-type rotary digger. |
SEE OR SEARCH CLASS:
| 172, | Earth Working,
subclasses 518+ for a rolling, rotating, or orbitally
moving tool. |
| 404, | Road Structure, Process, or
Apparatus,
subclasses 90+ for an earth or a road surface comminuting means; subclass
118 for a bar, beam, or striker means used to
level or smooth previously laid road material. |
|
| | |
387 | Adjustable: |
| | This subclass is indented under subclass 386. Apparatus wherein a means is provided to selectively vary
the elevational or angular position of the rotary digger. |
| | |
388 | Transverse endless digger: |
| | This subclass is indented under subclass 381. Apparatus wherein the cutting or breaking device is in the
form of a series of elements (e.g., blade, bowl) connected
to one another in a continuous loop traveling about two or more pulleys, sprockets, or
drums excavating the surface of the road perpendicular to the direction
of the road axis.
SEE OR SEARCH CLASS:
| 198, | Conveyors: Power-Driven,
subclasses 506+ for a conveyor having means specialized for collecting
a load from the ground. |
|
| | |
389 | Plow with transverse endless conveyor: |
| | This subclass is indented under subclass 381. Apparatus combined with continuous carrier positioned perpendicular
to the road for removing earth loosened by a V-shaped or
diagonally oriented blade.

A - Draft connection; B - Plow; C - Endlessconveyor
SEE OR SEARCH CLASS:
| 198, | Conveyors: Power-Driven,
subclass 308.1 for a conveying apparatus entirely supported by
a mobile ground engaging means with a shovel or tine. |
|
| | |
390 | Disc plow: |
| | This subclass is indented under subclass 389. Apparatus wherein the earth loosening or removing means
is a thin, flat, circular plate.

A - Main frame; B - Front wheels; C - Rearwheels; D - Tongueconnection to vehicle; E - Disc
plow; F - Transverse endless conveyor
SEE OR SEARCH CLASS:
| 172, | Earth Working,
subclass 33 for a power-driven moldboard, conveyor, or
handler; subclasses 299+ for an earth working
tool forward or rear of a motor vehicle. |
| 198, | Conveyors: Power-Driven,
subclass 308.1 for a conveying apparatus entirely supported by
a mobile ground engaging means with shovel or tine; subclasses
312+ for a conveyor shiftably mounted on a vehicle. |
|
| | |
391 | Plow with transverse conveyor wheel: |
| | This subclass is indented under subclass 381. Apparatus including a V-shaped or diagonally oriented
blade combined with a rotary transporting implement having buckets
or receptacles on its periphery and having an axis perpendicular
to the direction of travel wherein the transporting implement receives
earth from the blade.

A - Plow; B - Draft connection; C - Transverseconveyor wheel;D - Trough
SEE OR SEARCH THIS CLASS, SUBCLASS:
| 393, | for a plow having inclined axis conveyor wheel. |
|
| | |
392 | And endless conveyor: |
| | This subclass is indented under subclass 391. Apparatus also combined with a series of elements connected
to one another in a continuous loop for carrying the excavated material
for further discharge.

A - Plow; B - Transverse conveyorwheel; C - Endless conveyor;D - Draft
connection
SEE OR SEARCH CLASS:
| 198, | Conveyors: Power-Driven,
subclasses 311+ for a gravity conveyor section and subclasses 523+ for
a conveyor system having a gravity conveyor section. |
|
| | |
393 | Plow with inclined axis conveyor wheel: |
| | This subclass is indented under subclass 381. Apparatus including a rotary material transporting implement
having buckets or receptacles on its periphery supported to run
upon the ground in an angular position and adapted to receive the
loosened soil from a V-shaped or diagonally oriented scraper
or blade.
SEE OR SEARCH THIS CLASS, SUBCLASS:
| 391+, | for a plow combined with a transverse conveyor wheel. |
|
| | |
394 | CABLE-OPERATED (E.G., DRAGLINE): |
| | This subclass is indented under the class definition. Apparatus including means to pull by a strand capable of
exerting only tensile force.
SEE OR SEARCH THIS CLASS, SUBCLASS:
| 341, | for a dredger having a tool in the form of a shovel
or bucket. |
| 347+, | for a ditcher having a digging tool in the form
of a shovel or bucket. |
SEE OR SEARCH CLASS:
| 172, | Earth Working,
subclasses 26.5+ for subject matter of that class wherein a scraper
is adapted to be connected by a cable or similar flexible means
to a fixed structure and is driven relative to that structure. |
| 254, | Implements or Apparatus for Applying Pushing or
Pulling Force,
subclasses 264+ for subject matter of that class which includes
a drive device which contacts and pulls on a cable when a load is
hauled or hoisted between locations. |
| 414, | Material or Article Handling,
subclass 570 for an endless or a rotary carrier and a dragline
scoop. |
|
| | |
395 | Boom-type: |
| | This subclass is indented under subclass 394. Apparatus including an elongated member from which the strand
extends to the scoop or bucket.

A - Vehicle; B - Boom; C - Dragcable; D - Drag bucket
| | (1)
Note. Boom usually consists of a mast, crane
body, or other supporting structure. |
| | (2)
Note. The boom-type excavator usually has
four motions: (a) loading, which
is accomplished by pulling the bucket toward the machine with a
drag cable attached to the bucket chain; (b) hoisting, which
is accomplished by a second cable from the bucket-chain
hoist over the boom point sheave; (c) swinging
and returning, which are accomplished by interrelated manipulation
of the drag cable and the hoisting cable via a gear train; (d) dumping
of the bucket, which is controlled by means of an equalizing dump
cable. |
SEE OR SEARCH THIS CLASS, SUBCLASS:
| 182, | for an excavator having an orange-peel
bucket. |
| 341, | for a dredger having a tool in the form of a shovel
or bucket. |
| 461, | for an excavator with a clamshell bucket. |
SEE OR SEARCH CLASS:
| 212, | Traversing Hoists,
subclasses 199+ for apparatus having boom including supporting
structure; subclasses 255+ for a vertically swinging
boom; subclasses 347+ for a subcombination under
the class definition including an elongated structural member disclosed
as being part of a traversing hoist. |
| 254, | Implements or Apparatus for Applying Pushing or
Pulling Force,
subclasses 264+ for apparatus for hauling or hoisting a load, including
a driven device which contacts and pulls on cable. |
| 414, | Material or Article Handling,
subclass 569 for a vertically swinging load support including
a hoist or a dragline; subclass 570 for an endless or a
rotary carrier and a dragline scoop; subclasses 592+ for
an elevator or a hoist with loading and unloading means; subclasses
680+ for a vertically swinging load support. |
|
| | |
396 | Including means to control digging, hoisting, and
dumping: |
| | This subclass is indented under subclass 395. Apparatus wherein the hauling and hoisting wires are manipulated
by a spring, latch, control briddle, draft
briddle, toggle mechanism, or similar implement
to regulate loading and unloading operations.

A - Bucket hood; B - Bucket; C - Loadingchain; D - Bucketforward end; E - Connecting
means for hoist chain and bucket; F-; Hoist
chain; G,K - Bucket trunions; H - Check
line; J - Hoistline to boom; L - Supplementary
control cable; M - Pulley block;N - Dragline
SEE OR SEARCH CLASS:
| 212, | Traversing Hoists,
subclass 167 for a traversing hoist with a haul-in
line; subclass 239 for means to swing boom vertically having
a flexible cable. |
| 254, | Implements or Apparatus for Applying Pushing or
Pulling Force,
subclasses 264+ for a power transmitting pulley and a rope or belt
in either drive or in cable return means and a device or member
for contacting and guiding a moving cable. |
| 414, | Material or Article Handling,
subclass 142.9 for loading or unloading on a marine vessel by
use of a hoist line having a scoop or scraper. |
|
| | |
398 | Scoop or bucket: |
| | This subclass is indented under subclass 394. Apparatus including an excavating tool consisting of a ladle
or cylindrical container having a bottom, back and side
walls particularly adapted for use with a cable operated excavator.

A - Bucket side; B - Bucketend plate; C - Bucket lip;D - Lip
bottom; E - Digging edge; F - Bracket; G - Digging teeth;H - Supporting
cable; J - Dragging chain; K - Lifting
chain
SEE OR SEARCH THIS CLASS, SUBCLASS:
| 341, | for a dredger with a scoop as a digging tool. |
| 379+, | for a ditcher with a scoop or shovel as a digging
tool. |
| 444+, | for a scoop or bucket structure. |
| 465, | for an endless digger bucket structure. |
SEE OR SEARCH CLASS:
| 414, | Material or Article Handling,
subclass 394 for load-transporting vehicle having a
bucket or scoop-type holder; subclasses 618+ for
an elevator or a hoist with a grab-type loading and unloading
means. |
|
| | |
399 | Including support or mounting device (e.g., hitch, shackle, lifting
or dumping trunion): |
| | This subclass is indented under subclass 398. Apparatus including attaching means to facilitate attachment
of a scoop or bucket to a cable line.

A - Dragline bucket; B - Bucketwalls; C - Bucket lip;D - Bucket
teeth; E - Bucket trunions; F - Hoist
chain; G - Shackle;H - Dump
block; J - Rope sockets; K - Hitch plate
| | (1)
Note. The cable line usually consists of a hauling
line, briddle line, or holding line. |
SEE OR SEARCH CLASS:
| 24, | Buckles, Buttons, Clasps, etc.,
subclasses 115+ for a cord and rope holder. |
| 248, | Supports,
subclasses 274.1+ for an adjustable bracket. |
| 294, | Handling: Hand and Hoist-line
Implements,
subclasses 68.26+ for a hoistable receptacle with a tilting discharge
or loading, having trunions. |
|
| | |
400 | Trolley-supported: |
| | This subclass is indented under subclass 394. Apparatus wherein the scoop or bucket is movable along or
upon a cableway, the cableway being so arranged to permit
the scoop or bucket to engage the ground for digging and filling, and
to be tightened to cause the scoop or bucket to be operated free
of the ground.

A,C - Cable drums; B - Bucket; D,E - Supporttowers; F -Load supporting cableway; G - Trolley
assembly; H - Sheave pulley
SEE OR SEARCH CLASS:
| 212, | Traversing Hoists,
subclasses 76+ for a load handling hoist including a track, a
carriage thereon, a hoisting machine fixed in relation
to the track, and one or more cables extending from the
hoisting machine to the carriage for hoisting and traversing the load. |
| 254, | Implements or Apparatus for Applying Pushing or
Pulling Force,
subclasses 264+ for apparatus for hauling or hoisting load; subclasses
389+ for a device or member for contacting and guiding
a moving cable. |
| 414, | Material or Article Handling,
subclasses 560+ for a traversing, hoisting-type
material holding implement; subclasses 595+ for
an elevator or a hoist including loading or unloading means. |
|
| | |
401 | Including cable or rope control means to facilitate loading, transporting, or
dumping: |
| | This subclass is indented under subclass 400. Apparatus including manipulating means (e.g., spring, latch, lever, and
link mechanism) to regulate loading and unloading operations.
SEE OR SEARCH CLASS:
| 212, | Traversing Hoists,
subclasses 73+ and 76+ for load handling hoists including a
track, a carriage thereon, a hoisting machine
fixed in relation to the track, and one or more cables
or ropes extending from the hoisting machine to the carriage for
hoisting and traversing the load. |
|
| | |
403 | COMBINED OR CONVERTIBLE: |
| | This subclass is indented under the class definition. Apparatus wherein the excavator includes an excavating tool
properly classifiable in this class in some way mounted or structurally
arranged for use along with another tool which may be either a tool
of this class or a tool of another class not superior to this class or
in which the excavator includes a tool properly classifiable in
this class which is particularly adapted to be changed or modified
in some way, or rearranged in some manner, so
as to either be used as a different type of tool or to effectively
become a different type of tool.

A - Tractor; B - Scoop or bucket; C - Boom; D - Roller; E- Scraperblade; F - Trench
| | (1)
Note. Class 37 is superior to Class 172; therefore, the
combination of a Class 37 tool with a Class 172 tool is proper for this
subclass. |
| | (2)
Note. Class 37 is superior to Class 414; therefore, the
combination of a Class 37 tool with a Class 414 tool is proper for this
subclass. |
| | (3)
Note. For a proper placement of a patent for this
subclass, at least one claimed tool must be of the Class
37 type. |
| | (4)
Note. The change in the apparatus must be more than
merely placing a part in one of a series of adjacent holes or in general
making a change which amounts to only an adjustment or a minor alteration
in the overall functioning of the device. |
| | (5)
Note. The change must be more than to change a part
between an operative and an inoperative position. |
| | (6)
Note. If one of the tools is used in snow removal, it
should be classified in this class, subclass 241, and
cross-referenced in this subclass. |
SEE OR SEARCH CLASS:
| 172, | Earth Working,
subclasses 245+ for an earth working tool which is convertible
or changeable by disassembly or assembly; subclass 438
for a combined earth working implement. |
| 414, | Material or Article Handling,
subclasses 685+ for a shovel or fork-type material handling
implement; subclasses 722+ for a material handling implement
including shovel, rake, handle, or boom
structure; and subclass 912 for a material handling implement
which is combined or convertible. |
|
| | |
404 | Combined with subsoiler: |
| | This subclass is indented under subclass 403. Apparatus in which the excavator is provided with an earth
ripping tooth for ripping or scarifying the earth.

A - Vehicle; B - Bucket or scoop; C - Diggingedge; D - Scarifierteeth
SEE OR SEARCH CLASS:
| 172, | Earth Working,
subclasses 699+ for specifics of a subsoiler; subclasses 784+ and
817 for a subsoiler combined with a scraper. |
| 299, | Mining or In Situ Disintegration of Hard Material,
subclasses 37.1+ and 67 for a hard material disintegrating machine
having similar cutter. |
|
| | |
405 | Combined with fork or rake: |
| | This subclass is indented under subclass 403. Apparatus wherein one of the implements includes a plurality
of elongated tines.

A - Vehicle; B - Boom stick; C - Boomsupport; D - Bucket;E - Bucket
control means; F - Boom control means; G - Rake
SEE OR SEARCH THIS CLASS, SUBCLASS:
| 301+, | for a fork or rake used in clearing the land. |
SEE OR SEARCH CLASS:
| 172, | Earth Working,
subclass 815 for a tine attached to a leveling blade. |
|
| | |
406 | Combined with clamp, grapple, or shear: |
| | This subclass is indented under subclass 403. Apparatus wherein one of the implements includes means for
gripping, holding, or clasping material or object, or
cutting means such as a fixed blade and a movable blade with means to
move the movable blade toward and away from the fixed blade.

Fig. 1 COMBINED WITH SHEAR; A - Vehicle; B - Hydraulicmeansfor bucket; C - Bucket; D - Shears; E - Shears
actuating means

FIG. 2 - COMBINEDWITH CLAMPA- Bucket; B - Digging
teeth; C - Clamp; D - Boom stick; E - Control means
SEE OR SEARCH CLASS:
| 30, | Cutlery,
subclasses 34.05+ for a material handler having a grip-type
shear. |
| 83, | Cutting,
subclass 928 for a vehicle mounted cutting device. |
| 144, | Woodworking,
subclasses 34.1+ for a cutting or gripping device used in tree felling. |
| 294, | Handling: Hand and Hoist-line
Implements,
subclasses 86.4+ for a specific grapple. |
| 414, | Material or Article Handling,
subclasses 722+ for a material handling implement including shovel, rake, handle, or
boom structure; subclasses 729+ for a material
handler including a grab. |
|
| | |
407 | With scraper: |
| | This subclass is indented under subclass 403. Apparatus wherein one of the implements is a leveling blade.
| | (1)
Note. If the scraper is used in snow removal, it
should be classified in Class 37, subclass 241, and
cross-referenced here. |
SEE OR SEARCH THIS CLASS, SUBCLASS:
| 241, | for a digging implement combined with or convertible
to a snow removal device. |
| 266+, | for a snowplow scraper blade. |
SEE OR SEARCH CLASS:
| 172, | Earth Working,
subclasses 810+ for specifics of a bulldozer-type leveling blade. |
|
| | |
408 | Integrally mounted to a tool body and independently usable
by repositioning the tool body: |
| | This subclass is indented under subclass 407. Apparatus including a leveling or scraping blade fixed to
another tool which becomes operational by movement of the tool combination (e.g., by
pivotal rotation or movement) so that only one tool can
be used at a time.
| | (1)
Note. The structure upon which the tools are mounted
must be manipulated in some fashion such that while one tool is in
a working position the other tool is held in a nonoperative position, and, by reverse
manipulation, one tool can be moved to nonoperative position
while the other tool is moved to working position. | |
| | |
410 | Separate tools simultaneously mounted and independently
usable: |
| | This subclass is indented under subclass 407. Apparatus including plural implements which are mounted
on the same vehicle or support structure but are not particularly
designed to cooperate with one another.

A - Scoop or bucket; B - Scoopcontrol means; C - Front wheels;D - Scraper; E - Connecting
means to vehicle; F - Draw bar
| | (1)
Note. The tools are intended to be used separately
and are more or less just conveniently mounted on the support structure. | |
| | |
411 | SCOOP OR EXCAVATING AND TRANSPORTING CONTAINER: |
| | This subclass is indented under the class definition. Apparatus wherein the excavator includes a ladle, shovel, or
bucket capable of digging and holding the material.
| | (1)
Note. Patents in which the scoop is claimed in conjunction
with a boom, dipstick, or liftlinks constitute
a recitation of a handling structure and are classified in Class
414, Material or Article Handling.

A - Tractor or vehicle ; B - Bowlor scoop; C - Push frame;D - Rear
wheels; E - Hitch (goose neck); F - Draft
arms; G - Separatemechanism for bowl operation |
SEE OR SEARCH THIS CLASS, SUBCLASS:
| 106+, | for a railway grader with a scoop. |
| 264+, | for a snow or ice removing device having a scoop. |
| 341, | for a dredger having scoop as a digging tool. |
SEE OR SEARCH CLASS:
| 172, | Earth Working,
subclasses 26.5+ for a dragline scraper; subclasses 63+ for
a nondriven tool; subclasses 197 and 199 for a drag, scraper, or
leveling blade; subclass 684.5 for a frame supported
blade or scraper; subclasses 777, 779, 780, and
781 for a scraper; subclasses 811+ for a transversely mounted
blade. |
| 294, | Handling: Hand and Hoist-Line Implements,
subclasses 68.1 through 68.3for a hoistable receptacle and subclass 176 for
a scoop. |
| 414, | Material or Article Handling,
subclasses 722+ for a shovel, rake, handle, or
boom structure. |
|
| | |
413 | With alarm, indicator, signal, or inspection means: |
| | This subclass is indented under subclass 411. Apparatus including means to either acknowledge, measure,
detect, or examine a change in the excavator, the excavated material,
or the environment associated therewith.
SEE OR SEARCH THIS CLASS, SUBCLASS:
| 308, | for signal, scale, indicator, or inspection means
for a dredger. |
SEE OR SEARCH CLASS:
| 116, | Signals and Indicators, for an alarm, indicator, or signal of a mechanical nature. |
| 340, | Communications: Electrical, for an alarm, indicator, or signal of an electrical
nature. |
| 414, | Material or Article Handling,
subclass 698 for a material handling device of the tilting shovel
or fork-type having an indicating means. |
| 701, | Data Processing: Vehicles, Navigation, and Relative
Location,
subclass 50 for vehicle guidance, operation, or indication
of a construction or agricultural vehicle. |
|
| | |
414 | Condition responsive or programmable means controls the
excavating operation: |
| | This subclass is indented under subclass 412. Apparatus having means to activate digging means into digging
condition by the control of a pre-established sequencing means.
SEE OR SEARCH THIS CLASS, SUBCLASS:
| 348, | for a condition responsive ditcher. |
| 382, | for a condition responsive road grader. |
SEE OR SEARCH CLASS:
| 172, | Earth Working,
subclasses 2+ for an earth working device having automatic control. |
| 701, | Data Processing: Vehicles, Navigation, and Relative
Location,
subclass 50 for vehicleguidance, operation, or indication of
a construction or agricultural vehicle. |
|
| | |
416 | Control of scoop component (e.g., elevator, apron, or ejector): |
| | This subclass is indented under subclass 414. Apparatus wherein the significance is attributed to regulating
the operation of one or more of the various components which make
up the excavator (e.g., the loading mechanism, the gate which swings
to close the bucket to retain the pile of earth, or the gate which
discharges the earth). |
| | |
418 | With tandem or plural scoops or compartments: |
| | This subclass is indented under subclass 412. Apparatus including at least two buckets one behind the
other, or the bucket being divided into separate parts or sections
partitioned from one another with each separate part being adapted
to hold the excavated material.

A - Front or first bowl; B - Rear or second bowl; C,D - Diggingedge; E,F - Support or draft arms |
| | |
419 | With means to aid loading or load distribution: |
| | This subclass is indented under subclass 412. Apparatus combined with means to help in directing the material
into the container as it moves over the ground or to help in spreading the
material more or less evenly throughout the container.


A - Tractor; B - Front wheels; C - Rear wheels; D - Gooseneck or coupling; E - Digging edge; F - Bowl; G - Loading structure;H - Loading blades; J - Load pusher; K - Earth section; L - Gradeof cut; M - Earth accumulation |
| | |
420 | By auger: |
| | This subclass is indented under subclass 419. Apparatus wherein the mechanism which aids loading or load
distribution consists of a rotary conveyor having a shank with a
spiral channel or channels in the shape of a screw and is adapted
to feed or distribute the material.

A - Ground; B - Tractor; C - Hitch; D - Support frame;E - Digging edge; F - Auger; G - Earth; H - Bowl; J - Rear wheels |
| | |
421 | By digging movement of apron: |
| | This subclass is indented under subclass 419. Apparatus wherein the mechanism which aids loading or load
distribution consists of a front gate or short ramp which normally
closes the front of the scoop to retain the load.
| | (1)
Note. The "apron" aids loading or load distribution
by performing a hoeing motion to engage the earth being excavated
as the scoop moves along and then pulling it up into the scoop.

A - Bowl; B - Digging edge; C - Rear wheels; D - Tractor;E - Draft frame; F - Draft arms; G - Loading mechanism; H - Apron | |
| | |
422 | By endless conveyor: |
| | This subclass is indented under subclass 419. Apparatus wherein the mechanism which aids loading or load
distribution is in the form of a series of elements connected to
one another in a continuous loop travelling about two or more pulleys,
sprockets, or drums.

A - Bowl; B - Digging edge; C - Rear wheels; D - Tractor;E - Goose neck; F - Hitch; G - Draft arms; H - Endless conveyor |
| | |
424 | With coaction between apron or elevator and bowl: |
| | This subclass is indented under subclass 412. Apparatus wherein the significance is attributed to a relative
movement or interaction between the bucket that carries the earth
and the gate which swings to close the bucket to retain the pile
of earth or the mechanism which distributes earth evenly in the
bucket.

A - Bowl bottom; B - Digging edge; C - Bowl side walls;D - Rear apron; E - Front apron; F - Front apron control;G - Bowlstructure; H - Rear apron control; J - Earth; K - Rear wheels; L- Draft to vehicle |
| | |
425 | Actuated by fluid means: |
| | This subclass is indented under subclass 424. Apparatus wherein the relative action between the apron
or elevator and bowl is controlled by hydraulic or pneumatic means.
SEE OR SEARCH THIS CLASS, SUBCLASS:
| 428, | for a fluid-actuated bowl manipulation. |
| 430, | for a fluid-actuated apron manipulation. |
|
| | |
426 | With coaction between apron or elevator and ejector: |
| | This subclass is indented under subclass 412. Apparatus wherein the significance is attributed to a relative
movement or interaction between the load pushing or discharging
member and the gate which swings to close the bucket to retain a
pile of earth or the mechanism which distributes the earth evenly
in the bucket.

A - Tractor; B - Bowl; C - Hitch; D - Draw bar; E - Draft bar;F - Digging edge; G - Elevator; H - Bowl walls; J - Fixed bowl floor;K - Ejector mechanism; L - Movable bowl floor 
A - Tow bar;B - Goose neck; C - Yoke ; D - Bowl; E - Diggingedge; F - Apron; J - Ejector mechanism; K - Ejector; L - Bowl frame;M - Front wheels; N - Rear wheels SEE OR SEARCH THIS CLASS, SUBCLASS:
| 424+, | for the coaction between the apron or elevator and
bowl. |
| 429+, | for an apron structure manipulation. |
|
| | |
427 | With significant bowl structure or manipulation: |
| | This subclass is indented under subclass 412. Apparatus wherein the significance is attributed to the
way in which the scoop components are arranged or put together to
form a particular scoop shape or to the improvement in the operational
control of the body portion of the scoop.

A - Bowl side walls; B - Digging edge; C - Bowl supportframe; D - Gate; E - Gate support arms; F - Bowl support arms; G- Boom beam; H - Tow bar to vehicle; J - Rear wheels; K - Frontwheels; L - Control cable for bowl manipulation SEE OR SEARCH THIS CLASS, SUBCLASS:
| 429+, | for an apron structure or manipulation. |
|
| | |
428 | Actuated by fluid means: |
| | This subclass is indented under subclass 427. Apparatus wherein the bowl manipulation is controlled by
hydraulic or pneumatic means.
SEE OR SEARCH THIS CLASS, SUBCLASS:
| 430, | for a fluid-actuated apron structure manipulation. |
|
| | |
429 | With significant apron structure or manipulation: |
| | This subclass is indented under subclass 412. Apparatus wherein the significance is attributed to the
way in which the gate components are arranged or put together to
form a particular shape or to the improvement in the operational control
of the gate.

A - Earth; B - Bowl; C - Digging edge; D - Apron mechanism;E - Apron control cable; F - Ground wheels
| | (1)
Note. Apron usually assists in the loading of the bowl, closes
the loaded bowl, and is elevated for dumping. The simplest type
of apron is a one-piece plate, usually curved, having mounting arms that
are pivoted on the bowl side walls so that the lower edge of the
apron moves from elevated position to closed position in an arc
of a circle struck about the axis formed by the mounting pivot. |
SEE OR SEARCH THIS CLASS, SUBCLASS:
| 424+, | for coaction between apron or elevator and bowl. |
|
| | |
431 | With particular unloading feature: |
| | This subclass is indented under subclass 412. Apparatus in which the significance is attributed to act
of removing the excavated earth from the scoop.

A - Excavator; B - Digging edge; C - Bowl; D - Bowl sidewalls; E - Bowl floor; F - Discharge opening; G - Earth; H - Ejectorplate; J - Ejector mechanism |
| | |
432 | Rear unloading: |
| | This subclass is indented under subclass 431. Apparatus wherein the earth is discharged from the back
of the scoop.
SEE OR SEARCH THIS CLASS, SUBCLASS:
| 437+, | for rear unloading of a bowl.

A - Bowl; B - Draw bar to vehicle; C - Goose neck or coupling; D - Digging edge; E - Bowl side plates; F - Bottom plate or floor;G - Ejector plate or blade; H - Control cable; J - Front wheels;K - Rear wheels | |
| | |
434 | Manually operated (e.g., two-wheel barrow): |
| | This subclass is indented under subclass 411. Apparatus wherein the scoop is provided with a handle or
handles for hand manipulation for digging, transporting, and unloading
of material.

A - Scoop or bucket; B - Scoop adjusting means; C - Handlebarassembly |
| | |
435 | Mounted rearwardly of vehicle: |
| | This subclass is indented under subclass 411. Apparatus wherein the bucket or scoop is mounted at the
back of a vehicle, usually on a vehicle"s three-point linkage.
SEE OR SEARCH CLASS:
| 414, | Material or Article Handling,
subclass 703 for a bucket or scoop-type load carrier attached
to a rear mounted draft member. |
|
| | |
436 | Bowl operatively connected to wheel axle: |
| | This subclass is indented under subclass 435. Apparatus wherein the bucket is pivotally connected to the
wheel supporting shaft through a lever mechanism, rack and pinion
mechanism, or ratchet and pawl mechanism whereby the rotation of
the wheel supporting shaft imparts necessary force to the mechanism
to operate the bucket. |
| | |
437 | Including rear unloading: |
| | This subclass is indented under subclass 436. Apparatus wherein the material is discharged from the back
of the bowl.
SEE OR SEARCH THIS CLASS, SUBCLASS:
| 432, | for a rear unloading feature in a bowl supported
on a vehicle between longitudinally spaced ground supports. |
|
| | |
441 | Dumping runner or revolving-type: |
| | This subclass is indented under subclass 435. Apparatus including a lever mechanism, rack and pinion mechanism,
or similar means for controlling the bowl when it is inverted for unloading.
SEE OR SEARCH CLASS:
| 172, | Earth Working,
subclasses 205 and 236+ for an earth working means manipulated
by a ground engageable draft responsive means. |
|
| | |
442 | Pushed forwardly of vehicle for filling: |
| | This subclass is indented under subclass 411. Apparatus wherein the container or scoop is attached at
the front of a wheeled or tracked vehicle and is adapted to be pushed
into the material to be excavated.

A - Tractor; B - Lift arm or boom; C - Bucket positioningmechanism; D - Bucket SEE OR SEARCH CLASS:
| 172, | Earth Working,
subclasses 810+ for a mounting means for connecting an earth working
element to, and ahead of, a self-propelled vehicle and wherein a
claim may include the tool, the vehicle, or a control system for
the adjusting linkage. |
|
| | |
443 | Dipper-type (e.g., backhoe bucket): |
| | This subclass is indented under subclass 411. Apparatus wherein the scoop or excavating container is normally
mounted on a pivoted boom which is mounted to a vehicle.

A - Backhoe bucket; B - Stick; C - Boom; D - Track wheels SEE OR SEARCH THIS CLASS, SUBCLASS:
| 379+, | for a ditcher having a shovel or scoop. |
SEE OR SEARCH CLASS:
| 414, | Material or Article Handling,
subclasses 694+ for an apparatus comprising a boom mounted to swing
horizontally about an axis and having a shovel or fork handle attached
thereto for a fixed pivot. |
|
| | |
444 | Scoop or bucket structure, per se: |
| | This subclass is indented under subclass 411. Apparatus wherein the significance is attributed to the
components of the excavating container itself or some portion thereof
(e.g., scoop bottom, cutting edge).

A - Bucket interior; B - Bucket edge; C - Bottom wall; D- Mounting; E - Digging edge; F - Bucket teeth SEE OR SEARCH THIS CLASS, SUBCLASS:
| 398+, | for the bucket structure of a dragline or cable
operated excavator. |
| 465, | for the bucket structure of an endless digger. |
SEE OR SEARCH CLASS:
| 172, | Earth Working,
subclasses 701.1+ for a bulldozer blade. |
| 414, | Material or Article Handling,
subclasses 722+ for subject matter which includes details of the
construction of a scoop, shovel, or tine. |
|
| | |
445 | Including door structure or operator: |
| | This subclass is indented under subclass 444. Apparatus wherein the significance is attributed to the
operable and closable member which in the closed position retains
the load, and in the open position allows the load to fall from
the bottom of the scoop or container.
SEE OR SEARCH CLASS:
| 414, | Material or Article Handling,
subclass 725 for means to force a load out of the scoop. |
|
| | |
446 | DIGGING EDGE: |
| | This subclass is indented under the class definition. Apparatus including a leading portion of a scoop, shovel,
or other implement which cuts into the material to be excavated
or the attachment structure thereof.

A - Bucket; B - Digging edge; C - Rear bracket wall; D- Bucket side walls; E - Mounting means SEE OR SEARCH CLASS:
| 172, | Earth Working,
subclasses 701.1+ wherein the earth working tool is a transversely
elongated bulldozer blade. |
| 175, | Boring or Penetrating the Earth,
subclass 327 for an earth boring or penetrating bit or bit element. |
|
| | |
447 | Oscillating or reciprocating: |
| | This subclass is indented under subclass 446. Apparatus wherein the leading portion of the excavating
implement is vibrated or moved back and forth relative to the remainder
of the implement.

A - Bucket; B - Boom arm; C - Hydraulic cylinder; D - Bucketteeth; E,F - Piston and piston rod; G - Vibrating hammer SEE OR SEARCH CLASS:
| 172, | Earth Working,
subclass 40 for a vibrating earth working tool. |
| 299, | Mining or In Situ Disintegration of Hard Material,
subclasses 37.1+ for a disintegrating machine having a reciprocating
cutter; subclasses 85.1 and 85.2 for a cutterhead or teeth having parts
moving relatively during operation. |
|
| | |
448 | Corner guard (e.g., corner tooth): |
| | This subclass is indented under subclass 446. Apparatus wherein at least one side of a bucket or scoop
is provided with an additional separable cutting or wear protection
element specifically adapted for being located at the junction of
a digging edge and the side wall of the bucket or scoop.

A - Corner guard; B - Bucket side wall; C - Bucket bottomplate ; D - Digging edge; E - Mounting means SEE OR SEARCH CLASS:
| 172, | Earth Working,
subclass 701.2 for a bulldozer blade having a removable corner
bit and subclass 701.3 for a bulldozer blade having a removable cutting
edge. |
|
| | |
449 | Repositionable digging edge (e.g., reversible): |
| | This subclass is indented under subclass 446. Apparatus wherein a cutting implement is adapted to be disassembled
and reassembled in a different position so that a different portion
of the cutting implement can be used to directly engage the material
to be excavated.

A - Bucket bottom plate; B - Removable digging edge; C- Integral adaptor; D - Retaining means; E - Retaining means; F- Digging teeth
| | (1)
Note. Included in this subclass are patents having digging
implement which is adjustably positioned in a variety of positions
or can be easily interchanged to provide various cutting edge contours by
rotation through 180 degrees or reattachment. |
| | (2)
Note. After the digging edge has received a desired degree
of wear, its operating position on the base member may be reversed
so as to present a fresh or unworn surface so that the life of the digging
edge will be effectively prolonged. |
SEE OR SEARCH CLASS:
| 172, | Earth Working,
subclasses 702+ for a tool or standard wherein a part of the tool
may have its position changed through 180 degrees for the purpose of
presenting a new wear portion or edge of the tool or for adjusting
the position of some part of the tool. |
|
| | |
450 | Removable digging edge having integral tooth adaptor: |
| | This subclass is indented under subclass 446. Apparatus including a separable shroudlike cutting edge
having means for mounting cutting teeth thereon.
| | (1)
Note. Included in this subclass are patents wherein upon wear
of a particular cutting edge or an adapter module, only the particular
worn component need be replaced and this is accomplished without
disturbing of the other components. |
SEE OR SEARCH CLASS:
| 172, | Earth Working,
subclass 701.3 for a bulldozer tool having a transversely elongated
blade with a removable cutting edge; subclasses 772+ for
a removable cutting or wearing edge or element for a tool. |
|
| | |
451 | Distinct wear element mounted between teeth: |
| | This subclass is indented under subclass 446. Apparatus wherein the removable cutting edge sections are
mounted between the digging teeth to increase life of the permanent
surface of a bucket or scoop.

Figure 1. A - Bucket side wall; B - Bucket lip or projection;C - Bucket pad; D - Bucket slot; E - Wear element; F - Corner adaptor 
Figure 2. A - Bucket; B - Digging edge; C - Digging teeth;D - Connecting lug; E - Tooth base portion; F - Reversible diggingedge |
| | |
452 | Tooth or adaptor: |
| | This subclass is indented under subclass 446. Apparatus combined with a shearing point or projection extending
from a digging edge being specifically adapted for penetrating or
breaking the ground, or a socket or projection having a structure
specifically adapted for mounting a digging tooth.

A - Tooth; B - Tooth front face; C - Tooth side face; D- Tooth adaptor or holder ; E - Tooth prongs; F - Top adaptor member;G - Bottom adaptor member |
| | |
453 | Having wear cap: |
| | This subclass is indented under subclass 452. Apparatus including a replaceable element mounted on an
upper or a lower edge of a tooth or adaptor for prolonging the life
of the tooth or adaptor.
| | (1)
Note. Included in this subclass are patents in which the main
tooth body has some additional wear structure added thereto or to
the adaptor. The tooth itself is not considered a wear cap.

A - Tooth rearward portion; B - Tooth forward portion;C - Tooth top surface; D - Tooth bottom surface; E - Tooth leadingedge; F - Wear cap or insert | |
| | |
454 | Repositionable or replaceable tooth (e.g., reversible): |
| | This subclass is indented under subclass 452. Apparatus wherein the digging tooth is adapted to be disassembled
and reassembled in a different position so that a different portion
of the digging point can be used to engage the material which is
to be excavated.

A - Adaptor; B - Tooth; C - Tooth reversible digging edge;D - Tooth working surface; E - Retaining means
| | (1)
Note. The operating position of the tooth is usually reversed
on the digging edge to present a new surface so as to prolong the
life of the digging point. |
SEE OR SEARCH THIS CLASS, SUBCLASS:
| 449, | for a repositionable or reversible digging edge. |
|
| | |
455 | Mounting or retaining means: |
| | This subclass is indented under subclass 452. Apparatus including the specifics of the attachment structure
(e.g., clamp, pin, key, or interlocking surfaces) for releasably
securing a tooth or adaptor.

A - Bowl bottom wall; B - Tooth; C - Adaptor; D - Mountingor retaining means SEE OR SEARCH CLASS:
| 299, | Mining or In Situ Disintegration of Hard Material,
subclasses 106+ for a tooth mounting means. |
|
| | |
456 | Including pin or key: |
| | This subclass is indented under subclass 455. Apparatus wherein the attachment structure includes a removable
wedge or rod-type retainer adapted to hold the tooth.

A - Tooth; B - Adaptor; C - Pin or key |
| | |
457 | Having resilient elastomeric element: |
| | This subclass is indented under subclass 456. Apparatus also combined with a polymeric or rubberlike substance
having elastic properties adapted to provide a frictional retention
force.
SEE OR SEARCH CLASS:
| 299, | Mining or In Situ Disintegration of Hard Material,
subclass 107 for a tooth mounting means having a resiliently
biased retaining means. |
| 411, | Expanded, Threaded, Driven, Headed, Tool-Deformed,
or Locked-Threaded Fastener,
subclass 512 for a fastener securing element having an elastomeric
material..

A - Adaptor; B - Tooth; C - Tooth digging edge; D - Adaptornoise; E - Aligned openings; F - Resilient member; G - Pin or key | |
| | |
458 | Having resilient metallic element: |
| | This subclass is indented under subclass 456. Apparatus also combined with a hard springlike material
having elastic properties adapted to provide a frictional retention
force.

A - Bucket plate; B - Adaptor; C - Tooth; D - Opening forpin; E - Tooth digging edge; F - Opening for pin; G - Metallic spring;H - Pin or key SEE OR SEARCH CLASS:
| 172, | Earth Working,
subclass 705 for a spring biased or formed tool or tool part. |
| 411, | Expanded, Threaded, Driven, Headed, Tool-Deformed,
or Locked-Threaded Fastener,
subclass 516 for a fastener securing element having a metallic springlike
element. |
|
| | |
459 | Wire or rod formed: |
| | This subclass is indented under subclass 458. Apparatus wherein the resilient metallic element is made
from an elongate element of a circular cross section.

A - Adaptor; B - Tooth; C - Adaptor opening for tooth; D- Wired spring; E - Pin or key SEE OR SEARCH CLASS:
| 403, | Joints and Connections,
subclasses 154+ for a distinct pin retainer. |
| 411, | Expanded, Threaded, Driven, Headed, Tool-Deformed,
or Locked-Threaded Fastener,
subclass 530 for a wire or rod formed resilient metallic element. |
|
| | |
461 | CLAMSHELL BUCKET: |
| | This subclass is indented under the class definition. Apparatus wherein the digging tool consists of two pivotally
cooperating digging elements which are adapted to be dropped in
the open position into the material to be excavated and then adapted
to be closed, thereby encompassing the material between the two
elements.

A - Clamshell bucket; B - Closing line; C - Holding line; D- Boom; E - Tag line; F - Boom hoist rope; G - Track; H - Turntable SEE OR SEARCH CLASS:
| 294, | Handling: Hand and Hoist-line Implements,
subclasses 86.4+ for a grapple adapted for grasping a load and having
a handling or hoist-line terminal. |
|
| | |
462 | ENDLESS DIGGER: |
| | This subclass is indented under the class definition. Apparatus wherein the cutting or breaking device is in the
form of a series of elements connected to one another in a continuous
loop travelling about two or more pulleys, sprockets, or drums.

A - Spoil bank; B - Mass of overburden; C - Seam dug bythe excavator; D - Endless digging means; E - Endless flexible memberor chain; F - Tracked wheels SEE OR SEARCH THIS CLASS, SUBCLASS:
| 305, | for an endless digger or conveyor. |
| 332, | for an endless driven digging element. |
| 338+, | for endless bucket line. |
| 352, | for a ditcher with an endless nonbucket-type digging
means. |
| 353+, | for a ditcher with an endless bucket. |
| 388, | for a road grader having a transverse endless scraper
or bucket. |
SEE OR SEARCH CLASS:
| 175, | Boring or Penetrating the Earth,
subclasses 89+ for an earth boring tool element on a continuously
driven flexible endless member. |
| 198, | Conveyors: Power-Driven,
subclass 509 for a conveyor having buckets specialized to gather
load batches; subclasses 701+ for an endless bucket conveyor
of general utility. |
| 299, | Mining or In Situ Disintegration of Hard Material,
subclasses 79.1+ for a cutterhead or tooth, especially subclasses
82.1+ for a chain-type head with plural teeth on a single
link. |
|
| | |
463 | With endless conveyor: |
| | This subclass is indented under subclass 462. Apparatus wherein the means to carry or discharge the earth
includes an orbiting continuous carrier to receive the loosened
earth from the digger.

A - Prime mover support frame; B - Endless digging buckets;C - Endless flexible member or chain; D - Endless conveyor SEE OR SEARCH THIS CLASS, SUBCLASS:
| 237+, | for a snow or ice removal machine with an endless
conveyor. |
| 359, | for a ditcher with a longitudinal endless conveyor. |
| 360+, | for a ditcher with a transverse endless conveyor. |
| 368+, | for a slit ditcher with an endless conveyor. |
| 375+, | for a plow ditcher having an endless conveyor. |
| 389+, | for a road grader plow with an endless conveyor. |
SEE OR SEARCH CLASS:
| 198, | Conveyors: Power-Driven,
subclass 307.1 for a bucket conveyor; subclasses 312+ for
a conveyor shiftably mounted on a vehicle; subclass 509 for a conveyor
having buckets specialized to gather load batches. |
| 414, | Material or Article Handling,
subclass 398 for a power-driven conveyor for loading a wheeled
vehicle; subclass 502 for a self-loading or unloading vehicle having
a power-driven conveyor. |
|
| | |
464 | Having nonbucket-type digging means: |
| | This subclass is indented under subclass 463. Apparatus including cutting or breaking implements adapted
to drag the material during the excavating operation and do not
have any bottom and side walls to hold the excavated material.

A - Tractor or prime mover; B - Digging teeth (nonbucket-type);C - Endless chain; D - Ground ; E - Ditch; F - Sprockets SEE OR SEARCH THIS CLASS, SUBCLASS:
| 332, | for an endless driven digging elements for a dredger. |
| 352, | for a ditcher with an endless digging means. |
| 388, | for a road grader having a transverse endless scraper. |
SEE OR SEARCH CLASS:
| 198, | Conveyors: Power-Driven,
subclass 519 for a conveyor section having means which enables
the section"s conveying member to engage and to remain
in contact with the surface of a mound or loose material. |
|
| | |
465 | Digging chain, bucket, blade, or tooth structure, per se: |
| | This subclass is indented under subclass 462. Apparatus wherein the significance is attributed to the
configuration or shape of the excavating implement or to the improved
cutting effectiveness of the excavating implement or to the additional
or improved support or guide means.

A - Digging shovel; B - Digging edge; C - Digging face; D- Guide flange; E - Sprocket; F - Sprocket shaft; G - Chain link;H - Link pins SEE OR SEARCH THIS CLASS, SUBCLASS:
| 327+, | for a specific cutterhead structure of a dredger. |
| 339, | for a bucket structure of a dredger. |
| 444, | for a scoop or bucket structure of an excavating
and a transporting container. |
| 455+, | for a mounting or retaining means of an excavating
tooth or adapter. |
SEE OR SEARCH CLASS:
| 30, | Cutlery,
subclasses 381+ for a chain structure including a guide bar or guide
means. |
| 83, | Cutting,
subclasses 830+ for a diverse chain saw cutting element. |
| 172, | Earth Working,
subclass 100 for a blade on an endless driven belt or chain. |
| 175, | Boring or Penetrating the Earth,
subclasses 327+ for a cutter bit or bit element. |
| 299, | Mining or In Situ Disintegration of Hard Material,
subclasses 79.1+ for a cutterhead or tooth. |
|
| | |
466 | MISCELLANEOUS: |
| | This subclass is indented under the class definition. Apparatus not properly classifiable in any preceding subclasses
of this class. |
| | |
467 | Handled or hand operated: |
| | This subclass is indented under subclass 435. Apparatus wherein the scoop or bowl is adapted to be controlled
at one end by a human being who walks rearwardly of the scoop or bowl
and controls its operation by grasping the handlebar or similar
means while the other end is connected to a suitable source of power
such as a draft animal or a tractor to draw the scoop or bowl over
the surface to be excavated.

A,B,C - Bowl or scraper; D - Connection to vehicle; E - Handle;F - Apron |
| | |
468 | Having quick-connect coupling: |
| | This subclass is indented under subclass 403. Apparatus including a readily separable operating device
and a support device for connecting the bucket or scoop to the excavator
consisting of means operable to take up a condition to retain the
bucket with the excavator in engagement, or a release condition
to allow the detachment of the bucket from the excavator.
SEE OR SEARCH CLASS:
| 403, | Joints and Connections,
subclasses 345+ for interfitted members. |
| 414, | Material or Article Handling,
subclass 723 for means to facilitate attachment of shovel or
rake to handle or boom; subclass 724 for a handling device releasably
attached to a bucket or rake. |
|
| | |
CROSS-REFERENCE ART COLLECTIONS
901 | BUCKET CLEANERS |
| | Bucket cleaners. |
| | |
902 | HYDRAULIC MOTORS |
| | Hydraulic motors. |
| | |
903 | SCOOP OR SCRAPER ATTACHMENTS |
| | Scoop or scraper attachments. |
| | |
904 | VIBRATION MEANS FOR EXCAVATING TOOL |
| | Vibration means for excavating tool. |
| | |
905 | NONDREDGE EXCAVATING BY FLUID CONTACT OR EXPLOSION |
| | Nondredge excavating by fluid contact or explosion. |
| | |
906 | VISUAL AIDS AND INDICATORS FOR EXCAVATING TOOL |
| | Visual aids and indicators for excavating tool. |
| | |
907 | AUTOMATIC LEVELING EXCAVATORS |
| | Automatic leveling excavators. |
| | |
908 | CANAL CLEANERS |
| | Canal cleaners. |
| | |