CPC Definition - Subclass H04B
This place covers:
The transmission of information carrying signals, the transmission being independent of the nature of the information. Monitoring and testing arrangements and the suppression and limitation of noise and interference.
The user is referred to the IPC definitions of individual main groups of subclass H04B:
Transmission systems characterised by the waveband used for transmission:
Radio waves - see definition for main group H04B 7/00.
Light, infrared waves or corpuscular radiation - see definition for main group H04B 10/00.
Ultrasonic, sonic or infrasonic waves - see definition for main group H04B 11/00.
Transmission systems characterised by the medium used for transmission:
Conductors - see definition for main group H04B 3/00.
Free-space propagation - see definition for main groups H04B 5/00, H04B 7/00, H04B 10/00, H04B 11/00.
Earth, water or body - see definition for main group H04B 13/00.
Transmission systems characterised by the carrier modulation used for transmission:
Pulse modulation - see definition for main group H04B 14/00.
If the transmission systems are specially adapted for particular applications classification is also made in subclasses listed in section "Informative references".
Attention is drawn to the following places, which may be of interest for search:
Transmission systems for measured values, control or similar signals | |
Speech analysis or synthesis | |
Coding, decoding or code conversion | |
Broadcast communication | |
Multiplex communication | |
Secret communication | |
Transmission of digital information | |
Telephonic communication | |
Pictorial communication | |
Wireless communication networks |
Transmission systems characterised by the medium used for transmission or by band of employing waves should be classified in groups H04B 3/00- H04B 11/00 or in residual group H04B 13/00.
Transmission systems characterised by the use of carrier modulation or sub-carrier should be classified in group H04B 14/00 and details thereof in group H04B 1/00.
This place covers:
Details of transmission systems that are general for transmission systems covered by two or more groups H04B 3/00-H04B 13/00.
Details of transmission systems not characterized by the medium used for transmission.
If the transmission systems are specially adapted for particular applications classification is also made in subclasses listed in section "Informative references".
Attention is drawn to the following places, which may be of interest for search:
Narrow band interference in spread spectrum systems | |
Line transceivers | |
Monitoring; testing | |
Spatial arrangements of component circuits in radio pills for living beings | |
Waveguides; Resonators, lines or other devices of the waveguide type | |
Antennas | |
Battery chargers | |
Demodulation or transference of modulation from one carrier to another | |
Amplifier circuits | |
Modifications of amplifiers to reduce non-linear distortion | |
Gain Control circuits | |
Filter circuits | |
Tuning resonant circuits | |
Power saving arrangements |
In this place, the following terms or expressions are used with the meaning indicated:
Homodyne receiver | A receiver which involves multiplying the modulated received signal by a local oscillator which has the same frequency as that associated with the received signal, so that the received signal will be directly converted into the baseband. |
Superheterodyne receiver | A receiver in which the frequency of the incoming signal is reduced in a mixer or frequency changer by heterodyning with another frequency at the local oscillator. (Heterodyning: combining two sinusoidal frequencies radio frequency waves in a non-linear device resulting in sum and difference frequencies). |
Synchrodyne receiver | A receiver in which a mixing carrier signal is inserted in exact synchronism with the original carrier at the transmitter. Used for the selective detection of signals coded in a certain way. |
This place covers:
Systems wherein components typically implemented in hardware, e.g. filters
modulators/demodulators, are implemented using software, e.g. by involving an AD or DA conversion stage such that at least part of the signal processing is performed in the digital domain.
Attention is drawn to the following places, which may be of interest for search:
Cdma | |
Tdma | |
Digital baseband systems | |
Digital modulation/demodulation | |
Image transmission |
This place covers:
selecting a frequency channel within the SDR system
Attention is drawn to the following places, which may be of interest for search:
Multiplexing of multicarrier modulation signals | |
Multiplexing of multicarrier modulation signals being represented by different frequencies |
This place does not cover:
Using channel filtering with AD/DA conversion at radiofrequency or intermediate frequency stage | |
Impedance networks using digital techniques |
This place does not cover:
Using a sampling rate lower than twice the highest frequency component of the sampled signal |
Attention is drawn to the following places, which may be of interest for search:
Demodulation of angle-modulated signals |
Attention is drawn to the following places, which may be of interest for search:
Quadrature demodulators | |
Quadrature modulators |
This place covers:
selecting a frequency channel within the SDR system
Attention is drawn to the following places, which may be of interest for search:
Multiplexing of multicarrier modulation signals | |
Multiplexing of multicarrier modulation signals being represented by different frequencies |
This place does not cover:
Using channel filtering with AD/DA conversion at baseband stage | |
Impedance networks using digital techniques |
In this place, the following terms or expressions are used with the meaning indicated:
Band | a frequency range with a bandwidth larger than a signal or channel bandwidth, in general covering several communication channels, e.g. AM broadcast band (Medium Wave) or mobile telephone communications band [such as the GSM-900MHz band] |
This place does not cover:
Using diplexing or multiplexing filters for selecting the desired band |
This place does not cover:
Common antenna for more than one band |
This place does not cover:
Using different intermediate frequencies for the different bands |
Attention is drawn to the following places, which may be of interest for search:
Means for indicating the location of accidentally buried persons | |
Distress beacons |
Attention is drawn to the following places, which may be of interest for search:
Cooling transformers | |
Cooling discharge tubes |
Attention is drawn to the following places, which may be of interest for search:
Matching circuits in general |
This place does not cover:
Transmitters with multiple parallel paths |
This place does not cover:
Transmitters with multiple parallel paths |
Attention is drawn to the following places, which may be of interest for search:
Detection of non-compliance or faulty performance in transmitters |
This place does not cover:
Portable receivers |
Attention is drawn to the following places, which may be of interest for search:
Holding or mounting accessories |
Attention is drawn to the following places, which may be of interest for search:
Spread spectrum systems | |
Equalising on HF or IF | |
Diversity systems | |
Elimination of image frequencies | |
Noise suppression by control of amplification | |
Squelching |
Attention is drawn to the following places, which may be of interest for search:
Power supplies | |
Suppression or limitation of noise from electric apparatus | |
Ripple filters | |
Demodulation | |
Filters in general |
This place does not cover:
Using adaptive balancing or compensation means | |
Narrow band interference reduction in spread spectrum systems |
Attention is drawn to the following places, which may be of interest for search:
Filter circuits |
This place does not cover:
Reduction of multipath noise by equalising |
In this place, the following terms or expressions are used with the meaning indicated:
Unwanted signal | signals outside the wanted signal bandwidth |
Attention is drawn to the following places, which may be of interest for search:
Balancing ripple filters |
Attention is drawn to the following places, which may be of interest for search:
Adaptive filter circuits and algorithms |
Attention is drawn to the following places, which may be of interest for search:
Aerials in general |
This place does not cover:
Voltage stabilisers | |
Converters | |
Filters for converters | |
Power saving arrangements |
This place does not cover:
Muting amplifiers by gain control | |
Details of power consumption reduction in a PLL | |
Power saving arrangements |
Attention is drawn to the following places, which may be of interest for search:
Resonant circuits; filters |
Attention is drawn to the following places, which may be of interest for search:
Broadcast stereophonic receivers |
Attention is drawn to the following places, which may be of interest for search:
Volume compression or expansion in amplifiers |
Attention is drawn to the following places, which may be of interest for search:
Constructional details for associated working of receivers and recording devices | |
For television signals only |
Attention is drawn to the following places, which may be of interest for search:
Remote controllers |
This place does not cover:
With control bus for exchanging commands |
Attention is drawn to the following places, which may be of interest for search:
Demodulation of amplitude-modulated oscillations by means of discharge tubes | |
Demodulation of amplitude-modulated oscillations by means of semiconductor devices | |
Amplifiers with only discharge tubes or only semiconductor devices as amplifying elements | |
Amplifiers with both discharge tubes and semiconductor devices as amplifying elements | |
Automatic gain control in amplifiers having discharge tubes | |
Automatic gain control in amplifiers having semiconductor devices |
Older documents covering circuits with vacuum tubes are placed in H04B 1/28.
In this place, the following terms or expressions are used with the meaning indicated:
Superheterodyne receiver | A receiver in which the frequency of the incoming signal is reduced in a mixer or frequency changer by heterodyning with another frequency at the local oscillator. (Heterodyning: combining two sinusoidal frequencies radio frequency waves in a non-linear device resulting in sum and difference frequencies). |
If | Intermediate Frequency |
Lo | local oscillator |
This place covers:
Additionally, super-regenerative receivers can be found in this group
In this place, the following terms or expressions are used with the meaning indicated:
Homodyne receiver | A receiver which involves multiplying the modulated received signal by a local oscillator which has the same frequency as that associated with the received signal, so that the received signal will be directly converted into the baseband. |
Synchrodyne receiver | A receiver in which a mixing carrier signal is inserted in exact synchronism with the original carrier at the transmitter. Used for the selective detection of signals coded in a certain way. |
Attention is drawn to the following places, which may be of interest for search:
Demodulator circuits |
This place does not cover:
Construction of portable transceivers | |
Specially adapted to be fitted into airplanes |
Attention is drawn to the following places, which may be of interest for search:
Paging systems | |
Traffic between a small number of stations with amplifiers or loudspeakers | |
Wireless communication networks |
Attention is drawn to the following places, which may be of interest for search:
Details of identification cards |
This place does not cover:
Portable transceivers | |
Arrangements for holding or mounting accessories |
This place does not cover:
Means for shaping the antenna pattern |
Holders or carriers being worn by a user for portable audio devices, portable handheld communication devices and portable computers to facilitate transporting or carrying, where the device is not in use or being passively used, are classified in groups A45F 5/1508, A45F 5/1516 and A45F 5/1525, respectively.
Supports for positioning or steadying a device relative to a person with the intent of using the device are classified in F16M 13/04.
Attention is drawn to the following places, which may be of interest for search:
Arrangements for carrying or protecting portable transceivers | |
Receptacles for storing portable audio devices like headphones or digital music players | |
Receptacles for storing portable handheld communication devices, e.g. pagers or smart phones | |
Receptacles for storing portable computing devices, e.g. laptops, tablets or calculators | |
Holders or carriers for portable audio devices | |
Holders or carriers for portable handheld communication devices | |
Holders or carriers for portable computers | |
Supports for positioning or steadying a device relative to a person | |
Enclosures for carrying portable computers with peripheral devices | |
Protective covers or auxiliary enclosures for portable computers | |
Wearable computers, e.g. on a belt | |
Protective covers or auxiliary enclosures for portable telephones | |
Casings, cabinets or drawers for electric apparatus |
This place covers:
Cradles ; Car kits ; boosters
Attention is drawn to the following places, which may be of interest for search:
For portable telephone terminals |
This place does not cover:
Battery chargers |
Protective covers or auxiliary enclosures specially adapted for portable computers or mobile telephones for protecting these devices during use are classified in G06F 1/1629 and H04M 1/0203, respectively.
In the context of subclass A45C, storing is understood as to refer to putting or keeping something in a receptacle for future use.
Receptacles for storing portable audio devices, portable handheld communication devices or portable computing devices where the device must be removed for use are classified in A45C 11/001, A45C 11/002 and A45C 11/003, respectively.
Attention is drawn to the following places, which may be of interest for search:
Constructional details of transmitters, e.g. casings or housings | |
Constructional details of receivers, e.g. cabinets | |
Arrangements for enabling portable transceivers to be used in a fixed position, e.g. cradles or boosters | |
Receptacles for storing portable audio devices like headphones or digital music players | |
Receptacles for storing portable handheld communication devices, e.g. pagers or smart phones | |
Receptacles for storing portable computing devices, e.g. laptops, tablets or calculators | |
Holders or carriers for portable audio devices | |
Holders or carriers for portable handheld communication devices | |
Holders or carriers for portable computing devices | |
Protective covers or auxiliary enclosures for portable computers | |
Protective covers or auxiliary enclosures for portable telephones | |
Casings, cabinets or drawers for electric apparatus |
Attention is drawn to the following places, which may be of interest for search:
In portable telephone terminals |
Attention is drawn to the following places, which may be of interest for search:
Multiband transceivers |
This place does not cover:
Transmit/receive switching in radar systems |
This place does not cover:
Microwave multiplexers | |
Multiport networks |
This place does not cover:
For repeater stations |
This place does not cover:
microwave multiplexers | |
Conjugate coupling devices of the waveguide type | |
For two-way amplifiers | |
Balance/unbalance networks | |
multiport networks | |
Multiport networks | |
In multiplex communication |
Attention is drawn to the following places, which may be of interest for search:
Construction of transformers |
Attention is drawn to the following places, which may be of interest for search:
Light transmission systems |
Attention is drawn to the following places, which may be of interest for search:
For optical transmitters |
Attention is drawn to the following places, which may be of interest for search:
Perceptual coders |
Attention is drawn to the following places, which may be of interest for search:
Single sideband receivers | |
Modulator circuits | |
For data transmission |
This place covers:
Spread spectrum techniques representing methods by which communication energy generated in a particular bandwidth is deliberately spread in the frequency domain, resulting in a signal with a wider bandwidth.
With regard to code multiplexing, the borderline between H04B 1/69 and H04J 13/00 should be determined based on whether the features relevant for classification are focused on the code multiplexing aspects or the implementation of the spread-spectrum technique (e.g. details of how the signals are physically transmitted, received and processed).
Attention is drawn to the following places, which may be of interest for search:
Narrowband interference reduction | |
Code multiplexing | |
Carrier synchronization per se | |
Multicarrier techniques |
Classification of invention and additional information:
The invention information (main focus of the document) is classified in CPC groups and is compulsory.
Additional information is classified in Indexing Codes corresponding to the CPC groups. Classification of additional information is compulsory.
Indexing Codes which have no corresponding CPC group are used to classify invention information (compulsory) or additional information (compulsory). When classifying invention information, the most appropriate CPC group must also be assigned.
Examples:
Invention relating to spread spectrum chirp is assigned H04B 2001/6912 and H04B 1/69
Invention relating to spread spectrum time hopping with additional information on frequency hopping is assigned H04B 2001/6908 and H04B 1/69 and H04B 1/713
Invention relating to impulse radio with additional information on time hopping is assigned H04B 1/7163 and H04B 2001/6908
Combinations
For cases where the invention relates to combining the features of two or more subgroups, the following should be applied:
If the relevant information relates only to the fact that the aspects are combined, the documents are classified with CPC in the group above the concerned subgroups and assigned an Indexing Code in each of the concerned subgroups. If there is a dedicated entry for combinations this CPC is assigned instead of the headgroup.
If, besides the combination, aspects relating to the subgroups are also relevant, then multiple CPC groups may be assigned as appropriate.
Examples:
Invention relating to frequency hopping/direct sequence combination is assigned H04B 1/692, H04B 1/707, H04B 1/713
Invention relating to frequency hopping/direct sequence system with a focus on frequency hopping interference issues is assigned H04B 1/692, H04B 1/707, H04B 1/715
Invention relating to frequency hopping interference issues which can applied to Frequency hopping/Direct Sequence systems is assigned H04B 1/715, H04B 1/692, H04B 1/707
Inventive combination of parallel and subtractive interference cancellation for direct sequence system is assigned H04B 1/7107, H04B 1/71072, H04B 1/71075
Note(s)
When classifying in this group, any aspect of code division multiplexing, which is considered to represent information of interest for search, may also be classified in group H04J 13/00.
In this place, the following terms or expressions are used with the meaning indicated:
Rake | A receiver comprising sub-receivers called fingers wherein each finger detects a single multipath component. The contributions of the fingers can be combined at a later stage |
In patent documents, the following abbreviations are often used:
UWB | ultra-wideband |
DSSS | direct sequence spread spectrum |
CDMA | code division multiple access |
FH | frequency hopping |
This place covers:
Hybrids of spread spectrum techniques, e.g. frequency hopping/direct-sequence systems, time-hopping/direct-sequence systems.
This place covers:
Direct-sequence spread-spectrum techniques which directly modulate the data being transmitted by a spreading code whose frequency (chip rate) is much higher than the modulated bandwidth of the data signal (symbol rate).
An example of direct sequence modulation is CDMA (Code Division Multiple Access). Examples of systems are IS-95 (Interim Standard 2000), CDMA 2000, UMTS (Universal Mobile Telephone System), WCDMA (Wideband Code Division Multiple Access).
This place does not cover:
Aspects relating to the codes e.g. types of codes, code generation and code allocation | |
Carrier synchronization per se |
This place covers:
Frequency-hopping spread spectrum techniques which involve transmitting radio signals by switching a carrier among many frequency channels, using a hopping sequence known to both transmitter and receiver.
This place covers:
Impulse radio spread spectrum which involves an ultra-wideband (UWB) communication system that transmits baseband pulses of very short duration (typically of the order of a nanosecond) with bandwidths that span from near DC to several GHz.
This place does not cover:
Non-pulse systems which meet the requirements of the FCC mask for UWB communication (e.g. UWB OFDM systems) |
From 01/04/2011 documents relating to pulse-related aspects are classified in H04B 1/717 and the backlog for such documents is continuously being reclassified from H04B 1/7163.
This group is not used. See H04W 52/00 or H04L 25/00
This place covers:
Transmission systems characterized by the medium being electrical conductors (e.g. wires, metal cables) or waveguides.
Data or signal transmission using twisted pair, coaxial cable, submarine cables, wave guides. These subgroups deal as well with the reliability of the line transmission system, including testing of the line transmission parameters, compensation of echo due to impedance mismatching, equalizing and interference
- subgroup H04B 3/32 covers
These subgroup deal with all technical aspects concerning crosstalk compensation or cancellation in a multi-wire line transmission.
Data communication using existing mains power cable already installed in the building infrastructure or in vehicles. This subgroup contains as well data transmission over high voltage (HV) power cables.
This place does not cover:
Near-field transmission system |
Attention is drawn to the following places, which may be of interest for search:
Hybrid circuits for transceivers | |
Wireless repeater | |
Suppression or limitation of noise or interference | |
Electricity meters | |
Testing cables properties | |
Alarm system using power transmission lines | |
Communication cables or conductors | |
Load coils | |
Waveguides; Resonators, lines or other devices of the waveguide type | |
Hybrid junctions of waveguide | |
Circuit arrangements for providing remote monitoring or remote control of equipment in a power distribution network | |
Control of amplification in general | |
Transversal Filters | |
Digital adaptive filters | |
Error detection and prevention | |
Multi-carrier modulation system | |
Power over Ethernet | |
Home Automation Networks | |
Extract feeding power from signals | |
Differential Transmission | |
Decision Feedback Equalizers | |
Shaping frequency spectrum at the transmitter | |
Line Equalizers | |
Acoustic echo cancellation |
Indexing Codes for the subgroups H04B 3/54-H04B 3/58, to be used for classifying additional information:
Methods of transmitting or receiving signals via power distribution lines
using protocols including special data frame format, hybrid networks
by modifying waveform of the power source. Including interrupting power mains waveform via a switch, Triac, Scr.
by adding signals to the wave form of the power source. Injecting in the mains a modulated signal at much higher frequency of the mains
using zero crossing information
improving S/N ratio and or coupling factor by impedance matching, noise reduction, gain control
Applications for powerline communications
Remote metering, smart grids, AMR
Wired telephone (Eg. PSTN, ADSL). Including interfaces between power line network and wired telephone network
Wireless systems or telephone. Including interfaces between power line network and wireless network (e.g.. GSM, RF transmission, Infrared)
Local network. Using the power line to create a local network
Audio/video application, (e.g. interphone, audio video broadcasting)
Adapter and plugs. Including Home Plug and smart sockets.
Monitor sensor, Load control or drive; Alarm systems, Home automation, Zigbee.
Systems for power line communications
using three phases conductors
via DC power distribution e.g. vehicles
adapted for drill or well combined with data transmission H04B 2203/5479 using repeaters
using coupling circuits, cables
using filtering and bypassing
having measurements and testing channel
In patent documents, the following abbreviations are often used:
Plc | Power line communication |
Plcc | Power line carrier communication |
Mv | Medium Voltage |
Hv | High Voltage |
Ofdm | Orthogonal Frequency Division Multiplexing |
Lan | Local Area Network |
Pstn | Public Switched Telephone Network |
Attention is drawn to the following places, which may be of interest for search:
Hybrid junctions of the waveguide type |
Attention is drawn to the following places, which may be of interest for search:
Loading coils per se |
This place covers:
Short-range transmission systems and their components, e.g. wherein the signal transmission is inductive or capacitive, e.g. by inductive loops. This group also covers leaky coaxial [LCX] transmission systems.
Attention is drawn to the following places, which may be of interest for search:
Read/write systems for railways | |
Radiating cables for railways | |
Methods or arrangements for sensing record carriers related to the reading of electronic memory record carriers, independent of its reading method, e.g. power transfer | |
Methods or arrangements for sensing record carriers by electromagnetic radiation using wavelengths larger than 0.1 mm, the sensing being preceded by at least one preliminary step | |
Methods or arrangements for sensing record carriers by electromagnetic radiation using wavelengths larger than 0.1 mm using at least one antenna particularly designed for interrogating the wireless record carriers and the antenna being of the near field type, inductive coil | |
Record carriers with conductive marks, printed circuits or semiconductor circuit elements, with integrated circuit chips the record carrier comprising an arrangement for non-contact communication, e.g. wireless communication circuits on transponder cards, non-contact smart cards or RFIDs | |
Record carriers being capable of non-contact communication, e.g. constructional details of the antenna of a non-contact smart card | |
Antenna details | |
Short range or proximity payments by means of M-devices | |
Card reader reading the card in a contactless manner for freeing or actuating vending, hiring, coin or paper currency dispensing or refunding apparatus | |
Cash registers with a code reader for reading of an identifying code of the article to be registered, e.g. barcode reader or radio-frequency identity [RFID] reader | |
Paging systems in general | |
Transmitting signals using magnetically coupled devices | |
Transmitting signals using capacity coupling | |
Non-resonant leaky-waveguide or transmission-line antennas; Equivalent structures causing radiation along the transmission path of a guided wave |
In this place, the following terms or expressions are used with the meaning indicated:
NFC | near field communication |
LCX | leaky coaxial |
This place covers:
Antennas specially adapted for near-field transmission.
Group H01Q 7/00 covers loop antennas in general. Group G06K 19/077 covers instead details of antennas specially adapted for record carriers.
Attention is drawn to the following places, which may be of interest for search:
Loop antennas |
Attention is drawn to the following places, which may be of interest for search:
Circuit arrangements or systems for wireless supply or distribution of electric power |
This place covers:
Radio transmission systems wherein the information signal transmission is by electromagnetic waves other than light or infrared.
This place does not cover:
Near-field transmission systems, e.g. inductive loop type | |
Transmission systems employing beams of corpuscular radiation, or electromagnetic waves other than radio waves, e.g. light, infrared | |
Suppression or limitation of noise or interference |
Attention is drawn to the following places, which may be of interest for search:
Diversity systems specially adapted for direction finding | |
Systems using reradiation of radio waves, e.g. secondary radar systems; Analogous systems | |
Aerials | |
Selecting arrangements to which subscribers are connected via radio links |
In patent documents, the following abbreviations are often used:
CDMA | Code Division Multiple Access |
CDMA - TDMA | Hybrid Code- Time Division Multiple Access |
FDMA | Frequency Division Multiple Access |
FDMA - TDMA | Hybrid Frequency Time Division Multiple Access |
SDMA | Space Division Multiple Access |
SSMA | Spread-Spectrum Multiple Access |
TDMA | Time Division Multiple Access |
Attention is drawn to the following places, which may be of interest for search:
Equalizers |
This place covers:
Reducing phase shift to compensate for Doppler effect
This place covers:
- the use of one or more antennas to transmit or receive signals, characterised by separation in time, phase, frequency, polarisation, angle or spacing; the improvement thereby being of channel quality and reliability;
- aspects of diversity, beamforming and antenna weighting;
- the generation of antenna weights for multiple antennas;
- the feedback of information in order to assign weights for multiple antennas;
- the transmission through multiple beams, for single or multiple users;
- the combination or selection of signals from one or more fading channels by using characteristics thereof or correlation.
Aspects related to diversity, beamforming and antenna weighting:
- when the signal has diverse possibilities of being transmitted/ received through one or several antennas with different characteristics (including time, frequency, space, polarization, angle, phase...); "diverse possibilities" means the signal does not always have to be transmitted by more than one antenna. The diversity in this case would be achieved in the channel between the transmitter and receiver. This channel diversity is aimed to increase quality and reliability at the receiver;
- exploiting gain of one or more fading channels either uncorrelated or correlated (such as single beamforming and pre-coding);
- transmission through multiple beams for single user and multiple user;
- feedback of information in order to assign weights and improve reliability of the signal in transmission/ reception;
- generation of antenna weights for multiple antennas;
- transmission of a plurality of different signals from different antennas, wherein at least one of said signals is transmitted (potentially weighted) from more than one antenna; for example MIMO transmission for N different streams via M different antennas, where M linear combinations of the N streams are transmitted, each linear combination being transmitted from each antenna.
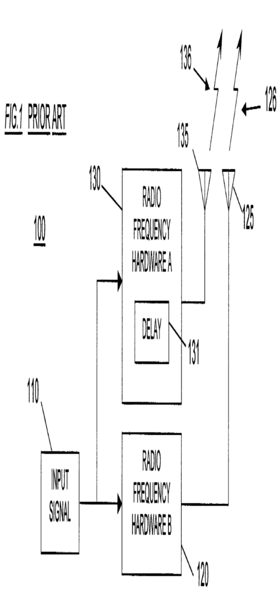
Antenna redundancy, namely the inclusion of spare antennas for the easy replacement of malfunctioning antennas, is not considered to be a multi-antenna system and therefore is not covered by this group. Details of transmission systems for increasing reliability, e.g. using redundancy, are covered by group H04B 1/74.
This place does not cover:
Reducing multipath interference in spread spectrum systems | |
RAKE receivers |
Attention is drawn to the following places, which may be of interest for search:
Relay systems | |
Specially adapted for satellite systems | |
Direction finding | |
Aerial arrays or systems | |
Pure time diversity | |
For digital data transmission as such | |
Space-time coding | |
Pre-equalising for ISI-reduction | |
Providing wireless coverage using beam steering for defining the cell structure, e.g. space division multiple access [SDMA] |
This place does not cover:
Site diversity or macro-diversity using two or more spaced independent antennas |
Attention is drawn to the following places, which may be of interest for search:
Multicasting of data during hand-off to several target access points |
In this place, the following terms or expressions are used with the meaning indicated:
Site diversity | The technique of linking two or more ground stations receiving the same signal. This way, if the signal is heavily attenuated in one area, other ground stations can compensate. |
Macro-diversity | In the field of wireless communication, macro-diversity is a kind of spatial diversity scheme using several antennas to transmit or receive wireless signals, wherein the distance between the antennas is much longer than the wavelength in use. This diversity technique limits the effects of fading in radio communications. The terms 'macro-diversity' and 'site diversity', are sometimes used synonymously in the art. |
This place covers:
Example of documents classified here: see US2010034146 (figure 7):

This place does not cover:
Relay systems | |
relays per se in CoMP | |
cooperative coding |
This place covers:
Example of documents classified in this group: see e.g. US2011070840 (abstract): "... The antenna(s) are spatially translated in an arbitrary trajectory. As the antenna(s) is being spatially translated, a data processing means samples the incoming signal at set intervals based on a clock signal provided by a system clock. By sampling the incoming signal at different times at different spatial locations on the arbitrary trajectory, the system acts as a synthetic antenna array. The different samplings of the incoming signal at different times and positions provide signal diversity gain as well as different readings which can be used to estimate and/or calculate various parameters of the incoming signal.".
This place covers:
Plurality of spaced independent aerials, both correlated (beamforming) or non-correlated (diversity) at transmitter or receiver or both, either using simultaneous transmission/reception (e.g. for beamforming) or successive transmission/reception (antenna switching/selection).
This place covers:
Example of documents classified here: see WO2009046409 (figures 4, 7)
Attention is drawn to the following places, which may be of interest for search:
Transmitter beamforming |
This place covers:
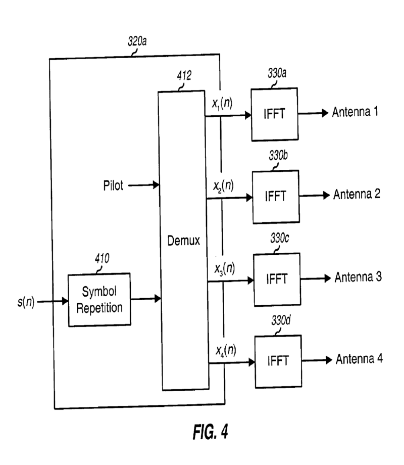
transmission of a plurality of different signals from different antennas, wherein at least one of said signals is transmitted (potentially weighted) from more than one antenna; for example MIMO transmission for N different streams via M different antennas, where M linear combinations of the N streams are transmitted, each linear combination being transmitted from each antenna.
In patent documents, the following abbreviations are often used:
MIMO | Multiple Input Multiple Output |
SIMO | Single Input Multiple Output |
MISO | Multiple Input Single Output |
Attention is drawn to the following places, which may be of interest for search:
Details of feedback |
This place covers:
Example of documents classified here: US2004179627 (figure 3):

Attention is drawn to the following places, which may be of interest for search:
Power control in diversity systems |
This place covers:
Example of document classified here: see e.g. US2008004016 (abstract): "A base station for establishing a picocell is configured so as to provide multiple sectors, with spatial diversity between sectors. The combination of the multiple sectors and the spatial diversity reduces signal power requirements in the air interface within a confined space and provides improvements in quality of service."
This place covers:
Plurality of spaced independent aerials at the transmitter (correlated or uncorrelated)
This place does not cover:
Mimo systems |
This place does not cover:
Hybrid systems, i.e. switching and simultaneous transmission |
Attention is drawn to the following places, which may be of interest for search:
Antenna beam directivity switching |
H04B 7/0686 takes precedence.
This place does not cover:
Feedback signalling for adaptive modulation and coding |
This place covers:
Example of documents classified in this group: see e.g. WO2008157620 (fig. 2 and paragraph [0031]):

This place covers:
Example of document classified here: see e.g. WO2008157620 (fig. 2 and paragraph [0031]).
This place covers:
Example of document classified here: see US2006068791 (fig. 2, paragraph [0031]):

or abstract of Seeger A; Sikora M, "Antenna weight verification for closed loop transmit diversity, GLOBECOM'03. 2003 - IEEE GLOBAL TELECOMMUNICATIONS CONFERENCE. CONFERENCE PROCEEDINGS. SAN FRANCISCO, CA, DEC. 1 - 5, 2003; [IEEE GLOBAL TELECOMMUNICATIONS CONFERENCE], 20031201; 20031201 - 20031205, NEW YORK, NY : IEEE, US, XP010678496: "Closed loop transmit diversity (CLTD) for FDD WCDMA relies on low-rate feedback to achieve both beamforming and diversity gain. Since the feedback channel is not immune to errors, occasionally base station (BS) uses different antenna weight vector from the one requested by mobile station (MS).
Surprisingly, most of the resulting performance degradation is caused not by reduced power of the Rx signal, but by erroneous dedicated channel estimation at the MS relying on knowledge of used weight vector. In this paper we introduce a general trellisbased antenna weight verification algorithm, which attempts to detect feedback errors and determine the most likely weight vector."
This place covers:
For example error detection/ correction of feedback bits at diversity transmitter.
This place covers:
Example of document classified here: see US2006056531 (abstract): "Feedback bandwidth may be reduced in a closed loop MIMO system by Householder transformations, vector quantization using codebooks, and down-sampling in the frequency domain. A column of a beamforming matrix is quantized using a codebook, a Householder reflection is performed on the beamforming matrix to reduce the dimensionality of the beamforming matrix, and the quantizing and performing of Householder reflection on the previously dimensionality reduced beamforming matrix is recursively repeated to obtain a further reduction of dimensionality of the beamforming matrix."
This place does not cover:
Space-time coding |
This place covers:
Example of document classified here: see WO0011806 (abstract and figure 1):

This place does not cover:
Code allocation |
This place does not cover:
Space-frequency coding |
This place covers:
Example of documents classified here: see US2006172710 (abstract) for phase sweeping diversity.
This place covers:
Example of document classified here: see e.g. EP2276305 (figure 5):

This place covers:
Example of document classified here: see e.g. US2003235147:

This place covers:
Plurality of spaced independent aerials at the receiver (correlated or uncorrelated).
This place does not cover:
Mimo systems |
This place does not cover:
Hybrid systems, i.e switching and combining | |
Antenna beam directivity switching |
This place covers:
Example of documents classified here for receive antennas switched to a single receiver circuit; see US2010075603 (figure 1):

This place does not cover:
according to predefined selection scheme |
This place covers:
Example of document classified here: where the selection criterion is not necessarily identified, see WO2008003029 (figure 1):

This place does not cover:
Hybrid systems, i.e switching and combining |
This place does not cover:
Antenna beam scanning or forming by phase or amplitude control; phased arrays |
This place covers:
Example of documents classified here: see US2009097577 (figure 1):

This place does not cover:
Rake receivers as such |
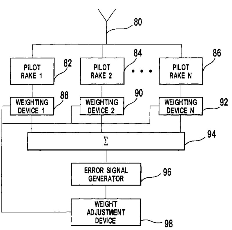
This place covers:
Example of documents classified here: see US6115406 (figure 5):

This place does not cover:
Minimizing error signal |
This place covers:
Beamforming at the receiver included here.
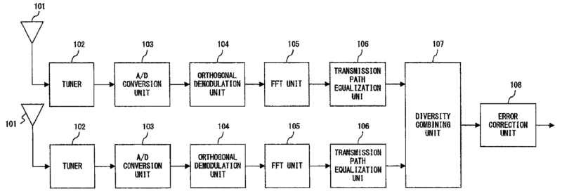
This place covers:
Example of documents classified here: see EP1257070 (figure 1):

This place does not cover:
Rake receivers | |
Space-time coding |
In this place, the following terms or expressions are used with the meaning indicated:
Sdma | Space Division Multiple Access |
This place covers:
Radio relay systems are divided into passive relay systems (H04B 7/145) and active relay systems (H04B 7/15).
A passive relay is a relay on which a signal is only reflected.
Active relay systems are used by communication arrangements to receive, to process and to retransmit signals between devices separated by air or space.
Mobility is possible between the devices of the active relay system and the transmission can be unidirectional or bidirectional.
The processing within the relay is of a wide range. For instance the relay processing covers the following issues. The signals relayed can be a multiplex of a plurality of signals. The processing minimizes the interference between the signal received and retransmitted. Signal are regenerated, signals are switched in the relay before retransmission. Further processing details are indicated in the subgroups of H04B 7/15.
Moreover, as indicated below, the active relay systems are further subdivided into ground based relay stations, airborne relay stations and space based relay station (satellites).
This place does not cover:
Repeater in line transmission systems | |
Repeater in transmission systems employing waves other than radio waves | |
Cosmonautic vehicle (e.g. satellite per se) | |
Geolocalisation | |
Interrogator-responder | |
Aircraft piloting | |
Traffic control for aircraft | |
Antenna orientation | |
Details of amplifier gain control | |
Details of error protection techniques processed in relay station | |
Details of modulation techniques processed in relay station | |
Metering arrangements | |
Network planning: Network coordinated processing with regard to cell extension | |
Details of wireless communication routing | |
Generic documents concerning resource allocation e.g. time, frequency and/or codes | |
Wireless communication terminal adapted for relaying to or from other wireless communication terminal |
Examples of places where the subject matter of this place is covered when specially adapted, used for a particular purpose, or incorporated in a larger system:
Aerial array | |
Catv (Community Antenna Television) systems | |
Broadcast receiver | |
Multiplexing | |
Synchronisation of receiver with transmitter | |
Television systems | |
Relay systems adapted for television | |
Selective content distribution |
Attention is drawn to the following places, which may be of interest for search:
Diversity systems | |
Scatter propagation systems | |
Broadcast systems | |
Cryptographic mechanisms or cryptographic; arrangements for secret or secure communications; Network security protocols | |
Data switching networks | |
Network architectures or network communication protocols for network security | |
Network arrangements, protocols or services for supporting real-time applications in data packet communication | |
Network arrangements or protocols for supporting network services or applications | |
Synchronization in wireless networks |
This place covers:
A passive relay is a relay on which a signal is only reflected. No processing is done by such a relay. A passive relay is used to scatter a signal.
Radio waves, below a certain frequency, are reflected by the ionosphere. This allows propagation beyond the horizon.
Meteor burst communication or meteor scatter communication uses the ionized trail of a meteor for radio wave reflection.
Two antennas linked by a waveguide assure radio relaying. This is used for example to allow reception in a tunnel.
Reflection can be achieved by the use of a passive airborne platform.
To enable radio wave transmission in buildings, passive antennas, material transparent to radio waves … are used.
This place does not cover:
Construction of passive reflectors |
This place covers:
Relays are used for range extension, to cover shadowed regions, to allow communication with the inside of a building, to transmit signals over long distances.
Microwaves relays working from 2 to 5 GHz with fixed stations in line of sight allow point to point high data rate transmission for telephony or broadcasting signals.
Shortwave relay are used for broadcasting.
Relays are used in a wireless network for radio cell extension.
Cooperative relays are used for signals diversity.
This place does not cover:
Multiple access |
Attention is drawn to the following places, which may be of interest for search:
Ground-based stations for satellite systems |
H04B 7/204 takes precedence
This place does not cover:
Network topologies using dedicated repeater stations |
This place does not cover:
Shadowing compensation for satellite mobile telephony service systems |
This place does not cover:
Network coding aspects for detection or prevention of errors in the information received | |
Network traffic management with optimizing information sizing e.g. header compression, by using assembly and disassembly of packets |
This place does not cover:
Gain control to reduce self- or loop interference | |
Amplifier gain control in general, |
This place does not cover:
Arrangements affording multiple use of the transmission path by two dimensional division of the resources or by allocating subchannels | |
Selection of wireless resources by user or user terminal |
This place does not cover:
cooperative diversity |
Group for consultation only. Documents are classified in H04B 7/15564 .
Group for consultation only. Documents are classified in H04B 7/15564 .
H04B 7/204 takes precedence.
This place covers:
The stations are navigating in the stratosphere (below 50 km).
The airborne station is an unmanned airborne device or an aircraft covering a region (for example in case of an emergency situation when communications are disrupted during a catastrophically event). The relay is a lighter than air device, a balloon, a dirigible, a device called HALE (High Altitude Low Expenditure), HAAP (High Altitude Atmospheric Platform), SHARP (Stationary High Altitude Relay Platform) or an unmanned aerial vehicle (UAV).
The airborne station works alone or is part of a network of other stations. The communications can then be handed over to another platform. A satellite can be part of the network. The technical characteristics of these devices, their trajectory are adapted for communication. The relays are drifting in the sky or they are stabilized in position and altitude.
This place covers:
Communications with or from an aircraft without relaying through a satellite.
The system are communication systems for commercial aircrafts and used for transmission between the passengers and the ground for voice or data communication. The systems are as well for communications between the cockpit and earth control stations for air traffic control, for aircraft short messages service …
Such systems are as well used for transport devices like a bus or ship.
The communications are multiplexed on the up and down link and must be demultiplexed. Antenna aspects in such systems.
A network of ground stations is necessary to follow the aircraft. A call is handed over between ground stations.
A network can be established between aircrafts. Other aircrafts must be localized.
The aircraft flies over regions with different ground systems and regulations
A communication network exits on board allowing on board broadcasting to the passengers or communications between users and the crew. Data transmission for in-flight entertainment, for use of Internet.
The aircraft can be equipped with terminals or the user can use his own voice or data terminal. Security. The use of a terminal is potentially dangerous because of its radiations.
A user on board of an aircraft must be localized by the ground system to establish the link and for billing.
Communication equipment and specific aircraft devices like navigation apparatuses are integrated on board. Relaying toward earth of aircraft sensor values.
This place covers:
Communications with or from an aircraft with relaying through a satellite for commercial aircrafts and for communications between the cockpit and earth control. Systems for aircrafts and for devices like a bus or ship.
The communication aspects covered are identical as for H04B 7/18506 but at least one satellite is involved in the aircraft-ground link.
Use of geostationary satellites or not. Localisation of the satellites by the aircraft.
Handover between satellites.
The antennas of the aircraft are oriented towards the satellite.
The transmission delay is increased with use of a satellite.
Particular application: video broadcasting.
This place covers:
Satellites are used for relaying communications.
Satellite systems for varied applications exit. Communication aspects for such systems. Satellite applications can be: earth observation, weather forecast data transmission, emergency calls, fleet tracking, space based radar, aircraft guidance and navigation, navigation systems using satellites, land observing satellites.
H04B 7/18508, H04B 7/18521 take precedence.
For providing specific services H04B 7/18523 - H04B 7/18576
This place covers:
All aspects relating to communications in uplink and downlink in a satellite system such as:
- Feeder link and user link.
- Frequency allocation. Frequency sharing and reuse. Frequency hopping.
- Modulation. Polarisations. Power control. Interleaving.
- Channel modelling. Diversity reception. Use of a plurality of satellites, a plurality of beams. Rake receivers.
- Link margin. Interference reduction. Doppler Effect. Effective Isotropic Radiated Power (EIRP). Rain effect. Fading: Rician, Rayleigh fading. Signal shadowing.
This place covers:
Equipment on board of the satellite. Telecommunication payload, bus and platform equipments.
All equipment on-board involved in transmission such as: transponder, amplifier, multiplexer, demultiplexer, on-board digital processors, antennas.
This place covers:
All equipments used in earth-based stations.
These stations can be: a hub station, a control station, a gateway, a user terminal, a Small Aperture Terminal.
This place covers:
Spare satellite. Replacement satellite. Backup satellite. Reconfiguration of a satellite.
Measuring performance of a system. Calibration of a system. Reception quality. Fault diagnostic.
Monitoring, control, telemetry.
Satellite attitude and orbital control to optimize communication performance.
System simulation.
This place covers:
The link between satellites can be radio or optical.
Constellation of satellites with inter-satellite links to route a communication through the network of satellites.
This place does not cover:
Optical links between satellites |
This place covers:
Simulcast (simultaneous broadcasting). Multicasting (transmission to a group of users). Geocast (transmission to geographic areas).
Feedback from the user (thru satellite or thru terrestrial network) for interactive system.
On-board transponders.
Arrangements specially adapted for satellite broadcast | |
Receiving picture transmission via satellite | |
Television transmission via satellite |
This group in not used if the satellite is transparent to the broadcast service.
This place does not cover:
Data switching networks |
This place covers:
Mainly for Very Small Aperture Terminal (VSAT) system.
Fixed satellite service. for telephony, telecommunication and data communication.
The satellites used are geostationary, geosynchronous.
This place covers:
Transport of data or signalling messages. Transport of voice channels.
Traffic channels, dedicated control channels, broadcast channels, paging channels, beacon signal, pilot channels, synchronisation channels.
Spot beams antennas for creation of communication cells.
This place covers:
In particular for diversity used to increase link quality.
Resources seamlessly added or subtracted.
Transmission with multidirectional antennas from the base station to achieve diversity.
This place covers:
Shadowing due to blockage of signals. Use of an additional terrestrial relay or other techniques.
This place covers:
Allocation of radio resources for establishing or releasing a connection.
Resource allocation for load balancing.
Determination and dissemination of information through the network of gateway for resource planning.
Frequency planning.
Frequency attributed according to need, to a reuse pattern, to limit interference.
Power control in real and non real time.
Time slot allocation.
Channel allocation: fixed, borrowed, dynamic.
This place covers:
A communication is handed over from one satellite to another according to the satellites rotations.
Handoff beam to beam, satellite to satellite, frequency to frequency.
Network controlled handover, mobile controlled handover, mobile assisted handover.
This place does not cover:
Detecting or preventing errors in the information received |
This place covers:
Terminal registration process. Local or global registration.
Location update of terminal.
Registration in a local and global database with user identification and position.
Re-registration. Periodic registration of a mobile, registration after loss of a signal (outage), terminal unavailability.
This place covers:
Geolocalisation of a user for radio localisation, call barring, call billing, synchronisation.
This place does not cover:
Position fixing by direction or distance determination |
This place covers:
Measure of propagation delay variation, Doppler frequency variation, power variation, beam identification.
Measure of time delay satellite-user.
This place does not cover:
Determining absolute distances from a plurality of spaced points of known location |
This place covers:
Routing through terrestrial network with only node-satellite-terminal links.
Mobile to mobile call.
Mobile to fixed, fixed to mobile call.
Routing tables used are changed according to network topology (link usage, congestion, failure, shutdown).
Optimization of transmission path (minimum hop route, packet delay).
Satellite in relation with more than one node for control.
This place covers:
Use of a terrestrial and a satellite system (dual mode).
Protocol conversion between different satellites, terrestrial systems.
Use of a terminal adapted for the two systems. Characteristics differ: antenna used (orientation), power transmitted (higher for a satellite system, user head protection).
This place does not cover:
Arrangements for secret or secure communication |
This place covers:
Use of a minisatellite, a microsatellite. Miniaturized satellites. Milli, micro, nano, picosatellites.
Little LEO. Smaller low cost satellites on a low earth orbit.
Satellite formation flying, trailing formation, cluster formation.
Fractionated spacecraft.
Systems for data, asset or vehicle tracking, messaging, emergency, alert services, disaster, medicine, education, data acquisition, meter reading, e-mail, fax, store and forward messaging.
Terminals adapted to system function.
This place covers:
Data communication for users which can be mobile using a satellite as relay between the user and a control station. The data transported are of large band.
This place does not cover:
Provisions for broadband connection |
This place covers:
Description of the transmission equipments of the system. Satellite, terminal and control station. Description of the transport of the information. Modulation, demodulation, antenna, radio link between earth and satellite, bit synchronisation.
This place covers:
Construction of the frame, preamble, multiplexing, demultiplexing, TDMA, CDMA, FDMA, frequency hopping, frame synchronisation, error control (ARQ, FEC), data packet queuing or scheduling.
This place covers:
Segmentation and reassembly.
Connection oriented, connectionless communication. Establishment of the physical links.
Transport of bits, bytes, packets.
Multiplexing, demultiplexing on a single link.
Congestion control. Flow control.
Fiability of the transport.
Error detection and recovery (forward error correction, repetition, automatic repetition).
This place covers:
Encryption. Decryption. Use of SIM card. Adaptor card or conditional access. Scrambling, descrambling. Billing.
This place does not cover:
Arrangements for secret or secure communication |
This place covers:
The satellite is on a geostationary, an equatorial, a geosynchronous orbit or semi-synchronous orbit.
Description of the constellation of satellites, of the orbital parameters.
This place covers:
The orbits are low earth orbit (LEO), medium earth orbit (MEO) or high earth orbit (HEO) according to the altitude of the satellite. Mixed constellation.
Inclined orbit, polar orbit, sun synchronous orbit, circular orbit, elliptical orbit, Molnia, Tundra.
This place covers:
On board of a satellite.
Group for consultation only. Documents are classified in H04B 7/18515.
This place covers:
On board of a satellite.
Antennas. Multi-beams antenna. Beam forming network. Phased array antenna. Multispots antenna.
Scanning beams. Grid of multiple fixed beams. Beam rotation for satellite roaming compensation. Beam hopping. Beams alternatively transmitting, receiving. Panels. Grids of complex shape (hexagonal).
Attention is drawn to the following places, which may be of interest for search:
Satellite on board equipment. |
This place covers:
On board of a satellite.
Group for consultation only. Documents are classified in H04B 7/18515.
This place covers:
On board of a satellite.
Group for consultation only. Documents are classified in H04B 7/18515.
This place covers:
On board of a satellite.
Group for consultation only. Documents are classified in H04B 7/18515.
This place covers:
On board of a satellite.
Group for consultation only. Documents are classified in H04B 7/18515.
This place covers:
On board of a satellite.
Group for consultation only. Documents are classified in H04B 7/18515.
This place covers:
On board of a satellite.
Group for consultation only. Documents are classified in H04B 7/18515.
This place covers:
On board of a satellite.
Group for consultation only. Documents are classified in H04B 7/18515.
This place covers:
On board of a satellite.
Group for consultation only. Documents are classified in H04B 7/18515.
This place covers:
On board of a satellite.
Group for consultation only. Documents are classified in H04B 7/18515.
This place covers:
On board of a satellite.
Group for consultation only. Documents are classified in H04B 7/18515.
This place covers:
On board of a satellite.
Attention is drawn to the following places, which may be of interest for search:
Spread spectrum techniques in general |
Group for consultation only. Documents are classified in H04B 7/18515.
This place covers:
Use of ionosphere, troposphere reflexion or meteor scatter.
In such systems, the radio propagation is not a line of sight propagation between two devices. The signals are reflected, refracted or scattered by natural components of the earth atmosphere. A network using such reflexions and the radio link between the divers network components are described. Passive relay are described in H04B 7/145.
Radio waves are refracted by the ionized layers of the upper atmosphere. These layers are influenced by the sun. Such communications are used for amateur radio, marine and aircraft communications, shortwave broadcast.
Tropospheric scatter is a method of communication in which signals at particular frequencies are randomly scattered by the upper layers of the troposphere allowing the transmission of signals on a distance of hundred of kilometres. Only a small amount of the transmitted power is received. A narrow frequency band is generally used.
A meteor burst communication system uses the ionized meteor trails as radio reflector between two stations. These trails exit at an altitude of approximately 100 km and allow a long range, low data rate intermittent communication of a few seconds on a distance of 2000 km.
Auroral ionization, rain, lightning can create scattering.
Attention is drawn to the following places, which may be of interest for search:
Passive relay systems |
This place covers:
In a communication network, the physical link and the signals transmitted between the divers network components are described. The link can be wired or wireless, the network components are fixed in this head group, mobile in the different sub-groups.
Transmission medium: twisted pairs, copper wires, coaxial cable, air ...
Nature of information transmitted: voice, video, data ...
Description of the signal to be transmitted: analogue, digital transmission, analogue/digital conversion, voice codec.
Coding of the signal, PCM, line codes (NRZ, unipolar, bipolar, Manchester encoding...).
Modulation used (QPSK, PSK, QAM, FSK, PSK, ASK). Amplitude, phase, frequency modulation.
Transmission and reception of the signal. Demodulation. Decoding.
Error recovery and correction. Error correction codes (linear, cyclic, BCH, convolutional codes). Channel codes. Signal repetition (ARQ).
Description of the network: star, mesh, ring network.
Attention is drawn to the following places, which may be of interest for search:
Spread spectrum communications | |
Equalisation | |
Diversity system | |
Scatter propagation system | |
Broadcast systems | |
Time Division Multiplex communication | |
Error protection | |
Multiplexing | |
Synchronisation | |
Cryptographic mechanisms or cryptographic; arrangements for secret or secure communications; Network security protocols | |
Data switching networks | |
Modulation | |
Network architectures or network communication protocols for network security | |
Network arrangements, protocols or services for supporting real-time applications in data packet communication | |
Network arrangements or protocols for supporting network services or applications | |
Synchronization in wireless networks |
This place covers:
In a wireless communication network, the radio link, called air interface, between the divers network components is described.
Different mobile systems exist. For example: cordless telephony is a short range system.
The mobile telephony has evolved toward cellular telecommunication systems for voice, narrowband or broadband data transmission.
The physical channel, channel access procedures and multiple access are the lower levels of the transmission system linking users and are the object of these groups. The higher levels control the flow of messages between the network components and allow the building up of a communication and are the subject of H04W in general.
This place covers:
The signals transmitted on the air interface and the apparatuses therefore are described.
The frequency band or time interval allocated is separated in physical wireless channels.
Definition of the physical and logical channels, mapping of the logical channels on the physical channels. Logical channels for traffic of voice or data. Logical channels for control: dedicated control channels, broadcast channels, paging channels, access grant logical channels, random access channels, pilot channels, synchronisation channels ... Frequencies, time slots used, number of bits, format, overhead bits, preamble, guard periods ...
Emission: digitization, source coding, interleaving, ciphering, burst formatting, modulation. BPSK, QAM, hierarchical modulation.
Transmission: path loss, multipath fading, noise, interference, error and error correction (equalisation, error correction codes, interleaving ...).
Reception: source decoding, channel decoding, desinterleaving, deciphering, burst formatting, demodulation.
H04B 7/2612 takes precedence.
This place covers:
Relays are used for linking a user equipment with a base station.
Relays for lightening dark zones. Use of relays in tunnels, in buildings, in closed environments.
Roadway communication systems.
Fixed relay, mobile relay.
Relays for cell extension.
Multiplicity of relays.
Relay selection.
Cooperative relays.
Multihop communication.
Use of multiple antennas. Antenna characteristics, antenna patterns, spacing of antennas.
Relay functionality and design. Half-duplex, full duplex repeater. TDD (Time Division Duplex), frequency change, frequency selective repeaters, amplify and forward, decode and forward repeaters. Loop-back interference cancellation. Signal delay. Link with the base station, link with a user equipment. Protocols implemented in the relay.
This place covers:
Allocation of a physical layer transmission capacity.
Transport channels for carrying the logical channels.
Channel access control mechanisms.
Error recovery, ARQ (Automatic Repeat Request).
Multiplexing/demultiplexing techniques such as: random access protocols (ALOHA, CSMA; CSMA/CD), fixed assignment protocols (TDMA, FDMA, CDMA, SDMA), demand assignment protocols (polling, reservation protocols (centralized), token passing protocols (decentralized)).
This place does not cover:
Provision for broadband connection |
H04B 7/2615 - H04B 7/2643 take precedence.
This place covers:
OFDM (Orthogonal Frequency Multiplexing).
FDD (Frequency Division Duplex).
H04B 7/2615 takes precedence.
This place covers:
Using a common frequency.
Single frequency network.
A network of stations broadcasting on a single frequency for example.
For DVB-T (Digital Video Broadcasting Terrestrial), DVB-H (handheld), DVB-SH (satellite handheld), DTMB (Digital Terrestrial Media Broadcasting) , DAB (Digital Audio Broadcasting), mediaflo (forward link only).
Repeaters synchronized, adaptive equalization.
Use of OFDM (Orthogonal Frequency Division Modulation), COFDM (Coded Orthogonal Frequency Division Modulation; FEC convolutional coding, time and frequency interleaving).
This place covers:
Divers types of spread spectrum systems:
- Direct-sequence spread spectrum.
- Frequency-hopping spread spectrum.
- Time-hopping spread spectrum.
- Chirp spread-spectrum.
- Ultra wide band.
Codes used:
- Pseudo-random noise code.
- Orthogonal codes, Walsh-Hadamard codes.
- Non Orthogonal codes, shift-register sequences, M-sequences, Gold codes, Kasami codes.
Transceiver:
- Auto-correlation, cross correlation, long codes, short codes.
- Synchronous, asynchronous systems.
- Near far problem, power control.
- Code synchronization, acquisition and tracking.
- Correlator, delay lock loop, thau dither loop, extended Kalman filter.
H04B 7/2618 takes precedence.
This place covers:
Transmission of information on a plurality of parallel channels.
Protocols such as WCDMA (Wideband CDMA), HSPA (High Speed Packet Access).
This place covers:
TDD (Time Division Duplex).
Superframes, frames, time slots.
Formats used for the frames and the time slots. Description of the burst, the information in the time slot.
Guard bands to avoid overlapping of the signals.
Preamble, training, equalisation, synchronisation, start/stop bits.
Uplink, downlink frame.
H04B 7/2615, H04B 7/2618 take precedence.
Group used for consultation only. Documents are classified in H04W 56/00.
Group used for consultation only. Documents are classified in H04W 56/00.
This place does not cover:
Cdma code acquisition | |
Cdma code tracking |
Group used for consultation only. Documents are classified in H04W 56/00.
Group used for consultation only. Documents are classified in H04W 56/00.
Group used for consultation only. Documents are classified in H04W 56/00.
Group used for consultation only. Documents are classified in H04W 56/00.
Group used for consultation only. Documents are classified in H04W 56/00.
Group used for consultation only. Documents are classified in H04W 56/00.
Group used for consultation only. Documents are classified in H04W 56/00.
Group used for consultation only. Documents are classified in H04W 56/00.
Group used for consultation only. Documents are classified in H04W 56/00.
Group used for consultation only. Documents are classified in H04W 56/00.
This place covers:
- electromagnetic waves in the optical spectrum, e.g. visible, infrared, ultraviolet
- optical corpuscular radiation, i.e. photons
- non-optical electromagnetic waves other than radio-waves, e.g. low-frequency Terahertz waves
- non-optical corpuscular radiation, i.e. beams of atomic or subatomic discrete particles
H04B 10/00 deals with the physical layer of an optical communication system, i.e. dealing with the physical properties of the optical data signal, e.g., power, distortion, optical-electrical and electric-optical conversion of data.
H04J 14/00, H04J 14/05 and H04J 14/07 deal with the optical multiplexing layer, e.g. dealing with the optical signals as channels necessary for data transfer, e.g. routing, allocation, add-dropping, WDM networks, WDM protection.
Optical switching is covered by H04Q 11/0001.
Light guide arrangements as components or modules per se are classified in G02B 6/00, e.g. modules based on light guides for coupling, splitting, mixing, switching and dispersion compensation
Lasers and fibre amplifiers per se are classified in H01S and H01S 3/067
Optical devices per se for changing the optical properties of the signals based on a change in refractive index, e.g. modulators are classified in G02F.
Attention is drawn to the following places, which may be of interest for search:
Measuring characteristics of optical pulses | |
Testing of optical devices, fibres, OTDR, | |
Optical elements, systems or apparatus | |
Optical coupling devices, e.g. optical fibres, dispersion compensators | |
Devices or arrangements, the optical operation of which is modified by changing the optical properties of the medium of the devices or arrangements for control of the intensity, color, phase, polarization or directing of light, e.g. switching, gating, modulating or demodulating; Frequency changing Non-linear optics; Optical analogue/digital converters | |
Optical devices that change the state (intensity, phase, polarisation) of light, e.g. modulators | |
Wavelength converters | |
Arrangements for handling particles or ionizing,radiation e.g. focusing or moderating | |
Lasers, optical amplifiers using stimulated emission | |
Semiconductor lasers | |
Time-division multiplex systems , e.g.SDH, SONET, OTN-networks | |
Optical multiplex systems | |
Spatial multiplexing | |
Orbital angular momentum [OAM] multiplex systems | |
Optical clock recovery | |
Quantum cryptography | |
Bus networks | |
Digital modulated systems | |
Optical switching | |
Semiconductor devices sensitive to infrared radiation, light, electromagnetic radiation of shorter wavelength or corpuscular radiation |
If appropriate, multiple classes for different technical features in the same document should be assigned
Optical - Non-optical transmission systems
Non-optical transmission systems, falling within the scope of this group, are only classified in group H04B 10/90.
In this place, the following terms or expressions are used with the meaning indicated:
Station | head-end or subscriber network terminal |
Soliton | an optical pulse that does not change during propagation because of a balance between non-linear and linear effects in the fibre |
Air | the standard gaseous mixture of nitrogen and oxygen or this mixture with varying amounts of moisture and particulate matter, enveloping the earth; the atmosphere |
Fluid | liquid |
Corpuscular radiation | the beams of atomic or subatomic discrete particles, e.g. photon, alpha particle, neutron, fission fragment or fissionable isotope |
In patent documents, the following abbreviations are often used:
SMF | Single Mode Fibre |
MMF | Multi Mode Fibre |
CD | Chromatic Dispersion |
DPSK | Differential Phase Shift Keying |
PSK | Phase Shift Keying |
OTDR | Optical Time Domain Reflectometry |
OSNR | Optical Signal to Noise Ratio |
PMD | Polarization Mode Dispersion |
RoF | Radio over Fibre |
FWM | Four Wave Mixing |
SPM | Self Phase Modulation |
XPM | Cross Phase Modulation |
ASK | Amplitude Shift Keying |
FSK | Frequency Shift Keying |
QAM | Quadrature Amplitude Modulation |
QPSK | Quadrature PSK |
This place covers:
Subject matter wherein a corrective action is taken to return an inoperative or malfunctioning optical communication system or its component to a satisfactory operating condition.
Attention is drawn to the following places, which may be of interest for search:
Wavelength-division multiplex optical systems | |
For recovering from a failure of a protocol instance or entity, e.g. service redundancy protocols, protocol state redundancy or protocol service redirection |
This place covers:
Subject matter wherein the recovery is provided by a predetermined protection path in parallel with the working path that provides protection when the working path has a failure.
This place does not cover:
Protection in WDM systems |
Examples of places where the subject matter of this place is covered when specially adapted, used for a particular purpose, or incorporated in a larger system:
Wavelength division multiplex [WDM] systems and WDM arrangements |
This place covers:
Subject matter wherein data signals are detoured in a reverse path through the network to avoid the malfunctioning component.
This place covers:
Subject matter including a provision for alternate routing around the malfunctioning component.
This place covers:
Subject matter including means for monitoring, measurement or testing for evaluating an operational condition of an optical communication system or its components.
This place covers:
Subject matter wherein at least one communication parameter is determined by information from a signal reflected from a location in the communication network.
This place covers:
Subject matter wherein the operational condition of an optical communication network or its component is tested or evaluated using an external stimulus signal while the system is not in operation.
This place does not cover:
Using a reflected signal, e.g. using optical time-domain reflectometers [OTDR] |
This place covers:
Subject matter wherein the operational condition of an optical communication network or its component is tested or evaluated signal while the system is in operation.
This place does not cover:
Using a reflected signal, e.g. using optical time-domain reflectometers [OTDR] |
This place covers:
Subject matter wherein at least one communication parameter is determined by information from a control signal provided in addition to the data signal. The additional signal can for example be modulated on the data signal or placed on a separate wavelength.
This place covers:
Subject matter wherein at least one communication parameter is determined by information derived from a measurement of the data signal, e.g. measurement of system performance parameters, e.g. OSNR, quality factor, dispersion value, power.
This place covers:
Subject matter wherein a signal-carrying optical beam is propagated such that the beam is transmitted through air or a vacuum and not spatially confined in any optical component or medium.
Attention is drawn to the following places, which may be of interest for search:
Light signal transmission through water |
This place covers:
Subject matter wherein the optical beam is transmitted in a straight line to the receiver across longer distances outdoors, e.g. between buildings.
This place covers:
Subject matter wherein one central station is communicating wirelessly with a plurality of terminal stations. Even if the document focuses on one such connection, but it is clear from the description and drawings it is for a network, the document should be classified here.
This place covers:
Subject matter wherein the optical beam is propagated between nearby apparatuses or elements within an indoor space, directly or via diffuse communication.
This place covers:
Subject-matter wherein two devices are communicating only one-way, e.g. remote controllers.
Attention is drawn to the following places, which may be of interest for search:
Transmission systems for measured values or control using light, e.g, remote controls per se |
This place covers:
Subject matter wherein one central station is communicating wirelessly with a plurality of terminal stations. Even if the document focuses on one such connection, but it is clear from the description and drawings it is for a network, the document should be classified here.
This place covers:
Subject matter wherein the signal-carrying optical beam includes or consists of light having a wavelength in the visible light spectrum, e.g. a modulated lighting device or a modulated overhead light.
This place covers:
Subject matter wherein the optical beam is propagated to or from an Earth-orbiting object.
This place covers:
Subject matter including one or more transparent elongated structures (e.g., rods, fibers, or pipes) which are used to transmit light waves from one point to another within the confines of their outer surface by means of internal reflections or modal transmission.
Attention is drawn to the following places, which may be of interest for search:
Optical waveguides per se |
This place covers:
Subject matter comprises means for correcting or reducing distortion induced by (1) scattering in a light beam as it travels along the fiber or (2) overlapping of a light signal on one wavelength onto different wavelengths because of reflected rays and different refractive indices of the optical fiber material.
This place covers:
Subject matter comprising means for correcting or reducing distortion that is caused by the broadening of the signal as it travels the length of the fiber.
Attention is drawn to the following places, which may be of interest for search:
Dispersion compensators per se |
This place does not cover:
Using Bragg gratings | |
Using dispersion-compensating fibres |
Attention is drawn to the following places, which may be of interest for search:
Optical dispersion compensators involving optical fibres per se |
This place covers:
Subject matter comprising means for correcting or reducing distortion caused by chromatic dispersion using a fiber Bragg grating.
Attention is drawn to the following places, which may be of interest for search:
Bragg gratings per se | |
Devices with fibre gratings for dispersion control per se |
This place covers:
Subject matter wherein a correction fibre of specified length and amount of dispersion is used to compensate for chromatic dispersion.
Attention is drawn to the following places, which may be of interest for search:
Dispersion-tailored and dispersion compensation fibres per se |
This place covers:
Subject matter wherein over the whole fibre span a combination of different fibres are used to compensate for the dispersion of the span (does not cover a combination of fibres within a device)
Attention is drawn to the following places, which may be of interest for search:
Devices with different kinds of fibres for dispersion compensation per se |
This place covers:
Subject-matter wherein dispersion is compensated through mid-span spectrum inversion.
This place covers:
Subject matter comprising means for correcting or reducing distortion caused by the interaction of the signal with molecules in the fiber.
This place covers:
Subject matter comprising means for correcting or reducing distortion caused by variations in the optical properties of the fiber, e.g. due to the Kerr effect.
Attention is drawn to the following places, which may be of interest for search:
Devices based on non-linear optics |
This place covers:
Subject matter comprising means for compensating for Self-phase modulation. SPM is caused by the Kerr effect which produces a variation in the refractive index of the fibre. This variation in refractive index will produce a phase shift in the pulse, leading to a change of the pulse's frequency spectrum.
This place covers:
Subject matter comprising means for compensating for Cross-phase modulation. XFM is caused by the Kerr effect which produces a variation in the refractive index of the fibre. This leads to one wavelength of light potentially affecting the phase of another wavelength of light.
This place covers:
Subject matter comprising means for compensating for Four-wave mixing. FWM is an intermodulation phenomenon in optical systems; when three wavelengths interact in a nonlinear medium, they give rise to a fourth wavelength.
This place covers:
Subject matter which comprises means for correcting or reducing distortion caused by modal dispersion where two different polarizations of light in a waveguide, which normally travel at the same speed, travel at different speeds due to random imperfections and asymmetries, causing random spreading of optical pulses.
This place covers:
RF-over-Fiber architecture, wherein a data-carrying RF (Radio Frequency) signal with a high frequency is imposed on a lightwave signal before being transported over the optical link. Wireless signals are optically distributed to base stations directly at high frequencies and converted from the optical to the electrical domain at the base stations before being amplified and radiated by an antenna.
Attention is drawn to the following places, which may be of interest for search:
Sub-carrier multiplexing |
This place covers:
RF-over-Fiber systems used specially for CATV or video distribution
This place does not cover:
adaptations of television systems for optical transmission |
Attention is drawn to the following places, which may be of interest for search:
WDM optical network architectures | |
WDM data center network [DCN] architectures |
This place covers:
Subject matter comprising systems using more than one mode for transmission using multimode fibres.
Attention is drawn to the following places, which may be of interest for search:
Mode multiplex systems | |
Using multicore fibre |
This place covers:
Subject matter wherein the light source in a first station is used to transmit an optical data signal to at least a second station and the second station modulates the received light to transmit an optical data signal to the first station. The at least second station does not comprise a local light source.
This place covers:
Subject matter wherein an optical communication system is comprised of a specific arrangement of interconnections.
Attention is drawn to the following places, which may be of interest for search:
Free-space networks | |
Specific to radio-over-fibre | |
WDM optical network architectures | |
WDM data center network [DCN] architectures |
This place covers:
Subject matter wherein an optical data distribution system contains a common node connected to one end of each of three or more branches and the other end of which is connected to each member of a local area network multiplex system to permit optical information flow between all of the members.
This place covers:
Subject matter wherein the local area network consists of a series of stations connected to each other and the last station is connected to the first station.
This place covers:
Subject matter wherein multiple optical stations are interconnected via a network of fiber optics in a bus configuration to enable transmission and reception between the stations.
This place covers:
Subject matter including apparatus for receiving a light wave signal and reradiating the signal at a same or different carrier frequency.
Note. The recreating or retransmitting signal is usually at a higher power level or in a desired direction.
Note. The information content of the transmitted signal is not changed with respect to that of the received signal.
This place covers:
Subject matter in which the optical data signal is regenerated without conversion into the electrical domain. Feedback or control signals may be converted from optical to electrical.
Attention is drawn to the following places, which may be of interest for search:
Fibre optical amplifiers per se |
Attention is drawn to the following places, which may be of interest for search:
Semiconductor optical amplifiers per se |
Attention is drawn to the following places, which may be of interest for search:
Raman or Brillouin amplifiers per se |
This place covers:
Subject matter in which the regeneration leads to a constant signal power level.
This place covers:
Subject matter wherein the power control takes place in a wavelength division multiplexing [WDM] system
Attention is drawn to the following places, which may be of interest for search:
Power control, e.g. to keep the total optical power constant | |
Centralized control | |
Distributed control |
This place covers:
Subject matter in which compensation is provided if the power of the signal changes rapidly due to changes in system parameters.
This place covers:
Subject matter in which the regeneration is provided using a single device that retransmits both upstream and downstream signals. The single device may contain different devices that interact with each other. A single fibre is used for upstream and downstream signals, the regeneration device can however comprise separate amplifiers for upstream and downstream signals.
This place covers:
Subject matter in which the shape and/or timing of the signal is processed prior to regeneration, e.g. 3R amplifiers.
This place covers:
Subject matter wherein an optical transmitter and a receiver are at a common location for transmission and reception of separate optical signals in such a manner that an optical signal is transmitted using some of the same equipment used for the reception of another optical signal. The optical transmitter and receiver are usually confined to a common housing in a transceiver and termed "a station".
Simultaneously operating transmitter and receiver elements that are completely separated physically are excluded from this subclass.
This place covers:
Subject matter wherein a same diode element is used both to transmit or receive signals depending on how it is biased.
This place covers:
Subject matter including an opto-electric circuit for converting an information signal into a modulated optical signal suitable for propagation through or along a transmission medium. The opto-electric circuit includes, for example, opto-electronic light sources such as LEDs, laser diode, incandescent bulbs, an optical modulator and other elements associated with fiber optic or infrared transmission system required to communicate an information signal from one location to another via an optical beam.
Attention is drawn to the following places, which may be of interest for search:
Wavelength-division multiplex systems | |
WDM arrangements |
This place covers:
Subject matter comprising details of a process in which the optical energy is transformed into pulses having a particular characteristic before information signal coding or modulation is applied to the optical energy.
This place covers:
Subject matter comprising details of a process in which information signal is coded into beams of optical energy by use of a carrier wave.
This place covers:
Subject matter in which modulation is produced by modulating a carrier light wave by a series of digital pulses and varying a non-amplitude attribute of the pulses (e.g., position, width) to represent information in the optical beam.
Attention is drawn to the following places, which may be of interest for search:
Intensity modulation |
This place covers:
Subject matter in which the polarization of the carrier light wave is controlled to represent information
Attention is drawn to the following places, which may be of interest for search:
Polarisation multiplexed systems |
This place covers:
Subject matter in which modulation is produced by varying the amplitude of a carrier light wave as a function of the information signal.
This place covers:
Subject matter in which angle modulation is produced by proportionally varying the instantaneous phase angle of a sine wave carrier with the instantaneous value of an amplitude of a modulating signal, or by causing the instantaneous frequency of a sine wave carrier to depart from a carrier frequency an amount that is proportional to the instantaneous value of a modulating signal.
This place covers:
Subject matter in which the modulation is produced by creating discrete variations of the phase or frequency of the optical signal.
This place covers:
Subject matter comprising details of regulating the energy level output from the transmitting laser or light emitter.
This place covers:
Subject matter comprising details of regulating the wavelength output from the transmitting laser or light emitter. Regulating the wavelength output may include wavelength tuning or wavelength stabilization.
This place covers:
Subject matter wherein at least one output of the opto-electric circuit is modified to be an approximately linear function of its inputs. (techniques for making the output of the transmitter into a linear output)
This place covers:
Subject matter including particular details of varying the output of at least one laser diode element using another element outside of the laser diode to provide the optically transmitted signal.
This place covers:
Subject matter including an opto-electric circuit for retrieving information from a modulated optical signal propagated through or along a transmission medium.
This place covers:
Subject matter wherein a received wave is combined with a locally generated wave to produce one or more beat frequency signals at the output for detection of the transmitted information signal.
This place does not cover:
Delay line interferometer based DPSK optical receivers |
Attention is drawn to the following places, which may be of interest for search:
Use of polarisation beam splitters | |
Adjustment of the frequency or phase of the local oscillator in homodyne receivers |
Attention is drawn to the following places, which may be of interest for search:
Polarisation multiplex systems |
This place covers:
A receiver that demodulates the received signal by mixing it with a local oscillator signal synchronized in frequency and phase to the carrier of the received signal.
This place covers:
A receiver that demodulates the received signal by mixing it with a local oscillator signal having a different frequency than the carrier of the received signal.
This place covers:
Subject matter in which the data signal is directly converted from optical to electrical without the use of an oscillator.
This place covers:
Subject matter in which the detection of the signal is enhanced by an optical arrangement in the receiver that is provided in addition to the photodetection means.
This place covers:
Subject matter in which the detection of the signal is enhanced by an electrical arrangement within the receiver that is provided in addition to the photodetection means.
This place covers:
Subject matter wherein characteristics of single photons are varied to represent respective bits of data and these photons are transmitted and/or received in a communication system to convey an information-bearing message.
This place does not cover:
Systems wherein the photons represent a cryptographic key |
This place covers:
Optical aspects relating to specific applications of optical communication not provided for in any of the previous subgroups, e.g. optical power feeding, optical transmission through water or rotary joints,.
This place does not cover:
Arrangements for fault recovery | |
Arrangements for monitoring or testing transmission systems; Arrangements for fault measurement of transmission systems | |
Arrangements specific to free-space transmission, i.e. transmission through air or vacuum | |
Arrangements specific for fibre transmission | |
Arrangements for networking | |
Repeaters | |
Transceivers | |
Transmitters | |
Receivers | |
Photonic quantum communication |
Attention is drawn to the following places, which may be of interest for search:
Power feeding arrangements in general |
This place covers:
Subject-matter dealing with protection from unauthorised access, e.g. eavesdrop protection. Concerning eavesdrop protection it is noted that it is irrelevant whether the signal to be protected from eavesdropping is encrypted or not.
This place covers:
Non-optical transmission systems that fall under the scope of the title of the main group; e.g. transmission system using Teraherz waves below the far infrared range or particles.
This place covers:
Transmission systems employing ultrasonic, sonic or infrasonic waves.
This place covers:
Transmission systems where the medium for transmission is more pertinent than the type of signal.
This place covers:
Transmission systems where the medium is the human body.
This place covers:
Transmission systems where the medium is the earth or a large mass of water.
Attention is drawn to the following places, which may be of interest for search:
This place covers:
Transmission systems characterised by the use of a carrier modulation;
Transmission systems characterised by the use of pulse modulation, differential modulation or subcarrier modulation.
This place does not cover:
details of transmission systems not characterized by the medium used | |
Data mapping in impulse radio systems | |
Polarisation modulation and/or switching with transmission through light guides | |
Amplitude modulation | |
Angle modulation | |
Ofdm modulation techniques |
Attention is drawn to the following places, which may be of interest for search:
Impulse radio | |
Demodulation or transference of modulation from one carrier to another | |
Coding, decoding or code conversion, in general | |
Frequency modulated carrier systems | |
Amplitude modulated carrier systems |
This place does not cover:
in radio transmission relays |
Attention is drawn to the following places, which may be of interest for search:
Transmission of digital information per se |
Attention is drawn to the following places, which may be of interest for search:
Conversion of analogue values to or from differential modulation |
This place covers:
Reduction or elimination of unwanted disturbances of the information transmission.
This place does not cover:
Suppression or limitation of noise or interference by means associated with receiver |
Attention is drawn to the following places, which may be of interest for search:
Structural association with measuring or protective devices or electric components with suppressor for radio interference | |
Screening of apparatus or components against electric or magnetic fields |
Attention is drawn to the following places, which may be of interest for search:
Structural association with measuring or protective devices or electric components with suppressor for radio interference | |
Screening of apparatus or components against electric or magnetic fields |
Attention is drawn to the following places, which may be of interest for search:
Cables with high resistance |
This place covers:
interference from harmonics of clock frequency generators in transmission equipment
This place covers:
- Methods and apparatus for determining the manner in which a transmission system is functioning
- Methods and apparatus for determining the existence, type and location of any trouble
- Monitoring of the communications radio link between the transmitter and the receiver
- Measurements of quality parameters of the transmission/reception signal
- Monitoring of the transmission/reception path
- Modelling the propagation channel
This place does not cover:
Monitoring, testing line transmission systems | |
Arrangements for monitoring or testing transmission systems employing electromagnetic waves other than radio waves, e.g. infrared, visible or ultraviolet light |
Attention is drawn to the following places, which may be of interest for search:
Details of Transmitters | |
Details of Receivers | |
Monitoring arrangements in multiplex communication | |
Monitoring arrangements; Testing arrangements in data switching networks | |
Supervisory, testing and monitoring arrangements for wireless communication networks |
This place covers:
Arrangements to detect conditions or status of non-compliance or faulty performance due to failure or degradation.
This place does not cover:
Monitoring during normal operation |
This place covers:
Arrangements to monitor performance of the transmission system when in use.
Attention is drawn to the following places, which may be of interest for search:
Locating or presence detecting by the use of reflection or reradiation of radio waves | |
Satellite radio beacon positioning systems | |
Locating users or terminals for network management purposes |
This place does not cover:
Monitoring during normal operation |
Attention is drawn to the following places, which may be of interest for search:
Measuring or estimating channel quality parameters | |
Predicting channel quality or other RF parameters |
This place covers:
Arrangements to calculate the present and/or past channel quality parameters based on the present and/or past measured values.
Attention is drawn to the following places, which may be of interest for search:
Predicting channel quality parameters |
This place does not cover:
Signal-to-interference ratio [SIR] or carrier-to-interference ratio [CIR] |
Attention is drawn to the following places, which may be of interest for search:
Noise values |
This place does not cover:
Signal-to-interference ration [SIR] or carrier-to-interference ratio [CIR] |
This place covers:
Arrangements to project the future channel quality parameters based on the present and/or past measured values.
Attention is drawn to the following places, which may be of interest for search:
Measuring or estimating channel quality parameters |
Attention is drawn to the following places, which may be of interest for search:
Central resource management | |
Hand-off or reselecting arrangements | |
Access restriction; Network selection; Access point selection | |
Local resource management |
This place covers:
- Simulation to reproduce propagation environment on computers
- Emulation of actual propagation environment using testing apparatus
Attention is drawn to the following places, which may be of interest for search:
Fading models or fading generators | |
Predictive models |
Attention is drawn to the following places, which may be of interest for search:
Transmission of optical medium access [OAM] for wavelength-division multiplex [WDM] networks |