CPC Definition - Subclass G09F
This place covers:
Display and advertising means of a wide range of types including:
- Cardboard displays or like show cards, flat or three dimensional bodies and/or bodies fully or partly imitating the form of an object.
- Labels and seals displaying information about a product.
- Postage stamps.
- Product sample cases.
- Sign name or number plates bearing information in the form of letters, numerals or images.
- Displays for variable information, where the information is built up on a support by selection or combination of individual elements (LCD, LEDs modules, etc...) or displays where the variable information is permanently attached to a movable support (scrolling systems).
- Illuminated signs, luminous advertising using different types of light sources and optical systems.
- Boards, hoardings, pillars or like structures for big size placards, posters or the like.
- Flags, advertising banners and mountings thereof.
- Advertising or display means incorporating moving members or using special optical effects (Parallax systems, projection systems, 3-D, etc...).
- Mobile visual advertising (advertisement carried by persons, animals, vehicles, airplanes, ships, etc...).
- Advertising on specific articles like restaurant articles, clocks, toys etc...
- Combined visual and audible advertising or displaying; e.g. for public address.
In relation to displaying, advertising, and seals this subclass is related to subclasses G09B, G09C, G09D and G09G. These subclasses relate to educational or demonstration appliances (G09B), coding or ciphering apparatus for cryptography or other purposes involving the need for secrecy (G09B), railway or like time or fare tables; perpetual calendars (G09D) and arrangements or circuits for control of display systems (G09G).
Attention is drawn to the following places, which may be of interest for search:
Horticulture, cultivation of vegetables | |
Wood/Forestry marking | |
Marking of animals | |
Display on textile | |
Badges | |
Bracelets | |
Tables or desks | |
Show cases or show cabinets | |
Showcases or cabinets with arrangements for continuously or intermittently moving the merchandise | |
Shelf extensions | |
Locks, padlocks, fastening deviceslocks for meters | |
Rail constructions, brackets | |
Show stands made of cardboard | |
Shopping windows | |
Devices for hanging or supporting pictures, mirrors, picture frames or the like | |
Identification of persons, e.g. finger-printing, foot-printing | |
Devices or single parts for facilitating escape from buildings or the like | |
Toys in general | |
Injection moulding | |
Label production | |
Layered products | |
Label printers | |
Notepads | |
Shipping forms | |
Foldable sheets having printed matters and special format | |
Identity, credit, cheque or like information-bearing cards | |
Paper clips | |
Sheets temporally attached together | |
Electronic boards | |
Fixing seals on documents | |
Processes for applying transfer pictures or the like | |
Decalcomania | |
Designs or pictures characterised by special or unusual light effects | |
Arrangements or adaptations of optical signalling or lighting devices on or for wheels | |
Car emblems using luminous text displays | |
Arrangements or adaptations of lighting devices for vehicle interior | |
Arrangement or adaptation of portable emergency signal devices on vehicles | |
Car emblems | |
Car number plates | |
Publicity display devices mounted on shopping trolleys | |
Kites | |
Aircraft adaptation for dispensing pamphlets | |
Aircraft adaptation for sky-writing | |
Labels for syringes | |
Applying and securing binding material around articles or groups or articles, e.g. using strings, wires, strips, bands, tapes | |
Labelling systems and methods | |
Labelling other than flat surfaces | |
Labelling machines | |
Packaging per se, containers | |
Suspension labels for bottles, label for containers, rigid container labels | |
Means for indicating the unauthorised of a container closure | |
Flexible elongated elements, e.g. straps, for bundling or supporting articles | |
Packages comprising articles attached to cards, sheets, or webs | |
Devices specially adapted or mounted for storing and repeatedly paying out and re storing lengths of material | |
Pulleys | |
Microstructural devices comprising flexible or deformable elements | |
Luminescent material | |
Luminescent compositions, light sources using luminescence | |
Liquid crystal materials | |
Labelling fabrics by sewing | |
Laundry mark | |
Tag for textile by attaching threads, tags, or the like | |
Decorating textiles | |
Details of traffic signs | |
Towers; Masts, poles; Chimney-stacks; Water-towers; Methods of erecting such structures | |
Anti-theft devices, transponders, bank notes security | |
Joining sheets or plates to one another or to strips or bars parallel to them | |
Means for preventing relative axial movement of a pin | |
Fastening means | |
Supporting structure for electronic displays | |
Light sources using luminescence | |
Non-portable lighting devices | |
Traffic lights, Pillar shaped lights; Lights arranged on top of each other | |
Lighting systems using day light | |
Details of lighting devices | |
Fireworks | |
Tags attached to, or associated with, an object, in order to enable detection of an object | |
Optical fibre | |
Displays based on interference in an adjustable optical cavity | |
Gyricon, optical devices with movable parts | |
Displays based on reflecting micromechanical devices | |
Head up displays | |
Producing stereoscopic or other three dimensional effects, parallax, 3D images | |
Technical details of LCD displays | |
Displays based on electrochromic elements | |
Displays based on electrophoresis | |
Projectors or projection-type viewers; Accessories therefor | |
Lenticular screens | |
Abacus | |
Details of computer elements, e.g. with folding flat displays | |
PDA | |
Wearable computers | |
Arrangements for transferring data from a digital processing unit to an output display device | |
Video walls | |
Random numbers generator | |
Electronic price labels | |
Slide-rules | |
Tags, magnetic, optical, morphological | |
Commerce, marketing and/or advertising networks | |
Coin freed apparatus | |
Cash registers | |
Visible signalling | |
Traffic control systems | |
Arrangements or circuits for control of indicating devices using static menas to present variable information | |
Control systems for LEDs | |
Sound recording or reproducing per se | |
Identifying or analogous means applied to or incorporated in the record carrier and not intended for visual display simultaneously with the playing-back of the record carrier, e.g. label, leader, photograph | |
Labels specially adapted for being applied to, or incorporated in, record carriers and not intended for visual display simultaneously with the playing back of the record carrier | |
Marking of conductors or cables; labels for cables | |
Plasma display panels | |
Gas discharge panels | |
Cathode rays | |
Incandescent panels comprising a number of separate incandescent bodies | |
Mechanical details of telephones, e.g. display to body attachment, foldable | |
Television systems | |
Public address systems | |
Electroluminescent light sources | |
Display consisting of a printed circuit board carrying a matrix of single LED | |
Semiconductors integrated circuits comprising components adapted for the emission of light | |
OLED. | |
Details related to groups of LEDs, LEDs |
Due to the wide scope of the subclass G09F and the very large number of related technical areas, care should be taken not to classify documents in G09F dealing with displays not related to signage and advertisement.
Also as a classification rule in G09F 3/00(labels, seals, stamps...), this field relates to the mechanical aspect of the label lamination in general, its form and construction; documents dealing with the chemical composition of a label should be classified in their corresponding chemistry subclasses C07C, C08F, C08L.
Reusable security seals should not be classified in G09F 3/03 but in E05B 73/00.
Documents related to the technical aspect of a specific display, should in principle not be classified in G09F, as an example a document dealing with technical aspect of an LCD such as the setting of its electrodes should be classified in the corresponding group G02F 1/13.
Documents related only to the control system of a specific display apparatus should not classify in G09F but in G09G.
Documents related to commerce, marketing and/or advertising networks should be classified in G06Q 30/02.
In this place, the following terms or expressions are used with the meaning indicated:
Sign | Designates a mark or indication serving to make something recognisable, the information presenting being non varying, even if flashing; by way of example it covers therefore advertising hoardings, or luminous, or light reflecting, safety arrangements. |
Seal | Designates security seals of a single use, that helps join two systems or mechanisms together by preventing their separation. |
In patent documents, the following abbreviations are often used:
ESL | Electronic shelf label |
This place covers:
Advertisement cardboard or like show cards (flat or folded) and the corresponding support system to hold them.
Attention is drawn to the following places, which may be of interest for search:
G09F 1/00 is a classification group dealing mainly with cardboard like signs. Documents dealing with signs, names or number plates (medium, small size) should be classified in G09F 7/00. Documents dealing with boards for notices or posters (big size) should be classified in G09F 15/00.
Show stands and show cabinets are classified in A47F.
G09F 1/02 deals with flat cards showing advertisement information of the type shown in the figure below:

G09F 1/06 is a classification group related to folded show cards to be erected in three dimensions (if it imitates the form of an object, it should be classified in G09F 1/08) of the type shown in the figure below:

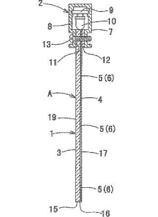
G09F 1/065 deals with specific foldable column like displays called totems, of the type shown in the figure below:

G09F 1/10, G09F 1/103, G09F 1/12 and G09F 1/14 are related with different kind of support or holders for flat or foldable show cards (frames, suspension clamps, legs, wheels, etc...).
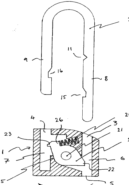
G09F 2001/085 contains folded cards actuated by a sliding tongue such as the one shown on the figure below:

In this place, the following terms or expressions are used with the meaning indicated:
Totem | portable, collapsible column like display |
This place covers:
- The mechanical layout of the different layers on different sort of labels.
- Informative, identification tags.
- Security seals of a single use.
- Postage or like stamps.
This place does not cover:
Chemical composition of labels | |
Tags attached to, or associated with, an object, in order to enable detection of an object | |
Labels on record carriers |
Attention is drawn to the following places, which may be of interest for search:
Horticulture, cultivation of vegetables | |
Wood/Forestry marking | |
Marking of animals | |
Display on textile | |
Badges | |
Bracelets | |
Locks, padlocks, fastening deviceslocks for meters | |
Label production | |
Layered products | |
Label printers | |
Notepads | |
Shipping forms, identity, credit, cheque or like information | |
Foldable sheets having printed matters and special format | |
Identity, credit, cheque or like information-bearing cards | |
Sheets temporarily attached together | |
Fixing seals on documents | |
Labels for syringes | |
Applying and securing binding material around articles or groups or articles, e.g. using strings, wires, strips, bands, tapes | |
Labelling other than flat surfaces | |
Labelling machines | |
Packaging per se | |
Suspension labels for bottles, label for containers, rigid container labels | |
Means for indicating the unauthorised of a container closure | |
Labelling fabrics by sewing | |
Laundry mark | |
Tag for textile by attaching threads, tags, or the like | |
Decorating textiles | |
Reusable security seals, theft deterrent tags | |
Padlocks | |
Means for preventing relative axial movement of a pin takes precedence | |
Random number generators | |
Digitally marked record carriers |
Documents dealing mainly with the chemical composition of the different label layers should be classified in their corresponding chemistry field (B32B, C08L, C08F, etc...), not in G09F 3/00.
Reusable security seals should not be classified in G09F 3/03 but in E05B 73/00.
G09F 3/005 contains identification bracelets, e.g. secured to the arm of a person.
G09F 3/02 is a very wide classification subgroup dealing with the forms or constructions of the label in general (be aware of classification B32B dealing with layered products). It contains many classification subgroups and codes related to the laminated composition of the label, that have to be taken into account when classifying a document disclosing a label:
G09F 2003/0201, label sheets intended to be introduced in a printer, e.g. laser printer.
G09F 2003/0202, printed before use.
G09F 2003/0204, tax-disc.
G09F 2003/0205, coupon.
G09F 2003/0207, ticket.
G09F 2003/0208, the label showing indicia. G09F 2003/021 if indicia are behind the front foil. G09F 2003/0211 if indicia have been transferred to the front foil.
G09F 2003/0213 if the label has concealed data.
G09F 2003/0214, labels used in stock management. G09F 2003/0216, relates to stock management for containers, G09F 2003/0217 for envelopes, G09F 2003/0219 to keep record of the use of a product and G09F 2003/022 shipment.
G09F 2003/0222, the label has features for removal or adhesion, e.g. tabs.
G09F 2003/0223, recyclable label.
G09F 2003/0225, code related to the label carrier web. G09F 2003/0226 if the carrier is a sheet, G09F 2003/0227 carrier strip and G09F 2003/0229 for carrier rolls.
G09F 2003/023, code dealing with the details about the adhesive in the label. G09F 2003/0232 for adhesive with resistance to heat, G09F 2003/0233 with resistance to humidity, G09F 2003/0235 resistance to chemicals, G09F 2003/0236 adhesive showing permeability, G09F 2003/0238 stress resistant, G09F 2003/0239 permanent adhesive, G09F 2003/0241 repositionable or pressure sensitive adhesive, G09F 2003/0242 adhesive soluble in water, G09F 2003/0244 adhesive soluble in chemicals, G09F 2003/0245 adhesive layer with differential adhesive strength areas, G09F 2003/0247. . Non-strippable anti-stick coatings, G09F 2003/0248 variable density of distribution of adhesive spots, and code G09F 2003/025 for activatable adhesives.
G09F 2003/0251, code related to sleeve shaped label, i.e. wrapped around a device, like the one shown in the figure below:

G09F 2003/0254, code associated with luggage tag.
G09F 2003/0255, laminated labels.
G09F 2003/0257 labels with multilayered structure. G09F 2003/0258 if the multilayered structure is without carrier, G09F 2003/026 without silicon backing, G09F 2003/0261 encapsulated in polymer and G09F 2003/0263 if the multilayer includes different patterns for carrier web and label web.
G09F 2003/0264, code associated to the special label shapes or borders. G09F 2003/0266 for shapes other than rectangular, G09F 2003/0267 die cut or G09F 2003/0269 for perforated labels.
G09F 2003/027 contains labels used to hang up an item, e.g. a perfusion bottle.
G09F 2003/0272 contains label for containers.
G09F 2003/0276, deals with safety features included in the label, e.g. colour, prominent part, logo. G09F 2003/0277 tamper resistant.
G09F 2003/0279, contain cards, e.g. plastic.
G09F 2003/028, labels containing microcapsules, e.g. ink microcapsules for indicia transfer.
G09F 2003/0282, labels for textiles, e.g. clothing.
G09F 2003/0283, food-compatible or edible labels.
G09F 2003/0285, Stamp-like labels.
G09F 3/0286, deals with labels provided with adaptations for labelling machines, like the one shown in the figure below:

G09F 3/0288 contains labels or tickets consisting of more than one part, e.g. with address of sender or other reference on separate section to main label; multi-copy labels. If the multi label is of the pull- or fold out type (like the one shown in the figure below) it should be classified in G09F 3/0289.

G09F 3/0291 contains labels or tickets undergoing a change under particular conditions, e.g. heat, radiation, passage of time. Within this subgroup G09F 3/0294 should be assigned when change is not permanent, e.g. labels only readable under a special light, temperature indicating labels and the like. And code G09F 3/0292 when this type of changing labels is used as tamper indicating labels.
G09F 3/0295 contains labels or tickets for tubes, pipes and the like.
G09F 3/0297 contains labels including a machine-readable marking, e.g. a bar code (be aware that digitally marked records in general are classified in G06K 19/00). If the bar code has a special orientation it should be classified in G09F 3/0298.
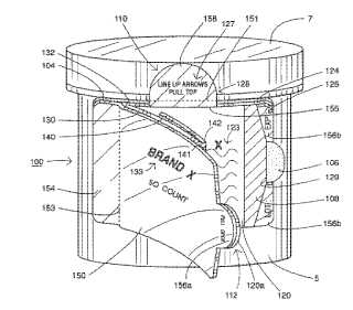
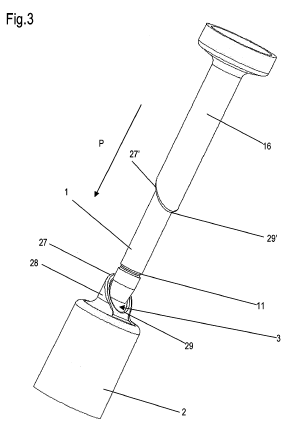
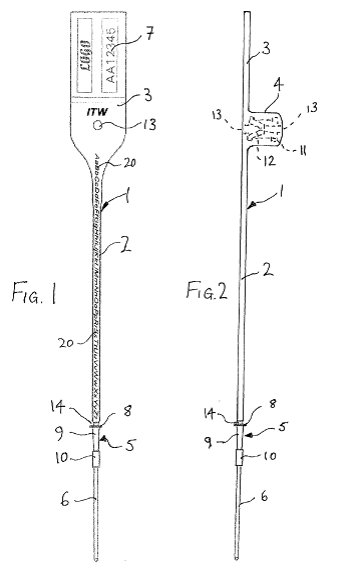
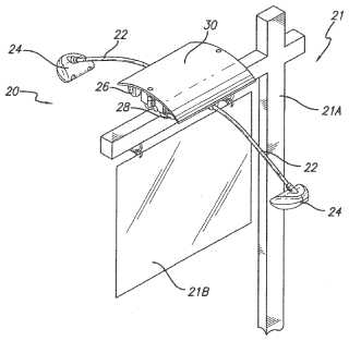
G09F 3/03, contains security seals of a single use (be aware of classification groups : B65D means for indicating unauthorised opening of container closures, e.g. B65D 27/30, B65D 55/02; theft deterrent tags E05B 73/0017).
Depending of the type of seal used a different classification subgroup should be assigned:
G09F 3/0305 is the general code for the type of seal used.
G09F 3/0311, contains single use seals having arrow like sealing means, like the one shown in the figure below (reusable padlocks classification E05B 73/00 takes precedence):

G09F 3/0317, contains single use seals having bolt like sealing means (F16B 21/16 means for preventing relative axial movement of a pin takes precedence), like the one shown in the figure below:

G09F 3/0323, contains single use seals having clamp like sealing means, like the one shown in the figure below:

G09F 3/0329, contains single use seals having electronic sealing means, like the one shown in the figure below:

G09F 3/0335 if they use RFID tags (be aware that G06K 19/00 classification deals with RFID in general).
G09F 3/0341, contains single use seals having label sealing means, like the one shown in the figure below:

G09F 3/0347 contains single use seals having padlock type sealing means (Padlocks in general E05B 67/00). If the padlock has a cable like lock it should be classified in G09F 3/0352 and if it has a rigid hasp in G09F 3/0358 (see figures below:
Cable like lock
Rigid hasp
G09F 3/0364, contains single use seals having rotary sealing means, like the one shown in the figure below:

G09F 3/037 contains single use seals having tie-wrap sealing means (be aware of classification F16G 11/00 fastening means), like the one shown in the figure below:

If the single use security seals uses a special technique to detect tampering, e.g. by ultrasonic or optical means, it should be classified in G09F 3/0376.![]()
If the security seal indicates that a violation has occurred by generating a random number, it should be classified in G09F 3/0394 (be aware of classifications G06F 7/58 and G07C 15/00 dealing with random number generators).
G09F 3/0382 contains seals using a transparent casing, and if it is semi-transparent the code to be assigned is G09F 3/0388.
G09F 3/04, contains labels to be fastened or secured by the material of the label itself, e.g. by thermo-adhesion (by a separate adhesive layer G09F 3/10). If the label is secured by clamping action it should be classified in G09F 3/06 (by separate clamps G09F 3/16). See for example the figure below:
Self contained clamp
G09F 3/08, contains labels to be fastened or secured by means not forming part of the material of the label itself:
G09F 3/10 if the label is secured by a separate adhesive layer.
G09F 3/12, by pins, staples, or the like.
G09F 3/14, by strings, straps, chains, or wires.
G09F 3/16, by clamps (see figure below).

G09F 3/18 is a common group dealing with casing, frames or enclosures for labels. If the enclosure envelopes completely the labels it should be classified in G09F 3/185. If the enclosure is for adjustable, removable, or interchangeable labels G09F 3/20 is the classification group to be assigned.
Within G09F 3/20 there are different classification subdivisions:
G09F 3/201: enclosures enveloping completely the labels (G09F 3/203 - G09F 3/207 takes precedence).
G09F 3/202, for labels being formed by a combination of interchangeable elements, e.g. price labels (see figure below).

G09F 3/203, specially adapted to be attached to a transparent surface, e.g. the window of a car.
G09F 3/204, specially adapted to be attached to a shelf or the like (A47F 5/0068: shelf extensions, takes precedence).
G09F 3/205, specially adapted for electric cables, pipes or the like.
G09F 3/206, specially adapted for marking or identifying plants.
G09F 3/207, in the form of a badge to be worn by a person.
G09F 3/208, for electronic labels, labels integrating electronic displays.
In this place, the following terms or expressions are used with the meaning indicated:
Die | A tool or device used to cut a desired shape, form or finish in any material; most commonly to produce a label or a specifically shaped sample. |
Piggyback label | Pressure-sensitive label constructions that have two release coated liners, two layer s of adhesive and a face material which enables the label to be applied-complete with the backing-for further or future applications. |
Pressure sensitive adhesive, self-adhesive | An adhesive which in its dry state at room temperature is always tacky and will adhere or stick to a wide range of diverse surfaces by simple contact under a light pressure. |
Release liner, backing paper | Is the component of the label laminate that protects the pressure sensitive adhesive during manufacture, converting, printing and up to the final point of application. Usually is peeled away from the adhesive immediately prior to its application to a surface. |
Seal | Designates security seals of a single use, that helps to join two systems or mechanisms together by preventing their separation. |
In patent documents, the following abbreviations are often used:
ESL | Electronic shelf label |
This place covers:
Means for displaying product samples of different sort. Portable sample cases, cards of sample colours and book of samples (carpet, perfumes, fabrics, floor tiles, etc...).
Attention is drawn to the following places, which may be of interest for search:
Showcases or cabinets with arrangements for continuously or intermittently moving the merchandise | |
Packages comprising articles attached to cards, sheets, or webs |
Subgroup G09F 5/02 contains portable sample cases in general like the one shown in the example below.

Cards of samples and book of samples should be classified in G09F 5/04 (be aware of classification B65D 73/00 dealing with packages comprising articles attached to cards, sheets, or webs for removal there from). It should be taken into account that there are different subclasses to be assigned depending on the material of the sample (G09F 5/042 in paper or the like, G09F 2005/043 for woods, G09F 2005/045 for carpets, G09F 2005/046 for perfumes, G09F 2005/047 for furniture and G09F 5/04 for fabrics).
This place covers:
Small/medium size advertisement signs, name or number plates, letters, numerals, or symbols.
Panels or boards for presentation of non-varying information or advertisement.
This place does not cover:
Cardboard or like show cards of foldable or flexible material | |
Indicating arrangements for variable information in which the information is built up on a support by selection or combination of individual elements | |
Advertising systems to produce variable information, in which the complete information is permanently attached to a movable support which brings it to the display position | |
Big size advertisement boards, hoardings, pillars, or like structures for notices, placards, posters, or the like |
Attention is drawn to the following places, which may be of interest for search:
Horticulture, cultivation of vegetables | |
Car number plates | |
Details of traffic signs | |
Joining sheets or plates to one another or to strips or bars parallel to them |
G09F 7/00 is a classification group including sign or plates (medium, small size) showing all sorts of information. Documents dealing with boards for notices or posters (big size) should be classified in G09F 15/00. Cardboard or paper show cards are classified in G09F 1/00. Displays showing variable information in G09F 9/00 or G09F 11/00. And illuminated signs should be also classified in G09F 13/00.
Car number plates, or emblems should be classified in B60R 13/10.
There are four main classification subgroups in G09F 7/00:
G09F 7/002, containing weather proof panel or boards, e.g. perforated signs to minimize the effect of the wind pressure (G09F 7/02 - G09F 7/14, G09F 7/18 - G09F 7/22 take precedence).
G09F 7/02 contains signs, plates, panels or boards using readily-detachable elements bearing or forming symbols. Within this subgroup a distinction should be made between:
G09F 7/04, signs where the elements are secured or adapted to be secured by magnetic means.
G09F 7/06, signs where the elements are secured or adapted to be secured by means of pins and holes.
G09F 7/08, signs where the elements are secured or adapted to be secured by means of grooves, rails, or slits. If they are slide-ably mounted on the slit the document should be classified in G09F 7/10.
G09F 7/12, signs where the elements are secured or adapted to be secured by self-adhesion, moisture, suction, slow-drying adhesive or the like. In this case code G09F 2007/122 should be assigned if the elements are secured by suction, G09F 2007/125 if they are secured by electrostatic force or G09F 2007/127 if they are secured using an adhesive.
In general the constructional features of the symbol bearing or forming elements are classified in G09F 7/14.
G09F 7/16 contains signs, plates, panel or boards using letters, numerals, or other symbols adapted for permanent fixing to a support.
If the letters, numerals, or other symbols are obtained by a treatment of the support, (polishing, vulcanization, electrolysis, etc...) G09F 7/165 classification code should be assigned.
G09F 7/18 is a common classification group, dealing with the different ways of attaching signs, plates, panes, or boards to a supporting structure. This subgroup contains a wide variety of classification codes to be assigned depending on the type of attachment system, the type of sign, etc.
G09F 2007/1804, for fastening to a post.
G09F 2007/1808, using tensioned bonds, e.g. metallic.
G09F 2007/1813, using brackets having two parts for clamping the post.
G09F 2007/1817, using fastening means to grip the post.
G09F 2007/1821, the post having slots or flanges to fasten the sign.
G09F 2007/1826, using channels on the rear of the sign board to be connected to the post, e.g. via clamps.
G09F 2007/183 the sign being formed by two parts clamping the post.
G09F 2007/1834, signs or the like supported by two lateral posts.
G09F 2007/1839, for fastening to cables.
G09F 2007/1843, frames or housings to hold signs.
G09F 2007/1847, brackets to grip the sign board.
G09F 2007/1852, for fastening magnetically or by suction or the like.
G09F 2007/186, suspended, e.g. secured to the ceiling.
G09F 2007/1865, on vehicles.
G09F 2007/1869, plates fixed to instruments.
G09F 2007/1873, characterised by the type of sign.
G09F 2007/1878, traffic orientation, street markers.
G09F 2007/1882, emblems, e.g. fixed by pins or screws.
G09F 2007/1886, tensioned flexible signs.
G09F 2007/1891, modular.
G09F 2007/1895, licence number plates containing advertising information.
G09F 7/20 for adjustably mounting, e.g. telescopic systems.
G09F 7/22 for rotatably or swingably mounting, e.g. for boards adapted to be rotated by the wind.
Code G09F 2007/005 deals with signs associated with sensors in general.
This place covers:
Indicating arrangements, e.g. advertisement displays, for variable information, in which the information is built-up on a support by selection or combination of individual elements. All sorts of electro-mechanical display systems where the image pixels are formed using LEDs, LCDs, optical fibre etc.
This place does not cover:
Indicating arrangements for variable information in which the complete information is permanently attached to a movable support which brings it to the display position |
Attention is drawn to the following places, which may be of interest for search:
Microstructural devices comprising flexible or deformable elements, e.g. comprising elastic tongues or membranes | |
Liquid crystal materials | |
Supporting structure for electronic displays | |
Light guides | |
Optical fibre | |
Displays based on interference in an adjustable optical cavity | |
Displays based on the rotation of particles under the influence of an external field, e.g. gyricons or twisting ball displays | |
Displays based on reflecting micromechanical devices, e.g. microelectromechanical system (MEMS) mirrors or deformable mirror devices (DMD) | |
Head-up displays | |
Other optical systems or other optical apparatus for producing stereoscopic or other three-dimensional effects | |
Technical details of liquid crystal displays (LCD) | |
Displays based on electrochromic elements | |
Displays based on electrophoresis | |
Viewers, other than projection viewers, giving motion-picture effects by persistence of vision with interposed lenticular or line screen | |
Abacus | |
Details of computer elements, e.g. with folding flat displays | |
Arrangements for transferring data from a digital processing unit to an output display device | |
Video walls | |
Slide rules | |
3D [Three Dimensional] image rendering | |
Arrangements or circuits for control of indicating devices using static means to present variable information | |
Plasma display panels | |
Gas discharge panels | |
Cathode ray tubes | |
Incandescent panels comprising a number of separate incandescent bodies | |
Mechanical details of telephones, e.g. display to body attachment, foldable | |
Pictorial communication, e.g. television | |
Electroluminescent light sources | |
Display consisting of a printed circuit board carrying a matrix of single LED | |
Semiconductor devices having potential barriers, specially adapted for light emission, e.g. LED | |
Organic light emitting devices, e.g. OLED displays or PLED displays | |
Details related to groups of LEDs |
This classification includes all the advertisement systems where the variable information is built-upon a static support by selection or combination of individual elements. If the system produces the variable information using a movable support, it should be classified in G09F 11/00.
Documents related to technical aspects of a specific display, should not in principle be classified in G09F, as an example a document dealing with technical aspects of an LCD such as the setting of its electrodes should be classified in the corresponding subclass G02F 1/13.
There are three main subgroups for classifying in G09F 9/00:
- G09F 9/30 contains advertisement systems in which the desired character or characters are formed by combining individual elements (be aware of classification G02F 1/00 dealing with panels comprising a number of electrodes in a single cell controlling light arriving from an independent light source). Within this subgroup a distinction should be made between:
G09F 9/302 if the display is characterised by the form or geometrical disposition of the individual elements, like for example in segmented displays (see figure below), which are classified in G09F 9/3023.

G09F 9/305 if the characters are formed by the end of optical fibbers (G09F 9/302 takes precedence).
G09F 9/307 if the characters are formed by incandescent filaments (be aware of classification H01K 9/00 dealing with incandescent panels comprising a number of separate incandescent bodies). G09F 9/302 takes precedence. G09F 9/313 if the characters are formed by gas discharge devices (be aware of classification H01J 17/49 dealing with gas discharge panels). G09F 9/302 takes precedence.
G09F 9/33 if the characters are formed by semiconductor devices, e.g. diodes (H10H 29/10 deals with semiconductor integrated circuits comprising components adapted to emit light in general). G09F 9/302 takes precedence.
G09F 9/35 if the characters are formed by liquid crystals (be aware of G02F 1/13 dealing with LCDs in general and C09K 19/00 dealing with liquid crystal materials). G09F 9/302 takes precedence.
G09F 9/37 if the characters are formed by movable elements, e.g. gyricons, electrophoretic displays etc... (G09F 9/302 takes precedence).
Within this subgroup it should be also analysed how the position of the moving elements is controlled. G09F 9/372 deals with the application of an electric field to control the position of the elements, G09F 9/375 with magnetic field and G09F 9/377 with the use of pneumatic means.
Common to G09F 9/30 classification subgroup there are two codes G09F 9/3026 dealing with video walls, stackable display systems, and G09F 9/301 dealing with flexible, foldable displays.
G09F 9/40 contains advertisement systems in which the desired character is selected from a number of characters arranged one beside the other, e.g. on a common carrier plate. Like in the figure shown below:

G09F 9/46 contains advertisement systems in which the desired character is selected from a number of characters arranged one behind the other, like in the figure shown below.

This place covers:
Advertising systems to produce variable information, in which the complete information is permanently attached to a movable support which brings it to the display position, like for example scrolling systems, displaying by rotating drums, flexible sheets or endless belts.
Attention is drawn to the following places, which may be of interest for search:
This classification includes all the advertisement systems showing variable information, where the complete information is permanently attached to a movable support. If the displaying system uses a static support to present the variable information (like an electronic display for example), it should be classified in G09F 9/00.
There are six main subgroups for classifying in G09F 11/00:
- G09F 11/02 contains advertisement systems where the display elements are secured to rotating members, e.g. drums, spindles, like the one shown in the figure below:

If the members are rotated simultaneously, and each face of the member carries a part of the sign, the document should be classified in G09F 11/025.

G09F 11/04 contains documents where the display elements are secured to rotating discs (G09F 11/025 takes precedence). In G09F 11/06 the elements are stiff plates or cards (on rotating discs G09F 11/04) and in G09F 11/08 the elements are flexible sheets (on rotating discs G09F 11/04).
G09F 11/10 deals with the electrical control system used to move the elements.
- G09F 11/12 contains advertisement systems where the display elements are carried by endless belts, chains or they like, like the one shown in the figure below:

In G09F 11/14 the elements are stiff plates or cards and in G09F 11/15 the elements are flexible sheets.
G09F 11/16 deals with the electrical control system used to move the elements.
- G09F 11/18 contains advertisement systems where the display elements are carried by belts, chains or they like other than endless like in the one shown in the figure below.

In G09F 11/20 the elements are stiff plates or cards and in G09F 11/21 the elements are flexible sheets.
G09F 11/22 deals with the electrical control system used to move the elements.
- G09F 11/23 contains advertisement systems where the advertisement or display material forms part of a rotating member e.g. in the form of perforations, print or transparencies on a drum or disc.
The details about the electric control thereof are treated in G09F 11/235.
- G09F 11/24 contains advertisement systems where the advertisement or display material forms part of a moving band e.g. in the form of perforations, print or transparencies. If the moving band is an endless band, the document should be classified in G09F 11/26 or in G09F 11/29 if the band is not an endless band.
- G09F 11/30 contains advertisement systems where the display elements are feed one by one from a storage place to a display position, like in the one shown in the figure below:

Details related to type of feeding means used in the advertisement system should be classified in G09F 11/32 (feeding means comprising belts, G09F 11/325) or G09F 11/34 (feeding means comprising electromagnets).
This place covers:
Illuminated signs, boards or panels.
Luminous advertising using different types of light sources and optical systems.
Luminous advertisement, e.g. by fireworks.
This place does not cover:
Indicating arrangements for variable information in which the information is built up on a support by selection or combination of individual elements | |
Advertising systems to produce variable information, in which the complete information is permanently attached to a movable support which brings it to the display position | |
Mobile visual advertisement |
Attention is drawn to the following places, which may be of interest for search:
Designs or pictures characterised by special or unusual light effects | |
Arrangements or adaptations of lighting devices for vehicle interior | |
Arrangement or adaptation of portable emergency signal devices on vehicles | |
Luminescent material | |
Light sources using luminescence | |
Non-portable lighting devices | |
Traffic lights, Pillar shaped lights; Lights arranged on top of each other | |
Lighting systems using day light | |
Details of lighting devices | |
Constructions or details of lighting devices | |
Fireworks | |
Edge illuminated signs | |
Technical details of LCD displays | |
Transparencies frames | |
Traffic lights | |
Cathode rays | |
Electroluminescent light sources | |
Arrangements or circuits for control of indicating devices using static means to present variable information |
G09F 13/00 relates to illuminated signs, displaying information. If a document discloses strictly only details about the technical features of an illumination system, not talking about the use of it in a display system, it should be classified in F21V and not in G09F 13/00. Illumination systems per se are not classified in this group.
The control systems for illuminated signs should be classified in G09G and not in G09F 13/00.
G09F 9/00 and G09F 11/00 take precedence.
Depending on the position of the light source in respect to the sign, board or panel to be illuminated, a document should be classified in:
G09F 13/005 contains illuminated signs including an illumination control system (timers, etc.).
G09F 13/02 if the light source is positioned in front of the insignia. See picture below.

Or G09F 13/04 if the sign is illuminated from behind the insignia.
G09F 13/0404 contains illuminated signs with the light source being enclosed in a box forming the character of the sign.
G09F 13/0409 arrangements for homogeneous illumination of the display surface, e.g. using a layer having a non-uniform transparency (diffusers, etc.). Arrangements with reflectors should be rather classified in G09F 13/14.
G09F 13/0413 illuminated sign frames or casing structures therefore (be aware of classification G03B 21/64 dealing with transparencies frames).
G09F 13/0418 covers the structural details of the illuminated sign (attached to the ceiling, installed on vehicles, indicating exit way or evacuation, etc.).
G09F 13/06 illuminated signs using individual cut-out symbols or cut-out silhouettes, e.g. perforated signs, like the one shown in the figure below.

G09F 13/08 contains illuminated signs using both translucent and non-translucent layers.
G09F 13/10 deals with illuminated advertisement signs using transparencies.
G09F 13/12 using a transparent mirror or other light reflecting surface transparent to transmitted light whereby a sign, symbol, picture or other is visible only when illuminated.
When de illuminated sign uses reflectors thereon G09F 13/14 is the classification to be assigned, at the same time it should be analysed the type of reflector used. G09F 2013/142 correspond to multiple reflectors, G09F 2013/145 correspond to curved reflectors and G09F 2013/147 plane reflectors.
G09F 13/16 relates to signs formed of or incorporating reflecting elements or surfaces, e.g. warning signs having triangular or other geometrical shape.
G09F 13/165 should be assigned if the reflective sign incorporates rotatably or swingably mounted reflecting elements or surfaces.
G09F 13/18 deals with edge illuminated signs were the light source illuminates indirectly the sign by positioning it on the edges of it.
See the example below.

It should be bare in mind that there exist different codes to be assigned to the edge illuminated sign relating to structural details (G09F 2013/1804), the type of information to be displayed (G09F 2013/184), the frame or casing used (G09F 2013/1872) and the special optical effects to be achieved (3-Dimensional effect G09F 2013/189 or imitating neon tubes G09F 2013/1895)
Edge-illuminating devices are also classified in G02F 1/133615. It is also interesting to check also G02F 1/133602 for direct backlight and G02B 6/0001 for light guide used in edge illumination systems.
Details related to the lighting system used, type of light source and constructional details, should be classified in:
G09F 13/20 if the lighting system uses luminescent surfaces or parts (be aware of F21K 2/00 dealing with light sources using luminescence and C09K 11/00 dealing with luminescent compositions).
G09F 13/22 if the illumination system uses electroluminescent light sources. The codes G09F 2013/222 and G09F 2013/225 should be assigned depending if the electroluminescent light source is a LED or an electroluminescent lamp. Be aware of H05B 33/00 dealing with electroluminescent light sources.
G09F 13/24 for illumination systems using tubes or the like filled with liquid, e.g. bubbling liquid.
G09F 13/26 for signs formed by electric discharge tubes (by selective lighting G09F 9/00).
G09F 13/28 for signs formed by filament-type lamp (by selective lighting G09F 9/00).
G09F 13/30 for signs with moving light sources, e.g. rotating luminous tubes.
G09F 13/32 with moving optical part of parts, e.g. mirrors.
G09F 13/34 for illuminated signs with light sources co-operating with movable members e.g. with shutters to cover or uncover the light source. And G09F 13/36 if they co-operate with rotating screening means. Be aware of G09F 11/00 for apparatus wherein advertisement or display material is moved; and F21V 11/00 for illumination systems in general.
G09F 13/42 for signs with light sources activated by non-visible radiation (H01J deals with cathode rays; cathode ray image or pattern display tubes H01J 31/10; H01J 63/06 lamps with luminescent screens excited by cathode rays).
G09F 13/44 for illuminated signs with gas as a lighting source.
G09F 13/46 deals with advertising by fireworks.
G09F13/48 contains illuminated signs including an illumination control system (timers, etc.).
Attention is drawn to the following places, which may be of interest for search:
Transparency frames |
This place covers:
Big size advertisement boards, hoardings, pillars, or like structures for notices, placards, posters, or the like.
Panel clamping or fastening means and panel surface tensioning systems.
Modular articulated structures, stands.
Collapsible portable display stands.
Boards including movable parts.
G09F 15/00 is a classification group dealing mainly big size boards for notices or posters (big size). Cardboard cards should be classified in G09F 1/00 and documents dealing with signs, names or number plates (medium, small size) should be classified in G09F 7/00.
Classification G09F 15/0006 contains all the advertisement systems using planar structures comprising one or more displaying panels. Specific details related to the frame, the panel clamping, tensioning etc... should be classified in their corresponding subgroup:
G09F 15/0012 deals with the specific details related to the frame system use to enclose the panels.
G09F 15/0018 relates to the panel clamping or fastening means.
G09F 15/0025 relates to the display surface tensioning means. If the panel is tensioned to be curved G09F 15/0031 is the classification to be used.
G09F 15/0037 includes board systems supported by a post, like the one shown in the figure below.

G09F 15/0043 relates to boards connected to a receptacle of public utility, e.g. a waste receptacle.
G09F 15/0056 contains portable display stands. If the portable stand is a collapsible one (see figure below) collapsible then it should be classified in G09F 15/0062.

G09F 15/0068 contains modular articulated structures and the articulation means thereof like the one shown in the figure below.

G09F 15/0075 contains advertisement pillars, like the one shown in the figure below.

And if the pillar rotates code G09F 15/0081 should be assigned.
G09F 15/0087 relates to boards including movable parts, e.g. movable by the wind.
G09F 15/02 should be assigned to a document when specific details related to the panel, like the material (biodegradable, textile compound, etc...), are given
G09F 15/025 contains poster carriers, devices for holding temporarily posters in.
This place covers:
Advertisement flags, banners and mountings thereof.
Attention is drawn to the following places, which may be of interest for search:
Devices specially adapted or mounted for storing and repeatedly paying out and re storing lengths of material | |
Poles, mast |
Flags and banners in general are classified in G09F 17/00.
Systems for avoiding the twisting of the flag and they should be classified in G09F 2017/0008 (G09F 2017/0016 in case that ventilators are used).
Flags rising and lowering devices (G09F 2017/0025).
There is a specific code G09F 2017/0033 related to the material of the flag.
Suspended banners are classified in G09F 2017/0041. Flag on vehicles in G09F 2017/0075 and safety flags on G09F 2017/0083.
Means for mounting flags to masts (G09F 2017/005).
The stands for the flags are classified in G09F 2017/0066.
Anti-foiling flagpoles, sliding means to avoid foiling of flags on the pole, and the like should be classified in G09F 17/0091.
This place covers:
Miscellaneous advertising or display means not provided for elsewhere like:
- Advertisement systems incorporating moving display members (doll faces or other representation of living forms, devices demonstrating the action of the article to be advertised, etc...).
- Advertisement systems using special optical effects (using mirrors, lenses, projectors, colour mixing effect, etc...).
- Advertisement or roads, walls or similar surfaces.
Examples of places in relation to which this place is residual:
Displaying or advertising in general |
Attention is drawn to the following places, which may be of interest for search:
Toys in general | |
Design or pictures characterised by special light effects | |
Producing stereoscopic or other three dimensional effects , parallax, 3D images | |
Technical details of LCD displays | |
Projectors or projection-type viewers; Accessories therefore | |
Lenticular screens | |
Details of computer elements, e.g. with folding flat displays | |
Visible signalling systems using smoke, fire, or coloured gases |
Classification code G09F 19/08 includes advertisement incorporating moving display parts, representing living forms. There are different codes (G09F 2019/081 fish, G09F 2019/083 plants, G09F 2019/085 birds, G09F 2019/086 dolls, G09F 2019/088 faces) depending on the living form that is being represented. Be aware of classification A63H dealing with toys in general.
G09F 19/12 includes all the documents related to advertisement systems using optical systems in general to create special visual effects (be aware of classification B44F 1/00 dealing with designs or pictures characterised by special light effects). If the optical effect relates to showing different sign depending upon the view point of the observer (parallax systems, stereoscopy, etc...), the code G09F 19/14 should be assigned. G09F 19/16 relates to using mirrors to create the optical effect. If projection means are used then G09F 19/18 classification should be assigned (be aware of classification G03B dealing with projecting means per se). G09F 19/20 and G09F 19/205 deal with colour mixing effect obtained with the use of prisms, filters, different wave-lengths (G09F 19/205).
G09F 19/22 relates to advertisement or roads, walls or similar surfaces in general, e.g. illuminated (illuminated signs in general are treated in G09F 13/00). When the advertisement is on tunnel walls for underground trains code G09F 2019/221 should be assigned. When the advertisement is on a building facade the code G09F 19/226 should be assigned.
G09F 19/228 deals with advertisement on the ground.
G09F 2019/223 is related to in pavement signs like the one shown in the figure below.

G09F 2019/225 is related to evacuation route indicating signs in general.
Attention is drawn to the following places, which may be of interest for search:
Designs or pictures characterised by special light effects | |
Projecting decorations in stage lighting |
This place covers:
All sort of mobile visual advertisement systems, this includes advertisement carried by a person, by land vehicles, by airplanes, ships, balloons, kites, by aircrafts or by ships.
Sky-writing.
Dispensing devices for pamphlets or similar advertisement matter from vehicles.
This place does not cover:
Combined visual and audible advertisement |
Attention is drawn to the following places, which may be of interest for search:
Arrangements or adaptations of optical signalling or lighting devices on or for wheels | |
Car emblems using luminous text displays | |
Arrangements or adaptations of lighting devices for vehicle interior | |
Arrangement or adaptation of portable emergency signal devices on vehicles | |
Car emblems | |
Kites | |
Aircraft adaptation for dispensing pamphlets | |
Aircraft adaptation for sky-writing |
When the advertisement is fixed on the clothes of the person the specific classification code G09F 21/023 should be assigned.
G09F 21/04: When the mobile advertisement is a vehicle, it should be carefully considered all the aspect dealing with:
- The advertisement being magnetically fixed on the vehicle, classified in G09F 21/041.
- The advertisement matter being fixed on the roof of the vehicle, classified in G09F 21/042.
- The advertisement giving information to passengers inside the vehicle, classified in G09F 21/049.
- The advertisement being in the form of a flag or banner, classified in G09F 21/046.
- The advertisement being fixed on the side front or back of the vehicle, classified in G09F 21/048.
G09F 21/043 should be used for advertisement supported on the vehicle tyres and G09F 21/045 if it is supported by the wheels.
G09F 21/06: If the mobile advertisement is an aircraft, airship, balloon or kite it should be taken into account if:
- The advertisement matter is arranged on the aircraft (G09F 21/08) or towed by the aircraft (G09F 21/12).Be aware of classification B64C 31/06 related to kites per se.
- Sky-writing is classified in G09F 21/16 (B64D 1/20 deals with aircraft adaptation for sky-writing).
G09F 21/22 deals with dispensing devices for pamphlets or similar advertising matter form vehicles (be aware of classification B64D 1/00 related to dispensing devices for pamphlets from aircrafts).
This place covers:
Advertising on or in specific articles.
Advertising systems where the advertisement is displayed by the operation of the article.
Advertisement combined with articles for shop, restaurants or offices (be aware that display devices mounted on shopping trolleys should be classified in B62B 3/1408).
Advertisement in or on food vending machines.
Advertisement on paper articles (booklets, newspapers, etc...).
Advertisement on toys, games, puzzles, or similar devices.
Advertisement on clocks, e.g. controlled by the clock mechanism.
Advertisement on parking meters.
Advertisement on pens.
Advertisement on containers, refrigerated containers.
Advertisement on cigarettes lighters.
Advertisement on seats.
This place does not cover:
Advertisement on or in vehicles, ships, aircrafts or the like, i.e. mobile visual advertisement |
Attention is drawn to the following places, which may be of interest for search:
When no specific code exits for the article to be classified, at least code G09F 23/00 should be assigned.
Advertisement on vehicles should be always classified in G09F 21/04.
This place covers:
Advertisement systems using audio record/play devices. Advertising in audible form.
This place does not cover:
Combined visual and audible advertising |
Attention is drawn to the following places, which may be of interest for search:
Sound recording or reproducing per se | |
Public address systems |
This place covers:
Combined visual and audible advertising or displaying, e.g. for public address.
Attention is drawn to the following places, which may be of interest for search:
Mobile visual advertising | |
Audible advertising | |
Public address systems |
Commerce, marketing and/or advertisement networks are not covered by G09F 27/00 group, it should be rather classified in G06Q 30/02.
If the advertisement system has a sensor (proximity sensor, temperature sensor, level of illumination sensor...) associated to it, the classification code G09F 27/005 should be assigned.
Classification code G09F 27/007 should be used if the system uses solar cells as power supply source.
There is a specific classification subgroup for outdoor advertisement systems using shades to minimize the effect of direct sun light on the display (G09F 27/008).
Attention is drawn to the following places, which may be of interest for search:
Rigidly arranged sunshade roofs with coherent surface |