CPC Definition - Subclass F27D
This place covers:
Details, accessories of furnaces, kilns or ovens in general, not for specific furnaces, kilns or ovens.
The details or accessories for specific furnaces, kilns or ovens are classified in F27B subgroups
Attention is drawn to the following places, which may be of interest for search:
Combustion apparatus |
Indexing Codes should be used as additional information or in case a CPC symbol is given and more detailed Indexing Codes are existing, these more detailed Indexing Codes should also be given.
Attention is drawn to the following places, which may be of interest for search:
Linings for casting-melt holding vessels | |
Refractory materials | |
Clay-wares | |
Shaped ceramic products characterised by their composition | |
Walls, e.g. partitions, for buildings | |
Protection of pipes or pipe fittings against corrosion or incrustation | |
Thermal insulation in general | |
Firebridges for combustion chambers | |
Shape of bricks or blocks used in combustion chambers |
Attention is drawn to the following places, which may be of interest for search:
Shields protecting the charge within the furnace |
Making or repairing linings, increasing the durability of linings or breaking away linings are classified in F27D 1/16.
Making or repairing linings, increasing the durability of linings or breaking away linings are classified in F27D 1/16.
Removable part or structure with replaceable elements because of wearing is classified in F27D 2001/005.
Attention is drawn to the following places, which may be of interest for search:
Linings or walls comprising heat shields, e.g. heat shields |
Assembling elements for supports for linings are classified in F27D 1/145.
Attention is drawn to the following places, which may be of interest for search:
Linings or walls comprising expansion joints or means to restrain expansion due to thermic flows | |
Removable covers | |
Movement of the container or support of the charge in the furnace or in the charging facilities |
Attention is drawn to the following places, which may be of interest for search:
Supports for linings | |
Heat-exchange apparatus |
Attention is drawn to the following places, which may be of interest for search:
Equipment used for making or repairing linings, e.g. by flame gunning |
Attention is drawn to the following places, which may be of interest for search:
Partitions |
Attention is drawn to the following places, which may be of interest for search:
Conveyors in general | |
Charging of the electric steel-manufacturing furnace | |
Furnaces through which the charge is moved mechanically or in which the charge moves by gravity | |
Path of the charge through the furnace during treatment; Means by which the charge is moved through the furnace during treatment |
Attention is drawn to the following places, which may be of interest for search:
Regulation involving the control of the conveyor movement, e.g. speed or sequences | |
Regulation using position sensors | |
Disposition of the charge in a push furnace type, workpieces being separated by a separating element |
Attention is drawn to the following places, which may be of interest for search:
Charging, discharging and manipulation of charges in heat treatment furnaces, e.g. with rolls |
Attention is drawn to the following places, which may be of interest for search:
Rollers in rolling mills | |
Rolls in continuous casting | |
Conveyor rolls in general | |
Roller conveyors for transporting glass sheets |
Attention is drawn to the following places, which may be of interest for search:
Screw conveyors in general processes | |
Screw conveyors in general |
Attention is drawn to the following places, which may be of interest for search:
Means to collect the slag or spilled metal, e.g. vessels |
Attention is drawn to the following places, which may be of interest for search:
Closure equipment in casting melt-holding vessels | |
Tap-holes and repairing top-holes in steel making converters |
Attention is drawn to the following places, which may be of interest for search:
Opening or sealing the tap-hole of blast furnaces |
This place does not cover:
Charging particulate material using a fluid carrier |
Attention is drawn to the following places, which may be of interest for search:
Injection assemblies for treating melt in ladles or runners before casting | |
Devices for accelerating or decelerating flow of the materials | |
Tuyeres for blast furnaces | |
Bottoms or tuyeres for converters | |
Burners or injectors for injecting pulverulent materials into the furnace | |
Treating molten ferrous alloy by injecting powdered material |
Attention is drawn to the following places, which may be of interest for search:
Lances or injectors for steel production in converters | |
Burners or injectors for injecting gas |
Attention is drawn to the following places, which may be of interest for search:
Travelling or movable supports | |
Setting, e.g. drying, dehydrating or firing ceramic articles | |
Supports, baskets, containers or covers for heat treatment of metal articles | |
Details of grates for burning waste materials | |
Elements for supporting goods to be dried |
Attention is drawn to the following places, which may be of interest for search:
Heat treatment baskets for metallic articles |
Attention is drawn to the following places, which may be of interest for search:
Heat shields for linings |
Attention is drawn to the following places, which may be of interest for search:
General devices for heat treatment with forced gas circulation | |
General devices for heat treatment under reduced pressure or vacuum |
Attention is drawn to the following places, which may be of interest for search:
Partitions used as registers |
Attention is drawn to the following places, which may be of interest for search:
Electric heating, per se |
Attention is drawn to the following places, which may be of interest for search:
Automatic control of temperature | |
Electric discharge apparatus | |
Arrangements for feeding or guiding electrodes | |
Automatic control of power by positioning of electrodes |
Examples of places where the subject matter of this place is covered when specially adapted, used for a particular purpose, or incorporated in a larger system:
Preheating of scrap for steel production |
This place covers:
Cooling of discharged material comprising a cooling grate.
Attention is drawn to the following places, which may be of interest for search:
Conveyors in general comprising a cyclically-moving | |
Heat-exchange apparatus, whereby particulate material forming a bed, e.g. fluidised, on vibratory sieves |
Attention is drawn to the following places, which may be of interest for search:
Cooling discharged material on a rotary hearth |
Attention is drawn to the following places, which may be of interest for search:
Preventing escape of dirt or fumes from the area where they are produced | |
Heat-exchangers in general |
Attention is drawn to the following places, which may be of interest for search:
Arrangements for treatment or cleaning of waste gases |
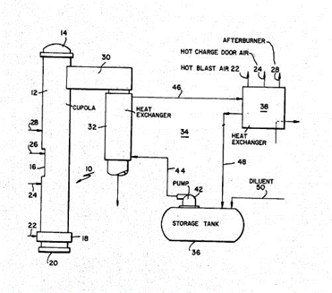
This place covers:
Illustrative example of subject matter classified in this place:

The Figure illustrates a waste heat recovery apparatus where exhaust gas from cupola (10) passes through heat exchanger (32) to heat fluid stored in tank (36). The heat is subsequently utilised at heat exchanger (38).
Attention is drawn to the following places, which may be of interest for search:
Heat storage type combustion burners |
This place covers:
Illustrative example of subject matter classified in this place:

The Figure illustrates an exhaust processing and heat recovery system with a regenerative heat exchanger (250), of the rotor type, which stores heat from flue gas (FG1) and then provides that heat to incoming air (A1). Exhaust air streams (A3, B2) use waste heat from furnace (26) to provide heat for other purposes, e.g. coal mill drying and grinding operations, site heating and others.
This place covers:
Illustrative examples of subject matter classified in this place:
1.

Figure 1 illustrates a plurality of nozzles (30) in the flue of furnace (12) which inject ammonia into the exhaust gas to treat NOx emissions.
2.

Figure 2 illustrates a plasma torch (118) at chamber (116) for pyrolysing volatile components in the exhaust gas.
Attention is drawn to the following places, which may be of interest for search:
Separation in general | |
Separation of gases or vapours | |
Removal of waste gases or dust coming from steel making converters | |
Working-up flue dust | |
Apparatus for combustion of waste gases or noxious gases |
Attention is drawn to the following places, which may be of interest for search:
Parts, details or accessories of cooking-vessels for withdrawing or condensing cooking vapours from such vessels | |
Preventing escape of dirt or fumes from the area where they are produced | |
Removal of waste gases or dust coming from steel making converters | |
Devices for conducting smoke or fumes, e.g. flues | |
Removing cooking fumes from domestic stoves or ranges |
This place covers:
Illustrative example of subject matter classified in this place:

The Figure illustrates a pipe curtain (20) for confining pollutants emitted from the furnace trough (12).
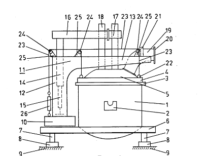
This place covers:
Illustrative example of subject matter classified in this place:

The Figure illustrates an electric arc furnace with an exhaust nozzle (19) integrated into the lid also supporting electrodes (17, 18).
Attention is drawn to the following places, which may be of interest for search:
Working up flue dust to produce non-ferrous metals and compounds thereof |
Attention is drawn to the following places, which may be of interest for search:
Arrangement of controlling devices in shaft furnaces | |
Arrangement of controlling devices in hearth type furnaces | |
Arrangement of controlling devices in muffle furnaces | |
Arrangement of controlling devices in rotary drum furnaces | |
Arrangement of controlling devices in tunnel furnaces | |
Arrangement of controlling devices in ring type furnaces | |
Arrangement of controlling devices in crucible or pot furnaces | |
Arrangement of controlling devices in fluidized bed furnaces |
Attention is drawn to the following places, which may be of interest for search:
Test rods or other checking devices in blast furnaces | |
Measuring and sampling devices in steel making converters | |
Arrangement of monitoring devices in shaft furnaces | |
Arrangement of monitoring devices in hearth type furnaces | |
Arrangement of monitoring devices in muffle furnaces | |
Arrangement of monitoring devices in rotary drum furnaces | |
Arrangement of monitoring devices in tunnel furnaces | |
Arrangement of monitoring devices in ring type furnaces | |
Arrangement of monitoring devices in crucible or pot furnaces | |
Arrangement of monitoring devices in fluidized bed furnaces | |
Measuring temperature and heat quantity in general |
This place covers:
Devices for removing incrustations, e.g. slag, metal deposits, dust, comprising breaking tools like hammers, drills, scrapers.
Attention is drawn to the following places, which may be of interest for search:
Breaking away linings | |
Boring machines for forming tapholes |
This place does not cover:
Charging or discharging liquid or molten material |
Attention is drawn to the following places, which may be of interest for search:
Mixers in general | |
General processes of refining of metals | |
Obtaining aluminium by refining | |
Electrodynamic pumps |
This place covers:
Details or accessories not covered by any preceding group
Attention is drawn to the following places, which may be of interest for search:
Electric heating in general |
Attention is drawn to the following places, which may be of interest for search:
Melting glass by combustion with oxygen | |
Manufacture of steel in electric arc furnaces equipped with burners | |
Burners in general for combustion of gas | |
Burners in general for combustion conjointly or alternatively of gaseous or liquid or pulverulent fuel |
Attention is drawn to the following places, which may be of interest for search:
Charging or loading melting furnaces with material in the solid state using an air-lock |
Attention is drawn to the following places, which may be of interest for search:
Charging cars or lift trolleys for carrying pots |