CPC Definition - Subclass E02F
This place covers:
- Primarily working vehicles or vessels (and occasionally stationary installations) for excavating or loosening earth and/or for moving loose earth on the ground or underwater, such as excavators, backhoes, loaders, graders, bulldozers, cable scrapers, bucket cars, suction dredgers, trenchers, and their methods of operation.
- In other rarer cases, similar working vehicles or vessels for working similarly on other materials, such as excavators with other kinds of tools such as breaking jaws, hammers, compactors, etc... instead of buckets, and such as rippers, and their methods of operation.
- Almost all the aspects of those particular working vehicles or vessels as defined above; the mechanical structures such as work implements, cabins, upper-structures, undercarriages, floating structures and drives: hydraulic, electric or in form of a combustion engine, and their control systems.
Attention is drawn to the following places, which may be of interest for search:
Tractors (e.g. implements, couplers for tools) | |
Harvesting (e.g. hydraulic drive systems) | |
Manipulators (e.g. arms, control systems) | |
Vehicles in general (e.g. propulsion units, control thereof) | |
Motor vehicles (e.g. undercarriages, super structures, cabins) | |
Tractors | |
Cranes (e.g. grapples, counterweights, hydraulic drive systems) | |
Fork lift trucks (e.g. hydraulic drive systems) | |
Machines for construction of roads (e.g. graders) | |
Street cleaning (e.g. graders for snow removal) | |
Stream regulation | |
Foundation slots, embankments | |
Drilling (e.g. particular work tools) | |
Mining (e.g. particular work tools) | |
Military vehicles (e.g. graders) | |
Control in general |
Some applications relating to soil-shifting as such, are also of interest for their general aspects and need to be classified there in addition to the classification in E02F. Examples are:
- hydraulic drive system, classification also in F15B
- combustion engine control, classification also in F02D
- pivot joint, classification also in F16C
- superstructures, cabins, classification also in B62D 25/00 or B62D 33/00
- gearings, classification also in F16H.
Some documents (example: "working/industrial/construction machine such as excavators, cranes, fork lift trucks, tractors..."), with several application oriented disclosures, need to be classified in all the application subclasses (in the general subclass if appropriate, see paragraph above). Examples are:
- agricultural tractors or vehicles, classification also in A01B
- cranes, classification also in B66C (cranes with a beam or boom B66C 23/00)
- fork lift trucks, classification also in B66F.
In this place, the following terms or expressions are used with the meaning indicated:
Work implement | those parts that actually carry out the work of shifting soil and are attached to the vehicle or vessel body. For example: boom + dipper-arm + bucket. |
This place covers:
This group has to be considered as residual to all the other groups and subgroups of E02F. This group is very rarely used to classify documents.
This place covers:
the following vehicles or vessels, with their corresponding methods, their particular components and the drives and control systems specially adapted for each of those particular vehicles:
With digging screws (E02F 3/06)

WO2004/043832
With digging elements on an endless chain (E02F 3/08)

US3813125
With digging wheels turning round an axis (E02F 3/18)

FR1267198
With a pair of digging wheels, slotting machines (E02F 3/205)

EP1630301
With digging tools mounted on a single (bucket-) arm (E02F 3/283)

EP0445933

EP1294993
With digging tools mounted on a dipper-arm pivoted on a boom (E02F 3/30)

EP2141289
With digging tools mounted on a pair of bucket-arms (E02F 3/34)

GB859309 (pair of arms - 50 and 52)
With bucket-arms being pivoted at the rear of the vehicle chassis, skid steer loader (E02F 3/3414)

WO2009020509
With reciprocating digging or scraping elements moved by cables or hoisting ropes (E02F 3/46) with following subgroups:
- with grab buckets for making foundation slots (E02F 3/475)
- drag-lines (E02F 3/48)
- with buckets or other digging elements moved along a rigid guideway (E02F 3/50)
- cableway excavators (E02F 3/52)

EP1950353

WO2004067856

US4134221

US4184958
Bucket cars, i.e. having scraper bowls (E02F 3/64)

DE2352214
Graders, bulldozers (E02F 3/76) with the following subgroups:
- with the scraper blade mounted forwardly of the tractor on a pair of pivoting arms which are linked to the side of the tractors (E02F 3/7609)
- with the scraper blade mounted on a frame to be hitched to the tractor by bars, arms, chains or the like, the frame having no ground supporting means of its own (E02F 3/7622)
- with the scraper blade mounted under the tractors chassis (E02F 3/7636)
- with the scraper blade mounted under a frame supported by wheels (the frame being towed by a vehicle) (E02F 3/7663)

GB1080317

in exploded view

US2011067892 (arms 3, frame 4, blade 5)

DE2707006

GB2065749
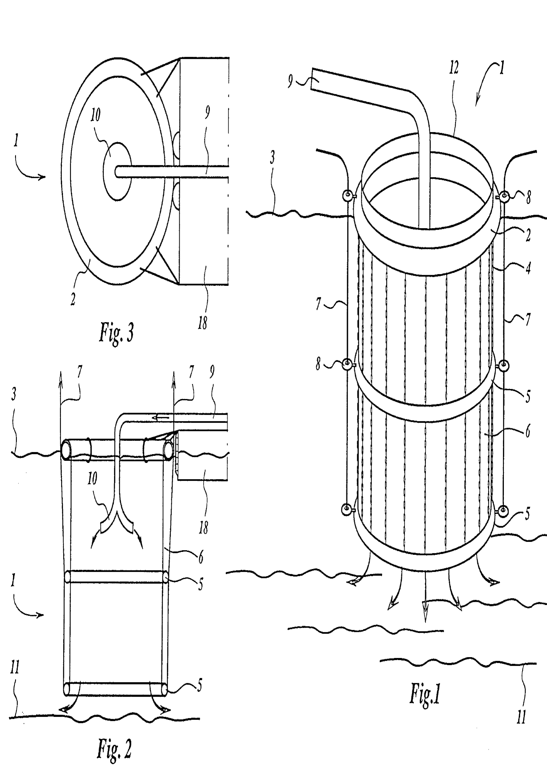
With arrangements acting by a sucking or forcing effect, e.g. suction dredgers (E02F 3/88)

CA2285196

US6857207
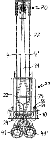
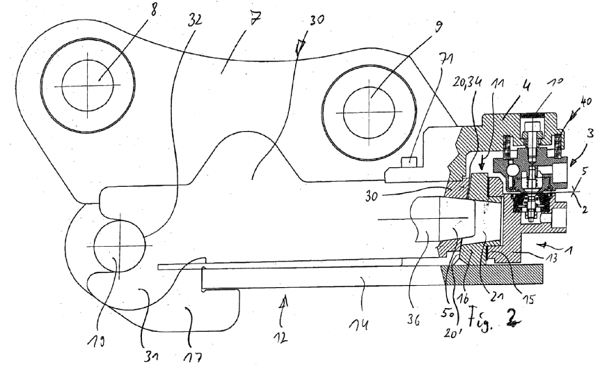
Boom or cantilever beam
dipper-arm
bucket or shovel

EP2141289 (boom 7, dipper-arm 8, bucket 9)
Bucket-arm(s)

WO2009020509 (bucket-arm(s) 24 could be single or double, with one on the other side of the vehicle)
This subgroup is of rare use. The spades and rakes for agriculture or gardening purposes are to be classified in A01B and not in this subgroup. Some documents overlap with E01H (street cleaning) or other subclasses.
for machines specialised in making foundation slots or making walls of concrete in situ:
- if the machine alone is described, the document is to be classified only in E02F 3/205.
- if the walls or foundations are defined and described too, the documents are also to be classified in E02D 17/13 or E02D 5/18.






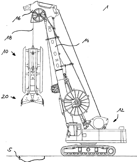
Backhoe, construction machines wherein the tool mounted at the end of the dipper-arm and boom is pulled towards the machine (E02F 3/32)

EP2141289
Machine with a dipper-arm and boom working outwardly (E02F 3/308)

US6032093


EP1775389

DE112007001547T
Classification in subgroup(s) of this group is preferred above classification in this group.

WO03069077 (assembly 60 - 63)

WO2011019143

WO2011019143 (locking element - which is also a hook - 13 acts on the pin 22)

EP1033447 (longitudinal locking element 11)

DE10200836 (hook 15 and transversal locking element 5 which enters 13 for locking)

EP2206837 (four movable pins - 16, 17)

CA2546034 (wedge 222')

US7086821 (snap-on function of locking element 40 because of the spring)

EP1033447 (first latching means 11 and second or redundant latching means 14)

DE102004014823 (hydraulic lines couplers 40 - at the right of the picture)

CN101268234
Buckets with integrated means for processing the soil are to be classified in E02F 3/407 and E02F 7/06, such as the following one:

EP2204501 (screening, crushing or mixing bucket)
Buckets with the particular integrated means "jaw crusher" for processing the soil are to be classified in E02F 3/407 and E02F 7/06 and E02F 3/965, such as the following one:

WO2011145233 (jaws 5 and 6)
Classification in subgroup(s) of this group is preferred above classification in this group.

GB2349399

DE102004043081


WO9527832 (with jets)

WO2004065700 (with propeller)
suction wheels (E02F 3/9212 and subgroups)

WO2007100250 (with suction pipe 4 behind the wheel)

WO9844078 (suction head 130)

NL7905169

FR2866362

US2007289172

US5054958

US2009008490

WO9824984

EP2123831
In this place, the following terms or expressions are used with the meaning indicated:
Slidable vs telescopic (E02F 3/304, E02F 3/305, E02F 3/306) | - slidable: an arm or a boom glides or slides as a whole piece along the axis of a support- telescopic: an arm or a boom is composed of several elements sliding within each other so that the arm or boom becomes longer or shorter |
This place does not cover:
Conveyors |
Attention is drawn to the following places, which may be of interest for search:
For digging trenches or ditches | |
Cutting machines for mining or quarrying |
This place covers:
Machines used for uncovering conduits (E02F 5/003)
Trenchers (E02F 5/02 and subgroups)
- for laying cables (E02F 5/101)

US2007286681
Machines for making embankments or backfilling (E02F 5/22)
- for backfilling only (E02F 5/223)
- with means for processing the soil (E02F 5/226)

US4782606

US5097610
Machines for cleaning watercourses or other ways (E02F 5/28)

EP0259472

FR2789414
Rippers (E02F 5/32)

WO2007022579
Attention is drawn to the following places, which may be of interest for search:
for machines specialised in making embankments:
- if the machine alone is described, the document is to be classified only in E02F 5/22.
- if the embankment itself is defined, the document is also to be classified in E02D.
The documents concerning laying pipes, respectively laying electric cables are to be classified in F16L, respectively in H02G too. But the documents for laying drainage devices are only to be classified in E02F 5/10 or E02F 5/101 and not in E02B 11/02.
This place covers:
- conveying equipment, such as pipelines, conveyor belts or conveyor screws, etc, and delivery chutes or screening plants such as sieves, mixing machines, etc directly linked with excavation or dredging or soil-shifting machines.
- loading devices such as hoppers mounted on dredgers or excavators.
Attention is drawn to the following places, which may be of interest for search:
In combination with digging elements mounted on an endless chain | |
In combination with rotating digging wheels | |
In combination with bucket-arms | |
In combination with graders or bulldozers | |
Conveyors in general |
This place covers:

US4196800
conveyor assembly 11 with front and rear sections 29 and 30 mounted on a machine equipped with a dipper arm structure 12
This place covers:

NL2005268C
Hopper dredger

US6171030
the soil hopper 30 is a loading device for the excavated soil (note: the document is also classified in E02F 7/026, as 33 is a conveying discharging soil means and in E02F 7/06 as 20 is a processing trough)
This place covers:

US6171030
the processing trough 20 mixes excavated soil - from hopper 30 - and an additive - from hopper 50 (note: the document is also classified in E02F 7/026, as 33 is a conveying discharging soil means and in E02F 7/04 as 30 is a hopper for loading excavated soil)
This place covers:

WO9844207
conveyor pipeline for dumping dredged materials (note: the document is also classified in E02F 7/023 conveying equipment mounted on a floating dredger)
This place covers:
More particularly the devices for transporting the machines, and the following elements mounted on dredgers and soil-shifting machines not otherwise provided for in E02F 3/00, E02F 5/00 and E02F 7/00 and subgroups:
- pivot joint assemblies
- travelling-gear or undercarriages, for caterpillars for instance
- floating substructures
- superstructures and their supports
- slewing or traversing gears, such as turntables
- cabins
- counterweights
- drives, control systems of particular purposes, electric or hydraulic or pneumatic control devices not covered by other groups in E02F
- safety devices not covered by other groups in E02F
- indicating devices, like displays
- small wearing parts, like teeth or tips.
Attention is drawn to the following places, which may be of interest for search:



WO2004098985 (walking gears 4)
Spuds (E02F 9/062)

WO2006130934 (spuds 3 and 4)

US6041527
E02F 9/067 (to compensate the influence of the waves)

GB1521185


EP1384825 (ground supports 14)

(traversing gear)

All inventions disclosing hydraulic circuits have to be classified in one of the classes E02F 9/2203 - E02F 9/226 and in the appropriate subgroups of E02F 9/2278.
All inventions disclosing hydraulic circuits with one or more accumulators have to be classified in E02F 9/2217.
In this place, the following terms or expressions are used with the meaning indicated:
Slewing or revolving or swing structure | Part of the vehicle frame which rotate about a vertical axis |
FOPS | Falling Object Protection Structure |
ROPS | Roll Over Protection Structure |

