CPC Definition - Subclass B64F
This place covers:
- Ground installations
- Aircraft carrier installations
- Ground installations specially adapted for captive aircraft
- Designing, manufacturing, assembling cleaning, repairing aircraft
This place covers:
- Runways and taxiways dispositions;
- Terminals.
Examples of places where the subject matter of this place is covered when specially adapted, used for a particular purpose, or incorporated in a larger system:
Ground installations specially adapted for captive aircraft | |
Launching, take-off or landing arrangements specially adapted for UAVs | |
Transport or storage specially adapted for UAVs |
Attention is drawn to the following places, which may be of interest for search:
Aircraft carriers | |
Dispersing fog in general | |
Wind tunnels | |
Simulators for teaching control of aircraft |
This place covers:
- Indicators for taxiways;
- Docking systems for gates.
Attention is drawn to the following places, which may be of interest for search:
Visual or acoustic landing aids | |
Ground or aircraft-carrier-deck installations for towing aircraft | |
Alighting gear characterised by powered wheels, e.g. for taxiing |
Attention is drawn to the following places, which may be of interest for search:
Tent-like garages |
Attention is drawn to the following places, which may be of interest for search:
Paving take-off areas for vertically starting aircraft | |
Landing platforms for helicopters |
This place covers:
- Net type arresting gear at the end of runways;
- Arresting surfaces;
- Liquid barriers.
Attention is drawn to the following places, which may be of interest for search:
Vehicle decelerating or arresting surfaces |
This place covers:
Devices for arresting or capturing aircraft using nets or mesh.
This place covers:
Devices for arresting or capturing aircraft using cables or tethers.
This place covers:
Arresting or capture devices that are supported via airborne means.
Attention is drawn to the following places, which may be of interest for search:
Releasing or reberthing aircraft in flight |
This place covers:
Devices which, when deployed, may be altered to arrest or capture aircraft from differing flight path angles.
This place covers:
Systems using multiple of the same or differing type of arresting or capturing devices.
Attention is drawn to the following places, which may be of interest for search:
Mooring attachments of lighter-than-air aircraft | |
Building aspects |
This place covers:
- Acoustic aids;
- Wind vanes.
Examples of places where the subject matter of this place is covered when specially adapted, used for a particular purpose, or incorporated in a larger system:
Means for guiding landing UAVs toward a landing platform, e.g. lighting means |
Attention is drawn to the following places, which may be of interest for search:
Taxiing aids | |
Radio wave signals and beacons in general | |
Optical or acoustic signalling in general | |
Traffic control systems |
This place covers:
Arrangements of lights
Attention is drawn to the following places, which may be of interest for search:
Lights |
There will be an indexing scheme for the following:
Underground lights indicating landing path
Lights using LEDs
In this place, the following terms or expressions are used with the meaning indicated:
LED | Light Emitting Diode |
This place covers:
Installations on the ground or on carrier decks for the towing, storing and moving of aircraft not under their own power, including towing gear and including trolleys and dollies on which the aircraft may be temporarily placed.
Attention is drawn to the following places, which may be of interest for search:
Taxiing aids |
This place covers:
Installations such as conveyors or lifts on the ground, on aircraft-carrier decks or within buildings for moving aircraft to or from storage locations.
Illustrative example of subject matter classified in this place:

Examples of places where the subject matter of this place is covered when specially adapted, used for a particular purpose, or incorporated in a larger system:
Moving UAV to supply/launch location |
Attention is drawn to the following places, which may be of interest for search:
Buildings for storing aircraft |
This place covers:
Arrangements for towing aircraft while on the ground.
Illustrative example of subject matter classified in this group:

Attention is drawn to the following places, which may be of interest for search:
Aircraft adaptations to facilitate towing or being towed |
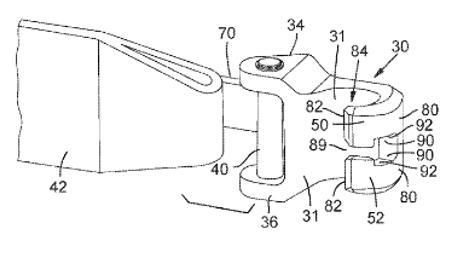
This place covers:
Bars connectable between an aircraft and a vehicle for towing, pushing or steering the aircraft on the ground.
Bars connectable to an aircraft for manually turning or towing the aircraft by a person.
Illustrative example of subject matter classified in this group:
1. Bars connectable between an aircraft and a vehicle:

2. Bars connectable to an aircraft for manually turning or towing:

In patent documents, the following words/expressions are often used as synonyms:
- "towing bar", "tow bar" and "towing arm"
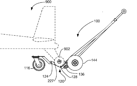
This place covers:
Aircraft tow tractors, i.e. aircraft tugs, as well as hand manipulated vehicles such as hand carts or motorised walk-type tow tractors.
Illustrative example of subject matter classified in this place:

Attention is drawn to the following places, which may be of interest for search:
Vehicles adapted for carrying aircraft | |
Hand-propelled vehicles, e.g. hand carts | |
Tractors | |
Motor vehicles characterised by the driver not being seated |
This place covers:
Vehicles for towing aircraft which are propelled by a walking person or steered by a walking person manually changing the direction of the vehicle.
Illustrative example of subject matter classified in this group:

This place covers:
Devices (not vehicles) adapted to transfer passengers between terminal and aircraft
This place covers:
Finger type gates
Attention is drawn to the following places, which may be of interest for search:
Docking systems for gates |
This place covers:
Vehicles adapted to transfer passengers between terminal and aircraft
Attention is drawn to the following places, which may be of interest for search:
Movable stairways in general |
This place covers:
Ground installations or vehicles specially adapted for loading freight into and out of an aircraft, e.g. scissors type trucks.
Attention is drawn to the following places, which may be of interest for search:
Load transporting vehicles modified to facilitate loading or unloading |
This place covers:

This place covers:

This place covers:

This place covers:
Illustrative example of subject matter classified in this group:

Attention is drawn to the following places, which may be of interest for search:
Charging batteries for electric vehicles | |
Recharging batteries for UAVs |
This place covers:
Illustrative example of subject matter classified in this group:

This place covers:
- Portable landing pads;
- Managing aircraft in airports;
- Sky jumps.
This place does not cover:
Ground installations for de-icing aircraft |
Attention is drawn to the following places, which may be of interest for search:
Construction of, or surfacing for, airfields |
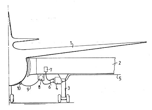
This place covers:
- Fixed installations for supplying conditioned air to aircraft;
- Hoses therefor.
Attention is drawn to the following places, which may be of interest for search:
Air conditioning for aircraft crew or passengers, or freight space | |
Air conditioning in general |
This place covers:
Mobile installations for supplying conditioned air to aircraft.
Attention is drawn to the following places, which may be of interest for search:
Air conditioning for aircraft crew or passengers, or freight space | |
Air conditioning in general |
This place covers:
- Check-in counters
- Routing baggage from counters to aircraft
Attention is drawn to the following places, which may be of interest for search:
Detecting prohibited goods, e.g. weapons, explosives, hazardous substances, contraband or smuggled objects | |
Tags | |
Entry or exit registers |
This place covers:
Installations in the ground specifically adapted for use with aircraft designed to maintain physical contact with the earth while in flight (i.e. the ground-based equipment for captive/tethered aircraft (which aircraft would be in B64C 39/022)).
Attention is drawn to the following places, which may be of interest for search:
Railway aspects |
This place covers:
Methods and installations not covered in any of the groups B64B, B64C, B64D and involved in: aerodynamic and structural design, testing, cleaning and polishing, maintaining (including keeping ready for flight, such as de-icing), and repairing of aircraft and aircraft-specific parts, components, and subassemblies and assembling of these into aircraft-specific subassemblies and entire aircraft.
Attention is drawn to the following places, which may be of interest for search:
Devices for detecting or indicating a hard landing | |
Devices for aircraft health monitoring | |
Measuring length; thickness or similar linear dimensions; measuring angles; measuring areas; measuring irregularities of surfaces or contours | |
Aerodynamic testing; Arrangements in or on wind tunnels | |
Computer-aided design of aircraft | |
Computer-aided design of aircraft fuselages | |
Administration, management | |
Indicating or registering the working of machines |
This place covers:
- Devices specially adapted for assembling or manufacturing aircraft
- Jigs therefor
Attention is drawn to the following places, which may be of interest for search:
Work benches |
This place covers:
Devices for the detection of icing conditions on aircraft on the ground.
Attention is drawn to the following places, which may be of interest for search:
Vehicles adapted to transport, to carry or to comprise special loads or objects | |
Aircraft-fitted installations for de-icing or preventing icing on exterior surfaces of aircraft | |
Indicating weather conditions | |
Alarm responsive to formation or anticipated formation of ice |
This place covers:
- Maintenance equipment
- Health monitoring
Attention is drawn to the following places, which may be of interest for search:
Registering or indicating the working of vehicles |