CPC Definition - Subclass A63F
This place covers:
- Games including card games, board games, roulette games, indoor games using small moving playing bodies, e.g. pinball games, miscellaneous games, e.g. puzzle games.
- Video games, i.e. games using an electronically generated display having two or more dimensions, e.g. on a television screen, showing representations related to the game.
Attention is drawn to the following places, which may be of interest for search:
Training or exercising toys specially adapted for animals | |
Casino chips | |
Nursery furniture | |
Household or table equipment | |
Sport games | |
Bowling games, e.g. skittles, bocce or bowls; Installations therefor; Bagatelle or similar games; Billiards | |
Toys | |
Robots | |
Cards in general, e.g. trading cards or postcards | |
Ornamental bodies | |
Children's cycles | |
Packages | |
Laser or infra-red guns | |
Liquid ejecting guns, e.g. water pistols | |
Toy air guns that fire projectiles | |
Toy guns that fire projectiles by means of combustion | |
Cap-firing pistols, e.g. toy pistols | |
Targets; Target Ranges; Bullet Catchers | |
Darts | |
Digital computing in general | |
Digital data processing | |
Data-processing equipment characterised by a specific application for game playing | |
Generating random numbers; Lottery apparatus | |
Vending machines | |
Coin-freed apparatus for games, e.g. gaming systems with provide a financial reward | |
Educational games, i.e. games having educative or pedagogical purpose | |
Advertising or display means | |
Music devices |
This place covers:
Any game using playing cards as the primary device with which the game is played.
Attention is drawn to the following places, which may be of interest for search:
Video games, i.e. games using an electronically generated display having two or more dimensions | |
Coin-freed apparatus for games, e.g. gaming systems with provide a financial reward | |
Coin-freed apparatus for card games, e.g. video poker | |
Educational card games |
This place covers:
Playing cards used with card games; special shapes of playing cards used with card games or other games.
Attention is drawn to the following places, which may be of interest for search:
Overlapping transparent elements with an opaque part | |
Stamps; Stamping or numbering apparatus or devices | |
Printing, duplicating, marking or copying processes; Colour printing | |
Cards in general, e.g. trading cards, business cards, postcards or greeting cards |
This place covers:
- Card games combined with other games;
- Cards played in a game which is not a card game as such, i.e. in a game involving other primary playing supports than sole cards.
This place covers:
Card games appurtenances and accessories for card games.
This place does not cover:
Apparatus for indicating the dealer in card games |
Attention is drawn to the following places, which may be of interest for search:
Registering, indicating or recording the time of events or elapsed time in connection with sports or games |
This place covers:
- Board games, i.e. any game in which counters or "playing pieces" are placed, removed, or moved on a generally premarked surface or "game board" according to a set of rules. Examples of board games: game of goose, chess or Scrabble®.
- Raffle games, i.e. any game in which people obtain tickets, each ticket having the chance of winning a prize, e.g. lottery games. Examples of raffle games: lottery, lotto or bingo.
In a board game classified in A63F 3/00, the playing piece or counter is moved according to a set of rules (e.g. according to the face value of a dice), usually directly by the player touching or handling the playing piece with the relevance put on the strategy, whereas in a game classified in A63F 7/00, the "moving playing body" is moving by itself, or moved by action of a physical force, e.g. gravity or projecting device, with the relevance put on the movement itself. Generally, when playing pieces are rolling on a board, the right group is A63F 7/00.
Attention is drawn to the following places, which may be of interest for search:
Roulette games | |
Racing games, traffic games or obstacle games characterised by figures moved by action of the players | |
Video games, i.e. games using an electronically generated display having two or more dimensions | |
Coin-freed apparatus for games, toys, sports or amusements |
Generally, multiple classification is necessary: according to the type of game and according to the relevant technical characteristics. For example, a backgammon game with illumination is classified in both A63F 3/00151 and A63F 2003/00646.
For trivia board games (aspects of a question-and-answer game), add the Indexing Code A63F 9/18.
The board games are classified under A63F 3/00-A63F 3/04. The raffle games are classified under A63F 3/06-A63F 3/08.
The type of board game is classified under A63F 3/00003, or in A63F 3/02 (chess-like board games) or A63F 3/04 (educational board games).
The mechanical characteristics of the game board of any game type are classified under A63F 3/00173. The playing pieces of any game type are classified under A63F 3/00697. The electrical features of any game type are classified under A63F 3/00643.
The magnetic game boards of any type are classified in A63F 3/00694.
The accessories for game boards are classified under A63F 3/00895.
In patent documents, the following words/expressions are often used as synonyms:
- "board game", "parlor game" (EN)," Brettspiel", "Gesellschaftsspiel" (DE) and " jeu de société", "jeu de plateau" (FR)
Attention is drawn to the following places, which may be of interest for search:
Using coins or paper money as play elements |
This place covers:
Casino or betting board games and board games involving betting.
This place does not cover:
Lottery games, raffle games | |
Roulette games | |
Computarized casino or wagering games and systems |
This place covers:
Tables for casino games.
This place does not cover:
Chip identification on gaming table | |
Gaming table as piece of furniture | |
Gaming table having an inductive interface | |
Table game control system | |
Gambling table monitoring system | |
Bet tracking system for gaming tables |
Attention is drawn to the following places, which may be of interest for search:
Box or container for board games |
This place covers:
Games for several participants, with game pieces and a throw able unit with plane faces carrying different symbols (dice), comprises a hollow component with a through hole and several blind holes.
E.g. Game comprising a rectangular or cylindrical wooden box with a lid having five holes and one through hole.
Popular in Germany, therefore principally from German patents.
Attention is drawn to the following places, which may be of interest for search:
Details of game boards, e.g. rotatable, slidable or replaceable parts, modular game boards or vertical game boards designed as a book | |
Accessories for board games convertible into a suitcase |
Attention is drawn to the following places, which may be of interest for search:
Display boards with provisions for storing and transporting an interrupted jig-saw puzzle game |
Attention is drawn to the following places, which may be of interest for search:
Game boards shaped as an endless belt | |
Game boards with flexible rims |
Possibly add Indexing Code A63F 2250/18 (Use of resilient or deformable elements) or A63F 2250/183 (Foam).
In patent documents, the following words/expressions are often used as synonyms:
- " turntable", "lazy Susan" (EN),"Drehteller", "Drehplatte" (DE) and "plateau tournant" (FR)
Attention is drawn to the following places, which may be of interest for search:
Systems for braking, arresting, halting or stopping for roulette games |
This place covers:
For example the game "connect four".
In patent documents, the following words/expressions are often used as synonyms:
- " connect four", "connect 4" (EN),"vier gewinnt", "4 gewinnt" (DE) and " puissance 4" (FR)
Attention is drawn to the following places, which may be of interest for search:
Boards having particular shapes, e.g. hexagonal, triangular, circular or irregular | |
Box or container for board games with means for limiting the size of the playing field |
This place covers:
Electric features of any board game.
This place does not cover:
Electric word or number board games | |
Electric lottery games and tickets | |
Electric raffle games | |
Computer chess |
Attention is drawn to the following places, which may be of interest for search:
Games using electronic circuits not otherwise provided for |
Electric or electronic details not to be found under A63F 3/00643 can be classified under the Indexing Codes A63F 9/24. For example, aspects of radiofrequency identification (RFID) in board games are given the Indexing Code A63F 2009/2489.
This place covers:
For example: inductive coils in the board, magnets in the playing pieces inducing signals in the coils.
In patent documents, the following words/expressions are often used as synonyms:
- " inductance coil", "inductor coil", "coil", "solenoid", "inductor" (EN), "Spule", "Induktor" (D) and "bobine d'induction" (FR)
In this place, the following terms or expressions are used with the meaning indicated:
Hall effect | Non-uniformity of the electric conduction in a conductor caused by magnetisation normal to the current density vector. The latter, instead of being parallel to the electric field, forms an angle with it |
In patent documents, the following words/expressions are often used as synonyms:
- " Hall effect (EN)", "Halleffekt", "Hall-Effekt", "Hallscher Effekt", "Hal'scher Effekt (D " and "effet Hall (FR "
In this place, the following terms or expressions are used with the meaning indicated:
Reed relay | type of relay that uses an electromagnet to control one or more reed switches |
Reed switch | electrical switch operated by an applied magnetic field. It consists of a pair of contacts on ferrous metal reeds in a hermetically sealed glass envelope. The contacts may be normally open, closing when a magnetic field is present, or normally closed and opening when a magnetic field is applied. The switch may be actuated by a coil, making a reed relay - or by bringing a magnet near to the switch. Once the magnet is pulled away from the switch, the reed switch will go back to its original position. |
In patent documents, the following words/expressions are often used as synonyms:
- "reed relay" (EN),"Reedkontakt", "Herkonkontakt", "Zungenrelais" (D) and "relai mouillé à anche", "relai à lame(s) vibrante(s)" (FR)
This place covers:
Board games having magnetic components.
Attention is drawn to the following places, which may be of interest for search:
Other games using magnetically moved or magnetically held pieces |
The board games having magnetic characteristics are not necessary all classified in A63F 3/00694. Only when the magnetic aspect is essential are these classifications given.
The magnetic aspects of board games are detailed in the following Indexing Codes, depending more precisely on the parts (parts of the board , supporting structure, playing pieces, accessories) between which a magnetic force is involved:
- A63F 2003/00391 magnetic connection between modules constituting the game board;
- A63F 2003/00927 magnetic instrument for handling a play piece (e.g. a wand for moving on or taking out a playing piece from the playing surface);
- A63F 2003/0093 magnetic instrument for handling a play piece, acting through a cover;
- A63F 2003/00545 magnetic connection between game board and supporting structure;
- A63F 2003/0063 magnetic connection between game board and playing pieces;
- A63F 2003/00738 magnetic connection amongst playing pieces (e.g. magnetically stackable playing pieces)
- A63F 2003/00662 and under for magnetic field sensors (with sub codes for "using inductance", "using hall effect" and "reed relay").
- possibly (but more rarely) Indexing Code A63F 3/00694 when the magnetic aspect is not essential and does not concern any connection where another code is already existing.
the " shogun"-type board games*, where the playing pieces comprise a changeable display by means of a (rotatable) magnet, are classified in the following group and Indexing Code in combination: A63F 2003/00826 and A63F 3/00694.
(*The "shogun" game comprises particular playing pieces which could change the value marked thereon depending on the field where they were landing on. The mechanism was a rotating magnet in the playing piece and hidden magnets in the board. Examples: DE2718756, EP1813323, US3406974, DE202006017774U).
This place covers:
Playing pieces for board games.
This place does not cover:
Casino chips |
Attention is drawn to the following places, which may be of interest for search:
Tiles for tessellation games, e.g. mosaic games, possibly using a particular shape of tile |
Attention is drawn to the following places, which may be of interest for search:
Play elements marked with value or score |
This place covers:
Any accessory used in combination with a board game.
This place does not cover:
Cards | |
Playing pieces for board games | |
Dice | |
Marker or means for drawing, e.g. pen, pencil, chalk | |
Dispensing or collecting devices for token or chips | |
Chance selectors, e.g. spinners | |
Tools, e.g. hammers | |
Indicators of values, e.g. score counters |
Attention is drawn to the following places, which may be of interest for search:
Game accessories of general use |
Accessories specially adapted for board games for which a group exists in another place of the scheme (e.g. spinners, cf. limiting references) are given both the group A63F 3/00895 and the group of this other place.
Attention is drawn to the following places, which may be of interest for search:
Rim or side edge with storing space for objects, e.g. unused playing pieces |
In patent documents, the following words/expressions are often used as synonyms:
- "table-flap" (EN), "Klappdeckel" (D) and "abattant" (FR)
This place covers:
Any number board game comprising a grid of numbers, e.g. for playing 'Sudoku'-type games. Also: any logical board game equivalent to Sudoku, in which the numbers are replaced with other symbols, e.g. different colors.
For example DE202006012844U.

In this place, the following terms or expressions are used with the meaning indicated:
Grid | a figure composed of uniformly spaced horizontal and perpendicular lines. |
Sudoku | a puzzle in which several numbers are to be filled into a 9x9 grid of squares so that every row, every column, and every 3x3 box contains the numbers 1 through 9. |
In patent documents, the following words/expressions are often used as synonyms:
- "grid" (EN),"Kästchen" (D), "grille" (FR), "quadrillage" (FR) and "cases" (FR)
This place does not cover:
Electric word games |
Attention is drawn to the following places, which may be of interest for search:
Word or number games | |
Two-dimensional puzzles with rotating rings or discs |
In patent documents, the following words/expressions are often used as synonyms:
- "crosswords", "word-search puzzles", "hidden words" (EN),"Kreuzworträtsel" (D), "mots croisés" (FR) and "mots cachés" (FR)
Attention is drawn to the following places, which may be of interest for search:
Number games |
This place covers:
Lottery games, bingo games, football pools and the like.
Associated devices and accessories for playing or checking such games.
Further details of subgroups
A63F 3/0605 - A63F 3/062 cover the type of game: Lottery games A63F 3/0605, lottos A63F 3/061, football pools A63F 3/0615 or bingo games A63F 3/062. A63F 3/0625 and A63F 3/065 cover more precisely the devices for filling-in or checking the tickets and accessories therefor.
Attention is drawn to the following places, which may be of interest for search:
Small boxes with balls used for generating random numbers | |
Layered products | |
Printing of lottery tickets | |
Lottery apparatus | |
Lottery apparatus with balls or the like | |
Coin-freed apparatus for regular or instant lottery that provide a financial reward, e.g. electronic scratch cards |
Balls for lottery apparatus: classified in A63F 9/0415 and indexing codes A63F 2009/0466 and A63F 3/061.
"Instant" lottery games, in which the ticket has a message becoming legible after an action of the player (e.g. scratch-off lottery games), are usually classified only in A63F 3/0665 - A63F 3/069 (with the ticket).
In this place, the following terms or expressions are used with the meaning indicated:
lottery apparatus | apparatus for drawing the balls in a lottery game |
In patent documents, the following words/expressions are often used as synonyms:
- " Lottery apparatus " (EN),"Lotto-Toto-Glückmaschine" (G07C 15/001) (D)" and "machine de tirage des boules du loto" (FR)
This place covers:
A form of gambling games in which many people purchase chances, called lottery tickets. Generally the winning tickets are drawn from a pool composed of all tickets sold (sweepstakes) or offered for sale, or consisting of all of or most of the possible permutations of the numbers or symbols used on the tickets.
The classic lotteries are with pre-printed numbers or symbols on the tickets.
This place does not cover:
Devices for generating the winning numbers of a lottery game |
In patent documents, the following words/expressions are often used as synonyms:
- " playslip", "grid" (EN) and " grille de loto" (FR) "
This place covers:
Lottery games in which the bettors can choose their own numbers (from an acceptable pool).
In most lottos, the player fills out a playslip with his/her selected numbers. The playslip is then read on a terminal which records the selected numbers and generates a ticket.
This place covers:
Lottery games based on outcome of a sporting event.
This place does not cover:
Methods and systems for presenting pari-mutuel (PMU) betting options and construction wagers |
Add Indexing Code A63F 2011/0097 if watching television is part of the game.
In patent documents, the following abbreviations are often used:
PMU | pari mutuel urbain |
In patent documents, the following words/expressions are often used as synonyms:
- " football pool", "Pools", "forecasting/guessing results in competitions/sporting events/matches" (EN),"Toto, Sport Toto (D)" and "loto sportif, jeu de pronostics sportifs (FR)"
This place covers:
Games of chance in which each player has one or more cards (bingo cards or bingo game boards) printed with differently numbered squares on which to place markers when the respective numbers are drawn and announced by a caller. The first player to mark a complete row of numbers (or other winning pattern) is the winner. Examples of design of a bingo card:


Bingo cards optionally include a free indicia that is considered a match in any pattern including said free indicia.
This place does not cover:
Online bingo games | |
Bingo-like slot machines |
In patent documents, the following words/expressions are often used as synonyms:
- " bingo card game, Bingo, also sometimes called lotto (EN)" and " jeu de loto [le classique "loto des pompiers" avec quines et cartons pleins (FR) "
This place does not cover:
Devices for filling-in or checking | |
Printing of lottery tickets |
Attention is drawn to the following places, which may be of interest for search:
Marking means, e.g. pencils | |
Postcards, freeting. menu. business or like cards; letter cards or letter-sheets with peel-away layer hiding information |
Tickets for lotto or bingo games referring to security aspects are allocated also the Indexing Code A63F 2250/58 "antifraud or preventing misuse".
Holograms in lottery tickets: add Indexing Code A63F 2250/302.
Attention is drawn to the following places, which may be of interest for search:
Educational games having a message becoming legible after rubbing-off a coating or removing an adhesive layer, for educational purposes |
In patent documents, the following words/expressions are often used as synonyms:
- "lottery scratch tickets", "scratch-off tickets/layers ","removable layer" and "instance lottery games"
Attention is drawn to the following places, which may be of interest for search:
Use of microcapsules for duplicating paper |
Fluorescence signature in lottery ticket: group A63F 3/0685 and Indexing Code A63F 2250/423.
This place covers:
A form of gambling competition playable simultaneously by a large number of people, e.g. remotely playable via radio or Internet, in which people obtain numbered tickets, each ticket having the chance of winning a prize.
Attention is drawn to the following places, which may be of interest for search:
Devices for filling-in or checking lotto or bingo games | |
Tickets or accessories for use with lotto or bingo games | |
Lottery apparatus | |
Coin-freed apparatus for regular or instant lottery that provide a financial reward, e.g. electronic scratch cards |
This place covers:
- Roulette games, that is any game of chance in which a rotating wheel or disc, the roulette wheel, determines the criteria for winning the game.
- Classical roulette games, that is games of chance where the landing position of a ball in pockets distributed around a rotating wheel determines the criteria for winning the game.
- Other roulette-like ball games, e.g. with holes distributed over the entire surface of the roulette wheel.
- Roulette games without balls.
Attention is drawn to the following places, which may be of interest for search:
Video games, i.e. games using an electronically generated display having two or more dimensions | |
Coin-freed apparatus for games, toys, sports or amusements | |
Details of moving display elements, e.g. spinning reels or tumbling members, of coin-freed apparatus for a gaming system | |
Coin-operated roulette games |
Relevant details about the playing surface, the ball launcher or the ball itself not present in A63F 5/00 have to be classified in A63F 7/00.
Relevant details about sensors, electronic displays or other electronic features have to be classified under group A63F 9/24.
The groups A63F 5/0011 - A63F 5/0094 can be used in combination with any type of roulette games, that is also in combination with A63F 5/02 and A63F 5/04.
The devices for launching the ball of a roulette game are classified both under A63F 7/24 and in A63F 5/00.
The ball return mechanisms for roulette game are classified both in group A63F 5/00 and indexing code A63F 2007/345.
The devices using air jets for propelling the ball are classified both in A63F 2009/0087 and A63F 5/00.
This place covers:
Roulette wheels in which the ball is automatically put in play.
Example of automatic roulette wheel:
An automatic roulette wheel in which at the end of a turn the wheel is accelerated and the ball is ejected from the pocket under centrifugal force and moves to the top of the ball track.
In patent documents, the following words/expressions are often used as synonyms:
- "Compartment", "(landing) sector", "pocket "and "canoe"
This place does not cover:
Lottery apparatus with balls |
This place covers:
Roulette games without ball.
Attention is drawn to the following places, which may be of interest for search:
Dices | |
Spinning top games used as random generator | |
Tops |
In patent documents, the following words/expressions are often used as synonyms:
- "carousel wheel", "spinning wheel", "dial (EN)" and "Wählscheibe (D)"
This place covers:
- Any spinning top used as a die.
- A dice-top or teetotum has generally a polygonal body marked with letters or numbers, which indicate the result of each spin.

Attention is drawn to the following places, which may be of interest for search:
The number of faces of the dice-top, when relevant, should be classified under Indexing Codes A63F 9/0415.
This place covers:
Fortune wheel, to be understood as using a rotating wheel with a fixed indicator (with optionally a friction stop).

In a spinner (A63F 11/0011, Indexing Code A63F 2011/0016) a pointer rotates, possibly relatively to a fixed disc, whereas in a fortune wheel (A63F 5/045) a disc rotates relatively to a fixed pointer.
In patent documents, the following words/expressions are often used as synonyms:
- " Fortune wheel", "wheel of chance", "wheel of Fortune (EN)"," roue de la fortune(FR)" and " Glücksrad (DE)"
This place covers:
Any game in which the main purpose is to roll or move small playing bodies, e.g. balls, marbles, discs or blocks, with some skill on a playing surface or rolling board.
Examples: Pinball games, marble games, tabletop football or rolling board games.
In some cases the borderline between these games (A63F 7/00) and some sport games (A63B) with balls is blurred. The games of this group do not aim, contrary to the sport games, to do physical activity.
Ball games in which players use a racket or wherein the ball bounces (like in table tennis games) are usually classified with the sport games (A63B).
This place does not cover:
Board games or raffle games | |
Roulette games | |
Miniature bowling games | |
Bagatelle or similar games | |
Billiards or pocket billiards |
Attention is drawn to the following places, which may be of interest for search:
Dice games | |
Video games, i.e. games using an electronically generated display having two or more dimensions | |
Sport games, e.g. table tennis |
In this place, the following terms or expressions are used with the meaning indicated:
bagatelle | a modification of billiards played from one side in which the players' object is to strike the balls so that they, and perhaps other balls, shall fall into numbered holes or pockets that determine the score. Usually, the bagatelle table has a rounded far end and a channel (essential) on the right-hand side along which the balls are propelled and directed toward the pockets. Bagatelle requires the players standing at the square end of the table to hit the balls with a cue towards the holes at the other end. |
children's bagatelle | consists of marbles or balls that are shot onto a board which features areas fenced in by nails hammered into its surface. Each container scores different points depending upon the likelihood of a ball finishing in it (it is normally smaller than a bagatelle table size). |
This place does not cover:
Miniature bowling-alleys |
Attention is drawn to the following places, which may be of interest for search:
Goalposts per se |
This place covers:
Illustrative example of subject matter classified in this group:

In patent documents, the following words/expressions are often used as synonyms:
- " ramp" (EN),"tremplin" (FR) and "Schanze" (DE)
Distinguish between:
- pinball games (A63F 7/025), where a ball usually propelled by flippers, travels on an inclined board;
- pachinko games (A63F 7/022), with a vertical board; and
- bagatelle (A63D 13/00), which is a modification of billiards played from one side in which the players' object is to strike the balls so that they, and perhaps other balls, shall fall into numbered holes or pockets that determine the score. Usually, the bagatelle table has a rounded far end and a channel (essential) on the right-hand side along which the balls are propelled and directed toward the pockets. Bagatelle requires the players standing at the square end of the table to hit the balls with a cue towards the holes at the other end.
Children's bagatelle (also included in A63D 13/00) consists of marbles or balls that are shot onto a board which features areas fenced in by nails hammered into its surface. Each container scores different points depending upon the likelihood of a ball finishing in it (it is normally smaller than a bagatelle, table size).
This place does not cover:
Bagatelle or similar games |
This place covers:
Pachinko or vertical pinball games.
Attention is drawn to the following places, which may be of interest for search:
Standard pachinko games (i.e. vertical pinball machines) (FTerm) | 2C088/AA01 |
This place covers:
Devices for rolling off balls or similar playing bodies using gravity, e.g. by means of slopes, ramps or slants.
This place covers:
Games played on a non-stationary surface, e.g. the ball intended to be in permanent motion, playing surfaces held by the user or mechanisms for rocking rolling boards during play.
Attention is drawn to the following places, which may be of interest for search:
Balls to be shaken or rolled in small boxes | |
Hand-held boxes with balls rolled, e.g. towards holes, by tilting the box | |
Eccentric weights put into orbital motion by nutating movement of the user |
This place covers:
Balls or other moving playing bodies, e.g. pinballs, sliding discs, for use therefor.
Attention is drawn to the following places, which may be of interest for search:
Balls for lottery apparatus | |
Spherical dices | |
Balls for sport games |
This place covers:
- Miscellaneous games not otherwise provided for;
- Accessories of general use for games covered in this subclass.
Examples of places in relation to which this place is residual:
Card games | |
Board games or raffle games | |
Roulette games | |
Indoor games using small moving playing bodies, e.g. balls, discs or blocks | |
Video games, i.e. games using an electronically generated display having two or more dimensions | |
Coin-freed apparatus for games, toys, sports or amusements |
Attention is drawn to the following places, which may be of interest for search:
Miscellaneous sporting games |
Attention is drawn to the following places, which may be of interest for search:
Games relative to the sense of touch |
This place covers:
Any game when the inventive idea consists in the combination or use of games or toys with another object which is usually not a game or a toy.
The game or toy involved should be also classified in the corresponding group if available.
Examples: a beverage container system for playing a card game (US2003116914) is classified in A63F 9/001, Indexing Code A63F 2009/0012 , A63F 1/02.
Attention is drawn to the following places, which may be of interest for search:
Objects with a second use as toy or game, e.g. cups |
Attention is drawn to the following places, which may be of interest for search:
With provisions for connecting to a part of the body |
Attention is drawn to the following places, which may be of interest for search:
Beer mats as such |
This place does not cover:
Board games with labyrinth(s) | |
Indoor games using balls to be shaken or rolled in small boxes, e.g. comprising labyrinths | |
Indoor games using balls to be shaken or rolled in small boxes, comprising 2D-labyrinths | |
Indoor games using balls to be shaken or rolled in small boxes, comprising 3D-labyrinths |
This place does not cover:
Blowguns |
This place covers:
Boards or cards with holes containing concealed slips, disks or the like, to be punched out, used in various games: the slips or disks can bear numbers, names, prize designations, or the like.
This place does not cover:
Devices for checking lottery games with checking-cards with rupturable portions |
Attention is drawn to the following places, which may be of interest for search:
Pin and socket connection between game board and playing piece | |
Hammers | |
Score counters using pegs insertable into sockets |
In patent documents, the following words/expressions are often used as synonyms:
- "cribbage board (EN)" and "planche de cribbage (FR)"
Attention is drawn to the following places, which may be of interest for search:
Testing reaction time | |
Apparatus generating random stimulus signals for reaction-time training involving a substantial physical effort | |
Time registering, indicating or recording in connection with sports or games |
This place does not cover:
Number games as board games | |
Electric word or number games as board games | |
Word games as board games, e.g. scrabble(R) |
This place covers:
Any skill game involving propelling or causing to fall a projectile through the air at a target.
The games of this subgroup focus on recreational throwing or catching without the primary goal of physical exercise or weapons training.
In general:
Attention is drawn to the following places, which may be of interest for search:
Games with water being squirted | |
Throwing-implements for sports or recreational use | |
Ring or tossing games, e.g. hoop toss games, aunt sally | |
Amusement arrangements, e.g. shooting stands | |
Devices allowing competition between several persons, not otherwise provided for | |
Throwing or projecting toys per se | |
Gun simulators | |
Light- or radiation-emitting guns | |
Blowguns | |
Water pistols | |
Practice apparatus for gun-aiming | |
Practice apparatus for gun-aiming using a light-emitting device | |
Targets, target ranges or bullet catchers | |
Photo-electric hit-detector systems | |
Darts as munitions |
This place does not cover:
Target for ball games, e.g. pétanque | |
Targets, target ranges, bullet catchers |
This place covers:
- Dice (singular: dice or die), i.e. any small throwable object with multiple resting positions, used for generating random numbers or symbols;
- Dice games, i.e. games that use or incorporate a die as their sole or central component, usually as a random device; and
- Accessories for use therewith, e.g. dice-boxes; mechanical dice-throwing devices, rolling boards for dice.
- Dice as such (the object itself) are found in A63F 9/0415 ("Details of dice").
Examples of places in relation to which this place is residual:
Casino or betting games played on boards | |
Dice-tops | |
Games using balls to be shaken or rolled in small boxes, used for generating random numbers | |
Lottery apparatus | |
Electronically generating random numbers |
Craps games, i.e. dice games involving betting, are placed in group A63F 3/00157 and group A63F 9/04.
This place covers:
Rolling boards for rolling dice thereon.
Attention is drawn to the following places, which may be of interest for search:
Rolling boards for movable playing bodies, e.g. balls |
Details of rolling boards for dice can be classified under Indexing Codes A63F 7/36-A63F 2007/3666.
This place covers:
Physical dice in which the random numbers are electronically generated.
This place does not cover:
Electronic dies |
Usefull electronic details, e.g. emitters, sensors, classified under the Indexing Codes A63F 9/24.
This place covers:
Dice games provided with instructions for playing the dice games, i.e. explaining how to proceed depending on the result of throwing the dice. Can take the shape of a instruction book, instruction card, table, etc.
In patent documents, the following words/expressions are often used as synonyms:
- "customizable dice" (EN) and "dé personnalisable" (FR)
In patent documents, the following words/expressions are often used as synonyms:
- "Zieleinrichtung", "Zielgeraet", "Visiereinrichtung" (DE) and "dispositif de visée", "viseur" (FR)
This place covers:
Any game using polaroid filters or polarised light.
In patent documents, the following words/expressions are often used as synonyms:
- "polarised light", "polarized light" (EN), "polarisiertes Licht" (DE) and "lumière polarisée" (FR)
This place does not cover:
Markers for filling-in lottery tickets |
This place covers:
Puzzles provided with elements movable in relation, i.e. movably connected, to each other.
Examples: sliding puzzles, Rubik's cubes.
When the possible movement of the elements movable in relation occurs on a two-dimensional surface only, then classify in A63F 9/0803.
When the movement occurs three-dimensionally, then classify A63F 9/0826.
Attention is drawn to the following places, which may be of interest for search:
Crossword puzzles | |
2D-jigsaw puzzles | |
3D-jigsaw puzzles |
In patent documents, the following words/expressions are often used as synonyms:
- " Brain twister", "brain-teaser", "logical puzzle (EN)", "Geduldspiel", "Denkspiel (DE)" and "casse-tête (FR)"
The 2D sliding puzzles or "slide puzzles" (with sliding elements on a plan, requiring vacant position or gap migration) are in A63F 9/0807.
This place covers:
Typically, a series of generally rectangular tiles confined closely packed, side by side in coplanar relation as a generally two dimensional or planar array by a housing frame which also provides a vacant tile admitting or parking space so as to permit sequential lateral coplanar movement of selected individual tiles within the frame in and out of the parking space to change the array, typically to reorder indicia forming a sequence of numbers or letters marked on the exposed surface of the tiles or to change a pattern or picture depicted by the tiles.
Example: 2D-sliding (tile) puzzles/shift(able) block puzzles: GB435660:

In patent documents, the following words/expressions are often used as synonyms:
- " Sliding tile puzzle", "slide puzzle", "sliding puzzle", "sliding block puzzle", "shifting block puzzle (EN)", " Schiebespiel (DE)"and" taquin (FR)"
This place covers:
Illustrative example of subject matter classified in this group (FR2533450):

In patent documents, the following words/expressions are often used as synonyms:
- "spin puzzle", "spinnable puzzle", "wheel puzzle" (EN) and "puzzle cylindrique" (FR)
This place covers:
Illustrative example of subject matter classified in this group (FR2566281):

In patent documents, the following words/expressions are often used as synonyms:
- " gear game", "game with gears (EN)", and "jeu à engrenages (FR)"
This place covers:
Puzzles in which one or more of the elements are movable along plural intersecting circular paths.
Illustrative examples of subject matter classified in this group (DE9000743U):

GB2229642:

In patent documents, the following words/expressions are often used as synonyms:
- "mosaic puzzle" and "shunting puzzle"
This place covers:
A series of movable elements confined closely packed in a generally three dimensional array by a housing frame which also provides a vacant element admitting or parking space so as to permit sequential movement of selected individual elements within the frame in and out of the parking space to change the array
Illustrative example of subject matter classified in this group, (3D-sliding puzzles WO9604971):

This place covers:
Illustrative example of subject matter classified in this group (FR2593075):

This place covers:
Illustrative example of subject matter classified in this group (GB2087245):

This place covers:
Illustrative example of subject matter classified in this group (Rubik's cube BE887875):

This place covers:
Illustrative example of subject matter classified in this group (DE29811543U):

This place covers:
Illustrative example of subject matter classified in this group (EP1584357A1):

This place covers:
Illustrative example of subject matter classified in this group (CA2174178):

This place covers:
Illustrative example of subject matter classified in this group (WO9515799):

This place covers:
Three-dimensional puzzles comprising a sphere inside another sphere, the spheres being rotatable with respect to each other. The spheres can be incomplete, e.g. with holes.
For example US2002105139

This place covers:
Puzzles with bent wire or cord as primary element.
Example of bent wire puzzle:

Example of cord puzzle: GB232557

In patent documents, the following words/expressions are often used as synonyms:
- "puzzle ring" and "wire puzzle"
This place covers:
Illustrative example of subject matter classified in this group (EP2138209):

This place covers:
Puzzles consisting of pieces that are to be fitted together to form a two-dimensional object, e.g. a picture.
Attention is drawn to the following places, which may be of interest for search:
Foldable 2D-pieces for jigsaw puzzles |
If the pieces are movably connected to each other, the main configuration remaining unchanged, e.g. sliding puzzles, then: A63F 9/08.
The pieces of puzzles classified under A63F 9/08 are generally permanently connected to each other while playing, whereas the pieces of jigsaw puzzles are generally detached for one another when starting the game.
3D-puzzles, e.g. spherical puzzles, made from non-planar 2D-puzzle elements are classified in A63F 9/12 and A63F 2009/124 when the final configuration is a sphere).
Shapes of jigsaw playing pieces can be classified under the Indexing Codes A63F 9/0669.
This place covers:
Display boards as underlying support for putting the jigsaw puzzle playing pieces thereon or therein, while playing the jigsaw puzzle game, and/or for displaying the solution.
Also therein: box for 2D jigsaw puzzles.
Display on a pedestal or stand: add Indexing Code A63F 2009/0035.
With provisions for hanging on a wall: add Indexing Code A63F 2009/0032.
When rolling for storing, add also Indexing Code A63F 2003/00258 "rollable, flexible or deformable collapsible playboards for board games" (ex.: WO2008040824).
3D-puzzles, e.g. spherical puzzles, made from non-planar 2D-puzzle elements are classified under A63F 9/12 only, e.g. in A63F 9/12 and A63F 2009/124 when the final configuration is a sphere.
This place does not cover:
Foldable pieces for 2D- or 3D-jigsaw puzzles |
This place covers:
Puzzles consisting of pieces that are to be fitted together to form a three-dimensional object.
Attention is drawn to the following places, which may be of interest for search:
Puzzles with parts generally permanently connected to be moveable in relation to each other while playing | |
Puzzles with elements that are connected by straps, strings or hinges, e.g. Rubik's Magic |
This place covers:
Jigsaw puzzles with foldable, bendable or hinged pieces.
This place does not cover:
Hinged logical puzzles (e.g. chain of elements connected by hinges, puzzles in which each element is articulated to a neighboring element) |
Attention is drawn to the following places, which may be of interest for search:
Building blocks with additional hinge-joints |
3D as well as 2D foldable jigsaw puzzles are given this class.
Add Indexing Code A63F 2003/00233 "collapsible playboard with one fold or hinge" or A63F 2003/00239 "with two hinges or folds" or A63F 2003/00246 "with three or more hinges or folds" when the resulting fold or hinge makes the whole puzzle foldable.
When relevant add Indexing Code A63F 2250/18 "use of resilient or deformable elements" or A63F 2250/183 "foam".
Living hinge | thin flexible hinge (flexure bearing) made from plastic (rather than cloth, leather or some other substance) that joins two rigid plastic parts together, allowing them to bend along the line of the hinge |
This place covers:
3D-jigsaw puzzles using a plurality of pegs, pins or rods as puzzle elements (and not as e.g. connectors or binding means between puzzle elements). The pegs can be of same or different types.
This place covers:
Illustrative example of subject matter classified in this group (US2009079131A1):

This place covers:
Illustrative examples of subject matter classified in this place:
1. Racing game

2. Obstacle game

Examples of places in relation to which this place is residual:
Board games simulating racing games, traffic games or obstacle games, usually using dice | |
Games or indoor games with balls to be shaken in small boxes |
Attention is drawn to the following places, which may be of interest for search:
Figure toys with single- or multiple-axle undercarriages, by which the figures perform a realistic running motion when the toy is moving over the floor | |
Toy vehicles | |
Track ways for toys | |
Simulators for teaching control of land vehicles, a model being viewed and manoeuvred from a remote point |
This place covers:
Racing games, traffic games, and obstacle games characterised by figures moved by action of the player and comprising electric features, e.g. with electromotors for moving the figures.
For example, electric racing game machine WO2008120723:

This place does not cover:
Racing games simulated on a video display | |
Computerized racing game machines |
Attention is drawn to the following places, which may be of interest for search:
Remote-control arrangements for toy vehicles |
This place covers:
Tops involved in a game, games with tops (usually combined with a rolling board or involving a plurality of tops).
Examples of places in relation to which this place is residual:
Dice-tops |
Attention is drawn to the following places, which may be of interest for search:
Tops per se |
Attention is drawn to the following places, which may be of interest for search:
Watching television being part of the game | |
Used for radio or TV, e.g. television shows, used in front of an audience | |
Voting apparatus | |
Electrically-operated teaching apparatus or devices working with questions and answers |
TV quizz shows: add Indexing Code A63F 2250/64.
Examples of places in relation to which this place is residual:
Card games adapted for being played on a screen | |
Electric board games | |
Roulette games | |
Electric indoor games using small moving playing bodies | |
Electric game simulating a sport game | |
Electronic dice simulator | |
Electric features for jigsaw puzzles | |
Electric question-and-answer games | |
Video games | |
Coin-freed apparatus for games, toys, sports or amusement |
Attention is drawn to the following places, which may be of interest for search:
Shadow shows |
In patent documents, the following words/expressions are often used as synonyms:
- "shadow show", "shadow play" (EN)
Examples of places in relation to which this place is residual:
Sporting games with thread-suspended or swingable-mounted bodies, for aiming at and hitting targets | |
Sporting games using a bat with a tethered ball having one or more spigots for catching bodies | |
Coin-freed crane game machines |
Crane game machines are classified in both A63F 9/30 and G07F 17/3297.
This place covers:
Game accessories of general use, e.g. bags for tokens, spinners, score counters or boxes.
Attention is drawn to the following places, which may be of interest for search:
Accessories for card games | |
Accessories for board games | |
Accessories for lottery tickets | |
Accessories for indoor games using small moving playing bodies | |
Dice | |
Markers or means for drawing e.g. pen, pencil, chalk | |
Accessories for video games, e.g. joysticks | |
Tokens |
Game accessories specially adapted for a particular type of game are classified in one of the groups A63F 1/00 - A63F 9/00 covering the particular game.
Game accessories for specific games, when notable as such: give classification group to the specific game and classification to the accessory.
Game accessories for specific games, when notable only in combination with the specific game: give classification to the specific game and to the accessory.
This place covers:
Chance selecting devices for games, e.g. spinners.
This place does not cover:
Dice-tops | |
Small boxes wherein balls are shaken or rolled for generating random numbers | |
Dice | |
Spinning-top games as random generators |
Attention is drawn to the following places, which may be of interest for search:
Random number generators |
This place covers:
In a spinner (A63F 11/0011 and subgroups, Indexing Code A63F 2011/0016) a pointer rotates (possibly relatively to a fixed disc) whereas in a fortune wheel (A63F 5/045) a disc rotates relative to a fixed pointer.
In patent documents, the following words/expressions are often used as synonyms:
- "spinner" and "pointer"
This place covers:
Intruments, devices or parts of playing devices for calculating or indicating values, e.g. scores or coefficients.
This place does not cover:
Score counters for card games |
Attention is drawn to the following places, which may be of interest for search:
Displays for showing the score of a ball game, indicating arrangements e.g. for sports |
This place covers:
Any abacus as score counters, as calculator or the like function.

For the slid bead frames were the game itself consists of sliding a bead over a wire, the key code is the Indexing Code: A63F 2007/4081 "ball with a hole sliding over a guide".
In this place, the following terms or expressions are used with the meaning indicated:
Abacus | is a particular bead frame with the aim of (score) count ing, calculating.Not to mix up with "abac": the abacs (french "abaques" or "abaques de calcul") are classified in Indexing Code A63F 2011/0067 "score or tally sheet". |
In patent documents, the following words/expressions are often used as synonyms:
- " abacus", "abacuses", "abaci" (EN), "boulier (abaque)" (FR) and "Abakus (DE)"
This place covers:
- Structural or hardware-related aspects of video games: accessories, optional for the execution of the game; constructional details of game devices; input devices specially adapted for playing video games; output devices specially adapted for playing video games.
- Details specific to network games: characteristics of the network topology when used in network games; details of servers specially adapted for providing network games.
- Software aspects of video games, played locally or in a network: the mapping of input signals into game commands; the animation of the virtual camera in a video game; indicators added to the game scene; time aspects of video games; simulation of game objects or characters; the generation or alteration of the game content; game management; the provision of additional services to game players.
The following diagram provides some guidance on the structure of the higher-level subgroups:

- This group covers systems using computer and telecommunication technologies, which have been specially adapted for providing video games, as seen above.
- The scope of this group differs from that of G07F 17/32 which covers games providing financial rewards, played by electronic means, e.g. online poker, waging or betting.
- The scope of this group also differs from that of main groups A63F 1/00 - A63F 11/00 which cover traditional games such as puzzles and card, board and dice games, and from that of A63F 9/24 which covers traditional games played by electronic means.
- The scope of this group differs from that of A63H, which covers toys.
- This group is in particular an application place for computer graphics. Animation and 3D graphics in general are covered by G06T 13/00 - G06T 19/00.
- This group is an application place, with respect to network games. Network services security are covered by H04L 63/00. Real-time data network services are covered by H04L 65/00. Data network services are covered by H04L 67/00.
Attention is drawn to the following places, which may be of interest for search:
Roulette games | |
Indoor games using falling playing bodies or playing bodies running on an inclined surface | |
Coin-freed apparatus for games, e.g. gaming systems which provide a financial reward |
In this place, the following terms or expressions are used with the meaning indicated:
arcade machine | coin-operated entertainment device placed in a public venue |
combo | a sequence of commands which has by design a greater effect when executed within a fixed time period than the mere succession of these commands |
fiducial (marker) | real object used in the field of view of an imaging system which appears in the image produced, for use as a point of reference or a measure; the object can exist naturally in the scene (features of a face) or be added for the purpose of tracking (light-emitting diode, retro-reflective patch) |
force feedback | outputting forces, vibrations, and/or motions to the player to provide haptic feedback |
game character | a game entity simulating a sentient being; the simulated being can be real, e.g. a person or an animal, or fictitious, e.g. a dragon or a speaking mirror |
game client | game device connected to a game server through a network |
game command | game-specific representation of the control signal, e.g. "pause" or "shoot" command |
game console | consumer electronics system specially adapted to execute video games, offering reduced functions with respect to generic personal computers; it differs from arcade machines, which are also specially adapted for video games, but for commercial purposes |
game content | data required for the execution of the game program, e.g. bitmap images, three-dimensional models; the content is usually created by the game makers before the game release, but can also be created afterwards by the player, e.g. using level editors |
game device | a data-processing apparatus enabling performing of the video game; the apparatus is connected to a display and input means, e.g. a controller or a mouse; it is either handheld or stationary; the device can be dedicated to the execution of game programs, e.g. a game console, an arcade game machine, a portable game machine, or a generic computer, e.g. a personal computer |
game mode | distinct method of operation within the game program, usually relating to distinct game mechanics or goals, e.g. single player mode, multiplayer mode, capture the flag mode |
game model | abstract description of the game's inner workings and the possible interactions with the player, conditioning her tactical possibilities. The game model includes game parameters, such as the score, and the procedures and constraints governing their evolution. The game specification usually includes a model of some physical systems, be they fictitious or real. However, this model is not part of the game model if its sole purpose is to provide a realistic simulation. |
game object | a game entity simulating a thing (excluding sentient beings); the simulated thing can be real, e.g. a tennis ball, or fictitious, e.g. a laser gun |
game parameter | a variable of the game model. Some variables of the game specification are not game parameters. For instance, the position of the virtual camera in a hand-to-hand fighting game is a game parameter if the position is chosen to be closer to the fighter with the lowest life meter. On the contrary, calculating a natural position of a fighter's elbow using the positions and orientations of his hands and shoulders, does not belong to the game model. |
game program | a computer readable program comprising instructions and data adapted to perform a video game when executed on a data-processing apparatus. To produce the video game program, the game designer communicates the game model in the game specifications to the developer team, who creates or adapts a game engine to implement the game model and optimise its implementation. |
game progress | any change in one of the game parameters (see game model) |
game scene | data describing the main virtual space used in the game's representation, e.g. describing a maze, a race circuit or the room where the player character is located, and its content. By extension, the image resulting from processing this data. The structure used for this data is usually a scene graph. |
game server | a data-processing apparatus or system connected to a network, not adapted for accepting directly player-generated signals, facilitating at least part of the execution of a video game (e.g. receiving inputs from the game clients, executing the game for the game clients and providing processed game information to the game clients for presentation to the player) |
player generated signal | an action made by the player to convey a decision, e.g. move circularly the arm, push a button with a finger |
virtual camera | virtual viewpoint in world space with position and view direction to render an image of the game |
directional pad | set of neighbouring switches mounted on a game controller, usually thumb-operated, for indicating one direction, e.g. four-way digital cross |
first person / third person mode | in first person mode the game is viewed from the point of view of the player character/object; in third person mode the game is viewed from above, below or aside of the player character/object |
game engine | core portion of the game program which masks the hardware platform and can be re-used when developing other game programs. The game engine components typically include a rendering engine, a physics engine, and frameworks for e.g. sound, scripting, animation, artificial intelligence, networking, streaming, memory management, threading, localisation support and scene graph management. |
game mechanics | the procedures and constraints expressed in the game model |
gamepad | handheld game controller, where the fingers (especially thumbs) are used to provide input; gamepads generally feature a set of action buttons handled with the right thumb and a direction controller handled with the left; the direction controller has traditionally been a four-way digital cross (see D-pad), but most modern controllers additionally (or as a substitute) feature an analog stick |
gameplay | the interaction process taking place between the player and the game |
joypad | a game controller or a directional pad |
nonlinear game | a game providing challenges that can be completed in a number of different sequences. |
physics engine | component of the game engine which provides an approximate simulation of physical systems in real-time |
pseudo-3D | simulation of a 3D environment using 2D techniques, such as the axonometric projection, parallax scrolling or skyboxing |
rendering engine | component of the game engine which generates an image from a scene model |
open world, sandbox | a game mode providing no explicit goal |
In patent documents, the following abbreviations are often used:
3D | Three-dimensional |
AI | Artificial intelligence |
AR | Augmented reality |
D-pad | Directional pad |
FOV | Field of view |
FPS | First person shooter (game) |
HUD | Head-up display |
LOD | Level of detail |
MMORPG | Massively multiplayer online role-playing game |
MOG | Multiplayer online game |
MUD | Multi-user dungeon |
PC/NPC | Player character/non-player character |
POV | Point of view |
PvP | Player versus player (mode) |
RPG | Role playing game |
RTS | Real time strategy (game) |
VR | Virtual reality |
This place covers:
Only input devices, which have been specially adapted for playing games.
Generic input devices such as a mouse which could also be used in a game are covered in the function place G06F 3/00.
Attention is drawn to the following places, which may be of interest for search:
input arrangements or combined input and output arrangements for interaction between user and computer | |
pointing devices displaced or positioned by the user |
This place covers:
The use of commonplace sensors for unforeseen purposes, e.g. a pedal controlling the stand up/crouch position of a player-character, and devices using unforeseen sensors, e.g. electronic noses.
The subgroups under this group cover the physical parameters to be sensed and the means of detection.
This place covers:
Input devices sensing acceleration, angular acceleration, velocity, angular velocity, position or orientation. A typical setup includes 3 mono-dimensional accelerometers, arranged perpendicularly, where the measured acceleration values are integrated to compute velocity and further, the device's position. The inertial sensor can be included in the game controller. The sensor can simply detect the motion in a given direction, without providing a measure of its intensity, e.g. to detect a push.
Attention is drawn to the following places, which may be of interest for search:
processing of the acceleration values to recognize a pattern, a gesture or a trajectory | |
acceleration sensors per se |
This place covers:
Wearable sensors which register a biosignal, such as electroencephalogram, or the motion of the player.
Communication between the input device and the game device is usually wireless, but can be wired.
Attention is drawn to the following places, which may be of interest for search:
hand-held video game devices |
This place covers:
Cameras and image sensors used in video games.
Photo-detecting means, e.g. photodiodes or infrared detectors, included in the game controller. To ease tracking, fiducials such as objects with specific colours, shapes or reflectivity can be used. The output information is typically two-dimensional. Alternatively, photodetecting means are included in the game controller and register the position of infrared light sources. Some imaging systems also provide depth information, using a range sensor, or using several cameras.
Illustrative example of subject matter classified in this place:

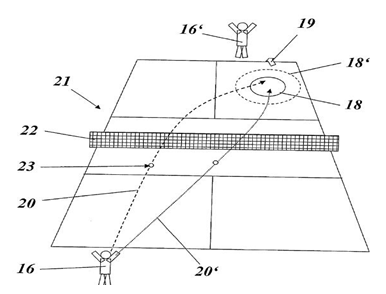
The Figure illustrates a camera (20) placed close to the main screen which registers the player's motions.
This place does not cover:
Input arrangements for video game devices characterised by their sensors, purposes or types, for aiming at specific areas on the display, e.g. light-guns |
Attention is drawn to the following places, which may be of interest for search:
Image processing to generate game commands | |
Automatically generating or modifying game content before or while executing the game program by importing photos, e.g. of the player |
This place covers:
Sensors for detecting a variation of a physical quantity measured at a location on a surface.
Devices using a plurality of discrete switches, e.g. dance mats.
Detecting the location of player's fingers by non-contact methods, e.g. reflected light.

Attention is drawn to the following places, which may be of interest for search:
game devices locating a contact using a camera | |
contact sensors | |
processing of position series to recognize a pattern or a trajectory |
This place covers:
Direct interactions with the game display. Typically, the screen and the sensor are provided in one form-factor. However, the display can be composed of a projector and a projecting surface, also used to detect contact.
Attention is drawn to the following places, which may be of interest for search:
input device providing a touch screen as a secondary display |
This place covers:
Sensors allowing the player to enter a voice command, to sing or to blow. Microphone arrays used for source localization are also classified here.
Attention is drawn to the following places, which may be of interest for search:
processing to convert the acoustic signal into game commands | |
beam-formers |
This place covers:
Use of geographical information obtained directly, e.g. by GPS, or indirectly, e.g. by triangulation of cellular telephone base stations.
Use of geographical information as a game input, or for a "treasure hunt", or as a game parameter, e.g. for matching the day/night cycle of the game to local time.
This place covers:
Use of photo-sensing cells to detect scanning lines on a monitor screen and using synchronization information to calculate the scan line position at the time of detection.
Use of photo-sensing cells to detect IR emitters placed nearby the display.
Attention is drawn to the following places, which may be of interest for search:
mapping of keys to a specific game's commands |
This place covers:
- Connectors specially adapted for video game input devices.
- Peripherals-to-port assignments.
- Methods to provide additional data on standard connection.
- Devices to allow more controllers than the number of ports on the game device.
- Arrangements to daisy-chain game controllers.
Attention is drawn to the following places, which may be of interest for search:
other constructional details or arrangements of video game devices | |
control or interface arrangements for pointing devices |
This place covers:
- Wireless controllers
- Specific interface protocols, aspects regarding battery management, use of RFID and other wireless transponders for game data input.
Attention is drawn to the following places, which may be of interest for search:
transmission through free space | |
small scale wireless networks; flat hierarchical wireless networks |
This place covers:
- Construction of input devices having several mechanical degrees of freedom, for example allowing rotation or twisting.
- Details of mechanical contact between elements of game controller, e.g. sliding or rotating contact.
Attention is drawn to the following places, which may be of interest for search:
apparatus modifying mechanically an input device |
This place covers:
Input devices mimicking real world objects, which are used in the game simulation such as steering wheels, pedals, throttles, guns, rifles, fishing rods, guitars, keyboards, drums.
Attention is drawn to the following places, which may be of interest for search:
accessories attached to an input device |
The type of game should be additionally classified under A63F 13/90.
This place covers:
Game controllers with a small-size display device, allowing to display additional views of the game or player-specific information.
Arcade game devices with additional display devices showing additional views, such as rear- or side-mirror view in a driving game or mounted outside a booth allowing spectators to watch the game. Multi-screen game systems
Attention is drawn to the following places, which may be of interest for search:
Controlling the output signals based on the game progress |
This place covers:
- Generating forces to give tactile feedback.
- Generating vibrations.
Attention is drawn to the following places, which may be of interest for search:
interconnection arrangements in generic data networks |
Attention is drawn to the following places, which may be of interest for search:
Network security protocols | |
Protocols for real-time services in data packet switching networks | |
Network protocols for data switching network services |
Attention is drawn to the following places, which may be of interest for search:
LAN in general |
This place covers:
Communication between handheld game devices and a home game devices.
Communication between portable game devices and arcade machines.
Typically, the game devices are designed by the same company, which simplifies the data exchange. However, this group also covers communications between game devices with different hardware characteristics executing different Operating Systems.

This place covers:
Arrangements for locally connecting game devices using an air interface.
Connections based on standardized protocols are used such as WiFi® or Bluetooth®.
Connections based on game device specific protocols using for example the Infrared interface of hand-held devices.

Attention is drawn to the following places, which may be of interest for search:
Transmission through free space | |
Small-scale wireless networks; Flat hierarchical wireless networks |
Attention is drawn to the following places, which may be of interest for search:
WAN in general |
Attention is drawn to the following places, which may be of interest for search:
wireless communication networks |
Attention is drawn to the following places, which may be of interest for search:
Protocols for real-time services in data packet switching networks | |
Network protocols for data switching network services |
Attention is drawn to the following places, which may be of interest for search:
interactive television |
Attention is drawn to the following places, which may be of interest for search:
peer-to-peer networking in general |
This place covers:
Arrangements of hierarchies of game servers and players.
In the exemplary drawing below, references 10, 12, 14, 20, 22, 24 show the different layers in the server hierarchy with increasing geographical coverage.

This place covers:
Aspects of the use of input signals for facilitating the game interaction process.
Details of the generation of these signals, e.g. transduction from tactile or acoustic input, are classified in the corresponding function places.
This place does not cover:
input arrangements for game devices |
This place covers:
The linear mapping of input signals into game commands.
The contextual, dynamic or non-linear mapping of signals received from an input switch or lever to game commands. For example, a fully inclined joystick might trigger a barrel roll instead of a simple turn:

This place covers:
The insertion of additional commands in the command sequence, i.e. to produce combos, and correcting the player's input to improve her accuracy.
This place does not cover:
input arrangements for game devices comprising means for detecting acoustic signals | |
evaluation based on rhythm only |
Attention is drawn to the following places, which may be of interest for search:
This place covers:
Non-trivial mappings to game scene (e.g. use of 2D position for pointing to a game object in 3D environment), sequences of operations (e.g. drawing the trajectory of a sword on screen) and their recognition (e.g. symbol drawn to cast spell).
This place covers:
The processing of signals representing motion of the controller, e.g. swinging, as detected by accelerometers, to produce game commands.
The mapping of signals, e.g. from accelerometers, onto game object parameters.
Detection and recognition of sequences of operation, e.g. rotating a controller such as a lever for 720 degrees.
Noise resistant procedures.

This place does not cover:
input arrangements for game devices using inertial sensors |
This place covers:
Evaluation of timing actions, e.g. in rhythm games, time-dependent sequences of commands, e.g. combos, and the displays associated to timing.
In the exemplary drawing below, each time slot T1, T2, T3, T4 has subdivisions defining the optimal timing of an action.

This place covers:
Details of scoring methods, such as fuzzy evaluations of score, management of experience points or rewards scheme.

Attention is drawn to the following places, which may be of interest for search:
comparisons of scores and rankings |
This place covers:
The control of the game's narrative. A narrative structure can be implemented trivially as a sequence, but also as a tree or as a set of goals or tasks randomly assigned to NPC, to provide nonlinear gameplay.
The exemplary drawing below shows different branching points in the narrative (410,420,430) with the possible alternative segments.

This place covers:
The storage of game data in internal or external memory. Both "save" and "pause" commands can be triggered by the player or automatically, e.g. pausing when receiving a phone call on the same device or auto-save feature.
Typically, a multiplayer game played over a network requires a protocol to pause or end the game. For instance, a player closes her own handheld apparatus. Prior to setting of a sleep mode, the game apparatus notifies all other game apparatuses of the interruption of the communication game, and then the game apparatus saves parameters necessary to execute a game main processing program to interrupt the execution of the game main processing program.
This place covers:
Methods for retrieving game status and value of the game parameters as they were when the game was suspended
Methods for compensating discontinuities in memory or input when resuming. For instance, if a game using a controller with a tilt sensor is paused, then the change of position during pause will cause a discontinuity in the input coordinates.
This place covers:
Backward replay allowing the player to roll back to a previous state, e.g. before her character's death.
Forward replay allowing to display past game events.
Summary or recap techniques for shortening the replay.
This place covers:
Aspects of the use of such signals for facilitating the game interaction process.
Use of signals not directed to the screen or the speakers.
Attention is drawn to the following places, which may be of interest for search:
two dimensional image generation | |
animation in general | |
three dimensional image rendering |
This place covers:
The control of virtual cameras to facilitate the interactions between the player and the game.
The use of game variables for this control. For instance, in a fighting game, the camera can be placed closer to the fighter with the lowest life meter.
Attention is drawn to the following places, which may be of interest for search:
Navigation in three-dimensional environments |
This place covers:
Techniques that enable rendering of scenes from multiple perspectives.
In the exemplary drawing below, virtual cameras 401, 402 are placed on both sides of the wall, allowing rendering the scene from 2 perspectives (figure (b), (c))

This place covers:
Direct control of the camera by the player to e.g. resolve projection ambiguities or occlusions. This control can be explicit, e.g. using a dedicated lever, or implicit. For instance, the orientation of the virtual camera can be set to the real orientation of a camera, to produce an augmented reality game. Alternatively, the head of the player can be tracked and the virtual viewpoint's position be updated accordingly, to produce an autostereoscopic display.
In the exemplary drawing below, the player can select view 160A or 160B using the input device 120.

This place covers:
Methods for setting dynamical parameters of the virtual camera according to the dynamical parameters of a game object or character, allowing to implement cinematographic camera effects in video games.
Typically, speeds will be similar but the virtual camera may accelerate or decelerate according to a predefined game event. The relative height or angle of the virtual camera provides also the desired view of the game scene.
For example, if the player's car approaches an obstacle such as a tree or building, the viewpoint is positioned to quickly approach the player's car by increasing the moving speed.
In the further exemplary drawing below, virtual camera C tracks the virtual skier and changes its height and direction between C1 and C2 according to the game course.

This place covers:
The display of game state variables which are not expressed in the game scene or of information to improve the game-player interaction. For instance, a magnified view of the target is displayed in a shooting game or a gauge for controlling the timing of the pitch in a baseball game.


This place covers:
Methods for prompting the player by presenting a display of control buttons, a keyboard, a menu, or the like.
Attention is drawn to the following places, which may be of interest for search:
interactions techniques for graphical user interfaces |
This place covers:
Indicators related to the experience or health of characters, for example, power gauges and life indicators.

This place covers:
Indicators used to show the current selection or the target for the next game command. The selection can be controlled by the player, or automatic, e.g. highlighting the closest team member in a soccer game.

This place covers:
Techniques to help the player choosing her next command. Typically, a textual advice or a drawing of the game controller is overlaid. It is also used to provide information on a part of the game scene which is not visible on the screen, e.g. the position of the soccer team members on the field.
Hints as part of an in-game tutorial.
Indicators linked to an object in the scene.


Attention is drawn to the following places, which may be of interest for search:
indicator expressing the timing of operation |
This place covers:
Overlaid windows with a two-dimensional map of the game scene.
Illustrative example of subject matter classified in this place:

Attention is drawn to the following places, which may be of interest for search:
Using two or more virtual cameras concurrently |
This place covers:
Sound effects in video games.
In the first example below, sound characteristics are generated depending on the status of the car (idling, moving). In the second example, the reverberation from obstacles 901, 902 is be simulated.


Attention is drawn to the following places, which may be of interest for search:
animation in general | |
3d image rendering |
This place covers:
Methods for moving automatically non-player characters in the game scene according to the game progress. For example, virtual soldiers follow their leaders in a strategy games or virtual soccer characters are positioned to receive or intercept the ball.
In the first example below, characters 51 and 52 are moving automatically to a location according to player input on a touch screen. In the other example, non-player characters 11 and 12 are approaching automatically the player character.


This place covers:
Techniques for simulating the laws of physics applied to game objects.
In the example below, tyre load (front, rear, left or right) is computed according to the longitudinal or transversal acceleration of the virtual racing car and indicated by the shading.
Illustrative example of subject matter classified in this place:

The Figure illustrates tyre load (front, rear, left or right) computed according to the longitudinal or transversal acceleration of the virtual racing car and indicated by the shading.
This place does not cover:
Computing the motion of game characters with respect to other game characters, game objects or elements of the game scene, e.g. for simulating the behaviour of a group of virtual soldiers or for path finding |
This place covers:
The impact of calculated trajectories on the game process.
In the examples below, the trajectories of the tennis or soccer ball are used to determine the landing point on the game field.


This place covers:
The determination if an object or character has entered the collision zone of other objects or characters.
The triggering of a corresponding game action if collision has occurred.
In the examples below, the results of collision determination are used to find out if the player character has broken a glass surface with a ball, has been hit by an arrow or could catch a flying object.



Attention is drawn to the following places, which may be of interest for search:
collision detection in image processing |
This place covers:
The computation of parameters associated with game characters, which need to be continuously updated in the game course.
The use of those parameters to influence the game course as they typically have a significant impact on the outcome of the game.
The dashboard of the exemplary drawing below shows the different skill parameters of a game character in a soccer video game.

This place covers:
Techniques for embedding advertising information in video games.
Techniques for associating advertising information to video games.
In the example below, a virtual billboard displays an advertisement in a video racing game.

Attention is drawn to the following places, which may be of interest for search:
marketing, e.g. advertising | |
advertising per se |
This place covers:
Means allowing the player to create new game items, or to add music or a personalised sound track to the game.
This place covers:
Collecting images and data from real world games, races, etc., and the processing and use of this information to create a virtual event, for example a race between a player's virtual car and real cars.
This place covers:
Techniques for embedding photos in video games.
Techniques for associating photos to video games.
In the example below, photos of other players are used to tag enemy characters 22 and 24.

This place does not cover:
input arrangements for game device comprising photodetecting means |
This place covers:
- Simulation of cognitive functions for NPC
- Artificial intelligence game engines
- Automatic adaptation of the game difficulty to the player's skill and style of play
Attention is drawn to the following places, which may be of interest for search:
network security |
This place covers:
- Techniques restricting player access to game devices
- Techniques restricting access to the content of a game recording medium
- Techniques restricting access to game information files, being stored locally or distributed via a network.
In the example below, security devices 710 are entitled by a gaming authority 760 and provide conditional access to game device 702.

Attention is drawn to the following places, which may be of interest for search:
computer security |
This place covers:
The detection and classification of player's activity into foul play and the imposition of game penalties.
This place covers:
Techniques for executing or distributing game software based on hardware of software characteristics of game servers or game devices
Attention is drawn to the following places, which may be of interest for search:
payment protocols | |
apparatus actuated by coins or the like for games |
This place covers:
- Inviting players to multi-player games running on a network.
- Associating players with a group of players based on preferences.
- Using information from social network services in a game.
This place covers:
Evaluating players and producing ranking lists in multi-player games running on a network.
Attention is drawn to the following places, which may be of interest for search:
Computing the game score |
Attention is drawn to the following places, which may be of interest for search:
simulators for teaching control of vehicles or other crafts |
This place covers:
Techniques for providing multiplayer games on the same game device by offering each player her own input device. Typically, a different view is displayed for each character on a different output area of the display device if they are too far one from the other, and a single view is used when the characters are close enough.
In the examples below, the screen is subdivided horizontally or vertically into two regions, allowing to render the game from the perspective of each of the two players.


This place covers:
The use of peer-to-peer or one-to-many communications in multi-player games running on a network.
This place covers:
Structural or electrical aspects of the game device hardware.
In the example below, an arcade machine has changeable input means, which can be fixed to the housing but later replaced if the type of game changes.

This place does not cover:
input arrangements of video game devices | |
output arrangements of video game devices |
Attention is drawn to the following places, which may be of interest for search:
constructional details of input arrangements |
This place covers:
Dedicated game devices, where the form factor, size, weight, button arrangements or compact design make them suitable to be held at least in a hand. Such devices depart from generic hand-held devices, such as PDA or mobile phones, which can run games but are not specially designed for playing.
This place covers:
- Recording medium specially adapted to game devices
- Use of storage medium before, during or after game execution, e.g. game loading from a disk
In the example below, a dedicated game cartridge storing a game program can be inserted into a game machine.

This place covers:
Accessories, which are optional for playing the game (i.e. as opposed to input means, which are essential). They may add for example comfort or convenience to the game experience.
In the examples below, accessories are used to support a hand-held game device or a game controller.


Attention is drawn to the following places, which may be of interest for search:
input arrangements for game devices | |
output arrangements for game devices |
Attention is drawn to the following places, which may be of interest for search:
Games or toys connected to, or combined with a hanger or ornament, e.g. bracelet, headband, necklace, ring |
This place covers:
Game elements made from a blank, i.e. a piece cut from sheet for subsequent shaping
In this place, the following terms or expressions are used with the meaning indicated:
Blank | A piece cut from sheet for subsequent shaping |
This place covers:
Input arrangements for game devices. Covered are here only input devices, which have been specially adapted for playing games and are usually distinguished by their shape, the number or arrangement of buttons.
Attention is drawn to the following places, which may be of interest for search:
Input arrangements or combined input and output arrangements for interaction between user and computer | |
Pointing devices displaced or positioned by the user |
Generic input devices such as a mouse which could also be used in a game are covered in the function place G03F 3/00.
This place covers:
Using sensors worn by the player, e.g. for measuring heart beat or leg activity.
For examples of the subject matter covered by this Indexing Code, see US5672107, EP1275420, JP2003033572, JP11047445, JP7289734.
This place covers:
Setup operations, e.g. calibration, key configuration or button assignment.
For examples of the subject matter covered by this Indexing Code, see US2006116203, JP2006149927, JP2283390.
This place covers:
For interfacing with the game device, e.g. specific interfaces between game controller and game console. For examples of the subject matter covered by this Indexing Code, see US6514143, US2001009564, JP2001147767, JP2001202168.
Attention is drawn to the following places, which may be of interest for search:
Interfaces for pointing devices in general |
This place covers:
For examples of the subject matter covered by this Indexing Code, see US2002098889, US2006111187, JP2002140154, JP2004329300.
Attention is drawn to the following places, which may be of interest for search:
Wireless communication networks |
This place covers:
Generating tactile feedback signals via the game input device, e.g. force feedback.
For examples of the subject matter covered by this Indexing Code, see US2006046843, US2007182708, JP2006068210, JP2005056267.
This place covers:
Constructional details thereof, e.g. controllers with detachable joystick handles.
For examples of the subject matter covered by this Indexing Code, see EP1586356, EP1475131, US2004142749, JP2005296432, JP2004329915, JP2004215856.
Attention is drawn to the following places, which may be of interest for search:
Constructional details or arrangements of video game devices |
This place covers:
For examples of the subject matter covered by this Indexing Code, see EP1062994, WO2004009196, JP2007296219.
Attention is drawn to the following places, which may be of interest for search:
Acceleration sensors per se |
This place covers:
Using pressure sensors, e.g. generating a signal proportional to the pressure applied by the player.
For examples of the subject matter covered by this Indexing Code, see US2007281787, US2004147317, JP2007299706, JP2004261193.
This place covers:
Specially adapted to a particular type of game, e.g. steering wheels.
For examples of the subject matter covered by this Indexing Code, see US5056787, US5813864, US6312335, JP2114982, JP9149957, JP10214155.
This place covers:
For locating contacts on a surface, e.g. floor mats or touch pads.
For examples of the subject matter covered by this Indexing Code, see US2007015588, JP2000293292, JP2007018372, JP2004337504.
This place covers:
The surface being also a display device, e.g. touch screens.
For examples of the subject matter covered by this Indexing Code, see US2005159223, US2006019752, JP2005204754, JP3734819B1.
This place covers:
For detecting acoustic signals, e.g. using a microphone. Microphones allowing the player to enter a voice command for, e.g. providing additional control of his/her character.
For examples of the subject matter covered by this Indexing Code, see US2007178952, JP2000181676, JP2002136764, JP2005103241.
This place covers:
Comprising photodetecting means, e.g. cameras, photodiodes or infrared cells.
For examples of the subject matter covered by this Indexing Code, see US2005208999, US6811492, JP7185131, JP2003010541, JP2004085524, JP2005230139.
This place covers:
Details of the game device.
This place covers:
Authorising game programs or game devices, e.g. checking authenticity of the recording medium.
For examples of the subject matter covered by this Indexing Code, see US2007092118 ([44]-[49]), JP2007089732.
Attention is drawn to the following places, which may be of interest for search:
Computer security |
This place covers:
Specially adapted for generating image data, e.g. circuitry for displaying objects on a television screen.
For examples of the subject matter covered by this Indexing Code, see EP1585062, EP1469382, EP0553532, JP2005287756, JP2004318139, JP2003126550.
This place covers:
Game devices specially adapted to be portable, i.e. held in at least one hand while playing.
For examples of the subject matter covered by this Indexing Code, see US6764400, US2002047237, JP10235014, JP2000051517.
This place does not cover:
Constructional details of input arrangements |
This place covers:
Using geographical information, e.g. location of the game device or player using GPS.
For examples of the subject matter covered by this Indexing Code, see US2002063655 ([38]-[44]), JP2002159743.
This place covers:
Storage medium specially adapted for storing game information, e.g. game cartridge.
This place covers:
Involving loading game data from a removable recording medium, e.g. streaming from a DVD.
For examples of the subject matter covered by this Indexing Code, see WO03032127 (p.8, l.16 - p.10, l.3), US6949023 ([3], [4], [73]-[82]), JP2005505362T, JP2000107455.
This place covers:
Involving personal data of the player, e.g. player profile, personal settings.
For examples of the subject matter covered by this Indexing Code, see US2003109312 ([32]-[35]), JP2001104646.
This place covers:
Low level software layer, relating to hardware management, e.g. Operating System, API.
For examples of the subject matter covered by this Indexing Code, see US2003154367 ([57]-[65]), US6672963 (abstract), JP2000047876.
This place covers:
Output arrangements for game devices.
This place covers:
Having at least one additional display device, e.g. on the game controller or outside a game booth.
For examples of the subject matter covered by this Indexing Code, see US20070015577.
This place covers:
Responding to control signals received from the game device for affecting ambient conditions, e.g. for vibrating player's seats, activating scent dispensers or affecting temperature or light.
For examples of the subject matter covered by this Indexing Code, see EP0970730.
This place does not cover:
Controlling visual or acoustic output signals based on the game progress |
This place covers:
Using indicators, e.g. showing the condition of a game character on screen.
This place covers:
For graphically or textually suggesting an action, e.g. by displaying an arrow indicating a turn in a driving game.
For examples of the subject matter covered by this Indexing Code, see US2007111768, JP2006031670, JP2002360921.
This place covers:
For tagging game characters, game objects or locations in the game scene, e.g. displaying a circle under the character controlled by the player.
For examples of the subject matter covered by this Indexing Code, see EP0844580 (marker at soccer player's feet, figure 7, claim 5), JP2006212423.
This place covers:
For examples of the subject matter covered by this Indexing Code, see US2002006817 (soccer game shows 1 of 3 radars, [4]-[6], [41]-[51]), JP11128538, JP2002210235.
This place does not cover:
Using a plurality of virtual cameras concurrently |
This place covers:
For prompting the player, e.g. by displaying a game menu.
For examples of the subject matter covered by this Indexing Code, see EP1273326, US2005176486 (selecting soccer players on touch screen, [6], [134]-[138]), JP2005218779
Attention is drawn to the following places, which may be of interest for search:
Interactions techniques for graphical user interfaces |
This place covers:
Interconnection arrangements between game servers and game devices; Interconnection arrangements between game devices; Interconnection arrangements between game servers.
Attention is drawn to the following places, which may be of interest for search:
Interconnection arrangements in generic data networks |
This place covers:
Communication aspects specific to video games, e.g. between several handheld game devices at close range.
Attention is drawn to the following places, which may be of interest for search:
Network security protocols | |
Protocols for real-time services in data packet switching networks | |
Network protocols for data switching network services |
This place covers:
Between game devices with different hardware characteristics, e.g. hand-held game devices connectable to game consoles or arcade machines.
This place covers:
Using a local connection.
Attention is drawn to the following places, which may be of interest for search:
LAN in general |
This place covers:
Involving a wireless network, e.g. Bluetooth®, Wi-Fi® or piconet.
Attention is drawn to the following places, which may be of interest for search:
Wireless communication networks |
This place covers:
Using wireless networks, e.g. cellular phone networks.
Attention is drawn to the following places, which may be of interest for search:
Wireless communication networks |
Attention is drawn to the following places, which may be of interest for search:
Protocols for real-time services in data packet switching networks | |
Network protocols for data switching network services |
Attention is drawn to the following places, which may be of interest for search:
Peer-to-peer networking in general |
Attention is drawn to the following places, which may be of interest for search:
Interactive television |
This place covers:
Hardware details of game servers.
This place covers:
Involving special game server arrangements, e.g. regional servers connected to a national server or a plurality of servers managing partitions of the game world.
For examples of the subject matter covered by this Indexing Code, see EP1407803 (abstract, paragraphs [52],[58],[61]-[81], claim 1, fig 11).
This place covers:
Particular local network, e.g. on a plane, in a train, in a hotel.
For examples of the subject matter covered by this Indexing Code, see WO2006062641 (figure 1, claim).
This place covers:
Using secure communication between game devices and game servers, e.g. by encrypting game data or authenticating players.
For examples of the subject matter covered by this Indexing Code, see EP1519531 (abstract. figures 5,6).
Attention is drawn to the following places, which may be of interest for search:
Network security |
This place covers:
Adapting the progress of the game according to the network or server load, e.g. for reducing latency due to different connection speeds between game clients.
For examples of the subject matter covered by this Indexing Code, see WO02098526 (abstract, page 20: line 3 and following.
This place covers:
Performing operations on behalf of game clients with restricted processing capabilities, e.g. game servers transform changing game scene into an MPEG-stream for transmitting to a mobile phone or a thin client.
For examples of the subject matter covered by this Indexing Code, see WO03095050 (abstract, figure 2).
This place covers:
For managing game device-related data or player-related data.
This place covers:
Using advertising information.
For examples of the subject matter covered by this Indexing Code, see US6928414 (abstract, paragraphs [23],[84], figure 3).
Attention is drawn to the following places, which may be of interest for search:
Advertising per se |
This place covers:
For payment purposes, e.g. monthly subscriptions.
For examples of the subject matter covered by this Indexing Code, see US2006168119 (abstract).
Attention is drawn to the following places, which may be of interest for search:
Payment protocols | |
Coin-freed apparatus and like for games |
This place covers:
Involving data related to game devices or game servers, e.g. configuration data, software version or amount of memory.
For examples of the subject matter covered by this Indexing Code, see EP1291048 (abstract, figure 3, paragraph [20]).
This place covers:
Saving the game status; Suspending or ending the game.
For examples of the subject matter covered by this Indexing Code, see WO2004026425 (page1:line 20 through page 2:line 13, figures 2,4).
This place covers:
Involving player-related data, e.g. identities, accounts, preferences or play histories.
For examples of the subject matter covered by this Indexing Code, see EP1669117 (paragraph [33], figures 2,3).
This place covers:
For finding other players, e.g. for matching opponents or building a team by skill level, geographical area, preferences, play style or for providing a buddy list.
For examples of the subject matter covered by this Indexing Code, see US20030104868 (abstract, claim 1, figures 1,9).
This place covers:
Involving game device location.
For examples of the subject matter covered by this Indexing Code, see WO2007010336 (abstract, paragraphs [2], [4], [48], [49], figures 1,2).
This place covers:
For assessing skills or ranking players, e.g. for generating a hall of fame.
For examples of the subject matter covered by this Indexing Code, see US 20040198495 (abstract, paragraphs [7],[34],figures 1,4).
This place does not cover:
Computing the game score |
This place covers:
Enforcing rules, e.g. detecting foul play or generating lists of cheating players.
For examples of the subject matter covered by this Indexing Code, see WO2007109130 (abstract, figures 1,3,7).
This place covers:
Providing additional services to players.
This place covers:
Communicating with other players during game play, e.g. by e-mail or chat.
For examples of the subject matter covered by this Indexing Code, see US6241612 (abstract, figure 3).
Attention is drawn to the following places, which may be of interest for search:
Conference services in data networks | |
Message switching systems, e.g. e-mail systems |
This place covers:
Generating or modifying game content before or while executing the game program e.g. specific authoring tools for game development or game-integrated level editor. adapting content to different game platforms, using a scripting language to create content.
This place covers:
By the player, e.g. authoring using a level editor.
For examples of the subject matter covered by this Indexing Code, see US2001037181 (abstract, [174]-[188]), JP2001184525.
This place covers:
Adaptively or by learning from player actions, e.g. skill level adjustment or by storing successful combat sequences for re-use.
This place covers:
For offering mini-games in combination with main games, e.g. while loading the main game content.
This place covers:
By mapping the input signals into game commands, e.g. mapping the displacement of a stylus on a touch screen to the steering angle of a virtual vehicle.
For examples of the subject matter covered by this Indexing Code, see US2006252540 ([92], [93], [96], [98]), EP1125610 (claim 1), JP2006311966.
This place covers:
Automatically for the purpose of assisting the player, e.g. automatic braking in a driving game.
For examples of the subject matter covered by this Indexing Code, see US6764401 (abstract), US2003032466 ([1]-[4], [49]-[55]), JP2001046742, JP2003053035.
This place covers:
Involving acoustic input signals, e.g. by using the results of pitch or rhythm extraction or voice recognition.
This place does not cover:
Input arrangements for game devices for detecting acoustic signals |
Attention is drawn to the following places, which may be of interest for search:
This place covers:
Involving acoustic signals, e.g. for simulating revolution-dependent engine sound in a driving game or reverberation against a virtual wall.
This place covers:
By enabling or updating specific game elements, e.g. unlocking hidden features, items, levels or versions.
This place covers:
Controlling the progress of the game.
This place covers:
Involving branching, e.g. choosing one of several possible scenarios at a given point in time.
For examples of the subject matter covered by this Indexing Code, see US2007010325 ([4], [69], [72], [73]), JP2007014457.
This place covers:
Partially or entirely replaying previous game actions.
This place covers:
Starting a game, e.g. waiting for other players to join a multiplayer session or activating a game device.
This place covers:
Involving the timing of operations, e.g. performing an action within a time limit.
This place covers:
Simulating properties, behaviour or motion of objects in the game world, e.g. computing tyre load in a car race game . e.g. gravity direction is variable and depends on input signal.
For examples of the subject matter covered by this Indexing Code, see US20090005139 (player-chosen gravity direction), US20060258448 (planet's gravity is controlled by player [71]-[77]), US20090325694 (switching between classical and quantum physics).
This place covers:
Using determination of contact between game characters or game objects, e.g. to avoid collision between virtual racing cars.
For examples of the subject matter covered by this Indexing Code, see US2003162592 (objects are glued when colliding, figure 2B, figure 8A, [118]-[120]), EP2216082 (size of contact area decreases if tennis player looses balance [38]-[39]), US2002024521.
Attention is drawn to the following places, which may be of interest for search:
Collision detection in image processing |
This place covers:
Using trajectories of game objects, e.g. of a golf ball according to the point of impact.
For examples of the subject matter covered by this Indexing Code, see US20090051690 (NPC trajectory randomly chosen between 2+ curves), US20090118011 (drawn trajectory is analysed to suggest user input, claim 1).
This place covers:
By computing conditions of game characters, e.g. stamina, strength, motivation or energy level.
For examples of the subject matter covered by this Indexing Code, see US20030144045 (psychological pressure in basketball game).
This place covers:
Involving aspects of the displayed game scene. instructing the image rendering of a game scene on the basis of game parameters; details of the rendering of the 3D game scene are classified in the corresponding function place G06T.
For examples of the subject matter covered by this Indexing Code, see EP2000185 (NPC character is removed from scene if not in player character field of vision, [3], [42]-[44]), US20020198047 (2 game fields are displayed together, [3], [4], claim 1).
Attention is drawn to the following places, which may be of interest for search:
Two dimensional image generation | |
Animation in general | |
Three dimensional image rendering |
This place covers:
Computing the motion of game characters with respect to other game characters, game objects or elements of the game scene, e.g. for simulating the behaviour of a group of virtual soldiers or for path finding. e.g. for controlling clone characters, for intercepting a soccer ball.
For examples of the subject matter covered by this Indexing Code, see EP1228794 (2nd character automatically controlled or not), EP1586357 (clones in fixed configuration), EP1203603 (jump or push obstacle depending on speed), JP2005287757.
This place covers:
Specially adapted to simulate their behaviour as a group, e.g. bird flock, school of fishes, military formation.
Attention is drawn to the following places, which may be of interest for search:
Shadowing in three dimensional image rendering |
This place covers:
Changing parameters of virtual cameras.
For examples of the subject matter covered by this Indexing Code, see EP0990458.
Attention is drawn to the following places, which may be of interest for search:
Navigation in three-dimensional environments |
This place covers:
Using a plurality of virtual cameras concurrently or sequentially, e.g. automatically switching between fixed virtual cameras when a game character changes room or displaying a rear-mirror view in a car-driving game.
For examples of the subject matter covered by this Indexing Code, see US2003027637 (switching cameras in fight game depending on hit count, claim 1).
This place covers:
According to dedicated instructions from player, e.g. using a secondary joystick to rotate the virtual camera around the player's character.
For examples of the subject matter covered by this Indexing Code, see US2006040740.
This place covers:
For examples of the subject matter covered by this Indexing Code, see EP0933105 (distance between player's car and camera depends on obstacles, [80]-[81]).
This place covers:
Using special effects, generally involving post-processing, e.g. blurring of rendered frames.
For examples of the subject matter covered by this Indexing Code, see EP0948979, EP1744283, EP1170044, JP11272881, JP2005316926 and JP2002024857.
This place covers:
Automatically by game devices or servers from real world data, e.g. measurement in live racing competition. game level is created from music data on a CD.
This place covers:
For examples of the subject matter covered by this Indexing Code, see US2005219377 and JP2005284767.
This place does not cover:
Input arrangements for game devices using photodetecting means |
This place covers:
Special adaptations for executing a specific game genre or game mode.
This place covers:
Athletic performances, e.g. track-and-field sports.
This place covers:
Driving vehicles or crafts, e.g. cars, airplanes, ships, robots or tanks.
Attention is drawn to the following places, which may be of interest for search:
Simulators for teaching control of vehicles or other crafts |
This place covers:
Characterised by a large display in a public venue, e.g. in a movie theatre, stadium or game arena.
For examples of the subject matter covered by this Indexing Code, see US20060258457.
This place covers:
Hand-to-hand fighting, e.g. martial arts competition.
This place covers:
Gliding or sliding on surfaces, e.g. using skis, skates or boards.
This place covers:
Using musical performances, e.g. by evaluating the player on the ability to follow a notation.
This place covers:
Managing virtual sport teams.
This place covers:
Fostering game characters.
This place covers:
Involving concurrently several players on the same game device, e.g. requiring the use of a plurality of controllers, of a split-screen or of a specific view of game data for each player.