CPC Definition - Subclass A45C
This place covers:
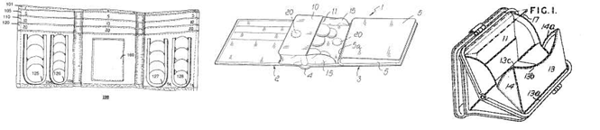
- Purses, money-bags, wallets.
- Flexible luggage, hand bags.
- Rigid or semi-rigid luggage.
- Collapsible or extensible luggage bags.
- Luggage or bags convertible into objects for other use.
- Receptables characterised by their purpose.
- Details or accessories therefor.
- Purses, bags, luggage or other receptacles combined with other articles.
Attention is drawn to the following places, which may be of interest for search:
Sacks or packs carried on the body | |
Containers in general | |
General kinds of flexible containers | |
Making leather, canvas or like articles |
In this place, the following terms or expressions are used with the meaning indicated:
flexible | providing a structure with no considerable resistance against deformation or decrease of the enclosed volume, whereby a two-dimensional stability may be provided, e.g. by a stiffened bottom |
semi-rigid | providing a structure with three-dimensional stability in an unloaded state and resilient resistance against deformation, or allowing a limited decrease, of the enclosed volume, e.g. by a resilient frame or a rigid frame with flexible side walls |
rigid | providing a structure with three-dimensional stability allowing no deformation leading to a considerable decrease of the enclosed volume |
collapsible | providing a feature other than use of flexible material for reducing the dimensions of flexible luggage or the enclosed volume of semi-rigid or rigid luggage |
extensible | means providing a feature other than use of flexible material for increasing the enclosed volume of flexible, semi-rigid or rigid luggage |
Attention is drawn to the following places, which may be of interest for search:
Coin holding devices | |
Handling paper currency |
Attention is drawn to the following places, which may be of interest for search:
Hand articles fastened to the wrist | |
Fastening articles to the garments | |
Fastening to the belt |
Attention is drawn to the following places, which may be of interest for search:
For holding keys | |
Devices for the prevention of theft or loss of wallets |
Attention is drawn to the following places, which may be of interest for search:
Rigid coin holders | |
Sorting, testing, changing, delivering, or otherwise handling coins | |
Coin holding devices |
This place covers:
Flexible bags, e.g. sports bags


This place does not cover:
Collapsible or extensible luggage, bags or the like |
Attention is drawn to the following places, which may be of interest for search:
Handbag mirrors | |
Sacks or packs carried on the body | |
Sacks or packs carried on the body by means of a single strap around the waist | |
Sacks or packs carried on the body by means of one strap passing over the shoulder | |
Bags for midwives | |
Doctor's or nurses' bags | |
Bags for golf clubs |
Attention is drawn to the following places, which may be of interest for search:
Making leather, canvas, or like articles |
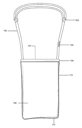
This place covers:
Flexible foldable travelling bags, e.g. with suit hangers, for carrying and protecting a small amount of clothes.

Illustrative example of subject matter classified in A45C 3/004
This place covers:
Briefcases or the like, also flexible briefcases for laptops or notebooks 
Attention is drawn to the following places, which may be of interest for search:
Filing appliances |
This place covers:
Shopping bags, shopping nets, also bags to be fixed on a shopping cart or trolley, shopping baskets 
Attention is drawn to the following places, which may be of interest for search:
Sacks made of fabrics; Flexible containers of open-work, e.g. net-like construction |
Attention is drawn to the following places, which may be of interest for search:
Sacks made of fabrics; Flexible containers of open-work, e.g. net-like construction |
Illustrative example of subject matter classified in A45C 3/045

This place covers:
Illustrative example of subject matter classified in this group.

Attention is drawn to the following places, which may be of interest for search:
Watertight containers for use while swimming | |
For making water- or air-tight | |
Inflatable | |
Sacks or packs convertible into other articles |
Attention is drawn to the following places, which may be of interest for search:
Bags combined with other articles |
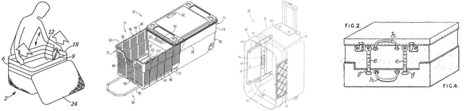
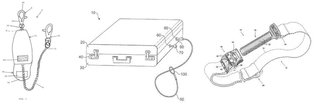
This place covers:
Hard shell luggage
Luggage comprising a rigid or resilient frame




Attention is drawn to the following places, which may be of interest for search:
Collapsible or extensible luggage, bags or the like |
This place covers:
Cases of relatively large dimension, e.g. with handle, for carrying toiletry articles.

Illustrative example of subject matter classified in A45C 5/005
Attention is drawn to the following places, which may be of interest for search:
Pocket toiletry etuis |
This place covers:
Illustrative example of subject matter classified in A45C 5/03
Suitcases with or without rolling means, also rigid suitcases for laptops 
Attention is drawn to the following places, which may be of interest for search:
Of round or oval shape | |
With built-in rolling means | |
Details | |
Showcases |
Attention is drawn to the following places, which may be of interest for search:
Arrangements of zip-fasteners |
Attention is drawn to the following places, which may be of interest for search:
Arrangements of zip-fasteners |
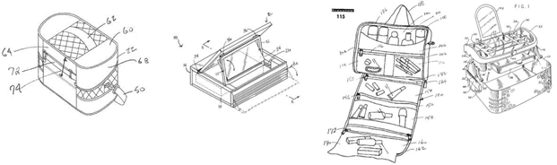
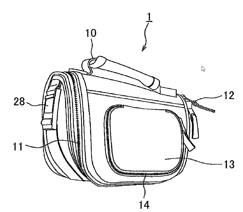
Illustrative example of subject matter classified in A45C 7/0031

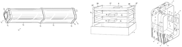
This place covers:
Illustrative example of subject matter classified in A45C 7/0095
This place covers:
Luggage or bags having a second function wherein an operation, e.g. deployment, is required in order to activate said second function.
Illustrative example of subject matter classified in A45C 9/00

This place does not cover:
Sacks or packs carried on the body and convertible into other articles | |
Trunk wardrobes | |
Trunk beds |
Attention is drawn to the following places, which may be of interest for search:
Purses; Money-bags; Wallets | |
Purses, bags, luggage combined with other articles | |
Sacks or packs carried on the body and convertible into other articles | |
Trunks convertible into tables |
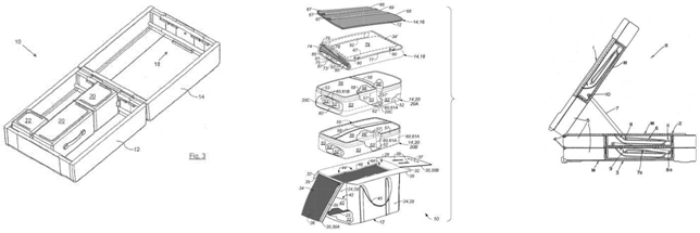
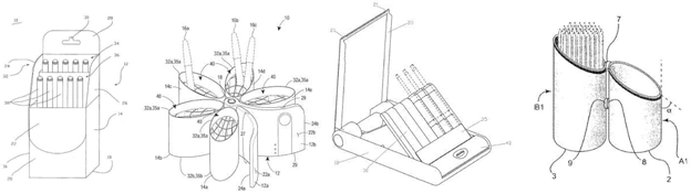
This place covers:
Receptacles of relatively small dimension characterised by their purpose of use.
Illustrative examples of subject matter classified in this place:
1.

2.

3.

Examples of places where the subject matter of this place is covered when specially adapted, used for a particular purpose, or incorporated in a larger system:
Boxes, cases, etuis or the like specially adapted for manicure or pedicure sets | |
Receptacles for hair brushes or tooth brushes as travelling equipment | |
Sewing kits |
Attention is drawn to the following places, which may be of interest for search:
Holders or carriers for hand articles; Holders or carriers for use while travelling or camping | |
Fastening articles to the garment | |
Doctors' or nurses' bags | |
First-aid kits | |
Devices for carrying bowling balls | |
Making paper articles; Working paper | |
Writing implement receptacles functioning as, or combined with, writing implements | |
Containers, packaging elements or packages, specially adapted for particular articles or materials; For pencils or pens | |
Containers, packaging elements or packages, specially adapted for particular articles or materials; For optical or other delicate measuring, calculating or control apparatus |
References A45D 29/20, A45D 44/18 and A45F 3/48 are non-limiting in the main group A45C 11/00. CPC will be updated/corrected once this inconsistency is resolved in IPC.
This place covers:
Receptacles for storing portable audio devices like headphones or digital audio players. The audio device is intended to be removed from the storage receptacle for its use.
Receptacles for storing of portable audio devices like headphones or digital audio are classified in A45C 11/001 while holders or carriers being worn by a user for portable audio devices, portable handheld communication devices and portable computing devices to facilitate transporting or carrying, where the device is not in use or being passively used, are classified in groups A45F 5/1508, A45F 5/1516 and A45F 5/1525, respectively.
Protective covers or auxiliary enclosures for portable computers that are intended to hold the device during use without hampering said use are classified in G06F 1/1629.
Protective covers or auxiliary enclosures for mobile phones that are intended to hold the device during use without hampering the telephonic functions are classified in H04M 1/0203.
Constructional features, like venting or EMI shielding means, of electronic housings not characterised by the inner electronic arrangements are classified in H05K 5/00.
Supports for positioning or steadying a device relative to a person with the intent of using the device are classified in F16M 13/04.
Attention is drawn to the following places, which may be of interest for search:
Holders or carriers for portable audio devices | |
Holders or carriers for portable handheld communication devices | |
Holders or carriers for portable computing devices | |
Enclosures for carrying portable computers with peripheral devices | |
Protective covers or auxiliary enclosures for portable computers | |
Arrangements for carrying or protecting portable transceivers | |
Protective covers or auxiliary enclosures for portable telephones | |
Casings, cabinets or drawers for electric apparatus |
If the device is a mobile phone that also has digital audio playing capabilities, it should only be classified in portable handheld communication devices A45C 11/002.
If the device is a computer or tablet that also has digital audio playing capabilities, it should only be classified in portable computing devices A45C 11/003.
In this place, the following terms or expressions are used with the meaning indicated:
storing | to put or keep something in a receptacle for future use |
This place covers:
Receptacles for storing portable handheld communication devices, e.g. mobile phones, pagers, beepers, personal digital assistants or smart phones. The communication device is intended to be removed from the storage receptacle for its use.
Illustrative examples of subject matter classified in this place:
1.

2.

Receptacles for storing of portable handheld communication devices are classified in A45C 11/002 while holders or carriers being worn by a user for portable audio devices, portable handheld communication devices and portable computing devices to facilitate transporting or carrying, where the device is not in use or being passively used, are classified in groups A45F 5/1508, A45F 5/1516 and A45F 5/1525, respectively.
In addition, protective covers or auxiliary enclosures for portable computers that are intended to hold the device during use without hampering said use are classified in G06F 1/1629.
Protective covers or auxiliary enclosures for mobile phones that are intended to hold the device during use without hampering the telephonic functions are classified in H04M 1/0203.
Constructional features, like venting or EMI shielding means, of electronic housings not characterised by the inner electronic arrangements are classified in H05K 5/00.
Supports for positioning or steadying a device relative to a person with the intent of using the device are classified in F16M 13/04.
Attention is drawn to the following places, which may be of interest for search:
Holders or carriers for portable audio devices | |
Holders or carriers for portable handheld communication devices | |
Holders or carriers for portable computing devices | |
Supports for positioning or steadying a device relative to a person | |
Enclosures for carrying portable computers with additional elements | |
Protective covers or auxiliary enclosures for portable computers | |
Arrangements for carrying or protecting portable transceivers | |
Protective covers or auxiliary enclosures for portable telephones | |
Casings, cabinets or drawers for electric apparatus |
If the device is a mobile phone that also has digital audio playing capabilities and/or computing capabilities, it should only be classified in receptacles for portable handheld communication devices A45C 11/002.
If the device is a computer or tablet that also has digital audio playing capabilities and/or communication capabilities, it should only be classified in receptacles for portable computing devices A45C 11/003.
In this place, the following terms or expressions are used with the meaning indicated:
storing | to put or keep something in a receptacle for future use |
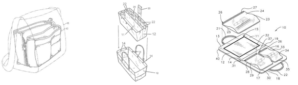
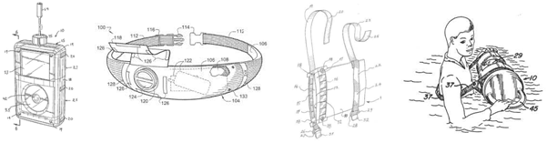
This place covers:
Receptacles for storing portable computing devices, e.g. laptops, tablets, netbooks, potable gaming device, navigation systems or calculators. The computing device is intended to be removed from the storage receptacle for its use.
Illustrative examples of subject matter classified in this place:
1.

Figure 1 illustrates a laptop sleeve.
2.

Figure 2 illustrates how a receptacle stores a video game controller.
Receptacles for storing of portable handheld computing devices are classified in A45C 11/003 while holders or carriers being worn by a user for portable audio devices, portable handheld communication devices and portable computing devices to facilitate transporting or carrying, where the device is not in use or being passively used, are classified in groups A45F 5/1508, A45F 5/1516 and A45F 5/1525, respectively.
Protective covers or auxiliary enclosures for portable computers that are intended to hold the device during use without hampering said use are classified in G06F 1/1629.
Protective covers or auxiliary enclosures for mobile phones that are intended to hold the device during use without hampering the telephonic functions are classified in H04M 1/0203.
Constructional features, like venting or EMI shielding means, of electronic housings not characterised by the inner electronic arrangements are classified in H05K 5/00.
Supports for positioning or steadying a device relative to a person with the intent of using the device are classified in F16M 13/04.
Examples of places in relation to which this place is residual:
Briefcases, e.g. for laptops or notebooks |
Attention is drawn to the following places, which may be of interest for search:
Holders or carriers for portable audio devices | |
Holders or carriers for portable handheld communication devices | |
Holders or carriers for portable computing devices | |
Supports for positioning or steadying a device relative to a person | |
Enclosures for carrying portable computers with peripheral devices | |
Protective covers or auxiliary enclosures for portable computers | |
Arrangements for carrying or protecting portable transceivers | |
Protective covers or auxiliary enclosures for portable telephones | |
Casings, cabinets or drawers for electric apparatus |
If the device is a mobile phone that also has digital music playing capabilities and/or computing capabilities, it should only be classified in receptacles for portable handheld communication devices A45C 11/002.
If the device is a computer or tablet that also has digital music playing capabilities and/or communication capabilities, it should only be classified in receptacles for portable computing devices A45C 11/003.
In this place, the following terms or expressions are used with the meaning indicated:
storing | to put or keep something in a receptacle for future use |
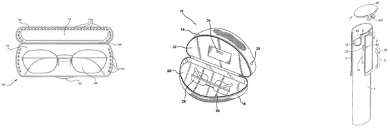
This place does not cover:
Spectacle cases with contact lens holders |
Attention is drawn to the following places, which may be of interest for search:
Show stands for lenses | |
Of box shape | |
Devices for putting-in contact lenses | |
Containers for contact lenses |
Attention is drawn to the following places, which may be of interest for search:
Toiletry cases | |
Receptacles for hair brushes or tooth brushes as travelling equipment |
Attention is drawn to the following places, which may be of interest for search:
Show stands for eye-glasses | |
Of box shape |
Attention is drawn to the following places, which may be of interest for search:
Making boxes of cardboard |
Attention is drawn to the following places, which may be of interest for search:
Show stands for watches | |
For watches or for bracelets therefor | |
Of box shape |
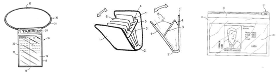
Illustrative example of subject matter classified in A45C 11/18

Attention is drawn to the following places, which may be of interest for search:
Reminder alarms in general |
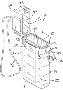
This place covers:
Boxes or bags with or without means to keep cold/warm food 
This place covers:
Illustrative examples of subject matter classified in this place:
1.

2.

3.

4a.

4b.

Attention is drawn to the following places, which may be of interest for search:
Beach bags; Watertight beach-bags | |
Camera cases | |
Details of receptacles for making water- or air-tight | |
Waterproof housings for cameras | |
Hermetically-sealed casings |
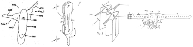
This place does not cover:
Sheath-like bags or etuis from which the key is separated for use |
Attention is drawn to the following places, which may be of interest for search:
Key-holding inserts |
Attention is drawn to the following places, which may be of interest for search:
Key-rings |
This place does not cover:
Spare-key holders |
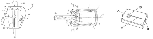
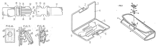
This place covers:
Bags or etuis with keys slidable or lineary movable within a housing between an operating position and a storage position.

US3101762
This place does not cover:
Sheath-like bags or etuis from which the key is separated for use | |
Spare key-holders |
Attention is drawn to the following places, which may be of interest for search:
Card-like spare-key holders |
Attention is drawn to the following places, which may be of interest for search:
Functioning as, or combined with, writing or drawing implements | |
Desk-receptacles for holding writing appliances |
Attention is drawn to the following places, which may be of interest for search:
Functioning as, or combined with, writing or drawing implements | |
Desk-receptacles for holding writing appliances |
This place covers:
Illustrative examples of subject matter classified in this place:
1.

2.

Attention is drawn to the following places, which may be of interest for search:
Watertight containers for use while swimming | |
Holders or carriers for cameras | |
Waterproof camera housings | |
Accessories for cameras |
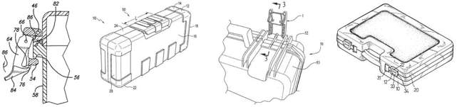
This place covers:
Details or accessories of purses, luggage or bags not provided for in groups A45C 1/00 - A45C 11/00
Illustrative example of subject matter classified in A45C 13/00

Attention is drawn to the following places, which may be of interest for search:
Haberdashery | |
Hinged lids for containers | |
Hinges |
Attention is drawn to the following places, which may be of interest for search:
Casings characterised by a hinged cover | |
Hinged lids for containers | |
Hinges | E05D 1/00- E05D1/15 |
Attention is drawn to the following places, which may be of interest for search:
Watertight containers for use while swimming | |
Waterproof camera housings |
Attention is drawn to the following places, which may be of interest for search:
For holding portable computers and accessories therefor | |
Inserts |
Attention is drawn to the following places, which may be of interest for search:
Beach bags |
Attention is drawn to the following places, which may be of interest for search:
Bags or wallets for holding keys | |
Key-rings |
Attention is drawn to the following places, which may be of interest for search:
Arrangement of fasteners |
Attention is drawn to the following places, which may be of interest for search:
Fasteners | |
Fastening devices for containers B65D, e.g. | |
Locks | |
For briefcases |
Attention is drawn to the following places, which may be of interest for search:
Slide fasteners | |
Fastening devices for containers |
Attention is drawn to the following places, which may be of interest for search:
Slide fasteners | |
Fastening devices for containers |
Attention is drawn to the following places, which may be of interest for search:
Fasteners | |
Fastening devices for containers | |
Locks | |
For briefcases |
This place does not cover:
Of press-button or turn-button fasteners |
Attention is drawn to the following places, which may be of interest for search:
Fasteners | |
Fastening devices for containers | |
Locks | |
For briefcases |
Attention is drawn to the following places, which may be of interest for search:
Fasteners | |
Fastening devices for containers | |
Locks | |
For briefcases |
Attention is drawn to the following places, which may be of interest for search:
Fasteners | |
Fastening devices for containers | |
Locks | |
For briefcases |
This place does not cover:
Of purses, money-bags or wallets |
This place does not cover:
Separate handles for carrying means |
Attention is drawn to the following places, which may be of interest for search:
Special adaptation of handles |
This place does not cover:
Detachable handles |
Attention is drawn to the following places, which may be of interest for search:
Handles for containers in general |
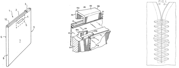
This place covers:
Straps to be put around a suitcase for preventing the suitcase to be opened accidentally
Hand-carried straps for holding objects
Straps for attaching auxiliary articles to luggage, e.g. piggyback
Illustrative example of subject matter classified in A45C 13/30

Attention is drawn to the following places, which may be of interest for search:
Carrying-straps |
This place covers:
Bags having means for holding umbrellas, sticks or gloves
Illustrative example of subject matter classified in A45C 13/40

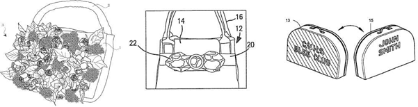
This place covers:
Receptacles combined with other objects wherein, typically, both objects can function at the same time
Illustrative example of subject matter classified in A45C 15/00

This place does not cover:
Combinations of purses and wallets | |
Bags combined with hand-muffs | |
Bags for holding keys combined with other articles | |
Combination of handles with other devices |
This place covers:
Any kind of illuminating device situated inside or outside the receptacle
Illustrative example of subject matter classified in A45C 15/06

Illustrative example of subject matter classified in A45C 15/08


















































































































