CPC Definition - Subclass A01K
This place covers:
- Equipment and methods for the care, culture or rearing of all animals or for obtaining their products, not otherwise provided for;
- Equipment and methods for fishing;
- Equipment for angling;
- Methods of breeding animals, not otherwise provided for; or
- New breeds of animals.
Whilst subclass A01K provides for equipment and methods associated with the care, nurturing, handling and rearing of all animals, and the harvesting of their products, devices and accessories for milking are classified in subclass A01J. Furthermore, shoes for animals, e.g. horses, oxen and other solipeds, and associated accessories are classified in subclass A01L. Devices for maintaining the appearance and welfare of animals, e.g. washing and grooming devices, shearing equipment, dehorners, horn trainers are classified in this place, whilst veterinary equipment and methods for the medical treatment of animals are classified in subclass A61D. Subclass A01K provides for fastening and tethering/restraining equipment for animals, e.g. halters, neck-bars, leads, collars, yet equine or similar harnesses and devices used in connection therewith are classified in subclass B68B. Subclass A01K provides for new breeds of animals, irrespective of the manner of their production, including new breeds of multicellular animals, e.g. transgenic animals. It also provides for processes of obtaining such new animals. Processes and methods for genetic engineering and mutation per se are classified in subclass C12N. Where genetic engineering or mutation techniques are used to produce new breeds of animals, classification should be made in both groups A01K 67/00 and C12N 15/00. Breeding of animals not otherwise provided for is covered by group A01K 67/00, whilst instruments or methods for reproduction or fertilisation e.g. artificial insemination, are classified in group A61D 19/00.
This place does not cover:
Attention is drawn to the following places, which may be of interest for search:
New plants or processes for obtaining them; Plant reproduction by tissue culture techniques | |
Manufacture of dairy products, other than milking | |
Catching, trapping or scaring of animals; Apparatus for the destruction of noxious animals | |
Preservation of bodies of animals or parts thereof; Pest repellants or attractants | |
Feeding-stuffs specially adapted for animals; Methods specially adapted for production thereof | |
Apparatus specially adapted for preparing animal feeding-stuffs | |
Fencing, e.g. fences, enclosures, corrals | |
Construction of valves | |
Electric circuits or apparatus specially designed for use in equipment for killing, stunning, enclosing or guiding living beings |
In this place, the following terms or expressions are used with the meaning indicated:
angling | a form of fishing using a hook and line. A rod or pole is often additionally used, e.g. for sport fishing. |
game | wild mammals or birds hunted for sport or food |
honeycomb | a structure of hexagonal wax cells, made by bees to store honey and larvae |
poultry | domesticated fowl, such as chickens, ducks, turkeys and geese |
stock | animals kept or raised for use or pleasure |
This place covers:
Stable buildings and structural details therefor.
Shelters for animals.
Shelter and stables that may be transportable.
Partition walls and grids that may be incorporated therein.
Stables and shelters that may comprise various installations, e.g. feeders, computer or registration systems, ventilation systems.
Movable animal enclosures that may be part of stable.
Wildlife homes, self-sustaining wildlife habitat sanctuaries.
Illustrative example of subject matter classified in this place:

Attention is drawn to the following places, which may be of interest for search:
Stable partitions | |
Pasturing equipment, e.g. tethering devices | |
Housing birds | |
Beehives | |
Receptacles for live fish, e.g. aquaria | |
Rearing or breeding of invertebrates | |
General building constructions, features of buildings | |
Buildings or groups of buildings for agricultural purposes | |
Air-conditioning, e.g. ventilation, in general |
This place covers:
Means for dividing stable room or limiting animal spaces.
Partitions; grids; box dividers; barriers.
Partitions that may be movable, constructed from different materials or electrified.
Different ways of fastening partitions, e.g. yokes.
Doors, on or in stables or their actuation.
Doors or partitions that may serve for guiding or driving, e.g. crowd gates or for starting rodeos.
(Prefabricated) boxes which can serve as independent quarters, within stables.
Partitions may include ground-borne barriers such as thresholds.
Barriers controlling access to feeders.
Separation possibilities between liquid or solid manure.
Illustrative examples of subject matter classified in this place:
1.

Figure 1 illustrates rearing boxes for animals.
2.

Figure 2 illustrates cattle stall fittings viewed from rear.
This place does not cover:
Attention is drawn to the following places, which may be of interest for search:
Pigsties; Dog-kennels; Rabbit-hutches or the like | |
Feeding pens for pigs or cattle | |
Devices for use in keeping domestic animals, e.g. fittings | |
Devices for immobilisation or restraint of animals, e.g. chutes | |
Milking stations | |
Feed troughs; Feed pails | |
Slaughtering pens | |
Race or rodeo starting gates or boxes | |
Walls, e.g. partitions for buildings | |
Serving doors; Passing-through doors; Pet doors |
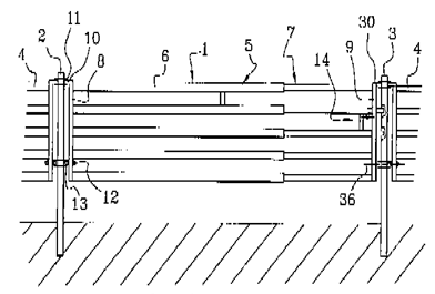
This place covers:
Fences for laterally partitioning or forming cubicle partitions in a stable.
Dividers that may consist of single bent tubes or more partitions, e.g. having a mushroom shape.
Cubicle partitions that may comprise at least one standing pipe, or footless cubicle partitions.
Partitions that may be movable, e.g. by rails.
Gate assemblies for an animal enclosure such as milking parlour.
Box installations which are adjustable between an operative and an inoperative position in or to a stable.
Different ways for coupling fences.
Illustrative examples of subject matter classified in this place:
1.

2.

This place covers:
Gates that may be used as a fence or have a bumper system.
Gates that may be extendible, e.g. have an adjustable frame.
Non-return gates, e.g. guillotine gates, tailgates.
Sheep control means that may comprise a workstation, a race or a drafting gate.
Doors that may be automatically closing swing doors.
Devices for preventing livestock from passing through an open gate, e.g. battery operated.
Hinge locks for animal gates that may have a releasable hinge mechanism.
Gate assemblies for milking parlours that may be automatic, e.g. through a rotating turnstile.
Illustrative examples of subject matter classified in this place:
1.

2.

This place covers:
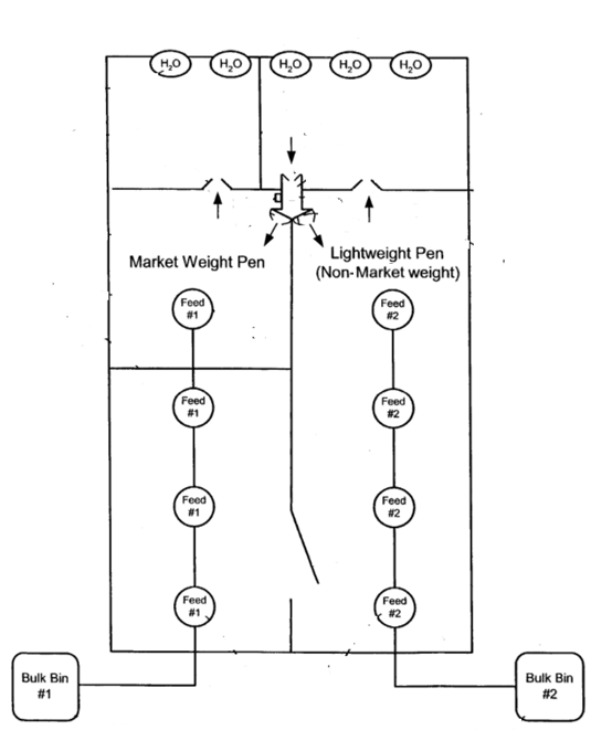
Sorting gates used for separation of animals:
- may enable sorting according to weight, size;
- may contain a selective electronic confinement system, infrared detector;
- may include an alley comprising an entrance, a main exit and a sorting exit;
- may be adjustable.
For example, turnstile-type gates or swing-gates.
Livestock traps or sorters.
Gates may be adjustable, may include an opening, e.g. for pedestrians.
Separating lactating animals in automatic milking installations by means of identification gates, switchable gates, enticement.
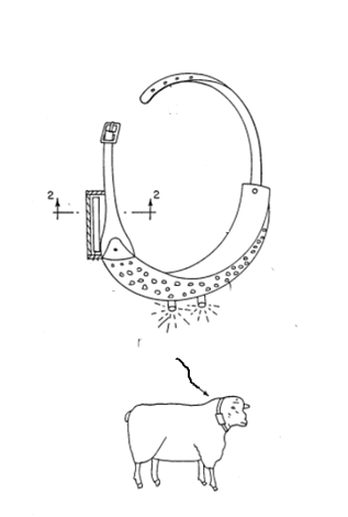
Gates may enable selective access to food for feeding cattle, for example, according to a feeding schedule or animal weight or size. Selective access may be provided automatically, e.g. using animal identifiers or sensors.
Illustrative example of subject matter classified in this place:

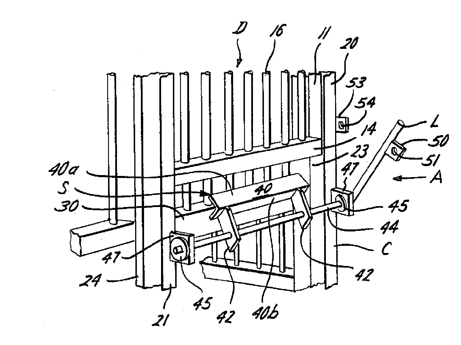
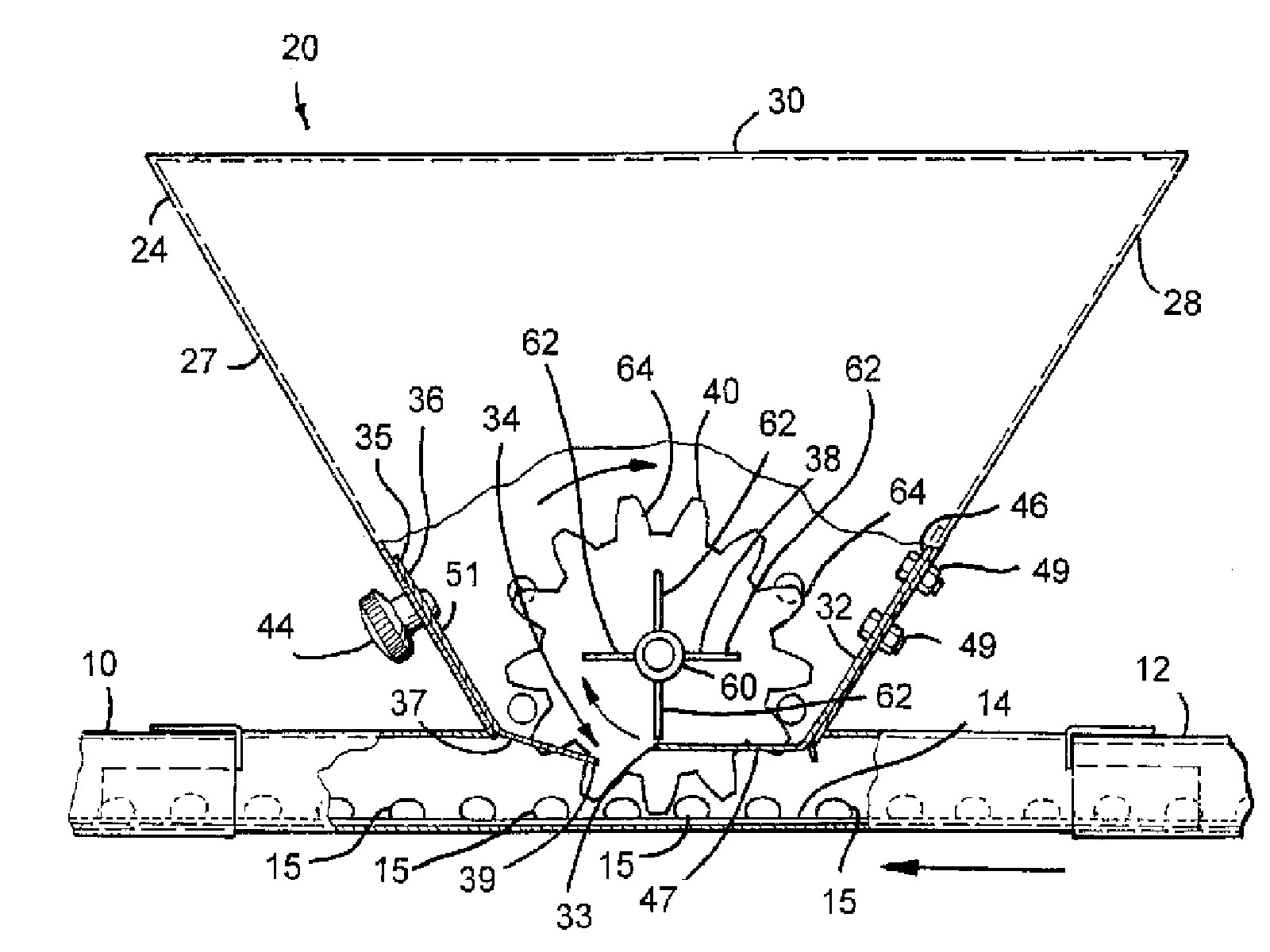
This place covers:
Crowding gates or barriers:
- may be foldable;
- may be attachable to wall or fence;
- may be moved along a rails or endless chain; or
- may be electrified.
Barrier assemblies for driving livestock animals along a route or in a desired direction:
- by means of a tailgate, mover member;
- may include animal catching and carrying devices;
- may be used for feeding control systems, e.g. an electrified barrier;
- may include barriers for preventing passage of livestock attempting to travel in an undesired direction; or
- may be used for directing poultry to or away from specific locations within a housing.
Illustrative examples of subject matter classified in this place:
1.

Figure 1 illustrates a crowding gate.
2.

This place covers:
Shelters specially adapted for being transported and placed where needed. These shelters can be portable, collapsible, and modular, can include feeding, watering and an outdoor space and can be moved by the provision of wheels, towing hooks and the like.
These shelters are intended to be built or installed in situ for animals on the way and/or to be transported and installed in the place where needed to give shelter to animals.



This group does not cover the transport (e.g. carrying) of small-size animals (e.g. pets), which is covered by group A01K 1/0236.
This group does not cover vehicles or trailers for the transport of big-sized animals which is covered by group B60P 3/04.
Attention is drawn to the following places, which may be of interest for search:
Transport boxes, bags, cages, baskets, harnesses for animals | |
Pasturing equipment, outdoor corrals or fences | |
Vehicles for transporting animals |
This place covers:
Buildings for housing animals comprising a mainly circular or round shape or rotating, e.g. circular plan view or round walls. These buildings can be rotary, can comprise flat walls forming a kind of circumference, e.g hexagonal, octagonal, and decagonal, can be oval, can be connected to other structures and can be for individual or multiple animals.



Attention is drawn to the following places, which may be of interest for search:
Milking carousels | |
Fences and corrals for outdoor use | |
Rotary buildings |
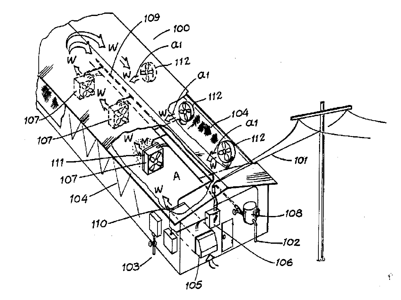
This place covers:
Means for heating, cooling, ventilating, drying or humidifying stable rooms in general.
Methods and systems for dispersing ozone into a stable room, e.g. for the reduction of flies, odour or dust.
Climate and ventilation control means, e.g. alarm system or responsive timer.
Means of cleaning waste air:
- by filtering devices, remove dust, odours or ammonia;
- by addition of pre-coated materials, e.g. coke dust, lime dust; or
- by addition of disinfectants.
Methods for influencing and determining the airflow, e.g. by installation of metal panels.
Specially adapted details, e.g. roof lids.
Illustrative example of subject matter classified in this place:

This place does not cover:
Cages for laboratory animals comprising forced ventilation means | |
Cat or dog houses with climate control means |
Attention is drawn to the following places, which may be of interest for search:
Floor coverings, e.g. bedding-down sheets | |
Pigsties; Dog-kennels; Rabbit-hutches or the like | |
Housing birds | |
Ventilation of battery breeding cages | |
Chicken coops or houses; Brooders | |
Climate control features applicable to brooder houses or brooders | |
Incubators for poultry | |
Heating buildings |
This place covers:
Fans or blowers, for use in stable rooms in general:
- may be movable;
- may be placed in rows or back-to-back;
- may have variable speed control; or
- may have cooling system, mist generator included.
Wind diverters for fans and blowers used in stables.
Illustrative example of subject matter classified in this place:

This place covers:
Construction of air inlets or outlets in roofs, e.g. fans and ducts etc.
- may include evaporative coolers, ionizing apparatus, heat exchanging system, etc.
Methods of controlling ventilation in roofs.
Ventilation ceiling and panels therefor.

This place covers:
Air inlets or outlets in walls of animal housings which serve to enhance airflow or ventilation within the housings.
May be by means of sheet metal panels with vents, ventilators or valves.
Ventilating system may have a feedback control system responsive to temperature, or may be able to control humidity and movement of forced air.
Illustrative example of subject matter classified in this place:

This place covers:
Arrangement of curtain systems.
- may include selvedge reinforcement.
- may include curtain control system.
Automatic curtain systems with ventilation monitoring, control, alarm and auto-release systems.
Blinds.


Attention is drawn to the following places, which may be of interest for search:
Roller blinds |
This place covers:
Heating devices for a stall or methods for operating the same.
May include:
- control devices;
- one or more radiating elements;
- energy exchange units;
- air control flow; or
- air cleaning systems.
Heating devices may have energy saving aspects.
Ventilation heat recovery systems.
Climate control systems.
Illustrative example of subject matter classified in this place:

Attention is drawn to the following places, which may be of interest for search:
Floor coverings with floor heating or cooling systems | |
Heating or cooling appliances for medical or therapeutic treatment of the human body |
Farrowing crates, e.g. wherein piglets are raised, often include heating devices. These crates are classified in group A01K 1/0218.
This place covers:
Cooling stations for animals that may be automatic, e.g. by means of liquid and air flow.
Evaporative cooling systems, e.g. fan guard mounted misters.
Cleaning waste air, e.g. by means of adding pre-coated material or water spray.
Illustrative example of subject matter classified in this place:

Attention is drawn to the following places, which may be of interest for search:
Floor coverings with floor heating or cooling | |
Heating or cooling appliances for medical or therapeutic treatment of the human body |
This place covers:
Shelters specially adapted for young farm animals, especially calves. These shelters can be transportable, collapsible, modular, can include warming or cooling means, feeding, watering or an outdoor space.
Boxes for containing one calf.
Small igloos for young farm animals.
Illustrative examples of subject matter classified in this place:
1.

Figure 1 illustrates a calf stall with extension.
2.

Figures 2 illustrates an enclosure for a farm animal shelter.
Attention is drawn to the following places, which may be of interest for search:
Battery cages for piglets |
Farrowing pens, e.g. wherein piglets are raised, often include devices for preventing the sow to lie on the piglets. These pens are classified in group A01K 1/0218.
This place covers:
Enclosures directed for raising horses. These enclosures can include cooling or warming, feeding and/or watering and can be individual or multiple horses.
Structures to be installed in stalls for horses, e.g. to prevent crib biting.
Gates especially designed for horse stalls.
Horse protectors and safety kerbing in doors, walls or buildings, e.g. skirting or stable bank.



Attention is drawn to the following places, which may be of interest for search:
Transportable or mobile animal shelters | |
Transport boxes, bags, cages, baskets, harnesses for animals | |
Containment apparatus for transport in automobiles | |
Vehicles adapted for transporting animals |
This place covers:
Collecting solid or liquid manure from stables into any container, e.g. waste treatment bags, composting boxes, (liquid) manure tanks.
Mechanical devices for removing manure from animal stalls, e.g. scraper.
Device may be automatic, e.g. vehicle.
Device for transporting manure inside the stable or stall.
Treatment of manure, e.g. drying, heating, cooling, deodorizing.
Details of channels or (slatted) floors, which are intended to collect manure or urine.
Illustrative examples of subject matter classified in this place:
1.

2a.

2b.

This place does not cover:
Floor coverings e.g. bedding-down sheets |
Attention is drawn to the following places, which may be of interest for search:
Stable partitions | |
Litter | |
Devices for mechanical bedding manipulation | |
Devices for use in keeping domestic animals | |
Dropping-boards for bird houses | |
Laying batteries | |
Poultry runs | |
Storage places for manure | |
Obtaining protein compositions from animal waste materials | |
Obtaining protein compositions from animal excrements | |
Machines for cleaning floors, carpets, furniture, walls or wall coverings | |
Mixing or agitating manure, dung | |
Refuse receptacles | |
Snow ploughs | |
Pumps |
This place covers:
Stables and apparatus for collecting liquid animal manure, e.g. collection pit, tank etc.
- may have arrangements for reducing ammonia emission.
- may be transportable.
- may include hydro flushing installations.
Details like dung channel, inlet valve etc.
Treatment of liquid manure, e.g. heating, cooling, deodorization, etc.
Different ways of converting liquid animal waste.
Devices and methods for cleaning stable floor.
- may be automatic.
Apparatus for disposal or cleaning of waste-water.

This place covers:
Indoor or outdoor toilets for pets.
Cat litter boxes that may be portable or disposable:
- may include ventilation, filter systems;
- may include magnetic pet litter systems; or
- may include lavatory facilities for toilet training.
Ready-made fillings for such toilets, may be for independent use.
Toilets may have flushing means, disinfection means.
Pet-sheets that may be absorbing, impregnated with perfume, deodorant, disinfectant or pesticide, which pet-sheets are integrated within or used directly with the litter box, cat tray, dog urinal or toilet.
Toilets that may include reward mechanisms or pet-attracting scents or features, e.g. a fire hydrant, for training animals to use toilets.
Toilets for pets that may have a feature for controlling temperature in or around the pet toilet.
Illustrative examples of subject matter classified in this place:
1.

Figure 1 illustrates a cat bathroom box.
2.

Figure 2 illustrates a portable canine waste station.
Excrement mats or sheets, e.g. pee-pee pads, not integral to or fundamentally part of cat trays, dog urinals or toilets are classified in group A01K 1/01577.
This place covers:
Indoor and outdoor toilets for pets, with automatic waste removal, by means of flushing, raking which:
- may be connected to water supply, electric supply and to drains, e.g. household drains;
- may be litter-free, or using water soluble litter;
- may be movable;
- may have appliances for washing the pet; or
- may include sanitizing apparatus for pet litter box.
Sewage devices intended for use with domestic animals, or cleaning device therefor.
Illustrative example of subject matter classified in this place:

This place does not cover:
Litter boxes with screens for separating excrement from litter | |
Toilets for pets with conveying belts for removing excrement |
This place covers:
Arrangements in or adjacent to litter boxes or toilets which allow for the cleaning of the animal's paws and are intended to prevent debris or litter from falling onto the floor of the home.
A litter box that contains a litter tray apparatus that collects particles of litter scattered from the paws.
Paw cleaning litter mat, e.g. magnetic pet litter system.
Paw cleaning device or structure may be integral to the litter box or a separate component therefrom.
Illustrative examples of subject matter classified in this place:
1.

2.

3.

This place covers:
Litter boxes having an apertured partition or device for separating faeces or other solid waste from litter.
Litter boxes that may be portable.
Litter boxes that may be disposable and may have litter included.
The excrement may be separated from the litter by sifting, for example by means of:
- rotating the litter box;
- a removable screen in corner of box;
- lifting a reticulated structure from under the litter; or
- multiple layers of screens.
Automated self-cleaning litter boxes:
- by means of rake, comb, scoop, rotating auger;
- may be directly responsive to the exit of a cat, e.g. using a sensor or timer; or
- may include a rotatable enclosure.
Litter box apparatus disposing of animal waste by means of sifting.
Illustrative examples of subject matter classified in this place:
1.

Figure 1 illustrates a litter box for recycling litter material.
2.

Paw cleaning arrangements for litter boxes are classified in group A01K 1/0112.
Scoops for litter are classified in group A01K 1/0116.
Removal of excrements in pet toilets without litter is classified in group A01K 1/011.
This place covers:
Illustrative example of subject matter classified in this place:

Attention is drawn to the following places, which may be of interest for search:
Devices for mechanical bedding manipulation in stables | |
Manure or urine collecting devices used independently from the animal | |
Refuse receptacles, e.g. litter bins | |
Hand implements for picking up excrements |
This place covers:
Pet toilets or cages with waste disposal system, by means of endless belts, a hopper, etc.
May include a washing device, or adjustable litter supply.
May be portable.

This place covers:
Animal toilet adapted to fit on conventional toilets.
By means of adjustable toilet seat e.g. shelf segments, etc.
Litter box max be mountable on toilet.
- may use flushable litter;
- may include apparatus for training pets to use human toilet.

This place covers:
Foldable or collapsible litter boxes:
- may be (partly) disposable or made out of one piece.
- may be pre-filled with litter.
- may be lightweight, biodegradable etc.
- may contain deodorization, flea repellent material etc.

This place covers:
Barn and pit floor scrapers and details therefore, e.g. coupling etc.
- may be attachable to a conventional vehicle, e.g. tractor etc.
- may be autonomous
Component structures, e.g. scraper blades or similar.

Attention is drawn to the following places, which may be of interest for search:
Machines for cleaning floors, carpets, furniture, walls, or wall coverings |
This place covers:
Scrapers or the like moving to-and-fro or step-by-step.
Details therefor, e.g. blades, hinge flap side.
Scrapers or the like may operate by means of a shoe, friction type mechanism.
Drive systems for scraper, e.g. rails, continuous cable.
Scrapers may be used on stable floor or pit.
Illustrative examples of subject matter classified in this place:
1.

2.

Attention is drawn to the following places, which may be of interest for search:
Conveyors comprising a cyclically-moving, e.g. reciprocating, carrier or impeller |
This place covers:
Manure removal by means of conveyor belts.
details therefor e.g. rolling-up device, use of non-sticking material, etc.

This place covers:
Manure removal by means of screw conveyors, e.g. a worm conveyor, which transport the excrements away from the floor or stable.
Details therefor, e.g. a dung-collector-conveyor part.
Illustrative example of subject matter classified in this place:

This place covers:
Apparatus for conveying manure, e.g. manure transfer system, by using a piston that pushes the excrements.
The apparatus for conveying manure:
- may include a pressure operated manure evacuation device, e.g. pressure chamber;
- may include a manure pump, e.g. ram-type pump, manure transfer pump.
Illustrative example of subject matter classified in this place:

This place covers:
Manure removal, by means of manure loaders, manure ramps or manure elevators.
Details therefor, e.g. manure lifter with a carrying fork.
Illustrative example of subject matter classified in this place:

This place does not cover:
Independent manure-loaders |
This place covers:
Floors for stables or shelters, or floor elements therefor.
Mats, beddings and other coverings for floors:
- may include a heating device, e.g. heating pads for small animals;
- may include a drainage device; or
- may contain zeolites.
Illustrative example of subject matter classified in this place:

Attention is drawn to the following places, which may be of interest for search:
Removal of dung or urine | |
Grids for preventing cattle from straying through an open passage of an enclosure | |
Floors for poultry cages | |
Heating arrangements in chicken coops or houses | |
Arrangements for heating or lighting in receptacles for live fish | |
Floors; Floor construction with regard to insulation | |
Gratings; Grid-like panels | |
Heating systems |
Floors for poultry houses are classified in groups A01K 31/007 and A01K 31/04.
This place covers:
Floors for stables and shelters, like grids, gratings and slatted floors.
may comprise heating device.
Details therefor, e.g. attached rubber tiles, ribbed floor, anti-slip, etc.
Attachment means for floors, e.g. locking and fastening elements, etc.

This place covers:
Litter or sheets for use in animal stables, cages, etc.
- may be absorbent, deodorizing, dominating smells, insect repelling, biodegradable, dustless, coated, etc.
- may contain zeolites, sawdust, disinfecting substances, etc.
- may contain material for detecting infections.
Means and apparatus for making litter.

This place covers:
Litter comprising inorganic material, e.g. deodorants, insect repelling material, dyed, ph-indicating material, etc.
Litter may be absorbent, dust reducing, odour-inhibiting, etc.
Litter may comprise clay, gypsum, aluminium sulfate, material for detecting infections, etc.
Different means of processing litter.

This place covers:
Litter comprising organic material, e.g. (recycled) paper, wood, straw, etc.
Litter may be absorbing, clump able, dust reducing etc.
Methods for producing litter.

This place covers:
Mechanical devices that allow for collecting, dispensing or otherwise handling, e.g. spreading, turning, mixing, animal bedding materials.
Mechanical devices which clean, filter, condition or disinfect animal bedding materials.
Mechanical devices may include, for example, bedding fork, scrapers, vacuums, sprayers or blowers.
Mechanical devices may be manual, automatic or autonomous.
Bedding removal and refilling system for animal cages.
May be for livestock stalls or chicken runs.
Illustrative examples of subject matter classified in this place:
1.

2.

Attention is drawn to the following places, which may be of interest for search:
Scoops for litter in litter box | |
Bedding compositions or characteristics of litter | |
Disinfection or sterilising in general | |
Crushing, pulverising or disintegrating in general |
This place covers:
Mats and sheets for use in animal stables or cages:
- may be liquid absorbing, odour absorbing, have a liquid permeable top sheet;
- may be moisture proof, washable; or
- may contain disinfectant.
Floor coverings for animal stables, which may be suitable for covering floor or walls or used as animal mattresses for lying or sleeping on.
Mats may be padded or with some cushioning to improve comfort when an animal is lying thereon.
Mats may be connectable or for individual-animal use.
Illustrative example of subject matter classified in this place:

Attention is drawn to the following places, which may be of interest for search:
Mats for cleaning paws, especially for removing cat litter |
Sheets or mats to be used in combination with cat trays, dog urinals or toilets for pets are classified in group A01K 1/0107.
Sheets or mats, which are independent of litter boxes, and intended solely for the collection of urine or faeces from pets are classified in group A01K 1/01577.
Sleeping mattress for pets, e.g. dogs, are classified in group A01K 1/0353.
This place covers:
Stand-alone mats or sheets intended solely for the collection of urine or faeces from pets, generally for use in the home. May include pheromones or other attractant features to encourage defecation thereon.
Illustrative examples of subject matter classified in this place:
1.

2.

Attention is drawn to the following places, which may be of interest for search:
Paw cleaning arrangements for pet toilets |
Mats or sheets that are incorporated into a litter box or dog urinal are classified in group A01K 1/0107.
Sheets or mats for use in animal stables are classified in group A01K 1/0157.
Sleeping mattresses for pets, e.g. dogs, are classified in group A01K 1/0353.
This place covers:
Floor heating or cooling systems for use in animal stables.
Details therefor, e.g. heating tubes.
Heating or cooling may be accomplished by means of electrical heating units, water.
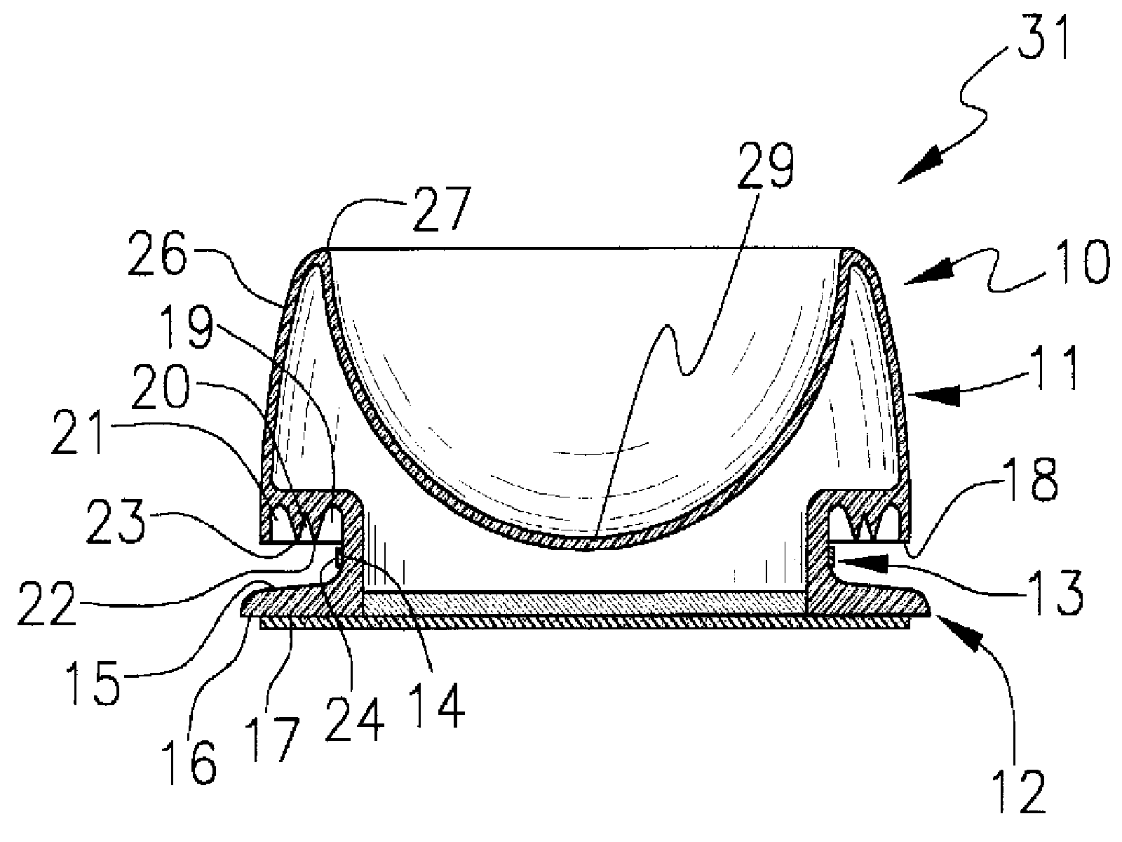
Illustrative examples of subject matter classified in this place:
1.

Figure 1 illustrates a stall floor heat exchanger for reduction of heat stress and lameness.
2.

Figure 2 illustrates the top plan cross-section of stall floor heat exchanger.
Attention is drawn to the following places, which may be of interest for search:
Farrowing or weaning crates |
Heated sleeping mats for pets are classified in group A01K 1/0353.
Heating or cooling of pet houses or cages are classified in group A01K 1/0335.
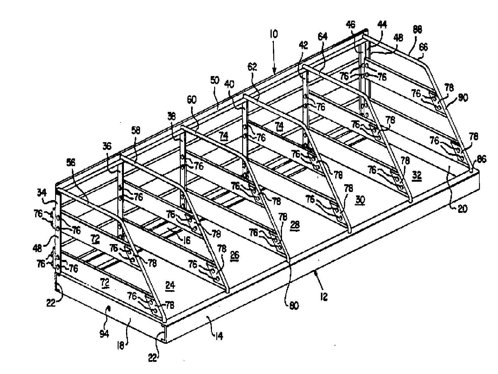
This place covers:
Farrowing pens or attachments therefor.
Hog or sheep shelters or shades.
Battery cages for piglets.
Pen buildings for hogs or sheep, if specially adapted therefor.
Transport crates for pigs.
Details therefor, e.g. heating, ventilation, feeding system.
Buildings may be movable, pre-fabricated.
Illustrative examples of subject matter classified in this place:
1.

2.

Attention is drawn to the following places, which may be of interest for search:
Stable partitions | |
Air-conditioning, e.g. ventilation, of animal housings | |
Floor coverings, e.g. bedding-down sheets | |
Chicken coops or houses; Brooders |
This place covers:
Box-like confinements (normally for 1 animal) for ensuring mostly undisturbed feeding or drinking of an animal.
may include an identifying system, a balance, etc.
Closure/ opening of the box may be automatic.
Boxes may be transportable.

Attention is drawn to the following places, which may be of interest for search:
Stable partitions. | |
Feeding or drinking devices associated with cages. | |
Devices for immobilisation or restraint of animals... | |
Milking stations. | |
Pasturing equipment, e.g. tethering devices. Grids for... | |
Feed troughs; feed pails. | |
Automatic identification systems for animals. |
This place covers:
Farrowing or weaning crates, mostly for pigs.
Details therefor, e.g. mats, side walls, piglet knee protector, etc.
Crates may include a heating device, registration device, etc.
Crates may be adjustable, collapsible, movable, etc.
Devices for preventing the sow to lie on the piglets.

This place covers:
Method and apparatus for rearing pigs in cages.
Battery cages may be adjustable in size, movable, collapsible, etc.
Battery cages may include heating, ventilation and/or feeding systems, etc.

Attention is drawn to the following places, which may be of interest for search:
Animal shelters especially adapted for keeping young cattle, i.e. calves |
This place covers:
Devices for transporting animals from one place to another by hand or inside a transport e.g. in automobile or trailer, by plane, by train, etc.
Transportation boxes for pets which can be collapsible, demountable, can have fastening means for mounting on the seat of an automobile and/or can be worn by the user.
Harness/Restraining system for animals which can be connected to the safety belt system.
Containing devices which can be suitable for transportation; shipping, by air, truck etc., and/or can include an animal tying device.



This place does not cover:
Poultry transport boxes | |
Transportable cages, e.g. for pigeons |
Attention is drawn to the following places, which may be of interest for search:
Transportable or movable animal shelters | |
Devices for transporting live fish | |
Animals walking aid, e.g. wheelchair | |
Vehicles for transporting animals | |
Safety belts or body harnesses in vehicles specially adapted for children or animals | |
Containers of polygonal cross-section, e.g. boxes, cartons, trays | |
Containers for living organisms |
This place covers:
Rigid containers for transporting animals which can be intended for transport by hand, in automobiles, airplanes, trains, ships or shipping containers or any other means for transportation.
The boxes/cages can also have provisions for food/water, ventilation, etc.


Attention is drawn to the following places, which may be of interest for search:
Boxes, bags, cages, baskets, harnesses especially adapted for transport in or on automobiles | |
Boxes, bags, cages, baskets, harnesses especially adapted for transport in or on bicycles or motorcycles | |
Boxes, bags, cages, baskets, harnesses especially adapted for carrying the animal on the body of a person | |
Vehicles adapted for transporting animals | |
Railway wagons adapted for carrying animals |
This place covers:
Bags, baskets or similar not rigid/flexible containers for transporting animals which can have handles or shoulder straps for carrying and can leave parts of the animal outside.

Attention is drawn to the following places, which may be of interest for search:
Boxes, bags, cages, baskets, harnesses especially adapted for transport in or on automobiles | |
Boxes, bags, cages, baskets, harnesses especially adapted for transport in or on bicycles or motorcycles | |
Boxes, bags, cages, baskets, harnesses especially adapted for carrying the animal on the body of a person |
This place covers:
Harnesses for transporting, carrying or lifting animals, e.g. in order to assist the animal with movement, walking or mobility. Harnesses for assisting animals with walking which fall under this place are intended to aid the animal with walking. These harnesses often have a handle or undercarriage support for supporting the animal during lifting, for example, to help the animal climb stairs.
The harnesses can be attached to a seatbelt system.
Illustrative examples of subject matter classified in this place:
1.

2.

3.

Figure 3 illustrates a multi-purpose pet harness.
Attention is drawn to the following places, which may be of interest for search:
Safety belts or body harnesses in vehicles specially adapted for animals |
Harnesses for walking animals, which do not have features for assisting the animal with walking, are classified in group A01K 27/002.
This place covers:
Restraining means adapted to carry animals in or on automobiles, which can be interacting with the safety belt, passenger seat, trunk or luggage compartment, trailer or the like.
The restraining means can be a box, a bag, a cage, a basket, a harness or the like which can be either connected to the safety belt or built together with it, can be adapted for transport in the trunk of an automobile or can be intended to be transported in or on a car, bus, truck or tractor.
This group only covers (road) transport in wheeled motor vehicles.
Illustrative examples of subject matter classified in this place:
1.

2.

Attention is drawn to the following places, which may be of interest for search:
Loading ramps mounted on a vehicle | |
Safety belts or body harnesses in vehicles specially adapted for animals | |
Loading or unloading vehicles | |
Non-permanently installed loading ramps |
This place covers:
Restraining means specially adapted for carrying animals in or on bicycles or motorbikes, which restraining means can be a box, a bag, a cage, a basket, a harness or the like.
Illustrative example of subject matter classified in this place:

This place covers:
Means for carrying animals on the body of a person which can be on the back, the breast, or any part of the body (but not just lifted by the hands). These means can be a cage, a bag, a harness or any structure for supporting an animal.
Illustrative examples of subject matter classified in this place:
1.

2.

Attention is drawn to the following places, which may be of interest for search:
Baby-carriers |
This place covers:
(Battery-) cages for lab animals, rabbits, fur animals, etc.
Details and elements therefore, e.g. doors, locks etc.
Show stand or -cages.
Cages may be movable, collapsible, portable, adjustable etc.
Cages may be adaptable to other cages.
Artificial burrows, e.g. for foxes.

Attention is drawn to the following places, which may be of interest for search:
Housing animals; Equipment therefor. | |
Stable partitions. | |
Cat trays; Dog urinals; Toilets for pets. | |
Floor coverings, e.g. bedding-down sheets. | |
Devices for use in keeping domestic animals. | |
Feeding or drinking devices associated with cages. | |
Washing, cleaning, or drying devices. | |
Dropping-boards; Devices for removing excrement. | |
Collapsible cages. | |
Rearing or breeding animals, not otherwise provided for. |
This place covers:
Cages for laboratory animals, e.g. breeding cages:
- may include an (automatic) drinking- and feeding system, sanitation system; or
- may include a sample collection and drug delivery apparatus, toxin testing devices.
Details therefor, e.g. cage locks.
Rack systems for cages.
Experimental structures for all animals.
Illustrative example of subject matter classified in this place:

Attention is drawn to the following places, which may be of interest for search:
Labyrinths or mazes for animals | |
Slaughtering or stunning by means of gas | |
Movement measuring of laboratory animals, e.g. activity | |
Apparatus or devices for radiation diagnosis specially adapted for non-human patients | |
Devices for anaesthetising animals by gases or vapours; Inhaling devices |
This place covers:
Forced ventilation or air conditioning systems for moving, blowing, suctioning or otherwise actively controlling, by using powered mechanical means, the airflow delivery to or receipt from laboratory cages.
May include means for:
- controlling or adjusting the temperature or humidity of the airflow;
- filtering or sterilising of air; or
- closed-loop or open-loop air circulation.
Forced ventilation system may include provisions for inter-cage circulation of air, or alternatively, isolated airflow to or from each cage individually.
Illustrative example of subject matter classified in this place:

The Figure illustrates a forced ventilation system for laboratory animal cages.
Attention is drawn to the following places, which may be of interest for search:
Air-conditioning, e.g. ventilation, of animal housings |
This place covers:
Laboratory cages including devices integrated either externally or internally for monitoring behaviour of laboratory animals.
Integrated cage devices for monitoring:
- feeding behaviour of laboratory animals;
- movement or activity of laboratory animals; or
- laboratory animal health, e.g. temperature, location.
Cages or integrated cage devices may include means for providing stimuli to the laboratory animals for testing or monitoring.
Illustrative example of subject matter classified in this place:

Attention is drawn to the following places, which may be of interest for search:
Labyrinths or mazes for animals | |
Monitoring or measuring animal size or weight | |
Monitoring or measuring animal activity |
This place covers:
Rabbit-hutches, cages or display units:
- may be movable, collapsible; or
- may include a nest box.
Feeding-drinking devices for these cages.
Illustrative example of subject matter classified in this place:

This place covers:
Cat or dog houses or shelters that may be foldable, transportable or adaptable in size.
Pet crates or cages.
Illustrative example of subject matter classified in this place:

Attention is drawn to the following places, which may be of interest for search:
Cages for laboratory animals | |
Rabbit-hutches or cages | |
Toys specially adapted for animals | |
Cages for poultry | |
Cages for birds | |
Laying batteries for poultry |
Pet cages specifically designed to be transported, e.g. transport boxes, are classified in group A01K 1/0236.
Animal play-units comprising entertainment areas, even if also comprising rest surfaces, are classified in group A01K 1/035.
This place covers:
Houses or shelters including climate control systems.
Actively controlled climate, heating, cooling, ventilation and air conditioning systems for controlling temperature and humidity of air within cat or dog houses.
May include automatic control or sensors for monitoring the temperature and humidity within or around the cat or dog house.
Illustrative examples of subject matter classified in this place:
1.

2.

Attention is drawn to the following places, which may be of interest for search:
Air-conditioning, e.g. ventilation, of animal housings | |
Floor heating or cooling systems in animal housings |
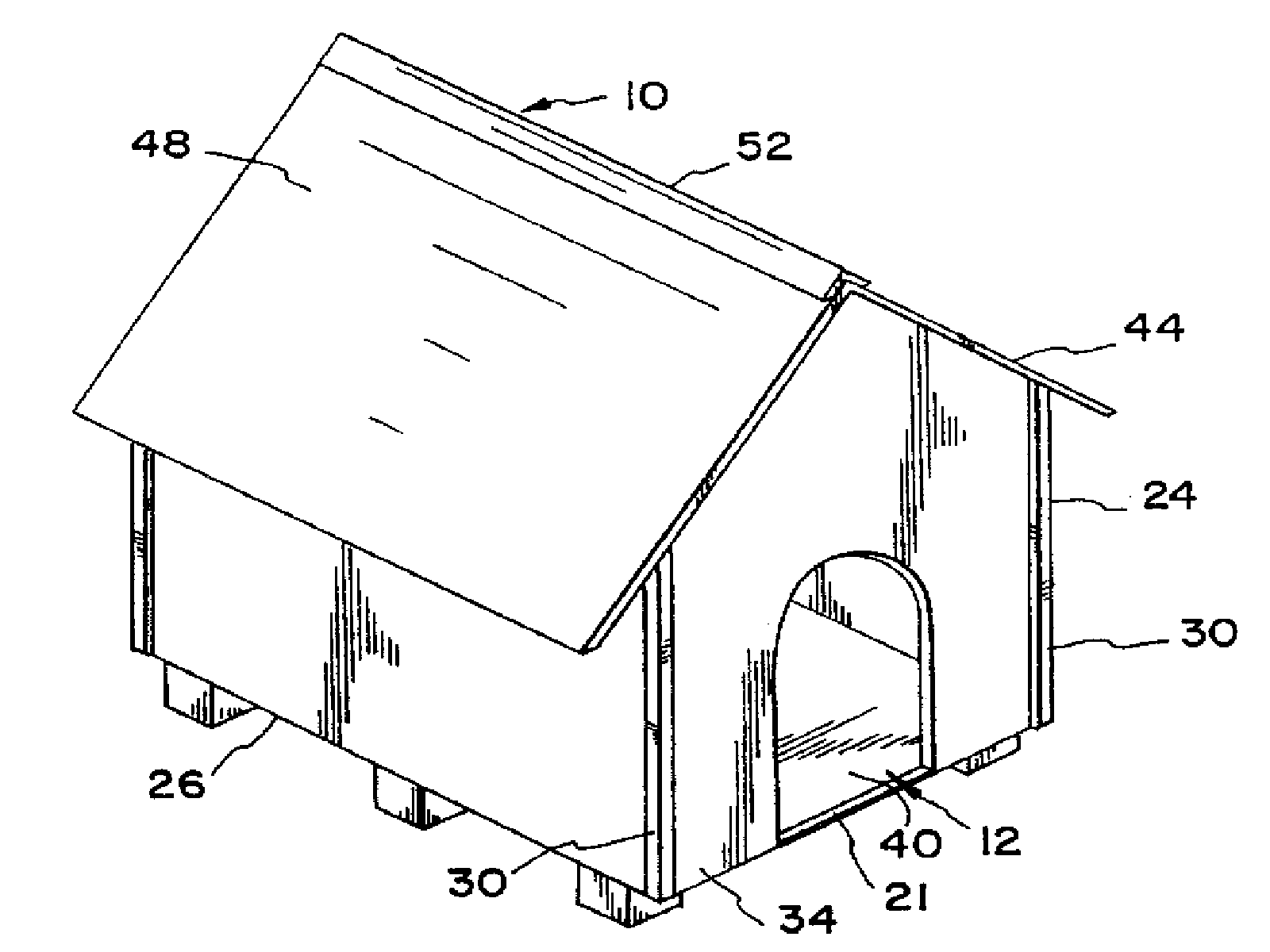
This place covers:
Dog-kennels that may be movable, collapsible, portable.
Kennels may include an exercise area, shelter.
Details therefor, e.g. door locks, isolating means, drainage systems.
Dog-hotel.
Illustrative example of subject matter classified in this place:

This place covers:
Details of caging systems.
Animal play-units, e.g. cat tower structures or small-animal, multi-purpose structures, e.g. rest and playing combined pet houses and all-in-one animal houses.
Devices offering various facilities combined, for pets, e.g. playing facilities.
Sanding facilities for, e.g. chinchilla cages.
Cage washing devices.
Brooders for quadrupeds.
Portable steps for animals, e.g. dog ramp.
Illustrative example of subject matter classified in this place:

Attention is drawn to the following places, which may be of interest for search:
Air-conditioning, e.g. ventilation, of animal housings | |
Cat trays; Dog urinals; Toilets for pets | |
Floor coverings, e.g. bedding-down sheets | |
Cages for laboratory animals; Cages for measuring metabolism of animals | |
Washing, cleaning or drying devices for grooming or caring of animals | |
Training or exercising equipment | |
Scratching devices, e.g. for cats | |
Toys specially adapted for animals | |
Other apparatus for animal husbandry, e.g. loading ramps | |
Housing birds | |
Dropping boards; Devices for removing excrement | |
Serving doors, Passing-through doors, Pet doors |
This place covers:
Pet sheets, blankets, beds or mattresses:
- may be foldable, collapsible, portable;
- may be chew-proof;
- may contain fluid, wood-shavings, foam.
Details therefor, e.g. coverings, flea and insect repelling elements.
Illustrative example of subject matter classified in this place:

Excrement mats for pets are classified in group A01K 1/01577.
Cat or dog houses are classified in group A01K 1/033.
Animal play-units, multi-purpose structure, e.g. rest and playing combined pet house and all-in-one animal houses are classified in group A01K 1/035.
This place covers:
Feeding and/or drinking devices adapted for small animal cages.
May include a control system, multiple-dosage system, toy function, etc.
Details therefor, e.g. securing apparatus, etc.
Devices may be gnaw resistant.

This place does not cover:
For poultry | |
Cages, e.g. for singing birds |
Attention is drawn to the following places, which may be of interest for search:
Housing for domestic or laboratory animals. | |
Devices for use in keeping domestic animals. | |
Feed troughs; Feed pails. |
This place covers:
Means for attaching chains or the like to a fixed structure, to the ground or to a vehicle, e.g. bicycle.
Attachments for connecting a (dog) leash to another structure, e.g. to vehicle or to bicycle.
Tethering poles used in pastures.
Attachment may be fixed or movable.
The means must be other than mere hooks, eyes or the like.
Guiding rails or cables for attaching chains.
Illustrative example of subject matter classified in this place:

Attention is drawn to the following places, which may be of interest for search:
Boxes, bags, cages, baskets, harnesses especially adapted for transport in or on automobiles | |
Boxes, bags, cages, baskets, harnesses especially adapted for transport in or on bicycles or motorcycles | |
Devices for fastening animals, e.g. halters, toggles, neck-bars or chain fastenings | |
Devices for grooming or caring of animals; Tail-holders | |
Training or exercising equipment |
Tethering poles, while often used with leads or leashes, are distinct from leads or leashes, which are classified in group A01K 27/003.
This place covers:
Devices for fastening animals to stable structures: may include chains, movable braces.
Combinations of grids or other fastening means.
Devices for automatically trapping an animal, by means of automatically trapping an element around the neck of an animal.
Cattle head gate assembly, may be automatic.
Illustrative example of subject matter classified in this place:

Attention is drawn to the following places, which may be of interest for search:
Stable partitions | |
Feeding pens for pigs or cattle | |
Tethering-poles or the like | |
Devices for fastening animals, e.g. stanchions | |
Arrangements for simultaneously releasing several animals | |
Devices for impeding movement; Devices for impeding passage through fencing, e.g. hobbles or the like; Anti-kicking devices |
In this place, the following terms or expressions are used with the meaning indicated:
halter | an arrangement of straps fixed around an animal's head and used to lead or tie-up livestock |
neck-bar | a mechanical device for restraining animals (e.g. cows) by clamping their necks in a releasable frame or cage |
This place covers:
Grids for fastening animals between grids.
may have no, some or only movable bars. Bars may be movable in any plane or way.
Details therefor, e.g. locking systems, feeding rack beam, anti-hanging system, etc

This place does not cover:
Simultaneously releasing several animals |
Attention is drawn to the following places, which may be of interest for search:
Stable partitions | |
Feeding pens for pigs or cattle | |
Devices for fastening animals, e.g. halters, toggles, | |
Devices for immobilisation or restraint of animals, | |
Neck-bars | |
Feed racks | |
Milking stations |
This place covers:
Devices, in particular pens or boxes, for immobilising animals, e.g. animal chute, squeezes or crushers.
May include animal head restrainer, weighing appliances.
Devices may be mountable on a vehicle, portable, adjustable in size.
The immobilisation is confining or cramping rather than fettering; lifting or overturning may be additional.
Details for these devices, e.g. doors, tail gates.
Starting boxes for rodeos, pig holders, sheep cradles, drafting gates.
Illustrative example of subject matter classified in this place:

Attention is drawn to the following places, which may be of interest for search:
Stable partitions | |
Pigsties; Dog-kennels; Rabbit-hutches or the like | |
Feeding pens for pigs or cattle | |
Devices for use in keeping domestic animals | |
Devices for fastening animals by means of grids with or without movable locking bars | |
Pasturing equipment, e.g. tethering devices; Grids for preventing cattle from straying; Electrified wire fencing | |
Devices for grooming or caring of animals | |
Devices for taming animals; Devices for overturning animals in general | |
Other apparatus for animal husbandry, e.g. loading ramps | |
Pens for animals while being shod | |
Slaughtering or stunning by electric current | |
Accessories for use during or after slaughtering | |
Slaughtering pens | |
Slaughterhouse arrangements | |
Arrangements for supporting or fettering animals for veterinary purposes | |
Loading or unloading transport vehicles with a tipping movement of load-transporting element |
This place covers:
Devices for tying up an animal; stanchions suspended from a structural part above, forming a movable collar-like frame.
may be automatic; self-locking.
Details therefor, e.g. alignment device, triggering mechanism, etc.
Stanchions do not form part of, nor cooperate with, a grid. They are independent of grids.

This place covers:
Devices for fastening chains, or similar elements around animals' necks, to the stable structure.
May be fastened around the necks or bellies of the animals.
Fastening points to stable may be movable.
Fastening element is carried by animal, independent of the stable structure.
Details therefor, e.g. hooks, halter fittings.
Illustrative example of subject matter classified in this place:

Attention is drawn to the following places, which may be of interest for search:
Stable partitions | |
Tethering-poles or the like | |
Arrangements for simultaneously releasing several animals |
This place covers:
Devices for simultaneously releasing several fastened or confined animals.
May be released by, e.g. a chain mechanism that simultaneously retracts multiple animal restraint devices or opens multiple doors when pulled.
Animals may be fastened or confined in any manner.
Release means may be automatic or by hand, e.g. connected with door controls, or frightening means.
Parts of stable may be movable.
Illustrative example of subject matter classified in this place:

Attention is drawn to the following places, which may be of interest for search:
Devices for fastening animals | |
Devices for fastening animals by means of grids with or without movable locking bars | |
Neck-bars | |
Chain fastenings | |
Arrangements for releasing invertebrates into the environment | |
Starting stalls, e.g. for horses or greyhounds |
This place covers:
Hay-racks.
Open-framework barriers formed by slats, grids, bars, rails or the like, for feeding roughage, indoors or outdoors (except for poultry or small animals).
May be movable (by animal or motor), portable, collapsible or transportable.
Devices may contain a trough.
Details therefor, e.g. fastening grids.
Illustrative example of subject matter classified in this place:

Attention is drawn to the following places, which may be of interest for search:
Stable partitions | |
Feeding or drinking devices associated with cages | |
Devices for fastening animals by means of grids with or without movable locking bars | |
Feed racks with movable feed barriers, slides or fences | |
Feeding devices for stock or game | |
Feed bags or nets | |
Feed troughs; Feed pails | |
Devices for impeding movement of animals |
This place covers:
Movable feed barriers, slides or fences for use in or outside the stable. Mainly for cattle.
by means of moving fodder to the barriers or moving the barriers to the fodder.
Barriers are movable by means of wheels, rails, guiding cables, etc.
may include a motor.
(Autonomous) trolley pushing feed back to fence.

Attention is drawn to the following places, which may be of interest for search:
Automatic devices with stable trolley for distributing feed |
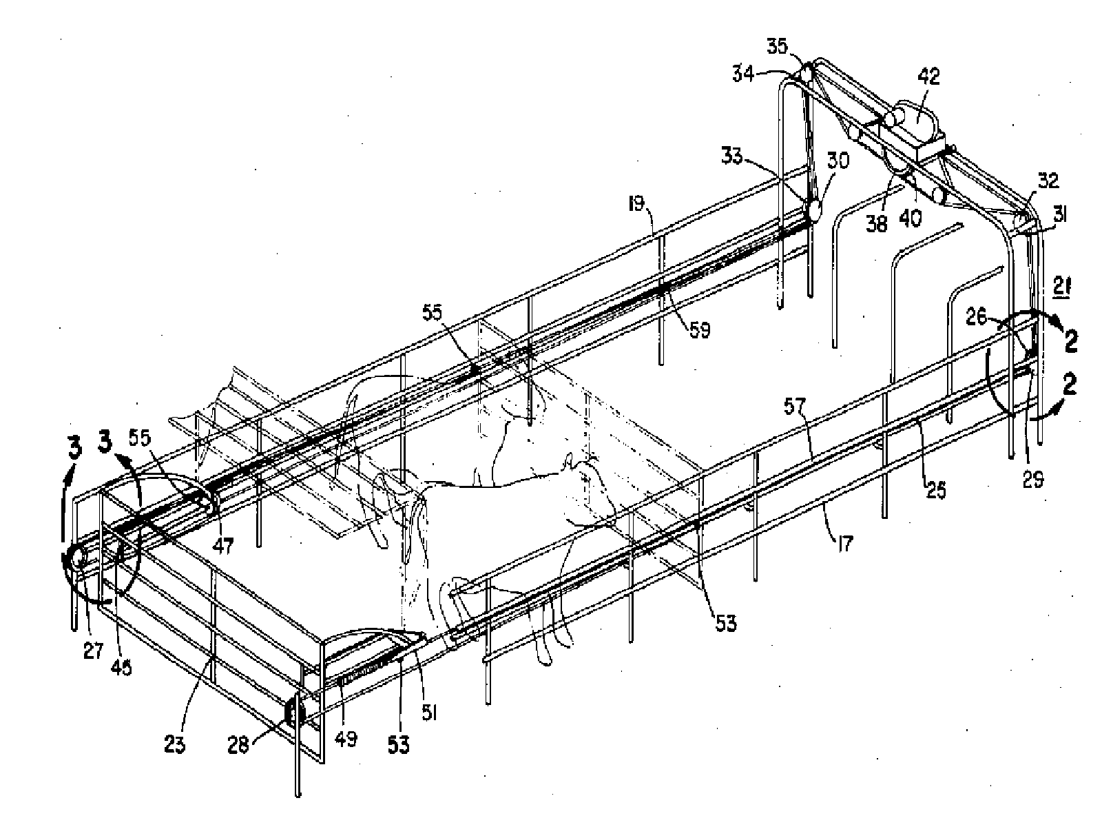
This place covers:
Milking parlours or stables.
May be movable or transportable, e.g. outdoors.
Equipment except milking systems therefor, e.g. feeding devices, udder massage and cleaning devices.
Fastening devices specially adapted to milking stations.
May include cow identification or positioning methods and apparatus, e.g. including crowd gate.
Door controls for milking-parlours, if part of a whole milking parlour or stable structure.
Illustrative examples of subject matter classified in this place:
1.

Figure 1 illustrates a system and method for milking a group of milking animals.
2.

Attention is drawn to the following places, which may be of interest for search:
Stable partitions | |
Feeding pens for pigs or cattle | |
Devices for fastening animals by means of grids with or without movable locking bars | |
Automatic identification systems for animals | |
Washing, cleaning, or drying devices | |
Devices for milking |
This place covers:
Mobile milking parlours that may be used in barn or on pasture grounds:
- may be motor-driven;
- may be foldable, transportable; or
- may be computer controlled.
Illustrative example of subject matter classified in this place:

This place covers:
Milk units arranged in carousel:
- may be mobile;
- may include rotary animal platform.
Details therefor, e.g. movement detectors, movable floor, wash-system, drive arrangements.
Illustrative example of subject matter classified in this place:

Attention is drawn to the following places, which may be of interest for search:
Rotary, round or circular animal barns | |
Rotary buildings |
This place covers:
Fixed fences, guiding corridors and corrals for outdoor use.
Fences also may include chemicals e.g. coatings to prevent chewing such as pepper.
Corrals may be combined with shelters, etc.
Fences may serve as windbreak.
Tools for installing or dismantling fences.
Details therefor, e.g. fastening devices, wire tightening equipment, posts, etc.
Illustrative example of subject matter classified in this group. 
A fencing apparatus for preventing animals from climbing over a fence. 
Fence with viable bands. 
This place does not cover:
Electric circuits or apparatus for supplying electric wire fencing |
Attention is drawn to the following places, which may be of interest for search:
Housing animals; Equipment therefor | |
Stable partitions | |
Tethering-poles or the like | |
Training or exercise equipment | |
Preventing or obstructing access or passage, e.g. by means of barriers, spikes, cords, obstacles or sprinkled water | |
Slaughterhouse driving corridors | |
Gates for obstructing traffic | |
Construction of fencing in general | |
Gates or doors allowing passage through fences |
This place covers:
Fences, guiding corridors and corrals for outdoor use which may be portable, collapsible, moveable while in use, or deployable i.e. for temporary use.
Can be electric.
Illustrative example shows a portable fence with a series of upright posts comprising internal power sources.

Illustrative example shows a portable corral in a transport and an in-use position.



Attention is drawn to the following places, which may be of interest for search:
Movable feed barriers, slides or fences | |
Electrified wire fencing | |
Corrals i.e. easily transportable or demountable enclosures not for animals |
Special attention to documents related to movable feeding fences used outside for letting the animals (mainly cattle) advance in a field for feeding. These documents are classified in A01K 1/105.
This place covers:
Devices for preventing animals from passing through a gap in a fence where a road is passing. Vehicles or pedestrians may pass freely.
These devices might be grids, gates, guards, etc.
Grids may include movable parts, etc.
Gutter guards (other then mere gratings or the like), preventing cattle from stepping into gutters in stables.
Illustrative example of subject matter classified in this group. 
Attention is drawn to the following places, which may be of interest for search:
Floor coverings, e.g. bedding-down sheets | |
Training or exercise equipment | |
Devices for impeding passage through fencing | |
Cattle guards connected to the permanent way | |
Road profiles |
This place covers:
Electrical means for preventing cattle from straying from an enclosure, e.g. electrified grids, guards, mats.
Illustrative example shows an electric wire fence and an electric cattle guard formed of electrical wires.

Illustrative example shows an electrified mat. 
Attention is drawn to the following places, which may be of interest for search:
Electrified wire fencing | |
Cattle guards connected to the permanent way |
This place covers:
Electric wire fencing, may be portable, movable, etc.
Components therefor, e.g. wire, tape rods, posts, etc.
Apparatus for dispensing and collecting electrified wire, may be attachable to vehicle.
Illustrative example of subject matter classified in this group. 
Attention is drawn to the following places, which may be of interest for search:
Electrical grids for preventing cattle from straying | |
Fencing in general provided with electric elements | |
Fence-wire | |
Insulators for electric fences |
Insulators used for connecting fence posts to wire carrying the electric current are classified in
This place covers:
Electrified gates.
Handles used for electric fencing.
Illustrative example of electric gate to keep in livestock and allow passage of a car.

Electric fence gate handle.

Attention is drawn to the following places, which may be of interest for search:
Gates or doors within stables | |
Preventing or obstructing access or passage, e.g. by means of barriers, spikes, cords, obstacles or sprinkled water | |
Gates for obstructing traffic | |
Gates or doors allowing passage through fences | |
Insulators for electric fences |
This place covers:
Feeders for roughage or general feed dispensing that may be transportable.
Tractor borne feeders, mainly for outdoor use.
Grating or roughage feeding corrals or barriers, transportable for outdoor use.
Mobile feeding stations that may include shelters.
Bale distributors or shredders for (outdoor) feeding.
Feeders may contain mixers, e.g. mixing, mincing, weighing devices.
Feeding wagons.
Feeding stacks.
Illustrative example of subject matter classified in this place:

This place does not cover:
Feed racks | |
Feeding appliances for poultry or other birds |
Examples of places where the subject matter of this place is covered when specially adapted, used for a particular purpose, or incorporated in a larger system:
Feeding or drinking appliances for bees | |
Feeding or watering for insects |
Attention is drawn to the following places, which may be of interest for search:
Feeding or drinking devices associated with cages | |
Pasturing equipment; Grids for preventing cattle from straying | |
Distributing roughage | |
Apparatus specially adapted for preparing animal feeding-stuffs | |
Mixing animal food ingredients |
In this place, the following terms or expressions are used with the meaning indicated:
stock | animals kept or raised for use or pleasure |
This place covers:
Devices for mixing or shredding and distributing fodder.
- may be mountable on vehicle.
Details therefor, e.g. cutter blade, loaders, etc.

This place does not cover:
Cutting apparatus specially adapted for cutting hay, straw or the like |
Attention is drawn to the following places, which may be of interest for search:
Mixing cattle, poultry, stock or game food |
This place covers:
Fodder distributors including a mixing or rotating element on a horizontal axis.
may be mountable or attachable to vehicle, e.g. tractor.
Details therefor, e.g. screws, cutting blade, scraping blades, etc.
Devices may include on or more mixing units, dispensing apparatus, etc.

Attention is drawn to the following places, which may be of interest for search:
Mixers; stirrers rotating about a horizontal/inclined axis |
This place covers:
Fodder distributors including a mixing or rotating element on a vertical axis.
may be mountable or attachable to vehicle, e.g. tractor.
Devices may include weighing machine, mixing container, loading mechanism etc.
Details therefor, e.g. blades, etc.

Attention is drawn to the following places, which may be of interest for search:
Mixers; stirrers rotating about a vertical axis |
This place covers:
Devices including a conveyor or slide to mixing or shredding elements, including transversal and horizontal axes.
- may be mountable or attachable to vehicle, e.g. tractor.
- may include bale un-roller, bale loosening system, (un)loader, etc.
Details therefor, e.g. ejector, mixer, cutter, etc.

This place covers:
Devices with an endless chain or endless belt conveyor surrounding an internal area in which fodder is mixed or shredded:
- may be attachable to vehicle; or
- mixing element may be movable.
Details therefor, e.g. measuring equipment, cutting member.
Illustrative example of subject matter classified in this place:

This place covers:
Feed bags or nets, mostly for horses.
Details therefor, e.g. attachments for feed bags, etc.
Bucket holders, e.g. for rearing calves, etc.
Feeding containers for animals, pig troughs, bracket for animal feeders, etc.
Devices may be portable, collapsible, etc.

This place covers:
Animal feed containers that are receptacles specifically designed to receive and hold feed accessible to animals via an opening in the receptacle. Feed containers found here usually have closed sides and an open top for animal access, but may also have animal access openings in the sides or bottom of the containers.
May include cover lid.
Feed troughs, typically long and shallow open-topped feed receptacles, may include reservoir.
Holder for feeding trough or pail, e.g. bucket holder.
Feeding devices, may be movable, mountable (on walls or vehicles), portable or adjustable.
Feeding devices may be automatic, may include a weighing device or lifting system.
Illustrative examples of subject matter classified in this place:
1.

2.

Attention is drawn to the following places, which may be of interest for search:
Housing animals; Equipment therefor | |
Devices for use in keeping domestic animals | |
Feeding or drinking devices associated with cages | |
Licking-stone holders | |
Automatic feeding devices | |
Gravity replenishment from a reserve | |
Automatic feeding devices with timing mechanisms | |
Watering equipment for stock or game | |
Apparatus for treating of silage, e.g. upgrading with water |
Feed racks, which have open frameworks, e.g. open slat-work, grids, bars or rails, are classified in group A01K 1/10.
Feed troughs and feed throwers for poultry or other birds are classified in group A01K 39/014.
This place covers:
Transportable feeding containers:
- may be collapsible or portable;
- may include watering devices; or
- may include shelter for animals.
Devices may be mountable on vehicle.
Details therefor, e.g. coupling system.
Illustrative example of subject matter classified in this place:

Transportable feed racks, i.e. having an open framework of bars, rails, are classified in group A01K 1/10.
This place covers:
Feed containers or troughs having barriers or other elements to slow the ingestion and intake of food, e.g. for livestock.
Means to slow the ingestion and intake of food may be stationary or movable, e.g. a gravity barrier that lowers with a level of food as the food is consumed.
Illustrative examples of subject matter classified in this place:
1.

2.

This place covers:
Feeding devices for pets, e.g. cats and dogs:
- may include aroma or insect repelling devices;
- may be automatic, portable or collapsible; or
- may include animal detection system.
Feed bowl support devices, coverings for feed bowls.
Illustrative example of subject matter classified in this place:

This place does not cover:
Automatic feeding devices with timing mechanisms |
Attention is drawn to the following places, which may be of interest for search:
Treat dispensers | |
Toys specially adapted for animals |
This place covers:
Pet feeders for using one or several times before disposal which can be intended for travelling. These pet feeders can contain food and be covered by a film before use.

Attention is drawn to the following places, which may be of interest for search:
Disposable liners |
This place covers:
Pet food containers intended for liner or a single liner therefor.
Means to hold a liner in a pet food container.

This place covers:
Pet containers with means for avoiding spilling the contained food.

This place covers:
Pet food containers with means to prevent other animals or insects from accessing the food contained. The pet food containers can have provisions for raising a height of the food container, provisions for trapping or repelling insects that attempt to access the food, surface features preventing insect access, etc.

Attention is drawn to the following places, which may be of interest for search:
With doors or lids activated by the animals to access feeding place or trough |
This place covers:
Licking-stone holders (minerals, salt), mostly for pets and farm animals:
- may be inserted in an animal feed container.
Details therefor, e.g. hoops for protection.
Also, liquid minerals supplement holder for licking.
Illustrative example of subject matter classified in this place:

Attention is drawn to the following places, which may be of interest for search:
Salt blocks |
This place covers:
Automatic feeding devices and apparatus for controlling or monitoring animal feeding:
- by means of computer systems, sensors or solar actuated.
Devices may control animal drug usage, feed components, temperature of food, mixture.
Devices may include weighing apparatus or dosage system.
Details therefor, e.g. valve, gate device for automatic feeding apparatus.
Illustrative example of subject matter classified in this place:

This place does not cover:
Automatic identification devices for stock |
Attention is drawn to the following places, which may be of interest for search:
Feeding or drinking devices associated with cages | |
Milking stations | |
Feed troughs; Feed pails | |
Loading or distributing arrangements in forage silos |
Feeding devices for poultry or other birds filling automatically are classified in group A01K 39/012.
Combined feeding and drinking appliances for poultry or other birds are classified in group A01K 39/04.
This place covers:
Automatic feeding devices with conveyor belts or the like.
Weighing or dosing means may be incorporated.
Devices may include apparatus for tensioning a belt, belt retainer, stop device, etc.
Devices may be adjustable.
Cleaner apparatus for feeding devices with conveyor belt.

This place covers:
Devices for (automatically) distributing fluid fodder, e.g. milk, slurry or paste, or other fluids, e.g. medication.
Devices may include, pumps, valves, pipes, dosage systems, containers, heaters, dispensing means (incidentally teats).
Mixing devices to prepare the fodder.
Cleaning devices therefor.
Devices may be mountable on vehicles, e.g. trolleys.
Dispensing means may include licking wheels or balls.
Supply of liquid and solid mixture of animal feedstuffs, e.g. water pipe for pig's fodder.
Illustrative examples of subject matter classified in this place:
1.

Figure 1 illustrates a method for distributing liquid fodder.
2.

This place does not cover:
Sucking apparatus for young stock |
Attention is drawn to the following places, which may be of interest for search:
Feed troughs; Feed pails | |
Watering equipment for stock or game | |
Feeding or drinking appliances for bees | |
Apparatus specially adapted for preparing animal feeding-stuffs | |
Mixing, e.g. dissolving, emulsifying or dispersing |
Nipple drinkers for poultry or other birds are classified in group A01K 39/0213.
This place covers:
Devices that supply or mix solid and liquid animal feedstuffs for dispensing to the animal.
Feeders with integrated water supply, mostly activated by animal itself, to mix with solid food in tray.
Illustrative examples of subject matter classified in this place:
1.

2.

This place covers:
Feeding devices combined with a hopper or the like, e.g. combination hopper-trough, where feed is automatically refilled into, for example, a feed pan or trough, by gravity flow.
May include drinking device.
Devices may include, dosing, weighing or timing means, e.g. pet feeder.
Details therefor, e.g. gate mechanism, dispensing mechanism, mixer.
Self-feeding silos.
Illustrative example of subject matter classified in this place:

This place does not cover:
Feeding devices for poultry or other birds filling automatically |
Attention is drawn to the following places, which may be of interest for search:
Feeding or drinking devices associated with cages | |
Feed troughs; Feed pails | |
Licking-stone holders | |
Automatic devices for the distribution of liquid fodder | |
Automatic devices with mechanisms for delivery of measured doses | |
Automatic feeding devices with timing mechanisms | |
Watering equipment for stock or game |
This place covers:
Feeding devices dispensing by dosing means, actively operated by the animal.
Dosing devices may operate by means of e.g. a counter weight, remote control, valves, ball check, nipple feeder, etc.
may be in combination with a trough unit, feed transport device, drinking device, etc.
Devices may dispense solid or liquid food.

This place covers:
Feeding devices dispending by means of stirring mechanisms or agitators operated by the animal.
By means of a (rotating) wheel, rotor blades, ball check, a rod, deflector, etc.
Feeding devices may include water system.
Devices may dispend solid or liquid food.

This place covers:
Feeding devices with access to feeding place or trough only possible through access doors or lids to be opened by the animal.
Doors or lids may be opened by means of a (reciprocating) closure unit, opened and closed by activation unit, e.g. it may be activated by the weight of an animal, a registration system using a sensor.
Doors or lids may be activated by weight of animal, a registration system (sensor), animal identification, timer.
Feeding devices may include controllable gates.
Details therefor, e.g. hinge mechanisms.
Illustrative example of subject matter classified in this place:

Attention is drawn to the following places, which may be of interest for search:
Automatic devices for opening food cartridges |
This place covers:
Automatic feeding devices with endless screw.
- may include a hopper, adjustable (un-) loader, feed lever sensor, feed intake cup apparatus, etc.
- may be computer controlled.
- may be movable, attachable to wall, etc.

This place covers:
Automatic feeding devices by means of trolleys for animals in stables (including poultry if therein):
- may include a reserve (e.g. one or more hoppers), mixing device, timing device or dosing device, identification device.
Trolleys may be movable by rails, tracks, attachable to vehicle, e.g. tractor.
Movements may be reciprocating, e.g. along a circular path.
Illustrative example of subject matter classified in this place:

Attention is drawn to the following places, which may be of interest for search:
Feeding devices for stock or game | |
Automatic devices with mechanisms for delivery of measured doses | |
Loading or distributing arrangements in forage silos | |
Apparatus specially adapted for preparing animal feeding-stuffs |
Feed racks with movable feed barriers, slides or fences are classified in group A01K 1/105.
Feeding devices for poultry or other birds are classified in group A01K 39/01.
This place covers:
Feeding devices by means of mechanisms for delivery of measured doses:
- may transport solid and/or liquid food. Water devices may be included.
Devices may include means of weighing, timing mechanisms, metering units, hoppers, conveyors or mixing devices.
Details therefor, e.g. pipes or valves.

Attention is drawn to the following places, which may be of interest for search:
Dosing means actively operated by the animal | |
Automatic drinking devices for stock or game | |
Other apparatus for animal husbandry | |
Other aviculture appliances | |
Feeding devices for fish | |
Animal feeding-stuffs | |
Apparatus specially adapted for preparing animal feeding-stuffs |
Feeding devices for poultry or other birds filling automatically are classified in group A01K 39/012.
This place covers:
Automatic feeding devices with mechanics for delivery of measured doses by means of weighing.
Weighing may occur at any point of the system (starting e.g. at the silo).
Weighing of feed for animals (any kind) may be included.
Weighing may be for food delivered to but not eaten by an animal, i.e. remaining feed.
Devices may include a timing device, sensor.
Included are weighing means for controlling the duration of distribution to stations where no weighing occurs.
Illustrative example of subject matter classified in this place:

Attention is drawn to the following places, which may be of interest for search:
Other apparatus for animal husbandry |
Feeding devices for poultry or other birds filling automatically are classified in group A01K 39/012.
This place covers:
Devices for automatically opening food containers for dispensing to an animal.
Illustrative example of subject matter classified in this place:
1a.

1b.

1c.

Attention is drawn to the following places, which may be of interest for search:
Hand- or power-operated devices for opening closed containers |
This place covers:
Automatic feeding devices with timing mechanisms. For all kinds of animals.
Timing mechanisms must be of some specific importance.
Devices may include dosing means, weighing apparatus, etc.
Access can be given by opening lids, dispensing food, discovering bowls, switching off electric barriers, etc.

Attention is drawn to the following places, which may be of interest for search:
Feed troughs; Feed pails | |
Dosing feed | |
Other apparatus for animal husbandry | |
Aquatic animals feeding devices | |
Preparing foodstuff |
This place covers:
Watering equipment for animals, e.g. troughs, buckets or bowls, which can be portable, foldable, elevated or collapsible.
The watering devices can include fastening means, temperature controlling systems or anti-freeze.
Details therefor, e.g. drinking fountains, vessels or teats.
Devices may be combined with feeders.
Troughs may have water in- and outlets.
Illustrative example of subject matter classified in this place:

Examples of places where the subject matter of this place is covered when specially adapted, used for a particular purpose, or incorporated in a larger system:
Feeding or drinking appliances for bees | |
Feeding or watering for insects |
Attention is drawn to the following places, which may be of interest for search:
Feeding or drinking devices associated with cages | |
Feed troughs; Feed pails | |
Sucking apparatus for young stock |
Combined feeding and drinking appliances for poultry or other birds are classified in group A01K 39/04.
This place covers:
Drinking bowls for animals having features preventing egress of liquid, usually for when the animal is drinking from the bowl.

This place covers:
Automatic watering devices, disclosing several of the features of groups A01K 7/022- A01K 7/06.
Devices may deliver medicine, disinfectants, e.g. vaccination delivery system.
Devices may comprise feeding system.
Devices may be controlled by weight or level of water, e.g. water-level regulator, etc.
Feed-moisturizing devices, without feeder characteristics.
Devices may include dosing system, filling system, identification system, time-controlling system, anti-freeze devices, etc.

Attention is drawn to the following places, which may be of interest for search:
Feeding or drinking devices associated with cages | |
Feed troughs; Feed pails | |
Preparing feed fluid | |
Watering equipment for stock or game | |
Sucking apparatus for young stock | |
Drinking appliances | |
Water valves | |
Dosing |
This place covers:
Watering devices including pumps actuated by the drinking animal, e.g. piston pumps, vane pumps.
Pump may be actuated by means of a pedal, movement detector.
Illustrative example of subject matter classified in this place:

This place covers:
Watering devices where a tank aspect is included.
Details or systems for tanks or containers, e.g. connections therefor, etc.
Devices may include filters, troughs or valves, etc.

Attention is drawn to the following places, which may be of interest for search:
For the distribution of liquid fodder | |
Watering equipment for stock or game |
This place covers:
Watering devices where a heating, cooling or insulating aspect is included.
The watering devices can include anti-burst devices, e.g. expansion plugs.
Illustrative example of subject matter classified in this place:

Attention is drawn to the following places, which may be of interest for search:
Ice-fishing hole heater |
This place covers:
Devices to deliver into the drinking water a medicine, disinfectants, supplements, minerals, vitamins or similar, e.g. vaccination delivery systems.
May include dosing mechanisms, timers, identification systems.
Illustrative examples of subject matter classified in this place:
1.

2.

This place covers:
Automatic drinking devices actuated by floats.
Details therefor, e.g. float valve mechanism, valves, etc.
Water control valve may be adjustable.
Devices may include feeding system.

This place covers:
Automatic drinking devices actuated by the animal, by means of valves.
Devices may include bowl, troughs, cups, etc.
Actuation may be indirect, e.g. step-board switch.
Auxiliary features therefor, e.g. heating, fastening, etc.
Devices may be frost-proof.
Valves for liquids actuated by adult animals.
No pump present, only a valve to open the flow.

This place does not cover:
Nipple drinkers for poultry |
Attention is drawn to the following places, which may be of interest for search:
Automatic devices for the distribution of liquid fodder | |
Pumps actuated by the drinking animal | |
Sucking apparatus for young stock. | |
Teats or nipples | |
Valve features |
This place covers:
Devices for mixing or delivering liquid feed, e.g. milk substitute, to feeding devices for young animals.
Details therefor, e.g. teats, guiding means (e.g. moving grids), weighing means, mixing devices.
Devices may be movable, e.g. on stable rails.
Devices may include sensors, dry feeding system.
An additional ingredient may be added, e.g. medicine.
Buckets with suction nipples for calves.
Illustrative example of subject matter classified in this place:

Attention is drawn to the following places, which may be of interest for search:
Feeding devices for stock or game | |
Automatic devices for the distribution of liquid fodder | |
Watering equipment for stock or game | |
Feeding or drinking appliances for poultry or other birds | |
Incubators for poultry |
This place covers:
Teats and nipples for animal feeding devices, mostly for liquid food, e.g. milk.
Teats may include a sensor for determining values, e.g. resistivity, temperature, etc.
Details therefor, e.g. valve assembly to control fluid movement, etc.

This place does not cover:
Teats for feeding bottles for humans |
Attention is drawn to the following places, which may be of interest for search:
Automatic devices for the distribution of liquid fodder | |
Automatic watering devices actuated by the animal | |
Teats or nipples for poultry or other birds |
This place covers:
Identification marks, e.g. tags, buttons, rings, collars, for animals other than birds or fish.
- may be attachable to neck, tail, leg, etc. of the animal, or sticking labels.
- may contain pesticides, ID-transmitters, electronic memory element etc.
Tools for applying marks, dying devices for marking animals.
ID-codes suitable for marks.
Biologically marking methods and apparatus, e.g. applying antigen.

This place does not cover:
Marking poultry or other birds |
Examples of places where the subject matter of this place is covered when specially adapted, used for a particular purpose, or incorporated in a larger system:
Marking of fish |
Attention is drawn to the following places, which may be of interest for search:
Nose-rings; Fastening tools therefor... | |
Sorting, grading, counting or marking live aquatic animals | |
lead-sealing pliers | |
Sealing pliers... | |
Tag application... | |
Tags, labels... |
This place covers:
Ear-tags for marking animals, mostly cattle.
Details therefor, e.g. locking system, security features, etc.
Ear-tags may include transponder housing, insecticide dispenser, identification system, etc.
Devices for applying ear-tags.

This place covers:
Ear-tag applicators, mostly for cattle:
- may include movable applicator member; or
- may be power driven.
Tag punch system for punching symbols into tags.
Details therefor, e.g. security features, locking members.
Illustrative example of subject matter classified in this place:

Attention is drawn to the following places, which may be of interest for search:
Devices for piercing the ear-lobes |
This place covers:
Ear-tags combined with means for taking tissue samples.
Attention is drawn to the following places, which may be of interest for search:
Instruments for taking cell samples or for biopsy | |
Means for severing sample |
This place covers:
Ear tags including devices for the purposes of electronic identification of the animal.
Such devices may send (e.g. via a transmitter, transceiver or transponder) or receive (e.g. via a receiver, transceiver or transponder) signals for identifying the animal wearing the ear tag.
Electronic identification means may be used, for example, to associate monitoring data with an individual animal, or to control the movement, feeding, or other behaviour of individual animals.
Illustrative examples of subject matter classified in this place:
1.

Figure 1 illustrates an animal identification chip.
2.

3.

Attention is drawn to the following places, which may be of interest for search:
Automatic identification systems for animals |
This place covers:
Tattooing devices; small-holes punching devices.
- details therefor, e.g. needles, tattooing paste, etc.
Branding devices, e.g. branding iron.
Marking by means of freezing.
Marking by means of stamping or dying.
Marking devices for detection of mating, e.g. oestrus detector device, etc.
Marking fluids.
Marking carcasses in the above ways.
Marking may be automatic, by explosives (e.g. tattoo-gun), by hand, etc.

Attention is drawn to the following places, which may be of interest for search:
Marking poultry or other birds | |
Marking carcasses for splitting | |
Marking meat | |
Tattooing in general |
This place covers:
Devices for electronic livestock data collection, e.g. transponder systems.
Automatic coding or decoding of identity information, also registration of additional information, e.g. on milk yield, weight.
Transmission of such information, e.g. by microwaves, radio frequency.
Processing of such information, e.g. the display.
System may include automatic feeding.
Manual intervention may be involved, e.g. for actuating checking device.
Methods for locating animals.
Illustrative example of subject matter classified in this place:

This place does not cover:
Identification systems for access to feeding pens | |
Ear tags with electronic identification means |
Attention is drawn to the following places, which may be of interest for search:
Automatic devices with mechanisms for delivery of measured doses | |
Anti-evasion devices for animals | |
Monitoring or measuring activity of animals | |
Remote monitoring of patients using telemetry | |
Implantable medical transmitters | |
Identification | |
Identification means for patients or instruments, e.g. tags using electromagnetic means, e.g. transponders | |
Sorting apparatus characterised by the means used for distribution | |
Systems using the reflection or reradiation of radio waves, e.g. radar systems | |
Radar | |
Access control involving ID tag | |
Portable transmitters to be carried on the body |
This place covers:
Devices, mostly placed or inserted in the stomach of a ruminant animal, for determining the physical state of an animal, and/or identifying an animal.
Monitoring/identification system therefor.

Attention is drawn to the following places, which may be of interest for search:
Surgical instruments for veterinary use | |
Rumen, e.g. rumen bolus as medicinal preparation |
This place covers:
Methods for locating animals with GPS, usually by incorporating GPS technology within animal transponders or unique identifiers.
Collars or similar articles with GPS for locating animals, e.g. locating pets outside specific areas.
Position detectors that acquire positional information using a global navigation satellite system (GNSS) on the domestic animals.
Illustrative example of subject matter classified in this place:

Collars or similar articles for anti-evasion purpose, normally associated to one or more areas and adapted for pets, are classified in group A01K 15/023.
Collars or similar articles with anti-barking devices are classified in group A01K 15/022.
This place covers:
Applying substances onto or into animal's bodies, not covered by other groups, nor restricted to veterinary art.
Improving the comfort of an animal, by means of cooling, heating, watering devices, blowing air.
Grooming stands.
Devices for preventing unhealthy behaviour of animals, e.g. anti-crib-biting devices.
Improving atmosphere by, e.g. electrical field.
Cutting claws.
Wellness treatments, e.g. sauna, light therapy treatment.
Illustrative example of subject matter classified in this place:

This place does not cover:
Tail-holders as part of the harness |
Examples of places where the subject matter of this place is covered when specially adapted, used for a particular purpose, or incorporated in a larger system:
Milking machine accessories for treatment of udders or teats | |
Washing devices or gaseous curative baths specially adapted to veterinary purposes |
Attention is drawn to the following places, which may be of interest for search:
Housing animals | |
Tethering-poles or the like | |
Devices for fastening animals | |
Devices for taming animals | |
Training or exercising equipment | |
Devices for impeding movement; Devices for impeding passage through fencing | |
Dehorners; Horn trainers | |
Other apparatus for animal husbandry | |
Farriers stands | |
Apparatus or use of substances for the care of hoofs | |
Apparatus for fettering animals to be slaughtered | |
Removing feet or hooves from carcasses | |
Nail clippers or cutters | |
Veterinary instruments, e.g. fetlock rings (bandages, poultices) | |
Surgical instruments for veterinary use | |
Devices for trimming, cutting, cauterising beaks, spurs or the like, of poultry or other birds | |
Cropping devices for tails or ears | |
Heating or cooling appliances for medical or therapeutic treatment of the human body | |
Hand-held cutting tools, e.g. scissors |
In this place, the following terms or expressions are used with the meaning indicated:
fetlock ring | a ring (typically rubber) placed around the fetlock joint to prevent a horse kicking its own feet when walking, and to encourage a wider gait. Often used for horses with close hind feet. |
This place covers:
Devices for cleaning, washing and/or drying animals.
may be automatic.
may be stationary, transportable or portable.
may include brushes.
The cleaning may include disinfecting, deparasitation.
Bathing devices for animals other than birds.
(Sheep-) dipping devices.
Sand-bathing devices, e.g. for chinchillas

This place does not cover:
Applying medication upon animals | |
Medical washing devices |
Attention is drawn to the following places, which may be of interest for search:
Devices for use in keeping domestic animals | |
Devices for grooming or caring of animals | |
Curry-combs; Shearing sheep chemically | |
Training or exercise equipment | |
Housing birds | |
Other aviculture appliances | |
Udder-cleaning with milking machines | |
Cleaning cow's teats | |
Apparatus or use of substances for the care of hoofs | |
Body-drying implements; Toilet paper; Holders therefor | |
Domestic washing or cleaning | |
Apparatus for drying solid materials or objects at rest |
This place covers:
Animal grooming devices, e.g. combs, scrapers or brushes:
- may be hand held or automatic; or
- may include dispensing means, for e.g. medicine, pesticides.
Application may be for parts of the body other than the skin or fur, e.g. toothbrushes.
Hair removal with curry combs or similar.
Illustrative example of subject matter classified in this place:

This place does not cover:
Shearing sheep |
Attention is drawn to the following places, which may be of interest for search:
Washing, cleaning, or drying devices | |
Devices for applying insecticides or medication | |
Rubbing posts | |
Removing the fleece from live sheep or similar animals | |
Apparatus or use of substances for the care of hoofs | |
Scalding; Scraping; Dehairing; Singeing carcasses | |
Hair combs for care of the hair | |
Retractable or collapsible bristle carriers arranged in the brush body | |
Instruments for treating animal's teeth | |
Hand-held cutting tools |
This place covers:
Animal grooming devices including suction means for collecting or aiding in removing hair, fur or other debris from the animal.
Illustrative examples of subject matter classified in this place:
1.

2.

3.

Attention is drawn to the following places, which may be of interest for search:
Brushes fitted with ventilation suction | |
Suction cleaners in general |
This place covers:
Devices for applying insecticides, disinfectant or medication to animal skin (outside or in chambers):
- mostly by means of spraying, but also dipping or brushing; or
- may be combined with feeding device.
Dust bags, e.g. for dogs.
Non-animal-actuated or non-contact animal oilers.
Fly traps.
Illustrative example of subject matter classified in this place:

This place does not cover:
Collars with insecticide-dispensing means |
Attention is drawn to the following places, which may be of interest for search:
Marking of animals | |
Washing, cleaning or drying devices | |
Curry combs | |
Liquid or pasty material dispensers actuated by animal contact, e.g. greasers or lubricators | |
Rubbing posts | |
Biocides, pest repellants or attractants | |
Devices or methods for introducing solid, liquid or gaseous remedies or other materials into or onto the bodies of animals |
This place covers:
Devices for applying fluid, liquid or powder to an animal, by which the fluid, liquid or powder is dispensed to the animal upon rubbing, scratching or other contact initiated by the animal against the device, e.g. oilers.
Liquid applicators may include reservoirs for holding treatment liquid or wicking devices for application thereof to the animal. Liquid applicator may form a barrier, e.g. doorway or partition, through or with which an animal is incumbent to make contact during travel.
Illustrative examples of subject matter classified in this place:
1.

Figure 1 illustrates a hog oiler.
2.

Figure 2 illustrates an insecticide application structure.
Where the primary intent of an invention is for an animal to scratch itself or rub, without liquid applicator, then classification in group A01K 13/004 is appropriate.
Animal oilers without scratching action are classified in group A01K 13/003.
This place covers:
Post- or rod-supported devices enabling animals to rub and scratch themselves.
May be automatic (motor action), computer regulated.
May be actuated by animal.
Doors with brushes incorporated, e.g. for cats.
Illustrative example of subject matter classified in this place:

Attention is drawn to the following places, which may be of interest for search:
Housing for domestic or laboratory animals | |
Curry combs; Brushes | |
Devices for applying insecticides or medication | |
Liquid or pasty material dispensers actuated by animal contact, e.g. greasers or lubricators | |
Scratching devices, e.g. for cats |
This place covers:
Tail holders, mostly for cows or horses.
- may be attachable to animal or wall of stable.
- may be disposable.
Tail lengthener for horses.
Anti-kick apparatus for cows.
Horse tail braid or similar.

Attention is drawn to the following places, which may be of interest for search:
Tail holders as part of harness |
This place covers:
Protective garment or blankets for animals, e.g. support garment.
- may be heat retaining, heat-reflecting, bullet-proof, etc.
- may leave parts of the body open for treatment.
- may be sprayed-on films, e.g. naked sheep.
Devices for movement restriction.
Protective footwear and leg protectors for animals.
Udder and teat protectors.
Animal tail control/ protection devices.
Protective devices for scaring insects, e.g. fringes, face mask, etc.
Collars for preventing animals from licking/ biting e.g. their wounds.
Devices for protecting limbs or other parts from knocking against each other.
Artificial horns, horn protectors.

This place does not cover:
Attention is drawn to the following places, which may be of interest for search:
Devices for grooming or caring of animals | |
Washing, cleaning, or drying devices | |
Curry-combs; Shearing sheep chemically | |
Devices for impeding movement, passage through fencing | |
Devices for assisting or preventing mating | |
Constraining birds | |
Other aviculture appliances | |
Coating for dehairing | |
Blankets | |
Horse protectors | |
Bottom pads or clothes for saddles | |
Covers for animals when working | |
Heat protectors |
This place covers:
Foot protection systems for animals.
Hoof shoe, may be permanently or temporarily attachable.
- may be elevated, elastic, etc.
Knee protection systems, e.g. knee caps.
Ankle protection systems.
Claw protection cover for cats.
Devices may include protection against insects.
Sheets for cooling the legs.
Boots for dogs and cats.

Attention is drawn to the following places, which may be of interest for search:
Hoof caring |
This place covers:
Blankets, mostly for horses.
- may be heat-reflective, waterproof, breathable, heat retaining, windproof, etc.
Details therefor, e.g. fastening means, etc.
Therapeutic blankets, e.g. magnetic blanket.
Blankets may contain an anti-rubbing devices.
Blankets may have anti-insect cover.

This place covers:
Removing the fleece from live sheep or similar animals, by means of a net, e.g. a fleece retention coat.
Chemical sheep shearing, e.g. by applying coatings.
Wool harvesting systems.
Systems for processing waste products of wool harvesting.

This place does not cover:
hand-held clippers or shavers with a plurality of cutting edges, specially adapted for shearing animals, e.g. sheep |
Attention is drawn to the following places, which may be of interest for search:
Curry-combs; Brushes | |
Clippers or shavers of the reciprocating-cutter-type | |
Clippers or shavers specially adapted for shearing animals, e.g. sheep |
This place covers:
Devices for handling or restraining animals:
- may be movable, portable, rotatable.
Animal catching devices.
Animal carrying devices.
Restraining devices for research tables.
Devices may include lifting mechanisms.
Sheep rollover devices.
Neck or head holding devices.
Illustrative example of subject matter classified in this place:

The Figure illustrates a perspective view of the harness arrangement in the transport mode.
Attention is drawn to the following places, which may be of interest for search:
Devices for immobilisation or restraint of animals | |
Arrangements for supporting or fettering animals for veterinary purposes |
In this place, the following terms or expressions are used with the meaning indicated:
hobble | a device restricting an animal's leg movement to impede its ability to stray or run |
This place covers:
Nose-rings, which can include e.g. anti-bite devices, fastenings, etc.
Devices for applying a nose-ring.
Devices for catching or holding any animals, which can be hand-held.
Devices for controlling animals by mainly squeezing a part of the body, mainly the nose, e.g. animal twitch.
(Cattle) pods, non-electrical.
Lassos. Holders and containers therefor, etc.
Bull halters.
Devices can be vehicle-mounted, or combined with trolleys.
NB. Not included are: (movable) confinement devices
Attention is drawn to the following places, which may be of interest for search:
Stable partitions | |
Devices for immobilisation of animals | |
Pasturing equipment | |
Marking of animals | |
Devices for impeding passage of animals under fences | |
Electric or similar shock devices for livestock, e.g. prods | |
Devices for impeding movement | |
Gaffs | |
Traps | |
Driving devices in slaughterhouses | |
Noose equipment. Boathooks and the like |
This place covers:
Devices for restraining animals from attacking.
Movement control devices for animals, e.g. restraining devices for neck and head.
Animal pokes.
Animal yokes.
Illustrative example of subject matter classified in this place:

Attention is drawn to the following places, which may be of interest for search:
Muzzles |
This place covers:
Devices for training or exercising animals.
Devices for entertaining animals, e.g. toys, may be edible.
Details therefor, e.g. sensors.
Training devices used by cowboys to train animals.
Anti-butting devices, animal repellent devices, cow trainers, chemical agents, treadmills, electric prods, radio or satellite control.
Illustrative example of subject matter classified in this place:

This place does not cover:
Devices for impeding movement |
Attention is drawn to the following places, which may be of interest for search:
Devices for use in keeping domestic animals | |
Grids for preventing cattle from straying through an open passage of an enclosure | |
Electrified fencing for pastures | |
Automatic feeding devices with timing mechanisms | |
Automatic identification systems for animals | |
Devices for taming animals, e.g. nose-rings or hobbles; Devices for overturning animals in general | |
Leads or collars | |
Other apparatus for animal husbandry | |
Other aviculture appliances | |
Scaring or repelling devices, e.g. bird-scaring apparatus | |
Hunting appliances | |
Washing devices or gaseous curative baths specially adapted to veterinary purposes, e.g. water therapy | |
Treadmills | |
Race-courses; Race-tracks | |
Equipment or accessories for racing or riding sports | |
Sticks with electric stunning-means | |
Biological systems specially adapted for detection of landmines, e.g. with detection by animals or plants | |
Investigating fuels or explosives | |
Circuits for electric shock devices |
This place covers:
Devices which distribute treats to the pet in furtherance of training, exercising or entertaining thereof.
Devices can dispense treats automatically, e.g. using a timer or controller, or be human- or animal-actuated.
Illustrative examples of subject matter classified in this place:
1.

2.

Attention is drawn to the following places, which may be of interest for search:
Feeding devices for stock or game | |
Toys specially adapted for animals |
This place covers:
Maze devices through which an animal travels, intended to be used for exercising, training or entertaining.
Illustrative example of subject matter classified in this place:

Attention is drawn to the following places, which may be of interest for search:
Cages for laboratory animals |
This place covers:
Devices for training of animals to detect scents, e.g. drug sniffing, clinical diagnostics, explosives detection.
Training for smell detection, e.g. to follow clues or detect drugs.
Sniffer dogs training.
Illustrative example of subject matter classified in this place:

Attention is drawn to the following places, which may be of interest for search:
Biological systems specially adapted for detection of landmines, e.g. with detection by animals or plants | |
Investigating or analysing fuels or explosives |
This place covers:
Training apparatus, by means of electronic devices specially adapted for dogs or cats:
- may operate by means of electric shocks, vibrations, sound; or
- may include pet identification or location system, e.g. global positioning system [GPS].
Training may relate to leash training, food training, potty training or other behavioural training.
Details therefor, e.g. remote control.
Devices for controlling animal behaviour.
Illustrative examples of subject matter classified in this place:
1.

Figure 1 illustrates animal deterrent and training device.
2.

Figure 2 illustrates a pet alert system.
Attention is drawn to the following places, which may be of interest for search:
Automatic identification systems for animals | |
Transmission of position information to remote stations | |
Alarms for ensuring the safety of persons | |
Recognition of animal voices |
Collars having any electronic correction means for deterring a pet from barking, are classified in group A01K 15/022.
Collars having any electronic correction means for preventing or deterring a pet from leaving or entering a determined area or location, are classified in group A01K 15/023.
Livestock collars having electronic shock features, are classified in group A01K 15/029.
Collars having electric shock or sound-wave, radio-wave or magnetic-wave features for preventing or deterring a pet from behaviour not related to barking or movement or location of the pet, are classified in group A01K 27/009.
This place covers:
Anti-bark devices.
By means of collars including shock, cold fluid, high frequency devices, etc.
Details therefor, e.g. vibration sensor, etc.

This place covers:
Satellite animal confinement systems, e.g. global positioning. Electronic animal confinement systems, ultrasonic animal deterrent system, echo-ranging electronic boundary system, etc.
Animal repelling devices.
Devices may include bark-inhibitor.
Details therefor, collars in combination with an anti-evasion device.

Attention is drawn to the following places, which may be of interest for search:
Automatic identification systems for animals incorporating GPS | |
Burglar, theft or intruder alarms |
This place covers:
Scratching devices, e.g. for cats.
- may be attachable to wall, door, furniture, etc.
- may include cat housing, feeding device, toys, perch, etc.
Climbing posts including scratching devices.
Litter boxes with abrasive surface.

Attention is drawn to the following places, which may be of interest for search:
Curry-combs; Brushes | |
Rubbing posts | |
Absorbent pads characterised by the use for animals |
When the scratching action is meant for the body of the animal that rubs itself, then it is considered a rubbing post and is covered by A01K 13/004.
If the scraping action is done to the animal, not by the animal itself, then it is considered like a comb and is covered by A01K 13/002.
When the scratching post is interpreted as used for the filing of claws, not for scratching the body, it is covered by A01K 15/024.
This place covers:
Toys which are intended to be played with by an animal.
May have edible components.
Toys may be attachable to wall.
Toys may be scented, spinning or reelable.
Toys may include food, sound devices or (moving) light beams.
Crawling tubes for small pets.
Toys may include exercise devices.
Illustrative example of subject matter classified in this place:

Attention is drawn to the following places, which may be of interest for search:
Devices for use in keeping domestic animals | |
Treat dispensers | |
Toys in general |
This place covers:
Toys intended to be thrown or otherwise propelled a distance, for retrieval by an animal.
Devices to launch fetching toys.
Launching devices can be manual or automatic.
Illustrative example of subject matter classified in this place:

The Figure illustrates sunlight being diffused or scattered by the anti-glare finish, allowing a pursuing canine to make a catch without being temporarily blinded by the reflected sunlight.
Attention is drawn to the following places, which may be of interest for search:
Solid balls | |
Implements for throwing in general |
This place covers:
Toys specifically designed to be for cats, e.g. hanging toys, toys which resemble mice or other prey, or laser pointers.
Toys which encourage predatory behaviours in cats, e.g. pouncing, launching.
Illustrative examples of subject matter classified in this place:
1.

2.

3.

This place covers:
Toys that emit an audible sound when compression is applied to the surface thereof.
Toys may include:
- air vents or other integral structures which emit the audible sound upon application of pressure; or
- a separate internal device which emits the sound when pressure is applied thereto.
Illustrative example of subject matter classified in this place:

Toys which do not require compression or squeezing to emit sound, e.g. having a timer or rattle members which emit noise upon movement of the toy, are classified in group A01K 15/025.
This place covers:
Toys for pets that are constructed for chewing by an animal.
Toys may have raised, depressed, or other surface features that aid in dental health of pets or enhance the attractiveness of the toy to a pet.
Attention is drawn to the following places, which may be of interest for search:
Composition of toys made of animal feeding-stuffs per se |
This place covers:
Animal exercising devices (often for horses), by means of endless belts, treadmills:
- may include monitoring systems; or
- may include tracking, e.g. GPS.
Exercising systems for improving the performance of animals during races or providing feedback during training.
Details therefor, e.g. detachable harness assembly.
Running wheels for small animals.
Devices may be attachable to a vehicle, transportable.
Dog jumping devices.
Swimming pools for training animals.
Illustrative examples of subject matter classified in this place:
1.

Figure 1 illustrates an automatic horse walker.
2.

Figure 2 illustrates a sprint training exercise system.
Attention is drawn to the following places, which may be of interest for search:
Training or exercising equipment comprising fitness monitoring devices, e.g. for equines or dogs | |
Gait analysis | |
Training appliances or apparatus for special sports simulating the movement of horses | |
Race-courses; Race-tracks | |
Race-courses; Race-tracks for greyhounds or other dogs | |
Equestrian hurdles | |
Registering, indicating or recording the time of events or elapsed time |
This place covers:
Exercising equipment having means for sensing or improving fitness, e.g. stride force, acceleration, gait analysis, speed or heart rate of the animal.
Means for sensing fitness include kinematic or biochemical sensors, gyrometers, accelerometers, load cells, heart rate monitors, which may be located on the body of the animal or as separate equipment used for monitoring the animal as it exercises.
Equine monitoring with or without a jockey, comprising sensors, e.g. GPS, for location, health, injury detection during training or racing.
Illustrative examples of subject matter classified in this place:
1.

Figure 1 illustrates the application of sensors (10) and electronic units (20).
2.

Attention is drawn to the following places, which may be of interest for search:
Other apparatus for monitoring or measuring activity, e.g. detecting behaviour or movement | |
Measuring for diagnostic purposes |
This place covers:
Cow training devices for in stables. Mostly cow positioning devices, e.g. training cattle to step back when defecating:
- by means of electric cow trainer, barrier, pressure.
Illustrative example of subject matter classified in this place:

The Figure illustrates an animal training device.
Attention is drawn to the following places, which may be of interest for search:
Crowding gates or barriers |
This place covers:
Devices for applying an electric shock or similar correctional stimulus to livestock animals.
Livestock collars that deliver a shock to the livestock or to other entities, e.g. predators.
Illustrative examples of subject matter classified in this place:
1.

Figure 1 illustrates a device for handling livestock.
2.

Figure 2 illustrates a sonic collar sheep protector.
Attention is drawn to the following places, which may be of interest for search:
Electrified fencing for pastures | |
Devices for taming animals, e.g. nose-rings or hobbles; Devices for overturning animals in general; Catching or driving equipment | |
Anti-barking devices | |
Anti-evasion devices for animals | |
Collars with electric-shock emitting devices | |
Scaring or repelling devices using electric shocks | |
Sticks with electric stunning-means | |
Circuits for electric shock devices | |
Circuits providing pulse voltages when touched |
This place covers:
Anti-kicking devices for cows.
Restraining devices, e.g. grooming restraining device for dogs, etc.
Passage through fencing, e.g. one way animal gate, fence security system, etc.
Cuffs for restraining animals, e.g. leg cuffs.
Head restraining devices.

This place does not cover:
Devices for impeding passage under fences |
Attention is drawn to the following places, which may be of interest for search:
Transport devices for animals | |
Boxes, bags, cages, baskets, harnesses especially adapted for transport in or on automobiles | |
Tethering-poles or the like | |
Devices for immobilisation or restraint of animals | |
Protective coverings | |
Animal harnesses | |
Animal leads and leashes |
This place covers:
Dehorning or preventing horns from growing. Treatment may be chemical or thermal.
- by means of electric dehorning.
- by means of a heating device, e.g. gas-fired heating device.
- by means of freeze-branding.
- by means of cutting, e.g. for slaughtered animals.
Changing shape of horns, e.g. by weights.
Details therefor, e.g. stencils or holders.

Attention is drawn to the following places, which may be of interest for search:
Devices for grooming or caring of animals | |
Trimming hoofs | |
Cutting bones | |
Bone-shears; Bone-crushers | |
Surgical instruments for veterinary use | |
Debeaking etc., of birds | |
Cropping tails or ears |
In this place, the following terms or expressions are used with the meaning indicated:
Horn trainer: a device fitted to an animal's horns to influence how they grow.
This place covers:
Anti-suckling devices for cattle, may be attached to mother animal or her young, e.g. muzzles or halters.
May operate by means of electric shocks or contain sharp elements.
Illustrative example of subject matter classified in this place:

Attention is drawn to the following places, which may be of interest for search:
Muzzles |
This place covers:
Devices for preventing mating, e.g. harness for dogs, bulls, rabbits, etc.
Diapers for female dogs.
Stimulation of ovulation methods and devices.
Means for guiding a boar past sows, e.g. boar cart.

Attention is drawn to the following places, which may be of interest for search:
Automatic devices | |
Protective coverings | |
Devices for taming animals;Covering boxes | |
Manure or urine pouches | |
Other apparatus for animal husbandry |
This place covers:
Devices for receiving excrements from animals, either fastened on the animal, or situated immediately close to it.
Harnesses for attaching waste collecting containers, bags, sacks, etc. to animal.
Anti-splash shields for dogs.
Details therefor, e.g. bags, sacks, holders, etc.
Harness may also serve for protection against mating, etc.
Devices for taking samples of excrements of animals.
Diapers for animals.

Attention is drawn to the following places, which may be of interest for search:
Cat trays; Dog urinals; Toilets for pets | |
Protective coverings | |
Devices for assisting or preventing mating | |
Picking up dog excrement from the ground |
This place covers:
Manure collecting devices used independently from the animal, e.g. waste scooper devices (not to scoop the ground).
Pet excrement scoop, may be in combination with a (plastic) bag:
- may comprise an elongated handle.
Illustrative example of subject matter classified in this place:

The Figure illustrates dog waste collection before falling on the ground.
When the waste is collected from the ground, classification is made in group E01H 1/1206.
When the waste is collected before falling on the ground, classification is made in group A01K 23/005.
When only a flexible bag is used to remove the excrement, classification is made in group B65F 1/0006.
Attention is drawn to the following places, which may be of interest for search:
Leads or collars with pockets or similar for carrying accessories | |
Refuse receptacles | |
Flexible refuse bags or sacks | |
Types of refuse collected, e.g. dog dirt | |
Hand implements for picking up excrements | |
Hand implements having means for storing bags or the like | |
Hand implements having means for storing used bags |
This place covers:
Devices for encapsulating an animals head, mostly for dogs.
- may include a control and leash combination for e.g. training, guiding, restraining a dog.
- may be remotely releasable.
Grazing regulators for cows.
Prevention of bite function must be present.

Attention is drawn to the following places, which may be of interest for search:
Harnesses |
This place covers:
Collars mostly for dogs, or for similar animals:
- may contain anti-parasite material; or
- may be in combination with leads or harnesses.
Animal tethers. May include leashes for two or more animals simultaneously. Combined animal leash and collar.
Harnesses or other devices or elements which enclose and fasten the neck or other body part of an animal.
Details therefor, e.g. closure members, dampers or safety connections.
Lead-storing or -dispensing means, e.g. adjustable length leash.
Devices that may be attachable to vehicles or walls.
Material for leashes, harnesses or collars.
Illustrative examples of subject matter classified in this place:
1.

2.

Attention is drawn to the following places, which may be of interest for search:
Tethering-poles or the like | |
Devices for fastening animals, e.g. halters | |
Marking of animals | |
Devices for applying insecticides or medication | |
Tail holders | |
Devices for taming animals, e.g. nose-rings or hobbles; Devices for overturning animals in general; Catching or driving equipment | |
Training or exercising equipment | |
Devices for impeding movement | |
Muzzles | |
Marking poultry or other birds | |
Pest-repellants | |
Holders or carriers for hand articles | |
Safety harnesses for already walking children | |
Accessories for children's furniture, e.g. safety belts | |
Safety belts or harnesses in vehicles specifically adapted for animals | |
Devices specially adapted or mounted for storing and repeatedly paying-out and re-storing lengths of material | |
Devices in connection with harness, for hitching, reining, training, breaking or quietening horses or other traction animals |
This place covers:
Collars for dogs or the like which can be extendable, chocking, etc. These collars can be attachable to leashes and/or harnesses, can have multiple or sliding attachment points and can be adapted to different sizes.
Double collars.
Collars extended into leashes e.g. for better control by pulling neck.

Attention is drawn to the following places, which may be of interest for search:
Pokes, toggles, hobbles or the like used independently of stall | |
Head harness |
This place covers:
Harnesses intended for guiding or controlling the animal, e.g. while walking.
Head harnesses, e.g. muzzle-like that do not interfere with an animal opening its mouth, intended for guiding and/or controlling the animal.


Attention is drawn to the following places, which may be of interest for search:
Harnesses for transporting, carrying or lifting animals | |
Muzzles | |
Devices in connection with horse harness | |
Traction harness for horses |
This place covers:
Straps, cords or the like, fastened to an animal, e.g. dog, and used to lead the animal or to secure it so as to limit its range.
May include multi-lead leashes, e.g. for guiding multiple pets at once.
May be handheld by a user or attached to the body of a user, e.g. via shoulder strap or waist strap.
Compact dog leash, may be attached to collar of dog or concealed in hollow walking stick.
Illustrative examples of subject matter classified in this place:
1.

Figure 1 illustrates a system for simultaneously restraining a plurality of animals.
2.

3.

Figure 3 illustrates an animal leash with longitudinally adjustable grip handle.
This place covers:
Devices for retractable leashes:
- May include waste disposal bag dispenser.
- May include other accessories, e.g. flashlight, food or water bowl.
Tether or leash may be wound on a spool, which may be spring powered, to be adjusted to the desired length.
Details therefor, e.g. locking or brake mechanism, retractor.
Illustrative example of subject matter classified in this place:

Attention is drawn to the following places, which may be of interest for search:
Unwinding, paying-out webs | |
Winding webs |
This place covers:
Shock absorbing devices, by means of e.g. stretching leash, extensible mechanism, elastic section, etc.
Break away assembly.
Quick release leash, one hand operated dog leash.
- locking systems.
Shock absorbing lead grip.

This place covers:
Dog leashes or collars with light-emitting, or other ornamental devices.
- may include e.g. a container, identification device, bag dispenser mechanism, decorations, flashlight, etc.
Leash and collar may be illuminating, water-resistant, etc.
Collar may contain flea-repelling material or insecticide, etc.

This place covers:
Collars (or ear-tags) witch protect against fleas, ticks, lice and other insects/ parasites.
- may be naturally (herbs), chemically or by entrapment.
Flea-repelling pet accessory, e.g. a pet toy.
(Disposable) pendants, may be deodorizing, insect-repelling, etc.
Drug or insect-repelling dispensing devices, may be attachable to collar.
Collar may contain flea-repelling material or insecticide, etc.

Attention is drawn to the following places, which may be of interest for search:
Devices for applying insecticides or medication | |
Pest-repellants |
This place covers:
Leads or collars including a compartment or other attached or integrated structure for holding additional items.
Accessories can include bag dispensers, toy carrying devices, treats, flashlights or rain protection for pets.
Illustrative examples of subject matter classified in this place:
1.

2.

Figure 2 illustrates a pet leash with interchangeable components.
This place covers:
Collars having devices for controlling non-livestock animal behaviour with stimulus delivery, where the behaviour is not explicitly disclosed as being barking or relating to movement or location of the animal.
Collars may deliver or emit an electric shock, sound or noise, e.g. from an audio recording or electromagnetic waves.
Stimulus may be delivered to the animal wearing the collar or to another entity, e.g. predator.
Collars may include therapeutic devices, for example by means of magnets.
Collars may be intended to function to warn or request emergency aid, e.g. collar emits a noise when a dog is lost.
Devices may also work with remote control.
Collars may include supplemental identification device or pet locator.
Illustrative examples of subject matter classified in this place:
1.

Figure 1 illustrates an anti-attack shock collar.
2.

Attention is drawn to the following places, which may be of interest for search:
Electronic training devices specially adapted for dogs or cats |
Collars having any electronic correction means for preventing or deterring a pet from barking, are classified in group A01K 15/022.
Collars having any electronic correction means for preventing or deterring a pet from leaving or entering a determined area or location, are classified in group A01K 15/023.
Livestock collars having electronic shock features, are classified in group A01K 15/029.
Collars having electric shock or sound-wave, radio-wave or magnetic-wave features for preventing or deterring a pet from behaviour not related to barking or movement or location of the pet, are classified in group A01K 27/009.
This place covers:
Monitoring of farm animals.
Administration or planning for breeding activities.
Transporting or loading animals, e.g. a ramp, other than for pets, birds and fish and not covered elsewhere.
Administration or management of herds in general.
Measuring properties of animals.
Snake venom milking.
Sorting of animals, e.g. by size, weight.
Procedures or recipes for feeding animals, e.g. for rapid growth.
Anti-theft devices.
Animal-rescue devices for swimming pools.
Illustrative examples of subject matter classified in this place:
1.

Figure 1 illustrates an animal loading and unloading apparatus.
2.

Figure 2 illustrates a livestock management system.
Attention is drawn to the following places, which may be of interest for search:
Structures for monitoring or investigating laboratory animal's properties or behaviour | |
Devices for immobilisation or restraint of animals | |
Branding or tattooing devices for animals | |
Automatic identification systems for animals | |
Aviculture; Testing, cleaning, stamping or grading eggs | |
Culture of aquatic animals | |
Rearing or breeding animals not otherwise provided for | |
Rearing or breeding insects | |
Measuring for diagnostic purposes | |
Veterinary obstetrical instruments or devices | |
Devices for indicating trouble during labour of animals | |
Instruments or methods for reproduction or fertilisation | |
Vehicles adapted to transport animals | |
Measuring in general | |
Apparatus for weighing livestock |
Portable steps, e.g. dog ramps, are classified in group A01K 1/035.
Loading and unloading devices for poultry are classified in group A01K 45/005.
This place covers:
Apparatus or systems with means for monitoring or measuring physical dimensions or magnitude of an animal.
May include:
- data collection or data receiving systems, for example for tracking animal growth or changes in weight over time;
- animal identification means, wherein the animal identification means is used to correlate size data to a given animal; or
- image analysis for determining animal size or changes therein.
Illustrative example of subject matter classified in this place:

Attention is drawn to the following places, which may be of interest for search:
Measuring for diagnostic purposes | |
Veterinary instruments, implements, tools or methods | |
Apparatus for weighing livestock |
This place covers:
Means for exposing an animal to some substance or treatment in order to manipulate the animal's physiology and achieve a beneficial physiological change.
May be intended to:
- improve animal health or the quality of animal products, e.g. milk, meat; or
- reduce environmental harm, e.g. from methane or other animal waste.
Treatment may include delivery of electromagnetic, light, audio, vibratory, temperature or other stimuli to the animal.
Illustrative example of subject matter classified in this place:

The Figure illustrates a lighting assembly (38) being used to manipulate both psychological and physiological characteristics of the swine to optimize growth, breeding and production of the swine.
Examples of places in relation to which this place is residual:
Instruments and methods for reproduction and fertilisation |
Attention is drawn to the following places, which may be of interest for search:
Other aviculture appliances | |
New or modified breeds of vertebrates | |
Genetically modified invertebrates | |
Medicinal preparations characterised by special physical form |
This place covers:
Systems, devices and methods for monitoring or measuring behaviour, non-fitness health (e.g. temperature, feeding behaviour), movement, activity or locations of animals.
Livestock data collection or receiving systems.
Bio-sensors, location trackers or image capture means in furtherance of monitoring animal activity.
Animal identification methods and apparatus wherein the monitoring or measuring includes uses of data provided by, or related to, the animal identification means, e.g. animal activity data is correlated to an identified animal or group of animals.
Illustrative example of subject matter classified in this place:

The Figure illustrates a system and method for monitoring livestock.
Attention is drawn to the following places, which may be of interest for search:
Structures for monitoring or investigating laboratory animal's properties or behaviour | |
Fitness monitoring, e.g. for equines or dogs | |
Aviculture appliances | |
Measuring for diagnostic purposes | |
Gait analysis | |
Devices for indicating trouble during labour of animals | |
Devices for detecting period of heat of animals, i.e. for detecting oestrus | |
Devices for detecting mating action | |
Devices for detecting pregnancy of animals | |
Information and communication technology [ICT] specially adapted for implementation of business processes of agriculture or fishing |
The monitoring or measuring of laboratory animal properties or behaviour are classified in group A01K 1/0317.
Apparatuses and devices that include exercising equipment comprising fitness monitoring devices are classified in group A01K 15/0275.
Apparatuses and devices that monitor or measure the size of an animal, e.g. weight or growth are classified in group A01K 29/002.
This place covers:
Systems, devices or methods for monitoring or measuring behaviour, health, activity or locations of pets.
Includes data collection or data receiving systems for pets.
May include animal identification means, wherein the monitoring or measuring includes use of data provided by, or related to, the animal identification means.
May include behaviour, health or activity sensors for pets, wherein the monitoring or measuring includes use of data provided by, or related to, the sensors or trackers.
Illustrative examples of subject matter classified in this place:
1.

2.

Artificial intelligence and machine learning systems for predictive analysis of pet monitoring or measuring data are classified in subclass G06F.
Attention is drawn to the following places, which may be of interest for search:
Apparatus for monitoring or measuring size or weight of the animal, e.g. monitoring growth |
Electronic devices specifically for training dogs or cats are classified in A01K 15/021.
Automatic animal identification means or devices themselves, without use of data provided by, or related to, such automatic animal identification means, are classified in A01K 11/006.
Methods for locating animals with GPS are classified in A01K 11/008.
This place covers:
Installations or devices for housing birds.
Poultry houses for battery or free-floor rearing.
Bird-washing (disinfecting) devices.
General aspect of mass-rearing of poultry (housing aspect).
Poultry house ventilation:
- buildings may include heating, cooling or ventilating means.
Curtain control devices for poultry houses.
Illustrative example of subject matter classified in this place:

This place covers:
Cages or boxes for transporting birds or other small animals.
may be collapsible, foldable, portable, mountable on vehicle, etc.
may include feeding and/or drinking devices.
may be adapted for shipping, shipping containers.
Cages may be arranged in stacks or rigs (shelf like containers).
Other poultry cages, not included for battery utilisation.

This place does not cover:
Harvesting or transport of poultry |
Attention is drawn to the following places, which may be of interest for search:
Battery breeding cages, with or without auxiliary... | |
Transportable cages, e.g. for singing birds | |
Collapsible cages for singing birds | |
Other aviculture appliances | |
Containers for animals |
This place covers:
Battery cage systems for breeding poultry, e.g. broilers.
- may be transportable, e.g. to slaughterhouse.
Details of such system, e.g. feeding/drinking devices, ventilation, egg collecting means, etc.
Battery cages may be suitable for breeding, rearing and fattening, e.g. growing aspect.
Building structure may be included.

Attention is drawn to the following places, which may be of interest for search:
Pigsties; Dog-kennels; Rabbit-hutches or the like | |
Housings for domestic or laboratory animals | |
Poultry-cages | |
Floors | |
Dropping-boards; Devices for removing excrement | |
Laying-nests for poultry | |
Chicken coops or houses | |
Feeding devices for poultry or other birds |
This place covers:
Flooring systems for use in raising poultry, e.g. battery cages, transport cages:
- may include methods for processing manure, wherein floor structural components perform the processing.
Poultry nests may be included.
Systems for preventing breast blisters, swollen hocks.
Floors specially adapted for egg laying poultry.
Illustrative example of subject matter classified in this place:

Attention is drawn to the following places, which may be of interest for search:
Stable floors | |
Devices for mechanical bedding manipulation | |
Dropping-boards; Devices for removing excrement |
This place covers:
Door features auxiliary to a door panel for poultry housings, e.g. return-gate, latch.
May be time-controlled, automatic.
Locking means for poultry cages.
Means for preventing entrance of e.g. a fox.
Illustrative example of subject matter classified in this place:

Attention is drawn to the following places, which may be of interest for search:
Trap doors | |
Laying-nests for poultry; Egg collecting | |
Individual registration on entry or exit |
This place covers:
Devices for removing excrements from poultry housings (e.g. batteries, single cages):
- may be collecting, drying or otherwise treating excrements from cage or poultry house; or
- may include conveyor belts, scrapers, blowers for drying air, water flushers, heating means, liquid sprayers.
Drying blowers may be in combination with ventilation means or heating.
Vehicles for manure treatment, cleaning apparatus.
Illustrative example of subject matter classified in this place:

Attention is drawn to the following places, which may be of interest for search:
Removal of dung or urine | |
Floor coverings, e.g. bedding-down sheets | |
Litter | |
Devices for mechanical bedding manipulation | |
Housing birds | |
Floors for poultry cages | |
Cages, e.g. for singing birds | |
Laying batteries | |
Poultry runs | |
Removing excrements from roads or like surfaces |
This place covers:
Cages for domestic birds, indoor or outdoor, e.g. volières, etc.
- may be transportable, foldable, etc.
- may include birdbaths, feeders, waste trays, etc.
Cages may be suitable for assembling into batteries.
Heaters for cages.
Covers and supporting means therefor.
Accessories for cages, e.g. toys, nest holders, vermin traps, etc.
Hangers or stands for cages.

This place does not cover:
Cages for poultry |
Attention is drawn to the following places, which may be of interest for search:
Housings for domestic or laboratory animals | |
Feeding or drinking devices associated with cages | |
Battery breeding cages | |
Floors | |
Door appliances; Automatic door-openers | |
Dropping-boards; Devices for removing excrement | |
Collapsible cages | |
Doors; Trap-doors | |
Perches | |
Laying batteries | |
For solid feed | |
Other aviculture appliances |
This place covers:
Transportable cages:
- may be single cages, containers, crates;
- may be portable, disposable;
- may be mountable on a vehicle, e.g. car or a ship; or
- may include drinking or feeding devices.
Containers may be subdivided in compartments.
Details therefor, e.g. doors, locks, wheels.
Illustrative example of subject matter classified in this place:

This place does not cover:
Collapsible cages |
Attention is drawn to the following places, which may be of interest for search:
Poultry cages, e.g. transport boxes | |
Feeding or drinking appliances for poultry or other birds |
This place covers:
(Bird-) cages in which the collapsible aspect is dominating or characteristic.
- may be used for pet birds, transporting pigeons, exhibiting birds, breeding, etc.
Cages may be prefabricated, disposable, connectable to each other, etc.
- features may enable them to be shipped, or stored under restricted space conditions (even only once, before assembly).

Attention is drawn to the following places, which may be of interest for search:
Housings for domestic or laboratory animals | |
Cages for singing birds | |
Nest-boxes |
This place covers:
Door panels or other structures for covering access or entrance openings of (bird) cages, battery cages, nests.
Trap-door panels for bird-houses, which can close automatically.
Means of locking doors, traps, e.g. locking assemblies.
Doors may be automatic.
Illustrative example of subject matter classified in this place:

Attention is drawn to the following places, which may be of interest for search:
Nest-boxes, e.g. for singing birds | |
Laying nests for poultry; Egg collecting |
Door auxiliary or attachment features, e.g. latches, locking assemblies, hinges, automatic openers, are classified in group A01K 31/02.
This place covers:
Perches or roosts (perch arrays) for poultry or other birds.
- may be movable, foldable, heated, lighted, etc.
- may enable trimming a birds nails.
Fastening means for perches to cage, feeding device, etc. (e.g. clamping mechanism).
Disinfecting perch constructions.
Cleaners for perches.
Ant-vermin perches.
Shoulder-mountable perches.

Attention is drawn to the following places, which may be of interest for search:
Feeding or drinking devices associated with cages | |
Training or exercise equipment | |
Floors | |
Cages for singing birds | |
Poultry runs | |
Filling automatically | |
Feed troughs |
This place covers:
Nest-boxes, nesting structures for different kind of birds, e.g. earth burrowing birds.
- may include feeding- and drinking devices.
- may include viewing possibilities, e.g. viewing window.
Size of the nests may be adaptable. Nests may be collapsible.
Bird nest protection systems.
Birdhouse kit construction.
Multiple nesting structures, e.g. for cliff swallows.

This place covers:
Laying nests, single or in batteries, for hen houses or cages.
Egg-collecting and -counting means connected therewith.
Nest bowls for poultry.
Details therefor, e.g. trapdoors, if integral part of specific structure.
Nests may be intended for other birds than poultry.
Nests may have manual or mechanical egg-collecting features, e.g. conveyors.
Cleaning devices for e.g. nest pad, etc.
Registration devices, e.g. registering the number of eggs laid by a hen.

Attention is drawn to the following places, which may be of interest for search:
Poultry-cages | |
Poultry cage floors | |
Egg collecting or counting | |
Poultry runs |
This place covers:
Devices for collecting eggs, in particular from battery nests or cages.
Devices for counting eggs.
Devices for transporting eggs, e.g. escalators, etc.
above devices may be cooperating.
Details therefor, e.g. conveyor belts, guiding devices, if connected with nest or cage.
Devices may include weighing apparatus, cleaning apparatus, marking device, etc.

Attention is drawn to the following places, which may be of interest for search:
Floors | |
Laying-nests for poultry | |
Laying batteries | |
Poultry runs | |
Counting of objects | |
Counting of separate objects on conveyor |
This place covers:
Battery structures for housing poultry.
- may include movable cages, easy mountable, dismountable, etc.
- may include ventilating, heating, demanuring means, etc.
Support for cages.
Feeding and drinking devices, egg-receiving devices, may be part of a battery.

This place covers:
Structures for housing chicks (or other young animals).
Characteristic must be the growing of the chicks, e.g. adjustment of structure to growth:
- may include brooder incubators, i.e. for young chicks, but not as the main feature.
Poultry rearing devices, other than brooders, e.g. shelters.
Heating, ventilation and drinking or feeding-device, may be part of whole structure.
Illustrative example of subject matter classified in this place:

This place does not cover:
Battery breeding cages |
Attention is drawn to the following places, which may be of interest for search:
Pigsties; Dog-kennels; Rabbit-hutches or the like | |
Poultry runs | |
Feeding or drinking appliances for poultry or other birds |
This place covers:
Brooders for raising poultry.
- may be portable.
Heating devices as part of a brooder, e.g. electric heaters, infrared gas heaters, etc.
Heat lamps, dampers, in combination with brooders.

This place covers:
Climate control features applicable to brooder houses or brooders, e.g. heaters, coolers or ventilation systems.
The heating or ventilating aspect must be a characteristic.
Devices may also be meant for conventional battery cages.
Heating may be electric, floor heating or use infrared gas heaters.
Illustrative example of subject matter classified in this place:

Attention is drawn to the following places, which may be of interest for search:
Air-conditioning, e.g. ventilation, of animal housings | |
Floor coverings, e.g. bedding-down sheets | |
Pigsties; Dog-kennels; Rabbit-hutches or the like | |
Housing birds | |
Brooders | |
Poultry runs | |
Incubators for poultry | |
Controlling humidity in incubators for poultry |
This place covers:
Means for raising poultry free, e.g. without cages inside houses.
- may include methods for controlling environmental condition e.g. ventilation and heating devices.
- may include methods of processing poultry manure.
Free floor raising aspect must be present.
Poultry houses may consist of free areas (runs).
Details therefor, e.g. chicken fences.
Poultry houses may be movable, e.g. wheeled.

This place does not cover:
Air-conditioning, e.g. ventilation, of animal housings |
Attention is drawn to the following places, which may be of interest for search:
Housing birds | |
Floors | |
Dropping-boards; Devices for removing excrement | |
Perches | |
Chicken coops or houses | |
Other aviculture appliances |
This place covers:
Dovecots, pigeon lofts and trap assemblies for pigeons, e.g. battery pigeon loft, etc.
- may include a waste disposal system, ventilating system, etc.
- may be movable and size/height may be adjustable.
Details therefor, entrance, cleaning systems, etc.

This place covers:
Nest-eggs or hatching simulation devices:
- may be vermin-destroying.
Illustrative example of subject matter classified in this place:

This place covers:
Marking poultry by means of rings, tags, wing bands, clips, etc.
Transponder may be included.
Detection devices therefor.
Devices for placing or removing rings.
Devices may include anti-parasite material.
Storage device for tagging rings.
Branding devices for poultry.

This place does not cover:
Marking meat |
Attention is drawn to the following places, which may be of interest for search:
Marking of animals |
This place covers:
Devices for preventing birds from flying, escaping, sitting down, picking or dropping excrements.
- by means of clamps, locking system (beak), harness, boots, etc.
Attachments rings for birds feet.
Anti-picking devices, e.g. blinders, lenses or goggles.
Constraining birds for artificial insemination.

Attention is drawn to the following places, which may be of interest for search:
Manure or urine pouches | |
Marking poultry or other birds | |
Cramming appliances | |
Other aviculture appliances | |
Hanging-up slaughtered birds | |
Cutting beaks, claws, wings | |
Constraining for operation | |
Artificial insemination |
This place covers:
Feeding or drinking devices for poultry or other birds, may be automatic (e.g. battery feeding system).
Window mountable bird feeders.
Bird feeding supports.
Feeding or drinking devices for wild poultry or birds, e.g. hummingbird feeders.
Feeding or drinking devices for domestic birds.
Bird feeders may be disposable.
Bird feeders may recycle bird food.
Illustrative example of subject matter classified in this place:

Attention is drawn to the following places, which may be of interest for search:
Battery breeding cages for poultry, with or without auxiliary features, e.g. feeding, watering, demanuring, heating, ventilation | |
Cages, e.g. for singing birds | |
Laying batteries for poultry | |
Bird baths or showers |
This place covers:
Poultry feeders, often comprising mechanical distributing means from a storage to one or more feeding stations, e.g. a long trough.
Chain feeders.
Conveying chains or belts therefor, conveying cables.
Hoppers therefor, including vibrators or controls.
Conveyor or trough combinations therefor, e.g. conveyor in trough wall.
Battery feeding systems, without other important battery features.
Devices may include feed level detectors.
Trough-type feeders with connection means for distributing systems.
Feed-flow regulating means.
Bird-feeding devices for outside, may be insect-proof.
Illustrative example of subject matter classified in this place:

This place does not cover:
Combined feeding and drinking appliances for poultry or other birds |
Attention is drawn to the following places, which may be of interest for search:
Feeding devices for poultry or other birds filling automatically | |
Feed troughs for poultry or other birds; Feed throwers for poultry or other birds | |
Drinking appliances for poultry or other birds |
Drinkers especially adapted for feeding hummingbirds are classified in group A01K 39/0206.
This place covers:
Bird food holders, mostly for feeding birds outside, e.g. wire mesh tubular feeder.
- may be attachable to wall, tree, etc.
Devices may also be used for feeding other animals, e.g. squirrels.
Bird feeders may be disposable.
Feed blocks.
Hand-held bird feeders.

This place does not cover:
Licking-stone holders for stock or game |
This place covers:
Squirrel proof bird feeding device, by means of e.g. a spinning mechanism triggered by weight, electric shock device, slippery side panels, etc.
Baffles for preventing animals from climbing up a birdhouse.
Rodent repelling by means of e.g. several water filled moats, protective pet dish, etc.

This place covers:
Bird or poultry feeding devices with automatic filling of a feed compartment, e.g. gravity.
- may be actuated by the animal.
Devices include a storage, e.g. incorporated hopper.
Excluded are the possible conveying means from a storage to the feeder(s): See A01K 39/01.
Means for controlling the feeding device, e.g. animal actuated.
Feeders with multiple levels.
Devices may be combined with shelters.
Devices may include time-control means.

Attention is drawn to the following places, which may be of interest for search:
Feeding or drinking devices associated with cages | |
Feeders for livestock | |
Nest-boxes | |
Feeding devices | |
Means for preventing other animals or insects from eating also | |
Feed troughs | |
Drinkers especially adapted for feeding hummingbirds | |
Feeding devices for fish |
This place covers:
Pan feeding systems for poultry.
Device may include an adjustable feed level control.
Means of controlling supply of feed to the trough.
Feeding device may include time controlling means.
Details therefor, e.g. feed drop tube, etc.
Feeding pans, feed box, etc.

This place covers:
Bird troughs, e.g. with bird-actuated covers.
Bird throwers, i.e. throwing-out feed, by means of e.g. propelling, centrifugal.
Troughs for batteries.
Grids for troughs, anti-roost devices for troughs.
Trough aspect is prevailed, feeder may include a hopper or other delivery means, e.g. a foraminous hopper for direct access.
Devices may include a shelter.
Heating or lighting means may be incorporated.

Attention is drawn to the following places, which may be of interest for search:
Feeding or drinking devices associated with cages. | |
Feed troughs; Feed pails. | |
Nest-boxes. | |
Feeding or drinking appliances for poultry or other birds. | |
Feeding devices. | |
Filling automatically | |
Of bivalves, e.g. oysters or mussels |
This place covers:
Poultry watering or providing liquids to poultry, e.g. nectar, liquid dispensing systems.
Devices may be bird-actuated, other than nipples.
Drinking system may be remote controlled.
Flush apparatus for watering system.
Drinking troughs; their accessories, e.g. covers.
Details of general importance, e.g. anti-freeze devices, heating devices, overflow plugs.
Battery drinking systems.
Cleaning apparatus for watering devices.
Structures for supporting water systems, e.g. a hanger.
Illustrative example of subject matter classified in this place:

This place does not cover:
Combined feeding and drinking appliances for poultry or other birds |
Attention is drawn to the following places, which may be of interest for search:
Feeding or drinking devices associated with cages | |
Watering equipment for stock or game | |
Nipple drinkers | |
Construction of valves |
Drinkers especially adapted for feeding hummingbirds are classified in group A01K 39/0206.
This place covers:
Watering or liquid food, e.g. nectar, dispensing devices specially adapted for hummingbirds.
May include specialised feeding ports.
Illustrative example of subject matter classified in this place:

Combined feeding and drinking appliances, which require dispensing of both water and a distinct feed material, are classified in group A01K 39/04.
This place covers:
Water or liquid food dispensing by means of nipple drinkers/drinking valves.
- may include medicine dispensing means.
- may include cleaning system.
- may be animal-operated.
Details therefor, e.g. pipes, valves, etc.
Pressure regulators.

Attention is drawn to the following places, which may be of interest for search:
Watering equipment for stock or game actuated by the animal | |
Teats or nipples for young stock |
This place covers:
Poultry watering systems, with weight-controlled supply, e.g. suspension-type drinking system.
- by means of e.g. a valve for regulating amount of water, closure mechanism, etc.
Cleaning devices therefor, may be self cleaning.

This place covers:
Poultry watering systems, with float-controlled supply.
Float controlled valve mechanisms.
Details therefor, e.g. valves, float box, etc.

This place covers:
Drinking devices kept filled to constant level from incorporated storage, e.g. water supply container.
- may include heating devices, anti-roost device, etc.
Devices may be in combination with a feeding device.

This place covers:
Combined feeding and drinking appliances for birds or poultry:
- may include anti-freeze devices, time-control devices.
Devices may be in combination with shelter.
Illustrative examples of subject matter classified in this place:
1.

Figure 1 illustrates a backyard wildlife feeder.
2.

Attention is drawn to the following places, which may be of interest for search:
Drinkers especially adapted for feeding hummingbirds |
This place covers:
Cramming appliances.
Special cages with constraining means for cramming animals.
Force-feeders.
Devices may include a weight/quantity controller, pump, etc
Trolleys for moving along (an operator) in front of cages.
Metering feed-pistols, etc.
Animals may be other than birds, e.g. laboratory animals.

Attention is drawn to the following places, which may be of interest for search:
Cages for housing birds | |
Constraining birds | |
Feeding devices for poultry or other birds | |
Introducing materials into animals |
This place covers:
Devices for incubating eggs and hatching devices:
- may include ventilating devices, lighting, climate control, temperature control devices.
Devices for turning eggs.
Devices may be transportable.
Illustrative example of subject matter classified in this place:

This place covers:
Heating arrangements for incubators for poultry.
- by means of electric heating, heat exchange fluid, warm air flow, etc.
Devices may be in combination with ventilation means, humidity control, etc.

This place covers:
Devices for regulating temperature in incubators for poultry.
Devices may be in combination with ventilating means, etc.

This place covers:
Incubators for poultry, heated with water.
Details therefor, e.g. heat regulating means, heat exchange liquid, thermostatic control device, etc.

This place covers:
Devices for controlling humidity in incubators.
- by means of e.g. weighing device.
Devices may be in combination with ventilation and temperature control device, e.g. air-control unit.

This place covers:
Egg-turning devices for incubators.
Devices for rolling eggs.
Transfer devices for eggs, e.g. rotator assembly.
Control devices, e.g. turning control signal.

This place covers:
Egg drawers, e.g. for incubators for poultry.
Drawers may include egg-turning devices.
Drawers may be divided in different compartments, cells, which may have the same or varying sizes or surface features.
Illustrative example of subject matter classified in this place:

This place covers:
Devices for performing different kind of treatment steps with eggs, e.g. transporting, conveying, picking up, putting down, ordering, aligning, emptying, irradiating etc, impregnating, crack-checking, cracking (e.g. for embryo extraction), sorting, measuring/weighing, etc.
Devices for packaging and storing eggs.

This place does not cover:
Egg collecting or counting | |
Investigating or analyzing eggs, e.g. by candling |
Attention is drawn to the following places, which may be of interest for search:
Other aviculture appliances | |
Opening, or yolk-white separating, in bulk | |
Sorting | |
Printing apparatus or machinesfor printing on curved surfaces of essentially spherical, or part-spherical, articles | |
Printing on 3D objects | |
Packing | |
Packaging or unpacking eggs | |
Manipulating eggs to be packed using grippers | |
Conveying | |
Counting of objects. |
This place covers:
Egg washing and cleaning devices.
Egg sanding devices.
Details therefor, brushes, water spray, conveyor, etc.
Devices may include a combination of different cleaning features, e.g. washing, drying, sanding, etc.

This place covers:
Devices for grading eggs.
Devices may be in combination with cleaning, sorting devices.

Attention is drawn to the following places, which may be of interest for search:
Sorting according to weight in general |
This place covers:
Grading eggs according to size.
Devices may include measuring devices.
Illustrative example of subject matter classified in this place:

This place covers:
Grading eggs according to weight.

Attention is drawn to the following places, which may be of interest for search:
Sorting according to weight in general |
This place covers:
Devices for grading and stamping of eggs.
Devices for printing on eggs, e.g. inkjet printer.
Egg dyeing devices, laser devices, etc.

This place covers:
Transporting or conveying birds (in particular poultry in quantities).
Devices for sex determination of poultry.
Sorting, weighing or counting birds.
Bird baths and showers, may be combined with watering.
Influencing or measuring biological activity, e.g. by electrical field, blue light.
Irradiation or other exposure to treatment or stimuli to increase or improve egg or meat production or otherwise achieve a beneficial physiological change.
Assisting birth, e.g. shell-openers.
Anti-vermin devices.
Conditioning fighting cocks, e.g. by artificial spurs.
Protective gear for birds, e.g. saddles.
Devices for control of static neutralisation.
Illustrative example of subject matter classified in this place:

Attention is drawn to the following places, which may be of interest for search:
Other apparatus for animal husbandry | |
Apparatus for influencing biological activity of animals | |
Housing birds | |
Processing poultry, e.g. shackling dead poultry | |
Devices for trimming, cutting, cauterising beaks, spurs or the like, of poultry or other birds | |
Veterinary instruments or methods for reproduction or fertilisation for artificial insemination | |
Vehicles specially adapted for transporting animals | |
Containers for transporting land animals, birds or fish |
Feeding or drinking devices for poultry are classified in group A01K 39/00.
Feeding devices for poultry which include anti-vermin features, are classified in group A01K 39/0113.
Shackling devices for poultry are classified in group A01K 37/00.
This place covers:
Bird baths or showers.
- may include feeding system.
- may be self cleaning, self-filling.
- may include anti-freeze facilities e.g. a heater.
Devices for attaching birdbaths to e.g. walls, trees, cage, etc.
Details therefor e.g. filling and flushing valve, etc.

This place covers:
Loading and unloading devices for poultry, or crates.
Devices for distributing poultry to receiving bins, (multi-layer) containers, etc.
Devices for gripping the feet of poultry and suspending poultry from its legs.
Poultry collecting devices, by means of e.g. picking up, etc.
Devices for transporting poultry, e.g. containers.

This place covers:
Devices for injecting eggs, may be automatic.
Introducing material into eggs, e.g. feeding a subject prior to hatch, fertilizing eggs.
Pre-hatch sex determination.
Method for localizing allantoic fluid.
Means of non-invasive forced oxygen enrichment.

Attention is drawn to the following places, which may be of interest for search:
Vaccination appliances | |
Syringes | |
Bioreactors for cultivation of avian eggs |
This place covers:
Beehives, nesting boxes, e.g. Kenya hives.
- may enable housing of multiple colonies.
- may include ventilation.
Beehives may be portable, disposable, biodegradable, etc.
Covers for beehives.
Bee observation devices.

Attention is drawn to the following places, which may be of interest for search:
Products from apiculture, e.g. royal jelly or pollen |
This place covers:
Frames for, or including, honeycombs.
Methods and devices for producing or assembling the frames.
Frames may be foldable.
Reinforcing elements for honeycombs.
Means for holding honeycombs or frames in the beehive.
Means for keeping distance between frames or honeycombs.
Honeycombs may be complete (ready to breed), or to be completed by bees.
Combination of frames with honeycombs, the frames having particular importance.
Mounting honeycombs into frames, e.g. by heating wires.

Attention is drawn to the following places, which may be of interest for search:
Beehives | |
Artificial honeycombs |
This place covers:
Artificial honeycombs or foundations.
Methods and devices for producing them.
Ways of assembling them into frames.
Extraction of honey from specially designed honeycomb, e.g. by heat.
Honeycombs may be complete (ready to breed), or to be completed by bees.
Means for producing foundation plates, e.g. wax foundation.

Attention is drawn to the following places, which may be of interest for search:
Construction or arrangement of frames for honeycombs | |
Appliances for treating beehives or parts thereof | |
Honey collection |
This place covers:
Entrance-gates, may be anti-parasite. Control devices for entrance, etc.
Trapping (sick) bees device.
Ventilation means for beehives.
Methods for obtaining honey from bees.
Bee venom collecting device.
Pollinating systems (removing pollen from the bees when returning, e.g. brush at the entrance).

Attention is drawn to the following places, which may be of interest for search:
Honey collection |
This place covers:
Any means for rearing bees, not covered by other groups.
Treating bees, e.g. by irradiation.
(Artificial) insemination of queen bees.
Measuring or testing bees.
Artificially hatching queen bees.
Containers for transporting (e.g. shipping) queen bees.

Attention is drawn to the following places, which may be of interest for search:
Other details of beehives, e.g. ventilating devices, entrances to hives, guards, partitions or bee escapes | |
Appliances for treating beehives or parts thereof | |
Bee-smokers; Bee-keepers accessories | |
Appliances for providing, preventing, or catching swarms | |
Rearing or breeding animals, not otherwise provided for |
This place covers:
Anti-parasite entrances.
Devices for removing parasites, by means of sound-waves, vaporizing formic acid, magnetic treatment, etc.
Thermostatic control devices, e.g. hot-air drier.
Devices for cleaning bee hive frames, bee board, etc.
Appliances against parasites, e.g. varroa

Attention is drawn to the following places, which may be of interest for search:
Feeding or drinking appliances for bees |
This place covers:
Feeding and drinking appliances for bees, e.g. drinking trough, etc.
Devices for filling feeding and drinking appliances.
Bee feeders may be automatic.
Devices may include heating system.
Means for supplying fresh water for the bees.

This place covers:
Insect protecting body garment, e.g. head screen, protective bag, etc.
Bee-hive transport devices.
Devices for controlling/ monitoring behaviour of bees.
Devices for lifting an moving bee- hives.
Bee smokers.
Devices for assessing bee temperament.

Attention is drawn to the following places, which may be of interest for search:
Smoke-generators for gardens or orchards | |
For killing insects | |
For killing rats | |
Smoking pipes |
This place covers:
Devices for detecting bee-swarms.
Devices for catching or trapping bee swarms.
Devices for controlling swarming of bees, e.g. by means of pheromones.
Appliances for re-queening a hive.
Devices for breeding bee colonies.
Illustrative example of subject matter classified in this place:

This place covers:
Collection frames for honey.
Devices for removing honey frames, e.g. de-boxing device.
Devices for separating honey from honeycombs.
Devices for cutting and wrapping honey.
Devices for liquefying honey.

This place covers:
Honeycomb uncapping device, e.g. fail-type.
Devices for moving lids from honeycombs.
Cutting knife, may be electrically heated.
Devices may include honey extracting device.

This place covers:
Centrifugal honey extraction device.
Honey presses.
Devices for extracting honey by means of blowing air into cells of the honeycomb.
Devices for separating bees wax and honey or removing moisture from honey.

This place covers:
Devices for extracting bees wax, e.g. by means of rotation, etc.
Devices for melting wax from honey combs, e.g. by means of microwaves, hot water, etc.
Bee hive press.
Devices for treating wax, purifying wax.

This place covers:
Culture of fish or other water-animals (including aquatic insects), in ponds, containers, streams, or open sea.
Feeding schedules therefor.
Containers for aquatic animals culture.
Tools for aquatic animals culture, e.g. servicing machines for basins.
Artificial reefs; Artificial seaweed.
Fish brooders.
Accessories, e.g. floats, combined feeding and aerating means.
Treating aquatic animals, e.g. by soaking in medical solution.
Methods of producing pearls.
Devices for removing parasites from fish.

This place does not cover:
Receptacles for live fish, e.g. aquaria, |
Attention is drawn to the following places, which may be of interest for search:
Other apparatus for animal husbandry | |
Sorting, grading, counting or marking live fish | |
Cleaning bottoms or walls of ponds or receptacles | |
Stationary catching devices | |
Method or means of catching fish in bulk | |
By electrocution | |
Harvesting oysters, mussels, sponges or the like | |
Culture of algae | |
Fish repellers etc. for hydraulic power plants etc | |
Apparatus for protecting banks, coasts or harbours | |
Fish passages | |
Monitoring environment by test fishes |
Attention is drawn to the following places, which may be of interest for search:
Slaughtering or stunning of fish | |
Processing fish (dead) | |
Preserving fish products |
This place covers:
- Devices for larvae breeding.
- Devices for incubating eggs and larvae and transportation means therefor.
- Devices for planting eggs.
- Breeding devices for live-bearing-fish.
- Hatcheries, may be part of fish farm.
- Collector tanks for eggs.
- Rearing procedures.

This place does not cover:
Culture of sponges, sea urchins or sea cucumbers | |
Culture of annelids, e.g. lugworms or Eunice |
Attention is drawn to the following places, which may be of interest for search:
Processing shellfish |
This place covers:
- Culture of bivalves in ponds, containers, streams, or the open sea.
- Containers for bivalves, e.g. baskets.
- Tools for bivalves, e.g. hoists for cases.
- Devices for spreading oyster seed.
- Methods for harvesting molluscs from substrates.
- Culture of pearls, artificial pearls made from natural matter.
- Methods and devices for protecting cultures from predators.
- Shell stringers.
- Artificial reefs for bivalves, other than artificial seaweed.
- Feeding devices for shellfish.
- Harvesting methods and devices.

Attention is drawn to the following places, which may be of interest for search:
Rearing snails | |
Harvesting oysters, mussels, sponges or the like | |
Grading molluscs | |
Cleaning molluscs | |
Amphibious vehicles | |
Artificial seaweed | |
Artificial reefs |
This place covers:
- Aquaculture farming systems for shrimps, crayfish or lobsters.
- Habitats therefor, e.g. (mating) tanks, containers, aquaria, for raising crustaceans in different stages of development.
- Devices for handling eggs and larvae of crustaceans, e.g. vacuum devices or devices for incubation.
- Methods for increasing the production of larvae.
- Harvesting devices for shrimps.

This place covers:
- Floating fish-farming systems.
- Water circulating devices or pollution control systems.
- Devices for raising and lowering fish cages.
- Devices for anchoring floating fish cages, e.g. floating rings.
- Submersible cages, rearing pens or fish traps.

This place covers:
- Artificial reefs or parts for artificial fishing banks, e.g. tyres, concrete or synthetic aquatic structures, for use in aquaria, tanks or the open sea.
- Artificial seaweed, e.g. seaweed bed, or rocks.
- Fish habitat structures, including traps.
- Devices providing food, shelter or reproductive support.

Attention is drawn to the following places, which may be of interest for search:
Fish holds for live fish in fishing vessels |
This place does not cover:
Made of tyres |
This place does not cover:
Made of tyres |
This place covers:
- Devices floating, under water or at shore for feeding fish, e.g. centrifugal feed distributors or feed spreaders.
- Automatic, refrigerated feeding devices.
- Devices including dosing mechanisms or using timed control.
- Devices for measuring the rate of food loss in fish farming.
- Fish attracting devices.
- Devices for feeding live food.

Attention is drawn to the following places, which may be of interest for search:
Automatic feeding devices | |
Animal feeding-stuffs from fish | |
Feeding-stuffs for aquatic animals |
This place covers:
- Fish-feeding devices specially adapted to aquaria and normally not applicable to open pond pisciculture.
- The feeder may consist of foodstuff in a special form, e.g. applicable to an aquarium wall, e.g. wax-based fish food.
- Feeders containing living matter, e.g. algae.
- Devices may include timing, lighting, filter or heating devices. However, of relevance is time-control only.
- Fish-operated or automatic feeding devices.

Attention is drawn to the following places, which may be of interest for search:
Dispensing by dosing means | |
With timing mechanisms | |
Feeding-stuffs for aquatic animals |
This place covers:
- Fish sorting and grading devices, e.g. by weight, size.
- Fish counting devices.
- Fish holding systems.
- Devices for tracking objects under water.
- Tagging systems, e.g. bass tags or implant tags.
- Fish behaviour control systems.
- Harvesting and sorting devices for e.g. shrimp, oysters, etc.

Attention is drawn to the following places, which may be of interest for search:
Sorting dead fish | |
Sorting in general | |
Counting in general |
This place covers:
Containers for fish or other water-organisms, or their eggs to be kept alive. (Also tanks, aquaria, ponds, basins, etc.)
Devices for transporting water-organisms, e.g. containers, tanks, aquaria, etc.
Catching or feeding means may be incorporated, but no rearing aspect present.
Containers may serve for use under or out of the water.
Organisms may be bait animals, e.g. small fish.
Containers may incorporate ancillary systems, e.g. for aerating, anti-frees, bird deterring device, etc.
Containers may comprise netted portions.

This place does not cover:
Keepnets |
Attention is drawn to the following places, which may be of interest for search:
Culture of aquatic animals | |
Of bivalves, e.g. oysters or mussels | |
Aquaria, Terraria | |
Arrangements for treating water specially adapted | |
Methods or means of catching fish in bulk not provided | |
Cargo vessel holds for live fish | |
Package-containers for fish |
This place covers:
Aquaria, terraria, or combinations thereof, also e.g. with plants etc.
may be mountable on wall, mobile, etc.
Combined devices for feeding, heating, lighting, filtration or water treatment.
Structural details, e.g. framework, etc.
Accessories, e.g. snail traps, breeding boxes, decorations, control boxes, etc.
Holders for accessories, e.g. suction holders.
Observation chambers for water-animals.

This place does not cover:
Arrangements for treating water specially adapted to receptacles for live fish | |
Arrangements for heating or lighting |
Attention is drawn to the following places, which may be of interest for search:
Beehives | |
Culture of aquatic animals | |
Receptacles for live fish. | |
Cleaning bottoms or walls of ponds or receptacles. | |
Rearing or breading animals, not otherwise provided for. | |
Flower boxes... | |
Showcases... |
This place covers:
Ornaments for aquaria and terraria, e.g. (synthetic) plants, rocks, etc.
Water flow control devices e.g. a wave-making device.
Fountains.
Cleaning and filtration systems.
Supporting structures for aquaria and terraria.
Dividers for in aquaria en terraria.

This place covers:
Containers for transporting fish, shellfish or crustaceans.
Devices for displacement of live fish.
Transport devices for live baits, may include artificial muddy sand.
Packaging for oysters.
Means of suppressing motion functions in fish, e.g. anaesthetization.
Transport devices may include cooling system.
Animals may be separated or transported in groups.

This place covers:
Water treatment devices specially adapted to aquaculture. Mostly for aquarium/ terrarium use, but also for other receptacles for aquaculture, e.g. holders for molluscs, or even ponds etc.
Aquarium filters, may be in combination with pumps.
Electr(olyt)ic water treatment.
Water treatment with (e.g. UV-) rays radiation.
Cleaning water or sand in aquaria.
(Aquarium) water outlets or inlets, e.g. siphons.
Pesticide dispensers for aquaria.
Devices for transferring water between different zones of e.g. ponds.
Artificial (see) water solutions.
Devices for removing pollution of aqueous bodies.
Devices for testing toxicity of water.
Means for acclimatising salt-water fish to brackish or fresh water.

See also:
Attention is drawn to the following places, which may be of interest for search:
Culture of aquatic animals | |
Aquaria; Terraria | |
Introducing gases into the water | |
Cleaning bottoms or walls of ponds or receptacles | |
Filters in general | |
Ion exchange | |
Water treatment in general | |
Artificial ponds | |
Pumps in general | |
Monitoring water quality |
This place covers:
Devices for introducing gasses into bodies of water, e.g. pumps, ducts, nozzles, etc.
may include filter device.
Aeration must not merely serve for water treatment in a filter vessel outside the rearing or storing water.
Aerators may be in combination with lights or ornaments.
Gases may be generated by transformation, e.g. from tablet.
Gas introduction may involve water movement, cooling or heating.
Air filters.
Aeration of transport vessels if the vessels are not the main characteristic.
Protein skimmers, even if combined with conventional filters.
Devices for controlling the oxygen level in water.

Attention is drawn to the following places, which may be of interest for search:
Culture of aquatic animals | |
Receptacles for live fish | |
Aquaria; Terraria |
This place covers:
Filters for aquaria, may also be used for tanks, containers and ponds, e.g. water surface filter.
Devices may be placed in the water or outside.
Pumps in combination with filters.
Filter may be self-cleaning.
Details therefor, e.g. suction unit, water control valve, pipes, etc.
Computer automated filtration systems.

This place covers:
Pumps, mostly for aquaria, e.g. air pump, water pump, rotary pump, etc.
Housings for pumps, e.g. with vibration dampening or noise reducing means.
Devices for attaching pumps, e.g. to aquarium wall, etc.
Devices may include filter, aeration, cleaning system, etc.
Details therefor, e.g. valves, motor, etc.

This place does not cover:
Air pumps for aquaria |
This place covers:
Aquarium lighting devices, may be incorporated in ornament, cover or wall of aquarium, terrarium, etc.
Heating devices for aquarium, terrarium, etc, may be in combination with lighting device.
Details therefor, e.g. light fittings, hanger for tubular lamps, lamp housing structures, etc.
Controlling devices for the environment, e.g. water temperature, etc.

This place covers:
Heating and/or cooling devices for aquarium (heating/cooling water) or terrarium (heating/cooling air).
Holders for heating and cooling devices.
May include e.g. filter systems, lighting, etc.
Controlling devices for temperature.
Devices may be incorporated in an ornament.

This place covers:
- Cleaning devices for water tanks.
- Devices for cleaning aquarium windows, by means of e.g. magnets.
- Cleaning devices for under water apparatuses, e.g. tube-shaped subsea structures.
- Screen cleaners.
- Devices for removing sediment.
- Devices for preventing algae growth, e.g. using ultrasonic waves.
- Devices for removing stains from submerged walls.
- Water recycling and filtering systems.
- Fish manure removal devices.
- Details therefor, e.g. pumps or pipes.

Attention is drawn to the following places, which may be of interest for search:
Cleaning windows | |
Tank cleaning specially adapted for vessels | |
Cleaning devices specially adapted for vessels | |
Devices for cleaning the submerged surfaces of swimming pools |
This place covers:
Fish-stringers, quick release stringers, spring fasteners, fishline holders, etc.
- may be mechanical.
details therefor, e.g. handles.
Devices may be floating, twist-free, etc.

This place does not cover:
Devices for threading fish on strings |
In this place, the following terms or expressions are used with the meaning indicated:
Fish stringer: a device for fastening together multiple caught fish to aid their transport.
Attention is drawn to the following places, which may be of interest for search:
Veterinary methods for reproduction or fertilization | |
Medicinal preparations containing sperm | |
Apparatus for in vitro animal cell culture | |
In vitro animal cell culture (e.g. oocytes, sperm cells and embryos) | |
Mutation or genetic engineering |
In this place, the following terms or expressions are used with the meaning indicated:
Breeding: obtaining animals up to and including their birth or hatching.
Attention is drawn to the following places, which may be of interest for search:
Covering boxes | |
Devices for assisting or preventing mating |
This place covers:
The germline of vertebrates can be altered by insertion, deletion and/or mutation of genetic material. Such genetically modified vertebrates can be used, for example, to produce heterologous proteins or as models for diseases.
In addition, new breeds of vertebrates which do not necessarily comprise a modified germline are classified here.
Symbols in the A01K 67/027 - A01K 67/0278 range are used in combination with C12N 15/8509 and subgroups if a meaningful disclosure of the vector (system) for transgenesis is given.
Processes of producing embryos, including cloning of vertebrates, are additionally indicated by C12N 15/873 - C12N 15/8778 symbols.
Attention is drawn to the following places, which may be of interest for search:
Breeding of animals | |
Preservation of excised living parts of the human or animal body | |
Screening of agents using (transgenic) animal models | |
Specific proteins used for transgenesis | |
Embryonic and germ cells per se | |
Specific enzymes used for transgenesis | |
Techniques for producing new embryos | |
Further aspects of vectors | |
Testing involving animals |
Modified vertebrates are classified in A01K 67/027-A01K 67/0278, C12N 15/8509, C12N 15/873, C12N 15/877 (relating to vectors and methods for producing such vertebrates) and the following ranges of symbols (except C12N 2015/8554 concerning invertebrate models for Alzheimer's disease) must be given (i.e. compulsory) to indicate further aspects thereof.
Transgenic vertebrates are classified in A01K 67/0275 - A01K 67/0278.
Chimeric vertebrates comprising somatic cells from another individual or species are classified in A01K 67/0271 and cloned vertebrates are classified in A01K 67/0273.
A01K 2207/00 - A01K 2207/35 relates to modifications that do not affect the germline.
A01K 2217/00 - A01K 2217/30 indicates various technical aspects of genetic modification.
A01K 2227/00 - A01K 2227/50 defines the species of the (genetically modified) vertebrate.
A01K 2267/00 - A01K 2267/0393 indicates the purpose of the (genetically modified) vertebrate.
Whereas symbols in the A01K 2217/00 range are restricted to genetically modified vertebrates, the symbols in the A01K 2207/00, A01K 2227/00 and A01K 2267/00 ranges are used for all modified vertebrates covered by A01K 67/027 - A01K 67/0278, C12N 15/8509 (except C12N 2015/8554 concerning invertebrate models for Alzheimer's disease), C12N 15/73 and C12N 15/877. Please note that multiple symbols from each category may be required to cover all disclosed aspects.
Genetically modified vertebrates:
When a genetically modified vertebrate is actually made, A01K 67/0275 - A01K 67/0278 needs to be given, whereby the last place rule applies. If a vector for transgenesis is disclosed, then additionally the C12N 15/8509 symbol needs to be given. The specific aspects of the vertebrate are to be indicated with symbols in the A01K 2217/00-A01K 2217/30, A01K 2227/00 - A01K 2227/50 and A01K 2267/00 - A01K 2267/0393 ranges, which must always be given. When a human transgene is introduced, A01K 2207/15 is to be added.
Special elements of the vectors are indicated using symbols in the C12N 2800/00 - C12N 2840/00 ranges, whereby A01K 2217/203 takes precedence over C12N 2830/001 - C12N 2830/006, and A01K 2217/206 takes precedence over C12N 2830/008. The C12N 2830/001 - C12N 2830/008 symbols are only to be given if the invention actually resides in these elements.
If the transgene can be meaningfully indicated, C07K 14/00 and/or C12N 9/00 symbols are to be given. If a viral vector is used for transgenesis, the relevant symbol from the C12N 2710/00 - C12N 2795/00 range combining the taxonomy of the virus with the ending 43 (for use as a genetic vector), must be given.
Chimeric vertebrates:
Chimeric vertebrates (A01K 67/0271) may result from combining cells at the embryonic stage (e.g. the sheep-goat chimera 'geep') or from exogenously added cells later in development, for instance, transfer of functional immune system cells to immuno-compromised mice or transplantation of tumour cells to form a tumour model.
The specific species (from the A01K 2227/00 series) and purpose (from the A01K 2267/00 series) of the chimeric vertebrate must be indicated. When human cells are introduced, A01K 2207/15 is to be added.
When a chimeric vertebrate is disclosed, which does not relate to the core of the invention, then A01K 2207/12 is to be given.
Cloned mammals:
Documents relating to methods of producing cloned mammals (C12N 15/877 and subgroups) should also be classified in A01K 67/0273 if cloned mammals have actually been obtained. In addition, the appropriate A01K 2227/00 symbol should be given to indicate the species, and where relevant, the purpose (A01K 2267/00). When manipulation of (germ) cells is involved, then C12N 5/00 symbols should also be considered, following the classification rules of said field.
This place covers:
Devices, systems or methods for breeding invertebrates, e.g. insects. Also covers the rearing or breeding of "predatory insects".
Insect farms.
Illustrative example of subject matter classified in this place:

Organisms used as biocides to destroy, deter, render harmless or prevent the action of crop pests or animal parasites are classified in group A01N 63/14.
Attention is drawn to the following places, which may be of interest for search:
Stationary means for catching or killing insects | |
Devices or substances attracting the insects | |
Biocides, pest repellents or attractants from animal material | |
Animal feeding-stuffs from material of animal origin | |
Feeding-stuffs for insects | |
Medicinal preparations containing arthropods | |
Aircraft dropping, releasing, e.g. insecticides or dropping of predatory insects | |
Containers, packaging elements or packages, for living organisms | |
Biological treatment of water, waste water or sewage characterised by use of animals and plants |
In this place, the following terms or expressions are used with the meaning indicated:
frass | insect "manure" often mixed with undigested food |
This place covers:
Rearing of invertebrates characterised by arrangements for releasing the invertebrates into the environment where they are intended to have a beneficial effect.
Invertebrates may be predatory invertebrates, e.g. being lethal to offspring of the pest.
The arrangements can also include means for breeding of beneficial insects for release in treating pest infestation.
Illustrative examples of subject matter classified in this place:
1. System for providing beneficial insects or mites

2.

Figure 2 illustrates a device for eliminating biological parasite (red mites 10) in poultry husbandry using predatory mites (36).
3.

Figure 3 illustrates the use of devices for preventing the appearance of plant pest insects: containers of devices A and B contain eggs of predatory insects. Device A comprises a diffuser (4) of egg-laying stimulation agents and device B comprises a lamella (40) coated with egg-laying stimulation agents.
Attention is drawn to the following places, which may be of interest for search:
Genetically modified invertebrates, e.g. transgenic or polyploid |
This place covers:
Fish and/or crab traps, e.g. nets, crabbing bait holders.
Reaction grill nets.
Fish attracting means.
Devices for unconfined fish farming.

This place covers:
Fishing devices by means of fixed nets with traps.
Crab traps including nets.

This place covers:
Traps for fishes, crabs and other marine animals. e.g. shelter trap, etc.
Entrance gates to traps.
Devices for attracting animals into a cage, e.g. bait bag, etc.
Devices for releasing bait in combination with a trap.
Traps may include signalling device.
Trap cleaning devices.

This place covers:
Rigid traps for catching, e.g. lobsters, crabs, fish, etc.
- may include escape gaps for undersized animals.
Entrance gates for these traps.
Means for marking the cages.
Devices for releasing baiting combination with these traps.

This place covers:
Collapsible traps for catching e.g. lobsters, crabs, fish, etc.
Collapsible bait traps.
Traps may be movable.

This place covers:
Fishing by means of floating nets.
The net may be connected to inflatable floating assemblies, floating material, etc.
Floating fish baskets.

This place does not cover:
Drawn nets |
This place covers:
Drawn nets for catching fish or other marine animals, e.g. taking samples of the ocean bottom.
- may be by means of wheels.
- may include cages.
Devices for marking the nets.

Attention is drawn to the following places, which may be of interest for search:
Vessels for collecting pollution from open water | |
Cleaning or keeping clear the surface of open water |
This place covers:
Subject matter wherein the nets for catching fish or other marine animals are shaped to form a large, flattened bag and are adapted to be towed behind a boat or a vessel at a desired depth in a body of water.
Illustrative example of subject matter classified in this group.

Trawling nets 1-3 include a surface trawling net 1 positioned adjacent the water surface 5, a mid-water trawling net 2 positioned midway between the water surface 5 and the bottom 6, and a bottom trawling net 3 positioned adjacent the bottom 6, wherein the trawling nets 1-3 are towed behind a vessel 4 for catching fish or other marine animals.

Trawling net 7 is towed behind vessel 8 at a selected depth between the water surface 9 and the bottom 10 in a body of water for catching fish or other marine animals.
Attention is drawn to the following places, which may be of interest for search:
Fishing vessels | |
Fishing trawlers |
This place covers:
Devices for regulating the depth of fishing nets, e.g. with adjustable angle of elevation.
Depth controlling devices.
Devices for keeping nets closer to the seabed, e.g. ground rope, etc.
Illustrative example of subject matter classified in this group.


Trawling net 1 has a depth adjusting hydrofoil 2 with a control surface 3 that can be moved within a range of adjustment 4 to control the depth at which the trawling net 1 travels in a body of water.
This place covers:
Devices for spreading and/or positioning fishing nets, e.g. float boards, special net fabric, etc.
Opening devices for nets e.g. collapse-mechanism, etc.
Steering devices for nets.
Devices for monitoring the angle settings of wires.
Illustrative example of subject matter classified in this group.

Trawling net 1 is positioned in an upright orientation by floats 2 mounted thereto.

Trawling net 3 having a net opening 4 is towed by a vessel 5 via cables 6 which extend between the net opening 4 and winches 7 located on the vessel 5. A sensor 8 detects the speed and direction of the net and this information from the sensor 8 is transmitted to the vessel 5 via soundwaves 9 where it is received by a receiver unit 10 for transmission to a computer 11 which is in communication with the winches 7. The winches 7 are operated by the computer 11 to adjust the tension in the cables 6 so as to maintain the net opening 4 in the desired position as the trawling net 3 is being drawn in the body of water.
This place covers:
Subject matter wherein the large, flattened bag shaped net includes detailed panel structure, which, when engaged by a stream of water generated as the net is towed through the body of water, helps hold an entry area of the net agape for the fish or other aquatic animals to pass through. These devices are also referred to as otter boards and trawl doors.
Illustrative example of subject matter classified in this group.

Trawling net 1 having a net opening 2 is towed behind a vessel 3 via chains 4, wherein trawl boards 5 assist in holding the net opening 2 agape for fish or other aquatic animals to pass therethrough as the flow of water generated by towing the trawling net 1 acts upon the trawl boards 5.

Otter Board 6 has a lower foil 7, an intermediate foil 8, and an upper foil 9 which are arranged with respect to each other by outer ribs 10 and center ribs 11, wherein the foils 7-9 and ribs 10-11 form channels that assist the otter board 6 in generating spreading forces as the otter board 6 travels in the water in connection with a trawling net so as to assist in holding a mouth of the trawling net open for fish or other aquatic animals to pass therethrough.
This place covers:
Devices for vertical sheering of fishing nets.
Details therefor, e.g. trawling gear, vertical suspensions, otter boards, etc.
Towing devices for nets.
Illustrative example of subject matter classified in this group.

A structure 1 has a lower wing 2, an upper wing 3, dividing walls 4, and attachments 5 for attaching the structure 1 at an upper portion of a mouth of an existing trawling net, wherein the lower and upper wings 2-3 generate a lifting force to the trawling net to assist in the vertical opening of the mouth of the trawling net.
This place covers:
Rollers, wheels or balls intended to roll over the ground substantially in trawl direction.
Ground-line rollers for fishing nets, e.g. footrope construction, etc.
Trailing devices, lead lines for fish nets, guide wheels, ground rope, tail planes, etc.
They may be attached to other parts of nets or lines than ground lines.
Illustrative example of subject matter classified in this group.

Trawling net 1 for fishing along a bottom of a body of water has a ground-line 2 with rollers 3 attached thereto for reducing friction between the trawling net 1 and the bottom of the body of water.

Trawling net 4 for fishing along a bottom of a body of water has a ground-line 5 with rollers 6 attached thereto by hanging chains 7, wherein the rollers assist the trawling net in moving smoothly along the bottom of the body of water.
Attention is drawn to the following places, which may be of interest for search:
Devices for spreading or positioning | |
Sinkers | |
Harvesting oysters, mussels, sponges or the like |
This place covers:
Devices or details involved in towing or hauling trawler headlines.
Devices for handling the whole net, e.g. discharging its contents.
Devices for controlling line traction or length or speed.
Winches or their control may be included, also engine control.
Details or headlines, e.g. special links, or load gauges.
Position control of net may also be involved.
Lines to be hauled may serve for other objects, e.g. lobster pots.
Discharging fish from net into boat, e.g. seine-net.
Devices may include devices for oiling/lubrication of cables.
Illustrative example of subject matter classified in this group.

Vessel 1 has a winch 2 and a boom 3 with pulleys for hauling the headlines 4 of the trawling net, wherein the winch 2 has both a central body for reeling on the net body of the trawling net and laterally positioned drums for reeling on the headlines 4 of the trawling net.

Net 5 having a net line 6 is hauled using a net reeling drum apparatus 7.
Attention is drawn to the following places, which may be of interest for search:
Determining the quantity of the catch | |
Nets held vertically in the water | |
Trotline-handling | |
Trawlers | |
Fishing trawlers adapted to dragging nets aboard | |
Fishing trawlers adapted to hoisting nets aboard | |
Winches; their control |
This place covers:
Trawling nets with structure for causing an unwanted item, including debris or an undesired fish or other aquatic animal, to either pass through or by the net or to be retained in a separate section of the net so that a targeted fish or other aquatic animal may be retained in the net or separated from the unwanted item.
Illustrative example of subject matter classified in this group.


The net 22 includes an excluder device 10 which causes unwanted items, such as turtles 24, fin-fish 26, and debris 28 to pass by the net 22 so that the targeted aquatic animal, such as shrimp 30, may be retained in the net 22 and separated from the unwanted items.
This place covers:
Trawling nets which use electric current to provide a charge which may lure, reposition, stun or otherwise influence the fish or other aquatic animal.
Illustrative example of subject matter classified in this group.

The trawl net 16 has a first electrode 10 comprising separate electrically conducting bodies 10a-c, a second electrode 12, and a pulse generator 28 which is connected to the electrodes 10,12 to generate during operation a pulsed electric field in the water.
This place covers:
Trawling nets with a structure which (1) restricts the amount by which the net may constrict or expand due to the stress caused by filling the net, (2) restricts the quantity of fish or other aquatic animal permitted to fill the net or (3) signals the amount of fish or other aquatic animal caught upon reaching a particular quantity. Constriction or expansion of the net beyond a certain limit must usually be avoided to prevent damage to the net as the net is filled. A device commonly known as a spiller which releases any excess fish or aquatic animal upon the net reaching a predetermined limit is included here.
Illustrative example of subject matter classified in this group.

Trawling net 1 includes an expander ring 3 through which fish pass into the codend 9, but fish in excess of the capacity of the codend 9 will press downwardly upon a spiller 4 to cause the spiller 4 to yield downwardly and allow the excess fish to escape.

Trawling net includes measuring probes 1 for electronically ascertaining the degree to which the trawling net is filled.
This place covers:
Seines, e.g. course-meshed seines, etc.
Cast nets, commercial fishing nets, etc.
Devices for preventing entrapment of see mammals.
Purse-ring stripper devices.
Devices for rearing shrimp, using nets held vertically in water.
Spar buoy pen systems.
Net joining structures.
Netting may be coloured.
Nets may include fish traps.

This place covers:
Other catching nets or the like, not provided for in other groups.
Devices for transporting and/or collecting fish.
Fish catching devices.
Fish lasso's.
Details for nets, e.g. brails, etc.
Fishing methods.

This place covers:
Structure or manufacture of nets (even if limited to particular kinds of nets) or their cables or wires.
Details of nets, e.g. connectors.
Auxiliary features, e.g. electronic accessories, other than mere illumination.
Measuring devices for or on nets, e.g. for controlling their length.
Protective devices on nets, e.g. armour plates.
Devices embracing floats and/or sinkers, e.g. their embedding in a special cable.
Handling nets (mostly ashore or on board), e.g. holding, and shaking.
Devices for protecting animals, e.g. whale release device, etc.
Cleaning devices for e.g. nets.
Illustrative example of subject matter classified in this group.

Sweep net 1 has a net 2 and a fish grading device 3, wherein the net 2 is suspended by floats 4 for maintaining the net in a vertical orientation in a body of water and the fish grading device 3 has a mesh size such that fish above a certain size cannot swim through the net and are therefore retained in the sweep net 1.


Strap 5 comprises a length of twine forming sides of a mesh and three loops 6 which are formed using swages 7 to secure the loops 6, wherein the straps 5 are joined to each other to form a portion of an assembled fish netting 8 which represents part of a net assembly.
Attention is drawn to the following places, which may be of interest for search:
Receptacles for live fish | |
Hauling devices for the headlines | |
Determining the quantity of he catch | |
Methods or means of catching fish in bulk | |
By electrocution | |
Harvesting oysters, mussels, sponges or the like | |
Drying fishing lines |
This place covers:
Trawling nets wherein significance is attributed to the structural makeup of the trawling nets.
Illustrative example of subject matter classified in this group.

The mesh cell 30 forms part of a trawling net and is formed by couplers 34 and a series of mesh bars 35 that include several product strands 36,37 which are twisted about a common axis of symmetry 38, wherein the mesh bars 35 create a pressure differential and lift across the mesh bars 35 as the trawling net moves through the water, wherein the created lift increases performance characteristics of the trawling net such as increased trawl volume, improved trawl shape, and reduced vibration, noise, and drag.
This place covers:
Illumines devices for nets and other devices for catching fish, may be chemo-light, etc.
Floating fishing lights.
Luminous fishing lure tackles.
Luminous bait.
Reflective fishing nets.

This place covers:
Floats, e.g. a buoyancy float, pneumatic float, etc.
- May consist of cork, foam rubber, etc.
- may be illuminated.
Devices for attaching ropes/nets to floats, e.g. clamps.

Attention is drawn to the following places, which may be of interest for search:
Floats for angling |
This place covers:
Devices for ballasting nets or net-lines, if not intended to roll over the ground substantially in trawl direction.
Sinkers forming part of specific net structures are found in groups for those structures.
Groundrope bobbins, dan-lenno bobbins.
Weighted lines, sink lines, drag-devices.
Illustrative example of subject matter classified in this group.

Attention is drawn to the following places, which may be of interest for search:
Culture of aquatic animals | |
Of bivalves, e.g. oysters or mussels | |
Receptacles for live fish | |
Stationary catching devices | |
Traps | |
Rigid traps | |
Devices for spreading or positioning | |
Ground-line rollers | |
Sinkers for angling |
This place covers:
Landing-nets, kesher, may be lightweight, collapsible, etc.
Handles for fishing-nets, may be extensible, collapsible, etc.
Devices may be useful for other purposes, e.g. egg retriever, swimming pool skinner, etc.
Details therefor, e.g. locking mechanisms, etc.
Illustrative example of subject matter classified in this group.

Landing net 1 has a frame 2, a net portion 3, and a handle 4.
This place covers:
Landing-nets with parts which are foldable or collapsible for greater ease in carrying, or with parts which can be so manipulated as to secure a caught fish.
Illustrative example of subject matter classified in this group.

The landing net has a handle 2, loop member 3, and netting 4, wherein the loop member 3 is circular in the expanded position and wherein the loop member 3 may be completely folded into a series of convolutions in the collapsed position.



The landing net has a handle 12, a fixed arm 14 and a support arm 16 which both support mesh material 28, and a torsion spring 18 which moves arm 16 into the open position away from the fixed arm 14, wherein when a caught fish 25 is received in the mesh material 28, the caught fish 25 will cause arm 16 to rotate toward fixed arm 14, thereby collapsing the mesh material 28 around the fish.
This place covers:
Devices for separating target and non-target species harvested from water bodies.
Devices for harvesting marine animals, e.g. brine shrimp harvester.
Devices for displacement of live fish.
Devices for determining the quantity of plankton. Devices for handling whales (carcasses).
Observation systems, ultrasonic submarine sounding equipment, etc.

This place covers:
Inducing movement into fish, shrimp, shellfish, etc, by electricity.
Inducing electrotaxy (directed swimming).
Stunning of fish and whales, by electricity.
Killing fish, before and after catching them, by means of electricity.
Special forms of appearance of electric current used, e.g. pulses.
Retrieving fish etc., by electrically induced movement.
Electric hooks for angling (stunning or killing biting fish).
Using water as conductor, for operating, e.g. echo-sounding.
A luring light may be involved or used alone in catching fish.
Attracting or scaring fish etc., by means other than electricity, e.g. by bait-spreading, air bubbles, shock waves, sound, etc.
Attracting or stunning fish.
Scaring sharks.
Illustrative example of subject matter classified in this group.

Electrofishing Device 1 has a wand 2, an anode 3, a cathode 4, an electrical circuit unit 5, and a power source 6, wherein the anode 3 and cathode 4 induce an electric field within a body of water and any fish within the electric field and which causes a state of petit mal in the fish where the fish lose consciousness and their muscles become flaccid so that the user may easily catch the fish for inspection, analysis, or other processing.

Apparatus 7 for nuisance carp control has a raft 8, an electrified weir 9, and a stimulus device 10, wherein the electrified weir 9 funnels the carp toward the raft 8 and the stimulus device 10 is an electrode that applies a stimulus to the water in the immediate vicinity thereof to cause carp to leap out of the water for collection on the raft 8.
Attention is drawn to the following places, which may be of interest for search:
Training or exercise equipment | |
Scaring in general | |
Fish repellers for hydroplants | |
Electric circuits or apparatus specially designed for use in equipment for killing, stunning or guiding living being |
This place covers:
Drags for catching organisms on or underground, other than normal dragnets having ground-chains or the like.
Devices for scraping mussels poles or oyster tiles etc., also for de-scaling.
Suction harvesting devices for ground-living organisms.
Plankton harvesters, also research purposes.
Marine specimen collectors or samplers.
Dredgers for clams, etc.
Crab catchers.
Clam diggers.
Sponge harvesting.
Oyster tongs.
Rakes, for treating oyster ground bottom surface.
Illustrative example of subject matter classified in this group.

Shellfish dredge 1 has a towing frame 2 and a bag 3 comprising metal rings and links 4 which control the size of shellfish that the bag 3 is capable of holding, wherein the shellfish dredge 1 is towed along the ocean floor via the towing frame 2 which contacts the ocean floor to cause the shellfish to be collected in the bag 3.

Clam rake 5 is used to penetrate the sand in order to collect shellfish living in the sand.

Clam dredge 6 is towed by vessel 7 along the ocean floor and has tines 8 and a bag 9, wherein the tines 8 cut into the ocean floor to dislodge the shellfish therefrom for collection in the bag 9.

Vessel 10 has a first pipe 11 with a mouth 12 at a lower end thereof and a second pipe 13 which extends along the first pipe 11, wherein the second pipe 13 supplies compressed air to the first pipe 11 at the mouth 12 so as to both disrupt the bottom of the body of water adjacent the mouth 12 for dislodging the shellfish from the bottom of the body of water and cause a rising column of water to form within the first pipe 11 and mouth 12 which transports the shellfish to the vessel 10 via the first pipe 11.
Attention is drawn to the following places, which may be of interest for search:
Culture of aquatic animals | |
Of bivalves, e.g. oysters or mussels | |
Sorting, grading, counting or marking live aquatic animals | |
Fishing nets | |
Trawling nets | |
Methods or means of catching fish in bulk | |
Cultivation of seaweed or algae | |
Amphibious vehicles | |
Dredgers in general |
This place covers:
Trawling nets with a runner construction for supporting a net during travel along the bottom of the body of water.
Illustrative example of subject matter classified in this group.

Trawling net 9 has a runner construction in the form of a pair of skids 12 which support the trawling net 9 during travel along the bottom of the body of water.
This place covers:
Harpoons, e.g. fish tag harpoon.
Under water guns, e.g. shark gun. Details therefor, e.g. gun barrel, firing mechanism, etc.
Fishing arrows, archery fish points, etc.
Devices may include explosive head/ projectiles, tranquilizers, etc.
Fish darts, e.g. electric anti-shark dart.

This place covers:
Fish spears, may include electricity, explosive head, etc.
Precision system for releasing e.g. a harpoon.
Arrow heads.

This place covers:
Safety guns.
Details therefor, e.g. stretching mechanism for crossbow, special arrow guide in the handle, etc.

This place covers:
Illustrative example of subject matter classified in this group.

Attention is drawn to the following places, which may be of interest for search:
Making fish-hooks |
This place covers:
Illustrative example of subject matter classified in this group.


This place covers:
Trap-hooks actuated only by a pull, either from the fish or from the fisherman, or both, and not by a spring or weight.
Illustrative example of subject matter classified in this group.

A trap hook 64 is mounted inside a cavity 46 of a body 14 of a fishing lure where it is retained within the cavity 46 by a magnet 49 and one end of fishing line 44 is attached to hook 64 and when the other end of the fishing line 44 is pulled by the fisherman, the trap hook 64 moves to a position outside of the cavity 46 in order to hook the fish.
This place covers:
Illustrative example of subject matter classified in this group.

This place covers:
Trap hooks with special gripping arms, wherein the trap hooks are actuated only by a pull, either from the fish or from the fisherman, or both, and not by a spring or weight.
Illustrative example of subject matter classified in this group.

A trap hook 10 has special gripping arms 18 with barbs 19 and a main hook 25, wherein the trap hook 10 is actuated by a pull from the fish upon the main hook 25 which causes the arms 18 with barbs 19 to move toward each other to engage the fish.
This place covers:
Illustrative example of subject matter classified in this group.


Attention is drawn to the following places, which may be of interest for search:
Baiting trotlines | |
Holding non-living edible bait on hooks |
This place covers:
Bait holders and retainers in which at least one element substantially encircles the bait and holds the bait and holds or assists in holding the bait on the hook or hook connectors.
Illustrative example of subject matter classified in this group.

Bait holder 14 has shell 16 and hook retainer 17 for connecting the bait holder 14 to hook 23, wherein the shell 16 substantially encircles the bait 20 and holds the bait on the hook 23.
This place covers:
Bait holders and retainers comprising separable members which receive the bait between them and which are either resiliently biased to closing position clasping the bait or are held in closed relationship by a latch, slide, or other equivalent device.
Illustrative example of subject matter classified in this group.

Bait holder 10 has a first jaw 11a, a second jaw 12a, a resilient portion 13a, and a hook clamping portion 23 for connecting the bait holder 10 to hook 20, wherein the first and second jaws 11a, 12a are biased toward a closing position by resilient portion 13a to receive and hold bait placed between the first and second jaws 11a, 12a.
This place covers:
Bait holders and retainers comprising a hook which has bait retaining means integral therewith or movably or rigidly mounted thereon, said means usually consisting of a movable hook opposing member, a clasp, a prong, point, or second hook, and the bait having no other support except the fishhook.
Illustrative example of subject matter classified in this group.

Bait holder 10 has a hook 12 and a prong 30 rigidly mounted on the hook 12, wherein the prong 30 retains bait 70.
This place covers:
Fishing hooks with means and arrangements guarding against the catching or snagging of weeds, marine plant growth, submerged logs, etc., constituted, for example, by single and multiple wire elements preceding or adjacent to the hooks and arrangements of multiple hooks to guard each other.
Illustrative example of subject matter classified in this group.

Fishing hook 10 has multiple hooks 30 arranged to guard against snagging by shielding barbs 36 at the lower ends of the hooks 30 with upper ends 12 of the hooks 30.
This place covers:
Fishing hooks with weed guarding means (1) constituted by an elastic, collapsible element extending from the shank of the hook to cover the hook point; (2) having a shiftable connection between the guard and the hook allowing them to slide relative to each other on a strike of a fish, or (3) having means whereby the pull on the line operates to shift the guard.
Illustrative example of subject matter classified in this group.

Fishing hook H has a shank 10 and a hook point 16 and a guard G has a pair of legs 22,24 with a collar 34 used to secure ends 30,32 of the legs 21,22 in close spaced relation for releasably engaging the hook point 16 so as to form a shiftable connection between the hook H and the guard G, wherein when an inwardly directed force is applied to the guard G toward the shank 10, such as by a striking fish, it results in the ends 30,32 of the legs 21,22 becoming disengaged from the hook point 16 to thus expose the hook point 16 for hooking the fish.

Fishing hook 5 has a hook eye 6 and a hook point 7 and a guard 8 has a conical head 9, a recess 10 for accommodating the hook point 7, an eye 11, and a catch 13, the conical head 9 covers the hook point 7 in a first position and exposes the hook point 7 in a second position for hooking a fish, the catch 13 maintains the conical head 9 in the first position by engaging the hook eye 6, and a fishing line 12 is connected to the eye 11 so that when tension is applied to the fishing line 12 it will result in disengaging the catch 13 from the hook 6 to allow the conical head 9 to move to the second position.
This place covers:
Fishing hooks which are guarded against the snagging of weeds, etc., by a single wire or similar element extending from adjacent the shank of the hook to substantially cover or close the point of the hook.
Illustrative example of subject matter classified in this group.

Fishing hook 10 has an element 54 extending from adjacent the shank 26 of the hook to substantially cover the point 34a of the hook.
This place covers:
Artificial or imitation baits designed to attract fish and catch or aid in catching fish. Such lures frequently look like, or when moved through the water, take on the appearance of a live bait. Jigheads, soft lures, lures combining several features of subclasses.
Illustrative example of subject matter classified in this group.


Attention is drawn to the following places, which may be of interest for search:
Device for holding bait on hooks | |
Devices for laying ground-bait, e.g. chum dispensers |
This place covers:
Illustrative example of subject matter classified in this group.

Fishing lure 1 has a multiplicity of loop elements 2, which are engageable with the teeth of a fish to thereby catch the fish.

Fishing lure 3 has a pressurized gas container 4, a rod 5, an eyelet 6 at the upper end of the rod 5, a puncture point 7, a first chamber 8, a second chamber 9, a flap 10, and a fishing line 11 connected to the eyelet 6, wherein when a fish bites the fishing lure 3 and a pull is exerted on both the fishing lure 3 and the fishing line 11, puncture point 7 is driven into the pressurized gas container 4 to release gas into the first chamber 8 and the second chamber 9 to cause the fishing lure 3 to inflate and frictionally engage the inner walls of the fish to thereby catch the fish. In the event that pressurized gas leaks out of the first chamber 8, gas attempting to flow from the second chamber 9 to the first chamber 8 acts against flap 10 to seal the gas in the second chamber 9.


Fish capture device 12 has a central rod 13, hinged arms 14 attached to the central rod 13, a hollow rod 15, a spring 16 attached to one end of the central rod 13 for biasing the central rod 13 away from a closed end of the hollow rod 15 where the spring 16 is located, and an eye 17 attached to the other end of the central rod 13 for connection to a fishing line, wherein when a fish bites upon the fish capture device 12 and a pull is applied to the eye 17 by the fishing line, the central rod 13 and spring 16 cause the hinged arms 14 to move from a retracted position to an expanded position which results in the hinged arms 14 coming into contact with the interior of the mouth of the fish to thereby catch the fish.
This place covers:
Illustrative example of subject matter classified in this group.

Attention is drawn to the following places, which may be of interest for search:
Attracting fish with lighting or sound device not attached to fishing line |
This place covers:
Lures constructed with a special surface or established in various ways for the attraction of fish. Features other than or in addition to the basic subject matter of the group, which comprises a lure body, whether solid, hollow or of sheet material, hook and/or line connections, guards and weights, are included here; e.g., rigid projections such as eyes, feelers, ears, legs, etc., real or artificial skins covering bait bodies, and other surfaces simulating scales etc., reflectors, which are not merely polished lure members, but special materials as wire mesh or shells, and multiple layer effects. Coatings are included only if they cover a reflector or pattern or form a patterned effect.
Illustrative example of subject matter classified in this group.

Fishing lure 10 has a body 12 with a holographic image 20 applied to the body.

Fishing lure 1 simulating a cigarette butt is painted white from end to end with an overlay of black marks 2 simulating the ash end of the butt.
This place covers:
Lures with a special attracting body or body surface formed by either a transparent coating over an attracting surface or a body made of transparent or translucent material with a backing of reflecting material or patterned to give an attractive effect.
Illustrative example of subject matter classified in this group.

Fishing lure having body 10, (with hooks 11,12) of transparent plastic material with a backing of reflecting material comprising a central birefringent layer 15 comprising cellophane and two polarizing films 16 on each side of the central birefringent layer 15, the central birefringent layer 15 and two polarizing films 16 providing an iridescent flash to attract fish.
This place covers:
Lures having a body (1) formed with a pitted, roughened, ridged, etc., surface, for attracting fish, usually by imitating the skin of a fish or other live bait or by reflecting light, or (2) provided with indentations or projecting members which may be reflectors or simulations of eyes, feelers, or similar body parts.
Illustrative example of subject matter classified in this group.

Fishing lure 10 has a body 12 with a ridged surface 22 defined by transverse corrugations for attracting fish by reflecting light.

Fishing lure 10 has a body 12 with a ridged surface 22 defined by transverse corrugations for attracting fish by reflecting light.
This place covers:
Devices in the form of an artificial bait or lure wherein the light source is in or on the lure.
This place covers:
Lures having (1) means producing a noise during the passage of the bait through the water, or (2) material loosely confined on or in the body to shift during movement of the bait, usually to produce a sound effect.
This place covers:
Lures which give off, in their passage through the water, an attracting scent material originally contained within or on the body.
This place covers:
Lures having an inlet and outlet for the passage therethrough of water through which the lure is moving.
Illustrative example of subject matter classified in this group.

Fishing lure 1 is a hollow body which allows water 2 to flow there through.

Fishing lure 1 has a bore 2 through which water and bubbles 3 will pass as the fishing lure is moved forwardly through the water.
This place covers:
Illustrative example of subject matter classified in this group.

This place covers:
Lures which are made of a flexible material and which either house the hook or protect it by preceding and/or shielding the hook points or barbs. The bait is compressible or collapsible to allow fish to take the hook.
Illustrative example of subject matter classified in this group.

Fishing lure 1 is made from a flexible material and houses the hook 2.
This place covers:
Lures with means or arrangements for guarding the body or the hook or both, against the catching or snagging of weeds, marine plant growth, submerged logs, or for non-use, constituted either by multiple hooks arranged to guard each other or by the relation of the lure body to the hook or by wire or other projecting or opposed elements protecting the lure body, hook or hook points.
This place covers:
Ridge lures with a weed guard element for the attached hooks constructed so the hook or hook point is guarded by being housed within or located adjacent to a slot or depression in a lure body. The hooks are either loosely or flexibly attached so they can impale the fish upon its strike.
Illustrative example of subject matter classified in this group.

Fishing lure body 1 has a hook 2 which is loosely attached at pivot 3, wherein the hook 2 is guarded by being housed within a slot 4 in the fishing lure body 1.
This place covers:
Lures with weed guard elements projecting outwardly from the lure body to guard the hooks or body and hooks against vegetation or fend the lures from obstructions.
Illustrative example of subject matter classified in this group.

Fishing lure body 1 has a guard 2 projecting outwardly from the lure body 1.
This place covers:
Lures, with weed guards formed by elements projecting from a point forward of the hook point, and which substantially close or cover the point of the hook.
Illustrative example of subject matter classified in this group.

Fishing lure 1 has a weed guard 2 that projects from a point forward of the point of a hook 3 so as to substantially close or cover the point of the hook 3.
This place covers:
Lures having at least one hook or hook-like device mounted on a base or supporting part in a non-hooking or housed position for movement relative thereto to hooking position and including means for causing the relative motion. The motion causing means may comprise hooks biased to operative position and having catch or other releasable means holding the hook in inoperative position.
This place covers:
Lures having spring-actuated trap-hooks comprising two or more hooks normally held close together and tending to spread apart from each other to snag or catch a fish biting at the same.
Illustrative example of subject matter classified in this group.

Fishing Lure 1 comprises two hooks 2 which are biased away from each other by a spring 3, wherein the hooks 2 are normally held close together as shown in the solid line position of the hooks 2 and which spread apart from each other to snag or catch a fish biting at the same time as shown in phantom line position of the hooks 2.
This place covers:
Fishing lures having trap-hooks actuated only by a pull, either from the fish or from the fisherman, or both, and not by a spring or weight.
Illustrative example of subject matter classified in this group.

Fishing lure 1 has a trap hook 2 which is normally held inside the Fishing lure 1 by magnet 3, wherein the trap hook 2 is actuated by a pull on the fishing line 4 to cause the trap hook 2 to move externally of the fishing lure 1 to thereby hook a fish.
This place covers:
Lures which have interchangeable lure parts for the substitution of parts of different form, color, etc., or means permitting ready interchange of such parts. Disconnectable or shiftable body parts for the attachment of various attracting elements and bodies with multiple covers which are removable and expendable are included.
Illustrative example of subject matter classified in this group.

Fishing lure 1 has a first lure cover section 2 and a second lure cover section 3 which may be removably mounted on the fishing lure 1 in order to change the exterior appearance of the fishing lure 1 by exchanging various cover sections having different colors or appearances.

Fishing lure 4 has a barbed tail 5 to which any one of a plurality of interchangeable soft bait components 6 may be attached to in order to change the appearance of the fishing lure 4.
This place covers:
Illustrative example of subject matter classified in this group.

Attention is drawn to the following places, which may be of interest for search:
Fishing fly tying devices | |
Vice adapted for fly tying |
This place covers:
Illustrative example of subject matter classified in this group.

This place covers:
Illustrative example of subject matter classified in this group.


This place covers:
Lures having rotating bodies of vane type whose cross-section forms an area rather than a line when viewed perpendicularly to the axis of rotation.
Illustrative example of subject matter classified in this group.

Fishing lure 1 comprises a rotating body 2 of vane type having a cross-section which forms an area rather than a line when viewed perpendicularly to the axis of rotation.

Fishing lure 3 comprises a rotating body with vanes 4 and which has a cross-section which forms an area rather than a line when viewed perpendicularly to the axis of rotation.
This place covers:
Lures having rotating bodies of vane type whose cross-section forms a line rather than an area when viewed perpendicularly to the axis of rotation.
Illustrative example of subject matter classified in this group.

Fishing lure 1 comprises a rotating body with vanes 2, wherein the fishing lure 1 has a cross-section which forms a line rather than an area when viewed perpendicularly to the axis of rotation.

Fishing lure 3 comprises a rotating body with vanes 4, wherein the fishing lure 3 has a cross-section which forms a line rather than an area when viewed perpendicularly to the axis of rotation.
This place covers:
Lures in which the body is caused to rotate either by vanes or blades turned oppositely thereon or by reason of the spiral shape of the body.
Illustrative example of subject matter classified in this group.

Fishing lure 1 comprises a rotating body with vanes 2 that are turned oppositely thereon.

Fishing lure 3 comprises a rotating body with a spiral shape.
This place covers:
Illustrative example of subject matter classified in this group.


This place covers:
Lures with flat, or substantially flat, undulating bodies with spiral or oppositely directed vanes that are non-rotatable with respect to the lure bodies.
Illustrative example of subject matter classified in this group.

Fishing lure 1 has a spiral shape.

Fishing lure 2 comprises a flat undulating body 3 with oppositely directed vanes 4.
This place covers:
Lures in which the hook or hooks are attached rigidly or for non-pivoted movement, or in which the hook or hooks are attached at a point inward from the margin of the spoon.
Illustrative example of subject matter classified in this group.

Fishing lure 1 has a hook 2 which is rigidly attached by solder 3.

Fishing lure 4 is a spoon which has a hook 5 which is rigidly attached at a point 6 inward from the margin of the spoon.
This place covers:
Illustrative example of subject matter classified in this group.

This place covers:
Illustrative example of subject matter classified in this group.


This place covers:
Lures in which the body has rigidly attached sheet material plates or diving vanes or lips for diving, guiding, etc.
Illustrative example of subject matter classified in this group.

Fishing lure 1 comprises a body 2 having a rigidly attached vane 3 for causing the fishing lure 1 to dive when retrieved.
This place covers:
Lures having vanes, bodies or body parts operated by continuous movement through the water to swing or flex from side to side by the pressure of the water on them each time the lure changes its direction, causing the lure to turn immediately in the opposite direction, the lure being thereby given a wobbling motion. The directing member may be either a pivotally connected vane or a flat member pivotally mounted at or near its ends so that the center part is flexed back and forth.
Illustrative example of subject matter classified in this group.

Fishing lure 1 has a rudder 2 which is connected to the body of the fishing lure 1 by a pivot device 3, wherein the rudder 2 is operated by continuous movement through the water to swing from side to side by the pressure of the water on the rudder 2 which causes the fishing lure 1 to turn in opposing directions.

Fishing lure 4 has a body part 5 that is pivotally connected to the body of the fishing lure 4, wherein the body part 5 is operated by continuous movement through the water to swing or flex from side to side by the pressure of the water on the body part 5 each time the fishing lure 4 changes its direction, causing the fishing lure 4 to turn immediately in the opposite direction to thereby give a wobbling motion.
This place covers:
Lures in which either the entire body or a body appendage is made of a flexible material.
This place covers:
Lures comprising a body with plural flexible elements or appendages attached intermediate its ends.
Illustrative example of subject matter classified in this group.

Fishing lure 1 comprises a body 2 with plural flexible side attached appendages 3 attached intermediate the ends of the fishing lure 1.
This place covers:
Lures comprising a body with plural flexible elements or appendages attached intermediate its ends which are for simulating wings.
Illustrative example of subject matter classified in this group.

Fishing lure 1 comprises a body 2 with plural side attached appendages which simulate wings 3.
This place covers:
Lures comprising a body having one or more elongated members of flexible material at or near its rear end to be trailed rearwardly in its passage through the water.
Illustrative example of subject matter classified in this group.

Fishing lure 1 comprises a body 2 with elongated members 3 of flexible material at its rear end to be trailed rearwardly in its passage through the water.
This place covers:
Lures, having trailing appendages in the form of detachable, flexible strips of material, such as a pork rind.
Illustrative example of subject matter classified in this group.

Fishing lure 1 comprises a trailing appendage 2 which is detachable from the fishing lure 1 via a screw 3.
This place covers:
Lures comprising a body with two flexible, trailing appendages, usually simulating a frog.
Illustrative example of subject matter classified in this group.

Fishing lure 1 comprises two trailing appendages 2 so as to simulate a frog.

Fishing lure 3 comprises two trailing appendages 4 which simulate a crayfish.
This place covers:
Lures formed by a body mounted solely on a hook, the hook being directly connected to the line or to a leader connected to the line.
Illustrative example of subject matter classified in this group.

Fishing lure 1 comprises a body 2 mounted solely on a hook 3 which is directly connectable to the line 4.
This place covers:
Lures comprising a fish hook with a weighting mass molded or formed about a portion of the hook, usually at the forward end of the fish hook.
Illustrative example of subject matter classified in this group.

Fishing lure 1 comprises a fish hook 2 with a mass 3 molded or formed about a forward portion of the fish hook 2.
This place covers:
Lures which have weights as components of or additions to the body of the lure, for reasons such as balance, diving, etc.
Illustrative example of subject matter classified in this group.

Fishing lure 1 comprises a body 2 having weights 3 placed along an underside of the body 2 so as to balance the fishing lure 1 in an upright orientation during use and to increase the overall weight of the fishing lure 1 so as to cause the fishing lure 1 to dive to deeper depths.
This place covers:
Lures with directing parts, buoyancy devices or line connections adjustable to vary the path of the bait through the water. Diving, guiding, depth below the surface, etc., may be affected. The adjustments are made manually when the lure is not in the water. Hollow bodies containing variable weights, valved hollow bodies into which air or water may be introduced, and adjustable vanes or other directing means are included.
Illustrative example of subject matter classified in this group.

Fishing Lure 1 comprises a diving plane 2 mounted at the forward end of the fishing lure 1, wherein the angle 3 of the diving plane 2 may be adjusted by positioning the diving plane 2 within a selected one of grooves 4, resulting in the control of the depth and angle at which the fishing lure 1 will dive as it is retrieved in the water.

Fishing lure 5 comprises a buoyancy affecting chamber 6 which receives weights 7 for providing ballast to the fishing lure 5, wherein the chamber can be accessed by a plug 8 to allow the user to either add or remove the weights 7 from the chambers 6 to thereby adjust the overall buoyancy of the fishing lure 5.
This place covers:
Lures having an adjustable connection for the line.
Illustrative example of subject matter classified in this group.

Fishing lure 1 has a plurality of apertures 2 at a forward end thereof, wherein the fishing line 3 may be selectively connected to any one of the apertures 2 so as to control the angle and depth at which the fishing lure 1 will travel as it is retrieved.
This place covers:
Lures constructed with a hollow interior for various reasons, such as buoyancy, materials and methods of construction, etc.
Illustrative example of subject matter classified in this group.

Fishing lure 1 has a hollow interior 2 for providing buoyancy to the fishing lure 1 so that it floats in water.
This place covers:
Lures having a direct hook to line connection which either passes through the body of the lure or is fixedly attached along the length of the body.
Illustrative example of subject matter classified in this group.

Fishing lure 1 comprises a body, a hook 2 and a direct hook to line connection 3 that passes through the body of the fishing lure 1.

Fishing lure 5 comprises a body 6, a hook 7 and a direct hook to line connection 8 that is fixedly attached along the length of the body by connectors 9.
This place covers:
Lures loosely and slidably mounted on the line or hook and line connector to allow the lure body to move away from the hook or hooks.
Illustrative example of subject matter classified in this group.

Fishing Lure 1 comprises a body 2 and a hook 3, wherein the fishing lure 1 is slidably mounted on line 4 to allow the lure body 2 to move away from the hook 3.
This place covers:
Lures in which (1) the lure must be shifted relative to the hook connection to give access to the hook holding means before the hook can be disconnected, or (2) the means for holding the line on the lure and the means for holding the hook on the lure are so interrelated that one must be moved from operative position before the other can be removed or disengaged from the lure or operated to release the hook or line held by it.
Illustrative example of subject matter classified in this group.


Fishing Lure 1 comprises a hook 2, a hook connection 3, and hook holding means 4, wherein the fishing lure 1 must be shifted relative to the hook connection 3 to give access to the hook holding means 4 before the hook 2 can be disconnected.


Fishing lure 5 comprises a hook 6, means for holding the line on the lure 7, and means for holding the hook on the lure 8, wherein the means for holding the line on the lure 7 must be moved downwardly from operative position before the hook 6 can be disengaged from the fishing lure 5.
This place covers:
Lures with a shiftable body, body part, or hooks which are normally held in one position either by releasable detents, friction, or the pull of the line, but which are actuated and moved relative to one another upon the strike of a fish, either to free the hook from the lure or separate it enough so that the fish can be held securely. Hooks releasably held adjacent to the lure body to be shifted by the strike of a fish are included.
Illustrative example of subject matter classified in this group.


Fishing Lure 1 comprises a hook 2 which is normally held in position against the fishing lure 1 by a nub 3, but upon the strike of a fish the hook 2 is moved relative to the fishing lure 1 and freed from the nub 3 so that the fish can be held securely.
This place covers:
Lures with movable body parts or attracting means which are actuated by a surge of the fishing line and which are biased to return to their original position when the line is given slack.
Illustrative example of subject matter classified in this group.

Fishing Lure 1 comprises a movable tail 2 which is actuated by a surge of the fishing line 3, wherein the movable tail 2 is biased to return to its original position by a biasing mechanism 4 when the line 3 is given slack.
This place covers:
Lures adapted (1) for attaching the lure to the line by means other than a mere eye or loop on the line or line connector, or a mere eye or hole on or in the lure body, or (2) for attaching the lure to the line at points other than the margin or extremity of the lure body.
Illustrative example of subject matter classified in this group.


Fishing lure 1 is adapted for being attached to the line 2 by a quick release connection 3, wherein the quick release connection 3 can be disconnected by pulling on a control member 4 to cause locking members 5 to withdraw from retaining features 6.


Fishing lure 7 comprises a body 8, wherein the fishing lure 7 is adapted to be attached to the line 9 at a point 10 other than the margin or extremity of the lure body 8 by wrapping the line 9 around the point 10 located within the body 8.
This place covers:
Lures comprising a plurality of lures all connected to a single line or to each other, or a plurality of rigid lure members movably connected to one another. Plural lures comprise only (1) plural duplicate complete lures, or (2) plural lures, two or more of which have at least one lure member of rigid material. The rigid members may or may not be body simulating parts, and may be of solid form, spoon-like, in shape of an impeller with oppositely directed blades; e.g., spinners, etc.
Illustrative example of subject matter classified in this group.

Fishing lure 1 comprises a plurality of lures 2 which are movably connected to each other.

Fishing lure 3 comprises plural lures 4 which are of rigid material.
This place covers:
Lures comprised of plural members, at least one lying within another, one or more of which members are designed to rotate as the bait is drawn through the water. If the inner member or members rotate, their bearings or shaft ends or points of attachment must be within the confines of the outer body. If more than one member rotates, their motion must be independent.
Illustrative example of subject matter classified in this group.

Fishing Lure 1 comprises a rotatable first member 2 both attached to and lying within a non-rotating second member 3, wherein the points of attachment of the first member 2 are within the confines of the second member 3.

Fishing lure 4 comprises a rotatable first member 5 both attached to and lying within a non-rotating second member 6, wherein the points of attachment of the first member 5 are within the confines of the second member 6.
This place covers:
Lures comprising a lure with two or more movably or pivotally connected rigid members either offset from the body or attached intermediate the ends of the body to rotate or swing about a pivotal connection. The members may be spoons, spinners, or mere vanes or appendages.
Illustrative example of subject matter classified in this group.

Fishing lure 1 comprises two movably connected rigid members 2 offset from the body 3, wherein the rigid members 2 are spinners.
This place covers:
Lures comprising a lure with two or more movably or pivotally connected rigid members either offset from the body or attached intermediate the ends of the body to rotate or swing about a pivotal connection. The members may be spoons, spinners, or mere vanes or appendages.
Illustrative example of subject matter classified in this group.

Fishing lure 1 comprises pivotally connected rigid members 2 attached intermediate the ends of the fishing lure 1.

Fishing lure 3 comprises two pivotably connected rigid members 4 attached intermediate the ends of the fishing lure 3, wherein the rigid members 4 are spoons.

Fishing lure 5 comprises movably connected rigid members 6 attached intermediate the ends of the fishing lure 5, wherein the rigid members 6 are spinners.
This place covers:
Lures, one of the bodies or body parts being freely rotatable or revolvable about longitudinal axis, either its own or that of the assembly.
Illustrative example of subject matter classified in this group.

Fishing lure 1 comprises a body 2 which is freely rotatable about a longitudinal axis of the fishing lure 1.

Fishing lure 3 comprises a rotating body 4 and non-rotating bodies 5 which are movably connected in series, wherein the rotating body 4 is freely rotatable about the longitudinal axis of the fishing lure 3.
This place covers:
Lures in which the member which rotates (1) is of sheet material form, (2) is mounted on the hook or hook connector, and (3) precedes and rotates independently of the other lure members. The other lure member is usually the main attracting element of the lure, such as a plug or spoon or simulation of a live bait as a minnow, shellfish, etc.
Illustrative example of subject matter classified in this group.

Fishing Lure 1 comprises a first member 2, a second member 3, a third member 4, and a fourth member 5 which are movably connected in series, wherein the first member 2 is made of sheet material, precedes the other members 3-5, and rotates about its longitudinal axis.
This place covers:
Lures which are constructed of sheet material or material the cross-section of which forms a line rather than an area.
Illustrative example of subject matter classified in this group.

Fishing Lure 1 comprises a first member 2, a second member 3, and a third member 4 which are movably connected in series, wherein the members 2-4 are made of sheet material.
This place covers:
Lures with relatively movable parts which are actuated by a motor. The term "motor", as used here, includes electric, spring, fluid, or other motors, and mechanisms for deriving energy from the relative motion of the surrounding media and transmitting it through shafts or relatively movable parts to move the apparatus or part of it.
Illustrative example of subject matter classified in this group.

Fishing lure 1 comprising a body 2, a tail 3, and an electrical motor 4 which drives the tail 3 to cause the tail 3 to move relative to the body 2. 

Fishing lure 5 comprising a body 6, a propeller 7, and a spring motor 8 which drives the propeller 7 to cause the propeller 7 to move relative to the body 6.
This place covers:
Methods of making and constructing lures not otherwise classified.
This place covers:
Illustrative example of subject matter classified in this group.

This place covers:
Illustrative example of subject matter classified in this group.

This place covers:
Illustrative example of subject matter classified in this group.

This place covers:
Illustrative example of subject matter classified in this group.

Attention is drawn to the following places, which may be of interest for search:
Containers or holders for hooks, lines, sinkers |
This place covers:
Attachments for fishing rods, wherein the devices functioning to (1) support the line, hook, lure, and/or any line-attached body for purposes of facilitating transportation of the rod, or (2) to provide convenient stowage for hooks, lures, bait, and other articles used in or on fishing tackle.
Illustrative example of subject matter classified in this group.

Fishing rod 1 has attached thereto a tackle housing element 2 for supporting and storing a line-attached hook 3 attached to line 4 and for stowage of hooks 5.

Fishing rod 6 has attached thereto a hook holder 7 for supporting and storing hook a line-attached hook 8 attached to line 9.

Fishing rod 10 has attached thereto a holder 11 for supporting and storing a fishing lure 12 attached to line 13.
Attention is drawn to the following places, which may be of interest for search:
Fishing rods with built-in accessories, e.g. lighting means or measuring devices | |
Containers or holders for hooks, lines, sinkers, flies or the like |
This place covers:
Illustrative example of subject matter classified in this group.

This place covers:
Illustrative example of subject matter classified in this group.

This place covers:
Illustrative example of subject matter classified in this group.

This place does not cover:
Internal line guides |
This place covers:
Illustrative example of subject matter classified in this group.

This place covers:
Illustrative example of subject matter classified in this group.

This place covers:
Illustrative example of subject matter classified in this group.

This place covers:
Subject matter comprising a portable reel (i.e., fishing reel) intended for taking up and paying out line to which tackle is attached while fishing. The reel includes a frame and a spool on which fishing line is to be wound. The reel includes a drive device for causing line to be wound or unwound from the spool or is constructed to allow hand wrapping/unwrapping of the line. The spool can have any form that allows it to store/hold line and that allows the line to be wound onto and unwound from it. The reel may be constructed to be used without a fishing pole.
Attention is drawn to the following places, which may be of interest for search:
Devices for casting lines | |
Containers or holders for lines | |
Reel covers within fishing rod containers | |
Reels and spools for storing webs, tapes, or filamentary material | |
Toothed gearing in general | |
Linear distance or length measurement system | |
Specific measuring device in a reel |
In A01K 89/00 and its subgroups, only inventive classifications based on the claims are applied to documents. Classifications in A01K 89/00 and its subgroups are generally not given for unclaimed subject matter.
This place covers:
Subject matter wherein the reel is constructed to facilitate transfer of line from a source (e.g., another spool) to the reel or subject matter including a device adapting the reel for such transfer.
Illustrative example of subject matter classified in this group.

This place covers:
Subject matter wherein the reel includes a drive device (e.g., hand crank or motor) for providing power to the reel for winding or unwinding the line relative to the spool and wherein the reel is configured so that a user can readily selectively connect the drive device to the remainder of the reel on left and right sides of the reel.
This place covers:
Subject matter including details of a rotatable handle forming a drive device for manually driving the reel.
Illustrative example of subject matter classified in this group.

Attention is drawn to the following places, which may be of interest for search:
General purpose crank |
This place covers:
Subject matter wherein the hand crank (handle) has means to (a) vary its effective length, or (b) reposition the hand crank between operating and storage positions.
Attention is drawn to the following places, which may be of interest for search:
Extensible or collapsible hand crank in general use |
This place covers:
Subject matter wherein the reel includes a guiding member mounted on a rotatably driven rotor and a drive device (e.g., hand crank or motor) for rotating the rotor and guiding member, the fishing line engaging the guiding member and the guiding member rotating around the spool so as to wrap the line on spool while the spool is held against rotation relative to the frame of the reel. The spool may move in other ways, e.g., it may reciprocate along an axis of rotation of the guiding member to distribute the fishing line along the spool.
Illustrative example of subject matter classified in this group.

This place does not cover:
Brake devices for reels with pick-up |
This place covers:
Subject matter wherein the frame of the reel includes a cover substantially enclosing the spool.
Illustrative example of subject matter classified in this group.

Attention is drawn to the following places, which may be of interest for search:
Brake devices for closed face reels |
This place covers:
Subject matter including a manual actuator spaced from and operating a line engaging brake (i.e., snubber) to force the line toward a component of the frame to control unwinding of the line. The component of the frame may be the cover.
This place covers:
Subject matter wherein the snubber is fixed to the guiding member and the manual actuator shifts both the rotor and snubber axially along the axis of winding.
This place covers:
Subject matter wherein the manual actuator also moves the guiding member radially inward to an unwinding position substantially simultaneously with the axial movement of the guiding member and brake.
Attention is drawn to the following places, which may be of interest for search:
Fishing reels having guiding members shiftable between winding and unwinding positions | A01K 89/01082, A01K 89/01086, A01K 89/01087, A01K 89/0176, A01K 89/01918 |
This place covers:
Subject matter wherein the reel includes a speed change mechanism connected between the drive device and guiding member for selectively varying the speed ratio between the drive device and the guiding member.

Attention is drawn to the following places, which may be of interest for search:
Drive for rotating drum having multiple speed ratios |
This place covers:
Subject matter wherein the drive device includes an oscillated or reciprocated mechanical input member (e.g., a lever or pull cord) acting through a unidirectional device (e.g., a pawl and ratchet) to drive the guiding member for winding of the fishing line.
Attention is drawn to the following places, which may be of interest for search:
Ratchet-type drives for a reel having a rotary drum |
This place covers:
Subject matter including details of the guiding member or the rotor.
Illustrative example of subject matter classified in this group.

This place covers:
Subject matter wherein the rotor is mounted for rotation at a rear end of the spool (i.e., the end of the spool opposite an end of the spool over which the fishing line passes during winding). Portions of the rotor may extend beyond the rear end (e.g., toward the forward end) of the spool.
This place covers:
Subject matter wherein the guiding member is mounted on the rotor for movement relative to the rotor between a winding position in engagement with the line for wrapping it onto the spool and an unwinding position free of the line to permit the line to spin over one of the ends of the spool.
Attention is drawn to the following places, which may be of interest for search:
Fishing reels having guiding members shiftable between winding and unwinding positions | A01K 89/01029, A01K 89/01086, A01K 89/01087, A01K 89/0176, A01K 89/01918 |
This place covers:
Subject matter including an actuator for causing the guiding member to move from the unwinding position to the winding position in response to rotation of the rotor by the drive device.
This place covers:
Subject matter including hand manipulated means connected to the guiding member for manually moving the guiding member from the winding position to the unwinding position. The hand manipulated means may be a distinct appendage connected directly to the guiding member for finger manipulation.
This place covers:
Subject matter wherein the rotor is mounted for rotation at a forward end of the spool (i.e., the end of the spool over which the fishing line passes during winding). Portions of the rotor may extend beyond the forward end (e.g., toward the rear end) of the spool.
This place covers:
Subject matter wherein the guiding member is mounted on the rotor for movement between a winding position in engagement with the line for wrapping it onto the spool and an unwinding position free of the line to permit the line to spin over one of the ends of the spool and wherein the drive device includes a linkage for shifting the guiding member between the winding position and the unwinding position in response to movement of the drive device.
Attention is drawn to the following places, which may be of interest for search:
Fishing reels having guiding members shiftable between winding and unwinding positions | A01K 89/01029, A01K 89/01082, A01K 89/01087, A01K 89/0176, A01K 89/01918 |
This place covers:
Subject matter including hand manipulated means connected to the guiding member for manually moving the guiding member from a winding position engaging the fishing line to and unwinding position out of engagement with the line.
Attention is drawn to the following places, which may be of interest for search:
Fishing reels having guiding members shiftable between winding and unwinding positions | A01K 89/01029, A01K 89/01082, A01K 89/01086, A01K 89/0176, A01K 89/01918 |
This place covers:
Subject matter wherein the hand manipulated means or a significant portion thereof is located at the forward end of both the spool and the rotor and is manipulated from the forward end of the reel.
This place covers:
Subject matter including details of the spool.

Attention is drawn to the following places, which may be of interest for search:
Spool, per se |
This place covers:
Subject matter including details of the frame of the reel.
Attention is drawn to the following places, which may be of interest for search:
Details of the frame of a reel having a rotary drum |
This place covers:
Subject matter wherein the frame includes a gasket-like obstruction, seal, or structure providing a tortuous course to block the intrusion of foreign matter (e.g., water, dirt, or grit) into the interior of the reel.
Attention is drawn to the following places, which may be of interest for search:
Line or water shield in other reels |
This place covers:
Subject matter wherein the frame includes a device for facilitating the application of lubricant to a movable part of the reel.
Attention is drawn to the following places, which may be of interest for search:
Lubrication feature of a reel having a rotary drum |
This place covers:
Subject matter wherein including details of a bearing between the frame and a movable element of the reel.
Attention is drawn to the following places, which may be of interest for search:
Bearing, per se |
This place covers:
Subject matter wherein the frame is provided with at least one of: (a) quick release fastening means, (b) special disassembly access to parts, and (c) special support of parts during disassembly that facilitates reassembly.
A frame connected by a series of usual threaded fasteners is not sufficient to warrant classification in this subgroup. However, more than two frame components retained by a single threaded end cap, e.g., would be considered quick release fastening means and would be sufficient.
Attention is drawn to the following places, which may be of interest for search:
Frame disassembly features in a reel having a rotary drum |
This place covers:
Subject matter wherein the frame includes major frame components connected together by a pivotal connection.
This place covers:
Subject matter wherein the reel frame includes components that are connected by a joint (e.g. bayonet or keyhole) that is releasable upon rotation of one of the components about its axis relative to another one of the components.
This place covers:
Subject matter wherein the joint includes a spiral thread-like coupling.
This place covers:
Subject matter wherein the frame includes a bracket for mounting the reel on a fishing rod.
This place covers:
Subject matter wherein the reel includes a latch which releasably retains the spool on a shaft of the frame.
This place covers:
Subject matter having a distributing mechanism for systematically distributing the line along the length of the spool by periodically shifting the spool substantially linearly relative to the guiding member.
Attention is drawn to the following places, which may be of interest for search:
Device for distributing elongated material on a spool or core |
This place covers:
Subject matter wherein the reciprocating mechanism includes a rotatable member with a surface eccentric to its axis of rotation for imparting reversible, substantially linear motion to the spool for evenly distributing line onto the spool.
This place covers:
Subject matter wherein the distributing mechanism produces the relative motion between the spool and the guiding member by shifting the guiding member relative to the frame.
This place covers:
Subject matter wherein the distributing mechanism includes at least one grooved shaft having right and left hand helical grooves merged together at each end of the grooves to receive a follower connected to the guiding member so that rotation of the grooved shaft imparts reciprocating motion to the guiding member.
This place covers:
Subject matter wherein the reel includes a mechanism that allows rotation of the guiding member in only one direction.
Attention is drawn to the following places, which may be of interest for search:
Fishing reel with pick-up having a brake for preventing rotation of an element | |
Ratchet device | |
General purpose, positive brake |
This place covers:
Subject matter wherein the brake stops the winding mechanism at a predetermined rotary position.
This place covers:
Subject matter wherein the drive device is a motor, i.e., a device for converting potential energy into kinetic energy. Motors, e.g., spring motors, to which potential energy is supplied manually are included under this definition.
Attention is drawn to the following places, which may be of interest for search:
Motor driven, tangentially unwinding fishing reel |
This place covers:
Subject matter wherein the motor is powered by energy stored in a resilient member (i.e., a spring).
Attention is drawn to the following places, which may be of interest for search:
Spring motor driven, tangentially unwinding fishing reel | |
Spring motor | |
Details of a spring device, per se |
This place covers:
Subject matter having a signal device to alert a user of the reel that the fishing line is being removed from the spool.
Attention is drawn to the following places, which may be of interest for search:
Unwinding indicator in a reel having a rotary drum |
This place covers:
Subject matter wherein the signal device includes a flexible spring-like member engageable with a serrated member, the members being relatively rotatable with respect to each other to provide an audible signal.
Attention is drawn to the following places, which may be of interest for search:
Clickers for signalling or braking |
This place covers:
Subject matter wherein the signal device includes a substantially rigid pawl having a tooth, the pawl being urged by a separate resilient means into engagement with a serrated member, the pawl and serrated member being relatively rotatable with respect to each other to provide the audible signal.
Attention is drawn to the following places, which may be of interest for search:
Indicator comprising a spring biased pawl in a fishing reel having a rotary drum |
This place covers:
Subject matter wherein the resilient means comprise either separate elements or a single element with distinct sections urging the pawl into engagement with the serrated member.
Attention is drawn to the following places, which may be of interest for search:
Indicator including pawl biased by spring having plural sections |
This place covers:
Subject matter having means to selectively limit the length of line that can be unwound from the spool.
This place covers:
Subject matter wherein the drive device rotates the spool to wind the fishing line thereon.
This place covers:
Subject matter wherein the reel includes a brake that acts to variably regulate unwinding of the line in response to conditions in the line or reel during the casting of a weighted line.
Due to factors such as spool inertia, an unwinding spool may accelerate too rapidly or continue to rotate in the unwinding direction after the line ceases to be pulled from the spool resulting in loosened turns of line or "backlash". The brake coordinates spool rotation with the acceleration, deceleration, and termination phases of line demand during casting without requiring concurrent user adjustment.
This place covers:
Subject matter wherein the brake includes (a) a device for producing lines of magnetic flux, and (b) an electrically conductive device disposed to cut the flux lines, one of the devices being stationary and the other rotatable with the spool to establish a braking force opposing rotation of the spool in the unwinding direction.

Attention is drawn to the following places, which may be of interest for search:
Magnetic line tensioning device | |
Hysteresis or eddy current device | |
Similar brake in general use |
This place covers:
Subject matter wherein the brake is associated with a line engaging member shiftable in response to changes in the tension of the unwinding line to regulate braking.
This place covers:
Subject matter wherein the brake includes at least one mass element rotatable with, but shiftable relative to, the spool when subjected to the centrifugal force of rapid rotation to shift the mass element into a position to retard rotation of the spool.
Attention is drawn to the following places, which may be of interest for search:
Centrifugal brake retarding unwinding in a fire escape reel | |
Speed regulating brake used in various fields |
This place covers:
Subject matter wherein the frame has a shaft supported at only one end and on which the spool is freely rotatable.
This place covers:
Subject matter including a latch that releasably retains the spool on the shaft. The latch is a manually pivotable or slidable element that can be quickly and easily moved between a position in which the latch prevents the spool from coming off of the shaft and a position in which the spool can be manually removed from the shaft without the use of tools.
This place covers:
Subject matter wherein the reel is configured for use in trolling (i.e., fishing from a moving boat).
Illustrative example of subject matter classified in this group.

This place covers:
Subject matter wherein the drive device is a motor, i.e., a device for converting potential energy into kinetic energy. Motors, e.g., spring motors, to which potential energy is supplied manually are included under this definition.
Attention is drawn to the following places, which may be of interest for search:
Motor driven fishing reel with pick-up | |
Haulage device employing a particular motor |
This place covers:
Subject matter wherein the motor is powered by energy stored in a resilient member, i.e., a spring.
Attention is drawn to the following places, which may be of interest for search:
Spring motor driven fishing reel with pick-up | |
Non-fishing reel having spring motor | |
Spring motor | |
Details of a spring device, per se |
This place covers:
Subject matter having a latch that releases the energy stored in the spring in response to a tension on the fishing line.
Attention is drawn to the following places, which may be of interest for search:
Automatic hooking device | |
Releasable lock acting against the bias of a spring motor in a reel not intended for use in fishing |
This place covers:
Subject matter wherein the reel includes a manually operated crank to drive the spool, the spring motor and crank being selectively useable.
This place covers:
Subject matter having a selectively operable device to store energy in the spring motor independently of spool rotation.
This place covers:
Subject matter wherein the spool does not rotate during unwinding of the line, the line unwinding by spinning over a discharge end of the spool.
Attention is drawn to the following places, which may be of interest for search:
Reels in which the spool is stationary during winding |
This place covers:
Subject matter including a line guide mounted for movement between (a) a winding position that allows the winding of the line by rotation of the spool and (b) an unwinding position that allows the line to allow the unwinding of the line by passing over the discharge end of the spool.
Attention is drawn to the following places, which may be of interest for search:
Fishing reels having guiding members shiftable between winding and unwinding positions | A01K 89/01029, A01K 89/01082, A01K 89/01086, A01K 89/01087, A01K 89/01918 |
This place covers:
Subject matter having a signal device to alert a user of the reel that the fishing line is being removed from the spool.
This place covers:
Subject matter wherein the signal device includes a flexible spring-like member engageable with a serrated member, the members being relatively rotatable with respect to each other to provide an audible signal.
Attention is drawn to the following places, which may be of interest for search:
Fishing reel having a clicker for signalling or braking |
This place covers:
Subject matter wherein the signal device includes a substantially rigid pawl having a tooth, the pawl being urged by a separate resilient means into engagement with a serrated member, the pawl and serrated member being relatively rotatable with respect to each other to provide the audible signal.
Attention is drawn to the following places, which may be of interest for search:
Indicator comprising a spring biased pawl |
This place covers:
Subject matter wherein the resilient means comprise either separate elements or a single element with distinct sections urging the pawl into engagement with the serrated member.
Attention is drawn to the following places, which may be of interest for search:
Indicator including pawl biased by spring having plural sections |
This place covers:
Subject matter having means to selectively limit the length of line that can be unwound from the spool.
This place covers:
Subject matter including details of a drive mechanism that transmits power from the drive device to (a) the spool to cause the rotation of the spool that results in winding of the line thereon or (b) the fishing line to move the fishing line toward or away from the spool or to change its path of travel (e.g., to distribute material along the spool).
Drive mechanism details such as shock absorbers or structure that provides irregular line take-up rates are included.
This place covers:
Subject matter wherein the drive mechanism includes structure for selectively varying the speed ratio between the drive device and the spool.
Attention is drawn to the following places, which may be of interest for search:
Drive mechanism for a reel with pick-up having multiple speeds |
This place covers:
Subject matter wherein the drive device includes an oscillated or reciprocated mechanical input member (e.g., a lever or pull cord) acting through a unidirectional device (e.g., a pawl and ratchet) to drive the spool for winding of the fishing line.
Attention is drawn to the following places, which may be of interest for search:
Ratchet-type drives for a reel with pick-up |
This place covers:
Subject matter wherein the drive mechanism includes a drive element shiftable from a first position for positively (i.e., without slip) transferring torque between the drive device and the spool to a second position completely interrupting the positive torque transfer.
Attention is drawn to the following places, which may be of interest for search:
Shiftable clutch and operator in diverse technologies |
This place covers:
Subject matter wherein the reel includes a friction device (e.g., coupling or brake) and wherein a power transmitting connection between the spool and the friction device is made and the drive element shifts to the second position (in which torque cannot be transmitted) in response to a change of the reel to a first operating state and wherein the power transmitting connection between the spool and the friction device is broken and the drive element shifts to the first position (in which torque can be transmitted) in response to a change of the reel to a second operating state.
The change in the connection between the friction device and the spool and the change in the connection between the drive device and the spool need not occur simultaneously (e.g., see U.S. Pat. No. 4,482,106 ; they are in response to the same condition, i.e., unwinding of the line). The operating state of the reel may be affected by conditions that are not controlled by the user (e.g., pull on the line; U.S. Pat. No. 4,482,106) or may be under the control of the user (e.g., position of a control lever; U.S. Pat. No. 4,640,471).
Attention is drawn to the following places, which may be of interest for search:
Haulage reel employed in a clutch linked to a friction brake | |
Clutch and brake combination in various devices |
This place covers:
Subject matter wherein the shiftable drive element rotates about an axis and moves in a direction along or parallel to the axis between the first and second positions.
This place covers:
Subject matter wherein the axis about which the shiftable drive element rotates is the same as an axis about which the spool rotates to wind the fishing line.
This place covers:
Subject matter wherein the drive element is shifted from the second (torque interrupting) position to the first (positive torque transferring) position in response to movement of the drive device.
This place covers:
Subject matter wherein the drive element is a first gear and the drive mechanism includes a second gear that is meshed with the drive element when the drive element is in the first position and is out of engagement with the drive element in the second position.
Attention is drawn to the following places, which may be of interest for search:
Haulage reel having gears shiftable into and out of intermeshing engagement |
This place covers:
Subject matter wherein the drive mechanism includes a drive element adjustable to provide slippage for limiting the torque which can be transmitted between the drive device and spool.
Attention is drawn to the following places, which may be of interest for search:
Overload release drive coupling | |
Combined clutch and brake |
This place covers:
Subject matter wherein the reel includes a selectively shiftable crank for performing the adjustment of the drive element to vary the torque limit at which slippage occurs. E.g., shifting the crank in opposite directions may alternately increase or decrease the torque limit. "Crank" includes a manually rotated device such as a thumbwheel.
This place covers:
Subject matter wherein the reel includes means to limit the adjustment of the toque limit to one or more ranges having predetermined minimum and maximum values.
This place covers:
Subject matter wherein the drive device is a manually operated crank and the adjustable drive element of the drive mechanism acts directly between the crank and a drive spindle that supports the crank and transmits power from the crank to the spool such that slippage and relative movement may occur between the crank and the drive spindle.
This place covers:
Subject matter wherein the adjustable drive element of the drive mechanism acts directly between a shaft of the drive mechanism and a gear on the shaft at a point spaced from the spool.
This place covers:
Subject matter wherein the adjustable drive element rotates coaxially with the spool.
This place covers:
Subject matter having an actuator for shifting the adjustable drive element axially along the axis of rotation of the spool.
This place covers:
Subject matter wherein the actuator includes a shaft or pin-like element coaxial with the spool that operates to draw the spool toward the drive device to increase the torque transmittable between the drive device and spool.
This place covers:
Subject matter wherein the drive mechanism includes at least one roller driven by the drive device and engaging the fishing line to feed the line to the spool.
Attention is drawn to the following places, which may be of interest for search:
Details of a feeding element | |
Haulage device that may include a line feeder |
This place covers:
Subject matter wherein the drive mechanism includes a distributing mechanism for systematically distributing the fishing line along the length of the spool.
Attention is drawn to the following places, which may be of interest for search:
Fishing reel with pick-up having a level winding mechanism | |
Device for distributing elongated material on a spool or core |
This place covers:
Subject matter wherein the distributing mechanism includes a rotatable bar substantially parallel to the axis of the spool and wherein the bar has an undulatory, generally spiral surface that engages the line being wound to distribute the line evenly onto the spool.
This place covers:
Subject matter wherein the distributing mechanism includes a wheel mounted on a shaft, engaged by the line being wound, and limiting lateral motion of the line relative to the wheel to guide the line, the wheel being driven by contact with the line, the wheel and shaft including structure to convert rotation of the wheel to a back and forth movement of the wheel substantially parallel to the spool.
This place covers:
Subject matter wherein the distributing mechanism includes a portion specifically contoured for direct engagement by the user for shifting a line guide along the length of the spool to evenly distribute the line.
This place covers:
Subject matter wherein the distributing mechanism includes a pivotally mounted line guide and a linkage connected to the drive mechanism to shift the guide in opposite directions along a curved path.
This place covers:
Subject matter wherein the distributing mechanism includes a line guide and a linkage connected to the drive mechanism to shift the guide in opposite directions along a substantially linear path parallel to the spool.
The linear path may include proportionately small curves, e.g., the path may be an elliptical path with an extremely long major axis and a short minor axis or it may be the path of a point traveling with an elongated chain trained over a pair of small sprockets.
This place covers:
Subject matter wherein the drive mechanism linkage includes at least one shaft and right and left hand helical grooves merged together at each end to receive a follower connected to the guide so that rotation of the shaft by the drive mechanism imparts reciprocating motion to the guide.
This place covers:
Subject matter wherein the line guide is shiftable with respect to the linear path of reciprocation, to reduce or eliminate contact between the guide and line during unwinding.
Attention is drawn to the following places, which may be of interest for search:
Fishing reels having guiding members shiftable between winding and unwinding positions | A01K 89/01029, A01K 89/01082, A01K 89/01086, A01K 89/01087, A01K 89/0176 |
This place covers:
Subject matter wherein the reciprocated line guide has a passage through which the line is laterally removable.
This place covers:
Subject matter including details of the frame of the reel.
Attention is drawn to the following places, which may be of interest for search:
Details of the frame of a fishing reel with pick-up |
This place covers:
Subject matter wherein the frame is provided with at least one of: (a) quick release fastening means, (b) special disassembly access to parts, and (c) special support of parts during disassembly that facilitate reassembly.
A frame connected by a series of usual threaded fasteners is not sufficient to warrant classification in this subgroup. However, more than two frame components retained by a single threaded end cap, e.g., would be considered quick release fastening means and would be sufficient.
Attention is drawn to the following places, which may be of interest for search:
Frame disassembly features of a fishing reel with pick-up |
This place covers:
Subject matter wherein the reel frame includes major frame components connected together by a pivotal connection.
This place covers:
Subject matter wherein the reel frame supports a spool between a pair of end plates, at least one of which is connected to the frame by a joint (e.g. bayonet or keyhole) that is releasable upon rotation of the end plate about its axis.
This place covers:
Subject matter wherein the joint includes a spiral thread-like coupling.
This place covers:
Subject matter wherein the frame includes a bracket for mounting the reel on a fishing rod.
This place covers:
Subject matter wherein the frame includes a gasket-like obstruction, seal, or structure providing a tortuous course to block the intrusion of foreign matter (e.g., water, dirt, or grit) into the interior of the reel.
Attention is drawn to the following places, which may be of interest for search:
Line or water shield in a fishing reel with pick-up |
This place covers:
Subject matter wherein the frame includes a device for facilitating the application of lubricant to a movable part of the reel.
Attention is drawn to the following places, which may be of interest for search:
Lubrication feature of a fishing reel with pick-up |
This place covers:
Subject matter wherein including details of a bearing between the frame and a movable element of the reel.
This place covers:
Subject matter including details of the spool.
Attention is drawn to the following places, which may be of interest for search:
Spool, per se |
This place covers:
Subject matter having a device (i.e., brake) for retarding or selectively preventing rotation of a reel part, e.g., the spool.

Attention is drawn to the following places, which may be of interest for search:
Brake in other winding devices | |
Brake in a general use reel | |
Brake in a haulage device, e.g. winch | |
Brake in general use | |
Brakes in a general purpose reel |
This place covers:
Subject matter wherein the reel includes a rotatably driven guiding member and a drive device (e.g., hand crank or motor) for rotating the guiding member, the fishing line engaging the guiding member and the guiding member rotating around the spool so as to wrap the line on spool while the spool is held against rotation relative to the frame of the reel. The spool may move in other ways, e.g., it reciprocates along an axis of rotation of the guiding member to distribute the fishing line along the spool. The reel part whose rotation is retarded or prevented by the device for retarding may be the guiding member or drive device.
This place covers:
Subject matter wherein the frame of the reel includes a cover substantially enclosing the spool.
Illustrative example of subject matter classified in this group.

This place covers:
Subject matter wherein the brake is continuously applied to prevent rotation of the reel part below a predetermined torque.
This place does not cover:
For closed face reels |
This place covers:
Subject matter wherein the brake is continuously applied between a rotatable spindle supporting the spool and the frame.
This place covers:
Subject matter wherein the brake is applied between the spool and a nonrotatable spindle on which the spool is carried.
This place covers:
Subject matter wherein the drive device rotates the spool to wind the fishing line thereon.
Illustrative example of subject matter classified in this group.


This place does not cover:
Antibacklash devices |
This place covers:
Subject matter wherein the brake applies a relatively light retarding force to a bearing that supports the spool or to the end of a spool shaft to dampen rotation of the spool. The inherent retarding effect of a typical thrust bearing is disregarded.
Attention is drawn to the following places, which may be of interest for search:
Bearing used in various fields | |
General purpose brake adjustment device |
This place covers:
Subject matter wherein either (a) the brake includes a manually engageable actuator to selectively apply a retarding force to the spool that is in proportion to the manual force applied to the actuator, or (b) special access is provided for the user's thumb or finger to directly apply a retarding force to the spool.
This place covers:
Subject matter wherein the brake is pressed against a rotatable element of the reel to apply a force thereto in a direction substantially perpendicular to the axis of rotation of the rotatable element in order to generate the retarding force. The rotatable element may be the spool.
This place covers:
Subject matter wherein the brake has a rotatable shoe engageable with the rotatable element to apply the retarding force thereto. The rotatable element is the spool or an element rotatable with the spool.
This place covers:
Subject matter wherein the brake is readily attachable to and removable from the reel without substantial structural modification of the reel.
This place covers:
Subject matter wherein the brake is connected to the spool through an overrunning clutch that acts to drivingly connect the spool to the brake only in the unwinding direction of the spool.
This place covers:
Subject matter wherein the brake is an elongated, pawl-like member, commonly called a clicker, and the reel part that is retarded or prevented from rotating thereby is a toothed sprocket or gear and wherein the reel includes a device to adjust the pressure with which the pawl-like member bears against the toothed sprocket or gear.
Attention is drawn to the following places, which may be of interest for search:
Clicker that produces braking incidental to providing an audible signal |
This place covers:
Subject matter wherein the brake, in at least one position, prevents any rotation of the spool in the winding or unwinding direction.
This place covers:
Subject matter wherein the brake, in one position, prevents rotation in only one direction.
Attention is drawn to the following places, which may be of interest for search:
Fishing reel with pick-up having a mechanism that allows rotation of a guiding member in only one direction | |
Ratchet device | |
General purpose, one-way brake |
This place covers:
Subject matter including an actuator to shift the brake to a non-operating position.
This place covers:
Subject matter wherein the actuator shifts the brake to the non-operating position in response to rotation of the drive device.
This place covers:
Subject matter wherein the brake applies a force in a direction perpendicular to the axis of rotation of the spool in order to retard or prevent rotation of the reel part.
This place covers:
Subject matter wherein the brake applies a force in a direction parallel to the axis of the spool in order to retard or prevent rotation of the reel part.
This place covers:
Subject matter wherein the brake is applied along an axis of application which is also the axis of rotation of the spool.
This place covers:
Subject matter wherein the brake is mounted on a pivotally mounted lever.
This place covers:
Subject matter wherein the spool is movable relative to the frame between a casting (unwinding) position and a fishing position. The spool is in the fishing position during winding of the fishing line thereon.

This place covers:
Subject matter wherein the reel is configured to be used for fishing without being mounted on a fishing pole.
Illustrative example of subject matter classified in this group.

This place covers:
Subject matter wherein the line unwinds by spinning over a discharge end of the spool.
This place covers:
Illustrative example of subject matter classified in this group.

This place covers:
Projectiles for casting fishing lines, remote controlled boats, kites, casting aids.

Attention is drawn to the following places, which may be of interest for search:
Devices for laying ground-bait |
This place covers:
Illustrative example of subject matter classified in this group.

This place does not cover:
Devices for fixing on or removing sinkers from lines |
This place covers:
Knot tying devices.

Attention is drawn to the following places, which may be of interest for search:
Rigid hand tools for non-rotary grinding, polishing, or stropping | |
Knot-tying devices in general | |
Other knotting |
This place covers:
Illustrative example of subject matter classified in this group.

This place covers:
Illustrative example of subject matter classified in this group.

This place covers:
Fishing line stops, flashers, etc.

Attention is drawn to the following places, which may be of interest for search:
Floats |
This place covers:
Illustrative example of subject matter classified in this group.

This place covers:
Illustrative example of subject matter classified in this group.

Attention is drawn to the following places, which may be of interest for search:
Supports for rods with automatic hook setting |
This place covers:
Illustrative example of subject matter classified in this group.

This place covers:
Illustrative example of subject matter classified in this group.

This place covers:
Illustrative example of subject matter classified in this group.

This place covers:
Illustrative example of subject matter classified in this group.

Attention is drawn to the following places, which may be of interest for search:
Devices for holding bait on hooks | |
Preparation of bait |
This place covers:
Illustrative example of subject matter classified in this group.

Attention is drawn to the following places, which may be of interest for search:
Accessories for angling |
This place covers:
Illustrative example of subject matter classified in this group.

This place covers:
Float with strike signalling means or location signalling means.


Attention is drawn to the following places, which may be of interest for search:
Signalling devices |
This place covers:
Illustrative example of subject matter classified in this group.

This place does not cover:
Sinkers for trawl nets |
This place covers:
Illustrative example of subject matter classified in this group.

This place covers:
Illustrative example of subject matter classified in this group.


Attention is drawn to the following places, which may be of interest for search:
Connecting devices | |
Connecting devices for connecting lines to hooks or lures |
This place covers:
Illustrative example of subject matter classified in this group.

This place does not cover:
Fish stringers | |
Landing-nets, landing-spoons |
Attention is drawn to the following places, which may be of interest for search:
Fishing training equipment | |
Sonar systems for locating fish |
This place covers:
Illustrative example of subject matter classified in this group.

Attention is drawn to the following places, which may be of interest for search:
Fishing, hunting huts or the like | |
Special methods or apparatus for drilling |
This place covers:
Illustrative examples of subject matter classified in this group.


Attention is drawn to the following places, which may be of interest for search:
Artificial baits | |
Apparatus on lines | |
Preparation of bait; Ingredients | |
Edible baits or other oral forms for animals |
This place covers:
Illustrative example of subject matter classified in this group.


Attention is drawn to the following places, which may be of interest for search:
Feeding stuffs for particular animals |
This place covers:
Illustrative example of subject matter classified in this group.

Attention is drawn to the following places, which may be of interest for search:
Holding bait on hooks | |
Baiting trotlines |
This place covers:
Illustrative example of subject matter classified in this group.

This place covers:
Illustrative example of subject matter classified in this group.


Attention is drawn to the following places, which may be of interest for search:
Fishing rod with attached hook or tackle holders | |
Devices for drying fishing lines |
This place covers:
Illustrative example of subject matter classified in this group.

Attention is drawn to the following places, which may be of interest for search:
Devices for storing rifles, guns or elongated objects such as fishing rods |
This place covers:
Illustrative example of subject matter classified in this group.

This place covers:
Illustrative example of subject matter classified in this group.

Attention is drawn to the following places, which may be of interest for search:
Apparatus on lines for automatic hook setting |
This place covers:
Illustrative example of subject matter classified in this group.

This place does not cover:
Signalling devices on fishing lines | |
Signalling devices for floats | |
Signalling devices for ice-fishing |
Attention is drawn to the following places, which may be of interest for search:
Signalling devices for supports |
This place covers:
Illustrative example of subject matter classified in this group.

This place covers:
Illustrative example of subject matter classified in this group.

In this place, the following terms or expressions are used with the meaning indicated:
Gaff: a pole with a sharp hook at the distal end, used to spear and lift large fish out of the water.
This place covers:
Illustrative example of subject matter classified in this group.


Attention is drawn to the following places, which may be of interest for search:
Containers or holders for lines |
This place covers:
Illustrative example of subject matter classified in this group.

This place covers:
Illustrative example of subject matter classified in this group.

This place does not cover:
Fish-stringers | |
Containers for live bait kept in water |
Attention is drawn to the following places, which may be of interest for search:
Receptacles specially adapted for transporting live fish |
This place covers:
Illustrative example of subject matter classified in this group.

Attention is drawn to the following places, which may be of interest for search:
Hand carts for fishing articles |
This place covers:
Illustrative example of subject matter classified in this group.

This place covers:
Illustrative example of subject matter classified in this group.

Attention is drawn to the following places, which may be of interest for search:
Knot tying devices |
This place covers:
Illustrative example of subject matter classified in this group.

Attention is drawn to the following places, which may be of interest for search:
Knot tying devices |


