CPC Definition - Subclass E05F
This place covers:
Devices for moving wings, such as doors or windows, into open or closed position; checks for wings, such as doors or windows; wing fittings not otherwise provided for, concerned with the functioning of the wing.
Gravity-, spring-, or power-operated devices to provide a force input for opening or closing wings, such as door openers and door closers, self-closing hinges and hinges with wing-counterbalancing function.
Also covered are operating mechanisms for wings constructed to convert the force input from a user, motor, opener or closer into movement of a wing, such as cable-, cord-, chain-, or belt-drives, lifting arms, rack and pinion drives or screw and nut arrangements.
The subclass furthermore covers braking devices, stops and buffers for wings as well as controlling means, such as remote wireless control means, and safety devices such as obstruction detection devices.
Hinges and other suspension devices for wings in E05D.
Construction of doors, windows, gates and frames in buildings in E06B.
Construction of doors, windows, and other moveable wings in vehicles in B60J.
This place does not cover:
Counterbalancing means for sliding or lifting wings |
Attention is drawn to the following places, which may be of interest for search:
Accessories for wings: E05F 7/00.
Operating mechanisms for wings: E05F 9/00, E05F 11/00, E05F 13/00, E05F 15/00 and E05F 17/00.
Controlling means, such as remote wireless control means, and safety devices such as obstruction detection devices: E05F 15/00.
A number of main groups in this sub-class contain a large number of older documents that were classified administratively. These documents have not yet been classified into the sub-groups and are indexed with E05Y 2800/00. This index should not be used for classification.
Under E05Y 2900/00 and lower an indexing scheme exists for information on the application or use of the devices. The indexing scheme is shared with the sub-class E05D.
In this place, the following terms or expressions are used with the meaning indicated:
Braking device | Devices constructed to slow down the movement of wings |
Closer | Gravity-, spring- or power-operated device constructed to provide a closing force to wings over a substantial part of their movement; includes devices for assisting users in wing-movement or for wing-counterbalancing; a closer can take the shape of a self-closing hinge |
Opener | Gravity-, spring- or power-operated device constructed to provide an opening force to wings over a substantial part of their movement; includes devices for assisting users in wing-movement or for wing-counterbalancing |
Operating mechanism for wings | Mechanism constructed to convert force inputs from a user, motor, opener or closer into movement of wings |
Self-closing hinge | Gravity- or spring-operated hinge constructed to provide a closing force to wings over a substantial part of their movement; includes devices for wing-counterbalancing |
Vehicle | Land vehicles, e.g. cars, trucks, buses or trains |
Wing | Pivotable, slideable, or otherwise moveable part of doors, windows, flaps, covers or similar structures to prevent traffic through a passageway in building construction and outfitting, fences, domestic appliances, vehicles and furniture; the term also includes drawers, lids of chests, car boots/trunks or car bonnets/hoods |
This place covers:
Gravity-, or spring-operated closers or openers for wings including those in the shape of hinges, i.e. self-closing hinges.
Power-operated door closers or openers in E05F 15/00.
Attention is drawn to the following places, which may be of interest for search:
Automatically acting control means for powered-operated mechanisms |
This place does not cover:
Automatically acting control means triggered by emergency conditions such as fire |
This place does not cover:
Operating or controlling mechanisms for physical fire-barriers |
This place does not cover:
Gravity-actuated self-closing hinges with cams and helical tracks |
In this place, the following terms or expressions are used with the meaning indicated:
Self-closing hinge | Gravity-operated hinge constructed to provide a closing force to wings over a substantial part of their movement; includes devices for wing-counterbalancing |
This place does not cover:
Gravity-actuated self-closing hinges with helical grooves, slots, threads or the like |
In this place, the following terms or expressions are used with the meaning indicated:
Self-closing hinge | Gravity-operated hinge constructed to provide a closing force to wings over a substantial part of their movement; includes devices for wing-counterbalancing |
Springs per se in F16F.
This place does not cover:
Spring-actuated counterbalancing of sliding or lifting wings |
Attention is drawn to the following places, which may be of interest for search:
Spring-assisted actuation of lids or covers of refuse receptacles |
This place does not cover:
Spring-actuated self-closing hinges with a coil spring parallel with the pivot axis |
In this place, the following terms or expressions are used with the meaning indicated:
Self-closing hinge | Spring-operated hinge constructed to provide a closing force to wings over a substantial part of their movement; includes devices for wing-counterbalancing |
This place does not cover:
Spring-actuated self-closing hinges with a torsion bar |
In this place, the following terms or expressions are used with the meaning indicated:
Self-closing hinge | Spring-operated hinge constructed to provide a closing force to wings over a substantial part of their movement; includes devices for wing-counterbalancing |
This place does not cover:
Spring-actuated self-closing hinges with a coil spring perpendicular to the pivot axis |
In this place, the following terms or expressions are used with the meaning indicated:
Self-closing hinge | Spring-operated hinge constructed to provide a closing force to wings over a substantial part of their movement; includes devices for wing-counterbalancing |
This place does not cover:
Spring-actuated self-closing hinges with a leaf or similar spring |
In this place, the following terms or expressions are used with the meaning indicated:
Self-closing hinge | Spring-operated hinge constructed to provide a closing force to wings over a substantial part of their movement; includes devices for wing-counterbalancing |
This place does not cover:
Spring-actuated self-closing hinges with a gas spring |
In this place, the following terms or expressions are used with the meaning indicated:
Self-closing hinge | Spring-operated hinge constructed to provide a closing force to wings over a substantial part of their movement; includes devices for wing-counterbalancing |
Attention is drawn to the following places, which may be of interest for search:
Hinges with springs applying a holding force, e.g. a hold-closed force to hold the hinge and respective wing in an immobile closed position |
This place covers:
Closers and openers, including self-closing hinges, with integrated braking devices such as rotary or piston fluid brakes, friction brakes or counteracting springs.
Construction of braking devices for such closers and openers.
Closers with integrated braking devices and additional arrangements, e.g. holding the wing open or assisting in opening the wing.
Construction of non-pneumatic or non-liquid braking devices for wings are classified in E05F 5/00 and subgroups.
Stops and buffers for wings are classified in E05F 5/00 and subgroups.
Attention is drawn to the following places, which may be of interest for search:
Construction of non-pneumatic or non-liquid braking devices | |
Friction devices in hinges to hold relatively-moveable hinge parts and consequently wings in a user-chosen position |
References E05F 5/00 and E05D 11/08 are non-limiting in the main group E05F 3/00. CPC will be corrected once this inconsistency is resolved in IPC.
Valves per se in F16K
This place does not cover:
Hydraulic power-locks in closers |
This place does not cover:
Friction devices in hinges to hold relatively-moveable hinge parts and consequently wings in a user-chosen position |
In this place, the following terms or expressions are used with the meaning indicated:
Brake | device constructed to slow down the movement of a wing |
Attention is drawn to the following places, which may be of interest for search:
Braking devices combined with devices for holding the wing open | |
Friction devices between relatively-movable hinge parts | |
Devices for preventing movement between relatively-movable hinge parts |
In this place, the following terms or expressions are used with the meaning indicated:
Mechanical power-lock | Mechanically operated lock for holding wing in position other than closed – includes spring operated |
This place covers:
Construction of braking devices, stops and buffers for wings.
This place does not cover:
Construction of pneumatic or liquid braking devices | |
Braking devices, buffers or end stops on drawers for tables, cabinets or like furniture | |
Braking devices combined with devices for holding the wing | |
Devices for limiting opening of wings |
Attention is drawn to the following places, which may be of interest for search:
Indexing scheme related to brakes, disengaging means, holders, stops and valves |
E05F 5/00 provides classification entries for braking devices, stops or buffers associated with wings characterised by their wing movement.
The indexing codes under E05Y 2201/20 are used to classify further details not available in the main trunk. In particular, the indexing codes as foreseen under E05Y 2201/21 and E05Y 2201/224 are used to classify braking devices, stops or buffers combined with motors associated with wings.
The indexing codes under E05Y 2201/21 and E05Y 2201/224 are however not applied when classification symbols in E05F 5/00 or subgroups are being allocated for inventive information.
Looping references between E05F 5/00 and E05F 3/00 have been identified. Until this inconsistency is resolved in IPC, the current classification practice in CPC is as follows: Reference E05F 3/00 is limiting in the subgroup E05F 5/00. CPC will be corrected once this inconsistency is resolved in IPC.
This place covers:
Accessories or devices providing additional control to the wing, e.g. devices for alignment of the wing, rattling control, or devices to take the wing's weight arranged away from a hinge axis.
Accessories for sliding or lifting wings in E05D 13/00
Accessories for hinges in E05D 11/00
Door lifters in B66F
Knobs and handles in E05B
This place does not cover:
Accessories for wings, adapted for furniture | |
Door lifters | |
Knobs or handles |
Attention is drawn to the following places, which may be of interest for search:
Counterbalance devices for sliding or lifting wings |
Attention is drawn to the following places, which may be of interest for search:
Accessories for raising wings before sliding |
This place does not cover:
Means for transmitting movements between vertical and horizontal sliding bars, rods, or cables in wings opening about a vertical as well as a horizontal axis |
Attention is drawn to the following places, which may be of interest for search:
Means for transmitting movements between vertical and horizontal sliding bars, rods or cables, for the fastening of wings |
This place covers:
Hand-held rods constructed to operate wing bolts or fastenings and to operate by hand the wings per se.
Bolts or fastening devices for wings in E05C
Gravity-, or spring-operated closers or openers for wings in E05F 1/00
Power-operated door closers or openers in E05F 15/00
This place covers:
Operating mechanisms in wings, casings or frames constructed to convert the manual force input from a user into movement of a wing, such as belt-, cable-, cord-, or chain-drives, lifting arms, rack and pinion drives or screw and nut arrangements.
Operating mechanisms for wings constructed to convert the force input from a motor into movement of a wing are classified in E05F 15/603.
Operating mechanisms for wings constructed to convert the force input from the weight of a person or vehicle into movement of a wing are classified in E05F 13/00.
Attention is drawn to the following places, which may be of interest for search:
Connecting mechanisms for a plurality of wings |
This place does not cover:
Mechanisms specially designed for passing through a wall |
Attention is drawn to the following places, which may be of interest for search:
Mechanisms for sliding windows, e.g. vehicle windows, to be opened or closed by vertical movement | |
Mechanisms for doors |
This place does not cover:
Screw and nut mechanisms |
Attention is drawn to the following places, which may be of interest for search:
Electrical power-operated mechanisms for vertically-sliding wings specially adapted for vehicle windows |
This place covers:
Operating mechanisms for wings constructed to convert the force input from the weight of a person or vehicle into movement of a wing.
Operating mechanisms constructed to convert the manual force input from a user into movement of a wing in E05F 11/00
Operating mechanisms for wings constructed to convert the force input from a motor into movement of a wing in E05F 15/603
This place covers:
Operating mechanisms for wings constructed to convert the force input from a motor into movement of a wing.
The group furthermore covers safety devices for power-operated wings, such as obstruction detection means, and controlling means, such as remote wireless controls means.
Attention is drawn to the following places, which may be of interest for search:
Power-operated mechanisms for hatch covers in ships | |
Power-operated mechanisms for elevator doors | |
Power-operated mechanisms for completing closing or initiating opening of a wing | |
Limit switches |
In patent documents, the following words/expressions are often used with the meaning indicated:
"power-operated" | " motor-operated ". |
Attention is drawn to the following places, which may be of interest for search:
Automatically-acting means, e.g. by photoelectric cells, by electric waves, by thermostats, by rain, by fire | |
Anti-dropping devices | |
Indexing code related to safety means during manual wing operation | |
Indexing scheme related to safety arrangements associated with the wing motor | |
Indexing scheme related to physical protection, e.g. against corrosion, finger injury or unintended use | |
Detection of obstructions by current overload |
E05F 15/40 provides classification entries for safety devices associated with motor-driven wings. The indexing codes under E05Y 2400/52 are used to classify further details not available in the main trunk. E05Y 2400/55 - E05Y 2400/564 are in particular allocated in combination with E05F 15/41.
This place does not cover:
Detection by means of monitoring transmitted force or torque by transmission of mechanical forces, e.g. using rigid, movable members | |
Detection by means of monitoring transmitted force or torque in pressure medium-operated mechanisms for wings |
This place covers:
Detection of obstructions using devices mounted on the edge of the wing or mounted adjacent to or in the closing path of the wing.
This place does not cover:
Safety edges for power-operated mechanisms for wings using detection by means of monitoring fluid pressure |
Attention is drawn to the following places, which may be of interest for search:
Detection of end position by striking, safety couplings |
This place does not cover:
Using rotary electromotors to swing wings by push-pull mechanisms using flexible or rigid rack-and-pinion arrangements |
Attention is drawn to the following places, which may be of interest for search:
Members cooperating with flexible elongated pulling elements |
E05F 15/627 and E05F 15/643 provide classification entries for swinging wings or horizontally-sliding wings operated by flexible elongated pulling elements. The indexing codes under E05Y 2201/644 are used to classify flexible elongated pulling elements for any use associated with wings. The indexing codes under E05Y 2201/644 are however not applied when classification symbols in E05F 15/627 and E05F 15/643 or subgroups are being allocated for inventive information.
This place does not cover:
Horizontally-sliding wings operated by swinging arms | |
Horizontally-sliding wings operated by screw mechanisms | |
Horizontally-sliding wings for railway-cars |
This place does not cover:
Horizontally-sliding wings for railway-cars |
This place does not cover:
Horizontally-sliding wings for railway-cars |
This place does not cover:
Horizontally-sliding wings for railway-cars |
This place does not cover:
Flexible rack-and-pinion arrangements |
This place covers:
Operation by push-pull mechanisms, e.g. moving between terminal ends.
Illustrative example of the subject matter classified in this place:
Rack (10) with upper and lower terminal ends.

This place covers:
Illustrative example of the subject matter classified in this place:
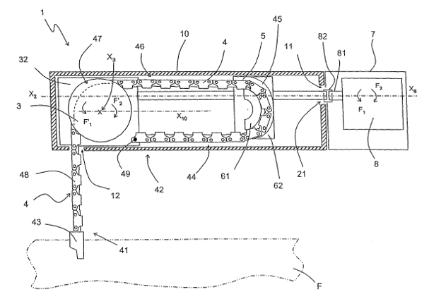
Flexible rack (4) with upper (49) and lower (43) terminal ends. 
This place covers:
Operation by flexible elongated pulling elements, e.g. endless loop arrangements.
Illustrative example of the subject matter classified in this place:
Flexible pulling element (84) forming a loop. 
This place covers:
Operating mechanisms actuated, i.e. started or controlled after starting, by automatic means.
Attention is drawn to the following places, which may be of interest for search:
Safety devices |
In this place, the following terms or expressions are used with the meaning indicated:
Automatic | Independent of external or manual control, i.e. control by detection, sensing or measuring |
Attention is drawn to the following places, which may be of interest for search:
Responsive to emergency conditions, e.g. fire | |
Indexing code for physical protection against high or low temperatures |
Attention is drawn to the following places, which may be of interest for search:
Operating or controlling mechanisms for physical fire-barriers | |
Locks actuating in response to heat | |
Indexing code for physical protection against fire | |
Indexing code for physical protection against smoke or gas |
This place does not cover:
Wireless control devices carried by persons or objects |
Attention is drawn to the following places, which may be of interest for search:
Power-operated mechanisms for wings with automatic actuation using photoelectric cells |
This place covers:
Automatic wireless control of wings, e.g. programmable control transmitted wirelessly.
This place covers:
Wireless control using light beams, e.g. infrared control.
This place covers:
Operating mechanisms for wings constructed to convert the force input from a user, motor, opener or closer into simultaneous movement of several wings.
Attention is drawn to the following places, which may be of interest for search:
Simultaneously moving a plurality of interconnected ventilating lamellae |