CPC Definition - Subclass B30B
This place covers:
Presses in general and also those presses, for particular purposes, which are not provided for elsewhere.

The preceding image includes references to B22F 3/00, B28B 3/00, B29C, B29C 43/00, and B28C47/00.
This place covers:
Presses using a press ram characterised by the features of the drive therefor in general and also those presses using a press ram characterised by the features of the drive therefor, for particular purposes, which are not provided for elsewhere. The driving system is decomposed, if necessary, in simple fluid actuation units (e.g. a cylinder/piston) and simple mechanical force multipliers (e.g. a lever, a toggle, a screw/nut system).
Attention is drawn to the following places, which may be of interest for search:
Shaping by press-cutting; Perforating - Drive of the tools | |
Hammers; Forging machines with hammers or die jaws acting by impact; Drives for hammers | |
Forging presses; Drives for forging presses | |
Shearing machines or shearing devices cutting by blades which move parallel to themselves characterised by drives or gearings therefor | |
Arrangements for operating and controlling machines or devices for cutting, cutting-out, stamping-out, punching, perforating, or severing by means other than cutting - Means for actuating the cutting member to effect the cut |
Rule 1
Plural driving units of the same kind applying force in parallel to the ram or platen are classified together with the single driving unit per se. Exceptions to rule 1 are clearly indicated.
Rule 2
Plural driving units applying force in series to the ram or platen are classified according to the driving unit in direct contact or in contact through simple thrust or tension members only, to the press ram or platen. Exceptions to rule 2 are clearly indicated.
This place covers:
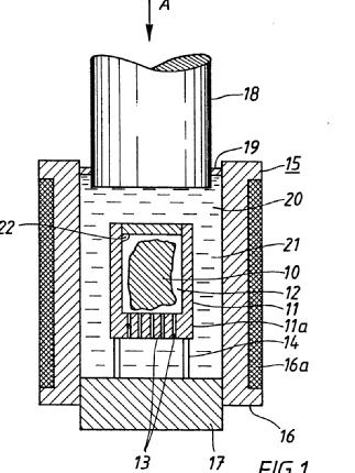
Presses for which the fluid pressure is generated by explosive charges in a cylinder/piston unit or in a chamber. Illustrative example of subject matter classified in this group:
DE-A-2122605

Attention is drawn to the following places, which may be of interest for search:
Shaping without cutting otherwise than using rigid devices or tools or yieldable or resilient pads by applying fluid pressure by shock waves generated by explosives | |
Shearing machines or shearing devices cutting by blades which move parallel to themselves characterised by drives or gearings therefor actuated by fluid or gas pressure - actuated by explosion | |
Explosive welding | |
Gearing |
This place covers:
Presses for which the fluid pressure is generated by internal combustion mechanism in a cylinder/piston unit. Illustrative example of subject matter classified in this group:
FR-A-2046587

Attention is drawn to the following places, which may be of interest for search:
Drives for hammers operated by internal combustion |
This place covers:
Presses for which the fluid is injected in a bag or in a chamber presenting a diaphragm. Illustrative example of subject matter classified in this group:
WO-A-9114569

This place covers:
Illustrative example of subject matter classified in this group:
US-A-4260582

This place covers:
Presses for which one part of the scissor or lazy-tongs mechanism is in direct contact or in contact through simple thrust or tension members only, to the press ram or platen. Illustrative example of subject matter classified in this group:
DE-A-4013107

This place covers:
Presses for which the driving unit is classified per se. Illustrative example of subject matter classified in this group:
US-A-6539853

This place covers:
Presses for which one end of the rod follows a path on a fixed plane and the other end of the rod is in direct contact or in contact through simple thrust or tension members only, to the press ram or platen. Illustrative example of subject matter classified in this group:
GB-A-1489575

This place covers:
Presses for which one part of the lever is in direct contact or in contact through simple thrust or tension members only, to the press ram or platen.
Illustrative example of subject matter classified in this group:
WO-A-9015268

Attention is drawn to the following places, which may be of interest for search:
Gearings comprising primarily only links or levers, with or without slides |
This place covers:
Presses for which another part of the lever is in direct or indirect contact with the hand or the foot of an operator applying a force. Illustrative example of subject matter classified in this group:
US-A-5329846

This place covers:
Presses for which another part of the lever is in direct or indirect contact with a cam, eccentric, or crank unit applying a force. Illustrative example of subject matter classified in this group:
DE-A-10241107

This place covers:
Presses for which another part of the lever is in direct or indirect contact with a fluid-pressure unit applying a force. Illustrative example of subject matter classified in this group:
US-A-4329865

This place covers:
Presses for which one part of the toggle is in direct contact or in contact through simple thrust or tension members only, to the press ram or platen. The driving force is applied transversally to the line that can be drawn between the two ends of the two bars system constituting the toggle. Illustrative example of subject matter classified in this group:
US-A-4302412

Attention is drawn to the following places, which may be of interest for search:
Arrangements for operating and controlling machines or devices for cutting, cutting-out, stampin g-out, punching, perforating, or severing by means other than cutting. Means for actuating the cutting member to effect the cut Toggle-link means |
This place covers:
Presses for which another part of the toggle is in direct or indirect contact with a screw/nut unit applying a force. Illustrative example of subject matter classified in this group:
US-A-5184548

This place covers:
Presses for which another part of the toggle is in direct or indirect contact with another toggle unit applying a force. The driving unit of the second toggle is classified, if necessary, per se in the groups B30B 1/103, B30B 1/106 or B30B 1/12 - B30B 1/18. Illustrative example of subject matter classified in this group:
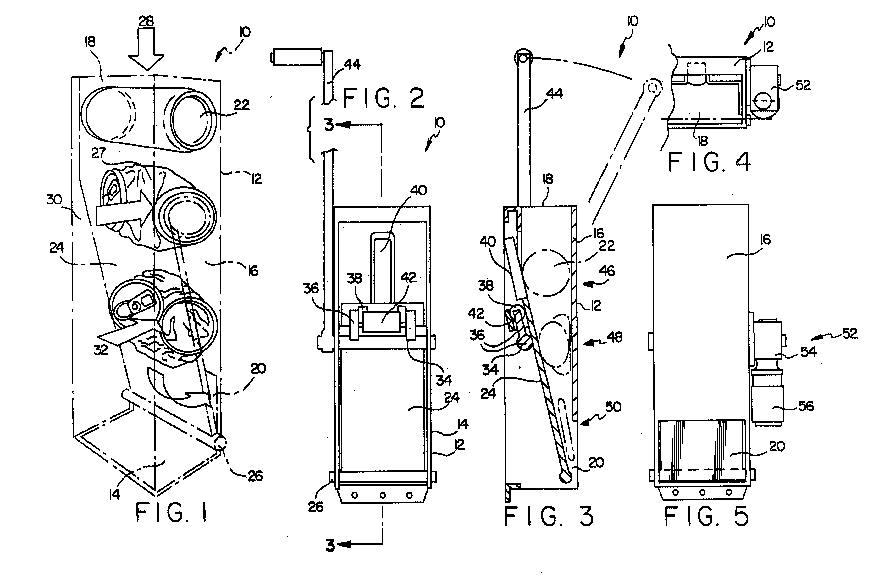
US-A-4448119

This place covers:
Presses for which another part of the toggle is in direct or indirect contact with the hand or the foot of an operator applying a force. Illustrative example of subject matter classified in this group:
US-A-4068576

This place covers:
Presses for which another part of the toggle is in direct or indirect contact with a cam, eccentric, or crank unit applying a force. Illustrative example of subject matter classified in this group:
US-A-4485708

This place covers:
Presses for which another part of the toggle is in direct or indirect contact with a fluid-pressure unit applying a force. Illustrative example of subject matter classified in this group:
EP-A-537646

This place covers:
Presses for which one part of the screw/nut unit is in direct contact or in contact through simple thrust or tension members only, to the press ram or platen. Illustrative example of subject matter classified in this group:
WO-A-2009073240

Attention is drawn to the following places, which may be of interest for search:
Gearings comprising primarily only cams, cam-followers and screw-and-nut mechanisms |
This place covers:
Presses for which the rotor part of the electric motor is fixed directly to a part of the screw/nut unit. Illustrative example of subject matter classified in this group:
US-A-3626222

This place covers:
Illustrative example of subject matter classified in this group:
US-A-3886859

This place covers:
Illustrative example of subject matter classified in this group:
DE-A-2915540

This place covers:
Illustrative example of subject matter classified in this group:
US-A-2008201011

This place covers:
Illustrative example of subject matter classified in this group:
US-A-4627266

This place covers:
Presses for which another part of the screw/nut unit is in direct or indirect contact with the hand or the foot of an operator applying a force. Illustrative example of subject matter classified in this group:
US-A-1782076

This place covers:
Illustrative example of subject matter classified in this group:
US-A-4062284

This place covers:
Presses for which another part of the screw/nut unit is in direct or indirect contact with a fluid-pressure unit applying a force. Illustrative example of subject matter classified in this group:
DE-A-2842552

This place covers:
Presses for which one part of the rack-and-pinion unit is in direct contact or in contact through simple thrust or tension members only, to the press ram or platen. Illustrative example of subject matter classified in this group:
EP-A-416260

Attention is drawn to the following places, which may be of interest for search:
Arrangements for operating and controlling machines or devices for cutting, cutting-out, stamping-out, punching, perforating, or severing by means other than cutting. Means for actuating the cutting member to effect the cut rack-and-pinion means | |
Gearings comprising essentially only toothed gears or friction members and not capable of conveying indefinitely-continuing rotary motion for interconverting rotary motion and reciprocating motion comprising a rack |
This place covers:
Presses for which one part of the cam, eccentric, or crank unit is in direct contact or in contact through simple thrust or tension members only, to the press ram or platen. Illustrative example of subject matter classified in this group:
DE-A-4437957

Attention is drawn to the following places, which may be of interest for search:
Arrangements for operating and controlling machines or devices for cutting, cutting-out, stamping-out, punching, perforating, or severing by means other than cutting. Means for actuating the cutting member to effect the cut Crank and pin means | |
Crankshafts, eccentric-shafts; Cranks, eccentric | |
Gearings comprising primarily only links or levers, with or without slides - Crank gearings; Eccentric gearings |
This place covers:
Presses for which the driving unit is a cam system. Illustrative example of subject matter classified in this group:
US-A-5544576

Attention is drawn to the following places, which may be of interest for search:
Arrangements for operating and controlling machines or devices for cutting, cutting-out, stamping-out, punching, perforating, or severing by means other than cutting. Means for actuating the cutting member to effect the cut Cam means |
This place covers:
Illustrative example of subject matter classified in this group:
DE-A-3507328

Attention is drawn to the following places, which may be of interest for search:
Shafts Crankshafts, eccentric-shafts; Cranks; Eccentrics Adjustable cranks or eccentrics |
This place covers:
Presses for which the fluid connecting associated with another type of driving unit are classified in B30B 1/007. Illustrative example of subject matter classified in this group:
DE-A-3507327

This place covers:
Illustrative example of subject matter classified in this group:
US-A-4461206

This place covers:
Presses for which the driving force follows the line that can be drawn between the two ends of the two bars system constituting the toggle. Illustrative example of subject matter classified in this group:
US-A-2633094

This place covers:
Illustrative example of subject matter classified in this group:
WO-A-2006136045

This place covers:
Presses for which one part of a chain or a rope is in direct contact or in contact through simple thrust or tension members or pulleys only, to the press ram or platen. Illustrative example of subject matter classified in this group:
DE-U-8706683

This place covers:
Presses for which the fluid actuation is generated by a means connected to the cylinder/plunger unit. Illustrative example of subject matter classified in this group:
DE-A-4409029

Attention is drawn to the following places, which may be of interest for search:
Drives for forging presses operated by hydraulic or liquid pressure | |
Shearing machines or shearing devices cutting by blades which move parallel to themselves characterised by drives or gearings therefor actuated by fluid or gas pressure | |
Arrangements for operating and controlling machines or devices for cutting, cutting-out, stamping-out, punching, perforating, or severing by means other than cutting. Means for actuating the cutting member to effect the cut. Fluid-pressure means | |
Systems acting by means of fluids in general; fluid-pressure actuators, e.g. servo-motors; details of fluid-pressure systems, not otherwise provided for |
This place covers:
Illustrative example of subject matter classified in this group:
DE-U-202006016685

This place covers:
Presses for which an operator applies the driving force on the pump with the hand or the foot. Illustrative example of subject matter classified in this group:
D-A-E102008006105
This place covers:
Illustrative example of subject matter classified in this group:
US-A-5182985

This place covers:
Presses for which one part of the wedge unit is in direct contact or in contact through simple thrust or tension members only, to the press ram or platen. Illustrative example of subject matter classified in this group:
US-A-4535689

This place covers:
Presses for which one part of the magnetic, e.g. electro-magnetic unit is in direct contact or in contact through simple thrust or tension members only, to the press ram or platen. Illustrative example of subject matter classified in this group:
US-A-3783662

Attention is drawn to the following places, which may be of interest for search:
Arrangements for operating and controlling machines or devices for cutting, cutting-out, stamping-out, punching, perforating, or severing by means other than cutting Means for actuating the cutting member to effect the cut Electric, magnetic, piezoelectric, electro-magnetic means |
This place covers:
Presses characterised by the use of rotary pressing members in general and also those presses characterised by the use of rotary pressing members, for particular purposes, which are not provided for elsewhere. Illustrative example of subject matter classified in this group:
DE-U-29606115 
DE4328505

Attention is drawn to the following places, which may be of interest for search:
Baling presses with compression means other than rams performing a rectilinear movement | |
Crushing or disintegrating by roller mills | |
Wet presses Pressure rolls | |
Papermaking machine - Pressure rolls - Calendars |
This place covers:
Illustrative example of subject matter classified in this group:
EP-A-0897751

This place covers:
Illustrative example of subject matter classified in this group:
EP-A-0397158

This place covers:
Illustrative example of subject matter classified in this group:
DE-A-102007031879 
This place covers:
Illustrative example of subject matter classified in this group:
US-A-4432278

This place covers:
Illustrative example of subject matter classified in this group:
US-A-4444100

Attention is drawn to the following places, which may be of interest for search:
Presses specially adapted for forming shaped articles from material in particulate or plastic state, e.g. briquetting presses, tableting presses - Roller-and-ring machines, i.e. with roller disposed within a ring and co-operating with the inner surface of the ring |
This place covers:
Presses characterised by the use of pressing means other than those mentioned in the preceding groups B30B 1/00 - B30B 3/00 in general and also those presses characterised by the use of pressing means other than those mentioned in the preceding groups B30B 1/00 - B30B 3/00, for particular purposes, which are not provided for elsewhere. Illustrative example of subject matter classified in this group:
DE-A-3731769

Attention is drawn to the following places, which may be of interest for search:
Shaping without cutting otherwise than using rigid devices or tools or yieldable or resilient pads, by applying fluid pressure | |
Methods or apparatus for laminating characterised by the pressing technique, e.g. using action of vacuum or fluid pressure and subgroups |
This place covers:
Illustrative example of subject matter classified in this group:
DE-A-2039930

Attention is drawn to the following places, which may be of interest for search:
Presses using a press ram by an elastic bag or diaphragm expanded by fluid pressure | |
Presses for squeezing-out liquid from liquid-containing material using a flexible member, e.g. diaphragm, urged by fluid pressure | |
Lining or sheathing applied by "rubber" bag or diaphragm |
This place covers:
Illustrative example of subject matter classified in this group:
EP-A-1389510 
Attention is drawn to the following places, which may be of interest for search:
Baling presses for straw, hay or the like - Rotobalers, i.e. machines for forming cylindrical bales by winding and pressing | |
Veneer presses; Press plates; Plywood presses - with endless arrangement of moving press plates, belts, or the like | |
Manufacture of substantially flat articles, e.g. boards, from particles or fibres characterised by using continuously acting presses having endless belts or chains moved within the compression zone | |
Methods or apparatus for laminating - Pressing using at least one press band |
This place covers:
Illustrative example of subject matter classified in this group:
WO-A-8903288

This place covers:
Illustrative example of subject matter classified in this group:
EP-A-0394655 
This place covers:
Illustrative example of subject matter classified in this group:
EP-A-0052359 
This place covers:
Illustrative example of subject matter classified in this group:
DE-A-102005053920 
This place covers:
Presses characterised by a particular arrangement of the pressing members in general and also those presses characterised by a particular arrangement of the pressing members, which are not provided for elsewhere.
This place covers:
Illustrative example of subject matter classified in this group:
US-A-5634398

Attention is drawn to the following places, which may be of interest for search:
Veneer presses; Press plates; Plywood presses - with a plurality of press plates, i.e. multi- platen hot presses | |
Manufacture of substantially flat articles, e.g. boards, from particles or fibres. Moulding or pressing characterised by using platen-presses | |
Methods or apparatus for laminating characterised by the pressing technique |
This place covers:
Illustrative example of subject matter classified in this group:
US-A-4065003

This place covers:
Illustrative example of subject matter classified in this group:
JP-A-2000042789

This place covers:
Illustrative example of subject matter classified in this group:
EP-A-0609825

Attention is drawn to the following places, which may be of interest for search:
Presses for baling with pre-compression means | |
Presses specially adapted for forming shaped articles from material in particulate or plastic state, e.g. briquetting presses, tableting presses using a plurality of pressing members working in different directions | |
Forging machines working with several hammers |
This place covers:
Presses specially adapted for particular purposes in general and also those presses specially adapted for particular purposes, which are not provided for elsewhere.
This place covers:
Illustrative example of subject matter classified in this group:
DE1627844
US-A-2009249967 
This place covers:
Illustrative example of subject matter classified in this group:
JP-A-2002086299

This place covers:
Illustrative example of subject matter classified in this group:
US-A-4303412 
This place covers:
Illustrative example of subject matter classified in this group:
DE-A-3105745

This place covers:
Illustrative example of subject matter classified in this group:
FR2411699

This place covers:
Illustrative example of subject matter classified in this group:
EP-A-1394314

This place covers:
Illustrative example of subject matter classified in this group:
GB-A-1477418 
This place covers:
Illustrative example of subject matter classified in this group:
DE-A-3616504

This place covers:
Illustrative example of subject matter classified in this group:
EP-A-0340377

This place covers:
Illustrative example of subject matter classified in this group:
FR-A-2236655 
This place covers:
Illustrative example of subject matter classified in this group:
EP-A-0398131

This place covers:
Illustrative example of subject matter classified in this group:
DE-A-3520248

This place covers:
Illustrative example of subject matter classified in this group:
GB-A-2019237 
This place covers:
Illustrative example of subject matter classified in this group:
FR-A-2535645

This place covers:
Illustrative example of subject matter classified in this group:
DE-A-2736810 
This place covers:
Illustrative example of subject matter classified in this group:
DE-U-8302259 
This place covers:
Illustrative example of subject matter classified in this group:
DE-A-19902480 
This place covers:
Illustrative example of subject matter classified in this group:
FR-A-2354293

This place covers:
Illustrative example of subject matter classified in this group:
DE-U-202009004407

This place covers:
Illustrative example of subject matter classified in this group:
DE-A-1627975

This place covers:
Illustrative example of subject matter classified in this group:
US-A-4253390 
This place covers:
Illustrative example of subject matter classified in this group:
FR2388769
DE-A-3429848

This place covers:
Illustrative example of subject matter classified in this group:
FR-A-2269605 
This place covers:
Illustrative example of subject matter classified in this group:
WO-A-9426388 
The use is classified in this group. Details that are relevant for rolls in general are classified in B30B 3/00.
This place covers:
Illustrative example of subject matter classified in this group:
FR-A-2117413

US-A-4321140

This place covers:
Illustrative example of subject matter classified in this group:
FR-A-2582573

This place covers:
Illustrative example of subject matter classified in this group:
US-A-4683816

This place covers:
Illustrative example of subject matter classified in this group:
US-A-5451415

This place covers:
Illustrative example of subject matter classified in this group:
FR-A-2379309

This place covers:
Illustrative example of subject matter classified in this group:
US-A-5203996

US-A-7314141

This place covers:
Illustrative example of subject matter classified in this group:
DE-U-9306718 
This place covers:
Illustrative example of subject matter classified in this group:
US-A-3631794 

This place covers:
Illustrative example of subject matter classified in this group:
US-A-4181616 
This place covers:
Illustrative example of subject matter classified in this group:
US-A-3805692 
This place covers:
Illustrative example of subject matter classified in this group:
EP-A-0283870 
This place covers:
Illustrative example of subject matter classified in this group:
GB-A-2004763

This place covers:
Illustrative example of subject matter classified in this group:
US-A-5545333

This place covers:
Illustrative example of subject matter classified in this group:
US-A-5351612

This place covers:
Illustrative example of subject matter classified in this group:
DE-A-3332310

This place covers:
Illustrative example of subject matter classified in this group:
DE-A-3802037

This place covers:
Illustrative example of subject matter classified in this group:
US-A-4289065

This place covers:
Illustrative example of subject matter classified in this group:
US-A-3704665

This place covers:
Illustrative example of subject matter classified in this group:
DE-A-3238642 
Attention is drawn to the following places, which may be of interest for search:
Miscellaneous auxiliary devices operating on articles or materials to be packaged and not otherwise provided for - for compressing or compacting articles or materials prior to wrapping or insertion in containers or receptacles | |
Refuse receptacles Other constructional features Compressing means incorporated in, or specially adapted for, refuse receptacles | |
Vehicles particularly adapted for collecting refuse with devices for charging, distributing or compressing refuse in the interior of the tank of a refuse vehicle with charging pistons, plates, or the like |
This place covers:
Illustrative example of subject matter classified in this group:
DE-U-20119524

Attention is drawn to the following places, which may be of interest for search:
Bundling particular articles presenting special problems using string, wire, or narrow tape or band; Baling fibrous material, e.g. peat, not otherwise provided for Baling or bundling compressible fibrous material, e.g. peat |
This group is for the details not specifically mentioned in the hierarchical lower groups.
This place covers:
Illustrative example of subject matter classified in this group:
US-A-2010071572 
This place covers:
Illustrative example of subject matter classified in this group:
EP-A-0388911 
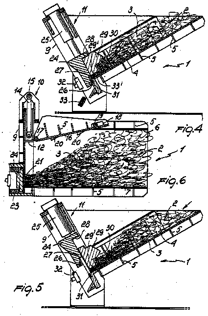
This group is directed to the means for loading loose material in the baler.
This place covers:
Illustrative example of subject matter classified in this group:
DE-A-102007013382

The ejection means should be part of the baling installation.
This place covers:
Illustrative example of subject matter classified in this group:
US-A-5389346 
The means should be integrated in the baling installation.
This place covers:
Illustrative example of subject matter classified in this group:
US-A-3863779 
This place covers:
Illustrative example of subject matter classified in this group:
US-A-3866529 
This place covers:
Holding or gripping elements which are located in the wall of the pressing chamber to retain the compressed material.
Illustrative example of subject matter classified in this group:
US-A-5493963 
This place covers:
Illustrative example of subject matter classified in this group:
DE-U-9408578

WO-A-0063004 
This place covers:
Illustrative example of subject matter classified in this group:
DE-U-202007004201 
This place covers:
Illustrative example of subject matter classified in this group:
DE-A-10250053 
This place covers:
Illustrative example of subject matter classified in this group:
FR-A-2572370 
This place covers:
Illustrative example of subject matter classified in this group:
GB-A-2058654

This place covers:
Illustrative example of subject matter classified in this group:
US-A-3899967 
This place covers:
Illustrative example of subject matter classified in this group:
GB-A-2315404

This place covers:
Illustrative example of subject matter classified in this group:
EP-A-0268709

This place covers:
Illustrative example of subject matter classified in this group:
US-A-4100850 
This place covers:
Illustrative example of subject matter classified in this group:
US-A-5221052 
This place covers:
Illustrative example of subject matter classified in this group:
DE-A-1934279 
This place covers:
Illustrative example of subject matter classified in this group:
DE-U-8025186 
This place covers:
Illustrative example of subject matter classified in this group:
EP-A-0574362 
This place covers:
Illustrative example of subject matter classified in this group:
WO-A-2007028558

This place covers:
Illustrative example of subject matter classified in this group:
EP-A-2110229

This place covers:
Illustrative example of subject matter classified in this group:
DE-U-20207348

This place covers:
Illustrative example of subject matter classified in this group:
US-A-5611268 
This place covers:
Illustrative example of subject matter classified in this group:
DE-U-20108195 
This place covers:
Illustrative example of subject matter classified in this group:
EP-A-1775112 
This place covers:
Illustrative example of subject matter classified in this group:
US-A-5655443 
This place covers:
Apparatus for consolidating metal, plastic and/or cardboard containers.
Illustrative example of subject matter classified in this group:
DE-A-19705136 
Attention is drawn to the following places, which may be of interest for search:
Recovery of plastics or other constituents of waste material containing plastics by agglomeration or compacting Compacting complete waste articles Hollow articles, e.g. bottles | |
Refuse receptacles specially adapted for segregated refuse collecting, e.g. receptacles with several compartments; Combination of receptacles | |
Mechanisms actuated by objects other than coins to free or to actuate vending, hiring, coin or paper currency dispensing or refunding apparatus by returnable containers i.e. reverse vending systems in which a user is rewarded for returning a container that serves as a token of value, e.g. bottles - by fluid containers, e.g. bottles, cups, gas containers |
This place covers:
Illustrative example of subject matter classified in this group:
DE-A-19612815 
This place covers:
Illustrative example of subject matter classified in this group:
US-A-5158013 
This place covers:
Illustrative example of subject matter classified in this group:
US-A-4862796 
This place covers:
Illustrative example of subject matter classified in this group:
FR-A-2422499

Attention is drawn to the following places, which may be of interest for search:
Shearing machines or shearing devices covered by none or more than one of the groups B23D 15/00 - B23D 29/00 ; Combinations of shearing machines - Cutting-up scrap |
This place covers:
Illustrative example of subject matter classified in this group:
US-A-4123210 
Attention is drawn to the following places, which may be of interest for search:
Manufacture of articles from scrap or waste metal particles | |
Preliminary treatment of ores or scrap Agglomerating; Briquetting; Binding; Granulating - of metal scrap or alloys |
This place covers:
Illustrative example of subject matter classified in this group:
US-A-4103610 
Attention is drawn to the following places, which may be of interest for search:
Preliminary treatment of ores or scrap Agglomerating; Briquetting; Binding; Granulating - of metal scrap or alloys |
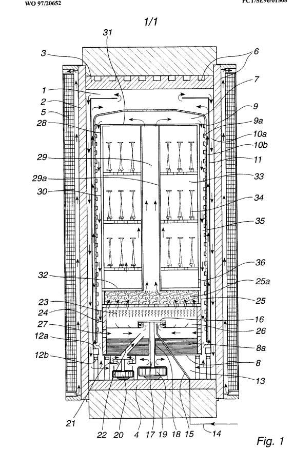
This place covers:
Presses specially adapted for forming shaped articles from material in particulate or plastic state in general and also those presses specially adapted for forming shaped articles from material in particulate or plastic state, which are not provided for elsewhere.
This place covers:
Illustrative example of subject matter classified in this group:
DE-A-3115470

EP-A-0180935 
This place covers:
Illustrative example of subject matter classified in this group:
WO-A-9720652 
Attention is drawn to the following places, which may be of interest for search:
Metal powder HIP | |
Pressure vessels | |
Autoclaves furnaces |
In this place, the following terms or expressions are used with the meaning indicated:
HIP | hot isostatic press |
CIP | cold isostatic press |
This place covers:
Illustrative example of subject matter classified in this group:
EP-A-0280518

This place covers:
Illustrative example of subject matter classified in this group:
US-A-5780139


JP-A-63036829
This place covers:
Illustrative example of subject matter classified in this group:
GB-A-2084350

This place covers:
Illustrative example of subject matter classified in this group:
JP-A-9070697

DE-A-3207856

This place covers:
Illustrative example of subject matter classified in this group:
GB-A-1443823

This place covers:
Illustrative example of subject matter classified in this group:
DE-A-2629990

US-A-3985843

This place covers:
US-A-4260346

Attention is drawn to the following places, which may be of interest for search:
Ram heads of special form wherein a ram exerts pressure on the material in a moulding space |
This place covers:

Attention is drawn to the following places, which may be of interest for search:
Combined with vibrating or jolting |
This place covers:
Illustrative example of subject matter classified in this group:
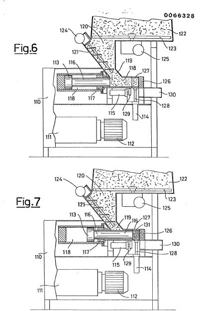
EP-A-0066328

This place covers:
Illustrative example of subject matter classified in this group:
WO-A-03096963

This place covers:
Illustrative example of subject matter classified in this group:
DE-A-10110938 
This place covers:
Illustrative example of subject matter classified in this group:
DE-A-102009053570

This place covers:
Illustrative example of subject matter classified in this group:
GB-A-1533601

This place covers:
Illustrative example of subject matter classified in this group:
EP1693182

This place covers:
Illustrative example of subject matter classified in this group:
US-A-3577842

This place covers:
Illustrative example of subject matter classified in this group:
WO-A-2005120957

This place covers:
Illustrative example of subject matter classified in this group:
EP-A-0358105

This place covers:
JP-A-10043894

This place covers:
Illustrative example of subject matter classified in this group:
US-A-3738785 
This place covers:
Illustrative example of subject matter classified in this group:
FR-A-2313450

Attention is drawn to the following places, which may be of interest for search:
With co-operating profiled rollers |
This place covers:
Illustrative example of subject matter classified in this group:
DE-B-1458281

Attention is drawn to the following places, which may be of interest for search:
Roller-and-ring machines, i.e. with roller disposed within a ring and co-operating with the inner surface of the ring |
This place covers:
Illustrative example of subject matter classified in this group:
JP-A-2005288508

This place covers:
Illustrative example of subject matter classified in this group:
WO-A-2004022324

This place covers:
Illustrative example of subject matter classified in this group:
US-a-3253557

This place covers:
Illustrative example of subject matter classified in this group:
US-A-3327653

This place covers:
Illustrative example of subject matter classified in this group:
DE-A-102006021775

This place covers:
Illustrative example of subject matter classified in this group:
WO-A-2004073963

Attention is drawn to the following places, which may be of interest for search:
Wherein the material is extruded | |
Extrusion moulding of plastics |
This place covers:
Illustrative example of subject matter classified in this group:
WO03096963

US-A-4834635 
Attention is drawn to the following places, which may be of interest for search:
Extrusion dies |
This place covers:
Illustrative example of subject matter classified in this group:
US-A-3520250

This place covers:
Illustrative example of subject matter classified in this group:
DE-A-3208312


DE-A-4104502
This place covers:
Illustrative example of subject matter classified in this group:
WO-A-9104150
This place covers:
Illustrative example of subject matter classified in this group:
WO-A-9727994

This place covers:
Illustrative example of subject matter classified in this group:
CH-A-311101

US-A-4511321

Attention is drawn to the following places, which may be of interest for search:
By screw or worm |
This place covers:
Illustrative example of subject matter classified in this group:
WO-A-2007059547

This place covers:
Illustrative example of subject matter classified in this group:
WO-A-2007059547

US-A-5232170

This place covers:
Illustrative example of subject matter classified in this group:
GB-A-733585

This place covers:
Illustrative example of subject matter classified in this group:
US-A-5673618

WO-A-9407688

This place covers:
Illustrative example of subject matter classified in this group:
FR-A-1287523

This place covers:
Illustrative example of subject matter classified in this group:
DE-A-3233121

Attention is drawn to the following places, which may be of interest for search:
By reciprocating plunger |
This place covers:
Illustrative example of subject matter classified in this group:
US-A-4371328

This place covers:
Illustrative example of subject matter classified in this group:
JP-A-2005288508

This place covers:
Illustrative example of subject matter classified in this group:
US-A-3771221

This place covers:
Illustrative example of subject matter classified in this group:
US2004113319

GB-A-1034713
US-A-3096248

This place covers:
Presses not provided for in groups B30B 1/00 - B30B 11/00 in general and also those presses not provided for in groups B30B 1/00 - B30B 11/00, which are not provided for elsewhere.
This place covers:
Methods of pressing not special to the use of presses in general and also methods of pressing for those presses, for particular purposes, which are not provided for elsewhere of any one of the preceding main groups B30B 1/00 - B30B 12/00
This place covers:
Details of, or accessories for presses in general and also for those presses, for particular purposes, which are not provided for elsewhere; Auxiliary measures in connection with pressing in presses in general and also in those presses, for particular purposes, which are not provided for elsewhere
This place covers:
Illustrative example of subject matter classified in this group:
FR-A- 2200255

This place covers:
Illustrative example of subject matter classified in this group:
US-A-5643630

This place covers:
Illustrative example of subject matter classified in this group:
US-A-3832107 
This place covers:
Illustrative example of subject matter classified in this group:
DE-A-2166391 
This place covers:
Illustrative example of subject matter classified in this group:
GB-A-1398048 
This place covers:
Illustrative example of subject matter classified in this group:
US-A-5287728

This place covers:
Illustrative example of subject matter classified in this group:
US-A-5456165 
This place covers:
Illustrative example of subject matter classified in this group:
GB-A-2032312 
This place covers:
Illustrative example of subject matter classified in this group:
US-A-4954068 
This place covers:
Illustrative example of subject matter classified in this group:
US-A-3665847 
This place covers:
Illustrative example of subject matter classified in this group:
US-A-5467706 
This place covers:
Illustrative example of subject matter classified in this group:
DE-A-4415577 
This place covers:
Illustrative example of subject matter classified in this group:
DE-A-19526895 
This place covers:
Illustrative example of subject matter classified in this group:
US-A-5536331 
This place covers:
Illustrative example of subject matter classified in this group:
DE-A-4234905 
This place covers:
Illustrative example of subject matter classified in this group:
US-A-4945742 
This place covers:
Illustrative example of subject matter classified in this group:
US-A-4971543 
This place covers:
Illustrative example of subject matter classified in this group:
FR-A-2766743 
This place covers:
Illustrative example of subject matter classified in this group:
DE-A-19748370 
This place covers:
Illustrative example of subject matter classified in this group:
US-A-4590788 
This place covers:
Illustrative example of subject matter classified in this group:
DE-A-19612242 
This place covers:
Illustrative example of subject matter classified in this group:
US-A-5394723 
This place covers:
Illustrative example of subject matter classified in this group:
US-A-4502379 
This place covers:
Illustrative example of subject matter classified in this group:
US3064558 
This place covers:
Illustrative example of subject matter classified in this group:
US-A-5097734 
This place covers:
Illustrative example of subject matter classified in this group:
GB-A-1245853 
This place covers:
Illustrative example of subject matter classified in this group:
DE-A-10028346 
This place covers:
Illustrative example of subject matter classified in this group:
EP-A-1338410

This place covers:
Illustrative example of subject matter classified in this group:
US-A-3552306 
This place covers:
Illustrative example of subject matter classified in this group:
US-A-4401614 
This place does not cover:
Cushioning arrangements utilized for absorbing the force from upper die so that the blank holder is moved downwardly in a controlled manner |
This place covers:
Illustrative example of subject matter classified in this group:
DE-A-3135006

This place covers:
Illustrative example of subject matter classified in this group:
EP-A-1293271 
This place covers:
Illustrative example of subject matter classified in this group:
DE-B-1134956 
This place covers:
Illustrative example of subject matter classified in this group:
US-A-3890413

This place covers:
Illustrative example of subject matter classified in this group:
DE-A-102005007215 
This place covers:
Illustrative example of subject matter classified in this group:
DE-A-4408138 
Brakes specially adapted for presses (brakes in general F16D)
Illustrative example of subject matter classified in this group:
EP-A-0481206 
This place covers:
Illustrative example of subject matter classified in this group:
GB-A-1399346 
This place covers:
Illustrative example of subject matter classified in this group:
US-A-5587633

This place covers:
Illustrative example of subject matter classified in this group:
DE-A-2608691

This place covers:
Illustrative example of subject matter classified in this group:
FR-A-2557021

This place covers:
Illustrative example of subject matter classified in this group:
US-A-4492901

This place covers:
Illustrative example of subject matter classified in this group:
DE-A-4421527

This place covers:
Illustrative example of subject matter classified in this group:
WO-A-0166320

This place covers:
Illustrative example of subject matter classified in this group:
US-A-4022096

This place covers:
Illustrative example of subject matter classified in this group:
EP-A-0285435

This place covers:
Illustrative example of subject matter classified in this group:
US-A-4458189

This place covers:
Illustrative example of subject matter classified in this group:
DE-A-3037926

This place covers:
Illustrative example of subject matter classified in this group:
DE-B-1427298

This place covers:
Illustrative example of subject matter classified in this group:
US-A-3974764

This place covers:
Illustrative example of subject matter classified in this group:
US-A-2904074

This place covers:
Illustrative example of subject matter classified in this group:
EP-A-0549793 
This place covers:
Illustrative example of subject matter classified in this group:
US-A-5395565

This place covers:
Illustrative example of subject matter classified in this group:
DE-A-2849578

This place covers:
Illustrative example of subject matter classified in this group:
US-A-4311086

EP-A-0547305

This place covers:
Illustrative example of subject matter classified in this group:
US-A-5027631

This place covers:
Illustrative example of subject matter classified in this group:
DE-A-19523802

This place covers:
Illustrative example of subject matter classified in this group:
US-A-4593547

This place covers:
Illustrative example of subject matter classified in this group:
DE-A-102007011489

This place covers:
Illustrative example of subject matter classified in this group:
US-A-5078003

This place covers:
Illustrative example of subject matter classified in this group:
US-A-5064043

This place covers:
Illustrative example of subject matter classified in this group:
FR-A-2057255

This place covers:
Illustrative example of subject matter classified in this group:
DE-A-2110841
This place covers:
Illustrative example of subject matter classified in this group:
DE-A-3008485

Attention is drawn to the following places, which may be of interest for search:
Feeding the unshaped material to moulds or apparatus for producing shaped articles |
This place covers:
Illustrative example of subject matter classified in this group:
DE-A-19600976

This place covers:
Illustrative example of subject matter classified in this group:
DE-A-4328381 
Attention is drawn to the following places, which may be of interest for search:
By using a feed box transferring the moulding material from a hopper to the moulding cavities |
This place covers:
Illustrative example of subject matter classified in this group:
DE-A-3206981 
Attention is drawn to the following places, which may be of interest for search:
Feeding several successive layers, optionally of different materials |
This place covers:
Illustrative example of subject matter classified in this group:
EP-A-2199417


This place covers:
Illustrative example of subject matter classified in this group:
DE-C-3541756
This place covers:
Illustrative example of subject matter classified in this group:
GB-A-2035195


