CPC Definition - Subclass B29B
This place covers:
The mechanical preparation of plastic material as raw material used in subsequent plastic shaping techniques which form a final product (B29B 7/00, B29B 9/00, B29B 13/00 and B29B 15/00).
The making of preforms used as an intermediate product which will udergo an additional processing step, e.g. blow moulding, to obtain the final product (B29B 11/00).
The recovery of plastics from waste products in order to reuse it for making new products (B29B 17/00).
This place does not cover:
Methods, devices directed to the chemical aspects of the plastic preparation, pretreatment or recovery (e.g. chemical composition, use of specific additives, operating steps intended to modify the properties of the polymer, etc.) |
Attention is drawn to the following places, which may be of interest for search:
- In this subclass, it is desirable to add the Indexing Codes of subclasses B29K
- Reference is further made to the special rule of classification in the field of B29B 17/00 as far as the application of Indexing Codes as provided in B29L and B29K is concerned.
- Products per se are not classified in this subclass. However, if a product is characterised by the way it is produced and not by its structure or composition, the production method should be classified in this subclass.
- Inventive and additional information disclosed in documents to be classified should be identified by allocation the appropriate classification symbols provided in B29B. In particular attention should be paid to the so called break down Indexing Codes, forming a further subdivision of a group or a subgroup, which are only present at additional information level.
In this place, the following terms or expressions are used with the meaning indicated:
A plastic | is defined as a macromolecular compound or composition based on such a compound. |
In a plastic state | refers to a state in which the material is more or less easily deformable, locally or as a whole, by force in any direction, to assume and retain any desired shape. |
In patent documents, the following abbreviations are often used:
Resins | Japanese patent applications usually refer to resins instead of plastics |
This place covers:
Devices for the preparation of plastics, this preparation only concerning the mechanical aspects of it, i.e. the mixing of the individual components to obtain a homogeneous mass and/or its subsequent mechanical kneading to achieve the desired consistency.
Attention is drawn to the following places, which may be of interest for search:
Extrusion of plastics |
In this subclass, as a general rule, the type of plastic mixer is to be specified, as well as the specific structural elements which are characteristic of this kind of device.
Attention is drawn to the following places, which may be of interest for search:
Recovery of plastics |
This place covers:
the mechanical preparation of granules, pellets made of plastic material as raw material and used in subsequent plastic shaping techniques which form a final product. The plastic materials concerned by this subclass are polymeric materials used in the subclasses B29C.
This place does not cover:
The mechanical preparation of granules, pellets made of non-polymeric material | e.g. A01N 25/12, B22F 9/08, C22B 1/14 |
Medical preparations characterized by special physical form: particulate form, powder, granulates, microsphere, pellets | |
Making or treating expandable particles | |
Method of shaping (pelletizing, briquetting) of solid fuel made of vegetable substances (wood, forestry or agricultural wates) |
Attention is drawn to the following places, which may be of interest for search:
Cutting aspects of dividing the preformed material | |
Developers with toner particles; preparation methods |
Attention is drawn to the following places, which may be of interest for search:
Disintegrating by knives or other cutting or tearing members which chop material into fragments, specially adapted for disintegrating plastics |
Attention is drawn to the following places, which may be of interest for search:
Disintegrating by knives or other cutting or tearing members which chop material into fragments, specially adapted for desintegrating plastics | |
Multi-port extrusion nozzles |
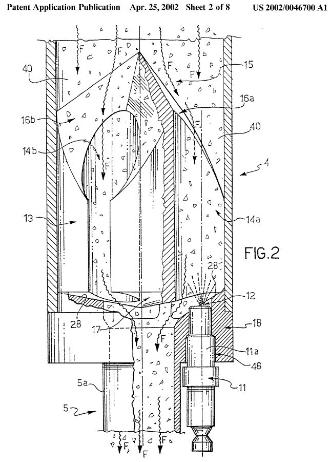
This place covers:
The methods and devices for the preparation of granules, pellets made of plastic material as raw material wherein the cutting operation is performed right after extrusion in a water box. Underwater pelletizer includes also the use of other liquids to cool down the extruded plastic material.
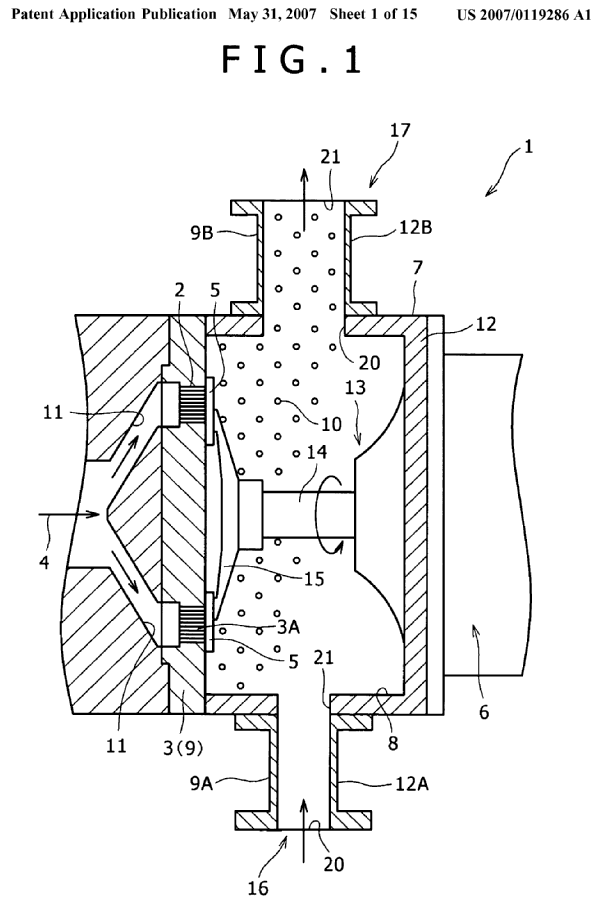
Illustrative example of subject matter classified in B29B 9/065.





This place covers:
The methods and devices for the preparation of granules, pellets made of plastic material as raw material wherein no preformed material (e.g. plates, sheets, filamentary matrial as in B29B 9/04 or B29B 9/06) is used. The granules are made by moulding.
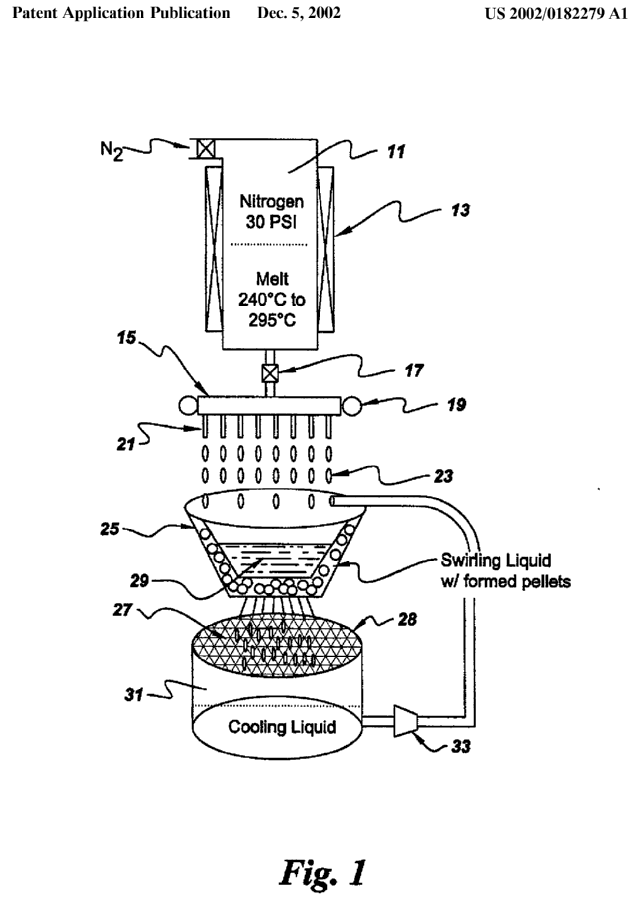
Illustrative example of subject matter classified in B29B 9/10.



Attention is drawn to the following places, which may be of interest for search:
Granulating material in general; by dividing the liquid material into drops, e.g. by spraying, and solidifying the drops | |
Granulating material in general; by dividing the liquid material into drops,in a gaseous medium | |
Granulating material in general; by dividing the liquid material into drops,in a liquid medium |
This place covers:
The methods and devices for the mechanical preparation of granules made of plastic material as raw material wherein the granules are defined by their physical structure (e.g. multilayer or compartimentalized granule) or by their composition (e.g. the selection of the granule ingredients has an influence on the method and apparatus used to manufacture the granule).
The documents disclosing only the chemical composition of granules and wherein the mechanical preparation is absent or trivial are classified in C08J 3/12.
Illustrative example of subject matter classified in B29B 9/12.



This place covers:
The methods and devices for the preparation of granules, pellets made of plastic material as raw material wherein the granule comprises long fibres (fibres as long or longer than the granule), short fibres or fibrous material of different shapes.
The granules comprizing fillers (e.g. powder) are classified in B29B 9/12.
Illustrative example of subject matter classified in B29B 9/14.



Attention is drawn to the following places, which may be of interest for search:
Pretreatment of reinforcement; coating or impregnating of reinforcements of indefinite length with a matrix in liquid form, e.g. as melt, solution or latex |
This place covers:
The methods and devices for the after-treatment of granules, pellets made of plastic material (e.g. absorbing, coating, crystallizing, deforming, purifying).
The chemical aspect of the treatment of granules (e.g. post-polymerization, polycondensation) is classifiyed in C08.
Illustrative example of subject matter classified in B29B 9/16.







Attention is drawn to the following places, which may be of interest for search:
Macromolecular compounds obtained by reactions forming a carboxylic ester link in the main chain of the macromolecule | |
Solid-state polycondensation | |
Post-polymerisation treatment | |
Purification; Drying | |
Macromolecular compounds obtained by reactions forming a carboxylic amide link in the main chain of the macromolecule | |
Solid state polycondensation | |
Post-polymerisation treatment | |
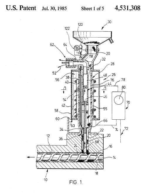
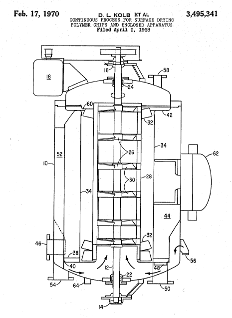
Machines or apparatus for drying materials in loose, plastic, or fluidised form, e.g. granules, staple fibres, with progressive movement |
This place covers:
Preforms relating to B29 in general.
Preforms for blow-moulding bottles.
Making of preforms not otherwise provided for.
The making of preforms (process and apparatus) for which an entry is provided elsewhere, e.g. B29C, is not classified in B29B 11/00 and its subgroups.
In this place, the following terms or expressions are used with the meaning indicated:
Preform | An object obtained by moulding substantially consisting of plastic material, which has to undergo an additional processing step, e.g. blow-moulding, to obtain its final shape |
In patent documents, the following words/expressions are often used as synonyms:
- "preform", "parison" and "blank"
Attention is drawn to the following places, which may be of interest for search:
F-term (Japanese classification) related to manufacturing preforms by shredding preformed materials | 4F201/BM01 |
This place covers:
Making preforms by assembling separate parts, e.g. making a perform for blow moulding by joining a separately moulded neck and thread portion with a separately moulded body portion.
Attention is drawn to the following places, which may be of interest for search:
Joining of preformed parts | |
F-term (Japanese classification) related to manufacturing preforms by assembling preformed materials | 4F201/BM02 |
Attention is drawn to the following places, which may be of interest for search:
F-term (Japanese classification) related to manufacturing preforms by moulding the materials | 4F201/BM04 |
Attention is drawn to the following places, which may be of interest for search:
F-term (Japanese classification) related to manufacturing preforms by injection moulding | 4F201/BM05 |
Injection moulding processes and devices for making preforms, whereby the alleged invention lies in the moulding technique as such, are classified in the moulding technique as such (B29C 45/00) and not in this subgroup.
Attention is drawn to the following places, which may be of interest for search:
F-term (Japanese classification) related to manufacturing preforms by extrusion moulding | 4F201/BM06 |
Extrusion moulding processes and devices for making preforms, whereby the alleged invention lies in the moulding technique as such, are classified in the moulding technique (B29C 48/00) as such and not in this subgroup.
Attention is drawn to the following places, which may be of interest for search:
F-term (Japanese classification) related to manufacturing preforms by compression moulding | 4F201/BM07 |
Compression moulding processes and devices for making preforms, whereby the alleged invention lies in the moulding technique as such, are classified in the moulding technique (B29C 43/00) as such and not in this subgroup.
This place covers:
Preforms having a special composition or shape adapted for its further processing steps or use.
This place covers:
Preforms having fillers/reinforcement where the purpose of subsequent moulding is mentioned
Attention is drawn to the following places, which may be of interest for search:
Shaping composites | |
F-term (Japanese classification) related to: Preforms, including shaping thereof | 4F072/AG00 |
F-term (Japanese classification) related to: Manufacturing preforms | 4F072/AH00 |
This place covers:
The methods and devices for the pre-treatment of the plastic material to be shaped prior to the moulding operation.
Illustrative example of subject matter classified in B29B 13/00.
JP59096134

DE1479034 A1

This place covers:
The methods and devices for the pre-treatment of powder plastic material prior to the process of sintering.
Illustrative example of subject matter classified in B29B 13/007.

This place does not cover:
Sintering layers coated on a mould | |
Compression moulding; pressing and sintering powders, granules or fibres | |
Rapid manufacturing or prototyping of 3D objects; using layers of powder being selectively joined, e.g. by selective laser sintering or melting |
This place covers:
The methods and devices for the pre-treatment of the plastic material to be shaped (powder, pellets, granules) by heating prior to the moulding operation.
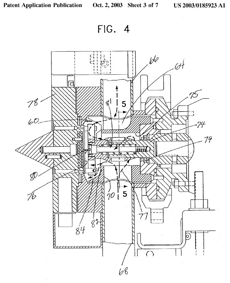
Illustrative example of subject matter classified in B29B 13/021.



This place covers:
The methods and devices for the heat treatment of the plastic material to be shaped (powder, pellets, granules) until said plastic material melts prior to the moulding operation.
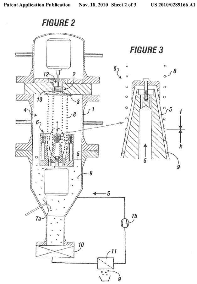
Illustrative example of subject matter classified in B29B 13/022.



US2207426 
Attention is drawn to the following places, which may be of interest for search:
Storage, supply or control of liquid or other fluent material; provided with means for heating or cooling the liquid or other fluent material in the supplying means upstream of the applying apparatus |
This place covers:
The methods and devices for the pre-treatment by heating of the plastic material to be shaped, said plastic material typically being in the form of a film or plate. Said film or plate is a half-product as it has not yet undergone its final shaping operation.
Illustrative example of subject matter classified in B29B 13/023.




This place does not cover:
Heating preforms (film, sheet, plate) prior to thermoforming |
This place does not cover:
Heating a tubular preform prior to blow moulding | |
Ovens specially adapted for heating preforms or parisons |
This place does not cover:
Shaping of tube ends, e.g. flanging, belling, closing; Apparatus therefor |
Attention is drawn to the following places, which may be of interest for search:
Machines or apparatus for drying materials in loose, plastic, or fluidised form, e.g. granules, staple fibres, with progressive movement |
This place covers:
The methods and devices for the mechanical pre-treatment of the plastic material to be shaped by grinding prior to the moulding operation.
Illustrative example of subject matter classified in B29B 13/10.

Attention is drawn to the following places, which may be of interest for search:
Recovery of plastics or other constituents of waste material containing plastics. Disintegrating plastics (e.g. by milling) | |
Disintegrating by knives or other cutting or tearing members which chop material into fragments, specially adapted for disintegrating plastics |
This place covers:
The methods and devices wherein the material undergoes a pre-treatment operation that is an operation that modifies the material to be shaped e.g. by moulding.
Illustrative example of subject matter classified in B29B 15/00.

This place covers:
The methods and devices wherein the material undergoes a coagulation operation prior to final shaping wherein the mechanical aspect of the method or device is detailed.
This place covers:
Surface modifications, normally chemical but also treatments like preheating or carving, of reinforcements or fillers typically to improve the adhesion with the matrix
Attention is drawn to the following places, which may be of interest for search:
Matrix in powder form | |
Matrix in the form of sheet |
This place covers:
Processes as well as the corresponding machinery for recovering plastics, as well as other constituents of waste material containining plastics
This place does not cover:
Reuse of recycled material in moulding processes as such, e.g. in compression moulding |
Attention is drawn to the following places, which may be of interest for search:
In patent documents, the following words/expressions are often used as synonyms:
- "waste", "scrap", "recycling", "recycled", "recovery", "recovering", "salvage", "salvaged", "reclaim", "reclaimed", "reprocessed", "reprocessing", "regrind", "reground", "discard", "discarded", "discarding" and "rubbish"
This place covers:
Recycling processes, as well as the corresponing machinery, whereby the recovery of plastics is combined with the direct reuse of said material in a molding process.
Typical examples are:
- Re-use by regrinding the hardened runner/sprue and feeding it into the hopper of an injection moulding machine.
- Re-use by regrinding or directly feeding the side-trim in plastic film extrusion to the hopper of the extruder.
Attention is drawn to the following places, which may be of interest for search:
Recovery of starting material, waste material or solvents during the manufacture of artificial filaments or the like, made of synthetic polymers |
Attention is drawn to the following places, which may be of interest for search:
Dietetic products with reduced nutritive value, by addition of substantially indigestible substances, i.e. Cellulose or derivatives | |
Making particle boards or fibreboards, with preformed covering layer | |
Making discontinuous sheets of paper, pulpboard or cardboard, or of wet web, for fibreboard production |
Attention is drawn to the following places, which may be of interest for search:
Making granules |
This place covers:
Recovery of plastics or other constituents of waste material containing plastics by an agglomeration or compacting process. The recovered material is used for shaping parts, e.g. compacting plastic waste particles in a heated compression mould for obtaining a discrete article. Possibly with the addition of a binding agent, i.e. urethane.
Attention is drawn to the following places, which may be of interest for search:
Destroying solid waste or transforming solid waste by agglomeration, binding or encapsulation using an organic binder or matrix | |
Layered products essentially comprising synthetic resin made from or containing mainly scrap material |
In this group, it is highly recommended to add additional classification in the shaping technique concerned, e.g. B29C 43/00 for compression moulding, B29C 45/00 for injection moulding.
This place covers:
Recovery of plastics or other constituents of waste material containing plastics by an agglomeration or compacting process, whereby a complete wasted article is compacted, e.g. recovery of plastic containers, e.g. PET bottles by volume reduction.
Attention is drawn to the following places, which may be of interest for search:
Presses specially adapted for consolidating scrap metal or for compacting used cars |
This place covers:
Recovery of plastics or other constituents of waste material containing plastics whereby said recovered material is separated from other materials, e.g. one type of plastics, e.g. PE is seperated from another type of plastics, e.g. PA, by density separation in a water bath.
This place covers:
Recovery of plastics or other constituents of waste material containing plastics whereby the matrix material is separated selectively from the reinforcements by destroying the interface bound before desintegrating the matrix to particles or powder using local heating of the reinforcement, e.g. heating of tires or conveyor belts, e.g. by induction heating, for softening the rubber matrix around the then hot steel wires.
This place covers:
Processes as well as the corresponding machinery for recovering plastics, as well as other constituents of waste material containining plastics, whereby the plastic material is disintegrated.
Attention is drawn to the following places, which may be of interest for search:
Disintegrating by knives or other cutting or tearing members which chop material into fragments | |
Especially adapted for disintegrating plastics, e.g. cinematographic films | |
For plastic bottles | |
Cutting through work characterised by the nature or movement of the cutting member; Apparatus or machines therefor; Cutting members therefor | |
Especially adapted for cutting rubber | |
For cutting used tyres |
In this group including its undergroups, it is highly desirable to add additional B29B 2017/0424 Indexing Codes for the type of disintegrating technique.




































































































