CPC Definition - Subclass A47C
Examples of places where the subject matter of this place is covered when specially adapted, used for a particular purpose, or incorporated in a larger system:
Seats adapted for angling, e.g. fisherman's seats | |
Hunting stands, e.g. hunting seats | |
Tables; Desks; Cabinets in general | |
Children's furniture | |
Bed-covers; Counterpanes; Travelling rugs; Sleeping rugs; Sleeping bags; Pillows | |
Bath seats | |
Shower seats | |
Chairs with toilet means | |
Chairs for disabled persons | |
Medical beds | |
Operating chairs, dental chairs, physiotherapeutic chairs, gynaecological chairs | |
Beds with massage means | |
Mattresses with massage means | |
Chairs with massage means | |
Producing upholstery articles, e.g. cushions, seats | |
Seats specially adapted for vehicles | |
Sleeping accommodation for caravans | |
Ski-lift seats | |
Sleeping accommodation for rail vehicles | |
Rail vehicles seats | |
Sleeping accommodation for load-carrying vehicles | |
Vessel furniture, e.g. boat seats | |
Berths for vessels | |
Aircraft seats |
Attention is drawn to the following places, which may be of interest for search:
Production of upholstery by moulding | |
Production of mattresses or cushions by moulding | |
Production of seats by moulding | |
Upholstery in general | |
Jointing of furniture | |
Testing of furniture, e.g. seats or mattresses |
This place does not cover:
Chairs or personal conveyances specially adapted for patients or disabled persons, e.g. wheelchairs | |
Operating chairs or dental chairs |
Examples of places where the subject matter of this place is covered when specially adapted, used for a particular purpose, or incorporated in a larger system:
Seats adapted for angling, e.g. fisherman's seats | |
Hunting stands, e.g. hunting seats | |
Bath seats | |
Shower seats | |
Chairs with toilet means | |
Seats for surgeons or dentists | |
Chairs with massage means | |
Exercising apparatus combined with chairs | |
Seats specially adapted for vehicles | |
Ski-lift seats | |
Rail vehicles seats | |
Vessel furniture, e.g. boat seats | |
Aircraft seats |
Attention is drawn to the following places, which may be of interest for search:
Chairs characterised by structural features | |
Features relating to vertical adjustability | |
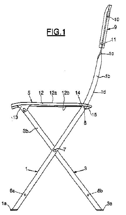
Foldable, collapsible or dismountable chairs | |
Chairs of special materials | |
Part, details or accessories of chairs | |
Stools for specified purposes | |
Benches | |
Convertible chairs | |
Other seating furniture | |
Seating furniture for specified purposes not covered by main groups A47C 1/00 or A47C 9/00 | |
Sofas, couches, settees, or the like, without movable parts | |
Sofas, couches, settees, or the like, with movable parts | |
Ambulance aspects of vehicles; Vehicles with special provisions for transporting patients or disabled persons, or their personal conveyances, e.g. for facilitating access of, or for loading, wheelchairs | |
Seats for railway vehicles | |
Furniture specially adapted for vessels | |
Arrangements or adaptations of seats in aircraft |
This place covers:
Chairs having independently-adjustable supporting parts, e.g. having independently-adjustable backrest, backrest-seat-unit or arm-rest
This place covers:
Seats having seating depth adjustment by horizontal adjustment of the seat or by horizontal movement of the backrest.
Examples of places where the subject matter of this place is covered when specially adapted, used for a particular purpose, or incorporated in a larger system:
Chairs for disabled persons having adjustable depth seats | |
Adjustable vehicles seat-cushion length |
This place covers:
Illustrative examples of subject matter classified in this group:

Examples of places where the subject matter of this place is covered when specially adapted, used for a particular purpose, or incorporated in a larger system:
Adjustable children's chairs | |
Vehicle seats with adjustable backrest |
Attention is drawn to the following places, which may be of interest for search:
Chairs having movably-coupled adjustable seat and backrest | |
Chairs having adjustable leg-rest or foot-rest connected to movable backrest or backrest-seat-unit | |
Rocking chairs with central column and with backrest-seat-unit elastically mounted in a ridged frame | |
Chairs with elastically-mounted backrest or backrest-seat-unit in the base frame | |
Seating furniture convertible to bed by tilting or pivoting the back-rest |
In this place, the following terms or expressions are used with the meaning indicated:
Backrest-seat-unit | backrest and a seat permanently connected to each other |
This place covers:
Chairs convertible from a straight chair into an easy chair, e.g. by inverting or tilting seat and back-rest in the base frame or by overturning the whole chair
Examples of places where the subject matter of this place is covered when specially adapted, used for a particular purpose, or incorporated in a larger system:
Children's chairs convertible from high chair to low chair by reversing |
Attention is drawn to the following places, which may be of interest for search:
Chair or stool bases for uneven surfaces | |
Standing-up or seating -down aids |
This place covers:
Adjustable armrests adaptable to suitable arm position or to the size of the user
This place does not cover:
Sofas convertible to bed by tilting or extending the armrests |
Examples of places where the subject matter of this place is covered when specially adapted, used for a particular purpose, or incorporated in a larger system:
Armrest for disabled persons' chairs | |
Armrest for vehicles seats |
Attention is drawn to the following places, which may be of interest for search:
Arm supports for non-reclining and non-easy chairs | |
Chairs with armrest tables | |
Sofa convertible to bed by tilting or pivoting a backrest with tilting or pivoting the armrest |
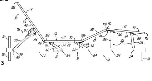
This place covers:
Chairs having coupled simultaneously movable support parts with adjustable inclination, e.g. backrest-seat-coupled, leg-rest-seat-coupled, headrest-backrest-coupled.
The movements between the parts is concurrent, in that both move simultaneously.
In this place, the following terms or expressions are used with the meaning indicated:
Movably-coupled parts | movement of one part, e.g. seat causes the different movement of the other coupled part e.g. backrest |
This place covers:
Chairs having coupled simultaneously movable seat and back-rest; having adjustable and lockable inclination; characterised by elastic means, e.g. coil spring.


This place does not cover:
Chairs having adjustable leg-rest or foot-rest connected to movable-coupled seat and backrest |
Examples of places where the subject matter of this place is covered when specially adapted, used for a particular purpose, or incorporated in a larger system:
Adjustable children's chairs | |
Vehicle seats with adjustable backrest |
Attention is drawn to the following places, which may be of interest for search:
Chairs having independently-adjustable supporting parts, e.g. having independently-adjustable backrest, backrest-seat-unit | |
Rocking office chairs with central column having seat or seat and back-rest unit elastically or pivotally mounted in a rigid base frame | |
Chairs with elastically-mounted backrest or backrest-seat-unit in the base frame | |
Adjustable children's chairs | |
Vehicle seats with adjustable backrest |
Attention is drawn to the following places, which may be of interest for search:
Seat and back-rest not movably coupled |
Applications classified here that use elastic components must also be classified under the type of spring used.
This place covers:
Chairs having leg-rest or foot-rest coupled to other parts of the chair, e.g. backrest or seat, wherein their movement is simultaneous.
This place does not cover:
Chairs having adjustable leg-rest or foot-rest in combination with head-rest |
Examples of places where the subject matter of this place is covered when specially adapted, used for a particular purpose, or incorporated in a larger system:
Leg-rests or foot-rests for disabled persons chairs | |
Lower-leg-rests for vehicles, e.g. calf-rests | |
Foot-rests for vehicle seats |
Attention is drawn to the following places, which may be of interest for search:
Supports for the feet or the legs coupled to non-movable parts of the chair | |
Stand-alone footrests or leg-rest |
This place covers:
Chairs having head-rest coupled to other movable parts of the chair, e.g. movable backrest or seat, wherein their movement is simultaneous.
Examples of places where the subject matter of this place is covered when specially adapted, used for a particular purpose, or incorporated in a larger system:
Head-rests for disabled persons' chairs | |
Head rest for operating or dental chairs | |
Head-rests for vehicle seats |
This place covers:

This place covers:
Chairs used in theatres, auditoriums or stadiums.
Illustrative example of subject matter classified in this place:

This place does not cover:
Detachable seats for mounting on stadium benches |
Attention is drawn to the following places, which may be of interest for search:
Stackable chairs or nesting chairs | |
Parts or details of tipping-up chairs, e.g. of theatre chairs | |
Benches | |
Modular seating | |
Tribunes, grandstands or terraces for spectators | |
Constructional features of auditoriums | |
Coin-freed apparatus for seats or footstools |
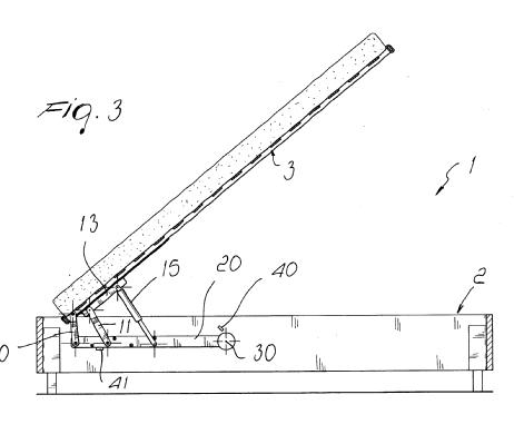
This place covers:
Chairs designed for relaxation and outdoor use, e.g. beach chairs, relaxation chairs, sun-tanning chairs or chaise lounges.


Attention is drawn to the following places, which may be of interest for search:
Chairs with means to protect against weather | |
Camp, travelling, or sports stools | |
Stand-alone backrests without connected seat | |
Travelling and camp beds |
This place covers:
Illustrative example of subject matter classified in this place:

Attention is drawn to the following places, which may be of interest for search:
Theatre, auditorium or similar chairs | |
Detachable or loose seat cushions | |
Children's chairs capable of being suspended from, or attached to, tables or other articles |
This place covers:
Rocking, stackable, nesting, shell shaped, of asymmetric shape and legless chairs; Chairs or stools with rotatable or vertically-adjustable seats
This place covers:
Rocking chairs having elastic frame, having seat elastically or pivotally mounted in a rigid base frame or having a curved rocking member resting on the floor.
Examples of places where the subject matter of this place is covered when specially adapted, used for a particular purpose, or incorporated in a larger system:
Rocking chairs specially adapted for children |
Attention is drawn to the following places, which may be of interest for search:
Elastically mounted seats | |
Chairs with elastically-mounted backrest or backrest-seat-unit in the base frame | |
Stools with exercising means | |
Beds with oscillating or balancing mechanisms | |
Small beds for newborns or infants with rocking means | |
Swings in general | |
Rocking horses | |
Devices for rocking or oscillating perambulators |
This place covers:
Chairs having backrest-seat-unit made of one continuous element, e.g. plastic shell

Examples of places where the subject matter of this place is covered when specially adapted, used for a particular purpose, or incorporated in a larger system:
Shell shaped bus seats |
This place covers:
Chairs asymmetrical with regard to a central vertical plane.

This place covers:
Illustrative example of subject matter classified in this place:

This place does not cover:
Chairs characterised by structural features and chairs or stools with rotatable or vertically-adjustable seats of asymmetrical shape |
Examples of places where the subject matter of this place is covered when specially adapted, used for a particular purpose, or incorporated in a larger system:
Children's chairs mounted on back-rest of chair |
Attention is drawn to the following places, which may be of interest for search:
Legless beach chairs | |
Seats detachably mounted on stadium benches | |
Inflatable chairs | |
Chairs completely made of foam material | |
Stools for specified purposes | |
Bean bags |
This place does not cover:
Chairs adjustable in height by rotation |
Attention is drawn to the following places, which may be of interest for search:
Stools for specified purposes |
This place covers:
Illustrative examples of subject matter classified in this place:
1.

2.

3.

Examples of places where the subject matter of this place is covered when specially adapted, used for a particular purpose, or incorporated in a larger system:
Height adjustable children's chairs | |
Chairs for disabled persons having adjustable height |
This place does not cover:
Tubular chairs of foldable, collapsible or dismountable type |
Examples of places where the subject matter of this place is covered when specially adapted, used for a particular purpose, or incorporated in a larger system:
Children's foldable chairs |
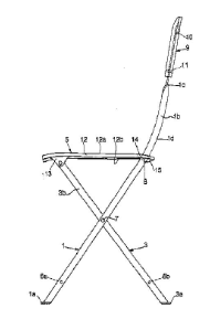
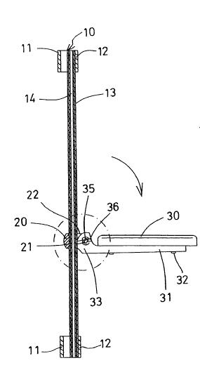
This place covers:
Chairs having detachably interconnected joints configured to be dismounted without causing their destruction.
Illustrative examples of subject matter classified in this place:
1.

2.

Attention is drawn to the following places, which may be of interest for search:
Camp, travelling, or sports stools having several foldable or detachable legs converging in one point | |
Modular seating | |
Dismountable travelling or camp beds | |
Dismountable bedsteads | |
Dismountable children's chairs |
This place covers:
Illustrative examples of subject matter classified in this place:
1.

2.

3.

Attention is drawn to the following places, which may be of interest for search:
Folding chairs with flexible coverings for the seat or back elements | |
Chairs collapsible to trunk shape | |
Camp, travelling or sports stools having several foldable or detachable legs converging in one point | |
Travelling or camp beds with only the legs being foldable | |
Travelling or camp beds with the bed frame being foldable about a horizontal axis | |
Travelling or camp beds the bed being foldable about a vertical axis | |
Folding bedsteads | |
Upholstery attaching means for chairs in general | |
Foldable children's chairs |
In this place, the following terms or expressions are used with the meaning indicated:
inflexible seat | rigid seat or seat with flexible fabric stretched in the frame in all stages of folding |
flexible seat | not rigid seat usually with fabric, being unstretched when unfolded |
Attention is drawn to the following places, which may be of interest for search:
Upholstery attaching means for chairs, beds or the like |
This place covers:
Illustrative examples of subject matter classified in this place:
1.

2.

3.

Attention is drawn to the following places, which may be of interest for search:
Folding chairs with inflexible seats | |
Chairs collapsible into trunk shape | |
Inflatable chairs | |
Camp, travelling, or sports stool having several foldable or detachable legs converging in one point | |
Travelling or camp beds with only the legs being foldable | |
Travelling or camp beds with the bed frame being foldable about a horizontal axis | |
Travelling or camp beds the bed being foldable about a vertical axis | |
Folding bedsteads | |
Foldable children's chairs |
In this place, the following terms or expressions are used with the meaning indicated:
inflexible seat | seat doesn't fold when folding the chair e.g. seats with flexible not foldable fabric stretched in the seat frame in all stages of folding |
flexible seat | seat folds when folding the chair, e.g. seats with flexible foldable fabric |
Attention is drawn to the following places, which may be of interest for search:
Upholstery attaching means for chairs, beds or the like |
Attention is drawn to the following places, which may be of interest for search:
Trunk beds; Travelling-case beds | |
Luggage or hand carried bags convertible into other articles or into objects for other use, e.g. supplementary seats | |
Trunk tables |
This place covers:
Seating furniture having inflatable means.
Illustrative examples of subject matter classified in this place:
1.

2a.

2b.

Attention is drawn to the following places, which may be of interest for search:
Chairs with adjustable inclination by fluid means | |
Chairs having adjustable and lockable inclination by fluid means | |
Detachable or loose seat cushions | |
Fluid mattresses specially adapted for chairs, beds or sofas | |
Bed covers, counterpanes, travelling rugs or sleeping rugs with inflatable means | |
Inflatable pillows | |
Connection of valves to inflatable elastic bodies | |
Vehicle seats with air or fluid cushions | |
Vehicle seats with hydro-pneumatic adjustments of the shape |
This place covers:
Chairs of 2-dimensional pliable materials, e.g. paper, cardboard or plastic sheet materials

WO2004032685
This place covers:
Chairs made of woven material, e.g. basket chairs.

US2006225399
This place covers:
Illustrative example of subject matter classified in this place:

This place does not cover:
Rocking chairs having elastic frames made of tubular material |
Attention is drawn to the following places, which may be of interest for search:
Examples of places where the subject matter of this place is covered when specially adapted, used for a particular purpose, or incorporated in a larger system:
Seats adapted for angling, e.g. fisherman's seats | |
Hunting stands, e.g. hunting seats | |
Bath seats | |
Shower seats | |
Seats for surgeons or dentists | |
Chairs for disabled persons | |
Operating chairs, dental chairs, physiotherapeutic chairs, gynecological chairs | |
Exercising apparatus combined with chairs | |
Seats specially adapted for vehicles | |
Ski-lift seats | |
Rail vehicles seats | |
Vessel furniture, e.g. boat seats | |
Aircraft seats |
Attention is drawn to the following places, which may be of interest for search:
Attaching to floor | |
Chairs with toilet means | |
Chairs with massage means |
This place covers:
Chairs or stools substructures at the ground level, e.g. legs, castors, pedestals.
Illustrative examples of subject matter classified in this group:



This place does not cover:
Chairs or stools with vertically-adjustable seats |
Attention is drawn to the following places, which may be of interest for search:
Reclining chairs by changing the length or inclination of the legs | |
Chairs or stools with additional seat or legs of the chair or stool for varying height of seat | |
Bedsteads' legs | |
Feet for furniture in general | |
Castors in general |
This place covers:
Specific features related to the chair or stool seats, e.g. seat cushions, profiled seats, double seats, seats with adjustable shape, elastically mounted seats, panel seats, seats with foam material, upholstered seats, seats with springs.
Examples of places where the subject matter of this place is covered when specially adapted, used for a particular purpose, or incorporated in a larger system:
Seat cushions specially adapted for wheelchairs |
Attention is drawn to the following places, which may be of interest for search:
Chairs having horizontally-adjustable seats | |
Seats detachably mounted on stadium benches | |
Legless chairs with seat directly resting on the floor | |
Adaptation of seats to mounting in tubular chairs | |
Seat parts not restricted to chairs | |
Removable upholstered units or cushions | |
Measuring means for adapting chairs to the shape or weight of persons | |
Producing upholstery articles, e.g. cushions, seats | |
Production of upholstery by moulding | |
Production of seats by moulding | |
Upholstery in general | |
Testing of furniture, e.g. seats or mattresses |
This place covers:
Illustrative examples of subject matter classified in this group:


This place does not cover:
Movably-coupled seat and backrests with elastic adjustment means | |
Elastically-mounted back-rests or backrest-seat units in the base frame |
Attention is drawn to the following places, which may be of interest for search:
Foamed material mattresses |
Attention is drawn to the following places, which may be of interest for search:
Support for the head or the back for operating or dental chairs |
This place covers:
Headrests connected to non-movable parts of the chair; Detachable or loose headrests.
Illustrative examples of subject matter classified in this place:
1.

2.

3.

Examples of places where the subject matter of this place is covered when specially adapted, used for a particular purpose, or incorporated in a larger system:
Head-rests for disabled persons chairs | |
Head rest for operating or dental chairs | |
Head-rests for vehicle seats |
Attention is drawn to the following places, which may be of interest for search:
Chairs having head-rest coupled simultaneously movable with other movable parts of the chair, e.g. backrest or seat | |
Beauty salon chairs with head-rests | |
Pillows |
This place covers:
Seating furniture having adjustable in height backrest, double backrests, collapsible backrest, detachable or loose backrests.
Examples of places where the subject matter of this place is covered when specially adapted, used for a particular purpose, or incorporated in a larger system:
Back cushions specially adapted for wheel chairs |
Attention is drawn to the following places, which may be of interest for search:
Detachable or loose back supports associated with beds |
This place covers:
Chairs with height adjustable backrest

This place covers:
Chairs with double or split backrest

This place covers:
Chairs with collapsible backrest

This place covers:
Chairs having detachable or loose backrest, e.g. portable


Examples of places where the subject matter of this place is covered when specially adapted, used for a particular purpose, or incorporated in a larger system:
Backrest for disabled persons chairs |
Attention is drawn to the following places, which may be of interest for search:
Dismountable chairs | |
Modular seating | |
Seating furniture convertible to beds by removing parts only | |
Detachable or loose back supports associated with beds |
This place covers:

Attention is drawn to the following places, which may be of interest for search:
Chairs having movable-coupled seat and backrest characterised by elastic means | |
Rocking chairs having elastic frames | |
Rocking chairs with seat, or with seat and back-rest unit, elastically mounted in a rigid frame |
Applications classified here that use elastic components must also be classified under the type of spring used.
This place covers:
Chairs with lower back supports, e.g. adjustable lumbar support



Examples of places where the subject matter of this place is covered when specially adapted, used for a particular purpose, or incorporated in a larger system:
Vehicle seat lumbar support |
In this place, the following terms or expressions are used with the meaning indicated:
"Akerblom" chair | chair having special backrest profile corresponding to the curvature of the human back |
This place covers:
Chairs having freely-rotatable and non-lockable backrest


This place covers:
Seating furniture having supports for the feet or the legs coupled to non-movable parts of the chair; Seating furniture with double foot-rests or leg-rests.
Illustrative examples of subject matter classified in this place:
1.

2.

This place does not cover:
Reclining or easy chairs having coupled adjustable supporting parts including a leg-rest or foot-rest | |
Reclining or easy chairs having coupled adjustable supporting parts including a head-rest in combination with a leg-rest or foot-rest |
Examples of places where the subject matter of this place is covered when specially adapted, used for a particular purpose, or incorporated in a larger system:
Leg-rests for disabled persons chairs | |
Feet-rests for disabled persons chairs | |
Lower-leg-rests for vehicles, e.g. calf-rests | |
Foot-rests for vehicle seats |
Attention is drawn to the following places, which may be of interest for search:
Footstools | |
Detachable or loose foot or leg supports for beds |
This place covers:
Chairs having non-adjustable support armrests, e.g. movable to inoperative position or of detachable type.


Examples of places where the subject matter of this place is covered when specially adapted, used for a particular purpose, or incorporated in a larger system:
Armrest for disabled persons chairs | |
Armrest for vehicles seats |
Attention is drawn to the following places, which may be of interest for search:
Chairs with armrest tables | |
Sofas convertible to bed by tilting or extending the armrests | |
Sofa convertible to bed by tilting or pivoting a backrest with tilting or pivoting the armrest | |
Detachable or loose foot or leg supports for beds |
This place covers:
Arm-rests adjustable to multiple use positions.
This place does not cover:
Adjustable armrests for reclining or easy chairs |
This place covers:



Attention is drawn to the following places, which may be of interest for search:
Theatre, auditorium, or similar chairs | |
Theatre, auditorium, or similar chairs having tipping-up seats | |
Separate chairs, connectable together into a row | |
Stackable chairs or nesting chairs with tipping-up seats | |
Coin-freed apparatus for seats or footstools |
This place covers:
Accessories for chairs, e.g. hat or coat holders, means for protecting against weather, arm-rest tables, illumination, radios, bars, telephones, ventilation, heating, cooling.
This place covers:
Illustrative examples of subject matter classified in this group:

This place covers:

Examples of places where the subject matter of this place is covered when specially adapted, used for a particular purpose, or incorporated in a larger system:
Hats, clothes or clothes hangers used in vehicles |
Attention is drawn to the following places, which may be of interest for search:
Domestic hat or coat Holders |
This place covers:

Attention is drawn to the following places, which may be of interest for search:
Beach chairs | |
Liquid impermeable removable or loose chair covers | |
Bathing or beach cabins |
This place covers:
Umbrellas to be used in combination with a chair.

Attention is drawn to the following places, which may be of interest for search:
Umbrellas characterised by attachment type or shape |
This place covers:


Examples of places where the subject matter of this place is covered when specially adapted, used for a particular purpose, or incorporated in a larger system:
Children's chairs with trays | |
Tables, working plates, trays for disabled persons chairs | |
Tables or trays for use in vehicles |
Attention is drawn to the following places, which may be of interest for search:
Adjustable armrests for reclining or easy chairs | |
Stackable and nesting chairs | |
Arm supports for non-reclining and non-easy chairs | |
Suspended or hinged panels forming a table | |
Bed tables | |
Tables combined with seats |
This place covers:
Chairs having accessories, e.g. lamps, radio, bars, telephones, display screens, ventilation, heating or cooling arrangements or the like
Examples of places where the subject matter of this place is covered when specially adapted, used for a particular purpose, or incorporated in a larger system:
Heating or cooling appliances for medical or therapeutic treatment of the human body | |
Heating or ventilating devices for vehicle seats | |
Accessories for vehicle, e.g. for vehicle seats such as radio sets, television sets, telephones |
Attention is drawn to the following places, which may be of interest for search:
Chairs with lumbar support adjustable by fluid means | |
Beds with lighting, radio or telephone means | |
Beds with ventilating, cooling or heating devices | |
Pillows with cooling or heating means | |
Combination of lighting devices with furniture |
This place covers:
Stools for specified purposes not provided in other part of the classification and seating furniture for specified purposes not provided in other part of the classification.
Attention is drawn to the following places, which may be of interest for search:
Chairs of legless type; Hassocks; Pouffes | |
Chairs or stools with rotatable seats | |
Chairs or stools with vertically adjustable seats | |
Stool bases | |
Step-stools | |
Other seating furniture for specific purpose | |
Footstools | |
Prayer stools or kneeling stools | |
Platforms or seat-boxes specially adapted for angling | |
Walking sticks or umbrellas convertible into seats |
This place covers:
Domestic or office stools having therapeutic or ergonomic effect, e.g. using dynamic seat support.

NL1017456C

GB2348124
Attention is drawn to the following places, which may be of interest for search:
Rocking chairs | |
Chairs' seats especially profiled and adapted to the body contour | |
Chairs' seats of adjustable shape; elastically mounted | |
Exercising apparatus combined with chairs |
This place covers:

DE9400912U
This place does not cover:
Children's chairs, e.g. height chairs |
This place covers:
Stools used in offices or while working.
Illustrative examples of subject matter classified in this place:
1.

2.

3.

Attention is drawn to the following places, which may be of interest for search:
Beauty salon chairs with auxiliary seats | |
Chairs characterised by structural features; Chairs or stools with rotatable or vertically-adjustable seats | |
Parts, details or accessories of chairs or stools | |
Kneeling stools; Kneeling supports | |
Carriers for supporting persons when working in the field | |
Workshop workers' supports, e.g. mechanics' creepers |
This place covers:
Illustrative example of subject matter classified in this group:

US2100877
This place covers:
Stools and chairs mounted to the wall.
Illustrative example of subject matter classified in this place:

Attention is drawn to the following places, which may be of interest for search:
Theatre, auditorium or similar chairs with tipping-up seats | |
Chairs stowable in floor or wall | |
Hinges of tipping-up chairs | |
Wall beds | |
Shower seats |
This place covers:
Illustrative example of subject matter classified in this group:

US2004145221
This place covers:
Stools used for camping, travelling or sport.
Examples of places where the subject matter of this place is covered when specially adapted, used for a particular purpose, or incorporated in a larger system:
Hunting stands, e.g. hunting seats | |
Hanging seats for travelling or camping |
Attention is drawn to the following places, which may be of interest for search:
Foldable, collapsible or dismountable chairs | |
Chairs or stools bases for uneven surface | |
Walking sticks or umbrellas convertible into seats |
This place covers:
Benches, e.g. church benches or benches having multiple separate seats fixed to the bench frame.
Illustrative examples of subject matter classified in this place:
1.

2.

Examples of places in relation to which this place is residual:
Theatre, auditorium or similar chairs | |
Separate chairs, connectable together into a row | |
School forms |
This place covers:
Low stool having steps, e.g. convertible into a short stepladder

DE29606175U
This place covers:
Seating furniture convertible to different seating arrangement not provide for in other part of the classification (see list below)
US4733905
This place does not cover:
Step-stool requiring conversion between the step an seat function |
Examples of places where the subject matter of this place is covered when specially adapted, used for a particular purpose, or incorporated in a larger system:
Seating furniture, couches, settees convertible into beds | |
Walking sticks or umbrellas convertible into seats | |
Luggage or hand carried bags convertible into other articles or into objects for other use e.g. supplementary seats | |
Tables convertible into chairs | |
Children's chairs convertible from high chair to a low one by reversing | |
Children's chairs convertible to push chairs | |
Children's chairs convertible to a rocking chair | |
Children's chairs convertible into tables | |
Chairs convertible into children's chairs | |
Stretchers, for patients or disable persons, convertible into chairs | |
Medical beds convertible into a chair |
Attention is drawn to the following places, which may be of interest for search:
Modular seating |
This place covers:
Seating furniture not provided for in other parts of the classification, e.g. corner seating furniture, floating seats, seats for sexual intercourse.
Examples of places in relation to which this place is residual:
Pneumatic mattresses | |
Benches or forms combined with desks |
This place covers:

DE29500436U

WO9907258
This place does not cover:
Corner couches convertible into a double bed |
Attention is drawn to the following places, which may be of interest for search:
Sofas without movable parts |
This place covers:
Seating furniture for specific purpose not elsewhere covered in A47C or A47D, e.g. shoe shining type chairs, meditation seats, video games chairs, seats for photographer's, astronomical observation seats, underwater chairs, high umpire seats, for sexual intercourse

GB2422102

DE202004011613U

US4705274
This place does not cover:
Hairdressers' or similar chairs | |
High stools, e.g. bar stools | |
Seats adapted for angling, e.g. fisherman's seats | |
Hunting stands, e.g. hunting seats | |
Bath seats | |
Shower seats | |
Chairs with toilet means | |
Seats for surgeons or dentists | |
Chairs for disable persons | |
Operating chairs, dental chairs, physiotherapeutic chairs, gynaecological chairs | |
Chairs with massage means | |
Seats specially adapted for vehicles | |
Ski-lift seats | |
Rail vehicles seats | |
Vessel furniture, e.g. boat seats | |
Aircraft seats |
Attention is drawn to the following places, which may be of interest for search:
Body floating supports for relaxation in water | |
Floating devices with seat for pleasure or sports | |
Floatable furniture |
This place covers:
Rests or supports for feet, legs, arms, back or head not connected in any way with the seating furniture.
Illustrative examples of subject matter classified in this place:
1.

2.

Examples of places where the subject matter of this place is covered when specially adapted, used for a particular purpose, or incorporated in a larger system:
Baby feeding cushions |
Attention is drawn to the following places, which may be of interest for search:
Stand-alone rests or supports for feet, legs, arms, back or head associated with chairs | |
Stand-alone rests or supports for feet, legs, arms, back or head associated with beds or sofas | |
Loose or removable covers for chairs |
In this place, the following terms or expressions are used with the meaning indicated:
stand-alone | not connected in any way with the seating furniture |
This place covers:
Stand-alone backrests

US2384234
This place does not cover:
Chairs having independently-adjustable supporting parts, e.g. having independently-adjustable backrest, backrest-seat-unit | |
Chairs having movably-coupled adjustable seat and backrest | |
Beach chairs of legless type | |
Detachable or loose back supports associated with beds |
This place covers:
Stand-alone foot-rests or leg-rests; Footstools

US6045192
This place does not cover:
Chairs having leg-rest or foot-rest movable-coupled to other parts of the chair, e.g. backrest or seat. | |
Chairs having adjustable leg-rest or foot-rest in combination with head-rest | |
Supports for the feet or the legs coupled to non-movable parts of the chair | |
Leg-rests or foot-rests for disable persons chairs | |
Lower-leg-rests for vehicles, e.g. calf-rests | |
Foot-rests for vehicle seats |
This place covers:
Illustrative example of subject matter classified in this place:

Attention is drawn to the following places, which may be of interest for search:
Hassocks or pouffes | |
Stools with forward inclined seat, e.g. with knee-supports | |
Stools for working at ground level | |
Church benches, confessionals |
This place covers:
Sofas, couches, wall beds, cabinet beds, travelling beds, camp beds, suspended beds.
Examples of places where the subject matter of this place is covered when specially adapted, used for a particular purpose, or incorporated in a larger system:
Beds with special provisions for nursing |
Attention is drawn to the following places, which may be of interest for search:
Bedsteads | |
Rests for beds or sofas, e.g. headrests, footrests | |
Attachments for beds; Ventilating, cooling or heating means for beds | |
Spring mattresses; Divan bases | |
Stuffed mattresses | |
Bed canopies; Mosquito nets | |
Details or accessories for beds | |
Hammocks | |
Show stands for furniture, e.g. beds or mattresses | |
Bed-covers; Counterpanes; Travelling rugs; Sleeping rugs; Sleeping bags; Pillows | |
Devices for preventing wetting or pollution of the bed, e.g. absorbent protective pads | |
Stretchers | |
Beds with massage means | |
Exercising apparatus combined with beds or mattresses | |
Production of upholstery by moulding | |
Production of mattresses or cushion by moulding | |
Sleeping accommodation for caravans | |
Sleeping accommodation for rail vehicles | |
Sleeping accommodation for load-carrying vehicles | |
Berths for vessels | |
Upholstery in general | |
Jointing of furniture | |
Testing of furniture, e.g. seats or mattresses |
This place covers:
Sofas, couches, settees or the like having neither adjustable nor convertible parts
Attention is drawn to the following places, which may be of interest for search:
Chairs, stools or Benches |
Examples of places where the subject matter of this place is covered when specially adapted, used for a particular purpose, or incorporated in a larger system:
Convertible children's beds | |
Stretchers convertible into chairs | |
Medical beds convertible into a chair | |
Vehicle seats convertible to beds |
Attention is drawn to the following places, which may be of interest for search:
Convertible chairs, stools or benches (except conversion to bed) |
This place covers:
Illustrative example of subject matter classified in this group:

DE2136598

FR2401638
This place does not cover:
Several spring, stuffed or fluid mattress/cushions to be put together in one cover |
This place covers:
Illustrative example of subject matter classified in this place:
1a.

1b.

Attention is drawn to the following places, which may be of interest for search:
Chairs with adjustable armrests | |
Non-adjustable support armrests, e.g. movable to inoperative position or of detachable type | |
Chairs with armrest tables | |
Sofa convertible to bed by tilting or pivoting a backrest with tilting or pivoting the armrest | |
Detachable or loose armrest for beds | |
Armrest for disabled persons chairs | |
Armrest for vehicles seats |
This place covers:
Seating furniture with non-movable backrest convertible to bed by pulling the seat cushion.

GB1171323

GB406768

DE20007132

NL109206C
This place does not cover:
Seating furniture convertible to bed by pivoting the movable-coupled backrests and seat | |
Seating furniture convertible to bed by pivoting the backrest with seat cushion consisting of multiple superposed parts, wherein at list on lower hidden part is sliding forward out of the frame | |
Seating furniture convertible to bed by pivoting the backrest with seat cushion consisting of multiple superposed parts, wherein at list on lower hidden part is pivoted by linkages out of the frame | |
Seating furniture with non-movable backrest convertible to bed by uncovering previously hidden |
This place covers:
Illustrative example of subject matter classified in this group:

DE202005010087U
This place does not cover:
Seating furniture with loose or connected by the fabric hinge cushions, convertible to bed | |
Dismountable bedsteads |
Attention is drawn to the following places, which may be of interest for search:
Dismountable chairs | |
Chairs with dismountable or loose backrest | |
Modular seating |
This place covers:
Seating furniture convertible to bed by tilting or pivoting the backrest.
The backrest can also be connected to the movable seat parts.

GB883581

DE4017809

FR2880247

US3867730

US5956785

EP395531

FR1385325

EP1208772

DE19750571
This place does not cover:
Seating furniture having non-movable backrest changeable to beds by increasing the available seat part, e.g. by drawing seat cushion forward | |
Seating furniture with non-movable backrest convertible to bed by uncovering previously hidden mattress or articulated bed cushions |
This place covers:
Seating furniture with non-movable backrest convertible to bed by uncovering previously hidden mattress or articulated bed cushions.

GB322523

BE765002

DE20000226U
This place does not cover:
Seating furniture convertible to bed by pivoting the backrest thereby uncovering previously hidden parts |
Attention is drawn to the following places, which may be of interest for search:
Seating furniture having non-movable backrest changeable to beds by increasing the available seat part, e.g. by drawing seat cushion forward. |
This place covers:
Single bed convertible into a double bed.
Illustrative examples of subject matter classified in this place:
1a.

1b.

2a.

2b.

3.

Attention is drawn to the following places, which may be of interest for search:
Changing corner couches into a double bed | |
Parts for jointing separate bedsteads | |
Extendible bedsteads | |
Extensible children's play-pens |
This place covers:
Illustrative example of subject matter classified in this group

US1825055

AT200201891
This place covers:
Illustrative example of subject matter classified in this group

GB2179849
This place covers:
Beds firmly connected to/at the wall.
Illustrative examples of subject matter classified in this place:
1.

2.

Attention is drawn to the following places, which may be of interest for search:
Seating furniture convertible into beds | |
Cabinet beds; Wardrobe beds | |
Travelling or camp beds | |
Folding bedsteads | |
Wall attached dressing-tables |
This place covers:
Illustrative example of subject matter classified in this group

US5913769

FR595290

US4631764
This place does not cover:
Seating furniture convertible into beds | |
Wall beds | |
Travelling or camp beds | |
Folding bedsteads |
This place covers:
Illustrative examples of subject matter classified in this place:
1.

2.

This place does not cover:
Stretchers |
Attention is drawn to the following places, which may be of interest for search:
Beach chairs | |
Folding, collapsible or dismountable chairs | |
Trunk chairs | |
Chairs or stool bases for uneven surfaces | |
Camp, travelling or sport stools | |
Dismountable bedsteads | |
Folding bedsteads | |
Adjusting members for rests | |
Foldable or dismountable spring mattress with rigid frame | |
Self inflating mattresses | |
Bed canopies | |
Mosquito nets | |
Hammocks | |
Travelling or camp sacks or packs convertible into beds or mattresses | |
Foldable dressing tables for children | |
Foldable beds for children | |
Foldable small beds for newborns or infants | |
Foldable play-pens |
This place covers:
Beds suspended from the horizontal support surface above the bed, e.g. ceiling or movable to non-use position against the ceiling.

GB2276315

US4888836
This place does not cover:
Wall beds | |
Hammocks |
This place covers:
Drawers in or under beds or parts or details for beds, sofas or couches not fully covered in the above groups.
Illustrative examples of subject matter classified in this place:
1.

2.

Attention is drawn to the following places, which may be of interest for search:
Accessories for chairs | |
Combinations of bedsteads with other additional furniture or with accessories, e.g. with bedside cabinets or tables |
Examples of places where the subject matter of this place is covered when specially adapted, used for a particular purpose, or incorporated in a larger system:
Bedsteads for children's beds |
Attention is drawn to the following places, which may be of interest for search:
Travelling or camp beds | |
Spring mattresses with rigid frame or forming part of the bedstead | |
Stuffed or fluid mattress without a rigid frame for beds or sofas | |
Bed jointing members or fittings for bedsteads | |
Fitting for bedsteads |
In this place, the following terms or expressions are used with the meaning indicated:
bedstead | bed frame having non-elastic support forming lowest part of the bed. |
spring mattress with rigid frame | mattress having a rigid frame and elastic elements fixed to the rigid frame. Such mattress can be positioned on top of the bedstead, e.g. box-springs or directly on the floor, e.g. divan or slatted bed bases. |
stuffed or fluid mattress | mattress without a rigid frame stuffed with fibrous material, foam, fluid or springs. Such mattress can be placed on top of bedstead, box-spring, or directly on the floor, e.g. futon. |
This place covers:
Beds having detachably interconnected joints configured to be dismounted without causing their destruction.

This place does not cover:
Dismountable chairs | |
Dismountable travelling or camp beds | |
Foldable or dismountable spring mattress with rigid frame | |
Dismountable children's beds | |
Dismountable children's pens | |
Collapsible stretchers |
This place covers:
Parts or details of bedsteads, e.g. bed rails, legs, head or foot boards; cross-bars



WO2005112705
Attention is drawn to the following places, which may be of interest for search:
Fitting for bedsteads |
This place covers:
Illustrative examples of subject matter classified in this place:
1.

2a.

2b.

Examples of places where the subject matter of this place is covered when specially adapted, used for a particular purpose, or incorporated in a larger system:
Children's bed with adaptable length to the growth of the children | |
Extensible children's play-pens | |
Medical beds with raising or lowering of the whole mattress frame | |
Operating tables with raising or lowering of the whole table surface |
Attention is drawn to the following places, which may be of interest for search:
Single bed convertible into a double bed by extending, pivoting or tilting |
This place covers:
Illustrative examples of subject matter classified in this place:
1.

2.

Attention is drawn to the following places, which may be of interest for search:
Folding, collapsible or dismountable chairs | |
Seating furniture convertible into beds | |
Travelling or camp beds | |
Dismountable bedsteads | |
Foldable or dismountable spring mattress with rigid frame | |
Foldable dressing tables | |
Foldable beds for children | |
Foldable small beds for newborns or infants | |
Foldable play-pens | |
Foldable or collapsible stretchers |
This place covers:
Bunk beds; Mezzanine bed; Stacking or nesting bedsteads.
Illustrative examples of subject matter classified in this place:
1.

2.

3.

Attention is drawn to the following places, which may be of interest for search:
Multiple-wall beds | |
Suspended beds | |
Sleeping accommodation for rail vehicles | |
Sleeping accommodation for load-carrying vehicles | |
Berths for vessels |
This place covers:
Beds combined with other furniture, e.g. tables, bedside cabinets, etc.
Attention is drawn to the following places, which may be of interest for search:
Drawers in or under beds | |
Bed-tables | |
Bedside cabinets |
Attention is drawn to the following places, which may be of interest for search:
Book-rests or bed-tables | |
Bed-rests specially adapted for nursing |
This place covers:
Illustrative examples of subject matter classified in this place:
1.

2.

This place does not cover:
Head and foot rests for beds or sofas with adjustable inclination | |
Head and foot rests for beds or sofas with means for adjusting two or more rests simultaneously |
Examples of places where the subject matter of this place is covered when specially adapted, used for a particular purpose, or incorporated in a larger system:
Baby feeding cushions | |
Restraining devices for children's beds | |
Medical beds with head or torso support | |
Medical beds with limbs support | |
Medical beds with rests adapted for lifting patients or disabled persons |
Attention is drawn to the following places, which may be of interest for search:
Detachable or loose seat cushions for chairs or stools | |
Detachable or loose head or neck supports for chairs | |
Detachable or loose back supports for chairs | |
Detachable feet or leg supports for chairs | |
Stand-alone supports for feet, legs, back or head | |
Pillows |
This place covers:
Beds with independently-adjustable backrests, footrests or headrests.
Illustrative examples of subject matter classified in this place:
1.

2.

3.

4.

This place does not cover:
Beds with two or more rests adjustable simultaneously |
Examples of places where the subject matter of this place is covered when specially adapted, used for a particular purpose, or incorporated in a larger system:
Medical beds with adjustable mattress frame | |
Operating tables with adjustable sections |
Attention is drawn to the following places, which may be of interest for search:
Chairs having independently-adjustable supporting parts | |
Chairs having coupled adjustable supporting parts | |
Seating furniture convertible to beds | |
Travelling or camp beds | |
Bedsteads head or foot boards | |
Beds with entire frame height or inclination adjustment | |
Detachable or loose supports for feet, legs, arms, back or head associated with beds |
This place covers:
Beds with simultaneously-adjustable backrests, footrests or headrest.
Illustrative example of subject matter classified in this place:

Examples of places where the subject matter of this place is covered when specially adapted, used for a particular purpose, or incorporated in a larger system:
Medical beds with adjustable mattress frame | |
Medical beds divided in to different adjustable sections, e.g. Gatch position | |
Operating tables with adjustable sections |
Attention is drawn to the following places, which may be of interest for search:
Beds with independently-adjustable backrests, footrests or headrests |
This place covers:
Attachments or accessories for beds or mattresses not provided in other parts of classification.
This place does not cover:
Bed-tables supported on the bedstead |
Examples of places where the subject matter of this place is covered when specially adapted, used for a particular purpose, or incorporated in a larger system:
Attachments for beds, e.g. sheet holders or bed-cover holders, for children's beds |
Attention is drawn to the following places, which may be of interest for search:
Accessories for chairs | |
Drawers in or under beds | |
Combinations of bedsteads with other additional furniture or with accessories, e.g. with bedside cabinets or tables | |
Bedside cabinets |
This place covers:
Beds with electrical appliances, e.g. lighting, radio, telephone, etc.
Illustrative example of subject matter classified in this place:

Attention is drawn to the following places, which may be of interest for search:
Chairs with lighting, radio, telephone or etc. | |
Illuminated bed covers, counterpanes, travelling rugs, sleeping rugs or pillows | |
Bed covers, counterpanes, travelling rugs, sleeping rugs or pillows with sound equipment | |
Combination of lighting devices with hospital beds |
This place covers:
Beds having mechanisms causing oscillation or vibration of the bed.

DE202006006297U
This place does not cover:
Rocking chairs in general | |
Small beds for newborns or infants with rocking mechanisms | |
Children's rocking chairs | |
Medical beds for preventing bed-sores or for supporting patients with burns having alternately movable parts | |
Beds with massage means | |
Swings in general | |
Devices for rocking or oscillating perambulators |
This place covers:
Holders for loose bed elements, e.g. sheet holders, bed cover holders, for airing duvets or covers, pillow holders, mattress holders, holders for facilitating making a bed
This place covers:
Illustrative example of subject matter classified in this group



This place does not cover:
Children's beds with bed-cover holders preventing babies from throwing-off the bed cover | |
Bed-covers; Counterpanes; Travelling rugs; Sleeping rugs; Sleeping bags; Pillows | |
Medical beds with bed-cloth supports to alleviate the weight of the body-cloth on the patient |
This place covers:
Illustrative example of subject matter classified in this group

US3506988

DE29907771U
This place does not cover:
Spring mattresses with ridged frame, e.g. box springs | |
Stuffed or fluid mattress without a rigid frame for beds or sofas | |
Pillows |
This place covers:
Illustrative example of subject matter classified in this group

US2006075557

WO2003020082
Medical beds with dispensers of disposable sheets |
Attention is drawn to the following places, which may be of interest for search:
Beds with entire frame height or inclination adjustment |
This place covers:
Lying furniture having ventilating, cooling or heating means.
Examples of places where the subject matter of this place is covered when specially adapted, used for a particular purpose, or incorporated in a larger system:
Medical beds for preventing bed-sores with ventilating means | |
Heating or ventilating devices for vehicle seats |
Attention is drawn to the following places, which may be of interest for search:
Chairs with ventilating, cooling or heating devices | |
Pillows with cooling or heating means | |
Heating or cooling appliances for medical or therapeutic treatment of the human body |
This place covers:
Mattress underlays are layers or inserts positioned between bed-frame/box- spring and the upper mattress to increase the upper mattress ventilation, firmness or protect from damage.

FR2624711
This place covers:
Illustrative example of subject matter classified in this place:

Examples of places where the subject matter of this place is covered when specially adapted, used for a particular purpose, or incorporated in a larger system:
Devices for prevention against falling-out, e.g. detachable side walls, for children's beds | |
Small beds for newborns or infants | |
Children's play-pans | |
Restrain devices for children's beds | |
Side bolsters for medical beds | |
Side-rails for medical beds |
Attention is drawn to the following places, which may be of interest for search:
Bedsteads | |
Stuffed or fluid mattress without a rigid frame for beds or sofas | |
Upholstery attaching means | |
Springs in general | |
Testing of furniture, e.g. seats or mattresses |
In this place, the following terms or expressions are used with the meaning indicated:
Bedstead | Bed frame having non-elastic support forming lowest part of the bed |
Spring mattress with rigid frame | Mattress having a rigid frame and elastic elements fixed to the rigid frame. Such mattress can be positioned on top of the bedstead, e.g. box-springs or directly on the floor, e.g. divan or slatted bed bases |
Stuffed or fluid mattress | Mattress without a rigid frame stuffed with fibrous material, foam, fluid or springs.Such mattress can be placed on top of bedstead, box-spring, or directly on the floor, e.g. futon. |
This place covers:
Illustrative example of subject matter classified in this group

NL1021778C
Attention is drawn to the following places, which may be of interest for search:
Spring mattress with rigid frame having springs of special type |
This place does not cover:
Foldable travelling or camp beds | |
Dismountable bedsteads | |
Folding bedsteads |
This place covers:
Illustrative example of subject matter classified in this group

US2007011818
This place does not cover:
Chairs with seat having compressed springs with edge reinforcement | |
Stuffed or fluid mattresses without a rigid frame having ticking or covers with edge welts or rolls | |
Stuffed or fluid mattresses without a rigid frame having spring inlays with edge stiffeners | |
Edge welts for upholstery in general |
This place covers:
Illustrative example of subject matter classified in this group

WO2007049135
This place does not cover:
Chairs with movable-coupled seat and backrest characterised by leaf spring | |
Chairs with tensioned springs, e.g. of flat type | |
Chairs with elastically-mounted backrest or backrest-seat-unit in the base frame characterised by leaf springs | |
Slatted wooden bed bases | |
Mattress with rigid frame using tensioned springs, e.g. flat type |
This place covers:
Illustrative example of subject matter classified in this group

DE2536882

DE2536882
This place does not cover:
Chairs with seat parts having springs in compression, e.g. coil springs | |
Spring mattresses with rigid frame having combination of nets with springs in compression | |
Stuffed or fluid mattress without a rigid frame for beds or sofas with spring inlays | |
Upholstery attaching means | |
Making wire network, e.g. wire nets for spring mattresses | |
Mounting of mattress innersprings on border frames | |
Springs in general |
This place covers:
Illustrative example of subject matter classified in this group

DE202009005204U

WO9917640
This place does not cover:
Spring mattresses with rigid frame with leaf springs | |
Mattress with rigid frame using tensioned springs, e.g. flat type |
This place covers:
Illustrative example of subject matter classified in this group

NL7302612

DE19913523

DE1237745
This place does not cover:
Chairs with tensioned springs, e.g. of flat type | |
Spring mattresses with rigid frame with leaf springs | |
Slatted wooden bed bases |
This place covers:
Mattresses with rigid frame using combination of compressed springs, wooden springs or tensioned springs.
Illustrative examples of subject matter classified in this place:
1.

2a.

2b.

Attention is drawn to the following places, which may be of interest for search:
Chairs with seats having combination of different springs |
This place covers:
Stuffed or fluid mattress without a rigid frame for chairs, beds or sofas
Examples of places where the subject matter of this place is covered when specially adapted, used for a particular purpose, or incorporated in a larger system:
Mattresses for children's beds | |
Medical beds with arrangement for preventing bed-sores or for supporting the patients with burns |
Attention is drawn to the following places, which may be of interest for search:
Chairs with detachable or loose seat cushions | |
Bedsteads | |
Mattresses with rigid frame, e.g. spring boxes | |
Upholstery attaching means | |
Sacks or packs convertible into beds or mattresses | |
Show stands for furniture e.g. beds or mattresses | |
Making wire network, e.g. wire nets for spring mattresses | |
Production of upholstery by moulding | |
Production of mattresses or cushion by moulding | |
Resilient upholstery pads in general | |
Manufacturing mattresses | |
Machines for sewing quilts or mattresses | |
Springs in general | |
Testing of furniture, e.g. seats or mattresses |
In this place, the following terms or expressions are used with the meaning indicated:
Bedstead | Bed frame having non-elastic support forming lowest part of the bed |
Spring mattress with rigid frame | Mattress having a rigid frame and elastic elements fixed to the rigid frame. Such mattress can be positioned on top of the bedstead, e.g. box-springs or directly on the floor, e.g. divan or slatted bed bases |
Stuffed or fluid mattress | Mattress without a rigid frame stuffed with fibrous material, foam, fluid or springs.Such mattress can be placed on top of bedstead, box-spring, or directly on the floor, e.g. futon. |
This place covers:
Illustrative example of subject matter classified in this group

Examples of places where the subject matter of this place is covered when specially adapted, used for a particular purpose, or incorporated in a larger system:
Medical beds with arrangements for preventing bed-sores having modules blocks, or inserts, with layer of different material |
Attention is drawn to the following places, which may be of interest for search:
Seating furniture convertible to bed with loose or connected by the fabric hinge cushions | |
Foamed mattresses with several layers |
This place covers:
Mattress tickings or cover forming integral part of the mattress


This place does not cover:
Bed linens, blankets, or Counterpanes |
Examples of places where the subject matter of this place is covered when specially adapted, used for a particular purpose, or incorporated in a larger system:
Medical beds with dispensers of disposable sheets |
Attention is drawn to the following places, which may be of interest for search:
Beds with sheet holders or bed cover holders | |
Use of three-dimensional fabrics | |
Anti-mite, anti-allergen or anti-bacterial means | |
Mattress hand straps | |
Loose or removable mattress covers | |
Travelling rugs; Sleeping rugs | |
Sleeping bags | |
Devices for preventing wetting or pollution of the bed, e.g. absorbent protective pads |
This place covers:
Mattresses without a rigid frame stuffed with springs e.g. helical springs






This place does not cover:
Foamed mattresses with springs moulded in, or situated in cavities or openings in foam materials |
Attention is drawn to the following places, which may be of interest for search:
Chairs with seat parts having springs in compression, e.g. coil springs | |
Spring mattresses with rigid frame having springs in compression, e.g. coiled springs | |
Spring mattress with rigid frame having combination of nets with springs in compression | |
Upholstery attaching means | |
Manufacturing mattresses | |
Springs in general |
Attention is drawn to the following places, which may be of interest for search:
Upholstery attaching means for chairs, beds or the like |
Attention is drawn to the following places, which may be of interest for search:
Connecting valves to inflatable elastic bodies |
This place covers:
Illustrative example of subject matter classified in this group

Examples of places where the subject matter of this place is covered when specially adapted, used for a particular purpose, or incorporated in a larger system:
Medical beds with arrangements for preventing the bed-sores having inflatable chambers | |
Vehicle seats with hydro-pneumatic adjustments of the shape |
Attention is drawn to the following places, which may be of interest for search:
Inflatable chairs | |
Chairs with lumbar support adjustable by fluid means | |
Beds with fluid means adjustable inclination | |
Spring mattresses with rigid frame with inflatable elements | |
Liquid mattresses | |
Fluid mattress with means for connecting opposite sides of the mattress, e.g. internal ties or strips | |
Fluid mattress filled with elastic bodies, e.g. foam | |
Fluid mattress with plurality independently-fillable chambers | |
Fibrous mattresses with inflatable elements | |
Foam mattresses with inflatable bodies | |
Bed covers, counterpanes, travelling rugs or sleeping rugs with inflatable means | |
Inflatable pillows | |
Devices for lowering persons from buildings by making use of jumping devices, e.g. jumping-mattresses | |
Tents or canopies with inflatable mattresses |
This place covers:
Illustrative example of subject matter classified in this group

Examples of places where the subject matter of this place is covered when specially adapted, used for a particular purpose, or incorporated in a larger system:
Medical beds with arrangements for preventing the bed-sores having fluid like particles, e.g. sand, mud, seeds, gel, beads |
Attention is drawn to the following places, which may be of interest for search:
Fluid mattress filled with elastic bodies, e.g. foam | |
Fluid mattress with plurality independently-fillable chambers | |
Bed covers, counterpanes, travelling rugs or sleeping rugs with liquid means |
This place covers:
Mattresses or cushions filled with beans, balls, beads, granules, seeds, pellets, spheres, chips or other small particles

Examples of places where the subject matter of this place is covered when specially adapted, used for a particular purpose, or incorporated in a larger system:
Medical beds with arrangements for preventing the bed-sores having fluid like particles, e.g. sand, mud, seeds, gel, beads |
This place covers:
Illustrative example of subject matter classified in this group

This place covers:
Fluid mattresses filled with elastic bodies, e.g. foam spring or coil springs, forming additional suspension inside the mattress
Attention is drawn to the following places, which may be of interest for search:
Fluid-like particles mattresses or cushions, e.g. filled with beads | |
Foam mattresses with inflatable bodies |
This place covers:
Illustrative example of subject matter classified in this group

Examples of places where the subject matter of this place is covered when specially adapted, used for a particular purpose, or incorporated in a larger system:
Medical beds with arrangements for preventing the bed-sores having two groups of alternately inflated chambers | |
Vehicle seats with hydro-pneumatic adjustments of the shape |
This place covers:
Illustrative example of subject matter classified in this group


Examples of places where the subject matter of this place is covered when specially adapted, used for a particular purpose, or incorporated in a larger system:
Mattresses for children's beds |
Attention is drawn to the following places, which may be of interest for search:
Mattresses with both fibrous and foamed inlays | |
Finishing upholstery mainly composed of fibrous material |
This place covers:
Illustrative example of subject matter classified in this group



Examples of places where the subject matter of this place is covered when specially adapted, used for a particular purpose, or incorporated in a larger system:
Mattresses for children's beds | |
Medical beds with arrangements for preventing the bed-sores having integral body-bearing projections or protuberances | |
Medical beds with arrangements for preventing the bed-sores having modules blocks, or inserts, with layers of different material | |
Medical beds with arrangements for preventing the bed-sores having cut-outs or depressions in order to relieve the pressure on the parts of the body |
Attention is drawn to the following places, which may be of interest for search:
Chairs completely made of foam material | |
Chairs with seats having foamed material including in cushioning part | |
Stuffed mattresses for beds or sofas with spring inlays having foam material in top, bottom or side layers | |
Fluid-like particles mattresses, e.g. filled with beads | |
Fluid mattress filled with elastic bodies, e.g. foam | |
Mattresses with both fibrous and foamed inlays | |
Production of upholstery by moulding | |
Production of mattresses or cushion by moulding | |
Production of seats by moulding | |
Resilient upholstery pads of cellular material, e.g. sponge rubber | |
Finishing upholstery mainly composed of resilient material, e.g. foam rubber |
This place covers:
Illustrative example of subject matter classified in this group

This place covers:
Illustrative examples of subject matter classified in this place:
1.

2.

Attention is drawn to the following places, which may be of interest for search:
Seating or laying furniture with anti-earthquake means | |
Insect nets for animals | |
Insect nets as travelling equipment | |
Children's beds | |
Isolation chambers used for isolating individuals from external stimuli | |
Tents or canopies with inflatable mattresses |
This place covers:
Illustrative example of subject matter classified in this group

US2006048301
This place covers:
Illustrative example of subject matter classified in this group

This place does not cover:
Isolation chambers used for isolating individuals from external stimuli |
Attention is drawn to the following places, which may be of interest for search:
Bed canopies |
This place covers:
Illustrative example of subject matter classified in this group

WO0074461
This place covers:
Seating or laying furniture using aromatic materials, e.g. herbs
This place does not cover:
Bed-covers, counterpanes, travelling rugs, sleeping rugs, sleeping bags or pillows comprising deodorising or fragrance realising substance |
This place covers:
Seating or laying furniture with three-dimensional fabric or spacer fabric

This place covers:
Upholstery attaching means of seating or laying furniture not provided for in other parts of the classification.
Illustrative examples of subject matter classified in this place:
1.

2.

3.

Attention is drawn to the following places, which may be of interest for search:
Attachment of upholstery or fabric to frames of foldable chairs with inflexible seats | |
Attachment of upholstery or fabric to frames of foldable chairs with flexible coverings | |
Attachment of upholstery or fabric to frame of tubular metal chairs | |
Attachment of covering in vehicle seat | |
Quilting, quilting means, fastening, fixing or finishing upholstery | |
Elements specially adapted for fastening, fixing or finishing, in upholstery work |
This place covers:
Illustrative example of subject matter classified in this group

EP1741365
This place covers:
Illustrative example of subject matter classified in this group

US5007123

US4838610
This place does not cover:
Removable or loose covers for chairs' headrests | |
Children's beds with bed-cover holders preventing babies from throwing-off the bed cover | |
Bed linen, blankets or counterpanes | |
Seat covering for cars | |
Removable protective covers for car seats |
This place covers:
Body measuring means for adapting chairs, beds or mattresses to the shape or weight of persons.
Illustrative examples of subject matter classified in this place:
1.

2.

Attention is drawn to the following places, which may be of interest for search:
Devices for taking measurements on the human body for manufacturing clothing | |
Measuring of the body profile for diagnostic purpose | |
Testing of furniture, e.g. seats or mattresses |


