CPC Definition - Subclass A45F
This place covers:
- Devices for carrying articles on the body of a person, e.g. for travelling.
- Travelling articles for personal use to be carried by not more than one person.
- Backpacks.
- Harnesses.
- Holders for carrying articles on the body, garment or belt of a person.
- Travelling or camp articles such as water-bottles, mess-tins, cups, hammocks and accessories for them, hanging seats, picnic sets, sewing kits, map cases, nets affording protection against insects;
- Travelling or camp articles which may be converted into articles for other use, e.g. coats or capes convertible into tent coverings
- Sacks or packs carried on the body by means of one strap passing over the shoulder or by means of two straps passing over the two shoulders including sacks or packs specially adapted for military purposes;
- Sacks and packs specially adapted for children, e.g. for schoolchildren;
- Carrying-frames and frames combined with sacks; carrying-straps, e.g. with adjustable fastenings of straps or belts; shoulder-pads;
- Sacks or packs carried on the body and convertible into other articles e.g. into tents, beds or mattresses, hammocks, litters or sleeping-bags, boats, sledges, coats or capes
- Holders or carriers for hand articles and holders or carriers for use while travelling or camping, such as fastening articles to the garment, handles, book-carriers; holders for spades, hatchets or the like
Travelling or camp equipment is normally classified in the classes for the equipment concerned, e.g. in subclasses A47B (for example, travelling or trunk tables A47B 3/10; tables specially adapted for use in the open air A47B 37/04), A47C (for example, travelling or camp beds A47C 17/64; suspended beds A47C 17/84, foldable, collapsible or dismountable chairs A47C 4/00, camp, travelling, or sports stools A47C 9/10), A47G (for example, travelling rugs A47G 9/06; sleeping bags A47G 9/08), A47J (for example, camp cooking devices A47J 33/00, A47J 36/26).
Attention is drawn to the following places, which may be of interest for search:
Hand implements for working earth, e.g. shovels, picks | |
Veils | |
Outerwear; Protective garments | |
Boxes for needles or pins | |
Hand carried bags or luggage | |
Picnic boxes | |
Handles for suitcases or bags | |
Straps, bands as travelling accessories | |
Wheeled carriers | |
Bags for golf clubs | |
Camping vehicles | |
Foldable sledges | |
Foldable vessels | |
Rigid or semi-rigid containers | |
Sacks, bags or like containers | |
Devices for moving or tilting heavy loads | |
Transportable devices to obtain potable water | |
Matches for starting fires | |
Tools, implements, or accessories for hand sewing | |
Tents convertible, e.g. from one type tent to another type tent | |
Stands or trestles as supports for apparatus or articles placed thereon | |
Portable lighting | |
Stoves with special adaptation for travelling, e.g. collapsible: stoves in which the type of fuel or energy supply is not specified | |
stoves for gaseous fuels | |
stoves for liquid fuels | |
stoves heated by electric energy | |
Portable water heaters | |
Means for wearing or carrying smallarms | |
Gun-slings | |
Arrangements for carrying mobile phones |
In this place, the following terms or expressions are used with the meaning indicated:
Knapsack | A bag with shoulder straps, carried on the back |
In patent documents, the following words/expressions are often used as synonyms:
- "water-bottle ", "canteen" and "flask;
- "knapsack", "sack", "pack", "backpack" and "rucksack"
Attention is drawn to the following places, which may be of interest for search:
Bags for golf clubs |
Attention is drawn to the following places, which may be of interest for search:
Means for wearing or carrying smallarms |
Attention is drawn to the following places, which may be of interest for search:
Wheeled carriers |
This place covers:
Straps or harnesses for carrying articles which are not too heavy, i.e. articles which do not have to be carried by more than one person




Attention is drawn to the following places, which may be of interest for search:
Carriers for heavy loads | |
Means for wearing or carrying smallarms | |
Cords, straps or harnesses for musical instruments |
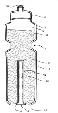
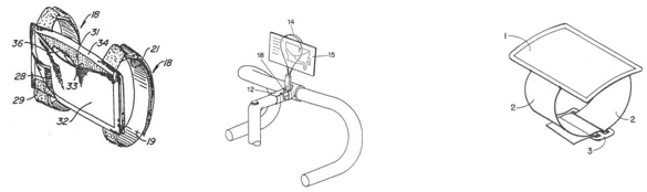
This place covers:
Illustrative examples of subject matter classified in this place:
1.

Figure 1 illustrates a contoured and angled bottle with mounting clip.
2.

Figure 2 illustrates a bottle that has a secondary chamber (14) for storing personal items.
Attention is drawn to the following places, which may be of interest for search:
Drinking straws as tableware | |
Closures with discharging devices |
Attention is drawn to the following places, which may be of interest for search:
Shooting stands for hunting | |
Rocking chairs pivotally mounted in a frame; Swings |
This place does not cover:
Posts driven into the ground |
This place does not cover:
Picnic boxes |
Attention is drawn to the following places, which may be of interest for search:
Holders or cabinets for maps |
Attention is drawn to the following places, which may be of interest for search:
Garments convertible into other articles | |
Luggage or bags convertible into objects for other use | |
Foldable chairs | |
Baby-carriers | |
Sleeping bags |
This place covers:
Illustrative examples of subject matter classified in this place:
1.

2.

3.

Attention is drawn to the following places, which may be of interest for search:
Sacks or packs carried on the body | |
Storage means for work tools | |
Supports for positioning apparatus or articles | |
Wearable computers, e.g. on a belt | |
Cords, straps or harnesses for musical instruments | |
Arrangements for carrying or protecting portable transceivers | |
Supports for telephones adapted for use on head, throat or breast |
In this place, the following terms or expressions are used with the meaning indicated:
holder or carrier | a human body-supported device for holding or carrying hand articles to facilitate transport and/or hands-free carrying of the hand article, where the hand article is not in use or being passively used while supported by the wearer. For example, an armband, a shoulder-strap or a belt clip, each including means for retaining a hand article. The holder or carrier is not part of the hand article itself, e.g. it is distinct from the housing of an electronic device. Holders or carriers do not include sacks or packs. |
Attention is drawn to the following places, which may be of interest for search:
Attaching writing implements to wearing apparel or objects involving constructional changes of the implements | |
Means for wearing or carrying small arms |
Attention is drawn to the following places, which may be of interest for search:
Handles for suitcases or travelling bags | |
Handles of sacks or bags | |
Straps provided with handles for bundling or supporting articles | |
For carrying heavy loads |
This place covers:
Illustrative example of subject matter classified in A45F 5/102
Carrying handles with rigid receiving means, e.g. a hook, for receiving a carrying element, e.g. a rigid handle, of the hand article to be carried.

Attention is drawn to the following places, which may be of interest for search:
With flexible receiving elements | |
Receiving flexible handles of the hand article to be carried |
This place covers:
Illustrative examples of subject matter classified in this place:
1.

2.

3.

4.

This place covers:
Holders or carriers worn by a user for hands-free carrying of portable audio devices like headphones or digital music players.
Illustrative examples of subject matter classified in this place:
1.

2.

Holders or carriers worn by a user for portable audio devices like headphones or digital audio players to facilitate transporting or carrying, where the device is not in use or being passively used are classified in A45F 5/1508 while holders or carriers being worn by a user for portable handheld communication devices and portable computing devices are classified in groups A45F 5/1516 and A45F 5/1525, respectively.
This place relates to holders or carriers worn by a user for portable audio devices like headphones or digital audio players to facilitate transporting or carrying, where the device is not in use or being passively used.
Holders or carriers being worn by a user for portable handheld communication devices and portable computing devices are classified in groups A45F 5/1516 and A45F 5/1525, respectively.
Receptacles for storing portable audio devices, portable handheld communication devices or portable computing devices where the device must be removed for use are classified in A45C 11/001, A45C 11/002 and A45C 11/003, respectively.
Protective covers or auxiliary enclosures for portable computers that are intended to hold the device during use without hampering said use are classified in G06F 1/1629.
Protective covers or auxiliary enclosures for mobile phones that are intended to hold the device during use without hampering the telephonic functions are classified in H04M 1/0203.
Constructional features, like venting or EMI shielding means, of electronic housings not characterised by the inner electronic arrangements are classified in H05K 5/00.
Supports for positioning or steadying a device relative to a person with the intent of using the device are classified in F16M 13/04.
Attention is drawn to the following places, which may be of interest for search:
Receptacles for storing portable audio devices like headphones or digital music players | |
Receptacles for storing portable handheld communication devices, e.g. pagers or smart phones | |
Receptacles for storing portable computing devices, e.g. laptops, tablets or calculators | |
Supports for positioning or steadying a device relative to a person | |
Enclosures for carrying portable computers with peripheral devices | |
Protective covers or auxiliary enclosures for portable computers | |
Wearable computers, e.g. on a belt | |
Arrangements for carrying or protecting portable transceivers | |
Protective covers or auxiliary enclosures for portable telephones | |
Casings, cabinets or drawers for electric apparatus |
If the device is a mobile phone that also has digital audio playing capabilities and/or computing capabilities, it should only be classified in holders or carriers for portable handheld communication devices A45F 5/1516.
If the device is a computer or tablet that also has digital audio playing capabilities and/or computing capabilities, it should only be classified in holders or carriers for portable computing devices A45F 5/1525.
This place covers:
Holders or carriers worn by a user for hands-free carrying of portable handheld communication devices.
Illustrative examples of subject matter classified in this place:
1.

2.

3.

Holders or carriers worn by a user for portable handheld communication devices to facilitate transporting or carrying, where the device is not in use or being passively used are classified in A45F 5/1516 while receptacles for storing portable audio devices, portable handheld communication devices or portable computing devices where the device must be removed for use are classified in A45C 11/001, A45C 11/002 and A45C 11/003, respectively.
Protective covers or auxiliary enclosures for portable computers that are intended to hold the device during use without hampering said use are classified in G06F 1/1629.
Protective covers or auxiliary enclosures for mobile phones that are intended to hold the device during use without hampering the telephonic functions are classified in H04M 1/0203.
Constructional features, like venting or EMI shielding means, of electronic housings not characterised by the inner electronic arrangements are classified in H05K 5/00.
Supports for positioning or steadying a device relative to a person with the intent of using the device are classified in F16M 13/04.
Attention is drawn to the following places, which may be of interest for search:
Receptacles for storing portable audio devices like headphones or digital audio players | |
Receptacles for storing portable handheld communication devices, e.g. pagers or smart phones | |
Receptacles for storing portable computing devices, e.g. laptops, tablets or calculators | |
Supports for positioning or steadying a device relative to a person | |
Enclosures for carrying portable computers with peripheral devices | |
Protective covers or auxiliary enclosures for portable computers | |
Wearable computers, e.g. on a belt | |
Arrangements for carrying or protecting portable transceivers | |
Protective covers or auxiliary enclosures for portable telephones | |
Casings, cabinets or drawers for electric apparatus |
If the device is a mobile phone that also has computing capabilities and/or digital audio playing capabilities, it should only be classified in holders or carriers for portable handheld communication devices A45F 5/1516.
If the device is a computer or tablet that also has communication capabilities and/or digital audio playing capabilities, it should only be classified in holders or carriers for portable computing devices A45F 5/1525.
This place covers:
Holders or carriers worn by a user for hands-free carrying of portable handheld computing devices like laptops, tablets or calculators.
Illustrative examples of subject matter classified in this place:
1.

2.

Holders or carriers worn by a user holding or carrying portable handheld computing devices like laptops, tablets or calculators to facilitate transporting or carrying, where the device is not in use or being passively used are classified in A45F 5/1525, while carrying devices like bands or straps worn on the user to which a computer is attached, e.g. by snapping, are therefore classified in this group. Portable computers, e.g. smart watches, whereby the portable computer itself is worn by the user, are classified in group G06F 1/163.
Receptacles for storing portable audio devices, portable handheld communication devices or portable computing devices where the device must be removed for use are classified in A45C 11/001, A45C 11/002 and A45C 11/003, respectively.
Protective covers or auxiliary enclosures for portable computers that are intended to hold the device during use without hampering said use are classified in G06F 1/1629.
Protective covers or auxiliary enclosures for mobile phones that are intended to hold the device during use without hampering the telephonic functions are classified in H04M 1/0203.
Constructional features, like venting or EMI shielding means, of electronic housings not characterised by the inner electronic arrangements are classified in H05K 5/00.
Supports for positioning or steadying a device relative to a person with the intent of using the device are classified in F16M 13/04.
Attention is drawn to the following places, which may be of interest for search:
Receptacles for storing portable audio devices like headphones or digital music players | |
Receptacles for storing portable handheld communication devices, e.g. pagers or smart phones | |
Receptacles for storing portable computing devices, e.g. laptops, tablets or calculators | |
Supports for positioning or steadying a device relative to a person | |
Enclosures for carrying portable computers with peripheral devices | |
Protective covers or auxiliary enclosures for portable computers | |
Wearable computers, e.g. on a belt | |
Arrangements for carrying or protecting portable transceivers | |
Protective covers or auxiliary enclosures for portable telephones | |
Casings, cabinets or drawers for electric apparatus |
If the device is a mobile phone that also has computing capabilities and/or digital audio playing capabilities, it should only be classified in holders or carriers for portable handheld communication devices A45F 5/1516.
If the device is a computer or tablet that also has digital music playing capabilities or communication capabilities, it should only be classified in holders or carriers for portable computing devices A45F 5/1525.
This place covers:
Holders or carriers worn by a user for hands-free carrying of cameras.
Illustrative examples of subject matter classified in this place:
1.

2.

3.

This place relates to holders or carriers worn by a user holding or carrying cameras to facilitate transporting or carrying, where the device is not in use. Carrying devices like bands or straps worn on the user to which a camera is attached, e.g. by snapping, are therefore classified in this place.
Cases or bags for storing cameras are classified in A45C 11/38.
Attention is drawn to the following places, which may be of interest for search:
Camera cases | |
Accessories for cameras |
This place covers:
Illustrative example of subject matter classified in this place:











































