SECTION I - CLASS DEFINITION
This is a restricted class for the art of selective cutting
as defined below. For placement of a patent as an original in this
class, the claimed subject matter should meet the minimum requirements
of the class definition, and should not extend beyond the general
boundaries expressed in the Scope of the Class, and Lines with Other
Classes, below, which concern mainly the combination of selective
cutting with other subject matter elsewhere classified.
SCOPE OF THE CLASS
The subject matter of Class 234 relates to means for, or steps
of, accomplishing the selection, or selection and actuation, of
one or a group of less than the total number of cutting tool pairs
from a given number of such tool pairs which are constantly available
for selection and actuation. The great preponderance of patent disclosures of
selective cutting or punching also include means for, or methods
of, handling the work to be cut, or handling the product after cutting.
Many of such patents further disclose other treatment of the work
(e.g., printing, cutting to size, or punching feed holes), or non
manufacturing operations such as computation of input data or verification
of output data which is related in some degree to the selection
of tools.
The sole requirement for placement of a patent in Class 234
is that the means for or method of selection of tools be included
in the claimed subject matter. Patents which meet this requirement
may, however, be excluded from this class because of the claimed
inclusion of other subject matter for which there are existing classes.
Specific cases may be decided as indicated in the following section,
entitled LINES WITH OTHER CLASSES AND WITHIN THIS CLASS.
In general, a patent which is restricted to means for, or steps
of, accomplishing the selection of one or more cutting tools as
outlined in the class definition, will be placed in this class.
Additionally claimed ancillary features such as work holding, feeding,
handling (e.g., counting or sorting), detection of malfunction of machine,
handling of pattern, provision of specific data input arrangements
and other specific data input arrangements and other features, normally
to be found in a complete machine are also accommodated in this class.
Exclusion of a patent from Class 234, although cutting tool selection
is claimed, is generally based upon additional recitation of (a)
certain other treatment of the work, (b) certain handling or treatment
of the control data or (c) other methods or devices which are elsewhere
provided for.
In general, a patent will not be originally placed in Class 234,
if in addition to selective cutting means, it includes a device
which does not contribute to the ease or effectiveness of operation
of the cutting machine, or to a general awareness (on the part of
an attendant) of the conditions or the results of its operation.
The only exception to this general exclusion rule is in the case
of a patent to the combination of selective with nonselective cutting
means, which will be placed originally in Class 234 (see "Relationship
to Other Classes, Including, per se, Cutting or Other Treatment
of Work--The Class of Cutting," below).
A number of terms currently used in the art have been selected
for definition in the Glossary of this class, and will be identified
by an asterisk (*) hereinafter.
The accompanying diagrams represent simple embodiments of
the various concepts treated. The elements most commonly found in
such mechanisms are uniformly designated in the diagrams as follows:
W = workpiece* (typically a sheet or web)
P = pattern* (typically a marked or perforated
sheet or web)
T = active cutting tool
D = die, or cooperating tool
H = tool-actuating hammer or press ram (reciprocable)
I = interposer*
K = key (representative of a keyboard)
Other elements necessary to the disclosures are designated,
where feasible, by terms commonly used in the art, and are discussed
in the individual diagram notes. Where only a single tool of a selective
cutting device is shown, it is to be taken as representative of
a plurality of such tools, arranged in a row or as a bank (plurality
of rows) in proximity to a workpiece.
The placement of a patent as an original in this class will hereinafter
be referred to as "placement".
This class is restricted to:
(A) That kind of cutting device which is characterized by
the inclusion of a plurality of cutting tool pairs and an actuating
power train for each pair (one power train may be common to all),
so that power may be delivered to any or all pairs for any cutting
cycle, and wherein each tool pair assembled in the machine is constantly available
to be chosen for cutting or noncutting in any desired number or
combination of pairs (from one to the total number available) by:
(1) a pattern*,
(2) combinational-coding-means*, or
(3) means not a part of the tool-actuating power train and
which does not partake of all the movements of either tool of the
pair, which pattern or means conditions each pair so chosen as to
(a) enable, or (b) prevent, a cutting operation thereby when its
driving power train is actuated; and to:
(B) That type of procedure not elsewhere classified which
comprises (1) the step of selecting one or more cutting tool pairs
from a constantly available plurality of tool pairs, or (2) the
step of utilizing a selective cutting device as defined above.
| | (1)
Note. Placement in this class requires the claimed recital
of structure or method step set forth above. |
| | (2)
Note. Figures 1, 2 and 3 illustrate approximately the minimum
requirements for placement in this class, in the three correspondingly
numbered categories (1, 2, 3) of the class definition. Each figure
indicates a plurality of independently movable tools and mechanism
for effecting the actuation of some or all of the tools, in any
desired number and arrangement (the number of keys, positions, tools,
etc., would in actual practice be many times the limited number shown
in the diagrams).
| |
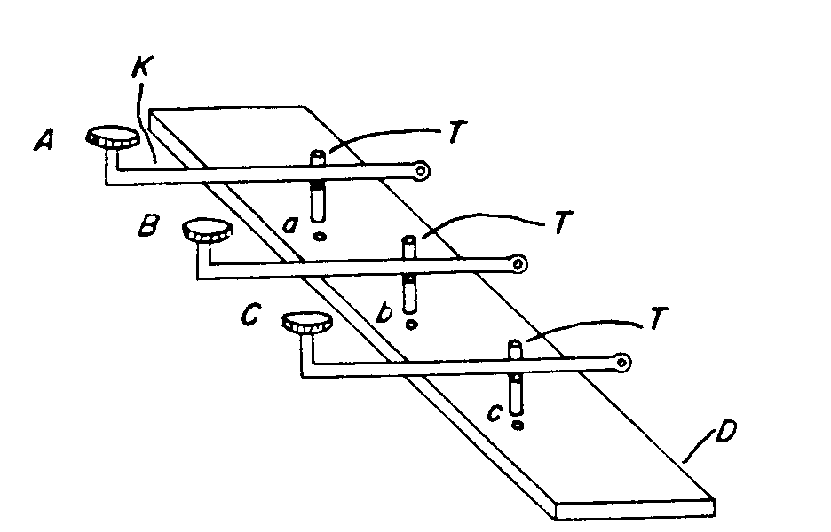
Fig. 1 represents a pattern-controlled cutting device, classifiable
in subclass 77 of this schedule, wherein pattern P acts similarly
to a stencil, in that it blocks the effectiveness of the nonselected
tools T, while other tools pass through holes in P and perforate
the work W, upon downward movement of hammer or tool-head H and consequent
compression of the springs. |
| |
Fig. 2 represents a single form of combinational-coding, which
may be termed "coded direct punching" (subclass
106). Note that an individual tool may be actuated, at different
times, as a part of several distinct subgroups (e.g., to perforate
distinctive code symbols) in response to the depression of different
keys; this is in contrast to the individual, independent key linkages
indicated in the nonselective device of Fig. 6, wherein a given
tool responds only to the depression of its own associated key.

Fig. 1. SELECTIVE CUTTING, PATTERN CONTROLLED. (subclass77) 
Fig. 2. SELECTIVE CUTTING, CODED DIRECT ACTUATION (subclass106) 
Fig. 3. SELECTIVE CUTTING, BY INTERPOSER (subclass 112) |
| |
Fig. 3 represents mechanism of the subclass 112 type, wherein
the gag or interposer* I is positioned by means (shown
as a manually slidable block on the machine frame) which is not
a part of the tool drive train and which does not move in unison
with the selected tool. (If the interposer I of Fig. 3 were manipulable
directly, as by a knob fastened to its extending rod and thus vertically
reciprocable with the tool-head H, the device would fail to meet
the definition of Class 234, and would instead be classifiable in
Class 83, Cutting, subclass 573, as a hand-actuated means to connect
or disconnect a tool and its continuously moving drive means). |
| |
Fig. 4 is presented further to illustrate the line between
this class and Class 83. The hand-manipulable interposer I does
not meet the limitations of part (3) of the class definition, above,
but it does qualify as combinational-coding-means* under
part (2) of the definition, and specifically as a differential interposer
(234-98). This line has been developed as a practical measure to
distinguish most of the (generally) production-type cutting machines
of Class 83.

Fig. 4. SELECTIVE CUTTING, BY CODED INTERPOSER. (subclass98) (see (3) Note below) 
Fig. 5. NONSELECTIVE CUTTING, Class 83 type. (see (4) Notebelow) 
Fig. 6. NONSELECTIVE CUTTING, Class 83 type. |
| |
From the (generally) data-handling selective cutting machines
of Class 234. The availability of two or more sub-groups of tools
in Fig. 4 makes the device selective under the class definition. | |
| | (3)
Note. Specifically excluded from this class is a patent to
a cutting method or apparatus which concerns the production of distinctive
cutting operations solely by varying the position, the cutting stroke,
or the time of actuation of a single tool (or a group of tools driven
always as a unit). Fig. 5 represents such a device having a single
tool, adjustable in position on a reciprocable ram; there is no "selection" from
among a number of tools, but a mere adjustment of one tool. Also
excluded is a patent to apparatus having a turret of tools, wherein
the positioning of one tool for a cutting operation necessitates
the movement of the other tools away from their effective positions. |
| | (4)
Note. Further excluded is a patent to cutting apparatus in
which the distinctive cutting operations are effected by direct
(manual or power) actuation of one or more independently drivable
tools at the will of an operative. Fig. 6 illustrates the excluded combination
of tools, each driven by an independent key linkage, which is classifiable
in Class 83, subclass 633, as a reciprocable tool driven by a fixed-axis
lever. Fig. 7 illustrates the excluded combination of tools which
lack a common power train or individual power trains for all tools;
the single driving cam, shiftable along the rod, places this combination
in Class 83, subclass 549. (see (4) Note in section II)

Fig. 7. NONSELECTIVE CUTTING, Class 83 type. |
SECTION II - LINES WITH OTHER CLASSES AND WITHIN THIS CLASS
A. THE CLASS OF CUTTING IMPLEMENTS, CLASS 30.
A patent to a selective cutting or punching device will not
be barred from original placement in Class 234 by reason of the
fact that the device is intended to be hand-held and/or
hand-actuated and/or work-supported.
B. THE CLASS OF SEVERING BY TEARING OR BREAKING, CLASS 225.
A patent to the combination of selective cutting means with
means to sever (the work or product) by tearing or breaking will
be placed originally in Class 234. The combination of tearing or
breaking means with other (i.e., nonselective) severing means is
found in Class 225, subclass 7.
C. THE CLASS OF CUTTING, CLASS 83.
Class 83 is an elemental or basic class. That is, its subject
matter is restricted (so far as possible) to means for, or steps
of, accomplishing the following functions: cutting something (the "work");
or cutting and handling the work to be cut; or cutting and handling
the product of the cutting operation. Class 234 being superior to
Class 83, a patent for the combination of a cutting device or method
classifiable, per se, in Class 83 and a selective cutting device
or method will be placed originally in Class 234. For a complete
statement of the relationship between Class 83 and Class 234, see
the class definition of Class 83.
D. THE CLASS OF PRINTING, CLASS 101.
Generally speaking, the recording or alphabetic or numeric
characters by cutting is proper subject matter for Class 101, Printing.
More particularly, individual cases of selective cutting may be
tested for aptness to Class 101 by reference to the following statements:
(1) If in addition to a selective cutting machine or process
of Class 234 there is claimed a means or step peculiar to Class
101 (e.g., the application of ink to the cutting tool to additionally
outline or mark an aperture made by the punch, or the printing or
embossing of characters or designs by means other than the cutting tools),
the patent directed to such combination will be placed in Class
101.
(2) A patent directed to the selective cutting of a letter, number
or aesthetic design will be placed in Class 101, subclass 18.
| | (1)
Note. The term "design" in this instance denotes
a picture, a decorative or artistic arrangement of perforations
or cut edges, or direct intelligence-bearing perforations or cuts;
as distinguished from coded symbols. In case of doubt as to whether
a patent discloses direct intelligence-bearing or codes symbols,
placement will be in this class (234).
(3) A patent directed to the selective embossing of a letter,
coded symbol, character or design will be placed in Class 101, subclass
18. (Such a patent would a priori be excluded from Class 234 on
the ground that it is not concerned with cutting).
E. THE CLASS OF TYPEWRITING MACHINES, CLASS 400.
Patents for key-operated machines for the simultaneous composition
and production of printed matter generally, are placed in Class
400, Typewriting Machines. The combination of typing and selective
punching will in all cases be placed in Class 400, subject to the
following qualifying statements:
(1) If only so much typing structure is claimed as is necessary
to constitute a completely operative selective punching machine,
the patent will be placed originally in Class 234 on the ground
that the combination with typing is not positively claimed. (e.g.,
the recitation of typewriter keys, key levers, type bars, and means responsive
to actuation of the type bars to select cutting tools is not considered
sufficient for placement of the patent in Class 400 unless the structure
claimed is sufficient to effect actual character production on the
work; nor is the further recitation of escapement means and a movable
paper carriage, if it appears that the carriage exerts a control
on some function of the cutting mechanism, such as the feed of a card
relative to the cutting tool station).
(2) The nominal recitation of a typewriter in combination
with specific selective punching machine is not considered sufficient
for placement of a patent to the combination in Class 400.
(3) A patent directed to the production of printed matter
through the agency of a paper tape perforated under control of a keyboard
will be placed in Class 400.
F. THE CLASS OF RECORDERS, CLASS 346.
A process or apparatus which would be otherwise proper for
Class 346, Recorders, will not be removed from the scope of that class
merely by virtue of the fact that the recording, as claimed, is
accomplished by a selective cutting mechanism or method step.
RELATIONSHIP TO OTHER CLASSES INCLUDING, PER SE, HANDLING
OR TREATMENT OF DATA
A. THE CLASS OF TELEGRAPHY, CLASS 178.
A process or apparatus which would be otherwise proper for
Class 178, Telegraphy, will not be removed from the scope of that class
merely by virtue of the fact that the recording of the transmitted
message, as claimed, is accomplished by a selective cutting mechanism
or method step.
In general, a recording or "printing" telegraph
of Class 178 is distinguished from a selective punching machine
of Class 234 by comprising one or a limited number of electrical
input channels through which messages, unlimited with respect to
the variety or extent of information they are adapted to convey,
are transmitted from a distant point, the elements of the messages
being selected according to a prearranged code. The claimed inclusion
of a distant transmitter, or of means to decode electrical impulses
originating at a distant point and conveyed over a relatively small
number of channels, exemplifies the type of subject matter which
would be placed in Class 178 rather than in Class 234, even though
the recording may be accomplished by selective punching mechanism.
B. THE CLASS OF REGISTERS, CLASS 235.
There are generally three types of disclosure which contain
subject matter common to Class 235, Registers, and Class 234, as follows:
(1) A patent directed to a calculating machine combined with
selective mechanism for punching the data set up or the results,
or both, which would be placed in Class 235.
(2) A patent directed to a selective punching machine combined
with a register to ascertain the number of machine operations or
number of workpieces treated, which would be placed in Class 234.
(3) A patent for a keyboard controlled selective punching
machine combined with a register for totalizing incremental quantities
(e.g., type-widths and interword-spaces) related to the key-selected
data, and means to indicate the approach of the total toward a predetermined
quantity (e.g., the required length of a completed line of type composed
according to the key-selected data), which would be placed in Class
234, subclass 4.
RELATIONSHIP TO OTHER MATERIAL HANDLING CLASSES
This class (234) receives original patents claiming significantly
both a selective cutting or punching device and (a) means to separate
or assort portions of the product resulting from the cutting operation,
or (b) means to move or feed work, or (c) means to hold or move
a pattern* or copy*. For the placing of patents
which refer more broadly to a cutting tool or operation in combination
with work or product handling, see the class definition of Class
83, Cutting. |
SECTION III - GLOSSARY
ACTUATION
The application of operating energy to a mechanism to cause
the latter to perform its appointed function.
ARRAY
A plurality of tools or sensing elements arranged to
be driven as a group by a common actuator.
AUXILIARY-OPERATION
Any of the functions to be found in a selective cutting machine
other than the selection* of tools, (e.g., tool actuation*,
feed* of pattern or workpiece, change of code*,
shift of control to or from a keyboard or pattern-senser*,
starting or stopping of any portion of the machine, etc.).
CODE
A system of symbols arbitrarily used to represent directions,
words, letters, or numerical values. In this class, the term "code" wherever
employed without further limitation should be regarded as meaning
Combinational-Code*.
CODED-INTERPOSER
An element which is movable to and from an effective position
in which position portions of said element engage tools of a plurality
of tool pairs, thereby completing a drive train for the subsequent
effective transmission of actuating power to the corresponding tool pairs.
(Cf. Interposer).
CODED-SELECTOR-MEANS
An element which is movable to and from an effective position
in which it determines the selection of a plurality of tool pairs
by other mechanism. (Note. This element differs from a coded-interposer* in
that (a) it does not engage the selected tools, and (b) it has only
one effective position, as distinguished from the differentially
positionable coded-interposer* found in subclass 98).
COMBINATIONAL-CODE
A system of symbols each comprising two or more marks
or perforations which by their number and/or position arbitrarily
represent bits of information. (Cf. one-hole- code*, defined
below).
COMBINATIONAL-CODING-MEANS
Means which is differentially responsive to distinguishable
forces or input-impulses* to prepare corresponding predetermined
distinct combinations of less than the total number of tool pairs
for actuation. (Note. This is the subject matter of subclass 94
of this class).
COPY (n.)
A tangible object which carries or exhibits a picture, design,
or record of data, for the guidance or direction of an operative
or attendant of a selective cutting machine. (Cf. pattern*).
FEED (of pattern, card, web, etc.)
The progressive advancement of an object through a tool
field and/or a field of pattern-sensers*, as distinguished
from the mere presentation of an object to a machine.
FULL-BANK
An assemblage of elements (e.g., tools or pattern-sensers*),
which covers all significant points of an area to be operated on,
usually in one cycle.
INDICIUM
A mark or configuration exhibited or carried by an object
(such as a pattern* or token) intended for use in the control
of a machine.
INPUT-IMPULSE
A force or stimulus applied to a machine from an external
source (such as the hand of an operative, or the output mechanism
of a calculator, etc.) or which originates from the sensing of a
pattern* presented to the machine, and which is capable
of controlling tool selection and/or auxiliary-operations*.
(Cf. input-means*).
INPUT-MEANS
An instrumentality which is effective to exert control over
the operation of tool-selecting mechanism and/or mechanism
to perform an auxiliary-operation*, in response to the
application of an input-impulse* to such input-means, (e.g.,
a keyboard, a dial, a pattern-sensing unit, etc.)
INTERPOSER
An element which is movable to and from two or more positions,
in one or more of which positions it is effective to condition a
tool pair for actuation by its engagement with a tool of said pair
and by thus completing a drive train for transmission of actuating
force to the tool pair (either by the transmission of energy to
an active tool element, or by blocking an inactive tool element
in effective position).
JUSTIFICATION
The computation or assignment of interword-spaces and/or
type-widths, or symbols representative of such spaces or type-widths,
in connection with the composition of a line of type or the production
of an instrumentality (perforated tape, etc.) for the control of
a type-setting machine, for the purpose of predetermining the exact
length of a completed line of type.
NOTCHING
The cutting of a discrete product from a workpiece through
the thickness of the workpiece with the line of cut starting at
an edge of the workpiece and returning to the same edge.
ONE-HOLE-CODE
A system of single-hole symbols each distinguished only
by its position with respect to a datum line.
ONE-STROKE-STORAGE
Usually a misnomer, denoting merely a one-cyle delay in
the actuation of selected tools. (See subclass 91 for examples;
also cf. Storage*).
PATTERN
A tangible object, which, when temporarily presented
to a suitable machine of the class type, affects the control of
tool selection. (The workpiece itself may function as a pattern).
PATTERN-FIELD
A complete pattern or any part thereof which may be chosen
to supply input data for any purpose.
PATTERN-SENSER
One or more elements which are capable of responding to
certain indicia or characteristics of a pattern* presented
to a machine, which response may be utilized to exert a control
function on some portion of the machine.
PRODUCT
A workpiece* which has been completely processed
by a device of the Class 234 type.
PROGRAM
A predetermined timed sequence of auxiliary-operations* of
a Class 234 machine (i.e., not directly including the selection
of tools, but it may include a changeover from one code* system
to another; cf. Auxiliary-operation*).
READ-IN (n.)
The transfer of data to a storage* device.
READ-OUT (n.)
The transfer of data from a storage device or other means,
to tool selection mechanism.
SELECTION
The conditioning by a device of one or more of a number
of available elements. (In this class, the term "selection" is
usually employed with reference to tools; tool selection is independent
of tool actuation*).
SHIFT (n.)
A change in the relative position of data, indicia, etc., incidental
to its transfer from one record or medium to another (e.g., data
in columns 1-5 of a pattern card may be caused to appear in columns
16-19 and 21 of a newly made card).
SKIP (n.)
A suspension of cutting and/or pattern-sensing
operations, accompanied by a predetermined amount of feed* of
a workpiece or pattern, for the purpose of omitting operations on
a portion thereof.
SLITTING
The cutting of a narrow incision by a single straight
or curved cutting edge, the incision extending through the thickness
of a workpiece, being of finite length, and having distinct ends
(i.e., not a punched hole).
STORAGE
The temporary retention, in a portion of machine, of input
data, after cessation of the input-impulse* and before
a corresponding initiation of tool selection*.
TOOL-FIELD
An area embracing all the points which can be operated upon
in one cycle of acutation of a given plurality of tools.
WORKPIECE
The object which is cut or punched (before, during,
or after such operation is effected). Cf. Product*.
SUBCLASSES
1 | METHODS: |
| | This subclass is indented under the class definition. A procedure which comprises the step of selecting one or
more cutting tools or utilizing a selective cutting device. |
| | |
4 | WITH TYPE-WIDTH AND INTER-WORD-SPACE TOTALIZER OR INDICATOR
(I.E., FOR JUSTIFICATION): |
| | This subclass is indented under the class definition. Device comprising means to cut character and space-representing
code perforations successively in a strip of material and, substantially
simultaneously, to cut other perforations representative of incremental
quantities related to said characters (e.g., their widths when set up
in type), and further comprising means to totalize said quantities
(by means of a counter or measuring unit) and means to indicate
the approach of said total toward a predetermined quantity (i.e.,
the length of a completed line of type).
| | (1)
Note. A patent directed to a device for punching a typographical-machine-
controlling strip will not be placed in this or the indented subclasses
unless all or a significant portion of a justification-space counter
and/or indicator or associated structure pertaining to
justification is claimed. Other features, such as repeat key systems,
may be found in appropriate subclasses herebelow, in devices which
could conceivably be utilized as composing machines. |
| | (2)
Note. Some patents have been cross-referenced to this subclass
on the basis of disclosed features deemed important to selective
typographical punching machines even though the disclosures are
not clearly of the selective type. |
SEE OR SEARCH THIS CLASS, SUBCLASS:
| 125, | for a "repeat key" mechanism on
a composing machine or other selective punching device. |
SEE OR SEARCH CLASS:
| 400, | Typewriting Machines,
subclasses 1+ and 77+ for a "composing machine" which
prints code symbols on a tape, and comprises some justification structure. |
|
| | |
5 | Embodying exchangeable sub-assembly unit for font change: |
| | This subclass is indented under subclass 4. Device which includes a portion that can be removed and
replaced by another assembly having characteristics related to a
different size or style of type which alters the selection of tools
in response to a given input impulse.
| | (1)
Note. Usual examples are interchangeable keyboards or permutation-bar
units, usable to adapt a single machine for composing matter in
different fonts or type styles. Provision is thus made for suitably
altering the selection of punches and the drive to the justification
counter and/or indicator. |
SEE OR SEARCH THIS CLASS, SUBCLASS:
| 14, | for programmed means to alter a code. |
| 69, | for code production or conversion means associated
with a pattern-controlled punching device. |
| 96, | for means in a selective cutting device for changing
a code or facilitating change thereof. |
|
| | |
6 | Embodying means to facilitate error correction: |
| | This subclass is indented under subclass 4. Device which includes a modification adapted to simplify
or reduce the number of operations required to effect the cancellation
of a portion of the series of perforations made in previous cycles
of the machine.
| | (1)
Note. Such a device usually operates in two general steps:
(1) to restore the justification counter and indicator to the conditions
they occupied prior to the punching of the canceled subject matter; and
(2) to overpunch the matter to be canceled, or to insert an error
symbol in appropriate position to be sensed by the type-casting
machine for which the tape is intended to be used. | |
| | |
7 | Embodying means to tabulate or to adjust line length: |
| | This subclass is indented under subclass 4. Device including means effective to provide subtotalization
of said incremental quantities at a plurality of predetermined points
in the composed line, or means to effect alteration in the length
of line to be composed.
| | (1)
Note. A device of this subclass type facilitates the composition
of printed lines of different lengths, and the composition of tubular
matter (i.e., in vertical columns). | |
| | |
8 | Embodying means to insert justification symbol: |
| | This subclass is indented under subclass 4. Device including means for cutting in said strip one or
more perforations which represent the widths of interword-spaces
so selected at the completion of each line as to cause the completed
line (when set in type by a machine not claimed here) to be of a
predetermined length.
| | (1)
Note. Actuation of the selected tools to produce justification
indicia in the control strip may be effected manually (by special
key or incidental to another manual operation such as line feed),
or may be automatic. | |
| | |
10 | With means to insert justification symbol at other than
end of line: |
| | This subclass is indented under subclass 9. Device, including means to insert the justification symbol
or symbols at the beginning of a line or in interword-spaces.
| | (1)
Note. The more conventional system is to insert justification
symbols at the end of the line, which usually requires later that
the control tape be fed backward into the typesetting machine; for
which see subclasses 8 and 9. | |
| | |
11 | Embodying means to drive totalizer: |
| | This subclass is indented under subclass 4. Device including means to advance the counter or measuring
unit.
| | (1)
Note. Also included are arrangements for altering or adjusting
(rather than exchanging) the counter drive to accommodate different
type fonts or to space the letters of words. |
SEE OR SEARCH THIS CLASS, SUBCLASS:
| 4, | for a machine including a mere justification indicator
(i.e., which does not totalize or compute justification data). |
| 5, | for a machine with exchangeable parts to accommodate
different fonts. |
| 7, | for a machine with provision for altering the counter
or measuring unit drive incidental to tabulating or line length
adjustment. |
|
| | |
12 | "Unit-Wheel" type of counter: |
| | This subclass is indented under subclass 11. Device wherein the counter consists of a toothed wheel driven
through assigned increments of rotation by one or more toothed racks.
| | (1)
Note. Counters of this type, termed "unit-wheel",
are in wide use (see Patent No. 663, 996, granted December 18, 1900,
to T. Lanston). | |
| | |
13 | WITH MEANS TO IMPOSE PROGRAMMED CONTROL OF AUXILIARY-OPERATION: |
| | This subclass is indented under the class definition. Device which performs a plurality of operations in sequence
and which comprises means effective at a predetermined point in said
sequence to modify or render effective or ineffective certain machine
controlling impulses other than those impulses which directly control
the selection of tools.
| | (1)
Note. For example, the changeover from one code system to
another, and the shift of control from one input source to another,
are merely preparatory to subsequent tool selection operations,
hence they are regarded as "auxiliary-operations",
rather than as constituting direct control of tool selection. The
term auxiliary-operation* implies any action, operation,
or change of condition of a device or part thereof, other than the
actual selection of tools for cutting or noncutting action in any
cycle of tool actuation. For further examples of auxiliary-operations,
see Definitions of Terms. |
| | (2)
Note. The term "programmed" implies that
any of the actions or changes of conditions referred to in (1) Note,
above is the result of a prearranged timing schedule and thus occurs
at one or more fixed points in the timed sequence of a machine operation,
as against any random time dependent upon the receipt of signals
from an external source (e.g., actuation of a keyboard by an operative), or
upon the occurrence of a condition which is not definitely related
to any particular cycle of operation of the machine (e.g., the occurrence
of a misfeed overload, or other malfunction). |
| | (3)
Note. Programming may be effected by sensing a card, tape,
or other medium while at rest or while progressing through the machine.
Such a card or tape is distinguishable from a "pattern" card or
tape by the fact that a programming medium controls auxiliary-operations
of the machine. If it further contains tool-selection-controlling
data, it is a combined program-pattern element, and the programming
feature would prevail in the original classification of a patent
to the combination. |
| | (4)
Note. Certain conventional features commonly found in card
punches, namely: the so-called "last-column contact" circuits,
or automatic card-feed and card-eject devices in general, are not deemed
as of sufficient interest in this class to warrant cross-referencing
into subclass 13 unless included in the claimed invention. | |
| | |
14 | Embodying means to change code: |
| | Device under cubclass 13 wherein the program means modifies
a code* of substitutes one code for another.
| | (1)
Note. The program means found in this subclass does not select
tools directly, but effects a change in the system of tool selection
(i.e., a change of code, such for example as the substitution, at
certain points only in the sequence of operations, of a "space" symbol
for a "zero" in response to a "zero" impulse). |
| | (2)
Note. The automatic insertion of zeros or suppression of zeros
while punching numerical data is an example of "change of
code". This auxiliary-operation, if arranged to occur only
at predetermined points in the sequence of machine cycles, is said
to be "programmed"; if, however, it takes place
whenever a certain condition or combination of conditions should
arise (e.g., upon detection of an initial zero in numerical data
received from a keyboard or a pattern-reader) it is a randomly effected
change of code, classifiable in subclasses 22+. |
SEE OR SEARCH THIS CLASS, SUBCLASS:
| 24, | for means to automatically insert or to suppress
the punching of a zero symbol, under the control of randomly effective
operating conditions. |
| 96, | for means to change or facilitate change of code,
in a selective cutting device. |
|
| | |
16 | Embodying means to shift control between plural input sources: |
| | This subclass is indented under subclass 13. Device wherein the program means terminates the transmission
of machine-controlling impulses from one specified portion of the device
and effects initiation of transmission of such impulses from another
specified portion of the device.
| | (1)
Note. For original placement in this subclass, a patent must
claim means to connect a second input means, as well as means to
disconnect a first input means. The mere addition of an overriding
control of a single input means (e.g., the operation of keys by
a pattern-responsive mechanism at certain times) is found in subclass
20. | |
| | |
17 | Diverse sources: |
| | This subclass is indented under subclass 16. Device wherein the two specified portions of the device
differ in both structure and function.
| | (1)
Note. Such portions may be, for example, a keyboard and a
pattern- senser or data storage device. | |
| | |
18 | Embodying means to effect selection or shift or skip of
field: |
| | This subclass is indented under subclass 13. Device wherein said program means effects a predetermined
change in the location of a cutting tool pair with respect to work
and/or in the location of the effective portion of a pattern-sensing
mechanism with respect to a pattern.
| | (1)
Note. Patents in this subclass disclose means for altering,
at predetermined times, the relative recorded positions of data
being read from a pattern or storage means, or being supplied from
a keyboard or other input means. |
SEE OR SEARCH THIS CLASS, SUBCLASS:
| 72+, | for means to effect field selection, skip, elimination,
or shift, in a pattern controlled device. |
|
| | |
19 | With change in feed of pattern or work: |
| | This subclass is indented under subclass 18. Device including means effective during a predetermined
time interval to speed up, slowdown, or temporarily block the progressive movement
of work or pattern past the zone of cutting or sensing operations.
| | (1)
Note. "Skip bar" controls are found in this
subclass, also arrangements for permitting "multiple punching" in
given columns. |
SEE OR SEARCH THIS CLASS, SUBCLASS:
| 28+, | for randomly controlled changes in feed of pattern
or work. |
| 72+, | for alteration of the effect of pattern data which
may involve changes in feed. |
|
| | |
20 | For start or stop of control from given input source: |
| | This subclass is indented under subclass 13. Device, wherein the program means effects initiation or
termination of transmission of machine-controlling impulses from
a specified portion of the device.
| | (1)
Note. Included here is the conventional "column cutout
bar" control which starts and stops duplicating operations
at predetermined card columns, permitting an operative to insert
manually keyed data in certain fields of a card. | |
| | |
21 | For stopping after predetermined number of operations: |
| | This subclass is indented under subclass 13. Device provided with means to bring one or more parts to
a halt after the completion of a fixed plurality of cycles of operation
of the device or of any portion thereof which is periodically actuated.
| | (1)
Note. This subclass does not include "repeat key" mechanisms,
for their actuation is manually initiated at random times (i.e.,
at the will of an operative), for which see the Search This Class, Subclass
note below. |
SEE OR SEARCH THIS CLASS, SUBCLASS:
| 51, | for means to effect unicyclic tool actuation. |
| 125, | for repeat key mechanism, and see (1) Note, above. |
|
| | |
22 | WITH MEANS TO IMPOSE RANDOMLY ACTUATED CONTROL OF AUXILIARY-OPERATION: |
| | This subclass is indented under the class definition. Device provided with means for initiating, modifying, or
terminating the functional effect of some portion of the device
other than or in addition to the tool selecting mechanism, per se;
such control-imposing means acting in response to a signal or impulse
which cannot be predicted to occur during any particular one of
a number of recurring cycles of operation (either of the machine
as a whole, of a tool, or of any part of the machine which has a
cyclic law of operation).
| | (1)
Note. Such means may comprise, for example, a device effective
to stop a selective cutting machine upon the detection of a jam
in the work feed mechanism, or to start such a machine upon the
presentation thereto of a pattern or a workpiece, or to temporarily
suspend tool actuation during the passage of a particularly identified
card through the punching station or to cause automatic change of
code under certain operating conditions which occur at random times. |
| | (2)
Note. The claimed combination of pattern-sensing means and
tool-selecting means controlled thereby is found in subclass 59,
below. The selection of tools being in the main characteristic of Class
234, it is not included in the meaning of the term |
| | (3)
Note. In general, an operation which is specifically voluntarily
initiated, as by the depression of a claimed special key on a keyboard,
is not regarded as a random operation within the meaning of this
subclass definition. The term "random" is applied
in Class 234 to operations which occur in response to given conditions
or otherwise without voluntary initiation by an operative. Means
for performing a given operation at the will of an operative or
attendent will generally be found in a subclass relating generally
to means for performing the pertinent operation, or in the keyboard subclasses
123+. |
SEE OR SEARCH THIS CLASS, SUBCLASS:
| 13+, | for programmed control of auxiliary-operation. |
| 59+, | for pattern control of tool selection. |
| 124+, | for keyboard control of an auxiliary- operation,
(e.g., workfeed, repeat operations, column skipping, etc.). |
|
| | |
23 | Embodying means to detect order of occurrence of input
data: |
| | This subclass is indented under subclass 22. Device provided with additional means which is differentially
responsive, to two or more diverse bits of data which control the
selection of tools in the device, in such manner that a certain
time sequence of transmission of such bits makes said additional
means effective to transmit said signal or impulse to the control-imposing
means.
| | (1)
Note. For example, a device in this subclass may effect an
automatic change of code, sometimes involving the punching of "letters
shift" or "figures shift" symbols at
appropriate locations in an output tape. The control- imposing means
does not select tools, but establishes or selects the system by
which tool selections are governed, during the existence of a given operating
condition. |
SEE OR SEARCH THIS CLASS, SUBCLASS:
| 14, | for means to perform a similar operation under programmed
control. |
|
| | |
24 | Zero suppression or insertion: |
| | This subclass is indented under subclass 23. Device wherein the additional means is differentially responsive
to the occurrence of a zero or a significant digit, and the control-imposing means
is capable of determining the actuation or nonactuation of a tool
or group of tools (which has been selected by other means) to represent
a zero symbol.
| | (1)
Note. The systematic substitution of a "zero" for
a space or other character, or substitution of a "space" for
a zero, at every occurrence, is simply a change of code. A device
having this function would be classified in one of the appropriate
subclasses relating to "coded" punching (see the
Search This Class, Subclass note below, for example). |
SEE OR SEARCH THIS CLASS, SUBCLASS:
| 14, | for programmed means to change code. |
| 69+, | for change of code in a pattern-controlled selective
cutting device (see (1) Note above). |
| 96, | for means to change or facilitate change of code
in a selective cutting device. |
|
| | |
25 | Embodying means to detect indicium in work or pattern: |
| | This subclass is indented under subclass 22. Device provided with additional means which is capable of
sensing data or a characteristic of a pattern* or workpiece*and
initiating the control-imposing signal or impulse in response to the
sensing of a predetermined symbol or characteristic.
| | (1)
Note. See (2) Note under subclass 22. |
SEE OR SEARCH THIS CLASS, SUBCLASS:
| 33+, | for a control which may be initiated jointly by
work-sensing means and other means. |
| 63+, | for means to control tool selection by detection
of indicia in workpiece. |
|
| | |
26 | With group number control of recording: |
| | This subclass is indented under subclass 25. Device wherein said control-imposing means governs the transfer
or nontransfer of data from a pattern to a workpiece, the device
being further provided with a comparator effective to compare data
sensed by such additional means with other data stored in the device
or concurrently sensed from a pattern or workpiece, and means to
initiate the control-imposing signal or impulse under a given condition
of correspondence or noncorrespondence of said compared data.
| | (1)
Note. The auxiliary-operation controlled in this case is the
tool actuation (as distinct from tool selection) or the transmission
of selection impulses to the tool-selection means. |
SEE OR SEARCH THIS CLASS, SUBCLASS:
| 63, | for control of data reproduction by detection of
indicia in a workpiece. |
|
| | |
28 | With means to control feed: |
| | This subclass is indented under subclass 25. Device wherein the control-imposing means is for starting,
stopping, or modifying the progress of a pattern and/or
workpiece through the device.
| | (1)
Note. The usual function characterizing the devices of this
subclass is pattern-controlled skipping of pattern and/or work
fields. |
SEE OR SEARCH THIS CLASS, SUBCLASS:
| 19, | for programmed control of pattern or work feed. |
| 72+, | for broadly, means to alter the effect of pattern
data by transposition, shift, or suppression field. |
|
| | |
29 | Control of pattern feed: |
| | This subclass is indented under subclass 28. Device wherein said control-imposing means regulates the
progressive movement of a pattern with respect to pattern-sensing
means. |
| | |
30 | Stopping means: |
| | This subclass is indented under subclass 22. Device wherein said control-imposing means operates by bringing
any or all of the moving parts of the device to a halt or by terminating an
auxiliary-operation (e.g., tool actuation).
| | (1)
Note. It is not a bar to original placement of a patent in
this subclass, that the claimed power train disrupting, breaking,
or other "stopping" means may be activated at
a time when the part to be halted is, purely adventitiously, at
a standstill due to its normal cyclic operation. |
| | (2)
Note. Patents in this subclass (30) may claim the combination,
in a selective cutting device, of stopping means initiated by sensing
the absence of work or pattern, or sensing misplaced or defective work,
etc., wherein the occurrence of such condition, as disclosed, is
not by reason of defect or malfunction of the device, for which
latter condition, see subclass indented hereunder. |
SEE OR SEARCH THIS CLASS, SUBCLASS:
| 22, | for random control which may include, but is not
limited to stopping (e.g., means to start a machine upon presentation
of work or pattern which may be combined with means to stop the
machine upon withdrawal of work or pattern). |
|
| | |
32 | Upon detection of machine defect or misoperation: |
| | This subclass is indented under subclass 30. Device provided with additional means responsive to a failure
of a machine part, or to an abnormal position or functioning thereof,
to initiate said signal or impulse.
| | (1)
Note. Random stopping means which responds to absence or abnormal
position of a pattern or workpiece, irrespective of the cause for
such condition, will be found in subclass 30. | |
| | |
33 | With means to check on tool actuation: |
| | This subclass is indented under subclass 32. Device provided with means which responds to tool actuation
or senses characteristics of the workpiece subsequent to tool actuation
and which initiates said signal or impulse in response to (1) a
failure of the device to follow a predetermined type of tool operation,
or (2) the correct completion of such operation, which signal or
impulse governs the continuance of operation of the machine or of
a part thereof.
| | (1)
Note. For example, the means may be used to check the presence
of a punched hole in each column of a card before it leaves a card
punch machine. |
| | (2)
Note. A check on tool actuation includes, but does not require,
verification of the correctness of the punching operations, for
which see subclass 34, indented hereunder. |
| | (3)
Note. The term "stopping" in subclasses 30+ is
broadly construed to embrace a change in the mode of operation of
the device which involves the cessation of a particular function
even though parts concerned may still have motion. | |
| | |
34 | With verifier (data comparator): |
| | This subclass is indented under subclass 33. Device in which the signal- or impulse-generating means
responds to a disparity between the selection control impulses received
by the device and the consequent operations performed by the device. |
| | |
35 | WITH INPUT MEANS COMMON TO TOOL SELECTOR AND PRINTER: |
| | This subclass is indented under the class definition. Device including input-means* which means affects
both mechanism for selective cutting as well as mechanism for applying embossed
or visibly tinted character-representing symbols to a workpiece.
| | (1)
Note. The printing and cutting operations may be applied to
the same or to different workpieces, and either simultaneously or
nonsimultaneously. |
| | (2)
Note. The claimed inclusion of any specific element of a printing
device, which element is not a necessary part of the control or
actuating mechanism of the selective cutting device, is a bar to
placement of the patent in this class. For example, a patent to
a combined "typewriter-punch" wherein the typewriter key
levers actuate punch-selection mechanisms and the paper-carriage movement
controls feed of a card to the punching station, would be placed
as an original in Class 400, Typewriting Machines, if the claims
referred also to "types", or ribbon feed or line-feed mechanism,
etc. |
| | (3)
Note. For the relationship of this group of subclasses to
other work-treating classes, see the class definition section entitled "Relationship
to Other Classes Including, Per Se, Cutting or Other Treatment of
Work". | |
| | |
36 | Step by step printer: |
| | This subclass is indented under subclass 35. Device wherein the printing means is disclosed as being
effective to applying printed symbols in sequential order.
| | (1)
Note. Typographical punching machines commonly include step-by-step
printing incidental to the production of a perforated control strip
for typesetting purposes. |
SEE OR SEARCH THIS CLASS, SUBCLASS:
| 4, | for a typographical punching machine with incidental
step-by-step printing. |
SEE OR SEARCH CLASS:
| 101, | Printing, for the combination of specific printing means with
selective cutting means. |
| 400, | Typewriting Machines, for the combination of step-by-step printing means and
work-feed means with selective cutting means. |
|
| | |
37 | On same workpiece: |
| | This subclass is indented under subclass 36. Device wherein the printing means is disclosed as being
effective to treat the workpiece upon which the cutting tool pairs
are effective. |
| | |
38 | WITH NONSELECTIVE CUTTING OR PUNCHING MEANS: |
| | This subclass is indented under the class definition. Device which includes cutting or punching mechanism which
is not selective in terms of the class definition.
| | (1)
Note. Disclosures of a selective cutting machine combined
with feed-hole punching mechanism or a work-trimming cutter are
found in this or the indented subclass. | |
| | |
40 | WITH SORTING MEANS OR COPY HOLDER: |
| | This subclass is indented under the class definition. Device in combination with (1) means to systematically distribute
the products from the cutting device, or (2) means to support and exhibit
a record or data source for the convenience of an operative using
the device.
| | (1)
Note. A patent to a selective punching device comprising a
manually movable stylus to control tool selection, and a holder
for a drawing or design to be traced by such stylus, will be placed
as an original in this subclass. |
| | (2)
Note. The terms copy* and "data source" do
not imply direct control of a machine therefrom, as in the case
of a pattern* or a "program device",
but merely afford information for the guidance of an operative or
attendant, who in turn controls the selection of tools. |
SEE OR SEARCH THIS CLASS, SUBCLASS:
| 13, | and 22, for respectively, programmed control or
random control of auxiliary-operation, which latter may include
sorting as well as interfiling, segregating, counting, etc. |
|
| | |
41 | CONVERTIBLE: |
| | This subclass is indented under the class definition. Device provided with means which, when rendered effective,
alters the device from the selective cutting device to a device
lying outside the scope of the class definition.
| | (1)
Note. Example: A card punch machine which by the manipulation
of a control switch is usable as a verifying machine, or as a card
sorter. |
SEE OR SEARCH CLASS:
| 73, | Measuring and Testing,
subclass 156 , statistical record verifying, for a verifying
device, per se. |
| 83, | Cutting,
subclasses 204 and 574 for a device which is convertible within that
class. |
|
| | |
42 | PLURAL TOOL FIELDS: |
| | This subclass is indented under the class definition. Device which comprises two or more distinct arrays of selectively
controlled tools, or one array composed of distinct groups of tools controlled
by separate tool selection mechanism.
| | (1)
Note. A device in this subclass may consist of a plurality
of virtually complete selective cutting machines interconnected
to some degree as by control means or common drive means; or it may
be in effect one cutting machine provided with distinct arrays of
tools and conforming with the above definition. |
| | (2)
Note. The plural tool fields need not be spaced apart physically:
tools of the several fields may be adjacent (or even intermingled)
if there are distinct actuating means and/or distinct selecting means
for each field. |
| | (3)
Note. The conventional Powers-type card punch, having a full
bank of punch elements connectable column-by-column to a single
input means (keyboard and pin-setting carriage) does not constitute
a plural tool field selective punching device, for the selection
means, as well as the actuating means is common to all columns of
punches. |
| | (4)
Note. The addition of a second input means, such as a serial
numbering attachment, to a selective punching device to control
the punching in certain columns of a card will not of itself effect patent
placement in this subclass. |
SEE OR SEARCH THIS CLASS, SUBCLASS:
| 38, | for a combination of devices which may comprise
plural tool fields, one of which is not selective. |
| 61, | for a patent disclosing plural tool fields, one
field being devoted to serial numbering, and see (4) Note above. |
| 91, | for a device of the Powers type referred to in (3)
Note above. |
|
| | |
43 | With means to select a given field: |
| | This subclass is indented under subclass 42. Device provided with means to determine which one or more
of the arrays of tools shall be operative.
SEE OR SEARCH THIS CLASS, SUBCLASS:
| 18, | for programmed control of field selection. |
| 22, | for control of field selection by random means (e.g.,
sensed data). |
|
| | |
44 | By manually settable means: |
| | This subclass is indented under subclass 43. Device wherein the field-selection means is controllable
at the will of an operative.
SEE OR SEARCH THIS CLASS, SUBCLASS:
| 124+, | for control of auxiliary-operation by keyboard means
in a selective cutting device. |
|
| | |
46 | NOTCHING OR SLITTING MEANS: |
| | This subclass is indented under the class definition. Device in which each tool pair is arranged to effect (1)
a notching* operation or (2) a slitting* operation.
| | (1)
Note. Included in this and indented subclasses are for instance,
patents directed to selective cutting machines for (a) notching
the edges of cards, (b) machines for partially or completely severing
a workpiece along a particular contour or line of cut, and (c) machines
for cutting U-shaped slits to constitute "chadless apertures". | |
| | |
47 | Notching: |
| | This subclass is indented under subclass 46. Device wherein the tool pairs are arranged to perform notching
operations only.
SEE OR SEARCH CLASS:
| 83, | Cutting,
subclass 917 , and other appropriate subclasses for a notching device
in general. |
|
| | |
48 | Uniform depth: |
| | This subclass is indented under subclass 47. Device comprising means to cause selected tools to make
cuts of equal maximum extent (measured along a line normal to the
edge of the workpiece) from portions of the periphery of a properly
positioned workpiece.
SEE OR SEARCH THIS CLASS, SUBCLASS:
| 47, | for a device adapted to cut both deep and shallow
notches in combination as required in some card coding systems. |
|
| | |
49 | MEANS FOR CUTTING MOVING WORK: |
| | This subclass is indented under the class definition. Device including means to advance the workpiece at an angle
to the direction of motion of the tool(s) during the actuation of
the selected tool(s).
| | (1)
Note. This subclass does not include patent for a device wherein
the only movement of the work is incidental to the approach of one
tool to its cooperating tool, (e.g., work carried by a moving die
plate against fixed punches). |
| | (2)
Note. This subclass contains, for example, patents directed
to means for recording the actuations of piano keys by selectively
punching a moving paper strip. |
SEE OR SEARCH CLASS:
| 83, | Cutting,
subclasses 284+ and 350+ for tool-cutting moving work,
in general. |
| 84, | Music,
subclasses 461+ for means to record movements of piano keys, other
than by perforating a sheet; and see (2) Note, above. |
|
| | |
50 | Flying cutter: |
| | This subclass is indented under subclass 49. Device wherein the acutated tools have a component of motion
parallel to the direction of work advance.
| | (1)
Note. The component of motion of tools in the direction of
work advance may be obtained by so mounting the tools that they
may be carried along by their engagement with the moving work. |
SEE OR SEARCH CLASS:
| 83, | Cutting,
subclasses 284+ for a flying cutter of more general utility. |
|
| | |
51 | EMBODYING UNICYCLIC TOOL ACTUATING MEANS: |
| | This subclass is indented under the class definition. Device provided with means to bring the tool drive train
to an ineffective condition after the occurrence of one actuation
of the selected tool or tools, which condition persists at least until
the transmission of a subsequent control impulse to the tool selection
means.
| | (1)
Note. The type of mechanism found in this subclass is frequently
termed "nonrepeat". |
SEE OR SEARCH THIS CLASS, SUBCLASS:
| 21, | for means to bring part or all of a selective cutting
device to a halt after a predetermined number of operations. |
SEE OR SEARCH CLASS:
| 83, | Cutting,
subclasses 203+ , 484, 524+ for unicyclic operation of
a cutting tool, in general. |
|
| | |
52 | WITH INTERLOCK BETWEEN TOOL ACTUATOR AND SELECTOR: |
| | This subclass is indented under the class definition. Device provided with means in addition to the tool selecting
and tool actuating power trains, which means positively prevents
operation of the tool-actuating power train in the event of partial
or incomplete operation of the tool selecting means, or vice versa.
SEE OR SEARCH CLASS:
| 83, | Cutting,
subclasses 221 , 380 and 399+ for an interlock device
in a cutting machine. |
|
| | |
53 | WITH MEANS TO ESTABLISH CONTROL PATH, FROM ONE OF A PLURALITY
OF INPUT SOURCES, TO TOOL SELECTION MEANS: |
| | This subclass is indented under the class definition. Device provided with two or more distinct and independent
means capable of receiving input-impulses* and initiating
or transmitting tool-selection control impulses in accordance therewith,
and further means for determining which of such distinct and independent
means should be effective.
SEE OR SEARCH THIS CLASS, SUBCLASS:
| 16+, | for programmed means to select from a plurality
of input sources. |
| 22+, | for randomly-controlled shift from one input means
to another. |
| 65, | for joint control of tool selection by pattern senser
and other input means. |
|
| | |
54 | Diverse input sources: |
| | This subclass is indented under subclass 53. Device wherein the distinct and independent receiving means
are dissimilar in general structure and function.
SEE OR SEARCH THIS CLASS, SUBCLASS:
| 17, | for programmed means to select from a plurality
of diverse input sources. |
|
| | |
55 | WITH MEANS TO STORE AND RETRIEVE INPUT DATA AFTER REMOVAL
OF INPUT-IMPULSE: |
| | This subclass is indented under the class definition. Device provided with means effective to receive a signal
or impulse transmitted from an input-means* and to register
and retain a distinctive record thereof, after cessation thereof and
further means effective to read said record and to transmit a corresponding
control impulse to the tool selection means.
| | (1)
Note. For inclusion in this or an indented subclass, a patent
must claim means which is selectively conditioned by a signal or
impulse transmitted by an input-means and which, at some time thereafter,
takes part in the generation or transmission of another signal or impulse,
representative of the first, as determined by such selective conditioning. |
| | (2)
Note. To constitute data storage there must be retention of
distinctive information after removal of the input-impulse (e.g.,
retraction of the depressed key) and before the corresponding tool
selection has been effected. |
| | (3)
Note. Storage may be effected by a recording mechanism, (such
as a tape punch), and a sensing means, so arranged that data stored
in the tape is later utilized to control tool selection. |
| | (4)
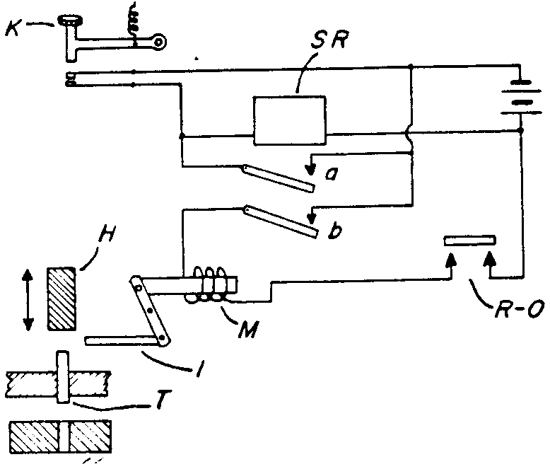
Note. Fig. 8 illustrates the essentials of one type of storage
system. Depression of any key K energizes an associated storage
relay SR, which remains energized over a circuit including its hold contacts
a. When at some later time, read-out contacts R-O are closed, circuits
are completed through contacts b of all energized relays, thus energizing
the associated magnets M and positioning interposers I in readiness
to actuate tools T upon the next stroke of ram H. (In practice,
relays SR would ordinarily be restored after the read-out, by opening their
holding circuits).

| SEE OR SEARCH THIS CLASS, SUBCLASS:
| 25+, | for control of auxiliary mechanism by detection
of predetermined indicia, which may involve storage of such indicia. |
| 26, | for comparison of "group numbers" for
auxiliary control purposes, which may involve storage of such numbers for
control purposes rather than for read-out to recording means. |
| 90, | for means to delay the effectiveness of tool selection;
e.g., the so-called "one-stroke storage" feature. |
| 92+, | for means optionally settable to retain or clear
a selection of tools after their actuation. |
SEE OR SEARCH CLASS:
| 235, | Registers, appropriate subclasses for a calculating machine
having data storage and output punching features. |
| 365, | Static Information Storage and Retrieval, appropriate subclasses for electrical means to store
data. |
|
| | |
56 | With read-out in different order: |
| | This subclass is indented under subclass 55. Device comprising a plurality of said receiving means effective
to register and retain a plurality of such records, and the transmitting
means being effective to transmit two or more control impulses to
the tool selecting means in altered sequence from that in which
the corresponding records are registered.
| | (1)
Note. Within the meaning of the subclass definition, either
the read-in* or the read-out* may be simultaneous,
if the other is in timed sequence. |
| | (2)
Note. As methods of achieving a different sequence, for example,
input data may be entered in parallel and read-out serially, or
vice versa, or data may be entered in column-by-column order and read-out
row-by-row. | |
| | |
57 | With optionally settable means to clear storage upon read-out: |
| | This subclass is indented under subclass 55. Device provided with mechanism capable of being moved or
adjusted from one position or condition to another, said mechanism
in the one position being effective to prevent restoration of the
registering means to its idle or empty condition, but in the other
position being effective to cause such restoration in response to
transmission of the selection control impulse from the registering
means.
| | (1)
Note. A device of this type is, in other words, capable of
either "destructive" or "nondestructive" read-out. |
SEE OR SEARCH THIS CLASS, SUBCLASS:
| 92+, | for means optionally settable to retain a selection
of tools after their actuation. |
|
| | |
58 | With serial read-out from storage: |
| | This subclass is indented under subclass 55. Device including mechanism to effect the transmission of
control impulses from the registering means in a timed sequence.
| | (1)
Note. A common example of serial read-out is a column-by-column
read-out to a card or tape punch from a bank of storage relays. |
SEE OR SEARCH THIS CLASS, SUBCLASS:
| 66, | for means to read-out data in sequence from pattern-sensers. |
|
| | |
59 | WITH MEANS TO INITIATE TOOL SELECTION BY SENSING PATTERN INDICIA
OR CONFIGURED MACHINE ELEMENT: |
| | This subclass is indented under the class definition. Device which comprises means for sensing indicia or characteristics
of a pattern*, or means for sensing a specially-configured
cylically effective portion of the device, and means responsive
to such sensing to cause actuation of one or more tools, or to tool
selection only, or to control both selection and actuation of tools.
| | (1)
Note. Some instance of pattern control are found in preceding
subclasses (e.g., as specific phases of "program control"; and
as phases of "randomly actuated" control of auxiliary-operations). |
| | (2)
Note. Fig. 9 illustrates a card or sheet which bears indicia
such as marks or perforations, appearing, for example, in five columns
(A-E) and comprising four index points per column (in practice,
the usual number of columns may be 45 or 80, with 6 to 12 index
points per column). Fig. 10 illustrates a card which has been punched
from the pattern of Fig. 9, without alteration of the position or
the significance of any of the data.

Fig. 9 A marked or punched card usuable as a pattern. (subclasses59+) 
Fig. 10 A card cut from the pattern of Fig. 9. (subclasses59+) | SEE OR SEARCH THIS CLASS, SUBCLASS:
| 13+, | for a disclosure of a program card or tape which
may resemble a pattern, but is utilized to control auxiliary-operation(s)
instead of, or in addition to, tool selection. |
| 25+, | for a device wherein pattern sensors control auxiliary
mechanism. |
|
| | |
60 | Means to sense cyclically movable machine element: |
| | This subclass is indented under subclass 59. Device which comprises means responsive to the detection
of a portion of the device which portion has periodic motion, for
selection or varying the existing selection of tools.
| | (1)
Note. Sensing may occur while the periodically moving portion
is at rest. |
| | (2)
Note. The aforementioned means is entirely a portion of the
machine proper, thus excluding pattern-sensing mechanism. |
SEE OR SEARCH THIS CLASS, SUBCLASS:
| 62, | through 89, for pattern-controlled selective cutting,
in general. |
SEE OR SEARCH CLASS:
| 83, | Cutting,
subclasses 76.1+ for a pattern-controlled cutting machine, in general. |
|
| | |
61 | Serial number punching of work: |
| | This subclass is indented under subclass 60. Device in which said responsive means periodically effects
the selection of tools for cutting successive workpieces or predetermined groups
of workpieces with coded representations of consecutive numbers. |
| | |
62 | With repeated sensing of same pattern field: |
| | This subclass is indented under subclass 59. Device including means for causing said sensing means to
act a plurality of times in succession with respect to a given portion
of said pattern, or wherein plural sensing means are provided and
so arranged that two or more sensing means act successively with
respect to a given portion of said pattern, during operations on
one workpiece. |
| | |
63 | Pattern indicia carried by work: |
| | This subclass is indented under subclass 59. Device wherein said sensing means is caused to act with
respect to a workpiece* presented to the device for cutting
by the tools thereof.

Fig. 11 Reperforated or overpunched card. (subclass 63)
| | (1)
Note. Within the scope of this subclass, the work may be sensed
prior to, during, or after its treatment. |
| | (2)
Note. Fig. 11 illustrates an application of the mechanism
of this subclass; a marked or punched card is sensed and punched,
to change marks to holes, or to convert small holes to large ones,
etc. |
SEE OR SEARCH THIS CLASS, SUBCLASS:
| 25, | for control of an auxiliary function of a device
instead of or in addition to control of tool selection, by sensing the
workpiece. |
|
| | |
64 | Processed work as pattern for following work: |
| | This subclass is indented under subclass 63. Device wherein said sensing means is so arranged as to act
upon a product which has been previously subjected to cutting operations in
the device.
| | (1)
Note. In the card punching art, the use of a newly-processed
card as a pattern for the following card is commonly referred to
as "gang-punching". | |
| | |
65 | Including plural input means, jointly effective: |
| | This subclass is indented under subclass 59. Device further provided with input-means* in addition
to said sensing means, and means for enabling effective transmission
of signals or impulses from both said input-means during the same
operating cycle of the machine.
| | (1)
Note. The additional input-means may also be pattern-sensing
mechanisms thus affording tool selection control by two or more
patterns. |
| | (2)
Note. Disclosures in this subclass include "edited" or
supervised selective punching, wherein a pattern-sensing mechanism
imposes restrictions on the selection of punches by other means (e.g.,
keyboard). |
SEE OR SEARCH THIS CLASS, SUBCLASS:
| 16+, | and 53+, for means to shift control from
one input source to another, which may include pattern-control means. |
| 67+, | for means in general to modify the effect of pattern
data. |
|
| | |
66 | Serial read-out from full bank of pattern-sensers: |
| | This subclass is indented under subclass 59. Device which includes a plurality of sensing means arranged
to coact simultaneously with all significant points of a pattern
field, and further including means effective to establish, in sequence,
a plurality of signal or impulse transmission channels, each extending
from a group of such sensing means to the tool selecting means or
to a portion thereof.
| | (1)
Note. Fig. 15 illustrates typical mechanism found in a device
of this subclass. A pattern card is clamped in a sensing unit which
may comprise a full bank of spring-biased sensing pins. Movement
of the sensing unit and pattern past a microswitch causes successive
positionings of interposer I corresponding to those sensing pins
which have entered holes in the pattern and are thus misaligned
with the others. Storage* is not involved here, for the
input-impulses* are retained (by the positioned sensing pins)
until tool selection has been effected.

Fig. 15. FULL-BANK SENSING, READ-OUT STEP-BY-STEP. (subclass66) | |
| | |
67 | With means to modify effect of pattern data: |
| | This subclass is indented under subclass 59. Device provided with means to effect significant alteration,
in any one cutting cycle, of the relative positions of the selected
cutting tool pairs with respect to the positions of corresponding
control indicia or characteristics in the pattern.
| | (1)
Note. The general effect produced by a device of this type
is to make a product which has cut or punched portions, not all
of which correspond in spatial position or arrangement to their
related pattern indicia. |
| | (2)
Note. Included here are some patents which claim such arrangements
of tools, control means, and/or pattern sensers as to enable
the use of smaller, cheaper, or more simplified mechanisms than
could be achieved with the use of "facsimile" patterns. |
| | (3)
Note. Included in this and indented subclasses are, for example,
disclosures of means to effect one or more of the following functions:
to produce a combinational-code*, to decode such a code
into a single cutting operation, to convert from one code to another,
to produce a complementary or "inverse" duplicate
of a field of perforations, to reproduce only selected fields of
a pattern, or to shift the relative positions of data being reproduced. |
SEE OR SEARCH THIS CLASS, SUBCLASS:
| 3, | for a method comprising the step of modifying the
effectiveness of a pattern. |
| 29, | and 43, for other instances of modified reproduction
of pattern data. |
| 65, | for joint control of tool selection by a pattern
reader and other means, which control may modify the effect of the pattern
data. |
|
| | |
68 | By inversion of pattern data: |
| | This subclass is indented under subclass 67. Device wherein the altering means is effective to cause
nonselection of a cutting tool in response to sensing of a pattern
indicium, and to cause selection of a cutting tool when no such
indicium is sensed.

Fig. 12 Inverse or complemental punching from pattern ofFig. 9 (subclass 68)
| | (1)
Note. A device of this subclass produces the "inverse" or "physical
complement" of the pattern field. |
| | (2)
Note. A device which produces the "code complement" of
a code symbol is not classifiable here but in subclass 69 as an
instance of code conversion, rather than inversion. The code complement
of a code symbol may bear no physical resemblance to the "inverse" of
the group of perforations which constitute the symbol. |
| | (3)
Note. Fig. 12 illustrates a card which has been punched with
the inverse or complement of the indicia from the pattern card of
Fig. 9. | |
| | |
69 | Code conversion: |
| | This subclass is indented under subclass 67. Device wherein the altering means effects a change from
a code* exhibited by the pattern to a different code cut
into the workpiece.

Fig. 13 With code conversion. (subclass 69)
| | (1)
Note. Any device of this type effects "code conversion".
In some instances it would appear instead that a code is being "generated" (as
when alphabetical or numerical characters are sensed to control
the selection of linearly arranged tools), but the operation is
always basically the same, i.e., the transfer or intelligence from
one record to another, with a systematic change from one set of
arbitrary symbols to another. |
| | (2)
Note. Basic mechanisms of the so-called "tape-to-card" or "card-to-tape" record-controlled
duplicating machines are found here, for different codes are ordinarily
employed in the two record media. |
| | (3)
Note. A device which, upon reading the symbol of a digit in
a pattern, effects the punching of the symbol of the "tens complement" or "nines
complement" of that digit, may be found in this subclass. See
(2) Note under subclass 68. |
| | (4)
Note. Fig. 13 illustrates code conversion. The data from the
pattern of Fig. 9 has been reproduced, but the four-element code
symbols appearing in the pattern have been altered to conform to
a different code (in this example, another four-element code). In
practice, the change may be from one statistical system to another,
or from Morse to Cable Code, five-channel tape code to seven-channel code,
etc. |
SEE OR SEARCH THIS CLASS, SUBCLASS:
| 5, | 14 and 96, for code-changing means not limited to
a pattern-controlled device. |
SEE OR SEARCH CLASS:
| 341, | Coded Data Generation or Conversion, appropriate subclass for means to change or convert
one electrical code into another (and see search notes under said
subclass). |
|
| | |
70 | Combinational-code to or from one-hole-code: |
| | This subclass is indented under subclass 69. Device wherein said altering means is systematically effective
(a) to cause the selection of two or more tools in response to the
sensing of one pattern indicium, or (2) to cause the selection of
one tool in response to the sensing of two or more pattern indicia.
| | (1)
Note. A device of this subclass converts a combinational-code* to
or from a one-hole-code*. | |
| | |
71 | Means for timing the tool actuation: |
| | This subclass is indented under subclass 67. Device in which the alteration is brought about by means
effective to interpose variable time delays between the pattern-sensing
and tool-actuating functions in successive cycles.
| | (1)
Note. The subject matter of this subclass (71) and the following
subclass (72) concerns generally the relocation (or suppression)
of data from certain portions of a pattern, while preceding subclasses
68 and 69 deal generally with modification of the significance of
the data itself (e.g., the relocation of punched holes in a column). |
| | (2)
Note. A typical device of this subclass effects the "standardization" of
a perforated music roll such that all perforations in the reproduced
roll have locations and lengths expressable in whole multiples of
a unit space. | |
| | |
72 | Means for transposition, shift or suppression of field: |
| | This subclass is indented under subclass 67. Device wherein the alteration is brought about by varying
the effect of the sensing means (of the device of subclass 59) with
respect to a predetermined portion of a pattern, as follows: (1) disablement
of the sensing means, (2) interruption of the transmission of tool-selecting
control impulses from the sensing means to corresponding tool-selecting
means, or (3) establishment of an alternate or an additional channel
for transmission of such control impulses to other tool-selecting
means.
| | (1)
Note. See (1) Note under subclass 71, above. |
| | (2)
Note. The functions found in machines of this type include
the "skipping" of a pattern-field* or
a zone of a workpiece (i.e., omission to sense and/or to
punch the field or zone in question), and the "transposition" or "shift" of
fields (i.e., changing their effective position, as by sensing two
such fields in altered sequence. |
| | (3)
Note. Fig. 14 illustrates shift of data fields, without alteration
of the significance of the data. Columns A-E of the pattern (Fig.
9) now appear in the order C, D, E, A, and B respectively, which may
be appropriate to a different form of business record.

Fig. 14 With shift of pattern fields. (subclass 72) | SEE OR SEARCH THIS CLASS, SUBCLASS:
| 13+, | for programmed means which can modify the effect
of a pattern data (as by skipping over certain fields of data in
a pattern). |
| 25+, | and 53, for other instances of pattern- controlled
operations which may include field suppression, selection, or shift. |
|
| | |
73 | By adjustable electrical means: |
| | This subclass is indented under subclass 72. Device wherein the means to alter the effect of pattern
data comprises electrical circuitry with shiftable connections or
characteristics.
| | (1)
Note. The devices in this subclass include plugboards, multi-position switches,
and the like, for facilitating changes in machine set-ups. |
SEE OR SEARCH THIS CLASS, SUBCLASS:
| 13+, | 22+, for disclosures of such equipment
and devices with automatic, programmed, or randomly actuated, auxiliary
functions. |
|
| | |
74 | By a senser with more than two output signals: |
| | This subclass is indented under subclass 59. Device wherein the sensing means is capable of generating
any one of a plurality of signals or impulses distinct in degree
or character, in response to different sizes or kinds of pattern indicia
or characteristics being sensed, and including means to select distinct
tools or combinations of tools corresponding to such distinct signals
or impulses.
| | (1)
Note. For example, the pattern senser may distinguish between
larger and smaller pattern holes to cause the selection of different
tools or combination of tools. | |
| | |
75 | Pattern or senser in motion during sensing: |
| | This subclass is indented under subclass 59. Device comprising means for effecting relative progressive
movement between the pattern and the sensing means during the sensing
operation.
| | (1)
Note. Either or both of the pattern or the sensing means may
move (e.g., pattern card or tape sensed while in motion through
the device, or a stationary record "scanned" by
moving pattern sensers. |
| | (2)
Note. As an alternative to moving the pattern or the sensers,
all points of a stationary pattern may be sensed simultaneously
and the data may be read out in steps (e.g., column-by-column) to
the tool-selecting means, over a system of shiftable connections
(see subclass 66). |
SEE OR SEARCH THIS CLASS, SUBCLASS:
| 25, | for pattern-sensing means which may be disclosed
as operating upon a moving pattern. |
| 64, | for a gang-punching* machine which may
disclose the sensing of a card in motion. |
| 66, | for means to read data in sequential steps from
a full bank of pattern sensers, and see (2) Note, above. |
|
| | |
76 | Sensing by tool directly engageable with pattern: |
| | This subclass is indented under subclass 59. Device including means to bring a portion of a tool into
position of contact with said pattern, whereby said tool functions
as a sensing means.
| | (1)
Note. Selected tools may be latched in position to relieve
the pattern of tool-driving stresses, after the pattern has effected
preliminary tool positioning. | |
| | |
77 | Tool actuation blocked by pattern: |
| | This subclass is indented under subclass 76. Device including yieldable individual tool-actuating power
trains so arranged that the tools which do not contact said pattern
are forced into cutting relationship with a workpiece.
| | (1)
Note. The pattern functions as a mask or stencil to block
the operation of unselected tools. |
| | (2)
Note. See Fig. 1 (described in section II, (2) Note) for illustrative
mechanism. | |
| | |
78 | Tool actuating force transmitted by pattern: |
| | This subclass is indented under subclass 76. Device including individual tool-actuating power trains,
said power trains comprising spaced driving and driven elements
with lost motion or misalignment therebetween, and means to support
said pattern generally between said driving and driven elements
so that portions of the pattern serve to complete the driving power
trains to the so-selected tools.
| | (1)
Note. The pattern has the form of an inverse stencil (i.e.,
having blank areas corresponding to holes to be punched, and holes
corresponding to areas to be left unpunched). | |
| | |
79 | With means to feed pattern or pattern sensing means: |
| | This subclass is indented under subclass 59. Device provided with mechanism to impart progressive relative
movement between the pattern and said sensing means between successive
sensing operations.
| | (1)
Note. Feed* means is to be distinguished from means
which merely initially presents the pattern to the sensers, or vice versa.
In the majority of pattern-controlled selective cutting machines,
the pattern is advanced continuously or intermittently during successive
sensing and cutting or punching cycles. |
SEE OR SEARCH THIS CLASS, SUBCLASS:
| 19, | for programmed means to alter the feed of a pattern. |
| 27, | and 29, for randomly-actuated control of pattern
feed. |
| 66, | for a machine having serial read-out to the tool
selectors from a full bank of sensers (as an alternative to pattern feed
means). |
| 75, | for means to effect relative movement between pattern
and sensers during the sensing operation. |
|
| | |
80 | With means to adjust pattern position or feed, or senser: |
| | This subclass is indented under subclass 79. Device wherein means is provided for (1) changing the position
of the pattern relative to the sensing means, or vice versa, (2)
altering the rate of progress of the pattern relative to the sensing
means, or (3) altering the effectiveness of the sensing means in
degree or mode of operation.
SEE OR SEARCH THIS CLASS, SUBCLASS:
| 3, | for a method comprising the step of modifying the
effectiveness of a pattern. |
| 53+, | for means to select from among a plurality of input
sources, some of which may be pattern-sensing devices. |
|
| | |
81 | Senser moves tool into position to receive actuating force: |
| | This subclass is indented under subclass 79. Device in which the sensing means, in response to detection
of a pattern indicium or characteristic, moves a selected tool,
or initiates the transmission of force from a source of energy to
move said tool, into such position that (1) an actuating power train
is completed to drive said tool through its working stroke, or (2)
a latching or blocking mechanism is caused to hold said tool in
operative position while a cooperating tool is actuated.
| | (1)
Note. No interposer* is employed in mechanism of
this type. |
SEE OR SEARCH THIS CLASS, SUBCLASS:
| 117+, | for a tool selection means in general which effects
completion of a power drive train to a selected tool without the
use of an interposer. |
|
| | |
82 | Senser controls effectiveness of actuating force to selected
tool pair only: |
| | This subclass is indented under subclass 79. Device wherein the sensing means directly initiates or permits
the application of energy to a selected complete individual tool-actuating power
train.
| | (1)
Note. A device classifiable in this subclass is termed "direct-acting" in
that the senser, although it does not transmit tool-actuating force,
controls and determines the application of actuating force from
a power source to a tool, without the use of an interposer or other
selecting means. |
| | (2)
Note. For example, the pattern-senser may comprise a contact
brush which completes an energizing circuit for a tool-driving magnet
upon detection of a hole in the pattern; or the senser, upon detection
of a pattern indicium, may release a latch or restraining device
for a yieldably-biased tool, freeing the latter for actuation. |
SEE OR SEARCH THIS CLASS, SUBCLASS:
| 106+, | for a device effective to cause the actuation of
a plurality of selected tools, without interposers (coded direct
punching). |
| 117+, | for means to select a single tool by moving an element
of the tool drive train into power-transmitting relationship with
a drive means. |
|
| | |
83 | Senser actuates tool: |
| | This subclass is indented under subclass 82. Device wherein the indicia-detecting means itself constitutes
drive means for the selected tool or tools.
SEE OR SEARCH THIS CLASS, SUBCLASS:
| 78, | for a device wherein the selected tool is driven
by a power train which comprises the pattern and a senser-like portion
of the tool itself. |
| 81, | for a device wherein the selected tool is latched
in power-receiving position after having been moved thereto preliminarily
by the sensing means. |
|
| | |
84 | Interposer movable by senser: |
| | This subclass is indented under subclass 79. Device wherein the sensing means in response to the detection
of indicia effects the movement of an interposer*.
| | (1)
Note. In a device of this type, the pattern-senser generally
controls the motion of the interposer, even though a specific arrangement
of biasing springs or weights may tend to obscure this relationship. | |
| | |
86 | Biased interposer and senser: |
| | This subclass is indented under subclass 84. Device including means which continually tends to move an
interposer* toward or from its effective position and simultaneously
to move the associated sensing means toward its most advanced (i.e.,
indicium-responsive) position.
| | (1)
Note. The mechanism typically comprises cyclically-actuated
means to retract the sensers from engagement with the pattern, against
the force of the biasing means. |
| | (2)
Note. Fig. 16 illustrates typical mechanism of this subclass.
Pattern P and workpiece W are usually advanced in step-by-step manner
past the senser(s) S and tool(s) T. S is biased by a weak spring
toward contact with P, and is retracted therefrom after each sensing operation
by a reciprocating bail B. When, in any cycle of operation, senser S
detects a hole in P (by entry therein) it causes sufficient movement
of its interconnected interposer I to control the conditioning of
tool T for cutting or noncutting, as desired.

Fig. 16. BIASED INTERPOSER AND SENSER (subclass 86). | |
| | |
87 | Senser controls application of power to interposer: |
| | This subclass is indented under subclass 79. Device including means responsive to actuation of the sensing
means to initiate or terminate the transmission of force from a
power drive train for moving an interposer* from one of
its two (effective, ineffective) positions to the other position.
| | (1)
Note. Typical mechanism is illustrated in Fig. 17, wherein
the progressively advance pattern P is sensed by a contact brush
to control a circuit for the positioning magnet of an interposer
I.

Fig. 17 SENSER CONTROLS POWER TO MOVE INTERPOSER (subclass87). | |
| | |
89 | Pattern or record and/or sensing means per se: |
| | This subclass is indented under subclass 59. Device (and not classifiable in any other class) wherein
the invention relates to the pattern or record to be used with the
device and/or the mechanism for reading or sensing a pattern
or record.
| | (1)
Note. A patent to a pattern-controlled selective cutting device
may be placed as an original in this subclass if it discloses but
does not claim specific pattern-controlled means for selecting tools. |
| | (2)
Note. A pattern or a senser for use in the control of auxiliary
mechanism not claimed, may be found in this subclass. |
| | (3)
Note. A patent which is originally classified elsewhere in
this class should be cross-referenced in subclass 89 if it discloses
novel pattern or senser structure not elsewhere provided for in
the schedule. |
SEE OR SEARCH THIS CLASS, SUBCLASS:
| 13+, | for disclosure of a program card or tape, and for
a combined program and pattern medium, in connection with the device
utilizing it. |
| 23+, | 25+, 53+, and 59-88, for disclosures of
pattern media. |
| 74, | for a differentially responsive sensing means. |
| 75, | for means to sense a moving record or to scan a
stationary record. |
|
| | |
90 | WITH MEANS TO CAUSE DELAYED ACTUATION OF SELECTED TOOL: |
| | This subclass is indented under the class definition. Device including means responsive to a tool-selecting operation
to partially condition a power drive train for subsequent actuation
of a selected tool, and means responsive to a subsequent tool-selecting
operation, or to the passage of time, to complete such conditioning
of the power drive train.
| | (1)
Note. A common purpose for such a device is to provide what
is loosely termed one-stroke storage*, thus affording the
operative of a keyboard machine an opportunity of recitifying an
error if it is perceived before the next key has been struck. |
| | (2)
Note. Storage* is not necessarily involved in machines
of this type. |
SEE OR SEARCH THIS CLASS, SUBCLASS:
| 23+, | for randomly-controlled means which, under certain
conditions, will delay the punching of input data until a required "letters" or "figures" shift symbol
has been inserted. |
|
| | |
91 | With plurality of selecting means sequentially controlled
by one input means: |
| | This subclass is indented under subclass 90. Device comprising an input-means*, a plurality
of groups of tools and associated selecting mechanisms, and means
responsive to the operation of a selecting mechanism of one group
to shift operating connections from the input-means to another group
of selecting mechanisms.
| | (1)
Note. The typical disclosure of this subclass comprises a
keyboard, a pin-setting carriage, a full bank of selecting pins
and associated punches, and means to step the carriage along column-by-column
as selections are made. Punching is effected after all of a predetermined
group of columns have been set, and may be manually initiated. |
SEE OR SEARCH THIS CLASS, SUBCLASS:
| 92, | for a similar disclosure wherein the input-means
and shiftable operating connections are not claimed. |
|
| | |
92 | WITH OPTIONALLY SETTABLE MEANS TO CLEAR TOOL SELECTION: |
| | This subclass is indented under the class definition. Device including means movable or adjustable from one position
or condition to another; such means, while in the one position, being
effective to prevent restoration (i.e., return to idle or nonselecting
condition) of the tool-selection means and, in the other position, being
effective to cause or permit such restoration.
SEE OR SEARCH THIS CLASS, SUBCLASS:
| 57, | for optionally-settable means to clear a storage
instrumentality upon read-out therefrom. |
|
| | |
93 | Effective on portion of tool field: |
| | This subclass is indented under subclass 92. Device including a plurality of such movable or adjustable
means, each operative on the selection means of a distinct group
of tools.
| | (1)
Note. A device of this type usually enables retention of data
or clearing (at will) of individual columns, as when punching cards
with some fixed and some variable data. For a device in which all
the columns are treated simultaneously as a group, see subclass
92, generic hereto. |
SEE OR SEARCH THIS CLASS, SUBCLASS:
| 91, | for a device of the column-by-column setting type
provided with selective column clearing means. |
| 92, | for means to clear all the selection means. |
|
| | |
94 | WITH SPECIFIC MEANS TO SELECT A PLURALITY OF TOOLS (I.E.,
COMBINATIONAL CODING MEANS: |
| | This subclass is indented under the class definition. Device provided with mechanism to condition a plurality
of tool pairs in response to an input-impulse.*
| | (1)
Note. Tool acutation may follow as a result of selection,
or may be effected by independent means (e.g., by hand lever) after
one or more selections have been made. |
| | (2)
Note. Means to select a plurality of tool pairs in response
to a single input-impulse constitutes a combinational-coding means*,
as distinguished from means to produce a one-hole-(or positional)
code. |
| | (3)
Note. For original placement in subclass 94, a patent must
claim specific tool-selection mechanism, i.e., such mechanism must
be recited in terms of structural relationships. |
| | (4)
Note. Fig. 18 illustrates a form of combinational-coding means
wherein a coding memeber CSM is pivotally mounted to swing in either
direction from its neutral position upon depression of either key
K or K". In either of its actuated positions, member CSM
closes circuits to move interposers I to condition a group of tools
(not shown) to perforate a distinctive code symbol in a workpiece.

Fig.18.COMBINATIONAL-CODIN- MEANS (subclass 94). | SEE OR SEARCH THIS CLASS, SUBCLASS:
| 59+, | for pattern-controlled means to select tool pairs. |
| 109+, | for means to select a single tool pair, and see
(2) Note, above. |
|
| | |
95 | Successively: |
| | This subclass is indented under subclass 94. Device wherein the mechanism is effective to condition a
plurality of tool pairs in timed sequence in response to such input-impulse. |
| | |
96 | With means to change or facilitate change of code: |
| | This subclass is indented under subclass 94. Device provided with means to modify a code or substitute
one code for another, or means to reduce or simplify the operations
required for such modification or substitution.
| | (1)
Note. A shift key or equivalent mechanism may be found in
this subclass if it alters the selection of type bars or the like;
but not if it merely shifts the bars so that a different portion
of the same bars becomes effective. |
| | (2)
Note. Exemplary devices of this type usually comprise a plurality
of such parts associated with different portions of the input means. |
SEE OR SEARCH THIS CLASS, SUBCLASS:
| 14, | for a programmed means to change code. |
| 24, | for a randomly-actuated means to change code. |
|
| | |
97 | Coded interposer: |
| | This subclass is indented under subclass 94. Device wherein the conditioning mechanism comprises a coded-interposer*.
| | (1)
Note. The interposer when in effective position, serves either
(1) as the last link of the power train to the driven tools of the
selected pairs, or (2) as blocking means to hold the "fixed" tools
in effective position to cooperate with their associated driven
tools. |
| | (2)
Note. One of a plurality of elements which is movable into
an active position to control the selecting of a plurality of tool
pairs, but which does not contact the tools, may constitute a coded
selector member*, for which see subclass 102. | |
| | |
98 | Differentially positioned: |
| | This subclass is indented under subclass 97. Device wherein the interposer has a plurality of effective
positions in each of which it engages a different combination or
group of tools.
| | (1)
Note. See Fig. 4 (described in the class definition) for illustrative
mechanism. | |
| | |
99 | Turret of interposers: |
| | This subclass is indented under subclass 98. Device wherein a plurality of interposers are movable as
a unit to and between said effective positions by rotation of said
unit. |
| | |
100 | Power transmitting: |
| | This subclass is indented under subclass 99. Device in which the turret of interposers constitutes a
part of the drive train to the selected tool pairs.
| | (1)
Note. The interposers in this subclass function as power-transmitting
elements of the tool-driving train, as distinguished from other
interposers which serve merely to block the "fixed" tools
of the selected pairs and thus do not transmit power. |
| | (2)
Note. Fig. 19 illustrates mechanism exemplary of this subclass.
The turret of interposers is adjustable to three positions, in each
of which a different combination of tools is conditioned for actuation
by the press ram acting through the tool-aligned interposer lugs.

Fig. 19,TURRET OF ACTIVE INTERPOSERS (subclass 100). | |
| | |
101 | Power driven: |
| | This subclass is indented under subclass 97. Device provided with means to move the interposer other
than by effort exerted by an operative. |
| | |
102 | Coded selector means: |
| | This subclass is indented under subclass 94. Device wherein the tool- conditioning mechanisms comprise
a plurality of independent elements each movable, in response to
an input-impulse*, from an ineffective position to an effective
position in which it initiates the selection of a plurality of tool
pairs for actuation by other means.
| | (1)
Note. A coded selector member differs from a coded interposer
in that (1) it does not engage the selected tools, and (2) it has
only one effective position (as distinguished from the differentially- positioned
interposer of subclass 98). See Fig. 20 (under subclass 105) for
a specific example of a coded selector member. | |
| | |
103 | Actuates contacts: |
| | This subclass is indented under subclass 102. Device in which the movable element in effective position
closes a selection-controlling circuit. |
| | |
104 | Paired bars: |
| | This subclass is indented under subclass 102. Device wherein each independent element has a companion
element connected thereto for movement thereby in the opposite direction, said
elements being so arranged that either one or the other element
will always be in position to respond to an input-impulse*.
| | (1)
Note. Mechanism of the subclass type affords fast and positive
response, and eliminates the need for restoring springs. | |
| | |
105 | Selector means drives interposers: |
| | This subclass is indented under subclass 102. Device provided with means connecting a plurality of interposers
to each selector element to be moved to effective position by the
movement of a selector element.
| | (1)
Note. Mechanism of this subclass type differs from that found
in subclass 97 above, in that it includes some form of power drive
trains between the coded element and a number of a single interposers
(i.e., each interposer controls a single tool pair), while the coded
interposer of subclass 97 consists of a unitary element which is
engageable with a pluralty of tools to control a plurality of tool pairs. |
| | (2)
Note. Fig. 20 represents typical basic mechanism of this subclass.
The differently positioned lugs on the levers of keys A and B, constitute,
with their levers, coded-selector-means which are adapted to drive
distinct groups of interposers.

Fig. 20. CODED SELECTOR MEANS COMBINED WITH INTERPOSERS(subclass 105). | |
| | |
106 | Direct punching (coded actuation): |
| | This subclass is indented under subclass 94. Device wherein the tool-conditioning mechanism is constituted
solely of means to drive a plurality of tools through their cutting
stroke, or to directly initiate the transmission of actuation force
to a plurality of tools from a source of power.
| | (1)
Note. A device of this type performs "coded direct
punching", by utilizing the movement of a key-lever or
the like, either to drive certain of the tools directly or to actuate
valves, clutches, or electrical contacts to apply power to certain
tools. |
| | (2)
Note. In this case the tool "selecting means" is
not distinct from the tool "actuating means";
tool "selection" is achieved by applying power
to a predetermined group of tools; in other words, tool selection
and actuation are effected simultaneously by a common impulse through
a common channel. |
| | (3)
Note. See Fig. 2 (described in the class definition) for an
illustrative example of mechanism classifiable in this subclass. Compare
Fig. 6 (independent tool-actuating linkages lying side-by-side;
no coding mechanism present). | |
| | |
108 | Individual electrical drives: |
| | This subclass is indented under subclass 107. Device wherein the means controls the application of electrical
power to electromechanical transducers associated with the tool
pairs to drive the same.
| | (1)
Note. Fig. 21 illustrates circuitry and mechanism typical
of this subclass. Depression of a key closes circuits to energize
a group of tool-actuating solenoids.
| |
(The lowermost key (D) is shown as controlling only one tool,
but at least two other keys control distinct subgroups of the total
number of tools, thus constituting combinational-coding-means* under the
class definition).

Fig. 21. DIRECT CODED ACTUATION, INDIVIDUAL ELECTRIC DRIVES(subclass 108). | | |
| | |
109 | WITH SPECIFIC MEANS TO SELECT A SINGLE TOOL: |
| | This subclass is indented under the class definition. Device provided with mechanism to condition one tool pair.
| | (1)
Note. This subclass (109) uncludes devices wherein a member,
when in effective position, engages and blocks actuation of an associated
tool. Such a blocking member is not an interposer*, for
it does not "engage a tool---for actuation". |
| | (2)
Note. For original placement in subclass 109, a patent must
claim specific tool-selection mechanism. |
SEE OR SEARCH THIS CLASS, SUBCLASS:
| 59+, | for pattern-controlled means to select one or more
tool pairs. |
| 94+, | for means to select a plurality of tool pairs (i.e.,
combinational-coding-means). |
|
| | |
110 | By immobilizing a portion of an element in tool drive train: |
| | This subclass is indented under subclass 109. Device wherein the tool pair and its actuating power train
are permanently connected by actuating linkage having a portion
which normally has idling motion rendering the linkage ineffective
to transmit power to the tool, and wherein the conditioning mechanism
comprises an element movable into blocking engagement with said
portion to furnish a fulcrum therefor, whereby said linkage is made effective
to actuate said tool.
| | (1)
Note. Fig. 22 illustrates basic mechanism of this subclass.
A continuously rotating crankshaft carries a crankpin which is slidable
in a longitudinal slot in the actuating lever. The lever is restrained
against longitudinal movement by suitable guides, not shown, so that
it oscillates idly in a vertical plane during the normal or retracted
condition of the latch. Depression of key K projects the latch into
the path of idle movement of the lever, constraining the latter
to pivot about the latch as a fulcrum and thus to drive tool T downwardly
upon each rotation of the crankshaft.

Fig. 22Typical Mechanism of subclass 110. | |
| | |
111 | Interposer: |
| | This subclass is indented under subclass 109. Device wherein the tool- conditioning mechanism comprises
an interposer*. |
| | |
112 | Differentially positioned: |
| | This subclass is indented under subclass 111. Device wherein the interposer is movable to a plurality
of effective positions in each of which it engages and effects selection
of a different tool.
| | (1)
Note. See Fig. 3 (described in the class definition), for
illustrative mechanism. | |
| | |
113 | Turret of interposers: |
| | This subclass is indented under subclass 112. Device wherein a plurality of interposers are movable as
a unit to and between said effective positions by rotation of said
unit. |
| | |
114 | Power driven: |
| | This subclass is indented under subclass 111. Device including a source of mechanical energy and means
effective to transmit or make available said energy to move the
interposer to or from its effective position. |
| | |
117 | Means to move an element of the tool drive train into power
transmitting relationship with a power source: |
| | This subclass is indented under subclass 109. Device in which said tool-conditioning mechanism comprises
means capable of moving a tool or an element of a tool-actuating
drive train into power receiving engagement with a movable actuator.
| | (1)
Note. The mechanism of this subclass is distinguishable from
the interposer mechanism of subclass 111 in that the movable element
is at all times drivingly connected to its associated tool. |
| | (2)
Note. Fig. 23 illustrates typical mechanism of this subclass.
A dog or link, pivotally attached to tool T, is movable into and
out of alignment with reciprocable hammer H, by positioning-linkage
controlled by a key or other means.

Fig. 23.Typical Mechanism of subclass 117. | |
| | |
118 | Shiftable element is the tool: |
| | This subclass is indented under subclass 117. Device wherein said moving means effects the movement of
at least a portion of a tool into such position that an actuating
drive train for the tool is completed. |
| | |
120 | WITH INPUT MEANS OTHER THAN PATTERN SENSER TO CONTROL TOOL
SELECTION: |
| | This subclass is indented under the class definition. Device including means not provided for in the preceding
subclasses, which is responsive to a signal or impulse originating
externally of the device or from an unspecified source, to control
a disclosed tool-selecting mechanism.
| | (1)
Note. A patent to the combination of an input-means* (e.g.,
keyboard) and a specific tool selecting mechanism is placed as an
original in subclass 94 or 109 in accordance with the type of selecting mechanism
claimed. For original placement in subclass 120, a patent should
be drawn to a specific input-means associated with a selective cutting
device whereof the selecting mechanism is disclosed but not significantly
claimed. |
SEE OR SEARCH THIS CLASS, SUBCLASS:
| 59, | for an input-means of the pattern sensing type. |
|
| | |
121 | Differentially positionable input element (e.g., lever): |
| | This subclass is indented under subclass 120. Device wherein the responsive means comprises a member which
is capable of adjustment to two or more positions, in each of which
positions it generates a distinct signal or impulse effective to
control the selection of tools to be actuated.
| | (1)
Note. A differentially-positionable input element is typically
a slide bar, a drum or a pivoted lever, by means of which a plurality
of distinct tool-selection controls may be obtained, as distinguished
from a simple key or pushbutton which has only one effective or
control position. |
| | (2)
Note. The control signal or impulse of the subclass definition
is to be distinguished from the input-impulse* which effects
adjustment of the movable input member. |
| | (3)
Note. In many cases, a visual guide such as a numbered scale,
or a design to be reproduced, is associated with the positionable
input device but does not of itself exert a control on the positioning of
the input member (i.e., it is not a pattern*). |
SEE OR SEARCH THIS CLASS, SUBCLASS:
| 40, | for means to hold a picture or design to be traced
by a manually-movable stylus controlling tool selections. |
| 74, | for a differentially-responsive pattern senser. |
|
| | |
122 | Plural input channels: |
| | This subclass is indented under subclass 120. Device wherein the responsive means consists of a number
of distinct mechanisms or electrical circuits each responsive to
such signal or impulse from an external or unspecified source.
| | (1)
Note. A number of patents which disclose plural input channels
are originally classified in subclass 121. |
SEE OR SEARCH THIS CLASS, SUBCLASS:
| 45, | for a device having independent manual input means
for a plurality of tool fields. |
| 121, | for a disclosure of plural input means of the differentially-positionable
type. |
|
| | |
123 | Keyboard: |
| | This subclass is indented under subclass 122. Device wherein the distinct mechanisms comprise manually-actuatable
levers or push-buttons.
| | (1)
Note. In general, the actuatable levers or push-buttons found
in this subclass have only one effective position and one ineffective
position, as distinguished from the differentially positionable
elements of subclass 121. |
| | (2)
Note. A patent disclosing novelty in keyboard or key-linkage
structure, or in the connections therefrom to a tool- selecting
mechanism, and not classifiable in a preceding subclass, may be
placed as an original in this subclass. The broad recitation or
disclosure of a key or keyboard is insufficient for this purpose. |
SEE OR SEARCH THIS CLASS, SUBCLASS:
| 106, | for an example of a keyboard-controlled coded direct
punching device. |
|
| | |
124 | With auxiliary function control means: |
| | This subclass is indented under subclass 123. Device including means, responsive to actuation of such
keyboard means to initiate, terminate, or modify an operation of
the device other than the selection of tools.
| | (1)
Note. This feature, particularly with reference to auxiliary
keys for controlling the advance of a workpiece, is disclosed in
many of the more complex machines classified in preceding subclasses. |
SEE OR SEARCH THIS CLASS, SUBCLASS:
| 36+, | for a combined printing and punching machine which
may be of the keyboard type having "space bar" or "space
key" mechanism. |
| 91, | for a conventional back-spacing and/or
canceling key mechanism in a column-by-column keyboard selective punch
device. |
|
| | |
125 | Repeat key: |
| | This subclass is indented under subclass 124. Device in which the keyboard means is capable of causing
a plurality of actuations of tools which have been selected by other
means.
| | (1)
Note. The mechanism of this subclass is commonly known as
a "repeat key mechanism". The key may be arranged to
effect, at each operation, an unlimited or a predetermined number
of repetitions. |
SEE OR SEARCH THIS CLASS, SUBCLASS:
| 21, | for means to stop a machine or portion thereof after
a predetermined number of operations. |
|
| | |
126 | WITH MEANS TO VARY WORK FEED INCREMENT: |
| | This subclass is indented under the class definition. Device provided with mechanism effective to advance a workpiece* relative
to a tool station with continuous or intermittent motion and means
for changing the rate of advance or length of workpiece fed from
one tool cycle to another.
| | (1)
Note. A patent will be placed in an appropriate preceding
subclass if it includes claimed specific tool-selection mechanism
or input means. |
SEE OR SEARCH CLASS:
| 83, | Cutting,
subclasses 241+ for means to vary work feed increment in a cutting machine. |
| 226, | Advancing Material of Indeterminate Length,
subclasses 139+ for a means to vary feed increments of an advancing
web. |
|
| | |
127 | Dependent upon tool(s) selected: |
| | This subclass is indented under subclass 126. Device including means responsive to the selection of a
particular tool, or to the number or combinational arrangement of
the tools chosen for a cycle of actuation, to control the work-feed
varying means.
| | (1)
Note. For example, in a selective tape punch which records
symbols of varying length (e.g., Morse or cable code characters),
the increment of tape feed after each punching cycle may be made
equal to the length of tape occupied by the character punched. |
SEE OR SEARCH THIS CLASS, SUBCLASS:
| 8, | for means to insert justification symbols related
to the widths of characters represented by punched symbols. |
|
| | |
128 | WITH WORK HOLDER OR MOVER: |
| | This subclass is indented under the class definition. Device provided with mechanism for advancing a workpiece* into
position to be acted upon at a tool station and/or for
retaining a workpiece in such position.
| | (1)
Note. The feeding, clamping, or other handling of work is
included in the term auxiliary-operation*. |
SEE OR SEARCH THIS CLASS, SUBCLASS:
| 46+, | for a card notching device, which includes means
for holding a card in fixed position. |
| 126+, | for means to vary work feed increment in a selective
cutting machine. |
SEE OR SEARCH CLASS:
| 83, | Cutting, appropriate subclasses, for a work mover or work
holder associated with a cutting or punching device. |
| 269, | Work Holders, for means to hold or support work during treatment thereof. |
|
| | |
129 | With reversible work-feed (e.g., with back spacer): |
| | This subclass is indented under subclass 128. Device provided with means capable of advancing a workpiece
relative to a tool field in either of two opposed directions.
| | (1)
Note. The "back spacing" mechanism on a
card or tape punch is an example of such a device. |
| | (2)
Note. The work advance in this subclass (129) is preparatory
to a cutting operation, i.e., not the ejection of work from the
machine. |
SEE OR SEARCH CLASS:
| 83, | Cutting,
subclass 220 for means to advance work in opposite directions, intermittently,
in a cutting machine. |
| 226, | Advancing Material of Indeterminate Length,
subclasses 49+ for selectively-operated means to reverse the direction
of motion of a web. |
|
| | |
130 | With cyclically advanced work carrier: |
| | This subclass is indented under subclass 128. Device wherein the mechanism comprises a holder which moves
progressively with the work in timed relation to successive cutting operations.
SEE OR SEARCH CLASS:
| 83, | Cutting,
subclasses 276+ for work feed means which advances intermittently
with the work in timed relation to cutting operations in a cutting machine. |
|
| | |
131 | MISCELLANEOUS: |
| | This subclass is indented under the class definition. Device which comprises a feature not provided for in any
prior subclass in this schedule.
| | (1)
Note. A patent to indicating mechanism associated with tool-selecting
mechanism will be placed originally in subclasses 94+ or
109+, and cross-referenced into subclass 131. If, however,
the selecting mechanism is only nominally or incompletely claimed,
the patent should be placed originally in subclass 131. |
SEE OR SEARCH CLASS:
| 116, | Signals and Indicators, for an indicating device of more general application. |
|
| | |