CPC Definition - Subclass G01Q
This place covers:
Scanning probes, i.e. devices having at least a tip of nanometre sized dimensions that scans or moves over an object surface, typically at a distance of a few angstroms or nanometres, monitoring some interaction between the tip and the surface, e.g. monitoring the generation of a tunnelling current.
Techniques or apparatus involving the use of scanning probes.
The following subjects are therefore covered, the list being non-exhaustive:
- scanning probes per se, their manufacture or their related instrumentation, e.g. holders.
- scanning-probe microscopy (SPM) or microscopes, i.e. the application of scanning probes to the investigation or analysis of a surface structure in atomic ranges.
- applications, other than SPM, involving the use of scanning probes.
This place does not cover:
Electron or ion microscopes (e.g. scanning electron microscopes, transmission electron microscopes) and details thereof |
Attention is drawn to the following places, which may be of interest for search:
Optical microscopes in general |
In this subclass, the first place priority rule is applied, i.e. at each hierarchical level, classification is made in the first appropriate place.
This place covers:
Actively controlling the movement or the location of the scanning probe tip relative to the object surface.
This place covers:
Generating movement of the scanning probe tip relative to the object surface at a scale larger than the resolution of the scanning probe microscope.
Coarse scanning or positioning means are at least partially mechanical.
Illustrative example: US6267005

This place covers:
Generating movement of the scanning probe tip relative to the object surface of a size comparable to the resolution of the scanning probe microscope.
Fine scanning. Piezoelectrical scanning or positioning means are classified in this group.
Illustrative example:

This place covers:
Illustrative example of subject matter classified in this group: US6422069.

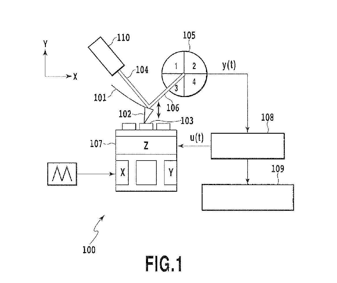
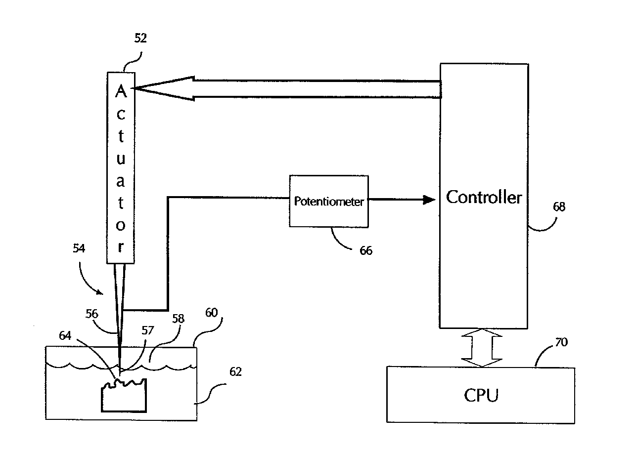
This place covers:
Electronic means for locating or stabilizing the movement of the scanning probe tip relative to the object surface.
Electronic circuits or algorithms governing scanning.
Illustrative example: US2008/0277582, Figure 6.

This place covers:
Circuits or algorithms for driving the scanning probe during a scanning probe microscopy measurement, wherein the driving signal is adjusted during the measurement by using the detected signal coming from the interaction between the probe and the sample.
Illustrative example:

In the case said circuits or algorithms belong to a specific kind of scanning probe microscope, the documents about them should be classified in the class pertinent to said particular kind of scanning probe microscope: e.g. a tapping mode atomic force microscopy, wherein the detected signal is used to keep the oscillation frequency of an atomic force microscopy probe, i.e., a cantilever, at its resonance frequency, should be classified in G01Q 60/34.
This place covers:
Methods or apparatus to monitor the movement of the probe.
Attention is drawn to the following places, which may be of interest for search:
Monitoring the movement or position of the probe with active control thereof |
This place covers:
Monitoring the movement of the probe by means of light-sensitive/responsive devices.
Illustrative example: US2003047675.

This place covers:
Probes comprising in their structure means for detecting a signal to control/monitor their movements, e.g. piezoelectric gauges.
This group covers any kind of position-sensitive sensor integrated in the probe, like piezoresistive, capacitive, etc.
Illustrative example:

This place covers:
Devices or methods to assist or improve the analysis or investigation.
This place covers:
An analysing or investigating device, different from a scanning probe microscope, for assisting or improving the master scanning probe techniques or apparatus.
Illustrative example:

This place covers:
Illustrative example of subject matter classified in this group: DE4233399.

This place covers:
A programmable device that stores, retrieves, processes or displays data for assisting or improving the scanning probe techniques or apparatus.
This subgroup covers computers, other programmable devices, mathematical models and mathematical methods and algorithms for data analysis.
Illustrative example:

This place covers:
A programmable device wherein the data information is used to correct or fix the performance of the SPM.
Illsutrative example:

Attention is drawn to the following places, which may be of interest for search:
Feedback methods | |
Regulations/error compensation means integrated in the probe |
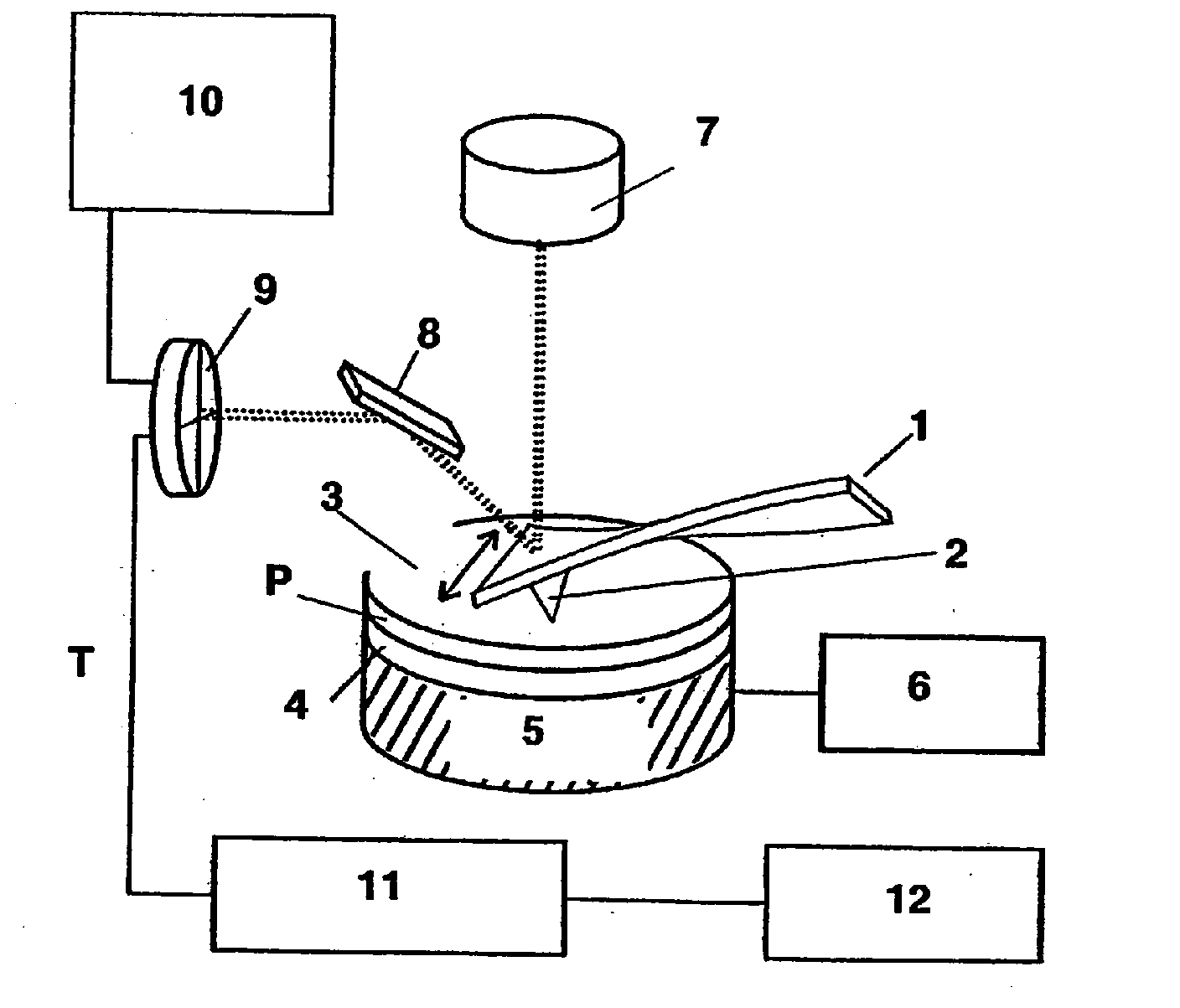
This place covers:
Means to adjust or control parameters, e.g. temperature, pressure or humidity, of a working environment condition inside the chamber containing the sample being studied.
This place covers:
Means to adjust or control the temperature of the sample chamber, e.g. a cryostat or heater that allows SPM to be performed at low or high temperatures.
Illustrative example:

This place covers:
Means to adjust or control parameters, e.g. pressure or compositions, of the fluid environment inside the sample chamber. The fluid environment can be in liquid or gas state.
Illustrative example: WO2006/040025, Figure 2

This place covers:
Means to adjust or control parameters of the liquid environment, e.g. water or other liquid chemical, inside the sample chamber.
Illustrative example: EP1990626

This place covers:
Means to adjust or control a vacuum condition inside the sample chamber, e.g. pumping means.
Illustrative example:

This place covers:
Means to prevent SPM from being disturbed by a condition outside the scanning probe microscope, e.g. vibration, temperature or pressure.
The SPM is protected as a whole under the adverse condition. For example, a specific housing or arrangement to eliminate external vibrations to assure the stability of the microscope, or shielding that protects it from electromagnetic fields.
Illustrative example:

Attention is drawn to the following places, which may be of interest for search:
Environmental regulation means for sample chamber | |
Regulations/error compensation means integrated in the probe |
This place covers:
Methods or devices to perform mechanical operations on a sample in the scanning probe microscope for analysis or investigation, e.g. tweezers, cutting means.
Illustrative example:

This place covers:
Methods or apparatus used to adjust or rectify a SPM device, e.g. the probe itself, to a desired standard.
Illustrative example:

This place covers:
Structure with nanometric resolution used for correcting or fixing the performance of the SPM device before its utilization, e.g. grating with a known line separation, and related manufacture.
Illustrative example: EP676614

This place covers:
Methods or apparatus for which the type of interaction between the scanning probe tip and the sample surface is specified.
This place covers:
Methods or apparatus involving two or more different types of interactions between the scanning probe tip and the sample surface, e.g. cantilever-type SPMs other than AFM which are explicitly built for AFM performances.
The device can contain either one probe or more than one probe to perform different types of SPM over the sample.
Attention is drawn to the following places, which may be of interest for search:
Devices containing array of tips with similar performance function |
This place covers:
Methods or apparatus wherein the two monitored interactions are tunnelling current (STM) and the attractive or repulsive force between the probe and the sample surface (AFM).
Illustrative example:

Attention is drawn to the following places, which may be of interest for search:
Specific STMs | |
Specific AFMs |
This place covers:
Methods or apparatus wherein the two monitored interactions are near-field light emitted from the sample surface (SNOM) and the attractive or repulsive force between the probe and the sample surface (AFM).
Illustrative example:

Attention is drawn to the following places, which may be of interest for search:
Specific SNOMs | |
Specific AFMs |
This place covers:
Methods or apparatus wherein the two monitored interactions are the magnetic force between the sample and the probe (MFM) and the attractive or repulsive force between the probe and the sample surface (AFM).
Illustrative example: US2001/0030536, Figure 2

Attention is drawn to the following places, which may be of interest for search:
Specific AFMs | |
Specific MFMs |
This place covers:
Methods or apparatus for SPM wherein the monitored interaction is the tunnelling current between the tip and the sample, which are in very close proximity but not actually in physical contact.
This place covers:
STM or apparatus therefor wherein the local electronic state of surface is analysed or investigated.
Illustrative example: US52881814

This place covers:
STM or apparatus therefor wherein the electric potential distribution on the sample is analysed or investigated.
Illustrative example: US5378983

This place covers:
STM probes, their manufacture, or related instrumentation, e.g. holders.
Illustrative example: WO2010/086759

This place covers:
Methods or apparatus for SPM wherein the monitored interaction is the near-field light emitted or reflected from the object surface.
This place covers:
SNOM or apparatus therefor wherein the near-field light to be monitored is the emission radiation from a sample surface excited by an electromagnetic wave.
Illustrative example: EP2296027

This place covers:
SNOM probes, their manufacture or related instrumentation, e.g. holders.
Illustrative example:

This place covers:
Methods or apparatus for SPM wherein the monitored interaction is the short range repulsive or long range attractive force between the probe and atoms of the sample surface.
This place covers:
AFM or apparatus therefor wherein the force monitored is the shear force between the probe and atoms of the sample surface.
Illustrative example: US2006/0150719

This place covers:
AFM or apparatus therefor wherein the force monitored is the adhesion force that tends to keep the probe in contact with the sample surface.
Illustrative example:

This place covers:
AFM or apparatus therefor wherein the force monitored is an electric interaction affected by the electric potential distribution on the sample surface, e.g. Kelvin probe microscopy and Scanning Maxwell stress microscopy.
Also probes for this kind of microscopes are classified here.
Illustrative example: EP1748447

This place covers:
AFM or apparatus therefor wherein the probe is a vibrating cantilever, or is mounted on a vibrating cantilever.
Illustrative example: US2011/0154546

This place covers:
AFM or apparatus therefor wherein tip of probe touches periodically the sample surface.
Illustrative example: US5519212

This place covers:
AFM or apparatus therefor wherein the probe is, or is mounted on, a static (i.e. vibrationless) cantilever.
Illustrative example: EP2131180

This place covers:
AFM wherein the probe is always in contact with the surface.
Illustrative example:

This place covers:
Device for measuring indenting force into a surface using SPM probes.
Illustrative example: US2007/0227236

This place covers:
AFM probes, their manufacture, or their related instrumentation, e.g. holders.
Probes for AFM for special applications, like, e.g., tapping mode AFM, Kelvin Force microscopes, etc. are to be classified also in the corresponding groups.
Special shapes or processes for manufacture are classified in this group.
Illustrative example: US2010/0218288

This place covers:
AFM probe that is made of a material that conducts electric charges.
Illustrative example: US2009/0001488

Attention is drawn to the following places, which may be of interest for search:
Conductive probes that perform the function of STM probes |
This place covers:
AFM or apparatus therefor wherein specific particles are added to the tip to give it another characteristic, e.g. specific chemical receptor for biochemical analysis.
Illustrative example: US2010/0011472

This place covers:
Methods or apparatus for SPM wherein the monitored interaction is the ion flow between the probe tip and the sample surface.
Illustrative example: US2011/0131690

This place covers:
Methods or apparatus for SPM wherein the monitored interaction is the electrical capacity between the probe tip and the sample surface.
Illustrative example: US2005/0030054

This place covers:
SCM probes, their manufacture, or their related instrumentation, e.g. holders.
Illustrative example: US7190175

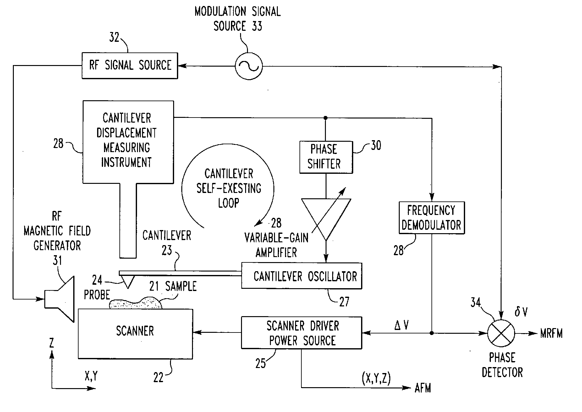
This place covers:
Methods or apparatus for SPM wherein the monitored interaction is the magnetic force between the probe tip and the sample surface.
Illustrative example: US2006/0139026

This place covers:
MFM or apparatus therefor wherein a spin magnetic moment is induced by a specific magnetic field frequency.
Illustrative example: US2007/0216412

This place covers:
MFM probes, their manufacture, or their related instrumentation, e.g. holders.
Illustrative example: US2010/0207622

This place covers:
MFM probe tips that are coated with some material with specific magnetic property.
Illustrative example: US2010/0138964

This place covers:
Methods or apparatus for SPM wherein the monitored interaction is the heat or temperature of the sample surface.
Illustrative example: US2009/0056428

This place covers:
Methods or apparatus for SPM wherein the monitored interaction is the Faraday current generated by an electrochemical reaction.
Illustrative example: US7156965

This place covers:
General aspects of SPM probes, their manufacture or their related instrumentation, insofar as these probes are not specially adapted to a single particular type of SPM technique covered by group G01Q 60/00 and subgroups.
This place covers:
General aspects of SPM probe holders.
Illustrative example: US2010/0037360

This place covers:
General SPM probe holders with integrated means to adjust the probe to correct for errors caused by temperature variations or vibrations.
Illustrative example: US2009/0255016

Attention is drawn to the following places, which may be of interest for search:
Error compensation in general | |
Protection of the scanning probe microscope in general |
This place covers:
General SPM probes wherein multiple tips of similar characteristics form a line or a matrix.
Illustrative example: US2010/0218284

This place covers:
Specific characteristics of general SPM probes.
Attention is drawn to the following places, which may be of interest for search:
Process of probe fabrication |
Specific characteristics like shape, material, etc. are covered by the subgroups G01Q 70/10 - G01Q 70/14.
This place covers:
Specific physical form, degree of slope or angle of the tip in a general SPM probe. With "probe" both tip and cantilever are meant.
Illustrative example: US2009/005092

This place covers:
General SPM probes having a nanosized tube such as Carbon nanotube.
Illustrative example: US2010/0229265

This place covers:
Specific choice of materials for general SPM probes or components thereof. For example, where a cantilever or a coating on the tip is made of some material that gives a particular property to the scanning probe.
Materials of cantilever and/or tip.
Illustrative example: US2009/0313730

This place covers:
Manufacture aspects of general SPM probes.
Illustrative example: US2011/039100

Manufacture of probes for particular kinds of SPM (e.g. AFM, STM, SNOM) are classified in the corresponding G01Q 60/00 subgroup.
This place covers:
General SPM probes, wherein specific particles are added to the tip to give it another characteristic, e.g. specific chemical receptor for biochemical analysis.
Illustrative example: US2008/0093550

Attention is drawn to the following places, which may be of interest for search:
Functionalized AFM probes |
This place covers:
Specific applications, different from SPM, of scanning-probe techniques.
This place does not cover:
Manufacture or treatment of microstructures | |
Manufacture or treatment of nanostructures | |
Recording or reproducing information using near-field interaction |
Attention is drawn to the following places, which may be of interest for search:
Specific SPM techniques, apparatus therefor or components thereof, e.g. probes | |
General aspects of SPM probes |