CPC Definition - Subclass F15B
This place covers:
Systems transferring mechanical energy by means of a fluid under pressure using the principles of fluid statics or hydrostatics, i.e. hydraulic or pneumatic systems
Examples of places where the subject matter of this place is covered when specially adapted, used for a particular purpose, or incorporated in a larger system:
Fluid clutches or brakes | |
Fluid springs | |
Fluid gearing | |
Fluid-operating means for valves |
Attention is drawn to the following places, which may be of interest for search:
Hydraulically or pneumatically operated lifting devices for soil-working machines | |
Hydraulic drawing presses | |
Hydraulic or pneumatic manipulators | |
Hydraulic or pneumatic tipping devices for vehicles | |
Hydraulic or pneumatic remote control for railway signals | |
Desalination | |
Water purification | |
Hydraulic or pneumatic mine supports | |
Motors, turbines, compressors, blowers, pumps | |
Steam engines | |
Engine water cooling | |
Fuel injection | |
Perpetua mobilia using fluid | |
Fluid signal amplifiers, relays | |
Fluid dynamics | |
Pistons, cylinders packing | |
Valves, taps, cocks, actuating-floats | |
Safety valves with auxiliary fluid operation of the main valve | |
Pipes, pipe joints | |
Lubricating | |
Central heating systems |
In this place, the following terms or expressions are used with the meaning indicated:
Pneumatic | using air or an inert gas (except steam) as a pressure medium. |
Hydraulic | using a liquid as the pressure medium. |
Telemotor | system or device in which a substantially constant amount of fluid is trapped between an input member and an output member to act as a fluid link |
Servomotor | fluid-pressure actuator, e.g. a piston and a cylinder, directly controlled by a valve or other device (e.g. pump) which is responsive to operation of an initial controlling member (e.g. joystick). The initial controlling member may be adjacent to the servomotor or at a distance and may be, e.g. a hand lever. |
Attention is drawn to the following places, which may be of interest for search:
Hydro-pneumatic suspensions | |
Pumps having reservoirs | |
Central heating systems |
The main group F15B 1/00 is complemented by the main group F15B 2201/00 and is used for classifying invention information only.
In this place, the following terms or expressions are used with the meaning indicated:
Accumulator | vessel for storing pressurised liquid (e.g. using a liquid and a gas chamber separated by a membrane or piston or using an elastic housing) |
Attention is drawn to the following places, which may be of interest for search:
Energy recuperation means |
In this place, the following terms or expressions are used with the meaning indicated:
Accumulator | vessel for storing pressurised liquid (e.g. using a liquid and a gas chamber separated by a membrane or piston or using an elastic housing) |
Attention is drawn to the following places, which may be of interest for search:
Pumps having accumulators for reducing pressure pulsations | |
Hydro-pneumatic suspensions | |
Buffers for preventing water hammer |
Attention is drawn to the following places, which may be of interest for search:
See also |
F15B 2211/212 takes precedence
This place covers:
Also for recuperation of hydraulic energy (as e.g. used in hydraulic excavators)
Attention is drawn to the following places, which may be of interest for search:
Dredgers or soil-shifting machinery with energy recovery arrangements |
Attention is drawn to the following places, which may be of interest for search:
Central heating systems |
This place covers:
E.g. valves controlling flow of hydraulic fluid to and from the liquid chamber of an accumulator.
Attention is drawn to the following places, which may be of interest for search:
Accumulator gas charging devices | |
Control of fluid pressure in general |
This place covers:
Vessel for storing pressurised liquid (e.g. using a liquid and a gas chamber separated by a membrane or piston or using an elastic housing).
Attention is drawn to the following places, which may be of interest for search:
Pumps having accumulators for reducing pressure pulsations | |
Hydro-pneumatic suspensions | |
Buffers for preventing water hammer | |
Pressure vessels per se | |
Central heating systems |
The sub-group F15B 1/04 is complemented by the main group F15B 2201/00
In patent documents, the following words/expressions are often used as synonyms:
- "pressure accumulator", "Druckspeicher", "Hydrospeicher "and "Accumulateur"
- "bladder-type accumulator" and "Blasenspeicher"
- "membrane-type accumulator" and "Membranspeicher"
- "accumulator using pistons" and "Kolbenspeicher"
- "accumulators having springs" and "Federspeicher"
Attention is drawn to the following places, which may be of interest for search:
See also |
F15B 2201/205 takes precedence.
This place covers:
Accumulators with a safety plugs that melt at a certain temperature for relieving the pressure.
This place does not cover:
Accumulators using bladders |
Attention is drawn to the following places, which may be of interest for search:
See also |
F15B 2201/3154 takes precedence.
Attention is drawn to the following places, which may be of interest for search:
Accumulators with flexible separating means but without gas cushion | |
See also |
F15B 2201/315 takes precedence.
Accumulators not using a gas cushion are classified in F15B 1/04 even if they have flexible separating means (e.g. a membrane).
This place covers:
Illustrative example of subject matter classified in this group.

Fig. from US2004244857
Attention is drawn to the following places, which may be of interest for search:
See also |
F15B 2201/3153 takes precedence.
In patent documents, the following words/expressions are often used as synonyms:
- "bellows", "Faltenbalg" and " soufflet"
Attention is drawn to the following places, which may be of interest for search:
See also |
F15B 2201/605 takes precedence.
This place covers:
Accumulators using bladders, i.e. essentially cylindrical flexible separating means having a first open end portion which is normally rounded and a second end portion with a fluid inlet for separating a hydraulic fluid and a gas. 
Fig. from US2006042707
Attention is drawn to the following places, which may be of interest for search:
See also |
F15B 2201/3152 takes precedence.
In patent documents, the following words/expressions are often used as synonyms:
- "bladder", "Blase" and "vessie"
- " bladder-type accumulator", "Blasenspeicher" and "accumulateur à vessie"
Attention is drawn to the following places, which may be of interest for search:
See also |
F15B 2201/43 takes precedence.
Attention is drawn to the following places, which may be of interest for search:
See also |
F15B 2201/435 takes precedence.
Attention is drawn to the following places, which may be of interest for search:
See also |
F15B 2201/41 takes precedence.
Attention is drawn to the following places, which may be of interest for search:
See also |
F15B 2201/31 takes precedence.
Accumulators using springs and no gas cushion are classified in F15B 1/04 even if they have rigid separating means (e.g. a piston).
Attention is drawn to the following places, which may be of interest for search:
Reservoirs for vehicle braking systems | |
Fluid supply systems for power Power-steering systems with reservoirs | |
Pumps having reservoirs |
Attention is drawn to the following places, which may be of interest for search:
Systems with accumulators |
This place covers:
Devices for converting fluid energy, i.e. from a flow of fluid having high pressure and low flow rate to a flow of fluid having low pressure and high flow rate or vice versa.
E.g. devices using pistons of different size or rotating fluid pumps and motors of different capacity.

Fig. from FR2822906
This place does not cover:
Fluid-driven pumps |
Attention is drawn to the following places, which may be of interest for search:
Pressure intensifiers in processes of separation using semi-permeable membranes, e.g. dialysis, osmosis | |
Fluid-driven pumps |
This place does not cover:
Servomotors with follow-up action |
This place covers:
E.g. systems wherein a master cylinder is directly connected to a subordinate cylinder. Illustrative example:

Fig. from WO2006129746
Attention is drawn to the following places, which may be of interest for search:
Combinations of telemotor and servomotor systems | |
For control in motor vehicles | |
Vehicle brakes | |
For control in ships | |
For control in aircraft | |
Hydraulic clutch actuation | |
Hydraulic gear shifting devices |
In this place, the following terms or expressions are used with the meaning indicated:
Telemotor | system or device in which a substantially constant amount of fluid is trapped between an input member and an output member to act as a fluid link, e.g. realised as a master cylinder which is directly connected to a subordinate cylinder. |
Attention is drawn to the following places, which may be of interest for search:
Input units (e.g. master cylinders) |
Attention is drawn to the following places, which may be of interest for search:
Input units |
F15B 15/00 takes precedence for subordinate cylinders.
Attention is drawn to the following places, which may be of interest for search:
Vehicle brake master cylinders |
This place does not cover:
Details of input units or master units |
Attention is drawn to the following places, which may be of interest for search:
Pressure-maintaining arrangements for brake master cylinders |
This place covers:
Fluid power drives using position feed-back
In this place, the following terms or expressions are used with the meaning indicated:
Servomotor | fluid-pressure acutator, e.g. a piston and a cylinder, directly controlled by a valve or other device (e.g. pump) which is responsive to operation of an initial controlling member (e.g. joystick). The initial controlling member may be adjacent to the servomotor or at a distance and may be, e.g. a hand lever. |
This place covers:
Illustrative example of subject matter classified in this group.

Fig. from US4733601
This place covers:
This class is also used for systems with a differential gear ratio of 1:1. Illustrative example:

Fig. from FR74115
This place covers:
E.g. multi-stage systems
This place does not cover:
Parallel arrangements of independent servomotor systems | |
Safety arrangements therefor |
Attention is drawn to the following places, which may be of interest for search:
Servo-operated pilot valves for the following stage |
This place covers:
Servomotor systems without provision for follow-up action and circuits therefor
The main group F15B 11/00 is omplemented by the main group F15B 2211/00 and is used for classifying invention information only. F15B 2211/00 takes precedence.
In this place, the following terms or expressions are used with the meaning indicated:
Servomotor | fluid-pressure acutator, e.g. a piston and a cylinder, directly controlled by a valve or other device (e.g. pump) which is responsive to operation of an initial controlling member (e.g. joystick). The initial controlling member may be adjacent to the servomotor or at a distance and may be, e.g. a hand lever. |
This place covers:
This class comprises releasable check valves and proportional braking valves.
Attention is drawn to the following places, which may be of interest for search:
Locking valve details | |
See also |
F15B 2211/30515 takes precedence.
In patent documents, the following words/expressions are often used as synonyms:
- "load holding valve" and "Lasthalteventil"
- "releasable check valve" and "Entsperrbares Rückschlagventil "
This place does not cover:
fluid-pressure converters increasing the working force after an approach stroke |
Attention is drawn to the following places, which may be of interest for search:
Combined control for output members |
Attention is drawn to the following places, which may be of interest for search:
Regeneration valves per se | |
Systems with directional control valves having a regenerative position |
Attention is drawn to the following places, which may be of interest for search:
See also |
F15B 11/024, F15B 2211/76 take precedence.
Attention is drawn to the following places, which may be of interest for search:
Fluid pressure converters |
Attention is drawn to the following places, which may be of interest for search:
Servomotors (fluid pressure actuators) |
Attention is drawn to the following places, which may be of interest for search:
See also |
F15B 11/048, F15B 2211/00 take precedence.
This place does not cover:
Servomotor systems for controlling the speed of an output member, the speed depending on the position of the working member | |
Servomotor systems specially adapted to maintain constant speed force of an output member |
Attention is drawn to the following places, which may be of interest for search:
Servomotor systems with directional control combined with flow control by regulating in feed line, i.e. meter-in control |
F15B 11/05, F15B 2211/351 take precedence.
Attention is drawn to the following places, which may be of interest for search:
Adjusting pump output or bypass to maintain constant speed |
This place covers:
E.g. systems controlling the speed by means of so-called digital valves or by means of systems using pulse code modulation (PCM)
Attention is drawn to the following places, which may be of interest for search:
Circuits with digital valves |
This place does not cover:
Servomotor systems for controlling the speed of an output member, the speed depending on the position of the working member | |
Servomotor systems specially adapted to maintain constant speed force of an output member |
Attention is drawn to the following places, which may be of interest for search:
Servomotor systems with directional control combined with flow control by regulating means in return line, i.e. meter-out control |
F15B 11/05, F15B 2211/353 take precedence.
Attention is drawn to the following places, which may be of interest for search:
Counterbalance valves | |
Pressure control using counterbalance valves |
F15B 2211/50581 takes precedence
This place does not cover:
maintaining constant speed with sensing of servomotor demand and load, for two or more servomotors |
Attention is drawn to the following places, which may be of interest for search:
Counterbalance valves | |
Valves for load sensing | |
Directional control valves in combination with pressure compensating valves | |
Flow control using pressure compensating valves |
In patent documents, the following abbreviations are often used:
LS | Load sensing |
In patent documents, the following words/expressions are often used as synonyms:
- "pressure-compensated", "Lastdruckunabhängig" and "LUDV"
- "pressure compensator", "pressure compensating valve" and "Druckwaage"
Attention is drawn to the following places, which may be of interest for search:
Pressure margin control in load sensing systems | |
Pump control |
F15B 11/165 takes precedence.
Attention is drawn to the following places, which may be of interest for search:
Control specific to compressible fluids |
Attention is drawn to the following places, which may be of interest for search:
Step-by-step action obtained by combining two or more servomotors (actuators) | |
Restricting the stroke of servomotors (actuators) |
Attention is drawn to the following places, which may be of interest for search:
Fluid gearing with oscillating input or output |
Attention is drawn to the following places, which may be of interest for search:
For soil-shifting machines |
In patent documents, the following abbreviations are often used:
LS | Load sensing |
In patent documents, the following words/expressions are often used as synonyms:
- "pressure-compensated", "Lastdruckunabhängig" and "LUDV"
- "pressure compensator", "pressure compensating valve" and "Druckwaage"
Attention is drawn to the following places, which may be of interest for search:
Priority valve details | |
Flow control using flow dividers | |
One or more output members having priority | |
For power steering |
Attention is drawn to the following places, which may be of interest for search:
Valves for load sensing | |
Directional control valves in combination with pressure compensating valves | |
Flow control using pressure compensating valves |
Attention is drawn to the following places, which may be of interest for search:
Maintaining constant speed by controlling pump output or bypass | |
Pressure margin control in load sensing systems | |
Pump control |
Attention is drawn to the following places, which may be of interest for search:
Load-sensing circuits with isolator valves |
F15B 2211/6058 takes precedence.
Attention is drawn to the following places, which may be of interest for search:
Servomotor systems with multiple pumps |
Attention is drawn to the following places, which may be of interest for search:
Fluid distribution or supply devices for the control of two or more servomotors |
Attention is drawn to the following places, which may be of interest for search:
Telescopic booms |
Attention is drawn to the following places, which may be of interest for search:
See also | |
Synchronisation of cylinders in fluid-driven presses |
This place covers:
Components of hydraulic or pneumatic circuits such as valves and flow dividers.
Attention is drawn to the following places, which may be of interest for search:
Systems with load holding valves | |
Locking mechanisms associated with the actuator |
In patent documents, the following words/expressions are often used as synonyms:
- "over-centre valve", "locking-valve"
Attention is drawn to the following places, which may be of interest for search:
Multiple-way valves |
Subgroups F15B 13/022 - F15B 13/029 are not complete
Attention is drawn to the following places, which may be of interest for search:
Regenerative circuits | |
Systems with directional control valves having a separate valve for interconnecting the fluid chambers of an actuator | |
Systems with directional control valves having a regenerative position |
In patent documents, the following words/expressions are often used as synonyms:
- "valves for interconnecting the fluid chambers of an actuator" and "Regeneration valves"
Attention is drawn to the following places, which may be of interest for search:
Circuits for giving priority to a particular servomotor | |
Flow control using flow dividers | |
Priotity valves for power steering |
In patent documents, the following words/expressions are often used as synonyms:
- "excess flow valves", "Rohrbruchsicherung" and "clapet parachute"
Attention is drawn to the following places, which may be of interest for search:
Load holding valves | |
Locking valves |
Attention is drawn to the following places, which may be of interest for search:
Servomotor systems with counterbalance valves | |
Pressure control using counterbalance vavles |
This place covers:
Illustrative example of subject matter classified in this group.

Fig. from WO2008015752
Attention is drawn to the following places, which may be of interest for search:
Systems with load sensing |
Attention is drawn to the following places, which may be of interest for search:
Arrangements of handles or pedals for cranes | |
Control levers for dredgers and soil shifting machines | |
Similar mechanical control actuators |
Attention is drawn to the following places, which may be of interest for search:
Electrically operated main valves |
Attention is drawn to the following places, which may be of interest for search:
Electrically controlled pilot valves |
Attention is drawn to the following places, which may be of interest for search:
Modular valves in general |
Attention is drawn to the following places, which may be of interest for search:
Servomotor systems using data bus, e.g. CAN bus |
Attention is drawn to the following places, which may be of interest for search:
Servomotors with follow-up action | |
Devices with means or adapted for load sensing |
This place covers:
Hydraulic or pneumatic actuators with linear or non-continuous rotary output.
Attention is drawn to the following places, which may be of interest for search:
Fluid-driven safety belt tensioners |
Attention is drawn to the following places, which may be of interest for search:
Corresponding FI class | F15B15/06&E |
Attention is drawn to the following places, which may be of interest for search:
Pistons, cylinders, packings |
Attention is drawn to the following places, which may be of interest for search:
Locking mechanisms therefor |
Attention is drawn to the following places, which may be of interest for search:
Locking mechanisms therfor |
Attention is drawn to the following places, which may be of interest for search:
Connection of valves to inflatable elastic bodies | |
Inflatable flexible elements for lifting goods | |
Pneumatic actuators for EGR valves | |
Clutches with fluid-actuated elastic clutching member | |
Bellows pistons |
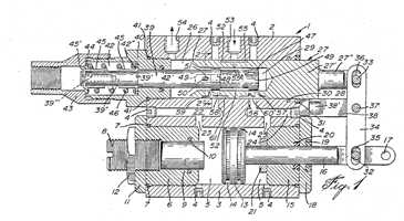
This place covers:
Illustrative example of subject matter classified in this group.

Fig. from US4819547
Attention is drawn to the following places, which may be of interest for search:
Corresponding FI class | F15B15/10&H |
In patent documents, the following words/expressions are often used as synonyms:
- "fluidic muscle-type actuator", "McKibben-type actuator" and "Fluidischer Muskel"
This place does not cover:
Rotary motors with continuous output movement | |
Sealings for vane motors |
This place covers:
Illustrative example of subject matter classified in this group.

Fig. from JP58163805
Attention is drawn to the following places, which may be of interest for search:
Systems with servomotors having a plurality of working chambers | |
Motors with two or more independently movable working pistons |
Attention is drawn to the following places, which may be of interest for search:
Servomotor systems with step-by-step action | |
Servomotor systems with stepwise operation |
This place does not cover:
Pistons per se |
Attention is drawn to the following places, which may be of interest for search:
Systems for controlling the actuator force |
When the fluid powering the fluid-actuated device is used for cooling or for heating said device, either one of F15B 21/0423 additional information when the fluid-actuated device is cooled or F15B 21/0427 additional information when the device is heated, has to be allocated complementary to the classification in this group.
Attention is drawn to the following places, which may be of interest for search:
Telemotors |
Attention is drawn to the following places, which may be of interest for search:
Locking valves not combined with the actuator |
This place covers:
Locking mechanisms using positive interengagement for locking in any distinct position (not restricted to locking in the end positions).
This place covers:
This subgroup contains documents relating to locking mechanisms using screw mechanisms attached to the piston but not using friction.
F15B 15/2846 takes precedence.
Attention is drawn to the following places, which may be of interest for search:
Telemotors | |
Servomotors with follow-up | |
Servomotors without follow-up |
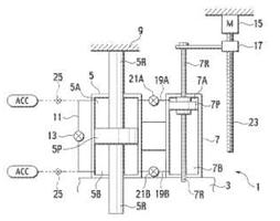
This place covers:
E.g. redundant systems.

Fig. from DE1940946A1
Attention is drawn to the following places, which may be of interest for search:
Testing of fluid pressure systems | |
Monitoring of fluid pressure systems |
Attention is drawn to the following places, which may be of interest for search:
Control during or prevention of an electric or electronic failure | |
Control during or prevention of an hydraulic or pneumatic failure | |
Control during or prevention of a human failure | |
Prevention of failures | |
Detection of failures | |
Control measures for coping with failures | |
Safety devices in general | |
Safety devices for pneumatic or hydraulic control systems |
Attention is drawn to the following places, which may be of interest for search:
Control during or prevention of electric or electronic failures |
Attention is drawn to the following places, which may be of interest for search:
Fluid supply failure |
Attention is drawn to the following places, which may be of interest for search:
Valve or hose failure |
Attention is drawn to the following places, which may be of interest for search:
Valve or hose failure: |
Attention is drawn to the following places, which may be of interest for search:
Systems with a pressurised main reservoir |
Attention is drawn to the following places, which may be of interest for search:
For pumps |
Attention is drawn to the following places, which may be of interest for search:
Servomotor systems with electrically operated control means | |
Program control in washing machines | |
Program control in general |
Attention is drawn to the following places, which may be of interest for search:
Using the fluid for cooling or heating a fluid-actuated device, i.e. a fluidic actuator |
When the fluid is used for cooling or heating a specific component, e.g. an electric motor, other than a fluid-actuated device, i.e. a fluidic actuator, it is classified in F15B 21/04 as inventive information and in F15B 21/0423 additional information when the fluid is used for cooling said component, or F15B 21/0427 additional information when the fluid is used for heating said component.
When the fluid is used for cooling or heating a specific component, e.g. an electric motor, classification in F15B 21/04 applies in accordance with the special rule of F15B 21/04.
Control of a cooling device to increase the temperature of the fluid, e.g. bypassing a cooling device for warmup, is classified in F15B 21/0427 as inventive information and also in F15B 21/0423 as additional information.
Attention is drawn to the following places, which may be of interest for search:
Preventing cavitation |
In patent documents, the following words/expressions are often used as synonyms:
- "deaeration" and "Entlüftung"
Attention is drawn to the following places, which may be of interest for search:
Warming up fluid systems |
Attention is drawn to the following places, which may be of interest for search:
Supply reservoir or sump assemblies | |
Control during or prevention of cavitation |
This place does not cover:
Actuators having special fluid pressurization means |
Attention is drawn to the following places, which may be of interest for search:
Control specific to the type of fluid, e.g. specific to magnetorheological fluid |
Attention is drawn to the following places, which may be of interest for search:
Modular units using data bus |
F15B 13/0867 takes precedence.
Attention is drawn to the following places, which may be of interest for search:
Hydraulic braking | |
Delay devices associated with fluid motors or actuators |
Attention is drawn to the following places, which may be of interest for search:
Regenerative circuits | |
Control measure for saving energy | |
For vehicles | |
Systems for storing electric energy specially adapted for power networks using storage of pneumatic energy |
Attention is drawn to the following places, which may be of interest for search:
Floating position connecting the working ports and the return line | |
Regenerative position connecting the working ports or connecting the working ports to the pump, e.g. for high-speed approach stroke |