CPC Definition - Subclass F02M
This place covers:
Apparatus for supplying fuel, air or non fuel substances to combustion engines, e.g. carburettors for liquid fuel; apparatus for feeding, or treating combustion-air, fuel, or fuel-air mixture; Fuel injection apparatus
Attention is drawn to the following places, which may be of interest for search:
Internal-combustion piston engines; Combustion engines in general |
In this place, the following terms or expressions are used with the meaning indicated:
Carburettors | Apparatus for mixing fuel with air, the fuel being brought into mixing contact with the air by lowering the air pressure, e.g. in a venturi |
Fuel-injection apparatus | Apparatus for introducing fuel into a space, e.g. engine cylinder, by pressurising the fuel, e.g. by a pump acting behind the fuel, and thus includes the so-called "solid-fuel injection" in which liquid fuel is introduced without any admixture of gas |
Low-pressure fuel injection | Fuel injection in which the fuel-air mixture containing fuel thus injected will be substantially compressed in the compression stroke of the engine |
Pumping element | A single piston-cylinder unit in a reciprocating-piston fuel-injection pump or the equivalent unit in any other type of fuel-injection pump |
This place covers:
When the engine is cold, fuel vaporizes less readily and tends to condense on the walls of the intake manifold, starving the cylinders of fuel and making the engine difficult to start; thus, a richer mixture is required to start and run the engine until it warms up. To provide the extra fuel, a choke is typically used; this is a device that restricts the flow of air at the entrance to the carburettor, before the venturi. With this restriction in place, extra vacuum is developed in the carburettor venturi, which pulls extra fuel through the main metering system to supplement the fuel being pulled from the idle and off-idle circuits. This provides the rich mixture required to sustain operation at low engine temperatures. In addition, the choke can be connected to a cam or other device which prevents the throttle plate from closing fully while the choke is in operation. This causes the engine to idle at a higher speed. Fast idle serves as a way to help the engine warm up quickly, and give a more stable idle while cold by increasing airflow throughout the intake system which helps to better atomize the cold fuel. In many carburetted cars, the choke is controlled by a cable connected to a pull-knob on the dashboard operated by the driver. In some carburetted cars it is automatically controlled by a thermostat employing a bimetallic spring, which is exposed to engine heat, or to an electric heating element. This heat may be transferred to the choke thermostat via simple convection, via engine coolant, or via air heated by the exhaust. Some carburettors do not have a choke but instead use a mixture enrichment circuit. Typically used on small engines, enricheners work by opening a secondary fuel circuit below the throttle valves. This circuit works exactly like the idle circuit, and when engaged it simply supplies extra fuel when the throttle is closed.
Carburettors are used in all types of engines. Nowadays new inventions mainly take place in the field of small engines. e.g. motorcycles, lawn mowers.
This place does not cover:
Carburettors for gaseous fuel | |
Carburettors combined with low pressure fuel injection |
Attention is drawn to the following places, which may be of interest for search:
Idling devices |
In this place, the following terms or expressions are used with the meaning indicated:
Idling | Engine running stationary |
Priming | Pumping extra fuel |
Float chamber | Fuel collection chamber controlled by float member |
This place covers:
Devices for delivering the correct amount of fuel and air under idling i.e. slow running conditions of the engine.
Low-pressure fuel-injection apparatus, F02M 69/00.
This place does not cover:
Carburettors with means for facilitating engine's starting or its idling below operational temperatures |
Attention is drawn to the following places, which may be of interest for search:
Carburettors with means for influencing, e.g. enriching or keeping constant, fuel/air ratio of charge under varying conditions | |
Apparatus for adding secondary air to fuel-air mixture |
This place covers:
To ensure a ready mixture, the carburettor has a float chamber that contains a quantity of fuel at near-atmospheric pressure, ready for use. This reservoir is constantly replenished with fuel supplied by a fuel pump. The correct fuel level in the bowl is maintained by means of a float controlling an inlet valve When fuel is used up, the float drops, opening the inlet valve and admitting fuel. As the fuel level rises, the float rises and closes the inlet valve. The level of fuel maintained in the float bowl can usually be adjusted by a setscrew.
Carburettors with means for influencing, e.g. enriching or keeping constant, fuel/air ratio of charge under varying conditions, F02M 7/00.
This place does not cover:
Floatless carburettors |
Attention is drawn to the following places, which may be of interest for search:
Details, component parts, or accessories of carburettors, not provided for in, or of interest apart from, the apparatus of groups F02M 1/00 - F02M 17/00 |
In this place, the following terms or expressions are used with the meaning indicated:
Float | Hollow body floating on fuel level and acting on fuel inlet valve |
Attention is drawn to the following places, which may be of interest for search:
Floats in general |
This place covers:
Under all engine operating conditions, the carburettor must measure the airflow of the engine, deliver the correct amount of fuel to keep the air/fuel mixture in the proper range and distribute the two finely and evenly. This job would be simple if air and gasoline were ideal fluids; in practice, however, their deviations from ideal behaviour due to viscosity, fluid drag, inertia, etc. require a great deal of complexity to compensate for exceptionally high or low engine speeds. A carburettor must provide the proper air/fuel mixture across a wide range of ambient temperatures, atmospheric pressures, engine speeds and loads and centrifugal forces, like cold start, hot start, idling, acceleration, high speed at full throttle (high load), slow speed at part throttle (light load).
To function correctly under all these conditions, carburettors contain a complex set of mechanisms to support several different operating modes.
Electrical control of supply of combustible mixture or its constituents, F02D 41/00.
This place does not cover:
Attention is drawn to the following places, which may be of interest for search:
Carburettors with means for influencing, e.g. enriching or keeping constant, fuel/air ratio of charge under varying conditions |
In this place, the following terms or expressions are used with the meaning indicated:
Aerated fuel spray nozzles | Nozzle with air and fuel dispersion |
Equaliser jets | Jets for equalising the air/fuel ratio |
This place covers:
A carburettor basically consists of an open pipe through which the air passes into the inlet manifold of the engine. The pipe is in the form of a venture, which narrows in section and then widens again, causing the airflow to increase in speed in the narrowest part. Below the venturi is a valve called the throttle valve. This valve controls the flow of air through the carburettor throat and thus the quantity of air/fuel mixture the system will deliver, thereby regulating engine power and speed. The throttle valve is connected through a mechanical linkage of rods and joints to the accelerator pedal.
Controlling engines by throttling air or fuel-and-air induction conduits or exhaust conduits, F02D 9/00.
This place does not cover:
Register-type carburettors |
Attention is drawn to the following places, which may be of interest for search:
Throttle valves having slidably mounted valve members |
In this place, the following terms or expressions are used with the meaning indicated:
Iris diaphragms | Series of metal plates that can fold in over an opening on each other |
In patent documents, the following words/expressions are often used as synonyms:
- " Carburettor throat" and "Carburettor venturi "
This place covers:
Carburettors with a plurality of means for adjusting the air to fuel mixing ratio according to the operational requirements, like acceleration, deceleration and idling of the engine.
Electrical control of supply of combustible mixture or its constituents, F02D 41/00.
This place does not cover:
Carburettors with means for influencing, e.g. enriching or keeping constant, fuel/air ratio of charge under varying conditions |
Attention is drawn to the following places, which may be of interest for search:
Arrangements of two or more separate carburettors | |
Carburettors using more than one fuel |
In patent documents, the following words/expressions are often used as synonyms:
- " Multi stage carburettor" and "Register carburettor"
This place covers:
The arrangement of two or more carburettors on the intake conduits of internal combustion engines and related constructional features.
Combustion air cleaners, air intakes, intake silencers or induction systems specially adapted for, or arranged on, internal combustion engines, F02M 35/00.
This place does not cover:
Apparatus for adding small quantities of secondary fuel | |
Re-atomising condensed fuel or homogenising fuel-air mixture |
Attention is drawn to the following places, which may be of interest for search:
Multi-stage carburettors | |
Apparatus for testing, tuning, or synchronising carburetors | |
Controlling engines by throttling air or fuel and air induction conduits or exhaust conduits. |
This place covers:
Carburettors with means for preventing freezing or overheating of the carburettor.
Apparatus for thermally treating combustion-air, fuel, or fuel-air mixture, F02M 31/00.
Attention is drawn to the following places, which may be of interest for search:
Carburettors with means for facilitating engine's starting or its idling below operational temperatures | |
Heating, cooling, or thermally insulating float apparatus | |
Carburettors having pertinent characteristics not provided for in, or of interest apart from, the apparatus of preceding main groups | |
Apparatus for thermally treating combustion-air, fuel, or fuel-air mixture not being part of a carburettor |
This place covers:
Carburettors with a different type of configuration, like fuel bath carburettors or normal carburettors having special properties, like membrane carburettors.
Low-pressure fuel-injection apparatus, F02M 69/00.
This place does not cover:
Apparatus for treating combustion-air, fuel or fuel-air mixture by catalysts, electric means, magnetism, rays, sound waves or the like | |
Combinations of carburettors and low-pressure fuel-injection apparatus |
Attention is drawn to the following places, which may be of interest for search:
Fuel injection by centrifugal forces |
This place covers:
Residual group for details of carburettors which are not covered by main groups F02M 1/00 – F02M 17/00. This group covers, e.g. metering orifices, spray nozzles, venturis, external control gear.
Low-pressure fuel-injection apparatus, F02M 69/00.
Attention is drawn to the following places, which may be of interest for search:
Carburettors having pertinent characteristics not provided for in, or of interest apart from, the apparatus of preceding main groups | |
Measuring or testing apparatus in general |
In this place, the following terms or expressions are used with the meaning indicated:
Dashpot | Type of damper |
In patent documents, the following words/expressions are often used as synonyms:
- "Carburettor throat" and "Carburettor venturi"
Attention is drawn to the following places, which may be of interest for search:
Atomising in general |
This place covers:
Systems like tanks, vaporizers, pumps and injectors for supplying engines with a non-liquid, mostly gaseous fuel. A gas engine differs from a petrol engine in many ways. The fuel and air are mixed differently. The combustion of a gas/ air mixture is different form a liquid fuel/ air mixture and requires adaptation of the combustion space. Also the energy contents of gas is much lower than that of a liquid fuel. Since (natural) gas is a clean, economical and readily available fuel, many industrial engines are either designed or modified to use gas, as distinguished from gasoline.
Controlling engines characterised by their use of non-liquid fuels, pluralities of fuels, or non-fuel substances added to the combustible mixtures, F02D 19/00.
This place does not cover:
Engines characterised by operating on gaseous fuels; plants including such engines |
Attention is drawn to the following places, which may be of interest for search:
Carburettors adapted to use liquid and gaseous fuels | |
Engines characterised by pre-combustion chambers |
In this place, the following terms or expressions are used with the meaning indicated:
Gaseous fuel | Fuel being a gas at atmospheric pressure and room temperature |
Attention is drawn to the following places, which may be of interest for search:
Apparatus for vaporising liquid fuel by heat | |
Engines with apparatus generating gas from solid fuel, e.g. from wood |
Attention is drawn to the following places, which may be of interest for search:
Carburettors adapted to use liquid and gaseous fuels | |
Carburetting gases in general |
Attention is drawn to the following places, which may be of interest for search:
Discharging liquefied gases in general |
This place covers:
Apparatus for adding secondary air to the air/fuel mixture for varying or keeping constant the air/fuel ratio under varying engine operating circumstances, like acceleration, deceleration, cold start and high torque.
Engine-pertinent apparatus for adding non-fuel substances or small quantities of secondary fuel to combustion-air, main fuel, or fuel-air mixture, F02M 25/00.
This place does not cover:
Engines characterised by air-storage chambers |
Attention is drawn to the following places, which may be of interest for search:
Carburettors with means for influencing, e.g. enriching or keeping constant fuel/air ratio of charge under varying conditions |
In this place, the following terms or expressions are used with the meaning indicated:
Secondary air | air not entering the engine via the main air intake |
This place covers:
Apparatus for adding water, lubricant vapours or fuel vapours to the combustion mixture. These substances are added to improve the combustion properties of the fuel/air mixture and/or make the exhaust gases cleaner or prevent harmful gases from escaping to atmosphere.
Controlling engines characterised by their being supplied with non-airborne oxygen or other non-fuel gas, F02D 21/00
This place does not cover:
Adding secondary air to fuel-air mixture | |
Adding exhaust gases | |
Fuel-injection apparatus operating simultaneously on two or more fuels or on a liquid fuel and another liquid |
Attention is drawn to the following places, which may be of interest for search:
Crankcase ventilating or breathing | |
Exhaust or silencing apparatus having means for purifying, rendering innocuous, or otherwise treating exhaust | |
Methods of operating engines involving adding non-fuel substances or anti-knock agents to combustion air, fuel or fuel-air mixtures of engines |
In patent documents, the following abbreviations are often used:
PCV | Positive Crankcase Ventilation |
Attention is drawn to the following places, which may be of interest for search:
Crankcase ventilating or breathing | |
Positive crankcase ventilation (in general) |
Positive crankcase ventilation [PCV] should also be classified in F01M 13/02.
This place covers:
Apparatus for adding exhaust gases to the combustion mixture. The exhaust gas is added to improve the combustion properties of the fuel/air mixture and/or make the exhaust gases cleaner or prevent harmful gases from escaping to atmosphere.
Attention is drawn to the following places, which may be of interest for search:
Methods of operating engines involving adding exhaust gas to combustion air, fuel, or fuel air-mixtures of engines | |
Actuation of an additional valve for a special application, e.g. for decompression, exhaust gas recirculation or cylinder scavenging | |
Controlling engines characterised by their being supplied with exhaust gas of engine to combustion air | |
Controlling exhaust gas recirculation [EGR] |
In patent documents, the following abbreviations are often used:
EGR | Exhaust Gas Recirculation |
This place covers:
Apparatus for treating combustion-air, fuel or fuel-air mixture by catalysts, electric means, magnetism, (radioactive) rays or sound waves in order to improve the combustibility of the fuel-air-mixture.
Chemical, physical or physic-chemical processes in general; their relevant apparatus, B01J 19/00.
This place does not cover:
Engine-pertinent apparatus for adding non-fuel substances or small quantities of secondary fuel to combustion-air, main fuel or fuel-air mixture | |
Apparatus for thermally treating combustion-air, fuel or fuel-air mixture |
Attention is drawn to the following places, which may be of interest for search:
Other methods of operating engines involving pre-treating of or adding substances to combustion air, fuel or fuel-air mixture for the engine. |
In this place, the following terms or expressions are used with the meaning indicated:
Sonic waves | Sound waves |
This place covers:
Especially when the air is cold the process of vaporisation of fuel into the air is more difficult. Apparatus for re-atomising condensed fuel, e.g. fuel droplets on the inner side of the air intake tube, or homogenising fuel-air mixture, e.g. distribution of fuel and air, help to improve this process.
Modifying induction systems for imparting a rotation to the charge in the cylinder, F02B 31/00.
This place does not cover:
Combined with secondary-air supply | |
Apparatus for thermally treating combustion-air, fuel, or fuel-air mixture | |
Apparatus for collecting and returning condensed fuel |
Attention is drawn to the following places, which may be of interest for search:
Apparatus for adding secondary air to fuel-air mixture |
In this place, the following terms or expressions are used with the meaning indicated:
Secondary air | Air entering the intake via an extra opening |
In patent documents, the following words/expressions are often used as synonyms:
- "Re-atomising " and "Re-evaporating"
Attention is drawn to the following places, which may be of interest for search:
Rotary |
This place covers:
Apparatus for thermally treating combustion-air, fuel or fuel-air mixture for improving the combustion properties of the fuel-air mixture.
Carburettors with heating, F02M 15/00; fuel injection apparatus with heating, F02M 53/00; fuel filters with heating, F02M 35/024; air filters with heating, F02M 35/024.
This place does not cover:
Carburettors with heating, cooling or thermal insulating means for combustion-air, fuel, or fuel-air mixture | |
Apparatus for de-liquefying non-liquid fuels by heating | |
Apparatus having heating means for non-gaseous fuels with low melting point | |
Apparatus characterised by adding hot secondary air to fuel-air mixture | |
Fuel-injection apparatus characterised by having heating, cooling or thermally insulating means |
Attention is drawn to the following places, which may be of interest for search:
Apparatus for treating combustion-air, fuel or fuel-air mixture by catalysts, electric means, magnetism, rays, sound waves or the like |
This place covers:
Other apparatus for treating combustion-air, fuel or fuel-air mixture, like collectors for condensed fuel, coatings of intake passages.
Engine pertinent apparatus for adding for adding non-fuel substances or small quantities of secondary fuel to combustion-air, main fuel or fuel-air mixture, F02M 25/00.
This place does not cover:
Combustion-air cleaners | |
Arrangements for purifying liquid fuel |
Attention is drawn to the following places, which may be of interest for search:
Apparatus for re-atomising condensed fuel or homogenising fuel-air mixture |
F02M 35/00 has relationships with many subject matter areas in the field F02B, F02D and F02M dealing with the air and fuel supply to the internal combustion engine.
Attention is drawn to the following places, which may be of interest for search:
Air cleaners in general | |
Use of kinetic or wave energy of charge in induction systems | |
Modifying induction systems for imparting a rotation to the charge in the cylinder | |
Controlling engines by throttling air or fuel-and-air induction conduits or exhaust conduits |
Attention is drawn to the following places, which may be of interest for search:
Air cleaners in general |
Attention is drawn to the following places, which may be of interest for search:
Crankcase ventilating or breathing | |
Positive crankcase ventilation (in general) |
Positive crankcase ventilation [PCV] should also be classified in F01M 13/02.
This place covers:
Apparatus or systems for feeding liquid fuel from storage containers to carburettors or fuel-injection apparatus, like pumps, fuel conduits and venting means, including fuel return lines.
Examples of places where the subject matter of this place is covered when specially adapted, used for a particular purpose, or incorporated in a larger system:
Fuel supply to apparatus for generating combustion products of high pressure or high velocity |
Attention is drawn to the following places, which may be of interest for search:
Fuel injection apparatus characterized by their conduits and venting means | |
Fuel injection apparatus having a common rail | |
Low-pressure fuel-injection apparatus | |
Arrangements for purifying liquid fuel specially adapted for, or arranged on, internal-combustion engines | |
Centrifuges | |
Control of fuel feeding | |
Feeding liquid fuel to combustion apparatus, in general | |
Fuel supply to apparatus for generating combustion products of high pressure or high velocity |
This place covers:
Feeding liquid fuel from storage containers to carburettors or fuel-injection apparatus by means of driven pumps.
Attention is drawn to the following places, which may be of interest for search:
Pump construction |
This place covers:
Arrangements for purifying liquid fuel specially adapted for, or arranged on, internal-combustion engines, e.g. arrangements in the feeding system that are characterised by filters or filter arrangements.
Attention is drawn to the following places, which may be of interest for search:
Separation, e.g. filters |
This place covers:
Arrangements for purifying liquid fuel specially adapted for, or arranged on, internal-combustion engines characterised by air purging means.
This place does not cover:
Having priming pumps |
Attention is drawn to the following places, which may be of interest for search:
Characterised by means for preventing vapour lock | |
Devices for the removal of gas, e.g. air purge systems |
This place covers:
The physical or geometrical relation of fuel-injection apparatus to an engine or the drive arrangement of a fuel pump.
This place does not cover:
Fuel-injection apparatus in which injection pumps are driven, or injectors are actuated, by the pressure in engine working cylinders, or by impact of engine working piston | |
Arrangements of injectors with respect to engines |
Attention is drawn to the following places, which may be of interest for search:
Fuel-injection apparatus carrying the fuel into cylinders by high-pressure gas | |
Low-pressure fuel-injection | |
Charging fuel-injection engines |
This place covers:
Arrangements of fuel-injection pumps including mounting, i.e. fitting or attaching the pumps to the engines.
This place covers:
Fuel injection apparatus having a driven sequential distributor, combined with or separated from a pump or common pressure source.
Injection pumps for metering and distributing fuel.
This place does not cover:
Common rail or accumulator injection systems |
In patent documents, the following words/expressions are often used with the meaning indicated:
"pump" | "distributor-type pumps". |
This place does not cover:
Radial pistons carried by the distributor |
This place does not cover:
Characterised by means for varying fuel delivery or injection timing |
This place does not cover:
Characterised by means for varying fuel delivery or injection timing |
Attention is drawn to the following places, which may be of interest for search:
Details of valves |
Attention is drawn to the following places, which may be of interest for search:
Details of valves |
Attention is drawn to the following places, which may be of interest for search:
Details of valves |
Attention is drawn to the following places, which may be of interest for search:
Details of valves |
Attention is drawn to the following places, which may be of interest for search:
Details of valves |
This place covers:
Fuel injection apparatuses operating simultaneously on two or more fuels or on a liquid fuel and another liquid, the other liquid can e.g. be an antiknock additive, e.g. water.
One of the fuels may be gaseous.
This group does not contain documents describing gaseous fuel injection system. It is limited to constructional aspects of pumps or injectors.
However fuel injection apparatuses operating simultaneously on two or more fuels, one of them being gaseous, also fall under F02M 43/00.

This place does not cover:
Injection valves for gaseous fuels | |
Engine-pertinent apparatus for adding non-fuel substances or small quantities of secondary fuel to combustion-air, main fuel, or fuel-air mixture | |
Engines operating on gaseous fuel | |
Engines operating on other non-liquid fuels |
This place covers:
Both functional and constructional aspects of injection apparatus. When a pump or injector is specially designed for such injection, then they are classified in these groups.
This place does not cover:
Pumps having such delivery by means of delivery valves |
Attention is drawn to the following places, which may be of interest for search:
Fuel-injectors having such deliveries by means of valves furnished at seated ends with pintle- or plug-shaped extensions | |
Controlling fuel injection |
In patent documents, the following words/expressions are often used as synonyms:
- "rate shaping", "pilot" and "main injection"
This place covers:
Apparatus with each cyclic delivery being separated into two or more parts or if there is "a continuous cyclic delivery with variable pressure", or
in case "each cyclic delivery" is not "separated into two or more parts", i.e. in case injector doesn't close between parts.
This place does not cover:
Two or more closing springs acting on injection-valve, and "each cyclic delivery" is NOT "separated into two or more parts" |
This place covers:
Functional and constructional aspects of injection apparatus.
Attention is drawn to the following places, which may be of interest for search:
Pumps having such delivery by means of delivery valves | |
Fuel-injectors having such deliveries by means of valves furnished at seated ends with pintle- or plug-shaped extensions |
In patent documents, the following words/expressions are often used as synonyms:
- "rate shaping", "pilot" and "main injection"
This place does not cover:
Delivery stroke of piston being divided into two or more parts, e.g. by using specially shaped cams |
This place covers:
Apparatus having more than one injection-valve controlling discharge orifices, even if "each cyclic delivery" is not "separated into two or more parts". Also used if there is "a continuous cyclic delivery with variable pressure".
This place covers:
Apparatus providing a continuous cyclic delivery with variable pressure. "Variable pressure" is understood to include "variable flow rate".
This place does not cover:
If "2 or more closing springs are acting on injection-valve", even if, as here, "each cyclic delivery" is not "separated into two or more parts", but is "a continuous cyclic delivery with variable pressure" | |
If there is "more than one injection valve controlling discharge orifices", even if, as here, "each cyclic delivery" is not "separated into two or more parts", but is "a continuous cyclic delivery with variable pressure" |
This place covers:
Injectors only. The needle valves of these injectors are closed by a fluid pressure, with the exception of injectors classified in F02M 47/046
This place does not cover:
Fuel-injectors actuated by the pressure in engine working cylinders |
Attention is drawn to the following places, which may be of interest for search:
Fuel injectors with spring for needle closing and using fluid for assisting the spring force | |
Solenoid or piezoelectric control valves used in these injectors | |
Fuel injection valves held closed by a cyclically-operated mechanism for a time and automatically opened by fuel pressure | |
Low-pressure fuel-injection |
Attention is drawn to the following places, which may be of interest for search:
Details of valves |
Attention is drawn to the following places, which may be of interest for search:
Details of valves |
This place covers:
Illustrative example of subject matter classified in this group.

Attention is drawn to the following places, which may be of interest for search:
Details of injection valves | |
Details of control valves |
This place covers:
Using fluid, other than the fuel taking part of the injection, for injection-valve actuation. Thus it also covers the case where the actuation fluid is actually fuel that is not taking part of the injection or stems from a separate fuel line, i.e. shown in this example:

This place covers:
Fuel injectors not covered by F02M 47/02 and F02M 47/04.
This place covers:
Illustrative example of subject matter classified in this group.

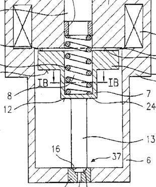
This place covers:
E.g.: electrical wirings, pumps with electric plunger drive and injectors with electric needle drive (solenoid, piezoelectric etc.)
This place does not cover:
Injectors with electric control valves | |
Pumps with electric control valves |
This place does not cover:
Arrangement of electrical wires and connections | |
Fuel injection apparatus characterised by pumps | |
Low pressure fuel injection apparatus characterised by injectors |
This place covers:
Injectors peculiar thereto, with electrical means directly or indirectly via a hydraulic or mechanical linkage operating the valve needle.
Attention is drawn to the following places, which may be of interest for search:
Fluid pressure operated valve needles | |
Injector details not provided for under F02M 51/06 |
This place covers:
Illustrative example of subject matter classified in this group.

This place does not cover:
Valves in general actuated by piezoelectric means | |
Piezoelectric devices; Electrostrictive devices; Magnetostrictive devices; Processes or apparatus peculiar to the manufacture or treatment thereof or of parts thereof; Details thereof |
Attention is drawn to the following places, which may be of interest for search:
Linkage between operating means and valve member |
This place covers:
Injectors featuring hollow actuators, e.g. the needle passing through the hollow space. Example:

This place does not cover:
Valves in general actuated by electromagnetic means |
This place covers:
Illustrative example of subject matter classified in this group.

This place covers:
Illustrative example of subject matter classified in this group.

This place covers:
Illustrative example of subject matter classified in this group.

This place covers:
Illustrative examples of subject matter classified in this group.



This place does not cover:
Armatures entering the winding |
This place covers:
Illustrative example of subject matter classified in this group.

This place covers:
Armatures having a valve attached thereto or integrated therewith.
This place covers:
Illustrative example of subject matter classified in this group.

This place covers:
Illustrative example of subject matter classified in this group.

This place covers:
Illustrative example of subject matter classified in this group.

This place covers:
Illustrative example of subject matter classified in this group.

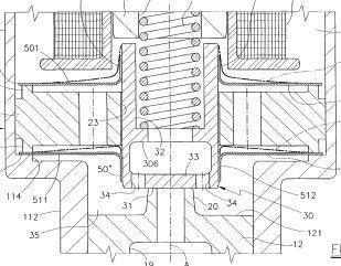
This place covers:
The armature and the valve being allowed to move relatively to each other or not being attached to each other or at least part of valve being flexible.
E.g.:

This place covers:
Illustrative examples of subject matter classified in this group.






In cases where it cannot be easily determined whether the valve body attached to the armature is short or elongated both F02M 51/0667 and F02M 51/0671 should be used.
This place covers:
The armature having an elongated valve body attached thereto, or the armature having an elongated valve body integrated therewith, e.g. the armature constituting in itself an elongated valve body. Eg.:
E.g.:

In cases where it cannot be easily determined whether the valve body attached to the armature is short or elongated both F02M 51/0667 and F02M 51/0671 should be used.
This place covers:
The valve body having cylindrical guiding or metering portions, e.g. with fuel passages. E.g.:

This place covers:
Illustrative example of subject matter classified in this group.

This place does not cover:
If the passage isn't in the cylindrical guiding or metering portion, but in another part of the valve member, e.g. its central part |
This place covers:
Illustrative example of subject matter classified in this group.

In cases where it cannot be easily determined whether the valve body attached to the armature is short or elongated both F02M 51/0667 and the appropriate class/code F02M 51/0671+ should be used.
This place covers:
The armature and the valve being allowed to move relatively to each other or not being attached to each other or at least part of valve being flexible.
Example:

This place covers:
Injectors using electromagnetic operating means and permanent magnets
This place does not cover:
Fuel injection apparatus characterised by the use of movable windings |
This place covers:
Illustrative example of subject matter classified in this group.

This place covers:
Illustrative example of subject matter classified in this group.

This place covers:
Fuel injection apparatus having heating, cooling or thermally-insulating means, including devices to influence the fuel temperature in injectors or common rails
This place does not cover:
Carburettors with heating, cooling or thermally insulating means | |
Apparatus for de-liquefying gaseous fuels by heating | |
Apparatus for heating fuels with low melting point | |
Adding hot secondary air to fuel-air mixture | |
Apparatus for thermally treating combustion-air, fuel, or fuel-air mixture |
This place does not cover:
Carburettors with heating, cooling or thermally insulating means | |
Apparatus for de-liquefying gaseous fuels by heating | |
Apparatus for heating fuels with low melting point | |
Adding hot secondary air to fuel-air mixture | |
Apparatus for thermally treating combustion-air, fuel, or fuel-air mixture |
This place does not cover:
Carburettors with heating, cooling or thermally insulating means | |
Apparatus for de-liquefying gaseous fuels by heating | |
Apparatus for heating fuels with low melting point | |
Adding hot secondary air to fuel-air mixture | |
Apparatus for thermally treating combustion-air, fuel, or fuel-air mixture |
This place does not cover:
Carburettors with heating, cooling or thermally insulating means | |
Apparatus for de-liquefying gaseous fuels by heating | |
Apparatus for heating fuels with low melting point | |
Adding hot secondary air to fuel-air mixture | |
Apparatus for thermally treating combustion-air, fuel, or fuel-air mixture |
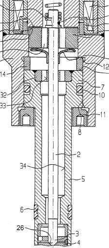
This place covers:
E.g. fuel conduits between pump and injector, their coupling, constructional aspects of accumulators or common rails.
This place does not cover:
Fuel feed and filtering systems | |
Arrangements of conduits between fuel tank and pump and apparatus or systems for feeding liquid fuel from storage containers to carburettors or fuel-injection apparatus | |
General layout of a common rail system with fuel circuit and valving for control of fuel pressure | |
Low pressure fuel rails and fuel circuits | |
Venting in general | |
Pipes in general |
Attention is drawn to the following places, which may be of interest for search:
Sealing of fuel injection apparatus not otherwise provided for | |
Sealing arrangements between injector and engine, e.g. to avoid leakage of combustion chamber gases to the outside through the space between fuel injector and engine | |
Sealings in general | |
Joints in general |
This place covers:
Venting means, i.e. for venting gases.
This place covers:
Specific arrangements or details of fuel passages inside injectors. E.g.
or 
This place covers:
Fuel injectors combined or associate with other devices, e.g. injectors combined with fuel pumps, injectors combined with sensors, injectors combined with engine valves, and injectors combined with plugs.
Attention is drawn to the following places, which may be of interest for search:
Electric drive of fuel pumps | |
Hydraulic drive of reciprocating piston in fuel pumps | |
Pneumatic drive of reciprocating piston in fuel pumps |
This place covers:
Pumps specially adapted for fuel-injection and not provided for in groups F02M 39/00 - F02M 57/00. For further subject-matter covered, see the section "Special rules of classification".
The structure of this group comprises:
- a constructional part (groups F02M 59/02 - F02M 59/18),
- a functional part (groups F02M 59/20 - F02M 59/42), and
- a general part with details, e.g. plunger sealing, valve structure, materials, manufacturing aspects (F02M 59/44 - F02M 59/485).
Attention is drawn to the following places, which may be of interest for search:
Rotary distributor type pumps, dual fluid pumps and electrically driven pumps | |
General features of pumps |
Besides the subject-matter covered by the main group title, this place also covers details of the pumps classified in F02M 41/00, F02M 43/00, F02M 51/00.
This place covers:
Reciprocating piston type pumps with cylinders arranged radially to driving shaft, e.g. in V or star arrangement. "arranged radially" is interpreted to be understood as excluding in-line pumps.
In this place, the following terms or expressions are used with the meaning indicated:
Auxiliary pistons | Pistons that do not provide pressure intensification but act as metering pistons effecting injection. |
Attention is drawn to the following places, which may be of interest for search:
Details of valves |
In this place, the following terms or expressions are used with the meaning indicated:
Overflow passages | any draining passage wherever it is situated, even after (e.g. downstream of) the pump or the delivery valve. Generally, it is the pumping chamber that is drained. |
Attention is drawn to the following places, which may be of interest for search:
Rotary fuel distributor | |
Details of valves |
Attention is drawn to the following places, which may be of interest for search:
Details of valves |
This place covers:
Illustrative example of subject matter classified in this group.

This place covers:
Illustrative example of subject matter classified in this group.

Attention is drawn to the following places, which may be of interest for search:
Supply of excess fuel |
Attention is drawn to the following places, which may be of interest for search:
Details of valves | |
Valves in general |
Attention is drawn to the following places, which may be of interest for search:
Solenoid valves that control fuel amount delivered | |
Valve details |
This place covers:
Constructional parts (F02M 61/02-F02M 61/12) and a general, details part (F02M 61/16-F02M 61/205).
This place does not cover:
Mounting of injectors with respect to engines |
This place covers:
Fuel-injectors not provided for in groups F02M 39/00 - F02M 57/00 or F02M 67/00 having valves, e.g. having a plurality of valves in series.
Attention is drawn to the following places, which may be of interest for search:
Valves in general |
This place covers:
Means for adjusting injection-valve lift during operation of the valve, in order to adjust it to the operating conditions and requirements of the moment.
Attention is drawn to the following places, which may be of interest for search:
For fuel feed systems | |
Edge filtering elements | |
Filters adapted for location in special places, e.g. in pipe-lines, pumps |
This place covers:
Assembling; Disassembling; Manufacturing and Adjusting in the sense of calibrating during manufacture.
Attention is drawn to the following places, which may be of interest for search:
The valves opening in direction of fuel flow |
This place covers:
Discharge orifices arranged so that the jets are flowing therethrough at an angle to the normal axis of the injector.
This place covers:
Illustrative example of subject matter classified in this group.

This place covers:
Discharge orifices having variable cross section, e.g. divergent, convergent or stepwise changing cross section. E.g.:

This place covers:
E.g. the exact size, diameter is given, or a special relationship between a diameter and a length is given.
This place does not cover:
Fuel injectors of the accumulator type having a spring whose force assists the hydraulic closing of the injection valve |
This place covers:
Most active subgroup in this group is F02M 63/0225 dealing with the common rails. The groups F02M 63/0003 - F02M 63/0008 include injection system having a fuel pressure source and an on/off valve in each fuel conduit to injector. These systems are different from accumulator type fuel injectors classified in F02M 47/02. Also these valves have different function than the control valves in the fuel injection pumps defined by the groups F02M 59/36-F02M 59/366.
This place covers:
Valves other than fuel injection valves, i.e. fuel injectors, whenever relevant.
This place does not cover:
Metering fuel by means of throttling valves in fuel-injection pumps | |
Metering fuel by means of valves in fuel-injection pumps | |
Valves used in fuel-injection pumps only and not provided for in F02M 39/00 - F02M 57/00, e.g. inlet or outlet check valves for fuel-injection pumps | |
Valves in general |
Attention is drawn to the following places, which may be of interest for search:
Valves in general |
Not to be used to characterise fuel injection valves, i.e. fuel injectors, unless they have pertinent characteristics or have details, component parts or accessories not provided for in F02M 61/00, F02M 51/06, or Indexing Codes F02M 2200/00.
The valves in F02M 63/0012 may be part of fuel injection apparatus for which there exist specific classes elsewhere, and which are thus classified both in that specific class and in F02M 63/0012, if the valve has a relevant feature per se.
This place does not cover:
Electromagnetic valves per se |
Attention is drawn to the following places, which may be of interest for search:
Electromagnetic valves per se |
This place covers:
The fixed armature is the magnetic core that does not move.
In patent documents, the following words/expressions are often used as synonyms:
- "pole piece", "magnetkern" and "stator"
This place covers:
Illustrative example of subject matter classified in this group.

This place covers:
Illustrative example of subject matter classified in this group.

This place covers:
Illustrative example of subject matter classified in this group.

This place covers:
Valve unit controlling more than one function.
This place covers:
Valves that open when a specific pressure has been reached.
This place does not cover:
Pure check valves |
Attention is drawn to the following places, which may be of interest for search:
Pressure relief valves in general |
In patent documents, the following words/expressions are often used as synonyms:
- " pressure limiting valve", "pressure safety valves" and "overpressure safety valves"
This place does not cover:
Fuel pump delivery valves | |
Fuel pump inlet valves of the check valve type | |
Pressure relief valves |
Attention is drawn to the following places, which may be of interest for search:
Check valves in general |
Attention is drawn to the following places, which may be of interest for search:
Varying fuel delivery of a fuel pump in quantity or timing by throttling of passages to pumping elements or of overflow passages |
This place does not cover:
Safety devices acting on engine fuel system upon lubricant pressure failure |
Attention is drawn to the following places, which may be of interest for search:
Constructional details of common rails |
This place covers:
Testing of fuel injection apparatus.
Testing injection timing.
Measuring injector spray angle
Quality check of fuel-injection apparatus.
Monitoring the function of the fuel injection apparatus in situ, e.g. for monitoring injection timing or injection quantity, or malfunction detection.
This place does not cover:
Testing of ignition | |
Measuring fuel consumption |
Attention is drawn to the following places, which may be of interest for search:
Cleaning hollow articles by methods or apparatus specially adapted thereto | |
Safety or indicating devices for abnormal conditions |
Attention is drawn to the following places, which may be of interest for search:
Using compressed air for low-pressure fuel-injection apparatus: | |
Control aspects of fuel injection by means of high-pressure gas: |
These groups relate mostly to old technology, however there are some recent inventions. These groups can overlap with the group F02M 69/08. The classification can be made in both groups.
This place covers:
Low pressure fuel injection apparatuses including such apparatus with both continuous and intermittent injection, and apparatus injecting different types of fuel. Low pressure fuel injection normally means gasoline fuel injection. However in the recent years with common rail technology development the gap between diesel fuel injection and gasoline fuel injection has become very narrow. Therefore, it is more practical to classify the details of gasoline fuel injection apparatus just in the groups F02M 41/00-F02M 63/00. In specific cases and the injection of fuel in the air inlet manifold, the inventions are classified in the subgroups of F02M 69/00.
Attention is drawn to the following places, which may be of interest for search:
Details of gasoline fuel injection apparatus | |
Electrically-operated | |
High pressure gasoline common rail fuel injection systems |
Low pressure fuel injection apparatuses means normally gasoline fuel injection. However in the recent years with common rail technology development the gap between diesel fuel injection and gasoline fuel injection has become very narrow. Therefore, it is more practical to classify the details of gasoline fuel injection apparatus just in the groups F02M 41/00-F02M 63/00. In specific cases and the injection of fuel in the air inlet manifold, the inventions are classified in the subgroups of F02M 69/00.
In this place, the following terms or expressions are used with the meaning indicated:
Low pressure fuel injection | fuel injection in which the fuel-air mixture containing fuel thus injected will be substantially compressed in the compression stroke of the engine. Traditionally, the concept of "low-pressure" fuel-injection is associated with spark ignition engines, where the mixture is compressed. |
High-pressure fuel-injection | fuel-injection being associated with compression ignition engines, where fuel is injected after compression of the air. |
This place does not cover:
Low-pressure fuel-injection apparatus comprising a fuel-displaced free-piston for intermittently metering and supplying fuel to injection nozzles | |
Low-pressure fuel-injection apparatus having cyclically-operated valves connecting injection nozzles to a source of fuel |
This place covers:
The injection nozzle opening into the engine cylinder for direct injection, i.e. in-cylinder injection.
This place covers:
One injector injecting fuel in the intake plus one injector injecting directly into the combustion chamber.
This place does not cover:
High-pressure fuel-injection with fuel-displaced auxiliary pistons |
This place does not cover:
High-pressure fuel injection apparatus |
This place does not cover:
Electrically-operated injectors |
Attention is drawn to the following places, which may be of interest for search:
At acceleration |
This place does not cover:
Constructional details of a throttle valve housing having a fluid by-pass |
Attention is drawn to the following places, which may be of interest for search:
Controlling the bypass for idle speed control |
Attention is drawn to the following places, which may be of interest for search:
Means for enriching charge on sudden air throttle opening of carburettors |
Attention is drawn to the following places, which may be of interest for search:
Rotary valves for fuel-injection |