CPC Definition - Subclass B21F
This place covers:
Methods as well as devices relating to working or processing of metal wire, i.e. modifying, not manufacturing the wire:
- Wire working methods characterised by their technology, e.g. bending or coiling. These aspects are covered by main groups B21F 1/00 - B21F 23/00.
- Wire working methods characterised by the product made, e.g. barbed wire or wire network. These aspects are covered by main groups B21F 25/00 - B21F 45/00.
- Miscellaneous wire working and processing. These aspects are covered by main group B21F 99/00.
This place does not cover:
Metal rolling methods of mills for making semi-finished products of solid or profiled cross-section, for rolling wire or material of like small cross-section | |
Manufacture of metal sheets, wire, rods, tubes, profiles or like semi-manufactured products otherwise than by rolling; Auxiliary operations used in connection with metal-working without essentially removing material | |
Manufacture of metal sheets, wire, rods, tubes or like semi-manufactured products by drawing | |
Devices for straightening wire or like work combined with or specially adapted for use in connection with drawing or winding machines or apparatus | |
Manufacture of rods or wire by metal working | |
Devices for cleaning metal products combined with or specially adapted for use with machines or apparatus provided in B21C | |
Winding-up, coiling or winding-off metal wire, metal band or other flexible metal material characterised by features relevant to metal processing only |
Examples of places where the subject matter of this place is covered when specially adapted, used for a particular purpose, or incorporated in a larger system:
Attention is drawn to the following places, which may be of interest for search:
Personal adornments, e.g. jewellery; Coins | |
Working or processing of sheet metal or metal tubes, rods or profiles without essentially removing material; Punching metal | |
Making needles, pins or nails of metal | |
Making metal chains | |
Bundling articles | |
Making alloys containing metallic or non-metallic fibres or filaments | |
Building | |
Semiconductor devices; Electric solid-state devices not otherwise provided for |
This place covers:
Methods or devices for bending wire, e.g. forming discrete angles or straightening to remove distortions.
Illustrative example of subject matter classified in this place:

This place covers:
Methods or devices for coiling wire, e.g. forming a continuous angle along the wire length.
Illustrative example of subject matter classified in this place:

Attention is drawn to the following places, which may be of interest for search:
Making springs from wire |
This place covers:
Methods or devices for enlarging a wire cross-section by applying an axial force.
Illustrative example of subject matter classified in this place:

Examples of places where the subject matter of this place is covered when specially adapted, used for a particular purpose, or incorporated in a larger system:
Upsetting or forming heads in the making of pins, nails or the like |
Attention is drawn to the following places, which may be of interest for search:
Methods for forging, hammering or pressing to perform upsetting |
This place covers:
Methods or devices for continuously twisting of wire, i.e. twisting of a wire of theoretically unlimited length.
Illustrative example of subject matter classified in this place:

This place does not cover:
Connecting wire with wire without additional connecting element or material, e.g. by twisting |
Attention is drawn to the following places, which may be of interest for search:
Jacketing or reinforcing articles with wire | |
Wire-working in the manufacture of flexible shafts or hollow conduits, e.g. for Bowden mechanisms | |
Producing bead-rings or bead-cores from plastics or from substances in a plastic state | |
Electrically-conductive connections between two or more conductive members in direct contact effected solely by twisting | |
Processes or apparatus specially adapted for manufacturing, assembling, maintaining or repairing dynamo-electric machines |
This place covers:
Methods or devices for straining wire, i.e. tensioning wire with or without plastic deformation.
Illustrative example of subject matter classified in this place:

Examples of places where the subject matter of this place is covered when specially adapted, used for a particular purpose, or incorporated in a larger system:
Straining or prestressing wires for concrete |
Attention is drawn to the following places, which may be of interest for search:
Straightening wire | |
Hand-held tools for applying straps having preformed connecting means, e.g. cable ties | |
Connections or attachments, e.g. turnbuckles, adapted for straining of cables, ropes or wire |
This place covers:
Methods or devices for cutting wire.
Illustrative example of subject matter classified in this place:

Attention is drawn to the following places, which may be of interest for search:
Cutting wire networks | |
Machines or devices for shearing or cutting profiled stock | |
Hand-held metal-shearing or metal-cutting devices | |
Hand-operated metal-shearing devices for cutting wires | |
Hand-held cutting tools not otherwise provided for | |
Hand cutting tools with two jaws which come into abutting contact | |
Hand-held cutting tools using wires as cutting means | |
Cutting |
This place covers:
Methods or devices for splitting wire, i.e. separating wire portions lengthwise.
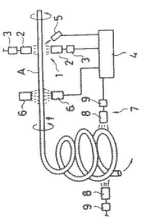
Illustrative example of subject matter classified in this place:
1a.

1b.

1c.
![]()
This place covers:
Methods or devices for connecting wire to wire or other metallic material; connecting parts by means of wire.
Illustrative example of subject matter classified in this place:

This place does not cover:
Straining wire by tools adapted also for making connections | |
Jacketing or reinforcing articles with wire | |
Making wire network, i.e. wire nets | |
Making bands, e.g. bracelets, from wire |
Examples of places where the subject matter of this place is covered when specially adapted, used for a particular purpose, or incorporated in a larger system:
Connecting or disconnecting of bond wires in semiconductors packages |
Attention is drawn to the following places, which may be of interest for search:
Soldering or unsoldering; Welding; Cladding or plating by soldering or welding; Cutting by applying heat locally, e.g. flame cutting; Working by laser beam | |
Applying and securing binding material around articles or groups of articles, e.g. using strings, wires, strips, bands or tapes |
This place covers:
- Methods or devices for jacketing articles with wire, i.e. winding one or more wires around an article (which article can be a wire);
- Reinforcing articles with wire, e.g. reinforcing paper with wire.
Illustrative example of subject matter classified in this place:

Attention is drawn to the following places, which may be of interest for search:
Winding, coiling or depositing filamentary material | |
Methods, apparatus or devices for covering or wrapping cores by winding webs, tapes or filamentary material, not otherwise provided for | |
Making alloys containing metallic or non-metallic fibres or filaments by forming the fibres or filaments into a preformed structure from wires or filaments only | |
Braiding or manufacture of lace, including bobbin-net or carbonised lace; Braiding machines; Braid; Lace |
This place covers:
Methods or devices for coating metal wires, e.g. by using a metal band.
Illustrative example of subject matter classified in this place:

This place does not cover:
Coating indefinite lengths of metal or non-metal material with a metal coating | |
Soldering or unsoldering; Welding; Cladding or plating by soldering or welding; Cutting by applying heat locally, e.g. flame cutting; Working by laser beam |
Attention is drawn to the following places, which may be of interest for search:
Coating metallic material; Coating material with metallic material; Chemical surface treatment; Diffusion treatment of metallic material; Coating by vacuum evaporation, by sputtering, by ion implantation or by chemical vapour deposition, in general; Inhibiting corrosion of metallic material or incrustation in general | |
Electroplating |
This place covers:
Methods or devices for feeding wire.
Illustrative example of subject matter classified in this place:

Attention is drawn to the following places, which may be of interest for search:
Guiding wire | |
Arrangements for moving, supporting or positioning work specially adapted for metal rolling mills | |
Pinch roll sets for moving, supporting or positioning work specially adapted for metal rolling mills | |
Feeding, positioning or storing devices combined with, or arranged in, or specially adapted for use in connection with, apparatus for working or processing sheet metal, metal tubes or metal profiles; Associations therewith of cutting devices | |
Forwarding filamentary material |
This place covers:
Methods or devices for making barbed wires or barbed tapes.
Illustrative example of subject matter classified in this place:
1a.

1b.

Attention is drawn to the following places, which may be of interest for search:
Barbed-wire obstacles |
This place covers:
Methods or devices for making wire networks, e.g. fences or reinforcements for concrete.
Illustrative example of subject matter classified in this place:

This place does not cover:
Making meshed-ring network from wire | |
Making bands, e.g. bracelets, from wire |
Attention is drawn to the following places, which may be of interest for search:
Connecting wire to wire or other metallic material or objects | |
Making fencing or like material made partly of wire | |
Wire-working in the manufacture of other particular articles | |
Bending wire nets | |
Soldering or unsoldering; Welding; Cladding or plating by soldering or welding; Cutting by applying heat locally, e.g. flame cutting; Working by laser beam | |
Woven fabrics; Methods of weaving; Looms | |
Reinforcing elements, e.g. for concrete | |
Fencing |
Attention is drawn to the following places, which may be of interest for search:
Manufacturing of metallic grids or mats by resistance spot welding |
This place covers:
Methods or devices for making structures partly of wire and partly of other elements, e.g. fences reinforced with bars.
Illustrative example of subject matter classified in this place:

This place does not cover:
Making barbed wire |
Attention is drawn to the following places, which may be of interest for search:
Making wire network, i.e. wire nets |
This place covers:
Methods or devices for making networks, e.g. fences obtained by interlacing rings of metal wires or fences for securing rocks.
Illustrative example of subject matter classified in this place:

Interlaced rings can be of non-circular shape.
This place covers:
Methods or devices for handling or processing wire fabrics, e.g. connecting or coiling wire products.
Illustrative example of subject matter classified in this place:

Attention is drawn to the following places, which may be of interest for search:
Bending wire nets | |
Upholstery |
This place covers:
- Methods or devices for making springs from wire;
- Miscellaneous spring manufacturing processes, not necessarily starting from wire, not otherwise provided for.
Illustrative example of subject matter classified in this place:

Attention is drawn to the following places, which may be of interest for search:
Coiling wire into particular forms | |
Manufacture of resilient rings from wire | |
Springs |
This place covers:
Methods or devices for the manufacture of rings from wire.
Illustrative example of subject matter classified in this place:

Examples of places where the subject matter of this place is covered when specially adapted, used for a particular purpose, or incorporated in a larger system:
Making metal chains | |
Producing bead-rings or bead-cores for tyres |
This place covers:
Methods or devices for the manufacture of wheel spokes from wire.
Illustrative example of subject matter classified in this place:

This place covers:
Methods or devices for the manufacture of umbrella frames or members from wire.
Illustrative example of subject matter classified in this place:

This place covers:
Methods or devices for the manufacture of bands or bracelets from wire.
Illustrative example of subject matter classified in this place:

Examples of places where the subject matter of this place is covered when specially adapted, used for a particular purpose, or incorporated in a larger system:
Making metal chains |
This place covers:
Methods or devices for the manufacture of all wire products if neither classifiable in a subgroup of B21F 45/00 nor in a group ranging from B21F 25/00 - B21F 43/00 nor in a specific product subclass.
Illustrative example of subject matter classified in this place:

This place does not cover:
Examples of places where the subject matter of this place is covered when specially adapted, used for a particular purpose, or incorporated in a larger system:
Bond wires as interconnections or connections in semiconductor packages |
This place covers:
Subject matter not provided for in other groups of this subclass concerning the working or processing of wire, e.g. heat treatments specially adapted for wires.