CPC Definition - Subclass A41B
This place covers:
Underwear covers shirts, hosiery, baby linen and hankerchiefs.
In particular, the following subjects are classified as follows:
- Button-down shirts or formal dress shirts are classified in A41B 1/00.
- Undershirts are classified in A41B 9/06.
- Bodices, e.g. baby onesies, are classified in A41B 13/08.
- Overalls, e.g. coveralls or bodysuits for baby, are classified in A41B 13/005.
Attention is drawn to the following places, which may be of interest for search:
Outerwear, dressing-gowns, bathing costumes and pyjamas | |
Jackets, e.g. dress jackets or sport coats | |
Waistcoats, vests, jerseys, sweaters and t-shirts | |
Blouses, e.g. women's tops | |
Overalls, e.g. coveralls or Bodysuits (for adult) | |
Leggings, e.g. chaps |
In this place, the following terms or expressions are used with the meaning indicated:
Dressing-gown | A loose gown worn while making one's toilet or when in dishabille. |
Shirt | An upper body garment having a collar and an opening at the front which is fastened closed via fastening elements (e.g. buttons) disposed adjacent the opening, also referred to as a men's dress shirt, button-up shirt or button-down shirt |
Chemise | Undergarment with shoulder strap worn beneath dress or the like, also referred to as slip |
Bodices | Baby garment usually with sleeves but leaving the legs uncovered and fastening means at the crotch, also referred to as a onesie |
Jacket | Lightweight long-sleeve garment typically having a collar and lapel extending below the front sides of the collar providing a central opening between the lapels, also referred to as a dress jacket or sport coat |
Waistcoat | Upper body garment without sleeves also referred to as a vest in American English |
Vest | T-shirt or casual top with or without sleeves |
Jersey | Knitted garment with or without sleeves, also referred to as a sweater in American English |
Sweater | Garment typically worn for playing team sports, also referred to as a jersey in American English |
Blouse | Shirt having features specific to women, also referred to as a women's top |
Overalls | A one-piece garment having an upper body portion (e.g. short or long sleeve top, bib secured by shoulder straps, etc.) and lower body portion (e.g. pants, shorts, etc.), also referred to as coveralls or bodysuits |
Leggings | Lower body overgarment with or without seats for protecting a garment worn underneath, also referred to as chaps |
This place covers:
Illustrative example of subject matter classified in this group.

Attention is drawn to the following places, which may be of interest for search:
Details of shirt fronts or front inserts |
This place covers:
Shirts which are adapted at the lower end to pass between the legs.
Illustrative example of subject matter classified in this group.

Attention is drawn to the following places, which may be of interest for search:
Trouser supports attached to the shirt, waistcoat |
This place covers:
Illustrative example of subject matter classified in this group.

This place covers:
Constructional details of shirts such as sleeves, pockets and seams that may also be used for accessories which can be attached to shirts.
Illustrative example of subject matter classified in this group.

This place covers:
Closures in shirts, not on collars or neckbands.
Illustrative example of subject matter classified in this group showing a dress shirt with switchable buttons.

Attention is drawn to the following places, which may be of interest for search:
Closures for collars or neckbands |
This place covers:
Illustrative example of subject matter classified in this group.

Attention is drawn to the following places, which may be of interest for search:
Collars for shirts | |
Protectors for collars of outerwear | |
Cloth collars for outerwear |
Neckbands deal with the vertical part touching the neck and are classified in A41B 1/12.
Collars deal with the folded part over the neckband and are classified in A41B 3/00.
In this place, the following terms or expressions are used with the meaning indicated:
Neckband | The part of the garment that encircles the neck. |
Collar | The part of the garment which is folded over the neckband. |
This place covers:
Illustrative example of subject matter classified in this group.

This place covers:
Illustrative example of subject matter classified in this group.

This place covers:
Shirt-fronts and details of shirt-fronts, i.e. fastening of front inserts.
Illustrative example of subject matter classified in this group.

This group covers shirts with front inserts, whereas shirts per se are classified in A41B 1/02.
This place covers:
Illustrative example of subject matter classified in this group.

This place covers:
Illustrative example of subject matter classified in this group.

This place covers:
Illustrative example of subject matter classified in this group showing an expandable shirt collar.

Attention is drawn to the following places, which may be of interest for search:
Cloth collars for outerwear |
Vertical parts touching the neck are classified in A41B 1/12.
Folded parts over the neckband are classified in A41B 3/00.
In this place, the following terms or expressions are used with the meaning indicated:
Neckband | The part of the garment that encircles the neck. |
Collar | The part of the garment which is folded over the neckband. |
This place covers:
Illustrative example of subject matter classified in this group.

This place covers:
Illustrative example of subject matter classified in this group.

This place covers:
Illustrative example of subject matter classified in this group.

This place covers:
Illustrative example of subject matter classified in this group.

Attention is drawn to the following places, which may be of interest for search:
Neckties provided with holding devices | |
Neckties with ready-made knot with holding devices | |
Neckties with knot tied by the user attachable to collar |
This place covers:
Illustrative example of subject matter classified in this group.

This place covers:
Protectors for collars of shirts.
Illustrative example of subject matter classified in this group.

Attention is drawn to the following places, which may be of interest for search:
Protectors for collars of outerwear |
This place covers:
Illustrative example of subject matter classified in this group.

Attention is drawn to the following places, which may be of interest for search:
Folding collar or cuff edges while manufacturing |
This place covers:
Illustrative example of subject matter classified in this group.

Attention is drawn to the following places, which may be of interest for search:
Fixation of watches on clothing |
This place covers:
Illustrative example of subject matter classified in this group.

This place covers:
Illustrative example of subject matter classified in this group.

This place covers:
Illustrative example of subject matter classified in this group.

This place covers:
Illustrative example of subject matter classified in this group.

This place covers:
Illustrative example of subject matter classified in this group.

This place covers:
Illustrative example of subject matter classified in this group.

This place covers:
Illustrative examples of subject matter classified in this group.
Illustrative example 1: Article of clothing providing increased air circulation

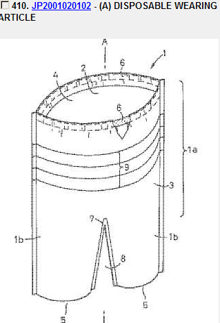
Illustrative example 2: Disposable thermal underwear

Attention is drawn to the following places, which may be of interest for search:
Selection of special materials for underwear | |
Under-arm shields for outerwear and underwear, usually for absorbing sweat |
This place covers:
Illustrative example of subject matter classified in this group.

This place covers:
Illustrative example of subject matter classified in this group.

This place covers:
Illustrative example of subject matter classified in this group.

This place covers:
Illustrative example of subject matter classified in this group.

This place covers:
Illustrative example of subject matter classified in this group.

Attention is drawn to the following places, which may be of interest for search:
Incontinence pants | |
Absorbent pants |
This place covers:
Illustrative example of subject matter classified in this group.

This place covers:
Illustrative example of subject matter classified in this group.

Attention is drawn to the following places, which may be of interest for search:
Menstrual panties | |
Garments adhered to body to support absorbent pads |
This place covers:
An undershirt is an upper body garment worn underneath a shirt. A chemise is an undergarment/slip with shoulder straps worn beneath a dress or the like.
Illustrative example of subject matter classified in this group.

Attention is drawn to the following places, which may be of interest for search:
Button down shirts | |
Petticoats, e.g. lower body slips | |
T shirts | |
Blouses | |
Pyjamas |
This place covers:
Illustrative example of subject matter classified in this group.

This place does not cover:
Panti-hose, body-stockings |
This place covers:
Slips/underskirts that only cover the lower body.
A skirt or dress worn under a garment usually to shape the garment worn thereover (e.g. lift the skirt or dress to create a bell-shape) or provide warmth.
Illustrative example of subject matter classified in this group.

Slips that also cover the upper body or hang from the shoulders are covered by A41B 9/06.
In this place, the following terms or expressions are used with the meaning indicated:
Petticoat | A light loose undergarment (originally of calico, flannel, silk, etc.; now frequently of synthetic material) hanging from the shoulders or waist, and worn by a woman or girl under a dress or skirt. |
This place covers:
Textile protective undergarments.
Underwear having integral odor/sweat protection means.
Illustrative examples of subject matter classified in this group.


Absorbent pads for external or internal application to the body and supporting or fastening means therefor are classified in A61F 13/15.
Absorbent pads attaching to the body are classified in A61F 13/82.
Additives (for odour) of absorbent pads are classified in A61F 2013/8408.
Separate under-arm shields for underwear or outerwear, usually for absorbing sweat, are to be classified in group A41D 27/13.
Underwear having shock protecting means are to be classified in group A41B 9/12 and also in group A41D 13/05; i.e. A41D 13/0506 if protection is for the hip.
This place does not cover:
Protective undergarments combined with swabs or absorbent pads or specially adapted for supporting them |
Attention is drawn to the following places, which may be of interest for search:
Absorbent pads for breast / torso | |
Body deodorants | |
Textiles containing perfume or deodorants |
This place covers:
Illustrative example of subject matter classified in this group.

Attention is drawn to the following places, which may be of interest for search:
Waistbands for trousers or skirts |
This place covers:
Illustrative example of subject matter classified in this group.

Attention is drawn to the following places, which may be of interest for search:
Shoulder-straps in general |
This place covers:
Illustrative example of subject matter classified in this group.

The term sock as used in this subclass (see Glossary) has a distinct meaning from the one used in group A43B 17/00, where sock means an insole to be put in a shoe to make it fit better.
This place does not cover:
Compression elastic stockings for curative purposes |
Attention is drawn to the following places, which may be of interest for search:
Sporting garments with embedded elastic bands (but no compression therapeutic effect) | |
Insoles, inside shoes (also called socks) | |
Orthopaedic devices for feet | |
Bandages for feet | |
Massage by own weight | |
Devices for stimulating reflex points acupuncture, shiatsu | |
Knitting stocking |
In this place, the following terms or expressions are used with the meaning indicated:
Sock | A short stocking covering the foot and usually reaching to the calf of the leg; half-hose. |
This place covers:
Illustrative example of subject matter classified in this group.

This place covers:
Illustrative example of subject matter classified in this group.

This place does not cover:
Marking laundry |
This place covers:
Illustrative example of subject matter classified in this group.


This place covers:
Illustrative example of subject matter classified in this group.


This place covers:
Illustrative example of subject matter classified in this group.

This place covers:
Illustrative example of subject matter classified in this group.

This place does not cover:
Hosiery with shinguards |
This place covers:
Illustrative example of subject matter classified in this group.

This place does not cover:
Hosiery with anti slip coating | |
Bathing shoes, socks for walking around swimmingpools, spas | |
Shoes with toes spreader | |
Profiled soles | |
Insoles, inside shoes (also called socks) | |
Swim aids for feet | |
Surfer feet devices | |
Water shoes |
Difference between A41B 11/007 & A41B 11/008:
For hosiery with anti-slip coating, i.e. very thin usually laminated layer or discrete coating portions, classify in A41B 11/008
For hosiery with added sole, i.e. added sole separately made of rubber or leather, classify in A41B 11/007.
It is obvious that an added sole will have anti-slip properties but it cannot be considered a coating and should not be classed in A41B 11/008, but in A41B 11/007 alone.
In this place, the following terms or expressions are used with the meaning indicated:
This place covers:
Illustrative example of subject matter classified in this group.

This place does not cover:
Hosiery with an added sole | |
Coating with silicone | |
Fabric treatment silicone |
Difference between A41B 11/007 & A41B 11/008:
For hosiery with anti-slip coating, i.e. very thin usually laminated layer or discrete coating portions, classify in A41B 11/008
For hosiery with added sole, i.e. added sole separately made of rubber or leather, classify in A41B 11/007.
It is obvious that an added sole will have anti-slip properties but it cannot be considered a coating and should not be classed in A41B 11/008, but in A41B 11/007 alone.
This place covers:
Illustrative example of subject matter classified in this group.

This place covers:
Socks with protection for the feet should be classified here and in A41D 13/06.
Comprises cushioning.
Illustrative example:

This place covers:
Illustrative example of subject matter classified in this group.

This place covers:
Illustrative example of subject matter classified in this group.

This place covers:
Illustrative examples of subject matter classified in this group.
Illustrative example 1: Multipurpose open-toed stocking

Illustrative example 2: Improvements in or relating to socks or stockings

Attention is drawn to the following places, which may be of interest for search:
Gaiters, spats | |
Overshoes | |
Hosiery with shin guards |
Stockings without foot parts worn under garments or shoes are classified in A41B 1/08.
Gaiters/Spats worn over garments and/or shoes are classified in A41D 17/00.
In this place, the following terms or expressions are used with the meaning indicated:
Gaiter | A covering of cloth, leather, etc. for the ankle, or ankle and lower leg. |
Spat | A short gaiter worn over the instep and reaching only a little way above the ankle, usually fastened under the foot by means of a strap. |
This place covers:
Socks covering only foot parts, e.g. footies/shoe liners.
Illustrative example of subject matter classified in this group.

This place does not cover:
Protectors to be put in footwear |
In this place, the following terms or expressions are used with the meaning indicated:
Footie/ shoe liner | Socks covering only foot parts. |
This place covers:
Illustrative example of subject matter classified in this group shown as a sport sock for supporting football shin guards, the sock having two cords, fixed by cord stops, arranged in horizontal sleeves, one below the knee and another at the ankle, the cords exiting at the rear through eyelets.

This place does not cover:
Reinforcements of the top of hosiery/stockings | |
Stocking suspenders |
When suspension done by a different device from the stocking, classify in A41F 11/00 and lower groups.
When suspension is integral with stocking classify in A41B 11/12 and lower groups.
When stocking is adapted to allow separate garter to fasten, classify in A41F 11/00 and lower groups and as additional information in A41B 11/12.
Comprises cord inside sleeve at upper end.
This place covers:
Illustrative example of subject matter classified in this group.

This place covers:
Illustrative example of subject matter classified in this group.

For cord inside sleeve at upper end classify in A41B 11/12.
This place covers:
Illustrative examples of subject matter classified in this group.


This place covers:
Illustrative example of subject matter classified in this group.

This place covers:
Illustrative example of subject matter classified in this group.

This place does not cover:
Coating silicone | |
Fabric treatment silicone |
This place covers:
Illustrative examples of subject matter classified in this group.
Illustrative example 1: Easy convenience panti-hose

Illustrative example 2: Detachable multisectional body stocking hosiery

Underwear panti-hose and underwear body stockings belong to A41B 11/14 and lower groups.
Sporting tights belong to A41D 1/08 and lower groups.
Professional or sportive protective overalls belong to A41D 13/02.
Sportive garments with embedded elastic bands but no compression belong to A41D 31/18.
Compression stockings belong to A61F 13/08.
Attention is drawn to the following places, which may be of interest for search:
Sportive tights | |
Professional or sportive protective overalls |
This place covers:
Illustrative examples of subject matter classified in this group.


This place covers:
Illustrative examples of subject matter classified in this group.


This place covers:
Clothing or other cloth articles for an infant such as infant underwear or bibs, etc.
Illustrative example of subject matter classified in this group.

This place does not cover:
Patients' garments specially adapted for babies | |
Absorbent pads, e.g. sanitary towels, swabs or tampons for external or internal application to the body |
Attention is drawn to the following places, which may be of interest for search:
Children's Clothing | |
Nursery furniture, devices for guiding / supporting children | |
Devices for preventing children from falling out of bed, restraining devices |
This place covers:
Illustrative example of subject matter classified in this group.


Attention is drawn to the following places, which may be of interest for search:
Adult overalls |
This place covers:
Illustrative example of subject matter classified in this group.

This place does not cover:
Baby's pants combined with swabs or absorbent pads or specially adapted for supporting them |
This place covers:
Sleeping-bags with the shape of a garment used as pyjamas for babies.
Illustrative example:

Attention is drawn to the following places, which may be of interest for search:
Sleeping-bags with the shape of a garment used as pyjamas for adults | |
Blankets | |
Travelling baby blanket | |
Sleeping bag |
This place covers:
Baby garment usually with sleeves but leaving the legs uncovered and fastening means at the crotch.
Illustrative example of subject matter classified in this group.

This place covers:
Illustrative example of subject matter classified in this group.

Attention is drawn to the following places, which may be of interest for search:
Toilet/cosmetic protecting mantles, shoulder-shields, bibs (hairdresser) | |
Napkins attachable to clothing | |
Napkins with separate holding devices | |
Lap trays | |
Surgical drapes |
When protection is for children/babies, classify in bibs: A41B 13/10. When protection is for adults, classify in aprons A41D 13/04.
For protectors of neckties classify in A41D 25/00.
This place covers:
Illustrative example of subject matter classified in this group.

This place covers:
Illustrative example of subject matter classified in this group.

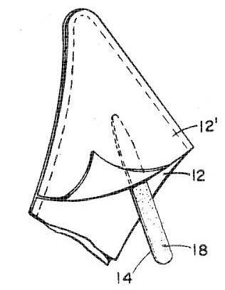
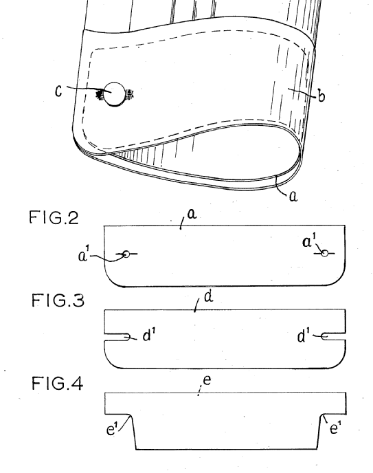
This place covers:
Illustrative example of subject matter classified in this group.
Illustrative example 1: Handkerchief with improved hygiene, comprising two partially connected layers for filtering out virus-containing aerosols expelled during sneezing.

Illustrative example 2: Handkerchief with finger securing loop

Attention is drawn to the following places, which may be of interest for search:
Paper tissues | |
Cleaning or scouring pads, wipes containing detergent |
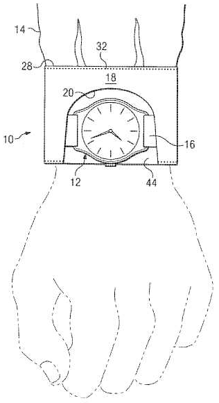
For exterior protection on arm of clothing to use as handkerchief, classify in A41D 27/12 and A41B 15/00.
If it has the shape of an armband, classify additionally in A41D 20/00.
This place covers:
Illustrative example of subject matter classified in this group.

This place does not cover:
Textiles containing perfume or deodorants |
This place does not cover:
Containers for holding perfume which are to be classified in group A45D 34/00.
Holders for air deodorants which are to be classified in group A61L 9/12.
Body deodorants which are to be classified in group A61Q 15/00.
Perfumes encapsulated in a carrier which are to be classified in group C11D 3/505.
Perfumes released by thermal or chemical activation which are to be classified in group C11D 3/507.
Textiles containing perfume or deodorants which are to be classified in group D06M 13/005.


