CPC Definition - Subclass F25C
Examples of places where the subject matter of this place is covered when specially adapted, used for a particular purpose, or incorporated in a larger system:
Frozen sweets, including ice-cream, their production |
Attention is drawn to the following places, which may be of interest for search:
Control means for production, working, storing or distribution of ice are classified in F25C 2600/00.
Sensors for production, working, storing or distribution of ice are classified in F25C 2700/00.
In this place, the following terms or expressions are used with the meaning indicated:
Ice | Any frozen liquid and also covers frozen semi-liquids or pasty substances |
This place covers:
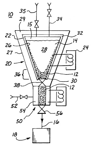
Freezers for pelletizing/granulating liquids.
Production of ice slurries.
Illustrative example of subject matter classified in this group.


This place does not cover:
Methods or apparatus specially adapted for producing ice or snow for winter sports or similar recreational purposes, e.g. for sporting installations; Producing artificial snow |
Attention is drawn to the following places, which may be of interest for search:
Production of ice slurries | |
Forced air circulation with compartments at different temperature | |
Forced air circulation through special compartments | |
Forced air circulation with air guides | |
Forced air circulation characterized by the air return | |
Forced air circulation characterized by the air supply | |
Forced air circulation characterized by air ducts | |
Forced air circulation characterized by the fans |
Multiple classification in F25D 17/06 for the air flow to cool the ice mould.
Multiple classification in F25B 21/02 for cooling the ice mould with a Peltier element.
Multiple classification in F25B 39/02 for cooling the ice mould with an evaporator.
This place covers:
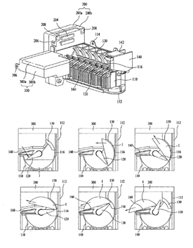
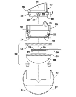
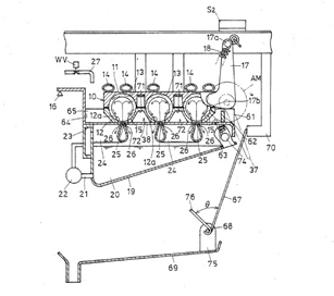
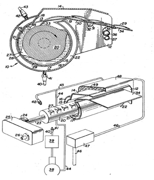
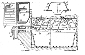
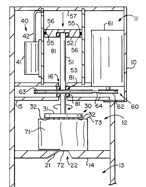
Automatic ice producing units using moulds which are not rotated or moved during freezing of the water.
Drive units to harvest ice of automatic ice makers with stationary mould during freezing.
Illustrative example of subject matter classified in this group.



Attention is drawn to the following places, which may be of interest for search:
Producing ice by using rotating or otherwise moving moulds | |
Ice trays positioned manually inside a freezer after being filled manually with water | |
Harvesting ice including rotating or tilting or pivoting of a mould or tray | |
Refrigerator units | |
Using Peltier effects | |
Fan speed control of evaporator fans | |
Forced air circulation | |
Through special compartments | |
Along the inside of doors | |
With air guides | |
characterized by the air return | |
characterized by the air supply | |
characterized by the air ducts | |
characterized by the fans |
Multiple classification in F25C 1/22 are necessary when constructional details of the mould itself are claimed.
- a Peltier element (F25B 21/02) or
- an evaporator (F25B 39/02).


- forced air circulation (F25D 17/065).

Multiple classification in F25C 2400/10 when the automatic ice producing unit is placed inside a household refrigerator.
This place covers:
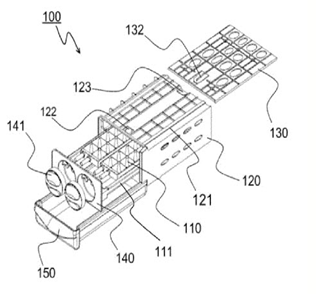
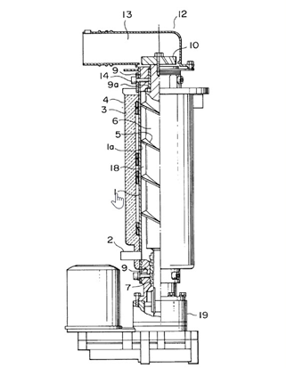
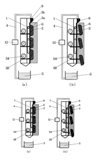
Automatic ice producing units using moulds which are not rotated or moved during freezing of the water, the mould has an open end pointing downwards.
Drive units to harvest ice for automatic ice makers with stationary mould during freezing, the mould with the open end pointing downwards.
Illustrative example of subject matter classified in this group.



Attention is drawn to the following places, which may be of interest for search:
Harvesting ice including rotating or tilting or pivoting of a mould or tray |
Multiple classification in F25C 1/22 when constructional details of the mould itself are claimed.
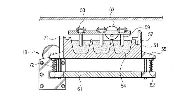
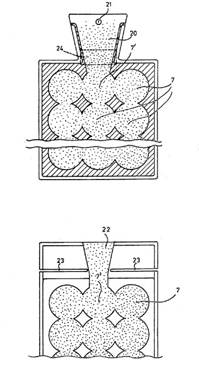
This place covers:
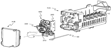
Automatic ice producing units using moulds which are not rotated or moved during freezing of the water, the mould is open or openable at both ends.
Production of bar-ice.
Illustrative example of subject matter classified in this group.



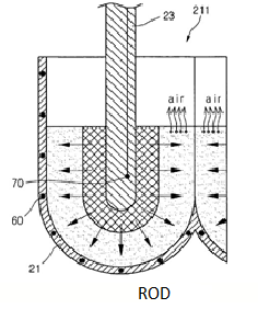
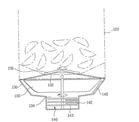
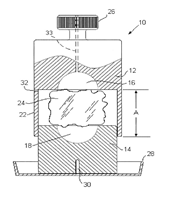
This place covers:
Producing ice by immersing cooling fingers, rods, conduits, pipes, chambers or plates into water.
Illustrative example of subject matter classified in this group.





In this subgroup multiple classification in F25B 21/02 for cooling the cold finger with a Peltier device is used.
In this subgroup multiple classification in F25B 39/02 for cooling the cold finger with refrigerant evaporating in an evaporator.
Attention is drawn to the following places, which may be of interest for search:
Producing ice by freezing water on cooled surfaces, e.g. to form slabs |
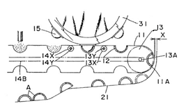
This place covers:
Producing ice by using rotating or otherwise moving moulds during freezing of water.
Illustrative example of subject matter classified in this group.



This place does not cover:
Producing ice by immersing freezing chambers or plates into water |
Attention is drawn to the following places, which may be of interest for search:
By using stationary moulds |
Rotation of moulds during harvesting of ice is classified in F25C 5/02 or lower and F25C 2305/022.
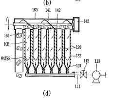
This place covers:
Producing ice by freezing water on cooled surfaces.
Ice slabs.
Illustrative example of subject matter classified in this group.

This place covers:
Producing ice by freezing water on flexible surfaces.
Illustrative example of subject matter classified in this group.


This place covers:
Producing ice by freezing water on cooled flat surfaces to form thin sheets which are removed by scraping or wedging, e.g. in the form of flakes.
Illustrative example of subject matter classified in this group.

This place covers:
Producing ice by freezing water on cooled surfaces to form thin sheets which are removed by scraping or wedging from the outer walls of cooled bodies.
Illustrative example of subject matter classified in this group.

This place covers:
Producing ice by freezing water on cooled surfaces to form thin sheets which are removed by scraping or wedging from the inner walls of cooled bodies.
Illustrative example of subject matter classified in this group.


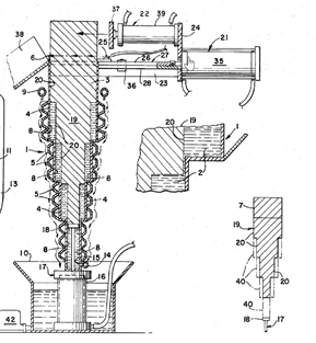
This place covers:
Producing ice by freezing water to form thin sheets which are removed from the inner walls of cooled bodies by using augers.
Illustrative example of subject matter classified in this group.

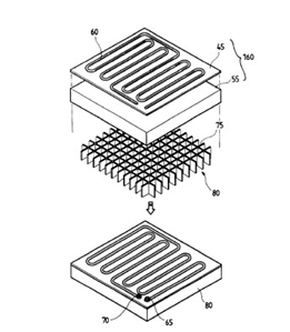
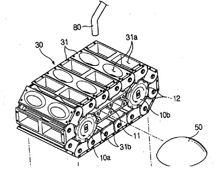
This place covers:
Moulds for non-automatic ice production.
Constructional details of moulds of automatic ice production.
Attention is drawn to the following places, which may be of interest for search:
Metering by volume in general |
This place covers:
Construction of moulds to be filled by tap water manually and placed inside refrigerators manually.
Examples of places where the subject matter of this place is covered when specially adapted, used for a particular purpose, or incorporated in a larger system:
Ice bins combined with freezing trays |
Attention is drawn to the following places, which may be of interest for search:
Producing ice by using stationary moulds |
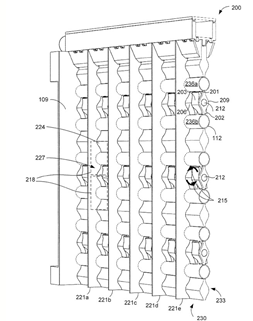
This place covers:
Construction of moulds to be filled by water manually and placed inside refrigerators manually, the moulds made of plastics, e.g. silicone.
Illustrative example of subject matter classified in this group.



This place covers:
Construction of moulds to be filled manually with water and placed manually inside a refrigerator, the mould has a separate grid structure.
Illustrative example of subject matter classified in this group.


Attention is drawn to the following places, which may be of interest for search:
Spraying apparatus for discharge of liquids or other fluent materials from two or more sources | |
Simulating ice or snow | |
Foundations or pavings for artificial surfaces for outdoor or indoor practice of snow or ice sports | |
Working on surfaces of snow or ice in order to make them suitable for traffic or sporting purposes |
Attention is drawn to the following places, which may be of interest for search:
Shape of rinks | |
Construction of rinks |
Attention is drawn to the following places, which may be of interest for search:
Special arrangements or features of snow making | |
Shape of rinks | |
Spraying apparatus for discharge of liquids or other fluent materials from two or more sources | |
Simulating ice or snow | |
Construction of rinks |
Different methods/devices for snow making are classified in F25C 2303/00 and lower.
This place does not cover:
Methods or apparatus specially adapted for the production of ice or snow for winter sports or similar recreational purposes, e.g. for sporting installations; Production of artificial snow |
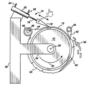
This place covers:
Apparatus for disintegrating, removing or harvesting ice by using saws.
Illustrative example of subject matter classified in this group.



Attention is drawn to the following places, which may be of interest for search:
Combinations of ice-crusher and ice-shaving machine in one embodiment are classified in F25C 5/02 and in F25C 5/046 and F25C 5/12.
This place covers:
Harvesting of ice by ejectors or pushing members without heating of the mould. Ice cutters.
Illustrative example of subject matter classified in this group.



Attention is drawn to the following places, which may be of interest for search:
Producing ice by using stationary moulds | |
Producing ice by heating bodies in contact with the ice | |
Rotating rakes | |
Ice augers for drilling holes for ice-fishing | |
Drilling ice or a formation covered by ice |
This place covers:
Hand tools for disintegrating, removing or harvesting ice cubes and blocks without the use of saws, by using other hand tools, e.g. ice picks, ice crushers, ice shavers.
Illustrative example of subject matter classified in this group.








Attention is drawn to the following places, which may be of interest for search:
Ice-crusher machines | |
Ice-shaving machines | |
Accessories for ice-fishing (ice drilling) | |
Brushes with a scraper | |
Other food tongs | |
Guards or sheaths for hand cutting tools | |
Life-saving equipment adapted to use on ice | |
Working on surfaces of snow or ice in order to make them suitable for traffic or sporting purposes | |
Snow removing devices | |
Drilling ice or a formation covered by ice |
In this place, the following terms or expressions are used with the meaning indicated:
Tools | Hand tools |
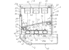
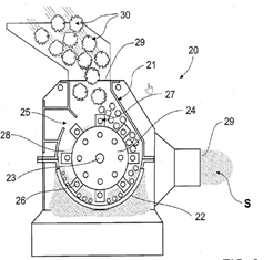
This place covers:
Automatic ice-crushers and grinders.
Illustrative example of subject matter classified in this group.



Grinder 145, crusher 140

Attention is drawn to the following places, which may be of interest for search:
Ice crusher as hand tool for crushing ice cubes |
This place covers:
Apparatus for disintegrating, removing or harvesting ice by deforming bodies with which the ice is in contact, by deforming the mould, e.g. by twisting the mould or using inflatable members.
Illustrative example of subject matter classified in this group.



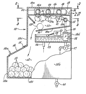
This place covers:
Automatic ice-shaving machines producing flake ice and chip ice.
Illustrative example of subject matter classified in this group.


Attention is drawn to the following places, which may be of interest for search:
Production of ice by using augers | |
Ice shaver as a hand tool to shave ice | |
Production of slush ice |
In patent documents, the following words/expressions are often used as synonyms:
- Flake ice
- Chip ice
- Rasp
This place covers:
Moulding ice.
Scoring ice.
Illustrative example of subject matter classified in this group.



Attention is drawn to the following places, which may be of interest for search:
Cooling bags for medical or therapeutic treatment of the human body, e.g. ice-bags | |
Containers, packaging elements or packages specially adapted for ice-cream | |
Devices using ice, e.g. ice-boxes |
Attention is drawn to the following places, which may be of interest for search:
Construction of moulds for refrigerators, e.g. freezing trays |
Attention is drawn to the following places, which may be of interest for search:
Indicating or measuring liquid level, or level of fluent solid material | |
Level control, e.g. controlling quantity of material stored in vessel |
When emphasis is put on water dispenser classify in F25D 23/126 and F25C 2400/10.
This place does not cover:
ice bins |

