CPC Definition - Subclass F02B
This place covers:
Engines characterised by the working fluid to be compressed or characterised by the type of ignition
Engines characterised by the method of introducing liquid fuel into cylinders
Engines characterised by precombustion chambers or air-storage chambers, or characterised by special shape or construction of combustion chambers to improve operation
Engines characterised by provision for charging or scavenging
Engines characterised by provision of driven charging or scavenging pumps
Engines operating on non-liquid fuels; Plants including such engines, i.e. combinations of the engine with fuel-generating apparatus
Methods of operating engines involving specific pre-treating of, or adding specific substances to, combustion air, fuel, or fuel-air mixture of the engines, and not otherwise provided for
Internal-combustion aspects of rotary-piston or oscillating-piston engines
Internal combustion aspects of reciprocating-piston engines with movable cylinders
Adaptations of engines for special use; Combinations of engines with devices other than engine parts or auxiliaries
This place does not cover:
Attention is drawn to the following places, which may be of interest for search:
Apparatus for generating fuel, e.g. gas, see the relevant classes, e.g. | |
Rotary-piston or oscillating-piston | |
Non-positive-displacement type | |
Steam engines plants | |
Cyclically operating valves for machines or engines | |
Lubrication of machines or engines in general | |
Exhaust Apparatus | |
Cooling of Engines | |
Controlling combustion engines | |
Carburettors, fuel-injection apparatus | |
Crankshafts, crossheads, connecting-rods | |
Flywheels | |
Gearings for interconverting rotary motion and reciprocating motion in general | |
Pistons, piston rods, cylinders for engines in general |
In this place, the following terms or expressions are used with the meaning indicated:
engine | a device for continuously converting fluid energy into mechanical power. Thus, this term includes, for example, steam piston engines or steam turbines, per se, or internal-combustion piston engines, but it excludes single-stroke devices. "Engine" also includes the fluid-motive portion of a meter unless such portion is particularly adapted for use in a motor; |
pump | a device for continuously raising, forcing, compressing, or exhausting fluid by mechanical or other means. Thus, this term includes fans or blowers; |
machine | a device which could equally be an engine and a pump, and not a device which is restricted to an engine or one which is restricted to a pump; |
positive displacement | the way the energy of a working fluid is transformed into mechanical energy, in which variations of volume created by the working fluid in a working chamber produce equivalent displacements of the mechanical member transmitting the energy, the dynamic effect of the fluid being of minor importance, and vice versa ; |
non-positive displacement | the way the energy of a working fluid is transformed into mechanical energy, by transformation of the energy of the working fluid into kinetic energy, and vice versa ; |
oscillating-piston machine | a positive-displacement machine in which a fluid-engaging work-transmitting member oscillates. This definition applies also to engines and pumps; |
rotary-piston machine | a positive-displacement machine in which a fluid-engaging work-transmitting member rotates about a fixed axis or about an axis moving along a circular or similar orbit. This definition applies also to engines and pumps; |
rotary piston | the work-transmitting member of a rotary-piston machine and may be of any suitable form, e.g., like a toothed gear; |
cooperating members | the "oscillating piston" or "rotary piston" and another member, e.g., the working-chamber wall, which assists in the driving or pumping action; |
movement of the co-operating members | is to be interpreted as relative, so that one of the "co-operating members" may be stationary, even though reference may be made to its rotational axis, or both may move; |
teeth or tooth equivalents | include lobes, projections or abutments; |
internal-axis type | that the rotational axes of the inner and outer co-operating members remain at all times within the outer member, e.g., in a similar manner to that of a pinion meshing with the internal teeth of a ring gear; |
free piston | a piston of which the length of stroke is not defined by any member driven thereby; |
cylinders | positive-displacement working chambers in general. Thus, this term is not restricted to cylinders of circular cross-section; |
main shaft | the shaft which converts reciprocating piston motion into rotary motion or vice versa ; |
plant | an engine together with such additional apparatus as is necessary to run the engine. For example, a steam engine plant includes a steam engine and means for generating the steam; |
working fluid | the driven fluid in a pump or the driving fluid in an engine. The working fluid can be in a compressible, gaseous state, called elastic fluid, e.g. steam; in a liquid state; or in a state where there is coexistence of an elastic fluid and liquid phase. |
steam | includes condensable vapours in general, and "special vapour" is used when steam is excluded; |
reaction type | as applied to non-positive-displacement machines or engines means machines or engines in which pressure/velocity transformation takes place wholly or partly in the rotor. Machines or engines with no, or only slight, pressure/velocity transformation in the rotor are called "impulse type". |
This place covers:
Engine working on the compression of a homogeneous mixture of air and fuel.
This place does not cover:
Characterised by both fuel-air mixture compression and air compression, or characterised by both positive ignition and compression ignition |
Attention is drawn to the following places, which may be of interest for search:
Characterised by precombustion chambers | |
Characterised by air-storage chambers | |
Characterised by special shape or construction of combustion chambers |
In patent documents, the following abbreviations are often used:
HCCI | Homogeneous Charge Compression Ignition |
PCCI | Premixed Charge Compression Ignition |
Attention is drawn to the following places, which may be of interest for search:
Direct injection petrol engines |
This place covers:
Engines operating with compression ignition of "homogeneous" mixed air-fuel.
This place does not cover:
With fuel-air charge ignited by compression ignition of an additional fuel |
In patent documents, the following abbreviations are often used:
HCCI | Homogeneous Charge Compression Ignition |
PCCI | Premixed Charge Compression Ignition |
This place covers:
Engines characterised by air compression and subsequent fuel addition. E.g. diesel engines, but this group also covers engines with air compression and subsequent gasoline fuel addition as in gasoline direct injection.
This place does not cover:
Characterised by both fuel-air mixture compression and air compression, or characterised by both positive ignition and compression ignition |
Attention is drawn to the following places, which may be of interest for search:
Characterised by precombustion chambers | |
Characterised by air-storage chambers | |
Characterised by special shape or construction of combustion chambers |
Attention is drawn to the following places, which may be of interest for search:
Controlling combustion engines | |
Electrical control of combustion engines |
This place covers:
In short: The Diesel engine. Preferably only deviations of the Diesel engine should be classified here.

This place does not cover:
Engines with positive injection |
Attention is drawn to the following places, which may be of interest for search:
Engines with fuel-air charge ignited by compression ignition of an additional fuel |
This place covers:
Methods of operating which would be a deviation from the "normal" diesel cycle. Usually, the method of operating is already embodied in the engine itself.
This place does not cover:
Methods of operating compression ignition engines with intermittent fuel introduction |
Attention is drawn to the following places, which may be of interest for search:
Control of combustion engines |
This place covers:
Compression ignition engines where more than one injection per cycle or very closely spaced multiple injections are introduced.
Attention is drawn to the following places, which may be of interest for search:
Controlling fuel injection of the high-pressure type with multiple injections | |
Fuel injection apparatus with each cyclic delivery being separated into two or more parts |
This place covers:
Engines characterised by positive ignition.
This place does not cover:
Engines characterised by fuel-air mixture compression with positive ignition | |
Engines characterised by air compression and subsequent fuel addition with positive ignition | |
Engines with non-timed positive ignition, e.g. with hot-spots | |
Engines characterised by both fuel-air mixture compression and air compression, or characterised by both positive ignition and compression ignition |
Attention is drawn to the following places, which may be of interest for search:
Engines characterised by precombustion chambers | |
Engines characterised by air-storage chambers | |
Engines characterised by special shape or construction of combustion chambers |
This place covers:
Engines characterised by the fuel-air charge being ignited by compression ignition of an additional fuel. E.g. a compressed fuel-air mixture being ignited by directly injecting a diesel fuel.

This place does not cover:
Engines characterised by both fuel-air mixture compression and air compression, or characterised by both positive ignition and compression ignition |
Attention is drawn to the following places, which may be of interest for search:
Engines characterised by precombustion chambers | |
Engines characterised by air-storage chambers | |
Engines characterised by special shape or construction of combustion chambers |
In this place, the following terms or expressions are used with the meaning indicated:
Pilot injection | The injection of an additional fuel for ignition of a compressed fuel-air mixture |
This place covers:
Engines characterised by other types of ignition.
This place does not cover:
Engines characterised by both fuel-air mixture compression and air compression, or characterised by both positive ignition and compression ignition |
Attention is drawn to the following places, which may be of interest for search:
Engines characterised by precombustion chambers | |
Engines characterised by air-storage chambers | |
Engines characterised by special shape or construction of combustion chambers |
This place covers:
Illustrative example of subject matter classified in this place:
Hot bulb engine

This place covers:
Engines characterised by both fuel-air mixture compression and air compression, or characterised by both positive ignition and compression ignition, e.g. in different cylinders.
This place also covers engines characterised by spark-assisted compression ignition, in which a spark ignition triggers an instantaneous compression ignition.
Illustrative example of subject matter classified in this place:

Attention is drawn to the following places, which may be of interest for search:
Engines characterised by precombustion chambers | |
Engines characterised by air-storage chambers | |
Engines characterised by special shape or construction of combustion chambers |
In patent documents, the following abbreviations are often used:
SPCCI | Spark Controlled Compression Ignition |
This place covers:
Engines characterised by the introduction of liquid fuel into cylinders by use of an auxiliary fluid, e.g. using compressed air or gas for blowing fuel into combustion chamber.
Attention is drawn to the following places, which may be of interest for search:
Characterised by use of gaseous or solid fuels | |
Fuel injection apparatuses where fuel-injection is effected by means of high-pressure gas |
This place covers:
This group covers exceptional cases of engines with fuel introduction into cylinder that cannot be classified elsewhere.
Attention is drawn to the following places, which may be of interest for search:
Characterised by use of gaseous or solid fuels | |
Direct injection |
This place covers:
Engines characterised by means for effecting stratification of charge in cylinders.
In a stratified charge engine, the fuel air mixture is stratified, i.e. heterogeneous, e.g. with a richer mixture near a spark plug than elsewhere.
Classification in this group is limited to the technical features of the engine for making stratification of charge possible.
Controlling fuel injection is classified in F02D.
Attention is drawn to the following places, which may be of interest for search:
Engines with air compression and subsequent fuel addition | |
Combustion chambers (shape) | |
Modifying induction systems for imparting a rotation to the charge in the cylinder | |
Electrical control of supply of combustible mixture or its constituents | |
Cylinder heads (shape) | |
Pistons |
In this place, the following terms or expressions are used with the meaning indicated:
Stratification | Layers of air and fuel |
Charge | Air and/or fuel contents in cylinder |
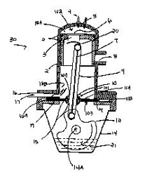
This place covers:
Engines characterized by pre-combustion chambers.
Chambers are located at the cylinder head and connected to the engine cylinder by small holes. Generally the following steps in the combustion take place. During the compression stroke, air from the main cylinder enters the pre-combustion chamber. At this moment, fuel is injected into the pre-combustion chamber and is ignited by a spark plug or a glow plug. Pressure increases and the ignited charge is forced through the small holes into the main cylinder, resulting in an ignition of the main charge in the combustion chamber.
Indirect injection diesel engine. Multi fuel engines. Lean burn engines. Gas engines.
Attention is drawn to the following places, which may be of interest for search:
Engines with fuel air mixture compression | |
Engines with incandescent chambers | |
Engines with air storage cambers | |
Engines with special shape of combustion chamber | |
Cylinders; Cylinder heads | |
Sparking plugs in partly enclosed ignition chamber |
In this place, the following terms or expressions are used with the meaning indicated:
Incandescent chamber | Chamber with hot spot |
Torch passage | Passage between pre- and main combustion chamber |
Squish area | Compressed area between piston top and cylinder head |
Air swirl | Rotational movement of air |
In patent documents, the following words/expressions are often used as synonyms:
- "pre-combustion chamber", "pre-chamber" and "ignition chamber"
This place covers:
Engines with an auxiliary air chamber, e.g. which may be connected and disconnected with the engine intake or cylinder during the compression or expansion period of the engine cycle in order to influence the compression or expansion process.
Attention is drawn to the following places, which may be of interest for search:
Engines characterised by provision for charging or scavenging not provided for in groups F02B 25/00, F02B 27/00 or F02B 33/00- F02B 39/00 | |
Engines characterised by provision of pumps for charging or scavenging | |
Air hybrid prime movers | |
Compressed air driven engines | |
Using engine as a brake by varying inlet or exhaust valve operation | |
Cylinders; cylinder heads |
In this place, the following terms or expressions are used with the meaning indicated:
Auxiliary chamber | Chamber not being a combustion chamber |
In patent documents, the following words/expressions are often used as synonyms:
- "air storage chamber" and "air accumulator "
- "auxiliary chamber" and "air tank"
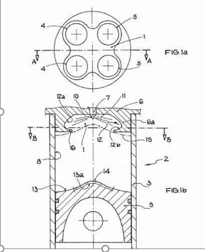
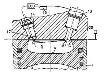
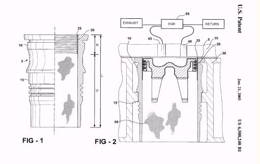
This place covers:
Engines characterised by a special shape of the combustion chamber to improve operation. The shape of the combustion space between the cylinder head and the working piston determines how the combustible mixture of air and fuel is combusted. The group mainly deals with the configuration of the combustion space in the piston for compression ignition but also for spark ignited engines.
This place does not cover:
Engines with incandescent chambers |
Attention is drawn to the following places, which may be of interest for search:
Modifying induction systems for imparting a rotation to the charge in the cylinder | |
Cylinders | |
Pistons | |
Arrangements of fuel-injection apparatus with respect to engines |
In this place, the following terms or expressions are used with the meaning indicated:
Squish flow | Flow through a narrowing area, e.g. between piston and cylinder head |
Swirl flow | Rotational flow around the cylinder axis |
Tumble flow | Rotational flow around a line perpendicular to the cylinder axis |
This place covers:
Engines characterized by using fresh charge for scavenging cylinders.
Mostly two-stroke engines i.e. internal combustion engines that complete the process cycle in one revolution of the crankshaft, i.e. an up stroke and a down stroke of the piston. This is accomplished by using the beginning of the compression stroke and the end of the combustion stroke to perform simultaneously the intake and exhaust or scavenging functions. In this way, two-stroke engines often provide high specific power, at least in a narrow range of rotational speeds. The functions of some or all of the valves required by a four-stroke engine are usually served in a two-stroke engine by ports that are opened and closed by the motion of the piston.
Gasoline, spark ignition versions are particularly useful in lightweight portable applications, such as lawn mowers. The concept is also used in diesel compression ignition engines in large applications, such as ships and locomotives.
Attention is drawn to the following places, which may be of interest for search:
Pumps for charging or scavenging | |
Aspects characterized by provision of driven charging or scavenging pumps. | |
Rotary engines | |
Engines for driving hand-held tools | |
Other types of engines | |
Rotary valve arrangements | |
Cylinders; cylinder heads |
In this place, the following terms or expressions are used with the meaning indicated:
Unidirectional scavenging | Scavenging gas flows in one direction in the cylinder |
Reverse-flow scavenging | Scavenging gas flows up and down again |
Reed valve | Type of unidirectional valve |
This place covers:
Internal combustion engines with a variable configuration intake manifold or exhaust manifold technology. Variable configuration intake or exhaust manifold technology can vary the configuration of the intake or exhaust tract in order to optimise power and torque across the range of engine speed operation, as well as help provide better fuel efficiency. The effect is often achieved by having two separate intake ports, each controlled by a valve, that open two different manifolds - one with a short path that operates at full engine load, and another with a significantly longer path that operates at lower load.
Engines characterized by provisions for charging or scavenging not provided for in groups F02B 25/00, F02B 27/00, F02B 33/00 - F02B 39/00
Attention is drawn to the following places, which may be of interest for search:
Modifying induction systems | |
Aspects characterized by provision of driven charging or scavenging pumps | |
Use of driven apparatus for immediate conversion of combustion gas pressure into pressure of fresh charge | |
Exhaust silencing apparatus |
In this place, the following terms or expressions are used with the meaning indicated:
Resonance charging | Oscillating air column charging |
This place covers:
Means not otherwise provided for, for improving the engine's volumetric efficiency by increasing the air intake density. The pressure of ambient air drawn in is increased and the temperature is decreased before it enters into the engine cylinder. This results in a greater mass of air entering the cylinder on each intake stroke.
Examples of places in relation to which this place is residual:
Engines characterised by using fresh charge for scavenging cylinders | |
Resonance charging | |
Pumps for charging or scavenging | |
Engines characterised by provision of pumps for sucking combustion residues from cylinders | |
Turbo charging | |
Component details, or accessories relating to driven charging or scavenging pumps |
In patent documents, the following words/expressions are often used as synonyms:
- " heat exchanger" and "cooler"
This place does not cover:
for also imparting a rotation to the charge in the cylinder |
Attention is drawn to the following places, which may be of interest for search:
Air intakes; Induction systems for internal-combustion engines |
Attention is drawn to the following places, which may be of interest for search:
Arrangement or mounting of liquid cooling devices in vehicles | |
Liquid cooling circuits not specific to a single part of internal combustion engine |
This place does not cover:
After-charging, i.e. supplementary charging after scavenging |
Attention is drawn to the following places, which may be of interest for search:
Valve-gear therefor |
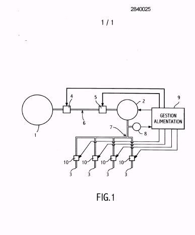
This place covers:
Modifications of the induction system of internal combustion engines to improve the mixing and distribution of air and fuel in the cylinder. The group covers modifications to the intake passages up until the intake port of the cylinder of the engine.
A specific geometry of the induction system can create a beneficial air swirl or tumble pattern in the combustion chamber. The swirl or tumble helps to distribute the fuel and form a homogeneous air-fuel mixture. This aids the initiation of the combustion process.
This place does not cover:
Air induction systems structural features |
Attention is drawn to the following places, which may be of interest for search:
Shape of combustion chamber | |
Lift valves | |
Cylinders, cylinder heads |
In this place, the following terms or expressions are used with the meaning indicated:
Swirl | Rotation around cylinder axis |
Tumble | Rotation around transverse cylinder axis |
In patent documents, the following words/expressions are often used as synonyms:
- "swirl" and "turbulence"
This place covers:
Engines characterised by provision of pumps for charging or scavenging.
Turbochargers per se are classified in F02C 6/12.
Attention is drawn to the following places, which may be of interest for search:
Characterised by introducing fuel into cylinders by auxiliary fluid, e.g. by air-pressure | |
Characterised by after-charging | |
Characterised by provision of pumps for sucking combustion residues from cylinders | |
Characterised by provision of exhaust-driven pumps | |
Arrangements of such pumps or other auxiliary apparatus on engines | |
Combined engine and pump control, control dependent on variables other than those generic to pumps | |
Cylinders characterised by having ports in cylinder for scavenging or charging | |
Pumps per se |
This place covers:
Illustrative example of subject matter classified in this place:

This place covers:
With reciprocating-piston pumps other than simple crankcase pumps, e.g. engine-driven piston pumps.
This place covers:
Illustrative example of subject matter classified in this place:

This place covers:
Illustrative example of subject matter classified in this place:

This place covers:
Illustrative example of subject matter classified in this place:

This place covers:
Illustrative example of subject matter classified in this place:

This place covers:
Illustrative example of subject matter classified in this place:

This place covers:
Illustrative example of subject matter classified in this place:

This place covers:
Illustrative example of subject matter classified in this place:

This place covers:
Illustrative example of subject matter classified in this group. 
Attention is drawn to the following places, which may be of interest for search:
Controlling only working-cylinder inlets |
This place does not cover:
Engines with crankcase pumps |
This place does not cover:
Cell-type pressure exchangers or the like |
This place covers:
Illustrative example of subject matter classified in this place:

This place covers:
Illustrative example of subject matter classified in this place:

This place covers:
Engine with driven or non-driven apparatus for immediate conversion of combustion gas pressure into pressure of fresh charge, e.g. with cell-type pressure exchangers.
Illustrative example of subject matter classified in this place:

Attention is drawn to the following places, which may be of interest for search:
Pressure exchangers per se |
This place covers:
Passages conducting the charge from the pump to the engine inlet, e.g. reservoirs. This group covers also air passages of turbocharged engines and scavenging channels with special features in two-stroke engines.
Attention is drawn to the following places, which may be of interest for search:
Cooling of charge after leaving the pump |
This place covers:
Engines characterised by provision of pumps for sucking combustion residues from cylinders.
Attention is drawn to the following places, which may be of interest for search:
After-charging | |
Arrangements of such pumps or other auxiliary apparatus on engines | |
Combined engine and pump control, control dependent on variables other than those generic to pump |
This place covers:
Illustrative example of subject matter classified in this place:

This place covers:
Engines with turbocharging.
Turbochargers per se are classified in F02C 6/12.
Attention is drawn to the following places, which may be of interest for search:
Engines characterised by the introduction of liquid fuel into cylinders by use of auxiliary fluid | |
Characterised by after-charging | |
Characterised by passages conducting the charge from the pump to the engine inlet | |
Turbo-compound | |
Arrangements of such pumps or other auxiliary apparatus on engines | |
Details or constructional aspects of turbines per se | |
Constructional aspects of bypass valves in turbochargers | |
Final actuators for bypassing part of the fluid in non-positive displacement machines or engines | |
Turbocharger casings, arrangement of bearings in turbochargers, cooling or lubrication of turbochargers per se | |
Combined engine and pump control, control dependent on variables other than those generic to pump | |
Pumps | |
Constructional aspects of pumps | |
Controls of pumps | |
Valves in general |
This place covers:
with exhaust-driven pumps arranged in parallel. E.g. at least one parallel pump being driven alternatively.

This place covers:
Illustrative example of subject matter classified in this place:

Attention is drawn to the following places, which may be of interest for search:
The specific drive of the other drive |
This place covers:
Control of turbocharging of engines. These groups cover also electronic control of turbochargers.
Attention is drawn to the following places, which may be of interest for search:
Details or constructional aspects of turbines | |
Final actuators for regulating or controlling by varying flow in non-positive displacement machines | |
Combined engine and pump control, control dependent on variables other than those generic to pump | |
Controlling supercharged engines | |
Pumps |
Attention is drawn to the following places, which may be of interest for search:
Drives of a pump |
This place covers:
Illustrative example of subject matter classified in this place:

This place covers:
Control of pumps by bypassing air from the pump inlet to the pump outlet.
Attention is drawn to the following places, which may be of interest for search:
Valves for admission of atmospheric air to engine |
This place covers:
Control of pumps by bypassing charging air into the exhaust conduit.
This place does not cover:
The bypassed air being used in a combustion chamber |
This place covers:
Controlling the pump by bypassing the exhaust.
Attention is drawn to the following places, which may be of interest for search:
Constructional aspects of bypass valves | |
Valves in general |
Attention is drawn to the following places, which may be of interest for search:
Constructional aspects of bypass valves | |
Valves in general | |
Valve actuating devices in general |
Attention is drawn to the following places, which may be of interest for search:
Valve actuating devices per se |
This place covers:
by increasing exhaust energy, e.g. using combustion chamber upstream of turbine or injecting water.
This place does not cover:
Using an auxiliary combustion chamber supplied by charging air |
This place covers:
by varying cross-section of exhaust passages or air passages, e.g. by throttling turbine inlets or outlets or by varying effective number of guide conduits.
This place does not cover:
By using pumps or turbines with adjustable guide vanes |
Attention is drawn to the following places, which may be of interest for search:
Constructional aspects per se of such devices |
Attention is drawn to the following places, which may be of interest for search:
Constructional aspects per se of such devices |
Attention is drawn to the following places, which may be of interest for search:
Constructional aspects per se of such devices |
This place covers:
Component parts, details, or accessories relating to, driven charging or scavenging pumps, not provided for in groups F02B 33/00 - F02B 37/00.
Attention is drawn to the following places, which may be of interest for search:
Engines characterised by provision of driven charging or scavenging pumps. Introducing fuel into cylinders by air-pressure | |
After-charging | |
Arrangements of such pumps or other auxiliary apparatus on engines | |
Details or constructional aspects of turbines | |
Combined engine and pump control, control dependent on variables other than those generic to pump | |
Pumps | |
Pumps in general | |
Machine element per se |
This place covers:
Arrangement of cooling system of super/turbocharger, layout (or partial layout) of cooling fluid circuits.
Illustrative example of subject matter classified in this place:

Attention is drawn to the following places, which may be of interest for search:
Turbocharger features related to cooling | |
Turbocharger features related to cooling of bearings | |
Turbocharger casings modified for cooling | |
Turbochargers |
This place does not cover:
Exhaust drives or combined exhaust and other drives |
Attention is drawn to the following places, which may be of interest for search:
Control acting both on engine and on pump drive gear ratio |
This place does not cover:
Non-mechanical pump drives having variable gear ratio |
This place does not cover:
Using fluid slip couplings for varying gear ratio |
This place covers:
Lubrication of pumps; Safety measures therefor, e.g. arrangement of lubrication system of supercharger or turbocharger, layout (or partial layout) of lubrication fluid circuits.
Attention is drawn to the following places, which may be of interest for search:
Turbocharger lubrication per se, e.g. lubricating a turbocharger bearing per se | |
Lubricating of machines or engines in general; Lubricating internal-combustion engines | |
Lubrication of bearings in general | |
Lubricating in general |
Attention is drawn to the following places, which may be of interest for search:
Cleaning of turbomachines | |
Cleaning of pumps using liquids | |
Measuring vibration of turbo machines |
This place covers:
Engines characterised by special means for improving conversion of heat or pressure energy into mechanical power, e.g. modification of compression ratio to enhance thermal efficiency or by using "turbocompound" i.e. using the exhaust to drive a turbine connected to the crankshaft.
Attention is drawn to the following places, which may be of interest for search:
Variable compression ratio | |
Thermal insulation | |
Modified dwell of piston in TDC |
In this place, the following terms or expressions are used with the meaning indicated:
Prolonged expansion | relative to the compression |
Modified dwell | The piston remains longer than usual at TOP DEAD CENTRE |
Miller cycle | A modified four stroke cycle where the compression stroke is made shorter by blow back through late inlet valve closing, for turbo charged engines |
Atkinson cycle | the same as Miller cycle, but for normally aspirated engines |
This place covers:
Engines with means and ways to make the compression stroke and the expansion stroke different.
E.g. engines using the Miller or Atkins cycles or using mechanical means in order to have special stroke of piston.

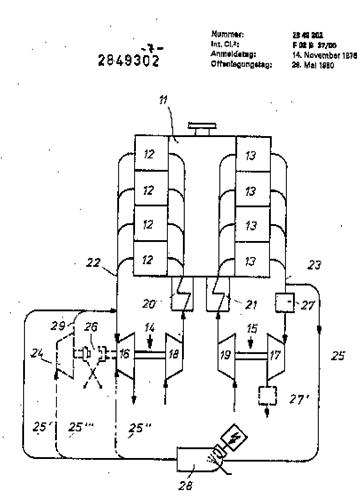
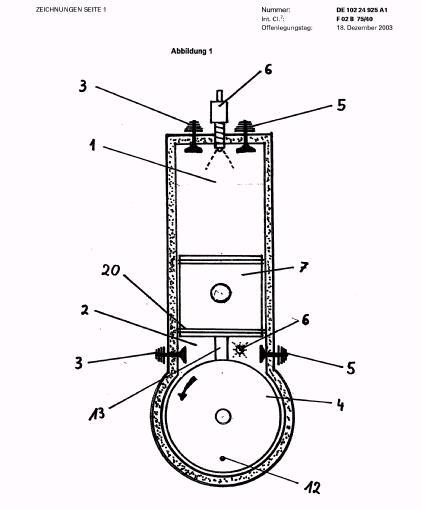
This place covers:
Engines with more than one expansion stroke, i.e. the exhaust is allowed to expand in an additional cylinder. The compounding is similar to the compounding in a steam engine.
Illustrative example of subject matter classified in this place:
Valves 23 and 24 allow expansion of exhaust gases to adjacent cylinder through channels 21 and 22
1a.

1b.

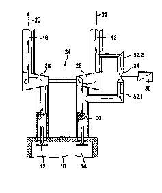
This place covers:
Two stroke engines with second expansion in an expansion cylinder.
Illustrative example of subject matter classified in this place:

This place covers:
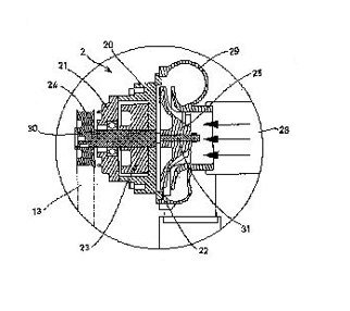
Turbocompounding. The exhaust gas is expanded in a turbine which is directly or indirectly connected to the engine crankshaft.
Illustrative example of subject matter classified in this group

This place does not cover:
Use of exhaust turbines for charging |
Attention is drawn to the following places, which may be of interest for search:
Turbine construction |
This place covers:
Illustrative example of subject matter classified in this place:

This place does not cover:
Engines characterised by the gas-air charge being ignited by compression ignition of an additional fuel | |
Engines convertible from gas to other fuel consumption |
Attention is drawn to the following places, which may be of interest for search:
Control of gas engines | |
Apparatus for supplying engines with gaseous fuels |
In this place, the following terms or expressions are used with the meaning indicated:
LNG | Liquefied Natural Gas. It behaves like an inert gas. It has a high critical compression ratio. Therefore, only used with spark ignition or pilot fuel ignition |
LPG | Liquefied Petroleum Gas |
CNG | Compressed Natural Gas |
DME | Dimethyl ether |
Attention is drawn to the following places, which may be of interest for search:
Production of hydrogen | |
Supplying engines with gaseous fuel | |
Fuel cells per se |
This place covers:
methods of operating such engines.
Attention is drawn to the following places, which may be of interest for search:
Controlling combustion engines |
This place covers:
Engines operating on non-liquid fuels other than gas, such as solid or semi-solid fuels.
This place does not cover:
Plants involving generation of gaseous fuels from solid fuel | |
Engines convertible from gas to other fuel consumption |
Attention is drawn to the following places, which may be of interest for search:
Apparatus for supplying engines with non-liquid and non-gaseous fuels |
This place covers:
Engines operating on powdered fuel, e.g. powdered coal.
This place does not cover:
Operating on fuel containing oxidant |
Attention is drawn to the following places, which may be of interest for search:
Apparatus for supplying engines with fuels in pulverised state |
Attention is drawn to the following places, which may be of interest for search:
Controlling engines characterised by use of non-fuel substances added to the combustible mixtures | |
Engine-pertinent apparatus for adding non-fuel substances or small quantities of secondary fuel to combustion-air, main fuel or fuel-air mixture |
Attention is drawn to the following places, which may be of interest for search:
Apparatus for adding fuel and water emulsion, water or steam to engine |
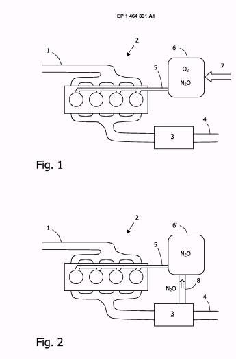
This place covers:
The added substance including non-airborne oxygen, e.g. N2O or laughing gas.
Illustrative examples of subject matter classified in this place:
1.

2.

This place does not cover:
Circulation of exhaust gas in closed or semi-closed circuits |
Attention is drawn to the following places, which may be of interest for search:
Apparatus for supplying non-airborne oxygen to engine |
Attention is drawn to the following places, which may be of interest for search:
Apparatus for adding exhaust gas to engines, e.g. by exhaust gas recirculation [EGR] systems |
Attention is drawn to the following places, which may be of interest for search:
Apparatus for adding exhaust gas to engine, e.g. by exhaust gas recirculation [EGR] systems |
This place covers:
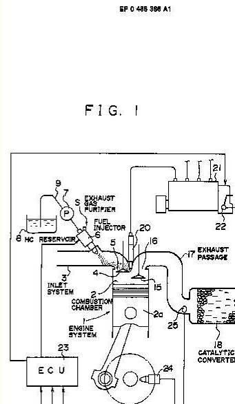
Methods of operating air-compressing compression-ignition engines involving introduction of small quantities of fuel in the form of a fine mist into the air in the engine's intake, for example. as a starting aid.
Illustrative example of subject matter classified in this place:

Attention is drawn to the following places, which may be of interest for search:
Controlling combustion engines | |
Fuel injector connections to the air intake system | |
Low-pressure fuel-injection apparatus |
Attention is drawn to the following places, which may be of interest for search:
Controlling combustion engines | |
Apparatus for performing such pretreatments or additions | |
Apparatuses for treating combustion-air, fuel of fuel-air mixture, by catalyst, electric means, magnetism, rays, sound waves or the like |
Attention is drawn to the following places, which may be of interest for search:
Apparatus for treating combustion-air, fuel or fuel-air mixture by catalyst |
Attention is drawn to the following places, which may be of interest for search:
Apparatus for treating combustion-air, fuel or fuel-air mixture by electric means or magnetism |
Attention is drawn to the following places, which may be of interest for search:
Apparatus for treating combustion-air, fuel or fuel-air mixture by sonic or ultrasonic waves |
This place covers:
Internal-combustion aspects of rotary-piston or oscillating-piston engines
This place does not cover:
Internal combustion aspects of rotary pistons or outer members of co-operating therewith |
This place covers:
Internal combustion aspects of rotary pistons or outer members for co-operation with rotary pistons.
This place covers:
Illustrative examples of subject matter classified in this place:

This place covers:
Illustrative example of subject matter classified in this place:

This place does not cover:
Cylinder-charge admission of exhaust control |
This place does not cover:
Two-stroke engines or other engines with working-piston-controlled charge admission or exhaust |
This place does not cover:
With combustion space in centre of star |
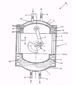
This place covers:
Engines with star-shaped cylinder arrangements, e.g.

Attention is drawn to the following places, which may be of interest for search:
Reciprocating-piston machines or engines with the rotating cylinders arranged substantially tangentially to a circle centred on the main shaft axis | |
Reciprocating-piston machines or engines with rotating cylinders in star arrangement |
This place covers:
Engines with combustion space in centre of star, e.g.:

This place covers:
Internal-combustion aspects of other reciprocating-piston engines with movable, e.g. oscillating, cylinders. E.g.:

This place does not cover:
Reciprocating-piston engines with parts of combustion- or working-chamber walls resiliently yielding under pressure |
This place covers:
Adaptations of engines for driving vehicles or for driving propellers; Combinations of engines with gearing.
Illustrative example of subject matter classified in this group:

This place does not cover:
Engine torque being divided by a differential gear for driving a scavenging or charging pump and the engine output shaft | |
Adaptions of combinations of rotay-piston or oscillating-piston engines |
This place covers:
Engines specially adapted for driving cycles, e.g. motorcycles.
Illustrative example of subject matter classified in this place:

This place covers:
Engines specially adapted for driving propellers, e.g. aircraft propellers.
Illustrative example of subject matter classified in this place:

This place covers:
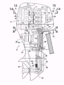
Engines specially adapted for driving propellers of outboard marine engines, inboard marine engines, personal water craft engines.
Illustrative example of subject matter classified in this place:

This place covers:
Illustrative example of subject matter classified in this place:

This place does not cover:
Adaptations of engines for driving cycles | |
Adaptations of engines for driving propellers |
This place does not cover:
Adaptations of rotary-piston or oscillating-piston engines |
This place covers:
Illustrative example of subject matter classified in this place:

This place covers:
Adaptations of engines for special uses not provided for in groups F02B 61/00 or F02B 63/00; Combinations of engines with other devices, e.g. with non-driven apparatus. For example, internal combustion engines where an engine cylinder may act as an air compressor.
This place does not cover:
Adaptations of rotary-piston or oscillating-piston engines | |
Combinations of prime-movers consisting of electric motors and internal combustion engines for mutual or common propulsion |
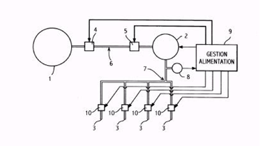
This place covers:
Engines characterised by the arrangement of auxiliary apparatuses not being otherwise provided for, e.g. the apparatus having different functions; Driving auxiliary apparatus from engines, not otherwise provided for.
This place covers:
Auxiliary devices driven by means of chains, belts, or like endless members.
Illustrative example of subject matter classified in this place:

This place covers:
Non-mechanically driven auxiliary apparatus. E.g. electrically, hydraulically or pneumatically driven.
This place covers:
Engines characterised by the arrangement charging or scavenging apparatus, e.g. driving arrangement or mounting arrangement. Also, for particular positioning with respect to engine.
Illustrative example of subject matter classified in this place:

This place covers:
Internal combustion engines convertible into other combustion-engine type not provided for in F02B 11/00; Internal-combustion engines of different types characterised by constructions facilitating use of same main engine-parts in different types.
For example, engines convertible from two stroke to four stroke, or convertible for use with different fuels.
Examples of places in relation to which this place is residual:
Engines characterised by both fuel-air mixture compression and air compression, or characterised by both positive ignition and compression ignition, e.g. in different cylinders |
This place covers:
Illustrative example of subject matter classified in this place:

This place covers:
E.g. combining two or more engines, not otherwise provided for. For example, of the same or different type, e.g. an internal combustion engine and a Stirling engine.
Illustrative examples of subject matter classified in this place:
1.

2.

Examples of places in relation to which this place is residual:
Controlling two or more co-operating engines |
This place covers:
Illustrative example of subject matter classified in this place:

This place covers:
Illustrative example of subject matter classified in this place:

This place does not cover:
Engines having vertical crankshafts |
This place covers:
Illustrative example of subject matter classified in this place:

This place covers:
Engines characterised by their cycles, e.g. six-stroke.
Attention is drawn to the following places, which may be of interest for search:
Connections between crankshaft and piston | |
Valve operation | |
Controlling engines with variable distances between piston and cylinder head |
This place covers:
Illustrative example of subject matter classified in this place:

This place covers:
Engines characterised by means of an adjustable piston length.
Illustrative examples of subject matter classified in this place:
1.

2.

This place covers:
Engines characterised by means of a variable connecting rod length.
Illustrative example of subject matter classified in this group:

This place covers:
Engines characterised by means of variable crankshaft position.
Illustrative example of subject matter classified in this place:

This place covers:
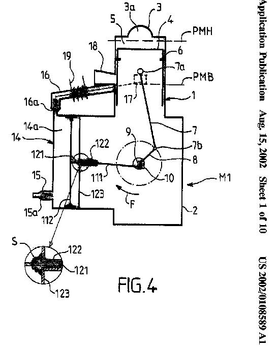
Engines characterised by means of a variable crank stroke length.
Illustrative example of subject matter classified in this group:

Attention is drawn to the following places, which may be of interest for search:
Compensation of inertial forces, suppression of vibration in systems |
This place covers:
Engines with double connecting rods or crankshafts.
Illustrative example of subject matter classified in this place:

This place covers:
Engines with means for preventing corrosion in gas-swept spaces.
Illustrative examples of subject matter classified in this place:

Attention is drawn to the following places, which may be of interest for search:
Cleaning of, preventing corrosion or erosion in, or preventing unwanted deposits in, combustion engines | |
Running faces of engine cylinders; Cylinder liners |
This place covers:
Engines with means for rendering exhaust gases innocuous.
This place does not cover:
Apparatus for purifying, rendering innocuous or otherwise treating exhaust |
Attention is drawn to the following places, which may be of interest for search:
Control of combustion engines |
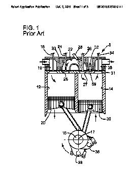
This place covers:
Engines with two or more pistons connected to one crank and having a common combustion space.
Illustrative example of subject matter classified in this place:

This place covers:
Illustrative example of subject matter classified in this place:

This place covers:
Engines with cylinders in V, fan or star arrangement.
Illustrative example of subject matter classified in this place:

This place covers:
Engines with cylinder banks in narrow V-arrangement, having a single cylinder head.
Illustrative example of subject matter classified in this place:

This place covers:
Engines with cylinders in star arrangement.
Illustrative example of subject matter classified in this place:

This place covers:
Engines with cylinders in fan arrangement.
Illustrative example of subject matter classified in this place:
W9 – 40 Degree Cylinder Bank Sample Configuration View

This place covers:
Engines having two or more crankshafts.
Illustrative example of subject matter classified in this place:
1a.

1b.

This place covers:
Engines with cylinder banks in X-arrangement, e.g. double-V engines.
Illustrative example of subject matter classified in this place:
1a.

1b.

This place covers:
Engines with cylinders arranged in parallel banks.
Illustrative example of subject matter classified in this place:
1a.

1b.

This place covers:
Engines with only one crankshaft of the "boxer" type, e.g. all connecting rods attached to separate crankshaft bearings.
Illustrative example of subject matter classified in this place:

This place covers:
Engines with only one crankshaft of the "pancake" type, e.g. pairs of connecting rods attached to common crankshaft bearing.
Illustrative example of subject matter classified in this place:

This place covers:
Engines with cylinder axes coaxial with, or parallel or inclined to, main-shaft axis; Engines with cylinder axes arranged substantially tangentially to a circle centered on main-shaft axis.
Illustrative example of subject matter classified in this place:

Attention is drawn to the following places, which may be of interest for search:
Reciprocating-piston machines or engines with cylinder axes coaxial with, or parallel or inclined to, main shaft axis |
This place covers:
Engines with cylinder axes substantially tangentially to a circle centred on main-shaft axis.
Illustrative example of subject matter classified in this place:

This place covers:
Engines with two or more pistons reciprocating within same cylinder or within essentially coaxial cylinders.
Illustrative example of subject matter classified in this place:

This place does not cover:
Multi-cylinder engines with cylinders arranged oppositely relative to main shaft |
Attention is drawn to the following places, which may be of interest for search:
Engines with oppositely reciprocating pistons |
This place covers:
Engines with pistons having equal strokes.
Illustrative example of subject matter classified in this place:

This place covers:
Engines comprising a free auxiliary piston.
Illustrative example of subject matter classified in this place:
1a.

1b.

1c.

This place covers:
Engines with several pistons positioned in one cylinder one behind the other.
Illustrative examples of subject matter classified in this place:
1.

2.

This place covers:
Engines with one working piston sliding inside another.
Illustrative example of subject matter classified in this place:

This place covers:
This subgroup contains all mechanisms between pistons and main shafts not otherwise described in more pertinent classes.
Illustrative example of subject matter classified in this place:

Engine with pulled con-rods during working stroke.
Attention is drawn to the following places, which may be of interest for search:
Details for the given mechanism connecting pistons and main shafts |
This place covers:
Ultra-small engines, e.g. for driving models. Any small engine such as miniature CO2 engines, compressed air engines. Small engines having different cycles: diesel, using glow ignition, spark ignition.
Illustrative example of subject matter classified in this place:
1a.

1b.

1c.

Attention is drawn to the following places, which may be of interest for search:
Homogeneous Charge Compression Ignition | |
For steam or compressed air drive mechanism for toys | |
Compressed air engines |
In this place, the following terms or expressions are used with the meaning indicated:
model diesel engine | compression ignition engine, e.g. 2-stroke homogeneous charge compression ignition engines of the variable compression type |
nitro fuel | nitromethane, used as a fuel or fuel additive for model glow plug engines |
model glow plug engine | positive ignition engines comprising a glow plug comprising a wire, e.g. from platinum, heated by ohmic resistance at starting and continues to glow during operation due to combustion heat and/or catalytic reactions |
castor oil | vegetable oil from the castor beans used as lubricant for model engine fuel |
amyl nitrate | fuel additive for model diesel engines |
This place covers:
Engines with parts of combustion- or working-chamber walls resiliently yielding under pressure.
Illustrative example of subject matter classified in this place:

This place covers:
Reciprocating piston engines.
Illustrative example of subject matter classified in this place:

This place does not cover:
Engines with resiliently-urged auxiliary piston in pre-combustion chamber | |
Engines with variable distances between pistons at top dead-centre positions and cylinder heads |
This place covers:
Other reciprocating-piston engines.

This place covers:
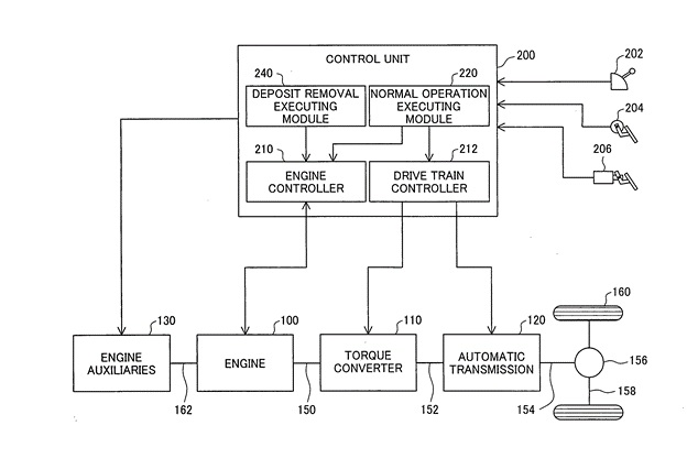
These groups covers component parts, details or accessories, not otherwise provided for. E.g. freeze plugs, thermal or acoustic insulation etc.
This place covers:
Any cleaning of engines, decarbonising, de-coking.
Illustrative example of subject matter classified in this place:

Attention is drawn to the following places, which may be of interest for search:
Cleaning of fuel injection apparatus |
This place covers:
Indicating and warning devices.
This place does not cover:
Thermal insulation | |
Monitoring or diagnostic devices for exhaust-gas treatment apparatus |
Attention is drawn to the following places, which may be of interest for search:
Rendering engines inoperative or idling on lubricant pressure failure | |
Indicating or safety devices relating to cooling | |
Control of combustion engines | |
Rendering engines inoperative or idling |
This place covers:
Safety, indicating or supervising devices relating to endless members.
Illustrative example of subject matter classified in this place:
1a.

1b.

1c.

Attention is drawn to the following places, which may be of interest for search:
Endless members, e.g. belts, for driving auxiliary apparatus |
This place covers:
Safety, indicating or supervising devices relating to valves.
Illustrative example of subject matter classified in this place:

Attention is drawn to the following places, which may be of interest for search:
Controlling engines by air induction conduits | |
Throttle position sensors for pivoting throttle valves | |
Controlling engine output by varying inlet or exhaust valve operation | |
Electrical control of intake air | |
Gas sensors in intake manifold for closed loop engine control | |
Sensors or measuring devices for combustion-air cleaners | |
Air intakes comprising sensors | |
Indicating or alarms for valves in general |
This place covers:
Safety, indicating or supervising devices relating to maintenance, e.g. diagnostic device.
Illustrative example of subject matter classified in this place:

This place does not cover:
Indicating and safety devices concerning lubricant level |
Attention is drawn to the following places, which may be of interest for search:
Sensors or measuring devices for air cleaners |
This place covers:
Safety, indicating or supervising devices indicating economy.
Illustrative example of subject matter classified in this place:

This place covers:
Safety, indicating or supervising devices with sensors measuring combustion processes, e.g. knocking, pressure, ionization, combustion flame.
Illustrative example of subject matter classified in this place:

Attention is drawn to the following places, which may be of interest for search:
Sensors for intake systems |
This place covers:
Sensor arrangements in the exhaust, e.g. for temperature, misfire, air/fuel ratio, oxygen sensors.
Illustrative examples of subject matter classified in this place:
1.

2.

3.

Attention is drawn to the following places, which may be of interest for search:
Using sensors in exhaust for controlling combustion engine |
This place covers:
Safety, indicating or supervising devices determining top dead centre or ignition-timing

Attention is drawn to the following places, which may be of interest for search:
Controlling combustion engines |
This place covers:
Safety, indicating or supervising devices relating to tightness.
This place does not cover:
Indicating and safety devices concerning coolant temperature |
This place covers:
Safety means relating to crankcase explosions, e.g. explosion relief valves or shrapnel containment arrangements.
Illustrative example of subject matter classified in this place:

Attention is drawn to the following places, which may be of interest for search:
Air intakes with means to avoid a change in direction of incoming fluid or flame arrestors for backfire prevention |
Attention is drawn to the following places, which may be of interest for search:
Thermal insulation in general |
Attention is drawn to the following places, which may be of interest for search:
Sound insulation of engine casings, e.g. crankcases |
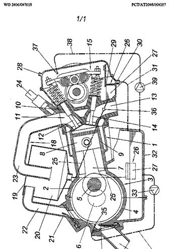
This place covers:
Engine-driven auxiliary devices combined into units, e.g. a water pump and an alternator combined in one unit.
Illustrative examples of subject matter classified in this place:
1.

2.

This place covers:
Running-in of internal-combustion engines.
This place does not cover:
Lubrication of internal combustion engines |