CPC Definition - Subclass F01L
This place covers:
- Valve-gear or valve arrangements, e.g. lift-valve gear;
- Lift-valve, i.e. cut-off apparatus with closure members having at least a component of their opening and closing motion perpendicular to the closing faces;
- Slide valve-gear or valve-arrangements;
- Valve-gear or valve arrangements actuated non-mechanically;
- Valve arrangements in working piston or piston-rod;
- Modifications of valve-gear to facilitate reversing, braking, starting, changing compression ratio, or other specific operations;
- Valve-gear or valve arrangements, e.g. with reciprocatory slide valves, other than provided for in groups;
- Slide valve-gear or valve arrangements with cylindrical, sleeve, or part annularly-shaped valves surrounding working cylinder or piston;
- Slide valve-gear or valve arrangements with reciprocatory and other movement of same valve, e.g. longitudinally of working cylinder and in cross direction
- Use of working pistons or pistons-rods as fluid-distributing valves or a valve-supporting elements, e.g. in free-piston machines
- Valves controlled by impact by piston, e.g. in free-piston machines; Drive, or adjustment during the operation, or distribution or expansion valves by non-mechanical means;
- Distribution or expansion valve-gear peculiar to free-piston machines or engines;
- Reversing gear Valve drive, valve adjustment during operation;
- Rotary or oscillatory slide valve-gear or valve arrangements, specially adapted for machines or engines with variable fluid distribution;
- Lift valve-gear or valve arrangements specially adapted for machines or engines with variable fluid distribution
Attention is drawn to the following places, which may be of interest for search:
In machines or engines in general, control of working-fluid admission or discharge peculiar thereto | |
In rotary-piston machines or engines, control of working-fluid admission or discharge | |
In internal-combustion aspects of rotary-piston engines, valve control therefor | |
In positive-displacement engines driven by liquids, distributing valve-gear peculiar thereto | |
In positive displacement machines or pumps, self-acting distribution members | |
In positive displacement machines or pumps positively-driven distribution members | |
In positive displacement machines or pumps, actuation of distribution members | |
In positive displacement machines or pumps, adaptation or arrangements of distribution members | |
In rotary-piston pumps for liquid, control of working-fluid admission or discharge | |
In rotary-piston pumps for elastic fluids, control of working-fluid admission or discharge | |
Valves in general |
The use of the Indexing Codes F01L 2201/00 – F01L 2820/00 is mandatory.
In this place, the following terms or expressions are used with the meaning indicated:
Engine | A device for continuously converting fluid energy into mechanical power; thus this term includes, for example, steam piston engines or steam turbine or internal combustion engines. |
Machine | A device that could equally be an engine and a pump, and not a device that is restricted to an engine or one that is restricted to a pump. |
This place covers:
Valve drive units, e.g. transmission between crankshaft and camshaft, camshaft arrangements, cam followers, camshaft phasers.
This place does not cover:
Lift-valve and valve-seat assemblies per se | |
Slide-valve gear | |
Actuated non-mechanically | |
Valve arrangements in working piston or piston rod | |
Modifications of valve-gear to facilitate reversing, braking, starting, changing compression ratio, or other specific operations |
Examples of places where the subject matter of this place is covered when specially adapted, used for a particular purpose, or incorporated in a larger system:
Valve-gear specially for steam engines or specially for other machines or engines with variable fluid distribution |
Attention is drawn to the following places, which may be of interest for search:
Valve arrangements in general |
This place does not cover:
Transmitting-gear between valve drive and valve |
Attention is drawn to the following places, which may be of interest for search:
Auxiliary apparatus of engines driven by means of chains, belts or like endless members: | |
Safety means relating to endless members: | |
Driving belts, driving chains: | |
Gearings for conveying rotary motion by endless flexible members: | |
Means for tensioning: |
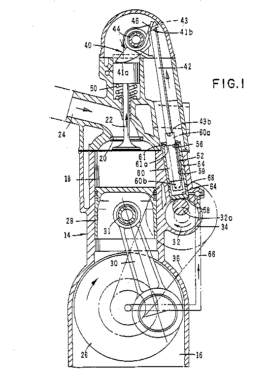
This place covers:
Illustrative example
US4750455

Attention is drawn to the following places, which may be of interest for search:
Gearings for conveying rotary motion with chains |
This place covers:
Illustrative example
US4716864

Attention is drawn to the following places, which may be of interest for search:
Gearings for conveying rotary motion with belts |
Attention is drawn to the following places, which may be of interest for search:
Manufacturing by shaping with fluid pressure | |
Manufacturing camshafts | |
Machining camshafts | |
Connecting cams to shaft | |
By expanding and then shrinking | |
Using pressure fluids | |
Using heat or cold | |
Grinding | |
Lubrication of camshaft bearings | |
Rigidly coupling two coaxial shafts involving plastic deformation | |
Camshafts with single track cams | |
Characterised by their construction |
Attention is drawn to the following places, which may be of interest for search:
Single overhead camshafts (SOHC) | |
Double overhead camshafts (DOHC) | |
Camshaft in cylinder block |
Attention is drawn to the following places, which may be of interest for search:
Cams as part of gearings in general |
This place covers:
Illustrative example of subject matter classified in this group.

Attention is drawn to the following places, which may be of interest for search:
Reciprocating cams |
This place does not cover:
Simultaneously operating two or more valves |
Attention is drawn to the following places, which may be of interest for search:
Valve arrangement comprising rollers |
This place does not cover:
Simultaneously operating two or more valves |
Attention is drawn to the following places, which may be of interest for search:
Preventing the rotation of tappet | |
Lubrication of tappets | |
Tappets for fuel pump |
Attention is drawn to the following places, which may be of interest for search:
Split rocking arms | |
Clips for retaining rocker arm on pivot | |
Fulcrums at upper surface | |
Manufacturing |
This place covers:
Illustrative example

This place covers:
Illustrative example

Attention is drawn to the following places, which may be of interest for search:
Self-contained lash adjusters |
Attention is drawn to the following places, which may be of interest for search:
Arrangements for valve movement other than for opening or closing e.g. grinding-in, preventing sticking |
Attention is drawn to the following places, which may be of interest for search:
Modifying distribution valve timing | |
Coupling of coaxial shafts for variable angular relationship | |
Gearing for varying phase |
Attention is drawn to the following places, which may be of interest for search:
Yielding couplings with means for varying the angular relationship of two coaxial shafts during motion | |
Gearings for variation of rotational phase between input and output shaft |
This place covers:
Illustrative example

This place covers:
Illustrative example

This place covers:
Illustrative example
JP59183009 A

Attention is drawn to the following places, which may be of interest for search:
composite camshafts |
This place covers:
Illustrative example of subject matter classified in this group.

Attention is drawn to the following places, which may be of interest for search:
If axial displacement of a three-dimensional cam modifies beyond the opening/closing timing also the valve lift |
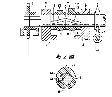
This place covers:
Illustrative example
DE19745908 A

Attention is drawn to the following places, which may be of interest for search:
Details of servo motor systems for spool valves | |
oil control valves such as spool valves in general | |
solenoid actuated control valves | |
solenoid aspects of the spool valve actuator |
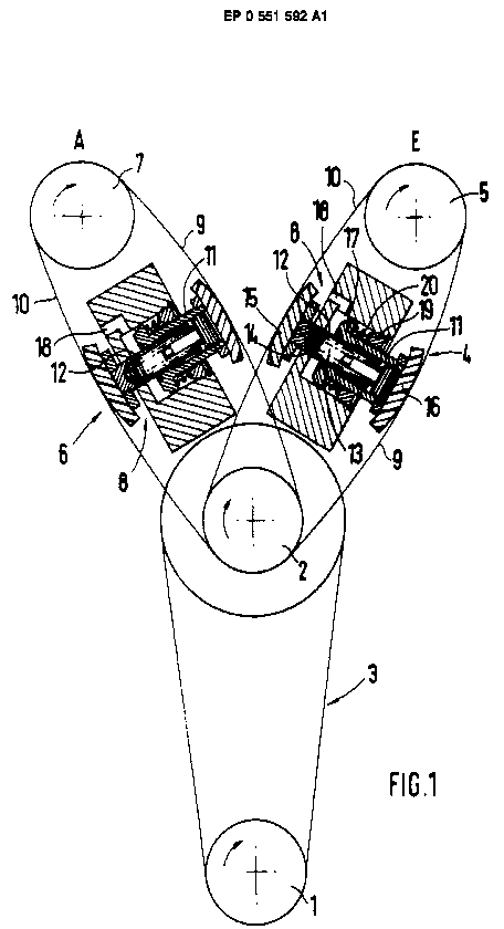
This place covers:
Illustrative example

Attention is drawn to the following places, which may be of interest for search:
Means for varying tension of belts, ropes or chains |
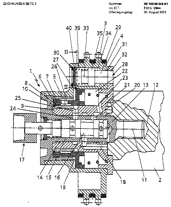
This place covers:
Illustrative example

Attention is drawn to the following places, which may be of interest for search:
Differential gears between crankshaft and camshaft(s) for varying timing | |
Gears with orbital motion | |
Wave gearings, harmonic drive transmission |
Examples of places where the subject matter of this place is covered when specially adapted, used for a particular purpose, or incorporated in a larger system:
Valve-gear specially for steam engines or specially for other machines or engines with variable fluid distribution | |
Valves for specific use as Exhaust Gas Recirculation valves (EGR valves) |
Attention is drawn to the following places, which may be of interest for search:
Finishing, reconditioning valves | |
Making poppet valves |
This place does not cover:
Valve-arrangements with pure rotary or oscillatory movement |
Examples of places where the subject matter of this place is covered when specially adapted, used for a particular purpose, or incorporated in a larger system:
Valve-gear specially for steam engines or specially for other machines or engines with variable fluid distribution |
This place covers:
- Slide valve-gear or valve arrangements with a pure rotary movement
- Slide valve-gear or valve arrangements with a pure oscillatory movement
Examples of places where the subject matter of this place is covered when specially adapted, used for a particular purpose, or incorporated in a larger system:
Valve-gear specially for steam engines or specially for other machines or engines with variable fluid distribution |
Attention is drawn to the following places, which may be of interest for search:
Slide valves with combined rotary and non-rotary movements, combinations of rotary and non-rotary slide valves | |
Rotary valve drives: |
Reference F01L 5/00 is non-limiting in the main group F01L 7/00. CPC will be updated/corrected once this inconsistency is resolved.
Looping references between F01L 5/00 and F01L 7/00 have been identified. Until this inconsistency is resolved, the current classification practice in CPC is as follows: F01L 7/00 covers only slide valve-gear or valve arrangements with a pure rotary movement or a pure oscillatory movement, while slide valves with combined rotary and non-rotary movements or combinations of rotary and non-rotary slide valves belong to F01L 5/00.
Examples of places where the subject matter of this place is covered when specially adapted, used for a particular purpose, or incorporated in a larger system:
Valve-gear specially for steam engines or specially for other machines or engines with variable fluid distribution |
Attention is drawn to the following places, which may be of interest for search:
Means for increasing the initial opening force on the valve, boost means | |
Fluid pressure actuators |
This place covers:
Illustrative example of subject matter classified in this group.

Attention is drawn to the following places, which may be of interest for search:
Electric actuating device, using motor | |
Pivoting, rectilinear armature, using motor | |
Linear motor |
Examples of places where the subject matter of this place is covered when specially adapted, used for a particular purpose, or incorporated in a larger system:
Valve-gear specially for steam engines or specially for other machines or engines with variable fluid distribution |
This group covers the structure of valve drive, while the methods or processes of controlling the valve belong to F02D.
Examples of places where the subject matter of this place is covered when specially adapted, used for a particular purpose, or incorporated in a larger system:
Valve-gear specially for steam engines or specially for other machines or engines with variable fluid distribution |
Attention is drawn to the following places, which may be of interest for search:
Controlling engine output power by varying valve lift and timing of inlet resp. exhaust valve(s) | |
Methods of controlling engine output power by varying valve lift and timing of inlet resp. exhaust valve(s), for which the emphasis is not on the structure of the valve gear used | |
Internal EGR |
This place covers:
Structure of valve drive switchable to a valve deactivating mode for lost motion of the cam follower, e.g. two-part cam followers with switchable locking means there between.
This group covers the structure of valve drive, while the methods or processes of controlling the valve belong to F02D.
Attention is drawn to the following places, which may be of interest for search:
Methods of controlling engines by rendering engine inoperative or idling or by cutting out individual cylinders, for which the emphasis is not on the structure of the valve gear used | |
Cutting-out | |
Inoperative or idling |
This place covers:
Structure of valve drive switchable to an engine braking mode, e.g. actuator opening exhaust valve for compression release event or cam follower switchable to a configuration to transmit to the valve the lift of a cam braking lobe.
Attention is drawn to the following places, which may be of interest for search:
Control of valve gear for switching to compressor action for braking: | |
Braking being exclusively produced by compression in the cylinders: | |
In cooperation with vehicle transmission or brakes: | |
Engine brake with retarder: | |
Control of engine for using engine as brake: |
This place covers:
valves actuated by interference with the stroke of the piston, valves ballistically driven
This place covers:
Types of non-mechanical valve drives like for F01L 9/00, but for steam engines
This place covers:
Distribution or expansion valve-gear peculiar to free-piston machines or engines and not provided for in F01L 21/00 - F01L 25/00
This place covers:
Types of rotary or oscillatory slide valve arrangements like for F01L 7/00, but for steam engines
Attention is drawn to the following places, which may be of interest for search:
Rotary or oscillatory slide valve-gear or valve arrangements for combustion engines |
This place covers:
Types of lift valve arrangements like for F01L 3/00, but for steam engines
Attention is drawn to the following places, which may be of interest for search:
Lift valve arrangements for combustion engines |


