CPC Definition - Subclass D04B
This place covers:
weft knitting machines are covered by D04B 7/00 - D04B 13/00,
details of, or auxiliary devices incorporated in such machines are covered by D04B 15/00 and
articles made by such machines are covered by D04B 1/00
warp knitting machines are covered by D04B 23/00 - D04B 25/00, details of, or auxiliary devices incorporated in such machines are covered by D04B 27/00 and articles made by such machines are covered by D04B 21/00
details of, or auxiliary devices incorporated in knitting machines not limited to a specific kind of knitting machine are covered by D04B 35/00
miscellaneous knitting machines and articles made by such machines are covered by D04B 39/00
hand knitting equipment is covered by D04B 3/00, D04B 5/00 and D04B 33/00
auxiliary apparatuses or devices for use with knitting machines are covered by D04B 37/00 or for hand knitting equipment are covered by D04B 17/00, D04B 19/00 and D04B 31/00
- layered products including knitted products as such should be classified in B32B 5/00 only;
- layered products formed by a knitting process featuring specified patterns or information on the composition of the knit article should be classified in D04B. Note that such products may comprise additional coated faces.
This place does not cover:
The distinction between warp and weft knitting processes is essential for correct classification in this group. Fabrics, machines and processes not belonging to one of these two main knitting processes are considered miscellaneous (i.e. D04B 39/00).
In this subclass, further classification in indexing scheme D10B for aspects relating to textiles is required.
In this place, the following terms or expressions are used with the meaning indicated:
a knitted fabric is a fabric comprising one or more inter-looped yarns
a woven fabric is a fabric comprising straight warp yarns interlinked by interlaced weft yarns
This place covers:
weft knitting processes or fabrics with specific details on materials and/or fabric structure
weft knitted fabrics and weft knitting processes not otherwise provided for, e.g. plain jersey or rib knitting processes and fabrics:


This place does not cover:
Warp knitting processes and products | |
Combined weft and warp knitting |
Attention is drawn to the following places, which may be of interest for search:
Weft knitting processes for the production of patterned fabrics (e.g. wrap striping) | |
Unravelling knitted fabrics |
In this group, multiple classification is allowed. The classification is desirably complemented by a classification in the indexing scheme relating to textiles (i.e. D10B 2101/00 - D10B 2509/08) for identifying the thread composition, fabric structure and application field.
In patent documents, the following words/expressions are often used as synonyms:
- "standard weft knit fabrics", "mesh fabric", "jersey" and "rib knit"
This place covers:
Fabrics or articles comprising a weft knit ground fabric with knitted in fibres or yarns projecting from one or both fabric faces. Example:

This place does not cover:
pile fabrics without pile forming material , e.g. fleece, and loft obtained by finishing treatments like napping D10B 2403/0111, D10B 2403/0121 in combination with the appropriate D04B (sub)group
pile fabrics subjected to napping treatment D06C 11/00
piles applied to a preformed ground fabric (e.g. by tufting) D05C
pile fabrics forming part of socks or stockings D04B 1/26
pile fabrics included in upper parts of panties or pants D04B 1/243
Attention is drawn to the following places, which may be of interest for search:
Woven pile fabrics |
The classification is desirably complemented by a classification in the Indexing Code D10B 2403/01 identifying surface features.
Documents also describing machines for weft knitting pile fabrics should additionally be classified in D04B 7/12, D04B 9/12 or D04B 11/08.
In this place, the following terms or expressions are used with the meaning indicated:
Pile fabrics | are fabrics having a significant portion of fibres or yarns, different from ground fabric fibres or yarns, projecting from and oriented transverse to one or both ground fabric faces. |
In patent documents, the following words/expressions are often used as synonyms:
- "terry", "plush", "velour", "cut pile" and "velvet"
This place covers:
Fabrics or articles having loose fibres incorporated during the weft knitting process. Examples:


Attention is drawn to the following places, which may be of interest for search:
Flocked products, i.e. products wherein the projecting fibres are not routed in a stitch thread |
Documents describing fur garments or garments of fur substitute should be complemented with the Indexing Code D10B 2501/044.
Documents also describing circular knitting machines forming high-pile fabrics should additionally be classified in D04B 9/14.
This place covers:
pile fabrics or articles whereby the properties of the pile thread material alone, or in combination with the pile arrangement, ensure special effects, e.g. enhanced cushioning or thermal shielding.
The classification in this group is desirably complemented by a classification in the indexing scheme D10B 2101/00 - D10B 2331/301 for identifying the thread composition.
This place covers:
Fabrics or articles rendered ravel resistant and/or ladderproof by knitting texture or composition. Example:


Documents also describing machines for weft knitting non-run fabrics should additionally be classified in D04B 9/48 or D04B 11/30.
This place covers:
non-run fabrics or articles whereby the properties of a thread material alone, or in combination with the stitch pattern, ensure ravel resistance and render the fabric or article ladderproof.
The classification in this group is desirably complemented by a classification in the indexing scheme D10B 2101/00 - D10B 2331/301 for identifying the thread composition.
This place covers:
Fabrics or articles wherein the non-uniform arrangement of stitches and/or different threads, alone or in combination, ensures the intended effects.



Documents also describing machines for weft knitting patterned fabrics should additionally be classified in D04B 7/24, D04B 9/26 or D04B 11/18.
This place covers:
Patterned fabrics or articles wherein primarily the knitted texture ensures the intended effects.


Documents also describing machines for weft knitting stitch patterns should additionally be classified in D04B 7/20, D04B 7/28, D04B 9/06, D04B 9/10, D04B 9/38, D04B 11/14, or D04B 11/22.
This place covers:
Illustrative example of subject matter classified in this group.


This place covers:
Illustrative example of subject matter classified in this group.

Attention is drawn to the following places, which may be of interest for search:
Binding off methods and stitch structures |
Documents also describing machines for weft knitting hems or welts should additionally be classified in D04B 7/22, D04B 9/24, D04B 9/54, D04B 11/16 or D04B 11/32.
This place covers:
Illustrative example of subject matter classified in this group:


The classification is desirably complemented by a classification in the Indexing Code D10B 2403/033 identifying a three dimensional fabric.
Documents also describing machines for weft knitting gussets or pouches should additionally be classified in D04B 7/30, D04B 9/42, D04B 9/56, D04B 11/26 or D04B 11/34.
This place covers:
Fabrics or articles whereby the properties of a thread material in combination with the stitch pattern ensure intended effects. Example:

The classification is desirably complemented by a classification in the indexing scheme D10B 2101/00 - D10B 2331/301 for identifying the thread composition and/or D10B 2403/0114 for identifying plated fabrics.
This place covers:
Illustrative examples of subject matter covered by this group.



The classification is desirably complemented with the Indexing Code D10B 2401/063 identifying high strength fabric and/or D10B 2403/02411 or D10B 2403/02412 identifying fabric with enhanced mechanical properties with arrays of unbent yarn.
Documents also describing machines for weft knitting yarn inlay fabrics should additionally be classified in D04B 7/14, D04B 9/16 or D04B 11/10.
This place covers:
Illustrative examples of subject matter classified in this group.


Documents also describing machines for weft knitting colour patterns should additionally be classified in D04B 7/26, D04B 9/28 or D04B 11/20.
Documents also describing a thread changing device should additionally be classified in D04B 15/56 or D04B 15/58.
In this place, the following terms or expressions are used with the meaning indicated:
Intarsia | is a knitting technique used to create patterns with multiple colours. There is only one active colour on any given stitch. |
This place covers:
The classification in this group is desirably complemented by a classification in the indexing scheme D10B 2101/00 for identifying the thread composition.
Documents also describing circular knitting machines for weft knitting reinforcing threads should additionally be classified in D04B 9/18.
This place covers:
fabrics or articles wherein the properties of a thread material in combination with the thread arrangement ensure the intended effects, e.g. cover, hand or resilience.
The classification in this group is desirably complemented by a classification in the indexing scheme D10B 2201/20, D10B 2211/20, D10B 2321/00 or D10B 2331/00 for identifying the thread composition.
In this place, the following terms or expressions are used with the meaning indicated:
Synthetic threads | are yarns made from or predominantly comprising artificial organic fibres or filaments. |
Attention is drawn to the following places, which may be of interest for search:
Fabrics or articles with stitch pattern at a selvedge | |
Weft knitting processes specially adapted for upper parts of panties, pants | |
Weft knitting processes specially adapted for surgical stockings |
The classification in this group is desirably complemented by a classification in the indexing scheme D10B 2101/00 - D10B 2331/301 for identifying the thread composition.
Documents also describing machines for producing fabrics incorporating elastic threads should additionally be classified in D04B 7/16 or D04B 11/12.
Documents also describing a thread feeding device should additionally be classified in D04B 15/48.
In this place, the following terms or expressions are used with the meaning indicated:
Elastic threads | are threads which fully recover to the initial length from extension by 100 per cent or more. |
In this place, the following terms or expressions are used with the meaning indicated:
Crimped threads | are threads having elasticity imparted primarily by the fibre or filament configuration, e.g. by curls or twists. |
This place covers:
Articles requiring adaptation of the standard knitting process and/or the standard knitting machine setup. Examples:


The classification is desirably complemented with the Indexing Code D10B 2403/02 identifying cross-sectional features and/or D10B 2403/03 identifying shape features.
Documents also describing machines for weft knitting articles of particular configuration should additionally be classified in D04B 7/30, D04B 9/42 or D04B 11/26.
This place covers:
Illustrative example of subject matter classified in this group.

This place does not cover:
Warp knitted elongated tubular articles of small diameter | |
Elongated tubular articles of small diameter made by knitting processes other than weft knitting |
Attention is drawn to the following places, which may be of interest for search:
Hoses with reinforcements embedded in the wall |
The classification is desirably complemented with the Indexing Code D10B 2403/031 identifying narrow fabric of constant width.
Documents also describing circular knitting machines for weft knitting elongated tubular articles of small diameter should additionally be classified in D04B 9/44.
This place covers:
Illustrative examples of subject matter classified in this group.



The classification is desirably complemented with the Indexing Code D10B 2501/00 identifying the type of wearing apparel and/or D10B 2403/032 or D10B 2403/033 identifying respectively flat fabric of variable width and three dimensional fabric.
Documents also describing flat knitting machines respectively for tubular goods or for fully-fashioned goods should additionally be classified respectively in D04B 7/32 or D04B 7/10.
Documents also describing circular knitting machines for flat fabric portions should additionally be classified in D04B 9/20.
Documents also describing straight bar knitting machines for wearing apparel should additionally be classified in D04B 11/36.
This place covers:
Illustrative example of subject matter classified in this group.


This place covers:
Illustrative examples of subject matter classified in this group.


The classification is desirably complemented with the Indexing Code D10B 2403/032 identifying flat fabric of variable width and/or D10B 2403/0333 identifying three dimensional fabric with tubular portions of variable diameter or distinct axial orientation.
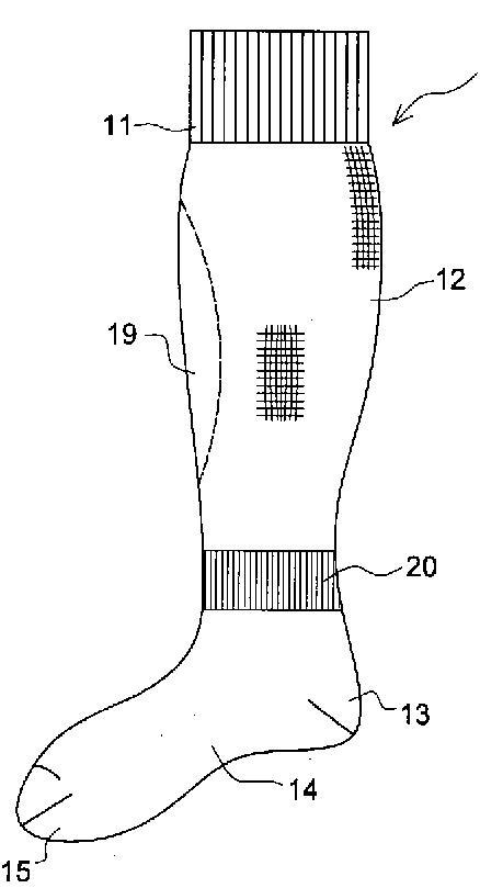
This place covers:
Illustrative examples of subject matter classified in this group.


Documents describing heel or toe portions should additionally be classified in D04B 1/108.
Documents also describing machines for weft knitting socks or stockings should additionally be classified in D04B 7/32, D04B 9/46 or D04B 11/28.
This place covers:
Illustrative example of subject matter classified in this group.

Attention is drawn to the following places, which may be of interest for search:
Fabrics or articles including elastic threads |
Documents also describing circular knitting machines for weft knitting surgical stockings should additionally be classified in D04B 9/52.
Documents also describing elastic hems, e.g. mock rib should additionally be classified in D04B 1/106.
In this place, the following terms or expressions are used with the meaning indicated:
Surgical stockings | means socks or stockings with predominantly therapeutic effect, e.g. against veins disease. |
This place covers:
Hand knitting methods using knitting needles for forming stitches, and devices for effecting such knitting methods.

Documents describing hand driven flat knitting machines should additionally be classified in D04B 7/08.
This place covers:
Illustrative example of subject matter classified in this group.

This place covers:
Illustrative example of subject matter classified in this group.

This place covers:
Illustrative example of subject matter classified in this group.

This place covers:
Flat weft knitting machines with sequential stitch formation in a row of stitches.

Attention is drawn to the following places, which may be of interest for search:
Flat warp knitting machines |
Documents also describing knitted goods of particular configuration should additionally be classified in D04B 1/22.
Documents also describing knitted goods of particular configuration should additionally be classified in D04B 1/22.
Documents also describing fabrics or articles with stitch pattern should additionally be classified in D04B 1/102.
Documents also describing knitted goods with laid-in unlooped yarn should additionally be classified in D04B 1/123.
Documents also describing fabrics or articles with stitch pattern should additionally be classified in D04B 1/102.
Documents also describing fabrics or articles with stitch pattern at a selvedge should additionally be classified in D04B 1/106.
Documents also describing knitted goods with colour pattern should additionally be classified in D04B 1/126.
Documents also describing fabrics or articles with stitch pattern should additionally be classified in D04B 1/102.
This place covers:
circular weft knitting machines with sequential stitch formation in a row of stitches. Example:

This place does not cover:
circular warp knitting machines |
Documents also describing knitted goods of particular configuration should additionally be classified in D04B 1/22.
Documents also describing knitted goods of particular configuration should additionally be classified in D04B 1/22.
Documents also describing fabrics or articles with stitch pattern should additionally be classified in D04B 1/102.
Documents also describing knitted pile fabrics incorporating loose fibres should additionally be classified in D04B 1/025.
Documents also describing knitted fabrics with laid-in unlooped yarn should additionally be classified in D04B 1/123.
Documents also describing fabrics or articles characterised by the stitch pattern should additionally be classified in D04B 1/102.
Documents also describing fabrics or articles with stitch pattern at a selvedge should additionally be classified in D04B 1/106.
Documents also describing knitted goods with colour pattern should additionally be classified in D04B 1/126.
Documents also describing intarsia knitted goods should additionally be classified in D04B 1/126.
In this place, the following terms or expressions are used with the meaning indicated:
Intarsia | is a knitting technique used to create patterns with multiple colours. There is only one active colour on any given stitch. |
Documents also describing fabrics or articles with stitch pattern should additionally be classified in D04B 1/102.
This place covers:
Circular knitting machines with the provision for transfer of knitted goods from one machine to another whereby the other machine may form part of the knitting machine but performs a special function, e.g. toe closing, not performed on the knitting head.
Attention is drawn to the following places, which may be of interest for search:
Circular knitting machines with toe closing at the knitting head, i.e. no transfer from the knitting needles at toe closing | |
Sewing units for assembling parts of knitted panties or closing the stocking toe part |
This place covers:
knitting machines modified for performing particular knitting processes, e.g. knitting of one-piece panty hose.
Documents also describing knitted goods of particular configuration should additionally be classified in D04B 1/22.
Documents also describing knitted elongated tubular articles of small diameter should additionally be classified in D04B 1/225.
Documents also describing surgical stockings should additionally be classified in D04B 1/265.
Documents also describing fabrics or articles with stitch pattern at a selvedge should additionally be classified in D04B 1/106.
Documents also describing fabrics or articles with stitch pattern at heel or toe portions should additionally be classified in D04B 1/108.
This place covers:
Flat straight bar weft knitting machines with concurrent stitch formation in a row of stitches.

Attention is drawn to the following places, which may be of interest for search:
Flat warp knitting machines |
Documents also describing knitted goods of particular configuration should additionally be classified in D04B 1/22.
Documents also describing knitted goods of particular configuration should additionally be classified in D04B 1/22.
Documents also describing knitted pile fabrics should additionally be classified in D04B 1/02.
Documents also describing knitted fabrics with laid-in unlooped yarn should additionally be classified in D04B 1/123.
Documents also describing knitted goods consisting of, or incorporating elastic threads should additionally be classified in D04B 1/18.
Documents also describing fabrics or articles characterised by the stitch pattern should additionally be classified in D04B 1/102.
Documents also describing fabrics or articles with stitch pattern at a selvedge should additionally be classified in D04B 1/106.
Documents also describing knitted goods with colour pattern should additionally be classified in D04B 1/126.
Documents also describing fabrics or articles with stitch pattern should additionally be classified in D04B 1/102.
This place covers:
straight bar knitting machines with the provision for transfer of knitted goods from one machine to another whereby the other machine may form part of the knitting machine but performs a special function, e.g. rib knitting, not performed on the knitting head.
Documents also describing knitted goods of particular configuration should additionally be classified in D04B 1/22.
Documents also describing knitted socks or stockings should additionally be classified in D04B 1/26.
Documents also describing fabrics or articles with stitch pattern at a selvedge should additionally be classified in D04B 1/106.
Documents also describing fabrics or articles with stitch pattern at heel or toe portions should additionally be classified in D04B 1/108.
Documents also describing wearing apparel should additionally be classified in D04B 1/24.
This place covers:
Circular weft knitting machines with concurrent stitch formation in a row of stitches. Example:

Attention is drawn to the following places, which may be of interest for search:
Circular warp knitting machines |
This place covers:
All details on devices for weft knitting machines not provided for in one of the sub-groups, e.g. frames or servicing aids.
This place does not cover:
Details or auxiliary devices incorporated in warp knitting machines |
Attention is drawn to the following places, which may be of interest for search:
Details of, or auxiliary devices incorporated in, knitting machines not limited to a specific type of knitting or not otherwise provided for | |
Needles for knitting devices | |
Auxiliary apparatus or devices for use with weft knitting machines, e.g. spare parts containers or computerised design systems |
In this subclass, multiple classification is allowed, especially in combination with main groups D04B 7/00, D04B 9/00, D04B 11/00 and D04B 13/00.
Attention is drawn to the following places, which may be of interest for search:
Guides for filamentary material in general | |
Adjusting or controlling tension in filamentary material in general |
This place covers:
All positive thread feeding devices actively forwarding thread from the storage to a knitting head and thread feeding devices not covered by one of the sub-groups.
Attention is drawn to the following places, which may be of interest for search:
Handling the weft between bulk storage and weft-inserting means (e.g. thread feeding devices for looms) | |
Adjusting or controlling tension in filamentary material by regulating speed of driving mechanism of unwinding, paying-out, forwarding, winding or depositing devices in general |
Thread-feeding devices designed for purposes other than feeding threads to weft knitting machines are not classified here.
Attention is drawn to the following places, which may be of interest for search:
Forwarding filamentary material in general |
This place covers:
Driving-gear including electronic control means, e.g. microcomputers for driving the knitting machine.
This place covers:
Driving-gear including electronic control means, e.g. microcomputers for driving a device associated with a knitting machine.
This place covers:
devices subordinate to a control means of higher hierarchy, e.g. driving gear for individual knitting machines, when subject to remote control by a central plant controller.
This place does not cover:
Knitwear design systems |
This place covers:
Fabric repairing processes and devices for effecting repairs. Example:

This place covers:
Fabric unravelling processes and apparatus for such processes. Example:

This place covers:
Warp knitting processes or fabrics with specific details on materials and/or fabric structure
Warp knitted fabrics and warp knitting processes not otherwise provided for. Example:

This place does not cover:
Weft knitting processes and products | |
Combined weft and warp knitting |
In this group, multiple classification is allowed. The classification is desirably complemented by a classification in the indexing scheme relating to textiles, i.e. D10B 2101/00 - D10B 2509/08 for identifying the thread composition, fabric structure and application field. Warp knitted fabrics or articles of unspecified construction or composition are not classified here.
This place covers:
Illustrative example of subject matter classified in this group.

This place does not cover:
Pile fabrics without pile forming material , e.g. fleece, and loft obtained by finishing treatments like napping | |
Pile fabrics with piles applied to a preformed ground fabric (e.g. by tufting) | |
Pile fabrics subjected to napping treatment |
Attention is drawn to the following places, which may be of interest for search:
Flocked products, i.e. products wherein the projecting fibres are not routed in a stitch thread | |
Woven pile fabrics |
The classification is desirably complemented by a classification with the Indexing Code D10B 2403/01 for identifying surface features.
Pile fabrics without pile forming material , e.g. fleece, and loft obtained by finishing treatments like napping is complemented in combination with the appropriate D04B (sub)groupwith the Indexing Code D10B 2403/0111, D10B 2403/0121
Documents also describing machines for warp knitting pile fabrics should additionally be classified in D04B 23/08 or D04B 25/08.
In this place, the following terms or expressions are used with the meaning indicated:
Pile fabrics | are fabrics having a significant portion of fibres or yarns, different from ground fabric fibres or yarns, projecting from and oriented transverse to one or both ground fabric faces. |
In patent documents, the following words/expressions are often used as synonyms:
- "terry", "plush", "velour", "cut pile" and "velvet"
This place covers:
pile fabrics or articles whereby the properties of the pile thread material alone, or in combination with the pile arrangement, ensure special effects, e.g. enhanced cushioning or thermal shielding.
The classification in this group is desirably complemented by a classification in the indexing scheme D10B 2101/00 - D10B 2331/301 for identifying the thread composition.
This place covers:
Fabrics or articles wherein the non-uniform arrangement of stitches and/or different threads, alone or in combination, ensures the intended effects. Examples:


Documents also describing machines for warp knitting patterned fabrics should additionally be classified in D04B 23/22, D04B 23/24 or D04B 25/10.
Documents also describing thread guide bars with independently movable thread guides should additionally be classified in D04B 27/32.
In patent documents, the following words/expressions are often used as synonyms:
- "jacquard fabric" and "patterned fabric"
This place covers:
Fabrics or articles whereby the properties of a thread material in combination with the stitch pattern ensure intended effects. Example:

The classification in this group is desirably complemented by a classification in the indexing scheme D10B 2101/00 - D10B 2331/301 for identifying the thread composition.
In patent documents, the following words/expressions are often used as synonyms:
- "jacquard fabric" and "embroidered fabric"
This place covers:
Illustrative examples of subject matter classified in this group.



Attention is drawn to the following places, which may be of interest for search:
In patent documents, the following words/expressions are often used as synonyms:
- "tulle", "mesh", "net" and "netting"
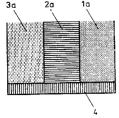
This place covers:
Fabrics or articles whereby the properties of a thread material in combination with the stitch pattern ensure intended effects. Example:


The example above shows a double ply mesh including thread material (3) having a spacer effect separating both face layers (2).
Attention is drawn to the following places, which may be of interest for search:
Patterned braided lace or tulle |
The classification in this group is desirably complemented by a classification in the indexing scheme D10B 2101/00 - D10B 2331/301 for identifying the thread composition.
In patent documents, the following words/expressions are often used as synonyms:
- "lace" and "embroidery"
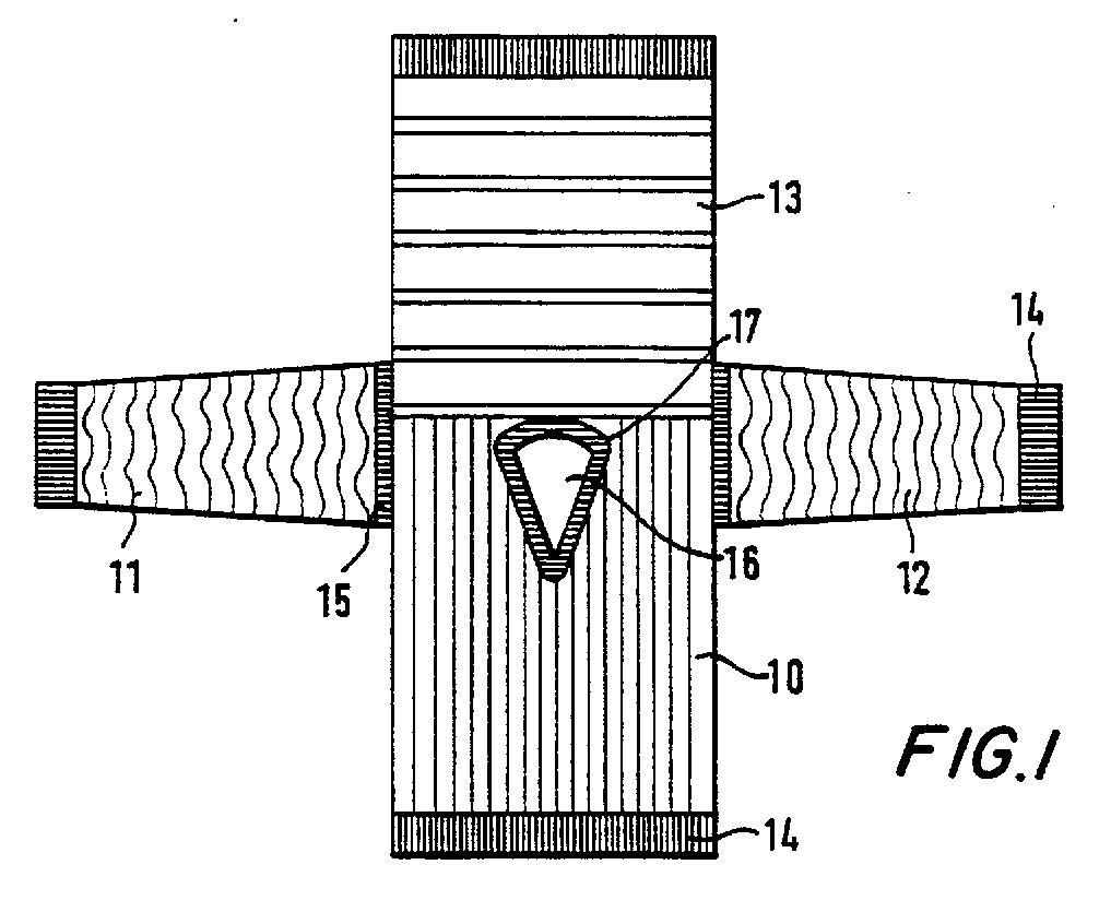
This place covers:
Fabrics comprising components providing special properties, e.g. metal yarns or stiffening wires, not provided for in groups D04B 21/145 - D04B 21/18
fabrics coated with a film or incorporating additional compounds, e.g. fillings. Example:

This place does not cover:
Pile fabrics | |
Woven fabrics in general |
The classification in this group is desirably complemented by a classification in the indexing scheme D10B 2101/00 for identifying the thread composition and/or D10B 2403/02 for identifying the cross-sectional features.
Documents also describing machines for incorporating small auxiliary elements should additionally be classified in D04B 23/14.
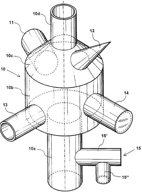
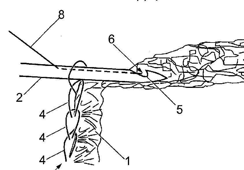
This place covers:
Illustrative examples of subject matter classified in this group.



The stitches (4) shown in the above example are formed by piercing a web and drawing loops from the fibres caught in the needle head (5).
Documents also describing machines for knitting through thread, fleece or fabric layers should additionally be classified in D04B 23/10.
In patent documents, the following words/expressions are often used as synonyms:
- "Malivlies", "Voltex" and "Kunit"
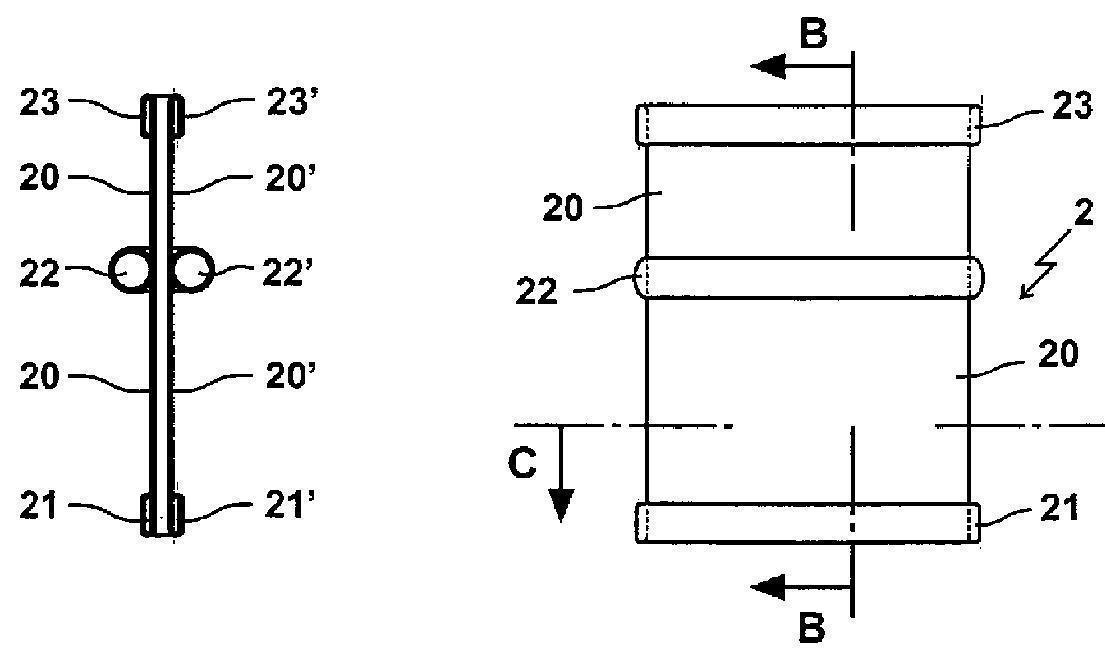
This place covers:
fabrics or articles wherein the properties of a thread material (e.g. wicking, optical, chemical, biocompatible, biostatic, etc) in combination with the thread arrangement (e.g. inner, intermediate or outer layer) ensure intended effects, e.g. cover, hand or resilience. Examples:

The thread material in the intermediate layer in the example above has a spacer effect.

The thread material (6) in the intermediate layer in the example above can provide moisture transport.
This place does not cover:
Warp knitting processes and fabrics incorporating elastic threads |
The classification in this group is desirably complemented by a classification in the indexing scheme D10B 2201/20, D10B 2211/20, D10B 2321/00 or D10B 2331/00 for identifying the thread composition and/or D10B 2403/00 for identifying details of fabric structure established in the fabric forming process.
In this place, the following terms or expressions are used with the meaning indicated:
Synthetic threads | are yarns made from or predominantly comprising artificial organic fibres or filaments. |
This place covers:
Fabrics with synthetic threads as stitching threads combining all components of the fabric. Examples:



The example above shows a voluminous web consolidated by stitching interlinked threads through the web (see also example below).

Attention is drawn to the following places, which may be of interest for search:
Warp knitted fabrics with mutually interlaced warp and weft inlay threads | |
Layered products with one or more fibrous layers needled to another layer | |
Layered products characterised by the presence of two or more layers which comprise fibres, filaments, granules, or powder, or are foamed or specifically porous | |
Layered products characterised by the connection of layers by mechanical connection | |
Non-woven fabrics formed wholly or mainly of yarns or like filamentary material of substantial length in rectilinear paths (e.g. unstitched yarn lay-ups) |
Documents describing also machines for incorporating unlooped wefts extending from selvedge to selvedge should additionally be classified in D04B 23/12.
In patent documents, the following words/expressions are often used as synonyms:
- "Maliwatt", "Arachne", and "stitch-bonded"
Attention is drawn to the following places, which may be of interest for search:
Warp knitting processes specially adapted for wearing apparel or garment blanks |
The classification in this group is desirably complemented by a classification in the indexing scheme D10B 2101/00 - D10B 2331/301 for identifying the thread composition.
Documents also describing flat warp knitting machines for producing fabrics consisting of, or incorporating elastic threads should additionally be classified in D04B 23/06.
In this place, the following terms or expressions are used with the meaning indicated:
Elastic threads | are threads which fully recover to the initial length from extension by 100 per cent or more |
This place covers:
Articles requiring adaptation of the standard knitting process and/or the standard knitting machine setup. Example:

The classification is desirably complemented with the Indexing Code D10B 2403/02 identifying cross-sectional features and/or D10B 2403/03 identifying shape features.
Documents also describing machines for warp knitting articles of particular configuration should additionally be classified in D04B 23/16 or D04B 25/14.
This place covers:
Flexible elongate structures composed of one or more threads interlaced by warp knit stitches, suitable for being further processed into fabrics on textile machines. Example:

This place does not cover:
Such as warp knit tapes or belts, which remain in | |
Narrow fabrics of constant width |
The classification in this group is desirably complemented by a classification in the indexing scheme D10B 2101/00 - D10B 2331/301 for identifying the thread composition.
This place covers:
Illustrative example of subject matter classified in this group.

Attention is drawn to the following places, which may be of interest for search:
Weft knitted elongated tubular articles of small diameter | |
Elongated tubular articles of small diameter knitted by miscellaneous knitting processes |
Documents also describing machines for knitting around elongated core material should additionally be classified in D04B 23/10, D04B 25/02 or D04B 25/04.
This place covers:
Illustrative examples of subject matter classified in this group.


The classification is desirably complemented with the Indexing Code D10B 2501/00 identifying the type of wearing apparel and/or D10B 2403/033 identifying three dimensional fabric.
Documents also describing flat warp knitting machines with provision for narrowing or widening should additionally be classified in D04B 23/18.
Documents also describing flat warp knitting machines for producing stocking blanks should additionally be classified in D04B 23/20.
This place covers:
Flat warp knitting machines with one or two needle bars, e.g. tricot or raschel machines. Example:

This place covers:
Warp knitting machines specially adapted for knitting articles of particular structure or configuration, e.g. meat casings, ornamental articles etc. Example:

This place covers:
all details on devices for warp knitting machines not provided for in one of the sub-groups, e.g. frames or servicing aids.
Attention is drawn to the following places, which may be of interest for search:
Details of, or auxiliary devices incorporated in, weft knitting machines | |
Details of, or auxiliary devices incorporated in, knitting machines not limited to a specific type of knitting or not otherwise provided for | |
Needles for knitting devices | |
Auxiliary apparatus or devices for use with warp knitting machines, e.g. spare parts containers or computerised design systems |
In this subclass, multiple classification is allowed, especially in combination with main groups D04B 23/00 or D04B 25/00.
This place covers:
Crocheting methods using crocheting needles for drawing stitches. Example:

This place covers:
Devices for effecting crocheting methods. Example:

This place does not cover:
Galloon crocheting machines |
Attention is drawn to the following places, which may be of interest for search:
Auxiliary apparatus or devices for use with knitting machines |
In this group, multiple classification is allowed, especially in combination with groups D04B 7/00, D04B 9/00, D04B 11/00, D04B 13/00, D04B 23/00 or D04B 25/00. Devices not applied to or not used in conjunction with knitting machines are not classified here.
Attention is drawn to the following places, which may be of interest for search:
Needles used for hand knitting | |
Needles used for mending knit fabric |
Attention is drawn to the following places, which may be of interest for search:
Warning or safety devices, e.g. automatic fault detectors, stop-motions in general |
Attention is drawn to the following places, which may be of interest for search:
Moistening, sizing, oiling, waxing, colouring or drying filamentary material as additional measures during package formation |
Attention is drawn to the following places, which may be of interest for search:
Arrangements for confining or removing dust in winding, coiling or depositing filamentary material |
This place covers:
Ancillaries for use with but separate from knitting machines, e.g. design systems or knitting tool containers.
This place does not cover:
Devices exclusively incorporated in weft knitting machines | |
Devices exclusively incorporated in warp knitting machines | |
Details of, or auxiliary devices incorporated in, knitting machines not limited to specific types of knitting machines or not otherwise provided for |
In this group, multiple classification is allowed, especially in combination with groups D04B 7/00, D04B 9/00, D04B 11/00, D04B 13/00, D04B 23/00 or D04B 25/00.
This place covers:
Knitted articles, knitting processes and apparatus for making such articles not or not fully covered by weft or warp knitting technology, e.g. Kemafil articles or needleless knitting machines. Examples:



This place covers:
Illustrative examples of subject matter classified in this group.


Attention is drawn to the following places, which may be of interest for search:
Circular knitting machines for wrap striping | |
Warp knitting machines with independently-movable knitting needles | |
Milanese machines |
This place covers:
Illustrative examples of subject matter classified in this group.

Attention is drawn to the following places, which may be of interest for search:
Warp knitting machines for knitting through fabric layers. |


