CPC Definition - Subclass B67B
This place covers:
Closing bottles or jars by applying:
- Stoppers;
- caps
- protective or decorative covers to closures;
- wire to secure bottle closures;
Devices for opening closed containers being hand- or power operated.
Apparatuses for applying closures and/or covers (of closures) to gas bottles.
This place does not cover:
Opening or closing test tubes in laboratory (see e.g. SA850578) | |
Devices for transferring samples to, in, or from, the analysis apparatus with means for piercing stoppers or septums |
Attention is drawn to the following places, which may be of interest for search:
Devices for breaking closed containers | |
Manufacturing of bottle cork safety cages or muzzles | |
Apparatus for cutting in general | |
Applying plugs or threadless stoppers | |
Inserting and rotating screw stoppers | |
Details related to the filling gas bottles |
This place covers:
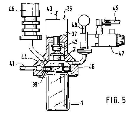
Feeding stoppers.
Pretreatment of stoppers.
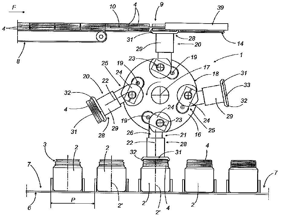
Inserting threadless stoppers.
Inserting and rotating screw stoppers.
Securing stoppers.
Inserting disc closures.
This place does not cover:
Attention is drawn to the following places, which may be of interest for search:
Applying plugs or threadless stoppers | |
Closing containers other than bottle- or jar-type containers | |
Inserting and rotating screw stoppers | |
Orienting and/or conveying of caps in general | |
Opening or closing test tubes in laboratory (see e.g. SA850578) |
This place covers:
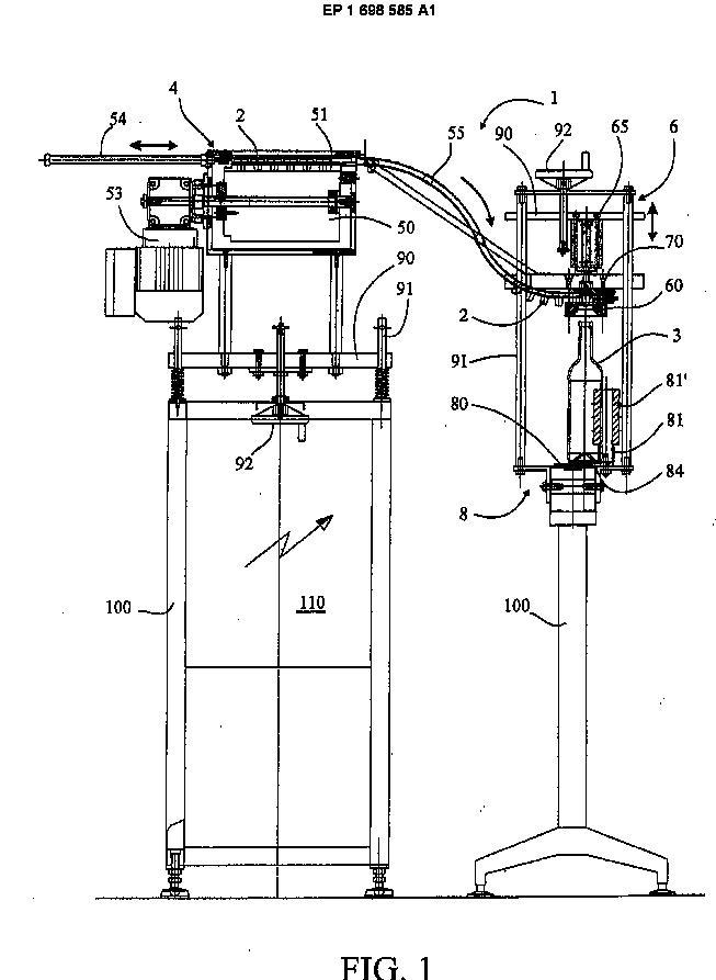
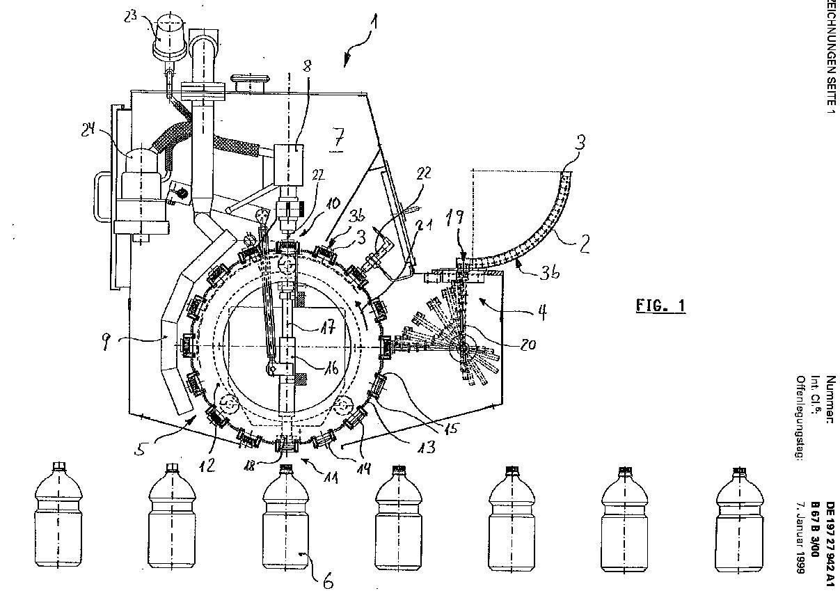
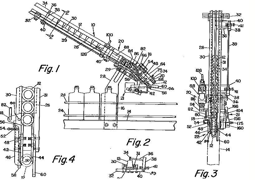
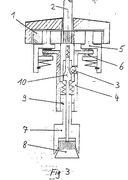
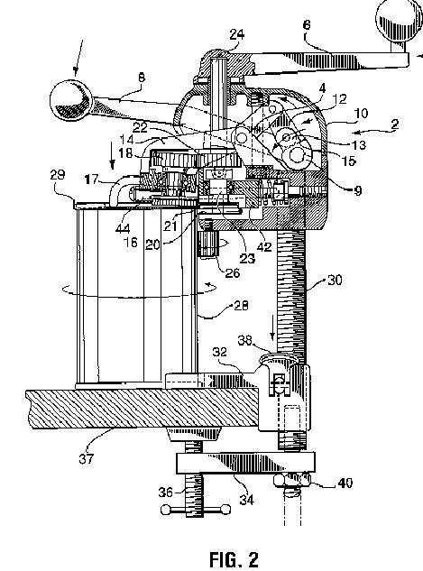
Illustrative example of subject matter classified in this 
This place covers:
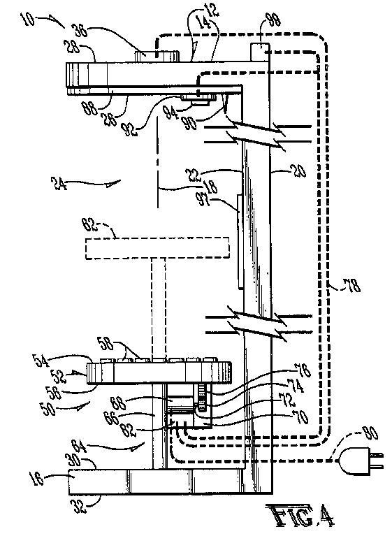
Illustrative example of subject matter classified in this group.


This place covers:
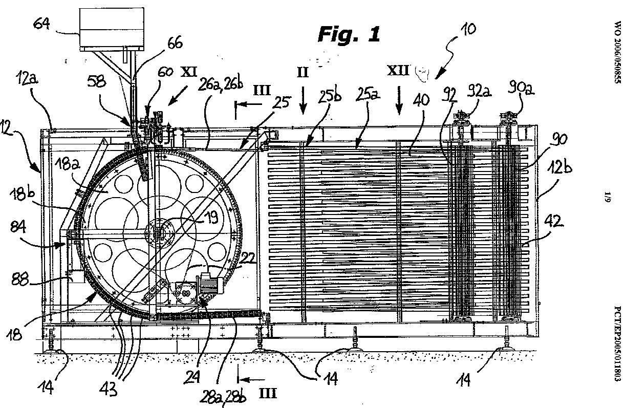
Illustrative example of subject matter classified in this group.

This place covers:
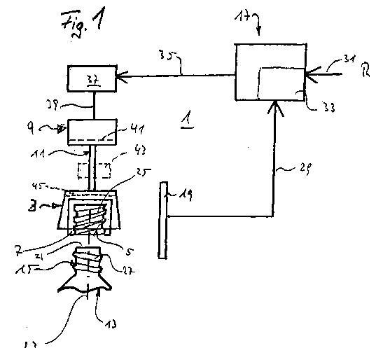
Illustrative example of subject matter classified in this group.

This place covers:
Illustrative example of subject matter classified in this group.

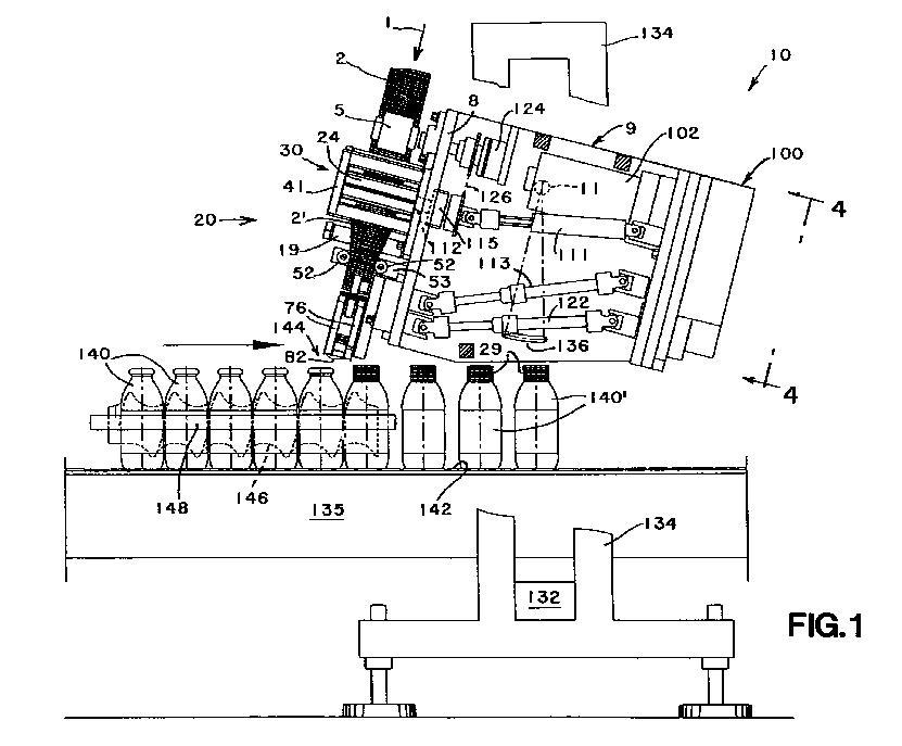
This place covers:
Pretreatment of caps.
Applying marks to caps.
Applying:
- Flanged caps, e.g. crown corks, by deformation of flanges;
- preformed threaded caps;
- snap-on caps.
Means for applying caps under vacuum Applications of control, warning and safety in capping machinery.
This place does not cover:
Making closures, e.g. crown caps, screw caps |
Attention is drawn to the following places, which may be of interest for search:
Inserting and rotating preformed threaded caps | |
Opening or closing test tubes in laboratory (see e.g. SA850578) |
This place covers:
Illustrative example of subject matter classified in this group.

This place covers:
Illustrative example of subject matter classified in this group.

This place covers:
Illustrative example of subject matter classified in this group.

This place covers:
Illustrative example of subject matter classified in this group.

This place covers:
Illustrative example of subject matter classified in this group.


This place covers:
Illustrative example of subject matter classified in this group.

This place covers:
Illustrative example of subject matter classified in this group.

This place covers:
Illustrative example of subject matter classified in this group.

This place covers:
Illustrative example of subject matter classified in this group.

This place covers:
Illustrative example of subject matter classified in this group.

This place covers:
Illustrative example of subject matter classified in this group.


This place covers:
Illustrative example of subject matter classified in this group.

This place covers:
Illustrative example of subject matter classified in this group.

Attention is drawn to the following places, which may be of interest for search:
Permanent magnetic clutches |
This place covers:
Illustrative example of subject matter classified in this group.


This place covers:
Illustrative example of subject matter classified in this group.

This place covers:
Illustrative example of subject matter classified in this group.

This place covers:
Illustrative example of subject matter classified in this group.

This place covers:
Applying protective or decorative covers to closures.
Securing bottle closures with wire.
This place does not cover:
Manufacturing of bottle cork safety cages or muzzles |
This place covers:
Illustrative example of subject matter classified in this group.


This place covers:
Devices for removing:
- Stoppers;
- disc-closures;
- tightly fitting lids or covers;
- threaded caps;
- vacuum seals.
Devices for piercing holes in closed containers
Device for cutting open closed containers operated by hand
Device for cutting open closed containers power operated
Devices for engaging elements for opening closed containers by tearing
Devices for removing barrel bungs
Combination tools for opening several different closed containers
Devices for opening closed containers by means of breaking.
This place does not cover:
Nail pullers or extractors | |
Devices attached to, or incorporated in, containers or container closures |
Attention is drawn to the following places, which may be of interest for search:
Devices for breaking closed containers, see also | |
Apparatus for cutting in general: | |
Devices for expelling or dispensing solid content, e.g. pills, from blister packs |
This place covers:
Illustrative example of subject matter classified in this group.


This place covers:
Illustrative example of subject matter classified in this group.

This place covers:
Illustrative example of subject matter classified in this group.

This place covers:
Illustrative example of subject matter classified in this group.




Attention is drawn to the following places, which may be of interest for search:
Needs to be cleaned in combination with |
This place covers:
Illustrative example of subject matter classified in this group.

This place covers:
Illustrative example of subject matter classified in this group.


This place covers:
Illustrative example of subject matter classified in this group.


This place covers:
Illustrative example of subject matter classified in this group.


Attention is drawn to the following places, which may be of interest for search:
Devices for transferring samples to, in, or from, the analysis apparatus with means for piercing stoppers or septums |
This place covers:
Illustrative example of subject matter classified in this group.

This place covers:
Illustrative example of subject matter classified in this group.


This place covers:
Illustrative example of subject matter classified in this group.


This place covers:
Illustrative example of subject matter classified in this group.

The cutter MUST be rigidly fixed to the tool.
This place covers:
Illustrative example of subject matter classified in this group.

The cutter wheel MUST rotate.
This place covers:
Illustrative example of subject matter classified in this group.


This place covers:
Illustrative example of subject matter classified in this group.

This place covers:
Illustrative example of subject matter classified in this group.


This place covers:
Illustrative example of subject matter classified in this group.


This place covers:
Illustrative example of subject matter classified in this group.



This place covers:
Illustrative example of subject matter classified in this group.

This place covers:
Illustrative example of subject matter classified in this group.

This place covers:
Illustrative example of subject matter classified in this group.

Attention is drawn to the following places, which may be of interest for search:
Devices for breaking closed containers |




