CPC Definition - Subclass B66F
This place covers:
Lifting devices for lifting loads, i.e. in principle temporarily supported and not forming part of the device itself and involving a significant lifting action rather than essentially horizontal motion, and which are not classified in subclasses B66B, B66C or B66D.
The following IPC groups are not used in the internal ECLA
classification scheme. Subject matter covered by these groups is classified in the following ECLA groups:
B66F19/02 covered by B66F 19/00
Documents should be classified in the lowest subgroup possible and only classified in higher groups if none of the subgroups is applicable. If necessary documents should be classified in multiple subgroups. All non-trivial technical features should be classified. Main groups should only be used when no appropriate subgroup exists.
This place covers:
devices for lifting in predetermined steps not covered by one of the following subgroups.
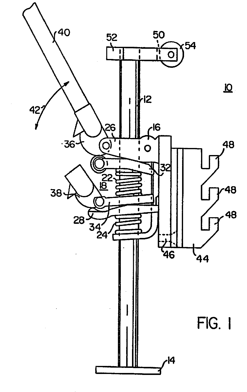
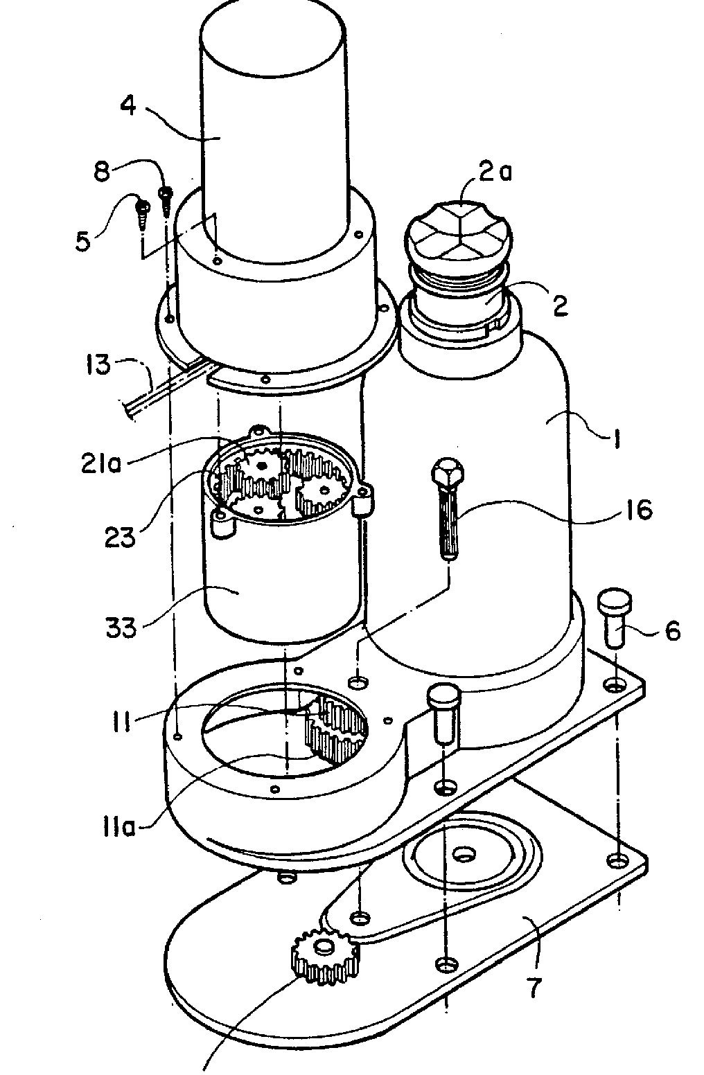
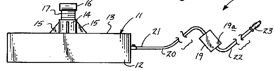
see for example US 4 807 851

This place covers:
Illustrative example of subject matter classified in this group
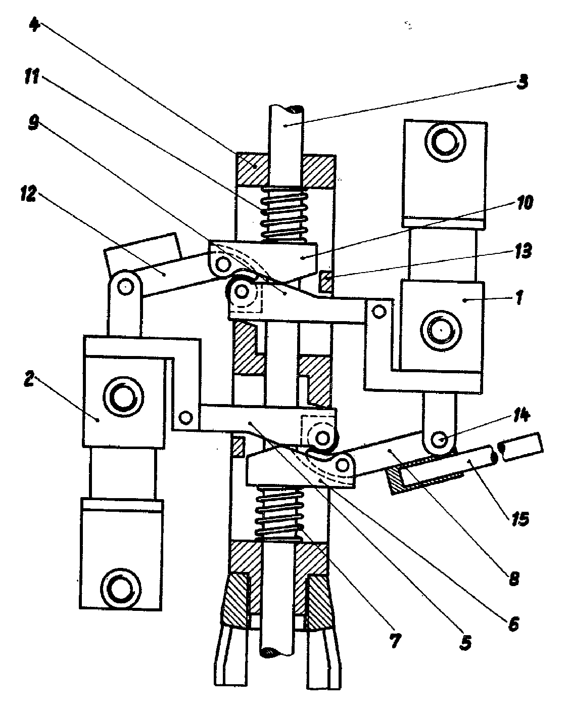
see for example US 5 385 335

This place covers:
Illustrative example of subject matter classified in this group
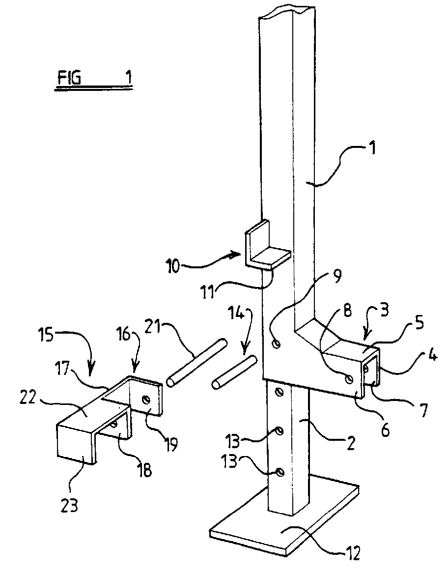
see for example GB 1 134 553.

This place covers:
devices where either the fixed or moving part has teeth or equivalent holding elements, for example holes, where the actuation is neither clearly hydraulic nor manual,
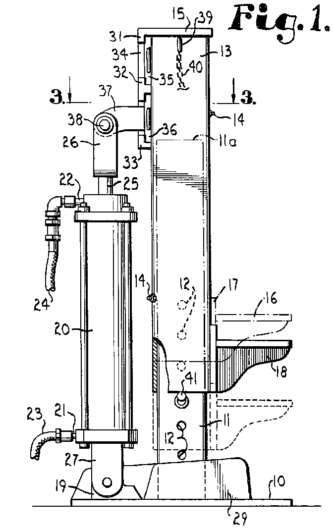
see for example GB 2 300 406.

This place covers:
Illustrative example of subject matter classified in this group
see for example US 2006/0186387

This place covers:
Illustrative example of subject matter classified in this group
see for example US 4 068 826.

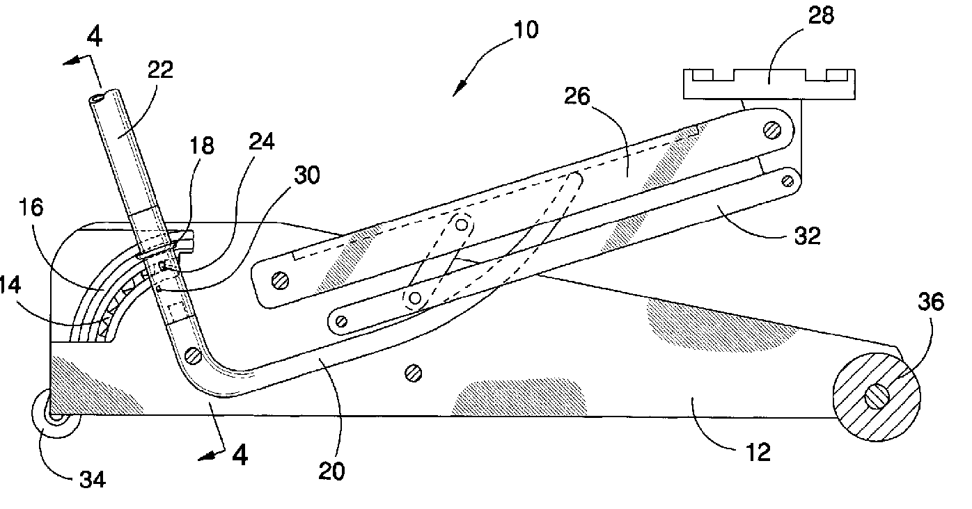
This place covers:
devices where the lifting is by rotation around a pivot point, i.e. a lever pivoting on the ground or attached to a vehicle wheel.
see for example US 2007/0252119 or US 4 277 050


This place covers:
Illustrative example of subject matter classified in this group
see for example US 5 979 875

This place covers:
Illustrative example of subject matter classified in this group
see for example US 1 486 797

This place covers:
Illustrative example of subject matter classified in this group
see for example US 1 925 194.

This place does not cover:
Thrust chains working without pinions |
This place covers:
Illustrative example of subject matter classified in this group
see for example US 2003/0183027.

This place covers:
Illustrative example of subject matter classified in this group
see for example US2910270
.
This place covers:
Illustrative example of subject matter classified in this group
see for example US 7 472 889.

This place covers:
Illustrative example of subject matter classified in this group
see for example US 4 789 133.

This place covers:
Illustrative example of subject matter classified in this group
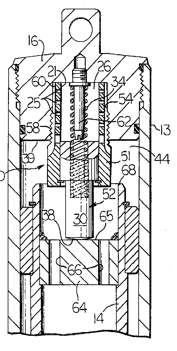
see for example US 5 118 082.

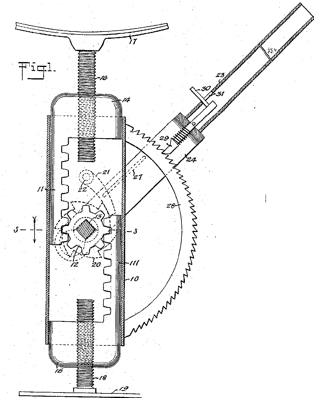
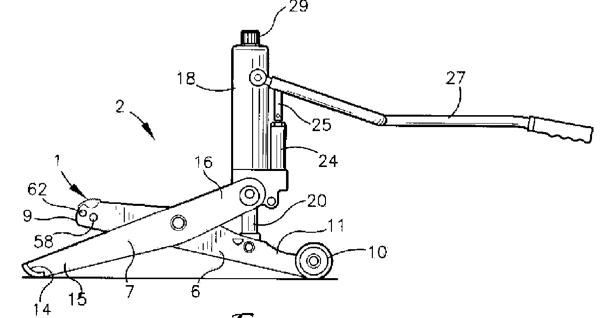
This place covers:
with multiple sets of levers.
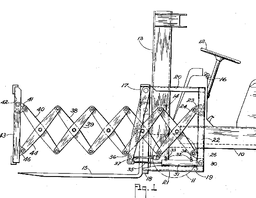
see for example US 6 234 451.

This place does not cover:
With a single set of levers |
This place covers:
Illustrative example of subject matter classified in this group
see for example US 3 025 702.

pneumatic suspended jacks should also be classified in B66F 3/247
This place covers:
Illustrative example of subject matter classified in this group
see for example US 5 603 486.

This place covers:
Illustrative example of subject matter classified in this group
see for example US 5 441 237.

pneumatic suspended jacks should also be classified in B66F 3/242
This place covers:
Illustrative example of subject matter classified in this group
see for example US 6 572 080.

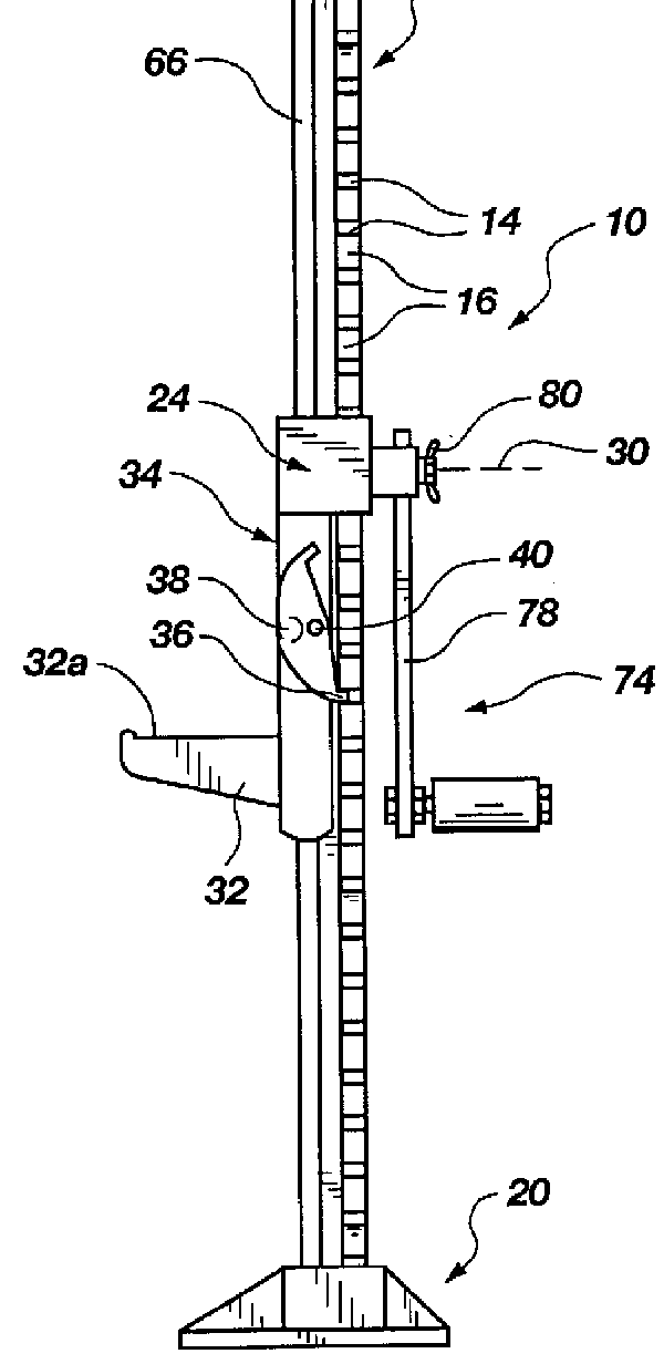
This place covers:
Illustrative example of subject matter classified in this group
see for example US 2009/0057636.

This place covers:
fluid operated jacks with device to lock jack in operating position.
see for example US 2006/0237699.

This place covers:
Illustrative example of subject matter classified in this group
see for example US 4 065 112.

This place covers:
Illustrative example of subject matter classified in this group
see for example GB 1 394 267.

This place covers:
devices with particular features for engaging the load
see for example US 6 608 262.

This place covers:
Illustrative example of subject matter classified in this group
see for example US 2 696 969.

This group is not used. Documents are classified in B66F 3/35.
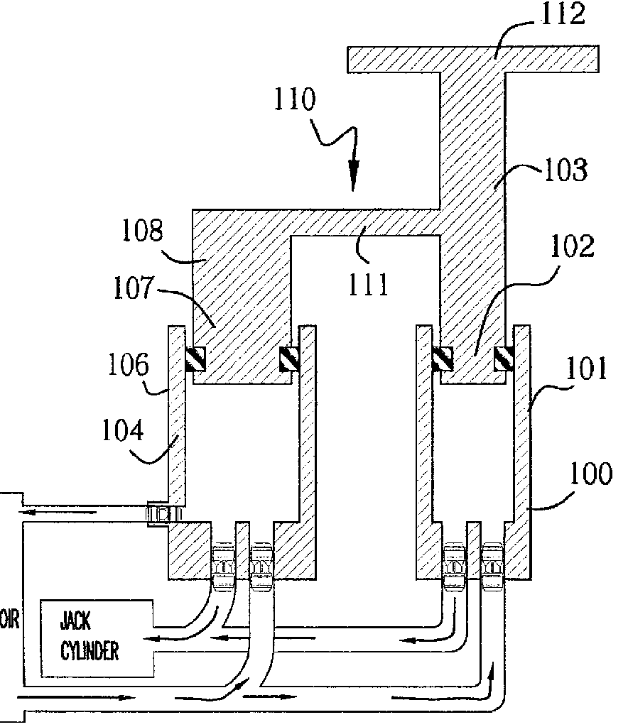
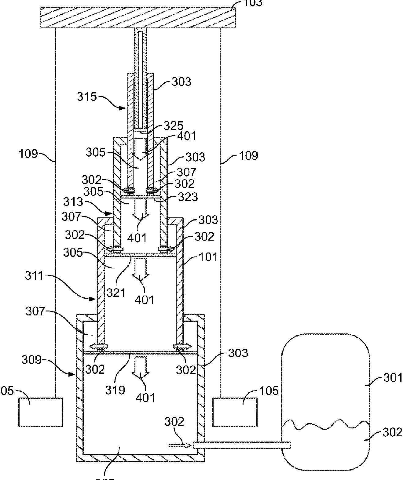
This place covers:
see for example US 2010/10078612.

This place covers:
devices using an explosive charge to provide lifting pressure,
see for example EP 0 751 304.

This place covers:
Illustrative example of subject matter classified in this group
see for example US 2010/0219386.

This place covers:
groups of jacks operating together.
see for example US 2011/0037041.

This place does not cover:
Lifting platforms with several jacks |
This place covers:
devices not covered by one of the following subgroups or general features of mobile jacks.
see for example US 2005/0040379

This place covers:
Illustrative example of subject matter classified in this group
see for example US 6 929 248.

This place covers:
Illustrative example of subject matter classified in this group
see for example US 3 109 626.

This place covers:
Illustrative example of subject matter classified in this group
see for example US 2009/0159861.

This place covers:
static lifting platforms, i.e. with large load carrying area, not covered by one of the following subgroups.
This place does not cover:
Lifting platforms for workers | |
Display platforms | |
For parking cars |
This place covers:
Illustrative example of subject matter classified in this group
see for example US 2006/0070815.

This place covers:
devices where the platform moves along a fixed screw
see for example US 4 267 901.

This place does not cover:
Platforms supported on moving screws |
This place covers:
Illustrative example of subject matter classified in this group
see for example US 2010/0089845.

This place covers:
devices not covered by the following subgroups where the load platform is supported by levers, the actuator acting either on the lever or directly on the platform.
This place covers:
Illustrative example of subject matter classified in this group
see for example US 2007/0034125.

This place covers:
Illustrative example of subject matter classified in this group
see for example US 2004/0037687.

This place covers:
devices with platform lifts allowing the platform to be moved around the floor,
see for example US 6 394 419.

This place does not cover:
Devices for moving loads, which also lift the load from the floor such as fork lift trucks |
This place covers:
devices with mechanisms other than those covered by the following subgroups, see for example US 4 627 600.

This place covers:
Illustrative example of subject matter classified in this group
see for example US 4 277 049.

This place covers:
Illustrative example of subject matter classified in this group
see for example US 7 188 824.

This place covers:
devices with more than one scissor under the platform, e.g. next to each other end to end.
see for example US 2004/0262490.

This place covers:
devices with one scissor arranged above another,
see for example US 2006/0180403.

This place does not cover:
Auxiliary scissors |
This place covers:
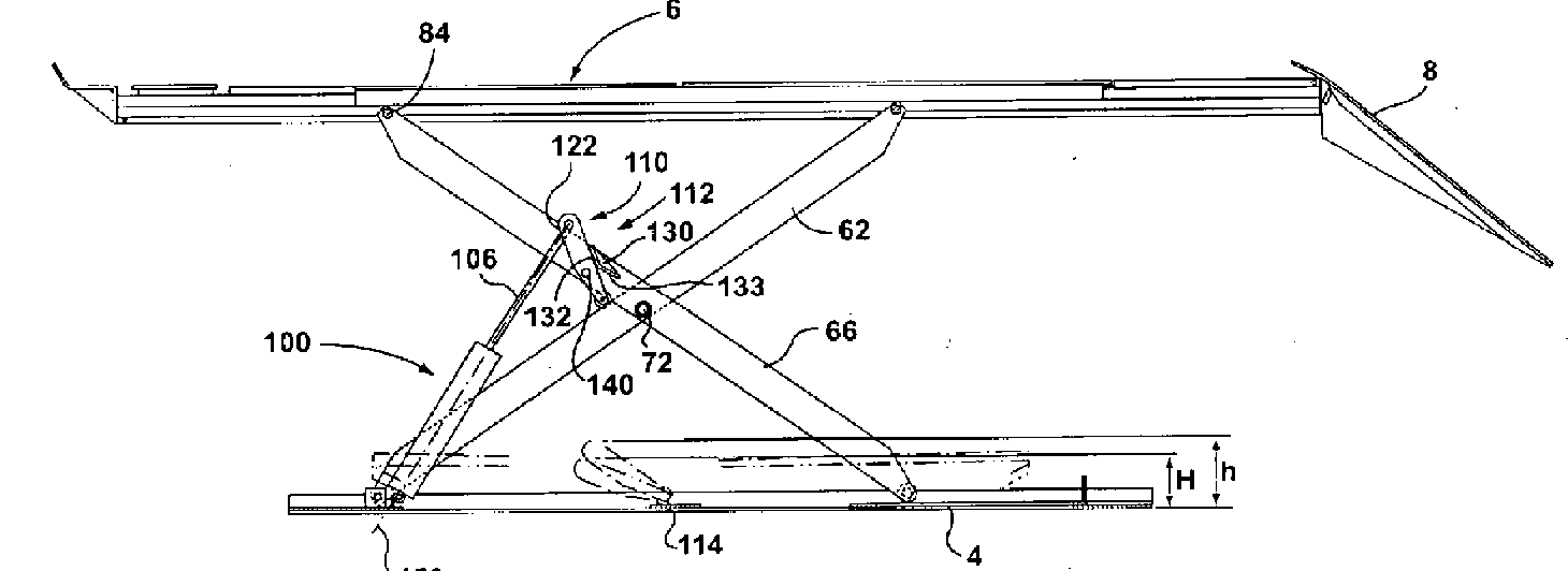
devices with an auxiliary scissors for further lifting the load or part of the load above the main platform, see for example US 4 573 663.

This place covers:
devices allowing both lifting and tilting of the load,
see for example US 3 623 617.

This place covers:
Illustrative example of subject matter classified in this group
see for example US 6 612 152.

This place covers:
Illustrative example of subject matter classified in this group
see for example US 2007/0235266.

This place covers:
Illustrative example of subject matter classified in this group
see for example US 5 299 906.

This place covers:
devices not covered by the following subgroups where the load platform is supported by the actuator acting directly on the platform.
This place covers:
platforms supported on moving screws, i.e. with a fixed nut
see for example US 6 502 667.

This place does not cover:
Devices where the platform moves along a fixed screw |
This place covers:
hydraulic lifting platforms not covered by one of the following subgroups.
This place covers:
Illustrative example of subject matter classified in this group
see for example US 5 740 886.

This place covers:
Illustrative example of subject matter classified in this group
see for example US 2006/0042877.

This place does not cover:
Groups of jacks operating together |
This place covers:
Illustrative example of subject matter classified in this group
see for example US 2004/0211947.

devices should also be classified in the relevant subgroup for the actuation mechanism.
This place covers:
Illustrative example of subject matter classified in this group
see for example US 2 754 933.

This place does not cover:
Levers attached to a vehicle wheel | |
Ramps |
This place covers:
Illustrative example of subject matter classified in this group
see for example US 2009/0100613.

This place covers:
Illustrative example of subject matter classified in this group
see for example US 2003/0021661.

This place covers:
devices for lifting only a part of a vehicle, e.g. above the main lift platform.
see for example US 2002/0043137

This place does not cover:
Auxiliary scissors above main scissors |
This place covers:
for example load support surfaces, safety features,
see for example US2010/0263942.

This place covers:
Illustrative example of subject matter classified in this group
see for example US 6 012 552

This place covers:
Illustrative example of subject matter classified in this group
see for example US 4 652 202.

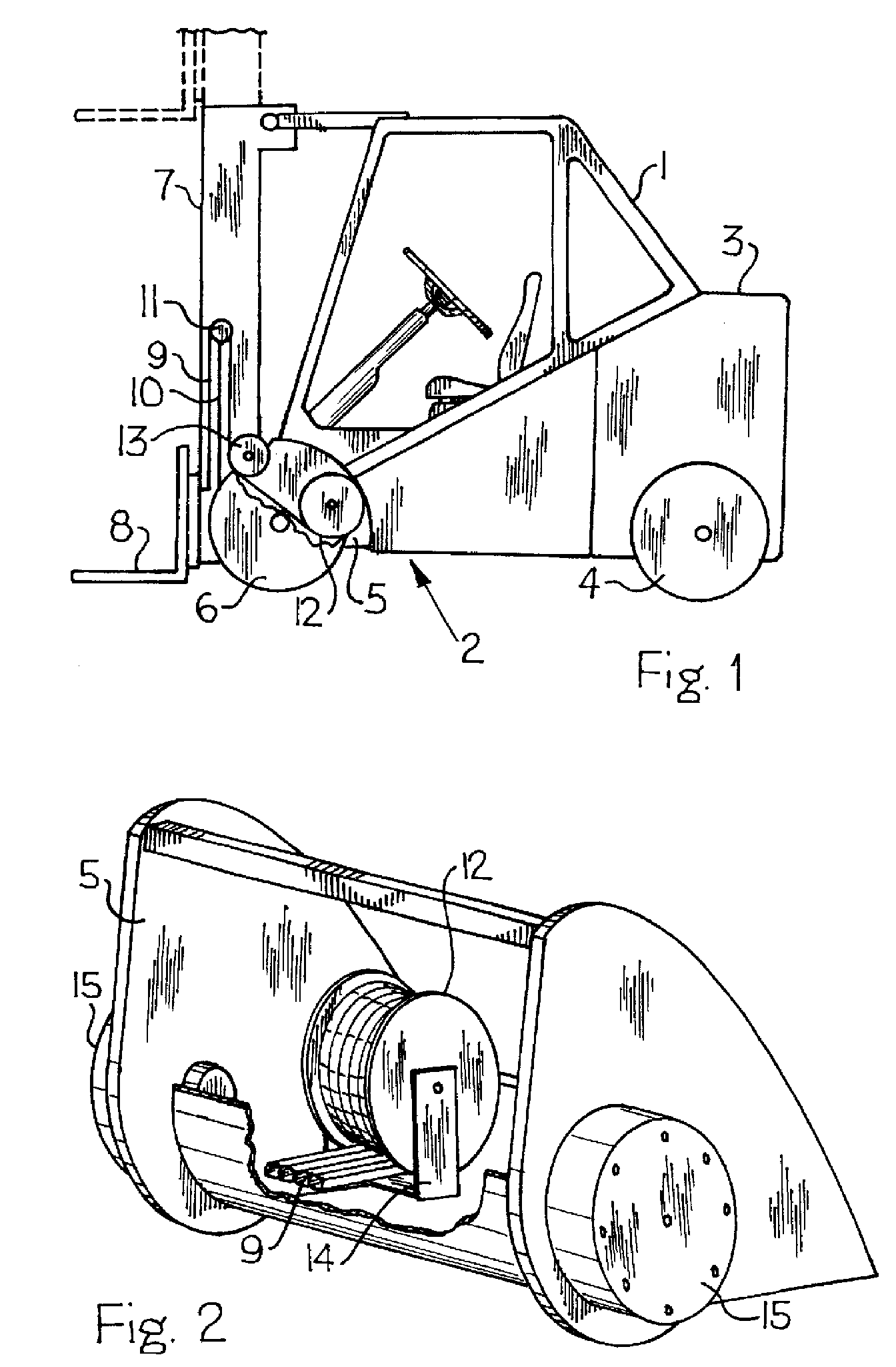
This place covers:
Devices which move on wheels or similar members in order to lift the load and also to transport it horizontally, which are not covered by one of the subgroups below, i.e. general features relating to the type of vehicle.
This place does not cover:
Constructional details |
This place covers:
trucks having both a mast and a separate jib,
see for example US 4 750 628

This place does not cover:
Trucks without a mast | |
Lifting hooks mounted on forks |
This place covers:
driverless lift trucks with automatic navigation
see for example US2007/0103107.

This place does not cover:
General automatically guided vehicles |
This place covers:
lift trucks without a mast, for example with a boom or jib
see for example US 2009/0003984

This place does not cover:
Masted trucks with an additional lifting jib | |
Trucks with telescopic booms |
This place covers:
Illustrative example of subject matter classified in this group
see for example US 2010/0322753.

This place covers:
trucks for warehouses, e.g. running on rails between shelves.
see for example US 2007/0059132

This place covers:
travelling gear for warehouse stacker trucks.
see for example US 2007/0151940

This place covers:
details of trucks not covered by one of the following subgroups.
This place covers:
details not associated with the main truck function.
see for example US 2006/0180400

This place covers:
Illustrative example of subject matter classified in this group
see for example US 3 135 357.

for general vehicle brakes see B60T
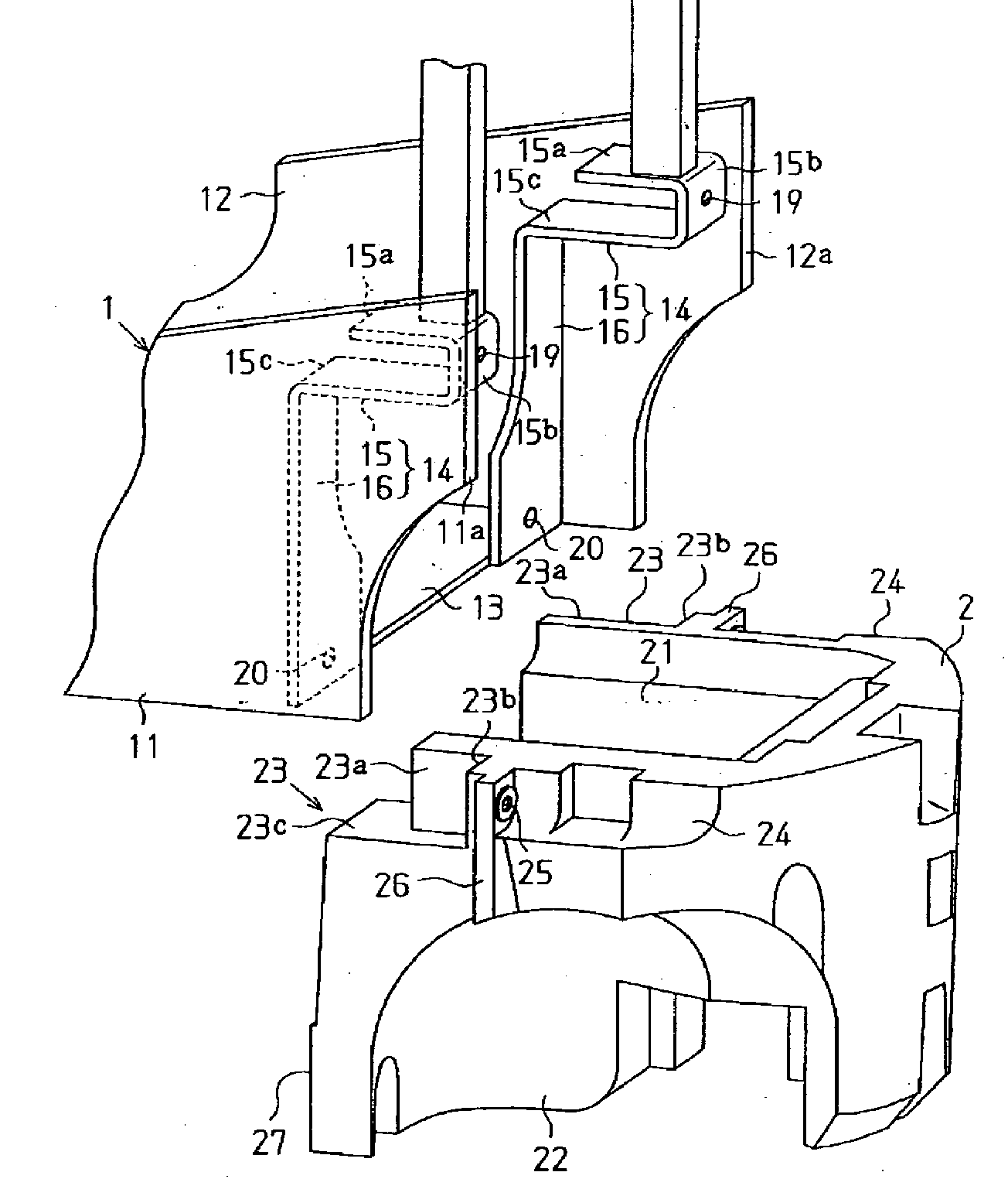
This place covers:
chassis details or assembly,
see for example US 2009/0200837.

This place covers:
internal or external mounting arrangements,
for example see US 5 806 892.

This place covers:
chassis arrangements which allow the dimensions of the truck to be altered or assembled in different sizes,
see for example US 6 138 796 or US 2 320 601


This place covers:
Illustrative example of subject matter classified in this group
see for example US 3 981 375

This place covers:
details of the battery arrangement,
see for example US 6 189 636.

This place covers:
Illustrative example of subject matter classified in this group
see for example US 2008/0314662.

This place covers:
Illustrative example of subject matter classified in this group
see for example US 2004/0136815.

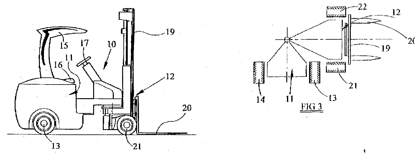
This place covers:
devices to protect the driver, i.e. overhead guards or cabin construction.
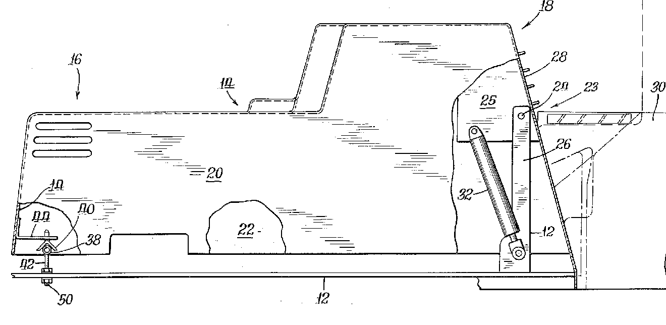
see for example US 2008/0202858 or US 6 276 750


This place does not cover:
Details of the operating station |
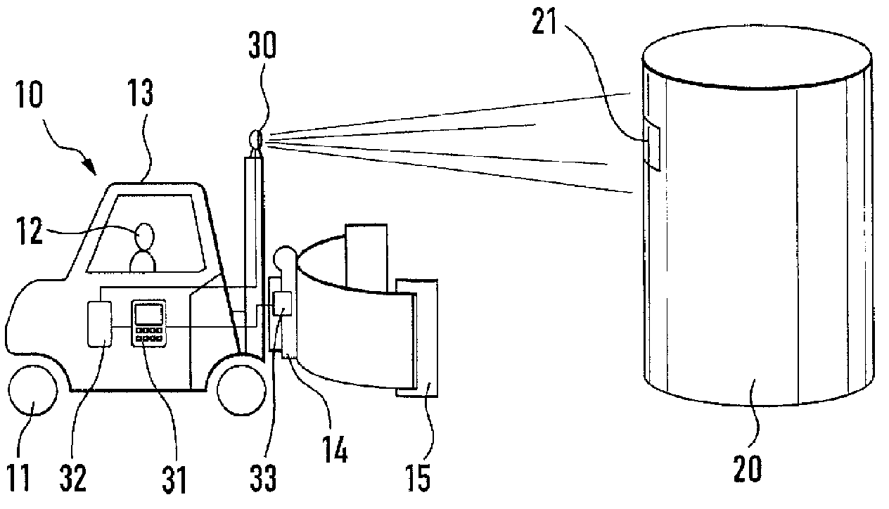
This place covers:
devices for sensing the position of the load or parts of the truck itself, or for indicating, e.g. using a camera.
see for example US 2007/0233314

This place covers:
devices with particular counterweight arrangements,
for example see US 2004/0216299.

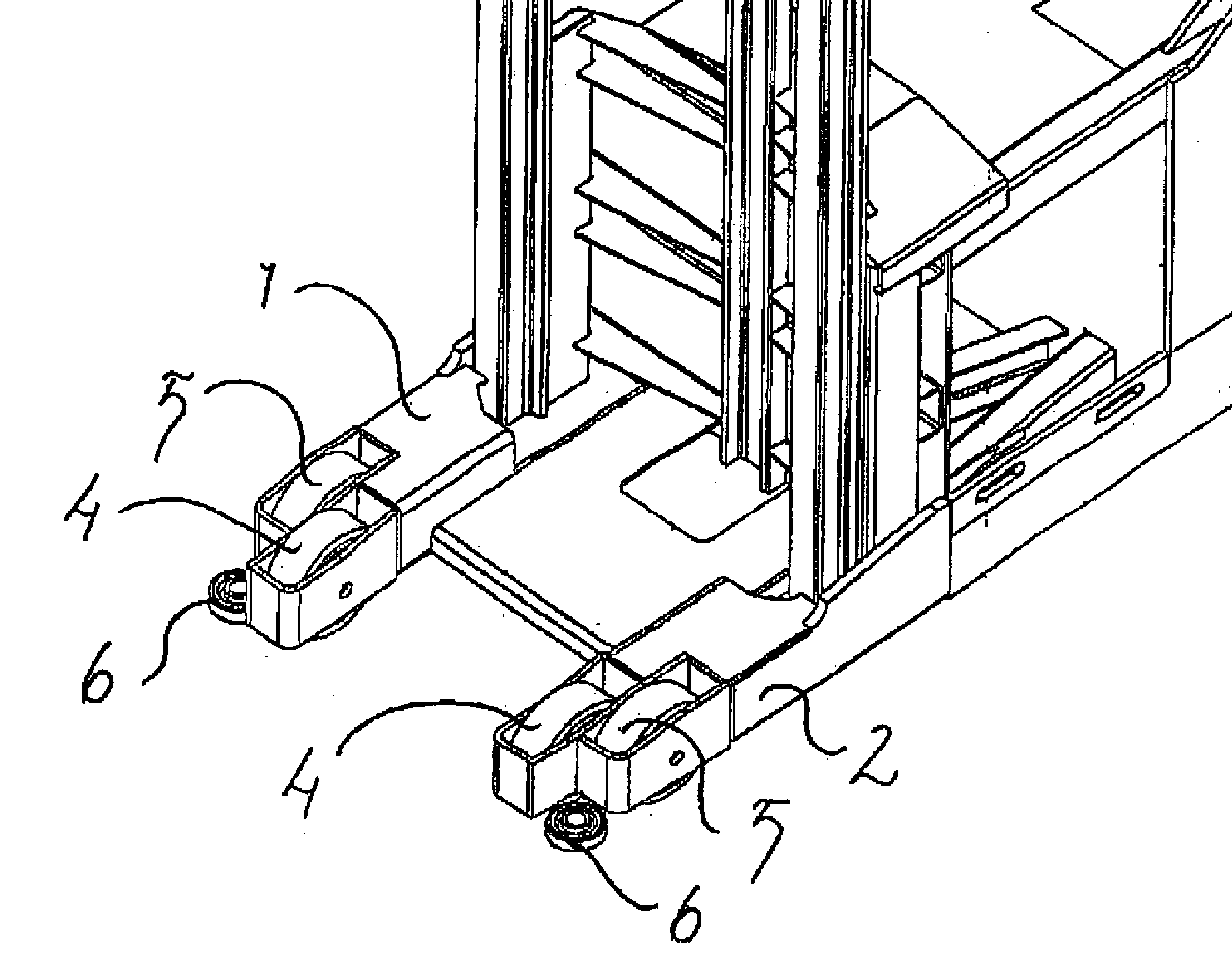
This place covers:
mechanical stabilisers or guides, e.g. outriggers or additional support or guide wheels,
see for example US 2005/0008468 or US 2003/0227147


This place does not cover:
Control arrangements for increasing stability |
This place covers:
Illustrative example of subject matter classified in this group
see for example US 2007/0207023.

This place covers:
mechanical steering arrangement or steering controls,
see for example US 2005/0061570.

general vehicle steering arrangements see B62D
This place covers:
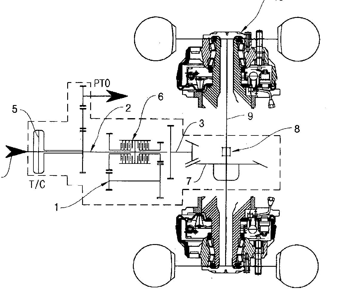
arrangements for propelling the truck, e.g. particular wheels, drive arrangements or types of motor.
see for example US 2004/0116234

This place covers:
devices supported other than by normal wheels,
see for example US 2005/0183896.

This place covers:
devices allowing the operator to operate the truck from outside, e.g. by a control unit operating via radio or connected by cable to the truck,
see for example US 2008/0292448.

This place covers:
vehicle suspension or particular wheel or axle arrangements,
see for example US 2004/0113383.

general vehicle suspension B60G
This place does not cover:
Suspension of cabins or operator platforms |
This place covers:
arrangements of the operating station, including mechanical aspects of levers
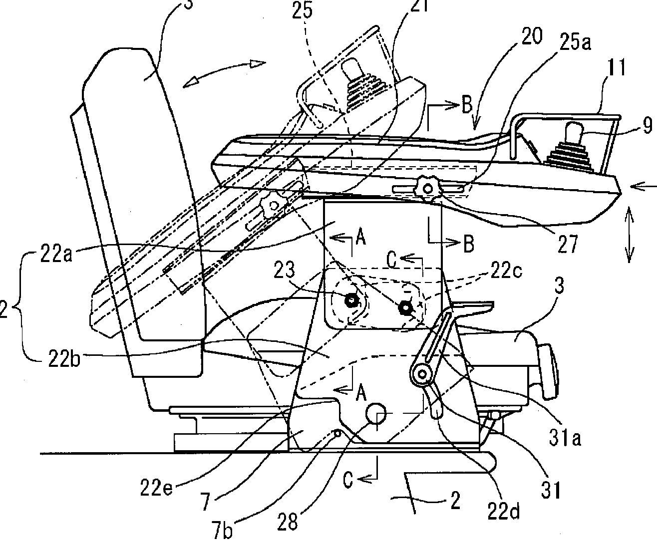
see for example US 2003/0184123.

for general vehicle seats see B60N 2/00
This place does not cover:
Devices to protect the driver, i.e. overhead guards or cabin construction | |
Vehicle suspension | |
Control levers |
This place covers:
Illustrative example of subject matter classified in this group
see for example US 5 285 863.

for general cooling of operator see B60H 1/00, for general cooling of propulsion units see B60K 11/00
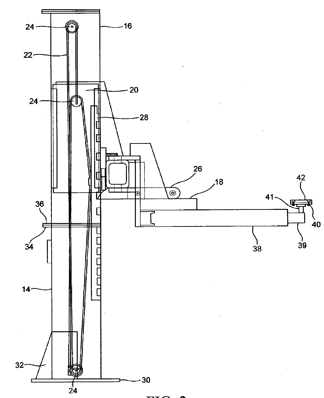
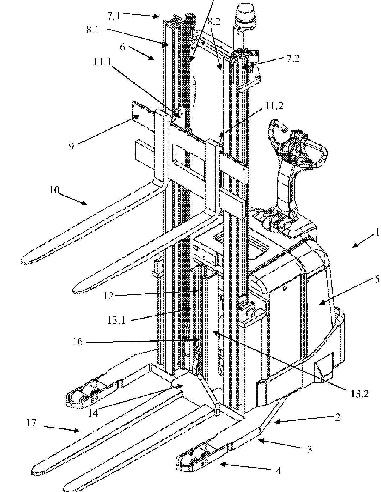
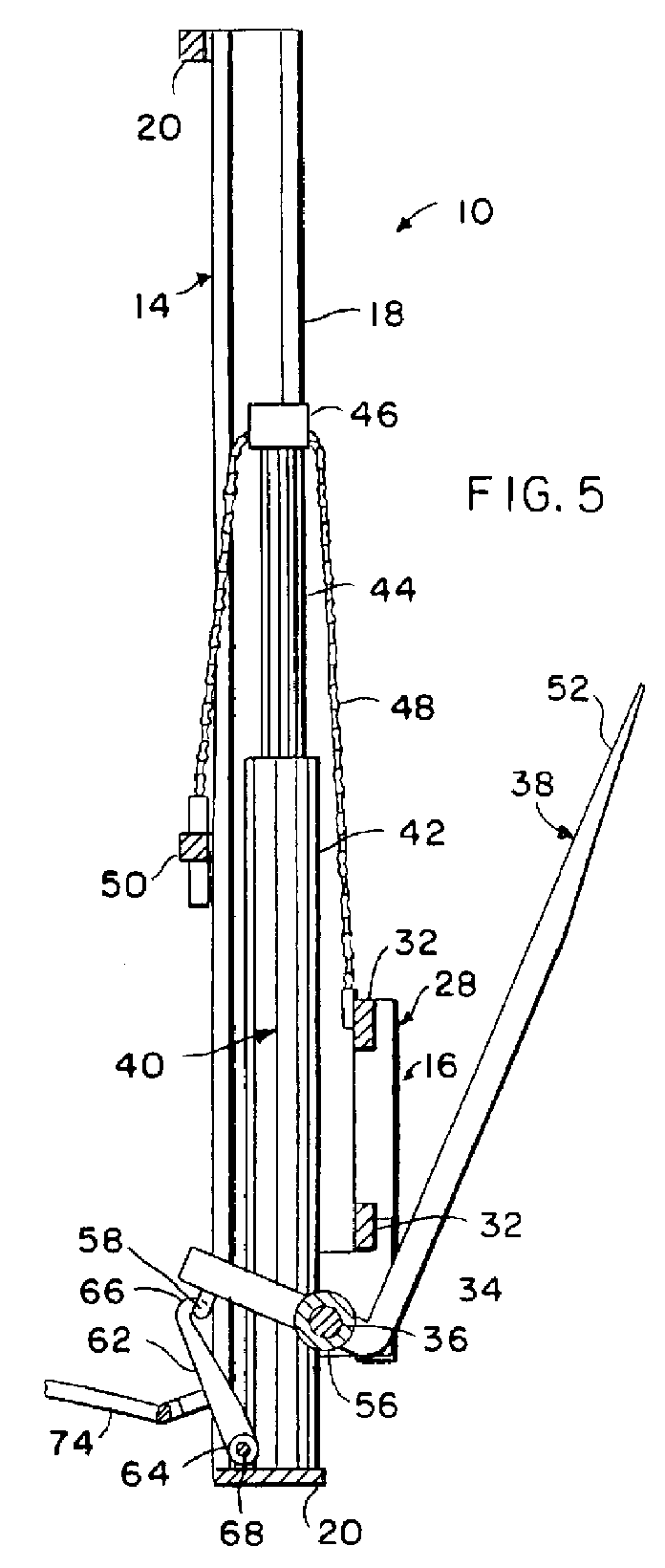
This place covers:
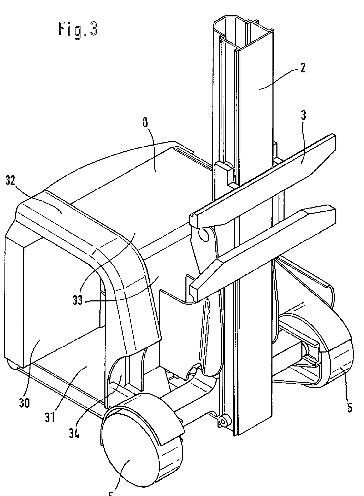
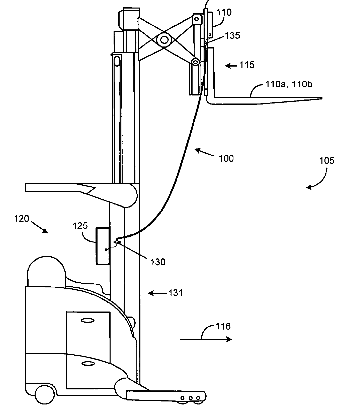
mast arrangements and means for moving masts and forks vertically,
see for example US 2011/0048860.

This place does not cover:
Tilting masts | |
Masts moving relative to chassis |
This place covers:
masts inclinable about a horizontal pivot,
see for example US 2003/0206793.

This place does not cover:
Masts rotating around a vertical pivot |
This place covers:
Illustrative example of subject matter classified in this group
see for example US 4 395 189 or US2011/0139546.


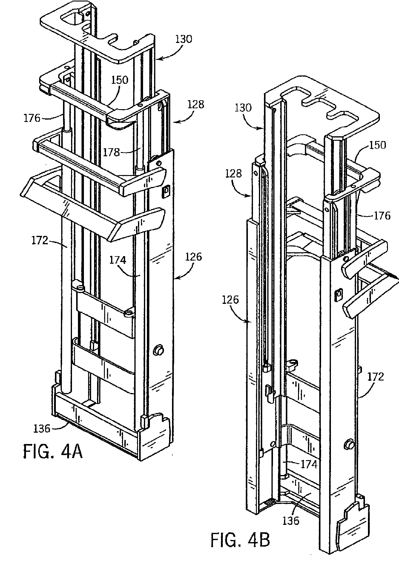
This place covers:
with only a single strength section, i.e. not a pair of masts connected together,
see for example US 2006/0070816.

This place covers:
masts which move horizontally relative to the chassis, either longitudinally, sideways or rotating around a vertical axis,
see for example US 2009/0200097 or US2006/0104783.


This place does not cover:
Trucks with articulated frames | |
Trucks where the forks rotate relative to the mast, but the mast does not rotate relative to the chassis |
This place covers:
trucks where not only the mast rotates, but also part of the chassis, i.e with wheels which also change position when the mast rotates,
see for example US 2003/0132038.

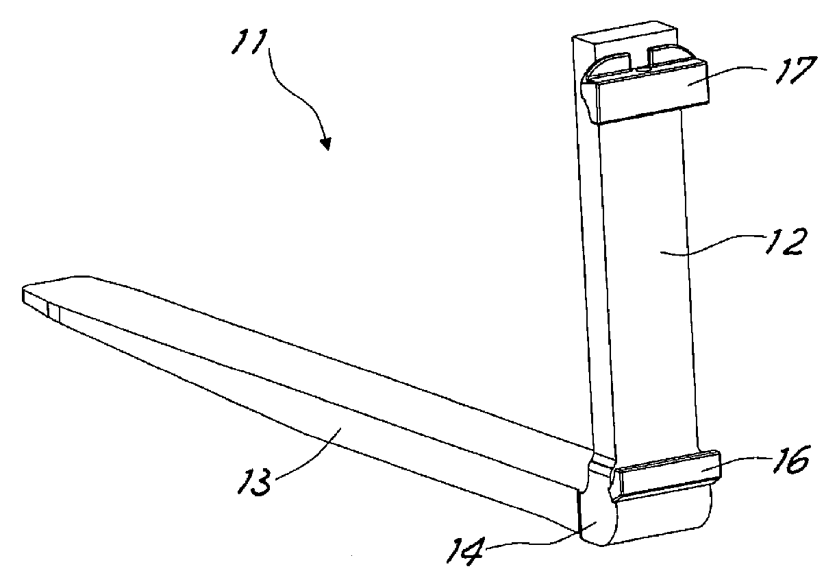
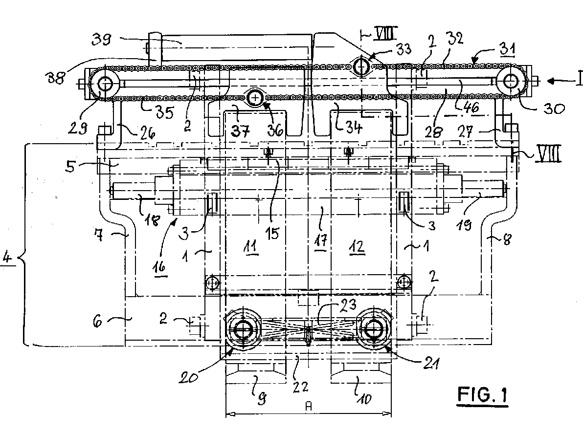
This place covers:
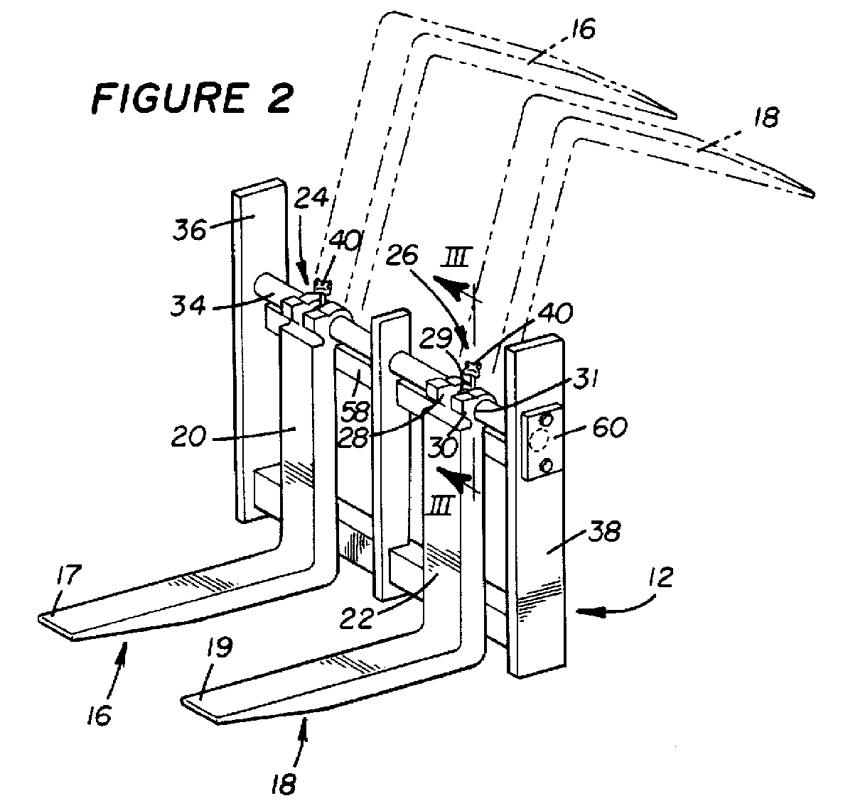
load supporting members unless covered by one of the following subgroups, such as details of forks,
see for example US 2009/0065308.

This place covers:
forks movable forwards relative to the mast, including telescopic forks,
see for example US 2007/0222686 or US 2009/0314582.


This place does not cover:
Laterally movable load supports |
This place covers:
forks or other load carriers which can be pivoted around the longitudinal axis of the truck,
see for example US 5 820 270.

This place covers:
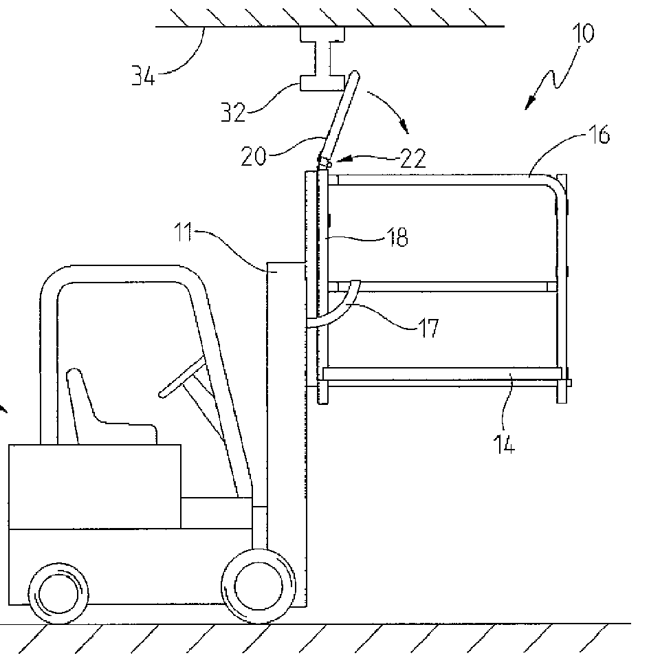
working platforms mounted on a fork lift truck with a mast,
see for example US 2007/0261917.

This place does not cover:
Working platforms on other types of vehicle |
This place covers:
devices where the load support moves relative to the mast, not covered by one of the following subgroups.
This place does not cover:
Devices where the mast moves | |
Devices where the load support moves longitudinally relative to the mast |
This place covers:
telescopic load elements, typically for stacker cranes, see for example US 2007/0144991.

This place does not cover:
General features of stacker cranes |
This place covers:
for example allowing manual adjustment,
see for example US 2010/0032243.

.
This place does not cover:
Independently movable forks with actuators | |
For forks moving together |
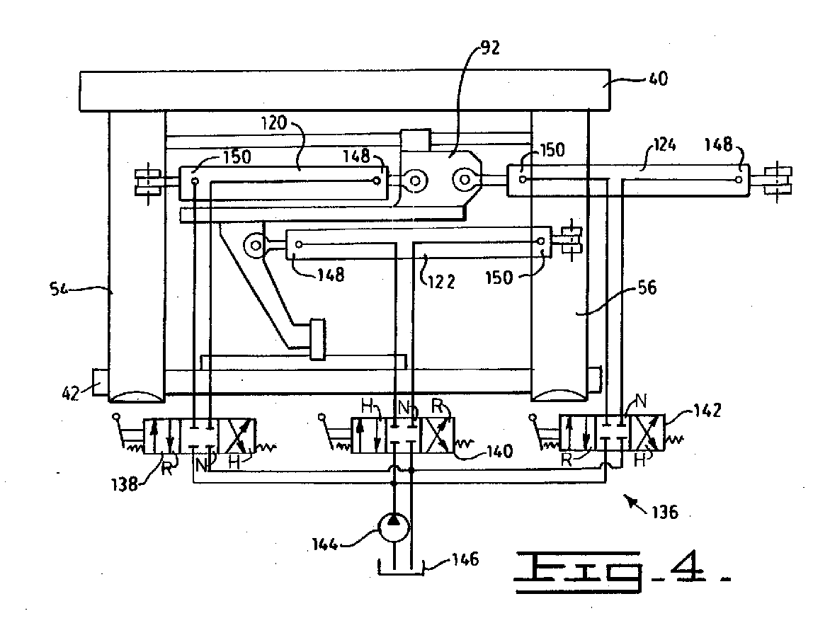
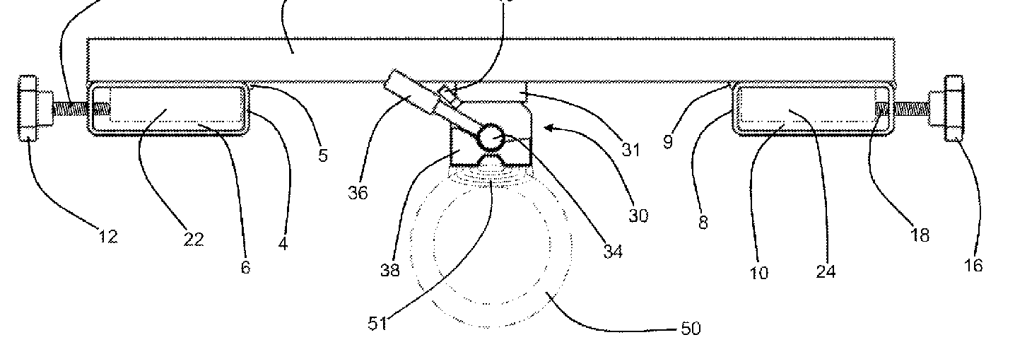
This place covers:
arrangements which move both forks in opposite directions. Includes documents where it is not clear whether the forks must move together, i.e. both driven by hydraulic cylinders with no indication of whether the cylinders operate together,
see for example EP 0 774 441 or US 2005/0254934.


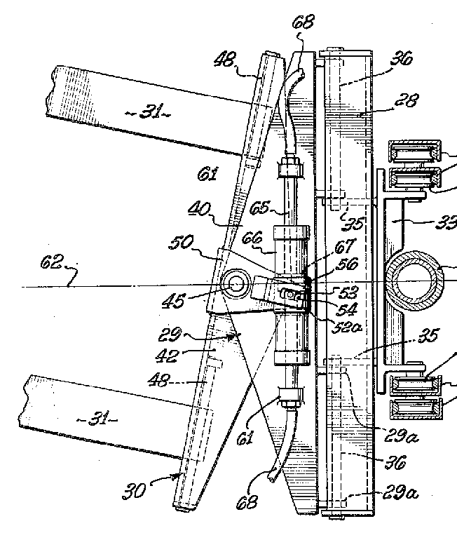
This place covers:
independently movable forks with actuators,
see for example US 5 190 436.

This place does not cover:
Manually adjustable forks |
This place covers:
Illustrative example of subject matter classified in this group
see for example US 2 605 918.


This place does not cover:
Rotation around horizontal axis |
This place covers:
Illustrative example of subject matter classified in this group
see for example US 5 338 148.

This place covers:
arrangements using both rotation and translation,
see for example WO 94/02390.

This place covers:
Illustrative example of subject matter classified in this group
see for example US 2008/0296094.

This place covers:
Illustrative example of subject matter classified in this group
see for example US 2 621 821.

This place does not cover:
Arrangements using both rotation and translation |
This place covers:
forks with substantial vertical sections, where the whole fork rotates,
see for example US 4 497 607.

This place covers:
forks where the vertical section is fixed or where the moving vertical section is small, see for example EP 1 748 023 or US 6 068 086.


This place covers:
devices using only vacuum or other mechanism with vacuum assistance,
see for example US 4 961 606.

This place covers:
Illustrative example of subject matter classified in this group
see for example US 2011/0070058.

This place covers:
Illustrative example of subject matter classified in this group
see for example US 7 118 148.

This place does not cover:
Clamps acting from above |
This place covers:
Illustrative example of subject matter classified in this group
see for example US 2001/0039464.

This place covers:
Illustrative example of subject matter classified in this group
see for example US 2006/0245889.

This place does not cover:
Load supports merely inserted inside the load, e.g. pins |
This place covers:
devices for lifting iso shipping containers,
see for example US 5 370 435.

This place does not cover:
Cranes or straddle carriers for lifting containers |
This place covers:
Illustrative example of subject matter classified in this group
see for example US 5 618 154.

This place covers:
Illustrative example of subject matter classified in this group
see for example US 2007/0181373.

This place covers:
devices which aid unloading e.g. by tipping,
see for example US 2004/022616.

This place does not cover:
Devices which aid unloading by pushing or aid loading by pulling |
This place covers:
devices which aid unloading by pushing or aid loading by pulling,
see for example US 2 670 867.

This place covers:
general control arrangements, i.e. not essentially electrical or hydraulic,
electrical control levers.
see for example US 2009/0200116

This place does not cover:
Mechanical arrangement of control levers | |
Hydraulic controls | |
Electrical controls | |
Control levers for cranes | |
Control levers for excavators | |
Control levers in general |
This place covers:
see for example US 6 595 329.

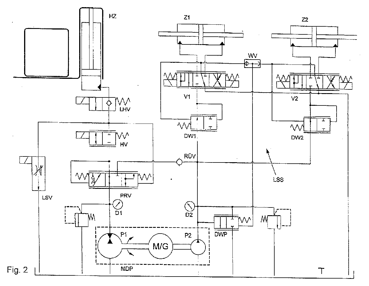
This place covers:
essentially hydraulic control systems,
see for example US 2008/0152513.

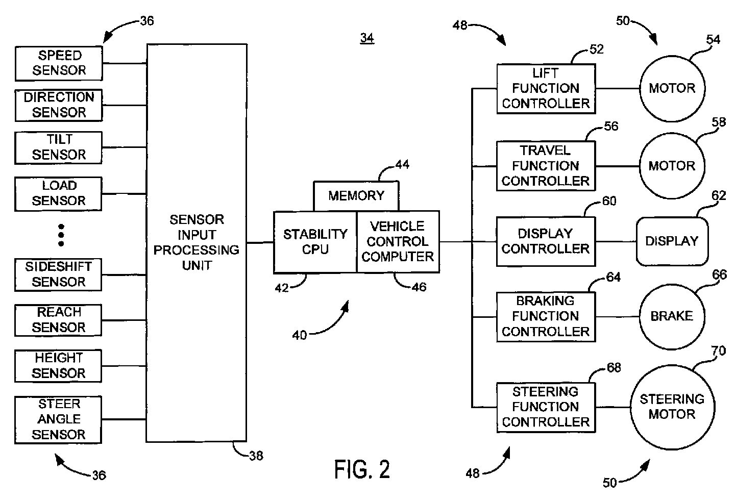
This place covers:
essentially electric control systems,
see for example US 7 235 948.

This place does not cover:
Safety systems |
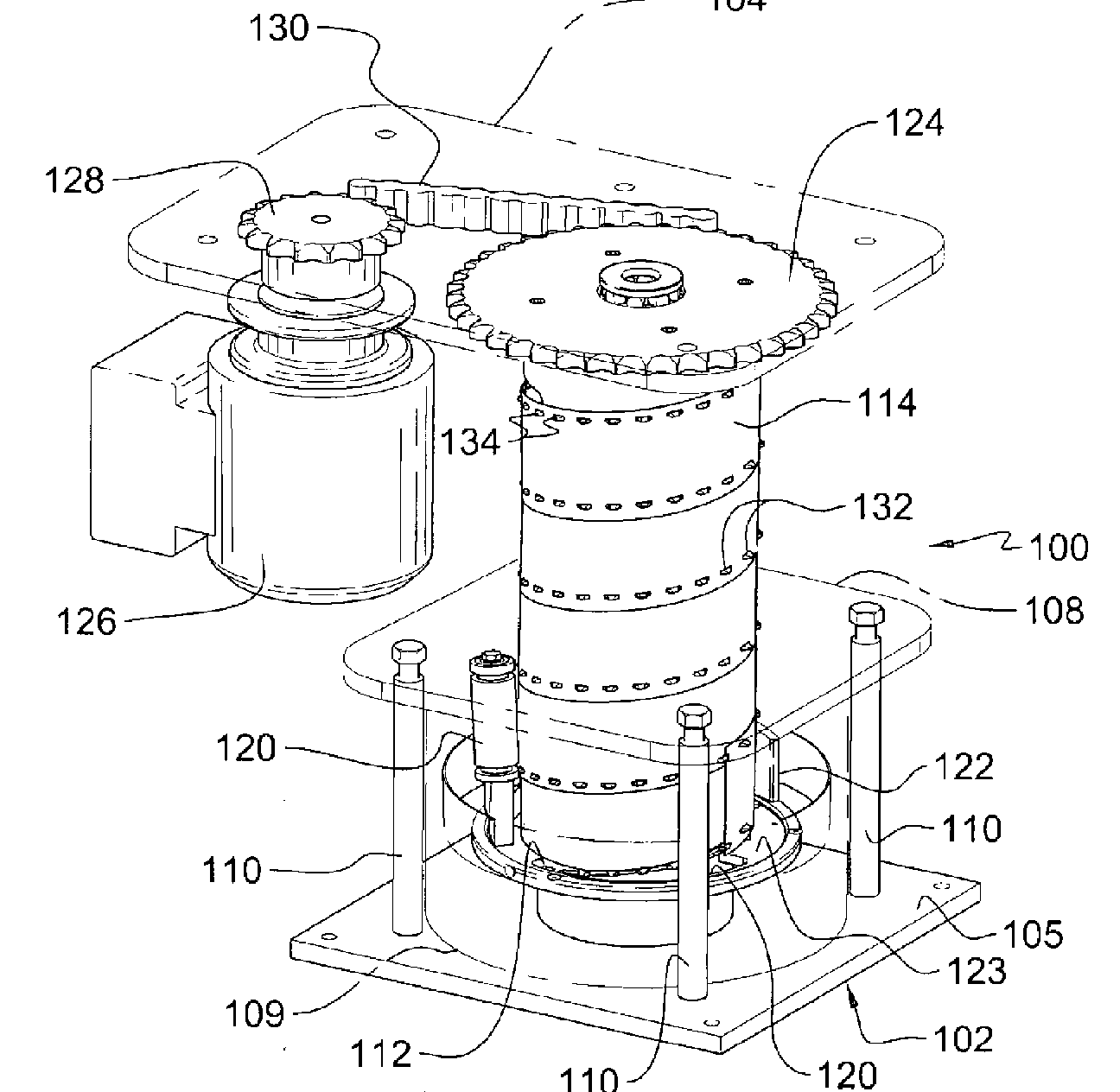
This place covers:
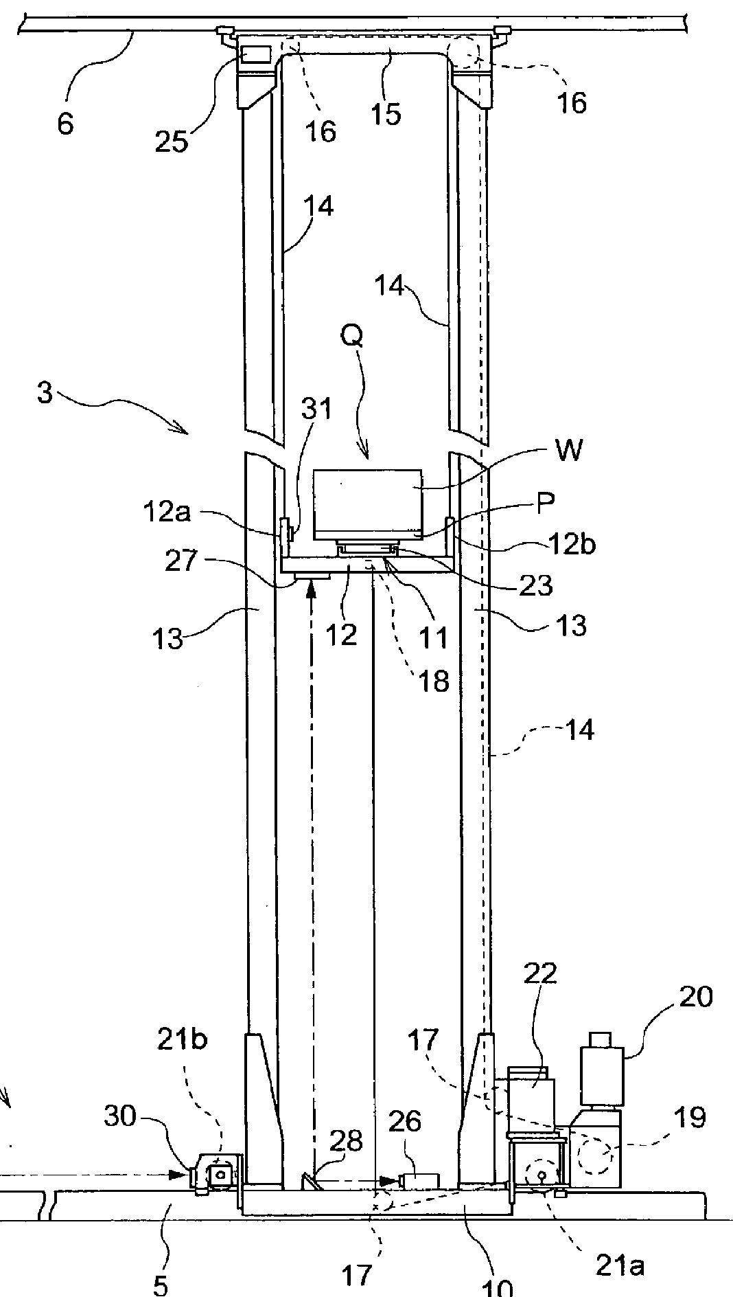
lifting platforms moving up columns, telescopic masts for lifting loads,
see for example US 2006/0005651.

This place does not cover:
Other lifting devices not covered by to B66F 9/00, B66F 13/00, B66F 15/00 or B66F 17/00 |
This place covers:
work platforms or cabins on wheels or similar members not covered by one of the following subgroups, or details of general platforms.
see for example US 2008/0097666 or US 2010/0200332.


This place covers:
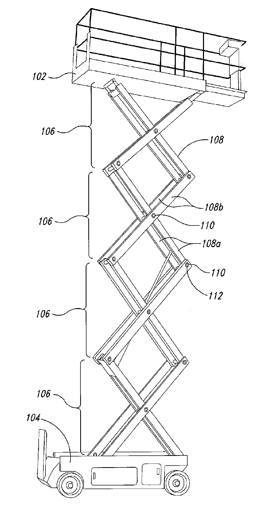
platforms with scissor type lifting mechanisms
see for example US 2008/0105498.

This place covers:
Illustrative example of subject matter classified in this group
see for example US 2010/0193286.

This place does not cover:
Platforms with telescopic booms |
This place covers:
Illustrative example of subject matter classified in this group
see for example US 2011/0209943.

This place covers:
Illustrative example of subject matter classified in this group
see for example US 2011/0079105.

This place does not cover:
Mobile camera stands |
This place covers:
details of general lifting devices such as handles, load supports, also supports used in conjunction with jacks, accessories such as lamps,
see for example US 2009/0314124 or US 6 644 615.


This place covers:
thrust chains working without pinions, e.g. in pairs to form a rigid chain
see for example US 1 834 900.

This place does not cover:
Thrust chains working with pinions |
This place covers:
hand operated levers for lifting objects,
see for example US 2010/0283017 or US 2010/0224842.


This place does not cover:
Levers for lifting manhole covers | |
Levers for removing nails | |
Levers for lifting doors | |
Levers for wrecking buildings |
This place covers:
safety devices not related to fork-lift trucks or working platforms, for example for weighing the load or protecting workers.
see for example US 2005/0258409.

This place does not cover:
Safety of cranes |
This place covers:
safety features or circuits, e.g. to ensure stability
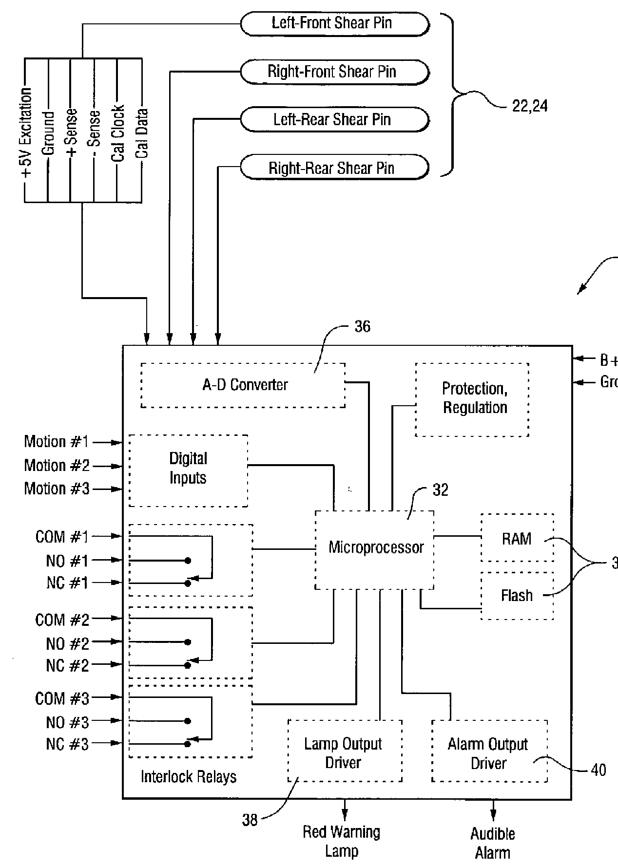
see for example US 2010/0250073.

This place covers:
for example to ensure stability, e.g. when running over potholes, or monitor weight lifted.
see for example US 2002/0185850 or US 2004/0045768.


This place covers:
devices not covered by any other B66F subgroup for lifting loads, for example using airships, buoyancy, helicopters,
see for example US 2011/0057158.

This place covers:
Illustrative example of subject matter classified in this group
see for example US 2011/0133140.

This place does not cover:
Levers for lifting general loads |





