CPC Definition - Subclass B65C
This place covers:
Labelling flat essentially rigid surfaces.
Labelling other than flat surfaces, such as bottles, cables or wire.
Labelling fabrics or comparable materials or articles with deformable surfaces, e.g. paper, fabric rolls, stockings, shoes.
Affixing tags.
Details of labelling machines or apparatus.
Manually-controlled or manually-operable label dispensers, e.g. modified for the application of labels to articles.
Attention is drawn to the following places, which may be of interest for search:
Apparatus for applying lining or sheathing using tubular layers or sheathings | B29C 63/42 and subgroups. |
Making of (adhesive) labels provided on carrier webs | |
Enclosing successive articles in tubular webs/Devices for distending tubes supplied in the flatened state | |
Adding cards, coupons or other inserts to package contents | |
Handling thin or filamentary material, e.g. webs | |
Franking apparatus | |
Franking apparatus attaching a label on a mailpiece: | |
Labels or tags as such | |
Apparatus or processes specially adapted for marking conductors or cables |
In this place, the following terms or expressions are used with the meaning indicated:
Label | slip of paper, card, linen, metal, etc., for attaching to object and indicating its nature, owner, name, destination, etc. |
In patent documents, the following words/expressions are often used with the meaning indicated:
Liner labels (label backing/carrier) | web/liner/strip/sheet |
This place covers:
Affixing labels to one flat surface of articles.
Affixing labels, e.g. wrap-around labels, to two or more flat surfaces of a polyhedral article, e.g. cigarette package.
Attention is drawn to the following places, which may be of interest for search:
Franking apparatus | |
Franking apparatus attaching a label on a mailpiece |
This place covers:
Applying a (one) label to one flat surface of an article.
Illustrative example of subject matter classified in this group.

This place covers:
Applying a (one) label to two or more flat surfaces of a polyhedral article.
Illustrative example of subject matter classified in this group.

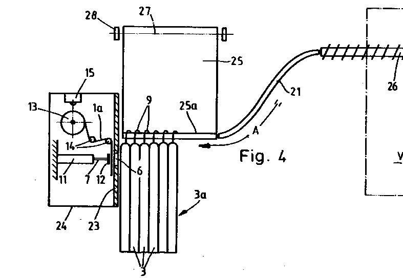
This place covers:
Affixing labels to elongated objects, e.g. wires, cables.
Affixing labels to short rigid containers., e.g. bottles.
Affixing labels to non-rigid containers, e.g. bottles made of polyethylene, boxes to be inflated by internal air pressure prior to labelling.
This place covers:
Illustrative example of subject matter classified in this group.

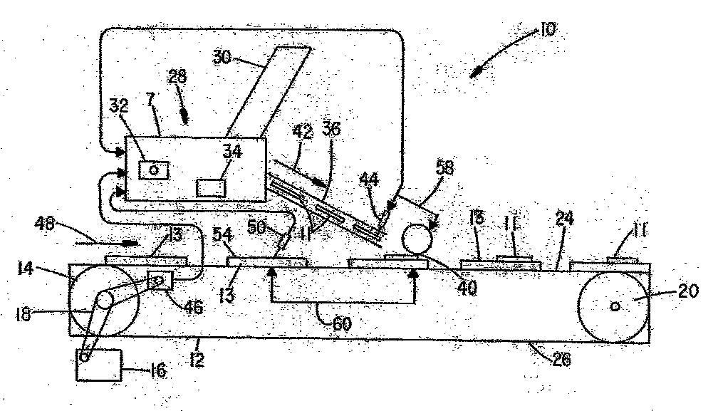
This place covers:
Applying a (one) label to a rigid container.
Illustrative example of subject matter classified in this group.

Attention is drawn to the following places, which may be of interest for search:
Apparatus or processes specially adapted for marking conductors or cables |
Attention is drawn to the following places, which may be of interest for search:
Apparatus for applying lining or sheathing using tubular layers or sheathings: | |
Enclosing successive articles in tubular webs/Devices for distending tubes supplied in the flatened state |
This place covers:
Applying a label to a non-rigid container or box to be inflated by internal pressure prior, and optionally during, the labelling.
Illustrative example of subject matter classified in this group.


This place covers:
Using adhesives.
Using staples.


This place covers:
Illustrative example of subject matter classified in this group.

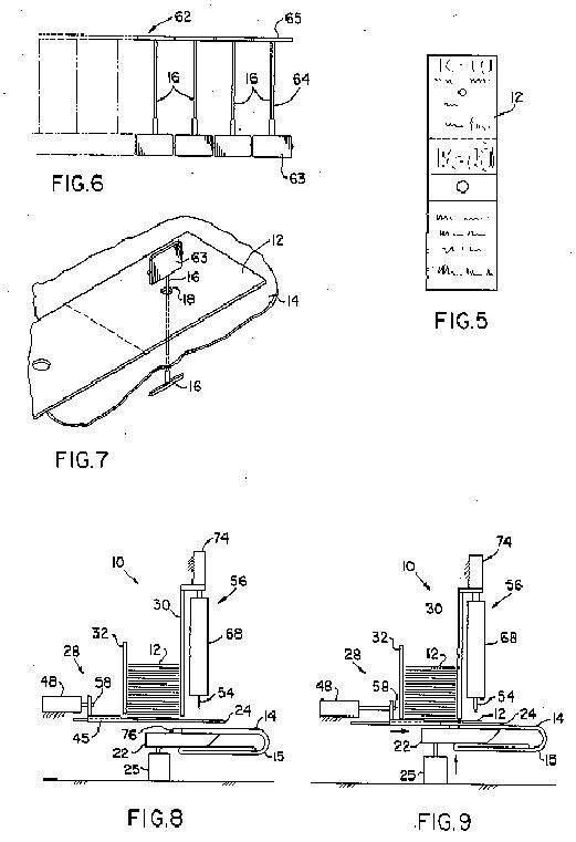
This place covers:
Using pins having at least one sharp pointed end.
Using paddle-shaped plastic pins.


This place covers:
Illustrative example of subject matter classified in this group.



This place covers:
Using paddle-shaped pins, "plastic" is not an essential limiting feature.
Illustrative example of subject matter classified in this group.


This place covers:
Removing backing sheets.
Preparing the labels or articles, e.g. smoothing, removing air bubbles.
Interchangeable modules of a labelling machine, e.g. different label type or
size dispenser modules. Cutting tubular labels from a web.
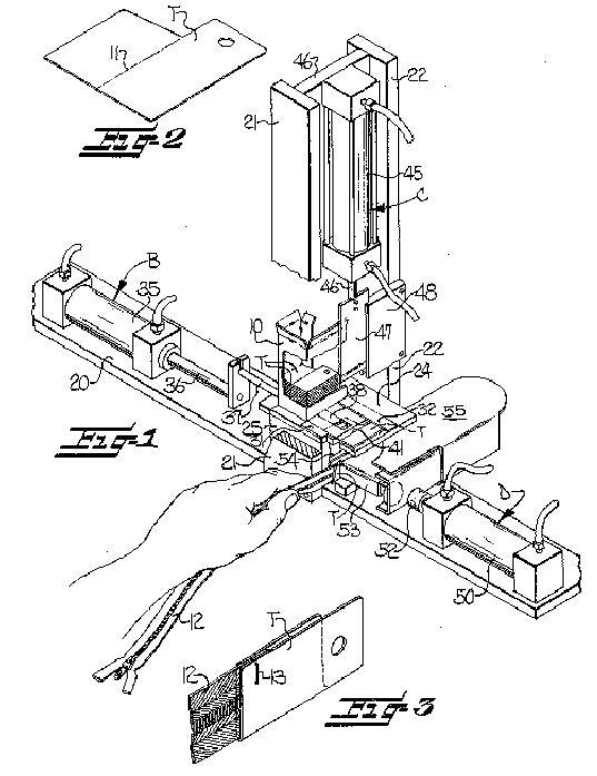
Devices for moving articles, e.g. containers, past a labelling station.
Devices for presenting articles in predetermined attitude or position at a labelling station.
Label feeding Gluing the labels or articles.
Devices for applying labels.
Label cooling or drying.
Controls; Safety devices.
Applying date marks, code marks, or the like, to the label during labelling.
This place covers:
Illustrative example of subject matter classified in this group.

This place covers:
Preparing the labels or the articles before or during the application of the label to the article, e.g. drying articles, preheating, electrostatic (de-)charging, stretching of labels, etc.
Illustrative example of subject matter classified in this group:


This place covers:
Illustrative example of subject matter classified in this group.

This place covers:
Illustrative example of subject matter classified in this group.

This place covers:
Illustrative example of subject matter classified in this group.

This place covers:
Having means for rotating the articles themselves, i.e. spinning, independently from their conveying direction, i.e. being on a linear conveyor or on a rotating carousel, during the label application.
Illustrative example of subject matter classified in this group.

This place covers:
Devices for positioning articles prior to label application, for example rotating the articles around their own axis prior to label application, or height adjustment of article support means according to article size.
This place covers:
Illustrative example of subject matter classified in this group.

This place covers:
Illustrative example of subject matter classified in this group.

This place covers:
Illustrative example of subject matter classified in this group.

This place covers:
This group comprises the following subgroups:
Label magazines
Removing separate labels from stacks
Label feeding from strips
This place covers:
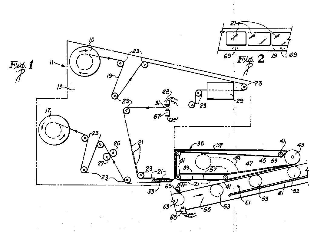
Illustrative example of subject matter classified in this group.

This place covers:
The labels being cut from a strip.
The labels adhering on a backing strip.
Spools or cassettes for strips.
The labels being torn or burst from a strip.
Illustrative example of subject matter classified in this group.

This place covers:
By wetting, e.g. by applying liquid glue or a liquid to a dry glue coating
- using spraying means
- using manipulator arms
- Applying the liquid on the label
- using liquid rollers or bands
- using wipers, pallets, or segments
By heat
- by thermo-activating the glue
Illustrative example of subject matter classified in this group.

This place covers:
Specific devices for applying labels to articles in general, not necessarily restricted to a specific surfaces, and for which is normally no other entry.
This group comprises the following subgroups:
- Manually operable
- Air blast devices
- Rollers
- Flexible bands
- Wipers, Pressers
Illustrative example of subject matter classified in this group.

This place covers:
Illustrative example of subject matter classified in this group.

This place covers:
Illustrative example of subject matter classified in this group.

This place covers:
Illustrative example of subject matter classified in this group.

This place covers:
Illustrative example of subject matter classified in this group.

This place covers:
Modified for the application of labels to articles.
Using electrical or electro-mechanical means.
Using pneumatic means.
Having printing equipment.
Having means for moistening the labels.
Having means for heating thermo-activatable labels.

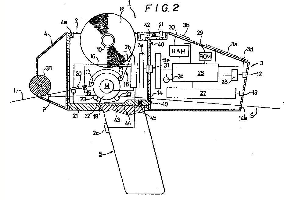
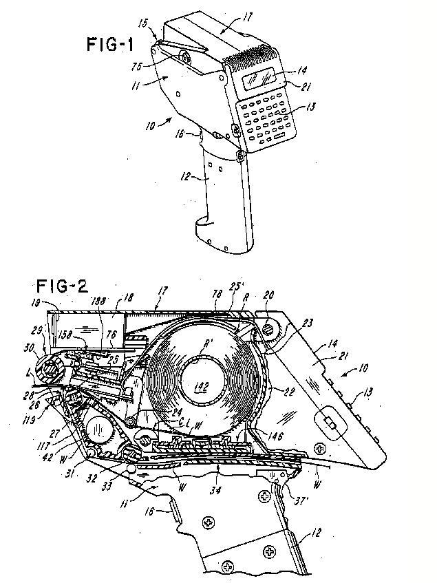
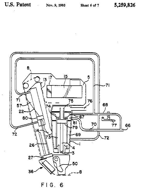
This group is directed to manually operated devices, whereas B65C 9/08 is directed to machine operated devices.
This place covers:
Illustrative example of subject matter classified in this group.

This place covers:
Illustrative example of subject matter classified in this group.

This place covers:
Illustrative example of subject matter classified in this group.

This place covers:
Illustrative example of subject matter classified in this group.

This place covers:
Illustrative example of subject matter classified in this group.

This place covers:
Illustrative example of subject matter classified in this group.

This place covers:
Illustrative example of subject matter classified in this group.

This place covers:
Illustrative example of subject matter classified in this group.

This place covers:
Illustrative example of subject matter classified in this group.

This place covers:
Illustrative example of subject matter classified in this group.

This place covers:
Illustrative example of subject matter classified in this group.

This place covers:
Illustrative example of subject matter classified in this group.

This place covers:
Illustrative example of subject matter classified in this group.

This place covers:
Illustrative example of subject matter classified in this group.

This place covers:
Illustrative example of subject matter classified in this group.

This place covers:
Illustrative example of subject matter classified in this group.



