CPC Definition - Subclass B28C
Classification of preparind clay; Producing mixtures containing clay or cementitious material is in this subclass.
Classification of cements; concrete and ceramics per se is classified under C04B. Mixing is classified under B01F.

This place does not cover:
Mixers in general | |
Concrete paving mixers combined with distributing devices | |
Machines for preparing mixtures of road-metal with bitumen |
In this place, the following terms or expressions are used with the meaning indicated:
Cement | includes plaster |
Mixtures of cement with other substances | includes plaster |
Clay | includes ceramic compositions |
Attention is drawn to the following places, which may be of interest for search:
Preparing or treating clay; kaolin | |
Treatment of clays |
Attention is drawn to the following places, which may be of interest for search:
Compositions of mortars, concrete or artificial stone containing unburned clay |
Classification of apparatus or methods for producing mixtures is classified under this subclass.
without using driven mechanical means effecting the mixing is classified under B28C 5/02.
using driven mechanical means effecting the mixing is classified under B28C 5/08.
mixing in containers not actuated is classified under B28C 5/10.
mixing in containers to which motion is imparted is classified under B28C 5/18.
mixing on or by conveyors is classified under B28C 5/34.
mixing effected by the action of a fluid and by driven mechanical means is classified under B28C 5/38.
for preparing mixtures containing fibres is classified under B28C 5/40.
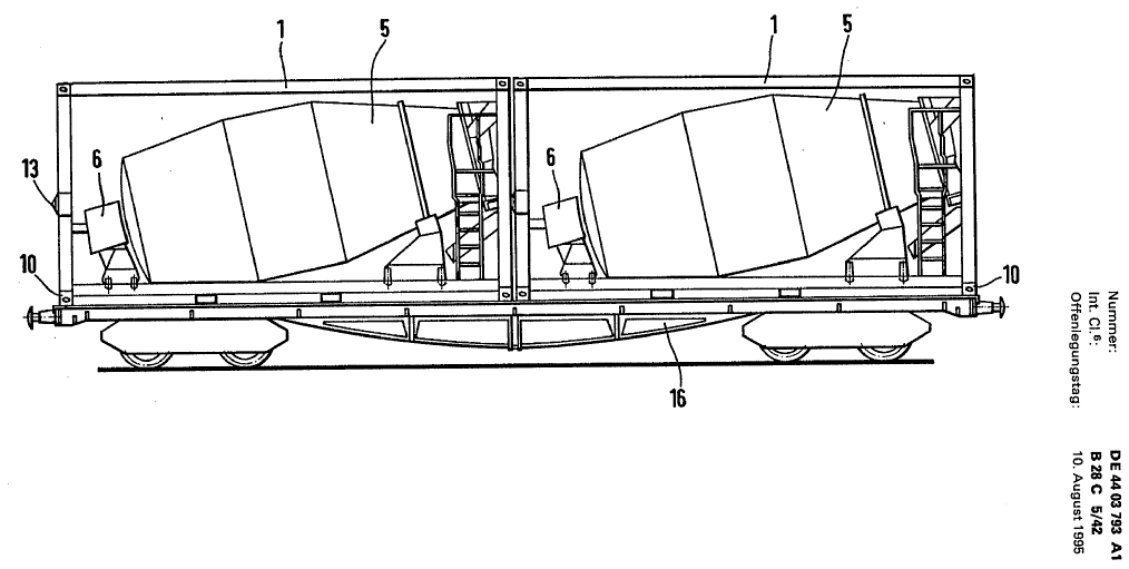
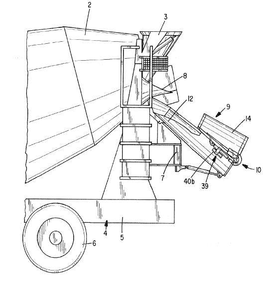
adapted for being mounted on vehicles and mixing during transport is classified under B28C 5/42.
super-or sub-atmospheric pressure during mixing is classified under B28C 5/46.
mixing effected by vibrations is classified under B28C 5/48.

In patent documents the following words "gunnite", "shotcrete" and "aircrete" are often used.
Classification of mixing in containers not actuated to effect the mixing is classified in this subclass.
mixing with stirrers sweeping through the material is classified under B28C 5/12.
discontinuously operating mixing devices is classified under B28C 5/1223.
material flowing continuously through the mixing device is classified under B28C 5/1238.
the stirrers having a substantially horizontal axis is classified under B28C 5/14.
the stirrers having a substantially vertical axis is classified under B28C 5/16.

Examples of places where the subject matter of this place is covered when specially adapted, used for a particular purpose, or incorporated in a larger system:
Vehicle with moving mixing tools in a stationary container for mixing during transport |
This place covers:
The motion which is imparted to the container to effect the mixing is non-rotational, e.g. rocking back and forth; axial reciprocating movement of the container.
US 2006 227 652 A1

Examples of places where the subject matter of this place is covered when specially adapted, used for a particular purpose, or incorporated in a larger system:
Apparatus specilly adapted for being mounted on vehicles with provision for mixing during transport |
Mixing in containers to which rotating motion is imparted are to be classified in the hierarchically lower subgroups of the B28C 5/18.
rotating about an inclined axis is classified under B28C 5/1806.
tilted-drum type mixers is classified under B28C 5/1825.
pulling the mixer over the ground or driven by the wheel of a vehicle is classified under B28C 5/1893.
rotating about a (substantially) horizontal axis classified is under B28C 5/20.
rotating about a (substantially) vertical axis is classified under B28C 5/26.

Attention is drawn to the following places, which may be of interest for search:
Large containers |
Attention is drawn to the following places, which may be of interest for search:
Controlling; Testing; Measuring | |
Methods, systems and apparatus for controlling in general |
Classification of supplying or proportioning the ingredients is in this subclass.
proportioning is classified under B28C 7/0404.
weighing is classified under B28C 7/0422.
volumetric is classified under B28C 7/0454.
plant for proportioning supplying or batching is classified under B28C 7/0481.
supplying the solid ingredients is classified under B28C 7/06.
supplying or proportioning the lliquid ingredientsis classified under B28C 7/12.

Attention is drawn to the following places, which may be of interest for search:
Conveyor belt weighers |
Attention is drawn to the following places, which may be of interest for search:
Mixing plant in general |
Attention is drawn to the following places, which may be of interest for search:
Hydraulic cement concrete mixers combined with distributing means specially adapted for road building |


























