CPC Definition - Subclass A63C
This place covers:
Sport and recreation equipment with runners, rollers or any surface traversing device, where steering is achieved by body movement. The body movement can be supported by means for leaning, e.g. handle bars without a direct steering function.
In particular:
- Skis and snowboards;
- Roller skates; inline skates, skateboards or roller skis;
- Bindings therefor;
- Devices preventing skis or snowboards from slipping back, e.g. stoppers or brakes;
- Other accessories therefor.
Snow shoes.
Sport courts.
In particular:
- Design or layout of playing courts, rinks, or areas for water-skiing;
- Covers therefor.
This place does not cover:
Water sports boards; Accessories therefor | |
Watersledges | |
Waterskis | |
Vessels specially adapted for water sports or leisure; Body-supporting devices specially adapted for water sports or leisure | |
Water shoes; Bog shoes |
Attention is drawn to the following places, which may be of interest for search:
Footwear for skating, skiing or snowboarding | |
Training devices for skiing, snowboarding or skating | |
Chutes; Helter skelters | |
Race courses; Race tracks | |
Fittings on vehicles for carrying skis | |
Handcarts | |
Sledges with runners | |
Ice boats or sailing sledges | |
Non-motorised scooters; Kickboards | |
Surface construction for playgrounds or sports |
This place covers:
Skates with blade runners, e.g. ice runner, skateboards with such runners.
This place does not cover:
Sledges with runners |
In this place, the following terms or expressions are used with the meaning indicated:
Blade | due to lack of normalisation, the term blade is used indifferently for the blade holder or the part, usually made of metal, contacting the ice or surface |
Blade holder | is the part making the junction between the shoe holder and the blade itself, is also referred to as chassis or blade |
This place covers:
Skates with a plate pivoting on the skate chassis during use, e.g. clap-skates
This place covers:
Special construction or structure of the blade holder
This place covers:
Details of the simple blade itself, i.e. the part being in use in contact with the ice or surface
This place covers:
Skates where the ice or surface contacting part is formed of several sub-blades in line and/or comprises more than 2 edges.
This place covers:
Skates where the ice or surface contacting part is formed of several blades, e.g. side by side, e.g. in the form of several ice wheels
This place covers:
-Accessories for use during skating, e.g. support for the foot joint, with the exclusion of apparel like garments, shoes, body protectors or goggles.
Accessories related to the practice of skating, e.g. supporting frames, e.g. for transportation or storage of skates, as so far as these are especially adapted for skis or snowboards or the above.
Accessories implying the use of a skate, or mounted thereon, e.g. special spikes, guards.
This place covers:
Supporting frames or gliders, e.g. auxiliary support device, for helping skaters to stabilise on ice, e.g. for learning skating
Attention is drawn to the following places, which may be of interest for search:
Grinding machines for sharpening skate blade edges | |
Non-rotary grinding hand tools for sharpening skate blades |
This place covers:
Guards that fit over the blade or that keep the blade from contacting the ice or surface, e.g. for transportation, e.g. for walking on it.
This place covers:
Snow runners where steering is achieved by body movement, e.g. skis, snow skates, monoskis, snowboards, snow skateboards
This place does not cover:
Sledges with runners | |
Runners for sledges | |
Runners for carrying wheeled vehicles to facilitate travel on snow or ice |
Attention is drawn to the following places, which may be of interest for search:
Snow shoes | |
Sky surf |
This place covers:
Structure, covering or decoration on the upper ski surface
In particular integrated elements, e.g. rails or anchoring elements.
Attention is drawn to the following places, which may be of interest for search:
Shaping and joining of plastics | |
Printing | |
After-treatment of printing |
In this place, the following terms or expressions are used with the meaning indicated:
Covering | any layer or device positioned over the ski and attached to it in use |
This place does not cover:
Structure of the tips or rear ends |
This place covers:
Collapsible, e.g. foldable, or divided, e.g. articulated, skis or snowboards.
Attention is drawn to the following places, which may be of interest for search:
Snowboards with two or more runners or skis connected together by a rider-supporting platform |
This place covers:
Skis having a length typically shorter than 100 cm, e.g. snowblades, snowskates, figl skis, skis for children.
In this place, the following terms or expressions are used with the meaning indicated:
figl | shortening from German's "Firngleiter": short skis performing on deep icy snow |
In patent documents, the following words/expressions are often used as synonyms:
- Snowblades;
- Skiblades;
- Skiboards;
- Mini skis;
- Fun skis;
- Easy skis;
- Figl skis;
- Children skis.
This place covers:
Snow runners devices where both feet are positioned in use, e.g. snowboards, monoskis, snow skateboards
This place does not cover:
Training apparatus for snowboarding | |
Snow sledges having one single runner |
This place covers:
Skis or snowboard with rolling or like devices where the main surface engaging element is a snow runner.
Attention is drawn to the following places, which may be of interest for search:
Roller skis |
This place covers:
Structure or shape of the surface
Attention is drawn to the following places, which may be of interest for search:
with fins or longitudinal protrusions on the running sole |
This place does not cover:
Tooth-shaped running sole-plates |
This place covers:
Materials for the running sole; processes for making the running sole
This place covers:
Skis or snowboards with special devices thereon, e.g. steering devices or handlebars without a direct steering function for supporting the body movement.
Attention is drawn to the following places, which may be of interest for search:
Sledges with runners arranged in a single line |
This place covers:
Protection or reinforcement devices for the ski-tip or the rear ski rear end, e.g. add-on device, e.g. removable, e.g. protective caps
This place does not cover:
Structure of the tips or rear ends | |
Protectors for skis, e.g. containers on the roof of cars |
Attention is drawn to the following places, which may be of interest for search:
Vibration dampers per se |
This place does not cover:
with ground engaging rolls or belts |
Attention is drawn to the following places, which may be of interest for search:
Apparatus for towing skis |
This place does not cover:
Materials for the running sole |
Attention is drawn to the following places, which may be of interest for search:
Wood manufacturing for sport articles | |
Foam cores | |
Drum surface shaping | |
Compression shaping of composites | |
~using matched molds |
This place covers:
also methods of making for the upper ski surface
This place covers:
Devices enabling skis to be used whilst held in a particular configuration with respect to each other, e.g. for training or learning purposes.
Attention is drawn to the following places, which may be of interest for search:
Snow-ski boards with two or more runners or skis connected together by a rider-supporting platform | |
Exercising apparatus for lower limbs with guided foot support | |
Training appliances or apparatus for skiing |
This place covers:
Devices opposed to snow traversing of the running sole.
This place does not cover:
In-relief running soles |
For push-off or walking motion.
For laterally braking when canting on steep slippery slopes.
For braking during use.
After the ski has separated from the shoe.
This place covers:
Devices for stopping a ski separated from the shoe.
This place covers:
Devices for reducing the speed of the skis when skiing.
This place covers:
Ski bindings and closely related accessories.
Cross-country, telemark and mountaineering ski bindings are to be found mostly in groups A63C 9/02, A63C 9/06, A63C 9/0807, A63C 9/20
Safety ski bindings, e.g. alpine ski bindings, are found in groups A63C 9/08 and lower.
Interfaces and spacer plates for ski bindings are found in group A63C 9/003.
Arrangements for positional adjustment of the bindings or the shoe holder thereof relative to the ski are found in A63C 9/005 and its sub-groups.
Bindings designed for snowboards are classified in A63C 10/00 and/or its sub-groups. Bindings that are suitable for both skis and snowboards are classified in the main groups and/or sub-groups of both A63C 9/00 and A63C 10/00.
This place covers:
E.g. gliding pads or rolls to ease safety release of the shoe
This place covers:
Straps closures or latches to tighten the shoes on the ski, e.g. for soft shoes, e.g. for short skis; leashes or tether to keep to shoe attached to the ski when the binding is released.
This place does not cover:
Straps for snowboard bindings |
This place covers:
E.g interfaces, spacer plates between ski and binding
This place covers:
Ski bindings with means for adjusting the position of a shoe holder or of the complete binding relative to the ski.
This place also covers ski bindings with means for adjusting the position of a shoe holder or of the complete binding relative to the ski, provided that a binding element sliding along a rail is provided. In this case, double classification into A63C 9/005 and A63C 2009/008 may apply.
If a ski binding is provided with means for adjusting the position both in length and height, double classification into sub-groups A63C 9/0053 and A63C 9/0057 is required.
Any type of adjustment other than in length or height requires classification into A63C 9/005. Classification into A63C 9/005 may apply either alone, or in addition to classification into sub-groups A63C 9/0053 and A63C 9/0057.
In this place, the following terms or expressions are used with the meaning indicated:
Climbing wedge | heel elevator, e.g. collapsible, to ease uphill walking by helping to keep the feet closer to an horizontal position |
This place covers:
E.g. such systems constituted by an intermediate element on which a part of the binding is resiliently and slidingly supported
This place covers:
Ski bindings with a binding element sliding along a rail during use or setting.
Attention is drawn to the following places, which may be of interest for search:
Ski bindings; Systems preventing accumulation offorces on the binding when the ski is bending | |
Ski safety bindings; Adjustment of the toe or heelholders; Indicators therefor |
If the ski binding, comprising an element sliding along a rail, also comprises means for adjusting the position of a shoe holder or of the complete binding relative to the ski, double classification into A63C 9/005 and A63C 2009/008 may apply. These means may be provided additionally to the element sliding along a rail or may comprise the element sliding along a rail.
This place covers:
With swivel plate or plate-like structure extending under or along the foot
Attention is drawn to the following places, which may be of interest for search:
With cable extending under or along the foot | |
In a safety release binding |
This place covers:
With cable extending under or along the foot, e.g. telemark
This place covers:
Ski bindings allowing both downhill skiing and push-off skiing e.g. mountaineering bindings
This place covers:
With swivel plate or plate-like of structure extending under or along the foot; encompasses swivelling about a vertical axis
This place does not cover:
For both towing and downhill skiing |
In this place, the following terms or expressions are used with the meaning indicated:
Pivoting about [an axis] | where at least one kinematic component of the movement is a pivoting motion, possibly about a virtual axis |
Transverse | intersecting the general longitudinal vertical plane of the ski binding |
This place covers:
Sole hold-downs, e.g. safety toe holders
In this place, the following terms or expressions are used with the meaning indicated:
Pivoting about [an axis] | where at least one kinematic component of the movement is a pivoting motion, possibly about a virtual axis |
Transverse | intersecting the general longitudinal vertical plane of the ski binding |
This place covers:
Step-in ski bindings where a part, or several parts, of the shoe are specially adapted to interact with specific parts of the binding. In general this part is made out of rigid material which is fastened to the outsole of the boot.
Attention is drawn to the following places, which may be of interest for search:
Accessories for ski boots | |
Accessories for ski boots located underneath the sole | |
Accessories for ski boots located on the sides of the sole |
This place covers:
E.g. stirrup
This place covers:
With sole edge holder, e.g. toe holder, toe swivel axis holder, e.g. cross-country ski bindings
This place does not cover:
Ski bindings with swivel plate or plate like structure extending under or along the foot |
Attention is drawn to the following places, which may be of interest for search:
Bindings for monoskis | |
Water skis | |
Wakeboards |
In patent documents, the following words/expressions are often used with the meaning indicated:
step-in | mechanism that ensures that, when pressing the shoe on the binding, the shoe will be automatically locked to the holder |
This place covers:
Snowboard bindings particular suited for soft boots for encompassing the shoe from the upper side and tighten it against the boot. Most of the shoe holders are made from a strap or soft cover. This group further comprises:
- details how the strap or cover is attached to the binding base;
- adjustment systems to position the strap or cover on the binding base;
- releasable connections between strap and base to allow easy entry of the boot;
- shoe holders passing over the shoe which are not a strap or soft cover (see figure).

This place covers:
Details of straps which encompass the shoe from upper side, e.g. structure of the strap, tensioning means for the strap, cushioning of the strap, relative arrangement between front and rear strap.

Attention is drawn to the following places, which may be of interest for search:
Clamp-buckle fastenings; Fastenings with toggle levers |
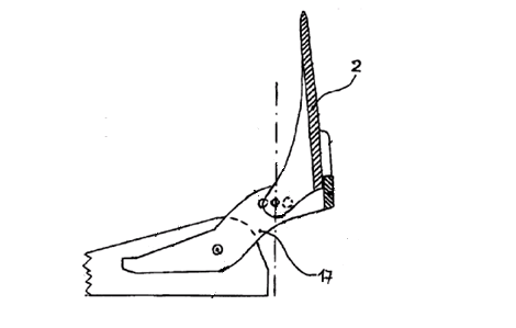
This place covers:
Snowboard bindings dedicated to hard boots, i.e. to boots whose structure is rigid enough to hold the foot tight and transmit front to rear holding forces. Consequently only a small part of the boot is held by a stirrup (ref. 5 on the example drawing) or a clamp (ref. 6,7 on the example drawing).

This place covers:
Step-in snowboard bindings where a part, or several parts, of the shoe are specially adapted to interact with specific parts of the binding. In general this part is made out of rigid material (ref. 20 in the example drawing) which is fastened to the outsole of the boot. This kind of bindings usually allow easy fastening and manual release of the boot and are particular suited for a semi-rigid boots.

Attention is drawn to the following places, which may be of interest for search:
Safety ski bindings using parts which are fixed on the shoe of the user and are releasable from the ski bindings | |
Snowboard boots |
This place covers:
Calf or heel supports which are mostly used for non-rigid type boots, where the back part of the shaft is soft and pliable. These types of supports are mostly found in combination with the bindings of groups A63C 10/04 and A63C 10/10. Calf and heel support allow the transmission of forces pointing to the heel when riding on the back edge of the snowboard. A calf support is usually called high back (ref. 30 in the first example drawing, ref. 2 in the second example drawing). Heel supports are usually in the form of a heel loop (ref. 56 in the first example drawing, ref. 17 in the second example drawing).


Attention is drawn to the following places, which may be of interest for search:
Skis or snowboards ; Vibration dampers |
This place covers:
Accessories for use during skiing or snowboarding, e.g. ski sticks, with the exclusion of apparel like garments, shoes, body protectors or goggles.
Accessories related to the practice of skiing, e.g. anti-theft, for transportation or storage of skis, for treating skis, as so far as these are especially adapted for skis or snowboards or the above.
Accessories implying the use of a ski or snowboard or mounted thereon, e.g. ski chips.
This place does not cover:
Ski boots; similar boots | |
Gloves | |
Devices for ski training |
This place covers:
Skis or skiing accessories convertible to form seats.
This place covers:
Skis or skiing accessories convertible to form stretchers.
Attention is drawn to the following places, which may be of interest for search:
Stretchers | |
Stretchers with skis or sled runners in general |
This place covers:
Signalling devices mounted on or especially adapted to fit ski, snowboard or accessory thereof.
This place does not cover:
Ski sticks with ~ | |
Means for indicating the location of accidentally snow-buried persons |
Attention is drawn to the following places, which may be of interest for search:
Lights | |
Portable traffic signalling device | |
Horns |
This place does not cover:
Signalling devices, e.g. acoustical or visual |
Attention is drawn to the following places, which may be of interest for search:
Devices for locking portable objects |
Attention is drawn to the following places, which may be of interest for search:
Fittings on vehicles for carrying skis |
Attention is drawn to the following places, which may be of interest for search:
Carts for skis |
Attention is drawn to the following places, which may be of interest for search:
Racks especially adapted for storing guns or skis | |
Hanger or shelves for long articles |
Attention is drawn to the following places, which may be of interest for search:
Grinding machines for sharpening ski or snowboard edges | |
Non-rotary grinding hand tools for sharpening ski edges |
Attention is drawn to the following places, which may be of interest for search:
Ski waxes |
This place covers:
Accessories or arrangements for towing skiers, e.g. portable tow ropes.
This place does not cover:
Ski-lifts |
Attention is drawn to the following places, which may be of interest for search:
One wheeled motorised walk-type tractors |
This place does not cover:
Ski bindings |
This place does not cover:
Ski-boot sole-scrapers |
Attention is drawn to the following places, which may be of interest for search:
Walking sticks in general |
Attention is drawn to the following places, which may be of interest for search:
Gloves with connector |
Attention is drawn to the following places, which may be of interest for search:
Gloves with measuring devices | |
Multifunction wrist watch |
Attention is drawn to the following places, which may be of interest for search:
Gloves with warning | |
Gloves with light | |
Means for indicating the location of accidentally snow-buried persons |
Attention is drawn to the following places, which may be of interest for search:
Jigs for drilling ski bindings | |
Testing material properties on sport articles |
Attention is drawn to the following places, which may be of interest for search:
Apparatus for measuring release force of ski safety binding |
This place covers:
Footwear or devices fixed on the shoe for preventing sinking into the snow while walking on it
This place does not cover:
Skis |
Attention is drawn to the following places, which may be of interest for search:
Crampons |
In this place, the following terms or expressions are used with the meaning indicated:
Climbing wedge | heel elevator, e.g. collapsible, to ease uphill walking by helping to keep the feet closer to an horizontal position |
This place covers:
Sport and recreation equipment with rollers, where steering is achieved by body movement, e.g. roller skates, inline skates, skateboards. The body movement can be supported by means for leaning, e.g. handlebars without a direct steering function, e.g. some types of kickboards.
Attention is drawn to the following places, which may be of interest for search:
Elastic bouncing shoes fastened to the foot, e.g. spring shoes |
This place does not cover:
Uniaxle walk-type tractors |
This place does not cover:
Skateboards with a truck |
This place does not cover:
Details of wheels arranged in two pairs | |
Details of wheels arranged otherwise than in two pairs | |
Skateboards or roller skates with endless tracks | |
Driving mechanisms for skateboards or roller skates | |
Brakes for skateboards or roller skates | |
Skateboards or roller skates adapted for use on specially shaped or arranged runways | |
Skateboards or roller skates convertible into ice or snow-running skates | |
Roller skates with fixable wheels permitting the skates to be used for walking | |
Wheels for roller skates | |
Skateboards or roller skates with special auxiliary arrangements, e.g. illuminating, marking or push-off devices | |
Skateboards or roller skates having arrangements for sitting |
Attention is drawn to the following places, which may be of interest for search:
Skis or snowboards with ground engaging rolls or belts | |
Training apparatus for skateboarding | |
Hand carts | |
Carriages for children | |
Bicycles without a seat, e.g. non-motorised scooters |
This place does not cover:
Skateboards with wheels arranged in two pairs |
This place does not cover:
Skateboards with wheels arranged otherwise than in two pairs | |
Skateboards with wheels arranged in one track |
This place does not cover:
Roller skis |
Attention is drawn to the following places, which may be of interest for search:
Skate boots |
mutiple entry classification is used in Indexing Code
This place covers:
Illustrative example of subject matter classified in this place:

This place covers:
Roller skates with a single wheel or a single wheel axis
This place covers:
Illustrative example of subject matter classified in this place:

In patent documents, the following words/expressions are often used as synonyms:
- Continuous track or tread;
- Caterpillar track or tread;
- Tank tread
Attention is drawn to the following places, which may be of interest for search:
Motor vehicles the driver not being seated |
This place covers:
Where the brake contacts a wheel or any part rotating synchronous with the wheel(s).
This place covers:
Any mechanism braking or stopping the wheel and actuated by wheel rotation, e.g. backwards rotation, rotation above a given rotational speed
Attention is drawn to the following places, which may be of interest for search:
Clutch bearings |
This place covers:
Skates or skateboards adapted for use on special surfaces e.g. grass, off-road, bob-like tracks
Attention is drawn to the following places, which may be of interest for search:
Coaster wagons |
This place covers:
Any system easing walking with the skates, e.g. blocking wheels, retractable wheels, skates that can be used in a way that wheels are not in contact with the surface, systems keeping wheels out of contact with the surface, e.g. guards, sole caps.
This place covers:
Wheels especially adapted for roller skating or skateboarding; Details of wheel associated parts, e.g. thread, hub, wheel mounting.
Attention is drawn to the following places, which may be of interest for search:
moulding on inserts | |
wheels made of synthetic materials | |
castors | |
making of wheels in general |
This place covers:
E.g. foot bindings or support; handles or hand support; combinations with wings or sails; for aggressive skating or stunts
This place covers:
E.g. street luge or downhill racing carts, when these are steered by body movement or pedals
Attention is drawn to the following places, which may be of interest for search:
Devices for generating a current of water in swimming pools, e.g. stream pools | |
Bowling-alleys; Boccia courts | |
Merry-go-rounds; Rocking-horses; Chutes; Switchbacks; Similar devices for public amusement | |
Water roundabouts | |
Race-courses | |
Construction of surfaces or foundations | |
Roofs | |
Buildings or groups of buildings for sports | |
Swimming or splash baths or pools | |
Coverings for baths |
In this place, the following terms or expressions are used with the meaning indicated:
layout | relative arrangement of the items constituting the court |
This place covers:
Design and layout of courses primarily intended for golf. These designs incorporate features such as fairways, greens, bunkers, hazards and tee boxes arranged in sequences that reflect natural outdoor landscapes, commonly with 9 or 18 holes. The course requires players to traverse its full length, with putting taking place on the green and a structured progression from tee to hole.
Attention is drawn to the following places, which may be of interest for search:
Special golf games, e.g. miniature golf; Putting tracks therefor | |
Golf practising terrains |
This place covers:
Any kind of boxing or martial arts rings
This place covers:
Shaping the surface of the court to match the requirements of a particular game, e.g. providing an inclined slope to the surface of the court in certain ball games.
Attention is drawn to the following places, which may be of interest for search:
Pavings or foundations specially adapted for playgrounds or sports grounds | |
Surfaces simulating grass | |
Artificial surfaces for snow or ice sports | |
Flooring |
The layout is classified in A63C 19/00.
This place covers:
Also fences, safety nets when these are especially adapted to the sport
This place does not cover:
Tennis nets | |
Cages, backstops, spectator, protections, enclosures |
Attention is drawn to the following places, which may be of interest for search:
Swimming lane members | |
Fences in general |
Attention is drawn to the following places, which may be of interest for search:
Sport posts | |
Impact cushioning for roadworks | |
Posts |
This place covers:
When these are especially adapted to the practise of sports
Attention is drawn to the following places, which may be of interest for search:
Line detectors |
This place covers:
E.g. fence, boards, netting
Attention is drawn to the following places, which may be of interest for search:
Chutes | |
Ski-lifts | |
Pavings for snow sports | |
Making or maintaining surfaces of snow or ice suitable for traffic or sporting purposes | |
Removing snow or ice from roads or like surfaces; Grading or roughening snow or ice | |
Processes or apparatus specially adapted for producing ice or snow for winter sports or similar recreational purposes; Producing artificial snow |
This place does not cover:
Coverings for baths |
Attention is drawn to the following places, which may be of interest for search:
Protective covering for plants | |
Unwinding webs |
This place covers:
Where the device is sliding with other parts of the device contacting the traversed surface, or in another direction than the main surface traversing means (sliding sole; rolling on wheels) or direction, e.g. in skate parks, snow parks, on a rail, curb or bench, e.g. grinding
This place covers:
Where two persons use simultaneously the same device or are connected to each other while riding
This place does not cover:
Skates convertible into ice or snow-running skates |
This place covers:
Devices being, or having parts being, foldable or divided, collapsible, retractable, e.g. wheels retractable in shoe sole
This place does not cover:
Skis with vibration dampers | |
Roller skates or skate boards with shock absorption or suspension system |
This place does not cover:
Safety ski bindings with electronically controlled locking devices |
This place does not cover:
Snowboard binding cradle |
This place does not cover:
Direct actuation by a steering bar |