CPC Definition - Subclass A43B
This place covers:
Footwear, shoes, shoe components, assembling of these components, shape, and use of the shoes.
This place covers:
General features of the material the footwear presents, either in the sole or in the upper.
Basically when it does not really matter where in the upper or in the sole the feature has to be (e.g. the use of a transparent material, to cover a logo while still displaying it).
Attention is drawn to the following places, which may be of interest for search:
Shaping or joining of plastics | |
Producing particular articles from plastic, footwear | |
Layered products | |
Printing, marking or copying | |
Macromolecular compounds, e.g. polyethylene or polypropylene copolymers | |
Macromolecular compounds, e.g. polyurethane or silicones | |
Manufacture of polymeric films or sheets | |
Coating of polymeric articles | |
Production of macromolecular porous or cellular articles | |
Compositions of macromolecular compounds | |
Coating compositions | |
Adhesive processes | |
Adhesive tapes, films or sheets | |
Skins; Hides; Pelts or leather | |
Woven materials | |
Knitted materials | |
Non-woven materials | |
Treatment of fabrics | |
Polymeric coatings on fibrous web | |
Impregnation or coating of paper; Special paper |
Attention is drawn to the following places, which may be of interest for search:
Soles | |
Soles made of wood | |
Making of wooden shoes |
Attention is drawn to the following places, which may be of interest for search:
Soles made of metal |
This place covers:
Footwear made from natural or synthetic rubber material.
This place covers:
Footwear made from synthetic polymers, e.g. polyethylene, polyurethane or artificial leathers.
Synthetic rubber should be classified in A43B 1/10.
This place does not cover:
Footwear made of synthetic or artificial fibres |
This place covers:
General or special shape of the footwear, or a special use.
Examples of what will found here are footwear equipped with electronic devices, adjustable in length, slippers with all kind of straps, shoes to help or protect a person (e.g. military person) walking on landmines (by absorbing energy, deflecting shock wave, or limit the pressure of the person on the ground by increasing the ground contact surface of the sole, avoiding by such to trigger the landmine to activate).
Attention is drawn to the following places, which may be of interest for search:
Footwear for all kind of sport | |
Features concerning a support or resilient pad | |
Features concerning the sole | |
Features concerning the sole insert | |
Features concerning the heel |
Attention is drawn to the following places, which may be of interest for search:
Gaiters; Spats |
This place covers:
Sandals are an open type of footwear, consisting of a sole held to the wearer's foot by straps going over the instep and around the ankle.
Attention is drawn to the following places, which may be of interest for search:
Low shoes; Slippers |
Attention is drawn to the following places, which may be of interest for search:
Heel-protectors for car-drivers |
Attention is drawn to the following places, which may be of interest for search:
Multi-purpose skate boots | |
Easily-exchangeable soles |
Examples of places where the subject matter of this place is covered when specially adapted, used for a particular purpose, or incorporated in a larger system:
Adjustable ski boots or similar boots | |
Adjustable skating boots |
Attention is drawn to the following places, which may be of interest for search:
Footwear with cooling arrangements | |
Footwear with heating arrangements |
This place covers:
Footwear especially adapted for the practice of sport.
For example ski boots, neoprene footwear for use in the water, golf shoes.
This place does not cover:
All cleats and studs |
If the document concerns the stud for a football shoe, and does not bring any information about the shoe, it does not have to be classified in A43B 5/02.
Attention is drawn to the following places, which may be of interest for search:
Stirrups |
Attention is drawn to the following places, which may be of interest for search:
Shoe-shaped inserts; Inserts covering the instep |
This place covers:
Footwear with health (protection against injuries, walking aid for injured people, people with diseases) or hygienic arrangements.
Examples: ventilation systems for footwear, waterproof arrangements, support pads, resilient pads, located under strategic bones/regions of the foot.
Attention is drawn to the following places, which may be of interest for search:
Hygienic overshoes (mostly disposable from sheet) |
This place does not cover:
With electric heating arrangements |
Attention is drawn to the following places, which may be of interest for search:
Heating or cooling appliances for medical or therapeutic treatment of the foot | |
Electric heating arrangements |
Examples of places where the subject matter of this place is covered when specially adapted, used for a particular purpose, or incorporated in a larger system:
Skating boots with ventilation means in the sole | |
Skating boots with ventilation means in the upper |
Attention is drawn to the following places, which may be of interest for search:
Ventilated socks, insoles or inserts |
This place covers:
Any pad, or resilient cushion, recess filled with resilient part.
A43B 7/1415 and subgroups will locate geographically the pad under the foot.
A43B 7/1475 and subgroups will specify the type of pad/cushion.
It is important to give a class in both subgroups.
Additional information can be given by attributing a class in A43B 17/00 if the document concerns an insole to be inserted, in A43B 13/18 or A43B 13/20 if it concerns the midsole/the sole (even if in the heel, like Nike Air).
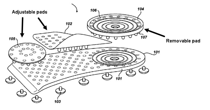
This place covers:
Foot-supporting parts where a custom fit is provided for by at least one pad which can be removed or replaced with another pad.
Illustrative example of subject matter classified in this group:
The foot-supporting part includes fasteners to provide for the addition and removal of a support insert.

Removal of a pad but replacing it in another available position should be classified in A43B 7/1469. This is considered an adjustable feature since the pad is only removed so that it can be relocated.
Example - Pads (102) and (105) should be considered adjustable since they are removed but replaced in a different configuration. Pad (104) should be considered removable since it is either added or removed and cannot be placed in another position. If the foot-supporting part also supports the foot with pads (102) and (105) removed, then classification in A43B 7/1463 is also proper.

This place covers:
Foot-supporting parts where a custom fit is provided for by adjustment of at least one pad.
Illustrative example of subject matter classified in this group:
The footwear below includes an air bladder at the arch where the pressure of the bladder is adjustable.

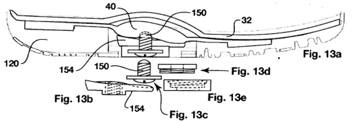
This place covers:
Foot-supporting parts where at least one pad is adjusted by turning a screw or movement along a threaded piece.
Illustrative example of subject matter classified in this group:
The footwear below includes a pad which can be adjusted by turning a screw.

This place covers:
Foot-supporting parts where at least one pad is adjustable through the elastic deformation of a resilient member.
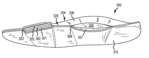
This place covers:
Foot-supporting parts where at least one pad is adjustable by adding and removing shims.
Illustrative example of subject matter classified in this group:
Foot-supporting part with pad (322) where adjustment is made by inserting one or more shims (301, 302, 303).

This place covers:
Foot-supporting parts where a custom fit is provided for by pads which can be positioned into multiple positions.
Illustrative example of subject matter classified in this group:
The foot-supporting part includes pads (102) and (105) which can be secured across multiple positions.

Attention is drawn to the following places, which may be of interest for search:
Footwear with removable pads to allow custom fit |
This place does not cover:
Attention is drawn to the following places, which may be of interest for search:
Orthopaedic insertions for conventional shoes |
This place covers:
Assembling an upper to a sole, e.g. by stitching, gluing.
Attention is drawn to the following places, which may be of interest for search:
Assembling different layers of sole | |
Assembling different pieces of soles | |
Assembling different parts of the upper together | |
Assembling of an upper to a sole by moulding/vulcanising |
A43B 9/16, A43B 9/18, A43B 9/20 are not really used anymore. B29D 35/06 and B29D 35/10 are more appropriate.
not used: B29D 35/10 (having preformed soles or heels joined on the preformed uppers using moulding technique, e.g. by feeding or injecting material between the parts to be joined.
Attention is drawn to the following places, which may be of interest for search:
Footwear having soles or heels formed and joined on to preformed uppers using a moulding technique, e.g. by injection moulding, pressing and vulcanising | |
Footwear having preformed soles or heels joined on to preformed uppers using a moulding technique, e.g. by feeding or injecting plastics material between the parts to be joined |
Not used, use instead B29D 35/06 and B29D 35/10.
Not used: B29D 35/10: having preformed soles or heels joined on to preformed uppers using a moulding technique, e.g. by feeding or injecting plastics material between the parts to be joined.
This place covers:
Any arrangement to help putting-on of the shoes. It can be the shape, that makes it easier to put the foot inside the shoe, or built-in shoe horns which have a dedicated sub-group.
This place covers:
Soles, midsoles and built-in insoles.
Examples of places where the subject matter of this place is covered when specially adapted, used for a particular purpose, or incorporated in a larger system:
Skating boots characterised by the sole |
Attention is drawn to the following places, which may be of interest for search:
Insoles for insertion, e.g. footbeds or inlays, for attachment to the shoe after the upper has been joined |
If the material can be component of the sole, of a part of it or a layer of it, a class in A43B 13/02 and subgroups has to be assigned. On top of that, in case of multilayer, A43B 13/12 and subgroup defines where the material is expected to be found.
If the insole is multilayered, a class in A43B 13/386 has to be attributed. If the material concerns a part of the sole/layer (e.g. the front, the middle part, the heel, and not the rest, the sole/layer is call "pieced" A43B 13/16 has to be attributed (A43B 13/38 in case of a pieced insole).
Attention is drawn to the following places, which may be of interest for search:
Soles with several layers of different materials |
This place covers:
Sole made anti skid, either by impregnation, either by antiskid devices monolithic to the sole, or multilayer soles, with a part of it in contact with the ground, but excluding the cleats, and studs attached to the sole, like for football or soccer boots or shoes which have this group dedicated: A43C 15/16 and subgroups.
A43C 15/00 and especially A43C 15/16, dedicated to studs and cleats.
Attention is drawn to the following places, which may be of interest for search:
Attachment of heels | |
Attachment of heel parts |
This place does not cover:
Protecting-soles |
Attention is drawn to the following places, which may be of interest for search:
Of metal |
This place covers:
The welt that is used when assembling, mainly by stitching the sole to the upper.
This place covers:
Insoles to be inserted.
Attention is drawn to the following places, which may be of interest for search:
Hosiery; Panti-hose | |
Special medical insertions for shoes |
Inserted insole with cushion/pads are also to be classified in A43B 7/1405.
In this place, the following terms or expressions are used with the meaning indicated:
Sock | Insole to be put in a shoe as to make it fit better. |
Examples of places where the subject matter of this place is covered when specially adapted, used for a particular purpose, or incorporated in a larger system:
Linings, paddings, insertions for ski boots; Inner boots for ski boots | |
Inner boots for skating boots |
Attention is drawn to the following places, which may be of interest for search:
Insoles for insertion, e.g. footbeds or inlays, for attachment to the shoe after the upper has been joined |
This place covers:
Heels of the type protruding from the sole, like high heels for women or some leather classical shoes for men with a heel attached to a sole.
Attention is drawn to the following places, which may be of interest for search:
Pneumatic soles filled with compressible fluid, e.g. air or gas | |
Sole and heel units |
This place covers:
Shoe uppers, boot legs, toe and heel cups, linings, and anything that would be attached for decorating the upper.
Attention is drawn to the following places, which may be of interest for search:
Straps of sandals and slippers | |
Fastening | |
Ornaments with fastening function |
Even if slippers and sandals should be in the A43B 3/10 and A43B 3/12 and sub-groups, if the upper of the slipper has some very special feature which can be of interest for common shoes, it would be classified also in the A43B 23/00.
Examples of places where the subject matter of this place is covered when specially adapted, used for a particular purpose, or incorporated in a larger system:
Ski boots characterised by the material of the upper | |
Skating boots characterised by the upper |
This place does not cover:
Lining laminated with upper |
Examples of places where the subject matter of this place is covered when specially adapted, used for a particular purpose, or incorporated in a larger system:
Linings, paddings, insertions for ski boot; Inner boots for ski boot |
Examples of places where the subject matter of this place is covered when specially adapted, used for a particular purpose, or incorporated in a larger system:
Footwear with shock-absorbing means |
Examples of places where the subject matter of this place is covered when specially adapted, used for a particular purpose, or incorporated in a larger system:
For health or hygienic purposes |
Not used: A43B 5/007 footwear for car drivers instead.