CPC Definition - Subclass A41F
This place covers:
Illustrative example of subject matter classified in this group.

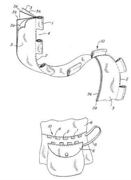
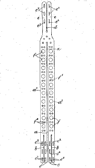
Illustrative example 2: Flexible hinge connector

This place does not cover:
For pairing socks | |
For fur garments |
Attention is drawn to the following places, which may be of interest for search:
Fastening cuffs to shirts | |
Fastening shirt cuffs to sleeves of jackets | |
Fastening devices in general | |
Straps, bands | |
Carrying straps around neck | |
Carrying straps around waist | |
Carrying straps | |
Carriers for hand articles | |
Fastening articles to the garment | |
Carriers for holding garments | |
Garment bags | |
Orthopaedic slings, straps for holding arms | |
For babies' napkins | |
Packaging for clothing | |
Training garments for manipulating fasteners | |
Supports for musical instruments, straps |
This place covers:
Illustrative example of subject matter classified in this group.

This place does not cover:
Magnetic fastening for accessories |
This place covers:
Illustrative example of subject matter classified in this group.

This place covers:
Illustrative example of subject matter classified in this group.


Comprises only back fasteners of brassieres.
For front fastening of brassieres class only in A41C 3/02.
This place covers:
Illustrative example of subject matter classified in this group.

This place does not cover:
Expansible or adjustable belts or girdles |
This place covers:
Illustrative example of subject matter classified in this group.

This place covers:
Illustrative example of subject matter classified in this group.

This place covers:
Illustrative example of subject matter classified in this group.

For fastening glove in cuff area (but not to another garment), class only in A41F 1/06 and A41D 19/0048.
For fastening glove in other area, class only in A41F 1/06.
For fastening glove to another garment class in A41D 19/0041.
This place covers:
Illustrative example of subject matter classified in this group.

This place covers:
Illustrative example of subject matter classified in this group.

This place covers:
Illustrative example of subject matter classified in this group.


This place covers:
Illustrative example of subject matter classified in this group.

This place covers:
Illustrative example of subject matter classified in this group.

This place covers:
Illustrative example of subject matter classified in this group.

Attention is drawn to the following places, which may be of interest for search:
Shirts exchangeably attached to underbodices, drawers |
This place covers:
Illustrative example of subject matter classified in this group.

This place covers:
Illustrative example of subject matter classified in this group.
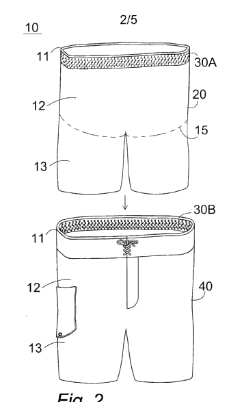
Illustrative example 1: Trouser support system

Illustrative example 2: Waist decorative cloth element

Attention is drawn to the following places, which may be of interest for search:
Garter belts for stockings | |
Waistbands forming part of undergarments |
When girdle is used to support trouser or skirt, classify in A41F 9/00 and lower groups.
When girdle is used to shape body, classify in A41C 1/00 and lower groups.
If girdle is further used to support stocking or socks, classify also in A41F 11/00.
This place covers:
Illustrative example of subject matter classified in this group.

This place does not cover:
Dog's collars | |
Workbelts to carry tools | |
Belts to carry guns (police) |
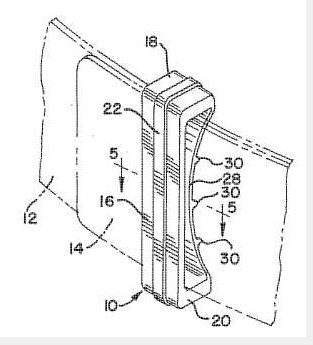
This place covers:
Illustrative example of subject matter classified in this group.


This place covers:
Illustrative example of subject matter classified in this group.

This place does not cover:
Adjustable fasteners comprising a track and a slide member | |
Free belts |
When girdle is used to support trouser or skirt, class in A41F 9/00 and lower groups.
When girdle is used to shape body, class in A41C 1/00 and lower groups.
If girdle is further used to support stocking or socks, class also in A41F 11/00.
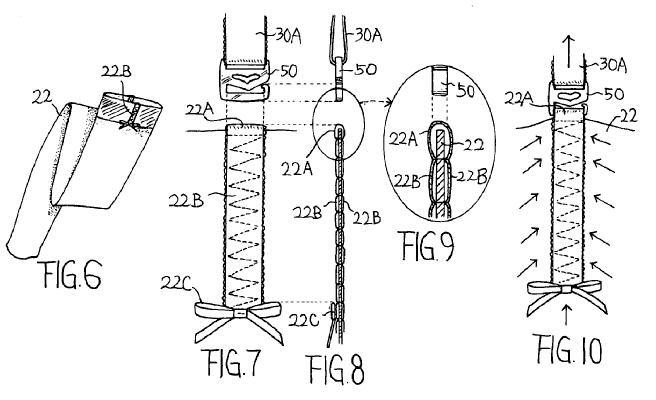
This place covers:
Illustrative example of subject matter classified in this group.


Comprises drawstrings inside pants.
When girdle is used to support trouser or skirt, class in A41F 9/00 and lower groups.
When girdle is used to shape body, class in A41C 1/00 and lower groups.
If girdle is further used to support stocking or socks, class also in A41F 11/00.
For closures of garments using straps or ties (no drawstrings inside waist of pants), class in A41D 2300/33 .
This place covers:
Illustrative example of subject matter classified in this group.


When suspension done by a different device from the stocking, classify in A41F 11/00 and lower groups.
When suspension is integral with stocking classify in A41B 11/12 and lower groups.
When stocking is adapted to allow separate garter to fasten, class in A41B 11/12 and A41F 11/00 and lower groups and also as additional information in A41B 11/12.
Comprises garter belts.
For stocking or socks supports other than suspenders, classify in A41F 13/00.
If girdle is further used to support stocking or socks, classify also as additional information in A41F 11/00.
When girdle is used to support trouser or skirt, classify in A41F 9/00 and lower groups.
When girdle is used to shape body, classify in A41C 1/00 and lower groups.
In this place, the following terms or expressions are used with the meaning indicated:
Garter | A band worn round the leg, either above or below the knee, to keep the stocking from falling down. |
Garter belt | A suspender-belt |
This place covers:
Illustrative example of subject matter classified in this group.


This place covers:
Illustrative example of subject matter classified in this group.

This place covers:
Illustrative example of subject matter classified in this group.

This place covers:
Illustrative example of subject matter classified in this group.

This place covers:
Illustrative example of subject matter classified in this group.

This place covers:
Illustrative example of subject matter classified in this group.

This place covers:
Illustrative example of subject matter classified in this group.

This place covers:
Illustrative example of subject matter classified in this group.

For garter belts class in A41F 11/00.
In this place, the following terms or expressions are used with the meaning indicated:
Garter | A band worn round the leg, either above or below the knee, to keep the stocking from falling down. |
Garter belt | A suspender-belt |
This place covers:
Illustrative example of subject matter classified in this group.

Applies to overgarments also.
This place covers:
Illustrative example of subject matter classified in this group.

Comprises stocking or sock supports other than suspenders.
For stocking or sock suspenders class in A41F 11/00 and lower groups.
This place covers:
Illustrative example of subject matter classified in this group.

This place covers:
Illustrative example of subject matter classified in this group.

This place covers:

This place does not cover:
Shaping shoulder-pads |
This place covers:



Comprises devices to hold down bottom edges or sleeve ends of shirts or blouses.
For fastening the trouser cuff to the shoe class in A41F 17/00 and A41D 1/06.
This place covers:
Illustrative examples of subject matter classified in this group:

Illustrative example 2: Pants cuff clip

Attention is drawn to the following places, which may be of interest for search:
Paper clips of flat sections |
This place covers:

This place does not cover:
Fastening means for gaiters |
This place covers:
E.g., sleeves of long gloves fastening to biceps area.
This place covers:
Illustrative example of subject matter classified in this group.



