CPC Definition - Subclass A01G
This place covers:
Devices and methods for growing, containing and culturing plants.
Chemical compositions or formulations concerning plant growth regulating materials are classified in A01N 25/00.
Chemical compositions or formulations concerning fertilizers are classified in C05G.
Chemical composition formulations in general are classified in C08.
This place does not cover:
Picking of fruits, vegetables, hops or the like | |
Propagating unicellular algae |
Attention is drawn to the following places, which may be of interest for search:
Plant reproduction by tissue culture techniques | |
Flowering plants characterised by their plant parts | |
Flowering plants characterised by their botanic taxonomy | |
Plant growth regulating compositions | |
Devices for topping or skinning onions or flower bulbs | |
Mixtures of one or more fertilisers with additives not having a specially fertilising activity | |
Fertilisers characterised by their form | |
Preparations of macromolecular chemical compounds | |
Plant cell culture |
This place covers:
Methods of asexual reproduction of plants, i.e. NOT involving seeds.
Methods of vegetative propagation involving specialized plant organs such as:
- Stolons or runners, used for example by strawberries,
- Rhizomes, used for example by ginger, lilies and irises,
- Bulbs, used for example by shallots, lilies and tulips,
- Root or stem tubers, used for example by (sweet) potatoes, yams and dahlias,
- Corms, used for example by gladiolus and taro,
- Suckers, used for example by apple and banana trees.
Methods of vegetative propagation involving suckering, i.e. transplanting suckers.
Specific apparatus therefor not otherwise provided for.
This place does not cover:
Plant reproduction by tissue culture techniques |
Attention is drawn to the following places, which may be of interest for search:
Cultivation of cereals | |
Cultivation of root crops | |
Cultivation of bulbs | |
Cultivation of sugar cane |
In patent documents, the following words/expressions are often used as synonyms:
- vegetative reproduction,
- vegetative multiplication,
- vegetative cloning
This place covers:
Methods of vegetative propagation wherein a part of the plant, usually a stem or a leaf, is cut off and planted in a growth substrate (illustration in Fig.1).
Specific apparatus therefor not otherwise provided for.

This place covers:
Ground layering methods, i.e. bending of plant branches or stems so that they touch the ground and are covered with soil to induce the development of roots (illustration in Fig.1).
Air layering, or marcotting, methods, i.e. wounding a target region of the plant and surrounding the wound with a lump of moisture-retaining medium to induce the development of roots (illustration in Fig.2).
Specific apparatus therefor not otherwise provided for.

This place covers:
Grafting methods, i.e. a part of the plant, called scion, usually a stem or a leaf, is cut off and attached to the stem of another plant called stock or rootstock that remains rooted in the growth substrate (illustration in Fig.1).
Inarching methods, wherein the scion is still attached to its own root system at the time of grafting (illustration in Fig.2).
Specific apparatus therefor not otherwise provided for.

This place does not cover:
Grafting-wax |
In patent documents, the following words/expressions are often used as synonyms:
- budding
This place covers:
Apparatus for mechanically grafting plants, operating partly or totally automatically.
Devices for mechanically cutting, inserting or ligating the scion and/or the stock, operating partly or totally automatically (illustration in Fig.1).
Seedling grafting robots (illustration in Fig.2).

This place covers:
Apparatus for manually (illustration in Fig.1) or automatically (illustration in Fig.2) cutting the scion and/or stock.
Apparatus for manually or automatically inserting the scion into the stock for joining them into a graft joint.
Methods therefor.

This place covers:
Apparatus for manually or automatically holding the graft joint in position through ligating or clamping means, e.g. with clamps, clips, etc. (illustrations in Fig.1 and Fig.2);
Methods therefor.

This place covers:
Tools and machines for cutting plants with the purpose of pruning, trimming, shaping, etc.
Also shredders for plant waste.
This place does not cover:
Forestry delimbers |
Attention is drawn to the following places, which may be of interest for search:
Mowers having rotating flexible line cutters | |
Special adaptation of mowers for carrying by the operator |
Attention is drawn to the following places, which may be of interest for search:
Comminuting by cutting implements in general |
Examples of places where the subject matter of this place is covered when specially adapted, used for a particular purpose, or incorporated in a larger system:
Motor-driven blades |
Attention is drawn to the following places, which may be of interest for search:
Saws in general |
Attention is drawn to the following places, which may be of interest for search:
Saws in general |
Attention is drawn to the following places, which may be of interest for search:
Chain saws in general |
Attention is drawn to the following places, which may be of interest for search:
Circular saws in general |
This place covers:
Handling and processing of cut flowers, tools and machines for making bouquets and wreaths, devices and methods for preserving cut flowers
Attention is drawn to the following places, which may be of interest for search:
Soilless cultivation, e.g. hydroponics | |
Information and communication technology for agriculture |
This place covers:
The treatment of plants with carbon dioxide in fields.
Illustrative example of subject matter classified in this place:

The Figure illustrates a ground-to-canopy gaseous media delivery system.
Examples of places where the subject matter of this place is covered when specially adapted, used for a particular purpose, or incorporated in a larger system:
Greenhouses for treating plants with carbon dioxide or the like |
This place covers:
- Illumination means for controlling plant photomorphogenesis, i.e. plant morphology, photoperiodism, or phototropism; for example: illumination means for inducing or delaying flowering, fruiting, bolting, etc.;
- Illumination means for varying the light properties other than the propagation direction, depending on the plant cultivated; for example: illumination means with variable wavelength spectrum, intensity, polarization;
Illumination systems where illumination is controlled by measurements taken in the plant's direct environment, e.g. by cameras, light sensors, etc. (illustration in Fig.1);
Illumination methods for plants, e.g. lighting recipes (illustration in Fig.2).

Attention is drawn to the following places, which may be of interest for search:
Lighting systems for greenhouses |
This place covers:
- Devices for treating or repairing live trees or plants, e.g. injecting devices;
- Devices to promote effective flowering of trees or plants.
Illustrative examples of subject matter classified in this place:
1.

Figure 1 illustrates a system for injecting trees.
2.

Figure 2 illustrates an ozone system for agricultural applications.
Chemical compositions or formulations concerning plant growth regulating materials are classified in A01N 25/00.
This place covers:
- Devices and containers for use in cultivation of plants;
- Floatable planting containers or receptacles;
- Floatable structures to cultivate plants.
Illustrative examples of subject matter classified in this place:
1a.

1b.

Figures 1a and 1b illustrate a floatable planting apparatus.
2.

Figure 2 illustrates a floating wetland cultivation device.
This place does not cover:
Cultivation of mushrooms | |
Soilless cultivation, e.g. hydroponics |
Attention is drawn to the following places, which may be of interest for search:
Environmental control chambers for greenhouses, forcing frames or the like | |
Raised beds; Planting beds; Edging elements for beds, lawn or the like | |
Roof coverings consisting or two or more layers, at least one of the layers permitting turfing of the roof |
This place covers:
Containers or devices that hold growing plants, including seeds and seedlings.
Illustrative examples of subject matter classified in this place:
1.

Figure 1 illustrates a flower pot with light sources.
2.

Figure 2 illustrates a sectional planting pot.
This place does not cover:
Self-acting watering devices | |
Devices or holders for supporting flower pots or cut flowers (e.g. tables, stands, wire hangers, vases, covers for pots) |
Attention is drawn to the following places, which may be of interest for search:
Containers or packages per se | |
Containers or packages for living plants; Containers for growing bulbs |
This place covers:
Containers specifically designed for seed germination or seedling or sprout growth.
Illustrative examples of subject matter classified in this place:
1.

Figure 1 illustrates a container for growth of cryo-sprouts.
2.

Figure 2 illustrates a seed panel including a substrate layer (26), an adhesive layer (28), a plurality of seeds (24) and a cover (28).
3.

Figure 3 illustrates a plant cultivating device with a plurality of seeds (12) disposed on a plate (14) embedded in a cultivating medium (11).
This place does not cover:
Growth substrates in block form |
Attention is drawn to the following places, which may be of interest for search:
Soilless cultivation, e.g. hydroponics |
This place covers:
Containers specially adapted to hold an individual seed, seedling or shoot.
Illustrative examples of subject matter classified in this place:
1a.

Figure 1a illustrates a circular seed pack made up of individual seed cases separated from each other by perforations.
1b.

Figure 1b illustrates a cross section of an individual seed case of Figure 1a with a seed therein.
2.

3.

Figure 3 illustrates a seed holder receptacle with a seed in position for rapid germination.
4.

This place covers:
- Containers made up of two or more separable pieces;
- Containers capable of being opened or separated, e.g. comprising hinged sections, scored lines or tear lines.
Illustrative examples of subject matter classified in this place:
1.

Figure 1 illustrates an openable plant pot.
2.

Figure 2 illustrates a container with a jigsaw puzzle construction.
3.

Figure 3 illustrates pots with tear-away elements.
Attention is drawn to the following places, which may be of interest for search:
Lines of weakness to facilitate opening or dividing of containers made of paper, e.g. boxes, cartons or trays, into separate parts by cutting or tearing | |
Containers for living plants; Containers for growing bulbs |
Attention is drawn to the following places, which may be of interest for search:
Constructional aspect of greening roofs |
This place covers:
- Devices for cleaning the outer walls of flower pots;
- Devices for cleaning and sanitizing the interior of pots.
Illustrative example of subject matter classified in this place:

The Figure illustrates a flower-pot washer.
This place does not cover:
Stays for trees, props for vines |
Attention is drawn to the following places, which may be of interest for search:
Trellis-work for vines |
This place covers:
Enclosed structures providing a regulated, e.g. warmer or plant-growing environment. The structures are constructed with transparent or translucent roofs and walls to allow solar radiation to pass through and warm the interior and enclosed to prevent warmed air from escaping.
Illustrative example of subject matter classified in this place:

The following structures also create warmer plant-growing environments by allowing solar radiation to pass at least through transparent or translucent roofs, but have other classification places:
- Forcing-frames for the growth of seeds or young plants outside of their natural growing season are classified in group A01G 9/20. Forcing-frames are generally smaller in construction than greenhouses due to only accommodating seeds or young plants.
- Environmental control chambers for regulating the environment within greenhouses are classified in group A01G 9/24.
- Tunnels for extending over rows of plants, most often a single row, are classified in group A01G 13/24. Tunnels can be constructed with a material like polyethylene that warms the interior and prevents damage from cold or frost. The heights of the tunnels are generally close to the heights of the plants they are protecting.
- Cloches for enclosing a single plant or a small group of plants are classified in group A01G 13/26. The heights of the cloches are generally close to the heights of the plants they are protecting.
Attention is drawn to the following places, which may be of interest for search:
Cloches for protecting plants | |
Glazing bars, glazing clips |
This place covers:
Low gardening beds, with covering frames like glass panes, for forcing or propagating young plants (illustration in Fig.1).
Covering frames for use in forcing-frames, e.g. glass frames, etc. (illustration in Fig.2).

Important note: the term "light" is an outdated term referring to said glass frames and has nothing to do with artificial lighting (see the Figures below: the "lights" with reference signs 2 and 6).

Attention is drawn to the following places, which may be of interest for search:
Lighting treatment of plants | |
Greenhouses | |
Lighting systems for greenhouses | |
Raised beds; Planting beds | |
Tunnels |
In patent documents, the following words/expressions are often used as synonyms:
- "forcing frames", "horticultural frames", "garden frames", "cold frames", propagating frames", "hotbeds"
Attention is drawn to the following places, which may be of interest for search:
Canopies for protecting plants |
This place covers:
Systems or devices for managing the environment in greenhouses, forcing-frames or the like, such as:
Ventilating systems for greenhouses or the like.
Heating systems.
Air-conditioning systems.
Illumination arrangements other than for a lighting treatment of the plant.
Watering arrangements of plants cultivated in greenhouses or the like.
This place covers:
Spatial arrangements of lamps for controlling the light propagation direction towards the plants, e.g. to increase photosynthetic activity, such as:
Vertical lamp arrays (illustration in Fig.1),
Lighting means for illuminating the bottom leaves,
Movable illumination means, etc.
Illumination systems with structural features for controlling the light propagation direction towards the plants, such as:
Screens, shades in association with horticultural lamps;
Horticultural lamps with lenses;
Horticultural lamps with reflectors (illustration in Fig.2), etc.
Horticultural illumination systems with cooling means (illustration in Fig.3).

This place does not cover:
Lighting treatment of plants |
Attention is drawn to the following places, which may be of interest for search:
Reflectors for light sources | |
Cooling arrangements for lighting devices |
This place does not cover:
Lighting means |
This place covers:
Illustrative examples of subject matter classified in this place:
1a.

1b.

Figures 1a and 1b illustrate a system for steam treatment of soil. Note the steam supply manifolds (36, 38, 40) and the steam outlet tubes (36a, 38a, 40a).
1c.

Figure 1c illustrates sources of steam including a steam boiler (50), water tank (52) and generator (54) connected to the steam supply manifolds of Figures 1a and 1b via steam supply lines (16).
2.

Figure 2 illustrates a soil pasteurizing apparatus. Note the plurality of branching tubes (8) and the soil injectors (9).
Apparatus for destruction of noxious animals, other than insects, by hot water, steam, hot air or electricity are classified in A01M 19/00.
Apparatus for destruction by steam, chemicals, burning or electricity are classified in A01M 21/04.
Attention is drawn to the following places, which may be of interest for search:
Soil-conditioning or soil-stabilising materials |
This place covers:
The protection of plants through the use of physical or mechanical arrangements.
Illustrative example of subject matter classified in this place:

The Figure illustrates an anti-theft device to prevent stealing of plants.
Protection of plants using chemical compositions, e.g. biocides or pest repellants, or preserving or maintaining freshness of plants is classified in A01N.
This place does not cover:
Greenhouses |
Attention is drawn to the following places, which may be of interest for search:
Apparatus for the destruction of noxious animals or noxious plants | |
Coverings around trees forming part of a road |
This place covers:
Illustrative examples of subject matter classified in this place:
1.

2.

This place does not cover:
Scaring or repelling devices |
Attention is drawn to the following places, which may be of interest for search:
Protective coverings for young plants | |
Traps |
This place covers:
Coverings provided above the plant and supported without enclosing the plant.
Illustrative examples of the subject matter classified in this place:
1.

2.

3.

Attention is drawn to the following places, which may be of interest for search:
Tents or canopies, in general |
This place covers:
Illustrative example of subject matter classified in this place:
1a. Wind fence (front view)

1b. Wind fence (side view)

This place covers:
Tunnel-like covers for extending over rows of plants, most often a single row. The covers can allow or prevent light from passing through. The heights of the covers are generally close to the height of the plants they are protecting.
Illustrative examples of the subject matter classified in this place:
1.

2.

Greenhouses can have the same rounded or semicircular shape as tunnels, but should be classified in group A01G 9/14. Tunnels are specifically designed for covering a row or rows of plants, and the tunnel width required to cover only a single row or small number of rows generally results in a structure much closer in height to that of the plants being covered. Greenhouses, e.g. high tunnels, are constructed in a size allowing a person to enter, independent of the configuration or size of the plants within.
This place covers:
Protective covers enclosing a single plant or a small group of plants that can be set over the plant(s).
Illustrative examples of subject matter classified in this place:
1.

2.

Attention is drawn to the following places, which may be of interest for search:
Dismountable or portable greenhouses | |
Providing overhead protection, i.e. canopies, for individual plants |
This place covers:
Protecting parts of plants including roots, stems, trunks, branches, leaves, flowers or fruit.
Illustrative examples of subject matter classified in this place:
1.

Figure 1 illustrates a protective barrier for plant roots.
2.

Figure 2 illustrates a protective liner for a plant root and bulb.
3.

Figure 3 illustrates a system for protecting the fruit of a plant.
Attention is drawn to the following places, which may be of interest for search:
Protective shelters affording protection against animals, birds or other pests | |
Transplanting trees; Devices for grasping the root ball, e.g. stump forceps; Wrappings or packages for transporting trees |
This place covers:
Illustrative example of subject matter classified in this place:

This place covers:
Physical characteristics of mulches provided in a loose form to be spread over the ground, e.g. bark chips or shredded wood, mechanical aspects of making or treating mulch and methods of mulching plants.
Illustrative examples of subject matter classified in this place:
1.

Figure 1 illustrates a mulch product (12) characterized by its physical properties of shape, dimension, length and material on soil (14).
2.

Figure 2 illustrates a method of treating mulch by applying an adhesive to prevent undesired movement of the mulch.
This place covers physical and mechanical aspects of mulch. Chemical compositions of mulches and formulations thereof are found in group C09K 17/52.
This place covers:
Arrangements for forming perforations or holes in ground coverings, e.g. by cutting, punching, blanching, hooking or heating, after laying out the coverings on the ground.
Illustrative examples of subject matter classified in this place:
1.

Figure 1 illustrates a pointed member (15) for piercing a ground covering.
2.

Figure 2 illustrates a heat generating component (23) for burning perforations in a ground covering.
This place covers:
Illustrative examples of subject matter classified in this place:
1.

Figure 1 illustrates an apparatus for precipitation of water for rainfall enhancement in water-stressed regions.
2.

Figure 2 illustrates a cloud seeding system using hoses.
3.

Figure 3 illustrates a weather modification vehicle including a flare system capable of burning to create a dispersant which may induce precipitation in target clouds.
Attention is drawn to the following places, which may be of interest for search:
Dropping or releasing powdered, liquid or gaseous matter in flight, e.g. for fire fighting | |
Dispersing fog in general | |
Buildings adapted to withstand dangerous influences, e.g. tornadoes, floods | |
Storm panels; Hurricane shutters | |
Processes or apparatus specially adapted for producing ice or snow | |
Adaptations of balloons, missiles or aircraft for meteorological purposes | |
Devices for predicting weather conditions |
This place does not cover:
Forestry |
Attention is drawn to the following places, which may be of interest for search:
Harvesting of standing crops | |
Organic fertilisers containing added bacterial cultures, mycelia or the like | |
Fungi |
This place covers:
Devices for guiding the fruiting body, or carpophore, of a mushroom during growth, e.g. to obtain a desired form (illustration in Fig.1).
Paper rolls, paper wraps, wrapping papers, etc. for guiding the carpophores (illustration in Fig.2).
Apparatus for attaching the growth guides to the cultivation containers.
Methods therefor.

This place does not cover:
Hand-held edge trimmers or shears for lawn | |
Edging for lawn | |
Lawn-mowers |
Attention is drawn to the following places, which may be of interest for search:
Flat containers for turf, lawn or the like | |
Growth substrates in mat form | |
Hand tools for treating meadows or lawns | |
Machines for treating meadows or lawns | |
Rollers for consolidating or finishing laid-down unset materials | |
Removing undesirable matter from roads or like surfaces |
In patent documents, the following words/expressions are often used as synonyms:
- Turf, Sod, Grass, Lawn, Meadows
Attention is drawn to the following places, which may be of interest for search:
Machines for lifting and treating soil |
This place covers:
Illustrative examples of subject matter classified in this place:
1.

Figure 1 illustrates a leaf litter collector with tines and a dumping member comprising a movable plate through which the tines extend.
2a.

Figure 2a illustrates a device for removing dew from grassy areas such as golf courses comprising a plurality of beaded lines enclosed within a sheath which is pulled behind a tractor.
2b.
![]()
Figure 2b illustrates the individual beaded lines of Figure 2a. The "beads" are cylindrical, leaded weights disposed in spaced connection along a resilient, durable strand. The weights maintain the line on the grass to provide continuous dew removal.
Attention is drawn to the following places, which may be of interest for search:
Hand rakes |
This place covers:
- Plant cultivation for specific plant types;
- Cultivation of specific types of crops which are non-genetically modified.
Hybridised and transgenic plants are classified in group A01H 6/00.
This place covers:
All cereal crops, e.g. maize.
Illustrative examples of subject matter classified in this place:
1.

Figure 1 illustrates an intercropping process with corn rows (8) and soybean rows (9).
2.

Figure 2 illustrates a plant arrangement for improving crop yields with a set distance (36) between corn rows (8).
This place does not cover:
Cultivation of fruit trees or the like |
This place does not cover:
Delimbing standing trees |
Attention is drawn to the following places, which may be of interest for search:
Tree feeding devices |
Attention is drawn to the following places, which may be of interest for search:
Axes | |
Saws or sawing machines |
Attention is drawn to the following places, which may be of interest for search:
Manufacture of wood shavings, chips, powder or the like |
Chemical compositions or formulations concerning plant growth regulating materials are classified in A01N 25/00.
Chemical compositions or formulations concerning fertilizers are classified in C05G.
Chemical composition formulations in general are classified in C08.
This place does not cover:
Culture media for mushrooms |
Attention is drawn to the following places, which may be of interest for search:
Cultivation of turf, lawn or the like on mats | |
Organic fertilisers; Manufacture thereof | |
Soil-conditioning or soil-stabilising materials |
This place covers:
Compressed growth substrates, e.g. compressed pots, blocks, slabs, bricks, plugs, pellets, wafers, mats, boards (illustrations in Fig.1).
Growth substrates with a coherent shape, e.g. cured with a binder.
Fig.1: Compressed growth substrates
Attention is drawn to the following places, which may be of interest for search:
Grass cultivation on mats |
This place covers:
Illustrative example of subject matter classified in this place:

The Figure illustrates a concealed elevated irrigation system. Note sprinkler head (4) at the top of post (2a).
Nozzles, spray heads or other outlets designed to control the volume of flow are classified in B05B 1/30.
Arrangements for controlling delivery or spray area are classified in B05B 12/00.
This place does not cover:
Special apparatus or adaptations for fertilising-liquids | |
Nozzles or outlets, spraying apparatus |
Attention is drawn to the following places, which may be of interest for search:
Hose holders | |
Gravity flow or open channel irrigation ditch systems | |
Valves; Taps; Cocks; Actuating-floats; Devices for venting or aerating | |
Program-control systems for sprinkler, irrigation, watering | |
Control of flow by electric means for fluid materials |
Attention is drawn to the following places, which may be of interest for search:
Similar arrangements for drainage |
This place covers:
Soil humidity sensors when used together with a control system (in the field and within greenhouses).
Illustrative examples of subject matter classified in this place:
1.

Figure 1 illustrates a porous medium sensor with a porous tip.
2.

Figure 2 illustrates a soil moisture monitoring system.
Attention is drawn to the following places, which may be of interest for search:
This place covers:
Devices for supplying fluid to plants in containers over a period of time without requiring manual or human intervention, except for replenishment of the fluid.
Illustrative example of subject matter classified in this place:

The Figure illustrates a plant watering apparatus in a suspended orientation over a plant. The plant watering apparatus includes a valve head permitting metering of fluid from the apparatus to the underlying plant.
Christmas tree stands with water reservoirs are classified in A47G 2033/1286.
This place covers:
Devices to control or alter the flow of water or liquid nutrients to the plant. Controls can be based on sensor readings.
Examples may include, but are not limited to, control of flow rate, volume of fluid or liquid level.
Illustrative examples of subject matter classified in this place:
1a.

Figure 1a illustrates an intelligent gardening system comprising a pot (101) with a moisture probing system (104, 105). The pot (101) has a display (109, 110, 111 or 112) that changes in response to input from the moisture probing system (104, 105).
1b.

Figure 1b illustrates the intelligent gardening system of Figure 1a further paired with a mobile device.
2.

Figure 2 illustrates an automated plant watering system.
This place covers:
Reservoirs including conduits, piping, tubes or channels connecting reservoirs to self-watering flower pots.
Illustrative examples of subject matter classified in this place:
1.

2.

Figures 2 illustrates an automatic plant and bird watering system.
This place covers:
Liquid reservoirs which are disposed to deliver fluid directly into rooting medium to distribute water to the plant. These reservoirs are not an integral part of the plant pot.
Illustrative example of subject matter classified in this place:

This place covers:
Liquid reservoirs which are disposed entirely around the growth substrate or which are directly beside the growth substrate without the use of conduits or tubing.
Reservoirs may be an integral part of the plant pot structure or may be separable therefrom.
Illustrative examples of subject matter classified this place:
1.

Figure 1 illustrates a self-watering and fertilising pot for plants.
2.

Figure 2 illustrates a plant containerising and watering device.
3.

Figure 3 illustrates a container for growing plants with an integral reservoir.
This place does not cover:
Self-acting watering devices using wicks or the like having a water reservoir, the main part thereof being located wholly around or directly beside the growth substrate |
This place covers:
Self-acting watering devices with wicks or the like allowing the plant to absorb fluid via capillary action. The wick or other fluid-absorbing medium may be partially submerged in or in contact with fluid, which is transported to the plant or growth medium thereof by the capillary action.
Illustrative examples of subject matter classified in this place:
1.

Figure 1 illustrates a mat for water distribution and self-watering of potted plants.
2.

Figure 2 illustrates a plant growing system with wicking material.
If the water reservoir is wholly around or directly beside the container, classification should be made in group A01G 27/06. If the reservoir is only underneath the device, then classification should be made in group A01G 27/04.
This place covers:
Self-acting watering devices with wicks (or the like) and a water reservoir, the latter being wholly or mostly around or beside the container.
Illustrative example of subject matter classified in this place:

The Figure illustrates a watering system with a reservoir surrounding the flower pot with a wick inserted therein.
Where the reservoir is both underneath and around or directly beside the growth medium, classification should be made in group A01G 27/06. If the reservoir is only underneath the device, then classification should be made in group A01G 27/04.
This place covers:
In addition to root feeders and injecting fertilisers into the roots also irrigating or fertilising very close to the roots.
This place covers:
Cultivation of plants in absence of soil. Plants are grown in air or liquid, e.g. nutrient solution, or some non-soil growth medium.
This place does not cover:
Growth substrates for soilless cultivation | |
Cultivation of seaweed or algae |
This place covers:
Soilless cultivation having systems to control or alter nutrient properties, including, but not limited to, flow rate, volume of fluid, liquid level or control of valves. Controls can be based on sensor readings, including, but not limited to, control according to requirements of the plant.
Illustrative example of subject matter classified in this place:

The Figure illustrates a hydroponic apparatus including controls for pressure, temperature and air flow rate.
This place covers control or regulation of the hydroponic system alone, i.e. not of its enclosure, e.g. a greenhouse, which is to be classified in A01G 9/24.
Control and regulation of CO2 to field plants are classified in A01G 7/02. Control and regulation of CO2 to plants within a greenhouse are classified in A01G 9/18.
Special lighting recipes, e.g. tailormade instructions for lighting designed to help achieve the best results for a specific crop and at specific conditions, are classified in A01G 7/045.
This place covers:
Soilless cultivation systems to:
- Control or alter pH of the nutrient solution;
- Control or alter the composition, i.e. proportions (e.g. PPM) or types of nutrients within the fluid, of the nutrient solution;
- Control or alter the temperature of the nutrient solution; or
- Control or alter the viscosity of nutrient solution.
Nutrient dosing systems.
Fluid heating or cooling systems.
pH buffering systems, including pH sensors and/or systems for supplementing nutrient solution with buffers, acids or alkali, for the purpose of maintaining a target pH or pH range.
Illustrative examples of subject matter classified in this place:
1.

Figure 1 illustrates a hydroponic monitor and controller apparatus.
2.

Figure 2 illustrates an automatic nutrient solution circulation system.
Chemical compositions or formulations concerning plant growth regulating materials are classified in A01N 25/00.
Chemical composition formulations in general are classified in class C08.
Control or modification of other nutrient solution properties, such a flow rate or volume, are classified in group A01G 31/008.
This place covers:
Illustrative examples of subject matter classified in this place:
1.

Figure 1 illustrates a gas driven hydroponic system with a gas line, liquid chamber and flapper valve.
2.

Figure 2 illustrates an orchid cultivating device. Note flower stalk supporters (30), spray tube (15), guard members (20, 21, 22) forming a special container, sphagnum moss (31) within the container and trough (14).
3.

Figure 3 illustrates a planting system with a seed nutrient substrate within a Styrofoam body.
Floating containers for cultivation of plants on outdoor bodies of water are classified in group A01G 9/00.
This place does not cover:
Self-acting watering devices |
Attention is drawn to the following places, which may be of interest for search:
Apparatus for cultivation in receptacles or greenhouses in general | |
Flower-pot saucers with channels or gutters, e.g. for hydroponics |
This place covers:
Aquaculture and hydroponic systems integrated together.
Illustrative examples of subject matter classified in this place:
1.

Figure 1 illustrates an automated, modular, self-contained, aquaponics growing system and method.
2.

Figure 2 illustrates an anti-algae saline aquaculture system.
Attention is drawn to the following places, which may be of interest for search:
Receptacles for live fish, e.g. aquaria; Terraria |
This place covers:
Large, usually commercial, hydroponic installations built within shipping containers or other often portable or wheeled storage containers.
Illustrative examples of subject matter classified in this place:
1.

Figure 1 illustrates a high-density horticulture growing system.
2.

Figure 2 illustrates a closed farm system with air flow control.
This place covers:
Devices in which the roots are partially suspended in air while nutrient solution is delivered to them.
This place covers:
- Means for supplying atomized nutrient solution to the roots of a plant, usually using a nozzle or spraying device;
- Fogponic devices.
Illustrative examples of subject matter classified in this place:
1.

Figure 1 illustrates a system for germination, propagation and growing plants in ultrasonic-fog conditions (aeroponics).
2.

Figure 2 illustrates an aeroponic recycling system.
This place covers:
Cultivation wherein plant roots are continuously exposed partially to a shallow layer of nutrient solution housed in a channel- or gutter-type of receptacle, e.g. "Nutrient Film Technique".
Illustrative examples of subject matter classified in this place:
1.

Figure 1 illustrates a nutrient film technique system.
2.

Figure 2 illustrates a system for growing crops using a growing trough.
This place covers:
Intermittent flow or supply of nutrient solution to completely submerge roots of plants, e.g. supplying a solution to plant roots for immersion thereof for a period of time, then subsequently draining the solution.
Periodic flooding by moving plants themselves into a nutrient solution for root submersion thereof.
Illustrative examples of subject matter classified in this place:
1.

Figure 1 illustrates a hydroponic grow tube. Note the arrows (44) indicating the direction of flow through the tube. Hydroponics medium flows in via tee (34) through fill plug (46) and exits via drain pipe (28). The height of drain pipe (28) may be changed to adjust the fluid level height in the grow tube.
2.

Figure 2 illustrates a device for temporarily immersing crops in a liquid substrate.
This place covers:
Hydroponic growth systems having means for supporting a plant in a nutrient solution whereby its roots are continuously submerged in the nutrient solution.
Illustrative example of subject matter classified in this place:

The Figure illustrates a hydroponic growing system with floatable containers.
Hydroponics systems in which plant roots are only periodically or only partially submerged are classified in A01G 31/0232.
Containers floating on an outdoor body of water are classified in A01G 9/00.
Attention is drawn to the following places, which may be of interest for search:
Hydroponic cultivation wherein the roots of the plants are partially exposed to air, e.g. aeroponics |
This place covers:
Plants supported in a vertical fashion by a growth tower or other vertically-extending structure.
Illustrative examples of subject matter classified in this place:
1.

2.

This place does not cover:
Hydroponic culture on racks or in stacked containers |
This place covers:
Hydroponic cultivation including means for moving plants.
Illustrative examples of subject matter classified in this place:
1.

Figure 1 illustrates a conveyor belt for moving plants through a packing room where they are packaged by workers into packaging (P).
2.

Figure 2 illustrates a vertical farming system.
This place covers:
Vertically-extending arrays of plants, either supported by a rack and shelving unit, or by individual containers stacked one on top of the other.
Illustrative examples of subject matter classified in this place:
1.

Figure 1 illustrates a plant-growing system with stacked containers.
2.

Figure 2 illustrates an indoor rack hydroponic cultivation system.
Attention is drawn to the following places, which may be of interest for search:
Hydroponic cultivation for vertical cultivation |
This place covers:
Hydroponics systems with means for recirculating or recycling the nutrient solution supplied to plants.
An example includes, but is not limited to, a closed loop system with collection of drained effluent from plants and re-supply of such effluent to the plants.
Illustrative examples of subject matter classified in this place:
1.

Figure 1 illustrates a high-density cultivation system with a capture reservoir (130) for recapturing nutrient solution and delivering the nutrient solution back to the nutrient reservoir (110).
2.

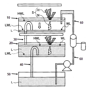
Figure 2 illustrates a water culture apparatus with a circulation device for recycling the nutritive solution.
3.

Figure 3 illustrates cultivation tank (10) coupled to cultivation tank (20) via siphon tube (30) and a storage tank (50) coupled to cultivation tank (20) via siphon tube (40).
Storage tank (50) is coupled to the cultivation tank (10) via a circulation pipe (60) to complete a circuit for recycling nutritive solution.