SECTION I - CLASS DEFINITION
A. This is the generic class for the accommodation of discrete
units of freight which have been loaded on board a freight carrier
for transportation, the freight accommodation being to assure the
integrity of the load unit against the hazards of dynamic forces
incident to transit
The class comprehends:
Means, entitled "accommodating means" in
direct contact with a load unit to inhibit untoward shifting relative to
the carrier that would be hazardous to the integrity of the unit.
The term "accommodating means" is the generic
term therefor.
Load unit accommodation on a freight carrier is recognized
by the provision of:
1. An accommodating means detail in the construction of the
load-supporting section of a freight carrier;
2. Means, per se, installable or otherwise put to use on a freight
carrier (like dunnage which is merely inserted between load units);
3. Particular means on an exterior surface of the load unit
(usually, of the load bearer type) itself; particularly provided,
that is, to contact and thereby to cooperate with a corresponding
construction of the freight carrier to achieve the accommodation
of the load unit thereon;
4. An arrangement of an article of freight or the grouping
of articles in such a way or to assure the integrity of the load
against untoward shifting on board the freight carrier. Accommodating
means may, but need not necessarily be required nor used to effect
the arrangement; or
5. Freight accommodating methods, namely (a) associating a
load unit present on the freight carrier with the appropriate accommodating
means or (b) arranging (e.g., grouping) a load unit on the freight
carrier.
| | (1)
Note. Cautionary note: A step of loading onto or of unloading
a load unit from a freight carrier places the combination beyond
the limits of this class; for which greater combination see the
material or article handling class.
B. Present the critical element of load unit accommodation
as herein defined, placement in the class is on a predominant disclosure
basis. An invention will be found herein when the subject matter
of the invention, regardless of breadth is disclosed as:
1. A support or receptacle which has a use as a freight carrier
vehicle body part, e.g., an on-and-off container or other load bearer provided
with the accommodating means referred to above.
2. Article securing or bracing structure which in use is attached
to, installed on, or even merely placed on board a freight carrier
for freight accommodation (e.g., dunnage).
3. Structure concerning which the advance in the state of
the art has caused to be recognized as uniquely suitable to freight accommodation
on a freight carrier. The emphasis in the disclosure of load unit accommodation
on freight carrier for this class should be on a level equivalent
to a principal embodiment description. However, as to the state
of the art test, a presumption of load unit accommodation on a freight
carrier not negated in the disclosure will serve for inclusion of
the document in this class (410). In fact, except where clearly
negated by the detailed description, this class is available as
a depository for such state of the art structure as dunnage structures
for load bracing and twist lock devices for load bearer retention
even when not pinpointed in the description for use on a freight
carrier.
4. A load bearer which is a shipping support on which a single
article is secured for on-and-off stowage aboard a freight carrier.
This subject matter is provided for in this class, even when the
shipping support load bearer does not include the accommodating means
cooperating with the freight carrier. This is so because the state
of the art recognition of the equivalency in the art of the shipping
support load bearer, whether or not provided with such cooperating
means, has become so integrated at the time of the inception of
this class (410) that the search for both has been quite merged. |
| | (1)
Note. Cautionary note: A shipping support lacking the accommodating
means and supporting a group of articles on a freight carrier has
not been classified in this class (410) but will be found elsewhere.
A freight container absent the accommodating structure cooperating
between the container and the freight carrier will also be found elsewhere.
See References to Other Classes.
A term which is defined in this class (410) definition, and
is limited to a single word, is identified by an asterisk. Where
a group of words defines the term, parentheses are used to identify
the beginning and end of the term; and this is followed by an asterisk. |
SECTION II - LINES WITH OTHER CLASSES AND WITHIN THIS CLASS
INTERNAL PLAN OF THIS CLASS
A. Class 410 consists of three major groupings, as follows:
1. Particular Article Accommodation, (see Subclass References
to the Current Class, for the location of the definition of this
term) - subclass 2+
2. Load Bearer Accommodation, (see Subclass References to
the Current Class, for the location of the definition of this term)
- 52+
3. Subcombinational Subject Matter, namely (a) Load Lashing
- 96+; and (b) Load Bracing, i.e., Yieldable Brace - 117+,
and Load Bracing - 121 (generally). (see Subclass References to
the Current Class, for the location of the definition of these terms)
The accommodation to the shape of the particular article in
this first group being of essence and the disclosure being almost
inevitably to such a detail, inventions limited to the subcombination
will nevertheless be uniformly classified in that superior locus
(subclasses 2+) and will be found as a cross-reference
only in the subcombinational loci, subclasses 96+ or, in
particular, subclasses 117+ and 121+.
B. Search Time And Storage Economization: Search Units.
1. Economy in search time and retrieval efficiency and in
search area storage space has been incorporated in the internal
plan of this class. This was done by the abstraction from the more
generalized art of some particular subclasses certain subjects matter
meriting low priority as the depository of the original (as opposed
to the cross-reference copy) of a document in the classification schedule.
As a result, subclasses of such low priority subject matter recur
as indents under classified loci of higher priority (typically as
subcombinations in different superior and separately classified
combinations). Recurring sets of extractions or "break
outs" have thus been developed out of separate but mutually
related indented subclasses. They are usually quite small. A one "break
out" readily matches a second (sometimes also a third)
freed from the disclosures in principal subclasses entirely extraneous
to the particular search needs for which "search units" have
been devised.
2. Search Units: Where these "break out" pairs
(or triplets) most closely coincide in extensiveness and analogousness
further economy is achieved by emphatic discouragement of cross-referencing
internally of one another but rather, are singled out and can be
identified as constituting search units. They are easily recognized and
identifiable in the Class 410 schedule.
3. The vehicle classes: The vehicle classes involved in the
haulage of freight, absent the freight accommodation feature(s)
as defined in section I, above, are:
RELATIONSHIP TO THE VEHICLE CLASSES
The vehicle classes involved in the haulage of freight, absent
the freight accommodation features as defined in the Class Definition,
above, are found in References to Other Classes below.
Excluded from this class (410) are (a) haulage of material
in bulk, whether fluid, aggregate, particulate or in any bulk form.
However, a rigid-wall receptacle which contains fluent or other
bulk material qualifies as a load unit (of the load bearer type)
for this class (410); and (b) very short distance movement of articles
on a vehicle propelled by a walking attendant handler (e.g., from
a building to a moving van); for which see References to Other Classes,
below.
Securement means for articles on a pleasure vehicle for the
pleasure or convenience of the occupant(s), particularly, are provided
for elsewhere.
RELATIONSHIP TO THE RECEPTACLE AND SUPPORT CLASSES:
The receptacle and support classes include disclosures for
the provision of securement or bracing of an object or of a group
of objects intended for shipment together as a unit, but excluded
from the instant class (410) because of absence of accommodating
means cooperating with a freight carrier. The receptacle classes
of this description may be found in References to Other Classes
below.
The support classes are found in Reference to Other Classes,
below.
The receptacle and support classes are in particular related
to subclass(es) 52+ of the instant class (410) in that
a receptacle or support is recognized as a load bearer when conforming
to the limitations set forth in the Class Definition; i.e., having
means cooperating with a freight carrier to effect the accommodation thereof
on the freight carrier. Placement in the instant
Class 410 is in no way barred because of further inclusion
of details of receptacle or support structures. This class is the
appropriate locus too, for a receptacle or support disclosed as
being, in fact (a) a freight carrier body part, and (b) provided
with accommodating means for a stowed load unit, e.g., the particular
article under subclasses 2+.
RELATIONSHIP TO ARTICLE HANDLING CLASSES
See References to Other Classes for the generic article handling
class, which provides for the means and method of loading and unloading
freight on-and-off a freight carrier.
See References to OTher classes for article handling classes
that provide for means for tautening flexible material about a load
of objects--absent the attachment of the load to the freight carrier--and
that provide for container lift loading and unloading devices of
the spreader frame type. (This type lift device includes latch
elements akin to the retainers of of the instant class (410), particularly
akin to the twist lock type found in Class 410).
RELATIONSHIP TO ATTACHMENT DEVICE SUBCOMBINATIONS, ELEMENTS:
See REferences to Other Classes, below, for attachment devices
used to secure objects to one another only, to make up a load unit
found on a freight carrier, but which devices do not couple the
load unit to the freight carrier.
Class 188 Brakes, subclass 32 is the generic locus for a wheel
chock, recognized as a brake on the ground whereas the instant Class
410 is the locus for such a device used on board a freight carrier
to stabilize freight; compare with instant Class 410, subclass 30
for a wheel chock for a stowed vehicle; and subclasses 49+ for
a chock for stowed cylindrical article, generally. Compare, too,
with instant subclass 62 for fore-and-aft accommodation of a stowed
vehicle where the aft-end accommodating means may be a wheel chock.
(Attachment Device Class)
RELATIONSHIP TO STOCK MATERIAL CLASSES
The locus for members of indeterminate shape, as for load
bracing, e.g., dunnaging, is found elsewhere. When in fact of such
a shape so as to be beyond the scope of that class, a bracing member
will be found in the instant class (410) in subclasses 117+ when
of flexible (i.e., flexible wall) material; subclass 121 being the
principal subclass for load bracing; and subclasses 154 and 155 for,
respectively, edge around and honeycomb dunnage. Subclass References
to the Current Class of this class (410) is particularly relevant
as a guide to the location of dunnage in the instant Class 410.
(Stock Material Class)
SECTION III - SUBCLASS REFERENCES TO THE CURRENT CLASS
SEE OR SEARCH THIS CLASS, SUBCLASS:
| 2, | for definition of the term Particular Article. |
| 52, | for definition of the term Load Bearer. |
| 68, | for a load unit of the load bearer type. |
| 71, | for definition of Corner Pedestal. |
| 77, | for definition of Retainer. |
| 77, | (1) Note, for definition of Retainer, Rigid Or Hold-down
Type. |
| 82+, | for twist lock type retainers. |
| 96, | for Load Lashing. |
| 97, | for definition of Wraparound Lashing |
| 101+, | for anchor part which directly engages the end of
a flaccid material member to secure that end at an anchor location
whereby to define the point from which the member diverges from the
freight carrier surface. |
| 106, | for the anchor-array one-piece member shaped or
arranged to require no tie piece. |
| 107, | see Tie Piece in the Glossary below. |
| 117, | for definition of Yieldable Brace (i.e., flaccid or
deformable). |
| 121, | for definition of Brace and Load Bracing. |
| 154, | 155, for dunnage, species thereof. |
SECTION IV - REFERENCES TO OTHER CLASSES
SEE OR SEARCH CLASS:
| 24, | Buckles, Buttons, Clasps, etc., include attachment devices used to secure objects to one another
only, to make up a load unit found on a freight carrier, but which
devices do not couple the load unit to the freight carrier. The
class includes, for example, fasteners for coupling containers to
one another; for which see
subclass 287 for container-to-container locking devices including
those of the twist lock type which operate like those of the instant
class (410). (Attachment Device Class) |
| 105, | Railway Rolling Stock, 239+ for dumping car bodies; and
subclasses 358+ for tank cars; subclasses 355+ for freight
car bodies; and subclasses 404+ for freight car frames
and other structure. (Vehicle class involved in haulage of freight) |
| 108, | Horizontally Supported Planar Surfaces, see, particularly,
subclasses 51.11+ for pallets; (Support Class) |
| 114, | Ships,
subclasses 72+ for freighters; subclasses 73+ for bulk
cargo freighters. (Vehicle class involved in haulage of freight) |
| 180, | Motor Vehicles, (Vehicle class involved in haulage of freight) |
| 188, | Brakes,
subclass 32 is the generic locus for a wheel chock, recognized
as a brake on the ground whereas the instant Class 410 is the locus
for such a device used on board a freight carrier to stabilize freight.
See Lines With Other Classes, for a further discussion of the line
(Attachment Device Class) |
| 206, | Special Receptacle or Package, for shipping support lacking the accommodating means
and supporting a group of articles on a freight carrier. |
| 206, | Special Receptacle or Package, appropriate subclass, frequently according to the
specifically provided for article; (Receptacle Class) |
| 211, | Supports: Racks, (support class) |
| 220, | Receptacles, see particularly
subclasses 1.5+ for freight container, including invention in locking
on-and-off containers to one another. (Receptacle Class) |
| 224, | Package and Article Carriers,
subclasses 400+ for securement means for articles on a pleasure vehicle
for the pleasure or convenience of the occupant(s). (Vehicle class
involved in haulage of freight) |
| 244, | Aeronautics and Astronautics,
subclasses 118.1+ for cargo planes; (Vehicle class involved in haulage
of freight) |
| 248, | Supports, (support class) |
| 254, | Implements or Apparatus for Applying Pushing or
Pulling Force,
subclasses 199+ provide for means for tautening flexible material
about a load of objects---absent the attachment of the load to the
freight carrier. The more comprehensive combination (including
freight accommodation on the freight carrier) is proper for the
instant class (410), for which see subclasses 34+, when
the load consists of a tautened group of particular articles; and
subclasses 96+ for load lashing of indiscriminate articles
of freight. (Article Handling Class) |
| 280, | Land Vehicles, for example,
subclasses 423.1+ for semitrailers (Vehicle class involved in haulage
of freight) |
| 280, | Land Vehicles, for very short distance movement of articles on a vehicle
propelled by a walking attendant handler (e.g., from a building
to a moving van);
subclasses 47.131+ (for a two-wheel or other type unstable vehicle), and
subclasses 47.17+, and 47.34+. (Vehicle class) |
| 294, | Handling: Hand and Hoist-Line Implements,
subclass 81 provides for container lift loading and unloading
devices of the spreader frame type. This type lift device includes
latch elements akin to the retainers of of the instant class (410),
particularly akin to the twist lock type found in lass 410). (Article
Handling Class) |
| 296, | Land Vehicles: Bodies and Tops, (Vehicle class involved in haulage of freight) |
| 298, | Land Vehicles: Dumping, (Vehicle class) |
| 414, | Material or Article Handling, is the generic article handling class. The class provides
for the means and method of loading and unloading freight on-and-off
a freight carrier. The relevant loci in that class (the article
handling vehicle search areas) include
subclasses 333 , 334+, 337, 338, 339, 340+, 349+,
352+, 354+, and 373+ for various combinations
of one or more moving or stationary freight carrier(s) and an external
means of some nature for loading or unloading, or cooperating in
the loading or unloading thereof. (Article Handling Class) |
| 428, | Stock Material or Miscellaneous Articles, is the locus for members of indeterminate shape, as
for load bracing, e.g., dunnaging. (Stock Material Class) |
SECTION V - GLOSSARY
Also see Subclass References To The Current Class, above,
for the location of the definition of other Glossary terms.
CUSHIONING MEANS:
Fore-and-aft slide cushioning means - Load unit protection
means supplementing load accommodation. The effect of inadvertently
inertial forces which could cause damage to the load unit is mitigated
by means so supplementing accommodation as to permit such an extent
of reactive movement of the load unit or the accommodating means,
or both as to be adequate to prevent damage that could occur were
the load rigidly fixed to the freight carrier. When the forces
guarded against and the reactive movement acts in the direction
along the longitudinal axis of the freight carrier, this is recognized
as fore-and- aft direction slide cushioning.
The effect of only mere compression-relaxation of a resilient block
is not intended to be included in the cushioning concept.
LOAD LASHING RETAINER
Retainer which includes flaccid material accommodating
means, the virtue of the flaccidity being in its infinite deflective
capacity so that the means can (inter alia) (a) closely conform
to exterior configurations of load units, (b) extend in guided changes
in direction from the locus of securement to the freight carrier
to that of the retentive engagement with the load unit, and (c)
most particularly, under subjection to force multiplying means,
be so tightly engaged with the load unit, and over such critical
configurations of the load unit surface that the engagement of this
nature constitutes load unit retention. A load lashing retainer
may consist of a combination of rigid material and flaccid material
elements provided that the flaccid material element (or member) is
significant in the combination. Significance is present when the
flaccid material element member is used (a) to attach the load lashing
retainer to the freight carrier or retentively to connect with the
load unit, or (b) to extend between the freight carrier attachment
member and load unit securement member (one or both of which members
are rigid) to impart to the load lashing retainer made up of these
members unique advantages of flaccidity described in the preceding
paragraph. Not all flaccid load unit accommodating relationships
are, in fact, retentive. Tight encirclement of the load (i.e., wraparound
lashing) tautened engagement with the load under the effect of force
multiplying means, and a tiedown (defined hereinbelow) do, however,
invariably accomplish load lashing retention.
TIE PIECE
The anchor part which directly engages the end of a flaccid
material member to secure that end at an anchor location whereby
to define the point from which the member diverges from the freight
carrier surface. The term is used in the context of bi-partite
construction in that the tie piece is an add-on (e.g., welded on)
part, the other part of the anchor being the mounting for freight carrier
attachment. Commonly, the mounting is a one-piece member shaped
or otherwise so constructed or arranged on a freight carrier as
to define an array of anchor locations, at one or more of which
the add-on tie piece is attached. See Subclass References To The
Current Class, above.
TIEDOWN
A load lashing retainer which diverges from the freight carrier
surface whereat it is attached and extends and terminates at the
point or localized area of attachment to the load units.
SUBCLASSES
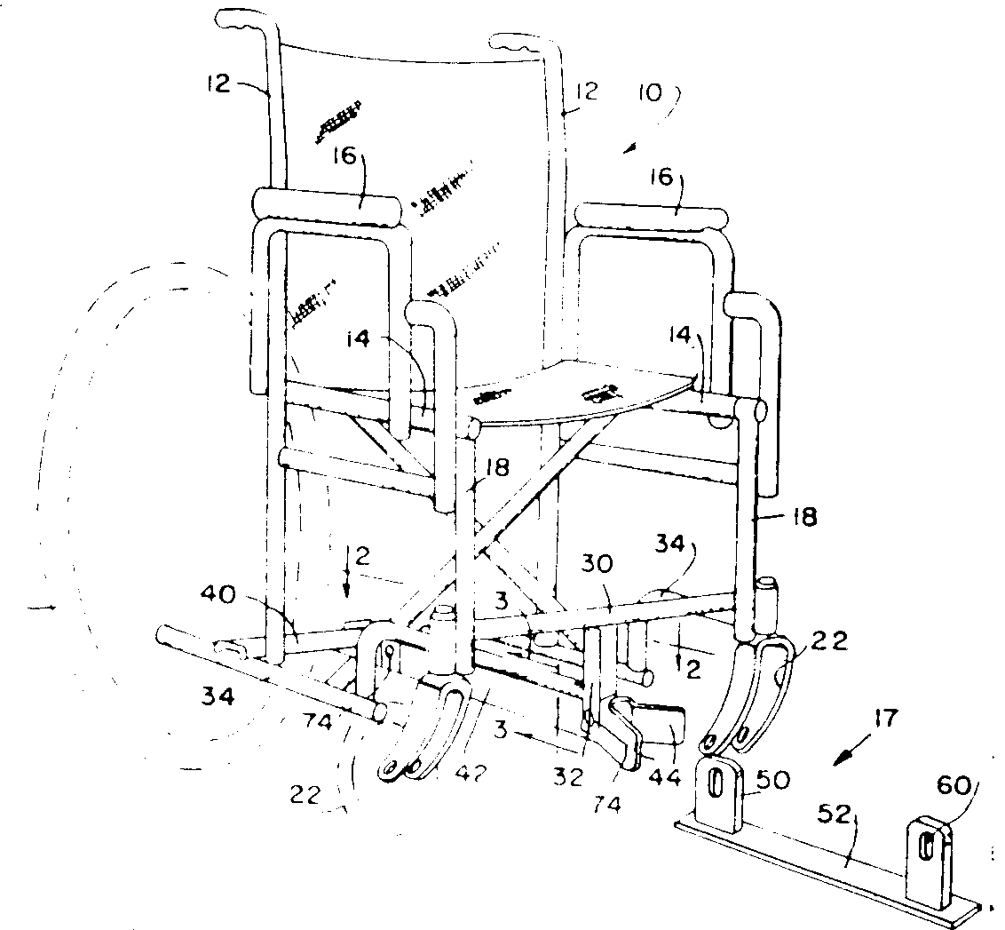
1 | INCLUDING TURNTABLE FOR LOAD, E.G., FOR SEMITRAILER: |
| | This subclass is indented under the class definition. Structure in which the freight carrier has a supporting
surface which is rotatable to turn lading which it underlies (typically,
a semitrailer or other wheeled vehicle for transhipment) between
positions (a) for loading and unloading, and (b) for transit aboard
the freight carrier.

|
| | |
2 | PARTICULAR ARTICLE ACCOMMODATION: |
| | This subclass is indented under the class definition. Structure for accommodating, by direct contact, an article
of the type which satisfies a particular need elsewhere (i.e., is
not merely a bearer for the load in shipment, like a container or
pallet), which structure is designed, in its contact with the lading,
to take advantage of a particular configuration of the lading, or
one of its parts, to minimize a carrying problem arising from such
particular configuration, e.g., tendency of a cylindrical article
to roll.
| | (1)
Note. Included herein (see indented subclasses 31+)
is the accommodation of articles by their having been grouped in a
particular way or by having been otherwise so arranged on the freight
carrier that a foreseeable problem in transit is minimized. |
| | (2)
Note. The class definition section, Internal Plan of This
Class relating to this and the indented subclasses is reviewed,
as follows: placement in this and indented subclasses is on a predominant
disclosure basis, which means that, in the absence of a controlling
claim barring such placement or an overwhelming emphasis in the
total disclosure to that same effect, this is the locus (subclasses 2+)
for the original placement of an invention to accommodating means
for the particular article. Accordingly: a. A generic invention
to structure disclosed as accommodating a semitrailer or container
(ordinarily classified under subclasses 52+) and equally
applicable to the accommodation of a particular article (a farm
tractor in transit, for example) will be classified as an original
in subclasses 2+ and will appear in subclass(es) 52+ only
as a cross-reference where necessary. b. Subclasses 2+ will take
an invention to a load lashing means or load bracing means subcombination for
a particular article or group of articles and only a cross-reference
will be placed in subclasses 96+, load lashing, or subclasses
121+, load bracing means; the locus for the lashing or
bracing subcombinations, respectively, of general freight.

| SEE OR SEARCH THIS CLASS, SUBCLASS:
| 35, | for a group of articles stowed on board a freight
carrier together with an on-and-off base. |
| 46, | for a shipping support onto which a single article
only has been secured for on-and-off storage on board a freight
carrier. |
|
| | |
3 | Wheeled vehicle: |
| | This subclass is indented under subclass 2. Structure in which the freight carrier is particularly designed
or equipped to accommodate that class of article which, in its normal
use, moves along a land surface by means of its underlying supporting
structure which rolls along that surface.
| | (1)
Note. This (the principal) subclass includes inventions for
bicycle stowage. |
| | (2)
Note. Semitrailers are presumed to be load bearers, not,
in themselves, particular articles of freight.

| SEE OR SEARCH THIS CLASS, SUBCLASS:
| 56+, | for the stowage of freight-laden semitrailers. |
|
| | |
4 | Four-wheeled vehicle accommodation: |
| | This subclass is indented under subclass 3. Structure in which the freight carrier is particularly designed
or equipped to accommodate such a wheeled vehicle as has sets of
running gear from corner-to-corner across the forward and the rear
ends.

SEE OR SEARCH CLASS:
| 206, | Special Receptacle or Package,
subclass 335 for a four-wheel vehicle or group of vehicles preassembled
in an on-and-off container for shipment on a freight carrier, absent
means for interengagement with the freight carrier for accommodation
against the hazards of transportation. |
|
| | |
5 | Overturned or on-edge vehicle arrangement |
| | This subclass is indented under subclass 4. Overturned or on-edge vehicle arrangement: Structure for
retaining the stowed vehicle upon the carrier at an attitude substantially
905 or 1805 from the road condition attitude.

SEE OR SEARCH THIS CLASS, SUBCLASS:
| 3, | (the principle subclass) for an upended arrangement
in the stowage of bicycles. |
| 13+, | for four-wheel vehicles stowage structure in which
an end only of the stowed vehicle is raised to maintain it at an
inclination of approximately 455. |
| 24+, | for slanted deck structure to support stowed vehicles
at about a 455 angle. |
|
| | |
6 | Ramp becomes vehicle sustainer: |
| | This subclass is indented under subclass 5. Structure including panel means constituting a vertical
panel at the side edge of the freight carrier and mounted for swinging
movement outboard thereof for rolling or placement of a vehicle
thereonto for stowage, and means for securing the vehicle to the
panel whereby, when the panel is then swung to its vertical position
upward from the edge of the carrier the panel means further functions
to sustain the stowed vehicle attached thereto at substantially 905
to its normal road use attitude.

|
| | |
7 | Vehicle retainer*: |
| | This subclass is indented under subclass 4. Structure including a retainer*; i.e., member(s) secured
to the carrier and particularly constructed for direct securement
engagement with a part of the stowed vehicle

|
| | |
8 | Multipositionable; i.e., along array strip or track: |
| | This subclass is indented under subclass 7. Structure in which the carrier is further provided with
an elongated mounting member which has retainer positioning locations
therealong; and in which (a) the retainer engageable with the stowed
vehicle part extends from the location selected as being the suitable
one for retaining the vehicle on the freight carrier, or (b) the
elongated mounting member is shaped to guide the vehicle retainer
for sliding movement therealong to the selected location.

SEE OR SEARCH THIS CLASS, SUBCLASS:
| 104+, | for a track to guide a load lashing anchor to the
suitable location on the freight carrier. |
| 108+, | 113+ and 115, for an array of anchors. |
| 150, | for a track to guide a brace bar along a freight
carrier to its load bracing position. |
|
| | |
9 | Wheel hub, or axle retainer*: |
| | This subclass is indented under subclass 8. Structure in which the retainer* retentively engages
that particular functional part of the stowed vehicle, i.e., a wheel,
which rolls along the land surface in the normal road use of the vehicle;
or that particular functional part which provides, or from which
extends the road-use bearing axis for the rolling part.

|
| | |
10 | Tiedown*: |
| | This subclass is indented under subclass 9. Structure in which the retainer* for the stowed vehicle
is a tiedown*.

|
| | |
11 | Tiedown*: |
| | This subclass is indented under subclass 8. Structure in which the retainer* for the stowed vehicle
is a tiedown*.

|
| | |
12 | Including force-multiplying takeup or tensioning means: |
| | This subclass is indented under subclass 11. Structure which includes tautening means effective to multiply
the force applied to the tiedown and thence to the stowed vehicle
over that of a mere straight-line pull, e.g., drum or winch, turnbuckle,
jack strew, but not mere linkage.

SEE OR SEARCH THIS CLASS, SUBCLASS:
| 38+, | for force-multiplying means for forcing articles
in a group into compactedly close proximity. |
| 103, | for a load-lashing anchor incorporating force-multiplying
means. |
|
| | |
14 | Elevatable deck suspended from hoist line |
| | This subclass is indented under subclass 13. Elevatable deck suspended from hoist line: Structure including
support member(s) directly underlyingly engaging four-wheels of
a stowed vehicle and mounted on the freight carrier for movement
between raised transport position and lowered loading position;
and means including a flexible member, e.g., chain, cable for raising
the support member(s) and maintaining the member(s) higher than
the carrier floor.

|
| | |
15 | Lift simultaneously erects pivoted prop: |
| | This subclass is indented under subclass 14. Structure including leg means hinged at its ends to the
carrier floor and to the vehicle-underlying support member(s) so
as to be raised along with the elevatable deck members from prone
position to an erect position to cooperate in sustaining the deck.

|
| | |
16 | Including wheel-straddling member which is a retainer* or
retainer* adjunct: |
| | This subclass is indented under subclass 13. Structure in which the member in direct securement engagement
with the stowed vehicle is effective either (a) by engagement with
the vehicle wheel, which engagement is uninterruptedly across a
wheel dimension transverse to the circumference, i.e., substantially
from sidewall to sidewall, or (b) by extension from wheel straddling
structure to a location in securement engagement with another functional
part of the stowed vehicle.
| | (1)
Note. Accommodating structure such as a straddle or cradle
does not constitute retentive securement where only the lower wheel
quadrant is engaged; whereas retention amounting to securement necessarily
is effected when similar structure encompasses the upper wheel quadrant(s).

| |
| | |
17 | Including suspended retainer* member or prop: |
| | This subclass is indented under subclass 13. Structure in which the freight carrier is a walled vehicle
and in which an elongate arm or flexible means depends from substantially
the highest portion of the carrier interior either (a) to bring
a retainer* member into its direct, retentive contact with
a vehicle part, or (b) to abut and thereby brace either the retained
vehicle or some part of the retainer*.

|
| | |
18 | Retainer* arm or prop extending from freight carrier
wall: |
| | This subclass is indented under subclass 13. Structure in which is included a rigid, elongate member
extending from a vertical surface of the freight carrier either
(a) to bring a retainer* member into direct retentive contact
with a stowed vehicle part, the retainer member being at the distal
end of said elongate member, or (b) to abut and thereby brace either
the stowed vehicle or some part of the retainer* structure.

|
| | |
19 | For wheel, hub, or axle shaft: |
| | This subclass is indented under subclass 7. Structure in which a retainer* member(s) is retentively
attachable to the stowed vehicle functional part that rolls along
the land surface in the normal road use of the vehicle; or to that particular
functional part that provides or from which extends the road-use
bearing axis for the rolling member.

SEE OR SEARCH THIS CLASS, SUBCLASS:
| 9+, | for a multipositionable (e.g., track-mounted) wheel,
hub, or axle retainer. |
| 16, | for a wheel straddling retainer in a raised vehicle
arrangement. |
|
| | |
20 | Wheel wraparound*: |
| | This subclass is indented under subclass 19. Structure in which the retainer* is a wraparound* in
tight encirclement about the upper quadrants of a wheel.

SEE OR SEARCH THIS CLASS, SUBCLASS:
| 9+, | for a wheel, hub, or axle shaft retainer in a raised
vehicle arrangement. |
|
| | |
21 | (Load lashing retainer)*: |
| | This subclass is indented under subclass 19. Structure in which the retainer* is a (load lashing
retainer)*.

SEE OR SEARCH THIS CLASS, SUBCLASS:
| 15, | for disclosed but not claimed hub or axle retainer
structure quite commonly mounted on a "semi-decking" frame
(an art term for the angularly propped vehicle sustaining deck). |
| 48, | for a rigid retainer effective by contact with the
core or hub of a cylindrical article, e.g., reel, or wheel not mounted
to a vehicle. |
|
| | |
22 | Hub or axle shaft retainer*: |
| | This subclass is indented under subclass 19. Structure in which a retainer* member is retentively
attachable to that particular functional part of the stowed vehicle
that provides, or from which extends the road-use bearing axis for
the vehicle wheel.

|
| | |
24 | Raised vehicle arrangement: |
| | This subclass is indented under subclass 4. Structure comprising means for supporting at least one end
of the stowed vehicle above the freight carrier floor at a height
at least that of the anticipatable conventional hood section height.

SEE OR SEARCH THIS CLASS, SUBCLASS:
| 13+, | for a raised vehicle arrangement in which is included
a retainer for the stowed vehicle. |
|
| | |
24.1 | Including above-cab stowage: |
| | This subclass is indented under subclass 24. Structure including means so located and constructed as
to support at least one end section of a stowed vehicle directly
over the compartment of the freight carrier operator.
| | (1)
Note. The support means may be, or may include the vehicle
cab roof to provide elevated height stowage.

| |
| | |
25 | Interrupted or recessed wheel support: |
| | This subclass is indented under subclass 24. Raised vehicle arrangement structure in which spaced supporting
portions or members engage respective lower quadrant portions of
a stowed vehicle wheel perimeter, whereby the intervening perimetral
portion, which normally sustains the vehicle mass, as during road
use, is uncontacted by said member or portions.
| | (1)
Note. Another sunken and upwardly concave member may, however,
span the space between the member or portions to substantially conform
to and contact the lower half perimeter of the wheel.

| SEE OR SEARCH THIS CLASS, SUBCLASS:
| 26, | for a raised vehicle arrangement wherein the underlying
support, in the raised vehicle arrangement, is planar so as to contact
the vehicle wheel at that point at which it normally sustains the
vehicle mass. |
| 30, | for wheel chock or cradle means to inhibit the rolling
tendency of a vehicle wheel. |
| 49+, | for similar means to inhibit the rolling tendency
of any other cylindrical article. |
| 57, | for the fore-and-aft accommodation of a semitrailer
which could include similar sunken area structure for accommodating
the rear wheels. |
| 65, | for a rear wheel accommodating sunken area accommodating
the stowage of a semitrailer. |
|
| | |
26 | Multilevel deck; i.e., four-wheel support: |
| | This subclass is indented under subclass 24. Structure including one or more planar members supporting
the stowed vehicle entirely above the carrier floor by direct underlying engagement
with all four-wheels of said vehicle, whereby the freight carrier
floor sustains a vehicle at the requisite height above a lower level.

SEE OR SEARCH CLASS:
| 105, | Railway Rolling Stock,
subclasses 371+ for a railway freight carrier convertible to multideck
structure for hauling indiscriminate freight. |
| 206, | Special Receptacle or Package,
subclass 335 for a multilevel deck, on-and-off shipping container
for delivery and shipment of vehicles on board a freight carrier. |
|
| | |
27 | Including interdeck transfer way: |
| | This subclass is indented under subclass 26. Structure including further structure underlyingly receiving
the vehicle wheel(s) thereupon and constituting either an elevator
or inclined ramp for transit of vehicles between the vertically
spaced decks.
| | (1)
Note. Elevating structure, per se, and nothing more, is proper
for this subclass only when, either in itself or together with another
elevator(s), it provides a substantially continuous elevated support
for a plurality of vehicles at least temporarily, for loading and
unloading. The elevator or ramp must be in addition to, and for
service between, a plurality of decks level. Absent the above,
see principal subclass 26 for an inclined fixed height structure
sustaining the four-wheels of a single stowed vehicle and subclasses
14+ for such a structure which is adjustable, e.g., elevatable.

| |
| | |
28 | On dropped-center car: |
| | This subclass is indented under subclass 27. Structure in which the freight carrier floor which underlyingly
supports the vehicle wheels is of an extent to include a center
area lower than the freight carrier running gear supports and another
area extending therefrom to a level to support a part, at least,
of a stowed vehicle directly above a running gear support.

|
| | |
28.1 | On dropped section freight carrier: |
| | This subclass is indented under subclass 26. Structure in which the freight carrier floor includes longitudinally
contiguous areas, namely, a relatively high area at an end section of
the freight carrier and a relatively lower area longitudinally inward
thereof, whereby a vehicle may be towed athwart the areas at an incline
with respective ends thereof supported at the corresponding floor
areas.
| | (1)
Note. The freight carrier of this subclass is of the type
which is wheeled and is for highway travel and includes a floor
section inward of the running gear used to advantage in freight
haulage in being constructed lower than the running gear height. |
| | (2)
Note. The stowed vehicle may be supported, front and rear,
directly on respective floor sections, or on structure supported
by and straddling the floor sections.

| |
| | |
29 | Vertically swingable from hinge at freight carrier wall: |
| | This subclass is indented under subclass 26. Structure in which the deck structure is pivotally mounted
at the freight carrier wall for vertical swinging movement.
| | (1)
Note. The hinged deck structure may include a plurality of
members, of which each, or a pair of each extends from opposite
walls of the freight carrier for supporting corresponding pairs
of the supported vehicle wheels.

| |
| | |
29.1 | Higher level deck positioned, then sustained by power cylinder: |
| | This subclass is indented under subclass 26. Structure in which the member which underlyingly supports
the stowed vehicle by its wheels is vertically adjustable and in
which piston and cylinder telescoping tube means has one end attached
to the member and the other end to a point on the freight carrier,
the telescoping tube means being subject to the influence of force from
a fluid source to effect elongation thereof to position the wheel
support member at the requisite height, or attitude at which the
piston and cylinder means cooperates in retaining the vehicle support
means.

|
| | |
30 | Wheel cradle, chock, or well: |
| | This subclass is indented under subclass 4. Structure wherein the means to accommodate the stowed vehicle
engages the wheel(s) thereof at location(s) extending to, but not beyond
both lower quadrants of the wheel periphery; or along, but not beyond,
a substantial perimetral length of a lower wheel quadrant.

SEE OR SEARCH THIS CLASS, SUBCLASS:
| 49, | for cradle structure accommodating a cylindrical
article other than a wheel mounted on a vehicle. |
SEE OR SEARCH CLASS:
| 188, | Brakes,
subclass 32 for a chock, recognized as a brake on the ground
for that class and subclass, and which may be used to chock a vehicle
wheel on a surface other than that of a freight carrier. |
|
| | |
31 | Grouped: |
| | This subclass is indented under subclass 2. Structure particularly designed for accommodating a number
of articles as a load unit, or an arrangement of such a number of
articles.
| | (1)
Note. This (the principal) subclass includes inventions particularly
designed for accommodation of groups of engines, also racks or hanging
hooks for meat carcasses.

| SEE OR SEARCH CLASS:
| 206, | Special Receptacle or Package, appropriate subclass for a group of articles which
is prepackaged possibly for stowage as a load unit on board a freight
carrier. |
|
| | |
32 | Group of articles which are, predominantly, regularly contoured;
i.e., are rodlike, panel shaped, blocks, or analogous forms: |
| | This subclass is indented under subclass 31. Structure or arrangement wherein the accommodated load unit
consists of articles which are substantially the same in cross section
throughout at least nearly all of their length.
| | (1)
Note. The article, under the instant definition, may have
a localized irregularity (for which, see subclass 31, indented hereunder)
but remains, on the whole, "predominantly" regularly
contoured, as the title to this subclass phrases it.

| |
| | |
33 | Articles with protuberance or flange: |
| | This subclass is indented under subclass 32. Structure or arrangement particularly designed to establish
a load unit of articles shaped with a localized right-angled extension
from each of their otherwise regular contours.

|
| | |
34 | Grouped by load binder or press means |
| | This subclass is indented under subclass 32. Grouped by load binder or press means: Structure including
means firmly forcing the articles into compact proximity.
| | (1)
Note. The means of this subclass may be firmly forced against
the group of articles by muscle power or by force multiplying means
associated with said first-named means (for which latter, see indented
subclasses 38+).

| SEE OR SEARCH CLASS:
| 24, | Buckles, Buttons, Clasps, etc.,
subclasses 16+ for a wraparound load binder for a group of articles
having no parts connected to a freight carrier; see, too, indented
subclasses 19+ wherein the load binder includes a tightener;
and see subclasses 68+ for a tightener, per se. |
|
| | |
35 | Grouped together with on-and-off base: |
| | This subclass is indented under subclass 34. Structure further including underlying support structure
for the load unit and united therewith by the load binder or press
means for and throughout the loading and unloading sequences.
| | (1)
Note. A rigid member underlying a load unit may be merely
an element of the press means of principal subclass 34 when its
dimensions are not substantially different from the remaining (side
and top) press means member; rather than being so substantially
dimensioned as to be clearly recognizable as a supporting base for
the load unit.

| SEE OR SEARCH CLASS:
| 206, | Special Receptacle or Package,
subclass 386 for a group of articles prepackaged on an on-and-off
base for stowage for shipment on board a freight carrier, absent
means in interengagement with the freight carrier for accommodation
against the hazards of transportation. |
|
| | |
36 | Cylindrical article group: |
| | This subclass is indented under subclass 34. Structure in which the means firmly maintains or urges articles
of substantially circular cross section into the compact proximity.

|
| | |
37 | Log load: |
| | This subclass is indented under subclass 36. Structure or arrangement in which the load unit consists
of hewn tree trunks in compact proximity.

|
| | |
38 | Press: |
| | This subclass is indented under subclass 34. Structure comprising rigid means which contactingly bounds
a side, at least, of the group and force multiplying means associated
therewith whereby the rigid means is in itself adjustable for movement
against the side of the group or includes an adjustable member for
such movement under influence of means which multiplies the force
of compaction against said group.

SEE OR SEARCH THIS CLASS, SUBCLASS:
| 12, | for force multiplying means used with a tiedown* for
retaining a four-wheel vehicle on a freight carrier. |
|
| | |
39 | Including spacer: |
| | This subclass is indented under subclass 38. Structure further including means intervening between articles
in the group or between and setting off one group of articles from
another.

|
| | |
40 | Between groups: |
| | This subclass is indented under subclass 39. Structure in which the intervening means is between and
sets off one group of articles from another.

|
| | |
41 | Including angle overlay, e.g., corner guard: |
| | This subclass is indented under subclass 34. Structure in which the articles of the group are of such
shape that the group is configured as to provide an abrupt, substantially
905 change of direction along the outside surface of the group;
and in which a rigid member is of such shape as to be in overlying
contact with said outside surface through said change in direction.
| | (1)
Note. In this way, frequently, the outside corner article
is protected from the bend of a taut lashing member.

| |
| | |
43 | Vehicle body part group: |
| | This subclass is indented under subclass 31. Structure or arrangement particularly designed to accommodate
articles consisting of frame or shell parts for vehicle manufacture
or assembly.

|
| | |
44 | Accommodation of article which is massive relative to the
freight carrier: |
| | This subclass is indented under subclass 2. Structure particularly designed to accommodate a single
article (a) of such dimensions as to occupy substantially the entire
space of the freight carrier or to extend beyond an edge thereof
(e.g., onto a second carrier), or (b) of such height as to require
that the freight carrier load-support area surface area on which
the article rests be between and lower than the height of the top
of the carrier trucks.
| | (1)
Note. A truck is considered to be a freight carrier for this
subclass so that an article bridging a pair of trucks are properly
classifiable therein. The article may in itself, or together with
on-and-off base, be the sole structure bridging the pair of trucks;
for which see indented subclass 45.

| |
| | |
45 | Stowed as a bridge between trucks, or across cars, or on
drop-center (schnabel type) car: |
| | This subclass is indented under subclass 44. Structure or arrangement (a) in which the article, either
by itself alone or together with an on-and-off underlying support,
is mounted at each end onto separate, spaced apart freight carrier
running gear structures to constitute the sole connection between
those structures while so mounted, or (b) in which the article staddles a
plurality of horizontally swingingly related freight carriers, or
(c) in which the freight carrier load-support area is between and
lower than the height of the freight carrier running gear supports.
| | (1)
Note. With respect to part (b) of the above definition, each
of the separate spaced running gear structures (i.e., trucks) constitutes,
in itself, a freight carrier and the article, extending from the one
to the other extends beyond either one of them. The requirement
for placement in subclass 44, under (1) Note of the definition thereof,
is there by met.

| SEE OR SEARCH THIS CLASS, SUBCLASS:
| 53, | for a load bearer, e.g., semitrailer, stowed as
a bridge between trucks. |
SEE OR SEARCH CLASS:
| 296, | Land Vehicles: Bodies and Tops,
subclass 25 for a dropped center highway vehicle, e.g., semitrailer,
absent the provision thereon of load accommodating structure. |
|
| | |
46 | On supporting on-and-off base: |
| | This subclass is indented under subclass 2. Structure comprising underlying structure for an article
and means for effecting the immobilization of the article on the
structure for and through the loading and unloading sequences of
accommodation on a freight carrier.

SEE OR SEARCH THIS CLASS, SUBCLASS:
| 35, | for an on-and-off base stowed together with its
article load on board a freight carrier by the use of accommodating
(usually retainer)* means. |
SEE OR SEARCH CLASS:
| 206, | Special Receptacle or Package, appropriate subclass for an article preassembled
on an on-and-off container to constitute a shipping unit, but lacking
means interengageable with a freight carrier for accommodation against
the hazards of transportation. |
| 220, | Receptacles,
subclasses 1.5+ for a freight container. |
|
| | |
47 | Cylindrical article accommodation: |
| | This subclass is indented under subclass 2. Structure particularly designed to accommodate an elongate
article of substantially circular cross section; i.e., to utilize
a structural feature of, or nullify a particular problem inherent
in, the shape of the article.

|
| | |
49 | Cradle or chock: |
| | This subclass is indented under subclass 47. Structure in which the accommodating means defines an upwardly
facing concavity or upwardly diverging angle(s), whether continuous
or interrupted, in either case to engage one or both lower quadrants
of the cylindrical article periphery and thereby inhibit rolling.

SEE OR SEARCH CLASS:
| 188, | Brakes,
subclass 32 for a chock recognized as a brake on the ground
for that class distinguishing over the instant subclass in that
it is applied to a surface other than that of a freight carrier. |
|
| | |
50 | And wraparound* lashing: |
| | This subclass is indented under subclass 49. Structure further including a wraparound* (load
lashing retainer)* attached at its ends to the freight
carrier and drawn securely about or through the article to secure
it against a contour-complementing surface of the accommodating
means.

SEE OR SEARCH THIS CLASS, SUBCLASS:
| 20, | for a wraparound for securing the wheel of a stowed
four-wheel vehicle to the freight carrier; and subclasses 97+ for
a wraparound for lashing a load unit to a freight carrier, generally. |
|
| | |
51 | DRAFT (INCLUDING PUSHED) FREIGHT CARRIER, I. E., WAGON, HAND
TRUCK: |
| | This subclass is indented under the class definition. Structure particularly designed to accommodate a load unit
on a freight carrier the motive force for which is intended to be entirely
biologically muscular.
| | (1)
Note. Included herein are horse drawn wagons designed for
such facile removal of the load bearer structure from running gear
as is common to the more contemporary load carrier stowage technology of
subclasses 52+. Because of such commonality that has been
brought about by the advance in the state of the art, this type
of support or container is classified with more contemporary on-and-off
load bearers of this class (410).

| SEE OR SEARCH CLASS:
| 280, | Land Vehicles,
subclasses 47.131+ for an inherently unstable vehicle to which an
article may be attached, and which may be propelled by a walking attendant.
Transportation (a) for a insignificant distance, as within a supermarket
or from a building to a curbside moving van, or (b) by a noncommercial
user, e.g., a shopper or a boatman trailering his own boat would
be appropriate for that Class 280, subclass 47.131 rather than the instant
class and subclass 51. |
|
| | |
52 | LOAD BEARER ACCOMMODATION: |
| | This subclass is indented under the class definition. Structure particularly designed to accommodate an on-and-off
freight support base or receptacle; i.e., such as underlying support
or such an enclosure as presumably receives freight thereon or therein
prior to being loaded on the carrier and is unloaded from the carrier together
with the freight.
| | (1)
Note. A base (pallet) or enclosure (container), per se, is
herein included when provided with externally carried means specifically
for cooperation with mating means on the freight carrier for the accommodation
of said base or enclosure and will be found in the particular subclass
provided for that particular accommodation. The means, per se,
specifically for cooperation with mating means on the freight carrier
for the accommodation of said base or enclosure and will be found
in the particular subclass provided for that particular accommodation.
The means, per se, found in subclasses 96+ is also herein
provided.

| SEE OR SEARCH CLASS:
| 294, | Handling: Hand and Hoist-Line Implements,
subclasses 67.1+ for a frame or a load bearer particularly designed
(as by being provided with corner fittings) for cooperating with hoist
equipment for loading onto or unloading from a freight carrier. |
|
| | |
53 | Stowed as a bridge between trucks: |
| | This subclass is indented under subclass 52. Structure or arrangement in which the load bearer is mounted
at each end onto separate spaced apart freight carrier running gear
structures to constitute the sole connection between them.

SEE OR SEARCH THIS CLASS, SUBCLASS:
| 45, | for a particular article so massive as to be accommodated
as a bridge between trucks. |
SEE OR SEARCH CLASS:
| 105, | Railway Rolling Stock,
subclasses 270+ for a tank pivoted between railway trucks in order
to orient its outlet for pouring. |
|
| | |
54 | Diverse load accommodation, e.g., convertible between semitrailer
and container accommodation: |
| | This subclass is indented under subclass 52. Structure in which the freight carrier is particularly designed
simultaneously or alternatively to accommodate load units of diverse
construction, e.g., container and/or pallet and/or
semitrailer, and, therefore, necessitating mutually distinct stowage
structures or arrangements to be present on or be assembled to or
arranged on the freight carrier.
| | (1)
Note. These subclasses (54+) require a positive
structural detail of each of the accommodations; the plurality of
accommodating means or, at least, structure particularly provided
to cooperate with each of them. Mere retractability for getting
accommodation means of a one type out of the way, and going no further than
to prepare the freight carrier for an alternative accommodation
is inadequate for this subclass. |
| | (2)
Note. The original document to structure designed to accommodate
a particular article, as defined in subclass 2, and also, alternatively
or additionally, a load bearer defined in principal subclass 52 will
be classified in the superior subclasses 2+ and should
be crossed in this instant subclass (54).

| |
| | |
55 | Retainer including load lashing anchor capability: |
| | This subclass is indented under subclass 54. Structure appropriate for retentive engagement with a load
bearer is combined with (e.g., has attached thereto) or is convertible
to structure for the attachment device used in load lashing.
| | (1)
Note. See subclass 101 for the definition of a load lashing
anchor, and search indented subclass 102 for other diverse use devices
including an anchor.

| |
| | |
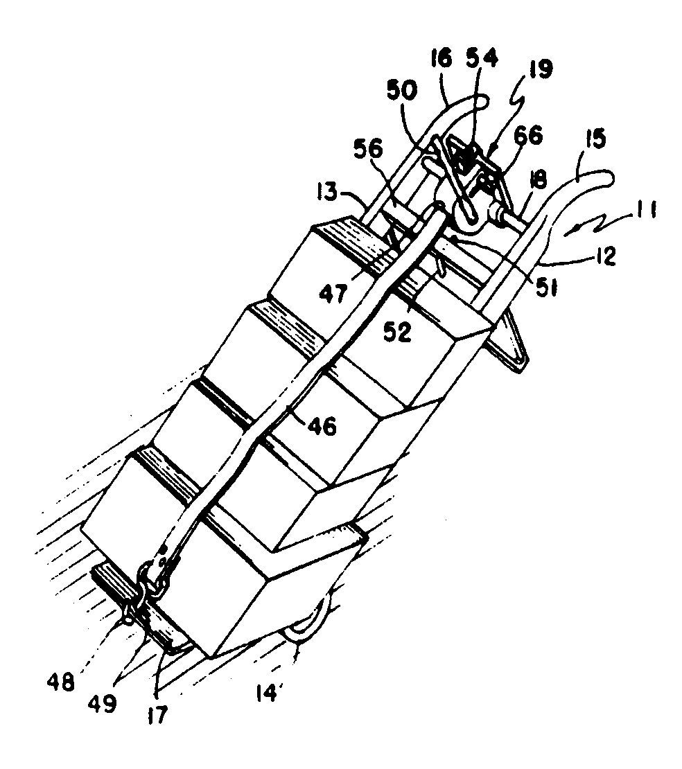
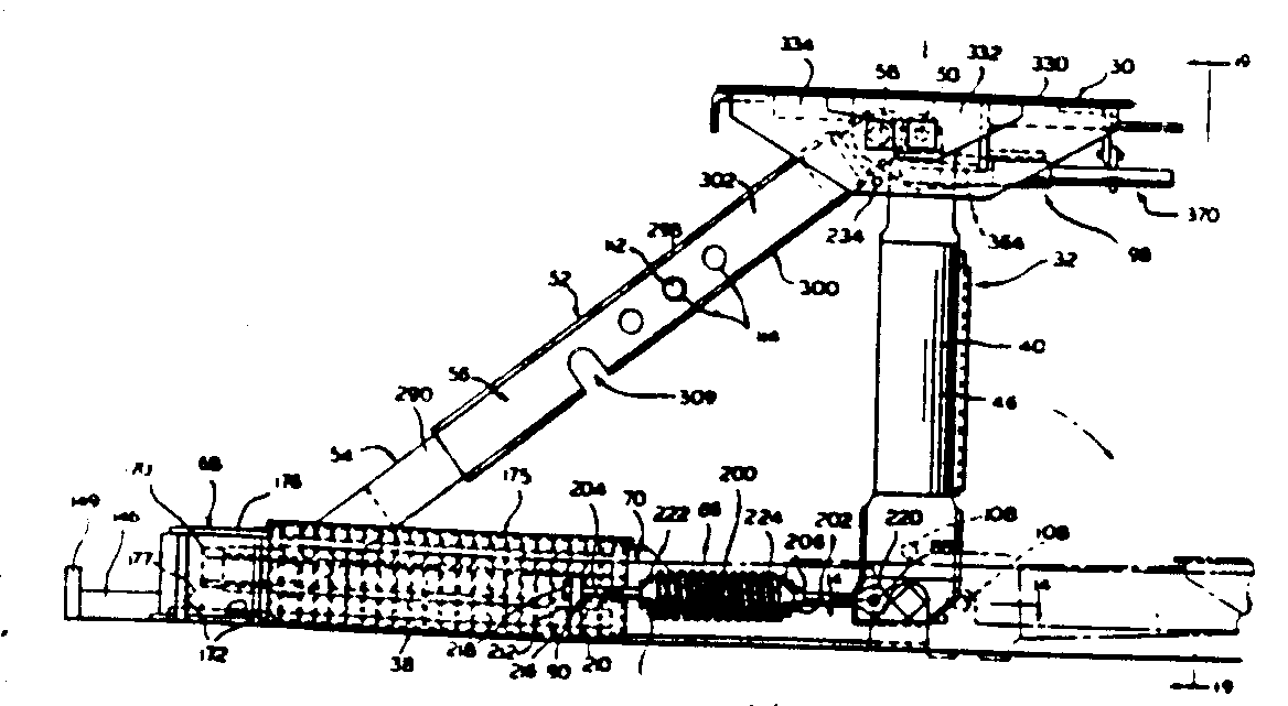
56 | Semitrailer accommodation: |
| | This subclass is indented under subclass 52. Structure in which the accommodated load bearer is of the
type provided with running gear at a location limited to the rear
portion thereof.
| | (1)
Note. An arrangement of wheels at the front end to facilitate
stowage (e.g., guidance) on the carrier will bar placement in this
subclass, even though the wheels are nonroadable and have no other
use than said storage facilitation [See (1) Note in subclass
66]. Mere lowering of the semitrailer landing gear does not,
however, constitute stowage (e.g., guidance) facilitation to make
said bar to placement herein operative.

| SEE OR SEARCH THIS CLASS, SUBCLASS:
| 1, | for the inclusion of a turntable mounted on a semitrailer-accommodating
freight carrier for stowing the trailer on board the carrier. |
| 53, | for a semitrailer stowed as a bridge between railway
trucks; in fact, constituting the sole structure linking the spaced
trucks. |
SEE OR SEARCH CLASS:
| 280, | Land Vehicles,
subclasses 414.1+ for a boat carrying, articulated vehicle, e.g.,
semitrailer. |
|
| | |
57 | Fore-and-aft accommodation: |
| | This subclass is indented under subclass 56. Structure including accommodating means engaging forward
and rear sections of the stowed semitrailer.

SEE OR SEARCH THIS CLASS, SUBCLASS:
| 58+, | for a stand collapsibly mounted on a freight carrier
for accommodating a semitrailer at its front end. |
| 64, | for details of the kingpin retaining latch of such
a stand. |
|
| | |
58 | Collapsible and erectable stand: |
| | This subclass is indented under subclass 56. Structure including a support to maintain the fore end of
a stowed semitrailer raised above the freight carrier bed and means
so linking the support to the freight carrier bed as to be extensible
to a raised, supporting position and foldable to a lowered position
on or below the bed.

SEE OR SEARCH THIS CLASS, SUBCLASS:
| 57, | for semitrailer stowage structure including the
fore-end stand and means accommodating the rear end of the semitrailer. |
|
| | |
59 | Tractor operated: |
| | This subclass is indented under subclass 58. Structure wherein the supporting stand is provided with
means engageable with a loading or unloading tractor so as to utilize
the tractor force for the extensible raising or the collapsed lowering
operation.

|
| | |
60 | Cushioned: |
| | This subclass is indented under subclass 59. Structure including recoverable means, other than merely
a resilient block, which is yieldable under the influence of an
excessive or inadvertent force whereby to interveningly receive
and thereby ward off the undesirable effect of the force upon the
stand or the stowed trailer; which means tends to be restored to
its prior state upon, and as a consequence of, the cessation of
that force.

|
| | |
61 | Jack screw erected: |
| | This subclass is indented under subclass 58. Structure in which the mounting means for the fore-end stand
includes threaded means operable to obtain a force multiplying advantage effective
to facilitate raising of the stand and with it, presumably, the
mass of the supported fraction of the load.

|
| | |
62 | (Fore-and-aft direction slide cushioning means)*: |
| | This subclass is indented under subclass 58. Structure wherein the mounting means for the trailer support
includes a base portion installed along the carrier floor for movement
parallel to the longitudinal axis of the carrier under the influence
of (fore-and-aft direction slide cushioning means)*.

|
| | |
63 | Cushioned cylinder strut: |
| | This subclass is indented under subclass 58. Structure wherein the mounting means for the trailer support
comprises underlying leg means including a leg consisting of hollow
interfitting parts which enclose means which render than yieldable
for telescopic movement in response to inadvertent force incident
to freight transportation and recoverable to the earlier state upon
and as a consequence of cessation of the force.

|
| | |
64 | King pin latch: |
| | This subclass is indented under subclass 58. Structure in which the trailer fore-end support includes
means particularly designed for releasable retentive connection
with a post extending downward from the underside of the fore end
of the trailer, which post is analogously employed to join the trailer
to the tractor during road use.

|
| | |
65 | Accommodation means conforms to wheel sidewall during guidance
or rest condition, e.g., rub rail or wheel well: |
| | This subclass is indented under subclass 56. Structure in which the freight carrier support surface is
provided with accommodation means of such configuration as to be
in engagement with a sidewall of the semitrailer wheel during its
movement along the freight carrier to a stowed location or when
it is at that location, whereby lateral movement of the semitrailer
is thereby prevented.
| | (1)
Note. The mere lowering of the wheeled landing gear on a
deck surface is not considered to convert a semitrailer to a four-wheeled
vehicle to bar placement in this subclass in favor of lower subclasses 66+.
However, additional (e.g., fore-end) wheels to facilitate guidance
for stowage on the freight carrier, even though such additional
wheels are nonroadable and have only that stowage facilitation use
and capability, is subject matter for that inferior subclass and
will be found therein rather than in the instant subclass. See
(1) Note in principal subclass 56.

| SEE OR SEARCH THIS CLASS, SUBCLASS:
| 57, | for a freight carrier provided with rub rail or
sunken area structure accommodating the rear wheels of a stowed semitrailer
and also with means accommodating the fore end of the semitrailer. |
| 67, | for rub rail or sunken area structure accommodating
a four-wheeled load bearer. |
|
| | |
66 | Wheeled load bearer accommodation: |
| | This subclass is indented under subclass 52. Structure particularly designed to accommodate such a load
bearer as includes rolling support means.
| | (1)
Note. The "rolling support means" commonly
but not necessarily constitutes the running gear for road use; see
indented subclass 67 however, wherein are to be found four-wheel
vehicles having roller support structure having utility for facilitating
stowage, but impractical for road use.

| SEE OR SEARCH THIS CLASS, SUBCLASS:
| 1, | for a freight-carrier-mounted turntable for stowing
a wheeled vehicle, typically a semitrailer, on board; and wherein
wheel guide structure (e.g., track) is mounted on the turntable
and wherein, moreover, mating guide (track) structure may further
be mounted on the freight carrier. |
|
| | |
67 | Including wheel guide: |
| | This subclass is indented under subclass 66. Structure in which the freight carrier floor structure is
provided with means contacting the rolling support members for guiding
or for accommodating the supported load unit to or at its stowed
position.

SEE OR SEARCH THIS CLASS, SUBCLASS:
| 57, | for a freight carrier provided with such structure
and also with structure accommodating the fore end of the stowed
semitrailer. |
| 65, | for wheel guides of the rub rail type for accommodating
a semitrailer. |
|
| | |
68 | Accommodation of rigid wall container for bulk material: |
| | This subclass is indented under subclass 52. Structure particularly designed to accommodate such an enclosure
as (a) is form sustaining, and (b) contains fluent, particulate,
or aggregate material.

SEE OR SEARCH CLASS:
| 105, | Railway Rolling Stock,
subclass 270 for a container for fluids pivoted on its axis
between railway trucks so as to reorient the outlet for pouring;
and subclasses 358+ for tank cars. |
|
| | |
69 | Load bearer tripped retainer*: |
| | This subclass is indented under subclass 52. Structure including a retainer for the load bearer including
a part so mounted and so positioned on the freight carrier as to
be moved as a result of contact with a load bearer which is being
stowed on the freight carrier.
| | (1)
Note. The contact-induced movement may be of the reset type;
i.e., undergoing displacement to permit the load carrier to move
therepast to be finally positioned, provided that the displacement
is followed by spring, gravity, etc., induced resetting for ultimate
retentive engagement.

| |
| | |
70 | Retainer* mounted on (corner pedestal)* |
| | This subclass is indented under subclass 69. Retainer* mounted on (corner pedestal)*: Structure
in which a load bearer retainer* is installed to extend
and move through a wall of a (corner pedestal)* so as to
be load tripped upon the load bearer corner(s) mating therewith.

|
| | |
71 | Corner pedestal: |
| | This subclass is indented under subclass 52. Structure including a horizontal member engaging the meeting
edges of a corner of a load bearer and vertical members upstanding from
the outer edges of the horizontal member in position to engage corresponding
vertical surfaces of said load bearer meeting edges to inhibit horizontal
displacement of the load bearer on the freight carrier in the direction both
longitudinally and transversely of the freight carrier; the accommodating
structure being positioned to maintain the load bearer somewhat
raised from the freight carrier surface.
| | (1)
Note. The presence of the horizontal member merely upon the
upper surface of the freight carrier floor is adequate to satisfy
the "somewhat raised" requirement of this instant
subclass definition. |
| | (2)
Note. The disclosure is commonly directed, of course, to
a set of four corner pedestals for the respective four corners of
the load bearer.

| |
| | |
73 | Including male-female retainer*: |
| | This subclass is indented under subclass 72. Structure in which the corner pedestal is provided with,
or is constructed to mount a retainer*, which is effective
within the confines of the vertical and horizontal pedestal members,
to penetrate a load bearer corner aperture.

|
| | |
75 | And slidable along track: |
| | This subclass is indented under subclass 72. Structure in which the freight carrier is provided with
guide means constraining the corner pedestal for movement there
along-toward and away from an intended location relative to the corner
of a stowed load bearer.

|
| | |
76 | Including male-female retainer*: |
| | This subclass is indented under subclass 71. Structure in which the corner pedestal is provided with,
or is constructed to mount a retainer*, effective within
the confines of the horizontal and vertical pedestal members, to penetrate
within a load bearer corner recess.

|
| | |
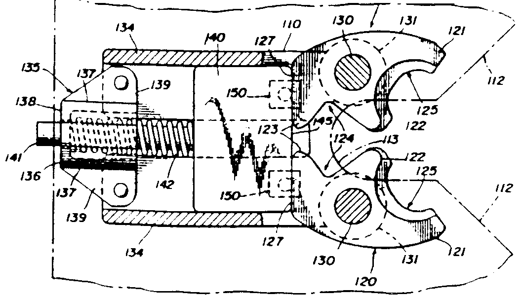
77 | Retainer: |
| | This subclass is indented under subclass 52. Structure in which the accommodating means is attached to
the freight carrier and engages a part of the stowed load bearer
adequately to effect securement thereto; i.e., to inhibit displacement
of the load carrier on the freight carrier in both the lateral and
vertical direction.
| | (1)
Note. Inhibition of displacement in the lateral direction
is presumed when means inhibiting displacement in the vertical direction
is brought into play. However, merely inhibiting displacement in
the lateral direction will not be assumed to constitute, in itself,
retainer structure as herein defined but will be recognized only
as generic accommodating means. Rigid material hold-down structure
of the hold-down type is predominantly the expedient by which to inhibit
vertical displacement of a load--and, typically, lateral displacement
as well (note, however, the load bearer (load lashing retainer)* in
subclass 85). The basics of a hold-down is paraphrased from the
definition of Class 248, Supports, subclass 501, as follows: --form-sustaining
structure having an undersurface portion for engaging an upwardly
facing portion of a article to retain the article on a support surface--; to
wit, in the instant context, a load bearer on a freight carrier
surface.

| SEE OR SEARCH THIS CLASS, SUBCLASS:
| 57, | for the accommodation of a semitrailer on a freight
carrier by means cooperating with fore and with aft sections of
the semitrailer, which means may be retainer*. |
| 64, | for the retention of a semitrailer on a freight
carrier by latch means on a stand retentively engaging the king pin
at the fore end of the semitrailer supported on the stand. |
|
| | |
78 | Multiunit retainer: |
| | This subclass is indented under subclass 77. Structure in which (a) the retainer includes parts particularly
interrelated for retaining a corresponding plurality of stowed load
bearers, or (b) there is further provided a common operator to associate
or disassociate a plurality of retainers with respect to a corresponding
plurality of load bearer units.
| | (1)
Note. Consonant with the scope thereof, the above definition
does not comprehend the customary plurality of retainers which,
in fact, act independently of one another in their engagement with
load bearers. Nor does this subclass include the plurality of retainers;
however, interrelated in operation, for cooperating in retentively
engaging different parts of but a single load unit.

| |
| | |
81 | By insertion of completely separable retainer, e.g., bolt,
through aligned aperture: |
| | This subclass is indented under subclass 80. Structure wherein the retention is effected by the passage
of a hitherto independent elongated fastener through coaxial apertures
through each of the freight carrier and load bearer parts.
| | (1)
Note. The fastener was "hitherto independent" when
carried upon the person for use as a retainer. It is also considered "hitherto
independent" when hung from a chain or the like at a convenient
spot on the load bearer or freight carrier surface.

| |
| | |
82 | Twist lock: |
| | This subclass is indented under subclass 77. Structure comprising a flanged shift the flange of which
enters a load bearer fitting past a restriction which partially
blocks egress, the shaft being then rotatable about its axis whereby
to turn the flange behind the ingress-blocking restriction whereby
to lock and retain the load bearer on the freight carrier.

SEE OR SEARCH CLASS:
| 24, | Buckles, Buttons, Clasps, etc.,
subclass 287 for a twist lock joining adjacent load bearers;
frequently when on a freight carrier. |
| 294, | Handling: Hand and Hoist-Line Implements,
subclass 81 for a handling device equipped with twist lock terminals
to enter the corner fittings of a load bearer for the handling thereof, i.e.,
to load a load bearer on, or unload one from a freight carrier. |
|
| | |
83 | Project-retract mounting: |
| | This subclass is indented under subclass 82. Structure including means which is on, or parallel to the
support surface of the load bearer on the freight carrier, which
means mounts the retainer for displacement between (a) an operative
position for entry into a load bearer fitting, and (b) a nonuse
position locating the retainer flange below the level of that support
surface.
| | (1)
Note. The load bearer support surface could be the floor
or a bolster of the freight carrier or could be a floor- or bolster-attached
housing for the twist lock flanged member.

| |
| | |
86 | Including load bearer cushioning means: |
| | This subclass is indented under subclass 77. Structure comprising means so retaining the load bearer
or so related to the load bearer support or retaining structure
as to impart thereto recoverable movability so as to be movably yieldable
under an excessive or undesirable force and thereby ward off the
undesirable effect of that force.
| | (1)
Note. The mere compression of a solid block is not herein
provided for.

| |
| | |
87 | Cushioned accommodation: |
| | This subclass is indented under subclass 52. Structure comprising means so participating in the accommodation
of the load bearer as to impart to the load bearer recoverable movability
so as to be yieldable under an excessive or inadvertent force and
thereby ward off the undesirable effect of that force upon the load
unit.

SEE OR SEARCH THIS CLASS, SUBCLASS:
| 117+, | for a yieldable brace for a load unit, generally. |
|
| | |
88 | (Fore-and-aft direction slide cushioning means)*: |
| | This subclass is indented under subclass 87. Structure so related to the load bearer as to constitute
(fore-and-aft direction slide cushioning means)* therefor.

SEE OR SEARCH THIS CLASS, SUBCLASS:
| 62, | for (fore-and-aft direction slide cushioning means)* for
semitrailer stand-support accommodation. |
|
| | |
89 | Wall-to-wall socket-entering load bearer: |
| | This subclass is indented under subclass 52. Structure in which a wall of the freight carrier is provided
with means defining a recess, matched by a corresponding recess
means on an opposed wall, and the load bearer is provided with a
projection mating with said means for accommodation of the load
bearer on the freight carrier.

SEE OR SEARCH THIS CLASS, SUBCLASS:
| 54, | for a wall-to-wall socketed load bearer convertible
to a brace panel by being repositioned to extend wall-to-wall, but
vertically. |
| 132+, | and 142, for a freight carrier having a wall-to-wall
brace panel with pin-in-socket panel-to-wall association. |
| 144+, | for projection-in-aperture association of a wall-to-wall
brace bar with the freight carrier wall. |
|
| | |
90 | Load bearer accommodation by underside socketing: |
| | This subclass is indented under subclass 52. Structure in which, at the common plane whereat the load
bearer undersurface rests on the freight carrier floor, a projection
extends from one of these and enters a recess of the other to inhibit
lateral shifting of the load bearer on the floor.

|
| | |
91 | Pin-socket accommodation: |
| | This subclass is indented under subclass 90. Structure in which the projection is a localized male post
member and the recess is an aperture surrounding the member.

SEE OR SEARCH THIS CLASS, SUBCLASS:
| 81, | for a projection-in-fitting retainer* arrangement
wherein both projection and fitting are apertured and wherein the
apertures are alignable so as to receive a bolt or boltlike member
to retain the load bearer unit on the freight carrier. |
|
| | |
92 | Rollerway: |
| | This subclass is indented under subclass 52. Structure including an assemblage of members each of which
is so mounted along the load-supporting surface of the freight carrier
as to be rotatable about its own individual axis, or center for
a sphere, and so projecting or projectable from that surface as
to be engageable with the undersurface of a load bearer to facilitate movement
thereof to an appropriate location on the freight carrier.

|
| | |
93 | Drop side car, side converts to ramp: |
| | This subclass is indented under subclass 52. Structure comprising a freight carrier component, usually
side wall member, hinged at an outside edge of the freight carrier
floor for swinging movement between (a) vertically upstanding position
constituting a barrier to the shifting movement of the load unit
past the freight carrier, and (b) a lowered position to permit loading
or unloading of the load unit thereacross; the component being one
in a parallel array along said edge to substantially coincide with
the edge widths of load bearers intended to be arrayed along the
freight carrier.

SEE OR SEARCH CLASS:
| 244, | Aeronautics and Astronautics,
subclass 118.3 for an aircraft closure panel swingably displaceable
outwardly and downwardly to constitute an on-ground loading ramp. |
|
| | |
94 | Load bearer abutment: |
| | This subclass is indented under subclass 52. Structure comprising a rigid member connected to and upstanding
from the floor of a freight carrier to engage and prevent lateral movement
of a stowed load bearer there past.

SEE OR SEARCH THIS CLASS, SUBCLASS:
| 121, | 154 and 155, for dunnage members; i.e., free standing
and unconnected to the freight carrier to fill in spaces between
load units. |
|
| | |
95 | Between load bearer units: |
| | This subclass is indented under subclass 94. Structure in which the rigid upstanding member spans the
space between and thereby abuttingly separates adjacent load bearers
on the freight carrier.

|
| | |
96 | LOAD LASHING RETAINER OR LOAD LASHING ADJUNCT: |
| | This subclass is indented under the class definition. Structure including (a) flexible member means to engage
lading on a freight carrier to control the lading against inadvertent
shifting during transportation, or (b) means attachable to the freight
carrier for securement of the flexible member means thereto and,
thereby, to the freight carrier, or (c) an arrangement of lading, including
the use of flexible member means, to accomplish the purpose hereinabove
defined.
| | (1)
Note. Attention is directed to the (1) Note proviso in the
definition of indented subclass 101 that an anchor (or equivalent
hardware) for a flexible member disclosed as merely bracing the
lading (along only one edge, as under subclass(es) 117) is not barred
from placement therein (subclasses 101+).

| |
| | |
97 | Wraparound: |
| | This subclass is indented under subclass 96. Structure wherein the flexible means encircles the lading
to effect retention thereof on the freight carrier.
| | (1)
Note. 270° of encirclement will suffice for this
subclass only when a wall or other car surface panel structure,
e.g., bulkhead, or car side, completes the remaining 90° encirclement.

| SEE OR SEARCH THIS CLASS, SUBCLASS:
| 120, | for a wraparound*-type retainer consisting
however, of an assembly of rigid material rod members (as opposed
to chain links) joined angularly and end-to-end to tightly encompass
a lading unit. |
SEE OR SEARCH CLASS:
| 224, | Package and Article Carriers,
subclasses 309+ for wraparound means for securing an article, e.g.,
package, to the roof of a passenger vehicle. |
|
| | |
98 | Method: |
| | This subclass is indented under subclass 97. Process including the use of a wraparound* to retain
lading on a freight carrier to control inadvertent shifting thereof
during transportation.

|
| | |
99 | Including angular surface guard, e.g., edge-around: |
| | This subclass is indented under subclass 97. Subject matter in which the encircled load unit has a rectangular
or an arcuate dimension and, therefor, includes a corner or a curved
outer surface location and in which the rigid material member protectively
intervenes at that location either (a) between the lading and the
flexible means encircling it, or (b) as a connector between adjacent
ends of flexible means members.

|
| | |
100 | Including tightener or tensioner: |
| | This subclass is indented under subclass 97. Structure including force-multiplying means to draw the
flexible member means in tight encirclement about lading, e.g.,
winch, turnbuckle, jack screw, (but not mere linkage) or spring means
connected to the flexible member means in intervening relation between
the lading and the freight carrier to provide a force constantly urging
the flexible member means into tight compaction about the lading.

|
| | |
101 | Anchor: |
| | This subclass is indented under subclass 96. Structure comprising an attachment device secured to a freight
carrier surface at a location (usually one of a number of locations)
for securing an end of a flexible member thereto to leave the remainder
thereof available for use in constraining lading against inadvertent
shifting during transport on board the carrier.
| | (1)
Note. Disclosure that the attached flexible member is used
merely for bracing, as defined in subclass 117, will not bar placement
of the anchor subcombination in this locus (subclasses 101+).

| |
| | |
102 | Multipurpose, e.g., combined, convertible: |
| | This subclass is indented under subclass 101. Structure in which the anchor location is both the tie piece* locus
and also the locus for structure which serves another purpose, e.g.,
hold down, bracket, brace bar receiver, even for retaining a second
flexible member.
| | (1)
Note. The plural uses may be simultaneous or alternative
and may, but need not necessarily, involve rearrangement, modification,
or substitution of parts.

| |
| | |
103 | Including winch or tensioner: |
| | This subclass is indented under subclass 101. Structure in which the device is provided with tautening
means which is effective either by taking up a turn on the flexible
member, e.g., drum, or by augmenting the force applied through the
(tie piece)*.

SEE OR SEARCH CLASS:
| 254, | Implements or Apparatus for Applying Pushing or
Pulling Force,
subclasses 199+ and 213+ for a cable tautening device,
including a tie piece to retain the end of a load lashing or binding
cable. |
|
| | |
104 | Track-guided anchor: |
| | This subclass is indented under subclass 101. Structure including an elongated member fixed to a surface
of the freight carrier and constructed to mount a tie piece* for
guided sliding movement to one of a plurality of locations along
the length of said member most suitable for the instant load retaining
arrangement.

SEE OR SEARCH THIS CLASS, SUBCLASS:
| 10, | and 11, for tiedown structure to retain a four-wheel
vehicle on a freight carrier, which structure includes track-guided
anchor structure; and for track-guided anchor structure, per se,
limited to this use. |
| 115, | for an elongated member which in itself provides
an array of anchor locations or which is provided with an array
of locations to which tie pieces are mounted; there being no guide structure
for communication between the locations. |
|
| | |
105 | Anchor-admitting cross-slotted track: |
| | This subclass is indented under subclass 104. Structure in which the elongated mounting member is formed
with passage means having at least one communicating side recess
and the flexible-member-retaining device is formed at its end with
a correspondingly relatively wide mounting portion receivable through
said side recess but too large for entry or escape through any other
part of the passage.

SEE OR SEARCH THIS CLASS, SUBCLASS:
| 150, | for a cross-slotted track for slidably guiding and
selectively locating the end of a brace bar along a freight carrier
wall. |
|
| | |
106 | Mounted on exposed and bordering structural member: |
| | This subclass is indented under subclass 101. Structure in which the device is affixed to or formed from
a single elongated structural member, e.g., top chord or bulb angle,
side sill of flat car, incorporated in and recognized as basic carrier
structure for the framing of the cargo space available to the ambient,
or to a door post of a box car.

|
| | |
107 | Project-retract (tie piece)*: |
| | This subclass is indented under subclass 106. Structure in which the device includes a (tie piece)* mounted
for movement from a nonuse position within the bounds of the exposed
surface configuration of the structural member to a position maintained
exposed therepast, as by force exerted on the attached lading-engaging
flexible member.

|
| | |
108 | In exposed array therealong: |
| | This subclass is indented under subclass 106. Structure in which a row of (tie piece)* or anchor
formations is mounted or arranged on the framing member at loci
whereat all are substantially bordering the freight carrier contour and
available to the ambient.

|
| | |
110 | Atop wall of open top freight carrier, e.g., bulb-angle
mounted: |
| | This subclass is indented under subclass 108. Structure in which a row of (tie pieces)* or anchor
formations is arranged along, or adjacent and parallel to, the uppermost
edge of the vertical body member of the freight carrier and thereby
in an exposed and bordering array because the freight carrier has
no top wall structure to thwart access thereto.

|
| | |
111 | Project-retract (tie piece)*: |
| | This subclass is indented under subclass 101. Subject matter in which the (tie piece)* is mounted
so as to be recessed within the bounds of the mounting structure
in the nonuse position thereof and be shiftable to extend therebeyond
and be maintained in that position under the force applied to the
attached flexible, lading engaging member.

|
| | |
112 | Recessed in car facing: |
| | This subclass is indented under subclass 101. Structure in which covering material is so formed or so
mounted on a surface of the freight carrier exposed to lading as
to define an inset at or along that surface; and in which anchor
structure, either the entire anchor or only the (tie piece)* thereof,
is so mounted as to be available only at the inset and to be confined
within the plane defined by the exposed surface of the covering
material.

SEE OR SEARCH THIS CLASS, SUBCLASS:
| 107, | for such a project-retract tie piece on a bordering
surface of a freight carrier open to the ambient. |
| 111, | for a project-retract tie piece which is recessed
in freight carrier facing in its nonuse position. |
|
| | |
113 | Recessed anchor array: |
| | This subclass is indented under subclass 112. Structure in which the attachment device for the flexible
material member essentially is, or includes elongated member means
having a row of anchor locations therealong, the anchor locations
being provided by (a) spaced formations shaped from (e.g., stricken
from) the elongated member means to provide access thereto for the
end of the flexible member, or (b) the arrangement of an elongated
member and such backing, support, or other adjacent freight carrier
interior structure as defines such spaced access formation, or (c)
a spaced row of (tie pieces)* added on (e.g., welded on)
to the elongated member means; the attachment device in any of these
constructions or arrangements being so surrounded by adjacent structural
details as to be accessible only at or within the plane defined
thereby.

|
| | |
114 | Of attached (tie pieces)*, e.g., welded: |
| | This subclass is indented under subclass 113. Structure in which the anchor locations are defined by a
row of individual (tie pieces)* mounted along the elongated
anchor array member means at the anchor intervals and contained
within the exposed plane of the covering means.

SEE OR SEARCH THIS CLASS, SUBCLASS:
| 113, | the principal subclass, for the anchor array provided
by the elongated anchor member itself by means of formations therealong
at the anchor intervals and unitary therewith; or by the way it
is mounted and related to adjacent freight carrier structure. |
|
| | |
115 | Array strip or formation: |
| | This subclass is indented under subclass 101. Structure comprising elongated member means, e.g., bar,
strip, post; and see (1) Note, below, fixed to the freight carrier
surface and provided at intervals along the length thereof either
(a) with the individual tie pieces*, or (b) with a row
of unitary formations or arrangements for the direct connection
thereto of the end of a lading engaging member.
| | (1)
Note. The "elongated member means" herein
defined may be, in fact, part of wider panel structure (e.g., edge,
flange; see subclass 108) only when it is unmistakably distinct
from the rest of the panel and so narrow as hardly to permit more than
a single anchoring to occur at a single location along the row (two
would be rare and could occur only under the limitations of subclass
102).

| |
| | |
116 | Including mounting means for facile assembly or removal
of (tie piece)*: |
| | This subclass is indented under subclass 101. Structure in which the attachment device includes a (tie
piece)* provided with means mounting the device for ready
securement to and disengagement from the freight carrier.
| | (1)
Note. The requirement for either facile securement or disengagement
is met where either is disclosed and it is obvious that a reverse
manipulation will complete both. Facility in assembling and removal
is presumably negated by the necessity to use a tool: but not necessarily.
Delivering a light blow to unwedge the device, for example, need not
necessarily negate operational facility. |
| | (2)
Note. Performance of facile assembly and removal may occur
for the tie piece and anchor mounting as a unit; or by association
and disassociation of the tie piece alone from the means which mounts
it on the anchor receiver and remains with it.

| |
| | |
117 | YIELDABLE BRACE: |
| | This subclass is indented under the class definition. Structure comprising accommodating means which (a) is in
whole or in part of flaccid material so as to yield upon application against
lading when the means is installed on the freight carrier, or (b)
subsequent to positioning or installation on the freight carrier
is in such direct engagement with the load unit and is of such deformable
construction that it will undergo a change of shape upon receiving force
from lading disturbed by untoward occurrence during shipment.

|
| | |
118 | Panel: |
| | This subclass is indented under subclass 117. Structure in which the accommodating means is a deformable
member of significant length and breadth conformingly to engage
a surface area of the load unit.

SEE OR SEARCH THIS CLASS, SUBCLASS:
| 121+, | (e.g., 123+, indented thereunder), for load
bracing panel means in which the member directly engaging a surface
of the load unit is rigid and essentially nondeformable but is provided
with yieldable means urging the panel into bracing augmentation
with the load unit, compare, for example, subclass 119 indented
hereunder, with subclass 125, indented under 123. |
SEE OR SEARCH CLASS:
| 150, | Purses, Wallets, and Protective Covers,
subclasses 154+ for flexible covers for the protection of articles,
generally. |
|
| | |
119 | Inflated or inflatable: |
| | This subclass is indented under subclass 118. Structure wherein the load unit engaging member is a wall
of a bag which is filled with fluid or is in communication with
a fluid source of reception of filling fluid for its accommodating function.

SEE OR SEARCH THIS CLASS, SUBCLASS:
| 119, | for a squeeze device; i.e., an inflated or inflatable
bag for exerting lading-engaging force upon a pair of brace panels
on opposite sides of the bag. |
| 128, | for pneumatic means including a bag between a brace
panel and a freight carrier compartment wall for exerting lading-engaging
force upon the panel. |
SEE OR SEARCH CLASS:
| 280, | Land Vehicles,
subclasses 728+ for a passenger restraint inflatable bag in a land
vehicle. |
|
| | |
120 | RIGID MEMBER RETAINER, E.G., WRAP-AROUND TYPE: |
| | This subclass is indented under the class definition. Structure comprising a rigid material retainer*,
e.g., form-sustaining, elongate rod members, as opposed to chain
links, articulatively or angularly joined to one another at their
ends to pass over and to encompass a load unit in tight encirclement
thereof.
| | (1)
Note. 270 encompassment against a planar freight carrier
surface is adequate for this subclass definition.

| SEE OR SEARCH THIS CLASS, SUBCLASS:
| 97+, | for chain means for flexibly encircling lading or
for the combination of flexible and rigid wraparound members, in either
case to constitute a flexible (retainer)* (wraparound)*. |
|
| | |
121 | LOAD BRACING MEANS: |
| | This subclass is indented under the class definition. Structure comprising a brace; i.e., rigid member means for
contacting a vertical side of lading on a freight carrier to block
inadvertent lateral shifting of the lading in transit.
| | (1)
Note. This (the principal) subclass contains dunnage members;
i.e., freely insertable elements between and in contact with adjacent
load units to fill the intervening space.

| SEE OR SEARCH THIS CLASS, SUBCLASS:
| 154, | for honeycomb-shaped dunnage. |
| 155, | for dunnage elements shaped to contact angularly
related load unit surfaces. |
|
| | |
122 | Bifacial brace: |
| | This subclass is indented under subclass 121. Structure in which the lading-engaging member means includes
a pair of rigid lading-engaging panels or frames provided with means
interconnecting them for movement away from one another and for
maintaining them thus apart in either spaced parallelism or opposite
divergence; the bi-member means thereby constituted being locatable
in a space between adjacent load units with each member in blocking
engagement with a respective confronting side of each load unit.

|
| | |
123 | Squeeze: |
| | This subclass is indented under subclass 122. Structure further including fluid pressure, electrically
powered or force-multiplying means, e.g., jack screw, ratchet, (but
not mere linkage means) operative between the lading-engaging members
to urge them apart for augmenting the blocking force on the lading.

|
| | |
124 | Powered or pressurized: |
| | This subclass is indented under subclass 123. Structure wherein the means to urge the blocking member
apart to augment the blocking force on the lading is fluid pressure
or electrically powered means.

|
| | |
125 | Intervening squeeze bag: |
| | This subclass is indented under subclass 124. Structure including a closed, flexible, fluid-filled container
in intervening contact with and between the blocking members and
of a dimension at least approaching that of the area or length of
the members.

|
| | |
126 | Track guided: |
| | This subclass is indented under subclass 123. Structure (a) including means installed on the freight carrier
and extending longitudinally therealong, (b) and in engagement with
a conformingly shaped edge portion or added-on part of at least
one of the lading-engaging members, (c) to constrain longitudinal
movement of a member along the freight carrier to a position effective
for lading-blocking engagement.

SEE OR SEARCH THIS CLASS, SUBCLASS:
| 125, | for squeeze structure of the construction which
includes an intervening squeeze bag and which may be track mounted. |
|
| | |
127 | Brace panel with wall-to-lading adjustment means: |
| | This subclass is indented under subclass 121. Structure comprising a rigid, planar-face lading engaging
and bracing member and means at, or adjacent to the wall of a freight
carrier so movably related to the member and to the wall as to displace
the member, upon movement thereof, into load bracing contact therewith,
or into enhancement of such contact

|
| | |
128 | Forcing, e.g., motorized, pressurized, or adjusted by force-multiplying
means: |
| | This subclass is indented under subclass 127. Structure further including means urged by fluid pressure
or motive power or through the provision of force multiplying structure,
e.g., turnbuckle, jack screw, but excluding mere linkage, to compel
the shifting of the lading engaging and bracing member to its operative position
abutting the lading.

SEE OR SEARCH THIS CLASS, SUBCLASS:
| 123, | and 126, indented thereunder, for force multiplying
means for urging the individual panels of a bifacial brace in the
directions away from one another more tightly to brace load units
at either side of the respective panels. |
| 124+, | indented under 123, for motor powered or fluid pressure
means for effecting the same. |
|
| | |
129 | Panel or frame, wall-to-wall: |
| | This subclass is indented under subclass 121. Structure in which the rigid member means has a planar contour
of such width and height dimensions as to be capable of substantially spanning
the transverse dimension of the freight carrier, in the horizontal
dimension of said means, and to extend to significant height vertically.
| | (1)
Note. Frame structure defining a substantially planar contour
is considered to constitute a panel under the above definition. |
| | (2)
Note. The rigid member means in this and the indented subclasses
is referred to in disclosures classified hereunder as a bracing
member, at other times as a bulkhead. In either case the member
is assumed to be effective for bracing a load unit, in any event,
to be so similarly shaped and installed as to be classified together
regardless of how referred to and, by implication, used. Some few such
panel or frame members are herein classified even when not positioned wall-to-wall
recognizing, for example, that dimensions appropriately "wall-to-wall" in
a freight car do not aptly apply to the hold of a ship, where the
panel member may be installed post to post.

| SEE OR SEARCH THIS CLASS, SUBCLASS:
| 54, | for a brace panel convertible to wall-to-wall socket-entering
load bearer by being repositioned from the vertical bracing position
to the horizontal load bearer supporting position. |
|
| | |
130 | Track mounted: |
| | This subclass is indented under subclass 129. Structure in which the planar-face member means is provided
with a projection (usually roller equipped), and in which the freight
carrier is equipped with means extending along the length thereof
which is shaped to captively guide the extension for sliding or
rolling movement therealong to position said member means at a selected
one of a number of compartment-spanning positions intermediate the ends
of the freight carrier.

SEE OR SEARCH THIS CLASS, SUBCLASS:
| 125, | for bifacial squeeze structure commonly track mounted
and extending wall-to-wall, which latter squeeze structure includes
an intervening air bag. |
| 126, | for a track mounted bifacial squeeze intervening,
commonly wall-to-wall, between adjacent load units. |
|
| | |
131 | Wall-to-wall pair, oppositely swinging: |
| | This subclass is indented under subclass 130. Structure in which the planar face member means comprises
a pair of planar members of a width substantially half that of the
transverse dimension of the freight carrier interior, the members
being turnably mounted on respective individual pivots between positions
(a) defining a common plane transversely spanning said interior,
and (b) spaced substantial parallelism to one another and adjacent
parallelism to each respective freight carrier side wall.

|
| | |
132 | Including pin-in-aperture latch: |
| | This subclass is indented under subclass 130. Structure in which the planar face member means is provided
with a pin-shaped element extending or extensible from an edge thereof and
the freight carrier is provided with a series of conformingly shaped
openings; i.e., holes or slots, extending along the length thereof
for the selective reception of the pin-shaped element to fixedly
lock the planar member means at a selected position along the length
of the freight carrier.

|
| | |
134 | Gang-operated latch pins: |
| | This subclass is indented under subclass 133. Structure including operating means so linked to a spaced
plurality of lock elements as sequentially or simultaneously to
move them into or out of lock position with respective lock apertures.

|
| | |
135 | Panel movable to out-of-way position: |
| | This subclass is indented under subclass 132. Structure in which the planar face member means is shiftable
to a nonblocking position close to and substantially parallel to
one of the freight carrier interior surfaces.

SEE OR SEARCH THIS CLASS, SUBCLASS:
| 131, | for panel structure constituted from a pair member
which is positionable to complement one another for the wall-to-wall
arrangement and are individually and oppositely swingable about respective
hinges adjacent opposite freight carrier walls to out-of-way adjacency
parallel to these walls. |
|
| | |
136 | Winched: |
| | This subclass is indented under subclass 135. Structure including cable and pulley means, the pulley being
attached to the freight carrier and the cable extending from the
pulley and attached adjacent the distal end of the pivoted panel
or frame member for turning it about the pivot at its other end
to an out-of-the way position adjacent and parallel to a freight
carrier, usually the upper surface thereof.

|
| | |
137 | Gang-operated latch pins: |
| | This subclass is indented under subclass 132. Structure including operating means so linked to a spaced
plurality of lock elements as sequentially or simultaneously to
move them into or out of locking engagement with the respective
lock apertures.

|
| | |
139 | Track is apertured to receive latch pin: |
| | This subclass is indented under subclass 132. Structure in which the guide for the sliding movement of
the planar face member means is provided with a series of openings
along the length thereof for the selective reception of the pin-shaped
lock element.

|
| | |
140 | Deployed structure or comprising individually installed
parts: |
| | This subclass is indented under subclass 129. Structure in which the planar face rigid member means consists
of a number of parts (e.g., planking, linked members) and in which
(a) each part is sequentially installed along a common vertical
plane in wall-to-wall spanning arrangement to define, in the composite,
the planar face panel structure, or (b) members are so pivotally
linked to one another as to be installed by extending them from
substantially side-by-side parallelism to compartment-spanning
configuration.

|
| | |
141 | Latched to side wall aperture or slot: |
| | This subclass is indented under subclass 140. Structure in which the parts are installed by the reception
of a projection at their ends into an opening of a receiver therefor
mounted at or formed from a side wall of the freight carrier.
| | (1)
Note. The projection-receiving opening may be defined by
an endless or discontinued wall configuration.

| |
| | |
142 | Having aperture-entering latch pin: |
| | This subclass is indented under subclass 129. Structure in which the planar face rigid member means is
provided with a pin-shaped element extending or extensible from
an edge thereof receivable in a conformingly shaped opening formed
at a freight carrier surface to fixedly lock said member means in
the substantially wall-to-wall position at a location intermediate
the end walls of the freight carrier.

|
| | |
143 | Brace bar, wall-to-wall: |
| | This subclass is indented under subclass 121. Structure for use in a freight carrier having opposed side
walls between its ends; and in which the rigid member means constitutes
an elongate compartment-spanning member provided with end means
for securement to the opposed side walls of the freight carrier
at the location where it abuts lading and inhibits shifting thereof
during transit.
| | (1)
Note. A brace bar receiver either installed along or formed
from the opposed side walls and cooperating with the end means of
the spanning member for its securement is provided for hereunder
(for which see indented subclass 152). |
| | (2)
Note. The limitation "end means" is limited
to one of the usual pair of structures under the subclass definition
to function at one of the pair of brace bar ends.

| SEE OR SEARCH THIS CLASS, SUBCLASS:
| 129+, | for a wall-to-wall brace panel at times referred
to as a "bulkhead". |
|
| | |
144 | Aperature-entering wall-to-wall connection at the end: |
| | This subclass is indented under subclass 143. Structure in which one of (a) the end means, or (b) the
brace bar receiver is provided with a passage and the other includes
a member (or members) which enters, substantially fills, and is
blockingly bounded on all sides of the passage.
| | (1)
Note. This subclass has been defined to provide for such
a passage as has an endless border completely to block movement
of the contained member laterally therepast. Hence, the passage
is not a slot or any other formation which has a discontinuity negating
such endless border configuration. See subclass 150 for an end-fitting-receiving
passage which is a cross slot in open communication with an elongated
passage constituting a track; hence, not provided for in subclasses
144+.

| SEE OR SEARCH THIS CLASS, SUBCLASS:
| 132+, | and 142, for a brace panel installed wall-to-wall
by the use of aperture-entering latch pin. |
|
| | |
145 | Axially adjustable toward wall, e.g., telescopic: |
| | This subclass is indented under subclass 144. Structure in which the compartment-spanning member includes
a part which is shiftable relative to the remainder in the direction
of the longitudinal axis of the whole to compensate for differences
in space between opposed receivers therefor, or otherwise to facilitate
compartment-spanning installation.
| | (1)
Note. The shiftable part is commonly an end fitting which
mounts the end means or itself constitutes end means in that it includes
a projection; i.e., pin or hook member, which enters the aperture
of the brace bar receiver for installation between the freight carrier
walls.

| |
| | |
147 | Aperture-entering duo: |
| | This subclass is indented under subclass 146. Structure in which the swingably mounted projection is one
of a pair of aperture-entering projections.
| | (1)
Note. In this subclass (a) each aperture-ending projection
of the pair may be mounted on its own swinging part, (b) both mounted
on the same swinging part, (c) one of the pair not swingably mounted
on the end fitting at all, or (d) any arrangement of an aperture-entering pair
of projections, provided that one of the pair swingably enters the
aperture, as hereinabove defined. The projections may both enter
the same aperture or each enter a separate aperture.

| |
| | |
149 | Spring biased: |
| | This subclass is indented under subclass 145. Structure including resilient means effective between the
relatively shiftable parts to urge them apart or together and thereby
toward or away from the freight carrier side wall.
| | (1)
Note. The direction in which the parts are urged is usually
toward the freight carrier wall and the installed receiver; however,
an opposite bias relation and effect (away from the wall and receiver) is
herein also provided; to tighten an end part hook portion against
an inside wall of a receiver aperture after installation of the
hooked end therein.

| |
| | |
150 | Track mounted, for slidable adjustment along the car wall: |
| | This subclass is indented under subclass 143. Structure in which the brace bar receiver extends longitudinally
a substantial distance between the ends of the freight carrier and
is configured to cooperate with the end means of the compartment-spanning
member to guide the member for displacement within the freight carrier
through said distance.

SEE OR SEARCH THIS CLASS, SUBCLASS:
| 8+, | for track-mounted structure for a retainer for a
stowed vehicle. |
| 74, | and 75, for a track-mounted corner pedestal on which
a load bearer is retained or merely accommodated, respectively. |
| 104+, | for a track-mounted load lashing anchor. |
| 130+, | for track-mounted brace panel structure. |
|
| | |
152 | Brace bar receiver: |
| | This subclass is indented under subclass 143. Structure comprising means either installed along or formed
from opposed side walls of the freight carrier for cooperating with
the end means of the elongate spanning member for securement of
one to the other.

|
| | |
153 | Brace post: |
| | This subclass is indented under subclass 121. Structure in which the rigid member means is an elongated,
vertically upstanding member, or group of members unattached to
one another; and in which the freight carrier includes means or
formations for the attachment or positioning of the member thereon
in load accommodating juxtapositioning

SEE OR SEARCH CLASS:
| 105, | Railway Rolling Stock,
subclasses 380+ for stakes for bracing lading at the edge of a
freight car; and subclasses 390+ for stake pockets. |
| 296, | Land Vehicles: Bodies and Tops,
subclass 43 for a land vehicle body having a stake to hold
its load in place. |
|
| | |
154 | Honeycomb: |
| | This subclass is indented under subclass 121. Structure which is free-standing, i.e., unconnected to the
freight carrier and abuts lading to fill otherwise unoccupied space,
the structure defining a parallel array, or arrays, of formations
of endless configuration constituted from interconnected sets of
thin panel portions with faces spaced from one another except at
their serially interconnected edges.

SEE OR SEARCH CLASS:
| 428, | Stock Material or Miscellaneous Articles,
subclasses 116+ for nonmetallic honeycomb stock material; and subclass
593 for metallic honeycomb stock material. |
|
| | |
155 | Edge-around dunnage brace: |
| | This subclass is indented under subclass 121. Structure the unit of which is a member freely intervening,
i.e., unconnected to the carrier, between load units of angular
configuration, the member defining a part or spaced parts of complementing
angular configuration whereby contactively to extend about both
sides of the edge defining the angular configuration.

SEE OR SEARCH THIS CLASS, SUBCLASS:
| 41, | for an edge-around corner guard used in a lashed-together
group of regularly contoured articles. |
| 90, | for the edge-around guard used in wraparound lashing
of indiscriminate freight. |
|
| | |
156 | MISCELLANEOUS: |
| | This subclass is indented under the class definition. Structure not provided in for in any other preceding subclass.

|
| | |