CPC Definition - Subclass F41B
This place covers:
All weapons propelling a missile but not using an explosive or combustible pyrotechnic propellant charge as the energy to launch the missile, i.e. using accumulated potential energy such as:
air or gas pressure
elastic deformation (bow, crossbow, spring, elastic)
kinetic energy (slings, friction wheels)
electromagnetism.
The subclass further includes thrusting, hitting and hand-thrown weapons.
This place does not cover:
Projectiles for fishing, e.g. fish-spears | |
Sports implements for throwing | |
Stationary apparatus for projecting sports balls, e.g. tennis balls, A63B 69/40 | |
Throwing or slinging toys | |
Knives, axes | |
Projectiles or missiles specially adapted for projection without use of explosive or combustible propellant charge, e.g. for blow guns, bows or crossbows, hand-held spring or air guns |
Attention is drawn to the following places, which may be of interest for search:
Hand-held or body-worn self-defence devices using repellent gases or chemicals | |
Electrical discharge weapons | |
Directed energy weapons | |
Devices generating an electromagnetic pulse |
As an exception to the general philosophy, liquid ejecting guns in main group F41B 9/00 may include documents, where the pressurisation of the liquid is achieved with explosive means.
This place covers:
Guns for launching the missile with the force of the breath only. The configuration ranges from a simple tube with a mouthpiece at the end, a tube with an appendix offset from the tube's axis carrying the mouthpiece or a tube with a mouthpiece attached at the end of a flexible tube.
This place does not cover:
Toys, including pop guns | |
Actuating the trigger of a firearm with the help of breath |
This place does not cover:
Launchers using the potiential energy stored in a flexible, tensioned member (except for bows, spring guns), e.g. elastic band or elastic rope (catapults, sling shots, classified in parralel main groups) in sizes ranging from hand-held to multiple meters high.
Launchers using gravitational potential energy.
Launchers using the kinetic potential energy, in particular centrifugal force.
In this place, the following terms or expressions are used with the meaning indicated:
Trebuchet: | a type of catapult that works by using the energy of a raised counterweight to throw the projectile |
Sling | a projectile receiving patch with two non-elastic ropes, bands or cords attached, the projectile being launched by centrifugal force |
Catapult | a projectile receiving patch with two elastic bands attached, said elastic bands at the other end being attached to a fork shape handle |
Catapult (siege engine) | device with a rotary arm carrying a projectile receiving element at one end, the other end either being attached to a heavy weight, the arm having an intermediate turning axle or being fixedly held, the arm being flexible. |
This place does not cover:
Stationary-arranged devices for projecting balls |
This place covers:
Covers the classic types of bows:
standard bow with unidirectional curvature
recurve bows with the curvatures of the bow being inverted towards its ends
compound bows using pullies for force amplification
crossbows, wherin the bow is mounted on a frame with stock to be able to use it supported against the shoulder
Bows or crossbows with rigid bow arms, the potential energy being provided by a coil spring, a pneumatic spring or an elastic band
Further includes functional details of the bow as well as accessories.
This place does not cover:
Spring guns adapted to discharge harpoons | |
Sights for bows |
Crossbows with a particular shape of the bow itself must be double classified in the crossbow group F41B 5/12 and in the respective group for the conventional, standalone bow shape, i.e. F41B 5/0005 for recurve or F41B 5/10 for compound crossbows.
Crossbow with the classic unidirectional curvatures geometry bow or completely different (cross-bow unique) geometries, are classified in the crossbow group F41B 5/12 only.
This place covers:
US2008127956
Compound crossbow
US4947822
Recurve crossbow
US4388914
Particular geometry
It further includes functional details as well as accessories peculiar to crossbows.
This place covers:
Includes:- devices on the bow itself and, e.g. vibration dampers, bowstring silencers, buttons or clickers; and- devices for archery, e.g. arrow pullers, fletching jigs, bowstring releasing devices, bow presses, bow cases.
This place does not cover:
Sights for bows |
This place covers:
Finger protections or gloves, fully or partially protecting the hand, specially adapted for archers
This place does not cover:
Sporting arm or hand protectors, e.g. gloves, in general |
This place does not cover:
Projectiles for electromagnetic or plasma guns |
Launchers using dynamic electromagnetic fields for accelerating a missile which is itself magnetic/magnetisable or which is carried by a magnetic/magnetisable sabot.
This place covers:
Guns using the potential energy stored in a tensioned spring for expelling a missile, the spring can be one of the following:
coil spring
torsion spring
pneumatic spring
This place does not cover:
Sling weapons | |
Catapults having a cocking device | |
Catapults, e.g. slingshots | |
Bows, crossbows | |
Air guns | |
Throwing apparatus for boomerangs | |
Spring-loaded devices for projecting sporting balls | |
Traps or throwing-apparatus for clay pigeon targets |
Attention is drawn to the following places, which may be of interest for search:
Equipment for hunting fish under water |
This place does not cover:
Adaptations for feeding or loading missiles from magazines into spring guns | |
The spring gun's propelling spring forming part of the missile or projectile |
Attention is drawn to the following places, which may be of interest for search:
Toy air guns | |
Starting or launching devices for toy aircraf | |
Toys simulating firearms using pyrotechnics |
This place covers:
Guns for expelling liquid at high pressure and high velocity, i.e. the liquid is the missile in this main group.
Attention is drawn to the following places, which may be of interest for search:
Hand fire-extinguishers essentially in the form of pistols or rifles |
As an exception the general philosophy, liquid ejecting guns in this main group may include documents, where the pressurisation of the liquid is achieved with explosive means, e.g. disruptors.
This place covers:
Liquid ejecting guns or devices for serious purposes, i.e. NOT for leisure, games, toys, play or fun
This place does not cover:
Adaptations for feeding or loading missiles from magazines into spring guns |
Attention is drawn to the following places, which may be of interest for search:
Needleless syringes | A60M30/00 |
Attention is drawn to the following places, which may be of interest for search:
Electrical discharge weapon for remote electrical discharge via liquid jets |
This group is not in use.
This place covers:
Guns or devices for discharging projectiles through a barrel by conversion of the potential energy stored in a compressed gas into kinetic energy for the propulsion of the projectile. The compressed gas is either available in a pre-compressed form or compressed with mechanical means, i.e. without use of explosive or combustible propellant charge, immediately before or during the launching of each projectile.
Attention is drawn to the following places, which may be of interest for search:
Devices for dispensing balls, e.g. from a reservoir | |
Stationary arranged devices for projecting balls | |
Hand-held nailing tools operated by fluid pressure | |
Projectiles for airguns |
Every single compressed gas gun will inherently comprise a valve - Do not classify them in F41B 11/72 if the valve as such is not relevant for the invention.
Toy guns need to be interpreted narrowly in the context of F41B 11/89. In patent literature, toy guns are sometimes used as a synonym to simulation guns. However, only guns specially adapted to be used by children for playing should be classified in F41B 11/89
In this place, the following terms or expressions are used with the meaning indicated:
Airgun | generic term for compressed gas guns, sometimes used for guns using compressed gas other than air, most commonly CO2. Classical airguns project so-called airgun pellets, wasted projectile hollowed at the base and available in a variety of head styles |
In patent documents the following expressions/words "Gas gun", "compressed gas gun", "CO2-gun", "air rifle", "air pistol", " marker", " paintball gun" and "pneumatic gun" are often used as synomyms:
Softair/Airsoft gun | also sometimes referred to as BB guns, however using plastic pellets of 6mm diameter. Softair guns are usually externally shaped like firearms. |
BB gun | gun for projecting BBs (birdshot pellets), usually rounded 4.5 mm diameter metallic pellets |
Marker/Paintball marker | guns for projecting paintballs, i.e. hollow gelatine balls filled with paint, for marking the point of impact |
Hopper | magazine for loosely holding projectiles above the air gun |
Blowback | or blow back mechanism, used for the cycling, i.e. automatic reloading, or for simulating recoil operation |
This place covers:
Containers for holding a plurality of missiles to be projected by a compressed gas gun, i.e. magazines.
Devices or mechanisms for sequentially bringing such missiles from an external magazine into the gun frame/casing/housing/receiver, i.e. feeding arrangements.
Devices or mechanisms for sequentially bringing such missiles into the position inside the compressed gas gun ready to be projected ("firing" chamber), i.e. loading arrangements.
- Magazine

- Feeding arrangement

- Loading arrangement

Attention is drawn to the following places, which may be of interest for search:
Feeding or loading of ammunition for firearms |
This place covers:
Magazines integrally formed with the gun, i.e. the magazine is not removable.
The missiles to be projected by the compressed gas gun are inserted and stored directly in a space/cavity formed in the gun.


This place covers:
Magazines holding projectiles in a removable magazine above the gun housing which implies the following:
- the projectiles will be fed primarily by gravity;
- the projectiles are spherical so that there is no need for orienting the projectiles in a specific way for feeding or loading.

This place covers:
The hopper contains secondary means to assist the gravity powered feeding of the projectiles, such as:
- An agitator to avoid/release jams at the exit opening of the hopper

- A rotor-type device force-feeding the projectiles through the exit opening of the hopper

- A screw-type conveyor force-feeding the projectiles through the exit opening of the hopper

- Linear pusher force-feeding the projectiles through the exit opening of the hopper

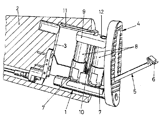
This place covers:
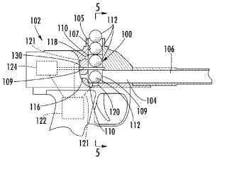
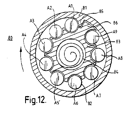
The projectiles are stored in an ordered fashion, i.e. the order in which the projectiles will be discharged is pre-defined. Drum magazines can be in any of the known types, for example:
- Stationary drum, the projectiles being force fed out of the drum by a spring/motor, the projectiles being arranged around the periphery of the drum.

- Stationary drum, the projectiles being force fed out of the drum by a spring/motor, the projectiles being arranged in a spiralling fashion.

- Revolver type drum, the drum rotating incrementally, the rotation being indexed so as to position the projectile to be fired in alignment with the firing chamber.

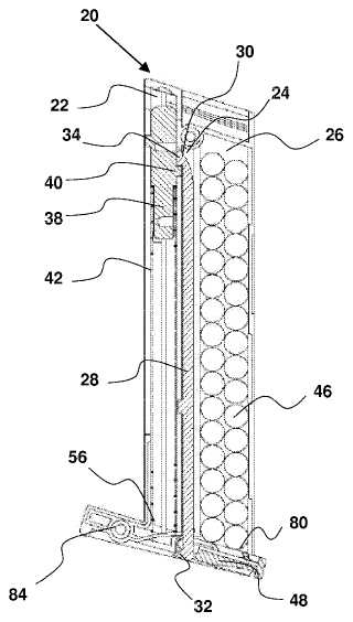
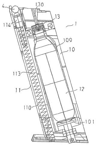
This place covers:
The projectiles are stored in an ordered fashion, i.e. the order in which the projectiles will be discharged is pre-defined, the arrangement of projectile is substantially linear inside the magazine. This arrangement implies a so-called follower, i. e. a spring biased element pushing the stack of projectiles out the magazine. The magazine is removable from the gun, often as a look alike to a firearm magazine.
- Box magazines


- Tubular magazine

Attention is drawn to the following places, which may be of interest for search:
Magazines formed integrally in the gun | |
Box magazines for firearms having a cartridge follower | |
Tubular magazines for firearms |
This place covers:
The removable magazine carrying the projectiles also carries an exchangeable or refillable pressurised cartridge such as a CO2 cartridge, usually for soft-air guns.

Attention is drawn to the following places, which may be of interest for search:
Magazines formed integrally in the gun adjacent to a space for a gas cartridge |
This place covers:
Electric systems for powering of motors for the active force feeding or loading of the projectiles, except for the hoppers having motorised agitation and/or feed assisting means (precedence of F41B 11/53).
Electronic systems for the control of active force feeding or loading systems, except for the hoppers having motorised agitation and/or feed assisting means (precedence of F41B 11/53).
This place does not cover:
for controlling motorised feed assisting means associated with the projectile magazine |
Attention is drawn to the following places, which may be of interest for search:
Electronic safeties for compressed-gas guns |
This place covers:
Residual group including compressed-gas guns with particular means for supplying compressed gas which are not covered in any of the groups F41B 11/62 – F41B 11/684.
This place covers:
Compressed gas guns, wherein the pre-compressed gas is stored in an exchangeable/refillable gas cartridge, which can be housed either:
- Inside the gun body (housing, hand grip, magazine or stock)


- Or alternatively in a gas reservoir which is connectable by a gas tight connection to the pneumatic components of gun body, the gun reservoir being either mounted on the gun or carried by the shooter


Attention is drawn to the following places, which may be of interest for search:
Valves or valve arrangements for regulating gas pressures for loading, feeding or firing the projectile |
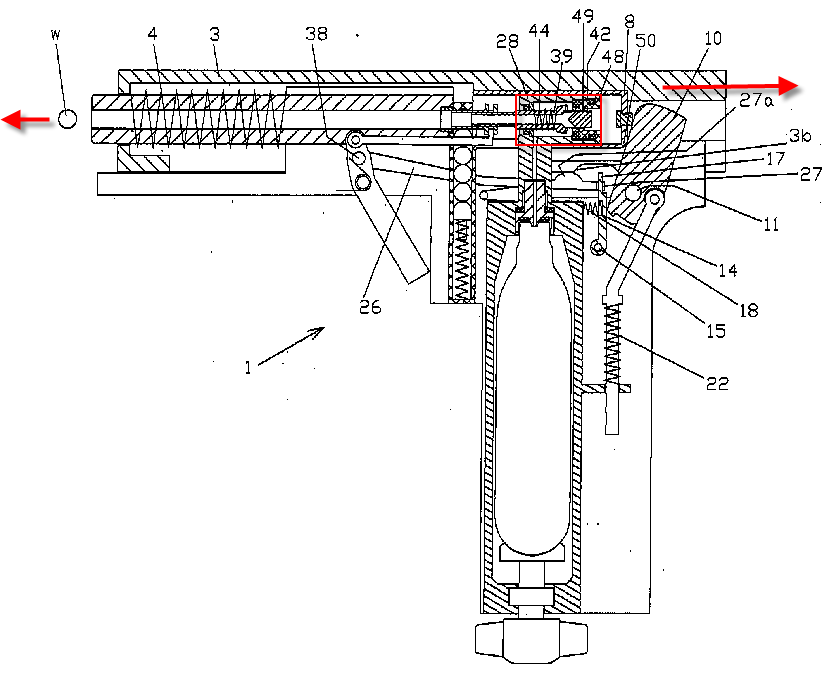
This place covers:
Airguns with a piston to compress the air for propelling the projectile at the moment of the firing, i.e. the triggering action of the gun activates the compression means and the resulting compressed air is used directly for launching the projectile. This implies that no intermediate compressed air storage chamber (pressure accumulation tank) is present (an expansion or equalisation chamber in the sense of transit chambers might be present). The piston is either:
- hand operated or

- spring operated

The airguns classified in group F41B 11/64 (and its subgroups) and in group F41B 11/68 (and its subgroups) are structurally very similar to each other, always comprising an air piston, means for actuating said piston to compress the air, valve arrangements and triggering means.
The classification criteria are the following:
- If the compressor stroke is effected at the moment of firing — then F41B 11/64.
- If the compressor stroke is effected before firing and the gas is stored in a compression chamber or accumulation tank — then F41B 11/68.
- If the trigger activates the compressor arrangement — then F41B 11/64.
- If the trigger activates the opening of the discharge valve — then F41B 11/68.
Attention is drawn to the following places, which may be of interest for search:
Compressed gas guns with pressure supplied by a gas cartridge | |
Compressed gas guns having precompressed air before the firing | |
Electronic or electric systems, e.g. electric drive motor aspects | |
Toys launching a projectile by air pressure | |
Shooting devices for shooting or hurling games |
This place covers:
Airguns with manually operated pistons, the piston directly delivering the compressed air to the "firing chamber", i.e. hand-pumps directly feeding compressed air to the "firing chamber".

This place does not cover:
Pumping or compressor arrangements for pre-compressed air |
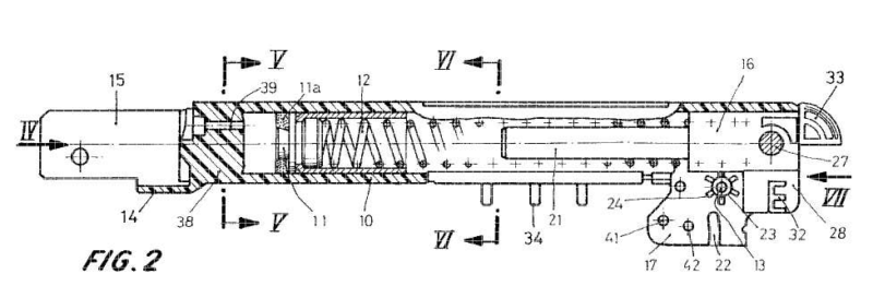
This place covers:
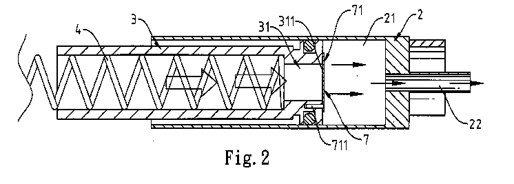
Arrangements wherein the energy for moving the piston in the cylinder is delivered by a spring under tension.

This place covers:
Arrangements wherein the longitudinal axis of the spring coincides with the longitudinal axis of the barrel. The spring may be arranged around or behind the barrel.

This place covers:
Airguns with spring operated pistons compressing the air during the launch of the projectile will inherently create considerable recoil deteriorating precision. This group covers countermass-type recoil reduction mechanism, wherein, synchronised with the movement the piston, a countermass will be accelerated in the opposite direction to neutralise the reaction force caused by the movement of the piston.

Attention is drawn to the following places, which may be of interest for search:
Recoil reduction using the counter-mass principle in firearms |
This place covers:
Systems with two spring operated pistons with the same mass acting in opposite direction so as to eliminate the recoil force induced by the reaction to the piston acceleration.

This place covers:
Arrangements for pre-tensioning the spring and holding the piston in the fully spring-loaded position, i.e. cocking. The arrangements do not compress any air, they only accumulate energy in the spring that will, upon trigger actuation, compress air in the cylinder.


Attention is drawn to the following places, which may be of interest for search:
Pumping arrangements for pre-compressing air for storing it in a pressurised air storage tank | |
Cocking mechanisms for bolt action firearms | |
Cocking mechanisms for block action firearms | |
Cocking mechanisms for other firearms (not block/bolt action) |
This place covers:
A rocking lever being mechanically linked to the spring-piston arrangement, so as to put the spring under tension and hold the piston in the fully spring-loaded position, i.e. cocking by rocking lever.

Attention is drawn to the following places, which may be of interest for search:
Rocker lever activated pumping arrangements for pre-compressing air for storing it in apressurisedair storage tank | |
Cocking mechanisms for other firearms (not block/bolt action) | |
Lever-action guns per se, i.e. shoulder fired smallarms having a rocking lever for loading or cocking |
This place covers:
The breaking of the airgun, i.e. the relative movement of two hinged parts of the airgun, usually the barrel and the receiver, actuates the piston so as to compress the air inside the compressed air storage tank, i.e. the piston itself is the pressure accumulation tank. The two hinged parts of the airgun take over the function of a dedicated rocking lever for actuating the piston.

Attention is drawn to the following places, which may be of interest for search:
Breakdown activated pumping arrangements for pre-compressing air for storing it into apressurisedair storage tank | |
Cocking mechanisms in breakdown firearms | |
Breakdown firearms per se |
This place covers:
Airguns with a deformable container, e.g. bellows, a bulb or other substantially air-tight part of the airgun, holding a quantity of air, which is pressurised by the squeezing or deformation of the container, so as to decrease the internal volume of the container and urge the air into the "firing chamber" in order to directly launch the projectile.
Illustrative examples of subject matter classified in this place:
1.

2.

Attention is drawn to the following places, which may be of interest for search:
Pumping arrangements activated by bellows or deformable chambers for pre-compressing air for storing it in a pressurised air storage tank |
This place covers:
Airguns comprising a compressed air storage chamber (pressure accumulation tank), filled with compressed air before the firing, i.e. the triggering action of the gun activates a valve or other mechanism to fluidly connect the air storage chamber (pressure accumulation tank) with the "firing chamber", thereby allowing the compressed air to launch the projectile. The exclusion of the group F41B 11/62 implies that some means to pre-compress the air, e.g. pump or compressor, must be an integral part of the gun.

The airguns classified in group in F41B 11/64 (and its subgroups) and in group F41B 11/68 (and its subgroups) are structurally very similar to each other, always comprising an air piston, means for actuating said piston to compress the air, valve arrangements and triggering means.
The classification criteria are the following:
- If the compressor stroke is effected at the moment of firing — then F41B 11/64.
- f the compressor stroke is effected before firing and the gas is stored in a compression chamber or accumulation tank — then F41B 11/68.
- If the trigger activates the compressor arrangement — then F41B 11/64.
- If the trigger activates the opening of the discharge valve — then F41B 11/68.
This place does not cover:
Compressed gas guns characterised by the supply of compressed gas with pressure supplied by a gas cartridge |
Attention is drawn to the following places, which may be of interest for search:
Airguns with pressure supplied by gas cartridge | |
Airguns having an air piston effecting a compressor stroke during the firing of each shot | |
Arrangement of valves in, or valves specially adapted for, air guns | |
Airguns adapted to discharge harpoons |
This place covers:
Arrangements for compressing the air in the air storage chamber (pressure accumulation tank), i.e. hand-pumps or electrically powered pumps integrated into the gun or permanently attached thereto for compressing atmospheric air into the pressure accumulation tank.
This group further includes airguns with integral or permanently attached pressure accumulation tanks for storing the atmospheric air compressed by a pump or compressor, in particular documents wherein the teaching is specifically aimed at the particular shape/arrangement/configuration/material of the pressure accumulation tank per se.


Attention is drawn to the following places, which may be of interest for search:
Exchangeable/refillable gas cartridges for use in air guns | |
Arrangements for putting the spring under tension, in airguns with a spring loaded compressor piston | |
Electronic or electric systems, e.g. electric drive motor aspects | |
Compressors in general; general concepts of compressors |
This place covers:
Air guns with integral or permanently attached pressure accumulation tanks for storing the atmospheric air compressed by a pump or compressor. This group contains documents wherein the teaching is specifically aimed at the particular shape/arrangement/configuration/material of the pressure accumulation tank per se.

Attention is drawn to the following places, which may be of interest for search:
Exchangeable or refillable gas cartridges for use in air guns |
Every single air gun classified in the groups F41B 11/68 and below will inherently comprise a pressure accumulation tank. Classification will be given in this group only, if the tank as such is specially adapted or relevant for the invention.
Lever-action guns per se |
This place covers:
A rocking lever being directly mechanically linked to a piston arrangement, so as to compress the air inside the compressed air storage tank, i.e. the piston itselfis one of the boundaries of the pressure accumulation tank.


Attention is drawn to the following places, which may be of interest for search:
Rocking lever mechanism for cocking a spring in a spring operated piston airgun | |
Cocking mechanisms for other firearms (not bolt/block action) | |
Lever-action guns per se |
This place covers:
The breaking of the airgun, i.e. the relative movement of two hinged parts of the airgun, usually the barrel and the receiver, actuates the spring-piston arrangement so as to put the spring under tension and hold the piston in the fully spring-loaded position, i.e. cocking by breakdown mechanism.
This place does not cover:
Breakdown activated pumping arrangements for pre-compressing air for storing it into a pressurised air storage tank |
Attention is drawn to the following places, which may be of interest for search:
Cocking mechanisms in breakdown firearms | |
Conventional breakdown guns per se |
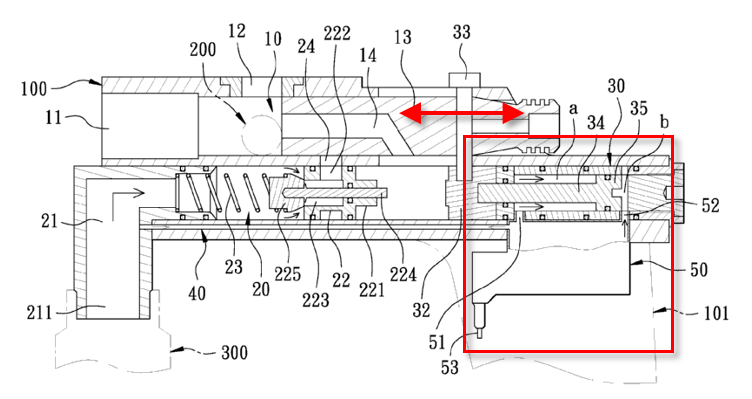
This place covers:
Valve arrangements integrated in compressed gas guns for regulating the various pneumatic functions of an compressed gas gun, such as:
- pressure regulation for reliably ensuring constant fire power (pressure reducing valves)
- pressure regulation for reliably ensuring constant feeding/loading power (pressure reducing valves)
- on/off valves for immediate supply of air to the firing chamber upon a triggering event o valves opening on mechanical impact o electrically controlled solenoid valves
- venting valves in case of over-pressure in fluid-tight components of the airgun (pressure accumulation tanks)
- valves for actuating secondary functions, such as blowback mechanisms, recoil simulation, (semi-)automatic cycling of the gun
Attention is drawn to the following places, which may be of interest for search:
Valves in general |
Every single compressed gas gun will inherently comprise a valve - Do not classify them in F41B 11/72 if the valve as such is not relevant for the invention.
This place covers:
Compressed gas guncomprising a single valve performing the dual function of firing the projectile and feeding or loading the consecutive projectile in a (semi-)automatic compressed gas gun.

This place covers:
A valve in a compressed gas gun, the valve being a dedicated valve for performing the function of feeding or loading of the consecutive projectile in a (semi-)automatic compressed gas gun.

This place covers:
A valve in a compressed gas gun, the valve being a valve specifically dedicated for performing the function of firing the projectile.

This place covers:
A valve in a compressed air gun situated on the pneumatic path between the over-pressurisedcompressed gas source, i.e. accumulation tank, gas cartridge, piston-cylinder, and the firing chamber reducing the pressure to a predefined pressure. The aim is to achieve pressure regulation for reliably ensuring constant fire power, to reduce the firing power to levels accepted under national laws or to levels corresponding to competition regulations.

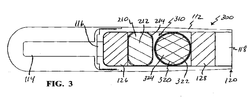
This place covers:
Arrangements of seals in a compressed air gun sealing off any pneumatic component of the compressed gas gun, including in particular the interface between an external gas cartridge or pressure accumulation tank with the internal pneumatic components of the gun. This group contains documents wherein the teaching is specifically aimed at the particular shape, arrangement, configuration or material of the sealing arrangement.
This group contains documents wherein the teaching is specifically aimedat the particular shape, arrangement, configuration or material of the sealing arrangement.
Every single compressed gas gun will inherently comprise sealing arrangements.Classification will be given in this group only, if the seal as such is specially adapted or relevant for the invention.
This place covers:
Residual group including compressed-gas guns for particular purposes not covered by F41B 11/81 – F41B 11/89.
This place covers:
Devices for pneumatic ejection or marking/irritating powders, either by:
- propelling capsules frangible on impact containing the powder, or

- by spreading the powder directly from a nozzle.

This place covers:
Devices for propelling harpoons or fishing spears with pneumatic pressure, wherein at least part of the shaft of the harpoon is held in the barrel of the compressed gas gun and guided inside the barrel when discharged by the expanding compressed gas.
The group includes both, devices for use by divers in submerged condition or by fishers standing on land/ship and propelling the harpoon/spear into the water.


This place does not cover:
Trigger mechanisms for harpoon guns |
Attention is drawn to the following places, which may be of interest for search:
Spring guns adapted to discharge harpoons | |
Equipment for hunting fish under water |
In this place, the following terms or expressions are used with the meaning indicated:
Wet firing | discharge of the harpoon wherein the barrel holding the shaft of the harpoon is partially filled with water |
Dry firing | discharge of the harpoon with a sealed off dry (air filled) barrel, either for one time use or else with means for keeping the barrel sealed under water (sealed piston pusher or draining means) |
In patent documents, the following words/expressions are often used as synonyms:
- Spear gun, harpoon gun, harpoon spear.
This place covers:
Compressed gas guns specifically designed for the intended use as a launcher for hypodermic projectiles, e.g.:
- projectiles used in the veterinary field for delivering medication to an animal from a distance.
Attention is drawn to the following places, which may be of interest for search:
Electrical discharge weapons, e.g. for stunning | |
Hypodermic projectiles |
This group being a pure application related group, any document classified here must also be classified in one of the groups defining the compressed gas gun by its structure or function.
This place covers:
Compressed gas guns specifically designed for the intended use in industry, e.g. for cleaning/descaling of ovens, furnaces, kilns or pipes where burning residues or slag is removed by impacting it with projectiles propelled by pneumatic launchers.
Attention is drawn to the following places, which may be of interest for search:
Hand-held nailing tools operated by fluid pressure |
This group being a pure application related group, any document classified here must also be classified in one of the groups defining the compressed gas gun by its structure or function.
This place covers:
Devices for launching a projectile by air or gas pressure, typically with low energy, with the main purpose of amusement, suitable for use by children without any particular safety precautions. The term "toy gun" is often erroneously used in order to differentiate the air gun from a firearm, see also special rule of classification below.
Attention is drawn to the following places, which may be of interest for search:
Air guns having a deformable bellows or bulb pressed during the firing | |
Toy aircraft; Other flying toys | |
Starting or launching devices for toy aircraft; Arrangements on toy aircraft for starting or launching | |
Throwing or slinging toys |
This group being a pure application related group, any document classified here must also be classified in one of the groups defining the compressed gas gun by its structure or function.
The mere use of the term toy gun in the publication does not imply classification in this group. If the compressed-gas gun is clearly a sports gun, a training or simulation gun it should not be classified in this group.
In this place, the following terms or expressions are used with the meaning indicated:
Toy gun | is often erroneously used in order to differentiate the air gun from a firearm, see also special rules of classification above |
This place covers:
Hand held thrusting and cutting weapons, to be kept in hand during the use, i.e. not intended to be thown.
This place does not cover:
Throwing knives | |
Bolas | |
Fencing equipment | |
Sheaths for hand cutting tools | |
Firearms combined with thrusting or cutting weapons | |
Bayonets |
This place covers:
Residual group for weapons which do not use pyrotechnic charges to propell a missile, it includes in particular blunt hitting weapons such as batons or sticks and hand thrown weapons such as bolas and throwing knives or shuriken
This place does not cover:
Electric shock devices, e.g. cattle prods | |
Electric stunning means | |
Darts |

